Крупнейшая бесплатная информационно-справочная система онлайн доступа к полному собранию технических нормативно-правовых актов РФ. Огромная база технических нормативов (более 150 тысяч документов) и полное собрание национальных стандартов, аутентичное официальной базе Госстандарта. GOSTRF.com - это более 1 Терабайта бесплатной технической информации для всех пользователей интернета. Все электронные копии представленных здесь документов могут распространяться без каких-либо ограничений. Поощряется распространение информации с этого сайта на любых других ресурсах. Каждый человек имеет право на неограниченный доступ к этим документам! Каждый человек имеет право на знание требований, изложенных в данных нормативно-правовых актах!

  


 

МИНИСТЕРСТВО ТРУДА И СОЦИАЛЬНОГО РАЗВИТИЯ
РОССИЙСКОЙ ФЕДЕРАЦИИ

СОГЛАСОВАНЫ

Письмом Госгортехнадзора России

от 05.02.98 № 12/111

письмом ФНП России

от 06.01.98 № 109/3

УТВЕРЖДЕНЫ

постановлением

Минтруда России

от 20.03.98 № 16

МЕЖОТРАСЛЕВЫЕ ПРАВИЛА
ПО ОХРАНЕ ТРУДА

ПРИ ПОГРУЗОЧНО-РАЗГРУЗОЧНЫХ РАБОТАХ
И РАЗМЕЩЕНИИ ГРУЗОВ

ПОТ Р М-007-98

Правила вводятся в действие с 01.06.98

Санкт-Петербург
ЦОТПБСП
2002

Межотраслевые правила по охране труда при погрузочно-разгрузочных работах и размещении грузов (далее - Правила) разработаны по заказу Минтруда России на основе Федерального законодательства о труде и охране труда, стандартов безопасности труда (ССБТ), строительных норм и правил, санитарных правил и норм, Правил устройства и безопасной эксплуатации грузоподъемных кранов и других нормативных правовых актов по охране и безопасности труда, утвержденных федеральными органами исполнительной власти в установленном порядке, и соответствуют требованиям постановления Минтруда России от 01.07.93 № 129.

Стандарты, положения и инструкции предприятий по охране и безопасности труда при погрузочно-разгрузочных работах подлежат приведению в соответствие с требованиями настоящих Правил.

Требования настоящих Правил устанавливают минимально допустимый уровень безопасности труда и являются обязательными для предприятий, учреждений и организаций независимо от формы собственности, сферы хозяйственной деятельности и ведомственной принадлежности.

Правила разработаны Инженерным центром обеспечения безопасности в промышленности. Замечания и предложения следует направлять по адресу: 117119, Москва, Ленинский пр., 42, корп. 2, (21-40), Инженерный центр обеспечения безопасности в промышленности.

1. ОБЩИЕ ТРЕБОВАНИЯ

1.1. В Правилах предусмотрены единые требования безопасности при производстве погрузочно-разгрузочных работ и размещении грузов для предприятий, учреждений и организаций (далее - организаций) всех сфер хозяйственной деятельности, форм собственности и организационно-правовых форм, а также для физических лиц, занимающихся указанными видами работ в порядке предпринимательской деятельности.

1.2. Правила действуют на всей территории Российской Федерации и должны учитываться при строительстве новых, реконструкции и техническом перевооружении действующих организаций, цехов, производств, при разработке и эксплуатации оборудования, разработке и применении технологических процессов.

1.3. Выполнение отдельных требований Правил, связанных со значительными капитальными затратами, по срокам их реализации, а также для сферы малого бизнеса и предпринимательства могут быть решены в отдельном порядке по согласованию с органом исполнительной власти по труду субъекта Российской Федерации, органами государственного надзора и контроля по вопросам, входящим в их компетенцию.

1.4. Погрузочно-разгрузочные работы должны выполняться в соответствии с требованиями Правил устройства и безопасной эксплуатации грузоподъемных кранов и других нормативных правовых актов и нормативных технических документов, принятых в установленном порядке, соблюдение которых обеспечивает безопасность работ.

При использовании стационарно установленных грузоподъемных механизмов и другого производственного оборудования, при работах с опасными веществами, расплавленными металлами и сплавами, определенными Федеральным законом от 21.07.97 г. № 116-ФЗ как опасные производственные объекты, должны выполняться, кроме того, требования промышленной безопасности, определенные этим законом:

1.4.1. Производственная деятельность должна осуществляться на основании соответствующих лицензий и быть оформлена договором страхования риска ответственности за причинение вреда;

1.4.2. Применяемые на опасном производственном объекте грузоподъемные машины и другое производственное оборудование по перечню, определяемому Правительством Российской Федерации, должны иметь сертификат на соответствие требованиям промышленной безопасности;

1.4.3. Работники, занятые на выполнении работ на опасном производственном объекте, должны обладать соответствующей квалификацией, быть аттестованными в области промышленной безопасности, не иметь медицинских противопоказаний к указанной работе и быть допущены к выполнению работ в установленном порядке;

1.4.4. Организация работ должна обеспечивать безопасное производство работ, надлежащий контроль за соблюдением требований промышленной безопасности, локализацию и ликвидацию последствий аварий и инцидентов на опасном производственном объекте в случае их возникновения и определять порядок технического расследования их причин, Разработки и реализации мероприятий по их предупреждению и профилактике;

1.4.5. Организации, обращающиеся с опасными веществами в количествах, указанных в приложении 2 Федерального закона от 21.07.97 № 116-ФЗ, должны оформить декларацию промышленной безопасности.

1.5. В Правилах содержатся основные требования по охране труда при погрузочно-разгрузочных работах и складирования грузов, на основе которых с учетом конкретных условий и в соответствии с перечнем в организации должны быть разработаны или приведены в соответствие с ними положения и инструкции по охране труда по профессиям и видам работ, при этом:

1.5.1. Перечень инструкций должен быть составлен службой охраны труда при участии руководителей подразделений, служб главных специалистов, организации труда и заработной платы, утвержден руководителем организации и разослан структурным подразделениям;

1.5.2. Разработка инструкций должна осуществляться руководителями цехов, лабораторий, отделов и других структурных подразделений организации.

Разработка инструкций должна быть организована приказом, распоряжением руководителя организации;

1.5.3. Утверждение инструкций должно производиться руководителем организации после согласования с соответствующим профсоюзным органом или иными уполномоченными работниками представительными органами и службой охраны труда, а в необходимых случаях и с другими заинтересованными службами.

1.6. Инструкции по охране труда должны выдаваться работникам или находиться на рабочих местах, или других известных и доступных местах их организованного хранения.

1.7. Пересмотр инструкций должен производиться не реже одного раза в пять лет и в случаях изменения технологии, оборудования, инструментов и др. Для работ с повышенной опасностью пересмотр инструкций должен производиться не реже одного раза в три года.

1.8. У руководителя структурного подразделения, начальника участка, мастера, прораба должен быть в наличии комплект инструкций для работников по всем профессиям и видам работ.

1.9. Требования и нормы, установленные в стандартах организации, в инструкциях по охране труда или другой нормативной документации, (включая конструкторскую, технологическую и др.), должны соответствовать требованиям настоящих Правил, стандартов ССБТ, стандартов и технических условий на сырье, материалы, продукцию и т.д.

1.10. Ответственность за организацию погрузочно-разгрузочных работ в организации должна быть возложена приказом на специалиста, организующего эти работы.

На время отпуска, командировки и в других случаях отсутствия ответственного лица выполнение его обязанностей должно быть возложено приказом на работника, замещающего его по должности.

1.11. Крановщики и их помощники, стропальщики должны руководствоваться производственными инструкциями, разработанными на основе типовых инструкций по этим профессиям, утвержденным Госгортехнадзором России, а для кранов мостового типа, оснащенных радиоэлектронными средствами дистанционного управления - на основе типовых инструкций специализированных организаций, согласованных Госгортехнадзором России.

1.12. Руководители, специалисты, обеспечивающие содержание грузоподъемных машин в исправном состоянии и их безопасную эксплуатацию, и работники, ответственные за безопасное производство работ кранами, должны руководствоваться инструкциями, разработанными на основе Правил устройства и безопасной эксплуатации грузоподъемных кранов, подъемников (вышек) и других правил Госгортехнадзора России и типовых инструкций, утвержденных Госгортехнадзором России.

1.13. Работники, занятые на ремонте и обслуживании грузоподъемных машин, должны руководствоваться производственными инструкциями, разработанными в соответствии с требованиями Правил устройства и безопасной эксплуатации грузоподъемных кранов, Правил эксплуатации электроустановок потребителей, Правил техники безопасности при эксплуатации электроустановок потребителей и настоящих Правил.

1.14. Лицо, руководящее производством погрузочно-разгрузочных работ, обязано:

перед началом работы обеспечить охранную зону в местах производства работ, проверить внешним осмотром исправность грузоподъемных механизмов, такелажного и другого погрузочно-разгрузочного инвентаря. Работа на неисправных механизмах и неисправным инвентарем запрещается;

проверить у работников, осуществляющих работы, наличие соответствующих удостоверений и других документов на право производства этих работ;

следить за тем, чтобы выбор способов погрузки, разгрузки, перемещения грузов соответствовал требованиям безопасного производства работ;

при возникновении аварийных ситуаций или опасности травмирования работников немедленно прекратить работы и принять меры для устранения опасности.

1.15. При пересмотре правил, стандартов и других нормативных актов, на которые в Правилах сделаны ссылки, следует руководствоваться уточненными редакциями этих документов.

1.16. Организация контроля за выполнением требований Правил возлагается на работодателя, контроль за их выполнением - непосредственно на руководителей структурных подразделений (служб) организации.

Выполнение требований инструкций следует проверять при осуществлении всех видов контроля.

1.17. Служба охраны труда организации должна осуществлять постоянный контроль за своевременной разработкой, проверкой и пересмотром инструкций по охране труда, оказывать разработчикам (подразделениям) методическую и организационную помощь и содействие.

1.18. Основными опасными и вредными производственными факторами, определяемыми по ГОСТ 12.0.003, при погрузочно-разгрузочных работах и при складировании грузов являются:

загазованность и запыленность воздуха рабочей зоны;

повышенная или пониженная температура воздуха рабочей зоны;

повышенный уровень шума на рабочем месте;

повышенная или пониженная влажность воздуха;

повышенная или пониженная подвижность воздуха;

недостаточная освещенность рабочей зоны;

прямая и отраженная блесткость;

расположение рабочего места на значительной высоте;

движущиеся машины и механизмы, подвижные части кранового оборудования, поднимаемый и перемещаемый груз, канаты, цепи, стропы крючья, траверсы, клещи, балансиры, захваты и т.д., острые кромки транспортируемого груза, выступающие рым-болты, движущиеся краны, автомобильный и железнодорожный транспорт и др.;

для кранов с электрическим приводом повышенные напряжения электрических цепей, замыкание которых может произойти через тело человека;

для кранов на автомобильном шасси или шасси автомобильного типа токсические воздействия этилированного бензина и др.

1.19. В местах производства погрузочно-разгрузочных работ содержание вредных веществ (аэрозолей, паров) и пыли в воздухе рабочей зоны не должно превышать предельно допустимых концентраций по ГОСТ 12.1.005.

1.20. Общие требования безопасности при проведении погрузочно-разгрузочных работ и размещении грузов устанавливает ГОСТ 12.3.009, общие требования безопасности к процессам перемещения грузов (погрузке, разгрузке, транспортированию, промежуточному складированию, устройству и содержанию транспортных путей) напольным колесным безрельсовым транспортом устанавливает ГОСТ 12.3.020, требования охраны труда при эксплуатации промышленного транспорта устанавливают ПОТ РМ-008-98.

1.21. Безопасность выполнения работ по перемещению грузов кранами должна обеспечиваться комплексом организационных и технических мер:

1.21.1. На места производства работ и к оборудованию не должны допускаться лица, не имеющие прямого отношения к этим работам. Не допускается нахождение людей, нахождение и передвижение транспортных средств в зоне возможного падения грузов с подвижного состава при погрузке и разгрузке, а также при перемещении грузов подъемно-транспортным оборудованием;

1.21.2. Работники, производящие работы по перемещению грузов кранами и обслуживающие это оборудование, должны быть обучены, аттестованы, допущены к самостоятельным работам в установленном порядке в соответствии с требованиями Правил устройства и безопасной эксплуатации грузоподъемных кранов, Правил устройства и безопасной эксплуатации подъемников (вышек) и др. нормативной документации и им должны быть созданы условия для безопасного и безаварийного производства работ (климат рабочей зоны и мест производства работ, техническое и организационное обеспечение этих работ, средства защиты от воздействия опасных и вредных производственных факторов, четкое распределение обязанностей и ответственности среди исполнителей работ и организация взаимодействия между ними, ответственность каждого за исполнение своих обязанностей и др.);

1.21.3. Доступ персонала на мостовые, передвижные консольные краны, крановые пути и проходные галереи должен определяться и регулироваться системой ключ-марка (Приложение 1);

1.21.4. Для передвижения стрелового крана его стрела должна быть приведена в транспортное положение (установкой ее вдоль продольной оси пути движения), крюк поднят и закреплен в верхнем положении;

1.21.5. Строительно-монтажные и др. работы с применением грузоподъемных машин должны выполняться по проекту производства работ, предусматривающему:

соответствие кранов производимой работе по грузоподъемности, высоте подъема груза, вылету стрелы;

безопасную установку крана для работы вблизи строений, мест складирования, откосов котлованов и в других условиях;

безопасные расстояния от сетей и воздушных линий электропередачи, включая городские контактные сети и т.д.;

1.21.6. Погрузочно-разгрузочные работы и размещение грузов кранами должны выполняться по технологическим картам, разработанным с учетом требований ГОСТ 12.3.009 и утвержденным в установленном порядке;

1.21.7. При размещении грузов должны соблюдаться размеры отступов: от стен помещений - 0,7 м, от приборов отопления - 0,2 м (должны увеличиваться по условиям хранения груза), от источников освещения - 0,5 м, от пола - 0,15 м, между ящиками в штабеле - 0,02 м, между поддонами и контейнерами в штабеле - 0,05-1 м;

1.21.8. Разгрузка и загрузка полувагонов крюковыми кранами должны производиться по технологии, утвержденной владельцем крана, с указанием в ней необходимых мер для безопасного производства работ с учетом конкретного груза и объекта погрузки-разгрузки;

1.21.9. Транспортировать груз на крюке крана над рабочими местами или при нахождении людей в зоне перемещения груза запрещается;

1.21.10. Поднимать груз, больший грузоподъемности крана, запрещается;

1.21.11. Опускать груз разрешается только на предназначенное для этого место с исключением возможности его падения, опрокидывания, сползания. Грузы должны укладываться или устанавливаться в соответствии с требованиями при складировании конкретных грузов без загромождения проходов и с выполнением требований по удобству и безопасности их строповки и расстроповки;

1.21.12. Погрузочно-разгрузочные рампы и платформы должны защищать грузы и погрузочно-разгрузочные механизмы от атмосферных осадков, иметь не менее двух рассредоточенных лестниц или пандусов и ширину, обеспечивающую соблюдение требований технологии и безопасности при погрузочно-разгрузочных работах;

1.21.13. Не допускается нахождение людей и проведение каких-либо работ в зоне работы грейферных и магнитных кранов;

1.21.14. По окончании работы оставлять груз, грейфер, магнитную шайбу в подвешенном состоянии запрещается;

1.21.15. Для перевозки порошковых и сыпучих материалов должны использоваться специальные железнодорожные вагоны и автомашины типа цементовоза, обеспечивающие беспыльную загрузку, транспортировку и разгрузку этих материалов;

1.21.16. Тара для транспортирования порошковых материалов должна обеспечивать целостность упаковки на всех этапах обращения (вплоть до их применения в производстве) без промежуточных пересыпок;

1.21.17. Для транспортирования вредных и агрессивных жидких материалов должны применяться специальные цистерны;

1.21.18. Для легкозамерзающих веществ высокой вязкости должны предусматриваться системы быстрого разогрева без изменения их химических свойств и без выделения в атмосферу вредных паров и газов;

1.21.19. Для транспортирования сжиженных вредных газов (хлора аммиака и др.) должны применяться специальные железнодорожные или автомобильные цистерны;

1.21.20. Загрузка опасных веществ, их слив или выдавливание из цистерн, а также промывка и пропарка цистерн должны осуществляться способами, исключающими контакт с ними работников или выделение в воздух вредных веществ. Перед сливом жидкостей необходимо проверить работоспособность клапана, соединяющего внутреннюю полость цистерны с атмосферой;

1.21.21. Для транспортирования сыпучих материалов следует применять непрерывный транспорт с минимальным числом пересыпок (транспортеры, элеваторы и др.); для порошковых материалов (цемента, извести и т.п.) - пневмотранспорт или транспортеры с минимальным количеством пересыпок и с применением обеспыливающих устройств; для жидких опасных веществ с расходом более 400 кг в смену - трубопроводы из арматуры, исключающей просачивание этих веществ, а при меньших расходах - в таре поставщика, для сжиженных и сжатых вредных газов с большим расходом - трубопроводы, при незначительных расходах (до 10 баллонов в смену) - в баллонах.

1.22. При выполнении погрузочно-разгрузочных работ кранами необходимо соблюдать следующие требования безопасности:

1.22.1. Работать грузоподъемными механизмами и механизмами передвижения крана по сигналу стропальщика;

1.22.2. Немедленно приостанавливать работу по сигналу «Стоп» независимо от того, кем он подан;

1.22.3. Подъем, опускание, перемещение груза, торможение при всех перемещениях выполнять плавно, без рывков;

1.22.4. Перед подъемом или опусканием груза необходимо убедиться в том, что вблизи груза, штабеля, железнодорожного сцепа, вагона, автомобиля и другого места подъема или опускания груза, а также между грузом и этими объектами не находится стропальщик или другие лица;

1.22.5. Застрапливать и отцеплять груз необходимо после полной остановки грузового каната, его ослабления и при опущенной крюковой подвеске или траверсе;

1.22.6. Для подводки стропов под груз необходимо применять специальные приспособления;

1.22.7. Строповку груза необходимо производить в соответствии со схемой строповки для данного груза;

1.22.8. Груз во время перемещения должен быть поднят не менее чем на 0,5 м выше встречающихся на пути предметов;

1.22.9. Опускать груз необходимо на предназначенное и подготовленное для него место на подкладки, обеспечивающие устойчивое положение груза и легкость извлечения из-под него стропов.

1.23. Погрузочно-разгрузочные работы следует выполнять механизированными способами с применением подъемно-транспортного оборудования и средств механизации. Механизированный способ является обязательным для грузов массой более 50 кг, а также для подъема грузов на высоту более 3 м.

1.24. Перемещение грузов массой более 20 кг в технологическом процессе должно производиться с помощью встроенных подъемно-транспортных устройств или средств механизации. Также должно быть механизировано перемещение грузов в технологическом процессе на расстояние более 25 м.

1.25. При выполнении погрузочно-разгрузочных работ и при транспортировании грузов вручную необходимо выполнять следующие требования:

1.25.1. Переносить острые, режущие, колющие изделия и инструменты только в чехлах, пеналах;

1.25.2. Переносить грузы в жесткой таре и лед без упаковки следует только в рукавицах;

1.25.3. Ставить стеклянную посуду на устойчивые подставки, порожнюю стеклянную тару следует хранить в ящиках с гнездами;

1.25.4. Не пользоваться битой посудой, имеющей сколы, трещины;

1.25.5. Не переносить грузы в неисправной таре, с торчащими гвоздями, окантовкой и т.п.;

1.25.6. Для погрузки грузов на транспортные средства или их разгрузки запрещается применять доски толщиной менее 50 мм. Для исключения прогиба под доски следует устанавливать прочные подпорки;

1.25.7. При переноске тяжестей грузчиками на расстояние до 25 м для мужчин допускается максимальная нагрузка 50 кг, для юношей в возрасте от 16 до 18 лет - 16 кг; следующие грузы: навалочные (гравий, глина, песок, зерно, овощи и т.п.), легковесные (пустая тара, фрукты в мелкой упаковке и т.п.), штучные (кирпич и т.п.), пиломатериалы (подтоварник, тес, доски, рейки и т.п.);

1.25.8. Переноска груза грузчиком допускается массой не более 50 кг. Если масса груза превышает 50 кг, но не более 80 кг, то переноска груза грузчиком допускается при условии, что подъем (снятие) груза производится с помощью других грузчиков;

1.25.9. Женщинам разрешается поднимать и переносить тяжести вручную: постоянно в течение рабочей смены - массой не более 7 кг, периодически (до 2 раз в час) при чередовании с другой работой - массой не более 10 кг.

Величина динамической работы, совершаемой в течение каждого часа рабочей смены, должна быть не более 1750 кгм при перемещении груза по рабочей поверхности и не более 875 кгм при перемещении груза с пола.

При перемещении груза на тележках или в контейнерах прилагаемое усилие для женщин не должно превышать 10 кг.

1.26. Максимальный уклон, при котором может производиться транспортирование грузов погрузчиками, не должен превышать 3°.

1.27. Для перехода грузчиков с грузом с платформы транспортного средства в склад и обратно должны применяться мостики, сходни, трапы, прогиб настила которых при максимальной нагрузке не должен превышать 20 мм. При длине трапов, мостиков более 3 м под ними должны устанавливаться промежуточные опоры.

1.28. Мостики и сходни должны быть изготовлены из досок толщиной не менее 50 мм и снизу скреплены жесткими планками с интервалом не более 0,5 м.

Сходни должны иметь планки сечением 20´40 мм для упора ног через каждые 300 мм.

1.29. Металлические мостики должны изготавливаться из рифленого листового металла, толщиной не менее 5 мм.

1.30. Подмостки высотой до 4 м допускаются к эксплуатации после их приемки непосредственным руководителем работ, более 4 м - комиссией, назначаемой руководителем организации.

1.31. Погрузочно-разгрузочные и транспортные работы, производимые с применением грузоподъемных кранов, должны выполняться под руководством лица, ответственного за безопасное производство работ кранами, назначаемого приказом по организации из числа мастеров, прорабов, начальников участков, бригадиров, в распоряжении которых находятся эти краны.

1.32. На складах материалов в качестве лиц, ответственных за безопасное производство работ грузоподъемными машинами, по согласованию с органом госгортехнадзора могут назначаться заведующие складами.

1.33. Не допускается выполнение погрузочно-разгрузочных работ с опасными грузами при обнаружении несоответствия тары требованиям нормативно-технической документации, неисправной тары, а также в случае отсутствия маркировки и предупредительных надписей на ней.

1.34. Находящиеся в эксплуатации грузоподъемные машины должны иметь таблички с указанием регистрационного номера, грузоподъемности, даты следующего технического освидетельствования (частичного или полного).

1.35. Грузоподъемные машины, съемные грузозахватные приспособления и тара, не прошедшие технического освидетельствования, к работе допускать запрещается.

Неисправные съемные грузозахватные приспособления, а также приспособления, не имеющие бирок (клейм), не должны находиться в местах производства работ.

Не допускается нахождение в местах производства работ немаркированной и поврежденной тары.

1.36. Перед началом работ по перемещению грузов каждый груз должен быть тщательно осмотрен, проверены устройства для застройки (зацепки) груза в соответствии со схемой строповки.

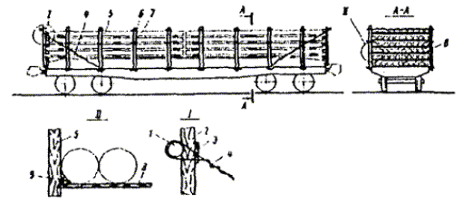
1.37. Погруженные на открытый подвижной железнодорожный транспорт грузы должны размещаться в пределах установленного габарита погрузки, указанного на рис. 1.

Рис. 1. Габариты погрузки грузов в железнодорожные вагоны

1.38. Грузы на площадке складирования при высоте укладки (от головки рельса) до 1,2 м должны размещаться от наружной грани головки ближайшего рельса железнодорожного или кранового пути не менее 2,0 м, при большей высоте укладки - не менее 2,5 м.

1.39. Размещение груза в крытом вагоне не должно препятствовать свободному открытию дверей, расположенных с обеих сторон вагона. Двери вагона должны, при необходимости, ограждаться досками толщиной не менее 40 мм или щитами.

При открытии дверей вагона работники не должны находиться в опасной зоне возможного обрушения груза.

1.40. Для фиксации груза в кузове автомобиля или в железнодорожном вагоне должны применяться деревянные или металлические упоры, упорные рампы, щиты. Крепление груза в кузове автомобиля с применением проволоки, металлических канатов не допускается.

1.41. При загрузке автомобиля груз не должен возвышаться над проезжей частью дороги более чем на 3,8 м и иметь ширину не более 2,5 м.

1.42. Открывать и закрывать борта кузова транспортного средства разрешается не менее чем двум работникам. При этом необходимо убедиться в безопасном расположении груза.

1.43. К местам погрузки, расположенным на уступах и откосах с уклоном более 20°, для прохода работников должны быть устроены лестницы с перилами.

1.44. Погрузочно-разгрузочные площадки, эстакады, мостики, сходни должны содержаться в исправном и чистом состоянии, а в зимнее время очищаться от снега и льда и посыпаться песком, шлаком или другими противоскользящими материалами.

1.45. Места производства погрузочно-разгрузочных работ, включая проходы и проезды, должны иметь достаточное естественное и искусственное освещение, твердое и ровное покрытие, содержаться в чистоте и своевременно очищаться от мусора, а зимой от снега и льда и не загромождаться. Складирование материалов, каких-либо предметов в местах производства погрузочно-разгрузочных работ не допускается.

1.46. Погрузочно-разгрузочные площадки должны иметь тротуар и отбойный брус для ограничения движения автотранспорта при его подаче задним ходом.

1.47. Работы с канатами и грузовыми устройствами необходимо выполнять в рукавицах.

1.48. На погрузочно-разгрузочных операциях работы непосредственно с грузом должны производиться в рукавицах, а при применении грузоподъемных механизмов - в рукавицах и в касках.

1.49. Запор борта платформы необходимо открывать в первую очередь в середине, затем у торцов платформы. Работник при этом должен находиться на расстоянии не менее 1 м от борта платформы.

1.50. Люки вагонов должны закрываться с помощью люкоподъемников. При отсутствии люкоподъемников люки полувагонов должны закрываться вручную бригадой в составе не менее трех человек: двое должны осуществлять подъем крышки люка подручными приспособлениями (на ломах), третий должен лом заводить в проушину и прижимать крышку к раме полувагона; крышка фиксируется, после чего должны устанавливаться предохранительные сектора (замки).

1.51. Запрещается работать на конвейере при перекосе транспортерной ленты или при внезапной ее остановке, а также очищать движущуюся ленту и производить уборку просыпи под транспортерной лентой или барабанами при работающем конвейере.

Во время работы конвейера запрещается ремонтировать, перемещать или изменять положение фермы конвейера.

1.52. При изменении метеорологических условий, влияющих на физико-химическое состояние груза (например, увеличение токсичности), погрузочно-разгрузочные работы должны быть прекращены, о чем должно быть доложено лицу, ответственному за безопасное производство работ кранами.

1.53. Для перемещения грузов в организации должны быть разработаны транспортно-технологические схемы.

1.54. Для организации движения транспортных средств в организации должны быть разработаны и установлены на видных местах схемы движения.

1.55. Скорость движения транспортных средств на территории организации должна устанавливаться в зависимости от состояния транспортных путей, интенсивности грузовых и людских потоков, специфики транспортных средств и грузов и соответствовать требованиям Правил дорожного движения Российской Федерации. В производственных помещениях максимальная скорость движения транспортных средств должна быть не более 5 км/ч.

1.56. В цехах с повышенным уровнем шума для оповещения и опознания движущегося транспортного средства дополнительно к звуковой сигнализации должна применяться и световая сигнализация.

1.57. Грузоотправители и грузополучатели грузов типа сосудов с газами, перевозимых автомобильным транспортом, должны иметь специально оборудованные платформы на уровне пола кузова автомобиля, обеспечивающие безопасную погрузку и выгрузку этих грузов. При прибытии автотранспорта в пункт погрузки или разгрузки груза отправитель или получатель должен потребовать, а водитель обязан предъявить путевой лист и документ на груз.

1.58. Погрузка и выгрузка грузов типа баллонов, сосудов с газами или жидкостями, а также их крепление для перевозки на автотранспорте должны производиться силами и средствами грузоотправителя или грузополучателя под контролем водителя.

1.59. Использование водителя на погрузочно-разгрузочных работах допускается как исключение в случаях, специально оговоренных в инструкции и при наличии этих условий в договоре (контракте).

1.60. Грузоподъемные и транспортные работы должны производиться с соблюдением требований пожарной безопасности путем:

1.60.1. Исключения пролива, протечек легковоспламеняющихся и горючих жидкостей;

1.60.2. Исключения открытого выделения паров легковоспламеняющихся и горючих жидкостей;

1.60.3. Исключения искрообразования, источников возгорания;

1.60.4. Поддержания параметров рабочей среды в пределах, исключающих взрыв или ее воспламенение;

1.60.5. Сопровождения производственного процесса мерами предупреждения, локализации и ликвидации пожароопасных ситуаций в комплексе с мерами защиты работников от воздействия опасных производственных факторов в этих ситуациях;

1.60.6. Возложения приказом по организации на руководителей служб, производств, цехов, участков ответственности за соблюдение противопожарных режимов и противопожарных профилактических мероприятий.

1.61. Руководители организации, эксплуатирующей краны, тару, съемные грузозахватные приспособления, крановые пути, обязаны обеспечить их содержание в исправном состоянии и безопасные условия работы путем организации освидетельствований, осмотров, ремонта, обслуживания и надзора в соответствии с требованиями Правил устройства и безопасной эксплуатации грузоподъемных кранов.

1.62. Для осуществления контроля за грузоподъемными машинами и работами, производящимися с их применением, в организации должны быть назначены в установленном Правилами устройства и безопасной эксплуатации грузоподъемных кранов порядке:

специалист по надзору за безопасной эксплуатацией грузоподъемных машин, съемных грузозахватных приспособлений и тары;

специалисты, ответственные за содержание грузоподъемных машин в исправном состоянии;

работники, ответственные за безопасное производство работ кранами.

1.63. Для безопасного производства погрузочно-разгрузочных работ с использованием грузоподъемных машин администрация организации обязана обеспечить наличие на местах производства работ исправных и допущенных к эксплуатации в установленном порядке съемных грузозахватных приспособлений, тары, списка основных перемещаемых грузов с указанием их габаритно-весовых характеристик и мест зацепки, мест складирования, схем строповки; установить порядок обмена сигналами (Приложение 2), систему нарядов-допусков на выполнение работ (Приложения 3, 4), приема в эксплуатацию крановых путей (Приложение 5) и др.

2. ТРЕБОВАНИЯ К ПРОИЗВОДСТВЕННЫМ (ТЕХНОЛОГИЧЕСКИМ) ПРОЦЕССАМ

2.1. Погрузочно-разгрузочные работы должны производиться в соответствии с ГОСТ 12.3.002, ГОСТ 12.3.009, ГОСТ 12.3.020, требованиям настоящих Правил и другой нормативной документации, утвержденной в установленном порядке.

2.2. Транспортирование грузов в основном осуществляется железнодорожным, автомобильным и водным транспортными средствами.

Железнодорожные транспортные средства - это вагонный парк МПС инвентарный вагонный парк организаций или арендованный у МПС парк вагонов.

Водные транспортные средства используются организациями, расположенными вблизи водных путей.

2.3. Складирование грузов должно производиться по технологическим картам с указанием мест и размеров складирования, размеров проходов проездов и т.д.

Технологическая карта должна выполняться в виде плана склада, площадки складирования, на котором должны быть обозначены места и размеры штабелей грузов, подъездные пути для автомобильного и железнодорожного транспорта, проходы для работников, крановые рельсовые пути и зоны обслуживания кранами, места установки стреловых самоходных кранов, транспорта под погрузку или разгрузку грузов и т.д.

2.4. Строповка грузов должна производиться в соответствии со схемами строповки с применением съемных грузозахватных приспособлений, тары и др. средств, указанных в документации на транспортирование этих грузов. Применяемые грузозахватные приспособления и средства должны соответствовать требованиям Правил устройства и безопасной эксплуатации грузоподъемных кранов.

2.5. Перемещение грузов неизвестной массы должно производиться после определения их фактической массы. Запрещается поднимать груз, масса которого превышает грузоподъемность грузоподъемной машины или грузозахватного приспособления.

2.6. Для обеспечения безопасного перемещения, кантовки, погрузки и выгрузки грузов в организации должны быть разработаны схемы строповки грузов в зависимости от их вида, массы, формы (Приложения 6,7).

2.7. Схемы строповки (способы обвязки, крепления и подвешивания груза к крюку грузоподъемной машины с помощью стропов, изготовленных из канатов, цепей и других материалов) должны быть изучены стропальщиками, крановщиками и выданы им на руки под роспись, и вывешены в местах производства работ.

2.8. Перемещение грузов, на которые не разработаны схемы строповки, должно производиться под руководством лица, ответственного за безопасное производство работ кранами.

2.9. При отсутствии данных по массе и центру тяжести груза подъем его должен производиться только после получения данных у лица, ответственного за безопасное производство работ кранами. Определение этих данных может быть произведено в соответствии с п. 6 Приложения 8.

2.10. При строповке грузов необходимо руководствоваться тем, что:

масса и центр тяжести изделий заводской продукции должны быть указаны в технической документации на эти изделия;

масса станков, машин, механизмов и др. оборудования должна быть указана на заводской табличке, прикрепленной к станине или раме станка или машины;

масса, центр тяжести и места строповки упакованного груза должны быть указаны на обшивке груза.

2.11. Для правильного размещения транспортных средств в местах погрузки сыпучих грузов из люков емкостей следует устанавливать указатели и наносить разграничительные полосы.

2.12. Погрузочно-разгрузочные работы грузоподъемными механизмами должны производиться при отсутствии людей на местах перегрузок грузов на площадках и в транспортных средствах, за исключением стропальщика при зацепке и отцепке грузозахватных приспособлений и проверки правильности строповки груза при его подъеме на высоту не более 200-300 мм от уровня пола (площадки).

Стропальщик или зацепщик груза должен удалиться в безопасное место после проверки надежности строповки груза и его подъема на высоту не более 1 м от уровня пола (площадки).

2.13. При постановке транспортного средства под погрузку или разгрузку должны быть приняты меры по предотвращению самопроизвольного его движения.

2.14. При погрузке и разгрузке грузов, имеющих острые и режущие кромки и углы, должны применяться подкладки и прокладки, предотвращающие повреждения грузозахватных устройств.

2.15. Зона подъема и перемещения грузов электромагнитными и грейферными кранами должна быть ограждена. Ограждение должно быть окрашено в сигнальные цвета и иметь предупредительные знаки по ГОСТ 12.4.026

2.16. Площадки для проведения погрузочно-разгрузочных работ должны иметь обозначенные границы.

2.17. Перемещение груза несколькими кранами должно производиться в соответствии с требованиями Правил устройства и безопасной эксплуатации грузоподъемных кранов

2.18. При перемещении груза авто- и электропогрузчиками с вилочными захватами груз должен быть расположен равномерно относительно элементов захвата и в соответствии с руководством по эксплуатации автопогрузчиков, при этом груз должен быть приподнят от пола на 300-400 мм. Максимальный уклон площадки при транспортировании грузов погрузчиками не должен превышать угла наклона рамы.

2.19. Выступание груза за пределы опорной поверхности захватов должно быть симметрично справа и слева и не должно превышать одной трети длины его опорной поверхности, а положение центра тяжести груза обеспечивало бы его устойчивость на вилочных захватах.

2.20. Транспортирование тары и установка ее в штабель авто- или электропогрузчиком с вилочными захватами должны производиться по одной штуке.

2.21. Перемещение авто- и электропогрузчиками грузов больших размеров должно производиться задним ходом и только в сопровождении погрузчика лицом, ответственным за погрузку и транспортирование груза. В обязанность этого лица входит указание водителю погрузчика дороги, подача предупредительных сигналов и обеспечение безопасности при движении погрузчика.

2.22. При выполнении погрузочно-разгрузочных работ с применением машин непрерывного действия (конвейеров, элеваторов и др.):

2.22.1. Укладка грузов должна обеспечивать равномерную загрузку рабочего органа и устойчивое положение груза;

2.22.2. Подача и снятие груза с рабочего органа машины должны производиться при помощи специальных подающих и приемных устройств.

2.23. Грузы на транспортных средствах должны быть установлены (уложены) и закреплены так, чтобы во время транспортирования не происходило их смещение и падение. В необходимых случаях груз должен быть закреплен.

2.24. При транспортировании тарно-штучных грузов должно применяться пакетирование с применением поддонов, контейнеров и других пакетирующих средств. В пакетах грузы должны быть скреплены.

2.25. Груз на поддоне не должен выступать более 20 мм с каждой стороны поддона; для прочных ящиков длиной более 500 мм это расстояние может быть увеличено до 70 мм.

2.26. Крыши контейнеров и устройства для перемещения груза должны быть очищены от посторонних предметов, грязи и др. Строповка контейнеров должна производиться в соответствии со схемой строповки.

2.27. При ручной строповке (расстроповке) контейнеров должны применяться штатные лестницы, стремянки и другие устройства, при применении которых должна быть обеспечена безопасность стропальщика.

2.28. Работники не должны находиться на контейнере или внутри контейнера во время его подъема, опускания или перемещения, а также на рядом расположенных контейнерах.

2.29. Лесо- и пиломатериалы необходимо грузить в транспортные средства в пакетах с учетом возможного увеличения массы поднимаемого груза за счет изменения влажности древесины.

2.30. В местах погрузки и выгрузки лесо- и пиломатериалов должны предусматриваться приспособления, исключающие развал пакетов.

2.31. Погрузку и выгрузку сыпучих грузов следует производить механизированным способом, исключающим загрязнение воздуха рабочей зоны. При взятии сыпучих грузов из штабеля не допускается производство работ подкопом с образованием козырька с угрозой его обрушения.

2.32. При разгрузке сыпучих грузов из полувагонов люки следует открывать специальными приспособлениями, позволяющими работникам находиться на безопасном расстоянии.

2.33. При разгрузке сыпучих грузов из полувагонов на эстакадах, на путях, расположенных на высоте более 2,5 м, открытие люков следует производить со специальных мостков.

2.34. При разгрузке (загрузке) бункеров, башен и других емкостей сыпучими материалами в верхней части емкостей должны быть предусмотрены специальные устройства (решетки, люки, ограждения), исключающие падение работников в емкость.

2.35. Для перехода работников по сыпучему грузу, имеющему большую текучесть и способность засасывания, следует устанавливать трапы или настилы с перилами по всему пути передвижения.

При перемещении по сыпучему материалу работники должны применять предохранительные пояса со страховочным канатом.

2.36. При разгрузке сыпучих грузов с автомобилей-самосвалов, установленных на насыпях, а также при засыпке котлованов и траншей грунтом автомобили-самосвалы необходимо устанавливать на расстоянии не менее 1 м от бровки естественного откоса. Это должно быть указано в расчетной таблице, разработанной специализированной организацией.

Не допускается въезд автомобилей-самосвалов на неутрамбованную насыпь, а также разгрузка их с эстакад, не имеющих отбойных брусьев.

2.37. Груз должен быть размещен, а при необходимости и закреплен на транспортном средстве так, чтобы он:

2.37.1. Не подвергал опасности водителя и окружающих, не ограничивал водителю обзорности, не нарушал устойчивости транспортного средства, не закрывал световые и сигнальные приборы, номерные знаки и регистрационные номера транспортного средства, не препятствовал восприятию сигналов, подаваемых рукой, не создавал шума, не пылил, не загрязнял дорогу и окружающую среду.

Если состояние и размещение груза не удовлетворяют указанным требованиям, необходимо принять меры к устранению нарушений перечисленных правил;

2.37.2. Не выступал за габариты автомобильного транспортного средства спереди или сзади более чем на 1 м или сбоку более чем на 0,4 м от внешнего края габаритного огня и был обозначен опознавательным знаком «Крупногабаритный груз», а в темное время суток и в условиях недостаточной видимости, кроме того, спереди - фонарем или световозвращателем белого цвета, сзади - фонарем или световозвращателем красного цвета.

2.38. Загрузка кузова автомобиля (прицепа) должна производиться от кабины к заднему борту, разгрузка - в обратном порядке.

2.39. Перевозка тяжеловесных и опасных грузов, необезвреженной тары, крупногабаритных грузов (по ширине более 2,5 м, высотой от поверхности проезжей части дороги более 3,8 м, выступающий сзади за габарит транспортного средства более чем на 2 м), а также транспортирование грузов в составе автопоезда с двумя и более прицепами должна производиться в соответствии с РД 3112199 и другими специальными правилами.

2.40. Перед подъемом и перемещением груза должны быть проверены устойчивость груза и правильность его строповки.

2.41. При укладке груза в кузов автомобиля необходимо соблюдение следующих правил:

2.41.1. При погрузке навалом груз не должен возвышаться над бортами кузова (стандартными или наращенными) и должен располагаться равномерно по всей площади пола кузова;

2.41.2. Штучные грузы, возвышающиеся над бортом кузова, необходимо увязывать такелажем (канатами и др. обвязочными материалами в соответствии с нормативной документацией). Работники, увязывающие грузы, должны находиться на погрузочно-разгрузочной площадке;

2.41.3. Высота груза не должна превышать высоту проездов под мостами и путепроводами, встречающимися в пути следования, и должна быть не более 3,8 м (от поверхности дороги до верхней точки груза);

2.41.4. Ящичные, бочковые и другие штучные грузы должны быть уложены плотно и без промежутков так, чтобы при движении (при резком торможении, при трогании с места или на крутых поворотах) они не могли перемещаться по полу кузова. Промежутки между грузами необходимо заполнить прочными прокладками и распорками;

2.41.5. При укладке грузов в бочковой таре в несколько рядов их следует накатывать по слегам или покатам боковой поверхностью. Бочки с жидким грузом должны устанавливаться пробкой вверх. Каждый ряд бочек должен устанавливаться на прокладках из досок и все крайние ряды должны подклиниваться. Применение вместо клиньев других предметов не допускается;

2.41.6. Стеклянную тару с жидкостями в обрешетках необходимо устанавливать стоя. Укладка такого груза лежа запрещается;

2.41.7. Не разрешается устанавливать груз в стеклянной таре в обрешетках друг на друга (в два яруса) без прочных прокладок, предохраняющих нижний ряд от разрушения во время перевозки;

2.41.8. Каждый груз в отдельности должен быть хорошо укреплен в кузове, чтобы во время движения он не мог перемещаться или опрокинуться. Движение на поворотах автомобиля-цистерны, не полностью заполненной жидкостью, должно производиться на малой скорости.

2.42. Грузы в мешках и кулях должны укладываться в штабеля в перевязку. Грузы в рваной таре укладывать в штабеля запрещается. Максимальная высота штабеля не должна быть более 6 м.

2.43. Осмотр тары должен производиться по инструкции, определяющей порядок и методы осмотра, а также методы устранения обнаруженных повреждений и неисправностей.

2.44. Стропальщики обязаны производить осмотр тары перед ее применением.

2.45. Не допускается нахождение в местах производства работ немаркированной, неисправной или поврежденной тары.

2.46. При эксплуатации тары необходимо выполнять следующие требования:

2.46.1. Тара не должна загружаться более номинальной массы брутто;

2.46.2. Способ загрузки должен исключать появление остаточных деформаций тары, включая местные;

2.46.3. Груз, уложенный в тару, должен находиться ниже уровня ее бортов;

2.46.4. Открывающиеся стенки тары, находящиеся в штабеле, Должны быть в закрытом положении;

2.46.5. Опрокидывание тары должно осуществляться грузоподъемными устройствами, оборудованными специальными приспособлениями;

2.46.6. Перемещение тары волоком и кантованием не допускается;

2.46.7. Испытание тары после изготовления пробной нагрузкой не обязательно.

2.47. При перемещении ящичных грузов во избежание ранения рук каждый ящик необходимо предварительно осмотреть. Торчащие гвозди и концы железной обвязки должны быть забиты, убраны заподлицо.

2.48. При необходимости снятия ящика или кипы с верха штабеля необходимо предварительно убедиться, что лежащий рядом груз занимает устойчивое положение и не может упасть.

2.49. Укладывать ящики и кипы в закрытых складских помещениях необходимо с обеспечением ширины главного прохода не менее 3-5 м.

2.50. Грузы в бочках, барабанах, рулонах разрешается грузить вручную путем перекатывания при условии, что пол склада находится на одном уровне с полом вагона или кузова автомобиля.

2.51. Если пол склада расположен ниже уровня пола вагона или кузова автомобиля, погрузка и выгрузка катно-бочковых грузов вручную при кантовании допускается по слегам или покатам двумя работниками при массе одного места не более 80 кг, а при массе места более 80 кг необходимо применять прочные канаты или средства механизации.

2.52. Переноска катно-бочковых грузов на спине, независимо от их массы, запрещается.

2.53. Запрещается находиться перед скатываемыми грузами или сзади накатываемых по слегам (покатам) катно-бочковых грузов.

2.54. Перемещать грузы по горизонтальной плоскости, толкая их за края, запрещается.

2.55. Погрузка, выгрузка и перевозка грузов, превышающих длину кузова автомобиля на 2 м и более (длинномерные грузы), должны осуществляться с соблюдением следующих правил:

2.55.1. Длинномерные грузы должны перевозиться на автомобилях с прицепами-роспусками и полуприцепами;

2.55.2. Выгрузка длинномерных штучных грузов (рельсов, балок, бревен и т.д.), как правило, должна быть механизирована. Выгрузка вручную требует обязательного применения прочных канатов и эта работа должна выполняться не менее чем двумя грузчиками.

2.56. Платформы автомобилей, предназначенные для перевозки длинномерных грузов, не должны иметь бортов и должны быть оборудованы съемными или откидными стойками, предохраняющими груз от раскатывания и падения. Стойки не должны ограничивать возможностей по увязке груза.

2.57. При перевозке длинномерных грузов (труб, балок и т.п.) длиной более 6 м их необходимо надежно крепить к прицепу.

2.58. При одновременной перевозке длинномерных грузов различной длины более короткие грузы должны располагаться сверху.

2.59. Располагать длинномерный груз в кузове по диагонали, оставляя выступающие за боковые габариты автомобиля концы, а также загораживать грузом двери кабины запрещается.

2.60. Пиломатериал и бревна грузить на платформы автомобилей выше стоек запрещается.

2.61. При погрузке длинномерных грузов (труб, рельсов, конструкций, бревен и т.д.) на прицепы-роспуски необходимо оставлять зазор между задней стенкой кабины автомобиля и грузом с таким расчетом, чтобы прицеп мог свободно поворачиваться по отношению к автомобилю на 90° в каждую сторону. Для того чтобы во время торможения или движения под уклон груз не надвигался на кабину, его нужно располагать на автомобиле выше чем на прицепе-роспуске на величину, равную деформации (осадке) рессор транспортного средства от груза.

2.62. При погрузке, выгрузке и перевозке грузов, превышающих своим размерам ширину кузова автомобиля, должны соблюдаться следующие правила:

2.62.1. Платформа кузова автомобиля, на котором перевозятся таки грузы, не должна иметь бортов, а площадь пола должна быть увеличена по обе стороны в соответствии с размером груза;

2.62.2. На передних крыльях или на бампере автомобиля должны быть установлены указатели габарита. Если перевозка осуществляется на прицепных тележках, то на ней также должны быть установлены указатели габарита.

2.63. При погрузке груза неправильной формы и сложной конфигурации (кроме грузов, которые не допускается кантовать) груз следует располагать на транспортном средстве таким образом, чтобы центр тяжести занимал самое возможно низкое положение.

Строповку крупногабаритных грузов необходимо производить за специальные устройства, строповочные узлы или обозначенные на грузе места в зависимости от положения его центра тяжести.

Места строповки, положение центра тяжести и масса груза должны быть обозначены на грузе.

2.64. В процессе эксплуатации стропы должны подвергаться периодическому осмотру в установленные сроки, не реже чем через 5 дней - при интенсивном использовании, не реже чем через 10 дней - при регулярном использовании и перед выдачей в работу - для редко используемых.

После изготовления и ремонта стропы должны быть испытаны нагрузкой в 1,25 раза превышающей их номинальную грузоподъемность.

2.65. Осмотр стропов должен производиться по инструкции специализированной организации, определяющей порядок и методы осмотра, браковочные показатели и методы устранения обнаруженных повреждений.

2.66. При отсутствии инструкции специализированной организации браковка канатов и цепей стропов должна производиться в соответствии с нормами браковки съемных грузозахватных приспособлений (Приложения 9 и 10) с регистрацией результатов в журнале (Приложение 11).

2.67. Укладка груза в полувагон, на платформу должна производиться в соответствии с нормами МПС России по согласованию с грузополучателем.

Погрузка груза в транспортные средства должна производиться таким образом, чтобы обеспечивалась возможность удобной и безопасной строповки его при разгрузке.

Загрузка и разгрузка полувагонов, платформ, автомашин и др. транспортных средств должны выполняться без нарушения их равновесия.

2.68. Сортовой металл при погрузке в полувагон должен укладываться на поперечные прокладки из досок сечением не менее 40´100 мм по всей ширине полувагона.

2.69. Отдельные пачки сортовой стали должны укладываться параллельно друг другу без перекашивания. Каждая пачка сортовой стали размером профиля до 180 мм должна быть увязана обвязками из проволок диаметром не менее 6 мм в две нити: при длине металла до 6 м в двух местах; при большей длине металла - в трех местах.

2.70. Каждая пачка сортовой стали размером профиля более 180 мм должна быть увязана поперечными обвязками из проволоки диаметром 6 мм в две нити: при длине металла до 9 м в двух местах; при большей длине металла - в трех местах.

2.71. Трубы диаметром от 111 до 450 мм должны укладываться на транспортное средство с разделением смежных рядов не менее тремя прокладками из досок сечением не менее 35´100 мм.

2.72. При погрузке в полувагон или на платформу железобетонных изделий и конструкций их укладка должна производиться на две поперечные деревянные подкладки из досок сечением не менее 40´100 мм.

2.73. При укладке конструкций в полувагон штабелями между ярусами в штабеле должны укладываться прокладки, ширина которых может быть на 40 мм меньше ширины подкладок, при этом прокладки должны располагаться по вертикали над подкладками.

2.74. Подкладки и прокладки должны укладываться равномерно по длине груза и симметрично по отношению к середине платформы или полувагона.

2.75. При погрузке или разгрузке краном полувагонов, автомашин опускать или поднимать груз при нахождении людей в полувагоне, кузове или кабине автомашины не допускается.

Место нахождения стропальщика должно определяться технологической документацией и быть оборудовано в местах постоянных работ соответствующим образом (с устройством эстакад, навесных площадок и др.).

2.76. В регламентной документации на производство погрузочно-разгрузочных работ должно быть заложено по операционное выполнение работ с указанием безопасных мест для стропальщика при каждой операции подъема или опускания груза.

2.77. Нахождение людей на платформах, автомобилях, в полувагонах и другом подвижном составе при погрузке и разгрузке их магнитными и грейферными кранами запрещается.

2.78. Применяемые способы укладки грузов должны обеспечивать:

2.78.1. Устойчивость штабелей, пакетов и грузов, находящихся в них;

2.78.2. Возможность механизированной разборки штабеля и подъема груза навесными захватами подъемно-транспортного оборудования;

2.78.3. Безопасность работающих на штабеле или около него;

2.78.4. Безопасность применения и нормального функционирования средств защиты работников и пожарной техники;

2.78.5. Циркуляцию воздушных потоков при естественной и искусственной вентиляции закрытых складов;

2.78.6. Соблюдение требований к охранным зонам линий электропередачи, узлам инженерных коммуникаций и энергоснабжения.

2.79. Транспортирование грузов должно выполняться транспортными средствами, отвечающими требованиям безопасности по ГОСТ 12.2.003.

2.80. Транспортные средства организации должны иметь государственные номерные знаки или регистрационные номера организации.

2.81. Транспортирование грузов должно производиться в таре или оснастке, которая указана в технологической документации на транспортирование данного груза.

2.82. Авто- и электропогрузчики следует использовать на площадках твердым и ровным покрытием.

2.83. При перемещении грузов погрузчиками необходимо применять рабочие приспособления (вилочные захваты, крюки, ковши и др.) в соответствии с технологическими документами по ГОСТ 31120.

2.84. Погрузчики с вилочными захватами при транспортировании мелких или неустойчивых грузов должны оснащаться предохранительной рамкой или кареткой для упора груза при перемещении.

2.85. Удлинители вилочных захватов должны быть оборудованы соответствующими защелками или приспособлениями, надежно фиксирующими и удерживающими их на захватах.

2.86. Перемещение крупногабаритных грузов, ограничивающих видимость водителю автопогрузчика, должно производиться в сопровождении специально выделенного и проинструктированного сигнальщика.

2.87. Перевозка людей допускается только при наличии на транспортных средствах сидений, выполненных в соответствии с документацией предприятия-изготовителя транспортного средства.

2.88. Перевозка грузчиков в кузове автомобиля, как правило, не допускается. Если по роду работы необходимо перевозить экспедиторов или грузчиков, то они должны находиться в кабине автомобиля.

3. ТРЕБОВАНИЯ К МЕСТАМ ПРОИЗВОДСТВА ПОГРУЗОЧНО-РАЗГРУЗОЧНЫХ РАБОТ

3.1. Места производства погрузочно-разгрузочных работ должны размещаться на специально отведенной территории с ровным твердым покрытием или твердым грунтом, способным воспринимать нагрузки от грузов и подъемно-транспортных машин. Площадки для производства погрузочно-разгрузочных работ должны иметь уклон не более 5°, при применении авто- и электропогрузчиков - не более 3°.

Места производства погрузочно-разгрузочных работ должны быть оборудованы знаками безопасности по ГОСТ 12.4.026.

3.2. Подъездные пути к площадкам производства погрузочно-разгрузочных работ должны иметь твердое покрытие и содержаться в исправном состоянии. Движение транспортных средств в местах производства погрузочно-разгрузочных работ должно быть организовано по схеме, утвержденной администрацией организации, и регулироваться разметкой и дорожными знаками на въездах, выездах, в местах разворотов и постановки под разгрузку (погрузку) транспортных средств в соответствии с Правилами дорожного движения Российской Федерации.

3.3. В местах пересечения подъездных путей с канавами, траншеями, железнодорожными линиями и др. должны быть устроены настилы или мостки для переездов.

3.4. Ширина подъездных путей должна быть не менее 6,2 м при двустороннем движении транспортных средств и не менее 3,5 м при одностороннем движении с соответствующими расширениями на закруглениях дорог.

3.5. Погрузочно-разгрузочные площадки должны иметь размеры, обеспечивающие нормальный фронт работ.

3.6. На площадке для погрузки и выгрузки тарных штучных грузов, хранящихся в складах и пакгаузах, должны быть устроены платформы, эстакады, рампы высотой, равной высоте пола кузова транспортного средства. Рампы со стороны подъезда транспортных средств должны быть шириной не менее 1,5 м и иметь уклон не более 5°. Ширина эстакады, предназначенной для перемещения по ней транспортных средств, должна быть не менее 3 м.

3.7. Склады, расположенные в подвальных и полуподвальных помещениях и имеющие лестницы с количеством маршей более одного или высотой более 1,5 м, должны оборудоваться люками и трапами для спуска грузов в складское помещение и грузовыми подъемниками.

3.8. Склады, расположенные выше первого этажа и имеющие лестницы с количество маршей более одного или высотой более 2 м, должны оборудоваться подъемниками для спуска или подъема грузов.

3.9. Места производства погрузочно-разгрузочных работ должны иметь освещенность не менее 10 лк.

В случае необходимости освещения больших площадей может быть применено прожекторное освещение.

3.10. Метеорологические условия для производства погрузочно-разгрузочных работ должны определяться по ГОСТ 12.1.005 и соответствовать для работ в помещениях параметрам, указанным в табл. 1 и 2.

Таблица 1

Допустимые параметры температуры, относительной влажности и скорости движения воздуха в рабочей зоне производственных помещений в переходный и холодный периоды года

Категория работ

Нормируемые параметры

Температура воздуха, °С

Относительная влажность воздуха, %, не более

Скорость движения воздуха, м/с, не более

Температура воздуха вне пост, рабочих мест, °С

1

2

3

4

5

Легкая I

19-25

75

0,2

15-26

Средней тяжести IIа

17-23

75

0,3

13-24

Средней тяжести IIб

15-21

75

0,4

13-24

Тяжелая III

13-19

75

0,5

12-19

Примечания:

1. При площади пола от 50 до 100 м2 на работающего допускается понижение температуры воздуха вне постоянных рабочих мест против нормируемых (графа 5).

1.1. Для легких работ - до 12 °С;

1.2. Для работ средней тяжести - до 10 °С;

1.3. Для тяжелых работ - до 8 °С.

2. Для работ тяжелых и средней тяжести, а также при применении системы отопления и вентиляции с сосредоточенной подачей воздуха допускается повышение скорости движения воздуха на постоянных рабочих местах до 0,7 м/с при одновременном повышении температуры на 2 °С.

Таблица 2

Допустимые параметры температуры, относительной влажности и скорости движения воздуха в рабочей зоне производственных помещений с избытками явного тепла в теплый период года

Категория работ

Температура воздуха в помещении, °С

Относительная влажность воздуха в помещениях, % не более

Скорость движения воздуха в помещениях, м/с* при

с незнач.

со значит.

с незнач.

со значит.

избытком явного тепла

избытком явного тепла

1

2

3

4

5

6

Легкая-I

не более чем на

                          

выше средней температуры наружного воздуха в 13 час. самого жаркого месяца, но не более 28°

55 при 28 °С

60 при 27 °С

65 при 26 °С

70 при 25 °С

75 при 24 °С и ниже

0,2-0,5

0,2-0,5

Средней тяжести - IIа

0,2-0,5

0,3-0,7

Средней тяжести - IIб

0,3-0,7

0,5-1,0

Тяжелая - III

не более чем на

                          

выше средней температуры наружного воздуха в 13 час. самого жаркого месяца, но не более 28°

60 при 26 °С

70 при 25 °С

75 при 24 °С и ниже

0,3-0,7

0,5-1,0

Примечания:

1. Температура воздуха вне постоянных рабочих мест в производственных помещениях с незначительным избытком явного тепла должна быть не более чем на 3 °С и в помещениях со значительным избытком явного тепла на более чем на 5 °С выше средней температуры наружного воздуха в 13 час. самого жаркого месяца;

2. Явное тепло - тепловыделение более 20 ккал/м3 ч;

3. Категории работ:

I категория - легкие физические работы с энергозатратами до 150 ккал/ч;

IIа категория - работы средней тяжести с энергозатратами до 200 ккал/ч;

IIб категория - тоже с перемещением тяжести массой до 10 кг и с энергозатратами до 250 ккал/ч;

III категория - тяжелые физические работы с энергозатратами более 250 ккал/ч;

4. Сезоны года:

Теплый период - среднесуточная температура наружного воздуха 10 °С и выше;

Холодный период - среднесуточная температура наружного воздуха ниже 0 °С;

5. * - большая скорость движения воздуха соответствует максимальной температуре воздуха, меньшая - минимальной;

6. В помещениях со значительным выделением влаги допускается повышение относительной влажности воздуха на 10 %, но не выше 75 %, при этом температура воздуха в помещениях не должна превышать 28 °С для работ легких и средней тяжести и 26 °С - для тяжелых работ;

7. Температуру, указанную в графах 2 и 3 при сохранении указанных в колонке 4 значений относительной влажности воздуха, допускается повышать на 3 °С, но не выше 31 °С и на 5 °С, но не выше 33 °С соответственно;

8. Для районов с повышенной влажностью допускается для теплого периода года относительная влажность воздуха в рабочей зоне производственных помещений выше указанной в табл. 2 на 10 %.

3.11. В производственных помещениях с площадью пола на одного работающего более 100 м2 температура, относительная влажность, скорость движения воздуха, предусмотренные в табл. 1 и 2, должны обеспечиваться только на постоянных рабочих местах.

3.12. Содержание вредных веществ в воздухе рабочей зоны не должно превышать установленных предельно допустимых концентраций (ПДК), указанных в табл. 4 и 5 ГОСТ 12.1.005, при этом:

3.12.1. При одновременном содержании в воздухе рабочей зоны нескольких вредных веществ однонаправленного действия сумма отношений фактических концентраций каждого из них к их ПДК не должна превышать единицы;

3.12.2. При одновременном содержании в воздухе рабочей зоны нескольких вредных веществ, не обладающих однонаправленным действием, ПДК остаются такими же, как и при изолированном воздействии.

3.13. Допустимые уровни шума на рабочих местах, требования к шумовым характеристикам оборудования и требования по защите от шума должны определяться ГОСТ 12.1.003.

3.14. Зоны с уровнем звука выше 80 дБа должны быть обозначены знаками безопасности, а работающие в этой зоне должны быть обеспечены средствами индивидуальной защиты органов слуха.

3.15. Запрещается даже кратковременное пребывание в зонах с октавными уровнями звукового давления выше 135 дБ в любой октавной полосе.

3.16. При контактах с генерирующими вибрацию объектами должны применяться меры по защите от нее как технического, так и организационного характера.

3.17. Вибрации, передающиеся на руки работающего или на рабочее место, не должны превышать предельно допустимых величин.

3.18. Работа с оборудованием, уровни вибраций которых более чем в 4 раза (более 12 дБ) превышают санитарные нормы, запрещается.

3.19. Перед производством погрузочно-разгрузочных работ на железнодорожном транспорте необходимо проверить состояние путей и стрелок.

3.20. Расстояние от оси железнодорожного пути колеи 1520 (1524) мм до зданий и сооружений должно быть не менее 3,0 м. В виде исключения и в случаях, не связанных с нарушением требований безопасности производства работ, это расстояние может быть допущено временно (до их переустройства) до 2,45 м.

3.21. Рельсовые пути в помещениях должны быть заподлицо с полом, на территории организации должны быть ровными, состоять из надежно скрепленных рельсов одного профиля. В местах погрузки (при необходимости) на путях могут устанавливаться габаритные ворота, определяющие допустимые размеры груза по высоте и ширине, а вдоль путей на уровне головки рельсов должен быть устроен настил, обеспечивающий безопасность передвижения работников. Тупиковые железнодорожные пути должны быть оборудованы упорами.

3.22. При размещении грузов не должно возникать помех естественному освещению, вентиляции, безопасной эксплуатации оборудования проезду транспортных средств, проходу работников, безопасному производству работ, использованию противопожарного оборудования, маршрутам эвакуации работников в аварийных ситуациях и т.д.

3.23. Размещение материалов в зоне котлованов, траншей должно производиться за пределами призмы обрушения, но не менее 1 м от бровки естественного откоса или крепления выемки (котлована, траншеи).

3.24. Размеры погрузочно-разгрузочных площадок должны обеспечивать расстояние между габаритами транспортных средств с грузом не менее 1 м. При проведении погрузки и разгрузки вблизи здания расстояние между зданием и транспортным средством с грузом должно быть не менее 0,8 м, при этом должен быть предусмотрен тротуар и отбойный брус.

3.25. Исходные материалы, заготовки, полуфабрикаты, детали, готовая продукция и отходы производства (обрабатываемые грузы) не должны оказывать вредного воздействия на работающих при контакте с ними.

3.26. При необходимости работы с грузом, являющимся источником вредных и опасных производственных факторов, должны применяться соответствующие средства защиты (как коллективные, так и индивидуальные), включая и организационные меры. Характеристика обрабатываемых грузов дана в Приложении 8.

4. ТРЕБОВАНИЯ К ПРОИЗВОДСТВЕННОМУ ОБОРУДОВАНИЮ И ТАРЕ

4.1. Производственное оборудование, применяемое при погрузочно-разгрузочных и транспортных работах, должно быть безопасным при монтаже, эксплуатации, ремонте, при использовании отдельно или в составе комплексов и технологических систем.

4.2. Общие требования безопасности, предъявляемые к подъемно-транспортному оборудованию, должны определяться ГОСТ 12.2.003.

4.3. Технология грузовой переработки грузов представляет собой систему механизированных операций, выполняемых комплексом подъемно-транспортных машин и оборудования: кранами - мостовыми, козловыми, башенными, передвижными стреловыми (пневмоколесными, автомобильными, железнодорожными), портальными; погрузчиками (авто- и электро-) вилочными и ковшовыми; транспортерами ленточными, скребковыми, шнековыми; рольгангами; конвейерами, трубопроводным транспортом; ручными тележками и т.д.

4.4. Мостовые электрические краны применяются на погрузочно-разгрузочных работах с различными грузами (единичными, в пакетах, контейнерах и др.) при их перемещении, штабелировании на открытых площадках, в закрытых складах, производственных помещениях, эстакадах и др.

4.5. Мостовые грейферные краны предназначены для подъема и перемещения сыпучих и кусковых материалов с насыпной объемной массой 0,54 т/м3.

4.6. Краны мостовые, оборудованные ручной талью, навешенной на пролетную двутавровую балку и передвигающуюся по ней, предназначены, в основном, для погрузочно-разгрузочных работ небольших по массе и количеству грузов.

4.7. Краны козловые (полукозловые) на рельсоколесном ходу предназначены для погрузочно-разгрузочных работ на открытых площадках, имеющих подъездные железнодорожные и (или) автомобильные пути, и на перегрузочных складах при обработке различных грузов, включая штучные, насыпные, в контейнерах и т.д.

4.8. Портальные (полупортальные) краны устанавливаются на перегрузочных складах и базах, имеющих кроме железнодорожных и автомобильных подъездных путей пристани (порты) для выгрузки грузов, прибывающих водным путем.

4.9. Башенные краны, в основном, устанавливаются на строительных площадках. Производят подъемы и перемещения различных грузов (материалов) с подачей на рабочее место. Эти краны также широко применяются на погрузочно-разгрузочных и транспортно-складских работах с различными длинномерными и мелкоштучными грузами.

4.10. Стреловые самоходные краны (на автомобильном, пневмоколесном, гусеничном, железнодорожном ходу) предназначены для выполнения погрузочно-разгрузочных работ на открытых площадках и рассредоточенных объектах.

4.11. Краны консольные (на колонне, настенные, велосипедные) используются, в основном, для перемещения грузов в составе технологических операций, на комплектовочно-сортировочных площадках складов, на рампах складов и др.

4.12. Краны-манипуляторы, смонтированные на транспортных средствах, предназначены для загрузки-разгрузки этих транспортных средств.

4.13. Погрузчики (автопогрузчики, электропогрузчики), оборудованные грузоподъемной рамой с вилочным захватом и дополнительными съемными рабочими органами (ковшом, безблочной стрелой, грейферным захватом, траверсами и др.), применяются для переработки малотоннажных грузов и обладают высокой маневренностью, мобильностью и производительностью.

4.14. Многоковшовые погрузчики, имеющие шнековый питатель, подающий материал на ковшовый элеватор или ленточный поворотный конвейер, применяются для погрузочно-разгрузочных операций сыпучих и кусковых материалов.

4.15. Экскаваторы одноковшовые применяются на открытых складах и карьерах при погрузке в транспортные средства сыпучих и кусковых материалов, а также при их штабелировании на открытых складских площадках. Для выполнения технологических операций находят применение краны, оборудованные специальными грузозахватными органами: краны с магнитной шайбой, краны мульдо-магнитные, краны мульдо-грейферные, краны мульдо-завалочные, краны штыревые, краны литейные, краны штабелеры, краны посадочные, краны ковочные, краны для раздевания слитков (скрипперные), краны колодцевые и др.

4.16. Краны-штабелеры мостовые (опорные и подвесные) и стеллажные, управляемые с пола (при высоте укладки груза до 4 м) или из кабины (при высоте укладки груза от 4 до 10 м), используются для укладки мелкоштучных и тарно-штучных грузов в штабеля и стеллажи. Колонна направляющей каретки с грузовым механизмом может быть жестко закреплена, и иметь поворот на 90°, 180° и 360°, а также быть телескопической.

Грузоподъемные устройства, монтируемые на каретке, представляют собой, как правило, вилочные захваты с раздвижными вилами, а также телескопические, штыревые, вакуумные и др. в зависимости от вида перерабатываемого краном-штабелером груза.

4.17. Стеллажные краны-штабелеры обслуживают один или два ряда многоярусных стеллажей, расположенных по обе стороны прохода склада и двигаются вдоль него по рельсовым путям.

4.18. Стеллажные краны-штабелеры используются так же, как и мостовые краны-штабелеры, на складах для хранения грузов в таре, упаковке на поддонах размерами 800´1200 или 800´600 мм.

4.19. Автомобильные самопогрузчики представляют собой автомобили, оборудованные крановым механизмом (консольного типа с поворотной стрелой или портального типа), выносными опорами для повышения устойчивости при выполнении погрузочно-разгрузочных операций; используются для пакетной и контейнерной перевозки штучных грузов.

Консольные самопогрузчики применяются в основном для погрузки, перевозки и выгрузки тарных или пакетированных грузов и малогабаритных контейнеров.

Портальные самопогрузчики применяются для погрузки, перевозки и выгрузки пакетированных грузов, железнодорожных и других контейнеров.

4.20. Грузовые транспортные тележки грузоподъемностью до 50 кг используются на складах для перемещения отдельных легковесных грузов.

4.21. Грузовые транспортные тележки грузоподъемностью 0,25-1,0 т используются на складах для перемещения отдельных грузов или мелких штучных грузов на поддонах или в таре.

4.22. Тележки-штабелеры с ручным гидравлическим рычажным приводом подъема груза позволяют производить многоярусное складирование, укладку в стеллажи и перемещение грузов в производственной таре размерами 800´600, 600´400, 400´300 мм.

4.23. Тележки с подъемной платформой или подъемными вилами с ручным гидравлическим рычажным приводом подъема груза используются при внутрискладских перемещениях грузов в таре размерами 800´600 и 600´400 мм.

4.24. Вилочные электропогрузчики используются для производства погрузочно-разгрузочных работ и транспортных операций на открытых складских площадках, в складских и производственных помещениях, в крытых железнодорожных вагонах и т.д.

4.25. Электроштабелеры используются, как правило, при работах в стесненных условиях при штабелировании грузов в высокие ярусы стеллажей. Загрузка груза в стеллажи и выгрузка его из стеллажей производится выдвижением грузоподъемника с вилочными захватами. Рама грузоподъемного механизма может наклоняться вперед и назад, что обеспечивает взятие груза из штабеля и укладку груза в штабель.

4.26. Электротягачи и электротележки используются для транспортно-складских работ на контейнерных и погрузочно-разгрузочных площадках и в складских помещениях.

4.27. Ручные и электрические тали используются для подъема и перемещения различных грузов как в составе малотоннажных мостовых и козловых кранов, так и в составе монорельсовых тележек или на индивидуальной подвеске.

4.28. Требования к установке, ремонту, реконструкции и эксплуатации грузоподъемных машин и механизмов, грузозахватных приспособлений и тары, используемых при производстве грузоподъемных и транспортных работ определяются Правилами устройства и безопасной эксплуатации грузоподъемных кранов.

4.29. Все грузоподъемные машины (кроме кранов с ручным приводом механизмов, кранов с механизмами подъема в виде пневмо- и гидроцилиндров, кранов мостового и консольного типа грузоподъемностью до 10 т, управляемых с пола, кранов стрелового типа грузоподъемностью до 1 т с постоянным вылетом стрелы или без механизма поворота, кранов переставных, устанавливаемых на монтируемом оборудовании, кранов, используемых только для учебных целей на полигонах профтехучилищ и технических курсов, кранов, смонтированных на технологических машинах для их ремонта, электрических талей и лебедок) к эксплуатации допускаются после их регистрации в установленном порядке в органах госгортехнадзора. При этом:

4.29.1. Для кранов, перемещающихся по наземному рельсовому пути, с документами на регистрацию должна быть представлена справка о соответствии наземного пути нагрузкам от устанавливаемого крана;

4.29.2. Для кранов, изготовленных за рубежом, в составе документов на регистрацию должно быть представлено заключение сертификационного центра Госгортехнадзора России;

4.29.3. Для отработавшего срок службы крана в составе документов на регистрацию должно быть представлено заключение специализированной организации о возможности его дальнейшей эксплуатации;

4.29.4. Краны на самоходных шасси (кроме гусеничных) должны быть зарегистрированы также в органах Госавтоинспекции.

4.30. Грузоподъемные машины, не подлежащие регистрации в органах госгортехнадзора, а также съемные грузозахватные приспособления должны снабжаться индивидуальным номером и под этим номером они должны быть зарегистрированы владельцем в журнале учета грузоподъемных машин и съемных грузозахватных приспособлений.

4.31. Разрешение на пуск в работу грузоподъемных машин, регистрируемых в органах госгортехнадзора: для вновь зарегистрированных, а также после установки на новом месте (кроме стреловых самоходных кранов), после реконструкции, ремонта или замены расчетных элементов узлов металлоконструкций с применением сварки - должно быть получено в органе госгортехнадзора, зарегистрировавшем эти машины.

Разрешение на пуск в работу гусеничных и пневмоколесных кранов после их перестановки на новый объект выдается специалистом по надзору за безопасной эксплуатацией грузоподъемных машин в организации.

4.32. Разрешение на пуск в работу грузоподъемных машин, не подлежащих регистрации в органах госгортехнадзора, выдается инженерно-техническим работником по надзору за безопасной эксплуатацией грузоподъемных машин в организации.

4.33. Грузоподъемные машины и съемные грузозахватные приспособления до пуска их в работу должны быть подвергнуты полному техническому освидетельствованию.

4.34. Грузоподъемные машины могут допускаться к перемещению только тех грузов, масса которых не превышает грузоподъемность машины (у стреловых кранов с учетом вылета стрелы, выносных опор, противовесов).

4.35. Грузоподъемные машины, оснащенные грейфером или магнитом, должны эксплуатироваться и применяться на работах в соответствии с инструкцией предприятия-изготовителя.

4.36. Запрещается применять грузоподъемные машины, механизм подъема которых оборудован фрикционными или кулачковыми муфтами включения, для подъема и перемещения расплавленного металла, ядовитых и взрывчатых веществ, сосудов, работающих под давлением.

4.37. Не допускается в местах производства работ нахождение немаркированной или неисправной тары, неисправных или не имеющих бирок, клейм съемных грузозахватных приспособлений.

4.38. При эксплуатации мостовых кранов, управляемых из кабины, должна применяться марочная система.

4.39. При эксплуатации грузоподъемных машин, управляемых с пола, должен быть обеспечен свободный проход для лица, управляющего грузоподъемной машиной.

4.40. Допуск персонала на крановые пути и проходные галереи мостовых и передвижных консольных кранов должен осуществляться по наряду-допуску.

4.41. Тележки и вагонетки с опрокидывающимися кузовами, используемые для перевозки грузов, должны быть снабжены защелками, исключающими самопроизвольное опрокидывание и их высота с грузом от уровня пола или головки рельсов не должна превышать 1,5 м.

4.42. На тачках, тележках, носилках и других приспособлениях для транспортировки кислот или щелочей в стеклянной таре от склада к месту погрузки или от места выгрузки до склада должны быть оборудованы гнезда по размеру тары, стенки которых должны быть обиты мягким материалом (войлоком, рогожей и т.п.). Гнезда для установки бутылей и другой стеклянной тары должны иметь боковые дверцы с запорами, исключающими их самопроизвольное открывание.

4.43. Безопасность работ с использованием тары в соответствии с ГОСТ 12.3.010 должна обеспечиваться:

4.43.1. Использованием только исправной тары;

4.43.2. Эксплуатацией тары в комплексе с грузоподъемными машинами с соблюдением требований Правил устройства и безопасной эксплуатации грузоподъемных кранов;

4.43.3. Организацией и проведением регулярных технических освидетельствований тары, содержанием тары в исправном состоянии;

4.43.4. Правильным штабелированием тары.

4.44. Тара, не соответствующая требованиям ГОСТ 19822 и имеющая дефекты, обнаруженные при проверке, считается не прошедшей техническое освидетельствование и к эксплуатации допускаться не должна.

4.45. Тара для мелкоштучных и сыпучих грузов после изготовления должна подвергаться осмотру. Испытание такой тары грузом не обязательно.

4.46. На таре, за исключением специальной технологической, должно быть указано ее назначение, номер, собственная масса, наибольшая масса груза, для транспортирования которого она предназначена.

Емкость тары должна исключать возможность перегрузки грузоподъемной машины.

4.47. Запорные и фиксирующие устройства тары не должны допускать самопроизвольного ее раскрытия во время погрузочно-разгрузочных, транспортных работ и при складировании.

4.48. Тара более 50 кг брутто должна подвергаться периодическим осмотрам: перед началом эксплуатации, через каждые шесть месяцев эксплуатации и после каждого ремонта.

4.49. Тару, перемещаемую грузоподъемными кранами и на которую распространяются правила госгортехнадзора, надлежит осматривать ежемесячно.

4.50. При периодическом осмотре тара должна подвергаться проверке на соответствие требованиям ГОСТ 19822. При этом должно проверяться:

появление трещин, износ и искривление в захватных устройствах для строповки;

исправность фиксирующих устройств;

исправность запорных устройств;

наличие маркировки.

4.51. Результаты технического освидетельствования тары должны быть занесены в журнал осмотров тары (Приложение 11).

4.52. Тара, устанавливаемая в штабель, должна иметь единые конструкцию и размеры фиксирующих устройств, обеспечивающие устойчивость тары в штабеле и штабеля в целом.

4.53. Требования к устройству и безопасной эксплуатации стропов из стальных канатов и цепных стропов определены РД-10-33-93.

4.54. Грузовые стропы должны изготавливаться по конструкторской документации, выполненной в соответствии с требованиями РД-10-33-93, Правил устройства и безопасной эксплуатации грузоподъемных кранов, и утвержденной в установленном порядке.

4.55. Съемные грузозахватные приспособления должны снабжаться клеймом или прочно прикрепленной металлической биркой с указанием номера, грузоподъемности и даты испытания. Изготовленные для сторонних организаций съемные грузозахватные приспособления должны также снабжаться паспортом.

4.56. Канатный строп подлежит браковке, если число видимых обрывов наружных проволок каната двойной свивки превышает:

4 шт. на участке канатного стропа длиной 3d;

6 шт. на участке канатного стропа длиной 6d;

16 шт. на участке канатного стропа длиной 30d.

Примечание: d - диаметр каната, мм.

4.57. Браковка колец, петель, крюков, строп производится:

при наличии трещин;

при износе поверхности элементов или местных вмятинах, приводящих к уменьшению площади поперечного сечения на 10 %;

при наличии остаточных деформаций, приводящих к изменению первоначального размера элемента более чем на 3 %.

4.58. Не допускаются к эксплуатации стропы, у которых:

отсутствуют или повреждены маркировочные бирки;

деформированы коуши или их износ привел к уменьшению первоначальных размеров сечения более чем на 15 %;

имеются трещины на опрессовочных втулках или размеры последних изменились более чем на 10 % от первоначальных;

имеются смещения каната в заплетке или втулках;

повреждены или отсутствуют оплетки или другие защитные элементы при наличии выступающих концов проволоки у места заплетки;

крюки не имеют предохранительных замков.

4.59. Канатные стропы, ветви которых изготовлены из канатов с органическим сердечником, допускается применять для транспортировки грузов с температурой не выше 100 °С.

4.60. Канатные стропы, ветви которых изготовлены из канатов с металлическим сердечником, а заделка концов каната выполнена опрессовкой алюминиевыми втулками, допускается применять для транспортировки грузов с температурой не выше 150 °С.

4.61. Грузоподъемность стропов с ветвями из канатов со стальным сердечником при перемещении грузов с температурой от 250 до 400 °С должна снижаться на 25 %. Применение канатных стропов для перемещения грузов с температурой выше 400 °С не допускается.

4.62. Грузоподъемность цепных стропов, применяемых для перемещения грузов с температурой от 300 до 500 °С, должна снижаться на 25 %, свыше 500 °С - на 50 %.

4.63. Отклонения длины ветвей, применяемых для комплектации многоветвевого стропа, не должны превышать 1 % от длины ветви.

4.64. При использовании ручных грузоподъемных механизмов, приспособлений и средств безопасности нормы и сроки периодических испытаний следует принимать в соответствии с Приложением 12.

4.65. Электротранспорт для перевозки легковоспламеняющихся жидкостей и ядовитых веществ допускается применять только в качестве тягача, при этом он должен быть оборудован средствами пожаротушения.

4.66. Средства непрерывного транспорта-конвейеры, транспортеры и др. должны соответствовать требованиям безопасности по ГОСТ 12.2.022.

4.67. Движущиеся части конвейеров, находящиеся на высоте не более 2,5 м от пола и к которым возможен доступ обслуживающего персонала и лиц, работающих вблизи конвейеров, должны быть ограждены.

4.68. В зоне возможного нахождения людей должны быть ограждены: канаты и блоки натяжных устройств на высоту их перемещения, участок пола под ними; загрузочные и приемные устройства; пересечения с проходами, проездами и др.

4.69. На конвейерах, входящих в технологические линии, должны предусматриваться автоматические устройства для остановки их привода при аварийной ситуации.

4.70. Конвейеры в составе технологических линий или в сочетании с другими машинами должны быть сблокированы так, чтобы при остановке одного предыдущие в этой цепи машины и конвейеры автоматически отключались, а последующие продолжали работать до полного схода с них транспортируемого груза.

4.71. Блокировки и предохранительная сигнализация должны исключать возможности повторного включения привода до ликвидации аварийной ситуации.

4.72. На участке трассы конвейеров, находящихся вне зоны видимости оператора с пульта управления, должна быть установлена двусторонняя звуковая или световая сигнализация, включающаяся автоматически перед включением привода конвейера.

4.73. Грузоподъемные машины не должны допускаться к эксплуатации при наличии дефектов, указанных в Приложениях 10, 13, 14, а также 9.

4.74. Предельные величины отклонений рельсовых путей мостовых, башенных, козловых, портальных кранов, мостовых перегружателей приведены в Приложении 14, нормы браковки - в Приложении 15.

5. ТРЕБОВАНИЯ К РАЗМЕЩЕНИЮ ПРОИЗВОДСТВЕННОГО ОБОРУДОВАНИЯ И ОРГАНИЗАЦИИ РАБОЧИХ МЕСТ

5.1. На погрузочно-разгрузочных площадках расстояния между транспортными средствами для погрузки или разгрузки грузов должны быть не менее: 10 м - в глубину колонны транспортных средств и 1,5 м - по фронту разгрузки; от стенки склада - не менее 0,5 м, от штабеля груза - не менее 1 м.

5.2. Расстояния от грузоподъемных машин до частей зданий и выступающих элементов оборудования должны быть не менее указанных в Приложении 16.

5.3. Входы на кран и в кабину должны быть безопасными с устройством для мостовых, передвижных консольных кранов посадочных площадок со стационарными лестницами.

5.4. Галереи для прохода вдоль кранового пути должны иметь перила высотой не менее 1 м со сплошной зашивкой понизу высотой не менее 0,1 м и выходы на лестницы через каждые 200 м.

5.5. Галереи, площадки и проходы должны иметь настил по всей длине и ширине, выполненный из нескользкого (рифленого или перфорированного стального листа).

5.6. Лестницы на посадочные площадки и галереи должны быть шириной не менее 0,6 м (не менее 0,5 м на кране) с шагом ступеней:

300 мм - для вертикальных лестниц;

250 мм - для наклонных лестниц;

200 мм - для наклонных лестниц башенных кранов.

Наклонные лестницы с двух сторон должны иметь перила высотой не менее 1,0 м.

Вертикальные лестницы с высотой 2,5 м должны ограждаться дугами с шагом не более 0,8 м, устанавливаемые на 700 мм от лестницы.

При высоте лестницы более 10 м через каждые 6 м подъема должны быть устроены площадки с перильным ограждением.

5.7. Грузоподъемные машины должны устанавливаться так, чтобы при подъеме груза исключалось наклонное положение грузовых канатов и обеспечивался зазор не менее 0,5 м над встречающимися на пути перемещения груза оборудованием, штабелями груза и т.д.

5.8. При управлении краном с пола или по радио должен быть обеспечен свободный проход для управляющего краном работника по всему маршруту движения крана.

5.9. Установка стреловых самоходных кранов должна производиться на подготовленной площадке с утрамбованным и спланированным грунтом с уклоном, не превышающим указанного в паспорте крана.

5.10. Перед производством работ стреловые самоходные или железнодорожные краны должны быть установлены на выносные опоры с подкладкой под них прочных и устойчивых подкладок.

5.11. Установка кранов в охранной зоне воздушных линий электропередачи должна быть согласована с владельцем линии.

5.12. Установка и работа стреловых самоходных кранов: автомобильных, пневмоколесных, гусеничных (кроме железнодорожных) - на расстоянии менее 30 м от крайнего провода линии электропередачи или воздушной электрической сети напряжением 42 В должны производиться по наряду-допуску.

6. ТРЕБОВАНИЯ К СПОСОБАМ ХРАНЕНИЯ И ТРАНСПОРТИРОВАНИЯ ИСХОДНЫХ МАТЕРИАЛОВ, ЗАГОТОВОК, ПОЛУФАБРИКАТОВ, ГОТОВОЙ ПРОДУКЦИИ И ОТХОДОВ ПРОИЗВОДСТВА (ОБРАБАТЫВАЕМЫХ ГРУЗОВ)

6.1. Общие требования.

6.1.1. Хранение и транспортирование исходных материалов, заготовок, полуфабрикатов, готовой продукции, отходов производства (далее грузов) должны производиться:

с применением безопасных средств и приемов погрузочно-разгрузочных и транспортных операций;

с применением способов складирования, исключающих возникновение опасных и вредных производственных факторов.

6.1.2. При транспортировании грузов необходимо обеспечивать применение средств, исключающих возникновение опасных и вредных производственных факторов.

6.1.3. Эксплуатацию тары следует осуществлять в соответствии с требованиями ГОСТ 12.3.010.

6.1.4. Грузы, хранящиеся навалом, следует укладывать, формировать в штабеля с крутизной откоса, соответствующей углу естественного откоса для данного материала.

При необходимости такие штабеля должны огораживаться защитными решетками.

6.1.5. Грузы в таре и кипах должны укладываться в устойчивые штабеля, предельная высота которых не должна превышать требований, определенных ГОСТ 12.3.010.

6.1.6. Крупногабаритные и тяжеловесные грузы должны укладываться в один ряд на подкладках.

6.1.7. Размещаемые грузы должны укладываться так, чтобы исключалась опасность их падения, опрокидывания, разваливания и чтобы при этом обеспечивались доступность и безопасность их выемки при выдаче в производство или при погрузке для отправки.

6.1.8. Укладка грузов, включая и на погрузочно-разгрузочных площадках и в местах временного хранения, вплотную к стенам здания, колоннам и оборудованию, штабель к штабелю не допускается.

6.1.9. Просветы между грузом и стеной, колонной должны быть не менее 1 м, между грузом и перекрытием здания - не менее 1 м, между грузом и светильником - не менее 0,5 м.

6.1.10. Грузы в ящиках или кипах должны укладываться в устойчивые штабеля.

6.1.11. Грузы в мешках и кулях должны укладываться в штабеля в перевязку

6.1.12. Высота штабеля при ручной погрузке не должна превышать 3 м, при применении механизмов для подъема груза - 6 м.

6.1.13. Грузы в неисправной, рваной таре для укладки в штабель не допускаются.

6.1.14. Способы укладки грузов должны обеспечивать:

6.1.14.1. Устойчивость штабелей, пакетов и грузов, находящихся в укладках;

6.1.14.2. Механизированную разборку штабеля и подъема груза навесными захватами подъемно-транспортного оборудования;

6.1.14.3. Безопасность работающих на штабеле или около него;

6.1.14.4. Возможность применения и нормального функционирования средств защиты работающих и пожарной техники;

6.1.14.5. Циркуляцию воздушных потоков при естественной и искусственной вентиляции в закрытых складах;

6.1.14.6. Соблюдение требований к охранным зонам линий электропередачи, узлам инженерных коммуникаций и энергоснабжения.

6.1.15. Не допускается нахождение людей и передвижение транспортных средств в зоне возможного падения грузов при погрузке и разгрузке с подвижного состава, а также при перемещении грузов подъемно-транспортным оборудованием.

6.1.16. Грузы, размещаемые вблизи железнодорожных и крановых рельсовых путей, должны быть расположены в соответствии с требованиями ГОСТ 9238.

6.1.17. Грузы, размещаемые вблизи железнодорожных и наземных крановых путей, должны располагаться от наружной грани головки ближайшего к грузу рельса не ближе 2 м при высоте штабеля до 1,2 м и не менее 2,5 м при большей высоте штабеля.

6.1.18. Требования безопасности к укладке грузов приведены в Приложении 17.

6.1.19. Размещение материалов, тары с заготовками, деталями и отходами должно быть удобным для их зачаливания при применении грузоподъемных устройств и подъемно-транспортных средств.

6.1.20. Штабеля сыпучих грузов с откосами крутизной более угла естественного откоса должны быть ограждены прочными подпорными стенками.

6.1.21. При укладке грузов (кроме сыпучих) должны быть приняты меры, предотвращающие защемление или примерзание их к покрытию площадки.

6.1.22. Расстояния между рядами штабелей должны быть определена с учетом возможности укладки в штабель, снятия груза со штабеля грузозахватными устройствами применяемых грузоподъемных средств и обеспечения противопожарных разрывов.

6.1.23. Между штабелями на складах, площадках для временного хранения грузов должны быть обеспечены проходы шириной не менее 1 м и проезды, ширина которых определяется габаритами транспортных средств, транспортируемых грузов и погрузочно-разгрузочных механизмов.

6.1.24. Высота штабеля должна определяться отношением максимальной высоты штабеля к меньшей стороне основания тары: для неразборной тары эта величина должна быть не более 6; для складной тары - не более 4,5.

6.1.25. Кассеты, елочные и стоечные стеллажи должны иметь маркировку предельно допустимой нагрузки и подвергаться периодическим испытаниям.

6.1.26. При загрузке, размещении и креплении грузов, при разгрузке железнодорожных вагонов открытого подвижного состава должны выполняться требования Технических условий погрузки и крепления грузов.

6.1.27. Погруженный на открытый подвижной состав груз с учетом упаковки и крепления не должен выходить за установленные габариты (рис. 1) или зонального габарита на разрешенных к его применению дорогах.

6.1.28. При размещении грузов на подвижном составе тележки вагонов должны быть загружены равномерно. Разница в загрузке тележек не должна превышать:

для четырехосных вагонов - 10 т,

для шестиосных вагонов - 15 т,

для восьмиосных вагонов - 20 т,

и при этом нагрузка, приходящаяся на каждую тележку не должна превышать половины грузоподъемности данного типа вагона, а поперечное смещение общего центра тяжести груза от вертикальной плоскости продольной оси вагона не должно превышать 100 мм.

6.1.29. Грузы должны укладываться на подкладки, расстояние между осями которых должно быть не менее 700 мм. Груз не должен опираться на откинутые борта платформы. В этом случае откинутые борта платформы должны быть закреплены за кольца, имеющиеся на продольных балках, а при их отсутствии - с увязкой проволокой диаметром не менее 4 мм с ухватом боковых и хребтовых балок.

6.1.30. Выход груза за пределы концевой балки полувагона или платформы не должен превышать 400 мм.

6.1.31. Для размещения и крепления груза на открытом подвижном составе применяются растяжки, обвязки, упорные и распорные бруски, стойки, подкладки, щиты, турникеты и другие приспособления, и стандартные крепления многократного использования.

6.1.32. Перед погрузкой пол вагона, опорные поверхности груза, подкладки, прокладки, бруски и поверхности груза под обвязками должны быть очищены от снега, льда и грязи. В зимнее время полы вагонов и поверхности подкладок в местах опирания груза должны посыпаться тонким слоем (1 мм) чистого сухого песка.

6.1.33. Высота боковых стоек над полом платформы должна быть не более 2,8 м, коротких стоек - не менее высоты борта.

6.1.34. Растяжки (обвязки) для крепления грузов могут быть из проволоки, металлических стержней, полос, цепей, стальных тросов и др.

Каждая растяжка должна закрепляться одним концом за детали груза, другим - за детали вагонов, используемые для крепления грузов.

6.1.35. Грузоотправитель обязан подготовить груз к перевозке таким образом, чтобы обеспечивалась безопасность движения поездов и сохранность груза в процессе транспортирования.

6.1.36. При погрузке и разгрузке платформ и полувагонов запрещается:

выгружать грузы грейферами, имеющими зубья, и опускать грейферы с ударом об пол платформы или полувагона; ударять грейфером о борта платформ, обшивку и верхнюю обвязку кузова полувагона;

при погрузке с помощью лебедки касаться тросами о верхнюю обвязку кузова полувагона;

грузить грузы с температурой выше 100 °С;

грузить и выгружать сыпучие грузы гидравлическим способом;

грузить на четырехосные платформы с деревянными бортами навалочные грузы без установки в торцевые и боковые наружные стоечные скобы коротких стоек;

грузить железобетонные плиты, конструкции и другие подобные грузы в наклонном положении с опорой на стенки кузова полувагона;

грузить кусковые или смерзшиеся руды, камень и другие навалочные грузы, весом отдельных кусков более 100 кг с раскрыванием грейфера, бункера или ковша на высоте более 2,3 м от пола вагона или поверхности груза;

грузить грузы электромагнитными кранами с выключением электромагнита и сбрасыванием груза с высоты более 0,5 м от пола вагона или поверхности груза. Тяжеловесные грузы - слитки, болванки, балки и др. должны при погрузке укладываться без сбрасывания;

крепить грузы к металлическим частям вагонов с помощью сварки и сверления;

снимать борта платформ и двери полувагонов.

6.1.37. Перевозка грузов, выходящих за установленные габариты погрузки, их размещение и крепление на подвижном составе, производится по акту, утвержденному главным инженером отделения дороги с приложением к нему описания, чертежей и пояснительной записки размещения и крепления груза с необходимыми расчетами, выполненными грузоотправителем.

6.1.38. После выгрузки грузополучатель обязан очистить вагон от остатков груза и мусора, освободить его от стоек, брусков, растяжек и др., снять проволоку с рукояток расцепных рольгангов автосцепки, с запоров крышек разгрузочных люков полувагонов и боковых запоров платформ и закрыть борта платформ, двери и люки полувагонов.

6.1.39. Способы размещения и крепления грузов на открытом подвижном железнодорожном составе (выборка из Технических условий погрузки и крепления грузов) приведены в Приложении 18, технологическая карта на выгрузку пиломатериалов из полувагона приведена в Приложении 19.

6.2. Требования при транспортировании и размещении металлопроката.

6.2.1. При выгрузке из полувагона стержней круглого или квадратного сечения металла в пачках должны применяться стропы с крюками. При этом пачка или стержни должны крепиться «на удавку». При поднятии пачки металла или стержней на высоту не более 1 м стропальщик должен убедиться в правильной строповке и должен отойти в безопасное место, определенное технологией (планом производства работ или технологической картой), утвержденной владельцем крана, и с этого места он должен подать сигнал на подъем груза. Такой порядок должен выполняться до окончания работы.

6.2.2. При выгрузке из полувагона листового металла необходимо:

6.2.2.1. Подвести вспомогательный строп (подстропник) под необходимое количество груза - листа, не превышающего номинальной грузоподъемности крана, надеть петли стропа на крюк крана и слегка их натянуть подъемом крюка. Стропальщики должны отойти в безопасное место, определенное планом производства работ или технологической картой;

6.2.2.2. По сигналу старшего стропальщика машинист крана должен приподнять захваченный груз на высоту не более 0,5 м и в образовавшийся зазор стропальщики должны подвести основные стропы; после чего груз должен быть опущен на место, а вспомогательный строп снят с крюка и на него должны быть навешены основные стропы. Стропальщики должны отойти в безопасное место, после чего по сигналу старшего стропальщика машинист крана может переместить груз на место укладки. Укладка должна производиться на подкладки или прокладки. Такой порядок должен соблюдаться до окончания работы.

6.2.3. При выгрузке листового металла из полувагона краном с магнитной шайбой необходимо:

6.2.3.1. Проверить состояние груза, т.к. магнитной шайбой разрешается выгружать листы толщиной не менее 14 мм;

6.2.3.2. Указать машинисту крана место опускания магнитной шайбы на груз, после чего стропальщик должен отойти в безопасное, видимое машинисту крана место, и дать команду на подъем груза;

6.2.3.3. Груз поднимается выше борта полувагона не менее 0,5 м, перемещается и опускается над местом укладки не более 1 м и с поправкой положения при помощи подручных средств (багра, оттяжки и др.) груз укладывается в штабель. Такой порядок должен соблюдаться до окончания выгрузки.

6.2.4. Размещение металлопроката в зависимости от свойств металла, размеров проката, рода упаковки, интенсивности грузопотока, способа транспортирования должно производиться в штабеля, на стеллажи, в таре, в связках или единичными грузами, на открытых площадках, закрытых или полузакрытых складах с учетом вида металлопроката.

6.2.5. На открытых площадках производится размещение металлопроката, не теряющего своих свойств и качеств от воздействия колебания температуры и влажности воздуха, атмосферных осадков, прямых солнечных лучей.

6.2.6. Для хранения металлопроката, подвергающегося порче в результате воздействия прямых солнечных лучей и атмосферных осадков, должны устанавливаться навесы.

6.2.7. При размещении металлопроката должны обеспечиваться проходы между рядами штабелей или стеллажей не менее 1 м, между штабелями или стеллажами в ряду - не менее 0,8 м.

6.2.8. Высота штабеля или стеллажа при ручной укладке металлопроката не должна превышать 1,5 м.

6.2.9. Высота штабеля или стеллажа при механизированной укладке металлопроката зависит от допустимой нагрузки на пол и схемы укладки и определяется вместимостью 20 т из условия обеспечения устойчивости штабеля или стеллажа и безопасности производства работ механизмами. При этом должны предусматриваться специальные площадки, устройства или лестницы, позволяющие стропальщику безопасно подниматься до верхней зоны штабеля, стеллажа и производить строповку груза, не находясь на металле.

6.2.10. Слитки и блюмы сечением 160´160 см и более должны складироваться на полу в штабеля и поштучно.

Высота штабеля должна быть не более 2 м при крюковом захвате и не более 4 м при автоматизированном захвате груза подъемными средствами

6.2.11. При укладке металлопроката в штабель или на стеллаж необходимо между пачками и связками укладывать металлические квадратные прокладки толщиной не менее 40 мм для возможности освобождения из-под них стропов, а также для большей устойчивости складируемого груза. Концы прокладок не должны выступать за пределы штабеля или стеллажа более чем на 100 мм.

6.2.12. Металлопрокат, укладываемый на стеллажи, не должен превышать их грузоподъемности. Грузоподъемность должна быть указана на каждом стеллаже.

6.2.13. Во избежание раскатывания металлопроката запрещается заполнение ячейки выше стоек стеллажа.

6.2.14. Размещение металлопроката в штабель необходимо производить на предварительно уложенные на полу подкладки. В качестве подкладок могут применяться железнодорожные шпалы, брусья и т.п.

Укладка металлопроката на пол склада или на грунт площадки без подкладок не допускается.

6.2.15. Сортовой и фасонный прокат должен укладываться в штабеля, елочные или стоечные стеллажи. Трубы должны укладываться в штабель рядами, разделенными прокладками.

6.2.16. Елочные стеллажи могут выполняться односторонними и двусторонними - до 12 ярусов.

6.2.17. Высота укладки проката при хранении в елочных стеллажах - до 4,5 м при укладке электропогрузчиками и до 8 м при укладке кранами-штабелерами.

Высота укладки при хранении в стоечных стеллажах - до 2 м.

6.2.18. Толстолистовая сталь должна укладываться на ребро в стеллажи с опорными площадками, имеющими наклон в сторону опорных стоек, или плашмя на деревянные подкладки толщиной не менее 200 мм.

6.2.19. Тонколистовая сталь должна укладываться плашмя на деревянные подкладки, располагаемые поперек стопки листов. Тонколистовую сталь в пачках массой до 5 т допускается укладывать на ребро в специальных стеллажах так, чтобы не образовывались загибы в торцах.

6.2.20. Заготовки мерной длины из сортового и фасонного проката полуфабрикаты и готовые изделия должны складироваться в таре.

6.2.21. Полосовой материал должен храниться в устройствах, конструкция которых должна предусматривать доступность их выемки для транспортирования.

6.2.22. Металлоизделия, поступающие в катушках (стальной канат провод и т.п.) должны складироваться в закрытых помещениях и укладываться на деревянном настиле на торец не более чем в два яруса.

6.2.23. Лента холоднокатанная должна укладываться на плоских деревянных поддонах в каркасные стеллажи. Укладка должна производиться ярусами, причем каждый последующий ярус смещается относительно предыдущего на половину радиуса мотка. Третий ярус укладывается так же, как первый, четвертый - как второй и т.д. Мотки в верхнем ярусе на крайние места укладываться не должны.

6.2.24. Электроды должны храниться в сухом закрытом помещении в заводской упаковке и укладываться на поддонах в каркасные стеллажи.

6.2.25. Штабеля и стеллажи с металлоизделиями должны располагаться параллельно железнодорожным путям или главным проездам.

Штабеля (стеллажи) должны располагаться к железнодорожным путям не ближе 2,5 м от ближайшего рельса.

6.2.26. Запрещается складировать металлопрокат и металлические конструкции, заготовки в зоне расположения линий электропередачи без согласования с организацией, эксплуатирующей эти линии.

6.3. Требования при транспортировании и размещении лесо- и пиломатериалов.

6.3.1. Лесовозные дороги, их ветки на лесосеках должны иметь технический паспорт и исполнительный профиль; должны быть обозначены предупреждающим знаком «Технологическая дорога». Их техническое состояние, включая мосты и др. сооружения, должно обеспечивать безопасность движения транспортных средств с установленной технической скоростью и установленной для данной дороги грузоподъемностью.

6.3.2. В полосе шириной не менее 30 м от оси лесовозной дороги должны быть убраны по обе стороны дороги опасные деревья.

6.3.3. Организация транспортирования древесины и эксплуатация лесовозных дорог, веток и усов должны осуществляться в соответствии с Правилами дорожного движения Российской Федерации, Правилами технической эксплуатации автомобильных лесовозных дорог.

6.3.4. Хлысты и деревья, выступающие за габарит автопоезда, должны быть обозначены сигнальными щитками или флажками размером 400´400 мм с диагональными чередующимися полосами шириной 50 мм красного и белого цвета.

6.3.5. Перевозка пассажиров в кабинах лесовозных автопоездов запрещается. Для поездки по служебной необходимости должно быть получено специальное разрешение администрации организации.

6.3.6. Передвижение тележек, вагонеток вручную должно осуществляться только толканием. Находиться впереди движущейся тележки, вагонетки запрещается.

Скорость движения тележек, вагонеток не должна превышать 5 км/ч, при переезде через стрелки и поворотные круги - 3 км/ч.

Интервал между одиночными вагонетками, движущимися по рельсовому пути, должен быть не менее 10 м. Проезд людей на вагонетках запрещается.

6.3.7. В местах погрузки и выгрузки лесоматериалов должны быть предусмотрены приспособления или применяться способы, исключающие развал лесоматериалов.

6.3.8. Для погрузки лесоматериалов на железнодорожный транспорт должны использоваться специальные эстакады стационарного, передвижного или переносного типов.

6.3.9. При погрузке лесоматериалов кранами следует, как правило, применять грейферы.

Стропы, применяемые при погрузке лесоматериалов, должны быть оборудованы саморасцепляющимися приспособлениями, исключающими необходимость нахождения стропальщика на подвижном составе.

6.3.10. Загрузка железнодорожных вагонов должна производиться в соответствии с утвержденными схемами укладки.

6.3.11. Расстояние между лесонакопителем, в котором осуществляется застроповка бревен, и лесонакопителями, в которые производится сброс бревен с лесотранспортера, должно быть не менее двухкратной длины сбрасываемых с лесотранспортера бревен.

6.3.12. Запрещается набирать пачку из штабеля с закострившимися бревнами.

6.3.13. При выгрузке лесоматериалов должны соблюдаться следующие требования безопасности:

6.3.13.1. До начала разгрузки подвижного состава необходимо убедиться в исправности и целостности замков, стоек, прокладок;

6.3.13.2. Сцепы или автомашины с неисправными стойками или их замковым устройством необходимо разгружать с применением дополнительных механизмов или устройств, исключающих произвольное раскатывание лесоматериала с подвижного состава;

6.3.13.3. При открытии стоечных замков находиться следует с противоположной стороны разгрузки.

6.3.14. Соблюдать безопасный разрыв между разгружаемыми соседними платформами (вагонами), равный не менее одной длины платформы.

6.3.15. При выгрузке леса из воды кранами необходимо следить за объемом выгружаемых пучков (пачек) бревен, который должен соответствовать грузоподъемности крана.

Застроповку пучков (пачек) бревен необходимо производить с бонов.

6.3.16. Выгрузка из воды пачек бревен лебедками должна производиться по направляющим покатам.

6.3.17. При выгрузке леса из воды элеваторами необходимо обеспечивать равномерную (без перекосов) насадку бревен на крючья поперечного конвейера, не допуская насадки на крюк по два бревна и более, бревен с двойной кривизной и крупных бревен, диаметр которых превышает размер зева крюка.

При прекращении работы оставлять бревна на цепях конвейера (элеватора) запрещается.

6.3.18. Территория складирования лесоматериалов должна быть выровнена, грунт утрамбован, обеспечен отвод поверхностных вод, для каждого штабеля должно быть оборудовано подштабельное основание из бревен-подкладок высотой не менее 15 см при влажном способе хранения и не менее 25 см - при сухом.

На слабых грунтах под бревна-подкладки должен быть сделан сплошной настил из низкосортных бревен.

6.3.19. Лесоматериалы, подлежащие хранению на складах, должны быть рассортированы по сортаменту (породам дерева и размерам).

6.3.20. На складе лесоматериалов должны приниматься меры по предохранению лесоматериалов от механических повреждений и растрескивания, заражения грибками и насекомыми, излишнего увлажнения. Не реже одного раза в месяц лесоматериалы должны осматриваться лицом, ответственным за хранение.

6.3.21. Круглый лес на складе лесоматериалов должен укладываться рядовыми, клеточными или пачковыми штабелями (Рис. 2).

6.3.22. Укладка и разборка плотных штабелей может производиться кранами с грейферами, погрузчиками с челюстными и манипуляторными захватами, лебедками, оснащенными саморасцепляющимися стропами, бревнозахватами и другими приспособлениями, обеспечивающими безопасность при работах.

6.3.23. Верхние торцы круглых лесоматериалов, поступающих на склад, должны иметь маркировку с условными обозначениями.

6.3.24. Подниматься и опускаться со штабелей и пакетов при их укладке и разборке следует по наклонной поверхности головки или хвоста штабеля (пакета) или по приставной лестнице.

6.3.25. Высота штабеля круглых лесоматериалов должна быть не более 1/4 длины его и не должна превышать полуторакратную длину бревен, укладываемых в штабель.

6.3.26. Высота штабеля должна быть не более: 1,8 м при штабелевке вручную, 3 м при укладке челюстным погрузчиком, 6 м - кабель-краном, 12 м - мостовым, башенным, портальным и козловым кранами.

Формирование и разборка штабелей высотой 7 м и более должны выполняться грейферами.

6.3.27. При укладке штабелей круглых лесоматериалов необходимо соблюдать следующие требования:

6.3.27.1. Интервалы между отдельными группами штабелей должны соответствовать противопожарным нормам проектирования складов лесоматериалов;

6.3.27.2. Отдельные бревна не должны выступать за пределы штабеля более чем на 0,5 м;

6.3.27.3. Прокладки должны укладываться симметрично продольной оси штабеля на расстоянии от торцов бревен не более 1 м с каждой стороны;

6.3.27.4. Междурядные прокладки по высоте штабеля должны укладываться в одной вертикальной плоскости;

Рис. 2. Укладка круглого леса:

а) - Рядовой штабель б) - Клеточный штабель в) - Пачковой штабель

6.3.27.5. Прокладки вдоль штабеля должны укладываться в одну линию, а их концы на стыках должны перекрываться на длину не менее 1 м;

6.3.27.6. В один штабель допускается укладывать круглые лесоматериалы, отличающиеся по длине не более 1 м для хвойных пород и не более 0,5 м для лиственных пород дерева;

6.3.27.7. Концы рядового штабеля должны иметь уклон, для чего каждый новый ряд должен выполняться короче предыдущего на диаметр бревна с каждой стороны. Крайние бревна каждого ряда должны закладываться в вырубленные на концах прокладок гнезда глубиной не более половины толщины прокладок;

6.3.27.8. В конце плотных, плотнорядовых и пачковых штабелей должны быть устройства, исключающие произвольное раскатывание бревен. При отсутствии таких устройств концы штабелей должны иметь угол, равный углу естественного раскатывания бревен (не более 35°).

6.3.28. На прирельсовых складах круглые лесоматериалы одной длины должны укладываться в один штабель.

6.3.29. На приречных складах для молевого сплава разрешается укладывать в один штабель круглые лесоматериалы с разницей по длине не более 2 м.

6.3.30. При формировании штабелей бревен плотной укладки лебедками работники, находящиеся на штабеле, во время работы лебедки не должны выходить на край штабеля и подходить к движущемуся канату ближе чем на 1 м. Во время выдергивания лебедкой стропов из-под расстропленной пачки бревен работники должны находиться от лебедки расстоянии не менее длины стропов.

6.3.31. При укладке бревен краном в плотные и пачковые штабеля в момент опускания пачки работники должны находиться на расстоянии не менее 10 м от места укладки. К месту укладки пачки в штабель разрешается подходить после того, как пачка будет остановлена на высоте не более 1 м. Направлять пачки, поправлять прокладки разрешается только баграми длиной не менее 1,5 м.

Сигнал на вытаскивание стропов из-под опущенной на штабель пачки бревен должен подаваться после того, как работники отойдут от нее не менее чем на 10 м.

6.3.32. При укладке в штабеля пиломатериалы должны располагаться длинной стороной вдоль проезжей части склада. Каждый и/табель через 30 см по высоте должен разделяться на пачки горизонтальными прокладками сечением не менее 125´125 мм. Концы прокладок не должны выступать из штабеля Пиломатериалы должны быть уложены в штабель в течение двух дней по поступлению на склад. Пиломатериалы влажностью более 25 % следует хранить в штабелях под навесами, обеспечивающими естественную сушку.

6.3.33. Укладка, разборка и перекладка штабелей сухих пиломатериалов во время дождя не допускается.

6.3.34. При укладке и разборке штабелей необходимо выполнять следующие требования:

6.3.34.1. Не сбрасывать бревна на штабель с лесотранспортера до установки направляющих слег (покатов), число которых должно быть не менее одной на каждые 2 м длины перемещаемых по ним бревен и во всех случаях не менее двух;

6.3.34.2. Не производить одновременно работы на соседних штабелях;

6.3.34.3. Не находиться ближе 10 м от укладываемых или разбираемых штабелей;

6.3.34.4. Не находиться ближе 20 м от плотного штабеля при обрушении его лебедкой с применением вспомогательного стропа;

6.3.34.5. Не брать бревна из нижних рядов при разборке штабелей до тех пор, пока не убраны верхние ряды. Не делать вертикальные обрубы штабеля. Не откатывать бревна, находясь на пути их перемещения.

6.3.35. При разборке пачковых штабелей лебедками не разрешается выдергивать пачки из нижних рядов. Должна применяться ступенчатая разборка штабеля или разборка штабеля по рядам.

6.3.36. При разборке плотных штабелей лебедками необходимо применять цепные амортизаторы, бревнозахваты и др. приспособления, обеспечивающие безопасность работ.

6.3.37. При разборке плотных и пачковых штабелей кранами работники не должны находиться на штабеле ближе 10 м от места застроповки пачек в момент опускания краном стропов и подъема застропленной пачки.

6.3.38. Пакеты пиломатериалов, укладываемые и штабель, должны быть одинаковой высоты; ширина пакетов в вертикальном ряду также должна быть одинаковой. Разница в длине пакетов не должна превышать 20 % их средней длины.

6.3.39. Высота штабелей пиломатериалов, укладываемых автопогрузчиками, не должна превышать 7 м, кранами - 12 м, формируемых вручную - 4 м.

6.3.40. При формировании штабелей вручную одновременная работа на штабеле более двух работников запрещается. Вручную допускается укладывать доски массой не более 15 кг.

6.3.41. Каждый законченный вертикальный ряд пакетов должен быть закрыт инвентарной крышей с применением автопогрузчика или крана формирование крыши из досок вручную на отдельном вертикальном ряде пакетов не допускается.

6.3.42. Фанера и шпон должны укладываться в штабеля на подстопные места. Основания подстопных мест должны быть выверены по горизонтали и иметь высоту от пола не менее 0,2 м для обеспечения естественной вентиляции.

6.3.43. Высота штабеля фанеры при механизированной укладке должна быть не более 5,2 м, при ручной укладке не более 1,5 м.

6.3.44. Не допускается укладка фанеры и шпона вплотную к стенам и колоннам. Разрыв между стеной, колонной и штабелем должен быть не менее 0,8 м, между перекрытием и штабелем не менее 1 м, между светильниками и штабелем не менее 0,5 м.

Интервалы между штабелями поперечного ряда должны быть не менее 0,5 м, продольного - 0,2 м.

6.3.45. Пакеты пиломатериалов в штабелях должны быть разделены прокладками - деревянными брусками сечением 100´100 мм из древесины хвойных пород.

6.3.46. Древесные плиты должны укладываться в штабеля на подстопные места, имеющие высоту от пола не менее 0,1 м.

6.3.47. Высота укладки плит в стопы погрузчиками не должна превышать 4,5 м.

Допускается укладка плит в стопы выше 4,5 м на механизированных складах, обслуживаемых кранами.

6.3.48. Применение средств механизации обязательно при перегрузке отдельных бревен или пакетов лесоматериалов массой более 50 кг, а также при подъеме на высоту более 3 м бревен или пакетов массой и менее 50 кг.

6.3.49. На открытых складах лесоматериалов могут применяться следующие грузоподъемные краны: козловые, башенные, портальные, стреловые самоходные, погрузчики автомобильные, тракторные.

6.3.50. Автопогрузчики можно применять при перегрузке и штабелировании лесоматериалов длиной не более 6 м.

6.3.51. Тракторные погрузчики применяются на лесоскладах с низкой степенью подготовки основания проезжей части.

6.3.52. Наибольшее применение при перегрузке круглого леса находят специальные гибкие и полужесткие устройства строповки и пространственные траверсы (рис. 3) и схемы строповки (табл. 3).

Таблица 3

Схемы строповки полужесткими стропами

Грузоподъемность, т

Схема

Перегружаемые материалы

3

Пиломатериалы длинномерные

3

Короткомерные

3

Круглый лес и пиломатериалы короткомерные

3

Круглый лес короткомерный в пакетах

6

Круглый лес длинномерный

Рис. 3

6.3.53. Для разделки и околки лесоматериалов на складе должны быть отведены специальные места, регулярно очищаемые от отходов.

6.3.54. При укладке штабеля пиломатериалов необходимо отходить не менее чем на 3 м от поднимаемого пакета в сторону, противоположную его движению, для направления пакета следует пользоваться крюком с рукояткой длиной не менее 1 м, захватные приспособления необходимо снимать после полного опускания груза, стропы из-под пакета пиломатериалов необходимо вытаскивать вручную так, чтобы не развалить пакет.

6.3.55. Запрещается становиться на край штабеля или на концы межпакетных прокладок, пользоваться краном для подъема на штабель или спуска с него.

6.3.56. Исходя из требований пожарной безопасности, расстояние от зданий до штабелей круглого леса и пиломатериалов должно быть соответственно не менее 15 и 30 м.

6.3.57. Лесоматериалы, длина которых превышает более чем на 2 м длину кузова автомобиля, должны перевозиться на прицепах-роспусках.

6.3.58. Сбрасывание лесоматериалов с транспортного средства и одновременная их укладка в штабель не допускаются.

6.3.59. Из кузова транспортного средства лесоматериалы должны выгружаться по слегам из бревен диаметром не менее 15 см, на верхних концах которых должны быть специальные металлические крючья для укладки слег в кузове транспортного средства.

6.3.60. При сильном ветре (6 баллов и более), ливневом дожде, густом тумане (видимость менее 50 м), снегопаде укладка и разборка штабелей высотой более 2 м запрещается.

6.3.61. Окончив зацепку пачки, стропальщик должен отойти в сторону, противоположную зоне ее перемещения, на расстояние не менее 15 м, после чего подать сигнал машинисту. Зацепку следующей пачки разрешается производить после того, как поднимаемый груз будет отведен на 15 м от места строповки. Возвращаться к штабелю стропальщику разрешается после того, как захватные приспособления груза прикоснутся к штабелю.

6.3.62. Запрещается переносить на плечах лесоматериалы сразу после их обработки антисептиком. Работники без спецодежды и средств защиты (брезентовые куртки, брюки, резиновые сапоги, рукавицы) к работам с лесоматериалом, обработанным антисептиками, допускаться не должны.

6.4. Требования при транспортировании и размещении сыпучих и мелкокусковых материалов.

6.4.1. Погрузка, выгрузка и штабелирование песка, щебня, гравия, керамзита, перлита, аглокорита, металлургического шлака и др. должны производиться с помощью одноковшовых экскаваторов, стреловых, железнодорожных, мостовых, козловых и гусеничных кранов, оборудованных грейферами, пневмоколесных и гусеничных одноковшовых фронтальных погрузчиков, ленточных звеньевых конвейеров, а также автопогрузчиков, оборудованных грейферами или опрокидными ковшами, многоковшовых погрузчиков и др.

6.4.2. Транспортирование песка, щебня, гравия, металлургического шлака и др. (далее - сыпучих и мелкокусковых материалов) должно производиться в основном автомобильным и железнодорожным транспортом.

6.4.3. Разгрузка сыпучих и мелкокусковых материалов из транспортных средств должна производиться гравитационным способом, черпанием или сталкиванием груза:

6.4.3.1. Гравитационная разгрузка используется при разгрузке автомобилей-самосвалов, думпкаров и бункерных вагонов, полувагонов-гондол в приемный бункер или на повышенных путях и эстакадах;

6.4.3.2. Разгрузка сталкиванием производится с применением разгрузочных машин скребкового типа при разгрузке железнодорожных платформ, перемещаемых над приемным бункером маневровыми устройствами;

6.4.3.3. Разгрузка с применением черпающих устройств (ковшово-элеваторных разгрузчиков, кранов с грейферами и др.) применяется при разгрузке полувагонов.

6.4.4. Смерзшиеся грузы (песок смерзается при влажности более 1-2 % с прочностью до 11 мПа, щебень и гравий мелких фракций - при влажности 2 % смерзается с прочностью до 7-8 мПа) для восстановления сыпучести и обеспечения разгрузки должны подвергаться рыхлению.

Такие грузы в зимний период следует сопровождать профилактическими мерами против смерзания: обезвоживание материала, послойное деление материала незамерзающими добавками, гранулирование материала, добавки поверхностно-активных гидрофобных веществ, не предотвращающие смерзаемость, но снижающие прочность смерзшейся массы.

6.4.5. Восстановление сыпучести смерзшегося груза разогревом в специальных тепляках энергозатратно и не может рекомендоваться к широкому применению.

6.4.6. Механические методы восстановления сыпучести смерзшегося материала предпочтительны и могут осуществляться с применением бурорыхлительных машин, навесных виброрыхлительных агрегатов, виброударных машин.

6.4.7. Для зачистки вагонов от остатков не выгруженных материалов могут применяться устройства вибрационного типа, динамического воздействия на груз струей сжатого воздуха, газа или воды, а также зачистка щетками, скребками и др.

6.4.8. Перемещение железнодорожных платформ и полувагонов по фронту разгрузки при работе стационарных разгрузочных машин должно производиться маневровой лебедкой или маневровым устройством.

6.4.9. Нижние люки полувагонов должны закрываться с помощью специальных устройств с ручным или механическим приводом, подвешиваемых на стационарном портале по обе стороны полувагона.

6.4.10. Запрещается находиться в приемном устройстве и в кузове подвижного состава во время работы разгрузочных машин всех типов, в зоне работы маневровых устройств при передвижении железнодорожных вагонов на погрузочно-разгрузочном пункте.

6.4.11. На повышенных путях и эстакадах под загрузочными бункерами должны быть указаны (обозначены) опасные зоны.

6.4.12. Запрещается наполнять ковш погрузчика путем врезания в штабель материала с разгона.

6.4.13. При работе многоковшового погрузчика запрещается, перемещение и работа погрузчика на площадке с поперечным или продольным уклонами, превышающими указанные в паспорте погрузчика; работа на погрузчике в местах, захламленных различными предметами; извлечение каких-либо предметов из шнека и цепи при работающем двигателе; включение вращения шнека на поворотах; приближение к работающему шнеку ближе чем на 1,5 м.

6.4.14. Передвижные ленточные конвейеры не должны перемещаться на площадке на большое расстояние или по неровной поверхности. При передвижении у конвейеров должны быть отсоединены токоподводящие провода. Проходы и проезды, над которыми находятся конвейеры, должны быть защищены навесами, выходящими за габариты конвейера не менее чем на 1 м.

6.5. Требования при транспортировании и размещении порошкообразных материалов.

6.5.1. Для бестарного транспортирования порошкообразных и пылевидных материалов (цемента, гипса, извести, молотого известняка, сухой золы минерального порошка и др.) должны применяться в основном автомобильные и железнодорожные транспортные средства, оборудованные устройствами для загрузки и саморазгрузки, а также суда-цементовозы для доставки водным путем.

6.5.2. Цемент, гипс и порошковая известь на небольшие расстояния и с небольшим объемом работ могут доставляться в специальных контейнерах или складах-контейнерах.

6.5.3. Автоцементовозы загружаются через загрузочные люки из складов силосного типа или через систему самозагрузки при приеме цемента из крытых железнодорожных вагонов. Разгрузка производится пневматической системой автоцементовоза.

6.5.4. Вагоны-цементовозы загружаются через загрузочные люки из складов силосного типа, люки после загрузки должны быть герметически закрыты. Разгрузка производится пневматической системой объекта, принимающего цемент.

6.5.5. Разгрузка вагонов-цементовозов бункерного типа должна производиться самотеком.

Зависший в процессе разгрузки материал надлежит удалять при помощи вибраторов или специальными лопатами (шуровками) с удлиненными ручками.

Запрещается для удаления остатков груза из вагона ударять по обшивке цистерны вагона (кувалдой, ломом и т.п.).

6.5.6. После разгрузки крышки люков вагона-цементовоза должны быть закрыты до фиксированного положения. Запрещается оставлять вагон с открытыми загрузочными и разгрузочными люками.

6.5.7. Контейнеры могут быть оборудованы пневматической или гравитационной системой загрузки, а для разгрузки аэрационно-пневматической или гравитационной системой с полной или порционной выдачей.

Контейнеры могут быть изготовлены из металла или из резинокордового материала (мягкие контейнеры).

6.5.8. Жесткие металлические и мягкие загруженные контейнеры могут штабелироваться при хранении в три яруса.

6.5.9. Для выгрузки цемента, известковой муки и других порошковых материалов из железнодорожных крытых вагонов должны применяться разгрузчики всасывающего или всасывающе-нагнетательного действия.

6.5.10. Для пневматического транспортирования порошкообразных материалов могут применяться пневматические винтовые, пневматические камерные, пневматические струйные насосы, аэрационный способ транспортирования.

6.5.11. Ручные работы по разгрузке цемента при его температуре 40 °С и более не допускаются.

Работники к работам с пылевидными материалами без спецодежды, респираторов и противопыльных очков допускаться не должны.

6.5.12. Для открытия люков вагонов бункерного типа и дверей крытых вагонов необходимо применять специальные рычаги. Запрещается находиться в зоне возможного падения крышки люка.

6.5.13. Открывать верхний люк вагона-цементовоза с пневморазгрузкой и у автоцементовозов всех типов разрешается после проверки отсутствия давления в емкости.

6.5.14. Цистерну с порошкообразными материалами ставить на опорные стойки разрешается на ровной поверхности с твердым грунтом или с применением специальных прокладок.

6.5.15. Запрещается повышать давление в цистерне авто-цементовоза более 0,15 МПа.

6.5.16. Эксплуатация компрессора без обратного клапана, без предохранительного клапана, со снятыми кожухами ограждения не допускается.

6.5.17. При погрузке на железнодорожный и автомобильный подвижной состав контейнеров с порошкообразными материалами нахождение работников на платформе не допускается.

6.5.18. В местах погрузки и выгрузки цемента и др. пылевидных материалов на эстакадах должны быть предусмотрены ограждения для безопасной работы на крыше вагона.

Запрещается работникам во время разгрузки находиться внутри вагона.

6.5.19. Во время работы пневматического разгрузчика пылевидных материалов подходить к заборному устройству ближе 1 м не разрешается. Свободное пространство вокруг осадительной камеры пневморазгрузчика должно быть не менее 0,8 м. При повышении давления в смесительной камере разгрузчика всасывающе-нагнетательного действия более 0,14 МПа необходимо отключить электродвигатель привода шнека и перекрыть подачу сжатого воздуха в смесительную камеру.

6.5.20. При повышении давления в смесительной камере более 0,14 МПа для пневмовинтового подъемника и 0,2 МПа для пневмовинтового насоса необходимо отключить электродвигатель и перекрыть подачу сжатого воздуха. Затем, регулируя вентилем давления в смесительной камере (не более 0,25 МПа), продуть транспортный трубопровод сжатым воздухом до падения давления в смесительной камере до 0,03-0,05 МПа.

6.5.21. Запрещается оставлять работающие компрессоры (кроме полностью автоматизированных) без надзора обслуживающих лиц.

6.6. Требования при транспортировании и размещении сборных железобетонных конструкций и мелкоштучных стеновых материалов.

6.6.1. При погрузке железобетонной конструкции ее положение на транспортном средстве должно соответствовать или быть близким к ее рабочему положению в строящемся сооружении, за исключением колонн, свай и других длинномерных изделий, которые на грузовой площадке транспортного средства должны располагаться в горизонтальном положении.

6.6.2. Крупноразмерные конструкции из легких бетонов, не рассчитанные для работы на изгиб, а также изделия толщиной менее 20 см необходимо для перевозки устанавливать в вертикальное положение.

6.6.3. Железобетонные конструкции для перевозки следует устанавливать на деревянные подкладки и прокладки в местах, обозначенных изготовителем соответствующими метками. Дополнительное опирание в промежуточных местах не допускается.

6.6.4. При многоярусной погрузке железобетонных конструкций подкладки и прокладки должны располагаться строго по одной вертикали всего штабеля. Подкладки и прокладки должны быть шириной не менее 25 мм и толщиной больше высоты захватных петель и других выступающих частей транспортируемых изделий.

6.6.5. Порядок укладки строительных конструкций на грузовую платформу транспортного средства должен обеспечивать передачу нагрузки на седельно-сцепное устройство тягача или ось (тележку) полуприцепа соответственно технической характеристике применяемого автопоезда.

6.6.6. Зазоры между изделиями и бортами транспортного средства должны быть не менее 5 см. Крепление строительных конструкций на грузовой платформе транспортного средства должно исключать их продольное и поперечное смещение, а также их взаимное столкновение или перемещение в процессе транспортирования.

6.6.7. При перевозке стеновых железобетонных панелей в вертикальном положении панели должны лежать всей опорной плоскостью на платформе транспортного средства или опираться на подкладки, расположенные на расстоянии не более 0,5 м друг от друга.

6.6.8. При наклонном транспортном положении стеновые панели должны опираться нижней и боковой поверхностью на подкладки, расположенные друг от друга на расстоянии не более 0,5 м.

6.6.9. При горизонтальном транспортном положении панели перекрытий должны опираться по местам установки закладных деталей.

6.6.10. Панели, транспортируемые вертикально, должны крепиться с двух сторон, а при наклонном положении - с одной стороны, выше положения центра тяжести панели.

6.6.11. При одновременном транспортировании нескольких панелей между ними необходимо устанавливать разделительные прокладки, предотвращающие соприкосновение панелей и возможное их повреждение от соударения или трения в процессе перевозки.

6.6.12. Железобетонные фермы для транспортирования должны устанавливаться на транспортное средство в вертикальное положение с опиранием по концам, в местах установки закладных деталей или в узлах нижнего пояса, имеющих в этих местах более развитую арматурную сетку.

6.6.13. Железобетонные плиты покрытий, перекрытий должны транспортироваться в горизонтальном положении с опиранием в местах расположения закладных деталей. При перевозке плиты могут укладываться стопой на подкладках толщиной, на 20 мм превышающей высоту монтажных петель.

6.6.14. Укладка сборных железобетонных изделий и конструкций на железнодорожную платформу или в полувагон должна производиться на подкладки, равные толщине пола вагона и обеспечивающие возможность расстроповки и застроповки груза.

6.6.15. При загрузке платформы выход груза за пределы торцевой балки не должен превышать 400 мм с каждой стороны.

6.6.16. Для крепления груза к платформе должны применяться растяжки из проволоки диаметром 6 мм или стальной канат с натяжными устройствами, металлические кассеты и турникеты.

6.6.17. При перевозке сборных железобетонных и др. конструкций, которые по длине не могут быть уложены на одну платформу или на один полувагон, должен применяться сцеп из нескольких вагонов с креплением транспортируемого изделия с помощью турникетов.

6.6.18. Мелкоштучные стеновые материалы (кирпич, стеновые керамические камни, бетонные и мелкие шлакобетонные блоки, камни из известняков, туфа и др.) должны транспортироваться с применением в основном пакетного способа на поддонах или инвентарных приспособлениях с использованием подъемно-транспортных средств, как правило, общего назначения.

6.6.19. Для установки пакетов в кузов автотранспортных средств, их выгрузки и подачи на рабочее место должны применяться самозатягивающиеся захваты, обеспечивающие безопасность производства работ, либо подхваты, подводимые под низ пакета.

6.6.20. В зависимости от вида транспорта и типоразмера поддона для погрузки пакетов могут применяться: подхваты грейферного типа, штыревые подхваты или траверсы с прутковыми боковинами, многоштыревые подхваты, двухсторонние клещевые захваты и др.

6.6.21. Размещение пакетов мелкоштучных стеновых материалов зависит от габаритов транспортного пакета и способа производства погрузочно-разгрузочных работ: в кузовах автомобилей, полуприцепов и прицепов грузоподъемностью 5 т при применении на погрузке-разгрузке подхватов целесообразна одноленточная или Т-образная установка пакетов, в большегрузных автопоездах - поперек кузова отдельными штабелями.

6.6.22. В полувагоны грузоподъемностью 60 т пакеты мелкоштучных стеновых материалов следует устанавливать в 2 яруса вплотную друг к другу.

6.6.23. На платформы пакеты мелкоштучных стеновых материалов следует устанавливать в один ярус.

6.6.24. При пакетной доставке мелкоштучных стеновых материалов возврату грузоотправителю подлежат поддоны (средства пакетирования), а также элементы крепления пакетов, являющиеся собственностью грузоотправителя.

6.6.25. Все грузозахватные приспособления, применяемые при доставке мелкоштучных стеновых материалов, подлежат осмотру и испытанию грузом в 1,25 раза более номинальной грузоподъемности, с выдержкой под нагрузкой в течение 10 мин. и должны ежемесячно осматриваться работником, ответственным за безопасное выполнение работ.

6.6.26. Запрещается поднимать пакеты мелкоштучных стеновых материалов на поддонах к рабочим местам грузозахватными приспособлениями без ограждающих устройств.

6.6.27. Выгружать и поднимать пакеты на рабочие места стропами запрещается.

6.6.28. При подъеме пакетов на поддонах трехстоечными подхватами-футлярами угол наклона задней стенки относительно вертикали должен быть не менее 12°. После подъема груза на высоту не более 1 м стропальщик должен осмотреть открытую сторону пакета и убрать неустойчиво лежащие кирпичи и их обломки.

6.6.29. При подъеме пакетов без поддонов с помощью самозатягивающихся захватов должна быть исключена опасность выпадения кирпичей, при этом челюсти предохранительного устройства должны быть сомкнуты. Если челюсти не сомкнуты, захват с грузом должен быть опущен на площадку и до устранения неисправности работа должна быть прекращена.

При применении штыревых подхватов необходимо после поднятия пакета на высоту около 0,5 м снизу подвести предохранительное устройство.

6.6.30. Грузозахватные приспособления, применяемые при подъеме мелкоштучных стеновых материалов без поддонов, должны иметь снизу четырехстороннее ограждение и предохраняющее устройство.

6.7. Требования при транспортировании и размещении штучных тарно-штучных грузов.

6.7.1. Штучные грузы малых габаритов транспортируются и размещаются в затаренном виде (в контейнерах и средствах пакетирования).

К штучным грузам относятся также материалы, упакованные в мешковую тару (бумажные, полиэтиленовые или джутовые мешки).

6.7.2. Контейнер - транспортное многократно используемое оборудование для перевозки и временного хранения грузов с внутренним объемом 1 м3 и более, имеющее приспособления, обеспечивающие механизированную установку и снятие его с транспортных средств. По назначению контейнеры подразделяются на универсальные и специализированные.

Средство пакетирования - приспособление (поддон, кассета, сетка обвязка, пленка и т.д.), с помощью которого формируется транспортный пакет. Транспортный пакет представляет собой единицу, сформированную из штучных грузов, в таре или без нее, с применением различных способов и средств пакетирования, сохраняющую форму в процессе обращения и обеспечивающую комплексную механизацию погрузочно-разгрузочных работ и складских операций.

6.7.3. Универсальные контейнеры предназначены для перевозки широкой номенклатуры штучных грузов в таре, без нее или в облегченной упаковке и в соответствии с ИСО подразделяются на межконтинентальные (крупнотоннажные) и внутриконтинентальные (среднетоннажные массой брутто 2,5 т). К универсальным также относятся малотоннажные контейнеры массой брутто 0,625 и 1,25 т.

6.7.4. Специализированные контейнеры магистрального и промышленного транспорта применяются для доставки грузов различными видами транспорта от изготовителя до базовых складов или до непосредственных потребителей.

6.7.5. Специализированные технологические контейнеры применяются в технологическом процессе и, как правило, только на внутренних транспортных коммуникациях организации.

6.7.6. Погрузочные операции с пакетированными грузами и грузами в специализированных технологических контейнерах осуществляются с помощью стропов, подвесок и траверс общего назначения, для крупнотоннажных контейнеров используются автоматические захваты-спредеры или рамные траверсы с захватными штырями.

6.7.7. Контейнеры и средства пакетирования, подаваемые под загрузку, должны быть исправными, иметь маркировку с указанием номинальной массы брутто и массы тары.

6.7.8. Контейнеры и средства пакетирования должны загружаться материалами, изделиями до полной вместимости и не более их грузоподъемности.

6.7.9. Грузы в контейнерах и средствах пакетирования должны размещаться в соответствии со схемами загрузки. В схемах загрузки должны быть предусмотрены меры по исключению возможных перемещений грузов внутри контейнеров и средств пакетирования при транспортировании обеспечиваться равномерная нагрузка на пол и равномерное давление на стенки контейнера.

6.7.10. Контейнеры и средства пакетирования, как с грузом так и без груза должны обрабатываться и храниться на контейнерных площадках (рис. 4).

Контейнерная площадка для переработки среднетоннажных контейнеров, оборудованная:

а - двуконсольным козловым краном; б - двуконсольным краном КК-8-25(16); в - мостовым краном

Рис. 4

Продолжение рис. 4

Примеры контейнерных и складских площадок

а) Контейнерная площадка, оборудованная башенным краном погрузчиком.

б) Технологическая схема разгрузки грузов на складских площадках с применением стрелового железнодорожного крана

6.7.11. При выполнении погрузочно-разгрузочных работ с контейнерами и пакетированными грузами не допускается: нахождение работников в зоне действия грузоподъемной машины; загрузка и разгрузка контейнеров и средств пакетирования без снятия их с транспортных средств; перемещение стропальщика по контейнерам и пакетам.

6.7.12. В кузовах автотранспортных средств допускается перевозка контейнеризованных и пакетированных грузов при условии исключения взаимных повреждений.

6.7.13. Перевозка людей в кузовах автотранспортных средств совместно с контейнерами и пакетированными грузами не допускается.

6.8. Требования при транспортировании и складировании продукции растениеводства, плодоовощной и пищевой продукции.

6.8.1. Площадка для складирования (стогования) продукции растениеводства должна быть горизонтальной, свободной от посторонних предметов, иметь подъездные пути и находиться от воздушных линий электропередачи на расстоянии не менее чем расстояние между опорами линии электропередачи, от строений - не менее 100 м.

После завершения укладки скирды (стога) площадка складирования должна быть опахана по периметру полосой, ширина которой должна быть не менее 3 м.

6.8.2. В гористой местности укладка небольших скирд допускается на склонах, при этом площадка для маневрирования транспортных средств у скирды должна иметь уклон не более 6° и располагаться по склону выше скирды.

Скорость движения транспортных средств на такой площадке не должна превышать 5 км/ч.

6.8.3. Места закладки силоса не должны располагаться в непосредственной близости от колодцев и водоемов с питьевой водой и под линиями электропередачи.

Уклон въездов и выездов в места закладки силоса (траншеи, бурты, курганы) не должен превышать 20°.

6.8.4. Бурты и курганы закладываются на горизонтальных участках местности. В гористой местности могут быть допущены траншеи на склонах.

6.8.5. Работы на склонах запрещены при влажности почвы, приводящей к сползанию машины, при густом тумане (видимость менее 50 м), при наличии снежного покрова, при мерзлой почве, в темное время суток.

6.8.6. Траншеи должны быть обвалованы со стороны разгрузки транспортных средств на расстоянии 1 м от края траншеи. Со стороны разгрузки транспортных средств должен быть установлен предохранительный брус. Уклон площадки для маневрирования транспортных средств у траншеи не должен превышать 6°. Скорость движения транспортных средств на этой площадке не должна превышать 5 км/ч.

6.8.7. Машины и механизмы, предназначенные для работы в непосредственной близости от кроны деревьев, должны быть оборудованы защитными ограждениями.

6.8.8. Нахождение людей в кузовах автомашин или тракторных прицепов при заполнении их зеленой массой, семенами, зерном и др. технологическими продуктами, а также при транспортировании продукта к месту складирования или реализации не допускается.

6.8.9. Погруженные на транспортное средство продукты навалом (овощи, фрукты, корнеплоды и т.п.) должны располагаться равномерно по всей площади кузова и не возвышаться над бортами кузова.

6.8.10. При укладке сена или соломы в скирд или стог должны соблюдаться следующие требования безопасности:

6.8.10.1. К работам должны допускаться работники, имеющие допуск к работе на высоте, с назначением из их числа старшего скирдоправа с возложением на него обязанностей по организации и безопасности работ;

6.8.10.2. Работники должны быть обеспечены исправными вилами (рукоятки вил должны быть ровными и гладкими, без трещин и заусенцев, и изготовлены из сухого дерева твердых пород), приставными или веревочными лестницами, страховочными веревками (на статическую нагрузку в 200 кгс), металлическим стержнем диаметром не менее 14 мм и длиной не менее 2 м, средствами сигнализации (флажком и свистком), средствами индивидуальной защиты (рукавицами, защитными очками, сапогами);

6.8.10.3. Скирдование должно производиться только в светлое время суток и при скорости ветра не более 6 м/с. Скирдовать во время грозы запрещается;

6.8.10.4. Число скирдоправов, одновременно находящихся на скирде, не должно быть больше шести, и располагаться они должны не ближе 1,5 м от края скирды;

6.8.10.5. По достижении высоты скирды 2 м вокруг нее должен быть выстлан слой соломы шириной 2 м и толщиной 1 м (для смягчения удара в случае падения работника со скирды);

6.8.10.6. При подаче соломы (сена) на скирду стогометателем скирд правы должны находиться не ближе 3 м от разграбельной решетки;

6.8.10.7. Во время перерывов в работе скирдоправам находиться скирде запрещается. Использование стогометателя для подъема работников на скирду и спуска с нее не допускается;

6.8.10.8. Для подъема скирдоправов на скирду и их спуска со скирды должны использоваться приставные или веревочные лестницы, закрепленные в верхней части страховочными веревками, соединенными с металлическим стержнем, введенным перпендикулярно в нижнюю часть скирды с обратной ее стороны на глубину не менее 1 м;

6.8.10.9. Завершение формирования скирды должно производиться с нахождением на ней не более 2 скирдоправов.

6.8.11. Укладка тюков в скирд, сенные сараи или в кузов транспортных средств должна осуществляться в перевязку. При этом тюки должны подаваться согласованно, а укладчики не должны приближаться к краю скирды (кузова) ближе 1,5 м.

6.8.12. Укладка рулонов в штабеля должна производиться вертикально механизированным способом (в шахматном порядке).

6.8.13. При укладке рулонов, тюков в штабеля с помощью грузоподъемных кранов или погрузчиков нахождение работников в зоне работы машины запрещается.

6.8.14. При загрузке незатаренной продукции навалом вручную работники должны находиться с одной стороны кузова транспортного средства на расстоянии не менее 2 м от борта загружаемого транспортного средства.

6.8.15. Немеханизированные работы должны проводиться только на участках, где не ведутся механизированные работы.

6.8.16. При ручной разборке скирд (стогов) не допускается образование нависших козырьков. Работать под ними запрещается.

6.8.17. Перемещение неразобранного стога волоком одним или несколькими тракторами должно производиться по заранее выбранному и подготовленному для этого маршруту и под руководством ответственного лица.

6.8.18. Транспортное средство, поставленное под погрузку (разгрузку), должно быть надежно заторможено, двигатель заглушен и включена низшая передача. Зимой двигатель допускается не глушить при принятии мер, исключающих самопроизвольное перемещение транспортного средства.

6.8.19. Для выполнения погрузочно-разгрузочных и транспортных работ в теплицах должны использоваться машины, механизмы и агрегаты, исключающие загрязнение воздушной среды вредными выбросами и токсичными газами и отвечающие требованиям безопасности труда.

6.8.20. Загрязненные пестицидами транспортные средства, тара, спецодежда должны быть обезврежены по специальным рецептам.

Использование обезвреженной тары для хранения пищевых продуктов, питьевой воды, фуража запрещается.

6.8.21. Транспортирование плодоовощной продукции и сырья, а также погрузочно-разгрузочные работы на плодоовощных предприятиях должны выполняться с соблюдением требований ГОСТ 12.3.009, ГОСТ 12.3.010, ГОСТ 12.3.020, правил по охране труда на железнодорожном транспорте, при работах грузоподъемных, транспортных механизмов, настоящих Правил.

6.8.22. Тип транспортных средств должен выбираться в зависимости от вида плодоовощной продукции. Для затаренной продукции (мешки, ящики, контейнеры, сетки, пакеты, поддоны) следует применять стационарные и передвижные ленточные конвейеры, наклонные спуски, пакетоукладчики, авто- и электропогрузчики.

6.8.23. Скорость движения ленты конвейера для транспортирования затаренной продукции должна быть не более 1,2 м/с. Лента должна ограждаться бортами высотой 0,2 м.

6.8.24. При складировании плодоовощной продукции должны выполняться следующие основные требования:

6.8.24.1. Расстояние от низа выступающих конструкций хранилища до верха насыпи должно быть не менее 0,8 м, до верха штабеля - не менее 0,3 м;

6.8.24.2. Расстояние штабеля от стены, колонны, батареи - не менее 0,6 м в хранилище, 0,3 м - в холодильнике;

6.8.24.3. Расстояние в штабеле между ящиками - не менее 0,02 м, между поддонами ящичными - не менее 0,05 м;

6.8.24.4. Высота складирования россыпью должна быть не более: картофеля - 5 м, капусты кочанной, моркови - 3 м, свеклы - 4 м, лука-репки - 3,5 м;

6.8.24.5. Высота складирования в таре должна быть не более: картофеля, капусты кочанной, свеклы - 4,6 м, моркови, лука-репки, яблок, груши - 5,0 м, томатов, винограда, бахчевых - 4,5 м;

6.8.24.6. Загрузка камер хранения при складировании в контейнерах должна быть не более: для картофеля - 0,5; для капусты кочанной - 0,3; для моркови - 0,345; для свеклы - 0,46; для лука-репки - 0,38; для яблок, груши - 0,29; для бахчевых - 0,4 тонны на 1 м3 объема камеры.

6.8.25. Контейнеры для хранения и транспортирования картофеля и овощей должны быть рассчитаны на укладку их с грузом в штабеля в 5 ярусов и иметь петли для строповки и опоры для фиксации при штабелировании.

6.8.26. Площадки для буртового хранения картофеля и овощей должны быть спланированы и оборудованы канавами, кюветами, лотками, дождеприемниками для отвода атмосферных осадков.

Движение транспортных средств и погрузочно-разгрузочных механизмов по площадкам буртового хранения должно быть организовано по утвержденным схемам без встречных потоков.

6.8.27. Силосы, бункеры, питатели, фильтры, трубопроводы и др. оборудование бестарного хранения муки, сахара, крупы, зерна и др. должны быть изготовлены из несгораемых или трудно-сгораемых материалов, и для защиты от статического электричества все металлические элементы должны быть заземлены.

6.8.28. Пыль с пола помещений как бестарного, так и тарного хранения муки, крупы, зерна, сахара и др. должна убираться не реже одного раза в смену, со стен - по мере накопления.

Емкости для бестарного хранения муки и круп должны быть подсоединены к аспирационной системе или оснащены фильтрами.

6.8.29. Высота штабелей при ручной укладке затаренных грузов в ящиках массой до 50 кг, в мешках до 70 кг, в бочках с экстрактами или сыпучими материалами не должна превышать 2 м, в бочках с жировыми веществами - 1,5 м.

6.8.30. Высота штабелей при механизированной укладке затаренных в ящиках массой до 50 кг не должна превышать 3,6 м, в мешках до 70 кг - 3,8 м, в бочках с искровыми веществами - 1,5 м, в бочках с экстрактами - 2,5 м, в бочках с сыпучими материалами - 3,0 м.

6.8.31. Грузы в ящиках и мешках, не сформированные в пакеты, необходимо укладывать в штабеля вперевязку. Для устойчивости штабелей следует через каждые 2 ряда ящиков прокладывать рейки, а через каждые 5 рядов мешков - доски.

Укладку грузов в бумажных мешках следует производить с прокладкой досок между каждым рядом.

6.8.32. При ручной укладке мешков в штабель может быть уложено не более 8 рядов, при механизированной укладке - не более 12.

6.8.33. При складировании ящиков с плодами на поддонах длина штабелей должна быть не более 10 м, высота - не более 4 м. Ящики с овощами и фруктами при ручной укладке в штабель допускается устанавливать высотой не более 1,5 м.

6.8.34. Бочки должны быть уложены в штабеля в горизонтальном положении (лежа) не более чем в 3 ряда в виде усеченной пирамиды с прокладкой досок между каждым рядом и подклиниванием всех крайних рядов. При установке бочек стоя допускается укладка не более чем в 2 ряда в перевязку с прокладкой равных по толщине досок между рядами.

6.8.35. Малогабаритные бочки массой до 100 кг допускается укладывать лежа в 6 рядов, массой от 100 до 150 кг - не более чем в 4 ряда.

6.8.36. Штабеля ящиков высотой более 2,5 м, бочек, уложенных в 2 ряда и более, должны быть ограждены. Расстояние от ограждения до штабеля должно быть не менее 1,5 м.

6.9. Требования при транспортировании и складировании продукции на торговых складах, базах, холодильниках, в организациях розничной торговли и питания.

6.9.1. Грузовые ручные тележки должны быть исправными, устойчивыми и легкоуправляемыми и иметь съемные или жесткие приспособления, обеспечивающие устойчивость установленных грузов, и иметь поручни для удобства их передвижения.

6.9.2. Размеры платформы трех- или четырехколесных тележек должны быть такими, чтобы грузы максимальных габаритов, на которые рассчитаны тележки, размещались в пределах ее платформы. Платформы тележек по форме должны соответствовать виду перевозимых грузов, при необходимости иметь специальные приспособления для закрепления и фиксации грузов.

6.9.3. Передние колеса ручных тележек для перевозки грузов массой более 300 кг должны быть управляемыми.

6.9.4. При перевозке грузов на тележке необходимо соблюдать следующие требования:

груз на платформе тележки должен размещаться равномерно, занимать устойчивое положение, исключающее его падение при передвижении;

тележка должна нагружаться не более ее грузоподъемности;

скорость движения как груженой, так и порожней тележки не должна превышать 5 км/ч;

борта тележки должны быть закрыты, стойки установлены в гнезда;

работник, сопровождающий тележку, не должен находиться сбоку тележки (чтобы не быть придавленным при движении тележки в узких местах и воротах, дверных проемах).

6.9.5. Основные виды грузовых ручных тележек и приемов перемещения грузов с их применением приведены в Приложении 20.

6.9.6. Перед началом работы следует убедиться в исправности тележки, неисправной тележкой пользоваться запрещается.

6.9.7. При перемещении груза по наклонному полу вниз работник должен находиться сзади тележки. При необходимости остановку гидравлической тележки допускается производить опусканием груза.

6.9.8. При перемещении груза, уложенного в высокий штабель, следует привлекать второго работника для поддержания штабеля.

6.9.9. Поднимать, перемещать груз, превышающий грузоподъемность тележки, нахождение людей в зоне действия рамы тележки и на пути перемещения груза запрещается.

6.9.10. Тележки для перемещения бочек, медведки должны быть снабжены предохранительными скобами на концах рукояток, и иметь приспособления для защиты рук в случае падения или смещения груза с тележки.

6.9.11. После окончания работы тележка должна быть установлена на ровной площадке. Рама гидравлической тележки должна быть опущена в горизонтальное положение. Должны быть приняты меры по исключению самопроизвольного движения тележки.

6.9.12. Для организаций, встроенных и встроенно-пристроенных в жилые дома, погрузка, выгрузка грузов должна производиться с торцов жилых зданий, не имеющих окон, из подземных туннелей или со стороны магистралей при наличии специальных загрузочных помещений.

При площади встроенных организаций до 150 м2 указанные загрузочные помещения допускается при проектировании не предусматривать.

6.9.13. В магазинах, расположенных в подвальных или полуподвальных помещениях, с лестницами высотой более 1,5 м или при числе маршей более одного, должны быть оборудованы люки и трапы для спуска грузов непосредственно в складское помещение.

6.9.14. При установке автомобиля для погрузки-выгрузки вблизи здания между зданием и задним бортом кузова автомобиля должен соблюдаться разрыв не менее 0,8 м.

6.9.15. Высота разгрузочно-погрузочных платформ для автотранспорта должна быть 1,1-1,2 м, для малотоннажных автомобилей - 0,6-0,8 м, ширина от 3 м (для малотоннажных автомобилей) до 4,5 м.

В продовольственных магазинах торговой площадью 1,5 тыс. м2 и более, в универмагах и др. непродовольственных магазинах (кроме мебельных) площадью 4,5 тыс. м и более, в мебельных магазинах площадью 1,0 тыс. м2 и более ширина платформы может быть увеличена до 6,0 м.

Вдоль передней кромки платформы должен быть установлен охранный борт для исключения завала колес напольного транспорта за край платформы.

6.9.16. В зависимости от климатического района расположения и величины торговой площади магазина разгрузочные платформы должны размещаться под навесом, в неотапливаемых или отапливаемых помещениях. Навесы должны полностью перекрывать разгрузочную платформу и на 1 м кузов автомобиля.

6.9.17. Разгрузочные платформы должны оборудоваться навесами:

6.9.17.1. В продовольственных магазинах площадью до 1,0 тыс. м2 в непродовольственных площадью до 2,5 тыс. м2, расположенных в IВ климатическом подрайоне, во II и III климатических районах (кроме IIIБ подрайона);

6.9.17.2. В магазинах независимо от величины и специализации, расположенных в IIIБ климатическом подрайоне, IV климатическом районе.

6.9.18. Разгрузочные платформы должны размещаться под навесами или в неотапливаемых помещениях в продовольственных или непродовольственных магазинах площадью до 650 м2, расположенных в I климатическом районе (кроме подрайона IВ).

Допускается предусматривать разгрузку в неотапливаемых помещениях в продовольственных магазинах площадью 4,5 тыс. м2 и более, расположенных в IIIБ климатическом подрайоне и в IV климатическом районе.

6.9.19. Разгрузочные платформы в отапливаемых помещениях должны предусматриваться в магазинах площадью 600 м2 и более, расположенных в 1 климатическом районе (кроме подрайона IВ).

6.9.20. В продовольственных и непродовольственных магазинах площадью соответственно свыше 1 тыс. м2 и 2,5 тыс. м2, расположенных в IВ климатическом подрайоне, во II и III климатических районах (кроме подрайона IIIБ) допускается размещать разгрузочные платформы в отапливаемых или неотапливаемых помещениях.

6.9.21. В случаях, когда разгрузочные места в магазинах для ночного завоза товаров предусматриваются вне основной разгрузочной платформы, допускается вместо платформы (при соответствующих обоснованиях) применять разгрузочно-погрузочные устройства.

6.9.22. Помещения приемочных должны предусматриваться при разгрузке товаров под навесами, при разгрузке в неотапливаемых помещениях в магазинах, расположенных в I, II и III климатических районах (кроме подрайона IIIБ).

Площадь приемочных должна быть в магазинах с торговой площадью до 150 м2 - 12 м2, более 150 м2 - 16 м2 в расчете на одно разгрузочное место.

6.9.23. Тара, контейнеры, поддоны и др. средства пакетирования грузов должны соответствовать следующим требованиям:

6.9.23.1. Тара должна быть чистой, исправной, без торчащих гвоздей, окантовочной проволоки или металлической ленты, не иметь бахромы, задиров, заусенцев, защипов, покоробленности и т.д. Выступающие концы гвоздей должны быть загнуты и утоплены в древесину, концы скоб должны быть подогнуты и плотно прижаты к древесине.

Запорные и фиксирующие устройства не должны допускать самопроизвольного раскрытия при погрузочно-разгрузочных, транспортных и складских работах.

Устанавливаемая в штабель тара должна иметь единые конструкцию и размеры фиксирующих устройств;

6.9.23.2. Ящики должны быть стандартные или типовые определенного назначения;

6.9.23.3. Бочки должны быть чисто оструганы, не иметь задиров, впадин и выпуклостей, надломанных клепок;

6.9.23.4. Мешки должны быть целыми, чистыми, без пропуска стежков. Нитки швов должны быть закреплены и не иметь свободных концов;

6.9.23.5. Поддоны ящичные и стоечные должны иметь фиксаторы для устойчивого многоярусного штабелирования и выдерживать нагрузку не менее четырехкратной их грузоподъемности;

6.9.23.6. Наибольший свес груза с поддона на сторону не должен превышать:

для грузов в мешковой таре (тканевой, джутовой) - 100 мм;

для грузов в бумажных мешках, в кипах, ящиках - 50 мм.

6.9.24. При подъеме груза электрической талью доводить обойму крюка до концевого выключателя и пользоваться концевым выключателем для автоматической остановки запрещается.

6.9.25. Тяжеловесные, но небольшие по размерам грузы разрешается перемещать по лестницам зданий с применением троса по доскам, уложенным на ступенях лестниц.

Для облегчения перемещения под основание груза следует подкладывать катки.

Находиться на ступенях лестницы за поднимаемым или перед опускаемым при помощи троса грузом запрещается.

6.9.26. Тяжеловесные грузы допускается перемещать при помощи катков по горизонтальной поверхности. При этом путь перемещения должен быть очищен от всех посторонних предметов. Для подведения катков под груз следует применять ломы или домкраты. Во избежание опрокидывания груза следует иметь дополнительные катки, подкладываемые под переднюю часть груза.

6.9.27. При спуске груза по наклонной плоскости необходимо принять меры по исключению возможного скатывания или сползания груза под действием собственной тяжести или его опрокидывания.

6.10. Требования при транспортировании и складировании нефтепродуктов.

6.10.1. Нефтепродукты разделяются на светлые (бензин, керосин, газойль и т.д.), темные (мазуты, смазочные масла, дизельное топливо) и битумы, обладающие твердой и вязкой консистенцией.

6.10.2. Для транспортирования нефтепродуктов применяются специализированные железнодорожные и автотранспортные средства.

6.10.3. Транспортные средства (как железнодорожные, так и автомобильные), предназначенные для перевозки вязких нефтепродуктов, должны быть оборудованы системами подогрева для обеспечения разгрузки.

6.10.4. Налив нефтепродуктов в транспортные средства, слив из них должны производиться с помощью насосов или самотеком за счет разности уровней жидкости в резервуаре и транспортном средстве.

6.10.5. Нефтепродукты должны сливаться в резервуар, где хранится продукт той же марки.

6.10.6. Один стояк допускается использовать только для приема этилированного или только неэтилированного бензина, керосина, дизельного топлива. Трубопроводы от резервуаров должны подводиться раздельно к гребенке с кранами и к крану, находящемуся непосредственно у стояка.

6.10.7. Цистерна считается опорожненной, если топлива в ней осталось высотой не более 1 см.

6.10.8. При хранении топлива на складе необходимо принимать меры по предотвращению его потерь от испарения путем снижения объема газового пространства над поверхностью топлива, исключения выброса в атмосферу паровоздушной смеси при заполнении емкости топливом, установления оптимального температурного режима при хранении топлива и другие меры.

6.10.9. При заполнении емкости нефтепродуктами необходимо оставлять незаполненным от 2 до 5 % объема емкости для демпфирования объемных температурных расширений нефтепродукта.

6.10.10. Сроки хранения нефтепродуктов в зависимости от климатической зоны приведены в таблице 4.

Таблица 4

Сроки хранения нефтепродуктов

№ п/п

Нефтепродукты и способ хранения

Сроки хранения в зависимости от климатической зоны, лет

Северная зона

Средняя зона

Южная зона

1

Автомобильные бензины:

 

 

 

 

в наземных резервуарах

2,5

2,0

1,0

 

в подземных резервуарах

3,0

2,5

1,5

 

в таре (бочки, канистры)

2,0

1,0

0,5

2

Дизельное топливо

6,0

6,0

6,0

3

Керосин тракторный

3,0

2,0

1,0

4

Масла (автотракторные, индустриальные, автомобильные, компрессорные и др.)

5,0

5,0

5,0

5

Масла без присадок

6,0

6,0

6,0

6.10.11. При хранении жидких нефтепродуктов в таре складские помещения должны быть устроены из огнестойких материалов с отдельными секциями вместимостью не более 200 м3 каждая для легковоспламеняющихся продуктов и не более 1000 м3 для нефтепродуктов с температурой вспышки выше 45 °С.

6.10.12. Деревянные бочки с пластичными смазками емкостью 200 л могут грузиться в железнодорожный вагон в два яруса, меньшей емкости - в три яруса. Бочки первого и второго ярусов должны устанавливаться на торец, а третий ярус из бочек меньшего объема в накат пробками вверх.

При загрузке вагона бочками объемом 50 и 100 л все бочки должны устанавливаться на торец.

Между ярусами бочек должен быть настил из досок, а бочки, уложенные в накат, должны быть закреплены прокладками.

При загрузке в кузов автомашины бочки должны устанавливаться на торец пробками вверх и закрепляться для исключения перемещений при транспортировании.

6.10.13. Масла и пластичные смазки в складских помещениях должны храниться на стеллажах не более чем в три яруса и по длине штабеля не более 10 бочек. Под бочки должны быть установлены деревянные прокладки. Между стеллажами должен быть проход не менее 1,8 м.

6.10.14. Ручная погрузка бочек на транспортное средство разрешается при массе бочек не более 100 кг и при накате по слегам с наклоном не более 30°.

6.10.15. Перед заполнением нефтепродуктами необходимо осмотреть цистерну, проверить ее укомплектованность необходимым оборудованием, исправность задвижек, дыхательного клапана, герметичность крышек горловины цистерны, наличие остатка нефтепродукта. Цистерны и транспортная тара, поданные для заполнения, должны использоваться для однородных нефтепродуктов.

6.10.16. Выдавать со склада бензин, дизельное топливо, масла следует в первую очередь из резервуаров, которые заполнены меньше и где топливо хранится более длительный срок.

6.10.17. Наливные отверстия бочек должны быть закрыты металлическими пробками с прокладками из маслобензостойкой резины или специального картона.

6.10.18. Порожняя тара из-под нефтепродуктов должна складироваться в штабеля по длине не более 10 м, по ширине - 6 м, по высоте - 2 м. Расстояние от верха штабеля до выступающих конструкций перекрытия складского помещения должно быть не менее 0,5 м. Штабеля должны отстоять от стен не менее чем на 1 м, между штабелями разрыв должен быть не менее 2 м, а в штабеле через каждые два ряда бочек - 1 м.

6.10.19. Нефтебитумы должны транспортироваться в затаренном виде (крафт-мешки, деревянные, металлические бочки и другая мелкая тара или специализированные контейнеры) и их погрузка, выгрузка должны производиться с применением автопогрузчиков, грузоподъемных кранов или в бункерных железнодорожных вагонах, железнодорожных цистернах, разгрузка которых должна осуществляться после разогрева битума специальными системами, обеспечивающими его текучесть (например, подачей пара давлением 0,3-4 МПа и температурой 160 °С в паровую рубашку цистерны или в паровые змеевики).

6.10.20. Для разогрева битума могут применяться системы с паровым, газовым, масляным и электрическим подогревом.

6.10.21. Режим слива и налива нефтепродуктов, эксплуатация резервуаров, средств транспортирования и тары должны удовлетворять требованиям электростатической искробезопасности.

6.10.22. При хранении и транспортировании этилированного бензина должны соблюдаться требования, изложенные в ПОТ Р М-008-98.

6.10.23. Нефтепродукты имеют повышенную пожароопасность, а в определенных условиях и взрывоопасность, в связи с чем при производстве погрузочно-разгрузочных работ необходимо строгое соблюдение правил пожарной безопасности.

6.10.24. При загрузке светлых нефтепродуктов падающей струей в резервуарах и цистернах накапливаются значительные потенциалы статического электричества, которые могут привести к электрическому разряду, следствием чего может быть воспламенение или взрыв смеси нефтепродукта с воздухом (особенно в сухую погоду и в зимнее время).

Поэтому запрещается загружать цистерны, резервуары и другие емкости свободно падающей струей.

6.10.25. Для налива жидких нефтепродуктов необходимо шланг заливного патрубка подавать в емкость до ее дна.

6.10.26. Для снятия статического электричества все металлические части эстакад, наливных телескопических труб, рукава и наконечники во время слива и налива, резервуары и цистерны должны быть заземлены.

6.10.27. Склады нефтепродуктов должны быть оборудованы молниезащитой с применением молниеотводов стержневого, тросового и сетчатого типов.

6.10.28. Открывать крышки горловин цистерн и резервуаров, вводить наконечник наливного или заборного патрубков следует осторожно, без ударов, т.к. в газовом пространстве заполненных светлыми нефтепродуктами емкостей создается взрывоопасная концентрация смеси паров топлива и воздуха.

6.10.29. Лестницы, поручни, площадки, ограждения площадок, цистерн, резервуаров должны быть в исправном состоянии, обеспечивающем безопасность труда обслуживающего персонала.

6.10.30. При проведении работ с нефтепродуктами запрещается пользование открытым огнем, курение. Допускается использование электроподогрева для жидких битумов при надежной изоляции нагревателей.

6.10.31. При постановке на погрузочно-разгрузочные работы железнодорожные транспортные единицы должны быть надежно заторможены с помощью башмаков и должны быть приняты меры по исключению случайной подачи на место производства этих работ другого подвижного состава.

При разгрузке бункерных вагонов с нефтебитумом запрещается нахождение работников в зоне опрокидывания бункера.

6.10.32. При хранении нефтепродуктов в таре на стеллажах необходимо их защищать от прямого действия солнечных лучей и атмосферных осадков.

Открытое хранение нефтепродуктов в таре допускается под навесами из горючестойких кровельных материалов.

6.10.33. Склад нефтепродуктов и пункт производства перегрузочных работ должны быть оборудованы электросветильниками во взрывозащищенном исполнении, и их включение, выключение должны быть размещены в местах, гарантировано исключающих наличие взрывоопасной смеси паров нефтепродуктов с воздухом.

6.10.34. Безопасность работ с нефтепродуктами должна обеспечиваться эффективной вентиляцией, предотвращающей высокую концентрацию их паров в закрытых помещениях, с контролем воздушной среды. Приводы вентиляторов должны быть в пожаро- и взрывозащищенном исполнении.

6.10.35. Места производства работ с нефтепродуктами должны быть укомплектованы необходимыми средствами пожаротушения. Для тушения возгорания следует применять универсальные углекислотные огнетушители, химическую пену, песок, грунт.

Применение воды для тушения горящих масел и битума запрещается, т.к. вода в контакте с маслами дает эмульсию, интенсифицирующую процесс горения.

6.11. Требования при транспортировании и размещении опасных грузов.

6.11.1. К опасным грузам относятся вещества и предметы, которые при транспортировании, выполнении погрузочно-разгрузочных работ и при хранении могут послужить причиной взрыва, пожара или повреждения транспортных средств, складов, устройств, зданий и сооружений, а также гибели, увечья, отравления, ожогов, облучения или заболевания работающих.

6.11.2. Классификация грузов по степени и характеру опасности дана в табл. 1 Приложения 8.

6.11.3. Перечень опасных грузов, допускаемых для транспортирования на определенном виде транспорта, устанавливается правилами перевозок для данного вида транспорта.

6.11.4. Наиболее опасны грузы 1-го класса. Классы грузов имеют знаки опасности, которые указывают, что груз обладает свойствами, требующими специальных условий транспортирования и хранения.

6.11.5. На каждом грузовом месте (упаковке) с опасными грузами должна быть нанесена маркировка, включающая знаки опасности по ГОСТ 19433, ДОПОГ (Европейское Соглашение о международной дорожной перевозке опасных грузов) и манипуляционные знаки по ГОСТ 14192.

6.11.6. Погрузку, разгрузку и перемещение опасных грузов следует производить:

6.11.6.1. В соответствии с требованиями безопасности, содержащимися в документации на эти вещества (грузы), утвержденной в установленном порядке;

6.11.6.2. В специально отведенных местах при наличии данных о классе опасности по ГОСТ 19433 и указаний отправителя груза по соблюдению мер безопасности;

6.11.6.3. Места производства погрузочно-разгрузочных работ, средства их транспортирования, грузоподъемное оборудование и т.п., загрязненные ядовитыми (токсичными) веществами, должны быть подвергнуты тщательной очистке, мойке и обезвреживанию.

Рассыпанные или разлитые ядовитые (токсичные) вещества следует убрать и нейтрализовать безопасным способом.

6.11.7. Транспортирование опасных грузов по ГОСТ 19433 в таре, не соответствующей ГОСТ 12.3.010, а также при отсутствии маркировки по ГОСТ 14192 и знака опасности по ГОСТ 12.4.026, не допускается.

6.11.8. Въезд во взрывоопасные помещения допускается под контролем ответственного лица и только для транспортных средств во взрывозащищенном исполнении.

6.11.9. Для осуществления перевозки опасных грузов автомобильным транспортом вне территории предприятия должно быть оформлено разрешение в местных органах внутренних дел, а для радиоактивных веществ и в органах Госатомнадзора.

6.11.10. Опасные грузы допускаются к перевозке в таре и упаковке, соответствующей требованиям ГОСТ 26319.

6.11.11. При перевозке сжатых, сжиженных, растворенных под давлением газов и взрывоопасных воспламеняющихся жидкостей запрещается:

6.11.11.1. Курить в кабине и вблизи автомобиля, а также в местах на хождения грузов, ожидающих погрузки или выгрузки, на расстоянии менее 10 м от них;

6.11.11.2. Погрузка и выгрузка в общественных местах в населенных пунктах без особого на то разрешения соответствующих органов надзора и контроля следующих веществ: безводной бромистоводородной кислоты безводной фтористоводородной кислоты, сероводорода, хлора, двуокиси серы и двуокиси азота, хлорокиси углерода (фосгена).

Если по какой-либо причине разгрузка в указанном месте необходима, то следует отделить упаковки с различными грузами друг от друга и обеспечить перемещение груза в горизонтальном положении, руководствуясь данными ярлыков.

6.11.12. При хранении опасных и особо опасных веществ следует руководствоваться требованиями Правил пожарной безопасности в Российской Федерации.

6.11.13. Условия и способы подготовки, производства погрузочно-разгрузочных работ и перевозки опасных грузов должны соответствовать требованиям ГОСТ 19433, Правил перевозки опасных грузов автомобильным транспортом, Руководства по организации перевозок опасных грузов автомобильным транспортом, Правил безопасности при перевозке грузов железнодорожным транспортом, Правил пожарной безопасности в Российской Федерации.

6.11.14. Транспортирование легковоспламеняющихся жидкостей и баллонов с газами должно производиться специальными транспортными средствами, оборудованными искроуловителями на выхлопных трубах, металлическими цепочками для снятия зарядов статического электричества, имеющими соответствующие надписи, укомплектованными средствами пожаротушения. При транспортировании легковоспламеняющихся грузов в отдельных емкостях, устанавливаемых на транспортное средство, у каждой емкости должно иметься заземление.

6.11.15. При перевозке грузов восьмого класса опасности необходимо металлическую тару, включая и автомобильные цистерны, подвергать осмотру с определением их технического состояния перед каждым рейсом.

6.11.16. При перевозке жидкого кислорода необходимо принимать меры по предохранению арматуры емкостей от контактов с маслами и жирами. Автомобиль, перевозящий жидкий кислород, должен быть оборудован огнетушителем, сигнальными красными флажками, устанавливаемыми на левом переднем и заднем углах бортов кузова. Выпускная труба автомобиля должна быть оборудована искроуловителем.

6.11.17. Такие вещества как жидкий метан, жидкий этан, жидкие смеси метана и этана, жидкий этилен и жидкий углекислый ангидрид допускаются к перевозке только в цистернах.

6.11.18. Взрывчатые, радиоактивные, сильнодействующие, ядовитые, легковоспламеняющиеся и другие опасные грузы, а также необезвреженную тару из-под них необходимо транспортировать с соблюдением требований специальных инструкций.

6.11.19. Сжиженные газы и воспламеняющиеся жидкости допускаются к транспортированию в стеклянной таре с толстыми стенками и в соответствующей предохранительной упаковке.

6.11.20. Воспламеняющиеся жидкости допускаются к перевозке в цистернах, которые должны быть снабжены вентиляционными и защитными от распространения пламени устройствами.

6.11.21. Бочки с бензином и другими воспламеняющимися жидкостями для транспортирования и хранения должны укладываться только лежа в один ряд пробками вверх.

6.11.22. Цистерна, предназначенная для перевозки сжиженных и легковоспламеняющихся жидкостей, должна иметь клеймо испытаний, трафарет с указанием владельца и номера цистерны, величины пробного давления, даты последнего испытания, емкости цистерны, полного названия продукта и грифа «Огнеопасно».

6.11.23. Указанное название продукта, для перевозки которого предназначена цистерна, не исключает возможности использования цистерны для перевозки других жидкостей, если это не вызывает нарушения правил безопасности.

6.11.24. Если воспламеняющиеся жидкости перевозятся в кузове бортового автомобиля, то на каждое грузовое место с такой жидкостью, а также на каждое грузовое место с уксусным альдегидом, ацетоном, метиловым спиртом должен быть ярлык установленного образца.

6.11.25. Если указанные огнеопасные вещества перевозятся в стеклянной таре, уложенной в ящики или в другую предохранительную упаковку так, что тара не видна снаружи, на такой груз также должен быть прикреплен специальный ярлык. Такой ярлык прикрепляется вверху на двух противоположных боковых сторонах ящика.

6.11.26. Допускаются к перевозке в закрытых автомобилях воспламеняющиеся жидкости в сосудах из специального стекла, фарфора и подобных материалов, уложенных в соответствующие упаковки, а также в металлических сосудах без ограничения числа грузовых мест, если масса груза (одного места) не превышает 40 кг.

6.11.27. Агрессивные и огнеопасные жидкости, уксусный альдегид, ацетон должны перевозиться в открытых автомобилях.

6.11.28. Фтор не должен грузиться в одно и то же транспортное средство вместе с взрывчатыми веществами, а также с предметами, заряженными взрывчатыми веществами.

6.11.29. Во время погрузки и выгрузки воспламеняющихся грузов двигатель автомобиля не должен работать (если он не используется для привода в действие насосов или других приспособлений, обеспечивающих загрузку или разгрузку). В последнем случае должны быть приняты меры пожарной безопасности.

6.11.30. При погрузке горючих жидкостей наливом водитель обязан соблюдать требования инструкций грузоотправителя по технике безопасности и противопожарной технике.

6.11.31. Для крепления грузовых мест с воспламеняющейся жидкостью запрещается применение легковоспламеняемых материалов.

6.11.32. Погрузка и выгрузка пылящих и горючих грузов должна производиться механизированными способами, Транспортирование пылящих грузов должно осуществляться специальными автомобилями или открытыми машинами с уплотнением кузовов и с принятием мер по исключению их распыления при движении (укрытие брезентом и др.).

6.11.33. Транспортирование грузов с температурой выше 70 °С должно производиться на транспортных средствах, оборудованных металлическими кузовами.

6.11.34. Легковоспламеняющиеся жидкости и баллоны с газом следует транспортировать на транспортных средствах, оборудованных искроуловителями на выхлопных трубах.

6.11.35. Вентили баллонов с газами при транспортировании и хранении должны быть закрыты металлическими колпаками.

6.11.36. Баллоны со сжиженным газом должны иметь отличительную окраску и надписи (Приложение 22). Транспортировать их следует на подрессоренных транспортных средствах в горизонтальном положении с укладкой поперек кузова на специальные ложементы колпачками в одну сторону.

6.11.37. Перевозить баллоны на автомобиле в вертикальном положении (стоя) можно только в специальных контейнерах при наличии в местах погрузки и выгрузки подъездных путей. При этом погрузка и разгрузка контейнеров и баллонов должна быть механизирована. Баллоны с пропаном разрешается перевозить в вертикальном положении без контейнеров.

6.11.38. При погрузке баллонов в кузов более чем в один ряд необходимо применение прокладок, предохраняющих баллоны от соприкосновения друг с другом. Перевозка баллонов без прокладок запрещается.

6.11.39. При перевозке баллонов в летнее (жаркое) время необходимо их укрывать для защиты от прямого воздействия солнечных лучей.

6.11.40. Запрещается совместное транспортирование кислородных и ацетиленовых баллонов как наполненных, так и порожних.

Допускается совместное транспортирование ацетиленового и кислородного баллонов на специальной тележке на пост сварки в пределах одного производственного корпуса.

6.11.41. Баллоны или цистерны со сжатыми, сжиженными, растворенными под давлением газами и воспламеняющимися жидкостями, подлежащие перевозке, должны быть опломбированы поставщиком, несущим ответственность за их правильное наполнение.

6.11.42. Металлические сосуды, предназначенные для перевозки сжатых, сжиженных или растворенных под давлением газов, должны использоваться только под тот газ, под который они прошли испытания, имеют цветовую окраску и название которого на них указано. Исключения из этого правила допускаются в отношении:

6.11.42.1. Металлических сосудов, прошедших испытания для перевозки пропана. Эти сосуды могут также наполняться бутаном. При этом нельзя превышать максимально допустимой нагрузки для бутана. На сосудах должны быть выгравированы названия обоих газов, пробное давление, предписанное для пропана, и максимальная допустимая нагрузка пропаном и бутаном;

6.11.42.2. Металлических сосудов, прошедших испытания для перевозки смесей углеводородов, полученных из природного газа или путем перегонки производных продуктов минеральных масел, угля и т.п., которые могут также использоваться для перевозки пропана, циклопропана, пропилена, изобутана, бутадиена, бутилена и изобутилена.

6.11.43. Запрещается погрузка баллонов с растворенным под давлением, сжатым, сжиженным газом, воспламеняющихся жидкостей совместно:

с детонирующими фитилями мгновенного действия;

с железнодорожными петардами;

с детонирующими запалами, безводной соляной кислотой, жидким воздухом, кислородом и азотом;

с поддерживающими горение веществами;

с ядовитыми веществами;

с азотной кислотой и сульфоазотными смесями;

с органическими перекисями;

с пищевыми продуктами;

с радиоактивными веществами.

6.11.44. Сосуды со сжатым, сжиженным или растворенным под давлением газом нельзя бросать или подвергать толчкам.

6.11.45. Сосуды со сжатым, сжиженным или растворенным под давлением газом должны закрепляться при транспортировке в кузове автомобиля так, чтобы они не могли опрокинуться и упасть. Сосуды при перевозке в горизонтальном положении должны расклиниваться или закрепляться так, чтобы исключалась возможность их перемещения. Сосуды с жидким воздухом, с жидким кислородом, жидким азотом, со смесью жидкого кислорода и азота, а также с воспламеняющейся жидкостью должны перевозиться в вертикальном положении.

6.11.46. Транспортирование баллонов к месту погрузки или от места их выгрузки необходимо осуществлять на специальных тележках, конструкция которых должна предохранять баллоны от тряски и ударов. Баллоны должны размещаться на тележке, как правило, лежа.

6.11.47. Кислоты, щелочи и другие едкие жидкости необходимо перевозить в бутылях, металлических бочках, автомобильных и железнодорожных цистернах с обеспечением соответствующих мер безопасности.

6.11.48. Транспортирование кислот, щелочей в стеклянной таре от места разгрузки до склада и от склада до места погрузки должно осуществляться в приспособленных для этого носилках, тележках, тачках, обеспечивающих безопасность выполняемых операций.

6.11.49. Переноска бутылей с кислотой за ручки корзины разрешается только после предварительного осмотра и проверки состояния ручек и корзины и не менее чем двумя работниками.

6.11.50. С порожней тарой из-под кислот следует обращаться осторожно, т.к. в ней могут быть остатки кислот. Наклонять порожние из-под кислот бутыли запрещается.

6.11.51. Бочки, барабаны и ящики с едкими веществами необходимо перемещать на специальных тележках.

6.11.52. Стеклянная тара с едкими жидкостями должна быть в плетеных корзинах или деревянных обрешетках, переложена древесной стружкой.

6.11.53. Транспортные средства, предназначенные для перевозки баллонов со сжатым газом, нефтепродуктов и других легковоспламеняющихся жидкостей, должны быть оборудованы средствами пожаротушения.

6.11.54. Кузов автомобиля (прицепа), применяемый для перевозки баллонов, должен быть оборудован стеллажами с выемками по размеру баллонов, обитыми войлоком. Стеллажи должны иметь запорные устройства.

6.11.55. Во избежание аварий, несчастных случаев движение транспортных средств с опасными грузами должно осуществляться строго по заданному маршруту, указанному в путевом листе.

6.11.56. В кабинах автомобилей, перевозящих воспламеняющиеся жидкости и газы, запрещается находиться лицам, не связанным с обслуживанием этих перевозок. Запрещается кому бы то ни было находиться в кузовах автомобилей, перевозящих воспламеняющиеся жидкости.

6.11.57. Маршрут перевозки опасных грузов с указанием мест стоянок, заправок топливом и др. должен быть согласован с органами госавтоинспекции.

6.11.58. При обнаружении в пути следования течи воспламеняющейся жидкости или газа из цистерны или другой тары необходимо немедленно остановиться и принять меры безопасности в соответствии со специальной инструкцией по перевозке этих грузов.

6.11.59. На время стоянки ночью или при плохой видимости водитель автомобиля, перевозящего опасный груз, обязан выставить фонари оранжевого цвета спереди и сзади автомобиля на расстоянии около 10 м от него.

Фонари должны функционировать независимо от установки на автомобиле приборов освещения и должны устраиваться так, чтобы пользование ими не могло вызвать воспламенения перевозимых грузов. Огни могут быть постоянными или мигающими.

6.11.60. Перемещение грузов в организации должно производиться с соблюдением требований ГОСТ 12.3.002, ГОСТ 12.3.020 и настоящих Правил.

6.12. Требования при ручном перемещении грузов.

6.12.1. Рабочая одежда должна быть приведена в порядок: обшлага рукавов застегнуты или обвязаны, одежда заправлена так, чтобы не было развевающихся концов, волосы подобраны под головной убор, а головной убор надет облегающе плотно. Работники в неопрятной, грязной и промасленной одежде к работе допускаться не должны.

6.12.2. Индивидуальные средства защиты (рукавицы, очки, респираторы и т.п.), инструменты и приспособления должны быть проверены и в случае их непригодности или неисправности заменены на исправные.

6.12.3. При выполнении работ на постоянных площадках должна быть проведена подготовка рабочих мест к работе:

6.12.3.1. Погрузочно-разгрузочная площадка и проходы не должны быть загромождены, на площадках и проходах не должно быть ям, рытвин, посторонних предметов и скользких мест (скользкие места необходимо посыпать песком);

6.12.3.2. В складских помещениях, расположенных в подвалах и полуподвалах, люки, трапы, подъемники должны быть в исправном состоянии;

6.12.3.3. Освещение мест производства работ должно быть достаточным для безопасного выполнения работ;

6.12.3.4. О выявленных недостатках, неисправностях необходимо сообщить непосредственному руководителю работ и без его указания к работе приступать не разрешается.

6.12.4. Переносить груз массой одного места до 80 кг разрешается вручную, если расстояние по горизонтали не превышает 25 м, в остальных случаях необходимо применение тележек, вагонеток, талей.

6.12.5. Переносить груз массой более 80 кг одному грузчику запрещается.

6.12.6. Поднимать или снимать груз массой одного места более 50 кг необходимо вдвоем.

6.12.7. Груз массой одного места более 50 кг поднимать на спину или снимать со спины грузчика должны другие грузчики.

6.12.8. Погрузка и разгрузка грузов массой от 80 до 500 кг должна производиться с применением грузоподъемных механизмов (талей, блоков, лебедок), а также с применением покатов и т.п.

Ручная погрузка и разгрузка таких грузов разрешается только на временных площадках под руководством опытного бригадира и при условии, что на одного грузчика будет приходиться не более 50 кг груза.

6.12.9. При применении для разгрузки и погрузки грузоподъемных механизмов и приспособлений грузчики должны знать соответствующие инструкции и правила по безопасному их применению и иметь навыки обращения с ними.

6.12.10. При совместной работе с другими грузчиками должны точно выполняться распоряжения бригадира или старшего работника.

6.12.11. Не допускается загромождение установленных проходов и проездов.

6.12.12. Не допускается укладка грузов на неисправные стеллажи, козлы, подмости, на неподготовленные места хранения грузов.

6.12.13. Не допускается складирование материалов навалом вплотную к стенам сооружений и устройств. Зазор должен быть не менее 25 см.

6.12.14. Укладка грузов в штабеля должна производиться так, чтобы штабеля были устойчивы. Между штабелями должны оставляться проходы, проезды установленной ширины.

6.12.15. Запрещается беспорядочное складирование грузов. Места для складирования должны быть своевременно подготовлены, выровнены, а в зимнее время должны быть очищены ото льда и снега.

6.12.16. Если груз переносится группой работников, каждый должен идти в ногу со всеми.

6.12.17. Длинномерные грузы должны переноситься на одноименных плечах (правых или левых). Поднимать и опускать длинномерный груз необходимо по команде бригадира или старшего работника.

6.12.18. При переноске груза на носилках необходимо обоим работникам идти в ногу. Команду для опускания груза, переносимого на носилках, должен подавать работник, идущий сзади.

6.12.19. Погрузку и разгрузку бензина, керосина, нефти и др. следует производить перекачкой с применением сливных шлангов. Заполнение емкостей ведрами, открытым переливом, а также слив нефтепродуктов не через шланги запрещается.

6.12.20. При погрузке и разгрузке бочек с этилированным бензином или бензолом грузчики должны до начала работ изучить инструкции по безопасному обращению с ними и выполнять требования этих инструкций.

6.12.21. При погрузке и разгрузке пылящих материалов необходимо применение защитных очков и респираторов.

6.12.22. Переносить или перевозить грузы, содержащие кислоты щелочи и др. химически активные вещества, допускается только в плетеных корзинах или деревянных обрешетках на специально приспособленных носилках или ручных грузовых тележках.

Погрузка и разгрузка бутылей с этими веществами, установка их в транспортные средства должна производиться двумя грузчиками. Переноска бутылей с кислотой на спине или на плече запрещается.

6.12.23. Запрещается установка грузов в стеклянной таре в два яруса без соответствующих прокладок, предохраняющих нижний ряд от боя во время транспортирования или хранения на складе.

6.12.24. Грузить, разгружать, перемещать грузы с кислотами и др. химически активными веществами грузоподъемными механизмами, за исключением лифтов и шахтоподъемников, запрещается.

6.12.25. Перемещать баллоны со сжатыми и сжиженными газами разрешается только на специальных тележках или носилках с гнездами для баллонов, обитых войлоком.

Запрещена переноска баллонов на плечах, применение подъемно-транспортных средств, т.к. их падение опасно взрывом.

6.12.26. Погрузка и разгрузка особо опасных грузов может производиться под руководством ответственного производителя работ или ответственного работника, отпускающего или принимающего эти грузы. Работы должны производиться с особой осторожностью и только после прохождения специального инструктажа.

6.12.27. В места хранения сыпучих материалов (песка, угля, шлака и т.п.), даже при небольшой высоте штабеля, работы подкопом с оставлением нависающих козырьков запрещаются.

6.12.28. Штучные грузы, уложенные в штабель, во избежание обрушения штабеля необходимо брать только сверху с выполнением мер по обеспечению устойчивости штабеля.

6.12.29. Перед укладкой тяжелых грузов на месте их складирования должны быть уложены подкладки для исключения возможного травмирования при опускании груза и обеспечения извлечения стропов из-под груза.

6.12.30. При перемещении катучих грузов (бочек, рулонов и др.) грузчик должен находиться сзади перемещаемого груза, толкая его от себя.

6.12.31. При работе нескольких грузчиков необходимо каждому из них следить за тем, чтобы не причинить друг другу травм инструментом или обрабатываемыми грузами. При переноске грузов сзади идущий должен соблюдать расстояние не менее 3 м от впереди идущего работника.

6.12.32. При переноске груза работник должен выбирать свободный, ровный и наиболее короткий путь; нельзя ходить по уложенным грузам, нагонять и перегонять впереди идущих грузчиков (особенно в узких и тесных местах), переходить дорогу перед движущимся транспортом.

6.12.33. Очистку поднятого кузова автосамосвала от остатков груза (битума, асфальта и т.п.) следует производить специальными скребками или лопатами с удлиненными ручками, находясь на разгрузочной площадке. Очищать кузов от остатков груза, находясь на или в кузове, на колесе, а также встряхивать кузов гидросистемой подъемника кузова, наносить удары по кузову для удаления остатков груза не допускается.

6.12.34. Длинномерный груз (бревна, рельсы и т.п.) разрешается грузить на автомашину с прицепом, имеющую приспособления для крепления груза (съемные или откидные стойки, прочные цепи и т.п.).

6.12.35. При погрузке и разгрузке длинномерных грузов вручную следует пользоваться покатами и выполнять эту работу должны не менее двух грузчиков

6.12.36. При разгрузке тяжеловесных длинномерных грузов необходимо применять страховку груза канатами и соблюдать меры личной безопасности. При накатывании длинномерного груза нельзя находиться с противоположной стороны его движения, а при укладке груза в кузов нельзя находиться на торцовой стороне длинномера со стороны кабины. Выполнять укладку груза в кузове транспортного средства следует с применением лома или ваги.

6.12.37. Подкатку бревен к месту укладки в штабель или при погрузке на транспортное средство следует производить вагами или ломами, подталкивать бревно руками запрещается.

6.12.38. При разгрузке бревен запрещается находиться перед грузом. Запрещается сбрасывать одновременно несколько бревен.

6.12.39. После выполнения работ необходимо привести в порядок рабочее место, проходы и проезды должны быть свободными и установленных габаритов, погрузочно-разгрузочные средства, инструмент и приспособления должны быть очищены, приведены в порядок и сданы на хранение. Обо всех замечаниях и выявленных при работе неисправностях необходимо сообщить руководителю работ (мастеру, бригадиру) и сменщику.

6.12.40. Перед тем как открыть двери крытых вагонов, необходимо наружным осмотром убедиться в исправности их закрепления. Неисправные двери должны открываться под руководством мастера и в присутствии осмотрщика вагонов.

6.12.41. При открытии дверей крытых вагонов запрещается находиться против дверей, т.к. при этом не исключена возможность падения двери или груза, находящегося в вагоне.

Грузчики при открытии двери вагона должны находиться сбоку и открывать дверь на себя, держась за ее поручни.

6.12.42. Запрещается, открывая дверь, упираться в кронштейн и налегать на дверь, т.к. это может привести к потере равновесия и к падению.

6.12.43. Закрывать двери крытого вагона необходимо находясь сбоку и двигать дверь за поручни от себя.

6.12.44. Открывая борта железнодорожных платформ, работники должны находиться со стороны торцов борта во избежание удара падающим бортом.

6.12.45. Закрывать борта платформ следует в таком порядке: поднимается торцовый борт, при этом работники должны находиться со стороны торцов борта, и после того как один из работников, находясь на вагоне, будет удерживать торцовый борт, остальные работники должны поднимать продольные борта. Запрещается при этих операциях находиться против борта.

Открытие и закрытие неисправных бортов платформы должно производиться под руководством мастера или бригадира.

6.12.46. Открытие люков хопперов и полувагонов является опасной операцией, т.к. падающий груз из люка и сам люк могут причинить серьезные травмы, поэтому находиться против люка запрещается. При открытии люков необходимо находиться сбоку от люков. Открывать люки из-под вагона запрещается.

6.12.47. Открытие люков хоппера должно производиться обязательно двумя работниками.

6.12.48. При открытии люков хопперов и полувагонов не допускается нахождение работников в вагоне.

6.12.49. Открывая люки полувагонов и хопперов на складах, где нет эстакад, необходимо проявлять особую осторожность, т.к. падающий груз может раскатиться и нанести травмы работникам даже в том случае, когда они находятся сбоку от люка.

6.12.50. При разгрузке вагонов на эстакадах запрещается открывать люки, если под или вблизи эстакады находятся люди, машины, механизмы.

6.12.51. Открывать люки хопперов и полувагонов на эстакаде разрешается при свободных от материалов предыдущей выгрузки ходовых настилах.

6.12.52. Открывать двери крытых вагонов на эстакадах, не имеющих ходовых настилов, запрещается.

6.12.53. Закрытие люков должно производиться непосредственно на месте выгрузки с применением специальных ломиков двумя работниками. Женщинам запрещается открывать и закрывать люки полувагонов на эстакадах, где нет ходовых настилов.

6.12.54. При закрытии бортов платформ вся увязочная проволока должна быть снята с вагона.

6.12.55. При разгрузке вагонов со смерзшимся грузом с применением кирок, клиньев, отбойных молотков и т.п. необходимо, чтобы работники в вагоне располагались так, чтобы исключалась опасность травмирования работающего рядом, травмирования от обрушения висящих смерзшихся глыб, разлетающихся при этом кусков груза.

6.12.56. Откатывание крупных глыб смерзшегося груза необходимо производить с использованием ломов. Откатывание руками запрещается.

6.12.57. Запрещается производить разгрузку вагонов со смерзшимся грузом киркованием груза вдоль борта вагона. Киркование следует производить равномерно по всей ширине вагона.

6.12.58. Работы по выгрузке смерзшихся грузов должны производиться под руководством мастера или другого лица, ответственного за безопасное производство работ.

6.12.59. Ручная пробивка смерзшихся сыпучих материалов допускается только сверху отбойными молотками.

6.12.60. К работе отбойным молотком должны допускаться работники, прошедшие специальное обучение.

6.12.61. При подключении отбойного молотка к сети необходимо:

6.12.61.1. Проверить шланги, штуцера, крепление штуцеров.

Шланги не должны иметь повреждений, штуцера должны быть плотно подтянуты хомутами. Применение проволочных скруток запрещено;

6.12.61.2. Продуть вентиль перед присоединением шланга, продуть шланг перед присоединением молотка;

6.12.61.3. Проверить, закрыт ли вентиль.

Присоединение и отсоединение отбойного молотка к сети должно производиться при закрытом вентиле на воздушной магистрали.

6.12.62. При работе отбойным молотком необходимо оберегать шланг от повреждений, следить за нагревом хвостовика пики (при сильном нагреве возможно ее заедание, поэтому необходимо произвести своевременную ее замену), оберегаться от удара пики.

6.12.63. При коротких перерывах в работе молоток должен быть размещен так, чтобы он не загрязнялся, при длинных перерывах в работе молоток следует хранить в теплом помещении во избежание замерзания смазки.

6.12.64. Разгрузка платформы с пиломатериалами должна производиться под руководством бригадира:

6.12.64.1. При устойчивом положении груза на платформе разгрузка должна производиться в следующем порядке:

срезается вся увязка;

укладываются слеги;

удаляются стойки со стороны фронта выгрузки;

производится разгрузка по слегам;

6.12.64.2. При неустойчивом положении груза на платформе разгрузка должна производиться с особой осторожностью и в следующем порядке:

крайние стойки подпираются рычагами;

срезается вся увязка;

укладываются слеги;

удаляются средние стойки со стороны разгрузки;

срезаются крайние стойки на высоте около 0,5 м от пола платформы;

производится разгрузка на слеги всех рядов пиломатериала до уровня срезанных стоек.

6.12.65. Во избежание обвала пиломатериалов выгрузка должна производиться рядами по горизонтали.

6.12.66. При разгрузке обледенелых досок, а также покрытых снегом или инеем, при укладке их в штабель запрещается ходить по таким доскам, становиться на них. Такие доски должны быть убраны с пути движения грузчиков и отдельно штабелированы.

6.12.67. Разгрузка скатнобочкового груза (рулонов, бочек и др.) должна производиться под руководством бригадира с использованием слег. Скатывать такой груз по слегам без поддержки веревками, находиться между слегами или сбоку слег при разгрузке запрещается.

6.12.68. Разгрузка кирпича вручную должна производиться на заранее подготовленные ровные площадки, в зимнее время - на очищенные от снега и льда ровные площадки. Штабеля должны выкладываться вертикально, высотой до 1,8 м. Для разгрузки в вагон должен быть подан и закреплен крючьями трап (сходни) шириной не менее 600 мм из досок толщиной не менее 40 мм. Для исключения прогиба под трап (сходни) при длине более 3 м должны быть установлены козлы.

6.12.69. При разгрузке пылящих грузов работники обязаны пользоваться очками, респираторами или противогазами, и им должен предоставляться 10-минутный отдых (со снятием респиратора или противогаза) каждый час работы с включением этих перерывов в норму выработки.

6.12.70. Погрузка и выгрузка кислородных баллонов должна производиться в специально выделенных и оборудованных местах работниками, прошедшими специальное обучение, инструктаж и допущенными к работе в установленном порядке и должна производиться, как правило, в дневное время или, как допущение, в ночное при достаточном освещении места работы.

6.12.71. При погрузке, выгрузке и переноске кислородных баллонов запрещается:

6.12.71.1. Переносить баллоны на плечах и спине, кантовать и переваливать, волочить, бросать, толкать, ударять по баллонам, пользоваться при перемещении ломами;

6.12.71.2. Допускать к работам грузчиков в замасленной одежде, с замасленными грязными рукавицами;

6.12.71.3. Курить и применять открытый огонь;

6.12.71.4. Браться для переноски баллонов за вентиль;

6.12.71.5. Транспортировать баллоны без колпаков на вентилях;

6.12.71.6. Размещать баллоны вблизи нагревательных приборов, горячих деталей и печей, оставлять их незащищенными от прямого воздействия солнечных лучей.

6.12.72. При обнаружении утечки кислорода из баллона (устанавливается по шипению) работник обязан немедленно доложить об этом бригадиру.

6.12.73. При выгрузке и погрузке баллонов необходимо оберегать от попадания на них масла, т.к. взаимодействие масла с кислородом может привести к взрыву.

6.12.74. Работы по погрузке и выгрузке кислот и других едких веществ должны производиться под руководством бригадира. Места перегрузки должны быть хорошо освещены, применение открытого огня, курение запрещены.

6.12.75. При переноске бутылей с кислотами в корзинах грузчики должны убедиться в исправности и надежности корзины, ручек. Корзины с бутылями при складировании должны ставиться в один ряд.

6.12.76. Переноска бутылей с кислотами и другими едкими веществами на спине, плечах или в руках перед собой одним грузчиком запрещается.

Каждая бутыль должна переноситься на носилках, имеющих специальные гнезда, двумя грузчиками.

6.12.77. При обнаружении разбитых бутылей или серьезного повреждения тары работа должна производиться с принятием особых мер предосторожности во избежание ожогов содержащихся в них веществами.

7. РЕЖИМ ТРУДА И ОТДЫХА

7.1. Режимы труда и отдыха работников, занятых на погрузочно-разгрузочных и транспортных работах, устанавливаются администрацией организации и структурных подразделений, в штате которых числятся эти работники, и должны соответствовать КЗОТ Российской Федерации. Нормативная продолжительность рабочего времени не может превышать 40 часов в неделю.

7.2. Время начала и окончания ежедневной работы смены предусматривается правилами внутреннего трудового распорядка и графиками сменности в соответствии с действующим законодательством.

7.3. График сменности должен быть утвержден руководителем организации по согласованию с соответствующим профсоюзным или другим представительным органом работников с учетом мнения трудового коллектива и с соблюдением установленной продолжительности рабочей недели.

7.4. График сменности должен доводиться до сведения работников не позднее чем за один месяц до его введения в действие. Работники чередоваться по сменам должны равномерно. Назначение работника на работу в течение двух смен подряд запрещается.

7.5. Продолжительность еженедельного непрерывного отдыха должно быть не менее 42 часов.

7.6. Работникам предоставляются ежегодные оплачиваемые отпуска продолжительностью не менее 24 рабочих дней. Замена отпуска денежной компенсацией не допускается.

7.7. Сокращенный рабочий день для работников, занятых на погрузочно-разгрузочных и транспортных работах, должен устанавливаться по Списку производств, цехов, профессий и должностей с вредными условиями труда, работа в которых дает право на дополнительный отпуск и сокращенный рабочий день в соответствии с Инструкцией о порядке применения Списка производств, цехов, профессий и должностей с вредными условиями труда, работа в которых дает право на дополнительный отпуск и сокращенный рабочий день.

7.8. Режимы труда и отдыха работников, занятых на погрузочно-разгрузочных и транспортных работах, как и работников организации в целом, должны быть согласованы с представительным органом работников организации.

7.9. Количество работников, обслуживающих грузоподъемные машины и механизмы, устанавливается администрацией организации по согласованию с органом госгортехнадзора по подконтрольным им объектам или с государственной инспекцией труда по всем остальным объектам и должно определяться в зависимости от местных условий, конструктивных и эксплуатационных особенностей машин и механизмов.

7.10. Режимы труда и отдыха работников, занятых на погрузочно-разгрузочных и транспортных работах (машинистов кранов и других грузоподъемных средств, стропальщиков, работников железнодорожного, автомобильного и другого напольного безрельсового колесного транспорта организации, грузчиков и др.), должны устанавливаться с учетом степени опасности и вредности сопутствующих этим работам производственных факторов и с обеспечением санитарно-гигиенических условий и безопасности производства работ.

7.11. При работе в респираторах или противогазах работникам должно периодически предоставляться время для отдыха со снятием респиратора или противогаза с включением этих перерывов в норму выработки.

7.12. При выполнении работ в других подразделениях или в других организациях режимы труда и отдыха работников, занятых на погрузочно-разгрузочных работах, могут устанавливаться по режиму работы этих подразделений, организаций.

7.13. Пребывание работников на складах хранения сильнодействующих ядовитых веществ (СДЯВ) разрешается только на время производства работ по обработке (складированию) этих грузов.

7.14. Для работников, не достигших возраста 18 лет, установлена сокращенная продолжительность рабочего времени: в возрасте от 16 до 18 лет - не более 36 часов в неделю, в возрасте от 15 до 16 лет - не более 24 часов в неделю.

7.15. Работа женщин в ночное время не допускается. Допускается для некоторых категорий работающих женщин работа в ночное время только с их согласия (диспетчеры, кондукторы, мойщицы, уборщицы помещений и др.).

Не допускается привлечение к работам в ночное время и сверхурочным работам, к работам в выходные дни и направление в командировки беременных женщин и женщин, имеющих детей в возрасте до трех лет.

Женщины, имеющие детей в возрасте от 3 до 14 лет (детей инвалидов до 16 лет), могут привлекаться к сверхурочным работам или направляться в командировку только с их согласия.

8. ТРЕБОВАНИЯ К ПРОФЕССИОНАЛЬНОМУ ОТБОРУ И ПРОВЕРКЕ ЗНАНИЙ ПРАВИЛ

8.1. Работодатель обязан организовать и обеспечить проведение предварительных (при поступлении на работу) и периодических (в течение трудовой деятельности) медицинских освидетельствований работников на соответствие их по физическим, физиологическим, психологическим и др. требованиям, предъявляемым или определяемым характером выполняемых ими работ в соответствии с порядком, установленным приказом Минздрава России от 10.12.96 г. № 405.

8.2. Проверка состояния здоровья работников, занятых на погрузочно-разгрузочных и транспортных работах, должна проводиться при первоначальном допуске их к работе и периодически в сроки в соответствии с приказом Минздравмедпрома России от 14.03.96 г. № 90.

8.3. Работники не вправе уклоняться от прохождения медицинских осмотров. При уклонении работников от прохождения медицинских осмотров или невыполнении ими рекомендаций, выдаваемых врачебными комиссиями по результатам проведенных обследований, администрация вправе привлечь работников к дисциплинарной ответственности и не должна допускать их к работе.

8.4. Работники, допускаемые к выполнению погрузочно-разгрузочных и транспортных работ, должны иметь профессиональную подготовку, соответствующую характеру работ.

8.5. Работодатель обязан обеспечить обучение работников безопасности труда в объемах программ по профессиям, утвержденным в установленном порядке. Обучение должно быть организовано в соответствии с требованиями ГОСТ 12.0.004.

8.6. Обучение работников по охране труда должно проводиться в виде вводного инструктажа, первичного инструктажа, первичного инструктажа на рабочем месте, повторного инструктажа, внепланового инструктажа, целевого инструктажа и специального обучения.

8.7. Проверка знаний требований безопасности у работающих производится первоначально перед допуском их к работе и периодически в установленные сроки.

8.8. К погрузочно-разгрузочным и транспортным работам могут допускаться лица не моложе 18 лет, не имеющие медицинских противопоказаний.

8.9. Работники, участвующие в производственных процессах погрузки, разгрузки и транспортирования грузов, должны знать:

8.9.1. Устройство и правила безопасной эксплуатации грузоподъемных и транспортных средств, свои производственные инструкции и инструкции смежных профессий;

8.9.2. Назначение и содержание выполняемых операций и их связь с другими операциями;

8.9.3. Назначение, устройство и требования к средствам оснащения, к съемным грузозахватным приспособлениям, таре и др.;

8.9.4. Опасные и вредные свойства материалов, полуфабрикатов, готовой продукции и других обрабатываемых грузов;

8.9.5. Опасные и вредные производственные факторы процессов погрузки, разгрузки, транспортирования и складирования грузов;

8.9.6. Приемы безопасного выполнения производственных операций погрузочно-разгрузочных и транспортных работ;

8.9.7. Правила пожарной безопасности;

8.9.8. Правила личной гигиены, способы оказания первой медицинской помощи;

8.9.9. Правила внутреннего трудового распорядка в организации.

8.10. Весь персонал организации, связанный с погрузочно-разгрузочными и транспортными работами, должен изучить настоящие Правила, разработанные на их базе должностные и производственные инструкции, пройти в установленном порядке проверку их знания и соблюдать их при выполнении работ.

8.11. Работники, не прошедшие проверку знаний, не могут допускаться к руководству подъемно-транспортными работами или к их выполнению.

8.12. Работодатель в соответствии с настоящими Правилами обязан:

организовать разработку инструкций для работников по профессиям;

организовать обучение работников и проверку в установленные сроки знаний по охране труда;

организовать обеспечение, уход, хранение и контроль за применением специальной одежды, специальной обуви и других средств индивидуальной защиты;

организовать контроль за соблюдением работниками требований настоящих Правил, должностных и производственных инструкций.

8.13. Лица, ответственные за безопасное выполнение погрузочно-разгрузочных и транспортных работ, должны проходить проверку знаний особенностей технологического процесса, требований безопасности труда, устройства и безопасной эксплуатации подъемно-транспортного оборудования и транспортных средств, пожарной безопасности и производственной санитарии в соответствии с их должностными обязанностями.

8.14. Аттестация этих лиц должна проводиться комиссией, имеющей разрешение на обучение и проверку знаний правил охраны труда при участии инспектора госгортехнадзора или комиссией специализированной организации, имеющей лицензию Госгортехнадзора России на выполнение этих работ и соответствующее разрешение Минтруда России на обучение и проверку знаний правил охраны труда.

8.15. К производству погрузочно-разгрузочных и транспортных работ с применением грузоподъемных машин должны допускаться работники, прошедшие медицинское освидетельствование, обучение по согласованным с органами госгортехнадзора программам, сдавшие экзамены в установленном порядке и получившие удостоверение на право производства этих работ.

8.16. К управлению электрифицированным грузоподъемным или транспортным средством допускаются работники, имеющие не ниже второй квалификационной группы по электробезопасности.

8.17. Работники, допускаемые к погрузке, разгрузке опасных и особо опасных грузов, должны проходить специальное обучение безопасным методам работы и обращения с этими грузами с последующей аттестацией.

8.18. Работникам, занятым на перевозке опасных грузов, должны выдаваться соответствующие удостоверения. Наряду с выдачей удостоверения заполняется карточка с регистрацией даты проведенного инструктажа и обязательства водителя по соблюдению правил охраны труда.

8.19. Ответственность за организацию, своевременность и качество обучения работников охране труда и безопасному ведению работ в организации возлагается на работодателя, а в структурных подразделениях на руководителей этих подразделений.

Контроль за обучением работников безопасности труда в организации должна осуществлять служба охраны труда или специалист, на которого возложены эти обязанности.

8.20. Водитель транспортного средства, работающий с грузоподъемными механизмами, должен быть обучен по программе стропальщика, аттестован квалификационной комиссией с выдачей удостоверения на право выполнения этих работ.

8.21. Обслуживающие перевозки опасных грузов работники (экспедиторы, охранники, дозиметристы и др.) обязаны иметь свидетельство, удостоверяющее их право на сопровождение опасных грузов по данному маршруту.

8.22. Работники, занятые на работах, связанных с обработкой и хранением опасных грузов, должны пройти специальный инструктаж и обучение действиям по ликвидации последствий возможных инцидентов.

8.23. К проведению погрузочно-разгрузочных работ с опасными грузами должны допускаться работники со стажем работы не менее 3 лет на применяемом подъемно-транспортном оборудовании.

8.24. Работники, допущенные к работам с опасными и особо опасными грузами, обязаны пройти специальную подготовку по работе с этими грузами и специальный инструктаж по правилам погрузки и разгрузки данного вида опасного груза и иметь удостоверение на право выполнения работ повышенной опасности. Проверка знаний по безопасности производства работ для этой категории работников должна проводиться один раз в год.

8.25. Работники, занятые на ручной погрузке и разгрузке опасных грузов, должны пройти специальный инструктаж по правилам обращения с этими видами грузов.

8.26. Члены аварийной бригады обязаны пройти подготовку по специальной программе и содержать в постоянной готовности к применению средства, предназначенные к использованию для ликвидации последствий инцидентов. Члены аварийной бригады помимо плановых обязаны проходить дополнительные медицинские освидетельствования после завершения работ по ликвидации последствий аварий и инцидентов.

9. ТРЕБОВАНИЯ К ПРИМЕНЕНИЮ СРЕДСТВ ЗАЩИТЫ

9.1. Средства защиты должны обеспечивать:

9.1.1. Удаление опасных и вредных веществ и материалов из рабочей зоны;

9.1.2. Снижение уровня вредных факторов до установленных санитарными нормами безопасных пределов;

9.1.3. Защиту работающих от действия опасных и вредных производственных факторов, сопутствующих технологии и условиям погрузочно-разгрузочных и транспортных работ.

9.2. Выбор средств защиты должен производиться с учетом требований безопасности для каждого конкретного вида работ.

9.3. Средства защиты должны приводиться в готовность до начала рабочего процесса или должны быть сблокированы таким образом, чтобы выполнение рабочего процесса было невозможно при отключении средств защиты или при их неисправности.

9.4. Средства защиты, на которые не имеется оформленной в установленном порядке технической документации, к применению допускаться не должны.

9.5. Средства индивидуальной защиты (СИЗ) следует применять в тех случаях, когда безопасность работ не может быть обеспечена другими способами. Эти средства носят вспомогательный характер и не должны подменять технические и организационные мероприятия по обеспечению нормальных условий труда.

9.6. Работодатель обязан обеспечивать работников исправными средствами индивидуальной защиты (специальной одеждой, специальной обувью средствами защиты рук, органов дыхания, зрения, слуха и др.), обеспечивающими установленные санитарно-гигиенические условия труда и уменьшающими степень риска производственного травматизма и профессиональной заболеваемости.

9.7. Средства индивидуальной защиты должны выдаваться работникам по Типовым отраслевым нормам бесплатной выдачи специальной одежды, специальной обуви и других средств индивидуальной защиты в соответствии с Инструкцией о порядке обеспечения рабочих и служащих специальной одеждой, специальной обувью и другими средствами индивидуальной защиты, утвержденным постановлением Госкомтруда СССР, Президиума ВЦСПС от 24.05.83 г. № 100/П-9.

9.8. Нормы выдачи средств индивидуальной защиты, предусмотренные указанными Типовыми отраслевыми нормами, являются для работодателя обязательным минимумом.

Организация может принять решение о выдаче специальной одежды специальной обуви и других средств индивидуальной защиты сверх установленных норм.

9.9. Для стирки, химической чистки, обеспыливания, обезвреживания, ремонта и т.д. специальной одежды и специальной обуви в организации должны быть предусмотрены прачечная и отделение химической чистки с помещениями для ремонта одежды и обуви. Допускается организация прачечной или отделения для химической чистки для группы близлежащих организаций или производство этих работ по договорам с соответствующими специализированными организациями бытового обслуживания.

9.10. Стирка и химическая чистка, ремонт спецодежды, содержание в надлежащем состоянии спецобуви и других средств индивидуальной защиты должны производиться за счет организации и в сроки, устанавливаемые с учетом производственных условий по согласованию с профсоюзным комитетом и органами Госсанэпиднадзора.

На это время работникам должны выдаваться сменные комплекты средств индивидуальной защиты.

В общих случаях стирку специальной одежды следует производить:

при сильном загрязнении - один раз в неделю;

при умеренном загрязнении - через 10 дней.

9.11. Работники, пользующиеся средствами индивидуальной защиты, должны быть обучены правилам пользования этими средствами и способам проверки их исправности.

9.12. Пользоваться средствами индивидуальной защиты с истекшим сроком годности запрещается.

9.13. При выборе средств защиты необходимо учитывать конкретные условия, вид и длительность воздействия опасных и вредных производственных факторов.

9.14. Работники, занятые на операциях обработки грузов с применением грузоподъемных и транспортных средств или выполняющие эти работы вручную, должны быть обеспечены хлопчатобумажными костюмами или комбинезонами, рукавицами, ботинками кожаными; на работах, связанных с возможным падением сверху деталей, инструмента и т.д., кроме того, касками защитными, а стропальщики - жилетами сигнальными, нарукавными повязками, свистками.

9.15. Для работы на штабелях работники должны обеспечиваться, кроме того, приспособлениями к обуви, предотвращающими скольжение на бревнах и защищающими от ушибов пальцы ног и др.

9.16. Работники, занятые на работах с жидким хлором, кроме специальной одежды, специальной обуви должны быть обеспечены средствами защиты органов дыхания и им должны выдаваться противогазы марки БКФ и др. средства индивидуальной защиты в зависимости от условий работ.

9.17. Работники, занятые на погрузке и выгрузке пылящих грузов, а также водители, занятые на перевозке этих грузов, должны обеспечиваться также пыленепроницаемыми очками и респираторами. Спецодежда на этих работах должна ежедневно подвергаться обеспыливанию.

9.18. Работникам, работающим в респираторах, должна быть организована выдача фильтров для замены по мере загрязнения, но не реже одного раза в смену, а также замена респираторов по действующим нормам.

9.19. На погрузке и выгрузке хлорной извести работники также должны обеспечиваться противогазами с поглощающим хлор фильтром, и должно быть организовано обслуживание и содержание этих противогазов.

9.20. Работники, работающие с едкими веществами, должны обеспечиваться спецодеждой с соответствующей пропиткой, защитными очками и соответствующими средствами защиты органов дыхания.

9.21. Работы по погрузке и выгрузке извести и обожженного доломита должны выполняться работниками, обеспеченными кроме СИЗ, указанных в п. 9.14, также средствами индивидуальной защиты органов дыхания.

9.22. На работах по перемещению баллонов с газами обеспечение работников чистой спецодеждой должно находиться под контролем мастера.

9.23. Работники на работах с этилированным бензином должны обеспечиваться хлорвиниловыми фартуками, перчатками, резиновыми сапогами.

9.24. Пылезащитная одежда после работы должна очищаться от пыли в помещении для обеспыливания спецодежды пылесосом, а при отсутствии такого помещения - на открытом воздухе пылесосом или вручную.

9.25. Лицевые части противогазов (маски) после их применения должны быть промыты теплой водой с мылом, дезинфицированы 0,5 % раствором марганцовокислого калия, после этого ополоснуты водой и просушены при температуре 30 °С.

9.26. Выдача взамен средств индивидуальной защиты материалов для их изготовления или денежных сумм для их приобретения не допускается.

При невыдаче в срок средств индивидуальной защиты, установленных Типовыми отраслевыми нормами, и приобретении их самостоятельно работником работодатель обязан возместить работнику затраты на их приобретение.

9.27. Средства индивидуальной защиты должны отвечать требованиям государственных стандартов, технических условий, требованиям технической эстетики и эргономики и обеспечивать высокую степень защитной эффективности и удобство при эксплуатации.

9.28. Контроль за обеспечением и правильностью использования средств индивидуальной защиты должен возлагаться на непосредственных руководителей работ.

10. ОТВЕТСТВЕННОСТЬ ЗА НАРУШЕНИЕ ПРАВИЛ

10.1. Контроль за соблюдением настоящих Правил и других нормативных правовых актов по охране труда в организации независимо от организационно-правовой формы и формы собственности осуществляют органы государственной инспекции труда, госгортехнадзора, главгосэнергонадзора, государственного санитарно-эпидемиологического надзора по подконтрольным им объектам, госпожнадзора и др., служба охраны труда организации и органы внутриведомственного контроля (по подчиненности).

Общественный контроль за охраной труда в организации осуществляет профсоюзный комитет организации или иные уполномоченные работниками представительные органы и техническая инспекция труда профессиональных союзов.

Высший надзор за правильным и единообразным исполнением законов о труде на территории Российской Федерации осуществляет Генеральный прокурор Российской Федерации и подчиненные ему органы прокурорского надзора.

10.2. Ответственность за состояние охраны труда в организации несет работодатель. Ответственность за выполнение правил, норм и инструкций по охране труда, за обеспечение здоровых и безопасных условий труда несут руководители структурных подразделений.

10.3. Руководители и специалисты, виновные в нарушении законодательства о труде и правил по охране труда, несут ответственность (дисциплинарную, административную, уголовную) в порядке, установленном законодательством Российской Федерации и субъекта Российской Федерации.

10.4. Выдача должностными лицами указаний и распоряжений, принуждающих подчиненных к нарушению требований Правил, равно как и непринятие мер по устранению нарушений Правил, совершаемых в их присутствии подчиненными, являются грубейшими нарушениями настоящих Правил.

10.5. За нарушение требований законодательных и иных нормативных правовых актов по охране труда работники могут привлекаться к дисциплинарной, административной и уголовной ответственности в порядке, установленном законодательством Российской Федерации и субъекта Российской Федерации.

10.6. Отказ работника от выполнения работ в случае возникновения непосредственной опасности для его жизни и здоровья либо от выполнения тяжелых работ и работ с вредными или опасными условиями труда, не предусмотренных трудовым договором, не влечет для него каких-либо необоснованных последствий.

Приложение 1

ПОРЯДОК ХРАНЕНИЯ И ПЕРЕДАЧИ КЛЮЧ-МАРКИ НА ГРУЗОПОДЪЕМНЫЕ КРАНЫ И КЛЮЧЕЙ ОТ ВЫХОДОВ НА КРАНОВЫЕ ПУТИ

1. В целях предупреждения несчастных случаев при работе грузоподъемных кранов в результате несогласованных действий машиниста крана и стропальщиков, а также работников, занятых на ремонте или обслуживании кранов, исключения возможности включения защитной панели крана и управления им работниками, не имеющими на это права, вводится марочная система, определяющая порядок допуска на кран крановщика, помощника крановщика, работников для выполнения ремонтных работ и обслуживания крана, крановых путей.

2. Марочная система распространяется на грузоподъемные краны с электрическим приводом.

3. Вводное устройство (защитная панель) грузоподъемного крана оборудуется индивидуальным контактным замком с ключом.

4. Ключ-марка предназначена для замыкания цепи управления грузоподъемного крана и относится к приборам безопасности.

5. Конструкция замка должна быть такой, чтобы ключ из замка вынимался только при отключенном положении разъединителя.

6. На ключ-марке должен быть выбит регистрационный номер грузоподъемного крана.

7. Приемка грузоподъемного крана крановщиком осуществляется после получения им ключ-марки.

8. Ключ-марки неработающих грузоподъемных кранов и ключи от входов на крановые пути должны храниться в специальном ящике в кабинете начальника смены.

9. Ящик с ключ-марками должен быть постоянно закрыт на замок. Ключ от замка ящика должны иметь начальники смен, механик и энергетик цеха.

10. Ключ-марка выдается начальником смены крановщику перед началом смены.

11. Лица, ответственные за выдачу ключ-марок, передают их по сменам под расписку.

12. При уходе из кабины управления грузоподъемного крана в течение смены крановщик обязан выключить рубильник защитной панели и вынуть из замка ключ-марку.

13. Категорически запрещается передавать ключ-марку другому лицу, оставлять ею в кабине грузоподъемного крана.

14. По окончании работы на грузоподъемном кране крановщик обязан возвратить ключ-марку на место хранения в установленном в организации порядке.

15. Перед выводом грузоподъемного крана в ремонт ключ-марка передается лицу, ответственному за ремонт крана.

16. При осмотре и регулировке механизмов и электрооборудования крана включение механизмов крановщик должен производить по сигналу (команде) лица, производящего осмотр.

17. При осмотре (ремонте) грузоподъемного крана работники (слесарь электромонтер) должны вывесить на ручку рубильника защитной панели крана плакат: «Не включать - работают люди», и на период осмотра (ремонта) ключ-марка должна находиться у лица, ответственного за осмотр (ремонт) крана.

18. После окончания осмотра (ремонта) работники, производящие эти работы (слесарь, электромонтер) обязаны снять плакат «Не включать - работают люди», возвратить ключ-марку крановщику или лицу, ответственному за его хранение и произвести запись в вахтенном журнале об устранении неисправности.

19. На период проведения ремонта (среднего или капитального) грузоподъемного крана ключ-марка должна находиться у лица, ответственного за проведение ремонта крана. Фамилия этого лица должна быть записана в вахтенном журнале и в наряде-допуске.

20. Ключами от входов на крановый путь разрешается пользоваться только лицам, ответственным за содержание грузоподъемных кранов в исправном состоянии при выполнении ремонтных работ по наряду-допуску и начальникам смен в случае эвакуации крановщика через крановый путь при вынужденной остановке грузоподъемного крана не у посадочной площадки.

21. Работники, обслуживающие грузоподъемные краны (крановщики, слесари, электромонтеры), должны быть ознакомлены под расписку с настоящим Положением при введении его в действие.

22. За нарушение Положения о применении марочной системы на грузоподъемные краны или утерю ключ-марки виновные должны привлекаться к ответственности в соответствии с порядком, установленным в организации.

Приложение 2

Рекомендуемая знаковая сигнализация при перемещении грузов кранами

Операция

Рисунок

Сигнал

Поднять груз или крюк

Прерывистое движение рукой вверх на уровне пояса, ладонь обращена вверх, рука согнута в локте

Отпустить груз или крюк

Прерывистое движение рукой вниз перед грудью, ладонь обращена вниз, рука согнута в локте

Передвинуть кран (мост)

Движение вытянутой рукой, ладонь обращена в сторону требуемого движения

Передвинуть тележку

Движение рукой, согнутой в локте, ладонь обращена в сторону требуемого движения тележки

Повернуть стрелу

Движение рукой, согнутой в локте, ладонь обращена в сторону требуемого движения стрелы

Поднять стрелу

Движение вверх вытянутой рукой, предварительно опущенной до вертикального положения, ладонь раскрыта рукой

Опустить стрелу

Движение вниз вытянутой рукой, предварительно поднятой до вертикального положения, ладонь раскрыта

Стоп (прекратить подъем или передвижение)

Резкое движение рукой вправо и влево на уровне пояса, ладонь обращена вниз

Осторожно (применяется перед подачей какого-либо из перечисленных выше сигналов при необходимости незначительного перемещения)

Кисти рук обращены ладонями одна к другой на небольшом расстоянии, руки при этом подняты вверх

* Рекомендуемая форма стропальщика: жилет и каска - желтого цвета, рубашка - голубого, повязка - красного.

Приложение 3

Рекомендуемое

Наряд-допуск №____

на право выхода на крановые пути и проходные галереи мостовых и передвижных консольных кранов для производства ремонтных и других работ

1. Выдан «___»___________ 19 ___ г. в _____ час. _______ мин.

2. Ответственному исполнителю работ                                                                          

(фамилия, инициалы)

поручается с бригадой в составе _____ человек произвести следующие работы

                                                                                                                                             

                                                                                                                                             

3. Место работы (цех, пролет)                                                                                          

4. Для обеспечения техники безопасности при подготовке и выполнении работ Вам предлагается выполнить следующие меры:

а) по предупреждению поражения электрическим током                                            

                                                                                                                                             

б) по предупреждению падения с высоты                                                                      

                                                                                                                                             

в) по предупреждению травмирования действующими кранами                                

                                                                                                                                             

г) по предупреждению выхода на крановые пути действующих кранов и кранов смежного пролета                                                                                                                   

                                                                                                                                             

д) предупреждены с записью в вахтенном журнале крановщики всех смен пролета (цеха) кранов и крановщики смежных пролетов кранов                                                    

                                                                                                                                             

                                                                                                                                             

Состав бригады

Состав бригады (фамилия, имя, отчество, профессия)

Подпись членов бригады после ознакомления с условиями работы и мерами безопасности

 

 

                                                                            

(подпись начальника цеха или прораба, в подчинении которого находятся работники, производившие ремонт)

6. Работы начать в ______ час. ____ мин. «____»___________ 19 ____ г.

7. Наряд-допуск выдал                                                                                                      

(подпись начальника цеха или его заместителя по оборудованию)

8. С условиями работы ознакомлен и наряд-допуск получил ответственный исполнитель                                                                                                                            

(подпись)

Примечания:

1. Наряд-допуск на право выхода на рельсовые пути и проходные галереи мостовых кранов для производства ремонтных и других работ выдается согласно приказу по организации руководителю работ (начальнику цеха, участка, прорабу, в подчинении которых находятся работники, производившие ремонт).

2. Наряд-допуск оформляется в двух экземплярах. Первый экземпляр выдается крановщику, второй выдается ответственному производителю работ.

Приложение 4

Рекомендуемое

Наряд-допуск №_______

на производство работ краном вблизи воздушной линии электропередачи

                                                                        

(наименование организации)

Наряд выдается на производство работ на расстоянии не менее 30 м от крайнего провода линии электропередачи напряжением 42 В и выше.

1. Крановщику                                                                                                                    

(фамилия, имя, отчество)

                                                                                                                                             

(тип крана, регистрационный номер)

2. Выделенного для работы                                                                                              

(организация, выделившая кран)

3. На участке                                                                                                                       

(организация, которой выделен кран, место производства

                                                                                                                                             

работ, строительная площадка, склад, цех)

4. Напряжение линии электропередачи                                                                          

5. Условия работы                                                                                                              

(необходимость снятия напряжения линии электропередачи,

                                                                                                                                             

наименьшее допустимое при работе крана расстояние

                                                                                                                                             

по горизонтали от крайнего провода до ближайших частей крана,

                                                                                                                                             

способ перемещения груза и другие меры безопасности)

6. Условия передвижения крана                                                                                      

(положение стрелы и другие меры безопасности)

7. Начало работы _____ час. _____ мин. «____» ________ 19 ___ г.

8. Окончание работы _____ час. _____ мин. «____» _______ 19 ___ г.

9. Ответственный за безопасное производство работ кранами

                                                                                                                                             

(должность, фамилия, имя, отчество, дата и номер приказа о назначении)

10. Стропальщик                                                                                                                

(фамилия, имя, отчество)

                                                                                                                                             

(номер удостоверения, дата последней проверки знаний)

11. Разрешение на работу крана в охранной зоне                                                          

(организация,

                                                                                                                                             

выдавшая разрешение, номер и дата разрешения)

12. Наряд выдал главный инженер (энергетик)                                                             

                                                                                                                                             

(организация, подпись)

13. Необходимые меры безопасности, указанные в п. 5 выполнены                           

Лицо, ответственное за безопасное производство работ                                              

(подпись)

«_____»_______________ 19 ____ г.

14. Инструктаж получил крановщик                                                                               

(подпись)

«____» _______________19 ___ г.

Примечания:

1. Наряд-допуск выписывается в двух экземплярах: первый выдается крановщику, второй - ответственному производителю работ.

2. Пункт 11 заполняется в случае работы крана в охранной зоне линии электропередачи.

3. Работы вблизи линий электропередачи выполняются в присутствии и под руководством лица, ответственного за безопасное производство работ кранами.

Приложение 5

Рекомендуемое

АКТ

сдачи-приемки кранового рельсового пути в эксплуатацию

                                                                                                                                              

(организация)

«_____» ______________ 19 ____ г.

Адрес объекта                                                                                                                      

Тип, заводской и регистрационный номера крана                                                         

Рельсовый путь

Длина пути                                                                                                                          

Наличие проектной документации                                                                                   

(разработчик проекта)

Соответствие конструкции рельсового пути проектной документации                      

                                                                                                                                              

Наличие акта сдачи-приемки земляного полотна под устройство верхнего строения пути                                                                                                                                           

Произведена обкатка пути проходами крана:

без груза                                                                                                                               

с максимальным рабочим грузом                                                                                     

Результаты измерений:

размер колеи, мм                                                                                                                

прямолинейность, мм                                                                                                         

продольный уклон                                                                                                              

поперечный уклон                                                                                                              

упругая посадка, мм                                                                                                            

Наличие и исправность включающих линеек                                                                  

Наличие и исправность тупиковых упоров                                                                      

Заземление пути

Конструкция заземления                                                                                                    

Место расположения и длина заземления                                                                       

Наименование, тип и номер прибора для измерения сопротивления заземления      

Место измерения                                                                                                                

Погода в течение последних трех дней и в день производства измерений                  

Сопротивление измерения, Ом                                                                                         

Заземление пути:

удовлетворяет нормам                                                                                               

не удовлетворяет нормам                                                                                          

Заземление рельсового пути выполнил                                                                            

(организация,

                                                                                                                                              

должность, фамилия, подпись)

Измерение сопротивления заземления выполнил                                                          

(организация,

                                                                                                                                              

должность, фамилия, подпись)

Работы по устройству кранового пути выполнил и сдал

                                                                                          

(организация, должность, фамилия, подпись)

Крановый путь принял в эксплуатацию

                                                                                           

(организация, должность, фамилия, подпись)

Приложение 6

СХЕМЫ СТРОПОВКИ НЕШТАБЕЛИРУЕМЫХ ГРУЗОВ

Строповка валов

Строповка коленчатого вала двигателя

Строповка барабанов и обечаек

Строповка шестерен, шкивов, венцов, маховиков, бандажей

Строповка кубиков и дисков

Строповка бухт проволоки, короба

Строповка деталей пресса

Строповка конусных деталей

Строповка корпусов и рам

Строповка оборудования, узлов и деталей

Строповка малогабаритных ферм

Строповка арочной фермы балансирной траверсой

Строповка железобетонной фермы балансирной траверсой

Строповка легких колонн

Строповка крупного камня

Приложение 7

СХЕМЫ СТРОПОВКИ ШТАБЕЛИРУЕМЫХ ГРУЗОВ

Строповка листового металла групповым стропом

Строповка листового металла рычажно-эксцентриковыми захватами

Строповка листового металла с помощью слесарных струбцин

Подхват для строповки пакета листового металла

Строповка болванки спаренными клещевыми захватами

Строповка профильного стального проката

Строповка пакета траверс высоковольтной опоры

Строповка пирамидообразной конструкции высоковольтной опоры

Захват Ларина

Строповка круглых болванок

Полуавтоматическая строп-удавка

Строповка прямоугольной конструкции специальным стропом

Схема строповки железобетонных изделий

Строповка лестничного марша

Строповка перегородки траверсным захватом

Строповка крупногабаритной плиты специальной траверсой

Клещевой захват для ящиков

Захват для деревянных бочек

Строповка кирпича на поддоне Черны вилочным подхватом

Строповка кирпича на поддоне Широкова

Сноповка бревен захватом-траверсой

Строповка подтоварника универсальными стропами

Строповка бревен облегченным стропом со свободным крюком

Поштучная строповка бревен

Строповка пиломатериалов рамным захватом

Приложение 8

Характеристика обрабатываемых грузов

1. В зависимости от вида, способа складирования и строповки грузы классифицируются на следующие группы:

1.1. Штучные нештабелируемые грузы - металлические конструкции, двигатели, станки, машины, механизмы, крупные железобетонные изделия и т.д. Группа штучных нештабелируемых грузов наиболее многочисленна и разнообразна по форме, поэтому единых типовых способов строповки их, пригодных для всех грузов этой группы, не существует;

1.2. Штучные штабелируемые грузы - прокатная сталь, трубы, лесо- и пиломатериалы, кирпич, шлакоблоки, типовые железобетонные изделия, плиты, панели, блоки, балки, лестничные марши, ящики, бочки и др. изделия геометрически правильной формы;

1.3. Насыпные грузы транспортируются в таре, грейферами, транспортерами и др. Складируются в штабеля, определяющиеся углом естественного откоса материала и ограничивающих поверхностей (уголь, торф, шлак, песок, щебень, цемент, известь, мелкая металлическая стружка и т.п.);

1.4. Полужидкие пластичные грузы - грузы, обладающие способностью некоторое время сохранять приданную форму или с течением времени затвердевать. К таким грузам относятся бетонные массы, растворы, известковое тесто, битумы, смазывающие вещества и т.п. Вязкость полужидких грузов и зависание их на стенках емкостей транспортирующих средств, способность быстро схватываться и твердеть (бетон, раствор и др. грузы) затрудняют их транспортировку. Такие грузы должны транспортироваться в специальной таре;

1.5. Жидкие грузы - грузы, не имеющие определенной формы, транспортируются в бочках, бидонах, бутылях, цистернах, ковшах и т.д. (вода, жидкие горючие и смазочные вещества, кислоты, щелочи, мастики и т.д.),

1.6. Газообразные грузы транспортируются обычно под давлением в баллонах, других сосудах и трубопроводным транспортом.

2. В зависимости от массы грузы делятся на четыре категории:

2.1. Легковесные грузы - грузы массой не более 250 кг. К ним относятся такие материалы, как войлок, кожа, пакля, фанера, сухая штукатурка, легкие детали машин и др.;

2.2. Тяжеловесные грузы - грузы, масса которых находится в пределах от 250 кг до 50 т. К тяжеловесным грузам относятся все штабелируемые, насыпные, полужидкие, жидкие и нештабелируемые грузы, масса которых не превышает 50 т;

2.3. Весьма тяжелые грузы - грузы, масса которых превышает 50 т. К ним относятся штучные нештабелируемые грузы. Строповка этих грузов разрешается только стропальщикам высокой квалификации;

2.4. Мертвые грузы - особая категория грузов неизвестной массы. Мертвыми считаются грузы, закрепленные на фундаменте анкерными болтами, зарытые в землю, примерзшие к земле, прижатые другим грузом, а также поднимаемые при косой чалке. Поднимать мертвые грузы краном запрещается.

3. В зависимости от формы и размеров грузы делятся на габаритные и негабаритные:

3.1. Габаритный груз - груз, размеры которого не превышают габариты подвижного состава железных дорог, а для автомобильного и другого вида наземного безрельсового транспорта - норм, установленных Правилами дорожного движения Российской Федерации;

3.2. Негабаритный груз - груз, размеры которого выходят за габариты подвижного состава железных дорог или наземного безрельсового транспорта. Негабаритными грузами могут быть большие котлы, машины, трансформаторы и т.п. Размеры нарушений габарита не должны превышать определенных величин, при которых еще возможна перевозка груза за счет сокращения зазора между габаритами приближения строений и подвижного состава.

В зависимости от величины нарушения габарита грузы разделяются на пять степеней негабаритности, каждая из которых имеет свои предельные очертания.

На негабаритном грузе при перевозке его по железной дороге указывается соответствующая степень негабаритности.

4. Длинномерные грузы составляют особую группу грузов (детали и узлы крупных машин, оборудование, металлоконструкции и т.п.), которые перевозятся на специальных железнодорожных платформах или трайлерах. Негабаритные, сверхгабаритные и длинномерные грузы разрешаются к перевозке в вагонах или на платформах только после утверждения схемы погрузки отделением или управлением железной дороги.

5. Грузы по степени и характеру опасности разделяются в соответствии с ГОСТ 19433 на 9 классов опасности (табл. 1).

Таблица 1

Классы опасностей грузов

Класс

Подкласс

Наименование подкласса

1.

 

Взрывчатые материалы (ВМ)

 

1.1.

Взрывчатые материалы с опасностью взрыва массой

 

1.2.

Взрывчатые материалы, не взрывающиеся массой

 

1.3.

Взрывчатые материалы пожароопасные, не взрывающиеся массой

 

1.4.

Взрывчатые материалы, не представляющие значительной опасности

 

1.5.

Очень нечувствительные взрывчатые материалы

2.

 

Газы сжатые, сжиженные и растворенные под давлением

 

2.1.

Невоспламеняющиеся неядовитые газы

 

2.2.

Ядовитые газы

 

2.3.

Воспламеняющиеся (горючие) газы

 

2.4.

Ядовитые и воспламеняющиеся газы

3.

 

Легковоспламеняющиеся жидкости (ЛВЖ)

 

3.1.

Легковоспламеняющиеся жидкости с температурой воспламенения менее 18 °С в закрытом тигле

 

3.2.

Легковоспламеняющиеся жидкости с температурой воспламенения не менее 18 °С, но менее 23 °С в закрытом тигле

 

3.3.

Легковоспламеняющиеся жидкости с температурой воспламенения не менее 23 °С, но не более 61 °С в закрытом тигле

4.

 

Легковоспламеняющиеся твердые вещества (ЛВТ)

 

4.1.

Легковоспламеняющиеся твердые вещества

 

4.2.

Самовозгорающиеся вещества

 

4.3.

Вещества, выделяющие воспламеняющиеся газы при взаимодействии с водой

5.

 

Окисляющие вещества (ОК) и органические пероксиды (ОП)

 

5.1.

Окисляющие вещества

 

5.2.

Органические пероксиды

6.

 

Ядовитые вещества (ЯВ) и инфекционные вещества (ИВ)

 

6.1.

Ядовитые вещества

 

6.2.

Инфекционные вещества

7.

 

Радиоактивные материалы (РМ)

 

7.1.

Радиоактивные материалы на подклассы не разделены

8.

 

Едкие или коррозионные вещества

 

8.1.

Едкие и (или) коррозионные вещества, обладающие кислотными свойствами

 

8.2.

Едкие и (или) коррозионные вещества, обладающие основными свойствами

 

8.3.

Разные едкие и коррозионные вещества

9.

 

Прочие опасные вещества

 

9.1.

Газы, не отнесенные к классам 1-8

 

9.2.

Газы, обладающие видами опасности, проявление которых представляет опасность при их транспортировке навалом водным транспортом

6. Для подъема груза должны быть известны его масса, центр тяжести и схема строповки, при этом:

6.1. Определение массы груза может быть произведено по формулам:

Для простых грузов - Q=mV;

Для сложных грузов - Q=mЕVi;

где: Q - масса груза,

m - удельная масса (численно равна плотности) материала,

V - объем груза,

EVi - сумма всех частей объемов груза;

Удельная масса часто встречающихся материалов приведена в табл. 2.

7. При выборе мест строповки груза необходимо определить расположение центра тяжести поднимаемого груза для того, чтобы избежать возможной аварийной перегрузки отдельных ветвей стропов грузоподъемных средств, потерю устойчивости и опрокидывание поднимаемого груза.

Объем и расположение центра тяжести простых геометрических фигур приведены в табл. 3.

Таблица 2

Удельная масса материалов

Материалы

Удельная масса, кг/м3

Материалы

Удельная масса, кг/м3

Алюминий

2550-2700

Олово

7300

Бетон

2200

Парафин

900

Вода

1000

Свинец

11300

Вольфрам

19300

Сталь:

 

Древесина:

 

твердая

7300

береза

700

расплавленная

7500

дуб

800

Цинк

6900-7300

сосна

500

Чугуны:

 

Земля, глина

1300-2500

белый

7650

Песчаник

2200-2500

ковкий

7300

Песок:

 

серый

7550

сухой

1400-1600

Уголь

900

влажный

1900-2000

Кокс

450

Кирпичная кладка

1420-1700

Азот жидкий

790

Латунь

8500

Бензин

700

Лед

900

Воздух (жидкий)

860

Медь

8900

Керосин

800

Мел

2400

Кислород (жидкий)

1140

Никель

8900

Мазут

900

Таблица 3

Объем и расположение центра тяжести простых геометрических фигур

Рис. 1

Рис. 2

Рис. 3

Рис. 4

Рис. 5

Рис. 6

Рис. 7

Рис. 8

Рис. 9

Рис. 10

Наименование

Изображение

Объем

Положение центра тяжести

Куб

Рис. 1

V=а3

х=а/2, у=а/2, z=а/2

х=у=z=а/2

Прямоугольный параллелепипед

Рис. 2

V=abc

х=а/2, у=с/2, z=b/2

Цилиндр

Рис. 3

V=3,14´r2h

х=r, у=0, z=h/2

Шар

Рис. 4

V=3,14/D3/6

Если оси координат проходят через центр шара, то х=у=z=0 (центр тяжести совпадает с центром шара)

Бочонок

Рис. 5

V=3,14/12Н´(2D2+d2)

х=у=0; z=Н/2

Конус

Рис. 6

V=3,14/12D2Н

х=у=0; z=Н/4

Усеченный конус

Рис. 7

V=(3,14Н/3)´(R2+r2+Rr)

x=у=0, z=Н/4[(R2+3r2+2Rr)/(R2+r2+Rr)]

Пирамида

Рис. 8

V=(Fh)/3, где - площадь основания многоугольника

х=у=0; z=h/4

Усеченная пирамида

Рис. 9

V=h[F+f+√Ff]/3

х=у=0; z=h/4[F+2√Ff+3f/F]+√Ff+f

Усеченный цилиндр

Рис. 10

V=3,14R2(h1+h2)/2

х=у=0; z=(h1+h2)/2

Приложение 9

Нормы браковки съемных грузозахватных приспособлений

Браковка съемных грузозахватных приспособлений, находящихся в эксплуатации, должна производиться согласно нормативным правовым актам, определяющим порядок, методы браковки и браковочные показатели.

При отсутствии у владельца нормативных правовых актов браковку элементов канатных и цепных стропов производят в соответствии с рекомендациями, приведенными в настоящем положении.

Канатный строп подлежит браковке, если число видимых обрывов наружных проволок каната превышает указанное в таблице.

Стропы из канатов двойной свивки

Число видимых обрывов проволок на участке канатного стропа длиной

3d

6d

30d

4

6

16

Примечание, d - диаметр каната, мм

Рис. 1. Увеличение звена цепи:

L0 - первоначальная длина звена, мм;

L1 - увеличенная длина звена, мм

Рис. 2. Уменьшение диаметра сечения звена цепи:

d0 - первоначальный диаметр, мм;

d1, d2 - фактические диаметры сечения звена, измеренные по взаимно перпендикулярным направлениям, мм

Цепной строп подлежит браковке при удлинении звена цели более 3 % от первоначального размера (рис. 1) и при уменьшении диаметра сечения звена цепи вследствие износа более 10 % (рис. 2).

Приложение 10

Нормы браковки канатов грузоподъемных машин

1. Браковку канатов грузоподъемных машин, находящихся в эксплуатации, проводят в соответствии с настоящим приложением.

Для оценки безопасности использования канатов используют следующие критерии:

а) характер и число обрывов проволок (рис. 1-3), в том числе наличие обрывов проволок у концевых заделок, наличие мест сосредоточения обрывов проволок, интенсивность возрастания числа обрывов проволок;

Рис. 1. Обрывы и смещения проволок каната крестовой свивки

Рис. 2. Сочетание обрывов проволок с их износом:

а - в канате крестовой свивки; б - в канате односторонней свивки

Рис. 3. Обрывы проволок в зоне уравнительного блока:

а - в нескольких прядях каната; б - в двух прядях в сочетании с местным износом

б) разрыв пряди;

в) поверхностный и внутренний износ;

г) поверхностная и внутренняя коррозия;

д) местное уменьшение диаметра каната, включая разрыв сердечника;

е) уменьшение площади поперечного сечения проволок каната (потери внутреннего сечения);

ж) деформация в виде волнистости, корзинообразности, выдавливания проволок и прядей, раздавливания прядей, заломов, перегибов и т.п.;

з) повреждения в результате температурного воздействия или электрического дугового разряда.

2. Браковку канатов, работающих со стальными и чугунными блоками, следует проводить по числу обрывов проволок в соответствии с табл. 1.

Канаты грузоподъемных машин, предназначенных для подъема людей, а также транспортирующих расплавленный или раскаленный металл, огнеопасные и ядовитые вещества, бракуют при вдвое меньшем числе обрывов проволок.

3. При уменьшении диаметра каната в результате поверхностного износа (рис. 4) или коррозии (рис. 5) на 7 % и более по сравнению с номинальным диаметром канат подлежит браковке даже при отсутствии видимых обрывов проволок.

Таблица 1

Число обрывов проволок, при наличии которых канаты двойной свивки, работающие со стальными и чугунными блоками, бракуются

Число несущих проволок в наружных прядях

Конструкции канатов по ИСО и государственным стандартам

Тип свивки

ГОСТ на канат

Группа классификации (режима) механизма

М1, М2, М3 и М4

М5, М6, М7 и М8

крестовая свивка

односторонняя свивка

крестовая свивка

односторонняя свивка

на участке длиной

6d

30d

6d

30d

6d

30d

6d

30d

n£50

6´7(6/1)

 

 

2

4

1

2

4

8

2

4

6´7(1+6)+1´7(1+6)

ЛК-О

3066-80

6´7(1+6)+1 о.с.

ЛК-О

3069-80

8´6(0+6)+9 о.с

ЛК-О

3097-80

51£n£75

6´19((9/9/1)*

 

 

3

6

2

3

6

12

3

6

6´19(1+9+9)+1 о.с.

ЛК-О

3077-80

6´19(1+9+9)+7´7(1+6)*

ЛК-О

3081-80

76£n£100

18´7(1+6)+1 о.с.

ЛК-О

7681-80

4

8

2

4

8

16

4

8

101£n£120

8´19(9/9/1)*

 

 

5

10

2

5

10

19

5

10

6´19(12/6/1)

ЛК-О

3066-80

6´19(12/6+6F/1)

ЛК-О

3069-80

6´25FS(12/12/1)*

ЛК-О

3097-80

6´19(1+6+6/6)+7´7(1+6)

ЛК-Р

14954-80

6´19(1+6+6/6)+1 о.с.

ЛК-Р

2688-80

6´25(1+6; 6+12)+1 о.с.

ЛК-З

7665-80

6´25(1+6); (6+12)+7´7(1+6)

ЛК-З

7667-80

121£n£140

8´16(0+5+11)+9 о.с.

ТК

3097-80

6

11

3

6

11

22

6

11

141£n£160

8´19(12/6+6F/1)

 

 

6

13

3

6

13

26

6

13

8´19(1+6+6/6)+1 о.с.

ЛК-Р

7670-80

161£n£180

6´36(14/7+7/7/1)*

 

 

7

14

4

7

14

29

7

14

6´30(0+15+15)+7 о.с.

ЛК-О

3083-80

6´36(1+7+7/7+14)+1 о.с.*

ЛК-РО

7668-80

6´36(1+7+7/7+14)+7´7(1+6)*

ЛК-РО

7669-80

181£n£200

6´31(1+6+6/6+12)+1 о.с.

 

 

8

16

4

8

16

32

8

16

6´31(1+6+6/6+12)+7´7(1+6)

 

 

6´37(1+6+15+15)+1 о.с.

ТЛК-О

3079-80

201£n£220

6´41(16/8+8/8/1)*

 

 

9

18

4

9

18

38

9

18

221£n£240

6´37(18/12/6/1)

 

 

 

 

 

 

 

 

 

 

18´19(1+6+6/6)+1 о.с.

ЛК-Р

3088-80

241£n£260

 

 

 

10

21

5

10

21

42

10

21

261£n£280

 

 

 

11

22

6

11

22

45

11

22

281£n£300

 

 

 

12

24

6

12

24

48

12

24

300£n

 

 

 

0,04n

0,08n

0,02n

0,04n

0,08n

0,16n

0,04n

0,08n

Примечания:

1. n - число несущих проволок в наружных прядях каната; d - диаметр каната, мм.

2. Проволоки заполнения не считаются несущими, поэтому не подлежат учету. В канатах с несколькими слоями прядей учитываются проволоки только видимого наружного слоя. В канатах со стальным сердечником последний рассматривается как внутренняя прядь и не учитывается.

3. Число обрывов не следует путать с количеством оборванных концов проволок, которых может быть в 2 раза больше.

4. Для канатов конструкции с диаметром наружных проволок во внешних прядях, превышающим диаметр проволок нижележащих слоев, класс конструкции понижен и отмечен звездочкой.

5. При работе каната полностью или частично с блоками из синтетического материала или из металла с синтетической футеровкой отмечается появление значительного числа обрывов проволок внутри каната до появления видимых признаков обрывов проволок или интенсивного износа на наружной поверхности каната. Такие канаты отбраковываются с учетом потери внутреннего сечения.

6. Незаполненные строки в графе «Конструкции канатов по ИСО и государственным стандартам» означают отсутствие конструкций канатов с соответствующим числом проволок. При появлении таких конструкций канатов, а также для канатов с общим числом проволок более 300 число обрывов проволок, при которых канат бракуется, определяется по формулам, приведенным в нижней строке таблицы, причем полученное значение округляется до целого в большую сторону.

7. Канаты грузоподъемных машин, предназначенных для подъема людей, а также транспортирующих расплавленный или раскаленный металл, огнеопасные или ядовитые вещества, бракуются при вдвое меньшем числе обрывов проволок.

Рис. 4. Износ наружных проволок каната крестовой свивки:

а - небольшие лыски на проволоках; б - увеличенная длина лысок на отдельных проволоках; в - удлинение лысок в отдельных проволоках при заметном уменьшении диаметра проволок; г - лыски на всех проволоках, уменьшение диаметра каната; д - интенсивный износ всех наружных проволок каната (уменьшение диаметра проволок на 40 %)

Рис. 5. Поверхностная коррозия проволок каната крестовой свивки:

а - начальное окисление поверхности; б - общее окисление поверхности; в - заметное окисление; г - сильное окисление; д - интенсивная коррозия

При уменьшении диаметра каната в результате повреждения сердечника - внутреннего износа, обмятия, разрыва и т.п. (на 3 % от номинального диаметра у некрутящихся канатов и на 10 % у остальных канатов) канат подлежит браковке даже при отсутствии видимых обрывов проволок (рис. 6).

Рис. 6. Местное уменьшение диаметра каната на месте разрушения органического сердечника

При наличии у каната поверхностного износа или коррозии проволок число обрывов как признак браковки должно быть уменьшено в соответствии с данными табл. 2.

При уменьшении первоначального диаметра наружных проволок в результате износа (см. рис. 4д) или коррозии (см. рис. 5д) на 40 % и более канат бракуется.

Таблица 2

Нормы браковки каната в зависимости от поверхностного износа или коррозии

Уменьшение диаметра проволок в результате поверхностного износа или коррозии, %

Число обрывов проволок, % от норм, указанных в табл. 1

10

85

15

75

20

70

25

60

30 и более

50

Определение износа или коррозии проволок по диаметру производится с помощью микрометра или иного инструмента, обеспечивающего аналогичную точность.

При меньшем, чем указано в табл. 1, числе обрывов проволок, а также при наличии поверхностного износа проволок без их обрыва канат может быть допущен к работе при условии тщательного наблюдения за его состоянием при периодических осмотрах с записью результатов в журнал осмотров и смены каната по достижении степени износа, указанной в табл. 2.

Если груз подвешен на двух канатах, то каждый бракуется в отдельности, причем допускается замена одного, более изношенного каната.

4. Для оценки состояния внутренних проволок, т.е. для контроля потери металлической части поперечного сечения каната (потери внутреннего сечения), вызванных обрывами, механическим износом и коррозией проволок внутренних слоев прядей (рис. 7), канат необходимо подвергать дефектоскопии по всей его длине. При регистрации с помощью дефектоскопа потери сечения металла проволок, достигшей 17,5 % и более, канат бракуется.

Рис. 7. Уменьшение площади поперечного сечения проволок (интенсивная внутренняя коррозия)

5. При обнаружении в канате одного или нескольких оборванных прядей канат к дальнейшей работе не допускается.

6. Волнистость каната характеризуется шагом и направлением ее спирали (рис. 8). При совпадении направлений спирали волнистости и свивки каната и равенстве шагов спирали волнистости Нв и свивки каната Нк канат бракуется при da>1,08 dк, где dа - диаметр спирали волнистости, dк - номинальный диаметр каната.

Рис. 8. Волнистость каната (объяснение в тексте)

При несовпадении направлений спирали волнистости и свивки каната и неравенстве шагов спирали волнистости и свивки каната или совпадении одного из параметров канат подлежит браковке при dв>4/3dк. Длина рассматриваемого отрезка каната не должна превышать 25dк.

7. Канаты не должны допускаться к дальнейшей работе при обнаружении, корзинообразной деформации (рис. 9); выдавливания сердечника (рис. 10); выдавливания или расслоения прядей (рис. 11); местного увеличения диаметра каната (рис. 12); местного уменьшения диаметра каната (рис. 6), раздавленных участков (рис. 13); перекручиваний (рис. 14); заломов (рис. 15); перегибов (рис. 16); повреждений в результате температурных воздействий или электрического дугового разряда.

Рис. 9. Корзинообразная деформация

Рис. 10. Выдавливание сердечника

Рис. 11. Выдавливание проволок прядей:

а - в одной пряди; б - в нескольких прядях

Рис. 12. Местное увеличение диаметра каната

Рис. 13. Раздавливание каната

Рис. 14. Перекручивание каната

Рис. 15. Залом каната

Рис. 16. Перегиб каната

Приложение 11

Рекомендуемое

ЖУРНАЛ

учета и периодического осмотра съемных грузозахватных приспособлений (СГЗП) и тары

Учет

№ СГЗП или тары

Наименование СГЗП или тары

Грузоподъемность СГЗП или тары

Изготовитель

№ паспорта, дата испытания

Дата

Результат

Должность, Ф.И.О. и подпись производившего осмотр

1

2

3

4

5

6

7

8

 

 

 

 

 

 

 

 

Приложение 12

Нормы и сроки испытаний ручных грузоподъемных механизмов и приспособлений

Механизмы и приспособления

Испытательная нагрузка, Н

Продолжительность статических испытаний, мин.

Периодичность

при приемочных испытаниях и после капитального ремонта

при периодических испытаниях

статическая

динамическая

статическая

динамическая

Лебедки ручные

1,25 Рн

1,1 Рн

1,1 Рн

1,0 Рн

10

1 раз в год

Тали

1,25 Рн

1,1 Рн

1,1 Рн

1,0 Рн

10

1 раз в год

Блоки и полиспасты

1,25 Рн

1,1 Рн

1,1 Рн

1,0 Рк

10

1 раз в год

Домкраты

1,25 Рн

1,1 Рн

1,1 Рн

1,0 Рн

10

1 раз в год

Канаты стальные

1,25 Рн

-

1,1 Рн

-

10

1 раз в 6 месяцев

Канаты пеньковые, хлопчатобумажные, капроновые

1,25 Рн

-

1,1 Рн

-

10

1 раз в 6 месяцев

Стропы, скобы, кольца и подобные им приспособления

1,25 Рн

-

1,1 Рн

-

10

1 раз в 6 месяцев

Предохранительные пояса, страхующие канаты

300

-

225

-

5

-

Монтерские когти

180

-

135

-

5

-

Лестницы деревянные

120-200

-

100-180

-

5

1 раз в год

Примечания:

1. Рн - допустимая рабочая нагрузка, кН;

2. При неудовлетворительных результатах статических испытаний динамические испытания не проводятся. Статические и динамические испытания выполняются в соответствии с программой испытаний;

3. При статическом испытании пробный груз должен находиться на высоте около 100 мм от земли или пола;

4. При испытаниях канаты (цепи) должны выдерживать испытательную нагрузку без разрывов и заметного местного удлинения у каната и вытяжки отдельных звеньев у цепей;

5. Перед испытанием подъемные механизмы и приспособления должны быть проверены (осмотрены) и при необходимости отремонтированы;

6. Все механизмы и приспособления после капитального ремонта подлежат обязательному испытанию вне зависимости от очередного срока испытания;

7. Винтовые домкраты должны подвергаться осмотру 1 раз в 3 месяца.

Приложение 13

ПРЕДЕЛЬНЫЕ НОРМЫ БРАКОВКИ ЭЛЕМЕНТОВ ГРУЗОПОДЪЕМНЫХ МАШИН

Элементы грузоподъемных машин бракуются при наличии следующих дефектов:

1. Ходовые колеса кранов и тележек

1.1. Трещины любых размеров;

1.2. Выработка реборды до 50 % первоначальной толщины;

1.3. Выработка поверхности качения уменьшением первоначального диаметра колеса на 2 %;

1.4. Разность диаметров колес, связанных между собой кинематически более 0,5 % (для механизмов с центральным приводом).

2. Блоки

2.1. Износ ручья более 40 % первоначального его радиуса.

3. Барабаны

3.1. Трещины любых размеров;

3.2. Износ ручья барабана по профилю более 2 мм.

4. Крюки

4.1. Трещины и надрывы на поверхности;

4.2. Износ зева более 10 % первоначальной высоты вертикального сечения крюка.

5. Шкивы тормозные

5.1. Трещины и обломы, выходящие на рабочие и посадочные поверхности;

5.2. Износ рабочей поверхности обода более 25 % первоначальной толщины.

6. Накладки тормозные

6.1. Трещины и обломы, подходящие к отверстиям под заклепки;

6.2. Износ тормозной накладки по толщине до появления головок заклепок или более 50 % первоначальной толщины.

Приложение 14

ПРЕДЕЛЬНЫЕ ВЕЛИЧИНЫ ОТКЛОНЕНИЙ РЕЛЬСОВЫХ ПУТЕЙ (В ПЛАНЕ И ПРОФИЛЕ) ОТ ПРОЕКТНОГО ПОЛОЖЕНИЯ

№ п/п

Показатели

Типы кранов

мостовые

башенные

козловые

портальные

мостовые перегружатели

1.

Разность отметок головок рельсов в поперечном сечении, мм

40

45-60*

40

40

50

2.

Разность отметок рельсов на соседних колоннах, мм

10

-

-

-

-

3.

Сужение или уширение колеи рельсового пути, мм

15

10

15

15

20

4.

взаимное смещение торцов стыкуемых рельсов в плане и по высоте, мм

2

3

2

2

2

5.

Зазоры в стыках рельсов (при 0 °С и длине рельса 12,5 м), мм

6

6

6

6

6

6.

Разность отметок головок рельсов на длине 10 м рельсового пути

-

40

30

20

30

Примечание: * 45 мм - для ширины колеи в 4,5 м;

60 мм - для ширины колеи в 6,0 м.

1. Показатели 1 и 3 замеряются с интервалом не более 5 м на всем протяжении кранового пути.

2. При изменении температуры на 10 °С показатель 5 изменяется на 1,5 мм.

Приложение 15

ПРЕДЕЛЬНЫЕ НОРМЫ БРАКОВКИ ОСНОВНЫХ ЭЛЕМЕНТОВ РЕЛЬСОВЫХ КРАНОВЫХ ПУТЕЙ

Наименование пути

Дефекты рельсов

Рельсовый крановый путь опорных грузоподъемных машин

1. Трещины любых размеров

2. Выколы головки или подошвы рельса

3. Вертикальный, горизонтальный или приведенный (вертикальный плюс половина горизонтального) износ головки рельса более 15 % величины соответствующего размера неизношенного профиля

4. Отклонения рельсовых путей в плане и профиле выше указанных в Приложении 20

Рельсовый крановый путь подвесных грузоподъемных машин

1. Трещины и выколы любых размеров

2. Уменьшение ширины пояса рельса вследствие износа на 5 % и более

3. Уменьшение толщины полки рельса вследствие износа на 20 % и более при одновременном отгибе полки на 15 % и более от ее первоначальной толщины

4. Отгиб полки рельса на 25 % и более от ее первоначальной толщины при одновременном износе полки на 10 % и более

Приложение 16

Таблица 1

Минимально допустимые расстояния для установки грузоподъемных машин в зданиях, на открытых площадках, вблизи ЛЭП и у котлованов

№ п/п

Нормируемое расстояние

Допустимые значения, мм не менее

 

Дин грузоподъемных машин (ГПМ), передвигающихся по надземным рельсовым путям

 

1.

От верхней точки ГПМ до потолка здания, нижнего пояса стропильных ферм или предметов, прикрепленных к ним, а также до нижней точки другой ГПМ, работающей ярусом выше

100

2.

От настила площадок и галерей опорного клапана, за исключением настила концевых балок и тележек, до сплошного перекрытия или подшивки крыши, до нижнего пояса стропильных ферм и предметов, прикрепленных к ним, а также до нижней точки крана, работающего ярусом выше

1800

3.

От выступающих частей торцов крана до колонн и стен здания, перил проходных галерей

60

4.

От нижней габаритной точки грузоподъемной машины (не считая грузозахватного органа) до попа цеха или площадок, на которых во время работы крана могут находиться люди (за исключением площадок, предназначенных для ремонта крана)

2000

5.

Между нижней габаритной точкой кабины грузоподъемной машины и попом цеха

2000*

6.

От нижних выступающих частей грузоподъемной машины (не считая грузозахватного органа) до расположенного в зоне ее действия оборудования

400

7.

От пола посадочной площадки для входа в кабину управления крана или грузовой электрической тележки до нижних частей перекрытия или выступающих частей конструкций здания

1800

8.

От выступающих частей кабины управления или кабины для обслуживания троллеев до стены, оборудования, трубопроводов, выступающих частей здания, колонн, крыш подсобных помещений и других предметов, относительно которых кабина перемещается

400

 

Для кранов, передвигающихся по наземным рельсовым путям

 

9.

От выступающих частей кранов (по горизонтали) до строений, штабелей грузов и других предметов, расположенных на высоте от уровня земли или рабочих площадок, м:

 

 

до 2

700

 

свыше 2

400

10.

От консоли противовеса или от противовеса, расположенного под консолью башенного крана (по вертикали), до площадок, на которых могут находиться люди

2000

 

Для стреловых самоходных кранов

 

11.

Между поворотной частью крана при любом его положении и строениями, штабелями грузов и другими предметами

1000

12.

Между подъемной выдвижной частью крана в любом ее положении, а также между грузом и вертикальной плоскостью, образуемой проекцией на землю ближайшего провода воздушной линии электропередачи, находящейся под напряжением 42 В и более

30000**

13.

Между стрелой крана и неотключенными контактными проводами городского транспорта при установке ограничителя (упора), не позволяющего уменьшить указанное расстояние при подъеме стрелы

1000

Примечания:

* - допускается в обоснованных случаях от 500 до 1000 мм;

** - менее 30 м - с оформлением в установленном порядке наряда-допуска

Таблица 2

Допустимые расстояния от основания откоса котлована до ближайшей опоры стрелового передвижного крана

Глубина котлована, м

Насыпной грунт

песчаный и гравийный

супесчаный

суглинистый

глинистый

лессовый сухой

Расстояние от основания откоса до ближайшей опоры, м

1

1,5

1,25

1,0

1,0

1,0

2

3,0

2,4

2,0

1,5

2,0

3

4,0

3,6

3,25

1,75

2,5

4

5,6

4,4

4,0

3,0

3,0

5

6,0

5,3

4,75

3,5

3,5

Приложение 17

Способы и параметры укладки грузов

№ п/п

Материалы, изделия, оборудование

Способ укладки

Предельная высота штабеля (стеллажа)

Указания по укладке

1.

Трубы диаметром

 

 

 

 

до 300 мм

В штабель

3,0 м

На подкладках и прокладках с концевыми упорами

 

более 300 мм

В штабель

3,0 м

В седло без прокладок; нижний ряд должен быть уложен на подкладки, укреплен инвентарными металлическими башмаками, концевыми упорами, надежно закрепленными на подкладках

2.

Мелкосортный металл

В стеллажах

1,5 м

 

3.

Кирпич в пакетах и на поддонах

В штабель

2 яруса

 

 

в контейнерах

В штабель

1 ярус

 

 

без контейнеров

В штабель

1,7 м

 

4.

Фундаментные блоки, опоки стен подвалов

В штабель

2,6 м

На подкладках и прокладках

5.

Стеновые блоки

В штабель

2 яруса

На подкладках и прокладках

6.

Плиты перекрытий

В штабель

2,5 м

На подкладках и прокладках

7.

Ригели и колонны

В штабель

2,0 м

На подкладках и прокладках

8.

Блохи мусоропроводов

В штабель

2,5 м

На подкладках и прокладках

9.

Панели:

 

 

 

 

стеновые

В кассеты или пирамиды

 

На подкладках и прокладках

 

перегородочные

В кассеты вертикально

 

На подкладках и прокладках

10.

Плиточные материалы (асбоцементные плитки, листы асбоцементные или плиты асбоцементные плоские)

В стопы

1,0 м

На подкладках

11.

Плиты асбоцементные полые

В штабель

15 рядов

На подкладках

12.

Черепица цементно-песчаная и глиняная

В штабель на ребро

1,0 м

С прокладками

13.

Пиломатериалы

В штабель

а) рядовая укладка

б) укладка в клетки

0,5 ширины штабеля одна ширина штабеля

Прислонять (опирать) материалы к элементам зданий, сооружений, ограждений запрещается

14.

Круглый лес

В штабель

1,5 м

С прокладками между рядами и установкой упоров против раскатывания. Ширина штабеля менее его высоты не допускается

15.

Санитарно-технические вентиляционные блоки

В штабель

2,5 м

На подкладках и прокладках

16.

Нагревательные приборы (радиаторы и т.п.) в виде отдельных секций или в собранном виде

В штабель

1,0 м

 

17.

Крупногабаритное и тяжеловесное оборудование и его части

В ряды

1 ряд

На подкладках

18.

Стекло в ящиках

Вертикально в один ряд

1 ряд

На подкладках

19.

Рулонный материал (рубероид, топь, линолеум и т.п.)

Вертикально в один ряд

1 ряд

На подкладках

20.

Теплоизоляционные материалы

В штабель

1,2 м

С хранением в закрытом сухом помещении

21.

Битум

В плотную тару, исключающую его растекание или в специальные ямы с устройством ограждения

 

 

22.

Прокат (листовая сталь, швеллеры, двутавровые балки, сортовая сталь)

8 штабель с прокладками и подкладками

1-1,2 м при отсутствии упоров-столбиков

Проходы между штабелями не менее 1 м

Ширина главного прохода не менее 2 м

 

 

При применении стоек стеллажей.

2 м

Расстояние от штабелей до крайних выступающих частей ж.д. состава не менее 1 м

 

 

Высота штабелей из толстых листов, укладываемых электромагнитными кранами

1,5 м

 

23.

Сортовой и фасонный прокат

В штабель, елочные и стоечные стеллажи

4,5 м

При применении крана-штабелера

24.

Мелкий профиль

Специальные скобы

Шириной 1 м, высотой 0,5 м

Металл в скобах хранится в штабелях

25.

Листовой металл, упакованный в лачки

В штабель на специальных металлических подставках

4,0 м

На деревянных брусках и укреплен

26.

Широкополосная сталь

 

2,0 м

В рулонах, с установкой рулонов на ребро, с обвязкой

27.

Стальная лента цветных металлов в кругах массой до 60 кг

В штабель

4,0 м

В горизонтальном положении в 2 яруса не более

28.

Материал в бунтах массой до 60 кг

На стеллажах в подвешенном состоянии

5,5 м

С обвязкой бунтов

29.

Материал в бунтах массой более 60 кг

В штабель с укладкой бунтов на ребро

 

Ось бунтов должна быть наклонена на 15-20° к горизонтальной плоскости, и штабель должен иметь вертикальную опору с одной стороны по торцу бунтов

 

 

В штабелях или поштучно

 

30.

Слитки и блюмы сечением 160´160 мм и более

 

4,0 м

При автоматизированном захвате груза подъемными средствами

31.

Поковки массой до 500 кг

В специальной таре, устанавливаемой в штабель

4,0 м

-

32.

Поковки массой свыше 500 кг

На полу в один ряд или в штабель

2,0 м

-

Примечание:* - материал в связке, кипе

Приложение 18

Способы размещения и крепления грузов на открытом подвижном железнодорожном составе

1. Размещение и крепление лесо- и пиломатериалов

1.1. Круглый лес

1.1.1. Лесоматериалы должны грузиться штабелями встык с предварительной сортировкой материала в штабеле по длине и толщине.

1.1.2. При погрузке на один вагон штабелей и пачек лесоматериалов различной длины лесоматериалы большей длины должны размещаться внизу укладки и по концам вагона.

1.1.3. Лесоматериалы, погруженные в верхней суженной части габарита погрузки, должны быть подсортированы по длине, по одному размеру и по толщине - не более двух-трех смежных размеров.

1.1.4. Схемы размещения и крепления лесоматериалов на платформах и в полувагонах даны на рис. 1.1; 1.2; 1.3; 1.4.

Рис. 1.1

1 - боковые стойки; 2 - верхние поперечные крепления; 3 - обвязка «шапки»; 4 - средние поперечные крепления; 5 - удлиненные прокладки; 6 - прокладки; 7 - утолщенные прокладки; 8 - подкладки

Рис. 1.2

1 - боковые стойки; 2 - верхние поперечные крепления; 3 - удлиненные прокладки; 4 - обвязки «шапки»; 5 - проволочные закрепления крайних стоек

Рис. 1.3

1 - боковые стойки; 2 - верхние поперечные крепления; 3 - обвязки «шапки»; 4 - удлиненные прокладки; 5 - утолщенные прокладки 6 - прокладки; 7 - средние поперечные крепления; 8 - подкладки

Рис. 1.4

1 - боковые стоики; 2 - верхние поперечные крепления; 3 - обвязки «шапки»

1.2. Пиломатериалы

1.2.1. Пиломатериалы должны грузиться так, чтобы обеспечивалось их плотное прилегание друг к другу и к ограждающим стойкам.

1.2.2. Толщина досок или брусьев в каждом ряду штабеля должна быть одинаковой.

1.2.3. Каждый штабель пиломатериалов длиной 2,7-5 м должен ограждаться с боков двумя парами стоек, длиной от 5 до 8 м - тремя парами стоек, длиной от 8 до 12 м - четырьмя парами стоек.

1.2.4. Лесо- и пиломатериалы длиной до 1,6 м должны грузиться вдоль полувагона с вертикальной сплошной оторцовкой грузом торцовых дверей и боковых стен полувагона по всей длине.

1.2.5. Схемы размещения и крепления пиломатериалов на платформах и в полувагонах даны на рис. 1.5; 1.6; 1.7.

Рис. 1.5

1 - боковая стойка; 2 - прокладки; 3 - верхние поперечные крепления; 4 - промежуточные прокладки; 5 - удлиненные прокладки; 6 - верхние поперечные бруски; 7 - проволочные увязки «шапки»; 8 - утолщенные прокладки; 9 - подкладки

Рис. 1.6

1 - подкладки; 2 - проволочные закрепления крайних стоек; 3 - верхние поперечные крепления; 4 - боковые стойки; 5 - проволочные увязки «шапки»; 6 - удлиненные прокладки; 7 - верхние поперечные бруски; 8 - промежуточные прокладки

Рис. 1.7

1 - оторцовка; 2 - доски, скрепляющие оторцовку

1.3. Лесо- и пиломатериалы в пакетах

1.3.1. Пиломатериалы и круглые лесоматериалы длиной до 8 м должны перевозиться в пакетах, увязанных многооборотными полужестким стропами, и их размещение в вагонах производится без применения подкладок и прокладок.

1.3.2. Пакеты из круглых лесоматериалов длиной менее 3 м, пиломатериалов длиной до 1,5 м должны перевозиться в полувагонах с закрытыми торцовыми дверями и с установкой торцовых щитов.

1.3.3. Пакеты пиломатериалов 1350´1300 мм и длиной свыше 1500 мм должны укладываться в полувагоны без стоек и прокладок в два ряда по ширине, в два яруса по высоте, в несколько штабелей по длине вагона (в зависимости от длины пакета) с укладкой поверх второго яруса трапецеидальных пакетов «шапки» и их закреплением за основание пакетов второго яруса с использованием концов цепей многооборотных полужестких стропов.

1.3.4. Пакеты пиломатериалов длиной 3 м и более размещаются на платформе без прокладок до высоты стоек и крепятся как непакетированные пиломатериалы.

1.3.5. Пакеты из круглых лесоматериалов длиной от 3 до 8 м на платформу и в полувагон должны грузиться в два яруса по высоте без подкладок и прокладок.

1.3.6. Схемы размещения и крепления лесо- и пиломатериалов в пакетах на платформах и в полувагонах даны на рис. 1.8; 1.9; 1.10; 1.11, в брусково-проволочной обвязке - на рис. 1.12, в пакетах, обвязанных стальной лентой - на рис. 1.13 и 1.14.

Рис. 1.8

1 - проушина; 2 - цепь для закрепления; 3 - проволочная закрутка

Рис. 1.10

Рис. 1.11

Рис. 12

1 - верхние поперечные крепления; 2 - боковые стойки; 3 - продольные доски 4 - соединительные доски; 5 - упорные бруски

Рис. 1.13

1 - упор; 2 - утолщенная подкладка; 3 - средняя подкладка; 4 - межпакетная прокладка; 5,6 - нижняя и средняя удлиненные прокладки; 7 - прижимной брусок; 8 - упорные доски; 9 - проволочная увязка «шапки»; 10 - стяжка стоек; 11 - распорная доска

Рис. 1.14

1 - межпакетная прокладка; 2 - средняя стяжка стоек; 3 - верхняя стяжка стоек; 4 - прижимной брусок; 5 - проволочная увязка; 6, 7 - средняя и нижняя удлиненные прокладки; 8 - распорные доски; 9 - упорные доски; 10 - утолщенная подкладка; 11 - упор; 12 - средняя подкладка

1.4. Лесоматериалы в специально оборудованных вагонах

1.4.1. Для перевозки круглых лесоматериалов используются также четырехосные платформы грузоподъемностью 61 т со стационарно установленными металлическими рамами (с закреплением в стоечных скобах), обеспечивающими наклон штабелей груза к середине платформы и крепление груза в верхних стойках рамы с помощью цепей и с загрузкой в пределах обычного или зонального габаритов.

1.4.2. Схемы размещения и крепления лесоматериалов в специально оборудованных вагонах даны на рис. 1.15; 1.16; 1.17; 1.18; 1.19; 1.20.

Рис. 1.15

а - общий вид погрузки платформы с удлиненными звеньями (б) и наставками (в) стоек; 1 - платформа; 2 - металлическая рама; 3 - стоечная скоба платформы; 4 - уширенная площадка рамы; 5 - удлиненные звенья или наставки стоек; 6 - цепи для закрепления «шапки»; 7 - замковое кольцо рычага; 8 - фигурное звено

Рис. 1.16

Рис. 1.17

Рис. 1.18

Рис. 1.19

Рис. 1.20

2. Размещение и крепление металлопроката

2.1. Сортовая прокатная сталь

2.1.1. Сталь полосовая, круг, шестигранник, уголок, швеллер, зет, узкоколейные рельсы, арматурно-периодический профиль и др. в пачках на платформу или в полувагон должны укладываться параллельно друг другу без перекрещивания.

2.1.2. Сортовой металл длиной до 6,5 м размещают на платформе или в полувагоне в несколько штабелей, располагаемых последовательно вдоль вагона, и ограждают с торцов платформы с применением торцовых стоек.

2.1.3. Сортовой металл длиной от 6,5 до 10,5 м укладывают пачками в два штабеля внахлестку посередине платформы длиной от 10,6 до 13 м - в один штабель, длиной от 13,1 до 13,7 м - с откинутыми на кронштейны торцевыми бортами.

2.1.4. Схемы размещения и крепления сортового металла на платформах и в полувагонах даны на рис. 2.1; 2.2; 2.3; 2.4; 2.5.

Рис. 2.1

1 - боковые стойки; 2 - увязка стоек; 3 - доски торцового ограждения; 4 - торцовые стойки

Рис. 2.2

1 - боковые стойки; 2 - увязка стоек; 3 - доски торцового ограждения; 4 - торцовые стойки

Рис. 2.3

Рис. 2.4

Рис. 2.5

1 - деревянный щит; 2 - квадратная заготовка; 3 - обвязка пачек; 4 - подкладка

2.2. Листовой металл в пачках

2.2.1. Пачки листового металла размером до 900´1100 мм должны размещаться в полувагонах вдоль и поперек равномерно по всей площади пола с погрузкой от торцовых дверей к середине вагона.

2.2.2. Пачки листового металла длиной 1,5-2,3 м и 2,8-5,5 м должны укладываться вдоль полувагона вплотную друг к другу в несколько штабелей симметрично продольной оси с размещением крайних пачек вплотную к боковым стенкам.

2.2.3. Пачки листового металла длиной от 5,5 до 7,5 м должны укладываться в один продольный ряд двумя штабелями внахлестку с отступлением от торцовых дверей на 1,0 м и с опорой на подкладки, уложенные по всем поперечным балкам полувагона.

2.2.4. Пачки листового металла длиной от 9,0 до 11,5 м должны размещаться одним штабелем с опорой на две подкладки, уложенные на шкворневые балки полувагона.

2.2.5. Схемы размещения и крепления листового металла в пачках на платформах и в полувагонах даны на рис. 2.6; 2.7; 2.8; 2.9.

Рис. 2.6

Рис. 2.7

Рис. 2.8

Рис. 2.9

2.3. Листовой металл толщиной 6-160 мм

2.3.1. Листовой металл толщиной 6-160 мм должен размещаться и крепиться в четырехосных полувагонах в зависимости от ширины и длины листов с ограждением устанавливаемыми вертикально деревянными брусками стен и торцовых дверей полувагонов с деревянной обшивкой кузова.

Схемы размещения и крепления листового металла толщиной 6-160 мм в полувагонах даны на:

рис. 2.10 - для металла (1300-1400)´(5910-11700) мм;

рис. 2.11 - для металла (1401-1700)´(2800-3600) мм;

рис. 2.12 - для металла (1401-1700)´(3610-3900) мм;

рис. 2.13 - для металла (1701-2700)´(5500-9000) мм.

Рис. 2.10

Рис. 2.11

Рис. 2.12

1 - деревянный вертикальный брусок; 2, 3 - листы, погруженные соответственно горизонтально и внахлестку; 4 - деревянные прокладки

Рис. 2.13

1 - подкладки; 2 - утолщенные подкладки; 3 - прокладки; 4 - соединительные планки; 5 - распорные бруски

2.4. Слябы

2.4.1. Слябы длиной 1150-1950 мм, шириной 1000-1250 мм и толщиной 100-200 мм должны укладываться в полувагон в три яруса симметрично продольной и поперечной осей вагона, на деревянные подкладки.

2.4.2. Слябы длиной 2000-2600 мм, шириной 1000-1250 мм и толщиной 100-200 мм должны укладываться в полувагон в три яруса с укладкой в нижнем ярусе на подкладках у торцовых дверей поперек по одному слябу.

2.4.3. Слябы длиной 2600-3500 мм, шириной 1000-1700 мм и толщиной 100-200 мм должны размещаться в два ряда на подкладках.

2.4.4. Схемы размещения и крепления слябов в полувагонах даны на рис. 2.14; 2.15; 2.16.

Рис. 2.14

1 - подкладки; 2 - щит

Рис. 2.15

Рис. 2.16

1 - подкладки; 2 - щит

2.5. Рулоны

2.5.1. Ленточный металл толщиной до 6 мм и шириной до 700 мм в рулонах (кругах) с наружным диаметром до 1300 мм и весом одной единицы до 2,5 т на платформу должен укладываться продольными рядами (в четыре ряда - диаметром 600-650 мм; в три ряда - диаметром от 700 до 900 мм; в два ряда - диаметром от 900 до 1300 мм) симметрично продольной оси платформы наклонно или вертикально, а у торцовых бортов платформы - горизонтально.

2.5.2. Рулонный металл весом от 2,0 до 3,5 т, наружным диаметром от 1000 до 1350 мм и высотой 500-700 мм должен размещаться в полувагоне в два яруса симметрично продольной и поперечной осям полувагона с опорой каждого ряда на две продольные прокладки. Верхний ярус укладывается вдоль вагона над хребтовой балкой.

2.5.3. Рулоны диаметром до 1400 мм и весом от 3,5 до 4,5 т должны укладываться в полувагоне вертикально в один ярус в 2-3 ряда симметрично продольной оси вагона.

Схемы размещения и крепления рулонов в полувагонах даны на рис. 2.17; 2.18; 2.19.

Рис. 2.17

1 - торцовые стойки; 2 - поперечный упорный брусок; 3 - продольные подкладки; 4 - увязки рядов рулонов; 5 - увязка рулонов, уложенных плашмя

Рис. 2.18

1 - упорный брус; 2 - подкладки

Рис. 2.19

1 - распорные бруски; 2 - подкладки; 3 - поперечные упорные бруски

2.6. Трубы

2.6.1. Каждый штабель труб, уложенный на платформу, должен ограждаться боковыми стойками в количестве в зависимости от длины труб в штабеле:

двумя парами стоек - при длине труб до 4 м;

тремя парами стоек - при длине труб от 4 до 5 м;

четырьмя парами стоек - при длине труб более 5 м.

2.6.2. При высоте погрузки труб до 2 м стойки должны закрепляться верхней и средней увязками из проволоки диаметром 6 мм в восемь нитей, при высоте погрузки более 2 м - верхней и двумя средними увязками из проволоки диаметром не менее 5 мм в семь нитей.

2.6.3. Расстояние между увязками должно быть не более 1 м, при диаметре труб более 1 м - через каждый ряд труб.

2.6.4. Стальные трубы диаметром до 159 мм включительно должны быть увязаны в пакеты, трубы диаметром от 159 до 219 мм - допускается увязка в пакеты.

2.6.5. При погрузке на одну платформу труб различного диаметра трубы меньшего диаметра должны укладываться вниз под более крупные или внутрь них.

2.6.6. При погрузке труб диаметром 159 мм и менее различной длины более длинные трубы должны укладываться у боковых бортов, а в середине штабеля - трубы меньшей длины вперемешку с более длинными. В верхних рядах штабеля укладываются длинные трубы.

2.6.7. Трубы диаметром от 159 до 450 мм включительно должны грузиться с разделением смежных рядов тремя прокладками сечением не менее 35´110 мм. Первый ряд труб укладывается на пол платформы, крайние трубы - вплотную к бортам с подклиниванием.

2.6.8. Если трубы не заполняют всю ширину платформы, то их укладывают двумя частями вплотную к бортам с оставлением в середине ряда свободного места с расклиниванием в трех местах клиньями по обе стороны каждой части ряда. Второй и последующие ряды труб укладываются в таком же порядке. Клинья первого ряда прибиваются к полу платформы, последующих - к прокладкам.

2.6.9. Трубы диаметром до 300 мм, уложенные в нижних рядах, до высоты бортов платформы не подклиниваются, а выше бортов - подклиниваются, как указано в п. 2.6.8.

2.6.10. Трубы диаметром от 450 до 1220 мм должны грузиться на подкладки с прокладками между каждым рядом с укладкой труб друг над другом так, чтобы их центры находились на одной вертикали. Каждая труба должна подклиниваться с обеих сторон.

2.6.11. Вплотную к торцам штабеля должны устанавливаться ограждающие щиты.

2.6.12. Трубы длиной 24 м, диаметром 1020 мм размещаются на сцепе из двух четырехосных платформ с использованием штатных металлических опор и прокладок.

2.6.13. Погрузка и крепление труб диаметром 530, 630, 720, 820, 1020, 1220, 1420 мм производится в четырехосные платформы по схемам размещения в зависимости от диаметра труб.

2.6.14. Схемы размещения и крепления труб на платформах и в полутонах даны на рис. 2.20; 2.21; 2.22; 2.23; 2.24; 2.25.

Рис. 2.20

1 - горизонтальная жердь; 2 - торцовые стойки; 3 - доски торцового ограждения 4 - растяжки; 5 - боковые стойки; 6 - верхняя проволочная увязка стоек; 7 - средняя проволочная увязка стоек; 8 - прокладки; 9 - клинья

Рис. 2.21

1 - горизонтальная жердь; 2 - стойка; 3 - растяжки; 4 - боковые стойки; 5 - верхняя проволочная увязка; 6 - средняя проволочная увязка стоек; 7 - клинья; 8 - прокладки; 9 - подкладки; 10 - доски торцового щита; 11 - диагональная жердь; 12 - упорные брусья

Рис. 2.22

1 - горизонтальная жердь; 2 - стойки; 3 - растяжки; 4 - боковые стойки; 5 - верхняя проволочная увязка; 6 - средняя проволочная увязка стоек; 7 - клинья; 8 - прокладки; 9 - подкладки, 10 - доски торцового ограждения; 11 - диагональная жердь; 12 - упорные брусья

Рис. 2.25

3. Размещение и крепление железобетонных асбоцементных и других изделий и конструкций

3.1. Железобетонные изделия

3.1.1. При погрузке в вагоны железобетонные изделия или штабель из них должны укладываться на две деревянные поперечные или продольные подкладки.

3.1.2. При укладке изделий в несколько ярусов между ярусами должны укладываться прокладки толщиной на 5-10 мм более высоты выступающих закладных деталей и монтажных петель, но не менее 25 мм располагаемые по высоте штабеля в одной вертикальной плоскости.

3.1.3. Крепление железобетонных изделий должно производиться за монтажные петли или строповочные отверстия. При укладке в несколько рядов по ширине вагона изделия должны быть увязаны между собой проволокой диаметром 6 мм с числом нитей в увязке в зависимости от конфетного случая.

3.1.4. Для предохранения от порчи углов, граней железобетонных изделий в местах крепления между изделием и крепежным элементом должны устанавливаться прокладки.

3.1.5. Плиты и панели, перевозка которых допускается в горизонтальном положении, укладываются на платформе равномерно в несколько ярусов на подкладках и прокладках.

3.1.6. Схемы размещения и крепления железобетонных изделий на платформах и в полувагонах даны на рис. 2.26; 2.27; 2.28; 2.29; 2.30; 2.31; 2.32.

Рис. 2.26

1 - прокладки; 2 - шпалы; 3 - стойки; 4 - растяжки; 5 - обвязки; 6 - подкладки

Рис. 2.27

1 - подкладка; 2 - прокладка; 3 - растяжка

Рис. 2.28

1 - подкладка; 2 - растяжка; 3 - прокладка

Рис. 2.29

1 - стойки; 2 - увязки стоек; 3 - упорные бруски с подкосами; 4 - прокладки; 5 - поперечные подкладки; 6 - продольные подкладки

Рис. 2.30

1 - опорно-крепежное устройство (исполнение 2); 2 - подкладка; 3 - прокладка; 4 - проволочная скрутка

Рис. 2.31

1 - растяжки; 2 - изделия; 3 - прокладки; 4 - подкладки; 5 - увязки; 6 - упорные бруски

Рис. 2.32

1 - упорный брусок; 2 - прокладки; 3 - боковые стойки; 4 - увязки боковых стоек; 5 - торцовая стойка; 6 - продольная прокладка; 7 - растяжки; 8 - поперечная увязка

3.2. Асбестоцементные изделия

3.2.1. Асбоцементные волнистые листы для отгрузки должны быть уложены в штатные многооборотные кассеты весом 2,6-2,7 т.

3.2.2. Кассеты в полувагоне должны размещаться последовательно от торцовых дверей к середине вагона с установкой их вплотную, с использованием распорных деревянных стоек.

3.2.3. Кассеты верхнего яруса устанавливаются на поперечные полки кассет нижнего яруса и увязываются между собой скрутками из проволоки диаметром 6 мм в две нитки за грузоподъемные петли кассет. Кассеты верхнего яруса фиксируются относительно нижних их угловыми упорами.

3.2.4. Порожние кассеты формируются в пакеты из восьми полукассет и вместе с упорными рамами подлежат возврату грузоотправителю.

3.2.5. Асбоцементные трубы длиной 5 м перевозятся в штатных многооборотных контейнерах.

3.2.6. Схемы размещения и крепления кассет и контейнеров с асбоцементными изделиями на платформах и в полувагонах даны на рис. 3.1; 3.2; 3.3.

Рис. 3.1

1 - кассета, заполненная асбоцементными листами; 2 - упорная рама; 3 - растяжки; 4 - металлическая стойка; 5, 6 - деревянные упорные бруски длиной соответственно 600 и 250 мм; 7 - проволочные скрутки

Рис. 3.2

1 - пакеты; 2 - упорные рамы

Рис. 3.3

1 - контейнер СТ7-5М для труб; 2 - контейнер СТ6-3 для муфт; 3 - упорный брусок

3.3. Изделия крупнопанельного домостроения

3.3.1. Изделия крупнопанельного домостроения (железобетонные панели) длиной от 1 до 7,2 м, высотой от 1,2 до 3 м, толщиной от 0,06 до 0,4 м (сплошные или с проемами) должны устанавливаться на платформы и в полувагоны в вертикальном положении с использованием съемных многооборотных устройств.

3.3.2. Панели должны устанавливаться вертикально в штабель в несколько продольных рядов симметрично относительно продольной и поперечной осей вагона с опиранием в наклонном положении на центральную часть (призму) съемного многооборотного устройства.

3.3.3. Панели, устанавливаемые в каждых двух симметрично расположенных рядах, должны быть одинаковыми. Внешние и центральные ряды должны быть составлены из панелей больших размеров.

3.3.4. Панели должны устанавливаться поочередно с одной и другой стороны призмы на деревянные подкладки.

3.3.5. Железобетонные, гипсобетонные, керамзитобетонные панели и перегородки длиной 1,2-6 м, толщиной 0,05-0,5 м и высотой 2-2,5 м должны устанавливаться на платформы и в полувагоны в вертикальном положении с применением штатной съемной металлической пирамиды.

Панели после установки закрепляются прижимными стойками, поверху поперечными винтовыми стяжками.

3.3.6. Панели, перегородки и изделия длиной до 6 м, толщиной 0,08-0,5 м и высотой 1,2-1,8 м должны устанавливаться на платформу в вертикальном положении с использованием многооборотных съемных металлических кассет.

3.3.7. Схемы размещения и крепления панелей на платформах и в полувагонах даны на рис. 3.4; 3.5; 3.6; 3.7.

Рис. 3.4

1 - призма; 2 - боковые стойки; 3 - охватывающий пояс; 4 - упорные зубья транспортной рамы; 5 - болтовое крепление рамы за проушины платформы; 6 - болтовая стяжка полурам; 7 - полурамы транспортного устройства; 8 - инвентарные упорные брусья

Рис. 3.5

1 - призмы; 2 - охватывающий пояс; 3 - боковая стойка с поперечным креплением; 4 - подкладки; 5 - упорные брусья; 6 - распорная рама

Рис. 3.6

1 - панели; 2 - прижимные стойки; 3 - растяжки; 4 - упорные торцовые балки; 5 - упорный брус; 6 - балки основания пирамиды; 7 - стяжка; 8 - пирамидальная опора

Рис. 3.7

1 - боковая стойка; 2 - упорная балка; 3 - прижимной винт; 4 - продольная балка; 5 - стакан; 6 - проволочные увязки; 7 - стяжки

4. Размещение и крепление грузов в ящичной упаковке, грузов цилиндрической формы, грузов в контейнерах

4.1. Грузы в ящичной упаковке

4.1.1. При размещении грузов в вагоне необходимо обеспечивать, чтобы общий центр тяжести вагона с грузом находился на расстоянии не более 2,3 м от уровня верха головки рельсов, а наветренная поверхность четырехосного вагона с грузом не должна превышать 50 м2.

4.1.2. Грузы, установленные на салазки, должны иметь салазки, не выступающие за очертания груза; салазки должны быть прочно соединены с грузом; салазки на концах должны иметь скос под углом 30-40° для удобства застроповки.

4.1.3. Грузы, не установленные на салазки, должны иметь приспособления для застроповки.

4.1.4. Грузы в ящичной упаковке, как правило, должны размещаться длинной стороной вдоль платформы или полувагона в один-два яруса по высоте, в один или более рядов по ширине платформы или полувагона в зависимости от веса и размеров отдельных единиц груза.

4.1.5. Для предотвращения продольных перемещений грузов на платформе должны применяться упоры и распорные бруски, устанавливаемые вплотную к грузу и торцевым бортам или закрепляться поперечными проволочными увязками.

4.1.6. Для предотвращения поперечных перемещений ящиков на платформе должны применяться распорные бруски, прикрепляемые к полу платформы или полувагона гвоздями (не менее двух с каждой стороны единицы груза).

4.1.7. Для удержания от опрокидывания ящики должны закрепляться поперечными проволочными обвязками.

4.1.8. Для крепления груза от сдвига и опрокидывания могут применяться проволочные растяжки, располагаемые так, чтобы угол между растяжкой и полом и проекцией растяжки на пол платформы и продольной осью платформы не превышал 45°.

4.1.9. Схемы размещения и крепления грузов в ящичной упаковке даны на рис. 4.1; 4.2; 4.3; 4.4.

Рис. 4.1

1 - торцовые стойки; 2 - упорные бруски; 3 - поперечные распорные бруски; 4 - продольные распорные бруски

а) 1 - торцовые стойки; 2 - упорные бруски

Рис. 4.2

б) 1 - торцевые стойки; 2 - упорные бруски; 3 - продольные распорные бруски; 4 - поперечные обвязки; 5 - поперечные распорные бруски

Рис. 4.3

1 - скобы; 2 - поперечные увязки; 3 - поперечные распорные бруски

Рис. 4.4

1 - торцовые стойки; 2 - упорные бруски; 3 - распорные бруски; 4 - скобы; 5 - поперечные увязки; 6 - боковые стойки; 7 - увязка боковых стоек

4.2. Грузы цилиндрической формы

4.2.1. Грузы цилиндрической формы (котлы, баки, барабаны, колонны и др.) при размещении на платформе должны обеспечивать размещение общего центра тяжести груза и вагона не выше 2,3 м от уровня головки рельсов. Наветренная поверхность вагона с грузом не должна превышать 75 м.

4.2.2. Грузы диаметром до 1,4 м должны размещаться в два продольных ряда, диаметром более 1,4 м - в один ряд.

4.2.3. Грузы длиной до 14 м должны грузиться на четырехосные платформы (грузы длиной 13,7-14 м - только на платформы с рамой длиной 13,4 м).

4.2.4. Грузы длиной более 14 м должны размещаться на сцепах платформ (основная грузонесущая платформа и две платформы прикрытия). При использовании сцепа из двух грузонесущих платформ должны применяться турникетные опоры.

4.2.5. Схемы размещения и крепления грузов цилиндрической формы даны на рис. 4.5; 4.6; 4.7.

Рис. 4.5

1 - обвязка; 2 - боковые упорные бруски; 3 - подкладка; 4 - поперечные упорные бруски; 5 - продольные распорные бруски

Рис. 4.6

1 - боковые упорные бруски; 2 - подкладки; 3 - упорные и распорные бруски; 4 - обвязки

Рис. 4.7

1 - растяжки; 2 - подкладки с боковыми упорными брусками; 3 - обвязки

4.3. Универсальные контейнеры

4.3.1. Универсальные контейнеры массой брутто 3 и 5 т устанавливаются в вагон только полным комплектом дверями внутрь так, чтобы исключался свободный доступ к ним в пути следования.

4.3.2. Перед погрузкой поп платформы, опорные поверхности контейнеров должны быть тщательно очищены от снега, льда, мусора. В зимнее время пол платформы должен быть посыпан тонким слоем чистого сухого песка.

4.3.3. На каждой платформе должны быть погружены только груженые или только порожние контейнеры. Их совместная перевозка может быть допущена в отдельных случаях при обеспечении условий устойчивости вагона с грузом. Крепление контейнеров производится посредством упорных распорных брусков, растяжек или с помощью фитингов.

4.4. Тюки соломы

4.4.1. Тюки прессованной соломы (1000´500´360 мм) должны размещаться в полувагоне в соответствии со схемами, приведенными на рис 4.8; 4.9. При этом в полувагоны с объемом кузова 64,7 и 66,8 м3 вмещается 508 тюков, в полувагоны с объемом кузова 70,5; 72,5; 74 м3 вмещается 560 тюков.

Рис. 4.8

Рис. 4.9

Приложение 19

Технологические карты на выгрузку грузов из полувагонов

СОГЛАСОВАНО:                                                                          УТВЕРЖДАЮ:

ТЕХНОЛОГИЧЕСКАЯ КАРТА № 1

Вид работ: выгрузка из полувагона

Состав бригады: крановщик, два стропальщика, лицо, ответственное за безопасное производство работ

Предприятие

Склад (участок)

№ п/п

Наименование операций

Оборудование, приспособления, инвентарь

Наименование груза: металл (пачки)

Схема технологического процесса перемещения

Рис. 1. Подготовка полувагона к выгрузке

1.

Подготовка полувагона к выгрузке (рис. 1)

Полувагон устанавливают на место выгрузки, подложив под колеса тормозные башмаки. Подкладывать под колеса шпалы, ломы и прочие предметы, а также вставлять в спицы колес колья, аншпуги и т.п. запрещается. Получив задание на выгрузку, стропальщики 2 и 3 подбирают стропы, соответствующие массе поднимаемого металла и такой длины, чтобы при подъеме металла угол между ветвями стропов был не более 90°, и навешивают их на крюк крана. Стропальщик 3 поднимается на площадку для рабочих при разгрузке и загрузке полувагонов. Стропальщик 2 подает стропальщику 3, находящемуся на площадке, лестницу, которую тот устанавливает с внутренней стороны полувагона, противоположной направлению перемещения металла при выгрузке

Кран мостовой грузоподъемностью 10 т; стропы, багры, прокладки предохранительные

2.

Строповка металла (рис. 2)

Стропальщик 2 по внутренней лестнице спускается в полувагон и производит строповку металла, масса застропленного металла не должна превышать грузоподъемности крана. Стропальщик 3 координирует действия стропальщика 2 и крановщика 1 (рис. 1) по строповке металла с площадки для разгрузки и загрузки полувагонов. После строповки металла стропальщик 2 обязательно должен спуститься из полувагона по лестнице на площадку для рабочих при разгрузке и загрузке полувагонов и поднять внутреннюю лестницу из полувагона

 

Рис. 2. Строповка металла

3.

Подъем металла (рис. 3)

Убедившись в том, что стропальщик 2 в полувагоне отсутствует, металл надежно закреплен стропами и ничем не удерживается, стропальщик 3 дает знаковый сигнал рукой на подъем. Сначала металл поднимается на высоту 200-300 мм, проверятся равномерностью натяжения стропов. При необходимости исправления строповки следует дать крановщику 1 сигнал «немедленно опустить металл». Перед горизонтальным перемещением необходимо поднять металл на высоту не менее 0,5 м над предметами, встречающимися на пути перемещения

 

Угол между встоями стропов не более 90°

Рис. 3. Подъем металла

4.

Взвешивание

По команде стропальщика крановщик производит подъем и перемещение металла к весам. Второй стропальщик сопровождает металл и производит его укладку на весы, используя багор. Металл взвешивается при ослабленных стропах, стропы с крюка крана не снимаются. Операция «взвешивание» производится при необходимости (при отсутствии данных о массе груза в документах, при отсутствии бирки)

 

5.

Перемещение металла на приемную площадку

После взвешивания стропальщик в процессе перемещения металла направляет его багром в зоне, видимой крановщику, и следит за тем, чтобы в зоне перемещения не было людей. Металл укладывается на площадку на прокладки

 

6.

Отстроповка металла

После укладки металла стропальщики освобождают металл от строп. Вытаскивать стропы из-под груза подъемом крюка крана запрещается

 

7.

Уборка навесных грузоподъемных приспособлений после окончания работ

После окончания выгрузки полувагона с грузового крюка крана снимают стропы и укладывают их в отведенное для хранения место. Рабочую площадку очищают от упаковочного материала, мусора, увязочной проволоки

 

Продолжение приложения 19

СОГЛАСОВАНО:                                                                УТВЕРЖДАЮ:

ТЕХНОЛОГИЧЕСКАЯ КАРТА № 2

Вид работ: выгрузка из полувагона

Состав бригады: крановщик, два стропальщика, лицо, ответственное за безопасное производство работ

Предприятие

Склад (участок)

№ п/п

Наименование операций

Оборудование, приспособления, инвентарь

Наименование груза: металл

Схема технологического процесса перемещения

Рис. 1. Подготовка полувагона к выгрузке

1.

Подготовка полувагона к выгрузке (рис. 1)

Полувагон устанавливают на место выгрузки около стационарной площадки для стропальщиков, подложив под колеса тормозные башмаки. Подкладывать под колеса шпалы, ломы и прочие предметы, а также вставлять в спицы колес колья, аншпуги и т.п. запрещается. Получив задание на выгрузку, крановщик подает кран к месту хранения электромагнитного захвата. Стропальщик и механик навешивают электромагнитный захват на крюк крана. Подключают электропитание. При работе крана с электромагнитным захватом нахождение людей на платформах, в полувагонах и другом подвижном составе запрещается. Кладовщик ограждает зону работы мостового крана и вывешивает запрещающие знаки

Кран мостовой грузоподъемностью 15 т; захват электромагнитный, стационарная площадка для стропальщиков, прокладки

2.

Подъем металла из полувагона

Стропальщик поднимается на стационарную площадку для стропальщиков и с нее координирует действия крановщика по подъему металла знаковыми сигналами. Убедившись в том, что электромагнитный захват опущен з нужном месте, стропальщик дает звуковой сигнал на подъем. Сначала металл поднимают на высоту 300-400 мм, проверяют надежность удержания металла без переноса электромагнитным захватом, после чего стропальщик 2 спускается с площадки

 

3.

Перемещение металла на место хранения (рис. 2 и 3)

Крановщик, убедившись в отсутствии людей в зоне действия крана, перемещает металл на место хранения и укладывает в штабель на прокладки. Перед горизонтальным перемещением следует поднять металл на высоту не менее 0,5 м над предметами, встречающимися на пути перемещения. Штабель нужно укладывать на расстояние не менее 2,5 м от головки рельса железнодорожного пути. После окончания работ траверсу с электромагнитными захватами следует установить на подставку, предназначенную для хранения

 

Рис. 2., рис. 3. Перемещение металла на место хранения

4.

Уборка навесных грузоподъемных приспособлений

После окончания разгрузки с грузового крюка крана снимают навесные грузоподъемные приспособления и укладывают их в отведенные для хранения места. Рабочую площадку очищают от упаковочного материала, щепы, увязочной проволоки и деформированного металла

 

Продолжение приложения 19

СОГЛАСОВАНО:                                                                    УТВЕРЖДАЮ:

ТЕХНОЛОГИЧЕСКАЯ КАРТА № 3

Вид работ: погрузка в автомашину

Состав бригады: крановщик, два стропальщика, лицо, ответственное за безопасное производство работ

Предприятие

Склад (участок)

№ п/п

Наименование операций

Оборудование, приспособления, инвентарь

Схема технологического процесса перемещения

Рис. 1. Строповка металла

1.

Строповка металла (рис. 1.)

Получив задание на погрузку, крановщик 1 подает кран к комплектовочному стеллажу. Стропальщики 2 и 3 производят строповку подготовленного металла, указанного в наряде-заказе.

Кран мостовой грузоподъемностью 10 т; стеллажи стоечные, багры, площадка для подъема на автомашину, траверса, прокладки

2.

Перемещение металла к автомашине (рис. 2)

Стропальщик 2, убедившись в том, что металл надежно закреплен стропами и ничем не удерживается, подает команду рукой на подъем и перемещение его к автомашине. Стропальщик 2 сопровождает металл, направляет его багром

 

Рис. 2. Перемещение металла к автомашине

Рис. 3. Укладка металла в автомашину

3.

Укладка металла в кузов автомашины (рис. 3)

Стропальщик 2 при помощи багра направляет металл при укладке его в кузов, следя за равномерным распределением металла по всему кузову. Стропальщик 3 координирует действия крановщика и стропальщика 2 при укладке. Водитель автомашины 4 находится в зоне погрузки. Стропальщики 2 и 3 поднимаются по площадке в кузов автомашины и освобождают стропы. Металл в кузове укладывается на прокладки, высота укладки не более 3,8 м от поверхности дороги до высшей точки груза. Металл, превышающий по своим размерам длину кузова на 2 м, следует грузить на специально оборудованные автомашины с прицепами или полуприцепами.

При одновременной погрузке металла разной длины более короткий нужно располагать сверху. После погрузки стропальщики 2 и 3 производят увязку и крепление металла в кузове

 

Приложение 20

РУЧНЫЕ ТРАНСПОРТНЫЕ СРЕДСТВА

Тележки универсальные

Тележки для транспортирования бочек

Тележки для транспортирования плит

Тележки для транспортирования баллонов

Тележки для транспортирования бутылей

Тележки трехколесные

Тележки трехколесные

Тележки с гидравлическим подъемником

Грузоподъемный рычаг и катки

Приложение 21

(Извлечение из СНиП 2.01.01-82)

КЛИМАТИЧЕСКОЕ РАЙОНИРОВАНИЕ

Климатические районы

Климатические подрайоны

Среднемесячная температура воздуха в январе, °С

Средняя скорость ветра за три зимних месяца, м/с

Среднемесячная температура воздуха в июле, °С

Среднемесячная относительная влажность воздуха в июле, %

I

IА

от -32 и ниже

-

от +4 до +19

-

IБ

от -28 и ниже

5 и более

от 0 до +13

более 75

IВ

от -14 до -28

-

от +12 до +21

-

IГ

от -14 до -28

5 и более

от 0 до +14

более 75

IД

от -14 до -32

-

от +18 до +20

-

II

IIА

от -4 до-14

5 и более

от +8 до +12

более 75

IIБ

от -3 до -5

5 и более

от +12 до +21

более 75

IIВ

от -4 до-14

-

от +12 до +21

-

IIГ

от -5 до-14

5 и более

от +12 до +21

более 75

III

IIIА

от -14 до -20

-

от +21 до +25

-

IIIБ

от -5 до +2

-

от +21 до +25

-

IIIВ

От -5 до-14

-

от +21 до +25

-

IV

IVА

от-10 до +2

-

от +28 и выше

-

IVБ

от +2 до +6

-

от +22 до +28

50 и более в 13 часов

IVВ

от 0 до +2

-

от +25 до +28

-

IVГ

от-15 до 0

-

от +25 до +28

-

Примечание. Климатический подрайон IД характеризуется продолжительностью холодного периода года (со среднесуточной температурой ниже °С) 190 дней в году и более.

Приложение 22

ОТЛИЧИТЕЛЬНАЯ ОКРАСКА ГАЗОНАПОЛНЕННЫХ БАЛЛОНОВ

Наименование газа

Цвет окраски

Текст надписи

Цвет надписи

Цвет полосы

Азот

Черный

Азот

Желтый

Коричневый

Аммиак

Желтый

Аммиак

Черный

-

Аргон сырой

Черный

Аргон сырой

Белый

Белый

Аргон технический

Черный

Аргон технический

Синий

Синий

Ацетилен

Белый

Ацетилен

Красный

-

Бутилен

Красный

Бутилен

Желтый

Черный

Нефтегаз

Серый

Нефтегаз

Красный

-

Бутан

Красный

Бутан

Белый

-

Водород

Темно-зеленый

Водород

Красный

-

Воздух

Черный

Сжатый

Белый

-

Гелий

Коричневый

Гелий

Белый

-

Закись азота

Серый

Закись азота

Черный

-

Кислород

Голубой

Кислород

Черный

-

Кислород медицинский

Голубой

Кислород медицинский

Черный

-

Сероводород

Белый

Сероводород

Красный

Красный

Сернистый ангидрид

Черный

Сернистый ангидрид

Белый

Желтый

Углекислота

Черный

Углекислота

Желтый

-

Фосген

Защитный

-

-

Красный

Фреон-11

Алюминиевый

Фреон-11

Черный

Синий

Фреон-12

Алюминиевый

Фреон-12

Черный

-

Фреон-13

Алюминиевый

Фреон-13

Черный

Две красные полосы

Фреон-22

Алюминиевый

Фреон-22

Черный

Две желтые полосы

Хлор

Защитный

-

 

Зеленый

Циклопропан

Оранжевый

Циклопропан

Черный

-

Этилен

Фиолетовый

Этилен

Красный

-

Другие горючие газы

Красный

Наименование газа

Белый

-

Другие негорючие газы

Черный

Наименование газа

Желтый

-

Приложение 23

ПЕРЕЧЕНЬ
НОРМАТИВНЫХ ПРАВОВЫХ АКТОВ, НА КОТОРЫЕ В ТЕКСТЕ ПРАВИЛ СДЕЛАНЫ ССЫЛКИ

1. ГОСТ 12.0.003-74* ССБТ. Опасные и вредные производственные факторы. Классификация

2. ГОСТ 12.0.004-90 ССБТ. Организация обучения безопасности труда. Общие положения

3. ГОСТ 12.1.003-83 ССБТ. Шум. Общие требования безопасности

4. ГОСТ 12.1.005-88 ССБТ. Общие санитарно-гигиенические требования к воздуху рабочей зоны

5. ГОСТ 12.1.012-90 ССБТ. Вибрационная безопасность. Общие требования

6. ГОСТ 12.2.003-91 ССБТ. Оборудование производственное. Общие требования безопасности

7. ГОСТ 12.2.022-80 ССБТ. Конвейеры. Общие требования безопасности

8. ГОСТ 12.3.002-75 ССБТ. Процессы производственные. Общие требования безопасности

9. ГОСТ 12.3.003-86 ССБТ. Работы электросварочные. Требования безопасности

10. ГОСТ 12.3.009-76 ССБТ. Работы погрузочно-разгрузочные. Общие требования безопасности

11. ГОСТ 12.3.010-82 ССБТ. Тара производственная. Требования безопасности при эксплуатации

12. ГОСТ 12.3.020-80 ССБТ. Процессы перемещения грузов на предприятиях. Общие требования безопасности

13. ГОСТ 12.4.026-76 ССБТ. Цвета сигнальные и знаки безопасности

14. ГОСТ 9238-83 Габариты приближения строений и подвижного состава железных дорог колеи 1520 (1524) мм

15. ГОСТ 14192-77 Маркировка грузов

16. ГОСТ 19433-88* Грузы опасные. Классификация и маркировка

17. ГОСТ 19822-88 Тара производственная. Технические условия

18. ГОСТ 31120-83 ЕСТД. Общие правила отражения и оформления требований безопасности в технологической документации

19. ГОСТ 25546-82 Краны грузоподъемные. Режим работы

20. РД 10-33-93 Стропы грузовые общего назначения. Требования к устройству и безопасной эксплуатации

21. Правила устройства и безопасной эксплуатации грузоподъемных кранов (ПБ-10-14-92)

22. Правила устройства электроустановок (4-е издание)

23. Правила эксплуатации электроустановок потребителей (5-е издание)

24. Правила техники безопасности при эксплуатации электроустановок потребителей (4-е издание)

25. О промышленной безопасности опасных производственных объектов (Федеральный закон от 21.07.97 г. № 116-ФЗ)

26. О государственных нормативных требованиях по охране труда в Российской Федерации (постановление Совета Министров - Правительства Российской Федерации от 12.08.94 г. № 937)

27. Положение о порядке разработки и утверждения правил и инструкций по охране труда и Методические указания по разработке правил и инструкций по охране труда (постановление Минтруда России от 01.07.93 г. № 129)

28. Положение о порядке проверки знаний правил, норм и инструкций по безопасности у руководящих работников и специалистов предприятий организаций и объектов, подконтрольных Госгортехнадзору России (постановление Госгортехнадзора России от 19.05.93 г. № 11)

29. Типовое положение о порядке обучения и проверки знаний по охране труда руководителей и специалистов предприятий, учреждений и организаций (постановление Минтруда России от 12.10.94 г. № 65)

30. Правила дорожного движения Российской Федерации

31. Правила перевозки опасных грузов автомобильным транспортом (Минтранс России, 1995 г.)

32. Руководство по организации перевозок опасных грузов автомобильным транспортом (РД 3112199-0199-96)

33. Правила безопасности при перевозке грузов железнодорожным транспортом (постановление Госгортехнадзора России от 16.08.94 г. № 50)

34. Правила пожарной безопасности в Российской Федерации (ППБ-01-93)

35. Кодекс законов о труде Российской Федерации (с изменениями на 01.07.95 г.)

36. Список производств, цехов, профессий и должностей с вредными условиями труда, работа в которых дает право на дополнительный отпуск и сокращенный рабочий день (постановление Госкомтруда СССР, ВЦСПС от 25.10.74 г. № 298/П-22 с изменениями 1975 г.)

37. Инструкция о порядке применения Списка производств, цехов, профессий и должностей с вредными условиями труда, работа в которых дает право на дополнительный отпуск и сокращенный рабочий день (постановление Госкомтруда СССР, ВЦСПС от 25.11.75 г. № 369/П-16)

38. Типовые отраслевые нормы бесплатной выдачи специальной одежды, специальной обуви и других средств индивидуальной защиты (постановление Госкомтруда СССР и ВЦСПС от 24.05.83 г. № 100/П-9)

39. Инструкция о порядке обеспечения рабочих и служащих специальной одеждой, специальной обувью и другими средствами индивидуальной защиты (постановление Госкомтруда СССР от 24.05.83 г. № 100/П-9)

40. О проведении предварительных и периодических медицинских осмотров работников (приказ Минздрава России от 10.12.96 г. № 405)

41. О порядке проведения предварительных и периодических медицинских осмотров работников и медицинских регламентах допуска к профессии (приказ Минздравмедпрома России от 14.03.96 г. № 90)

42. Правила по охране труда при эксплуатации промышленного транспорта. Напольный безрельсовый колесный транспорт (ПОТ РМ-008-97)

43. Технические условия погрузки и крепления грузов (МПС СССР, с изменениями и дополнениями по состоянию на 1 января 1989 г.)

СОДЕРЖАНИЕ

1. Общие требования. 1

2. Требования к производственным (технологическим) процессам.. 10

3. Требования к местам производства погрузочно-разгрузочных работ. 18

4. Требования к производственному оборудованию и таре. 21

5. Требования к размещению производственного оборудования и организации рабочих мест. 27

6. Требования к способам хранения и транспортирования исходных материалов, заготовок, полуфабрикатов, готовой продукции и отходов производства (обрабатываемых грузов) 27

6.1. Общие требования. 28

6.2. Требования при транспортировании и размещении металлопроката. 30

6.3. Требования при транспортировании и размещении лесо- и пиломатериалов. 32

6.4. Требования при транспортировании и размещении сыпучих и мелкокусковых материалов. 39

6.5. Требования при транспортировании и размещении порошкообразных материалов. 40

6.6. Требования при транспортировании и размещении сборных железобетонных конструкций и мелкоштучных стеновых материалов. 42

6.7. Требования при транспортировании и размещении штучных тарно-штучных грузов. 44

6.8. Требования при транспортировании и складировании продукции растениеводства, плодоовощной и пищевой продукции. 46

6.9. Требования при транспортировании и складировании продукции на торговых складах, базах, холодильниках, в организациях розничной торговли и питания. 49

6.10. Требования при транспортировании и складировании нефтепродуктов. 52

6.11. Требования при транспортировании и размещении опасных грузов. 55

6.12. Требования при ручном перемещении грузов. 60

7. Режим труда и отдыха. 65

8. Требования к профессиональному отбору и проверке знаний Правил. 66

9. Требования к применению средств защиты.. 69

10. Ответственность за нарушение Правил. 71

Приложение 1 Порядок хранения и передачи ключ-марки на грузоподъемные краны и ключей от выходов на крановые пути. 71

Приложение 2 Рекомендуемая знаковая сигнализация при перемещении грузов кранами. 73

Приложение 3 Наряд-допуск на право выхода на крановые пути и проходные галереи мостовых и передвижных консольных кранов для производства ремонтных и других работ. 74

Приложение 4 Наряд-допуск на производство работ краном вблизи воздушной линии электропередачи. 75

Приложение 5 Акт сдачи-приемки кранового рельсового пути в эксплуатацию.. 76

Приложение 6 Схемы строповки нештабелируемых грузов. 77

Приложение 7 Схемы строповки штабелируемых грузов. 83

Приложение 8 Характеристика обрабатываемых грузов. 91

Приложение 9 Нормы браковки съемных грузозахватных приспособлений. 97

Приложение 10 Нормы браковки канатов грузоподъемных машин. 98

Приложение 11 Журнал учета и периодического осмотра съемных грузозахватных приспособлений (СГЗП) и тары.. 105

Приложение 12 Нормы и сроки испытаний ручных грузоподъемных механизмов и приспособлений. 105

Приложение 13 Предельные нормы браковки элементов грузоподъемных машин. 106

Приложение 14 Предельные величины отклонений рельсовых путей (в плане и профиле) от проектного положения. 106

Приложение 15 Предельные нормы браковки основных элементов рельсовых крановых путей. 107

Приложение 16 Минимально допустимые расстояния для установки грузоподъемных машин. 107

Приложение 17 Способы и параметры укладки грузов. 108

Приложение 18 Способы размещения и крепления грузов на открытом подвижном железнодорожном составе. 110

Приложение 19 Технологические карты на выгрузку грузов из полувагонов. 137

Приложение 20 Ручные транспортные средства. 141

Приложение 21 Климатическое районирование. 148

Приложение 22 Отличительная окраска газонаполненных баллонов. 148

Приложение 23 Перечень Нормативных правовых актов, на которые в тексте Правил сделаны ссылки. 149

 

 




ГОСТЫ, СТРОИТЕЛЬНЫЕ и ТЕХНИЧЕСКИЕ НОРМАТИВЫ.
Некоммерческая онлайн система, содержащая все Российские Госты, национальные Стандарты и нормативы.
В Системе содержится более 150000 файлов нормативно-технической документации, действующей на территории РФ.
Система предназначена для широкого круга инженерно-технических специалистов.

Рейтинг@Mail.ru Яндекс цитирования

Copyright © www.gostrf.com, 2008 - 2026