|
|
ЕДИНООБРАЗНЫЕ ПРЕДПИСАНИЯ, КАСАЮЩИЕСЯ СЕРТИФИКАЦИИ ТРАНСПОРТНЫХ СРЕДСТВ В ОТНОШЕНИИ УСТАНОВКИ УСТРОЙСТВ ОСВЕЩЕНИЯ И СВЕТОВОЙ СИГНАЛИЗАЦИИ Regulation № 48
Москва
СОДЕРЖАНИЕ ПредисловиеЗадачи, основные принципы и правила проведения работ по государственной стандартизации в Российской Федерации установлены ГОСТ Р 1.0-92 «Государственная система стандартизации Российской Федерации. Основные положения» и ГОСТ Р 1.2-92 «Государственная система стандартизации Российской Федерации. Порядок разработки государственных стандартов». Сведения о стандарте1. ПОДГОТОВЛЕН Всероссийским научно-исследовательским институтом стандартизации и сертификации в машиностроении (ВНИИНМАШ) на основе собственного аутентичного перевода Правил ЕЭК ООН, указанных в пункте 4 2. ВНЕСЕН Управлением стандартизации Госстандарта России 3. УТВЕРЖДЕН И
ВВЕДЕН В ДЕЙСТВИЕ Постановлением Госстандарта России от 13 января 4. Настоящий стандарт идентичен Правилам ЕЭК ООН № 48 (Пересмотр 2) «Единообразные предписания, касающиеся официального утверждения транспортных средств в отношении установки устройств освещения и световой сигнализации (Uniform provisions concerning the approval of vehicles with regard to the installation of lighting and light-signalling devices)» с поправками серии 02 5. ВЗАМЕН ГОСТ Р 41.48-99 6. ИЗДАНИЕ (август НАЦИОНАЛЬНЫЙ СТАНДАРТ РОССИЙСКОЙ ФЕДЕРАЦИИ
Дата введения - 2005-01-01 Настоящий стандарт вводит в действие Правила ЕЭК ООН № 48 с поправками серии 02. 1. Область примененияНастоящий стандарт
применяют при сертификации транспортных средств с кузовом или без кузова,
имеющих не менее четырех колес, максимальную расчетную скорость не менее Стандарт не распространяется на рельсовые транспортные средства, сельскохозяйственные и лесные тракторы и строительно-дорожные машины. 1а. Нормативные ссылкиВ настоящем стандарте использованы нормативные ссылки на следующие стандарты: ГОСТ Р 41.3-99 (Правила ЕЭК ООН № 3) Единообразные предписания, касающиеся официального утверждения светоотражающих приспособлений для механических транспортных средств и их прицепов ГОСТ Р 41.19-99 (Правила ЕЭК ООН № 19) Единообразные предписания, касающиеся официального утверждения противотуманных фар для автотранспортных средств ГОСТ Р 41.45-99 (Правила ЕЭК ООН № 45) Единообразные предписания, касающиеся официального утверждения устройств для очистки фар, а также официального утверждения механических транспортных средств в отношении устройств для очистки фар ГОСТ Р 41.97-99 (Правила ЕЭК ООН № 97) Единообразные предписания, касающиеся официального утверждения систем тревожной сигнализации транспортных средств (СТСТС) и механических транспортных средств в отношении их систем тревожной сигнализации (СТС) ГОСТ Р 41.98-99 (Правила ЕЭК ООН № 98) Единообразные предписания, касающиеся официального утверждения фар механических транспортных средств с газоразрядными источниками света ГОСТ Р 41.104-2002 (Правила ЕЭК ООН № 104) Единообразные предписания, касающиеся сертификации светоотражающей маркировки для транспортных средств большой длины и грузоподъемности ГОСТ Р 50460-92 Знак соответствия при обязательной сертификации. Форма, размеры и технические требования ГОСТ Р 52051-2003 Механические транспортные средства и прицепы. Классификация и определения Примечание - При пользовании настоящим стандартом целесообразно проверить действие ссылочных стандартов по указателю «Национальные стандарты», составленному по состоянию на 1 января текущего года, и по соответствующим информационным указателям, опубликованным в текущем году. Если ссылочный документ заменен (изменен), то при пользовании настоящим стандартом следует руководствоваться замененным (измененным) стандартом. Если ссылочный документ отменен без замены, то положение, в котором дана ссылка на него, применяется в части, не затрагивающей эту ссылку. 2. Термины и определенияВ настоящем стандарте применены следующие термины с соответствующими определениями: 2.1 сертификация типа транспортного средства: Процедура подтверждения соответствия типа транспортного средства требованиям нормативного документа в отношении числа устройств освещения и световой сигнализации, а также способа их установки 2.2 тип транспортного средства в отношении установки устройств освещения и световой сигнализации: Транспортные средства, не имеющие между собой различий в отношении существенных аспектов, упомянутых в 2.2.1 - 2.2.4. Транспортным средством другого типа не считают те из них, которые отличаются в отношении требований 2.2.1 - 2.2.4, но не настолько, чтобы это могло повлечь изменение вида, числа, размещения и геометрической видимости огней и наклона луча ближнего света, предусмотренных для транспортного средства данного типа, а также транспортные средства, на которых установлены или отсутствуют факультативные огни: 2.2.1 размеры и внешняя форма транспортного средства; 2.2.2 число и размещение устройств; 2.2.3 система регулирования фар; 2.2.4 система подвески. 2.3 поперечная плоскость: Вертикальная плоскость, перпендикулярная среднему продольному сечению транспортного средства. 2.4 снаряженное транспортное средство: Транспортное средство без водителя, экипажа, пассажиров и груза, но с полным запасом топлива, запасным колесом и штатным комплектом инструментов. 2.5 груженое транспортное средство: Транспортное средство, нагруженное до технически допустимой максимальной массы, указанной предприятием-изготовителем, которое устанавливает также распределение этой массы по осям в соответствии с методом, описанным в приложении Д. 2.6 устройство: Элемент или блок элементов, который выполняет одну или более функций. 2.7 огонь: Устройство, предназначенное для освещения дороги или подачи светового сигнала другим участникам дорожного движения. Фонари заднего номерного знака и светоотражающие устройства также рассматриваются в качестве огней. 2.7.1 источник света применительно к лампам накаливания: Сама нить накала. Если лампа имеет несколько нитей накала, каждая из них представляет собой отдельный источник света. 2.7.2 эквивалентные огни: Огни, выполняющие ту же функцию и разрешенные в стране, в которой зарегистрировано транспортное средство; эти огни по своим характеристикам могут отличаться от огней, установленных на транспортном средстве на дату его сертификации, при условии, что они удовлетворяют требованиям настоящего стандарта. 2.7.3 независимые огни: Устройства, имеющие отдельные освещающие поверхности*, источники света и корпуса. 2.7.4 сгруппированные огни: Устройства, имеющие отдельные освещающие поверхности *, источники света, но общий корпус. 2.7.5 комбинированные огни: Устройства, имеющие отдельные освещающие поверхности *, но общий источник света и корпус. * В случае устройств освещения заднего номерного знака и указателей поворота (категории 5 и 6), у которых нет освещающей поверхности, следует применять термин светоизлучающая поверхность. 2.7.6 совмещенные огни: Устройства, имеющие разные источники света или единый источник света, работающий в различных режимах (например, в различном оптическом, механическом или электрическом режиме), полностью или частично общие освещающие поверхности и общий корпус. 2.7.7 простой огонь: Часть устройства, которая выполняет одну функцию, связанную с освещением или световой сигнализацией. 2.7.8 укрываемый огонь: Огонь, который в нерабочем положении может быть частично или полностью укрыт. Это может быть обеспечено с помощью подвижного кожуха, за счет перемещения фары или любым другим подходящим способом. Термин «убирающийся» используют в случаях, когда речь идет о более конкретном способе укрытия огня, который можно за счет его перемещения полностью укрыть в кузове транспортного средства. 2.7.9 фара дальнего света: Огонь, предназначенный для освещения дороги на большом расстоянии спереди транспортного средства. 2.7.10 фара ближнего света: Огонь, предназначенный для освещения дороги спереди транспортного средства таким образом, чтобы не ослеплять чрезмерно и не причинять неудобства водителям встречных транспортных средств и другим участникам дорожного движения. 2.7.11 указатель поворота: Огонь, предназначенный для сигнализации другим участникам дорожного движения о намерении водителя свернуть вправо или влево. Указатель(и) поворота может (могут) также использоваться в соответствии с ГОСТ Р 41.97 и в качестве аварийной сигнализации. 2.7.12 сигнал торможения: Огонь, предназначенный для сигнализации другим участникам дорожного движения, находящимся сзади транспортного средства, о приведении в действие рабочего тормоза. Сигналы торможения могут включаться при приведении в действие замедлителя или другого аналогичного устройства. 2.7.13 фонарь освещения заднего номерного знака: Приспособление, которое служит для освещения места, предназначенного для заднего номерного знака, и которое может состоять из нескольких оптических элементов. 2.7.14 передний габаритный огонь: Огонь, предназначенный для обозначения габаритной ширины транспортного средства спереди. 2.7.15 задний габаритный огонь: Огонь, предназначенный для обозначения габаритной ширины транспортного средства сзади. 2.7.16 светоотражающее устройство: Устройство, предназначенное для сигнализации наличия транспортного средства посредством отражения света, излучаемого источником, не связанным с этим транспортным средством, для наблюдателя, находящегося вблизи этого источника света. Для целей настоящего стандарта светоотражающими устройствами не считают: 2.7.16.1 светоотражающие номерные знаки; 2.7.16.2 светоотражающие указатели, упоминаемые в ДОПОГ (Европейское соглашение о международной дорожной перевозке опасных грузов); 2.7.16.3 прочие светоотражающие таблички и знаки, которые должны использоваться в целях соответствия с национальными требованиями в отношении определенных категорий транспортных средств или определенных видов операций; 2.7.16.4 светоотражающая маркировка по ГОСТ Р 41.104. 2.7.17 аварийный сигнал: Одновременное включение всех указателей поворота в целях сигнализации об особой опасности, которую представляет в данный момент транспортное средство для других пользователей дороги. 2.7.18 противотуманная фара: Огонь, предназначенный для улучшения освещенности дороги в туман, снегопад, ливень или пылевую бурю. 2.7.19 задний противотуманный огонь: Огонь, предназначенный для улучшения видимости транспортного средства сзади в густом тумане. 2.7.20 задняя фара: Огонь, предназначенный для освещения дороги сзади транспортного средства и подачи предупреждающего сигнала другим пользователям дороги, когда транспортное средство движется задним ходом или приводится в состояние для такого движения. 2.7.21 стояночный огонь: Огонь, предназначенный для обозначения транспортного средства при его остановке в населенном пункте. В этих случаях он заменяет передние и задние габаритные огни. 2.7.22 контурный огонь: Огонь, смонтированный как можно выше у крайней точки габаритной ширины транспортного средства и предназначенный для точного указания его габаритной ширины. На некоторых автомобилях и прицепах этот огонь дополняет передние и задние габаритные огни, привлекая особое внимание к габаритам транспортного средства. 2.7.23 боковой габаритный огонь: Огонь, предназначенный для светового обозначения наличия* транспортного средства сбоку. 2.7.24 дневной ходовой огонь: Огонь, направленный вперед и используемый для обеспечения лучшей видимости транспортного средства при его движении в дневное время*. * Допускается использование других устройств, обеспечивающих эту функцию. 2.7.25 огонь подсветки поворота: Огонь для обеспечения дополнительного освещения той части дороги, которая находится вблизи переднего угла транспортного средства на стороне, в направлении которой транспортное средство поворачивает 2.8 светоизлучающая поверхность устройства освещения, устройства световой сигнализации или светоотражающего устройства: Вся или часть внешней поверхности прозрачного материала, показанная на рисунке В.1, который прилагается предприятием - изготовителем устройства к заявке на сертификацию (см. приложение В). 2.9 освещающая поверхность: См. приложение В. 2.9.1 освещающая поверхность светотехнического устройства (2.7.9, 2.7.10, 2.7.18, 2.7.20 и 2.7.25): Ортогональная проекция полной апертуры рефлектора, или в случае фар головного света с эллипсоидным рефлектором - ортогональная проекция проецирующей линзы на поперечную плоскость. Если светотехническое устройство не имеет рефлектора, то применяется определение 2.9.2. Если светоизлучающая поверхность огня распространяется только на часть полной апертуры рефлектора, то учитывается проекция только этой части. Для фары ближнего света освещающая поверхность ограничивается видимым следом линии среза на рассеивателе. Если отражатель и рассеиватель регулируются по отношению друг к другу, то следует использовать среднее положение регулировки. 2.9.2 освещающая поверхность устройства световой сигнализации, не являющегося светоотражающим устройством (2.7.11-2.7.15, 2.7.17, 2.7.19 и 2.7.21-2.7.24): Ортогональная проекция огня на плоскость, перпендикулярную к его исходной оси и соприкасающуюся с внешней светоизлучающей поверхностью огня, причем эта поверхность ограничивается краями экранов, пересекающих эту плоскость, каждый из которых позволяет сохранять внутри этой поверхности только 98 % общей силы света в направлении исходной оси. Для определения нижней, верхней и боковых границ освещающей поверхности используются лишь экраны с горизонтальными и вертикальными краями. 2.9.3 освещающая поверхность светоотражающего устройства (2.7.16): Ортогональная проекция светоотражающего устройства на плоскость, перпендикулярную к его исходной оси, ограничиваемая плоскостями, соприкасающимися с крайними частями оптической системы светоотражающего устройства и параллельными этой оси. Для целей определения нижнего, верхнего и боковых краев устройства используются лишь горизонтальные и вертикальные плоскости. 2.10 поверхность, видимая в определенном направлении наблюдения: Ортогональная проекция, подразумевающая, по заявке предприятия-изготовителя или его надлежащим образом уполномоченного представителя: - либо границы освещающей поверхности, проецируемой на внешнюю поверхность рассеивателя (а - b), - либо границы светоизлучающей поверхности (с - d) в плоскости, перпендикулярной к направлению наблюдения и касательной в крайней внешней точке рассеивателя (см. приложение В). 2.11 исходная ось: Характерная ось огня, определяемая предприятием-изготовителем огня, проходящая через фокусный центр фары с координатами (Н = 0°, V = 0°) и служащая исходной осью отсчета для углов геометрической видимости (рисунок В.1) при фотометрических измерениях и установке на транспортном средстве. 2.12 исходный центр: Точка пересечения исходной оси с наружным контуром светоизлучающей поверхности огня; эта точка указывается предприятием-изготовителем. 2.13 углы геометрической видимости: Углы, определяющие зону минимального телесного угла, в которой должна быть видна видимая поверхность огня. Эта зона определяется сегментами сферы, центр которой совпадает с исходным центром огня, а экватор параллелен грунту. Эти сегменты определяются в отношении к исходной оси. Горизонтальные углы β соответствуют долготе, а вертикальные углы α - широте. С внутренней стороны углов геометрической видимости не должно быть препятствий для распространения света из какой-либо части видимой поверхности огня, наблюдаемого из бесконечно удаленной точки. Если измерения проводят на более близком расстоянии от огня, то направление наблюдения должно быть смещено параллельно, чтобы добиться такой же точности. С внутренней стороны углов не учитывают те препятствия, которые уже существовали на дату сертификации огня по типу конструкции. Если при установленном
огне какая-либо часть его видимой поверхности закрыта другими частями
транспортного средства, то необходимо представить доказательства, что часть
огня, не закрытая препятствиями, по-прежнему соответствует фотометрическим
параметрам, предусмотренным для сертификации данного устройства в качестве
оптического элемента (см. приложение В). Однако в случаях, когда
вертикальный угол геометрической видимости ниже горизонтальной линии может быть
уменьшен до 5° (огонь, расположенный ниже 2.14 край габаритной ширины с каждой стороны транспортного средства: Плоскость, параллельная среднему продольному сечению транспортного средства, касательная к его боковой наружной поверхности, без учета проекций, образуемых: 2.14.1 шинами вблизи от точки их соприкосновения с землей и подсоединений указателей давления в шинах; 2.14.2 приспособлениями противоскольжения, которые могут быть установлены на колесах; 2.14.3 зеркалами заднего вида; 2.14.4 боковыми указателями поворота, контурными огнями, передними и задними габаритными огнями, стояночными огнями, светоотражающими устройствами и боковыми габаритными огнями; 2.14.5 пломбами, накладываемыми таможенными органами на транспортное средство, и приспособлениями для крепления и защиты этих пломб. 2.15 габаритная ширина: Расстояние между обеими вертикальными плоскостями, определенными в 2.14. 2.16 Рассматриваются: 2.16.1 как единый огонь: Устройство или часть устройства, которое выполняет одну функцию и имеет одну поверхность, видимую в направлении исходной оси (2.10, 2.11) и один или более источников света. В случае установки на транспортном средстве под «единым огнем» также подразумевают любой блок из двух независимых или сгруппированных огней, идентичных или неидентичных, которые выполняют одинаковую функцию, если они установлены таким образом, что проекции их поверхностей, видимых в направлении исходной оси, занимают не менее 60% наименьшего прямоугольника, описанного вокруг проекций вышеупомянутых поверхностей, видимых в направлении исходной оси. Если требуется сертификация, то в таком случае каждый из этих огней сертифицируется в качестве огня типа D. Эта возможная комбинация не относится к головным фарам дальнего света, ближнего света, передним противотуманным фарам к огням подсветки поворота; 2.16.2 как два или
большее четное число огней: Одна светоизлучающая поверхность, имеющая
форму полосы и расположенная симметрично по отношению к средней продольной
плоскости транспортного средства, на расстоянии не менее чем на 2.17 расстояние между двумя огнями, направленными в одну сторону: Наикратчайшее расстояние между двумя поверхностями, видимыми в направлении исходной оси. В случае, если расстояние между огнями явно соответствует требованиям настоящего стандарта, точные габариты видимых поверхностей определять не требуется. 2.18 контрольный сигнал функционирования: Визуальный или звуковой сигнал (или любой эквивалентный сигнал), указывающий на то, что устройство приведено в действие и правильно или неправильно функционирует. 2.19 контрольный сигнал включения: Визуальный (или любой эквивалентный) сигнал, указывающий на то, что устройство приведено в действие, но не информирующий о правильности или неправильности его функционирования. 2.20 факультативный огонь: Огонь, установка которого производится по усмотрению предприятия-изготовителя. 2.21 грунт: Поверхность, на которой расположено транспортное средство и которая должна быть близкой к горизонтальной. 2.22 подвижные компоненты транспортного средства: Панели кузова или другие части транспортного средства, положение которых можно изменять за счет наклона, поворота или перемещения без использования инструментов. В этой категории не учитывают откидные кабины грузовых автомобилей. 2.23 нормальные рабочие положения подвижного компонента: Положение(я) подвижного компонента, которое(ые) предусмотрено(ы) предприятием-изготовителем транспортного средства для нормального рабочего состояния и стоянки транспортного средства. 2.24 под нормальным рабочим положением транспортного средства подразумевают следующие состояния: 2.24.1 для автомобиля - когда транспортное средство готово к движению, его двигатель запущен, а подвижные компоненты находятся в нормальном(ых) положении(ях), предусмотренном(ых) в 2.23; 2.24.2 для прицепа - когда он соединен с тягачом в соответствии с требованиями 2.24.1, а подвижные компоненты находятся в нормальном(ых) положении(ях), предусмотренном(ых) в 2.23. 2.25 под стоянкой транспортного средства подразумевают следующие состояния: 2.25.1 для автомобиля - когда транспортное средство неподвижно, его двигатель не работает, а подвижные компоненты находятся в нормальном(ых) положении(ях), предусмотренном(ых) в 2.23; 2.25.2 для прицепа - когда он соединен с тягачом в соответствии с требованиями 2.25.1, а подвижные компоненты находятся в нормальном(ых) положении(ях), предусмотренном(ых) в 2.23. 2.26 подсветка поворотов: Светотехническая функция, предусматривающая улучшение освещенности дороги при поворотах транспортных средств. 3. Заявка на сертификацию3.1 Заявку на проведение сертификации типа транспортного средства в отношении установки устройств освещения и световой сигнализации представляет предприятие-изготовитель транспортного средства или его уполномоченный представитель. 3.2 К заявке должны быть приложены следующие документы в трех экземплярах: 3.2.1 описание типа транспортного средства с учетом требований 2.2.1 - 2.2.4. Должны быть указаны тип транспортного средства, а также ограничения на нагрузку и, в частности, максимальная допустимая загрузка багажника; 3.2.2 спецификация надлежащим образом идентифицированных элементов (название компонента, описание маркировки, обозначение предприятия-изготовителя и т. д.), из которых состоит система освещения и световой сигнализации. Этот перечень может содержать несколько типов устройств для каждой функции и, кроме того, по каждой функции в перечень может быть включено дополнительное указание: «или эквивалентные устройства»; 3.2.3 схема компоновки оборудования освещения и световой сигнализации в целом, на которой должно быть показано расположение различных устройств на транспортном средстве; 3.2.4 при необходимости для проверки соответствия требованиям настоящего стандарта к заявке прилагается(ются) схема(ы) компоновки для каждого отдельного огня с указанием освещающей поверхности (2.9), светоизлучающей поверхности (2.8), исходной оси (2.11) и исходного центра (2.12). Эта информация не является обязательной в случае фонаря заднего номерного знака (2.7.13). 3.2.5 В заявке указывается метод, используемый для определения видимой поверхности (2.10). 3.3 Для сертификации должно быть представлено одно транспортное средство в снаряженном состоянии с полным комплектом оборудования освещения и световой сигнализации в том виде, как оно описано в 3.2.2, представляющее тип транспортного средства, подлежащий сертификации. 3.4 К документации, предусмотренной для сертификации по типу конструкции, прилагается документ, приведенный в приложении А. 4. Предоставление сертификата соответствия типа транспортного средства4.1 Если тип транспортного средства, представленный на сертификацию в соответствии с настоящим стандартом, удовлетворяет требованиям разделов 5 и 6 в отношении всех устройств освещения и световой сигнализации, то данный тип транспортного средства считают сертифицированным. 4.2 Каждому сертифицированному типу транспортного средства выдают сертификат соответствия, в котором указывают обозначение настоящего стандарта и серию поправок, удовлетворяющих самым последним техническим изменениям, внесенным в настоящий стандарт на дату сертификации (в настоящее время это соответствует поправкам серии 02). С учетом положений раздела 7 номер этого сертификата не может быть присвоен транспортному средству другого типа или тому же типу, представленному с оборудованием, не указанным в 3.2.2. 4.3 Сертификат соответствия должен содержать информацию (в качестве приложения) по форме, приведенной в приложении А, представляемую предприятием, сделавшим заявку на сертификацию, и чертежи максимальным форматом А4 (210×297 мм) или кратным ему форматом в соответствующем масштабе. 4.4 На каждом транспортном средстве, соответствующем типу транспортного средства, сертифицированному на соответствие настоящему стандарту, должна быть проставлена на видном и легкодоступном месте, указанном в сертификате соответствия, маркировка, состоящая из: 4.4.1 знака соответствия по ГОСТ Р 50460; 4.4.2 обозначения настоящего стандарта. 4.5 Если транспортное средство соответствует типу транспортного средства, сертифицированному на основании других стандартов, дополнительные обозначения последних должны быть помещены в вертикальных колонках справа от знака соответствия. 4.6 Маркировку по 4.4 помещают рядом с табличкой, на которой приведены характеристики транспортного средства, или наносят на эту табличку. 4.7 Пример маркировки в соответствии с приложением Б. Все элементы маркировки должны быть четкими и нестираемыми. 5. Общие требования5.1 Устройства освещения и световой сигнализации должны быть установлены таким образом, чтобы в нормальном рабочем состоянии (см. 2.24, 2.24.1 и 2.24.2), несмотря на вибрацию, которой они могут подвергаться, сохранять характеристики, требуемые настоящим стандартом, а транспортное средство продолжало соответствовать требованиям настоящего стандарта. В частности, должна быть исключена возможность случайного нарушения регулировки этих огней. 5.2 Огни, описанные в 2.7.9, 2.7.10 и 2.7.18, должны быть установлены таким образом, чтобы можно было легко регулировать направления световых лучей. 5.3 Исходные оси всех установленных на транспортном средстве устройств световой сигнализации, в том числе расположенных на боковых панелях, должны быть параллельны опорной плоскости транспортного средства на дороге; кроме того, в случае боковых светоотражающих устройств и габаритных огней, эти оси должны быть перпендикулярны средней продольной плоскости транспортного средства, а в случае других устройств сигнализации - параллельны этой плоскости. В каждом направлении допускается отклонение ± 3°. Кроме того, в отношении установки должны соблюдаться конкретные технические условия, предусмотренные предприятием-изготовителем транспортного средства. 5.4 При отсутствии особых требований высоту и ориентировку огней проверяют на транспортном средстве в снаряженном состоянии, расположенном на плоской и горизонтальной поверхности, в условиях, определенных в 2.24, 2.24.1 и 2.24.2. 5.5 При отсутствии особых указаний огни одной и той же пары должны: 5.5.1 устанавливаться на транспортном средстве симметрично средней продольной плоскости (с учетом внешней геометрической формы огня, а не края его освещающей поверхности, о которой говорится в 2.9); 5.5.2 быть симметричными относительно друг друга по отношению к средней продольной плоскости; это требование не распространяется на внутреннюю конструкцию огня; 5.5.3 удовлетворять одним и тем же колориметрическим требованиям и 5.5.4 иметь практически одинаковые фотометрические характеристики. 5.6 На транспортных средствах с асимметричной внешней формой вышеописанные условия должны соблюдаться по мере возможности. 5.7 Огни могут быть сгруппированными, комбинированными или совмещенными, при условии, что выполняются все требования, которые установлены для каждого огня, в отношении цвета, размещения, направления, геометрической видимости и электрической схемы, а также все прочие требования, если таковые имеются. 5.8 Максимальную высоту над уровнем грунта измеряют от самой высокой точки, а минимальную высоту - от самой низкой точки видимой поверхности в направлении исходной оси. В случае фары ближнего света минимальную высоту над уровнем грунта измеряют от нижней точки эффективной выходной поверхности оптической системы (например, отражателя, рассеивателя, проекционного рассеивателя) независимо от ее использования. Когда (максимальная и минимальная) высота над уровнем грунта явно соответствует требованиям стандарта, точные габариты любой поверхности определять не требуется. Расположение огней по ширине определяют по тому краю поверхности, видимой в направлении исходной оси, который наиболее удален от средней поперечной плоскости транспортного средства, если речь идет об общей габаритной ширине, и по внутренним краям видимой поверхности в направлении исходной оси, если речь идет о расстоянии между огнями. Когда расположение по ширине явно соответствует требованиям стандарта, точные габариты любой поверхности определять не требуется. 5.9 При отсутствии особых указаний никакой огонь не должен быть мигающим, за исключением огней указателей поворотов, аварийного сигнала и боковых габаритных огней автожелтого цвета, соответствующих требованиям 5.11. 5.10 Никакой свет красного цвета, который может ввести в заблуждение других участников дорожного движения, не должен излучаться в направлении вперед огнем, соответствующим определению 2.7, и никакой свет белого цвета, который может ввести в заблуждение других участников дорожного движения, за исключением света от огня заднего хода, не должен излучаться в направлении назад огнем, соответствующим определению 2.7. В расчет не принимают устройства, устанавливаемые для внутреннего освещения транспортного средства. В случае сомнений соответствие данному требованию устанавливается следующим образом: 5.10.1 в отношении
видимости красного света в направлении вперед нужно, чтобы светоизлучающая
поверхность красного огня не была непосредственно видима для наблюдателя, перемещающегося
в зоне 1 поперечной плоскости на расстоянии 5.10.2 в отношении
видимости белого света в направлении назад нужно, чтобы светоизлучающая
поверхность белого огня не была непосредственно видима для наблюдателя,
перемещающегося в зоне 2 поперечной плоскости на расстоянии 5.10.3 в своих соответствующих плоскостях зоны 1 и 2, просматриваемые наблюдателем, ограничиваются: - по высоте - двумя
горизонтальными плоскостями соответственно на расстоянии - по ширине - двумя вертикальными плоскостями, образующими соответственно в направлениях вперед и назад наружный угол 15° (относительно плоскости, проходящей через середину транспортного средства) и проходящими через точку или точки контакта вертикальных плоскостей, параллельных средней продольной плоскости транспортного средства, и определяющие его габаритную ширину. При наличии нескольких точек контакта самая передняя определяет переднюю плоскость, а самая задняя - заднюю плоскость. 5.11 Функциональная электрическая схема должна быть такой, чтобы передние и задние габаритные огни, контурные огни (если имеются), боковые габаритные огни (если имеются) и фонарь заднего номерного знака могли включаться и выключаться только одновременно. Это условие не применяется при использовании передних и задних габаритных огней, а также боковых габаритных огней, когда они комбинируются или совмещаются с вышеуказанными огнями, в качестве стояночных огней, и когда разрешается использовать боковые габаритные огни в мигающем режиме. 5.12 Функциональная электрическая схема должна быть такой, чтобы фары дальнего и ближнего света и передние противотуманные фары могли быть включены только в том случае, если включены также огни, упоминаемые в 5.11. Однако это требование не применяют к фарам дальнего и ближнего света, когда излучение световых предупредительных сигналов производится за счет периодического или попеременного включения фар в течение коротких промежутков времени. 5.13 Световые контрольные сигналы Если настоящим стандартом предусматривается наличие контрольного сигнала включения, он может быть заменен контрольным сигналом функционирования. 5.14 Укрываемые огни 5.14.1 Укрываемые огни запрещаются, за исключением фар дальнего и ближнего света, а также передних противотуманных фар, которые могут быть укрыты в случаях, когда их не используют. 5.14.2 В случае любой неисправности, отражающейся на функционировании устройства (устройств) укрытия огней, фары должны оставаться в рабочем положении, если они уже находятся в нем, или должны приводиться в это положение без помощи инструментов. 5.14.3 Следует обеспечить возможность приведения фар в рабочее положение и их включения при помощи одного органа управления; вместе с тем это не должно исключать возможность приведения в это положение без их включения. Однако в случае сгруппированных фар дальнего и ближнего света наличие органа управления требуется только для включения фар ближнего света. 5.14.4 Необходимо предусмотреть, чтобы с сиденья водителя нельзя было по собственному усмотрению остановить движение включенных фар до приведения их в рабочее положение. Если есть опасность ослепления других пользователей дороги при перемещении фар, необходимо предусмотреть возможность включения фар только после установки их в рабочее положение. 5.14.5 При температуре устройства укрытия огней от минус 30°С до плюс 50°С должна быть обеспечена возможность установки фары в рабочее положение спустя 3 с после приведения в действие органа управления.
* Также называется белым или бесцветным светоотражающим устройством. 5.16 Число огней 5.16.1 Число огней, установленных на транспортном средстве, должно соответствовать предусмотренному в 6.1 - 6.19. 5.17 За исключением случаев, предусмотренных в 5.18, 5.19 и 5.21, огни могут устанавливаться на подвижных компонентах. 5.18 Задние габаритные фонари, указатели поворота и светоотражающие устройства треугольной и нетреугольной форм могут устанавливаться на подвижных компонентах только в случае, если огни, расположенные на подвижных компонентах, отвечают - при любых фиксированных положениях данных подвижных компонентов - всем требованиям, предъявляемым к огням сточки зрения размещения, геометрической видимости и фотометрических параметров. При обеспечении указанных функций с помощью блока, состоящего из двух огней типа D (2.16.1), вышеупомянутым требованиям должен отвечать только один из этих огней. 5.19 На транспортном средстве не должно быть подвижных компонентов, оснащенных или не оснащенных устройствами световой сигнализации, которые в каком-либо фиксированном положении закрывают, если смотреть в направлении исходной оси данного конкретного устройства, более 50% видимой поверхности передних и задних габаритных огней, указателей поворота и светоотражающих устройств. Если это неосуществимо, то: 5.19.1 в соответствии с приложением А должна быть информация о том, что более 50% видимой поверхности в направлении исходной оси может закрываться подвижными компонентами; 5.19.2 в случаях, предусмотренных 5.19.1, транспортное средство должно быть снабжено табличкой, указывающей его пользователю, что при определенном(ых) положении(ях) подвижных компонентов другие участники дорожного движения должны быть предупреждены о наличии транспортного средства на дороге, например с помощью предупреждающего треугольника или других устройств в соответствии с национальными предписаниями, регламентирующими их использование на дороге. 5.20 Когда подвижные компоненты находятся в положении, отличном от нормального рабочего положения, определенного в 2.23, установленные на них устройства не должны причинять излишнего неудобства участникам дорожного движения. 5.21 Когда огонь установлен на подвижном компоненте и последний находится в нормальном(ых) рабочем(их) положении(ях) (см. 2.23), огонь должен всегда возвращаться в положение(я), предусмотренное(ые) предприятием-изготовителем в соответствии с требованиями настоящего стандарта. Для фар ближнего света и передних противотуманных фар настоящее требование считают выполненным, если при 10-кратном перемещении подвижных компонентов и их возвращении в нормальное положение каждое из значений угла наклона этих фар по отношению к основанию, измеряемое после каждого перемещения подвижного компонента, отличается не более чем на 0,15% от среднеарифметического результатов 10 измерений. Если отклонение превышает это значение, то каждое предельное значение, предусмотренное в 6.2.6.1.1, изменяется на значение превышения с целью уменьшения допустимого диапазона наклона при проверке транспортного средства в соответствии с требованиями приложения Е. 5.22 За исключением светоотражающих устройств огонь, даже со знаком соответствия, считают не установленным, если его нельзя включить хотя бы посредством установки лампы накаливания. 5.23 Для безопасности движения допускается любая временная замена функций световой сигнализации заднего габаритного огня, если, в случае неисправности, используемая вместо нее функция аналогична отказавшей по параметрам цвета, интенсивности светового излучения и размещения и если используемое взамен устройство продолжает работать в соответствии со своей первоначальной функцией обеспечения безопасности. В процессе использования заменяющего устройства контрольный сигнал на приборной панели (2.18) должен указывать на временную замену и необходимость ремонта. 6. Технические требования6.1 Фара дальнего света 6.1.1 Установка Обязательна на автомобилях. Запрещена на прицепах. 6.1.2 Число Две или четыре. Если транспортное средство оснащено четырьмя укрываемыми фарами, то две дополнительные фары разрешается устанавливать только для световой сигнализации, заключающейся в эпизодическом включении фар на короткие промежутки времени (5.12) при дневном свете. 6.1.3 Схема монтажа Специальных предписаний нет. 6.1.4 Размещение; 6.1.4.1 По ширине - специальных предписаний нет. 6.1.4.2 По высоте - специальных предписаний нет. 6.1.4.3 По длине - спереди транспортного средства; устанавливают таким образом, чтобы излучаемый свет не мешал водителю ни непосредственно, ни косвенно за счет отражения зеркалами заднего вида и/или другими отражающими поверхностями транспортного средства. 6.1.5 Геометрическая видимость Видимость освещающей поверхности, в том числе ее видимость в зонах, кажущихся неосвещенными в рассматриваемом направлении наблюдения, должна обеспечиваться внутри расширяющегося пространства, ограниченного образующими, опирающимися на весь контур освещающей поверхности и составляющими с исходной осью фары угол не менее 5°. Основанием углов геометрической видимости служит периметр проекции освещающей поверхности на поперечную плоскость, касательную к крайней передней части фары. 6.1.6 Направление Вперед. Помимо устройств, необходимых для поддержания правильной регулировки, и при наличии двух пар фар, положение одной из них, в том числе фары, единственным назначением которых является обеспечение дальнего света, может изменяться в зависимости от угла поворота руля, причем поворот фар этой пары должен происходить вокруг оси, близкой к вертикальной. 6.1.7 Функциональная электрическая схема 6.1.7.1 Фары дальнего света могут включаться одновременно или попарно. При переключении ближнего света на дальний должна включаться, по крайней мере, одна пара фар дальнего света. При переключении дальнего света на ближний все фары дальнего света должны выключаться одновременно. (Поправка). 6.1.7.2 Фары ближнего света могут оставаться включенными одновременно с фарами дальнего света. 6.1.7.3 При наличии четырех укрываемых фар, приведенных в рабочее положение, возможность одновременного функционирования любых дополнительных фар, если они используются для обеспечения световых сигналов, представляющих собой периодическое включение огня через короткие промежутки времени (см. 5.12) при дневном свете, должна быть исключена. 6.1.8 Контрольный сигнал Контрольный сигнал включения является обязательным. 6.1.9 Прочие предписания 6.1.9.1 Максимальная сила света всех фар дальнего света, которые могут быть включены одновременно, не должна превышать 225000 кд, что соответствует контрольному значению, равному 75. 6.1.9.2 Эта максимальная сила света представляет собой сумму отдельных контрольных значений, которые указаны на каждой фаре. На каждой из фар с маркировкой R или CR проставляется контрольное значение 10 (30000 кд). 6.2 Фара ближнего света 6.2.1 Установка Обязательна на автомобилях. Запрещена на прицепах. 6.2.2 Число Две. 6.2.3 Схема монтажа Специальных предписаний нет. 6.2.4 Размещение 6.2.4.1 По ширине - край
поверхности, видимой в направлении исходной оси, который в наибольшей степени
удален от средней продольной плоскости транспортного средства, должен
находиться на расстоянии не более Расстояние между
внутренними краями поверхностей, видимых в направлении исходных осей должно
составлять не менее 6.2.4.2 По высоте - не
менее * Определение категорий приведено в соответствии с ГОСТ Р 52051. 6.2.4.3 По длине - в передней части транспортного средства. Устанавливается таким образом, чтобы излучаемый свет не мешал водителю ни непосредственно, ни косвенно за счет отражения зеркалами заднего вида и/или другими отражающими поверхностями транспортного средства. 6.2.5 Геометрическая видимость Определяется вертикальными α и горизонтальными β углами (2.13): α = 15° вверх и α =10° вниз, β = 45° наружу и β =10° внутрь. Поскольку фотометрические параметры, которым должны отвечать фары ближнего света, соблюдаются не во всех зонах геометрического поля обзора, для сертификации по типу конструкции необходимо, чтобы минимальная сила света в таких «остаточных» зонах составляла 1 кд. Наличие стенок или другого оборудования, расположенного вблизи фары, не должно давать побочного эффекта, причиняющего неудобства другим участникам дорожного движения. 6.2.6 Направление Вперед. 6.2.6.1 Направление по вертикали 6.2.6.1.1 Первоначальная направленность светотеневой границы фары ближнего света вниз в случае снаряженного транспортного средства с одним человеком на сиденье водителя должен устанавливаться предприятием-изготовителем с точностью до 0,1 % и указываться на каждом транспортном средстве рядом с фарами или табличкой предприятия-изготовителя в виде четкого нестираемого условного обозначения в соответствии с приложением Ж. Указанный наклон вниз определяется в соответствии с 6.2.6.1.2. (Поправка). 6.2.6.1.2 В зависимости от высоты h, м, на которой расположен нижний край видимой поверхности в направлении исходной оси фары ближнего света и которая измеряется на снаряженных транспортных средствах, вертикальный наклон светотеневой границы фары ближнего света при всех статических условиях, предусмотренных в приложении Д, должен оставаться в следующих пределах, а первоначальная направленность должна иметь следующие значения: h < 0,8; 0,8 < h < 1,0 - вертикальный наклон от минус 0,5% до минус 2,5% - первоначальная направленность от минус 1,0% до минус 1,5% или же по усмотрению предприятия-изготовителя: - вертикальный наклон от минус 1,0% до минус 3,0% - первоначальная направленность от минус 1,5% до минус 2,0% В этом случае в заявке на сертификацию транспортного средства по типу конструкции следует указывать, какой из приведенных двух альтернативных вариантов следует использовать. h < 1,0 - вертикальный наклон от минус 1,0% до минус 3,0% - первоначальная направленность от минус 1,5% до минус 2,0% Для транспортных средств
категории N3G, когда высота установки фар
составляет более 6.2.6.2 Устройство, регулирующее положение фары 6.2.6.2.1 В случае, когда для выполнения требований 6.2.6.1.1 и 6.2.6.1.2 необходимо устройство, регулирующее положение фары, это устройство должно быть автоматическим. 6.2.6.2.2 Однако ручные регулирующие устройства непрерывного или ступенчатого типа допускаются к установке, если в них предусмотрено фиксированное положение, из которого огни могут быть возвращены в положение первоначального наклона, указанное в 6.2.6.1.1, с помощью обычных регулировочных винтов или аналогичных средств. Ручные регулирующие устройства должны приводиться в действие с сиденья водителя. На регулирующих устройствах непрерывного типа должны быть нанесены контрольные метки, указывающие условия нагрузки, необходимые для регулирования ближнего света. Необходимо, чтобы число позиций на регулирующих устройствах ступенчатого типа обеспечивало значения во всем диапазоне, предусмотренном в 6.2.6.1.2, при всех условиях нагрузки в соответствии с приложением Д. На регулирующих устройствах рядом с органом управления также должны указываться условия нагрузки в соответствии с приложением Д, необходимые для регулирования фар ближнего света в соответствии с приложением И. 6.2.6.2.3 В случае поломки регулирующих устройств (6.2.6.2.1 и 6.2.6.2.2) фара ближнего света не должна возвращаться в более низкое положение по сравнению с первоначальным (т. е. до поломки). 6.2.6.3 Процедура измерения 6.2.6.3.1 После первоначальной установки наклон фары ближнего света по вертикали, выраженный в процентах, измеряют в статических условиях при всех нагрузках в соответствии с приложением Д.
6.2.6.3.2 Определение изменения наклона фары ближнего света в зависимости от нагрузки должно проводиться в соответствии с приложением Е. 6.2.6.4 Горизонтальная ориентация одной или обеих головных фар ближнего света может изменяться для обеспечения подсветки поворотов, при условии, если двигается весь луч или угол перелома линии среза угол перелома линии среза не должен пересекать траекторию движения центра тяжести транспортного средства спереди от транспортного средства на расстоянии больше, чем стократная величина высоты установки соответствующей фары ближнего света. 6.2.7 Функциональная электрическая схема Переключение на ближний свет должно вызывать одновременное выключение всех фар дальнего света. Огни ближнего света могут оставаться включенными одновременно с огнями дальнего света. При наличии фар ближнего света, соответствующих ГОСТ Р 41.98 на фары с газоразрядными источниками света, последние должны оставаться включенными во время включения головных фар дальнего света. Один дополнительный
источник света, расположенный внутри головной фары ближнего света или огня (за
исключением головной фары дальнего света), сгруппированного или совмещенного с
соответствующей головной фарой ближнего света, может быть использован для
обеспечения подсветки поворотов, при условии, что горизонтальный радиус
кривизны траектории центра тяжести транспортного средства не превышает Головные фары ближнего света могут включаться и выключаться автоматически при условии возможности включить и выключить эти фары вручную. 6.2.8 Контрольный сигнал Факультативный. В случаях, когда весь луч или угол перелома линии среза перемещается для обеспечения подсветки поворотов, штатный контрольный сигнал является обязательным; это должен быть мигающий световой сигнал, который загорается в случае неисправности функционирования устройства перемещения угла перелома линии среза. 6.2.9 Прочие предписания Требования 5.5.2 не применяют к головным фарам ближнего света. Применение головных фар ближнего света с газоразрядными источниками света допускаются только при условии одновременной установки устройства очистки фар в соответствии с ГОСТ Р 41.45*. Дополнительно, в отношении вертикального наклона, предписания 6.2.6.2.2 при установке этих фар не применяют. * В этом случае механические устройства очистки фар с рассеивателями из пластических материалов, маркированными PL, не должны применяться. Только головные фары ближнего света, соответствующие требованиям ГОСТ Р 41.98 и Правил ЕЭК ООН № 112 [1] могут быть использованы для обеспечения подсветки поворота. Если подсветка поворота осуществляется горизонтальным перемещением всего луча или угла перелома линии среза, она должна функционировать только в том случае, когда транспортное средство движется вперед. Это требование не применяют, когда подсветка поворотов осуществлена для правого поворота при правостороннем движении (левого поворота при левостороннем движении). 6.3 Передняя противотуманная фара 6.3.1 Установка Факультативна на автомобилях, запрещена на прицепах. 6.2.3 Число Две. 6.3.3 Схема монтажа Специальных предписаний нет. 6.3.4 Размещение 6.3.4.1 По ширине - та
точка поверхности, видимой в направлении исходной оси, которая в наибольшей
степени удалена от средней продольной плоскости транспортного средства, должна
находиться на расстоянии не более 6.3.4.2 По высоте - не
менее Для транспортных средств других категорий максимальная высота не ограничена. Однако ни одна из точек на поверхности, видимой в направлении исходной оси, не должна находиться выше наиболее высокой точки поверхности, видимой в направлении исходной оси, фары ближнего света. 6.3.4.3 По длине - спереди транспортного средства. Это условие считают выполненным, если излучаемый свет не мешает водителю ни непосредственно, ни косвенно за счет отражения зеркалами заднего вида и/или другими отражающими поверхностями транспортного средства. 6.3.5 Геометрическая видимость Определяется вертикальными α и горизонтальными β углами (2.13): α = 5° вверх и вниз, β = 45° наружу и β =10° внутрь. 6.3.6 Направление Ориентация передних противотуманных фар не должна меняться в зависимости от угла поворота руля. Фары должны быть направлены вперед, но при этом не ослеплять и не создавать излишнего неудобства водителям встречных транспортных средств и другим участникам дорожного движения. 6.3.7 Функциональная электрическая схема Должна обеспечивать возможность включения и выключения передних противотуманных фар независимо от фар дальнего света, ближнего света или любой их комбинации. 6.3.8 Контрольный сигнал Контрольный сигнал является обязательным. Выполняет функции независимого немигающего предупреждающего сигнала. 6.3.9 Прочие предписания Нет. 6.4 Фонарь заднего хода 6.4.1 Установка Обязательна на автомобилях, факультативен на прицепах. 6.4.2 Число Один или два на всех транспортных средствах. Дополнительная установка одной или двух белых противотуманных фар, сертифицированных на основании ГОСТ Р 41.19 для транспортных средств категорий N2, N3, M2, M3, О2, О3 и О4 факультативна. 6.4.3 Схема монтажа Специальных предписаний нет. 6.4.4 Размещение 6.4.4.1 По ширине - специальных предписаний нет. 6.4.4.2 По высоте - для
транспортных средств категории М1 и N1: специальных предписаний нет. Для транспортных средств других
категорий - не менее 6.4.4.3 По длине - сзади транспортного средства. 6.4.5 Геометрическая видимость Определяется вертикальными и горизонтальными углами (2.13): α = 15° вверх и α = 5° вниз, β = 45° вправо и влево, если установлен только один огонь, β = 45° наружу и β = 30° внутрь, если установлены два огня. В случае противотуманных фар, сертифицированных на соответствие ГОСТ Р 41.19: α = 5°вверх и вниз, β = 45° наружу и внутрь, если установлена только одна фара, β = 45° наружу и β = 10° внутрь, если установлены два огня. 6.4.6 Направление Противотуманные фары, сертифицированные на соответствие ГОСТ Р 41.19, должны быть направлены назад, не вызывать излишнего ослепления других участников дорожного движения и не причинять им излишних неудобств. 6.4.7 Функциональная электрическая схема 6.4.7.1 Включение заднего фонаря допускается только в случае, если включен орган управления для движения назад и если устройство, управляющее запуском или остановкой двигателя, находится в положении, при котором возможна работа двигателя. Фонарь не должен включаться или оставаться включенным в случаях, когда не выполняется какое-либо из указанных условий. (Поправка). 6.4.7.2В случае установки противотуманных фар, сертифицированных на основании ГОСТ Р 41.19, они должны включаться и отключаться раздельно при условии выполнения в то же время условий по 6.4.7.1. При невыполнении одного из условий 6.4.7.1 фонарь(и) должен(ны) отключаться и оставаться в отключенном состоянии до тех пор, пока не будет обеспечено соблюдение условий 6.4.7.1 и фонарь(и) не будет(ут) преднамеренно включен(ы) снова. 6.4.8 Контрольный сигнал Факультативный. 6.4.9 Прочие предписания Нет. 6.5 Указатель поворота 6.5.1 Установка (см. рисунок 2) Обязательна. Указатели поворота различного типа подразделяют на категории (1, 1а, 1b, 2а, 2b, 5 и 6), сочетание которых на транспортном средстве представляет определенную схему монтажа (А и В). 6.5.2 Число В зависимости от схемы монтажа. 6.5.3 Схемы монтажа (см. рисунок 3) Схема монтажа А Два передних указателя поворота следующих категорий: 1 или 1а, или lb - при расстоянии между
краем поверхности, видимой в направлении исходной оси этого огня, и краем
поверхности, видимой в направлении исходной оси фары ближнего света, и/или
передней противотуманной фары, если она установлена, не менее 1а или 1b - при расстоянии между краем
поверхности, видимой в направлении исходной оси этого огня, и краем
поверхности, видимой в направлении исходной оси фары ближнего света, и/или
передней противотуманной фары, если она установлена, более 1b - при расстоянии между краем
поверхности, видимой в направлении исходной оси этого огня, и краем поверхности,
видимой в направлении исходной оси фары ближнего света, и/или передней
противотуманной фары, если она установлена, не более Схема А
Схема В
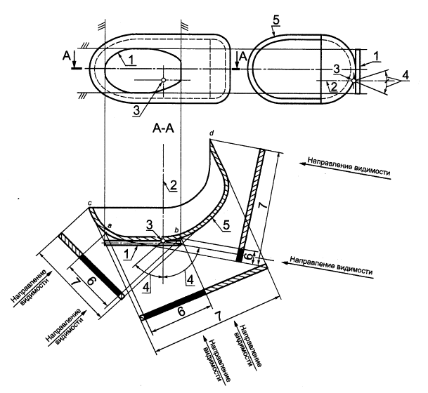
d ≤ 1 - указатели поворота категорий 1, 1а, 1b; 2 - указатели поворота категорий 2а, 2b: 3 - указатели поворота категорий 5, 6 Примечание - Значение 5° для «мертвого» угла видимости в направлении назад от бокового указателя поворота представляет собой верхний предел. Схема А применяется ко всем автомобилям. Схема В применяется только к прицепам. Рисунок 2 - Установка огней Два задних указателя поворота (категории 2а или 2b). Два факультативных огня (категории 2а или 2b) на всех транспортных средствах категорий М2, М3, N2, N3; два боковых указателя поворота (минимальные требования) следующих категорий: 5 - для всех транспортных
средств категории М1; для транспортных средств категории N1, М2,
М3 длиной не более 6 - для всех транспортных
средств категорий N2
и N3; для
транспортных средств категорий N1,
М2, М3 длиной свыше Во всех случаях допускается замена боковых указателей поворота категории 5 на категорию 6. Когда установлены огни, сочетающие функции передних указателей поворота (категории 1,1а, 1b) и боковых указателей поворота (категории 5 или 6), могут устанавливаться два дополнительных указателя поворота (категории 5 или 6) в целях выполнения требований в отношении видимости, содержащихся в 6.5.5. (Поправка). Схема монтажа В Два задних указателя поворота (категории 2а или 2b). Два факультативных огня (категории 2а или 2b) на всех транспортных средствах категорий O2, O3. O4. 6.5.4 Размещение 6.5.4.1 По
ширине - край поверхности, видимой в направлении исходной оси, который в наибольшей
степени удален от средней продольной плоскости транспортного средства, должен
находиться на расстоянии не более Это условие не применяют к факультативным огням. Расстояние между
внутренними краями обеих поверхностей, видимых в направлении исходной оси,
должно быть не менее Это расстояние может быть
уменьшено до 6.5.4.2 По высоте - над уровнем грунта. 6.5.4.2.1 Высота расположения светоизлучающей поверхности боковых указателей поворота категорий 5 или 6 должна быть: - не менее - не менее - не более 6.5.4.2.2 Высота
расположения указателей поворота категорий 1, 1а, 1b, 2а и 2b, измеряемая согласно с 6.8, должна
быть не менее 6.5.4.2.3 Если соблюдение
требований 6.5.4.2.1 и 6.5.4.2.2 представляется невозможным из-за конструкции
транспортного средства и факультативные огни не установлены, то высота
расположения указателей поворота может быть увеличена до 6.5.4.2.4 Если
факультативные огни установлены, то они должны находиться на высоте,
соответствующей применимым требованиям 6.5.4.1 (симметрия огней) и на как можно
большем расстоянии по вертикали, которое допускается контуром кузова, но не
менее 6.5.4.3 По длине - согласно рисунку 3. Расстояние между
светоизлучающей поверхностью бокового указателя поворота (категорий 5 и 6) и
поперечной плоскостью, которая ограничивает габаритную длину транспортного
средства, не должно превышать 6.5.5 Геометрическая видимость Определяется вертикальными а и горизонтальными р углами. 6.5.5.1 Горизонтальные углы β (см. рисунок 3) Вертикальные углы α = 15° вверх и вниз от горизонтали
для указателей поворота категорий 1,1а, 1b, 2а, 2b и 5. Угол вниз от горизонтали может быть
уменьшен до 5°, если высота расположения огней менее 6.5.5.2 Для транспортных средств категорий N1, и М1, геометрическая видимость - по усмотрению предприятия-изготовителя: передние и задние указатели поворота, а также боковые габаритные огни. Горизонтальные углы видимости (см. рисунок 3). Вертикальные углы α = 15° вверх и вниз от
горизонтали. Угол вниз от горизонтали может быть уменьшен до 5°, если высота
расположения огней менее Огонь считают видимым в случае, если он обеспечивает беспрепятственный обзор видимой поверхности площадью не менее 12,5 см2, за исключением огней боковых указателей поворота категорий 5 и 6. Площадь освещающей поверхности светоотражающего устройства, которая не пропускает свет, не учитывают. 6.5.6 Направление В соответствии с указаниями по монтажу, предусмотренными предприятием-изготовителем. 6.5.7 Функциональная электрическая схема Включение указателей поворота производится независимо от включения других огней. Все указатели поворота, расположенные на одной стороне транспортного средства, должны включаться и выключаться одним и тем же устройством и работать в одной фазе. На транспортных средствах
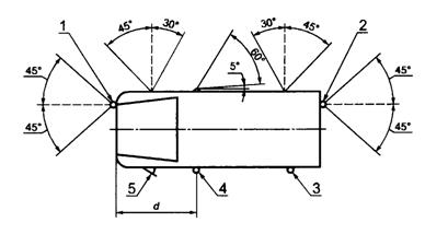
категорий N1
и М1 длиной менее
1 - передний указатель поворота; 2 - задний указатель поворота; 3 -задний боковой габаритный огонь автожелтого цвета; 4 - боковой указатель поворота; 5 - передний боковой габаритный огонь Примечание - Значение 5° для
«мертвого» угла видимости в направлении назад от бокового указателя поворота
представляет собой верхний предел d < Рисунок 3 - Схемы монтажа огней 6.5.8 Контрольный сигнал Контрольный сигнал функционирования является обязательным для передних и задних указателей поворота. Он может быть визуальным или визуально-звуковым. Если он является визуальным, то он должен быть мигающим и, в случае неисправности любого из передних или задних указателей поворота, должен отключаться или оставаться включенным и не мигать, или заметно менять установленную частоту мигания. Если он является визуально-звуковым, то он также должен быть отчетливо слышен и менять установленную частоту по крайней мере в случае неисправности любого из передних или задних указателей поворота. Если автомобиль оборудован как тягач для буксирования прицепа, то в случаях, когда с помощью контрольного сигнала на тягаче невозможно определить выход из строя любого из указателей поворота на данном составе транспортных средств (тягач-прицеп), на нем должен быть установлен специальный визуальный контрольный сигнал функционирования для указателей поворота, установленных на прицепе. Для факультативной пары указателей поворота на прицепах контрольный сигнал функционирования является необязательным. 6.5.9 Прочие предписания Контрольный сигнал должен функционировать в мигающем режиме с частотой (90 ± 30) миганий в минуту. Приведение в действие органа управления световым сигналом должно вызывать включение огня с задержкой не более 1 с и первое выключение огня с задержкой не более 1,5 с. В случае, если автомобиль оборудован как тягач для буксирования прицепа, орган управления указателями поворота на тягаче должен также обеспечивать приведение в действие указателей поворота прицепа. В случае неисправности (кроме короткого замыкания) одного указателя поворота другие должны продолжать мигать, однако в этих условиях частота мигания может отличаться от предписанной частоты. 6.6 Аварийный сигнал 6.6.1 Установка Обязательна. Сигнал функционирует в результате одновременной работы указателей поворота, соответствующих предписаниям 6.5. 6.6.2 Число Как указано в 6.5.2. 6.6.3 Схема монтажа Как указано в 6.5.3. 6.6.4 Размещение 6.6.4.1 По ширине - аналогично 6.5.4.1. 6.6.4.2 По высоте - аналогично 6.5.4.2. 6.6.4.3 По длине - аналогично 6.5.4.3. 6.6.5 Геометрическая видимость Как указано в 6.5.5. 6.6.6 Направление Как указано в 6.5.6. 6.6.7 Функциональная электрическая схема Включение сигнала должно производиться отдельным органом управления, обеспечивающим синхронное мигание всех указателей поворота. На транспортных средствах
категорий N1
и М1, длиной менее 6.6.8 Контрольный сигнал Контрольный сигнал включения является обязательным. Он представляет собой мигающий сигнал предупреждения, который может функционировать вместе с контрольным(и) сигналом(ами), указанным(и) в 6.5.8. 6.6.9 Прочие предписания Как указано в 6.5.9, если транспортному средству как тягачу разрешается буксировать прицеп, то при включении аварийного сигнала должны одновременно включаться указатели поворота прицепа. Аварийный сигнал должен продолжать функционировать даже в том случае, когда устройство управления пуском или остановкой двигателя находится в положении, исключающем работу двигателя. 6.7 Сигнал торможения 6.7.1 Установка Установка устройств категории S1 или S2 обязательна на транспортных средствах всех категорий. Установка устройств категории S3 обязательна на транспортных средствах категории М1; факультативна на автотранспортных средствах других категорий. 6.7.2 Число устройств Два устройства категорий S1, S2 и одно устройство категории S3 на транспортных средствах всех категорий. 6.7.2.1 За исключением случая, когда установлено устройство категории S3, два устройства категории S1 или S2 могут быть факультативно установлены на транспортных средствах категорий М2, М3, N2, N3, О2, О3 и О4. 6.7.2.2 В случае, когда продольная средняя плоскость транспортного средства не проходит через стационарную панель кузова, а разделяет одну или две подвижные части транспортного средства (например, двери), и нет достаточного пространства для установки одного устройства категории S3 на средней продольной плоскости над такими подвижными частями: - могут устанавливаться два устройства типа D категории S3 или - может устанавливаться одно устройство категории S3 слева или справа от средней продольной плоскости. 6.7.3 Схема монтажа Специальных предписаний нет. 6.7.4 Размещение 6.7.4.1 По ширине Для транспортных средств категорий N1 и М1: - для устройств категории
S1 или S2 точка
поверхности, видимой в направлении исходной оси, которая в наибольшей степени
удалена от средней продольной плоскости транспортного средства, должна
находиться на расстоянии не более - в отношении расстояний между внутренними краями поверхностей, видимых в направлении исходных осей, специальных предписаний нет. Для транспортных средств
других категорий в случае устройств категории S1, или S2 расстояние между
внутренними краями поверхностей, видимых в направлении исходных осей, должно
составлять не менее Для устройств категории S3 исходным центром считают точку, расположенную на средней продольной плоскости транспортного средства. Однако в случае установки в соответствии с 6.7.2 двух устройств категории S3 они должны находиться как можно ближе к средней продольной плоскости, по одному устройству с каждой стороны плоскости. В случае, если разрешена
установка огня категории S3,
смещенного по отношению к средней продольной плоскости в соответствии с 6.7.2,
это смещение, рассчитанное от средней продольной плоскости до исходного центра
огня, не должно превышать 6.7.4.2 По высоте 6.7.4.2.1 Для устройств
категорий S1
и S2 - на
расстоянии от 6.7.4.2.2 Для устройств категории S3 горизонтальная плоскость, касательная к нижнему краю видимой поверхности, должна находиться на расстоянии: - не более - не менее Однако горизонтальная плоскость, касательная к нижнему краю видимой поверхности устройств категории S3, должна проходить выше горизонтальной плоскости, касательной к верхнему краю видимой поверхности устройств категории S1 или S2. 6.7.4.3 По длине Для устройств категорий S1 и S2 - на задней части транспортного средства. Для устройств категории S3 специальных предписаний нет. 6.7.5 Геометрическая видимость Горизонтальный угол β влево и вправо от продольной оси транспортного средства составляет: 45° - для устройств категории S1 или S2; 10° - для устройств категории S3. Вертикальный угол α для устройств категории S1, или S2 составляет 15°
вверх и вниз от горизонтали. Однако угол вниз от горизонтали может быть
уменьшен до 5°, если высота расположения огня над уровнем грунта составляет
менее Для устройств категории S3 угол α равен 10° вверх и 5° вниз от горизонтали. 6.7.6 Направление Назад. 6.7.7 Функциональная электрическая схема Сигналы торможения должны зажигаться при приведении в действие рабочего тормоза. Сигналы торможения могут не зажигаться, если устройство включения и/или остановки двигателя находится в положении, исключающем работу двигателя. Сигналы торможения могут включаться при использовании замедлителя или аналогичного устройства. 6.7.8 Контрольный сигнал Контрольный сигнал является факультативным. Если его устанавливают, то он должен представлять собой контрольный сигнал включения в виде немигающего светового сигнала предупреждения, зажигающегося в случае неисправности сигналов торможения. 6.7.9 Прочие предписания 6.7.9.1 Совмещение устройства категории S3 с другими огнями не допускается. 6.7.9.2 Устройство категории S3 может устанавливаться снаружи или внутри транспортного средства. В случае его установки внутри транспортного средства излучаемый свет не должен создавать неудобств для водителя за счет отражения зеркалами заднего вида и/или другими поверхностями транспортного средства (например задним стеклом). 6.8 Фонарь освещения заднего номерного знака 6.8.1 Установка Обязательна. 6.8.2 Число устройств Достаточное для освещения места расположения номерного знака. 6.8.3 Схема монтажа Должна обеспечивать освещение места установки номерного знака. 6.8.4 Размещение 6.8.4.1 По ширине - должно обеспечивать освещение места установки номерного знака. 6.8.4.2 По высоте - должно обеспечивать освещение места установки номерного знака. 6.8.4.3 По длине - должно обеспечивать освещение места установки номерного знака. 6.8.5 Геометрическая видимость Должно быть обеспечено освещение места установки номерного знака. 6.8.6 Направление Должно обеспечивать освещение места установки номерного знака. 6.8.7 Функциональная электрическая схема В соответствии с 5.11. 6.8.8 Контрольный сигнал Контрольный сигнал является факультативным. Если он установлен, то его функции должны осуществляться контрольным сигналом, предусмотренным для передних и задних габаритных огней. 6.8.9 Прочие предписания В случае, если фонарь заднего номерного знака комбинируется с задним габаритным огнем, совмещенным с сигналом торможения или задней противотуманной фарой, фотометрические характеристики заднего номерного знака могут изменяться во время включения сигнала торможения или задней противотуманной фары. 6.9 Передний габаритный огонь 6.9.1 Установка Обязательна на всех
автомобилях и прицепах шириной более 6.9.2 Число Два. 6.9.3 Схема монтажа Специальных предписаний нет. 6.9.4 Размещение 6.9.4.1 По ширине - точка
поверхности, видимой в направлении исходной оси, которая в наибольшей степени
удалена от средней продольной плоскости транспортного средства, должна
находиться на расстоянии не более В случае прицепа - точка
поверхности, видимой в направлении исходной оси, которая в наибольшей степени
удалена от средней продольной плоскости транспортного средства, должна
находиться на расстоянии не более Расстояние между
внутренними краями обеих поверхностей, видимых в направлении исходной оси для
транспортных средств категорий N1
и М1, факультативно; для транспортных средств других категорий - не
менее 6.9.4.2 По высоте - на
расстоянии не менее 6.9.4.3 По длине - специальных предписаний нет. 6.9.4.4 В случаях, когда передний габаритный огонь совмещен с каким-либо другим огнем, для проверки выполнения требований в отношении размещения необходимо использовать поверхность, видимую в направлении исходной оси другого огня (6.9.4.1-6.9.4.3). 6.9.5 Геометрическая видимость 6.9.5.1 Горизонтальный угол β для обоих габаритных огней равен 45° внутрь и 80° наружу. Для прицепов угол внутрь может быть уменьшен до 5°. Вертикальный угол α равен 15° вверх и вниз от
горизонтали. Угол вниз от горизонтали может быть уменьшен до 5°, если высота
расположения огней над грунтом менее 6.9.5.2 Для транспортных средств категорий N1, и М1 в качестве альтернативы требованиям 6.9.5.1, по усмотрению предприятия-изготовителя или его полномочного представителя, и только в случае, если на транспортном средстве установлен передний боковой габаритный огонь: - горизонтальный угол β = 45° внутрь и наружу; - вертикальный угол α = 15° вверх и вниз от
горизонтали. Угол вниз от горизонтали может быть уменьшен до 5°, если высота
расположения огней над уровнем грунта менее Огонь считают видимым в случае, если он обеспечивает беспрепятственный обзор видимой поверхности площадью по крайней мере 12,5 см2. Площадь освещающей поверхности светоотражающего устройства, которая не пропускает свет, не учитывают 6.9.6 Направление Вперед. 6.9.7 Функциональная электрическая схема В соответствии с 5.11. 6.9.8 Контрольный сигнал Контрольный сигнал включения является обязательным. Сигнал должен быть немигающим; он не требуется, если устройство освещения приборного щитка может включаться только одновременно с передним габаритным огнем. 6.9.9 Прочие предписания Нет. 6.10 Задний габаритный огонь 6.10.1 Установка Обязательна. 6.10.2 Число Два. 6.10.2.1 За исключением случая, когда установлены контурные огни, на всех транспортных средствах категорий М2, М3, N2, N3, О2, О3 и О4 могут быть установлены два факультативных габаритных огня. 6.10.3 Схема монтажа Специальных предписаний нет. 6.10.4 Размещение 6.10.4.1 По ширине - точка
поверхности, видимой в направлении исходной оси, которая в наибольшей степени
удалена от средней продольной плоскости транспортного средства, должна
находиться на расстоянии не более Расстояние между
внутренними краями обеих видимых поверхностей в направлении исходной оси для
транспортных средств категорий N1,
и М1 факультативно, для транспортных средств других категорий - не
менее 6.10.4.2 По высоте: - над уровнем грунта - не
менее - не более 6.10.4.3 По длине - сзади транспортного средства. 6.10.5 Геометрическая видимость 6.10.5.1 Горизонтальный угол β равен 45° внутрь и 80° наружу. Вертикальный угол α = 15° вверх и вниз от
горизонтали. Угол вниз от горизонтали может быть уменьшен до 5°, если высота
расположения огней над грунтом составляет менее 6.10.5.2 Для транспортных средств категорий N1, и М1, в качестве альтернативы требованиям 6.10.5.1, по усмотрению предприятия-изготовителя или его полномочного представителя, и только в случае, если на транспортном средстве установлен задний боковой габаритный огонь: - горизонтальный угол β = 45° внутрь и 45° наружу; - вертикальный угол α = 15° вверх и вниз от
горизонтали. Угол вниз от горизонтали может быть уменьшен до 5°, если высота расположения
огней над уровнем грунта менее Огонь считают видимым в случае, если он обеспечивает беспрепятственный обзор видимой поверхности площадью по крайней мере 12,5 см2. Площадь освещающей поверхности любого светоотражающего устройства, которая не пропускает свет, не учитывают 6.10.6 Направление Назад. 6.10.7 Функциональная электрическая схема В соответствии с 5.11. 6.10.8 Контрольный сигнал Контрольный сигнал включения является обязательным. Он должен быть скомбинирован с контрольным сигналом включения передних и задних габаритных огней. 6.10.9 Прочие предписания Нет. 6.11 Задний противотуманный огонь 6.11.1 Установка Обязательна. 6.11.2 Число Один или два. 6.11.3 Схема монтажа Специальных предписаний нет. 6.11.4 Размещение 6.11.4.1 По ширине - если имеется только один задний противотуманный огонь, то он должен находиться с левой стороны от средней продольной плоскости транспортного средства, при этом исходный центр может быть расположен на средней продольной плоскости транспортного средства. 6.11.4.2 По высоте - не
менее Для транспортных средств
категории N3G (повышенной проходимости)
высота может быть увеличена до 6.11.4.3 По длине - сзади транспортного средства. 6.11.5 Геометрическая видимость Определяется углами α и β (см. 2.13). Вертикальный угол α = 5° вверх и вниз. Горизонтальный угол β = 25° вправо и влево. 6.11.6 Направление Назад. 6.11.7 Функциональная электрическая схема Должна быть такой, чтобы: 6.11.7.1 задний(е) противотуманный(е) огонь (огни) можно было включать только в случае, если включены фары дальнего и ближнего света или передние противотуманные фары; 6.11.7.2 задний(е) противотуманный(е) огонь (огни) можно было включать независимо от любого другого огня; 6.11.7.3 применялось одно из следующих положений: 6.11.7.3.1 задний(е) противотуманный(е) огонь (огни) может (могут) оставаться включенным(и) до тех пор, пока не выключены габаритные огни, после чего задний(е) противотуманный(е) огонь (огни) должен(ны) оставаться выключенным(и) до тех пор, пока он(и) не будет(ут) включены) еще раз; 6.11.7.3.2 если переключатель заднего противотуманного огня находится в положении «включено», то независимо от того, включены ли огни, упомянутые в 6.11.7.1, в случаях, когда выключено зажигание или вынут ключ зажигания и дверь водителя открыта, в дополнение к обязательному контрольному сигналу (6.11.8) должен подаваться как минимум звуковой сигнал предупреждения; 6.11.7.4 за исключением случаев, предусмотренных в 6.11.7.1 и 6.11.7.3, функционирование заднего(их) противотуманного(ых) огня(ей) не должно зависеть от включения или выключения любого другого огня. 6.11.8 Контрольный сигнал Контрольный сигнал включения является обязательным. Он представляет собой независимый и немигающий световой сигнал предупреждения. 6.11.9 Прочие предписания Во всех случаях
расстояние между задним противотуманным огнем и каждым сигналом торможения
должно быть не менее 6.12 Стояночный огонь 6.12.1 Установка Факультативна на
автомобилях длиной не более 6.12.2 Число В зависимости от схемы монтажа. 6.12.3 Схема монтажа Либо два огня спереди и два огня сзади, либо по одному огню с каждой стороны. 6.12.4 Размещение 6.12.4.1 По ширине -
наиболее удаленная от среднего продольного сечения транспортного средства точка
поверхности, видимой в направлении исходной оси, не должна находиться на
расстоянии более 6.12.4.2 По высоте: - для транспортных средств категорий N1 и М1 факультативна; - для транспортных
средств других категорий - на расстоянии не менее 6.12.4.3 По длине - специальных предписаний нет. 6.12.5 Геометрическая видимость Горизонтальный угол β = 45° наружу, вперед и назад. Вертикальный угол α = 15° вверх и вниз от горизонтали.
Однако угол вниз от горизонтали может быть уменьшен до 5°, если высота огня над
грунтом не превышает 6.12.6 Направление Должно быть таким, чтобы огни удовлетворяли условиям видимости спереди и сзади. 6.12.7 Функциональная электрическая схема Должна быть такой, чтобы стояночный(е) огонь (огни), расположенный(е) с одной и той же стороны транспортного средства, зажигался(ись) независимо от любого другого огня. Необходимо, чтобы стояночный(е) огонь (огни) мог (могли) функционировать даже в случае, если устройство включения и/или выключения двигателя находится в положении, исключающем возможность работы двигателя. 6.12.8 Контрольный сигнал Контрольный сигнал включения является факультативным. Необходимо, чтобы при наличии такого сигнала его нельзя было спутать с контрольным сигналом передних и задних габаритных огней. 6.12.9 Прочие предписания Работа этого огня может также обеспечиваться за счет одновременного включения передних и задних (боковых) габаритных огней на одной стороне транспортного средства. 6.13 Контурный огонь 6.13.1 Установка Обязательна на
транспортных средствах габаритной шириной более 6.13.2 Число По два видимых спереди и сзади. 6.13.3 Схема монтажа Специальных предписаний нет. 6.13.4 Размещение 6.13.4.1 По ширине -
спереди и сзади: как можно ближе к краю габаритной ширины транспортного
средства. Это условие считают выполненным в случае, когда точка поверхности,
видимой в направлении исходной оси, которая в наибольшей степени удалена от
средней продольной плоскости транспортного средства, находится на расстоянии не
более 6.13.4.2 По высоте: - спереди - для автомобилей, при этом горизонтальная плоскость, касательная к верхнему краю поверхности, видимой в направлении исходной оси устройства, не должна находиться ниже горизонтальной плоскости, касательной к верхнему краю прозрачной зоны ветрового стекла; - для прицепов и полуприцепов - на максимальной высоте, соответствующей требованиям, предъявляемым к габаритной ширине, конструкционным и эксплуатационным характеристикам транспортного средства и к симметричности огней; - сзади - на максимальной высоте, соответствующей требованиям, предъявляемым к габаритной ширине, конструкционным и эксплуатационным характеристикам транспортного средства и к симметричности огней. 6.13.4.3 По длине - специальных предписаний нет. 6.13.5 Геометрическая видимость Горизонтальный угол β = 80° наружу. Вертикальный угол α равен 5° вверх и 20° вниз от горизонтали. 6.13.6 Направление Должно быть таким, чтобы огни удовлетворяли условиям видимости спереди и сзади. 6.13.7 Функциональная электрическая схема В соответствии с 5.11. 6.13.8 Контрольный сигнал Контрольный сигнал включения является факультативным. Если он установлен, то его функции должны выполняться контрольным сигналом, предусмотренным для передних и задних габаритных огней. 6.13.9 Прочие предписания При условии соблюдения всех других требований видимые спереди и сзади огни с одной и той же стороны транспортного средства могут быть совмещены в одном устройстве. Положение контурного огня
по отношению к соответствующему габаритному огню должно быть таким, чтобы
расстояние между проекциями на поперечную вертикальную плоскость наиболее
близких друг к другу точек поверхностей, видимых в направлении соответствующих
исходных осей двух рассматриваемых огней, составляло не менее 6.14 Заднее светоотражающее устройство нетреугольной формы 6.14.1 Установка Обязательна на автомобилях. Факультативна на прицепах при условии, что эти светоотражающие устройства сгруппированы с другими задними устройствами световой сигнализации. 6.14.2 Число Два устройства, рабочие характеристики которых должны соответствовать требованиям для светоотражающих устройств класса IA или IB по ГОСТ Р 41.3. Дополнительные светоотражающие устройства и материалы разрешаются при условии, что они не снижают эффективности обязательных устройств освещения и световой сигнализации. 6.14.3 Схема монтажа Специальных предписаний нет. 6.14.4 Размещение 6.14.4.1 По ширине -
наиболее удаленная от среднего продольного сечения транспортного средства точка
освещающей поверхности должна находиться на расстоянии не более Расстояние между
внутренними краями двух поверхностей, видимых в направлении исходных осей, для
транспортных средств категорий N1
и М1 - факультативно, для транспортных средств других категорий - не
менее 6.14.4.2 По высоте - на
расстоянии от 250 до 6.14.4.3 По длине - на задней части транспортного средства. 6.14.5 Геометрическая видимость Горизонтальный угол β = 30° наружу и внутрь. Вертикальный угол α = 10° вверх и вниз от
горизонтали. Однако угол вниз от горизонтали может быть уменьшен до 5°, если
высота расположения светоотражающего устройства над поверхностью грунта не
превышает 6.14.6 Направление Назад. 6.14.7 Прочие предписания Освещающая поверхность светоотражающего устройства может иметь общие части с видимой поверхностью любого другого заднего огня. 6.15 Заднее светоотражающее устройство треугольной формы 6.15.1 Установка Обязательна на прицепах. Запрещена на автомобилях. 6.15.2 Число Два устройства, рабочие характеристики которых должны соответствовать требованиям для светоотражающих устройств класса IIIA по ГОСТ Р 41.3. Дополнительные светоотражающие устройства и материалы разрешаются при условии, что они не снижают эффективности обязательных устройств освещения и световой сигнализации. 6.15.3 Схема монтажа Вершина треугольника должна быть направлена вверх. 6.15.4 Размещение 6.15.4.1 По ширине -
наиболее удаленная от среднего продольного сечения транспортного средства точка
освещающей поверхности должна находиться на расстоянии не более Расстояние между
внутренними краями светоотражающих устройств - не менее 6.15.4.2 По высоте - на
расстоянии от 250 до 6.15.4.3 По длине - на задней части транспортного средства. 6.15.5 Геометрическая видимость Горизонтальный угол β = 30° наружу и внутрь. Вертикальный угол α
= 15° вверх и вниз от горизонтали. Однако угол вниз от горизонтали
может быть уменьшен до 5°, если высота расположения светоотражающего устройства
над поверхностью грунта не превышает 6.15.6 Направление Назад. 6.15.7 Прочие предписания Внутри треугольника не должно быть никаких огней. 6.16 Переднее светоотражающее устройство нетреугольной формы 6.16.1 Установка Обязательна на прицепах. Обязательна на транспортных средствах, на которых все обращенные вперед фары с отражателями являются убирающимися. Факультативна на других транспортных средствах. 6.16.2 Число Два устройства, рабочие характеристики которых должны соответствовать требованиям для светоотражающих устройств класса IA или IB по ГОСТ Р 41.3. Дополнительные светоотражающие устройства и материалы разрешаются при условии, что они не снижают эффективности обязательных устройств освещения и световой сигнализации. 6.16.3 Схема монтажа Специальных предписаний нет. 6.16.4 Размещение 6.16.4.1 По ширине -
наиболее удаленная от среднего продольного сечения транспортного средства точка
освещающей поверхности должна находиться на расстоянии не более Для прицепа точка
освещающей поверхности, наиболее удаленная от среднего продольного сечения
транспортного средства, должна находиться на расстоянии не более Расстояние между
внутренними краями светоотражающих устройств - не менее 6.16.4.2 По высоте - на
расстоянии от 250 до 6.16.4.3 По длине - на передней части транспортного средства. 6.16.5 Геометрическая видимость Горизонтальный угол β = 30° наружу и внутрь. Для прицепов угол внутрь может быть уменьшен до 10°. Если из-за конструкции прицепа этот угол не может быть обеспечен с помощью обязательных светоотражающих устройств, то устанавливают дублирующие (дополнительные) светоотражающие устройства без ограничения по ширине (6.16.4.1), которые вместе с обязательными светоотражающими устройствами обеспечивают необходимый угол видимости. Вертикальный угол α = 10° вверх и вниз от
горизонтали. Однако угол вниз от горизонтали может быть уменьшен до 5°, если
высота расположения светоотражающего устройства над поверхностью грунта не
превышает 6.16.6 Направление Вперед. Не более чем одна головная фара дальнего света на каждой стороне транспортного средства может быть поворотной для подсветки поворотов. 6.16.7 Прочие предписания Освещающая поверхность светоотражающего устройства может иметь общие части с видимой поверхностью любого другого переднего огня. 6.17 Боковое светоотражающее устройство нетреугольной формы 6.17.1 Установка Обязательна на
автомобилях длиной более 6.17.2 Число Число светоотражающих устройств должно быть таким, чтобы выполнялись требования в отношении размещения по длине. Характеристики этих светоотражающих устройств должны соответствовать требованиям для светоотражающих устройств класса IA или IB по ГОСТ Р 41.3. Дополнительные светоотражающие устройства и материалы разрешаются при условии, что они не снижают эффективности обязательных устройств освещения и световой сигнализации. 6.17.3 Схема монтажа Специальных предписаний нет. 6.17.4 Размещение 6.17.4.1 По ширине - специальных предписаний нет. 6.17.4.2 По высоте - на
расстоянии от 250 до 6.17.4.3 По длине - по
крайней мере одно светоотражающее устройство должно быть установлено на средней
трети транспортного средства, причем крайнее спереди боковое светоотражающее
устройство должно находиться на расстоянии не более Расстояние между двумя
смежными боковыми светоотражающими устройствами не должно превышать Если это требование
невозможно выполнить из-за конструкции транспортного средства, то расстояние
может быть увеличено до Расстояние между крайним
задним боковым светоотражающим устройствам и задней оконечностью транспортного
средства не должно превышать На автомобилях длиной не
более 6.17.5 Геометрическая видимость Горизонтальный угол β = 45° вперед и назад. Вертикальный угол α = 10° вверх и вниз от
горизонтали. Угол вниз от горизонтали может быть уменьшен до 5°, если высота
расположения светоотражающего устройства над поверхностью грунта не превышает 6.17.6 Направление В сторону. 6.17.7 Прочие предписания Освещающая поверхность бокового светоотражающего устройства может иметь общие части с видимой поверхностью любого другого бокового огня. 6.18 Боковые габаритные огни 6.18.1 Установка Обязательна на
транспортных средствах длиной более Боковой габаритный огонь типа SM1, должен использоваться на транспортных средствах всех категорий; боковые габаритные огни типа SM2 могут использоваться на транспортных средствах категории M1. Кроме того, на
транспортных средствах категорий N1 и М1 длиной не более Факультативна на других транспортных средствах. Могут использоваться боковые габаритные огни типа SM1 или SM2. 6.18.2 Минимальное число огней с одной стороны транспортного средства Такое, чтобы выполнялись правила размещения огней по длине транспортного средства. 6.18.3 Схема монтажа Специальных предписаний нет. 6.18.4 Размещение 6.18.4.1 По ширине - специальных предписаний нет. 6.18.4.2 По высоте - на
расстоянии от 250 до 6.18.4.3 По длине - по
крайней мере один боковой габаритный огонь должен быть установлен на средней
трети транспортного средства, причем крайний спереди боковой габаритный огонь
должен находиться на расстоянии не более Расстояние между двумя
смежными боковыми габаритными огнями не должно превышать Расстояние между крайним
сзади боковым габаритным огнем и задней оконечностью транспортного средства не
должно превышать 6.18.5 Геометрическая видимость Горизонтальный угол β = 45° вперед и назад. Для транспортных средств, на которых установка боковых габаритных огней является факультативной, это значение может быть уменьшено до 30°. В случае, если транспортное средство оборудовано боковыми габаритными огнями, используемыми для компенсации ограниченной геометрической видимости огней передних и задних указателей поворота в соответствии с 6.5.5.2 и/или габаритных огней согласно с 6.9.5.2 и 6.10.5.2, углы равны 45° в сторону передней и задней части транспортного средства и 30° - к центру транспортного средства (см. рисунок 3). Вертикальный угол α - 10° вверх и вниз от горизонтали.
Угол вниз от горизонтали может быть уменьшен до 5°, если высота расположения
светоотражающего устройства над поверхностью грунта не превышает 6.18.6 Направление В сторону. 6.18.7 Функциональная электрическая схема На транспортных средствах
категорий N1
и М1 длиной менее Для транспортных средств других категорий специальных предписаний нет. 6.18.8 Контрольный сигнал Контрольный сигнал является факультативным. Если он устанавливается, то его функции должны выполняться контрольным сигналом, предусмотренным для передних и задних габаритных огней. 6.18.9 Прочие предписания В случае, если крайний сзади боковой габаритный огонь комбинируется с задним габаритным огнем, совмещенным с задней противотуманной фарой или сигналом торможения, фотометрические характеристики бокового габаритного огня при включенной задней противотуманной фаре или сигнале торможения могут изменяться. Задние габаритные огни должны быть автожелтого цвета, если они работают в одном режиме с задним огнем указателя поворота. 6.19 Дневной ходовой огонь 6.19.1 Установка Факультативна на автомобилях. Запрещена на прицепах. 6.19.2 Число Два. 6.19.3 Схема монтажа Специальных предписаний нет. 6.19.4 Размещение 6.19.4.1 По ширине -
точка поверхности, видимой в направлении исходной оси, наиболее удаленная от средней
продольной плоскости транспортного средства, должна находиться на расстоянии не
более Расстояние между
внутренними краями двух видимых поверхностей должно быть не менее 6.19.4.2 По высоте - на
расстоянии от 250 до 6.19.4.3 По длине - на передней части транспортного средства. Это требование считают выполненным, если излучаемый свет не мешает водителю непосредственно или косвенно в результате отражения зеркалами заднего вида и/или другими отражающими поверхностями транспортного средства. 6.19.5 Геометрическая видимость Горизонтальный угол β = 20° наружу и внутрь. Вертикальный угол α = 10° вверх и вниз от горизонтали. 6.19.6 Направление Вперед. 6.19.7 Функциональная электрическая схема В случае их установки дневные ходовые огни должны включаться автоматически, когда приведен в положение «включено» орган управления запуском/остановом двигателя. Должна быть обеспечена возможность приведения в действие и отключения функционирования автоматического включения дневных ходовых огней без помощи инструмента. Дневные ходовые огни должны выключаться автоматически, когда включаются головные фары, за исключением тех случаев, когда головные фары включаются на короткий промежуток времени для сигнализации участникам движения. 6.19.8 Контрольный сигнал Факультативен в виде замкнутого контура. 6.19.9 Прочие предписания Нет. 6.20 Огонь подсветки поворота 6.20.1 Установка Факультативно на механических транспортных средствах. 6.20.2 Число Два. 6.20.3 Схема монтажа Специальные требования отсутствуют 6.20.4 Размещение 6.20.4.1 По ширине -
точка поверхности огня, видимой в направлении исходной оси, наиболее удаленная
от средней продольной плоскости, должна находиться на расстоянии не более 6.20.4.2 По высоте - от
250 до При этом ни одна точка поверхности огня, видимой в направлении исходной оси, не должна быть выше, чем наиболее высокая точка поверхности головной фары ближнего света, видимой в направлении исходной оси. 6.20.4.3 По длине - на
расстоянии не более 6.20.5 Геометрическая видимость Определяется углами α и β, как указано в 3.13. Вертикальный угол α = 10° вверх и вниз. Горизонтальный угол β = 30°-60° наружу. 6.20.6 Направление Таким образом, чтобы огни удовлетворяли условиям геометрической видимости. 6.20.7 Функциональная электрическая схема Огни подсветки поворота должны быть подключены таким образом, чтобы их нельзя было включить при выключенных головных фарах дальнего или ближнего света. Огни подсветки поворота на одной стороне транспортного средства могут включаться автоматически только в том случае, когда включают указатель поворота на этой же стороне транспортного средства и/или когда угол поворота рулевого колеса отклоняется от положения прямолинейного движения в ту же сторону. Огни подсветки поворота могут выключаться автоматически только в том случае, когда выключают указатель поворота и/или когда рулевое колесо возвращается в положение прямолинейного движения. 6.20.8 Контрольный сигнал Не требуется. 6.20.9 Прочие предписания Огни подсветки поворота
не могут быть приведены в действие при скорости транспортного средства более 7. Изменение типа транспортного средства или установки устройств освещения и световой сигнализации7.1 Любое изменение типа транспортного средства или установки его устройств освещения и световой сигнализации или любое изменение в описании, упомянутом в 2.2.2, доводят до сведения Органа по сертификации, который предоставил сертификат соответствия типа данному типу транспортного средства. Этот орган может: 7.1.1 либо прийти к заключению, что внесенные изменения не будут иметь значительного отрицательного влияния и данное транспортное средство продолжает соответствовать требованиям настоящего стандарта; 7.12 либо потребовать дополнительный протокол испытательной лаборатории, уполномоченной проводить испытания. 8. Соответствие производства8.1 Каждое транспортное средство, сертифицированное на основании настоящего стандарта, должно быть изготовлено таким образом, чтобы оно соответствовало сертифицированному типу, удовлетворяя требованиям разделов 5 и 6. 8.2 Владелец сертификата соответствия должен, в частности: 8.2.1 обеспечить наличие процедур эффективного контроля качества транспортного средства в отношении соблюдения требований разделов 5 и 6; 8.2.2 обеспечить, чтобы для транспортных средств каждого типа осуществлялись испытания в соответствии с приложением К или такой контроль, который позволяет получить равноценные данные с целью обеспечить соответствие всех выпускаемых транспортных средств спецификациям, определенным для транспортного средства каждого типа, получившего сертификат соответствия. 8.3 Орган по сертификации, предоставивший сертификат соответствия типа транспортного средства, может проводить любые испытания, предусмотренные в настоящем стандарте. Эти испытания проводят на произвольной выборке без нарушения графика предприятия-изготовителя по отгрузке продукции. 8.4 Орган по сертификации должен, как правило, проводить одну проверку в год. Однако этот вопрос решается по усмотрению органа по сертификации и в зависимости от того, насколько он уверен в эффективности процедур контроля за соответствием производства. Если в ходе проверки и контроля выявлены неудовлетворительные результаты испытаний, орган по сертификации должен обеспечить принятие всех необходимых мер для скорейшего восстановления соответствия производства. 9. Меры, принимаемые при выявлении несоответствия производства9.1 Сертификат соответствия типа транспортного средства, предоставленный на основании настоящего стандарта, может быть отменен, если не соблюдаются требования по 8.1 или если транспортное средство, на которое нанесена маркировка по 4.4, не выдержало проверок по 8.2. 9.2 Отмену сертификата соответствия типа транспортного средства проводят согласно «Порядку проведения сертификации продукции в Российской Федерации»*. * Принят Постановлением Госстандарта России от 21
сентября 10. Окончательное прекращение производства Если владелец сертификата соответствия, предоставленного на основании настоящего стандарта, полностью прекращает производство транспортного средства, сертифицированного в отношении установки устройств освещения и световой сигнализации, он должен информировать об этом орган, предоставивший сертификат соответствия. По получении этого сообщения орган по сертификации направляет в Государственный реестр копию сертификата соответствия, на которой внизу крупными буквами делает отметку «ПРОИЗВОДСТВО ПРЕКРАЩЕНО» и проставляет подпись и дату. Приложение
А
|
||||||||||||||||||||||||||||||||||||||||||||||||||||||||||||||||||||||||||||||||||||||||||||||||||||||||||||||||||||||||||||||||||||||||||||||||||||||||||||
|
1 Тип транспортного средства |
|
|
|
2 Типы (тип) устройств(а) освещения и световой сигнализации, номер сертификата соответствия |
|
|
|
3 Краткое описание устройств освещения и световой сигнализации, установленных на транспортном средстве |
|
|
|
3.1 Фары дальнего света: |
да/нет* |
|
|
3.2 Фары ближнего света: |
да/нет* |
|
|
3.3 Передние противотуманные фары |
да/нет* |
|
|
3.4 Фонарь заднего хода |
да/нет* |
|
|
3.5 Передние указатели поворота |
да/нет* |
|
|
3.6 Задние указатели поворота |
да/нет* |
|
|
3.7 Боковые указатели поворота |
да/нет* |
|
|
3.8 Аварийный сигнал |
да/нет* |
|
|
3.9 Сигнал торможения |
да/нет* |
|
|
3.10 Фонарь заднего номерного знака |
да/нет* |
|
|
3.11 Передние габаритные огни |
да/нет* |
|
|
3.12 Задние габаритные огни |
да/нет* |
|
|
3.13 Задние противотуманные огни |
да/нет* |
|
|
3.14 Стояночные огни |
да/нет* |
|
|
3.15 Контурные огни |
да/нет* |
|
|
3.16 Задние светоотражающие устройства нетреугольной формы |
да/нет* |
|
|
3.17 Задние светоотражающие устройства треугольной формы |
да/нет* |
|
|
3.18 Передние светоотражающие устройства нетреугольной формы |
да/нет* |
|
|
3.19 Боковые светоотражающие устройства нетреугольной формы |
да/нет* |
|
|
3.20 Боковые габаритные огни |
да/нет* |
|
|
3.21 Дневные ходовые огни |
да/нет* |
|
|
3.22 Огни подсветки |
да/нет* |
|
|
3.23 Эквивалентные огни |
да/нет* |
|
|
3.24 Максимально допустимая масса, размещаемая в багажнике, кг |
|
|
|
4 Замечания |
|
|
|
4.1 Любые замечания в отношении подвижных компонентов |
|
|
|
4.2 Метод, используемый для определения видимой поверхности |
граница освещающей поверхности/светоизлучающая поверхность* |
|
|
* Ненужное зачеркнуть |
||
|
Руководитель органа подпись |
___________________________________ |
|
|
инициалы, фамилия |
||
|
Эксперт подпись |
___________________________________ |
|
|
инициалы, фамилия |
||
* Номер сертификата соответствия по Госреестру, присвоенный согласно Постановлению Госстандарта России от 24.10.2000 № 71.
Маркировка включает в себя знак соответствия по ГОСТ Р 50460 с обозначением стандарта, на соответствие которому предоставлен сертификат соответствия.
Схемы маркировки представлены на рисунках Б.1 и Б.2.

Рисунок Б. 1
Приведенная маркировка указывает, что тип транспортного средства был сертифицирован на соответствие требованиям ГОСТ Р 41.48 (Правила ЕЭК ООН № 48 с поправками серии 02).

Рисунок Б.2
Маркировка, приведенная на рисунке Б.2, проставленная на транспортном средстве, указывает, что этот тип транспортного средства сертифицирован на соответствие ГОСТ Р 41.48 (Правила ЕЭК ООН № 48 с поправками серии 02) в отношении устройств освещения и световой сигнализации и на соответствие ГОСТ Р 41.45 ** (Правила ЕЭК ООН № 45 с поправками серии 01) в отношении устройств для очистки фар.
* При получении официального утверждения на соответствие Правилам ЕЭК ООН маркировка осуществляется знаком официального утверждения по приложению 2 к Правилам ЕЭК ООН № 48.
** Ссылка на ГОСТ Р 41.45 приведена в качестве примера.

1 - освещающая поверхность; 2 - исходная ось; 3 - исходный центр; 4 - угол геометрической видимости; 5 - светоизлучающая поверхность; 6 - видимая освещающая поверхность; 7 - видимая светоизлучающая поверхность
Примечание - Видимая поверхность должна рассматриваться как касательная к светоизлучающей поверхности
Освещающая поверхность (2.9) в сравнении со светоизлучающей поверхностью (2.8)
Поверхность А

Поверхность Б

1 - исходная ось; 2 - поверхность рассеивателя (для удобства изображена плоской); 3 - проекция
Рисунок В.2
|
Край |
Освещающая поверхность |
Светоизлучающая поверхность |
|
Поверхность А |
а и b |
с и d |
|
Поверхность В |
а и b |
c и d |

Рисунок Г.1 - Видимость красного огня в направлении вперед (6.10.1)

Рисунок Г.2 - Видимость белого огня в направлении назад (6.10.2)
Условия нагрузки на оси, упоминаемые в 6.2.6.1 и 7.2.6.3.1.
Д.1 Массу пассажиров и
водителя при проведении испытаний принимают из расчета
Д.2 Условия нагрузки для транспортных средств различных категорий
Д.2.1 Транспортные средства категории М1
Д.2.1.1 Угол наклона луча ближнего света должен определяться при следующих условиях нагрузки:
Д.2.1.1.1 водитель;
Д.2.1.1.2 водитель и один пассажир на переднем сиденье, наиболее удаленном от водителя;
Д.2.1.1.3 водитель, один пассажир на переднем сиденье, наиболее удаленном от водителя, и все наиболее удаленные задние сиденья заняты;
Д.2.1.1.4 все сиденья заняты;
Д.2.1.1.5 все сиденья заняты, а груз равномерно распределен в багажнике таким образом, чтобы достигалась допустимая нагрузка на заднюю или переднюю ось, если багажник расположен спереди. Если на транспортном средстве имеются передний и задний багажники, то дополнительный груз должен распределяться таким образом, чтобы достигалась допустимая нагрузка на оси. Если максимально допустимая масса в груженом состоянии достигнута раньше, чем допустимая нагрузка на одну из осей, то загрузка багажника(ов) должна ограничиваться значением, позволяющим достичь этой массы;
Д.2.1.1.6 водитель плюс груз, равномерно распределенный в багажнике таким образом, чтобы достигалась допустимая нагрузка на соответствующую ось.
Если максимально допустимая масса в груженом состоянии достигнута раньше, чем допустимая нагрузка на одну из осей, то загрузка багажника(ов) должна ограничиваться значением, позволяющим достичь этой массы.
Д.2.1.2 При определении указанных условий нагрузки необходимо учитывать все ограничения, предусмотренные предприятием-изготовителем в отношении нагрузки.
Д.2.2 Транспортные средства категорий М2 и М3
Угол наклона луча ближнего света должен определяться при следующих условиях нагрузки:
Д.2.2.1 снаряженное транспортное средство и водитель;
Д.2.2.2 транспортные средства, загруженные до достижения максимальной технически допустимой нагрузки на каждую ось или максимально допустимой массы транспортного средства за счет загрузки передних и задних осей пропорционально предусмотренной для них максимальной технически допустимой нагрузки в зависимости от того, какая из этих нагрузок достигается сначала.
Д.2.3 Транспортные средства категории N1 имеющие загрузочное пространство
Д.2.3.1 Угол наклона луча ближнего света должен определяться при следующих условиях нагрузки:
Д.2.3.1.1 снаряженное транспортное средство и водитель;
Д.2.3.1.2 водитель плюс груз, равномерно распределенный таким образом, чтобы достигалась максимальная технически допустимая нагрузка на заднюю ось или задние оси либо максимально допустимая масса транспортного средства, в зависимости от того, какая из этих нагрузок достигается сначала, без превышения нагрузки на переднюю ось, рассчитываемой как сумма нагрузки на переднюю ось, в случае порожнего транспортного средства, плюс 25% максимальной допустимой нагрузки на переднюю ось. Если загрузочное пространство находится спереди, аналогичным образом рассматривают переднюю ось.
Д.2.4 Транспортные средства категории N1, без загрузочного пространства
Д.2.4.1 Тягачи для полуприцепов:
Д.2.4.1.1 снаряженное транспортное средство без нагрузки на прицепное устройство и водитель;
Д.2.4.1.2 водитель - технически допустимая нагрузка на прицепное устройство, которое находится в положении, соответствующем наибольшей нагрузке на заднюю ось.
Д.2.4.2 Тягачи для прицепов:
Д.2.4.2.1 снаряженное транспортное средство и водитель;
Д.2.4.2.2 водитель, при этом все другие места в кабине водителя заняты.
Е.1 Область применения
В настоящем приложении описывается метод измерения отклонений угла наклона луча ближнего света на транспортном средстве по отношению к его первоначальному наклону, обусловленных изменением положения транспортного средства под действием нагрузки.
Е.2 Определения
Е.2.1 Первоначальный наклон
Е.2.1.1 установленный первоначальный наклон: Угол первоначального наклона луча ближнего света, указанный предприятием - изготовителем транспортного средства, служащий исходным значением для расчета допустимых отклонений.
Е.2.1.2 измеренный первоначальный наклон: Среднее значение угла наклона луча ближнего света или наклона транспортного средства, измеряемое на транспортном средстве в положении № 1, определенном в приложении Д для испытуемой категории транспортного средства. Оно служит в качестве исходного значения для оценки отклонения угла наклона светового луча по мере изменения нагрузки.
Е.2.2 Наклон луча ближнего света
Может быть определен следующим образом:
- в миллирадианах между направлением луча в сторону характеристической точки на горизонтальной части линии светотеневой границы распределения света фары и горизонтальной плоскостью;
- как тангенс угла, выраженный в процентах наклона (для малых углов 1% равен 10 мрад). Если наклон выражается в процентах, то он может быть рассчитан по формуле
(Е.1)
где h1 - высота вышеупомянутой характеристической точки над уровнем грунта, измеряемая на вертикальном экране, перпендикулярном средней продольной плоскости транспортного средства и расположенном на расстоянии L по горизонтали, мм;
h2 - высота исходного центра (за который принимают номинальное положение характеристической точки, определяемой высотой h1) над уровнем грунта, мм;
- отрицательные значения - наклон вниз (рисунок Е.1),
- положительные значения - наклон вверх;
L - расстояние от экрана до исходного центра, мм.

Рисунок Е.1 - Наклон луча ближнего света вниз на транспортном средстве категории М1
Примечания
1 Метод измерения может быть применен к транспортным средствам других категорий.
2 В случае, если транспортное средство не оснащено системой регулирования фар, отклонения угла наклона луча ближнего света идентичны отклонениям угла наклона транспортного средства.
Е.3 Условия проведения измерений
Е.3.1 Если наклон луча
ближнего света определяется визуально по распределению света на экране или с
помощью фотометрического метода, то измерения должны проводиться в темноте
(например, в темном помещении) и на площадке, позволяющей расположить
транспортное средство и экран, как показано на рисунке Е.1. Расстояние между
исходными центрами фар и экраном должно составлять по меньшей мере
Е.3.2 Площадка, на которой проводят измерения, должна быть максимально ровной и горизонтальной, чтобы воспроизводимость результатов измерений наклона луча ближнего света обеспечивалась с точностью ± 0,5 мрад (± 0,05%).
(Поправка).
Е.3.3 Если используют экран, то его разметка, местоположение и направленность по отношению к площадке и средней продольной плоскости транспортного средства должны быть такими, чтобы воспроизводимость результатов измерений наклона луча ближнего света обеспечивалась с точностью ± 0,5 мрад (± 0,05 %).
Е.3.4 Окружающая температура во время измерений должна быть в пределах 10°С - 30°С.
Е.4 Подготовка транспортного средства
Е.4.1 Измерения должны
проводиться на транспортном средстве с пробегом 1000 -
Е.4.2 Шины должны быть накачаны до давления, соответствующего полной нагрузке и предусмотренного предприятием-изготовителем транспортного средства. Транспортное средство должно быть полностью заправлено (топливом, водой, маслом) и оснащено всеми вспомогательными принадлежностями и инструментами, предусмотренными предприятием-изготовителем. Полная заправка топливом подразумевает, что топливный бак должен быть наполнен не менее чем на 90%.
Е.4.3 Стояночный тормоз на транспортном средстве должен быть отпущен, а коробка передач должна находиться в нейтральном положении.
Е.4.4 В течение не менее 8 ч транспортное средство должно находиться при температуре, предусмотренной в Е.3.4 настоящего приложения.
Е.4.5 Если используют фотометрический или визуальный метод, то в целях упрощения измерений на испытуемом транспортном средстве предпочтительно устанавливать фары с хорошо различимой светотеневой границей распределения ближнего света. Для получения более точных данных разрешается использовать и другие средства (например, снимать рассеиватель фары).
Е.5 Процедура испытаний
Е.5.1 Общие положения
Отклонения угла наклона луча ближнего света или транспортного средства, определяемые в зависимости от выбранного метода, должны измеряться отдельно на каждой стороне транспортного средства. Результаты, полученные для левой и правой фар при всех условиях нагрузки, предусмотренных в приложении Д, должны находиться в пределах, установленных в Е.5.5. Нагрузку следует увеличивать постепенно, не подвергая транспортное средство резким ударам.
Е.5.2 Определение фактического первоначального наклона
Транспортное средство должно быть подготовлено согласно разделу Е.4 и загружено согласно требованиям приложения Д (первое условие нагрузки для транспортного средства соответствующей категории).
Перед проведением каждого измерения транспортное средство должно раскачиваться по схеме, предусмотренной в Е.5.4.
Измерения следует проводить три раза.
Е.5.2.1 Если ни один из результатов трех измерений не отличается более чем на 2 мрад (0,2%) от среднеарифметического всех результатов, то данное среднеарифметическое значение принимают за окончательный результат.
Е.5.2.2 Если какой-либо результат измерения отличается от среднеарифметического всех результатов более чем на 2 мрад (0,2%), то проводят еще 10 измерений, среднеарифметическое значение которых принимают за окончательный результат.
Е.5.3 Методы измерения
Для измерения отклонений угла наклона может использоваться любой метод при условии, что результаты измерений обеспечиваются с точностью ± 2 мрад (± 0,2%).
Е.5.4 Испытание транспортного средства в зависимости от условий нагрузки
Подвеска и любая другая часть транспортного средства, которая может повлиять на наклон луча ближнего света, должны быть приведены в действие в соответствии с методами, описанными ниже.
Однако испытательные лаборатории и предприятия-изготовители могут совместно предложить другие методы (экспериментальные или расчетные), в частности в тех случаях, когда испытания вызывают особые проблемы, и при условии, что такие расчеты должным образом обоснованы.
Е.5.4.1 Транспортные средства категории M1 с обычной подвеской
Транспортное средство, установленное на испытательной площадке, при необходимости, колесами на плавающие платформы (которые должны использоваться в случае, если при их отсутствии будет ограничиваться движение подвески, что может отразиться на результатах измерений), непрерывно раскачивают по меньшей мере в течение трех полных циклов, при этом в каждом цикле сначала нагружают заднюю, а потом на переднюю оконечность транспортного средства.
Цикл раскачки заканчивается с завершением воздействия на транспортное средство. Прежде чем проводить измерения, необходимо выждать, чтобы транспортное средство само остановилось. Помимо плавающих платформ такого же эффекта можно добиться за счет перемещения транспортного средства взад и вперед по крайней мере до полного оборота колес.
Е.5.4.2 Транспортные средства категорий М2, М3 и N с обычной подвеской
Е.5.4.2.1 Если метод испытания, предусмотренный в Е.5.4.1 для транспортных средств категории М1, применить нельзя, то можно использовать метод, изложенный в Е.5.4.2.2 или Е.5.4.2.3.
Е.5.4.2.2 Транспортное средство, установленное на испытательной площадке колесами на грунт, раскачивают за счет периодического изменения нагрузки.
Е.5.4.2.3 Подвеска и все другие части транспортного средства, установленного на испытательной площадке колесами на грунт, которые могут повлиять на наклон луча ближнего света, приводят в действие с помощью вибрационной установки. В качестве таковой может использоваться вибрационная платформа, на которую опираются колеса.
Е.5.4.3 Транспортные средства с нетрадиционной подвеской, когда требуется завести двигатель
Прежде чем проводить измерения, следует выждать, пока транспортное средство не займет стабильное положение при работающем двигателе.
Е.5.5 Измерения
Отклонения угла наклона луча ближнего света должны определяться для каждого случая нагрузки по отношению к фактическому первоначальному наклону, определяемому согласно Е.5.2.
Если транспортное средство оснащено ручной системой регулирования фар, то она должна устанавливаться в положение, предусмотренное предприятием-изготовителем для данных условий нагрузки (в соответствии с приложением Д).
Е.5.5.1 При каждом условии нагрузки должно проводиться одно измерение. Требования считают выполненными в случае, если отклонение угла наклона лучей для всех условий нагрузки остаются в расчетных пределах (например, в пределах разницы между указанным первоначальным наклоном и нижними и верхними значениями, предусмотренными для сертификации) с допуском 4 мрад (0,4 %).
Е.5.5.2 Если результат(ы) измерения(й) выходит(ят) за пределы допуска, указанного в Е.5.5.1, или превышает(ют) предельные значения, то необходимо провести еще три измерения согласно Е.5.5.3 при тех условиях нагрузки, которые соответствуют этому (этим) результату(ам),
Е.5.5.3 Для каждого из вышеуказанных условий нагрузки:
- если ни один из результатов трех измерений не отличается более чем на 2 мрад (0,2%) от среднеарифметического всех результатов, данное среднеарифметическое принимают за окончательный результат;
- если какой-либо результат измерения отличается от среднеарифметического всех результатов более чем на 2 мрад (0,2 %), проводят еще 10 измерений, среднеарифметическое значение которых принимают за окончательный результат;
- если транспортное средство оснащено автоматической системой регулирования фар, для которых характерна петля гистерезиса, в качестве значимых значений принимают среднеарифметическое значение результатов измерений на верхней и нижней точках петли гистерезиса.
Все эти измерения должны проводиться в соответствии с Е.5.5.3.1 и Е.5.5.3.2.
Е.5.5.4 Требования считают выполненными, если разница между первоначальным наклоном, измеренным в соответствии с Е.5.2, и наклоном, измеренным при каждом условии нагрузки, меньше значений, рассчитанных согласно Е.5.5.1 (без учета допусков).
Е.5.5.5 В случае превышения только одного из расчетных верхних или нижних пределов отклонений предприятию-изготовителю разрешается выбрать в пределах, предусмотренных для сертификации, другое значение первоначального наклона.

Рисунок Ж. 1 - Пример условного обозначения фары
Примечание - Размер условного обозначения и знаков выбирает предприятие-изготовитель.
(Поправка).
И.1 Предписания
И.1.1 Наклон луча ближнего света вниз должен во всех случаях обеспечиваться с помощью одной из следующих операций:
a) перемещением органа управления вниз или влево;
b) вращением органа управления против часовой стрелки;
c) нажатием кнопки (реверсивный орган управления).
Если для регулирования света используют несколько кнопок, та из них, с помощью которой обеспечивается наибольший наклон вниз, должна быть установлена слева или снизу от кнопки(ок), соответствующей(их) другим положениям фары ближнего света.
Вращающийся орган управления, у которого видна вся шкала регулирования или только ее край, должен действовать по принципу, предусмотренному для органов управления, приведенных выше в перечислениях а) или с)
И.1.1.1 На органе управления с помощью условных обозначений должны четко указываться движения, соответствующие наклону луча ближнего света вниз и вверх.
И.1.2 Положение «О» соответствует первоначальному наклону согласно 6.2.6.1.1.
И.1.3 Положение «О», которое согласно 6.2.6.2.2, должно представлять собой фиксированное положение, не обязательно должно быть крайним.
И.1.4 Обозначения, указанные на органе управления, должны разъясняться в инструкции по эксплуатации.
И.1.5 Для идентификации органов управления могут использоваться только следующие условные обозначения:

Рисунок И.1

Рисунок И.2
Примечание - Допускается в условном обозначении фары ближнего света пять черточек.
К.1 Испытания
К.1.1 Размещение огней
Размещение огней, определение которых дается в 2.7 настоящего стандарта, по ширине, высоте и длине должно проверяться в соответствии с требованиями 2.8 - 2.10, 2.14 и 5.4 настоящего стандарта.
Измеренные расстояния должны быть такими, чтобы выполнялись особые требования, предусмотренные для каждого огня.
К.1.2 Видимость огней
Углы геометрической видимости должны проверяться в соответствии с 2.13 настоящего стандарта.
Измеренные углы должны быть такими, чтобы выполнялись особые требования, предъявляемые к каждому огню, с учетом допускаемого отклонения ± 3°, предусмотренного в 5.3 настоящего стандарта в отношении установки устройств световой сигнализации.
К.1.2.2 Видимость красного огня в направлении вперед и белого огня направлении назад должна проверяться в соответствии с 5.10 настоящего стандарта.
К.1.3 Регулирование фар ближнего света в направлении вперед
К. 1.3.1 Первоначальный наклон вниз
Первоначальный наклон светотеневой границы распределения ближнего света вниз должен устанавливаться на уровне, указанном на рисунке Ж.1.
Кроме того, предприятие-изготовитель может установить первоначальный наклон на уровне, отличном от указанного на рисунке Ж.1, если оно аргументирует, что этот наклон является репрезентативным для данного сертифицированного типа при проведении испытаний в соответствии с приложением Е (в частности Е.6.4.1).
К.1.3.2 Изменение наклона в зависимости от нагрузки
Отклонения угла наклона луча ближнего света вниз в зависимости от условий нагрузки, предусмотренных ниже в К.1.3.2.1-К.1.3.2.4, должны оставаться в следующих пределах:
0,2 % - 2,8 % при высоте
установки фары h <
0,2 % - 2,8 % при высоте
установки фары 0,8 < h
<
1,2 % - 3,8 % при высоте
установки фары h
>
В соответствии с приложением Д для каждой системы, отрегулированной надлежащим образом, используемые нагрузки должны быть следующими.
К.1.3.2.1 Транспортные средства категории М1 - согласно Д.2.1.1.1 и Д.2.2.1.6 с учетом Д.2.1.2.
К.1.3.2.2 Транспортные средства категорий М2 и М3 - согласно Д.2.2.1 и Д.2.2.2.
К.1.3.2.3 Транспортные средства категории N, имеющие загрузочное пространство, - согласно Д.2.3.1.1 и Д.2.3.1.2.
К.1.3.2.4 Транспортные средства категории N, не имеющие загрузочного пространства, тягачи для прицепов - согласно Д.2.4.2.1 и Д.2.4.2.2.
К.1.4 Функциональная электрическая схема и контрольные сигналы
Функциональная электрическая схема должна проверяться путем включения каждого из огней, источником питания для которых является электрическая система транспортного средства.
Огни и контрольные сигналы должны функционировать в соответствии 6.11 - 6.13 настоящего стандарта и в соответствии со специальными предписаниями, установленными для каждого огня.
К.1.5 Сила света
К. 1.5.1 Фары дальнего света
Максимальная сила света всех фар дальнего света должна проверяться в соответствии с 6.1.9.2 настоящего стандарта. Полученное значение должно быть таким, чтобы выполнялись требования 6.1.9.1 настоящего стандарта.
К.1.6 Установка, число, цвет, схема монтажа и, в случае необходимости, категория огней должны проверяться путем осмотра огней и их маркировки.
Указанные выше параметры должны быть такими, чтобы выполнялись требования 5.14 и 5.16 настоящего стандарта, а также специальные требования, установленные для каждого огня.
[1] Правила ЕЭК ООН № 112 Единообразные предписания, касающиеся официального утверждения автомобильных фар с асимметричными огнями ближнего света и/или огнями дальнего света, предназначенных для использования лампами накаливания
Ключевые слова: установка устройств освещения, световая сигнализация, спецификации, сертификация, транспортные средства
|
ГОСТЫ, СТРОИТЕЛЬНЫЕ и ТЕХНИЧЕСКИЕ НОРМАТИВЫ. Некоммерческая онлайн система, содержащая все Российские Госты, национальные Стандарты и нормативы. В Системе содержится более 150000 файлов нормативно-технической документации, действующей на территории РФ. Система предназначена для широкого круга инженерно-технических специалистов. Copyright © www.gostrf.com, 2008 - 2026 |