Крупнейшая бесплатная информационно-справочная система онлайн доступа к полному собранию технических нормативно-правовых актов РФ. Огромная база технических нормативов (более 150 тысяч документов) и полное собрание национальных стандартов, аутентичное официальной базе Госстандарта. GOSTRF.com - это более 1 Терабайта бесплатной технической информации для всех пользователей интернета. Все электронные копии представленных здесь документов могут распространяться без каких-либо ограничений. Поощряется распространение информации с этого сайта на любых других ресурсах. Каждый человек имеет право на неограниченный доступ к этим документам! Каждый человек имеет право на знание требований, изложенных в данных нормативно-правовых актах!

  


 

ОРДЕНА ТРУДОВОГО КРАСНОГО ЗНАМЕНИ
НАУЧНО-ИССЛЕДОВАТЕЛЬСКИЙ,
ПРОЕКТНО-КОНСТРУКТОРСКИЙ И ТЕХНОЛОГИЧЕСКИЙ
ИНСТИТУТ БЕТОНА И ЖЕЛЕЗОБЕТОНА
(НИИЖБ) ГОССТРОЯ СССР

СПРАВОЧНОЕ ПОСОБИЕ К СНиП

Серия основана в 1989 году

ПРОИЗВОДСТВО СБОРНЫХ
САМОНАПРЯЖЕННЫХ ЖЕЛЕЗОБЕТОННЫХ
КОНСТРУКЦИЙ И ИЗДЕЛИЙ

Москва Стройиздат 1990

Рекомендовано к изданию секцией заводской технологии Научно-исследовательского совета НИИЖБ Госстроя СССР.

Редактор - З.С. Шестопалова

Разработано к СНиП 3.09.01-85 «Производство сборных железобетонных конструкций и изделий». Содержит рекомендации, отражающие особенности производства железобетонных конструкций и изделий из тяжелого, мелкозернистого и легкого бетонов на напрягающем цементе (НЦ).

Для инженерно-технических работников предприятий сборного железобетона.

СОДЕРЖАНИЕ

Предисловие. 1

1. Общие положения. 2

2. Материалы, их складирование и хранение. 3

3. Приготовление бетонных смесей. 4

4. Формование изделий и конструкций. 4

5. Тепловая обработка изделий. 5

6. Распалубка, хранение и транспортирование изделий. 6

7. Контроль качества. 6

8. Техника безопасности. 6

Приложение 1 Рекомендуемая номенклатура конструкций и изделий с использованием напрягающего цемента. 7

Приложение 2 Рекомендуемые химические добавки при производстве сборных самонапряженных железобетонных конструкций и изделий. 7

Приложение 3 Особенности расчета состава бетона с нормируемой величиной самонапряжения. 8

Приложение 4 Методика контроля самонапряжения бетона. 8

Приложение 5 Методы замедления схватывания напрягающего бетона. 12

Приложение 6 Режимы тепловлажностной обработки 13

Приложение 7 Перечень нормативно-технической литературы.. 13

ПРЕДИСЛОВИЕ

Пособие содержит рекомендации по производству сборных железобетонных конструкций и изделий, изготавливаемых из бетона на напрягающем цементе (НЦ), именуемых самонапряженными. Разработано к СНиП 3.09.01-85 с целью конкретизации требований по заводскому производству сборных самонапряженных конструкций и изделий. В Пособии отражены особенности приготовления бетонных смесей, формования, тепловлажностной обработки, хранения и контроля качества изделий, выполняемых из напрягающего бетона.

Разработано НИИЖБ Госстроя СССР (кандидаты техн. наук Г.М. Мартиросов, С.Л. Литвер - руководители темы, д-р техн. наук В.В. Михайлов, кандидаты техн. наук Л.И. Будагянц, А.И. Звездов, А.С. Зурабян, В.А. Мкртумян, С.А. Селиванова, И.М. Дробященко, инженеры М.И. Бейлина, А.П. Чушкин, В.И. Ницун) с использованием результатов работ инж. А.Г. Ариджаняна (Ереванский ЗКПД ДСК-1), канд. техн. наук В.И. Грозава (МГМИ им. акад. Прянишникова), инж. К.А. Галикян, канд. техн. наук В.А. Загурского (НИИЖБ), канд. техн. наук Д.М. Исламова (Ташгипрогор), канд. техн. наук Т.М. Мамедова (АзИСИ), докт. техн. наук Г.А. Айрапетова, кандидатов техн. наук А.И. Панченко, И.Я. Харченко, инж. Г.В. Несветаева (ГНИ им. акад. Миллионщикова), кандидатов техн. наук С.А. Ходжаева, Р.Р. Юсупова, инж. А.И. Мусурманкулова (ТашЗНИИЭП).

При пользовании Пособием необходимо учитывать утвержденные изменения строительных норм и правил и государственных стандартов, публикуемые в журнале «Бюллетень строительной техники», «Сборнике изменений к строительным нормам и правилам» Госстроя СССР и информационном указателе «Государственные стандарты СССР» Госстандарта.

Все пожелания и предложения по содержанию Пособия просим направлять в НИИЖБ по адресу 109389, Москва, 2-я Институтская ул., д. 6.

1. ОБЩИЕ ПОЛОЖЕНИЯ

1.1. Настоящее Пособие распространяется на производство сборных железобетонных конструкций и изделий из бетона на НЦ, в том числе предварительно напряженных, в условиях производства на полигонах и заводах ЖБИ. Указанные изделия выполняются из бетонов тяжелого, в том числе мелкозернистого, легкого марки по плотности не ниже D 1400, подвергнутых тепловой обработке при атмосферном давлении и предназначенных для работы при систематическом воздействии температур не выше 50 и не ниже минус 70 °С.

Рекомендуемая номенклатура сборных конструкций и изделий с использованием НЦ приведена в прил. 1.

Изготовление самонапряженных железобетонных конструкций гидротехнических сооружений, мостов, транспортных тоннелей, труб под насыпями, покрытий автомобильных дорог и аэродромов, а также конструкций, выполняемых из особо тяжелого бетона и из бетона на специальных заполнителях, следует производить согласно требованиям соответствующих нормативных документов с учетом настоящего Пособия.

1.2. Применение НЦ для изготовления железобетонных изделий имеет целью обеспечить их водонепроницаемость за счет особо плотной структуры затвердевшего НЦ и бетона на его основе и трещиностойкость за счет создания в конструкции предварительного напряжения (самонапряжения) - растяжения в арматуре и обжатия в бетоне благодаря его расширению в процессе твердения.

1.3. Различают три случая применения НЦ в железобетонных изделиях: использование НЦ только для придания изделию свойства водонепроницаемости, когда его трещиностойкость обеспечена другими мероприятиями, в том числе предварительным напряжением арматуры механическим или иным способом;

использование НЦ с целью придания изделию свойства водонепроницаемости и для обеспечения трещиностойкости конструкции при проявлении усадки бетона, т.е. для компенсации усадочных деформаций и напряжений в бетоне, когда самонапряжение не учитывается в расчете конструкции и не указано в проекте;

использование НЦ для обеспечения водонепроницаемости, а также трещиностойкости конструкций под действием внешней нагрузки. В этом случае величина самонапряжения вводится в расчет трещиностойкости конструкции и указывается в проекте.

1.4. В среде бетона на НЦ арматура не корродирует.

1.5. Конструкции из бетона на НЦ следует проектировать в соответствии со СНиП 2.03.01-84 и Пособием по проектированию самонапряженных железобетонных конструкций (к СНиП 2.03.01-84), М., 1986.

Для бетона на НЦ самонапряженных железобетонных конструкций предусмотрены классы по прочности на сжатие В20 - В70, классы по прочности на осевое растяжение Вt 1,6 - Вt 4,8, марки по морозостойкости F100 - F500, марки по самонапряжению - Sр 0,6 - Sр 4, марка по водонепроницаемости обеспечивает не ниже W 12.

1.6. Самонапряженные железобетонные конструкции и изделия, указанные в п. 1.1., следует изготовлять в соответствии со СНиП 3.09.01-85 с учетом рекомендаций настоящего Пособия.

1.7. Для конструкций, к которым предъявляются требования по самонапряжению, рекомендуется применять напрягающие цементы НЦ-20 и НЦ-40. В остальных случаях экономически целесообразно применять напрягающий цемент НЦ-10.

1.8. Напрягающий цемент НЦ-10 может использоваться для производства сборных железобетонных конструкций наряду или взамен цементов общестроительного назначения (портландцемента, шлакопортландцемента и др.) и специальных цементов (расширяющихся и т.п.) с учетом рекомендаций настоящего Пособия. Как правило, такая замена позволяет экономить металл, цемент, обеспечивая при этом проектные марки по прочности, водонепроницаемости и морозостойкости.

2. МАТЕРИАЛЫ, ИХ СКЛАДИРОВАНИЕ И ХРАНЕНИЕ

2.1. В качестве вяжущих для производства самонапряженных конструкций и изделий следует применять напрягающие цементы НЦ-10, удовлетворяющие требованиям ТУ 21-20-48-82 или НЦ-20, НЦ-40, удовлетворяющие требованиям ТУ 21-20-18-80.

2.2. В качестве мелких и крупных заполнителей для тяжелого и мелкозернистого бетонов на НЦ следует применять:

щебень, гравий, щебень из гравия и песок по ГОСТ 10268-80;

гранулированный доменный шлак полусухой или мокрой грануляции по ГОСТ 3476-74;

дробленый отвальный или специально отлитый доменный шлак по ГОСТ 5578-76.

В качестве крупных и мелких заполнителей для легких бетонов на НЦ следует применять заполнители по ГОСТ 9757-83, удовлетворяющие требованиям ГОСТ 25820-83.

После соответствующих испытаний в бетоне и при технико-экономическом обосновании допускается применение мелких песков, искусственных и природных каменных материалов, топливных шлаков, аглопорита и т.п.

2.3. В бетонах на НЦ могут применяться химические добавки (пластификаторы, ускорители твердения, замедлители схватывания в комплексе и в отдельности), улучшающие свойства бетонной смеси и бетона и соответствующие требованиям ГОСТ 24211-80*, стандартам и техническим условиям на конкретные добавки. Выбор добавок следует производить в соответствии с прил. 2.

2.4. Складирование, хранение и транспортирование НЦ должно исключать смешивание его с другими видами цементов; в противном случае он теряет свои специфические свойства.

2.5. При приемке НЦ из транспортного средства должна быть в установленном порядке отобрана средняя проба для проведения контрольных и возможных арбитражных испытаний.

2.6. Арматурную сталь и арматурные изделия, крупный и мелкий заполнитель, химические добавки к бетону и другие материалы складировать и хранить согласно указаниям СНиП 3.09.01-85 (п.п. 2.6-2.12).

3. ПРИГОТОВЛЕНИЕ БЕТОННЫХ СМЕСЕЙ

3.1. Бетонные смеси, используемые при производстве самонапряженных конструкций и изделий, должны соответствовать ГОСТ 7473-85, ТУ 67-938-87, а также стандартам предприятия или технологическим картам, разработанным с учетом эксплуатируемого на заводе технологического оборудования и конкретных условий производства, утвержденным в установленном порядке.

3.2. Расчет и подбор состава тяжелого бетона на НЦ следует производить в соответствии с ГОСТ 27006-86, требованиями СНиП 3.09.01-85 (п.п. 4.1 - 4.3) и «Руководства по подбору составов тяжелых бетонов» (М., Стройиздат, 1979).

Подбор и назначение состава легкого бетона на НЦ следует производить в соответствии с «Руководством по подбору составов конструктивных легких бетонов на пористых заполнителях» (М., Стройиздат, 1975).

3.3. Подбор состава бетона на НЦ по прочности производится аналогично бетонам на портландцементе с учетом несколько повышенной водопотребности НЦ.

3.4. Особенности расчета состава бетона с нормируемой величиной самонапряжения на НЦ-20 и НЦ-40 приведены в прил. 3.

3.5. Приготовление бетонной смеси на НЦ, как правило, производится на бетоносмесительных установках гравитационного или принудительного действия. Использование бетоносмесительных установок непрерывного действия (шнековых) с продолжительностью перемешивания 0,5 мин и менее допускается только после проверки однородности получаемой смеси.

3.6. В случае необходимости увеличения сроков схватывания бетонной смеси можно производить замедление схватывания с помощью пластифицирующих добавок (одной из наиболее эффективных является декстрин, см. прил. 2), а также методами предварительной частичной гидратации или двухстадийного перемешивания, приведенными в прил. 5.

3.7. Способы подачи, дозирования материалов, порядок их загрузки в бетоносмесительные установки, продолжительность перемешивания бетонной смеси и способы ее транспортирования к месту укладки, а также время от выгрузки бетонной смеси из смесителя до формования изделий должны соответствовать указаниям СНиП 3.09.01-85 (п.п. 4.8 - 4.15).

4. ФОРМОВАНИЕ ИЗДЕЛИЙ И КОНСТРУКЦИЙ

4.1. Формование изделий из бетонов на НЦ производится по тем же технологическим переделам, что и изготовление железобетонных изделий из обычных бетонов: чистка и смазка форм, установка и фиксация арматурных элементов, закладных деталей, вкладышей, натяжение арматуры предварительно напряженных конструкций, укладка и уплотнение бетонной смеси, отделка в процессе формования, распалубка изделия (при необходимости) до тепловой обработки.

4.2. Формование изделий из бетонных смесей на НЦ в зависимости от принятой технологии осуществляется вибрационным способом, центрифугированием, радиальным прессованием или другими известными методами.

4.3. Для формования самонапряженных железобетонных конструкций и изделий преимущественно применяют стальную формооснастку.

При изготовлении малосерийных изделий допускается применение неметаллических форм.

4.4. Формы, матрицы и стенды должны соответствовать ГОСТ 25781-83 и стандартам на конкретные формы и обеспечивать получение изделий с размерами в пределах допускаемых отклонений.

4.5. Эксплуатацию форм следует производить в соответствии с действующей нормативно-технической документацией. Чистка, смазка и сборка форм производятся как при изготовлении обычных железобетонных конструкций с применением таких же смазочных материалов, кроме специально оговариваемых случаев.

4.6. Установку арматурных каркасов, сеток, закладных деталей, вкладышей и натяжение арматуры преднапряженных конструкций следует производить в соответствии с требованиями стандартов и проектной документации на изделия и в последовательности, указанной в технологических картах.

4.7. Не следует производить укладку бетонной смеси в условиях открытых полигонов без специальных мер, предохраняющих бетонную смесь и свежеотформованные изделия от вредного влияния атмосферных воздействий.

4.8. Формовочные свойства бетонных смесей на НЦ должны строго соответствовать технологическим параметрам оборудования. Не допускается повышение подвижности или уменьшение жесткости смесей для облегчения обслуживания формовочного оборудования добавлением воды.

5. ТЕПЛОВАЯ ОБРАБОТКА ИЗДЕЛИЙ

5.1. Тепловую обработку самонапряженных конструкций и изделий можно производить любым известным способом с применением режимов, обеспечивающих минимальный расход топливно-энергетических ресурсов и достижение бетоном на НЦ заданных распалубочной, передаточной и отпускной прочности, получение проектных марок по самонапряжению при минимальных расходах НЦ, а также сокращение общего цикла оборота форм и другого оборудования.

5.2. При производстве сборных самонапряженных железобетонных конструкций и изделий следует учитывать, что напрягающий цемент относится к цементам I и II групп по эффективности при пропаривании (по ГОСТ 22236-86).

5.3. Режимы тепловой обработки бетонов на НЦ следует назначать, руководствуясь прил. 6 настоящего Пособия. Основными критериями выбора режима тепловой обработки служат требуемая прочность, величина самонапряжения (если таковая нормируется проектом), предельная продолжительность цикла изготовления изделия (от формования до распалубки) и возможность обеспечения температуры в тепловом агрегате.

5.4. Оптимальной температурой для развития процессов самонапряжения является 50 - 60 °С при относительной влажности более 90 %. По мере увеличения температуры прогрева сверх оптимальной (до 100 °С) скорость развития самонапряжения (его возрастание в единицу времени) увеличивается, но затухает оно в более короткие сроки, достигнув меньших значений.

5.5. Относительную влажность среды в период изотермического прогрева изделий необходимо поддерживать на уровне 90 - 100 %.

5.6. Не рекомендуется изотермический прогрев тяжелого бетона на НЦ свыше 5 - 6 ч при относительной влажности среды менее 90 % и температуре 80 - 85 °С, а также свыше 4 - 5 ч при температуре 85 - 100 °С, так как это приводит к снижению прочности и самонапряжения бетона после тепловой обработки.

5.7. Величина полного самонапряжения бетона на НЦ, прошедшего тепловую обработку, как правило составляет 50 - 80 % величины самонапряжения того же бетона, не подвергнутого тепловой обработке и твердевшего во влажных условиях при нормальной температуре 28 сут.

5.8. Значительные неопалубливаемые поверхности изделий, прогреваемых в термоформах, следует изолировать от окружающей среды влагонепроницаемыми материалами для предотвращения потерь влаги из бетона.

Особо благоприятные температурно-влажностные условия для развития процессов самонапряжения бетона в термоформах в период прогрева могут быть созданы путем изоляции открытых поверхностей слоем воды толщиной до 3 см. В этом случае заливка должна производиться после того, как свежеотформованный бетон приобрел начальную прочность 0,3 - 0,5 МПа.

5.10. Для конструкций из бетона на НЦ, эксплуатируемых в условиях сухого и жаркого климата, в целях снижения потерь самонапряжения от усадки, рекомендуются предварительная выдержка перед тепловой обработкой 6 ч и прогрев при температуре 60 °С.

5.11. Тепловую обработку изделий из теплоизоляционного и конструкционно-теплоизоляционного керамзитобетона на НЦ рекомендуется производить путем паропрогрева с температурой 60 - 70 °С. При этом требуется более продолжительный (на 20 %) период изотермического прогрева при прочих равных условиях.

5.12. Тепловую обработку предварительно напряженных конструкций из бетона на НЦ следует производить в соответствии с указаниями СНиП 3.09.01-85 (п.п. 6.4, 6.11, 6.12, 6.21) и с учетом рекомендаций настоящего Пособия.

6. РАСПАЛУБКА, ХРАНЕНИЕ И ТРАНСПОРТИРОВАНИЕ ИЗДЕЛИЙ

6.1. Распалубку, доводку, хранение и транспортирование изделий следует производить согласно рекомендациям СНиП 3.09.01-85 (разд. 7)

6.2. Для получения изделий с определенной проектной маркой по самонапряжению (если она не достигнута в период тепловой обработки) следует дополнительно предусматривать после тепловой обработки дождевание изделий или их водное выдерживание (прил. 6).

7. КОНТРОЛЬ КАЧЕСТВА

7.1. Контроль качества поступающих материалов и получаемых изделий производить согласно указаниям СНиП 3.09.01-85 (разд. 8).

7.2. Контроль величины самонапряжения НЦ и бетона следует производить в случае, если величина самонапряжения нормируется проектом, а также по требованию заказчика.

7.3. Самонапряжение бетона на НЦ определяется при подборе состава и контроле качества бетона самонапряжения железобетонных конструкций с целью обеспечения расчетного самонапряжения конструкции - обжатия и натяжения арматуры.

7.4. Самонапряжение бетона определяется на контрольных образцах-призмах размером 5´5´20 см (при использовании щебня крупностью более 20 мм следует применять призмы размером 10´10´40 см), отформованных и твердевших в динамометрических кондукторах в условиях, одинаковых с условиями твердения изделия. Самонапряжение бетона на НЦ определяют по методике, приведенной в прил. 4.

7.5. Контроль прочности бетона на НЦ производят по ГОСТ 10180-78 не ранее 4 ч после окончания тепловой обработки, а также после окончания увлажнения конструкций или их водного выдерживания и в проектном возрасте.

8. ТЕХНИКА БЕЗОПАСНОСТИ

8.1. При производстве самонапряженных железобетонных конструкций и изделий требования безопасности производства, охраны труда и окружающей среды остаются такими же, как и при производстве обычных железобетонных конструкций (СНиП 3.09.02-85, гл. 9), с учетом требований нормативно-технической документации.

Приложение 1

Справочное

Рекомендуемая номенклатура конструкций и изделий с использованием напрягающего цемента

Таблица 1

Конструкции и изделия

Разновидность НЦ

НЦ-10

НЦ-20

НЦ-40

ТУ 21-20-48-82

с изм. № 1

ТУ 21-20-18-80

с изм. № 1, 2

I. Из тяжелого бетона

 

 

 

Фундаменты (в том числе сваи)

+

+

-

Элементы каркаса 1:

 

 

 

стойки и колонны

+

+

-

ригели, балки, подкрановые балки, фермы

+

+

-

Стены и элементы зданий:

 

 

 

стеновые панели (в том числе цокольные и фризовые)

+

+

-

внутренние стены и перегородки

+

-

-

изделия балконов и лоджий, лестничные марши, площадки, перемычки, электросантехпанели

+

+

-

объемные блоки

+

+

-

Плиты покрытий 1:

 

 

 

пространственные, «на пролет»,

+

+

-

комплексные, плоские и ребристые панели безрулонных крыш

+

+

-

панели-оболочки из тонких пластин

+

+

-

Плиты перекрытий 1 (в том числе многопустотные)

+

+

-

Элементы инженерных сооружений 1:

 

 

 

силосов

+

+

-

резервуаров

+

+

+

эстакад

+

+

-

Специальные конструкции:

 

 

 

трубы напорные 1

-

+

+

трубы низко- и безнапорные

+

+

-

шпалы железнодорожные 1

+

+

-

Спецплиты 1

+

+

+

опоры ЛЭП, связи 1

+

+

-

шпалерные столбики 1

+

-

-

блоки цельносекционной обделки

+

+

-

блоки-тюбинги

+

+

-

шахтная крепь 1

+

+

-

Пролетные строения мостов 1

+

+

+

II. Из конструкционно-теплоизоляционного бетона

 

 

 

Стены и элементы зданий (в том числе объемные блоки)

+

+

-

Плиты перекрытий и покрытий

+

+

-

Элементы каркаса (колонны, фермы, ригели, балки)

+

+

-

1 В том числе предварительно напряженные конструкций и изделия.

Примечания. Знак «+» - рекомендуется к использованию, «-» - не рекомендуется.

Приложение 2

Рекомендуемое

Рекомендуемые химические добавки при производстве сборных самонапряженных железобетонных конструкций и изделий

Таблица 2

Добавки

Марка или наименование

ГОСТ, ОСТ, ТУ

Рекомендуемое содержание,

% массы НЦ

Суперпластификаторы

С-3

МФ-АР

Декстрин

ТУ 6-14-625-80 с изм. № 1

ТУ 6-05-1926-82

ГОСТ 6034-74*

ТУ 18-8-32-81

0,15 - 0,8

0,1 - 0,6

0,1 - 0,3

Пластифицирующие

ЛСТ (СДБ)

ОСТ 13-183-83

0,1 - 0,5

Воздухововлекающие

СНВ

ТУ 81-05-75-74 с изм. № 1

0,01 - 0,04

Пластифицирующие-воздухововлекающие

Мылонафт

ЩСПК (ПАЩ-1)

ГКЖ-10, ГКЖ-11

ГОСТ 13302-77*

ТУ 13-03-488-84

ТУ 6-02-696-72

0,2 - 0,4

0,2 - 0,6

0,1 - 0,5

Примечание. При соответствующем основании и после экспериментальной проверки возможно применение других химических добавок, удовлетворяющих требованиям ГОСТ 24211-80*.

Приложение 3

Рекомендуемое

Особенности расчета состава бетона с нормируемой величиной самонапряжения

1. Подобранный расчетом по требуемой прочности номинальный состав напрягающего бетона корректируется в части удельного расхода НЦ с учетом проектной марки напрягающего бетона Sр и самонапряжения Rср напрягающего цемента (НЦ) по результатам стандартных испытаний.

2. Расход НЦ для бетонных смесей с маркой по удобоукладываемости П-1 согласно ГОСТ 7473-85 (подвижность 1 - 4 см) на плотных заполнителях следует определять по формуле

                                                     (1)

где Rbsп - нормативное самонапряжение напрягающего бетона, численно равное проектной марке Sр.

3. Для бетонных смесей с маркой по удобоукладываемости П-2 (подвижность 5 - 9 см), П-3 (подвижность 10 - 15 см) Rbsп вводится с коэффициентом 1,1 и 1,2.

При использовании пластифицирующих добавок для обеспечения повышенной подвижности смеси коэффициент не вводится.

4. Расход воды затворения (л/м3 смеси) для получения бетонной смеси с подвижностью 1 - 4 см следует определять по формуле

В = 0,20 Ц + 100,                                                             (2)

а для смесей с подвижностью 10 - 15 см по формуле

В = 0,18 Ц + 135.                                                             (3)

Для сохранения расчетной средней плотности бетонной смеси одновременно корректируется расход заполнителей.

Приложение 4

Обязательное

Методика контроля самонапряжения бетона

1. В зависимости от предъявляемых к напрягающему бетону требований производится контроль самонапряжения - марки бетона по самонапряжению.

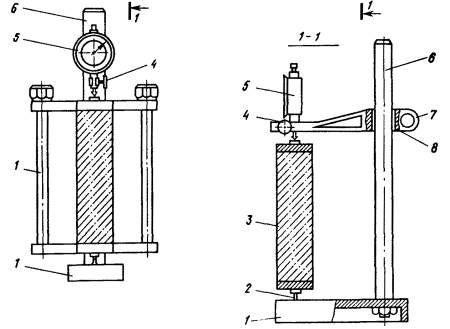
Рис. 1. Динамометрический кондуктор для образцов-призм размером 5´5´20 см

1 - репер с трехгранным керном глубиной 0,75 мм; 2 - гайка специальная; 3 - пластина верхняя; 4 - тяга; 5 - бетонный образец-призма; 6 - пластина нижняя

2. Самонапряжение напрягающего бетона определяется при подборе состава и контроле качества бетона - с целью обеспечения расчетного самонапряжения бетона и напряжения арматуры.

3. Отбор проб для контроля самонапряжения бетона производится один раз в смену. Проба бетона при применении кондукторов для призм размером 100´100´400 мм должна быть не менее 15 л, а для призм размером 50´50´200 мм - не менее двух литров.

4. Самонапряжение бетона  определяется по трем контрольным образцам-призмам размером 100´100´400 или 50´50´200 мм (при использовании щебня фракции не более 20 мм), отформованным и твердеющим в динамометрических кондукторах, создающих в процессе расширения бетона упругое ограничение деформаций, эквивалентных продольному армированию призм в количестве 1 %.

5. Для испытаний применяется следующее оборудование:

а) динамометрический кондуктор для образца-призмы размером 50´50´200 или 100´100´400 мм (рис. 1, 2);

Рис. 2. Динамометрический кондуктор для образцов-призм размером 10´10´40 см

1 - репер с трехгранным керном глубиной 0,75 мм; 2 - репер с плоским окончанием; 3 - репер с продольным керном; 4 - пластина верхняя; 5 - тяга; 6 - бетонный образец-призма; 7 - пластина нижняя; 8 - гайка специальная

б) измерительное устройство «краб» с индикатором часового типа с ценой деления 0,01 мм для замера выгиба одной пластины кондуктора (рис. 3) или штатив с аналогичным индикатором для замера суммарной деформации выгиба двух пластин (рис. 4);

в) эталон для поверки измерительного устройства или стальной эталон-стержень для штатива длиной 240 ± 1 мм, диаметром 16 мм с трехгранными кернами глубиной 0,75 мм по торцам. Материал для изготовления эталонов обоих типов - Ст.3;

г) форма-опалубка с днищем и бортами для формования образца-призмы в кондукторе (требования к форме следует принимать по ГОСТ 22685-77);

д) емкость с водой для хранения кондукторов с образцами.

6. До сборки кондуктора с формой производится затяжка гаек на тягах до упора с выборкой зазора. Не допускается люфт между тягами и пластиной. Нулевой замер кондуктора снимается с помощью измерительного устройства («краб») или штатива, предварительно поверенных с помощью соответствующих эталонов на постоянство отсчета. При поверке штатива эталон необходимо выставлять всегда в одном и том же положении: меткой вверх. Отсчеты снимать с точностью до половины деления индикатора часового типа. Температура кондуктора, измерительного устройства и эталона во время замера должна быть одинакова.

Рис. 3. Измерительное устройство «краб» с индикатором часового типа

а - схема замера; б - установка «краба» на кондуктор; 1 - кондуктор размером 10´10´40 см; 2 - «краб»; 3 - индикатор часового типа; 4 - бетонный образец-призма

7. Перед формованием образца форма должна быть смазана тонким слоем смазки и собрана с помощью скоб на тягах кондуктора с минимальным зазором для исключения их деформаций.

8. Контроль самонапряжения бетона производится на бетонном заводе у места укладки в конструкцию.

Формование образцов производится в соответствии с требованиями ГОСТ 10180-78.

9. Отформованные в кондукторе образцы укрываются пленкой или другими водонепроницаемыми материалами для защиты бетона от потерь влаги.

10. Образцы, предназначенные для производственного контроля самонапряжения бетона, должны твердеть и храниться в условиях, аналогичных условиям твердения бетона в конструкции.

11. Замеры кондукторов производятся не ранее 4 ч после окончания тепловой обработки, после окончания увлажнения изделий или их водного выдерживания и в возрасте 28 суток каждый раз с поверкой измерительного устройства с помощью эталона. Результаты замеров заносятся в журнал испытаний образцов-призм в кондукторах при определении самонапряжения бетона.

12. Величина самонапряжения образца , МПа, определяется по формуле

,

где D и Iобр - соответственно полная деформация образца в процессе самонапряжения бетона и его длина; mп - приведенный коэффициент армирования образца, принимаемый равным 0,01; Еs - модуль упругости стали, принимаемый равным 2∙105 МПа.

Рис. 4. Штатив с индикатором часового типа

1 - основание штатива; 2 - шпилька с шариком; 3 - кондуктор с бетонной призмой; 4 - винт крепления индикатора; 5 - индикатор; 6 - стойка; 7- винт крепления консоли; 8 - консоль

13. Самонапряжение бетона  вычисляется как среднее арифметическое по двум наибольшим результатам замеров трех образцов-близнецов в кондукторах, отформованных из одной пробы бетона для каждого из перечисленных в п. 11 сроков. Вычисления производятся с точностью до 0,1 МПа.

14. Маркой напрягающего бетона по самонапряжению Sр является величина  в возрасте 28 сут.

Приложение 5

Рекомендуемое

Методы замедления схватывания напрягающего бетона

Метод предварительной частичной гидратации

Предварительная гидратация осуществляется в процессе приготовления бетонной смеси в следующем порядке:

дозирование, загрузка в смеситель песка, доувлажнение его (при необходимости) до 4 - 6 % с перемешиванием 0,5 - 1 мин;

дозирование, загрузка в смеситель напрягающего цемента, перемешивание 1 - 2 мин;

дозирование, загрузка крупного заполнителя производятся в любой момент в процессе приготовления смеси, исходя из типа смесителя, удобства загрузки и т.п.;

затворение смеси водой, перемешивание 1 - 2 мин.

Цикл приготовления бетонной смеси составляет 3 - 5 мин.

Метод двухстадийного перемешивания

Двухстадийное перемешивание бетонной смеси осуществляется в следующем порядке:

дозирование в смеситель крупного и мелкого заполнителя и напрягающего цемента, перемешивание 1 мин;

дозирование в смеситель 60 - 70 % воды затворения, перемешивание 1 - 2 мин;

дозирование в смеситель оставшейся воды затворения, перемешивание 1 - 2 мин.

Допускается применение метода двухстадийного перемешивания в сочетании с добавками-пластификаторами.

Приложение 6

Справочное

Режимы тепловлажностной обработки 1

Температура изотермического прогрева, °C

Продолжительность 2, ч

Водное (влажное) выдерживание после ТВО3,

сут

Величина самонапряжения во время ТВО к полному самонапряжению, %

предварительного выдерживания, не менее

периодов ТВО

подъема температуры

изотермического прогрева

охлаждения

50

4

0,5 - 1,5

7 - 8

0,5 - 1

1 - 2

80 - 90

60

4

0,5 - 2

6 - 7

1 - 2

2 - 3

70 - 85

70

3

0,5 - 2

5 - 6

1 - 2

3 - 4

55 - 75

80

2

1 - 2,5

3 - 5

1 - 2

4 - 5

35 - 55

90 - 100

2

1 - 3

2,5 - 3

1,5 - 2,5

5 - 7

15 - 35

1 Приведенные режимы ТВО являются ориентировочными и в зависимости от конкретного вида и партии НЦ, а также использования добавок должны уточняться при отработке технологической карты производства.

2 Приведенные режимы ТВО обеспечивают получение отпускной (70 %) и марочной прочности в соответствии с требованиями ГОСТ 13015.0-83.

3 Допускается не производить влажный уход после ТВО для конструкций с ненормируемой величиной самонапряжения, а также, если проектная марка по самонапряжению достигнута в процессе ТВО.

Приложение 7

Справочное

Перечень нормативно-технической литературы

1. СНиП 2.03.01-84*. Бетонные и железобетонные конструкции / Госстрой СССР. - М.: ЦИТП Госстроя СССР, 1985. - 79 с.

2. СНиП 3.09.01-85. Производство сборных железобетонных конструкций и изделий / Госстрой СССР. - М.: ЦИТП Госстроя СССР, 1985. - 40 с.

3. Пособие по проектированию самонапряженных железобетонных конструкций (к СНиП 2.03.01-84 «Бетонные и железобетонные конструкции») / НИИЖБ Госстроя СССР и ЦНИИ промзданий Госстроя СССР. - М.: ЦИТП Госстроя СССР, 1986.- 64с.

4. ТУ 21-20-18-80, изм. № 1, 2. Цемент напрягающий.

5. ТУ 21-20-48-82, изм. № 1. Цемент напрягающий (НЦ-10).

6. ТУ 67-938-87. Бетон на напрягающем цементе.

7. ТУ 21-32-280-87. Трубы железобетонные безнапорные самонапряженные радиально-прессованные.

8. Руководство по подбору составов тяжелого бетона / НИИЖБ Госстроя СССР. - М.: Стройиздат, 1979. - 103 с.

9. РСН 20-86. Инструкция по проектированию и устройству сборных железобетонных чердачных крыш с безрулонной кровлей жилых зданий, возводимых в IV климатическом районе / Госстрой СССР УзССР. - Ташкент, 1986. - 48 с.

10. Рекомендации по тепловой обработке сборных железобетонных изделий из напрягающего бетона. - М.: КТИ Минпромстроя СССР, 1985. - 20 с.

11. Рекомендации по изготовлению, проектированию и расчету объемных блоков из бетонов на напрягающем цементе. - М.: НИИЖБ Госстроя СССР, 1985. - 14 с.

12. Рекомендации по изготовлению железобетонных самонапряженных низконапорных труб. - М.: НИИЖБ Госстроя СССР, 1980. - 37 с.

13. Рекомендации по производству железобетонных самонапряженных труб со стальным цилиндром. - М.: НИИЖБ Госстроя СССР, 1984. - 22 с.

14. Рекомендации по изготовлению безнапорных самонапряженных железобетонных труб методом радиального прессования. - М.: НИИЖБ Госстроя СССР, 1986. - 16 с.

15. Рекомендации по применению добавок суперпластификаторов в производстве сборного и монолитного железобетона. - М.: НИИЖБ Госстроя СССР, 1987. - 95 с.

 




ГОСТЫ, СТРОИТЕЛЬНЫЕ и ТЕХНИЧЕСКИЕ НОРМАТИВЫ.
Некоммерческая онлайн система, содержащая все Российские Госты, национальные Стандарты и нормативы.
В Системе содержится более 150000 файлов нормативно-технической документации, действующей на территории РФ.
Система предназначена для широкого круга инженерно-технических специалистов.

Рейтинг@Mail.ru Яндекс цитирования

Copyright © www.gostrf.com, 2008 - 2026