Крупнейшая бесплатная информационно-справочная система онлайн доступа к полному собранию технических нормативно-правовых актов РФ. Огромная база технических нормативов (более 150 тысяч документов) и полное собрание национальных стандартов, аутентичное официальной базе Госстандарта. GOSTRF.com - это более 1 Терабайта бесплатной технической информации для всех пользователей интернета. Все электронные копии представленных здесь документов могут распространяться без каких-либо ограничений. Поощряется распространение информации с этого сайта на любых других ресурсах. Каждый человек имеет право на неограниченный доступ к этим документам! Каждый человек имеет право на знание требований, изложенных в данных нормативно-правовых актах!

  


 

ОРДЕНА ТРУДОВОГО КРАСНОГО ЗНАМЕНИ
НАУЧНО ИССЛЕДОВАТЕЛЬСКИЙ ИНСТИТУТ
БЕТОНА И ЖЕЛЕЗОБЕТОНА

НИИЖБ ГОССТРОЯ СССР

ПОСОБИЕ
ПО ТЕХНОЛОГИИ ФОРМОВАНИЯ
ЖЕЛЕЗОБЕТОННЫХ ИЗДЕЛИЙ

(к СНиП 3.09.01-85)

Утверждено
приказом НИИЖБ Госстроя СССР
от 7 июля 1986 г. № 38

Москва Стройиздат 1988

Рекомендовано к изданию Научно-техническим советом НИИЖБ Госстроя СССР.

Содержит основные требования и указания по технологии формования железобетонных изделий, рекомендации по расчету технологических параметров и выбору оборудования.

Для инженерно-технических работников предприятий сборного железобетона, проектных и научно-исследовательских организаций.

СОДЕРЖАНИЕ

Предисловие. 2

1. Основные положения. 2

2. Требования к бетонным смесям и арматуре. 3

3. Укладка бетонных смесей. 3

4. Формы и стенды.. 5

5. Вибрационное формование. 6

6. Виброформовочное оборудование. 10

7. Безвибрационное формование. 18

8. Оборудование для безвибрационного формования. 24

9. Комбинированное формование. 31

10. Отделка свежеотформованных изделий. 34

11. Контроль режимов работы формовочного оборудования. 41

12. Эксплуатация и ремонт формовочного оборудования. 44

13. Техника безопасности. 47

Приложение 1 Способы оценки интенсивности вибрационного воздействия. 50

Приложение 2 Определение технологических параметров и расчет вибрационных площадок. 55

Приложение 3 Определение технологических параметров и расчет поверхностных машин. 60

Приложение 4 Технические характеристики глубинных вибромашин. 65

Приложение 5 Технические характеристики вибромашин общего назначения. 66

Приложение 6 Технические характеристики серийных виброплощадок челябинского завода «Строммашина». 66

Приложение 7 Виброплощадки рамного и блочного типа, изготовляемые министерствами и ведомствами. 67

Приложение 8 Технические характеристики кассетных установок. 70

Приложение 9 Поверхностные вибромашины, изготовляемые министерствами и ведомствами для уплотнения мелкозернистых (песчаных) бетонов. 71

Приложение 10 Оборудование для прессования и вакуумирования бетонных смесей. 72

Приложение 11 Определение формовочных свойств бетонных смесей. 77

Приложение 12 Расчет параметров напорного формования. 80

Приложение 13 Определение нагрузок, действующих на форму и установку в процессе роликового формования. 82

Приложение 14 Технические характеристики центрифуг. 83

Приложение 15 Оборудование и материалы для отделки свежеотформованных изделий. 83

Приложение 16 Оптимизация состава цементобетонов. 85

ПРЕДИСЛОВИЕ

Настоящее Пособие содержит основные сведения о режимах формования железобетонных конструкций и изделий, о формовочном оборудовании и методах его подбора. Пользуясь изложенными в Пособии рекомендациями, можно оценить формовочные свойства бетонной смеси, подобрать соответствующее технологическое оборудование и рассчитать режимы формования.

Пособие содержит сведения о применяемом в настоящее время формовочном оборудовании и требования по его эксплуатации, обслуживанию и ремонту.

При подготовке Пособия были учтены передовой производственный опыт, а также результаты соответствующих научно-исследовательских и опытно-конструкторских работ.

Настоящее Пособие разработано НИИЖБ Госстроя СССР (д-р техн. наук Б.В. Гусев, кандидаты техн. наук Е.З. Аксельрод, А.И. Звездов, В.Н. Кузин, Г.С. Митник, инженеры В.Г. Васильев, Е.Г. Зиновьев, С.М. Симбирская); ЦМИПКС при МИСИ им. В.В. Куйбышева (доктора техн. наук А.А. Афанасьев, И.Ф. Руденко); ВНИИ-железобетон Минстройматериалов СССР (кандидаты техн. наук В.Д. Коюшев, Т.Г. Тарарина, Д.Ф. Толорая; ВНИИГ им. Б.Е. Веденеева (д-р техн. наук О.А. Савинов, канд. техн. наук Е.В. Лавринович); КИСИ Минвуза УССР (кандидаты техн. наук В.Н. Гарнец, И.И. Назаренко); ДИИТ МПС СССР (д-р техн. наук В.Г. Зазимко, канд. техн. наук И.И. Нетеса); Рижским политехническим институтом (д-р техн. наук Г.Я. Куннос); Гидропроектом им. С.Я. Жука (д-р техн. наук Е.П. Миклашевский); ИСиА Госстроя БССР (д-р техн. наук И.Н. Ахвердов, канд. техн. наук Н.П. Блещик); ВНИИ транспортного строительства (канд. техн. наук А.Д. Дорохова); Кишиневским политехническим институтом (д-р техн. наук В.Н. Шмигальский); НИИСП Госстроя УССР (канд. техн. наук B.C. Зинченко).

1. ОСНОВНЫЕ ПОЛОЖЕНИЯ

1.1. Пособие распространяется на формование всех видов сборных железобетонных конструкций и изделий; отдельные положения могут быть использованы при укладке смесей в монолитные конструкции.

В зависимости от вида изделий и удобоукладываемости смесей даны режимы формования и соответствующее оборудование.

1.2. В процессе формования изделий включены следующие технологические операции, регламентируемые СНиП 3.09.01-85: подготовка форм или стендов (в том числе их чистка и смазка, установка и фиксация арматурных элементов, закладных изделий, вкладышей, натяжение напрягаемой арматуры предварительно напряженных конструкций); укладка и уплотнение бетонных смесей; отделка и процесс формования; немедленная или ускоренная распалубка элементов борт оснастки.

1.3. Выбор метода формования должен производиться в зависимости от вида изделий и принятой технологии их производства, с учетом необходимости обеспечения требуемого качества изделий, экономии цемента, трудозатрат и облегчения условий труда. В процессе формования в необходимых случаях должна быть предусмотрена утилизация остатков бетонной смеси.

1.4. Технология формования должна обеспечивать изготовление изделий, соответствующих требованиям стандартов или технических условий и проектной документации.

1.5. Изготовление изделий должно, как правило, производиться с применением серийно выпускаемого или нестандартизированного технологического оборудования, выпускаемого машиностроительными заводами. Допускается применение технологического оборудования, изготовленного другими заводами или собственными механическими цехами при соответствии его действующим стандартам или техническим условиям.

2. ТРЕБОВАНИЯ К БЕТОННЫМ СМЕСЯМ И АРМАТУРЕ

2.1. Бетонные смеси должны отвечать требованиям ГОСТ 7473-85 и других нормативных документов, разработанных с учетом конкретных условий производства.

2.2. Основные положения по удобоукладываемости и формируемости бетонных смесей сформулированы в СНиП 3.09.01-85.

2.3. Удобоукладываемость бетонных смесей определяется в соответствии с ГОСТ 10181.1-81, а их классификация приведена в прил. 11 (ГОСТ 7473-85).

2.4. Удобоукладываемость бетонных смесей следует назначать с учетом вида и конфигурации изделия, типа формующего оборудования, количества арматуры таким образом, чтобы обеспечивалось равномерное уплотнение смеси с коэффициентом уплотнения К ³ 0,98. С целью экономии цемента рекомендуется применять смеси с минимальным для данных условий содержанием воды.

2.5. Для улучшения удобоукладываемости бетонных смесей могут применяться пластифицирующие добавки (см.: Руководство по применению химических добавок в бетоне. - М.: Стройиздат, 1980).

2.6. В густоармированные зоны изделий допускается укладка смеси большей подвижности с меньшим размером наибольшей фракции крупного заполнителя по сравнению со смесью основного объема; при этом должен обеспечиваться заданный класс бетона.

2.7. Для приготовления бетонных смесей следует применять смесители: принудительного действия - для тяжелых, легких и мелкозернистых бетонов любой удобоукладываемости; гравитационных - для подвижных смесей.

При подвижности смеси 5 см и более и жесткости не более 10 с допускается применение гравитационных смесителей для приготовления легких бетонов класса В 12,5 и выше с маркой по средней плотности D 1600 г/см3 и выше.

2.8. Для обеспечения проектного положения арматуры изделий при формовании следует устанавливать специальные фиксаторы. Расстояние между фиксаторами по длине ненапряженной арматуры должно составлять: при диаметре арматуры 3 - 4 мм - 0,4 - 0,5 м, при диаметре 5 - 6 мм - 0,6 - 0,8 м, при диаметре 8 - 12 мм - 0,8 - 1,2 м. Для напрягаемой арматуры указанные расстояния увеличиваются в четыре раза. Пересекающиеся арматурные каркасы должны быть соединены между собой.

2.9. При непрерывном формовании для предотвращения деформаций и смещения арматуры в направлении движения формовочного устройства следует предусматривать ее крепление к форме (матрице).

3. УКЛАДКА БЕТОННЫХ СМЕСЕЙ

3.1. Чтобы не ухудшить формовочные свойства смеси после ее приготовления, укладку в изделия следует выполнять до начала схватывания цементного теста. Восстанавливать удобоукладываемость смеси добавлением воды запрещается.

3.2. Укладка бетонных смесей в форму должна осуществляться в соответствии с технологической картой с применением машин, механизмов и приспособлений, исключающих или сводящих к минимуму ручной труд.

3.3. Укладку бетонных смесей производят бункерами, бетонораздатчиками или бетоноукладчиками.

Бункерами смесь транспортируют к посту формования и укладывают в форму без разравнивания, которое впоследствии выполняют специальными распределяющими механизмами или механическими приспособлениями. Перемещение бункеров осуществляют грузоподъемными механизмами.

Бетоноукладчики представляют собой самоходную раму с установленным на ней бункером, перемещающуюся над формуемым изделием. Бетонораздатчики выдают смесь в форму без разравнивания, которое затем выполняют специальными распределяющими механизмами или механическими приспособлениями.

Бетоноукладчики кроме бетонораздаточного бункера оснащены устройствами, распределяющими смесь по форме. В бетоноукладчике может быть предусмотрена навеска дополнительных механизмов, например для отделки изделий.

3.4. Для обеспечения непрерывной порционной выгрузки смеси бетонораздаточные бункера оборудуют секционными, шиберными или челюстными запорами и в ряде случаев ленточными питателями, а для улучшения условий выгрузки оснащают вибровозбудителями.

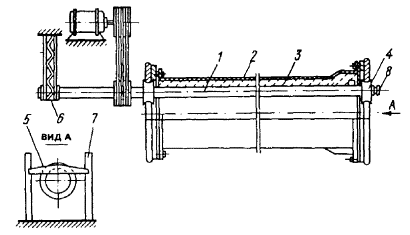
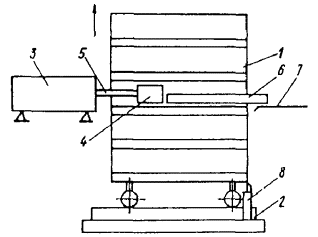
3.5. В качестве распределяющих устройств применяют: насадки, вибронасадки (вибропротяжные устройства), воронки, вибролотки, плужковые разравниватели (рис. 1).

Рис. 1. Схема укладки бетонных смесей

а - вибронасадком; б - вибролотковым питателем; в - плужковым разравнивателем; г - поворотной воронкой; 1 - форма; 2 - бункер; 3 - ленточный питатель; 4 - вибронасадок; 5 - вибролотковый питатель; 6 - воронка поворотная; 7 - плужковый разравниватель

3.6. Полезный объем бункеров при периодическом их заполнении следует назначать с учетом объема формуемых изделий и цикла их формования (бункер должен вмещать 1,1 - 1,2 максимального объема смеси для формуемого изделия). Отношение полезного объема бункера к геометрическому следует принимать равным 0,7 - 0,8. При непрерывном заполнении бункера его объем следует принимать не менее 1 м.

3.7. Перед укладкой бетонных смесей необходимо проверить:

качество очистки и смазки форм;

правильность установки и надежность закрепления формы на формовочном посту;

правильность установки в форме арматуры и закладных деталей и их фиксацию;

готовность к работе бетоноукладывающего и формующего оборудования.

3.8. При формовании сплошных плоских изделий с нормальной густотой армирования укладку подвижных бетонных смесей допускается производить сразу на заданную толщину с учетом коэффициента уплотнения; при формовании пустотных и сплошных плоских густоармированных изделий укладку бетонной смеси выполняют послойно.

3.9. При формовании длинномерных изделий укладка и уплотнение смеси могут осуществляться последовательно от одного конца изделия к другому, либо соответствующим включением отдельных групп виброустройств, либо путем непрерывного или циклического перемещения рабочих органов.

3.10. Укладку бетонных смесей допускается производить с высоты свободного падения не более 1 м.

3.11. При укладке бетонных смесей в условиях открытого полигона следует предусматривать их предохранение от воздействия атмосферных осадков, солнечных лучей и ветра.

3.12. При перерывах в формовании изделия, превышающих по продолжительности срок окончания схватывания цементного теста, дальнейшее бетонирование изделия можно осуществлять после удаления цементной пленки с контактной поверхности старого бетона.

4. ФОРМЫ И СТЕНДЫ

4.1. Формы по всем параметрам должны соответствовать ГОСТ 25781-83. При изготовлении изделий, к точности размеров которых предъявляют повышенные требования, допускаются отклонения внутренних проектных размеров формы, установленные ГОСТ 25781-83 (изменять в сторону уменьшения).

4.2. Расчет и конструирование форм следует вести, руководствуясь материалами Руководства по расчету и проектированию стальных форм (М.: Стройиздат, 1970), Рекомендаций по расчету и конструированию форм при трехточечном опирании (М.: НИИЖБ, 1978), Рекомендаций по расчету и конструированию поддонов с раскосной решеткой (М.: НИИЖБ, 1982).

Динамические воздействия на форму в процессе уплотнения бетонной смеси с использованием вибрационных, виброударных и ударных установок следует учитывать в соответствии с Рекомендациями по динамическому расчету стальных форм (М.: НИИЖБ, 1984).

4.3. К формам, предназначенным для изготовления с последующей механизированной отделкой верхней поверхности, предъявляются следующие требования:

высота бортов, расположенных в направлении, поперечном движению отделочных устройств, должна быть на 2...4 мм ниже уровня высоты бортов, расположенных вдоль движения;

проемообразователи, вкладыши и другие детали, крепящиеся на поддоне или бортах формы, должны быть на 5 мм ниже уровня бортов, расположенных вдоль движения;

на верхней поверхности, по которой перемещается рабочий орган отделочных устройств, предусматривают полосу шириной не менее 50 мм и толщиной не менее 8 мм.

4.4. При подготовке формы к бетонированию необходимо обращать внимание на надежное крепление закладных деталей, исключающее их смещение в процессе формования. Способы крепления деталей следует принимать такими, чтобы операции по их установке, фиксации и освобождению выполнялись с минимальными затратами труда и времени.

4.5. Формы, не обладающие требуемой жесткостью, определяемой статическим и динамическим расчетами или устанавливаемой при опытных формовках, подлежат усилению.

4.6. Эксплуатацию формы следует проводить в соответствии с Руководством по эксплуатации стальных форм при изготовлении железобетонных изделий (М.: Стройиздат, 1972).

4.7. К стендам, предназначенным для изготовления пространственных конструкций, в части предельных отклонений размеров предъявляют такие же требования, какие и к поддонам стальных форм по ГОСТ 25781-83.

4.8. При изготовлении пространственных конструкций с помощью вибропротяжных устройств или скользящей виброформы с целью предохранения свежеотформованной смеси от оплывания стенд рекомендуется выполнять из отдельных виброизолированных секций.

5. ВИБРАЦИОННОЕ ФОРМОВАНИЕ

Способы вибрационного формования

5.1. Способы виброформования бетонных и железобетонных изделий классифицируются по характерным признакам, основными из которых являются: способ передачи колебаний на бетонную смесь, способ распределения бетонной смеси, совместимость процесса укладки, уплотнения смеси и формообразования изделия, возможность переналадки на изготовление различных изделий, периодичность процесса формования.

5.2. Выбор рационального способа формования определяется конструктивными особенностями формуемых изделий, технологической схемой производства, степенью и видом армирования изделий, их массой и габаритами, требованиями к качеству уплотнения бетонной смеси и качеству поверхности изделия, номенклатурой и объемом производства изделий, изготовляемых заводом.

5.3. По характеру передачи колебаний на бетонную смесь способы виброформования подразделяются на объемное, поверхностное виброформование, вибропротяжку, глубинное, контактное виброформование, вибровакуумирование, комбинированное виброформование.

5.4. Объемное виброформование характеризуется тем, что бетонная смесь во всем объеме изделия вибрирует совместно с формой. Основное достоинство способа - универсальность и конструктивная простота формовочного оборудования. Объемное виброформование осуществляется главным образом на виброплощадках грузоподъемностью до 30 т.

5.5. Поверхностное виброформование характеризуется передачей колебаний на бетонную смесь со стороны открытой поверхности изделия: вибрация на форму передается через бетонную смесь. Поверхностное виброформование осуществляется с помощью виброштампов или вибропригрузов. Система может работать в отрывном и безотрывном режимах.

Поверхностное виброформование, как правило, используется в сочетании с объемным как совместная или последующая формообразующая операция при изготовлении плит настилов, шпал, лотков и других изделий со сложной конфигурацией свободной поверхности.

5.6. Вибропротяжка - способ поверхностного формования, в котором формовочный агрегат и форма в процессе формования изделия перемещаются относительно друг друга. Вибропротяжное формование осуществляется с помощью вибронасадков и подвижных щитов, применяется для формования плоских изделий и конструкций с криволинейным поперечным сечением.

5.7. Глубинное формование характеризуется тем, что вибровозбудитель размещается внутри бетонной смеси и извлекается из нее в процессе или после завершения процесса уплотнения. Глубинное виброформование осуществляется с помощью глубинных вибраторов или вибровкладышей и применяется при формовании пустотных или густоармированных крупногабаритных изделий.

5.8. Контактное виброформование осуществляется за счет изгибных колебаний формы, главным образом, за счет применения прикрепляемых (навесных) вибраторов, применяется в кассетном производстве, в стендовой технологии и при формовании изделий сложной конфигурации.

5.9. Вибровакуумирование - способ формования изделий, при котором вибрация бетонной смеси, осуществляемая одним из выше перечисленных способов, сочетается с удалением из нее воздуха и избыточной воды. Вибровакуумирование применяется при формовании крупноразмерных объемных элементов.

5.10. Комбинированные способы - способы формования, в которых вибрирование бетонной смеси сочетается с другими известными способами формования: прессованием, центрифугированием, прокатом и т.п.

5.11. По признаку распределения бетонной смеси в форме способы виброформования подразделяются на способы с принудительно-механическим распределением (перемещаемым ленточным питателем, механическим выравнивателем, копиром и т.п.) и способы с естественно-вибрационном растечением смеси. Первые обычно применяются при формовании изделий из жестких, вторые - из пластичных бетонных смесей.

5.12. По совместимости процесса укладки, уплотнения смеси и формообразования изделия и отделки поверхности способы виброформования подразделяются на последовательно-операционный, когда каждая последующая операция на изделии, исключая уплотнение и формообразование, производится после завершения предыдущей, и совмещенный, когда вышеперечисленные операции осуществляются одновременно. Второй способ характерен для вибропротяжки.

5.13. По возможности переналадки технологии на изготовление различных изделий способы формования подразделяются на конвейерный (массовый выпуск типовых изделий), переналаживаемый (выпуск однотипных изделий) и гибкий (выпуск изделий относительно широкой номенклатуры).

5.14. По периодичности процесса способы формования подразделяются на непрерывный, когда переход на следующую форму осуществляется без остановки виброформующего устройства, цикличный с остановкой устройства после окончания формования изделия или группы изделий в одной форме, и прерывистый, когда уплотнение смеси осуществляется послойно или позонно.

Режимы вибрационного формования

5.15. Процесс уплотнения бетонной смеси можно условно подразделить на следующие стадии:

первая - характеризуется образованием сплошной среды из рыхлонасыпной бетонной смеси. При этом осуществляется взаимная перекомпоновка крупных и мелких частиц заполнителя с образованием макроструктуры бетона - его структурного каркаса. Продолжительность первой стадии зависит от исходной удобоукладываемости бетонных смесей: для литых смесей П4 она составляет 3 - 5 с, а для жестких - примерно (0,5…1)Ж, где Ж - жесткость, определяемая по ГОСТ 10181.1-81;

на второй стадии происходит дальнейшее сближение частиц заполнителя между собой и удаление некоторой части оставшегося воздуха. Продолжительность второй стадии составляет (1…4)Ж.

Жесткие смеси могут быть доуплотнены при условии дополнительного обжатия (статического или динамического) после завершения первых двух стадий. При уплотнении подвижных П2…П4 смесей из-за быстрого протекания процесса уплотнения четкое разделение на стадии не наблюдается.

5.16. Для вибрационного формования применяют оборудование с вибрационным, ударно-вибрационным и ударным характером уплотняющих воздействий.

Рабочие органы вибрационных формовочных машин при отсутствии бетонной смеси совершают гармонические колебания относительно положения равновесия. Виброперемещения, виброскорости и виброускорения их симметричны относительно положения равновесия.

Рабочие органы ударно-вибрационных формовочных машин совершают негармонические колебания, сопровождающиеся соударением с ограничителем того или иного типа. Перемещение, скорость и ускорение машин в этом случае имеют асимметричный характер.

Размах ускорения принято делить на верхнюю Ав и нижнюю Ан составляющие по нахождению рабочего органа в верхнем и нижнем положении, а отношение между ними Анв определяют как коэффициент асимметрии.

Ударные колебания возникают в результате соударения формы об ограничитель. Ударные колебания имеют также асимметрический характер.

5.17. Эффективность виброформования изделий зависит от интенсивности и продолжительности воздействия рабочего органа машины на уплотняемую смесь.

Интенсивность И вибрационного воздействия может оцениваться:

а) максимальным ускорением колебаний рабочего органа формовочной машины (интенсивность по ускорению)

Иа = Aw2,

где А - амплитуда перемещения; w - круговая частота вибрирования;

б) величиной пропорциональной мощности колебаний рабочего органа формовочной машины (интенсивность по мощности)

ИN = f(A2w3).

Примечание. При наличии специального обоснования могут быть использованы и другие характеристики эффективности виброформования (относительная деформация или ее скорость, градиент динамического давления, напряжение).

Интенсивностью по ускорению рекомендуется пользоваться преимущественно при оценке работы действующих формовочных установок, проверке их в процессе изготовления изделий и отработке режимов формования.

Интенсивностью по мощности, как правило, пользуются при проектировании новых формовочных машин и отработке технологии массового производства изделий из жестких бетонных смесей.

Рекомендуемые значения ускорения для формования изделий из различных бетонных смесей при стандартной частоте вибрирования, а также способы оценки интенсивности по ускорению приведены ниже и в прил. 1, а по мощности - в прил. 1.

Марка смеси по ГОСТ 7473-85

П4

П3

П2

П1

Ж1

Ж2

Ж3

Ж4

Ускорение, м/с2 · q

1

2

2,5

3

4

5

6

7

5.18. Продолжительность формования зависит от конфигурации и размеров изделий, насыщенности арматурой, вида оборудования, интенсивности вибрационного воздействия на смесь и ее удобоукладываемости.

Указания по назначению продолжительности вибрирования приведены в прил. 2 и 3 применительно к конкретным видам оборудования.

Продолжительность вибрирования проверяется опытным формованием, а контроль уплотнения осуществляется в соответствии с разд. 11.

5.19. При асимметричных режимах колебаний ускорением, осуществляющим уплотнение смеси, считают максимальное (пиковое) ускорение площадки в крайнем нижнем положении Ан. Верхняя составляющая при Ав > 1 создает условие для перекомпоновки частиц и позволяет ускорить процесс уплотнения.

Применение асимметричных колебаний позволяет, не повышая частоту колебаний, увеличить значение уплотняющего ускорения до величины 6…8q.

5.20. Повышение эффективности уплотнения жестких бетонных смесей может достигаться переменными режимами, учитывающими особенности механизма уплотнения смеси на каждой из стадий, указанных в п. 5.15.

5.21. Литые бетонные смеси П4, в том числе с добавкой пластификаторов, обладают пониженными величинами вязкости и сцепления. Для исключения эффекта расслоения их рекомендуется уплотнять при гармонических колебаниях с частотой не более 25 Гц и ускорением до 1,5 - 2q.

5.22. При формовании крупноразмерных изделий рекомендуется учитывать волновые явления. Они связаны с частотой колебаний и длиной волны L:

L = С / f,

где С - скорость распространения колебаний; f - частота.

Способы учета волновых явлений приводятся в прил. 1.

5.23. Рациональное формовочное оборудование выбирается с учетом вида изделия и его отличительных признаков. Классификация и способы формования различных изделий приведены в табл. 1.

Таблица 1

Группа

Конструкции

Изделия

Оборудование и способы формования

I.

Высокие вертикально поставленные или массивные со средней высотой слоя бетонной смеси больше 0,5 м

Фундаментные блоки, сборные элементы для массивной кладки и т.п.

Низкочастотные ударно-вибрационные и площадки с переменными параметрами колебаний; допускается применение пакетов глубинных вибраторов и площадок с горизонтальными колебаниями различных видов

 

 

Стеновые панели, изготовляемые в вертикальных формах

Горизонтальное (поперечное) вибрирование; низкочастотные площадки с вертикально направленными или эллипсоидными колебаниями; импульсное виброустройство; формование в кассетах

 

 

Объемные элементы зданий и сооружений

Низкочастотные виброплощадки;

глубинное и наружное вибрирование, площадки с многокомпонентными колебаниями

 

 

Изделия, относящиеся к другим группам, но формуемые в вертикальном положении (например, трубы и кольца большого диаметра) Конструкции типа колонн, стен и т.п.

Навесные вибраторы; передвижной вибросердечник или наружная виброопалубка; горизонтально вибрирующий сердечник (виброколокол); площадки с многокомпонентными колебаниями

Внутреннее и опалубочное вибрирование; импульсные виброустройства; площадки с многокомпонентными колебаниями

II.

Линейные значительной длины при относительно небольших сечениях

Призматические сплошные (ригели и балки, колонны, сваи, опоры линий электропередачи) Цилиндрические (трубы и трубчатые сваи)

Горизонтальное (продольное) вибрирование в сочетании с вибропригрузом или скользящим виброштампом; ударно-вибрационные вибрационные площадки блочного типа

Виброцентрифугирование (при диаметре до 1,2 и длине до 25 м) вертикальные формы с вибровалами (при диаметре 1,6 - 2 и длине 4 - 10 м); низкочастотные ударно-вибрационные площадки с вертикальными колебаниями (при диаметре до 1 и длине до 8 м)

III.

Плоские

Плоские и ребристые плиты

Виброплощадки, виброштампы, вибропрокатные и скользящие виброустройства

 

 

Пустотные плиты

Вибрационные, ударно-вибрационные площадки с пригрузом и комплектом пустотообразователей: машины с вибровкладышами и пригрузом

 

 

Дорожные и аэродромные плиты, плиты полов промзданий и т.п.

Поверхностные вибраторы; виброрейки; машины с навесным виброоборудованием; скользящие виброустройства; вибропрессы

IV.

Пространственные тонкостенные

Длинномерные с прямолинейной или слегка изогнутой осью и постоянным поперечным сечением, а также арочного типа

Скользящие виброустройства; виброплощадки с пригрузом

 

 

Двоякой кривизны (элементы сборных сводов-оболочек)

Стационарные виброштампы

6. ВИБРОФОРМОВОЧНОЕ ОБОРУДОВАНИЕ

6.1. Основными классификационными признаками виброформовочного оборудования являются: способ формования, характер и направленность колебаний, соотношение вынуждающих и собственных частот колебаний, тип вибровозбудителя, число колеблющихся масс.

Рис. 2. Классификация вибрационных площадок

6.2. По способу вибрационного формования машины можно подразделить на виброплощадки, установки с горизонтальными колебаниями, виброштампы, скользящие вибропротяжные устройства, глубинные вибромашины, формовочные устройства комбинированных типов.

6.3. По характеру и направленности колебаний машины подразделяют на: гармонические с направлением колебаний в вертикальной или горизонтальной плоскостях, гармонические круговые, негармонические (ударно-вибрационные и ударные) с направлением уплотняющих воздействий в горизонтальной или вертикальной плоскостях, машины с многокомпонентными колебаниями.

6.4. По соотношению вынуждающих и собственных частот колебаний виброформовочные машины делят на резонансные и зарезонансные.

6.5. По типу вибровозбудителя формовочное оборудование подразделяют на машины с дебалансным, электромагнитным, кривошипно-шатунным вибровозбудителем колебаний.

6.6. По числу колеблющихся масс виброформовочное оборудование делят на машины одномассные, двухмассные и трехмассные.

6.7. Отличительным признаком виброплощадки является вовлечение в колебания формы с бетонной смесью, установленной на рабочем органе машины. Рабочий орган может быть выполнен в виде сплошной рамы или состоящей из нескольких секций.

6.8. Классификация виброплощадок по основным признакам приведена на рис. 2. Схемы основных видов виброплощадок показаны на рис. 3.

6.9. Площадка с круговыми колебаниями (рис. 3, а) представляет собой сплошную раму с прикрепленным к ней одним или несколькими вибровозбудителями. Такие площадки имеют ограниченное применение и используются для формования изделий небольших размеров и масс (h = 0,2 м, m = 1 т). Параметры их колебаний: амплитуда U0 = 0,3…0,5 мм, частота f = 45…50 Гц.

Рис. 3. Схемы основных видов виброплощадок

1 - рабочий орган; 2 - форма с бетонной смесью; 3 - вибровозбудитель колебаний

6.10. Виброплощадка с направленными колебаниями (рис. 3, б) состоит из ряда секций, на которых закреплены унифицированные виброблоки, синхронные и синфазные колебания которых обеспечиваются установкой синхронизаторов. Виброплощадки такого типа применяют для формования плоских изделий h = 0,3…0,4 м из малоподвижных и умеренно жестких бетонных смесей. Параметры колебаний: амплитуда U0 = 0,4…0,6 мм, частота f = 50 Гц.

6.11. Виброплощадка с многокомпонентными колебаниями (рис. 3, в) представляет собой раму с укрепленным на ней вибровозбудителем с вертикальным валом. Виброплощадку применяют для формования изделий из подвижных и литых бетонных смесей. Параметры колебаний: амплитуда горизонтальных колебаний UГ = 0,6…0,8 мм; амплитуда вертикальных колебаний UВ = 0,2…0,4 мм; частота колебаний f = 24…25 Гц.

6.12. Установка горизонтального действия (рис. 3, г) представляет собой двухмассную систему, состоящую из резонансной «активной» массы, к которой крепится вибровозбудитель, и «пассивной» массы, включающей раму и форму с бетонной смесью. Обе массы соединены между собой упругими связями, жесткость которых выбирается таким образом, чтобы установка работала в околорезонансном режиме колебаний. Опоры «активной» и «пассивной» масс представляют собой мягкие упругие элементы, обеспечивающие виброизоляцию фундамента.

Вибровозбудители могут создавать колебания формы как направленные (продольно-горизонтальные), так и эллиптические. Применяются виброустановки для формования длинномерных изделий. Параметры колебаний: амплитуда U0 = 0,4…0,8 мм, частота f = 45…50 Гц.

6.13. Ударно-вибрационная площадка (рис. 3, д) состоит из колеблющихся в вертикальном направлении рамы с формой и уравновешивающей рамы. Между ними расположены поддерживающие упругие связи и буфера, соударяющиеся только при встречном движении колеблющихся рам. Уравновешивающая рама установлена на упругие опоры. Колебания возбуждаются кривошипно-шатунным приводом с упругим шатуном. Площадка применяется для формования изделий из малоподвижных и жестких бетонных смесей. Параметры колебаний: амплитуда колебаний (полуразмах) U0 = 4…10 мм, частота f = 10...15 Гц.

Рис. 4. Принципиальные схемы поверхностных вибромашин полного воздействия

а - вибропресс одномассный; б - виброштамп двухмассный; в - вибропресс одномассный с пневмопригрузом; 1 - бетонная смесь; 2 - формуемое изделие; 3 - вибропригруз; 4 - двухмассный вибропригруз; 5 - пневмопригруз

6.14. Ударно-вибрационная площадка (рис. 3, е) состоит из отдельных блоков, на которых закреплены ограничители колебаний. При колебаниях форма отрывается от ограничителей и при встречном движении происходит соударение формы с блоками. Приводом являются вибровозбудители общего назначения, устанавливаемые по два на каждый блок. Площадку применяют для формования изделий из подвижных и малоподвижных смесей. Параметры колебаний: амплитуда (полуразмах) U0 = 0,8…1,0 мм, частота f = 25 Гц.

6.15. Ударная (кулачковая) площадка (рис. 3, ж) содержит раму для крепления формы, кулачковые валы с приводом и соударяющиеся устройства. Движение рамы с формой обеспечивается за счет ее подъема с помощью кулачков на заданную высоту и последующего падения на элементы, установленные на опорной раме. Применяется площадка для формования изделий из жестких бетонных смесей. Режимы колебаний: высота подъема рамы с формой 3…7 мм, частота ударов 2…4 Гц.

6.16. Поверхностные вибромашины для уплотнения бетона - это класс машин, у которых взаимодействие рабочего органа с бетонной смесью осуществляется через горизонтальную, наклонную или вертикальную открытую поверхность формуемого изделия.

Процесс формования поверхностными машинами осуществляется либо при взаимодействии рабочего органа по всей площади изделия - машины полного воздействия (вибропрессы, виброштампы), либо последовательным уплотнением при взаимном перемещении машины и изделия - машины последовательного воздействия (виброрейки, вибронасадки, скользящие виброштампы, вибропротяжные установки).

6.17. Машины одновременного воздействия включают вибропрессы и виброштампы (рис. 4). Уплотнение на этих машинах осуществляется следующим образом. Бетонную смесь засыпают в форму, после чего рабочий орган пресса или штампа, перемещаясь по вертикали и одновременно вибрируя, приводит смесь в состояние тиксотропного разжижения и из разжиженной смеси формует изделие.

Вибропрессы применяются для изделий простой конфигурации, а виброштампы для изделий усложненной конфигурации.

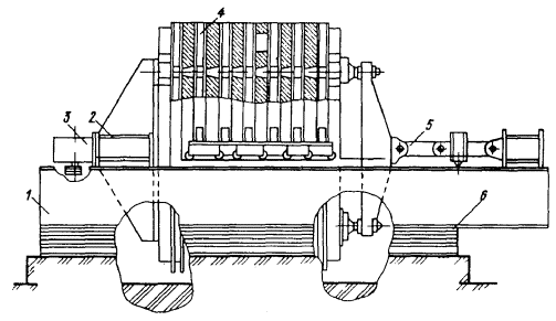
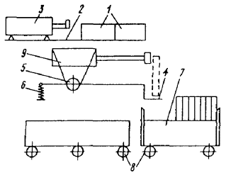
Рис. 5. Схема работы вибромашин

а - скользящий виброштамп: 1 - рабочий орган; 2 - вибровозбудитель; 3 - форма с бетонной смесью; б - формующий агрегат с вибропротяжным устройством: 1 - портал установки; 2 - рама рабочего органа; 3 - форма с бетонной смесью; 4 - заглаживающая плита; 5 - вибровозбудитель; 6 - рабочий орган; 7 - бетонная смесь; 8 - бункер-накопитель

Для реализации процессов вибропрессования и виброштампования необходима предварительная раскладка смеси при обеспечении точного ее дозирования с учетом конфигурации профиля изделия.

Особенностью этого класса поверхностных вибромашин является необходимость создания сравнительно высокого давления в процессе формования. Это обеспечивается с помощью инерционных или безынерционных устройств (пружинных, пневматических, гидравлических или комбинированных пригрузов).

6.18. К машинам последовательного воздействия относятся виброрейки, скользящие виброштампы, вибропротяжные устройства (ВПУ).

Принцип работы вибромашин последовательного действия заключается в том (рис. 5,д), что рабочий орган, последовательно перемещаясь вдоль открытой части изделия, производит работу по его уплотнению. Наиболее совершенные рабочие органы (ВПУ) содержат механизмы для распределения бетонной смеси, уплотнения ее, а также заглаживания лицевой поверхности.

Вибропротяжное устройство (рис. 5,б) состоит из бункера, в котором бетонная смесь, поступающая из бункера-накопителя формующей установки, частично или полностью уплотняется и выдается в форму распределяющего устройства для укладки и профилирования смеси, и скользящего виброштампа для доуплотнения и заглаживания поверхности изделия.

6.19. Выбор типа поверхностных вибромашин следует производить в соответствии с табл. 2.

6.20. Отличительная особенность глубинных вибромашин заключается в том, что их рабочий орган погружается непосредственно в массив бетонной смеси, осуществляя таким образом ее уплотнение. Конструктивно рабочие органы глубинных вибромашин выполняются цилиндрическими или плоскостными. Цилиндрический совершает круговые колебания, а плоскостной - направленные.

6.21. Наиболее целесообразно применять глубинные вибромашины при уплотнении бетонной смеси подвижностью 1…6 см. Зона уплотнения характеризуется радиусом R или дальностью действия D. Величина этих параметров зависит главным образом от диаметра рабочего органа d цилиндрической вибромашины и ширины рабочего органа b плоской вибромашины: R = (4…5) d; D = (1,5…2) b.

Рис. 6. Ручные глубинные вибромашины со встроенным и вынесенным двигателем

1 - корпус; 2 - дебаланс; 3 - электродвигатель

6.22. Подразделяются глубинные вибромашины на ручные и подвесные. Ручные массой 5…30 кг применяются при формовании крупногабаритных изделий сборного железобетона, преимущественно при стендовой схеме производства. Производительность ручных машин 3…5 м3/ч. Подвесные, массой 100…800 кг, наиболее широко применяются при возведении различных гидротехнических сооружений. Производительность этих машин 20…50 м3/ч.

6.23. Наиболее характерны два типа ручных вибромашин: с вынесенным и встроенным электродвигателем (рис. 6). В машинах с вынесенным электродвигателем используются преимущественно планетарный вибровозбудитель, а с встроенным - дебалансный.

6.24. Плоскостные вибромашины (рис. 7) выполняются с вынесенным и встроенным приводом. Для получения направленных колебаний используется эффект самосинхронизации двух вибровозбудителей, объединенных жесткой связью (плитой) на мягкой подвеске.

6.25. При выборе типа глубинного вибровозбудителя следует учитывать расстояние между стержнями арматуры, которое должно составлять не менее 1,5 диаметра вибронаконечника.

Рис. 7. Плоскостная глубинная вибромашина

1 - корпус; 2 - дебаланс; 3 - электродвигатель

6.26. Кассетные установки представляют собой категорию машин, в которых осуществляется формование и термообработка изделий одновременно в нескольких отсеках.

6.27. Кассетная установка содержит многоместную кассетную форму (от 2 до 12 отсеков) и устройство для сборки и разборки ее.

Конструкция установки зависит от количества и типа изготовляемых изделий, способа виброуплотнения и типа распалубочного устройства. В процессе распалубки и подготовки к формованию отдельные элементы кассетной формы (разделительные щиты) могут перемещаться параллельно друг другу, поворачиваться вокруг вертикальной или горизонтальной оси.

6.28. Кассетную форму выполняют из ряда тепловых стенок, между которыми установлены разделительные листы. Тепловые стенки и разделительные листы снабжены соответствующей бортоснасткой и проемообразователями. В отдельных случаях кассетная форма может быть выполнена только из тепловых стенок.

6.29. Уплотнение бетонной смеси в кассетных установках осуществляется с помощью:

навесных вибраторов, прикрепленных к торцам разделительных листов; глубинных вибраторов;

отдельных виброблоков или вибровалов, прикрепляемых на наружных стенках крайних щитов.

6.30. При использовании наружных вибраторов, прикрепляемых к торцам разделительных листов, рекомендуются вибраторы с частотой колебаний 25 и 50 Гц. При определении мощности вибраторов следует руководствоваться соображениями достижения интенсивных режимов вибрирования и конструктивными условиями.

6.31. Наиболее целесообразно на каждом из разделительных листов устанавливать два вибратора, по одному с каждой стороны. При этом вибраторы следует устанавливать в верхней трети листа на расстоянии не менее 500 мм от верхней кромки и ротор вибраторов располагать вертикально.

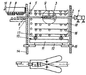
Рис. 8. Схема установки вибраторов на верхней части разделительных листов

1 - тепловая стенка; 2 - разделительный лист; 3 - кронштейн; 4 - вибратор

Рис. 9. Схема установки распорных конусов

1 - тепловая стенка; 2 - разделительный лист; 3 - бортоснастка; 4 - уплотнитель; 5 - конус; 6 - распорная штанга; 7 - уплотнительная втулка

6.32. В случае изготовления густоармированных изделий сложной конфигурации с проемами, затрудняющими укладку и уплотнение бетонной смеси, может быть рекомендована установка на каждом разделительном листе четырех вибраторов, по два на противоположных торцах. При этом один вибратор устанавливается в нижней трети листа, а другой - в верхней. В процессе укладки и уплотнения смеси не рекомендуется одновременное включение вибраторов, установленных в верхнем и нижнем уровнях.

6.33. С целью повышения интенсивности вибрирования, возможности использования более жестких бетонных смесей и повышения однородности их уплотнения рекомендуется установка дополнительного вибратора на верхней кромке каждого из разделительных листов и выполнение конструктивных мероприятий, обеспечивающих ликвидацию защемления разделительных листов в процессе обжатия пакета.

6.34. Дополнительный вибратор следует располагать в центральной части разделительного листа на специальной площадке таким образом, чтобы ротор вибратора находился в горизонтальном положении, а опорная площадка находилась в плоскости разделительного листа (рис. 8).

6.35. Частичное освобождение разделительных листов от защемления может быть достигнуто использованием распорных конусов специальной конструкции (полный конус с распорной штангой), обеспечивающих передачу распорных усилий только на тепловые стенки (рис. 9). Элементы бортоснастки выполняются при этом с минусовым допуском в 2…3 мм, а образующийся зазор перекрывается уплотнительными втулками.

Рис 10. Кассетная установка на упругом основании

1 - рама; 2 - вибробалка; 3 - виброблок; 4 - пакет термощитов; 5 - механизм распалубки; 6 - упругие опоры

6.36. С целью повышения эффективности виброуплотнения и надежности работы оборудования непрерывное время работы прикрепляемых вибраторов не должно превышать 2…3 мин, с последующими перерывами в течение 6…8 мин. В соответствии с указанным подачу бетонной смеси следует планировать таким образом, чтобы в течение 2…3 мин смесь подавалась в первые два отсека, затем в последующие с возвращением к первым отсекам до тех пор, пока форма не будет заполнена полностью.

6.37. При использовании дополнительных вибраторов, установленных на верхней кромке разделительных листов, включение их должно осуществляться поочередно с боковыми, установленными по торцам.

6.38. Использование глубинных вибраторов может быть рекомендовано в случаях, когда наружные прикрепляемые вибраторы малоэффективны (например, в случаях выполнения кассетной формы из тепловых стенок без разделительных листов), а также в случае повышения требований к качеству поверхности изделий.

6.39. Выбор типа вибраторов должен осуществляться с учетом требований, изложенных в прил. 3, а также с учетом конструкции арматурных каркасов. Предпочтительно использование вибраторов с частотой колебаний 8000…12000 кол/мин.

6.40. С целью повышения качества уплотнения и снижения трудоемкости работ рекомендуется использование траверс с гирляндой глубинных вибраторов. Подъем и погружение вибраторов в этом случае производится с помощью специального механизма или крана.

Таблица 2

Способ виброуплотнения

Амплитуда смещений в плоскости, перпендикулярной поверхности щитов, мм

Подвижность бетонной смеси ОК, см

пустой отсек

полный отсек

Прикрепляемые вибраторы на разделительных листах, в том числе:

 

 

 

вибраторы по торцам

0,3…0,5

0,05…0,1

10…12

то же, на верхней части листа

0,4…0,6

0,15…0,2

6…8

Прикрепляемые вибраторы на разделительных листах при освобождении от защемления

0,5…0,6

0,2…0,25

5…6

Глубинные вибраторы

-

-

10…14

Виброблоки на наружных стенках крайних щитов при упругом опирают пакета

0,6…0,8

0,3…0,35

3…4

6.41. В случае использования централизованного вибропривода в виде виброблоков (рис. 10), устанавливаемых на наружных стенках крайних щитов, кассетную установку рекомендуется устанавливать на упругое основание (резино-металлические опоры).

6.42. Рекомендуется использование виброблоков с вертикальным валом, устанавливаемых на жесткой распорной раме. С целью создания горизонтальных колебаний, перпендикулярных плоскости формуемых изделий, на раме устанавливают два блока со встречным вращением роторов.

6.43. Расчет вибропривода и упругих опор производится в соответствии с рекомендациями, изложенными в прил. 2.

6.44. Подвижность бетонных смесей, используемых при изготовлении изделий в кассетных установках, назначается в зависимости от достигнутых параметров вибрирования и конструкции изделий и может быть принята в соответствии с табл. 2.

6.45. Технические характеристики основного виброформовочного оборудования даны в прил. 4 - 9.

7. БЕЗВИБРАЦИОННОЕ ФОРМОВАНИЕ

Способы безвибрационного формования

7.1. К способам безвибрационного формования относятся: прессование; вакуумирование; роликовое формование; центрифугирование; центробежный прокат; напорное формование, экструзионное и др.

7.2. Прессование применяют с целью достижения прочности и плотности бетона в затвердевшем состоянии, превышающих аналогичные показатели вибрированного бетона (при одинаковых водосодержаниях бетонных смесей). Кроме того, прессование позволяет улучшить условия труда, уменьшить износ форм и в ряде случаев сократить энергетические затраты на формование.

Эффект повышения прочности и плотности прессованного бетона связан с меньшей пористостью материала, получаемого из подвижных и литых смесей, в которых почти нет защемленного воздуха, а прессованием уменьшают их водосодержание до уровня водосодержания жестких смесей. Прессованием жестких смесей уменьшают объем защемленного в них воздуха.

Уплотнение может производиться статическим прессованием и прессованием с циклическим режимом наложения давления.

Статическое прессование применяют для смесей любой консистенции, при давлении 3…10 МПа.

В связи со значительной величиной давления статическое прессование применимо в основном для формования изделий небольшого размера, например, тротуарных плит, бордюрного камня и т.п.

Циклическое прессование применяют при умеренно жестких, подвижных и литых смесях для уплотнения бетона или уплотнения с удалением избыточной воды, используя давление порядка 0,05…0,4 МПа.

7.3. Для удаления избыточной воды из бетонной смеси применяют вакуумирование. Наиболее часто вакуумирование совмещают с прессованием.

7.4. Методом роликового формования рекомендуется изготовлять различные бетонные и железобетонные изделия, в том числе предварительно напряженные и армоцементные, имеющие открытую плоскую поверхность и толщину от 1,5 до 20 см, например, плиты покрытия дорог, аэродромов, каналов, тротуаров и полов, бортовой камень, перегородки промышленных зданий, решетчатые или ажурные плиты полов животноводческих помещений, рельефные экраны лоджий, ограждения и т.п.

Наиболее эффективно роликовое формование для мелкозернистых бетонов из песков любой крупности, золо-шлакобетонов с наибольшей крупностью зерен заполнителя 10 мм.

Бетон, полученный роликовым уплотнением, отличается повышенной плотностью, прочностью и долговечностью.

7.5. Центрифугирование применяется для формования трубчатых и кольцевых изделий. Этим способом изготовляют трубы, кольца, стойки линий электропередач, колонны, шпалеры и др.

Центрифугированием уплотняют бетонные смеси подвижностью 4 - 5 см осадки стандартного конуса, состав которых может подбираться любым расчетно-экспериментальным методом. Тип и крупность заполнителя регламентируется видом изделия. Центрифугированный бетон отличается высокими физико-механическими характеристиками.

7.6. Центробежным прокатом формуют изделия кольцевого сечения с немедленной распалубкой, что позволяет увеличить коэффициент использования оборудования.

Центробежный прокат применяют для уплотнения жестких бетонных смесей, что по сравнению с традиционными методами уплотнения дает экономию цемента, тепловой энергии, снижает трудозатраты, улучшает санитарно-гигиенические условия труда.

7.7. Напорное формование изделий бетононасосами и пневмонагнетательными установками позволяет совместить в одном непрерывном процессе укладку, распределение и уплотнение бетонной смеси. Этим способом формуют подвижные и литые смеси.

Режимы безвибрационного формования

А. Технологические режимы формования изделий
способом статического прессования и вакуумирования

7.8. При давлении на бетонную смесь, находящуюся в замкнутом объеме, преодолеваются внутренние силы сцепления частиц и вязкости системы, происходит сближение частиц компонентов смеси и ее уплотнение.

7.9. В процессе уплотнения прессованием подвижной смеси сближение частиц происходит при одновременном удалении части воды затворения, приводящем к снижению подвижности смеси и превращению ее в жесткую, а жесткой смеси - в результате уменьшения объема защемленного смесью воздуха.

7.10. Прессование может производиться в статическом или циклическом режимах. Статическое прессование предполагает одноразовое приложение нагрузки к смеси и выдерживание под ней до стабилизации деформаций, циклическое прессование - многократное приложение и снятие нагрузки с определенной периодичностью. При циклическом прессовании величина формующего давления может быть в 50 - 100 раз меньше, чем при статическом.

Эффективность прессования определяется в случае статического давления только его величиной, а при циклическом - величиной давления и количеством циклов его приложения, при этом количество циклов возрастает с увеличением толщины изделия.

7.11. Режим прессования определяется завершением процесса уплотнения, т.е. стабилизацией толщины изделия на одном уровне и прекращением отделения воды.

7.12. При использовании статического прессования длительность приложения нагрузки принимается не свыше 15 - 20 мин и не дольше продолжительности ритма работающей технологической линии. При этом верхний предел давления определяется мощностью оборудования и величиной поверхности изделия, а длительность приложения - прекращением дальнейшего уплотнений бетона, зависящего при конкретном давлении от консистенции смеси и толщины изделия.

В соответствии с существующими промышленными данными величина давления должна находиться в диапазоне 28 - 56 МПа при длительности его приложения, значительно меньшей ритма работы линии.

7.13. При прессовании в циклическом режиме длительность приложения нагрузки цикла принимают порядка 80 % его продолжительности, но не менее 4 с. Длительность импульса определяется работой гидравлической системы прессующей установки, а также длительностью выдерживания уплотненной смеси под постоянным давлением, в ходе которого происходит фильтрация воды из смеси.

Верхний предел давления обычно принимают не более 0,2 МПа, а число циклов пульсации нагрузки принимают обратно пропорциональным величине давления. Так, при давлении 0,1 МПа число циклов принимают равным 15 - 25, а при давлении 0,05 МПа - 35 - 45 (при частоте не более 0,2 Гц).

7.14. Процесс формования при использовании статического прессования включает очистку и сборку формы; смазку ее; установку и фиксацию арматуры; установку и фиксацию по форме дозирующей рамы, выбранной в соответствии с консистенцией приготовленной смеси; дозирование смеси (по весу, если жесткая, или по объему, если подвижная или литая) заполнением жидкой смесью формы заподлицо с верхом дозирующей рамы; установку замыкающего элемента (применяемого при приготовлении разнотипной продукции); подачу на пост прессования; прессование наложением давления от пресса; выкатывание сформованного изделия; съем дозирующей рамы и замыкающего элемента с возвратом их к постам повторного использования; удаление с поверхности изделия отделившейся воды (наклоном формы); отделка поверхности изделия вровень с верхом бортов.

7.15. Для удаления воды, отжатой в ходе прессования, пост формования может быть оснащен вакуумной системой, включающей вакуумный насос, водосборник, вакуумный трубопровод с запорно-регулирующей системой и вакуумные щиты с фильтрующей поверхностью. Вакуумная система создает разрежение порядка 0,065…0,092 МПа.

7.16. Перед началом формования загружают приемный бункер бетонной смесью объемом не менее 6,3 м. Подачу бетонной смеси в приемный бункер рекомендуется производить при помощи ленточных транспортеров. Допускается также транспортирование смеси в бадьях, оборудованных механизированными затворами. Периодичность загрузки устанавливается с таким расчетом, чтобы в бункере постоянно поддерживался минимальный объем смеси, равной 0,3 м3.

7.17. На приемном бункере или бадье следует устанавливать решетку, исключающую возможность попадания зерен заполнителя размером более 30 мм.

7.18. Продолжительность выдержки дозатора в открытом положении с включенным вибратором устанавливается опытным путем исходя из условия заполнения пресс-формы, частично уплотненной бетонной смесью, съем которой обеспечивает получение заданной толщины при соблюдении установленных допусков. Для тротуарных плит при объеме пространства между поднятой пресс-формой и дозирующим устройством 75 л это время составляет: для мелкозернистой бетонной смеси - 14 с и для бетонной смеси с крупным заполнителем до 20 мм и с расходом цемента 340 - 380 кг/м3 - 7 с.

7.19. Продолжительность прессования и вакуумирования бетонной смеси устанавливается опытным путем в зависимости от толщины формуемых изделий, состава бетонной смеси, степени разрежения в вакуум-системе, наличия фильтров в прессующем штампе. Например, при изготовлении плит толщиной 70 мм из бетона класса В35 рекомендуется производить одновременно прессование и вакуумирование в течение 60 с. Прессующее давление в первые 10 с должно составлять не менее 0,5 МПа и в последующие 50 с - не менее 1 МПа. Степень разрежения в вакуум-полости пресс-формы должна быть не менее 0,07 МПа. После окончания прессования и вакуумирования бетонной смеси перед началом подъема прессующего штампа в его вакуум-полости следует создать атмосферное давление.

7.20. В процессе формования изделий фильтры прессующего штампа нужно периодически (не реже одного раза каждые 2 ч работы) очищать и промывать при помощи специальной капроновой щетки.

7.21. При съеме свежеотформованных изделий степень разрежения в подводящих вакуум-шлангах при зависании изделий на вакуум-траверсе Рв.з должна быть не менее величины, определяемой по формуле

Рв.з ³ 1,5(rhg + Pв.откр),

где  r - плотность бетона свежеотформованных изделий; h - толщина изделий; g - ускорение силы тяжести; Pв.откр - степень разрежения в подводящих вакуум-шлангах при открытых фильтрах вакуум-траверсы.

7.22. При перерывах в работе более 2 ч оборудование линии должно быть очищено от остатков бетона и тщательно промыто. Особое внимание следует обращать на качество очистки дозаторов, всех фильтров и бортов пресс-форм.

Б. Технологические режимы роликового формования

7.23. Изготовление изделий роликовым формованием может быть осуществлено как конвейерным, так и агрегатно-поточным способом производства. При разработке формовочного оборудования целесообразно предусматривать возможность повторного прохождения формы (или поддона) под прессующими роликами.

7.24. Поверхности форм перед формованием должны быть очищены от остатков бетона. Особенно тщательная очистка требуется при формовании рельефных изделий, например для архитектурного оформления.

7.25. В связи с тем, что бетонные смеси, формуемые роликовым способом, имеют сравнительно малую влажность и повышенную сорбционность, на поверхностях подготовленных форм не допускается наличие подтеков или луж жидкой смазки. Рекомендуется применять консистентные смазки, например, эмульсол, петролатум и т.п.

7.26. Для стабилизации работы прессующих роликов рекомендуется продольные формообразующие борта выполнять инвентарными, входящими в состав оборудования формовочной установки. Это уменьшит износ бортоснастки, упростит распалубку изделий, снизит металлоемкость линии.

7.27. Остановка в процессе изготовления изделий не допускается. В случае перерыва запуск оборудования осуществляется в следующей последовательности:

при неподвижной форме включается привод перемещения балки и подача смеси;

после образования выдавленного роликами валика смеси включается привод перемещения формы. Валик смеси должен иметь длину, примерно равную длине подпитываемой части ролика.

7.28. При переходе с формы на форму контроль за длиной валика осуществляется после захода прессующего ролика примерно на 1/2 - 1/4 его формующей части.

7.29. При изготовлении мелкоразмерных изделий, в которых один из линейных размеров в плане не более длины роликов, формование одиночных изделий следует осуществлять не непрерывно, а циклично, устанавливая форму под прессующие ролики на всю ее длину. При этом процесс формования заключается только в статическом прессовании (без прокатки).

В тех случаях, когда на поддоне может размещаться несколько мелких изделий, процесс формования рекомендуется осуществлять непрерывно, располагая формуемые изделия таким образом, чтобы грани меньшего размера находились вдоль оси роликов. При этом перегородки между изделиями способствуют увеличению степени уплотнения.

В. Режимы производства железобетонных труб
и колец с применением ременных центрифуг

7.30. Технологический процесс производства трубчатых и кольцевых изделий на ременных центрифугах включает следующие операции:

изготовление арматурных каркасов;

подготовку формы к бетонированию;

загрузку формы бетонной смесью;

уплотнение бетонной смеси;

установку формы со свежеотформованным изделием на пост тепловлажностной обработки;

распалубку готового изделия;

приемку, маркировку, транспортирование и складирование.

Таблица 3

Операции

Продолжительность операций, мин

трубы диаметром, мм

кольца диаметром 100 мм

400

100

600

800

1000

Загрузка и распределение

3

3

4

4

6

4

Уплотнение

4

5

6

8

10

8

Остановка

1

2

2

2

3

2

Примечание. При изменении скорости вращения формы и состава бетонной смеси режимы формования корректируются заводской лабораторией.

7.31. Железобетонные центрифугированные изделия изготовляют в металлических разъемных формах, не допускающих фильтрации цементного молока.

7.32. Формование железобетонных центрифугированных изделий осуществляют в такой последовательности: сначала загрузка бетонной смеси; затем распределение и уплотнение.

7.33. Загрузку формы бетонной смесью осуществляют ленточным питателем в неподвижную форму при изготовлении изделий менее 5000 мм и во вращающуюся форму при изготовлении изделий 500 мм и более.

Необходимое число оборотов формы при загрузке определяется по формуле

где R, r - соответственно наружный и внутренний радиусы трубы, м.

7.34. Число оборотов формы, необходимое для равномерного распределения бетонной смеси, определяют по формуле

7.35. Число оборотов формы в минуту, необходимое для уплотнения бетона, определяют по формуле

nуп = V60/Dбp

где V - линейная скорость ремня, м/с; Dб - наружный диаметр бандажа формы, м.

7.36. Величину уплотняющего усилия при центрифугировании бетона изделий определяют по формуле

Pупл = 90 · 10-10 - [(R3 - r3) / R]n2,

где п - число оборотов формы, об/мин.

7.37. Усредненная продолжительность периодов формования изделий при V = 30 м/с должна соответствовать величинам, приведенным в табл. 3.

Г. Режимы производства изделий кольцевого сечения методом центробежного проката с немедленной распалубкой

7.38. Укладку бетонной смеси в форму следует производить при скорости ее вращения в пределах значений, приведенных в табл. 4.

Таблица 4

Внутренний диаметр изделия, мм

Пределы скорости вращения форм, с-1 (об/мин)

700 и менее

От 0,92 (55) до 1,08 (65)

1000

«   0,83 (50)    « 1 (60)

1500

«   0,67 (40)    « 0,83 (50)

2000 и более

«   0,58 (35)    « 0,75 (45)

7.39. Перед укладкой бетонной смеси внутреннюю поверхность вращающейся формы следует смочить водой из удочки-распылителя и посыпать песком с Мкр 2,5 и влажностью не более 2 %. Расход песка на 1 м2 внутренней поверхности формы от 0,6 до 1 кг.

7.40. Укладку бетонной смеси в форму следует производить за несколько проходов ленточного питателя бетоноукладчика равномерными по всей длине формы слоями до появления следа от уплотняющего вала. Толщина каждого укладываемого слоя не должна превышать 25 мм.

7.41. После появления следа от уплотняющего вала на внутренней поверхности формуемого изделия последний слой бетонной смеси следует уложить с избытком до выхода ее на боковые дорожки формы за один проход ленточного питателя бетоноукладчика.

7.42. Уплотняющий вал и беговые дорожки формы в процессе работы следует периодически очищать от налипающей смеси.

7.43. После укладки бетонной смеси уплотнение следует производить при скорости и продолжительности вращения формы в пределах значений, приведенных в табл. 5.

Таблица 5

Диаметр изделия, мм

Пределы скорости вращения формы, с-1 (об/мин)

Продолжительность вращения формы, мин

700 и более

От 1,33 (80) до 1,42 (85)

2

1000

«   1,17 (70)     « 1,25 (75)

2

1500

«   1 (60)         « 1,08 (65)

3

2000 и более

«   0,83 (50)     « 0,92 (55)

3

7.44. Уплотнение бетонной смеси следует заканчивать посыпкой внутренней поверхности формуемого изделия песком с Мкр 2,5 и влажностью не более 2 %.

7.45. Остановку вращения формы следует производить плавно снижением скорости вращения формы в течение одной минуты.

7.46. После остановки вращения форму вместе с изделием необходимо снять с прокатного вала и перевести из горизонтального в вертикальное положение при помощи кантователя и крана. Затем отсоединить нижнее торцовое кольцо от фланца обечайки формы и технологического поддона. Оставшуюся часть формы с изделием перенести на пост распалубки и завершить распалубку свежеотформованного изделия путем освобождения его от обечайки формы.

Д. Технологические режимы напорного формования

7.47. Бетононасосами и пневмонагнетателями укладываются умеренно-подвижные, подвижные и литые смеси, имеющие осадку стандартного конуса более 6 см.

7.48. Наименьший размер формы и минимальное расстояние между стержнями арматуры должны быть не менее трех наибольших размеров частиц заполнителя.

7.49. Перед началом формования бетонной смеси средствами трубопроводного транспортирования необходимо проверить герметичность всех узлов и сопряжений бетоноводов и форм.

7.50. Необходимое давление для напорного формования Р, МПа, находят из суммы сопротивления движению смеси при транспортировании ее до формы Р1 и сопротивления при заполнении формы Р2:

Р = (Р1 + Р2) £ РС,

где РС - максимальное давление, развиваемое бетононасосом или пневмонагнетателем.

7.51. При недостаточности давления бетононасоса или пневмонагнетателя для полного заполнения формы выполняется два или более вводов. Формование в этом случае осуществляется разными вводами в несколько приемов. Допускается синхронное формование двумя установками.

7.52. Для повышения эффективности напорного формования допускается применять периодическое воздействие на форму навесными вибраторами.

7.53. Бетонная смесь может оставаться в бетоноводе в случае использования пневмонагнетателей не более 15 мин, бетоноводов - 45 мин; во втором случае через каждые 10 - 12 мин необходимы кратковременные включения бетононасоса. При более длительных остановках следует выгружать смесь из бетоновода и бетоновод промывать.

7.54. После завершения цикла формования установку и бетоновод очищают и промывают от остатков бетонной смеси со сливом загрязненной воды в отстойник, а затем в канализацию.

8. ОБОРУДОВАНИЕ ДЛЯ БЕЗВИБРАЦИОННОГО ФОРМОВАНИЯ

Прессующее оборудование

8.1. В состав оборудования для формования прессованием входят прессующая установка, специализированная горизонтальная форма с рамой дозирования и замыкающий элемент (специализированный или универсальный пуансон).

8.2. Прессующая установка представляет собой грузовой, механический или гидравлический пресс (рис. 11 - 13).

Механические прессы применяют только при циклическом прессовании.

8.3. Горизонтальная форма в местах примыкания бортов к поддону должна иметь зазоры величиной 1 - 1,5 мм для отвода выходящей из смеси воды. По верхней кромке бортов должна устанавливаться рама дозирования смеси на изделие, высота которой вместе с бортом соответствует высоте объема загружаемой в форму неуплотненной смеси заданной консистенции.

При использовании смесей подвижностью более 10 см осадки конуса высота элементов рамы дозирования должна соответствовать 10 % высоты бортов формы.

Рис. 11. Схема грузового пресса

1 - замыкающий элемент; 2 - форма с изделием; 3 - гидродомкрат; 4 - пригруз; 5 - грузовая плита; 6 - тележка; 7 - рельсовая опора; 8 - насосная станция

Рис. 12. Схема механического пресса

1 - замыкающий элемент; 2 - форма с изделием; 3 - тележка; 4 - электромотор; 5 - передаточный вал; 6 - муфта в кожухе; 7 - штанга с резьбой; 8 - рельсовая опора

Рис. 13. Схема гидравлического пресса

1 - станина; 2 - пуансон; 3 - форма с изделием; 4 - подъемная траверса; 5 - гидродомкрат; 6 - насосная станция

8.4. Замыкающий элемент должен иметь размеры, обеспечивающие свободное движение его между бортами при прессовании и зазор между ним и бортами должен быть не менее 1,5 мм.

Прилегающая к бетону поверхность замыкающего элемента, предназначенного для уплотнения подвижных и литых смесей, должна состоять из отдельных пластин, собираемых в конструкцию, с зазорами 1 - 1,5 мм с шагом зазоров 5 - 8 см, предназначенных для вывода через них воды при уплотнении бетона.

При прессовании жестких смесей зазоры в замыкающем элементе не предусматриваются, а в случае однотипных изделий замыкающий элемент представляет собой пуансон, соединенный с верхней подушкой пресса и, следовательно, не принадлежит форме.

8.5. Замыкающий элемент и дозирующая рама нуждаются в очистке только при длительных перерывах в формовании, достаточных для схватывания и затвердевания оставшегося цементного камня. В таких случаях, если окажется недостаточной промывка щелей замыкающего элемента напорной струей воды, пластины подлежат съему, механической или химической очистке, смазке и установке на каркасе элемента вновь.

Качество содержания замыкающего элемента (поверхностей, прилегающих к бетону и щелей) непосредственно сказывается на качестве бетона прессуемых изделий, изготовляемых из подвижных и литых смесей.

Эти же условия подлежат выполнению и в случае использования взамен замыкающего элемента пуансона, установленного на прессе, при формовании изделий с удалением из смеси воды.

8.6. Конструкция и описание примерного прессующего оборудования даны в прил. 10.

Оборудование для вакуумирования

8.7. Вакуум-система должна состоять из вакуум-насоса, вакуум-сосуда с водосборником, системы трубопроводов, управляющих кранов и контрольно-измерительных приборов.

8.8. Рекомендуется применять вакуум-насосы производительностью не менее 3 м3/мин и создающие разрежение не менее 0,1 МПа.

8.9. Вакуум-насосы подразделяются на поршневые (мокрые и сухие), ротационные пластинчатые, водокольцевые и струйные.

8.10. Мокрые поршневые вакуум-насосы создают разрежение до 0,085 МПа, а сухие - до 0,095 МПа, причем последние обладают всеми преимуществами центробежных машин перед поршневыми. Предельный вакуум, создаваемый ротационными пластинчатыми вакуум-насосами с выравниванием давления, составляет 0,099 МПа, а без выравнивания - 0,096 МПа.

Разрежение до 0,0998 МПа достигается с помощью многоступенчатых вакуум-насосов. К их достоинствам следует отнести конструктивную простоту и отсутствие движущихся частей, а к недостаткам - значительный расход пара и низкий к.п.д.

8.11. В качестве запорной арматуры рекомендуется применять пробковые краны с любым механическим приводом.

8.12. Подключение вакуум-системы к пресс-форме рекомендуется осуществлять с помощью подвижного патрубка, прижимаемого к отверстию пресс-формы через уплотнительную резиновую прокладку и управляемого пневмоцилиндром.

8.13. В состав технологической линии для производства изделий методом прессования и вакуумирования кроме оборудования, перечисленного в п. 8.1, входят вакуум-система, механизм распалубки, механизмы перемещения тележек и форм.

8.14. Механизм распалубки должен обеспечивать надежный съем свежеотформованных плит и других изделий из формы и укладку на поддон тележки, не допуская при этом разрушения изделия.

8.15. Для плит, имеющих незначительную толщину, наиболее целесообразным является распалубочное устройство с вакуум-траверсой и механизмом подъема формы, позволяющим перемещать ее в два этапа: первый - подъем формы с изделием в сборе до соприкосновения с вакуум-траверсой и фиксация стенок формы в поднятом положении; второй - опускание днища и сдвиг стенок формы с изделия после подачи поддона в зазор между днищем и стенками формы.

8.16. В зависимости от условий работы и кинематической схемы механизмов в формующих линиях могут применяться электро-, гидро- и пневмоприводы.

8.17. Электроприводы рекомендуется выбирать для следующих механизмов: механизма опускания и подъема тележек, механизма поперечного перемещения тележек, тележки-челнока, ворошителя и гидростанций.

8.18. Для механизмов опускания, подъема и поперечного перемещения тележек должны применяться короткозамкнутые асинхронные двигатели с повышенным скольжением тропического исполнения, так как они могут работать с частыми пусками в среде с повышенными температурой и влажностью. Для приводов ворошителя, тележки-челнока и гидростанций могут применяться короткозамкнутые асинхронные двигатели в нормальном исполнении.

8.19. Ограничения движений электроприводов и механизмов, а также остановки их в любых промежуточных положениях должны осуществляться конечными включателями.

8.20. Пневматический привод рекомендуется применять в быстродействующих механизмах, не требующих значительных усилий. Так, пневмопривод может быть использован в механизмах фиксации карусели, подключения вакуумной системы, передвижения поддонов, закрытия и открытия штор, разгрузки тележек и контейнеризации. Пневмопривод в состоянии обеспечивать устойчивую работу механизмов при давлении в пневмосистеме от 0,4 до 0,7 МПа.

8.21. В случае необходимости конечные положения штоков пневмопривода должны быть зафиксированы конечными выключателями, включенными в цепь управления линии.

8.22. Гидравлический привод рекомендуется применять в механизмах, требующих значительных усилий при небольших скоростях передвижения. Так, гидропривод может быть применен для прессования, поворота карусели, подъема форм на постах дозирования, распалубки и передвижения тележек в туннельной камере. Если это необходимо, то конечные положения механизма гидропривода могут фиксироваться конечными выключателями, включенными в цепь управления линии.

8.23. Гидростанция должна обеспечивать работу гидропривода в соответствии с заданной циклограммой при давлении масла в гидросистеме не более 10 МПа.

Включение любого гидропривода должно осуществляться с пульта управления посредством электромагнитных золотников.

8.24. Управление технологической линией и ее отдельными агрегатами должно осуществляться дистанционно с пульта управления. Щиты и пульт управления необходимо устанавливать в производственном помещении вблизи технологического оборудования. Рекомендуется предусматривать два щита и один пульт. Один щит и пульт - для управления механизмами линии, другой щит - для управления тепловлажностной обработкой изделия в пропарочной камере.

На щитах и пульте следует установить приборы контроля и автоматического регулирования, пускорегулировочную и сигнальную аппаратуру.

Оборудование для роликового формования

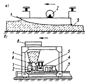
8.25. Роликовое формование осуществляется на специальных установках (рис. 14), имеющих балку, совершающую возвратно-поступательное движение, на которой закреплены принудительно или свободно вращающиеся прессующие ролики или секторы. Бетонная смесь через течки бункера подается под ролики и при движении балки с роликами захватывается последними и вдавливается слоями в форму. По мере выдавливания из-под роликов избыточного количества бетонной смеси форма с формуемым изделием перемещается в направлении, перпендикулярном направлению возвратно-поступательного движения балки. Нижняя поверхность балки удерживает (стабилизирует) отформованную часть изделия от выдавливания из формы и одновременно заглаживает открытую поверхность изделия.

8.26. Формовочная установка в целях обеспечения качественного изготовления изделий должна иметь число двойных ходов балки с прессующими роликами в пределах от 25 до 50 в минуту.

8.27. Для повышения производительности процесса и интенсивности уплотнения рекомендуется осуществлять принудительное вращение роликов (секторов), для чего установка снабжается узлом принудительного поворота.

Следует иметь в виду, что свободное вращение прессующих элементов допускается, если их количество не более двух, или при любом их количестве, если число двойных ходов балки не превышает 30 в минуту.

8.28. Смесь под прессующие ролики следует подавать равномерно, для чего должны выполняться условия:

Вт = Ви - (2а - 1) (R + d) / a и                                                    (1)

2Rкр = 3 (R + d) + Bт,                                                            (2)

где Bт - ширина течки бункера в свету, м (для исключения зависания смеси должно выполняться условие 0,3 > Вт > 0,2); Bи - ширина изделия, м; а - количество прессующих роликов (секторов), назначаемое из условия

а ³ Ви / 2 (R + d) + (0,2 - 0,3),                                             (3)

где R - радиус прессующего ролика (сектора), м; d - расстояние от образующей ролика до ближайшей внутренней поверхности течки бункера, м; Rкр - радиус кривошипа, м.

8.29. Величина зазора между нижней кромкой точек бункера и верхней плоскостью формы (см. рис. 15) находится по формуле

D = 0,02R.                                                             (4)

Рис. 14. Конструктивная схема устройств роликового формования

1 - балка; 2 - расходный бункер; 3 - формующие ролики; 4 - направляющие; 5 - форма; 6 - кривошипно-шатунный механизм; 7 - рольганг; 8 - привод перемещения формы; 9 - ходовой винт

Рис. 15. Схема к расчету по формулам (6) и (7)

1 - бункер; 2 - форма с изделием; 3 - привод

8.30. Подачу смеси в течки бункера, во избежание ее зависания, рекомендуется осуществлять непрерывно, обеспечивая минимальную высоту столба, т.е. в количестве, соответствующем расходу смеси при формовании. Линейные размеры выходной течки в свету должны быть не менее 0,2´0,25 м. Вибровозбудители на вибробункере допускаются, так как они способствуют уплотнению смеси в течках бункера и препятствуют свободному истечению смеси. Допускается применение механических ворошителей.

Рис. 16. Номограмма для определения Ку9 в интервале значений Ку 1…9

8.31. Скорость перемещения формы при роликовом формовании Vф ориентировочно (проектный расчет) может быть найдена по формуле

Vф = 2 · 10-2 R lр n (1 - cosa) / Ky9 hи,                                                  (5)

где lp - длина подпитываемой части прессующего ролика, м; п - число двойных ходов рабочего органа в минуту; hи - толщина формуемого изделия, м; a - угол захвата прессующего ролика, рад

a = (0,19 + 0,057 Ц/В) (0,75 + 4,65 · 10-3n);                                       (6)

Ку - коэффициент уплотнения свежеотформованной бетонной смеси.

8.32. Номограмма для определения Ку в интервале значений К = 1,0…0,9 приведена на рис. 16.

8.33. Коэффициент уплотнения Ку = 0,96…1 может быть достигнут только при соблюдении условия

R = (0,9…1) hи.                                                                   (7)

Условие (7) полностью справедливо для изделий высотой до 0,15 м. В случае формования изделий большей высоты Ку нижней части изделия будет на 15…20 % ниже, чем верхней.

По конструктивным соображениям должно соблюдаться условие

0,07 < R < 0,2.                                                               (8)

8.34. Для исключения возможности выпирания свежеотформованной бетонной смеси из-под стабилизирующей балки должно соблюдаться условие

Bd ³ 2hи,                                                                    (9)

где Bd - ширина стабилизирующей балки, м.

8.35. Прессующие ролики можно устанавливать консольно или на двух опорах. Для повышения надежности их работы второй вариант предпочтительней.

Длина роликов назначается при консольном креплении

lр = 0,2…0,3 м;                                                             (10)

при креплении роликов на двух опорах

lр ³ 2,5D,                                                                 (11)

где D - диаметр ролика, м.

8.36. Верхняя плоскость бортов формы должна иметь минимально возможный зазор с нижней образующей прессующих роликов (в пределах допусков на формы); непараллельность осей роликов верхней плоскости бортов формы не должна превышать 1 мм.

8.37. При повышенных требованиях к соблюдению проектной толщины изделия рекомендуется применять плавающую стабилизирующую балку, т.е. осуществлять ее поджатие к верхней поверхности бортов формы, например, с помощью пневмоцилиндров.

8.38. Зазоры между задним торцом прессующих роликов и передней кромкой стабилизирующей балки не должны превышать 4 мм, а нижняя образующая прессующих роликов должна находиться на уровне стабилизирующей плоскости балки.

8.39. Смесь, снятую стабилизирующей балкой во время калибровки, подают непосредственно в следующую форму. Накопление отходов бетона для последующего их использования не допускается.

8.40. Методика определения нагрузок, действующих на форму и на установку в процессе роликового формования, приведена в прил. 13.

Оборудование для центрифугирования

8.41. При формовании изделий центрифугированием основным оборудованием служат центрифуги и питатели, укомплектованные необходимым количеством форм.

Применяют в основном три типа центрифуг: роликовые, осевые или шпиндельные и ременные.

8.42. Роликовые центрифуги (рис. 17,а) из-за простоты конструкции наиболее распространенны. Эти центрифуги более тихоходны по сравнению с осевыми и ременными, но требуют хорошо отбалансированных форм.

Роликовые центрифуги могут быть одноместными, предназначенными для одновременной установки только одной формы, и многоместными.

8.43. Основные технические характеристики роликовых центрифуг, выпускаемых промышленностью серийно, приведены в прил. 14.

8.44. Осевые центрифуги (шпиндельные) менее чувствительны к неуравновешенности форм, что позволяет применять более высокую частоту вращения. Формы на осевых центрифугах не имеют бандажей, а опираются торцами на планшайбы, поэтому износ форм меньше и срок их службы больше, чем у форм, применяемых на роликовых центрифугах.

8.45. Ременные центрифуги (рис. 17,б) применяют для формования труб и колец диаметром 400…1200 мм. Основные технические характеристики ременных центрифуг, выпускаемых промышленностью серийно, приведены в прил. 14.

Оборудование для центробежного проката

8.46. В центробежном прокате уплотнение бетона осуществляется с помощью вала, установленного внутри горизонтально расположенной формы и находящегося во фракционном зацеплении с торцевыми обечайками формы.

Рис. 17. Схемы центрифуг

а - роликовой: 1 - рама; 2 - форма; 3 - стойка; 4 - удерживающие ролики; 5 - ролики; 6 - вал; б - ременной: 1 - форма; 2 - кордошнуровые ремни; 3 - домкрат; 4 - шкив; 5 - станина

8.47. Основными частями центробежно-прокатной установки (рис. 18) являются горизонтальный вал диаметром 300…400 мм, предназначенный для приведения формы во вращение, и ее удерживания во время изготовления трубы; опорное устройство с поворотной траверсой. Вал удерживается в горизонтальном положении при помощи опоры и стоек с траверсой. В опору встроены подшипники вала. На этом же конце вала расположены приводные шкив и каток с ребордой. На другом конце вала на расстоянии, равном длине формы, расположен второй каток с ребордой. Приводной шкив соединяется клиновидными ремнями со шкивом двигателя или редуктора. Второй конец вала снабжен головкой, которая входит в траверсу, устанавливаемую в стойки с целью предотвращения продольных смещений формы.

8.48. В комплект оборудования входит самоходный бетоноукладчик с бункером, саморазгружающимся при помощи скребкового механизма. Движение скребкового механизма, транспортера питателя и ходовой части бетоноукладчика согласованы таким образом, чтобы на ленте при подаче бетонной смеси образовывался сплошной поток без разрывов. Управление бетоноукладчиком осуществляется оператором с общего пульта управления или дистанционно.

8.49. В качестве каркасно-сварочной машины применима любая типовая, изготовляющая каркасы кольцевой формы диаметрами от 0,4 до 2 м.

8.50. Формы металлические, индивидуальной конструкции, неразъемные, со сменными поддонами и инвентарными торцовыми кольцами.

Рис. 18. Схема центробежно-прокатной установки

1 - вал; 2 - форма; 3 - труба; 4 - каток; 5 - траверса; 6 - опора; 7 - стойка; 8 - головка

8.51. Для подачи формы и приемки ее после формования применяется подкатная тележка с подъемной платформой. Высота подъема платформы зависит от наружного диаметра формы изготавливаемого изделия.

8.52. Кантователь представляет собой две жестко закрепленные в фундаменте опоры, имеющие вырезы под цапфы форм.

8.53. В состав вспомогательного оборудования входят различные траверсы и приспособления для чистки, смазки и сборки форм.

Оборудование для напорного формования

8.54. Установки для напорного формования изделий состоят из бетононасоса или пневмонагнетателя, бетоновода с устройствами для его очистки, переходников от труб к формам.

8.55. Бетононасосы и пневмонагнетатели могут устанавливаться стационарно в бетоноприготовительном отделении или на специальных тележках, передвигающихся на рельсовом или пневмоколесном ходу.

9. КОМБИНИРОВАННОЕ ФОРМОВАНИЕ

Вибровакуумирование

9.1. Вибровакуумирование является комплексным способом формования изделий, включающим снижение исходного водосодержания бетонной смеси путем ее вакуумирования и повторно-кратковременного вибрирования, в результате которого достигается начальная прочность бетона при сжатии 0,15 - 0,45 МПа.

9.2. Вибровакуумное формование изделий производится на установках вертикального и горизонтального типа, обеспечивающих уплотнение бетонной смеси, немедленную распалубку и беспетлевой (на присосе) съем свежеотформованных изделий.

Рис. 19. Схема вибровакуумной установки вертикального типа

1 - боковые вибровакуум-щиты; 2 - бункер раздаточный; 3 - двухсторонний вакуумщит-траверса; 4 - вакуум-насос; 5 - гидропривод; 6 - свежеотформованные изделия

Рис. 20. Схема вибровакуумной установки горизонтального типа

1 - механизм подъема; 2 - механизм разворота; 3 - вибровакуум-форма; 4 - свежеотформованные изделия

9.3. Формование железобетонных конструкций на вибровакуумных установках вертикального типа (рис. 19) включает вибровакуумное уплотнение бетонной смеси до получения заданной структурной прочности бетона, раскрытие боковых вакуум-щитов, опускание на присосе свежеотформованных изделий в турникет, отключение вакуума в двустороннем вакуум-щите и возвращение его в исходное положение.

9.4. Формование железобетонных конструкций на установках горизонтального действия (рис. 20) включает вибровакуумное уплотнение бетонной смеси, разворот вакуум-формы на 180°, опускание вакуум-формы с изделием на поддон или пакет отформованных плит. Отключение вакуума и возвращение вакуум-щита в исходное положение.

9.5. Вакуумирование бетонной смеси производится при разрежении в системе не менее 0,07 МПа (абс. давл. 0,03 - 0,02 МПа). Повторно-кратковременное вибрирование осуществляется стандартными параметрами (n = 2800 кол/мин; А = 0,5 - 0,6 мм).

9.6. Процесс вибровакуумного уплотнения бетонной смеси включает сумму периодов вакуумирования tв и вибровакуумирования tвв.

Чередование вакуумирования и вибровакуумирования должно продолжаться до прекращения выделения жидкой фазы на поверхности изделия в процессе очередного вибрирования продолжительностью 5 - 10 с.

9.7. Эффективность вибровакуумного уплотнения может оцениваться коэффициентом изменения плотности Ки.п:

Ки.п = rфакт / rисх,

где rфакт - плотность свежеотформованного вакуум-бетона; rисх - плотность бетонной смеси исходного состава.

9.8. Высота изделия, формуемого в вертикальном положении с немедленной распалубкой и съемом h, определяется по формуле

h = s / r,

где s - сопротивление сжатию свежеотформованного бетона; r - плотность свежеотформованного бетона.

Виброгидропрессование

9.9. Виброгидропрессование применяют при изготовлении напорных труб. Способ заключается в том, что после виброформования выполняют гидродопрессовку изделия через специальный сердечник, имеющий резиновую оболочку. Сердечник помещается внутрь формы до начала формования (форма с арматурой устанавливается на сердечник). Бетон подается в форму бетоноукладчиком и предварительно уплотняется наружным вибрированием навесными вибраторами.

После заполнения формы бетонной смесью в сердечник подают воду и поднимают ее давление до 3…3,5 МПа в течение 30 мин. При этом резиновая оболочка сердечника давит на уплотненную вибрацией бетонную смесь и доуплотняет ее.

Давление воды под резиновой оболочкой сердечника поддерживают до конца тепловой обработки изделия.

9.10. С целью повышения производительности труда и снижения уровня шума вместо навесных вибраторов для укладки смеси рекомендуется применять специальные виброплошадки.

9.11. Виброплощадка для уплотнения бетонной смеси при формовке труб (рис. 21) состоит из виброрамы, опирающейся через упругие опоры на раму, которая закреплена к фундаменту анкерными болтами. На виброраме сверху и сбоку жестко закреплена опорная тумба, в верхней части которой смонтирован вибровозбудитель, приводимый в действие через клиноременную передачу от электродвигателя. Электродвигатель закреплен на стойке, установленной на отдельном фундаменте, что обеспечивает надежную и долговечную работу электродвигателя, не подвергающегося воздействию вибрации. Четыре тяги служат для закрепления и прижатия формы к виброраме.

9.12. Формовочный пост для изготовления труб виброгидропрессованием может состоять из ленточного бетоноукладчика, представляющего собой облегченную конструкцию бетонораздатчика СМЖ-71А, и двух виброплощадок ВМК 293-8/3. Работа на формовочном посту организовывается так, что на одной виброплощадке идет укладка и уплотнение смеси в форме, а на другой - установка, закрепление и подготовка формы к заполнению смесью.

Рис. 21. Схема виброплощадки для уплотнения бетонной смеси при формовке труб

1 - электродвигатель; 2 - опорная тумба; 3 - вибровозбудитель; 4 - крышка траверсы; 5 - форма; 6 - тяги; 7 - виброрама; 8 - упругие опоры; 9 - рама

10. ОТДЕЛКА СВЕЖЕОТФОРМОВАННЫХ ИЗДЕЛИЙ

Способы отделки открытых поверхностей

10.1. К способам отделки открытых поверхностей относятся: отделка декоративными фактурными бетонами и растворами; механическая обработка поверхностей; присыпка декоративными материалами; обнажение крупного декоративного заполнителя; штампование и прокатка для получения рельефной поверхности; создание бугристой поверхности различными способами и др.

10.2. Отделка фактурными растворами и бетонами рекомендуется при производстве массовых изделий, так как этот способ недорогой и нетрудоемкий.

С целью достижения необходимого качества поверхностей изделий для растворных отделочных слоев следует применять пески с модулем крупности не более 1,8. В отдельных случаях возможно применение более крупных песков. Для приготовления отделочных слоев желательно применение цементов, которые после заглаживания верхних поверхностей изделий имеют незначительное водоотделение.

Для повышения морозостойкости отделочных слоев следует применять малоподвижные и умеренно жесткие растворные смеси.

Фактурные смеси следует укладывать только на уже уплотненный конструктивный слой бетона. Время между укладкой декоративного и конструктивного бетона не должно превышать 1…1,5 ч.

При формовании многослойных панелей верхний слой может быть полностью заменен фактурным раствором.

10.3. Для укладки и разравнивания отделочных слоев применяют различные фактуроукладчики. Для качественного распределения декоративного бетона по обрабатываемой поверхности панели необходимо, чтобы смесь поступала равномерно по всей длине питателя.

Рис. 22. Фактуроукладчик

1 - бункер; 2 - декоративная смесь; 3 - конструктивный бетон; 4 - виброфартук; 5 - прижимное устройство

Наиболее эффективно применение фактуроукладчика, работающего по принципу скользящего виброштампа (рис. 22). Он имеет бункер криволинейной формы, позволяющий применять жесткие бетонные смеси. Загруженную в бункер декоративную смесь предварительно виброуплотняют в течение 60…70 с. Затем, при движении фактуроукладчика со скоростью 0,8…12 м/мин бетонная смесь поступает на поверхность уложенного конструктивного бетона через виброфартук, который заглаживает поверхность. Прижимное устройство гасит вибрацию и обеспечивает пригруз и дополнительное уплотнение смеси. Укладка декоративного слоя ведется за один проход фактуроукладчика. Фактурные смеси следует уплотнять в процессе формования так, чтобы коэффициент уплотнения был не менее 0,96.

10.4. Механическая обработка поверхностей применяется для получения гладких поверхностей, удовлетворяющих нормативные требования к внутренним поверхностям зданий, предназначенных для окраски или оклейки обоями.

По конструктивной схеме отделочные машины подразделяют на валковые, дисковые и реечные. Кроме того, для предварительной калибровки поверхностей изделий применяют брус с возвратно-поступательным движением поперек направления заглаживания.

Вышеперечисленные рабочие органы небольших размеров могут быть выполнены в виде навесного оборудования к бетоно- и раствороукладчикам или самоходным рамам. Дисковые устройства с диаметром диска 350 - 500 мм используются в качестве ручного инструмента.

Валковая отделочная машина (рис. 23) применяется для обработки умеренно жестких и малоподвижных бетонных смесей при изготовлении плит перекрытий, наружных и внутренних стен. Валковый рабочий орган выполняется в виде полого цилиндра диаметром 220…370 мм, вращающегося со скоростью около 6,5 м/с и установленного на самоходном портале. Заглаживание поверхности производится за 2 - 3 прохода.

Дисковая отделочная машина (рис. 24) применяется при окончательной обработке поверхностей изделий. Диск диаметром 400…1300 мм выполняется с закругленными краями для предотвращения появления рисок, возникающих от движения диска. С этой целью для повышения интенсивности заглаживания диску рекомендуется сообщать дополнительное вращательное движение.

Обработка поверхности изделия реечным рабочим органом (рис. 25) применяется как последняя технологическая операция по созданию гладкой поверхности. Рейка, совершающая возвратно-поступательное движение поперек направления заглаживания, оставляет на поверхности бетона полосы. Для предотвращения их возникновения рейке рекомендуется сообщать колебательное движение по направлению заглаживания.

Рис. 23. Валковая отделочная машина

1 - портал; 2 - привод передвижения портала; 3 - валок; 4 - привод вертикального перемещения валка; 5 - привод вращения валка; 6 - форма с изделием

Рис. 24. Дисковая отделочная машина

1 - диск; приводы: 2 - вращения диска; 3 - подъема диска; 4 - поперечного перемещения диска; 5 - перемещения портала

Для повышения эффективности обработки поверхности изделий и снижения трудоемкости рекомендуется применять отделочные машины, выпускаемые промышленностью серийно. Основные технические характеристики некоторых отделочных машин приведены в прил. 15.

10.5. Отделка изделий декоративными дроблеными материалами применяется при производстве наружных стеновых цокольных панелей и панелей входа.

В качестве декоративного материала применяют щебень из естественных декоративных пород фракций 10…20, 20…40 мм; крошку 2,5…5 мм, бой керамики и цветного стекла - эрклез, щебень, гравий, песок малоценных пород естественного камня, покрытие с поверхности специальными красочными составами. Для окрашивания заполнителя используют краски на основе жидкого стекла с добавлением пигментов, керамические подглазурные и кремнийорганические КО-174, состав которых приводится ниже.

Рис. 25. Заглаживающая машина с брусовым рабочим органом

1 - портал; 2 - брус; 3 - заглаживающая лыжа; 4 - привод возвратно-поступательного движения бруса; 5 - привод колебательного движения бруса; 6 - кулачки

Жидкое стекло плотностью 1,2..................................... 90…95

Гидрат окиси кальция..................................................... 3…0

Мел молотый................................................................... 2…1

Пигмент............................................................................ 4…2

Кремнефтористый натрий.............................................. 1…2

Нанесение декоративного материала производится механическими укладчиками равномерным слоем за один проход. Втапливание материала на 0,5 диаметра зерен ведется рейкой или валиком.

10.6. Способ отделки путем обнажения декоративного заполнителя при формовании «лицом вверх» рекомендуется при производстве стеновых панелей.

Сущность метода заключается в удалении растворной составляющей с декоративного заполнителя, расположенного на поверхности отделочного слоя. Обнажение ведется до тепловлажностной обработки, когда растворный слой еще не имеет прочности или после нее, если применяются вещества, замедляющие твердение цемента.

Отделку путем обнажения заполнителя выполняют в следующей технологической последовательности:

укладка, разравнивание и уплотнение декоративного бетона;

обнажение декоративного заполнителя;

дополнительная обработка отделочной поверхности после пропаривания.

Время с момента начала укладки бетонной смеси до окончания обнажения крупного заполнителя водой не должно превышать 1 ч.

Процесс обнажения можно производить в наклонном (до 30°) и горизонтальном положении. Обработка водой длится 8…10 мин, расход воды на 1 м поверхности 8 - 12 л.

При обнажении поверхностей изделий в наклонном положении формы нельзя применять заполнителя мелких фракций. К недостаткам способа относятся следующие: удаление с 1 м2 поверхности панели до 3…4 кг цемента; понижение прочности декоративного слоя при избыточном количестве воды; возможность возникновения трещин при установке свежеотформованных панелей в наклонное положение.

Техническая характеристика устройства, предназначенного для обнажения заполнителя мелкораспыленной водой в горизонтальном положении, приведена в прил. 15.

Рис. 26. Пистолет-распылитель Р-68

1 - бачок; 2 - сменные наконечники; 3 - сопло

В случае обнажения декоративного заполнителя с помощью замедлителей твердения цемента при формовании изделий «лицом вверх» замедлитель наиболее рационально наносить в смеси с сыпучими материалами равномерным слоем по выровненной поверхности свежеуложенного отделочного раствора.

10.7. Для получения рельефных поверхностей панелей входа, балконных ограждений и других изделий применяется тиснение декоративного раствора или штампование.

Тиснение верхних декоративных слоев умеренно жестких смесей производят через полимерные пленки или плотную ткань, штампами или посредством крупного заполнителя фракций 20…40, 40…70 мм. Тиснение ведется при давлении 0,04…20 МПа. Для получения рельефов на поверхности изделия используются виброштампы. Кроме того, рельеф может быть получен путем погружения матриц во время вибрации. При этом на обрабатываемую поверхность под матрицы укладывается пленка (или ткань), которая снимается после тепловлажностной обработки во избежание образования на поверхности изделия шероховатости.

При формовании изделий «лицом вверх» рельеф образуют путем накатки поверхности рельефными валами протяжкой профиля, реечными рельефообразователями. Профиль на поверхности образуется за одну операцию, причем глубина рельефа не должна превышать 0,5 отделочного слоя.

Вал для накатки рельефа изготовляют из металлической (или асбестоцементной) трубы диаметром 150 мм. Масса вала должна обеспечивать нагрузку не менее 100 Н/м образующей вала.

10.8. Бугристые фактуры на поверхности изделий можно получать следующими способами: обработка свежеуложенной растворной смеси сжатым воздухом; присыпка раствора влажным песком; набрызг на конструктивный бетон отделочного раствора.

Обработка поверхности сжатым воздухом ведется через воздушную гребенку, которая представляет собой перфорированную трубку диаметром 12 мм с отверстиями диаметром 0,7 мм. Давление воздуха 0,2…0,4 МПа.

Присыпка влажным песком производится через сито № 10 - 15 по заглаженной поверхности отделочного слоя из малоподвижного раствора. Толщина отделочного слоя до 2 см. После пропарки песок частично удаляют. В результате обработки получают однотонную матовую поверхность.

Набрызг отделочного раствора на конструктивный бетон производится пистолетом-распылителем Р-68 (рис. 26).

Распылитель имеет бачок для отделочного состава емкостью 2,5 л, сменные наконечники и сопло, штуцер для подачи воздуха. Для нанесения отделочного раствора минимальное давление воздуха в распылителе должно быть 0,25…0,3 МПа.

Отделка поверхностей, обращенных к поддону

10.9. При формовании изделий, обращенных лицевой поверхностью к поддону, применяются следующие способы отделки: гладкая поверхность; отделка плиточными материалами; создание рельефов с помощью матриц и пленочных материалов; отделка с применением декоративного дробленого материала; обнажение декоративного заполнителя.

10.10. Получение гладких поверхностей возможно благодаря контакту поверхности отделочного слоя с поддоном формы. При этом применяются специальные виды смазок и материалов для обшивки формы; формование изделий по ударной технологии; пластификация нижнего слоя водой или литыми растворами.

В качестве смазок, позволяющих получать гладкую поверхность изделий, рекомендуются: петролатум с веретенным маслом 1:1; эмульсия ЭКС, соляровое масло, виноградная кислота, вода (1:0,37:0,002:3,6); обратная эмульсия ОЭ-2; соляровое масло с солидолом (1:1); вазелин технический с парафином; смазка из растворов мыла. Для получения гладких поверхностей изделий применяют формы металлические, стеклопластиковые и железобетонные с полимерным покрытием. Рабочие поверхности форм не должны иметь дефекты, вызывающие повышение сцепления с бетоном.

Для получения гладких поверхностей изделий, формуемых по ударной технологии, следует применять малоподвижные смеси; укладку бетонной смеси проводить после начала работы ударного стола; продолжительность уплотнения принимать 4…5 мин при толщине изделий 80…100 мм, а при толщине изделий более 100 мм уплотнение производить послойно с общей продолжительностью формования до 10 мин. При этом бетонная смесь не должна содержать крупный заполнитель с размером зерен более 20 мм.

Наиболее простым приемом, используемым в обычной вибрационной технологии формования изделий, является водная пластификация, достигаемая равномерным распылением воды по смазанной поверхности поддона. Расход воды на 1 м площади поддона 0,5 - 0,7 л.

В этом случае не исключается после распалубки частичное шпатлевание поверхности, предназначенной под окраску. Лучшие результаты дает пластификация нижнего слоя литыми растворами (цементно-песчаный, коллоидно-цементный + клей КЦК; известковый). При этом расход раствора составляет в среднем 1,2 л/м.

10.11. Отделка плиточными материалами получила широкое распространение при производстве наружных стеновых панелей, панелей входа и других жилых и общественных зданий.

Технологический процесс отделки состоит из следующих операций: подготовка ковров из плиточных материалов; подготовка форм; укладка ковров или плиток в матрицы формы и их фиксация. Далее формование ведется по обычной технологии. После распалубки изделий необходима дополнительная операция - удаление бумаги, остатков клея и подтеков раствора с поверхности на моечной машине ГМЖ-3104, оборудованной капроновой щеткой или резиновым валиком и форсункой для подачи воды t = 40…60 °С.

Подвижность раствора, укладываемого на керамические плитки, должна составлять: при применении плитки с водопоглощением до 2 % - 3…5 см, от 2 до 8 % - 5…7 см. Слой раствора должен иметь толщину 5 - 15 мм и укладываться на предварительно увлажненную плитку. При использовании плиток из керамики, стекла и других материалов с водопоглощением до 8 % перед укладкой раствора достаточно легкого смачивания. При применении керамических плиток с водопоглощением более 8 % их увлажняют за 10 мин до начала формования.

Расход воды В, л, для увлажнения плиток определяют по формуле;

B = 0,05GW,

где G - масса 1 м2 ковра, кг; W - водопоглощение плиток, %.

Наибольшее распространение получила облицовка панелей плитками «кабанчик» размером 48´48 или 20´20 мм, толщиной 4 мм при использовании ее в коврах размером 0,6´0,6 м.

При кассетном способе формования изделий коврики укрупняют до ширины 1 м и длины, равной размеру панели. Для крепления ковриков применяют клей, состоящий из водного раствора карбоксилметилцеллюлозы (КМЦ) и песчаного шлама в соотношении от 1:1 до 1:1,5. Прочность сцепления плиток с бетоном составляет 0,66…0,71 МПа.

10.12. Способ получения рельефной фактуры поверхностей изделий с помощью матриц может быть использован для наружной и внутренней отделки жилых и общественных зданий. Сущность его состоит в том, что на поддон формы укладывают и закрепляют матрицу с рельефным рисунком, на которую наносят слой декоративного раствора или бетона подвижностью 10 - 11 см. Дальнейшее формование ведут по принятому на заводе режиму. Глубина рельефа поверхности изделий может достигать 20 см.

Для изготовления матриц используются следующие материалы: нержавеющая сталь, черный металл, резина, термопласты, заливочные пасты на основе эпоксидных смол, стеклопластик, бетон с полимерным слоем, железо- и гипсобетон, дерево и др.

Основные эксплуатационные свойства матриц приведены в табл. 6.

При толщине матрицы более 2 см необходимо улучшить технологические характеристики изделия путем применения более совершенных утеплителей или увеличением толщины изделия (рис. 27,д).

По избежание смещения матрицы необходимо закреплять ее в форме к поддону или бортам болтовыми, заклепочными, сварными соединениями (рис. 21,б).

Таблица 6

Показатели

Допустимое значение

максимальное

минимальное

Водопоглощение за 8 ч термовлажностной обработки при 95 °С, %

0,5

0

Потеря веса при истирании, г/см2

0,08

0

Предел прочности, МПа:

 

 

при осевом растяжении

Не ограничена

10

«          «    сжатии

Не ограничена

10

Налипание растворной составляющей, г/см2

0,1

0

Усадочные деформации в процессе тепловой обработки мм/м

0,1

0

Рис. 27. Формование изделий на матрицах

а - наращивание бортов формы; б - варианты крепления матриц к поддону формы; 1 - поддон; 2, 3 - бортовая оснастка; 4 - уплотнение; 5 - бетонная смесь; 6 - рельефная матрица

Нанесение отделочного слоя раствора может производиться с помощью раствороукладчика с последующим уплотнением на вибростоле в течение 0,5 - 1 мин либо пневмоустановкой при давлении 0,5…0,7 МПа. Толщина отделочного слоя варьируется в зависимости от глубины рельефа. При этом отделочный слой должен покрывать верхнюю грань матрицы не менее чем на 0,5 см.

Для приготовления декоративного слоя применяют песок М = 1,8…2,8, при использовании щебня размер его зерен должен составлять 5…20 см.

Укладку конструктивного бетона рекомендуется производить через 15…20 мин после укладки фактурного раствора для того, чтобы не было его выхода на поверхность изделия.

10.13. Отделочные слои на основе дробленых материалов получают путем нанесения их по закрепляющему слою или с помощью ковров и последующей укладкой малоподвижной растворной или бетонной смеси (втапливание, присыпка).

Растворную или бетонную смесь можно приготовлять с добавлением красящих пигментов.

Закрепляющий слой при кассетной технологии формования может быть в виде специальных составов (растворы, пасты); при горизонтальном формовании «лицом вниз» - в виде песчаного слоя, толщиной до 25 мм, влажностью 5 - 8 %. Укладка дробленого материала ведется посредством вибросита с последующей вибрацией или прикаткой до заглубления материала на 1/2 диаметра зерен.

Цементно-песчаные и гипсо-песчаные растворы применяют для крепления к форме крупнозернистых дробленых материалов, а также используют полимерцементные пасты.

Цементно-песчаные и гипсо-песчаные растворы изготовляют из цемента М400 или гипса и песка Мкр = 2,5 в соотношении 1:3 с подвижностью П1. Укладку его производят раствороукладчиком и разравнивают виброрейкой. Дробленый материал наносят вибролотком, равномерно распределяя по всей поверхности. Уложенный материал втапливают на половину диаметра зерен в слой раствора рейкой или валиком.

Составы полимерцементных паст, применяемые для закрепляющего слоя, приведены в табл. 7.

Таблица 7

Компоненты

Состав полимерцементных паст в массовых частях

Поливинилацетатная 50 % -я эмульсия

0,1

0,2

0,4

0,5

Портландцемент белый марки 400

1

1

1

1

Песок крупностью зерен до 0,63 мм

1,5

2

2

3

Маршалит крупностью до 0,15 мм

1

-

-

-

Мраморная мука

-

1

1,5

1

Устройство для нанесения мелкозернистых материалов по полимерцементным пастам имеет подвижный щит, регулирующий расход материала, питатель с подвижной и неподвижной колосниковой решеткой.

Для изготовления ковров на основе дробленых материалов применяют крафт-бумагу. Составы для крепления материалов к бумаге содержат клей и замедлители твердения (для ускорения очистки поверхности отделочного слоя после твердения от наплывов цементного теста). Расход декоративного материала на 1 м2 поверхности (в зависимости от крупности частиц) составляет 4…12 кг.

После распалубки изделий при этом способе отделки поверхности очищают от остатков фиксирующих составов или от крафт-бумаги водой и механическими капроновыми щетками.

Применение дробленых материалов позволяет получать отделочные слои разной бугристости.

10.14. Сущность способа обнажения заполнителя с помощью замедлителей твердения заключается в удалении с поверхности бетона, прошедшего тепловлажностную обработку незатвердевшего или ослабленного цементного раствора. При этом создается бугристая поверхность.

Замедление твердения цемента достигается применением специальных составов, которые наносят на поддон формы в виде смазок, или использованием ковров из крафт-бумаги. Составы замедлителей твердения приведены в прил. 15.

Укладку фактурной бетонной смеси необходимо производить равномерно, не допуская его смещения по поддону формы. При этом укладку, разравнивание и вибрирование смеси следует производить в течение 15 мин.

Незатвердевший или ослабленный цементный раствор удаляют после пропаривания изделий моечной машиной на посту отделки, оборудованном отстойниками. Обнажение заполнителей рекомендуется производить на 1/4…1/2 диаметра зерна.

11. КОНТРОЛЬ РЕЖИМОВ РАБОТЫ ФОРМОВОЧНОГО ОБОРУДОВАНИЯ

11.1. Требуемое качество изделий в процессе формования обеспечивается: соответствием удобоукладываемости бетонной смеси по принятым режимам формования;

соответствием фактических характеристик формующего оборудования требуемым;

соблюдением необходимой продолжительности уплотнения.

11.2. Контроль степени уплотнения бетонной смеси осуществляется в соответствии с ГОСТ 10181.2-81.

Фактическое значение средней плотности уплотненной бетонной смеси сравнивается с теоретическим и подсчитывается коэффициент уплотнения: Ку = rф / rт. Рекомендуемая величина Ку - 0,98.

11.3. Равномерность уплотнения бетонной смеси при выбранных режимах формования оценивается по расслаиваемости в соответствии с ГОСТ 10181.4-81. Показатель раствороотделения не должен превышать 6…8 % при осадке конуса до 10 см и 10…12 % при осадке конуса более 10 см.

11.4. Однородность уплотненной бетонной смеси в изделии рекомендуется проверять с использованием неразрушающих методов контроля однородности бетона по ГОСТ 18105.1-80.

11.5. Качество уплотнения бетонной смеси при выбранных режимах формования может быть оценено испытанием на прочность бетонных образцов-кубов по ГОСТ 10180-78*. Для этого формы с образцами должны крепиться к вибрируемой раме. Продолжительность уплотнения образцов определяется временем до появления цементного молока на верхней поверхности формуемой смеси. Затем через 10…15 с прекращают вибрационное воздействие. Предел прочности на сжатие образцов должен соответствовать заданной марке бетона.

Виброформовочное оборудование

11.6. Проверку соответствия фактических параметров вибрации заданным следует производить еженедельно в четырех-шести характерных точках при полной паспортной загрузке вибромашины. В случае, когда форма с изделием через резиновые прокладки свободно устанавливается на стол виброплощадки, параметры вибрации следует замерять непосредственно на форме, при этом контрольные замеры проводятся не только еженедельно, но и при каждой смене резиновых прокладок или вида изделия.

11.7. Для контроля параметров вибрации допускается применение любой аппаратуры, регистрирующей соответствующие параметры колебаний. Некоторые виды такой аппаратуры приведены в табл. 8.

Таблица 8

Аппаратура

Тип, марка

Частотный диапазон, Гц

Диапазон измерений

Масса, кг

Завод-изготовитель, фирма

Ориентировочная стоимость, руб.

Измеритель шума

ИШВ-1

10 - 12500

30 - 130 дБ

35

Виброприбор (г. Таганрог)

1300

Виброизмерительная

Kobotron

00042

0,5 - 4000

0,05 - 1000 мс-2

8,5

VEB Robotron (ГДР)

1800

То же

ВИ6-6ТН

0 - 200

0 - 450 мс-2

7

-

670

Виброграф ручной

ВР-1А

5 - 100

10-4…6 · 10-3 м

1,5

Виброприбор (г. Таганрог)

185

Виброметр

ВИП-2

12,5 - 200

2 · 10-6…10-3 м

3,6

То же

290

ВМ-1

1,4 - 800

10-3…103 мс-2

7,8

Кокчетавский приборостроительный завод

1040

Оборудование для прессования

11.8. Режим работы прессующего оборудования определяется величиной давления в гидросистеме или величиной пригруза, используемого для создания прессующего усилия.

В качестве контролирующих приборов работы гидросистемы следует использовать манометры давления.

11.9. При первом запуске оборудования или после длительного (более 1 сут.) перерыва следует убедиться в работоспособности систем и агрегатов и проверить давление в гидросистеме и в пневмосистеме, которое соответственно не должно быть менее 10 и 0,5 МПа.

Затем производится запуск оборудования на холостом ходу. В случае отказов механизмов и систем управления выявляют и устраняют их причины.

11.10. Качество уплотнения бетонной смеси при прессовании может быть оценено по величине опускания замыкающего элемента (пуансона) от своего первоначального положения или испытанием непосредственно бетона изделия: немедленно после прессования - взятием пробы уплотненного бетона и определения в ней фактического водосодержания (например, методом прокаливания) с сопоставлением с расчетными данными; после затвердевания бетона - методом отрыва со скалыванием (ГОСТ 12443-79*).

Оборудование для вакуумирования

11.11. Проверка устройств вакуум-системы заключается в определении разрежения.

11.12. Степень разрежения в вакуум-ресивере с отключенными вакуум-устройствами должна быть не менее 0,08 МПа.

11.13. В шлангах вакуум-траверсы разрежение должно быть не более 0,02 МПа, а в шлангах пресс-штампа - не более 0,05 МПа. В случае превышения указанных величин разрежения следует механически очистить фильтры, выдержать их в 10 %-м растворе соляной кислоты в течение 30 мин и затем промыть в воде.

Оборудование роликового формования

11.14. Контроль режимов работы установки роликового формования заключается в проверке работоспособности установки на холостом ходу, в определении числа двойных ходов балки с прессующими роликами и соответствия скорости перемещения формы скорости движения смеси, выдавливаемой прессующими роликами (валика смеси). Оптимальная длина валика смеси составляет 0,2…0,3 м.

11.15. Для проверки согласованности работы узлов установки производят пробное формование. Качество формования предварительно определяется визуально, в дальнейшем - испытанием на прочность образцов-кубов с ребром 7, 10 или 15 см, выпиленных из изделия.

11.16. Для текущего контроля за прочностью бетона допускается формование образцов-кубов в собственных формах одновременно с изделием, но при этом экспериментально для каждого вида смеси должен быть установлен переходный коэффициент от прочности бетона образца к прочности бетона изделия.

11.17. Для роликового формования применяют бетонные смеси, жесткость которых невозможно определить по ГОСТ 10181.1-81. Для косвенной оценки формовочных свойств смесей рекомендуется пользоваться их влажностью wсм, которая должна находиться в пределах wсм = 714 %.

Бетонная смеси должна использоваться не позднее чем через 60 мин после приготовления.

Центрифуги

11.18. Контроль режимов работы центрифуг в основном заключается в проверке скорости вращения формы, правильности расположения шкивов и роликов.

11.19. Скорость вращения формы при загрузке, распределении и уплотнении бетонной смеси контролируется электрическим тахометром.

11.20. Правильность расположения шкивов и роликов контролируется с помощью измерительных щупов по ГОСТ 882-75.

Оборудование для центробежного проката

11.21. При формовании центробежным прокатом следует обеспечить плавный набор и снижение скорости вращения прокатного вала; фиксацию направления движения формы; равномерный износ беговых дорожек прокатного вала; провисание прокатного вала не более 3 мм; надежность гидравлической системы подкатной тележки.

11.22. Формы на внутренних поверхностях не должны иметь вмятин и выпуклостей. Беговые дорожки торцевых колец форм должны быть изношены равномерно.

11.23. Согласованность работы скребкового механизма, ленточного питателя и ходовой части бетоноукладчика проверяется опытным формованием.

Оборудование для напорного формования

11.24. Для управления процессом формования изделий рекомендуется применять автоматизированную систему, включающую в себя устройство для контроля уровня заполнения бетоном формуемых полостей (датчики уровня) с исполнительным механизмом и устройство для отключения бетононасоса или пневмо-нагнетателя, которое должно срабатывать при заполнении формы-опалубки бетоном или в аварийной ситуации. Под аварийной ситуацией следует понимать возникновение предельных давлений в заполняемой смесью полости или в бетоноводе.

11.25. Работоспособность системы автоматизированного управления проверяется путем замыкания датчиков контроля уровня бетонной смеси сопротивлением, близким к максимальному сопротивлению бетонной смеси при полностью заполненной форме.

11.26. Перед началом формования после длительного перерыва следует включить бетононасос на холостом ходу и убедиться в правильности работы его всасывающего и нагнетательного клапанов.

11.27. Перед формованием следует проверить надежность формовочного агрегата и бетоновода.

11.28. Не допускается вытекание цементного теста или цементного молока из соединений бетоновода.

Автоматизированные линии

11.29. Для повышения эксплуатационной надежности автоматизированных формовочных линий в системы их управления должны быть введены узлы контроля и сигнализации.

11.30. В автоматизированных линиях может применяться внешняя и внутренняя сигнализации.

Для внешней сигнализации могут использоваться звуковые и световые сигнализаторы. Световая сигнализация выполняется в виде светофора, устанавливаемого на видном месте.

Внутренняя сигнализация линии должна быть размещена на пульте управления и давать информацию о состоянии отдельных механизмов и их элементов, о готовности агрегатов к работе, о неисправностях в системе автоматики.

12. ЭКСПЛУАТАЦИЯ И РЕМОНТ ФОРМОВОЧНОГО ОБОРУДОВАНИЯ

12.1. Эксплуатацию форм следует проводить в соответствии с рекомендациями Руководства по эксплуатации стальных форм при изготовлении железобетонных изделий.

12.2. Периодичность цикла технического обслуживания и ремонта формующего оборудования рекомендуется принимать по табл. 9

Таблица 9

Оборудование

Периодичность технического обслуживания и ремонта, ч

технического обслуживания

текущего ремонта

среднего ремонта

капитального ремонта

Бетоноукладчики

500

1500

7500

15000

Машины для изготовления пустотных изделий

500

1500

4500

9000

Виброплощадки блочные

315

1260

6300

12600

Пригрузочные щиты

200

1000

3000

9000

Центрифуги

50

200

800

4000

Виброформовочные машины

12.3. Для надежной и эффективной работы вибромашин необходимо соблюдать основные правила их монтажа, наладки и эксплуатации. Монтаж вибрационных машин производят согласно чертежам, в которых должны учитываться требования по виброизоляции в соответствии со стандартом СТ СЭВ 1932-79.

12.4. Общим требованием является правильная настройка на расчетный режим, состоящая в том, что:

все дебалансы должны быть отрегулированы на расчетную величину статического момента;

на каждом валу (на параллельных валах между ними) дебалансы выставляются строго синфазно;

для вибромашин направленных колебаний проверяется направление вращения валов.

12.5. Перед пуском вибромашин необходимо проверить: свободу вращения всех валов;

отсутствие соударения витков опорных пружин при полной загрузке; надежность закрепления форм и вспомогательного оборудования; наличие и уровень смазки в вибровозбудителях и синхронизаторах.

12.6. Пробные запуски следует производить с нагруженной вибромашиной сначала в течение 1…2 с, затем 10…20 с, затем 60…80 с. Первые полчаса рекомендуется через 5 мин работы делать 10-минутный перерыв. Наличие смазки в вибраторах проверяется через каждые 200 ч работы. Температура корпуса вибромашины при работе не должна превышать температуру окружающей среды более чем на 60 °С.

12.7. Не рекомендуется длительная (более 10 мин) непрерывная работа вибромашины, если в подшипниках ее узлов нет принудительного охлаждения, а также работа вибромашин вхолостую. При эксплуатации необходимо соблюдать проектный режим колебаний (амплитуда, частота), а также не превышать расчетную грузоподъемность машины более чем на 15 %.

12.8. Уровень приводных валов синхронизаторов должен быть ниже уровня валов виброплощадки примерно на 0,75 от величины осадки виброплощадки под максимальной загрузкой. При этом необходимо соблюдать строгую соосность и прямолинейность валов виброблоков и валов синхронизации.

12.9. При эксплуатации поверхностных вибромашин последовательного действия необходимо, чтобы:

расстояние от нижнего уровня горизонтальной части профиля скользящих рабочих органов до бортов формы составляло 0,5…1 мм;

объем накопительного бункера бетоноукладчиков, питающих вибромашины последовательного действия, был равен или кратен объему формуемого изделия. Для обеспечения постоянного подпора в вибробункере подача смеси в него должна осуществляться непрерывно;

выходное отверстие промежуточного рабочего органа было оборудовано затвором-отсекателем, обеспечивающим плавную регулировку выходного отверстия в начале и в конце формования. Началу движения форм (или рабочего органа) должно предшествовать включение вибровозбудителей в течение 25…40 с при одновременной подаче смеси в вибробункер. После окончания формования при перерывах более 2 ч необходимо промывать бункера или производить вибрационную его очистку в течение 2 - 3 мин. Особенно строго это необходимо соблюдать, если в конструкции бункера предусмотрены устройства дополнительного вибропобуждения типа стержней, решеток и т.п.

12.10. Следует тщательно следить, чтобы при работе поверхностных вибромашин на направляющих поверхностях бортов не было наплывов бетона.

12.11. Нельзя прижимать глубинную вибромашину к арматуре или опалубке во избежание выхода из строя электродвигателя, других деталей вибромашины или повреждения опалубки. Не допускать продолжительной работы вибромашины на холостом ходу, особенно для вибромашин с встроенным высокочастотным двигателем, рассчитанным на непрерывное охлаждение бетонной смесью. Запуск и остановка вибромашины должны осуществляться вне бетонной смеси. При уплотнении нужно обеспечивать полное погружение рабочего органа в смесь, извлечение вибромашины производить медленно, желательно с небольшим наклоном.

Механическое оборудование

12.12. При эксплуатации оборудования периодически должен проводиться профилактический осмотр, в ходе которого определяется состояние узлов и механизмов, выполняется их регулировка и смазка, устраняются мелкие неисправности и ликвидируются отклонения.

12.13. Для смазки узлов и механизмов применяются масла только тех марок, которые указаны в соответствующей технической документации на оборудование.

12.14. При каждом техническом обслуживании в обязательном порядке производят проверку затяжки и регулировку подшипников; проверку плотности сальников; замену болтов, гаек, шплинтов и других крепежных деталей, пришедших в негодность; проверку состояния шарнирных соединений, ременных передач и при необходимости их замену.

12.15. При выполнении текущего ремонта проверяют состояние передач в редукторах и производят замену в них масла, заменяют износившиеся шестерни, муфты, подшипники и т.п., а также приводные ремни.

12.16. При капитальном ремонте заменяют изношенные механизмы, рабочие органы, агрегаты и узлы управления.

Электрооборудование

12.17. Не реже одного раза в месяц следует производить осмотр электроаппаратов, проверять состояние конечных выключателей, герметичность электрошкафов и т.д. Во время осмотра следует удалять скопившуюся пыль, грязь, а при необходимости, производить и замену аппаратов.

12.18. При текущем обслуживании электродвигателей следует проверять режим их работы, нагрев, состояние контактов.

Периодичность текущего обслуживания электродвигателей устанавливается в зависимости от производственных условий, но не реже одного раза в два месяца.

12.19. Текущее обслуживание автоматических выключателей необходимо производить не реже одного раза в 6 мес., а также после каждого отключения при коротком замыкании.

12.20. При текущем обслуживании релейной аппаратуры проверяют четкость срабатывания механической части реле, а также надежное замыкание и размыкание контактных мостиков.

12.21. При проведении технического обслуживания электрооборудования для очистки контактов используют ректифицированный спирт высшей очистки по ТУ 3-66-65.

Нормы расхода спирта на техническое обслуживание электрооборудования на каждом предприятии согласуются и утверждаются в установленном порядке.

Гидро- и пневмосистемы

12.22. Гидро- и пневмосистемы следует периодически проверять контрольным давлением. Обнаруженную негерметичность необходимо устранять. Эксплуатация негерметичных гидро- и пневмосистем запрещается.

12.23. При попадании в гидросистему воздуха следует проверить плотность соединений всасывающего трубопровода и аппаратов, установленных на гидроприводе.

12.24. Через шесть месяцев эксплуатации следует слить масло из гидроблоков и гидросистемы, очистить гидробаки от грязи и осадка, промыть керосином и протереть насухо, сменить элемент фильтра тонкой очистки, залить свежее, тщательно отфильтрованное масло.

12.25. Не реже одного раза в три месяца необходимо снимать и очищать магнитные патроны и воздушный фильтр (сапун).

12.26. Масла для заполнения гидросистем должны быть тех марок, которые указаны в соответствующей технической документации на оборудование.

13. ТЕХНИКА БЕЗОПАСНОСТИ

13.1. В соответствии с Кодексом законов о труде, директор и главный инженер предприятия несут персональную ответственность за своевременное внедрение современных средств техники безопасности, предупреждающих производственный травматизм и обеспечение санитарно-гигиенических условий, предотвращающих возникновение профессиональных заболеваний.

13.2. Главными мероприятиями по соблюдению санитарных норм являются своевременное обновление устаревшего оборудования, содержание оборудования в исправном состоянии, высококачественный и своевременный ремонт, обеспечение высокой степени трудовой дисциплины, повышение квалификации рабочих, строжайшее соблюдение техники безопасности и эксплуатации оборудования. Большое значение имеет соблюдение режима труда и отдыха, обеспечение средствами индивидуальной защиты, санитарно-бытовое обеспечение, медицинский контроль, лечебно-профилактические меры.

13.3. В проекте предприятия в мероприятиях по технике безопасности должны быть отражены все мероприятия по уменьшению вибрации и шума, подтвержденные соответствующими акустическими, экономическими и другими расчетами. При проектировании должны быть учтены требования ГОСТ 12.1.003-83, СНиП II-12-77, а также Руководства по расчету и проектированию шумоглушения в промышленных зданиях (М.: Стройиздат, 1981), Руководства по технико-экономической оценке способов формования, бетонных и железобетонных изделий (М.: Стройиздат, 1978) и др.

13.4. Методы измерения шумовых характеристик машин и ручного механизированного инструмента должны соответствовать ГОСТ 12.2.030-83.

Технические и метрологические характеристики акустической аппаратуры, используемой в измерительных трактах, должны соответствовать требованиям ГОСТ 17187-81.

Аппаратура, используемая для измерений, должна соответствовать ГОСТ 8.002-86.

13.5. Гигиеническое нормирование параметров вибрации, воздействующей на человека в производственных условиях, должно проводиться согласно ГОСТ 12.1.012-78*

13.6. Измерения параметров вибрации должны производиться в соответствии с ГОСТ 13731-68.

13.7. Средства измерения вибрации на рабочих местах должны отвечать требованиям ГОСТ 12.4.012-83.

13.8. При разработке мероприятий по обеспечению требуемых условий труда рабочих формовочных цехов, связанных с вибрацией, рекомендуется использовать следующие нормативные документы: Руководство по улучшению условий труда рабочих вибро- и шумоопасных профессий на предприятиях стройиндустрии (М.: Стройиздат, 1977), Руководство по проектированию виброизоляции машин и оборудования (М.: Стройиздат, 1973), Положение о режиме труда работников виброопасных профессий (М.: ВЦСПС, Минздрав СССР, Госкомтруд СССР, 1974).

13.9. В тех случаях, когда исчерпаны технические возможности снижения вибрации и шума, необходимо уменьшать время работы в таких условиях.

13.10. При производстве железобетонных изделий центрифугированием следует руководствоваться Правилами техники безопасности и производственной санитарии промышленности строительных материалов, ч. I и II, разд. XIII, М.: Стройиздат, 1981.

13.11. При эксплуатации электрооборудования следует руководствоваться Правилами технической эксплуатации электроустановок потребителей и Правилами техники безопасности при эксплуатации электроустановок потребителей (М.: Госэнергонадзор, 1981); инструкциями по технике безопасности, заложенными в технических паспортах на оборудование.

13.12. К работе на формовочных линиях допускается персонал, изучивший оборудование линии, правила эксплуатации и прошедший инструктаж по технике безопасности.

13.13. При эксплуатации линии должны соблюдаться действующие на заводе общесоюзные, ведомственные и заводские правила и инструкции по технике безопасности.

13.14. Помосты на рабочих местах линий, переходные мостики и лестницы должны содержаться в исправном состоянии и не должны быть скользкими.

13.15. Обслуживающий персонал линии обязан строго соблюдать правила эксплуатации и требования инструкции по технике безопасности, разрабатываемой для каждой линии, содержать в чистоте рабочее место в течение всего рабочего времени, не допуская загромождения проходов.

13.16. При ремонте оборудования линии на вводном автомате должен быть выведен плакат: «Не включать! Работают люди!».

13.17. При перерыве в подаче на линию электроэнергии необходимо выключать вводной автомат (рубильник).

13.18. Во время работы линии запрещается:

переходить в неустановленных местах рабочие и возвратные конвейеры и подлезать под них;

заходить за ограждения технологического оборудования;

находиться между работающими узлами;

опираться на работающее оборудование;

производить уборку оборудования.

13.19. При обнаружении возможной опасности следует отключать линию, предупредить обслуживающий персонал и администрацию цеха.

13.20. В случае невыполнения обслуживающим персоналом требований техники безопасности, работник службы техники безопасности, обнаруживший нарушение, обязан принять все необходимые меры, вплоть до остановки и отключения линии и отстранения от работы обслуживающего персонала.

13.21. Монтаж и эксплуатация гидравлического Привода должны вестись персоналом, ознакомленным с правилами его эксплуатации, при строгом соблюдении требований техники безопасности.

13.22. Эксплуатация гидравлического привода должна производиться при строгом соблюдении правил противопожарной безопасности. При этом запрещается:

выполнять любые ремонтные работы на гидроприводе, находящемся под давлением;

выполнять сварочные работы на трубопроводах, присоединенных к гидроприводу;

оставлять отсоединенными трубопроводы и незаглушенными отверстия при прекращении ремонтных работ по трубопроводу;

работать на линии при наличии наружных утечек из соединений трубопроводов и гидроаппаратов;

работать на линии при неисправности в контрольно-регулирующей аппаратуре (манометры, дроссели, клапаны, реле давления и т.д.).

13.23. К эксплуатации электрооборудования линии допускаются лица, прошедшие техническое обучение и инструктаж по технике безопасности и имеющие право самостоятельного обслуживания электроустановки.

13.24. Электродвигатели, электрошкафы, гидравлические станции и т.п. должны быть надежно заземлены.

13.25. До подключения линии к заводской питающей сети необходимо:

измерить сопротивление в системе заземления электрооборудования, которое не должно превышать 0,1 Ом;

провести измерение сопротивления изоляции токоведущих частей электрооборудования. Сопротивление изоляции в любой незаземленной точке электрооборудования линии должно быть не ниже 1 Ом, а изоляции обмоток электродвигателей (без подсоединительных проводов) - не менее 0,5 МОм при относительной влажности окружающего воздуха не более 90 % и температуре 20 °С. Если сопротивление изоляции электрических машин меньше допускаемого, необходимо произвести его сушку.

13.26. Клеммы вводных аппаратов должны быть защищены от случайного прикосновения.

13.27. Во время работы линии необходимо следить за тем, чтобы двери электрошкафов, крышки разветвительных коробок и других электрических устройств были закрыты, а уплотнения не имели повреждений.

13.28. При эксплуатации электрических устройств запрещается:

производить устранение неисправностей электрооборудования линии лицам, не имеющим права обслуживания электрооборудования;

устранять неисправности в электрооборудовании без снятия напряжения, если характер неисправности не требует ее устранения под напряжением. Как исключение допускается устранение неисправностей в электрошкафу управления, находящегося под напряжением. При этом работы необходимо производить в соответствии с Правилами технической эксплуатации электроустановок потребителей и Правилами техники безопасности при эксплуатации электроустановок потребителей;

снимать, нарушать или каким-либо другим способом деблокировать предусмотренные электросхемой линии блокировки, отключать звуковую и световую сигнализацию, работать на линии с нарушенными блокировками или неисправной сигнализацией.

13.29. При устранении неполадок следует соблюдать меры предосторожности, так как при нажатии кнопок с определенными надписями соответствующие механизмы линии совершают движение.

13.30. При необходимости в отдельных случаях включения гидромеханизма вручную (нажатием на сердечник электромагнита реверсивного золотника) предварительно следует убедиться в том, что положение всех остальных механизмов исключает аварию при движении механизмов, включенных вручную.

13.31. Запрещается приступать к работе на линии при:

отсутствии кожухов и других защитных устройств на приводных ремнях, электродвигателях и т.д.;

отсутствии смазки или неисправности системы смазки хотя бы одного из узлов или механизмов;

несоответствии давления в гидросистеме указанному в технической документации;

наличии масла в гидростанциях ниже допустимого уровня.

13.32. Во время работы линии необходимо:

выполнять требования предупредительных табличек, установленных на линии, и правила безопасности работы на данном рабочем посту;

производить наладку узлов и механизмов только при полной остановке линии; не допускать передачу через работающие механизмы каких-либо предметов.

ПРИЛОЖЕНИЕ 1

СПОСОБЫ ОЦЕНКИ ИНТЕНСИВНОСТИ ВИБРАЦИОННОГО ВОЗДЕЙСТВИЯ

Оценка параметров по ускорению

Основным критерием, характеризующим режим уплотнения бетонной смеси, является максимальное ударное ускорение ан при нахождении рабочего органа в крайнем нижнем положении, которое должно быть больше ускорения ав, соответствующего верхнему положению рабочего органа. Преобладание ан над ав способствует ускорению процесса уплотнения, так как при ан > ав смесь испытывает дополнительные напряжения сжатия, чего нет при симметричных (гармонических) режимах колебаний. Асимметрия колебаний aн/aв = 2…6 при значении максимального ускорения ан = 60…80 м/с2.

Режим формования бетонных смесей различной удобоукладываемости вертикальной вибрацией с симметричными и асимметричными переменными и постоянными параметрами при двухстадийном формовании приведены в табл. 1.

Таблица 1

Жесткость бетонной смеси, с

Стадия

формообразование

уплотнение

частота

f, Гц

ускорение

aнg

асимметрия

ан/ав

частота

f, Гц

ускорение

анg

асимметрия

ан/ав

Св. 25

10…15

2…2,5

 

15

2,5…3

5…7

25…30

3,5…5

1

50…75

4…6

1

10…15

2…2,5

 

40…50

5…7

1

 

 

 

15

2,5…3

5…7

10…25

10…15

2…2, 5

 

10…15

2…2,5

3…5

25…30

3…4

1

40…50

3…4

1

10…15

2…2,5

 

10…15

2…2,5

3…5

 

 

 

25…50

3,5…5

1

5…10

10…15

1,5…3

 

10…15

2…2,5

2…4

25…30

2…3

1

40…50

3…4

1

 

 

 

10…15

2…2,5

2…4

10…15

1,5…2

 

25…30

2,5…3,5

1

Подвижность 2…5 см

10…15

1,5…2

 

10…15

1,5…2

2…3

25…30

2…3

1

40…50

3…4

1

 

 

 

10…15

1,5…2

2…3

10…15

1,5…2

 

25…50

2,5…3,5

1

Определение интенсивности вибрационного воздействия по удельной мощности колебаний

При оценке интенсивности вибрационного воздействия по удельной мощности колебаний, представляющей собой отношение полного количества энергии, поступающей от рабочего органа машины в бетонную смесь, к массе формуемого изделия, необходимо учитывать направленность колебаний, схему работы машины, характеризующую ее взаимодействие со смесью, соотношение величин вынуждающих и удерживающих (включая пригруз) сил.

Расчетные схемы основных вибрационных формовочных машин

Расчетные схемы основных вибрационных формовочных машин приведены на рисунке. Удельная мощность колебаний Р определяется по формулам:

в случае, когда рабочие органы машины совершают нормальные (обычно вертикальные) по отношению к поверхности изделия колебания:

Р = К()К1 U2w3;                                                                      (1)

то же, при касательных (обычно горизонтальных) колебаниях:

Р = К0К1 Ugfw,                                                                     (2)

где U - амплитуда колебаний рабочих органов, м, при отсутствии бетонной смеси, определенная без учета влияния жесткости опорных элементов, U = K/mв. Здесь К - момент дебалансов вибровозбудителя, кг · м; mв - масса вибрирующих частей, кг; w - угловая частота вибрирования, с-1; К0 - коэффициент, характеризующий полезное действие машины (за эталон принимается вибрационная площадка с вертикальными колебаниями, для которой К0 = 1); К1 - коэффициент, зависящий от схемы устройства машины, наличия пригрузочных устройств, соотношения масс образующих ее элементов; g - ускорение силы тяжести, м/с2; f - коэффициент трения бетонной смеси по металлу (f = 0,10 - 0,12).

Значения коэффициентов К0 и К1 определяют в зависимости от расчетной схемы формовочной машины по указаниям табл. 2.


Таблица 2

Тип и расчетная схема машины (рисунок)

Коэффициент

К0

Расчетные формулы для определения коэффициента К1

при Qnопт

при Qn = 0

Вибрационная, с вертикальным возбуждением (схема а)

1

Ударно-вибрационная (схема б) при частоте w £ 150 с-1

1,4

Тоже, при частоте w > 150 c-1

1,2

Ударно-вибрационная площадка (схема в) при частоте w £ 150 с-1

1,2

75 % полученного при

То же, при частоте w > 150 с-1

1

Ударно-вибрационная площадка (схема г) при w £ 150 с-1

1

Кулачковая площадка (схема д)

-

Вибрационная, с горизонтальным возбуждением

-

Примечание. Формулы для определения К1 соответствуют случаям оптимального выбора жесткости и величины обжатия прижимных пружин в схемах 2, 3 и 4.


Оценка интенсивности вибрационного воздействия по удельной мощности колебаний  позволяет проверить технологические возможности действующей или рассчитать параметры новой вибрационной формовочной машины исходя из основной зависимости, связывающей удельную работу, производимую машиной, с удобоукладываемостью смеси, выраженной удельной работой уплотнения .

                                                                                (3)

где tн - требуемая продолжительность вибрирования.

Определение удельной работы уплотнения в общем случае должно производиться в лабораторных условиях, как показано ниже. При отсутствии лабораторных данных можно пользоваться ориентировочными данными, приведенными в табл. 3.

Величина  должна быть не менее предельных значений, указанных в табл. 3.

Таблица 3

Удобоукладываемость смеси

Минимально допустимая удельная мощность колебаний, м23

Жесткость по ГОСТ 10181-81, с

Марка смеси по ГОСТ 7473-85

Удельная работа уплотнения, м22

4 и менее

П

50 и менее

0,5

5…10

Ж1

50 - 200

1

11…20

Ж2

200 - 300

2

21…30

Ж3

800 - 400

4

При оценке технологических возможностей действующей машины расчет удельной мощности колебаний производят по следующей схеме: определяют частоту колебаний w, момент дебалансов вибратора К и полную массу вибрирующих частей тВ; вычисляют расчетную амплитуду колебаний; в соответствии со схемой машины по табл. 2 определяют коэффициенты К0 и К1; по формулам (1) и (2) вычисляют удельную мощность колебаний Р; по заданной мощности колебаний в соответствии с формулой (3) определяют минимальную продолжительность уплотнения и устанавливают режим формования с учетом продолжительности всех технологических операций, производимых одновременно с вибрированием.

При выборе параметров проектируемой формовочной машины порядок операций следующий:

а) на основании имеющихся опытных данных выбирают оптимальную частоту вибрирования в соответствии с табл. 4.

Таблица 4

Тип и расчетная схема машины (рисунок)

Средняя толщина слоя смеси h, м

Рекомендуемые частоты, Гц

Вибрационные площадки (схема а)

h = 0,10 - 0,3

46 - 50

тонкостенные (при специальном обосновании) менее 0,1

50 - 75

Ударно-вибрационные (схемы б - г)

> 1

15 - 20

0,5 - 1

25

до 0,5

25-50

Вибрационные с горизонтальным возбуждением

> 0,5

< 25

0,2 - 0,5

50 - 25

до 0,2

50

Кулачковые

Независимо от высоты

3,3 - 5

Виброштампы

При глубине погружения до 0,5

То же, более 0,5

46 - 50

25

б) по заданной удельной работе уплотнения  и заданному технологическим процессом времени уплотнения tн находят необходимую удельную мощность колебаний:  по заданным К0, К1 и w с помощью формул (1) и (2) вычисляют величину амплитуды колебаний U;

в) в зависимости от принятой схемы формовочной машины вычисляют оптимальные параметры статических пригрузочных устройств по следующим формулам:

для вибрационных площадок с вертикальными колебаниями

                                               (4)

для ударно-вибрационных площадок:

                                   (5)

г) находят необходимый момент дебалансов вибратора К и потребную мощность двигателей машины.

По этим характеристикам выбирают по каталожным данным ту или иную машину.

При определении параметров виброштамповальных установок в дополнение к расчетам уплотняющей способности виброштампа производят расчет по погружению пуансона и определяют необходимое время tп погружения. Расчетную продолжительность процесса формования выбирают сравнением величин tн и tп и принимают равной большей из них.

В лабораторных условиях определение удельной работы уплотнения бетонных смесей рекомендуется производить на образцах размером 20´20´20 см. Для этого определения может быть использована любая лабораторная виброплощадка, которая должна быть снабжена пневматическим или другим безынерционным пригрузом, величину которого определяют по формуле (4). Для стандартной площадки с амплитудой U = 0,5 мм и частотой колебаний п =3000 кол/мин пригруз следует принимать равным 17 - 19 кг. На плите пригруза устанавливают любой показатель уровня смеси, обеспечивающий точность отсчета до 0,2 мм (шток, прогибомер, мессура и т.п.). В случаях, когда конструкция установки не допускает центрального расположения показателя уровня, устанавливают симметрично по отношению к главным осям образца два прибора: указатель уровня в этом случае определяют полусуммой отсчетов по обоим приборам. Смесь уплотняют без пригруза в течение 10 с. Затем включают в работу пригруз и замечают время от начала вибрирования до прекращения понижения уровня смеси (момент прекращения осадки фиксируется тогда, когда за 10 с уровень смеси не опускается более чем на 0,2 мм).

Удельная работа уплотнения  бетонной смеси определяется по формуле

                                                  (6)

где U - амплитуда колебаний виброплощадки с формой, но без бетонной смеси; Qб - вес бетонной смеси; Qв - вес вибрирующих частей (включая форму) без бетонной смеси.

Оценка параметров по удельной мощности колебаний при учете волновых процессов в бетонной смеси

Удельную мощность колебаний  при гармоническом режиме виброуплотнения определяют зависимостью

                                                            (7)

где b - коэффициент, учитывающий волновые процессы в бетонной смеси, зависящий от состава, высоты столба и акустических свойств (скорости распространения волн и коэффициента затухания) смеси, определяет уровень восприятия энергии объемом смеси, характеризуя таким образом активное сопротивление колебаниям; U0 - амплитуда колебаний рабочего органа вибромашины с учетом бетонной смеси (U0 = Ukд, где U - амплитуда колебаний рабочего органа без учета бетонной смеси; kД - коэффициент динамичности вибросистемы «рабочий орган - среда»).

Численные значения коэффициентов b и kд приведены в табл. 5.

Таблица 5

Высота столба смеси, м

Волновой коэффициент, b

Коэффициент динамичности, kд

0,2

0,15…0,25

0,83…0,7

0,3

0,75…0,65

1,26…1,46

0,4

0,16…0,05

1,04…1,07

0,5

0,1…0,2

1…0,9

Предельные значения для коэффициентов b и kд приведены соответственно для подвижных и жестких смесей. Для определения параметров уплотнения умеренно жестких смесей принимают средние значения b и kД.

Величина , обеспечивающая необходимые условия для уплотнения смеси, находится в пределах 0,4…2,0 Вт/кг. Меньшие значения соответствуют изделиям высотой 0,1 < h £ 0,2 м, формуемым из подвижных смесей, большие - жестким смесям (0,2 < h £ 0,5 м).

Численные значения коэффициента kД внесены в табл. 5 для отношения массы бетонной смеси mб к массе колеблющихся частей площадки тк.ч и массы формы mф/[mб/(mк.ч + mф)] = 0,3. С увеличением этого соотношения до значения 0,7 (максимального, встречающегося в производственной практике) коэффициент kд уменьшается. Его величину можно определить по зависимости

где h = 0…4 - порядковый номер отношения mб/(mк.ч + mф). Для значения 0,3 h = 0. Например, необходимо вычислить значение kд для отношения 0,6 при формовании изделия высотой h = 0,3 м (бетонная смесь - жесткая). Из табл. 5 для h = 0,3 · К0,3 = 1,46. Тогда К0,6 = 1,46 - 3 · 0,05 = 1,31.

Удельная мощность колебаний при ударно-вибрационном режиме уплотнения

                                            (8)

где Uср - осредненное значение амплитуды колебаний (полуразмах колебаний); Т - период колебаний; ан - ударное ускорение при нахождении рабочего органа в крайнем нижнем положении; Kа - коэффициент асимметрии ускорения колебаний.

Соотношение между амплитудой и частотой колебаний, наиболее часто встречающихся в практике, приведены ниже.

Частота колебаний w, 1/с

157

250

314

Амплитуда колебаний U0, мм

0,8…1,2

0,6…0,8

0,4…0,6

ПРИЛОЖЕНИЕ 2

ОПРЕДЕЛЕНИЕ ТЕХНОЛОГИЧЕСКИХ ПАРАМЕТРОВ И РАСЧЕТ ВИБРАЦИОННЫХ ПЛОЩАДОК

Методика и пример расчета виброплощадки с вертикально-направленными колебаниями

Например, требуется определить основные параметры виброплощадки для формования железобетонных плит длиной l = 6 м, шириной b = 1,5 и высотой h = 0,3 м. Изделие формуется из малоподвижной бетонной смеси плотностью r = 2000 кг/м3. Необходимая амплитуда и частота колебаний рабочего органа выбирается по таблице: U0 = 0,6 мм, угловая частота колебаний w = 314 с-1.

1. Определяем колеблющуюся массу системы.

Масса формуемого изделия

тб =r V = 2000 · 2,7 = 5400 кг.                                                 (1)

Масса формы

тф = (0,6…1)mб =5000 кг.                                                         (2)

Масса колеблющихся частей площадки:

а) блочной конструкции

тв = (0,2…0,4) (mф + mб);                                                        (3)

б) рамной конструкции

mв = (0,6…1) (mф + mб).                                                             (4)

В данном примере принята блочная виброплощадка

mв = 0,25 (mф + mб) = 0,25 (5400 + 5000) = 2600 кг.

Полная колеблющаяся масса

тполн = m + тб = 13000 кг,

где m = mв + mф.                                                                                                                  (5)

2. Находим суммарный статический момент массы дебалансов

m0r0 = U0mполн / kд = 0,6·10-3 · 7600 / 1,46 = 3,123 кг·м,                                  (6)

где коэффициент kд взят из табл. 5 прил. 1.

3. Вычисляем суммарную жесткость опор виброплощадки исходя из условия виброизоляции:

c0 = w02mполн = (44· 86)213000 = 2,6 · 107 Н/м,                                    (7)

где w0 - собственная частота колебаний виброплощадки

w0 = w / (7…10).                                                                    (8)

4. Определяем амплитудное значение вынуждающей силы

F0 = m0r0w2 = 3,123 · 3142 =30,79 · 104 Н.                                        (9)

5. Устанавливаем мощность привода виброплощадки

P = (Pтр + Pкол) / h,                                                               (10)

где Ртр = 0,5F0mdyw - мощность на трение в подшипниковых узлах площадки; m - условный коэффициент трения для подшипников; dу - диаметр шейки вала под подшипником.

Мощность на колебания виброплощадки:

Pкол = (1/4)F0U0¢, Вт                                                         (12)

где U0¢ - амплитуда колебаний виброплощадки при учете только реактивных сил, так как площадка работает в зарезонансном режиме

U0¢ = m0r0 / (mбa + m), м;                                                    (13)

a - коэффициент влияния реактивных сил сопротивления бетонной смеси (табл. 1)

6. Мощность на уплотнение бетонной смеси

Рб = mб = mб0,5bw3, Вт.                                             (14)

Таблица 1

Высота столба смеси, м

Значения коэффициента а в зависимости от вида смеси

малоподвижная

умеренно жесткая

жесткая

0,1

0,99

0,95

0,9

0,2

0,7

0,65

0,6

0,3

-0,8

-0,75

-0,7

0,4

-0,13

-0,1

-0,09

Значения мощности привода виброплощадки с учетом всех видов сопротивления определяют после конструктивной проработки виброплощадки.

Методика и пример расчета ударно-вибрационной площадки с незакрепленной формой

Например, требуется определить основные параметры виброплощадки для формования изделия длиной l = 5 м, шириной b = 2 м и высотой h = 0,5 м.

Бетонная смесь - умеренно жесткая, достигаемая плотность r = 2400 кг/м3. Необходимый полуразмах колебаний рабочего органа U0 = 0,75 мм, круговая частота его колебаний w = 157 с-1.

1. Определяем условия, обеспечивающие устойчивый ударно-вибрационный режим колебания, который зависит от двух безразмерных параметров q и x.

Параметр q показывает отношение массы системы Gc = (m1 + m2)g к амплитуде вынуждающей силы F0:

q = (m1 + m2)g / F0.                                                              (15)

Параметр x показывает отношение частоты колебаний системы под воздействием к вынуждающей частоте колебаний: x = w0¢/w,

где  где с - жесткость ограничителей колебаний (упругих прокладок, закрепленных на виброблоках); mпр = т1 т2 /12) - приведенная масса системы (т1 - масса колеблющихся частей виброплощадки, т2 - сумма массы формы и приведенной массы бетонной смеси), тогда

x =                                                              (16)

Численные значения q и x для обеспечения устойчивого ударно-вибрационного режима принимают в пределах

0,9 £ q £ 1,5;                                                                   

1,3 £ x £ 1,6.                                                              (17)

В табл. 2 приведены значения коэффициентов, характеризующих амплитуду Ku, скорость Кv ускорение Кa виброплощадки и время контакта формы и виброблока t, соответствующие значениям q и x.

Таблица 2

x

q

t

Ku

Кv

Кa

1,3

0,9

2,42

2,10

0,65

4,66

1,3

1,3

2,42

2,67

0,94

5,46

1,5

0,9

2,09

1,73

0,94

4,19

1,5

1,3

2,09

1,93

1,36

4,99

1,6

0,9

1,96

1,63

1,06

4,1

1,6

1,3

1,96

1,85

1,53

4,9

Пользуясь данными табл. 2, примем значения q = 1,3; x = 1,3; Ku = 2,67; Кv = 0,94; Ka = 5,46.

2. Определяем колеблющиеся массы системы.

Масса бетонной смеси т = rV = 2,4 · 103 · 5 = 12,103 кг.

Приведенная масса бетонной смеси

т¢б = (0,6…0,8) mб = 0,6 · 12 · 103 = 7,2 · 103 кг.                                 (18)

Масса формы

mф = т¢б = 7 · 103 кг.

Масса колеблющихся частей виброплощадки

тв = (0,3…0,6) ф + т¢б) = 0,35 (7,2 · 103 + 7 · 103) = 4,97 · 103 кг.

Таким образом, колеблющиеся массы системы:

m1 ≈ тв = 5 · 103 кг;

т2 = (mф + m'б) = 14,2 · 103 кг.

Приведенная масса системы

mпр =  кг.                               (19)

3. Находим вынуждающую силу и суммарный статический момент массы дебалансов.

Вынуждающая сила находится из соотношения (15):

 H.

Значение вынуждающей силы может быть получено также по зависимости

 Н.                  (20)

Численное равенство сил, полученных по разным зависимостям, свидетельствует о возможности обеспечения ударно-вибрационного режима колебаний при выбранных параметрах системы.

Суммарный статический момент массы дебалансов

 кг·м.

4. Определяем коэффициент упругости ограничителей, который находится из соотношения

с = x2mпрw2 =1,32 · 3,7 · 103 · 1572 = 2 · 108 Н/м.

5. Вычисляем коэффициент упругости опор из условия виброизоляции виброплощадки

c0 =w02(m1 + m2) = 22,4 · 19,2 · 103 = 9,6 · 106 Н/м.                               (21)

Нагрузка на одну опору

 H,                              (22)

где п - количество опор.

Площадь опор при [s] =4,5 · 105 Н/м:

 м2.                                              (23)

Тогда высота опоры h при модуле упругости резины ЕД = 3,5 · 106 Н/м2:

 м,                            (24)

где  - коэффициент упругости одной опоры  0 / 24.

6. Устанавливаем мощности привода:

мощность на потери в ограничителе

Pогр = (j /4p)cd2w, кВт                                                        (25)

мощность на уплотнение бетонной смеси

Pб = m¢б, кВт                                                              (26)

где  - усредненное значение удельной мощности, вычисляемое по зависимости (8) прил. 1;

мощность на трение в подшипниковых узлах

Pтр = F0m(dу / 2)w, кВт                                                           (27)

Численное значение мощности привода устанавливается после определения конструктивных параметров виброплощадки.

Методика и пример расчета виброплощадки с многокомпонентными колебаниями

Например, требуется определить основные параметры виброплощадки для формования железобетонной плиты длиной l = 17,94 м, шириной b = 2,98 м и высотой (в средней части) h = 0,9 м.

Масса плиты - 10000 кг; масса формы с площадкой - 20820 кг; частота колебаний - 24 Гц; амплитуда горизонтальных колебаний U = 0,8 мм.

1. Определяем колеблющиеся массы

тполн = 1,05 б + m) = 1,05(10000 + 20820) = 32360 кг.                      (28)

2. Определяем максимальную вынуждающую силу

F0 = KFmполнU0w2 = 0,4 · 32360 · 0,8-3 · 152,42 = 240 · 103 Н,                      (29)

где KF - коэффициент пропорциональности, равный 0,35…0,4.

3. Потребная мощность двигателя

Ру = Кр тполн = 0,6 · 32360 = 19,42 · 103 Вт » 20 кВт,                                (30)

где Кр - коэффициент пропорциональности, численно равный 0,5…0,6 Вт/кг.

4. Вычисляем суммарную жесткость опор. Необходимое количество опор

z = mполн / mоп = 32360 / 4000 = 8,09,                                            (31)

где mоп - грузоподъемность одной опоры.

Учитывая неравномерность распределения массы по длине формы и с целью обеспечения устойчивости принимаем z = 10.

Допускаемая жесткость упругих опор в горизонтальной плоскости

Н/м,                               (32)

где тср = mполн - mб = 32360 - 10000 = 22360 кг.

Допускаемая жесткость упругих опор в вертикальной плоскости

Н/м.                           (33)

ПРИЛОЖЕНИЕ 3

ОПРЕДЕЛЕНИЕ ТЕХНОЛОГИЧЕСКИХ ПАРАМЕТРОВ И РАСЧЕТ ПОВЕРХНОСТНЫХ МАШИН

Основными показателями технологического режима, определяющими эффективность процесса при вибрационном уплотнении, являются:

частота колебаний w устанавливается в зависимости от жесткости применяемой смеси:

для смесей жесткостью 5…20 с w = 260…360 с-1;

для смесей жесткостью 20…30 с w = 400…620 с-1.

Амплитуда колебаний рабочего органа U0 устанавливается в зависимости от высоты формуемого изделия для выбранных частот.

Рекомендуемые значения величины амплитуды рабочего органа U0 приведены в табл. 1.

Таблица 1

Высота формуемого изделия, h, мм

U0, мм

w = 260…360 с-1

w = 400…620 с-1

50

0,3…0,35

0,2…0,22

100…140

0,4…0,5

0,25…0,32

150…250

0,5…0,6

-

Меньшие амплитуды соответствуют меньшим значениям высот и большим частотам.

Скорость формования для машин последовательного действия в зависимости от классификации бетонной смеси и толщины формуемого изделия приведена в табл. 2.

Таблица 2

Жесткость, с

подвижность, см

Толщина формуемого изделия, мм

Скорость формования, м/мин

5…10

0

До 100

2

10…15

0

1,5

5…10

0

100…200

1,5

10…15

0

1

0

2…3

До 100

3…4

     200

2…3

0

5…6

     100

4…5

     200

3…4

0

8…10

     200

4…5

     200

3…4

Параметры вибрационного рабочего органа определяют в зависимости от требуемых технологических режимов уплотнения.

Для виброштампов и вибропрессов выбирают конструктивную схему и определяют размеры и массу рабочего органа.

Наиболее целесообразной для рабочего органа машиной этого типа считается двухмассная схема (рис. 1).

Рис. 1. Схема двухмассной поверхностной машины

На нижней массе М устанавливают вибровозбудитель, а верхняя - M1 служит для достижения необходимого статического давления.

Размеры и конфигурация в плане нижней массы соответствуют размерам и конфигурации формуемого изделия с учетом зазоров между рабочим органом и бортоснасткой (3…5 мм). Жесткость упругих элементов «с» между верхней и нижней массами рассчитывается из условия виброизоляции по формуле

с = М1w2 / 50…100, Н/м.                                                          (1)

Таблица 3

Высота формуемого изделия h, мм

Вибропресс

Виброштамп

Бетонные смеси

малоподвижные и умеренно-жесткие

жесткие и повышенной жесткости

малоподвижные и умеренно-жесткие

жесткие и повышенной жесткости

£ 0,1

(0,7…0,75) S

(0,9…0,1) S

(0,8…0,9) S

(0,9…1) S

0,11…0,25

(0,4…0,6) S

(0,5…0,7) S

(0,9…1,1) S + V0rпл

(1,5…1,8) S + V0rпл

Примечание. S - площадь рабочего органа в плане, м2; V - объем смеси, вытесняемой при виброштамповании; rпл - объемная масса уплотненной бетонной смеси.

Определение суммарной массы рабочего органа Мс, т/м2, производят по приведенным в табл. 3 формулам.

При этом, как экспериментально установлено, Мс распределяют таким образом, что

М= (0,25…0,3) S,                                                                  (2)

а масса пригруза

М1 = МС - М.                                                                          (3)

При одномассной схеме по величине М1 определяют требуемую силу нажатия безынерционного пригруза

Fн = M1g,                                                                               (4)

где g - ускорение силы тяжести.

Определение статического момента массы дебалансов производят по формуле

m0r0 = U0M / m1,                                                                     (5)

где U0 - назначается по табл. 1;

                                             (6)

Здесь тб = Shrпл - полная масса бетона;                                                                           (7)

а2 и d2 - коэффициенты, отражающие особенности работы поверхностной вибромашины. Их значения для смесей различной жесткости приведены в табл. 4.

Определяем мощность двигателя вибровозбудителя:

суммарная мощность

Pc = (Pб + Pпр) / h;                                                                (8)

мощность колебаний

Pб = 1 / 4F0U0w;                                                                   (9)

мощность на потери в приводе

Pпр = F0m(dц / 2)w,                                                                (10)

где m - коэффициент трения качения m = 0,005…0,008; dц - диаметр цапфы вибровала; h = 0,95…0,96 - коэффициент полезного действия механизма вибровозбудителя; F0 - вынуждающая сила;

F0 = m0r0w2.                                                                          (11)

Рабочий орган вибромашин последовательного действия выполняют обычно одномассным в виде профильной лыжи. Поперечное сечение рабочих органов машин последовательного действия точно повторяет конфигурацию профиля формуемого изделия. Вибрируемая масса рассчитывается по приведенным выше зависимостям (1... 3).

Таблица 4

Бетонная смесь

Частота колебаний w, с-1

а2 с высотой слоя бетонной смеси h, м

d2 с высотой слоя бетонной смеси h, м

0,04

0,06

0,08

0,15

0,2

0,04

0,06

0,08

0,15

0,2

Умеренно жесткая

314

-12,12

-5,2

-2,77

-0,53

-0,11

3,11

1,39

0,78

0,23

0,14

471

-9,51

-4,04

-2,12

-0,33

-0,007

2,46

1,1

0,62

0,19

0,12

628

-10,77

-4,6

-2,44

-0,43

-0,05

2,78

1,24

0,7

0,21

0,13

Жесткая

314

-11,78

-5,05

-2,69

-0,5

-0,1

4,24

1,89

1,06

0,31

0,19

471

-9,24

-3,92

-2,05

-0,32

-0,04

3,35

1,49

0,84

0,25

0,16

628

-10,47

-4,47

-2,36

-0,42

-0,04

3,78

1,68

0,95

0,28

0,18

Особо жесткая

314

-11,37

-4,87

-2,59

-0,48

-0,09

5,26

2,34

1,32

0,39

0,24

471

-8,91

-3,77

-1,97

-0,29

-0,023

4,16

1,85

1,04

0,31

0,2

628

-10,11

-4,3

-2,27

-0,38

-0,033

4,7

2,09

1,18

0,35

0,22

Рис. 2. График зависимости длины профиля лыжи от толщины изделия и жесткости смеси

Рис. 3. Схема для определения размеров поверхностной вибромашины последовательного действия

Минимально необходимую длину профиля лыжи определяют по графику (рис. 2) в зависимости от толщины изделия и жесткости смеси.

Форма профиля вибролыжи содержит криволинейный, наклонный и горизонтальный участки (рис. 3). Длина горизонтального участка составляет 1/3 всей длины. Превышение передней точки криволинейной части профиля составляет 0,5h; угол наклонной части - 3…5°; ширина вибролыжи на 20…25 мм меньше ширины формуемого изделия; угол наклона стенок бункера от вертикали не более 15…20 °. Жесткость упругих виброизолирующих связей с подвески массой М определяют по формуле

с = Mw2 / 500…100.                                                         (12)

Статический момент массы дебалансов и вынуждающую силу определяют по формулам (5) и (11) с учетом вовлечения в колебание массы смеси впереди и сзади вибролыжи, т.е.

mб = 1,4hrплS,                                                                 (13)

где S = (а - 0,02) l,                                                        (14)

здесь а - ширина формуемого изделия.

Расстояние между осями вибровозбудителей принимают 0,8…1,1 м, а расстояние от края вибролыжи до оси вибратора 0,3…0,5 мм*.

Мощность на поддержание колебаний и на потери в приводе вибровозбудителя определяются по формулам (7) - (9) с учетом формул (13) и (14).

Мощность привода горизонтального перемещения рабочего органа расходуется на перемещение в бункере призмы бетонной смеси массой mпр и на преодоление сил трения нижней плоскости вибролыжи о бетонную смесь.

* Допустимая стрела прогиба вибролыжи у = (а · 0,02)104 м.

Pc = Pп + Ртр.                                                                    (15)

Мощность на перемещение призмы бетонной смеси

Pп = WпV / 60, Вт,                                                              (16)

где V - скорость формования, м/мин;

Wп = mпрgj;                                                                 (17)

mпр = 2500h2а;                                                              (18)

j - 0,7…0,8 - коэффициент внутреннего трения бетонной смеси; g - ускорение свободного падения.

Мощность на преодоление трения нижней плоскости вибролыжи о бетонную смесь

Pтр =Wтр V / 60, Вт,                                                          (19)

где Wтр = [F0 + (M + M1)g] j1,                                                                                            (20)

j1 = 0,5…0,6 - коэффициент трения бетона о сталь, при трогании с листа (j1 = 0,7…0,8).

Методика и пример расчета вибропротяжного устройства

Например, нужно формовать плиты покрытия дорог размером 6´1,6´0,1 м из жесткой бетонной смеси rпл = 2,4 т/м3. Требуемая амплитуда колебаний - 0,4 мм.

В соответствии с табл. 3 разд. 6 выбираем для формования тип машины - скользящее виброустройство. Частота колебаний рабочего органа - 314 с-1

По графику на рис. 2 определяем минимально необходимую длину лыжи рабочего органа l = 0,6 м и определяем элементы профиля: длина заднего горизонтального участка - 0,2 м; превышение передней точки профиля - 0,05 м; угол наклона горизонтальной части - 3°, ширина лыжи (А - 0,02) = 1,6 - 0,02 = 1,58 м.

Площадь горизонтальной проекции вибролыжи

S =1,58 · 0,6 = 0,948 м2.

Масса рабочего органа

М = 0,3 · 0,948 = 285 кг.

Допустимая стрела прогиба конструкции лыжи виброуплотнителя

y = 10-4 · 1600 = 0,16 мм.

Расстояние от края лыжи до оси первого вибратора 0,39 м, а между вибраторами - 0,8 м.

Максимальная скорость формования

V = 3l / 5ht = 3 · 0,6 / 5 · 0,1 · 2 = 1,8 м/мин.

Жесткость упругих связей

с = 285 · 3142 / 43 = 573466 Н/м = 5734,6 Н/см.

Принимая число пружин равным 8, определяем жесткость одной пружины

с0 = 5734 / 8 = 716,8 Н/см.

Вибрируемая масса бетонной смеси

mб = 1,4Shrпл = 1,4 · 0,948 · 0,1 · 2,4 = 318 кг.

Коэффициент динамичности рабочего органа

Статический момент массы дебалансов

 кг · м.

Вынуждающая сила вибровозбудителя

F0 = 0,168 · 3142 = 13224 Н.

Мощность колебаний

Р6 = 1/4 · 13224 · 0,4 · 10-3 · 314 = 0,415 кВт.

Потери мощности в приводе

Рпр = (1/2) 13224 · 0,008 · 0,05 · 314 = 0,995 кВт.

Мощность, расходуемая на сопротивление горизонтальному перемещению рабочего органа

Рс = (0,415 + 0,995) / 0,95 = 1,47 кВт.

Мощность на преодоление сопротивления перемещению призмы бетонной смеси

Рпр = 3136 · 1,8 / 60 = 0,094 кВт,

где Wпр = 400 · 9,8 ·0,8 = 3136 Н; mпр = 25000 · 0,12 · 1,6 = 400 кг.

Мощность на преодоление сил трения

Ртр = 8008 · 1,8 / 60 = 0,240 кВт,

где Wтр = (13224 + 285 · 9,8)0,5 = 8008 Н.

ПРИЛОЖЕНИЕ 4

ТЕХНИЧЕСКИЕ ХАРАКТЕРИСТИКИ ГЛУБИННЫХ ВИБРОМАШИН

Глубинные вибромашины изготовляют с электрическим и пневматическим приводом, имеют планетарный или дебалансный вибровозбудитель.

Технические характеристики серийных глубинных вибромашин с электрическим приводом приведены в табл. 1, а с пневматическим приводом - в табл. 2.

Таблица 1

Техническая характеристика глубинных вибромашин с электрическим приводом завода «Красный маяк»

Индекс вибромашины

Диаметр, мм

Частота колебаний f, Гц

Вынуждающая сила H

Масса, кг

Мощность, Вт

Высота рабочей части, м

Частота тока, Гц

Напряжение В

Вибромашины со встроенным электродвигателем

ИВ-95

75

200

6350

13,3

800

0,49

200

127,22

ИВ-102

76

200

4000

16

750

0,49

200

40

ИВ-103

114

100

7500

24

800

0,48

200

40

Вибромашины с вынесенным двигателем

ИВ-113

38

330

1500

2,6*

550

0,42

50

40

ИВ-112

51

270

3000

4,5*

550

0,41

50

40

ИВ-476

76

167

4750

8,6*

750

0,43

50

36

Навесные вибромашины

ИВ-90

133

133

8000

130

2700

1,1

50

220,38

ИВ-114

133

133

7500

110

1500

1,25

50

380

* Масса вибронаконечника.

Таблица 2

Техническая характеристика глубинных ручных вибромашин с пневматическим приводом* завода строительных машин (г. Одесса)

Индекс вибромашины

Диаметр, мм

Частота колебаний f, Гц

Вынуждающая сила, H

Масса, кг

Высота рабочей части, мм

Рабочее давление, МПа

Расход воздуха, м3/мин

ИВ-69

28

267

-

3,5

320

0,5

1,6

ИВ-13

34

230 - 43

-

3,5

315

0,5

0,65

ИВ-1

50

200

1600

5,6

300

0,5

0,7

ИВ-15

75

197 - 38

-

11,2

375

0,5

1,25

ВП-3

100

133

7000

20

450

0,5

1,1

ИВ-16

110

150 - 30

-

35

480

0,5

1,6

* Рабочий орган - цилиндрический, вибровозбудитель - планетарный.

ПРИЛОЖЕНИЕ 5

ТЕХНИЧЕСКИЕ ХАРАКТЕРИСТИКИ ВИБРОМАШИН ОБЩЕГО НАЗНАЧЕНИЯ

Вибромашины общего назначения, изготовляемые заводом «Красный маяк» (г. Ярославль) за исключением ИВ-91, выпускаемой заводом строительных машин (г. Одесса), показаны на рис. 1 и 2.

Рис. 1. Вибромашина общего назначения с круговыми колебаниями

Рис. 2. Вибромашина общего назначения с направленными колебаниями

Технические характеристики вибромашин общего назначения приведены таблице.

Индекс вибромашины

Частота колебаний f, Гц

Вынуждающая сила H

Мощность, Вт

Номинальное напряжение, В

Габариты, мм

Масса, кг

длина

ширина

высота

Вибромашины общего назначения с круговыми колебаниями

ИВ-96

50

17000…34000

1500

380

585

380

335

110

ИВ-98

50

5700…11500

550

36/380

390

240

250

23

ИВ-99

50

2300…4600

250

36/380

330

194

200

14

ИВ-104

25

3100…6250

370

40/380

438

240

250

29,5

ИВ-105

25

12500…25000

1100

380

565

345

320

90

ИВ-106

25

6200…12506

750

380

535

280

290

52

ИВ-107

50

10000…20000

1100

380

460

280

290

44

ИВ-111

100

2800…5600

550

127/220

325

190

200

12,5

Вибромашины общего назначения с направленными колебаниями

ИВ-101

50

2300…4600

250

36/380

330

191

331

18,5

ПРИЛОЖЕНИЕ 6

ТЕХНИЧЕСКИЕ ХАРАКТЕРИСТИКИ СЕРИЙНЫХ ВИБРОПЛОЩАДОК ЧЕЛЯБИНСКОГО ЗАВОДА «СТРОММАШИНА»

Челябинским заводом «Строммашина» выпускается ряд серийных виброплощадок блочной конструкции с вертикально-направленными колебаниями СМЖ-187А, СМЖ-200Б, СМЖ-199А, СМЖ-164, СМЖ-198, СМЖ-280 и ударно-вибрационные площадки СМЖ-460 и СМЖ-538. Их технические характеристики приведены в таблице.

Блочные виброплощадки с гармоническими колебаниями отличаются друг от друга количеством скомпонованных виброблоков, расстоянием между ними, мощностью привода, направлением колебаний рабочего органа. Все блоки виброплощадки имеют механические синхронизаторы, оснащены электромагнитами для закрепления форм и комплектуются шумозащитными кожухами.

Ударно-вибрационная площадка СМЖ-460 относится к машинам рамного типа с кривошипно-шатунным приводом. Работает площадка в зоне, близкой к резонансу. Форма крепится к рабочему органу площадки электромагнитами.

Ударно-вибрационная площадка СМЖ-538 относится к площадкам блочного типа. Приводом в ней являются вибровозбудители общего назначения типа ИВ-96. Форма к виброблокам не крепится, а устанавливается свободно на упругие прокладки, прикрепленные к внешней поверхности виброблоков. Для предотвращения сползания формы с блоков устанавливаются ограничители.

Технические характеристики серийных виброплощадок челябинского завода «Строммашина»

Техническая характеристика

Тип виброплощадки

 

СМЖ-187А

СМЖ-200Б

СМЖ-199А

СМЖ-164

СМЖ-198

СМЖ-280

СМЖ-460

СМЖ-538

Номинальная грузоподъемность, т

10

15

24

40 - 56

15

20

15

18

Число блоков

8

8

16

14

2

2

1

4

Суммарный, статический момент, кг · м · 10-2

37

45

60

74; 90;

20; 160

74

37; 54; 72

-

121

Колебания рабочего органа

Вертикально направленные

Горизонтально направленные

Вертикально направленные асимметричные

Вертикально направленные ударные

Частота колебаний, f, Гц

50

50

50

50

42

40…50

9…11

25

Амплитуда колебаний, мм

0,2…0,5

0,2…0,5

0,2…0,5

0,2…0,5

0,4…0,6

0,4…0,6

2…8

0,8…1

Способ крепления формы

Электромагнитный

Гидравлический

Пневматический

Электромагнитный

Без крепления

Установленная мощность, кВт

60

88

120

234,5

22

19

30

8,8

Габариты, мм:

 

 

 

 

 

 

 

 

длина

8500

10260

15070

18900

8340

9676

5550

5900

ширина

2986

2986

3006

3040

3200

3206

2690

2800

высота

664

664

664

720

1224

1133

1399

670

Общая масса, кг

6500

6950

13150

16150

5400

6800

20400

5440

ПРИЛОЖЕНИЕ 7

ВИБРОПЛОЩАДКИ РАМНОГО И БЛОЧНОГО ТИПА, ИЗГОТОВЛЯЕМЫЕ МИНИСТЕРСТВАМИ И ВЕДОМСТВАМИ

К машинам рамного типа с гармоническими колебаниями относятся низкочастотные виброплощадки с многокомпонентными колебаниями, техническая характеристика которых приведена в табл. 1.

К машинам рамного типа с низкочастотными асимметричными колебаниями относятся виброплощадки типа ВРА, технические данные которых приведены в табл. 2.

Таблица 1

Технические характеристики виброплощадок различных модификаций с многокомпонентными колебаниями

Техническая характеристика

Виброплощадки

ВП-2

ВПГ-1,5´6

ВПГ-10М2

ВО-10М

ВПГ-3´

ВПГ-20

ВПК-25

Грузоподъемность, т

0,2…1

До 10

4…12

4…12

15

До 20

До 25

Установочная мощность, кВт

0,4…2

11

11

11

11

17

22

Масса площадки, кг

1440

4693

4500

4630

5300

4900

4600

Габариты, мм:

длина

3500

6600

6700

4000

6700

4250

6600

ширина

1300

1600

1800

3300

3000

2776

2480

высота

730

-

-

-

-

885

-

Тип вибратора

ИВ-68

ВУ-10рс

ВУ-10рс

ВУ-10рс

ВУ-10рс

ВУ-25рс

ВУ-25рс

Количество вибраторов, шт.

2

1

1

1

1

1

1

Количество упругих опор, шт.

-

-

4

4

6

4

10

Количество кулачковых механизмов, шт.

-

-

-

-

-

-

-

Назначение

Доборные изделия

Широкая номенклатура изделий, в том числе пустотные плиты перекрытий

Широкая номенклатура изделий в том числе керамзитобетонных

Широкая номенклатура изделий в том числе объемных элементов

Широкая номенклатура изделий в том числе из керамзитобетонной смеси

Для замены СМЖ-280

Для замены СМЖ-200А и СМЖ-3010А

Продолжение таблицы 1

Техническая характеристика

Виброплощадки

ВПГ-2´14

ВО-25м

ВПГ-25м

ВПС-24

ВПГ-50

УВУ-8

Грузоподъемность, т

10…25

10…25

10…25

10…25

20…60

2…10

Установочная мощность, кВт

30

22

30

30

60

11

Масса площадки, кг Габариты, мм:

8300

7300

7140

9100

14400

5400

длина

15000

4000

8000

11600

16680

6650

ширина

2000

3000

2900

3200

2800

2400

высота

-

-

-

-

-

-

Тип вибратора

ВУ-25рс

ВУ-25рс

ВУ-25рс

ВУ-25рс

ВУ-25рс

-

Количество вибраторов, шт

1

1

1

1

1

-

Количество упругих опор, шт.

6

8

8

8

16

-

Количество кулачковых механизмов, шт.

-

-

-

-

-

3

Назначение

Для длинномерных изделий, в том числе керамзитобетонных

Для объемных элементов, в том числе труб, колодцев, сантехкабин

Для высоких изделий

Для плит перекрытий в кассетных формах

Для газонефтепроводных труб

Для легких бетонов

Таблица 2

Техническая характеристика виброплощадок резонансных асимметричных

Тип виброплощадки

Грузоподъемность, т

Высота без привода, мм

Жесткость уплотняемой бетонной смеси, с

Время вибрирования, мин

Амплитуда колебаний рабочего органа, мм

Частота колебаний f, Гц

Расчетная динамическая нагрузка на фундамент, Н

Масса виброплощадки (без заполнителя в раме), кг

Установленная мощность, кВт

ВРА-5

5

1400

20…60

2…4

6…10

9,2

29000

5900

22

 

 

 

 

 

 

10

 

 

 

 

 

 

 

 

 

10,8

 

 

 

ВРА-8

8

1155

20…60

1,5…3

6…10

9,2

33000

7700

22

 

 

 

 

 

 

10

 

 

 

 

 

 

 

 

 

10,8

 

 

 

ВРА-8М

8

916

До 20

1…2

2…4

13

28170

8118

22

 

 

 

 

 

 

13,8

 

 

 

 

 

 

 

 

 

14,7

 

 

 

ВРА-8Д

8

1136

До 40

1…2

1,5…3

14,2

14350

8286

22

 

 

 

 

 

 

15

 

 

 

 

 

 

 

 

 

15,8

 

 

 

ВРА-10

10

1386

20…60

2…4

6…10

9,2

52800

11000

30

 

 

 

 

 

 

10

 

 

 

 

 

 

 

 

 

10,8

 

 

 

2ВРА-10

10

1441

20…60

2…4

6…10

9,2

52800

10200

30

 

 

 

 

 

 

10

 

 

 

 

 

 

 

 

 

10,8

 

 

 

ВРК-15

15

1405

20…60

2…4

6…10

9,2

67800

13260

30

 

 

 

 

 

 

10

 

 

 

 

 

 

 

 

 

10,8

 

 

 

ВРА-15

15

1159

20…60

2...4

6…10

9,2

70000

12600

30

 

 

 

 

 

 

10

 

 

 

 

 

 

 

 

 

10,8

 

 

 

ВРА-15-2´6

15

1263

До 60

2…4

4…8

9,2

70000

14750

30

 

 

 

 

 

 

10

 

 

 

 

 

 

 

 

 

10,8

 

 

 

2ВРА-15

15

1401

20…60

2…4

6…10

9,2

70000

12680

30

 

 

 

 

 

 

10

 

 

 

 

 

 

 

 

 

10,8

 

 

 

2ВРА-15-2´6

15

1271

До 60

2…4

4…8

9,2

70000

15090

30

 

 

 

 

 

 

10

 

 

 

 

 

 

 

 

 

10,8

 

 

 

 

15

1091

До 20

1…2

2…4

14,2

38000

14250

45

 

 

 

 

 

 

15

 

 

 

 

 

 

 

 

 

15,8

 

 

 

РРА 15М

15

900

До 20

1…2

2…4

13

35620

12500

40

 

 

 

 

 

 

13,8

 

 

 

 

 

 

 

 

 

14,7

 

 

 

ВРА-15-2´

15

980

До 20

1…2

2…4

13,8

38700

13920

45

 

 

 

 

 

 

15

 

 

 

 

 

 

 

 

 

16,2

 

 

 

2ВРА-15М

15

1034

До 20

1…2

24

13

35620

13000

40

 

 

 

 

 

 

13,8

 

 

 

 

 

 

 

 

 

14,7

 

 

 

ВРА-15Д

15

803

До 20

1…2

2…5

14,2

17300

14400

45

 

 

 

 

 

 

15

 

 

 

 

 

 

 

 

 

15,8

 

 

 

ВРТ-20

20

1160

30…100

5…8

6…10

10

86000

12500

40

 

 

 

 

 

 

10,8

 

 

 

 

 

 

 

 

 

11,7

 

 

 

ВРА-20

20

1145

До 45

1,5…3

1,5…3,5

14,2

16700

14000

55

 

 

 

 

 

 

15

 

 

 

 

 

 

 

 

 

15,8

 

 

 

ВТ

20

1660

20…60

4…6

6…10

9,2

55000

16000

75

 

 

 

 

 

 

10

 

 

 

 

 

 

 

 

 

10,8

 

 

 

ВС

10

1600

20…60

2…4

5…10

9,2

34800

13000

30

 

 

 

 

 

 

10

 

 

 

 

 

 

 

 

 

10,8

 

 

 

ПРИЛОЖЕНИЕ 8

ТЕХНИЧЕСКИЕ ХАРАКТЕРИСТИКИ КАССЕТНЫХ УСТАНОВОК

Выпускаемые серийно промышленностью кассетные установки работают в комплекте с машинами для распалубки и сборки кассетных форм. Их конструкция предусматривает использование гидроприводов для работы механизмов запирания и распалубки. Характеристики серийно выпускаемых кассетных установок и машин для распалубки и сборки кассетных форм приведены в табл. 1 и 2.

Таблица 1

Технические характеристики кассетных установок Ждановского завода металлоконструкций Минмонтажспецстроя

Техническая характеристика

Тип установки

СМЖ-253

СМЖ-3212

СМЖ-3222

СМЖ-3302

СМЖ-3312

СМЖ-3322

Габариты изделия, м

7,2´3,55´0,12

6´3´0,12

6´3,4´0,05

7,2´3´0,16

6´3´0,12

6´2,7´0,06

Число отсеков

12

12

14

10

12

14

вибраторов

24

12

28

10

12

14

Установленная мощность, кВт

9,6

4,8

11,2

4

4,8

5,6

Габариты, м

9,52´3,86´4,73

8,32´4,07´4,27

8,32´3,25´4,73

9,52´4,04´4,27

8,32´4,09´4,27

8,32´4,09´4,27

Масса, т

119,66

102,72

127,98

102,55

102,54

111,2

Таблица 2

Технические характеристики машин для распалубки и сборки кассет кохомского завода «Строммашина»

Техническая характеристика

Тип машины

СМЖ-20А

СМЖ-21А

СМЖ-252Б

СМЖ-3221Б

СМЖ-3301Б

СМЖ-3311Б

Габариты кассет, м

7,05´2,41´3,55

7,05´2,41´3,03

9,52´3,86´4,73

8,14´3,17´4,47

4,52´4,09´4,27

8,14´3,31´4,01

Максимальное перемещение стенки, см

85 ± 5

85 ± 5

85 ± 5

85 ± 5

85 ± 5

85 ± 5

Продолжительность распалубки, с

50

50

50

50

50

50

Установленная мощность, кВт

7,5

7,5

7,0

4,0

7,5

4,0

Габариты, м

7,13´5,74´2,89

7,13´5, 74´2,37

8,98´б,43´3,21

7,78´5,42´3,15

8,98´6,55´3,08

7,78´6,19´3,08

Масса, т

13,45

13,5

27

21

27,2

21,5


ПРИЛОЖЕНИЕ 9

ПОВЕРХНОСТНЫЕ ВИБРОМАШИНЫ, ИЗГОТОВЛЯЕМЫЕ МИНИСТЕРСТВАМИ И ВЕДОМСТВАМИ ДЛЯ УПЛОТНЕНИЯ МЕЛКОЗЕРНИСТЫХ (ПЕСЧАНЫХ) БЕТОНОВ

Шифр пресса

Номенклатура формуемых изделий

Схема формования

Количество изделий за 1 цикл

Площадь, м2

Мощность, кВт

Амплитуда, мм

Разовый цикл изготовления, с

Частота вибрации f, Гц

Масса пресса, т

Стоимость, тыс. руб.

ВИП-4М

Плита тротуарная

На поддоне

1…2

0,48

6

1,2…1,5

20…25

50

7,15

25

 

Плиты ПКП 60.18

То же

4

0,108

6

1,2…1,5

20…25

50

7,15

25

 

Фигурные элементы мощения Ф7

«

2

0,4

6

1,2…1,5

25

50

7,5

30

 

То же, Ф7

«

15

0,54

6

1,2…1,5

25

50

7,5

30

ВИП-5М

Плита тротуарная К6

Без поддона

1

0,25

3

1…1,2

16…20

50

7,39

16

 

Трамвайная плита 120´460´570

То же

1

0,26

3

1…1,2

20

50

7,5

17

ВИП-6М

Бортовые камни БР 100.30.15

На поддоне

2

0,6

10

1…1,2

20…30

50

14,5

26

 

Газонные камни 80´200´600

То же

10

2

10

1…1,2

20…30

50

14,5

26

 

Тротуарная плита 50´250´500

«

22

3

10

1…1,2

20…30

50

14,5

28

 

Стеновые блоки

«

8

1,6

10

1…1,2

20…30

50

14,5

28

ВИП-7

Бортовые камни БР 100.30

«

11

3,3

20

1,52

30…45

50

14,8

30

 

Тюбинги диаметром 2 м

«

11

0,396

20

1,52

30…45

50

14,8

30

 

Камни бетонные стеновые

«

91

3,64

20

1,52

30…45

50

15

33

ВИП-8

Блоки стен-подвалов ФБС-24,3,6 и ФБСВ-24,4,6

На поддоне

2

2,76

77

1,52

85

50

40

35

ВИП-9

Тротуарные плиты, в том числе ФЭМ, ОПТ-3

То же

1

0,9

1,5

11,2

1520

50

1,28

3

ВИП-10

Бортовые камни БР 100.30.15

«

1

0,3

1,5

1,21,4

2025

50

3

6

 

Газонные камни БР 100.20.8

«

3

0,6

1,5

1,21,4

2025

50

3

6

ВИП-10М

Бортовые камни БР 100.30.15

«

1

0,3

1,5

1,21,4

2025

50

3

6

 

Камни бетонные стеновые

«

26

0,324

1,5

1,21,4

2025

50

3

6

вип-11

Плиты ПРТм

«

2

1,6

22

1

45

50

13

10

ВИП-12

Камни бетонные стеновые (ГОСТ 6133-84)

На поддоне

26

0,324

1,5

1,21,5

2025

50

 

 

 

Газонные камни БР 100.20.8

То же

3

0,6

1,5

1,21,5

2025

50

2,5

5

 

Бортовые камни БР 1000.30.15

«

1

0,3

1,5

1,21,5

2025

50

2,5

5

 

Плиты цокольные 50´20´7

«

6

0,6

1,5

1,21,5

2025

50

2,5

5

 

Накрывные ремонтные камни

«

46

0,324

1,5

1,21,5

2025

50

2,5

5


ПРИЛОЖЕНИЕ 10

ОБОРУДОВАНИЕ ДЛЯ ПРЕССОВАНИЯ И ВАКУУМИРОВАНИЯ БЕТОННЫХ СМЕСЕЙ

Одной из наиболее рациональных конструкций пресса является карусельная. Схема такой установки представлена на рис. 1.

Как видно из рис. 1, пресс карусели имеет рамную конструкцию. Силовая рама состоит из верхней траверсы, опирающейся на центральную и две боковые колонны, и нижней плиты карусели. В верхней траверсе установлен гидроцилиндр пресса, который соединен с прессовой плитой при помощи рычажного механизма, представляющего собой механизм типа двойного рычага Эйлера. Передаточное отношение рычажного механизма переменное и достигает значения 1:10 в конце рабочего хода цилиндра, т.е. тогда, когда необходимо наибольшее усилие прессования. Рычажный механизм смонтирован на подшипниках скольжения.

Усилие прессования достигает величины 100 т при давлении масла в гидроцилиндре 15 МПа. Это давление достигается с помощью гидроусилителя при давлении, развиваемом гидронасосом 8 МПа.

Рис. 1. Гидравлический карусельный пресс КТБ с ОП при ИСиА Госстроя СССР

а - схема карусельной конструкции пресса; б - прессующая часть установки; 1 - платформа; 2 - крышка; 3 - колонны; 4 - основание; 5 - гидроцилиндр; 6 - прессовая плита; 7 - верхняя траверса; 8 - пуансоны; 9 - кронштейны; 10 - клиновой механизм подпора

На прессовой плите смонтированы четыре пуансона, воспринимающие усилие от прессовой плиты через вмонтированные гидроцилиндры, которые соединены между собой трубопроводами. Это позволяет получить одинаковое прессующее усилие, а, следовательно, и одинаковую плотность формуемых изделий во всех четырех гнездах формы, несмотря на неточность дозирования бетонной смеси в каждое из гнезд формы.

Для разгрузки кронштейнов поворотного стола карусели во время прессования служит клиновой механизм подпора, который при срабатывании создаст зазор между формой и кронштейном и воспринимает все прессующее усилие. Для обеспечения надежности работы механизма угол уклона клина выбран меньше угла трения, что обеспечивает самоторможение клина. Привод клина - от гидроцилиндра.

Пресс-форма для изготовления изделий показана на рис. 2. Она состоит из днища и подвижных бортов, скользящих по пальцам, закрепленным в кронштейнах поворотного стола карусели. Борта формы имеют перегородку. Пальцы служат также направляющими для днища при подъеме в момент распалубки изделий.

Для осуществления вакуумирования бетона на днище формы закреплен полиэтиленовый фильтр. Между перфорированным днищем и фильтром уложено два слоя латунной сетки. Днище формы имеет вакуум-полость, которая при прессовании соединяется с вакуум-системой.

Между днищем формы и бортами имеется уплотнение из губчатой резины, приклеенное к нижней плоскости бортов для обеспечения герметизации при вауумировании бетонной смеси.

Рис. 2. Схема пресс-формы изделий

1 - днище; 2 - подвижные борта; 3 - пальцы; 4 - кронштейны; 5 - перегородка; 6 - полиэтиленовый фильтр; 7 - латунная сетка; 8 - перфорированное днище; 9 - вакуум-полость

Один из вариантов выполнения вакуум-устройства представлен на рис. 3. Устройство включает упор в виде вакуум-траверсы, механизм подъема формы с входящими в него гидроцилиндрами и реечным механизмом, фиксирующий механизм, состоящий из стоек, жестко закрепленных на форме, и фиксаторов, оси которых закреплены на раме устройства. В стойках 4 расположены стержни с закрепленными на них кулачками. Механизмы устройства выполняют следующие операции.

Форма с отформованным изделием перемещается на пост распалубки. При подъеме поршня гидроцилиндра вверх плита устройства упирается в днище формы и форма поднимается до соприкосновения изделия с вакуум-траверсой, изделие присасывается к вакуум-траверсе, а стенки формы фиксируются в поднятом положении при помощи фиксаторов, заскочивших в пазы стоек под воздействием пружин. После этого поршень гидроцилиндра перемещается вниз и днище опускается на место, а под изделие подводится поддон. Во время дальнейшего движения поршня вниз рейки реечного механизма входят в соприкосновение с подвижными стержнями стоек, и кулачки, закрепленные на стержнях, выбивают фиксаторы из пазов, стенки формы поднимаются вверх, освобождая изделие. После исчезновения вакуума изделие ложится на поддон и удаляется.

В момент опускания стенок формы кулачки стержней не дают возможности соскочить фиксаторам в пазы стоек и стенки формы опускаются на днище. Поршень гидроцилиндра останавливается при появлении зазора между формой и реечным механизмом, а стержень с кулачком опускается вниз и не препятствует фиксации формы при повторном цикле.

Рис. 3. Вакуум-устройство

а - схема; б - узел; 1 - упор; 2 - гидроцилиндр; 3 - реечный механизм; 4 - стойки; 5 - фиксаторы; 6 - стержни; 7 - кулачки; 8 - форма; 9 - рейки; 10 - узел

Для съема свежеотформованных изделий может быть рекомендовано устройство, схема которого представлена на рис. 4.

Рис. 4. Схема устройства съема свежеотформованных изделий

1 - пневмоцилиндр; 2 - выдвижной шток; 3 - пружинный захват; 4 - поддон; 5 - тележка; 6 - ролики; 7 - днище; 8 - форма под изделие; 9 - вакуум-траверса; 10 - борта формы; 11 - подвижная платформа; 12 - рельсы; 13 - ограничители; 14 - винты; 15 - гайки; 16, 17 - ролики; 18 - упор

Как следует из рис. 4, устройство состоит из пневмоцилиндра с выдвижным штоком, на котором посажен пружинный захват, с помощью которого захватывается очередной поддон с тележки и подается по роликам днища формы под изделия, удерживаемые вакуум-траверсой при поднятых бортах формы. Тележка осуществляет вертикальное перемещение с помощью механизма подъема, состоящего из подвижной платформы с установленными рельсами, на которых с одной стороны установлены ограничители четырех винтов, по которым при вращении гаек передвигается платформа с тележкой. Каждая тележка имеет пять поддонов, передвигающихся по роликам. Свободное перемещение поддона по тележке ограничивается, с одной стороны, роликом, поднятым на 5 мм над остальными, с другой стороны - упором.

Установка платформы с тележкой на каждом ярусе должна производиться таким образом, чтобы зазор между очередным поддоном при подаче его под изделие и днищем находился в пределах 3 - 5 мм.

Захватное устройство служит для захвата поддонов при их нахождении в любом положении от переднего ролика до заднего упора.

Ось пневмоцилиндра должна совпадать с осью днища, установленного на карусели. Необходимо, чтобы расцепление захватного устройства с поддоном происходило до его упора в ограничитель. Ход штока пневмоцилиндра должен обеспечивать подачу поддона под изделия таким образом, чтобы после их опускания разность расстояния от краев поддона до изделия не превышала 15 мм.

Ось роликового пути на платформе механизма опускания тележек должна совпадать с осью днища, расположенного на кронштейнах. Концевые упора на платформе механизма опускания тележек необходимо устанавливать идентично с упорами на платформе механизма подъема тележек (по отношению к тележке-челноку).

Равномерность подъема платформы достигается синхронным вращением гаек вокруг подъемных винтов.

Для регулирования скорости движения поддона воздухоподводящая магистраль оборудуется дроссельным устройством.

Механизм съема свежеотформованных изделий следует оборудовать устройством для подачи соответствующих сигналов конечных положений в цепь управления. Съем готовых изделий с тележки может осуществляться по схеме, представленной на рис. 5, из которой следует, что тележка поднимается вверх механизмом подъема с промежуточными остановками на каждом ярусе. Пневмоцилиндром с толкателем, закрепленным на конце штока, изделия сталкиваются на стол контейнеризации.

Рис. 5. Схема механизма съема изделий с тележки

1 - тележка; 2 - механизм подъема; 3 - пневмоцилиндр; 4 - толкатель; 5 - шток; 6 - изделие; 7 - стол контейнеризации; 8 - ограничитель

Рис. 6. Схема механизма контейнеризации готовых изделий

1 - плиты; 2 - стол контейнеризации; 3 - пневмоцилиндр; 4 - рычажное устройство; 5 - ось; 6 - пружина; 7 - контейнер; 8 - направляющие ролики; 9 - пневмоцилиндр

Для предотвращения сдвига тележки при сталкивании изделий на полу камеры установлен ограничитель.

Остановку платформы механизма подъема тележек на каждом ярусе следует производить с точностью до ±5 мм.

Операции подъема тележки на каждый ярус и съема готовых изделий должны быть синхронизированы с операцией контейнеризации изделий.

Контейнеризация готовых изделий может осуществляться по схеме, представленной на рис. 6, откуда следует, что плиты со стола контейнеризации сталкиваются пневмоцилиндром на рычажное устройство, смонтированное на оси и закрепленное при помощи пружины. Рычажное устройство опускает изделия в контейнер, скользящий по направляющим роликам, после чего пневмоцилиндром контейнер подвигается вперед на толщину одного изделия.

Технические характеристики некоторых серийно выпускаемых прессов приведены в таблице.

Технические характеристики серийных прессов

Техническая характеристика

Тип пресса

грузовой (ЦНИИЭПсельстрой)

8М (Минсельстрой)

карусельный (Госстрой БССР)

Габариты, мм: длина

4160

2400

375

ширина

1190

980

375

толщина

180

70160

70

Механизм подъема пригруза

Пневматический

Гидравлический

Гидравлический

Количество, шт.:

 

 

 

пневмоцилиндров

4

-

-

гидроцилиндров

-

2

1

Ход поршня механизмов прессования, мм

-

-

140

Давление, МПа:

 

 

 

в пневмосистеме

0,6

-

-

в гидросистеме

-

32

16

Усилие, развиваемое прессом, кН

390

3000

3200

Максимальное давление прессования, МПа

0,02

0,121,5

712

Цикл формования, мин

-

5

-

Привод поворотного стола

-

-

Гидравлический

диаметр поршня гидроцилиндра, мм

-

-

60

ход поршня, мм

-

-

580

Привод выталкивания и подъема дна формы:

-

-

Гидравлический

диаметр поршня, мм

-

-

60

ход поршня, мм

-

-

210

Производительность, шт/ч

-

12

120

Габариты, мм:

 

 

 

длина

4880

3600

2700

ширина

4240

1520

2500

высота

1885

2840

1320

Масса, кг

6800

 

До уровня стола

ПРИЛОЖЕНИЕ 11

ОПРЕДЕЛЕНИЕ ФОРМОВОЧНЫХ СВОЙСТВ БЕТОННЫХ СМЕСЕЙ

Формовочные свойства бетонных смесей определяются по их удобоукладываемости согласно ГОСТ 10181.1-81.

В зависимости от удобоукладываемости бетонные смеси подразделяются в соответствии с таблицей.

Для количественной оценки состава и формуемости бетонной смеси можно применять инварианты подобия и коэффициенты раздвижки заполнителя цементным тестом и раствором.

Марка по удобоукладываемости

Норма удобоукладываемости по

жесткости, с

подвижности, см

Ж4

31 и более

-

Ж3

21 - 30

-

Ж2

11 - 20

-

Ж1

5 - 10

-

П1

1 - 4

4 и менее

П2

-

5 - 9

П3

-

10 - 15

П4

-

16 и более

Ивариант подобия цементного теста

                                      (1)

Инварианты подобия растворной смеси

X2 = Z1X / Z1.                                                                   (2)

Инварианты подобия бетонной смеси (3)

X3 = Z2X / Z2.                                                                   (3)

Коэффициент раздвижки зерен щебня раствором (4)

Z2X = Vр / Vбnщ                                                                  (4)

Коэффициент раздвижки зерен песка цементным тестом (5)

Z1X = Vт / Vрnп                                                                   (5)

В формулах (2) и (3) Z1 и Z2 - коэффициенты раздвижки при подвижности смесей 8 см, представляющие единицы измерения в инвариантах; они рассчитываются с учетом физико-механических свойств заполнителей.

В формулах (1) - (5) приняты следующие обозначения: Vв, Vт, Vр, Vб, представляющие собой объемы воды, цементного теста, растворной и бетонной смесей, л, содержащиеся в 1 м3 растворной или бетонной смеси и определяемые из следующих выражений:

Vт = В + Ц/rц = В + Vц;                                                        (6)

Vр = Vт + П/rп = Vт + Vп;                                                      (7)

Vб = Vр + Щ/rщ = Vр + Vщ = 1000,                                               (8)

где В, Ц, П, Щ - расход воды, цемента, песка, щебня (гравия), кг на 1 м3 смеси; rц, rп, rщ - плотность цемента, песка, щебня (гравия), кг/м3; Кнг - водоцементное отношение теста нормальной густоты, определяемое экспериментально по ГОСТ 310.3-76*; пп, пщ - стандартная пустотность песка и щебня (гравия) в долях от единицы.

Инварианты подобия и коэффициенты раздвижки бетонной смеси связаны между собой следующими соотношениями:

Z2X = Z2X3 = (A3 / X2)X3,                                                        (9)

где А3 - коэффициент, учитывающий зерновой состав щебня:

А3 = 1,32 + 0,14 · 10-2С3 + 0,05 · 10-2С4 - 0,6 · 10-4 · С3С4;                    (10)

С3 и С4 - содержание в щебне фракций 5 - 10 и 20 - 40 мм, %;

X2 = 0,67 + 0,042Oкр, 1/см;                                                  (11)

Окр - погружение конуса СтройЦНИЛа, см. Границы оптимальных значений X2 для подвижных и жестких бетонных смесей находятся в пределах 0,95 - 1,1 и 0,85 - 1.

По формуле (9) возможно для каждой группы формуемости рассчитать коэффициент раздвижки Z2X и найти расход щебня (гравия) и потребный объем растворной части:

Z2X = (А3 / X2)X3K1K2,                                                        (12)

где К1 - коэффициент вида крупного заполнителя, равный для щебня из гранита - 1, для известняка - 1,15; К2 - коэффициент формы зерен заполнителя; для щебня - 1, гравия - 0,95.

На рисунке даны кривые Z2X(X2), полученные по формулам (10) и (12) для трех- (а), двух- (б) и однофракционного (в) гранитного щебня; область ниже кривых 1 соответствует особо жестким смесям, область между кривыми 1 - 2 - смесям повышенной жесткости; кривыми 2 - 3, 6 - 7 и выше кривой 7 - остальным группам формуемости.

Раздвижка песка цементным тестом:

Z1X = Z1X2K3KД,                                                               (13)

где К3 - коэффициент, учитывающий нормальную густоту цементного теста. При X1 > 1,3 К1 = 1; при X1 < 1,3 и Кнг £ 0,27 К1 = 1, а при Кнг > 0,27 К1 = 1,05;

Кд - коэффициент, учитывающий влияние пластифицирующих добавок; Z1 - коэффициент раздвижки зерен песка цементным тестом для смеси подвижностью 8 см находят по формулам:

а) при X1 £ 1,14

Z1 = A1 / = (2,47 + 0,0057C1 - 0,0057С2) 1 / ;                          (14)

б) при X1 £ 1,3

Z1 = A2 / = (1,65 + 0,0065C1 - 0,0056С2) 1 / X1;                             (15)

Группы бетонной смеси по формуемости на трех- (а), двух- (б) и однофракционном (в) щебне. Площади ниже кривой 1, между 1 - 2, 2 - 3 и 3 - 4 соответствуют смесям особо жестким, повышенно жестким, жестким и умеренно-жестким; площади между кривыми 4 - 5, 5 - 6, 6 - 7 и выше 7 - смесям малоподвижным, умеренно подвижным, подвижным и литым

в) при 1,15 £ X1 £ 1,29

Z1¢ = 0,9 - по формуле (14).                                                  (16)

В формулах (14) - (16) А1, А2 - коэффициенты, учитывающие зерновой состав песка.

Объем цементного теста в смеси находят по формуле (5):

Vт = Z1XVpnn.                                                                     (17)

Расход песка составляет

П = (Vр - Vт)rn.                                                            (18)

Расход цемента определяют по формуле:

Ц = Vтrn / (1 +rn В / Ц),                                                      (19)

где В / Ц - водоцементное отношение, определяемое по формуле (1).

Расход воды затворения вычисляют по формуле

В = ЦВ / Ц.                                                                   (20)

Величину В / Ц находим по условиям прочности и долговечности по методике, принятой на данном заводе или изложенной в Руководстве по оптимизации состава бетона с учетом свойств заполнителя (М.: 1979, ВНИИСТ).

Использование пластифицирующих добавок учитывается коэффициентом Кп в формуле (13), для добавок типа СДБ, принимаемый равным 0,95, для суперпластификатора С-3, определяемым по формуле

Кд = X2¢/X2 = 0,885 - 0,15СД,                                               (21)

где X2 и X2¢ - значения инварианта растворной смеси исходного состава и с добавкой С-3; СД - количество добавки, % массы цемента; в формуле (21) С ³ 0,2.

Из формулы (12) выводим

Z2XX2KД = A3X3KД = const.                                                 (22)

При необходимости соблюдения равноформуемости или A3X3KД = const и, учитывая, что для данного заполнителя А3 постоянно, можно путем уменьшения произведения Z2XX2 на величину Кд получить новый оптимальный состав.

ПРИЛОЖЕНИЕ 12

РАСЧЕТ ПАРАМЕТРОВ НАПОРНОГО ФОРМОВАНИЯ

Необходимое давление при напорном формовании находят из суммарных сопротивлений на транспортирование до формы Р1 и заполнение самой формы Р2:

Р = (Р1 + Р2) £ РС,                                                          (1)

где Рс - максимальное давление, развиваемое бетононасосом или пневмонагнетателем.

Суммарное сопротивление на транспортирование до формы

Р1 = Рб + DРXL,                                                            (2)

где Pб - потери в бетононасосе или пневмонагнетателе, 0,05 МПа; DРX - сопротивление на 1 м горизонтального бетоновода, МПа; L - суммарная приведенная длина горизонтального бетоновода, м;

L = Sl1 + Sll + Slм + lвв,                                                        (3)

где l1, ll, lм, lвв - длина горизонтальных и эквивалентных горизонтальным вертикальных участков, местных сопротивлений и ввода в форму.

Каждый метр подъема по вертикали равнозначен 3 м, а поворот на 90° - 10 м горизонтального бетоновода. Ввод при переходе с круглого на прямоугольное сечение должен выполняться с соблюдением условия

Fвв ³ 1,2Fтp,                                                                       (4)

где Fвв и Fтp - площади сечения ввода и бетоновода, м2; сопротивление ввода может приниматься равнозначным 10 м горизонтального участка.

Сопротивление 1 м горизонтального трубопровода:

а) при скорости UX £ 0,2 м/с:

DPX = DP0(0,24 + 1,15UX / U0);                                               (5)

б) при скорости UX > 0,2 м/с:

DPX = DP0(0,524 + 0,43UX / U0),                                             (6)

где DP0 - сопротивление при скорости движения U0 = 0,5 м/с;

а) при X2 £ 1:

DP0 = (0,0573 - 0,061X2 + 0,012Z2X) КdКрКм, МПа;                                  (7)

б) при X2 ³ 1,1

DP0 = (0,019 - 0,035X2 + 0,024Z2X) КdКрКм, МПа,;                                   (8)

при X2 = 1,01…1,09 берется значение сопротивлений для X2 = 1,1; Кd - коэффициент влияния диаметра трубопровода; для d = 80, 100, 150, 200 мм равен 1; 0,73; 0,5 и 0,36; Кp - коэффициент режима движения; равен 1 для пневмонагнетателей и насосов непрерывного действия; 1,5 - для насосов механического действия с кривошипно-шатунной передачей; 1,2 - 1,4 - для насосов гидравлического действия; Км - коэффициент материала трубопровода; равен для стального бетоновода 1 резинового - 0,6; X2 - инвариант растворной смеси (см. прил. 11); Z2X - коэффициент раздвижки щебня (гравия) раствором (см. прил. 11).

Средняя скорость движения смеси по трубе:

а) для пневмонагнетателя

UX = Vф / Vтрt;                                                              (9)

б) для бетононасоса

UX = Пэ / Vтр · 3600,                                                        (10)

где Vф, Vтр - объемы соответственно формы и 1 м трубопровода, м3; Пэ - эксплуатационная производительность бетононасоса, м3/ч; t - время заполнения формы, выбирается такой, чтобы UX £ 2 м/с.

Суммарное сопротивление в форме

P2 = DPx¢L',                                                               (11)

где DPx¢ - сопротивление на 1 м условного трубопровода с диаметром, равным наименьшему размеру сечения формы, МПа; L' - суммарная приведенная длина горизонтального трубопровода:

L¢ = Sl2¢ + Slв¢ + Slм¢,                                                      (12)

где l2¢ = (Fф + Fарм) / Fтр¢                                                    (13)

где Fф - площадь внутренней поверхности формы; Fарм - площадь поверхности арматурного каркаса и закладных элементов; Fтр¢ - внутренняя площадь 1 м условного трубопровода.

Местные сопротивления будут слагаться из поворотов в движении смеси от ввода.

Например, число поворотов при бетонировании плоского вертикального элемента при вводе в узкую торцевую сторону равно одному, при вводе в широкую плоскость - двум; при бетонировании объемного блока типа «колпак» с вводом в одном месте днища число поворотов составляет семь.

Скорость движения смеси в форме:

а) при заполнении пневмонагнетателем

UX¢ = Vф / Fфt;                                                                   (14)

б) при заполнении бетононасосом

UX¢ = Пэ / Fф¢ · 3600,                                                             (15)

где Fф¢ - площадь сечения по горизонтали заполняемой формы.

Например, требуется рассчитать параметры напорного формования вертикальной стальной формы с внутренними размерами: ширина 150 мм, высота 3000 мм, длина 6000 мм.

Условия формования: ввод выполняется внизу торцевой поверхности с размером 150´250 мм; внутри формы размещается пространственный каркас из арматуры диаметром 10 мм с ячейками 200 мм и расстоянием между плоскими элементами каркаса 100 мм.

Объем бетона в форме 2,7 м3, время формования 60 с, используется пневмобетоноукладчик объемом 3 м3 с рабочим давлением 0,5 МПа; длина горизонтального участка бетоновода диаметром 200 мм l2 = 10 м, сопротивление ввода равнозначно 10 м, местные сопротивления и подъем - только в форме.

Бетонная смесь подвижностью 10 см на гранитном щебне крупностью 5 - 20 мм; X2 = 1,1; Z2X = l,29 (см. прил. 11).

Находим потери давления до формы Р1.

Сопротивление при скорости 0,5 м/с по формуле (8):

DP0 = (0,019 - 0,035 · 1,1 + 0,024 · 1,23) 0,36 · 1,1 = 0,00414 МПа.

Скорость движения по трубе диаметром 200 мм по формуле (9):

UX = 2,7 / (П · 0,2 · 0,2 · 60 / 4) = 1,43 м/с.

Сопротивление при фактической скорости по формуле (6):

DРХ = 0,00414 (0,57 + 0,43 · 1,43 / 0,5) = 0,00745 МПа;

Р1 = 0,05 + 0,00745 · 20 = 0,2 МПа.

Находим потери давления в форме Р2.

Условный диаметр бетоновода 150 мм. Сопротивление при скорости 0,5 м/с:

DР0 = (0,019 - 0,035 · 1,1 + 0,024 · 1,29) 0,5 · 1,1 = 0,00575 МПа.

Скорость движения смеси в форме:

Ux¢ =2,7 / 6 · 0,15 · 60 = 0,05 м/с.

Сопротивление при фактической скорости (формула 5):

DPx¢ = 0,00575 (0,24 + 1,15 · 0,05 / 0,5) = 0,00204 МПа.

Условная дальность подачи:

l2¢ = (Fф + Fарм) / Fтр = (37,8 + 15,7) / p · 0,15 · 1 = 113 м.

lв¢ = 9 м; lм¢ = 10 м; L¢ = 132 м;

Р2 = 0,00204 · 132 = 0,27 МПа.

Полная потеря давления:

Р = 0,2 + 0,27 = 0,47 МПа < 0,5 МПа.

Формование пневмобетоноукладчиком возможно.

ПРИЛОЖЕНИЕ 13

ОПРЕДЕЛЕНИЕ НАГРУЗОК, ДЕЙСТВУЮЩИХ НА ФОРМУ И УСТАНОВКУ В ПРОЦЕССЕ РОЛИКОВОГО ФОРМОВАНИЯ

Величина максимального давления, МПа, действующего под центром ролика на днище формы определяется по формуле

Pмах = Кт · 43 · R (1 - cosa),                                                 (1)

где Кт - технологический коэффициент, равный: 1 - для изделий, формуемых без перегородок и арматуры; 1,5 - то же, из смесей с добавкой щебня или армированных; 1,7 - то же, в формах с перегородками; 2 - то же, в формах с перегородками и добавкой щебня, густоармированных или с фиброй.

Величина давления, действующего на борт формы, МПа, определяется по формуле

Pб = KбPmax = KтKб43R (1 - cosa)                                            (2)

где Кб - коэффициент бокового давления, равный 0,7.

Величина усилия, необходимого для перемещения форм, Н, определяется по формулам:

а) для случая скольжения формы по направляющим

                  (3)

где Kck - коэффициент скольжения металла по металлу со смазкой, равный 0,2;

б) для случая качения формы по направляющим

           (4)

где d - диаметр цапфы колеса формы, м; D1 - диаметр колеса формы, м; m - приведенный коэффициент трения качения в цапфах, равный 0,03; m1, - коэффициент трения качения колеса по направляющим, равный 0,0008, м; b - коэффициент, учитывающий дополнительное сопротивление трения ребер колеса формы или рольганга о направляющие, равный, в зависимости от точности изготовления и конструкции 2,5 - 7,5.

Мощность электродвигателя главного привода установки, кВт, определяется по формуле

       (5)

где Кск¢ - коэффициент трения скольжения металла по уплотненной бетонной смеси, равный 0,3 (получен экспериментально); Кп - коэффициент сопротивления перекатыванию, равный 0,25; NX-X - мощность холостого хода, кВт.

Для приближенных расчетов можно пользоваться упрощенной формулой, дающей несколько заниженный результат:

N¢ » Kт · Kск¢ · 1,1R (1 - cosa)Rкр · n ·103BбBи + NX-X.                                (6)

ПРИЛОЖЕНИЕ 14

ТЕХНИЧЕСКИЕ ХАРАКТЕРИСТИКИ ЦЕНТРИФУГ

Основные технические характеристики выпускаемых промышленностью роликовых центрифуг приведены в табл. 1, а ременных центрифуг - в табл. 2.

Таблица 1

Техническая характеристика роликовых центрифуг

Техническая характеристика

Марка СМЖ-104Б

Марка СМЖ-106Б

Диаметр формуемых железобетонных труб, мм

1000 - 1500

400 - 900

Длина труб, мм

5155

5145

Наибольшая масса труб, т

7,7

3,9

Мощность, кВт

55

42

Габариты, мм:

 

 

длина

6060

6060

ширина

4640

4640

высота

3450

2850

Масса, т

14,8

14

Таблица 2

Техническая характеристика ременных центрифуг

Техническая характеристика

Марка ТР-42

Марка 5П273-М

Количество несущих ремней, шт.

48

 

Максимальная скорость ремней, м/с

30

30

Расчетный диаметр шкива, мм

710

 

Габариты, мм:

 

 

длина

10000

6500

ширина

4180

4756

высота

3470

4100

Общая масса, кг

19000

15820

ПРИЛОЖЕНИЕ 15

ОБОРУДОВАНИЕ И МАТЕРИАЛЫ ДЛЯ ОТДЕЛКИ СВЕЖЕОТФОРМОВАННЫХ ИЗДЕЛИЙ

Техническая характеристика отделочной машины

Скорость передвижения портала, м/мин...................................................................... 3,95

Скорость подъема рабочих органов, м/мин:

бруса.......................................................................................................................... 3,65

диска.......................................................................................................................... 3,65

Установленная мощность, кВт...................................................................................... 21,7

Габариты, мм:

длина........................................................................................................................ 3340

ширина..................................................................................................................... 5820

высота...................................................................................................................... 3040

Масса, кг......................................................................................................................... 8170

Техническая характеристика моечной машины СМЖ-3104

Габариты обрабатываемого изделия, мм:

длина........................................................................................................................ 7200

ширина..................................................................................................................... 3100

толщина................................................................................................................... 4500

Расход воды, л/м2................................................................................................................. 2

Расход воздуха, м3/мин............................................................................................... 0,0017

Производительность, шт/ч.................................................................................................. 6

Габариты, мм:

длина...................................................................................................................... 11220

ширина................................................................................................................... 10950

высота...................................................................................................................... 6400

Масса, кг....................................................................................................................... 11800

Изготовитель - лисичанский завод «Строммашина».

Техническая характеристика устройства для обнажения декоративного заполнителя водой СМЖ-239

Объем бака, л.................................................................................................................... 300

Давление в баке, МПа...................................................................................................... 0,7

расход воды, л/м2......................................................................................................... 1,5 - 2

Производительность, м2............................................................................................... 100

размеры, мм:

высота......................................................................................................................... 1550

ширина.......................................................................................................................... 840

Масса, кг........................................................................................................................... 225

Изготовитель - лисичанский завод Строммашина.

Техническая характеристика машины для укладки декоративного заполнителя

Скорость передвижения портала, м/мин................................................................... 4…15

Вибрация:

частота колебаний, с...................................................................................................... 2800

амплитуда, мм................................................................................................................... 0,6

Давление на смесь, кПа....................................................................................................... 6

Время укладки материала, с......................................................................................... 5 - 10

Разработчик - НИИСП (г. Днепропетровск).

Таблица 1

Составы замедлителей твердения цемента для ковров

Замедлитель твердения цемента

Расход, г/м2

замедлителя

животного клея

Декстрин сухой

30 - 50

100 - 150

Сульфитно-спиртовая барда (в пересчете на сухое вещество)

80 - 150

80 - 150

Гидрол, меласса, сахар-отход (в пересчете на сахарозу)

30 - 100

80 - 150

Таблица 2

Составы смазок-вскрывателей

Замедлитель твердения цемента

Состав смазки в частях по массе

Глубина обнажения, мм

Расход смазки на 1 м2 поверхности, г

замедлитель

ЭКС-А или техническая жирная кислота

Меласса или гидрол

1

0,6

10 - 12

120 - 140

То же

1

0,75

6 - 7

120 - 140

КСДБ*

2,2

0,6

10 - 12

100 - 140

То же

2,2

0,75

6 - 7

100 - 140

Декстрин 50 %-й концентрации

1

0,5

5 - 6

160 - 180

* Концентрат сульфитно-спиртовой бражки, плотность 1,21 г/см3.

ПРИЛОЖЕНИЕ 16

ОПТИМИЗАЦИЯ СОСТАВА ЦЕМЕНТОБЕТОНОВ

Основная задача при определении состава бетона - найти оптимальное соотношение его компонентов, которое обеспечит заданные свойства бетона и бетонной смеси при минимальном расходе цемента.

Работу по оптимизации рекомендуется выполнять в такой последовательности:

1. Определение наибольшей крупности (НК) заполнителя

Для экономии вяжущего желательно иметь возможно большую предельную крупность заполнителя, но эта величина ограничена сечением и густотой армирования изделия. НК заполнителя в зависимости от минимального размера поперечного сечения элемента назначается в соответствии с табл. 1.

Таблица 1

Предельная крупность заполнителей для различных конструкций и контрольных образцов

Максимальный размер зерен заполнителя, мм

Минимальный размер поперечного сечения элементов, мм

Размеры, мм

ребра куба

балочек

10

40´100

100

100´100´400

20

65´125

100

100´100´400

40

150´125

150

150´150´660

70

300´750

200

200´200´800

100 и более

Более 800

300

-

Максимальный размер зерен заполнителя не должен превышать 1/4 минимального сечения бетонируемой конструкции и 3/4 наименьшего расстояния между стержнями арматуры.

Плиты толщиной до 100 мм рекомендуется бетонировать с применением заполнителей с наибольшей крупностью, равной 1/2 толщины плиты.

Для бетонов класса В 45 с целью улучшения их однородности в качестве крупного заполнителя следует применять только щебень из прочных горных пород с наибольшей крупностью до 20 мм.

При выборе предельной крупности заполнителя следует учитывать возможности имеющегося оборудования для смешивания, транспортирования и укладывания бетонной смеси.

Если заполнитель задан, то сверяют, не превышает ли его НК величину, найденную по табл. 1.

2. Назначение удобоукладываемости смеси

Повышение жесткости бетонной смеси всегда дает экономию цемента, но требует для уплотнения более мощного формовочного оборудования или увеличения продолжительности уплотнения. Поэтому удобоукладываемость смеси выбирают по табл. 2 и окончательно устанавливают пробным бетонированием, добиваясь применения максимально жестких для данных условий смесей.

Таблица 2

Рекомендуемая удобоукладываемость смеси

Марка смеси

Вид изделия и методы изготовления

Удобоукладываемость

 

монолитные

сборные

осадка стандартного конуса, см

жесткость, с

 

Ж4

-

Вибропрокат, роликовое прессование, элементы, формуемые с немедленной распалубкой.

0

31 и более

 

Ж2, Ж3

Подготовка под фундаменты и основания дорог и полов

Кольца канализационные, блоки щелевые, пустотелые элементы перекрытий, бордюрные камни, фундаментные башмаки, формуемые роликовым формованием, на вибрационных площадках и т.п.

0

21 - 30

 

Ж1, Ж2

Массивные неармированные и слабоармированные конструкции (фундаменты, полы, подпорные стенки), покрытие дорог и аэродромов

Колонны, сваи, балки, плиты, лестничные марши, фермы, трубы, формуемые на виброплощадке, двухслойные наружные стеновые панели

0

5 - 10

 

П1, П2

Плиты, балки, колонны большого и среднего сечений, бетонируемые на месте, конструкции, выполняемые подводным бетонированием

Тонкостенные конструкции сильно насыщенные арматурой, формуемые на виброплощадках или в кассетных установках

1 - 9

4 и менее

 

П3, П4

Тонкостенные конструкции сильно насыщенные арматурой (тонкие стенки, бункера, силосы, тонкие колонны, арочные и балочные мосты, опорные части)

-

10 и более

-

 

3. Определение водопотребности смеси

По графику (рис. 1) находят водопотребность бетонной смеси Вс и корректируют ее по формуле

В = Кдс + Вз),                                                               (1)

Кд - коэффициент, учитывающий вид добавки (при использовании пластификаторов Кд = 0,9, в случае суперпластификаторов Кд = 0,8); Вз - поправка на вид и крупность заполнителя (если вместо щебня используется гравий с НК = 40 мм, то Вз = -10 л, в случае когда НК = 20 мм, то Вз = 12 л, при НК = 10 мм В3 = 24 л, а при НК = 80 мм, Вз = -12 л).

Рис. 1. График для определения водопотребности смеси (жесткость определяется по техническому вискозиметру)

Рис. 2. График для определения водоцементного отношения

4. Определение водоцементного отношения

Водоцементное отношение находится по графику (рис. 2) или по формуле

В/Ц =(Rц/Rб)·(0,6 - 0,0014В) + 0,09.                                             (2)

В случае если в составе бетонной смеси присутствуют гравий или мелкий песок, значение водоцементного отношения, полученное по графику (рис. 2) или из формулы (2), следует умножать на 0,9, для пропариваемого бетона - на 0,7.

Назначая водоцементное отношение, следует учитывать предельное значение В/Ц, определяемое по табл. 3 в зависимости от условий последующей эксплуатации бетона;

С целью экономии цемента его активность следует назначать в зависимости от требуемой марки бетона, принимая соотношение Rц/Rб = 1,5…2.

Таблица 3

Максимальное значение В/Ц для бетонов различных условий службы

Условия эксплуатации

Железобетонные конструкции

Бетонные и малоармированные массивные конструкции

морская вода

пресная вода

морская вода

пресная вода

1. В подводных частях:

 

 

 

 

напорные сооружения

0,55

0,6

0,6

0,65

безнапорные сооружения

0,6

0,65

0,65

0,65

2. В зоне переменного горизонта воды:

 

 

 

 

в суровом климате

0,5

0,55

0,55

0,6

в умеренном

0,53

0,57

0,57

0,62

в мягком

0,55

0,6

0,6

0,65

3. В надводных частях, иногда омываемых водой

0,65

0,65

0,7

0,7

5. Определение расхода цемента

Расход цемента определяется по формуле

Ц = В/ (В/Ц).                                                                       (3)

Если приходится применять цемент более высокой активности, то целесообразно вводить его в бетон в меньшем количестве, дополнив инертными или активными минеральными добавками (каменная мука, лёсс, трепел, зола, шлак и т.п.) в количестве

Д = [(Rц - 1,5Rб)/Rц] 100 %.                                                    (4)

Рис. 3. График для определения максимальной плотности смеси сухих заполнителей

6. Определение расхода заполнителей

Абсолютный объем заполнителей в 1 м3 бетона

= 1000 - (В + Ц/rц + b),                                                       (5)

где rц - плотность цемента, кг/л; b - остаточный объем воздуха в уплотненной смеси (b - 20 л, если в смесь не вводятся воздухововлекающие добавки; если вводятся - b = 50 л).

По графику на рис. 3 или экспериментально определяют максимальную плотность смеси сухих заполнителей dm и соотношение между мелким М и крупным К заполнителями rm, при котором достигается dm (rm обычно находят в интервале 0,5…0,7, a dm = 6,77…0,85).

Подсчитываются оптимальные r0 и r3:

r0 = (2 - 1000dm / )rm;                                                          (6)

ρЗ = (ρк + r0 ρm)/(1 + r0);                                                           (7)

а затем расход крупного и мелкого заполнителей

К = ρЗ / (1 + r0);                                                              (8)

М = Кr0.                                                                          (9)

При определении r0 по формуле (6) принимаем выражение 1000dm / ³ 1. Если оно окажется меньше, то цементного теста будет недостаточно для заполнения пустот в смеси заполнителей. Из полученного выражения находим , по формулам (3) и (5) определяем расход воды и цемента, которые обеспечат заполнение пустот в смеси заполнителей цементным тестом. По формуле (5) рассчитываем  и, принимая r0 = rm, находим К и М по формулам (8) и (9). При этом, обеспечивая плотный бетон, расход цементного теста уменьшать нельзя, если даже прочность превысит заданную. Для ее снижения и экономии вяжущего лучше вводить добавку, количество которой можно подсчитать по формуле (4) или применить вяжущее более низкой активности.

7. Корректировка состава бетона

Выбранное соотношение компонентов подлежит обязательной проверке. Для этого приготовляется пробный замес и определяется его удобоукладываемость. Если окажется, что она не соответствует заданной, состав корректируется. Для этого на рис. 1 наносят точку с координатами: «расход воды» - «удобоукладываемость»; через нее проводят прямую, параллельную имеющейся. Эта прямая определит В = f (Ж, ОК) для фактически примененных материалов. Расход воды принимают по этой линии против требуемого значения удобоукладываемости. Затем по формулам (3), (8), (9) подсчитывают Ц, К и М. Вновь контролируют удобоукладываемость смеси. Если она соответствует заданной, то формуют контрольные образцы и определяют фактическое воздухосодержание уплотненной смеси по формуле

bср = (1 - r/r) 1000 = (1 - Кц) 1000,                                             (10)

где r - средняя плотность бетонной смеси, определяемая непосредственным измерением;

r = (В + Ц + М + К) / (В + Ц/rц + М/rм + К/rк).                                   (11)

Корректировка состава из-за несоответствия воздухосодержания проводится после испытания образцов на прочность и лишь в тех случаях, когда ее фактическая величина превысит принятую в расчетах по формуле (5) более чем на 10 л, тогда в формулу (5) подставляют ее фактическую величину из формулы (9) и по формулам (6), (8) находят расход остальных компонентов.

После выдерживания образцы бетона испытывают на прочность. Величины разрушающих нагрузок Р и площадей рабочих сечений образцов записывают в журнал испытаний. Рабочую площадь сечения образцов F определяют по результатам измерения как среднее арифметическое значение площадей двух противоположных граней, перпендикулярных слоям укладки бетона.

Прочность бетона на сжатие Rб, МПа (ГОСТ 10180-78), вычисляют для каждого образца по формуле

Rб = aР / F,                                                                  (12)

где а - масштабный коэффициент прочности бетона (при ребре куба 7 см а = 0,85; при 10 см - a = 0,91; при 15 см - а = 1; при 20 см - а = 1,05; при 30 см - а = 1,1.

Если окажется, что прочность не соответствует требуемой (разрешается отклонение до 15 %), то уточнение производят по полученному результату, который точкой наносят на график 2 против принятого для замеса В/Ц. Через нее проводят прямую, параллельную имеющимся. Она выразит Rб = f(В/Ц) для фактически примененных материалов. Против значения прочности на ней l,075R находят искомое значение В/Ц. Его можно также подсчитать по формуле

В/Ц = Rб(В/Ц - 0,09) / 1,075R - 0,09.                                         (13)

После того как найдено требуемое значение В/Ц по формулам (3) - (9), подсчитывают состав бетона, приготовляют контрольный замес, по которому заново проверяют все параметры бетона.

 




ГОСТЫ, СТРОИТЕЛЬНЫЕ и ТЕХНИЧЕСКИЕ НОРМАТИВЫ.
Некоммерческая онлайн система, содержащая все Российские Госты, национальные Стандарты и нормативы.
В Системе содержится более 150000 файлов нормативно-технической документации, действующей на территории РФ.
Система предназначена для широкого круга инженерно-технических специалистов.

Рейтинг@Mail.ru Яндекс цитирования

Copyright © www.gostrf.com, 2008 - 2026