Крупнейшая бесплатная информационно-справочная система онлайн доступа к полному собранию технических нормативно-правовых актов РФ. Огромная база технических нормативов (более 150 тысяч документов) и полное собрание национальных стандартов, аутентичное официальной базе Госстандарта. GOSTRF.com - это более 1 Терабайта бесплатной технической информации для всех пользователей интернета. Все электронные копии представленных здесь документов могут распространяться без каких-либо ограничений. Поощряется распространение информации с этого сайта на любых других ресурсах. Каждый человек имеет право на неограниченный доступ к этим документам! Каждый человек имеет право на знание требований, изложенных в данных нормативно-правовых актах!

  


 

ГОСУДАРСТВЕННАЯ СЛУЖБА ДОРОЖНОГО ХОЗЯЙСТВА
МИНИСТЕРСТВА ТРАНСПОРТА РОССИЙСКОЙ ФЕДЕРАЦИИ
(РОСАВТОДОР)

УТВЕРЖДЕНО

Приказом Российского

дорожного агентства

от «16» 06.2000 г. № 115-р

РУКОВОДСТВО
ПО ПРОИЗВОДСТВУ РАБОТ
ДОРОЖНЫМ МАСТЕРОМ
(при содержании и ремонте
автомобильных дорог)

МОСКВА 2001

Настоящее «Руководство по производству работ дорожным мастером» определяет общие технологические принципы, последовательность и периодичность производства работ по содержанию и ремонту автомобильных дорог, выполняемых под руководством дорожного мастера.

Руководство разработано специалистами ГП РОСДОРНИИ: канд. техн. наук В.А. Тихоновым, инженерами О.Б. Вороновой, М.Л. Ермаковым, Ю.Н. Розовым, А.М. Стрижевским, Е.Ю. Сухановой.

СОДЕРЖАНИЕ

1. Общие принципы производства работ. 1

2. Работы по обеспечению производства. 2

2.1. Проведение работ по обеспечению мастерского участка материально-техническими ресурсами (техникой, оборудованием, строительными и горюче-смазочными материалами) 2

2.2. Технологическая связь при производстве работ. 2

2.3. Техника безопасности при производстве работ. 3

3. Производство работ по содержанию и ремонту автомобильных дорог (Руководство по производству работ) 3

3.1. Систематически выполняемые работы.. 3

3.2. Производство работ весеннего переходного периода эксплуатации (зима-весна) 11

3.3. Производство работ летнего периода эксплуатации (весна-лето-осень) 14

3.4. Производство работ осеннего переходного периода эксплуатации (осень-зима) 18

3.5. Производство работ зимнего периода эксплуатации. 20

3.6. Производство работ по ремонту автомобильных дорог и сооружений на них. 22

Приложения. 22

Справочные данные. 22

Список нормативно-технической литературы.. 32

1. Общие принципы производства работ

1.1. Проводимые работы по содержанию и ремонту автомобильных дорог должны проводиться с учетом обеспечения безопасности и непрерывности движения.

1.2. Приоритеты очередности проведения работ выстраиваются следующим образом:

- производство работ по обеспечению безопасности движения и ликвидации последствий аварий и стихийных бедствий, угрожающих безопасности движения и жизни людей;

- производство работ по исправлению дефектов, угрожающих сохранности дорог и сооружений на них;

- производство работ по приведению в нормативное транспортно-эксплуатационное состояние проезжей части и обочин автомобильных дорог;

- производство работ по приведению в нормативное транспортно-эксплуатационное состояние элементов обустройства;

- производство в нормативное состояние элементов водоотвода и земляного полотна;

- производство работ по приведению в нормативное транспортно-эксплуатационное состояние искусственных сооружений;

- производство работ по приведению в нормативное состояние полосы отвода.

1.3. Работы по содержанию и ремонту автомобильных дорог выполняются на основании ВСН 24-88.

2. Работы по обеспечению производства

2.1. Проведение работ по обеспечению мастерского участка материально-техническими ресурсами (техникой, оборудованием, строительными и горюче-смазочными материалами)

2.1.1. Материалы и конструкции для производства работ дорожный мастер получает на основании заявок, подаваемых заблаговременно, до производства работ.

2.1.2. Доставка материалов и инструментов на место производства работ осуществляется автотранспортом, имеющимся в распоряжении мастерского участка, или по заявке дорожного мастера специализированными машинами дорожно-эксплуатационной организации.

2.1.3. На основании объемов, определяемых согласно плану производства работ, дорожный мастер ежемесячно составляет и передает в отдел снабжения заявки на обеспечение мастерского участка строительными и горючесмазочными материалами, оборудованием и дорожно-строительной техникой.

2.1.4. Дорожный мастер определяет объем поставок и информирует главного инженера дорожно-эксплуатационной организации о выполнении графика поставок и потребности в обеспечении строительными материалами мастерского участка.

2.1.5. Дорожный мастер контролирует наличие сертификатов качества каждой партии используемых в работе строительных материалов и конструкций. Некачественные строительные материалы и материалы без соответствующих сертификатов не допускаются к использованию.

2.1.6. Распределение заготовленных материалов по объектам производится по распоряжению дорожного мастера в соответствии с проектом производства работ.

2.1.7. Площадки и базы для временного хранения строительных материалов очищаются от пыли, грязи, а зимой от снега до начала размещения на них строительных материалов и конструкций. Устройство площадок и баз временного хранения строительных материалов осуществляется под руководством дорожного мастера с соблюдением требований охраны окружающей среды.

2.1.8. Утери, хищения, а также передачу дорожного имущества дорожный мастер оформляет актами и представляет их начальнику дорожно-эксплуатационной организации с очередными сведениями о движении материалов.

2.1.9. Передачу дорожного имущества с участка на участок дорожный мастер производит согласно приказу начальника дорожно-эксплуатационной организации по накладной или акту за подписью сдавшего или принимающего.

2.2. Технологическая связь при производстве работ

2.2.1. Дорожный мастер в процессе производства работ должен постоянно поддерживать связь по рации, мобильному телефону или технологической связи со старшими групп (звеньев) дорожных машин и бригадирами дорожных рабочих, а также с диспетчером дорожно-эксплуатационной организации.

2.2.2. Периодичность и продолжительность сеансов связи устанавливается дорожным мастером исходя из важности производственных задач.

2.2.3. Во время сеансов связи дорожный мастер уточняет адреса нахождения звеньев дорожных машин и бригад дорожных рабочих, степень выполнения заданий, корректирует задания, выясняет потребности в материалах и оборудовании для завершения работ.

2.3. Техника безопасности при производстве работ

2.3.1. Перед началом производства работ дорожный мастер обязан убедиться в проведении инструктажа по технике безопасности всех работников, участвующих в данном виде работ, по журналу по технике безопасности. В случае отсутствия инструктажа у одного или нескольких работников дорожный мастер обязан перед началом работ провести инструктаж по технике безопасности на рабочем месте и занести данные об его проведении в журнал.

2.3.3. Работы по содержанию и ремонту дорог и сооружений на них должны осуществляться только после расстановки знаков и других средств организации движения в местах производства дорожных работ. Расстановка средств организации движения и знаков осуществляется в соответствии с утвержденными и согласованными в органах ГИБДД схемами, которые дорожный мастер запрашивает у главного инженера дорожно-эксплуатационной организации.

2.3.4. При производстве работ дорожные рабочие и специалисты должны быть экипированы в жилеты желтого или оранжевого цвета, снабженные световозвращающими элементами.

3. Производство работ по содержанию и ремонту автомобильных дорог (Руководство по производству работ)

3.1. Систематически выполняемые работы

Под руководством и контролем дорожного мастера выполняются следующие систематические работы по содержанию дорог:

3.1.1. Поддержание полосы отвода в чистоте и порядке

- Дорожными рабочими по распоряжению, выдаваемому дорожным мастером на основании результатов ежедневного осмотра дороги, производится уборка мусора и посторонних предметов с придорожной полосы (на расстоянии не менее 30 метров от бровки земляного полотна), посторонние предметы и мусор собираются дорожными рабочими в автомобиль-самосвал и вывозятся в специально отведенные места.

- Предметы, представляющие опасность с точки зрения безопасности движения, должны быть убраны с полосы отвода в течение 3 часов с момента обнаружения, остальные - в течение суток.

3.1.2. Исправление и мелкий ремонт защитных и укрепительных устройств

- Обнаруженные дефекты укрепления откосов земляного полотна, берм, водоотводных дамб и т.п. устраняются по указанию дорожного мастера дорожными рабочими в течение пяти суток с момента обнаружения путем укрепления откосов щебнем или каменными материалами.

- Распределение материала осуществляется вручную, экскаватором или планировщиком откосов.

- Уплотнение производят ручными трамбовками или виброплитами.

- О разрушении укреплений железобетонными плитами, сетками и т.п., дорожный мастер сообщает в письменной форме главному инженеру. Исправление выявленных дефектов укрепления железобетонными плитами, сетками и т.п. осуществляется дорожным мастером в соответствии с проектным решением, утвержденным главным инженером дорожно-эксплуатационной организации.

3.1.3. Поддержание в работоспособном состоянии системы водоотвода

- На основании данных периодических осмотров (проводимых один раз в квартал) дорожный мастер назначает работы по очистке от посторонних предметов и грунтовых отложений приемных колодцев дренажей, дренажных труб, водостоков по откосу, быстротоков, перепадов, кюветов и водоотводных канав.

- Посторонние предметы извлекаются и удаляются в установленные места складирования мусора и отходов.

- Грунтовые отложения удаляются гидросмывом или вручную.

3.1.4. Устранение мелких деформаций и повреждений проезжей части (заделка выбоин, просадок, размывов и пр.)

- Устранение отдельных дефектов покрытия (выбоин, проломов и просадок глубиной более 5 см, длиной дефекта более 15 см и шириной более 40 см) необходимо произвести в течение пяти суток с момента обнаружения повреждения при интенсивности движения по дороге более 3000 авт./сут, в течение семи суток - при интенсивности движения 1000 - 3000 авт./сут и в течение 10 суток - при интенсивности движения до 1000 авт./сут.

- При устранении выбоин и других аналогичных им повреждений на асфальтобетонном покрытии соблюдают общую технологическую последовательность, которая включает подготовку поврежденного места, приготовление, укладку и разравнивание ремонтных материалов (смесей), их уплотнение. В качестве ремонтных материалов используют горячие, теплые и холодные асфальтобетонные смеси, литой асфальтобетон, щебеночные и гравийные материалы, обработанные органическим вяжущим (горячим битумом или эмульсиями), влажные органоминеральные смеси.

- Ремонт асфальтобетонных покрытий с применением горячих асфальтобетонных смесей и щебеночных смесей, обработанных органическим вяжущим, производят при температуре воздуха не ниже +10 °С, литой асфальтобетон - при температуре не ниже -5 °С, влажные органоминеральные смеси - при температуре не ниже -10 °С. Ремонтируемое место подготавливают в следующем порядке: границы выбоин оконтуривают отрезками прямых линий, пересекающимися под прямым углом, захватывая на 3 - 5 см неповрежденную часть покрытия; выбоины, близко отстоящие друг от друга, объединяют в одну общую карту; старый асфальтобетон удаляют по очерченному контуру, выбоину очищают и при необходимости просушивают; ее дно и стенки подгрунтовывают жидким битумом по норме 0,3 - 0,5 л/м2, предварительно разогрев покрытие по периметру участка горелками форсуночного типа до 140 - 170 °С (рис. 1 и 2).

Рис. 1. Подготовка участка покрытия с одиночным дефектом к ремонту

3 - 5 см

Рис. 2. Подготовка участка покрытия с несколькими дефектами к ремонту

- При использовании органоминеральных смесей тщательная очистка выбоин и подгрунтовка не требуются.

- После подготовки выбоину заполняют ремонтным материалом с учетом запаса на уплотнение (1,3 - для горячих асфальтобетонных смесей, 1,6 - для холодных асфальтобетонных смесей, 1,8 - для органоминеральных) (рис. 3); при использовании литого асфальтобетона запас на уплотнение не предусматривается.

Рис. 3. Заполнение выбоины ремонтным материалом с запасом на уплотнение

- При глубине выбоин до 5 см смесь укладывают и уплотняется одним слоем, более 5 см - в два слоя. Смесь в небольших, изолированных одна от другой выбоинах, уплотняют виброплитами, а значительные площади - катками с гладкими вальцами массой 4 - 10 т. Уплотнение проводят от краев к середине, при этом поверхность отремонтированных мест должна быть на уровне покрытия (рис. 4).

Рис. 4. Соотношение уровней покрытия после уплотнения

- При заделке выбоин глубиной более 5 см, когда удаляют не только верхний, но и нижний слой асфальтобетона, порядок работы не меняется. В нижний слой укладывают крупнозернистую смесь и уплотняют, затем укладывают и уплотняют мелкозернистую смесь в верхний слой. Температура смеси в момент укладки 140 - 160 °С. Если глубина выбоин до 8 см, а крупнозернистая смесь отсутствует, укладывают в два слоя мелкозернистую смесь. Песчаную смесь применяют только в верхнем слое.

- Литые асфальтобетонные смеси укладывают в текучем состоянии без дальнейшего уплотнения.

- Раковины, мелкие выбоины, отдельные очаги шелушения цементобетонных покрытий заделывают цементобетонными и полимербетонными смесями, а также смесями на жидком стекле.

- Цементобетонные смеси применяют, если можно закрыть движение на ремонтируемых участках в период набора бетоном необходимой прочности (до 7 суток). В отдельных случаях допускается применять асфальтобетонные смеси.

- Ремонт покрытия с помощью цементобетонных или асфальтобетонных смесей надо выполнять при температуре воздуха не ниже 5 °С. Полимербетонные смеси применяют при температуре воздуха не ниже 15 °С. Смеси укладывают на чистую сухую поверхность бетона (цементобетонные смеси укладывают на увлажненную поверхность). При ремонте цементобетонными и полимербетонными смесями, а также смесями на жидком промышленном стекле дополнительно очищают участки, где имеются битумные, топливные и другие пятна. Их удаляют механическим способом или выжиганием. Затем покрытие тщательно промывают водой и просушивают.

- Чтобы ускорить твердение бетона, при его приготовлении используют высокоактивные дорожные цементы марки не ниже 500, а также в воду затворения добавляют хлористый или азотнокислый кальций (до 2 % массы цемента).

- Бетонную смесь укладывают с превышением над поверхностью покрытия на 3 - 4 см (рис. 5). В зависимости от толщины слоя смесь уплотняют поверхностными вибраторами или виброрейками (для уплотнения песчаных цементобетонных смесей применяют поверхностные вибраторы с пригрузом 10 - 30 кг/см2), глубинными вибраторами, а также в сочетании глубинной и поверхностной вибрации (вначале глубинные, а потом поверхностные вибраторы).

Рис. 5. Укладка бетонной смеси с учетом уплотнения

- Уход за свежеуложенным бетоном осуществляют так же, как и при новом строительстве цементобетонных покрытий.

- Разрушения в виде сколов кромок и углов плит, раковин и выбоин глубиной 5 - 15 см и шириной до 50 см можно ликвидировать с помощью быстротвердеющих мелкозернистых (песчаных) бетонов на жидком стекле. Стенки и дно выбоины за 15 - 20 мин до укладки бетонной смеси смазывают тонким слоем грунтовочного раствора, приготовленного из жидкого стекла и феррохромового шлака в соотношении 1:2 по объему. Готовую смесь укладывают, равномерно распределяя мастерками и деревянными гладилками на 3 - 4 см выше поверхности покрытия, затем уплотняют ручными или механическими трамбовками с прямоугольным башмаком (два-три удара по каждому следу) и заканчивают уплотнение виброплитой.

- Выполняя работы, следует учитывать сроки схватывания ремонтных составов. При температуре воздуха 15 - 20 °С схватывание смеси происходит через 15 - 20 мин после ее приготовления. Движение открывают через 5 - 7 ч.

- Ровность покрытия в местах ремонта контролируется трехметровой рейкой, устанавливаемой вдоль оси дороги в месте ремонта. Допустимый максимальный просвет под трехметровой рейкой в местах заделки выбоин и других повреждений не должен превышать 7 мм при допустимом уровне содержания, 5 мм - при среднем и 3 мм - при высоком (рис. 6).

Рис. 6. Определение ровности покрытия в месте ремонта трехметровой рейкой

3.1.5. Удаление нежелательной растительности, сухостоя и поврежденных деревьев, находящихся в непосредственной близости к автомобильной дороге и угрожающих безопасности движения. Вырубка кустарников и деревьев в целях обеспечения видимости на кривых в плане

- Дорожный мастер на основании специальных осмотров выявляет потребность в удалении поврежденных деревьев и согласовывает возможность их удаления в соответствующих природоохранных организациях (лесничествах, лесхозах и т.п.);

- обнаруженные в полосе отвода поврежденные деревья удаляются по распоряжению дорожного мастера бригадой дорожных рабочих, состоящей из двух человек, снабженных для производства работ механической или ручной пилой, топором и палочной вилкой;

- срезку деревьев необходимо выполнять в определенной последовательности (рис. 7):

а) определяется направление валки дерева с таким расчетом, чтобы поваленное дерево не создавало помех участникам движения и не ограничивало видимость.

Рис. 7. Последовательность валки деревьев

б) обязательно должен быть сделан подпил или подруб с той стороны дерева, куда намечено его валить.

Подпил или подруб выполняют в виде клина с углом скоса 35 - 40°. При механизированной срезке подпил можно делать в виде двух параллельных срезов с расстоянием между ними не менее 3/4 глубины подпила;

в) выпиленная часть скалывается;

г) с противоположной стороны делается основной пропил на уровне верхней кромки подруба;

д) валку дерева осуществляют валочной вилкой в сторону подруба;

е) поваленное дерево распиливается и вывозится с полосы отвода автотранспортом, оставшийся пень выкорчевывается корчевателем или бульдозером и также вывозится за пределы полосы отвода;

ж) планировка участка полосы отвода, после удаления поврежденных деревьев и другой нежелательной растительности, производится бульдозером или вручную;

- удаление поврежденных деревьев и другой нежелательной растительности должно быть произведено в течение пяти дней с момента обнаружения.

3.1.6. Удаление посторонних предметов и загрязнения с проезжей части, обочин, разделительной полосы, площадок отдыха и автобусных остановок

- Периодичность очистки покрытия и обочин от посторонних предметов и грязи определяется на основании ежедневных осмотров, производимых дорожным мастером; время уборки не должно превышать четырех часов с момента обнаружения для дорог с интенсивностью движения более 3000 авт./сут, пяти часов при интенсивности 1000 - 3000 авт./сут и шести часов при интенсивности движения менее 1000 авт./сут.

- При обнаружении на проезжей части и обочинах, укрепленных асфальтобетоном, посторонних предметов или грязи, последние удаляются гидросмывом (только при положительных температурах воздуха и покрытия) за один или несколько проходов поливомоечной машины.

- При невозможности использования гидросмыва (отрицательные температуры воздуха и покрытия, значительные размеры и вес посторонних предметов), посторонние предметы и загрязнение удаляются за один или несколько проходов машинами, оборудованными щетками и поворотными плугами, при этом перекрытие предыдущего следа прохождения щетки или плуга должно составлять не менее 0,4 м (рис. 8).

Рис. 8. Технологическая схема очистки проезжей части и обочин от мусора

- Посторонние предметы с укрепленных каменными материалами и неукрепленных обочин и разделительных полос удаляются автогрейдером.

- Отдельные посторонние предметы убираются дорожными рабочими вручную с погрузкой в автомобиль-самосвал для транспортировки в места, отведенные для складирования мусора.

- В случае обнаружения посторонних предметов значительного веса и габаритов, последние удаляются автогрейдером, погрузчиком или специальной техникой и оборудованием, при этом с целью обеспечения безопасности движения места расположения обнаруженных посторонних предметов должны быть огорожены и выставлены знаки, информирующие участников движения об опасности и соответствующим образом организующие движение на опасном участке.

- Места расположения предметов и материалов, временно оказавшихся на поверхности проезжей части автомобильных дорог, в случае невозможности их незамедлительного устранения, должны быть ограждены в установленном порядке и обозначены дорожными знаками.

3.1.7. Очистка, замена поврежденных и установка недостающих дорожных знаков (включая знаки индивидуального проектирования)

- Объем работ по очистке, замене и установке дорожных знаков определяется на основании ежедневных осмотров, проводимых дорожным мастером.

- Дорожные знаки должны быть очищены от загрязнения, а поврежденные заменены в сроки, предусмотренные действующими нормативами (ГОСТ Р 50597-93), причем на период восстановления поврежденный дорожный знак должен быть продублирован временным дорожным знаком, идентичным поврежденному или утраченному.

- Знаки с подсветкой осматривают не менее 1 раза в неделю в вечернее или ночное время для определения потребности в замене перегоревших ламп.

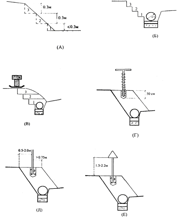
- Дорожные знаки размещаются на стойках на высоте 1,5 - 2,2 м в ненаселенных пунктах, и на высоте 2,0 - 4,0 - в населенных пунктах (см. ГОСТ 23457-86) за пределами земляного полотна на присыпных бермах, расстояние размещения основания стоек от бровки земляного полотна должно составлять 0,5 - 2,0 м. Присыпные бермы должны иметь размеры, обеспечивающие расстояние от верхних кромок бермы до основания стойки знака не менее 0,75 м.

- Допускается установка некоторых видов дорожных знаков над проезжей частью (на пролетных строениях искусственных сооружений) на высоте 5 - 6 м.

- Указатели направлений рекомендуется устанавливать над дорогой на Г- и П-образных опорах. Основания опор должны располагаться на бермах на расстоянии не менее 0,5 м от бровки земляного полотна.

- Установка знаков на подсыпных обочинах производится в следующей последовательности.

Рис. 9. Технология устройства подсыпных обочин и установка знаков на них

а) подготовка ступенчатого основания (с высотой ступени 0,3 м) на откосе насыпи или выемки для размещения присыпной бермы (рис. 9А);

б) отсыпка бермы слоями по 0,3 м и послойное уплотнение грунта виброплитами или ручными трамбовками (коэффициент уплотнения не менее 0,95) (рис. 9Б);

в) подготовка углубления (буровой установкой или вручную) для размещения фундамента опоры или стойки знака (рис. 9В);

г) установка опоры или стойки знака с устройством фундамента из монолитного цементобетона или с послойным уплотнением ручными трамбовками грунта, отсыпаемого в углубление, для размещения стойки знака (рис. 9Г);

д) крепление знака на опоре или стойке при помощи предусмотренных конструкцией знака элементов закрепления (рис. 9Д).

3.1.8. Замена поврежденных и установка недостающих ограждений и направляющих устройств

- Мелкие дефекты (ослабление креплений, отсутствие предусмотренных конструкцией катафотов и т.п.) устраняются дорожными рабочими по указанию дорожного мастера, поврежденные элементы заменяют на новые или восстанавливают.

- Установку ограждений производят на расстоянии не менее 0,5 м и не более 0,85 м от бровки земляного полотна (рис. 10). Высота установки ограждений должна составлять 0,75 - 0,8 м от низа ограждения до отметки кромки покрытия. Стойки ограждений устанавливаются методом вдавливания или погружения и заранее пробуренные углубления с последующей засыпкой грунтом и послойным его уплотнением ручными трамбовками или виброплитами (коэффициент уплотнения не менее 0,95).

- Элементы металлических ограждений должны устанавливаться с нахлестом в направлении движения транспорта. Для крепления концевых секций используют сборные или монолитные бетонные анкерные элементы. Концевые секции крепятся к монолитным анкерным элементам растяжками не ранее чем через 7 дней после укладки бетона.

Рис. 10. Дислокация ограждений

3.1.9. Уход за элементами архитектурно-художественного оформления дорог, исправление отдельных повреждений

- Уход за элементами архитектурно-художественного оформления дорог заключается в покраске и побелке этих элементов, исправлении отдельных дефектов, вызванных актами вандализма, авариями или стихийными бедствиями, в объемах, выявленных на основании еженедельных осмотров.

3.1.10. Профилактический осмотр, мелкий ремонт и уход за дорожным освещением, аварийно-вызывной и технологической связью

- Не реже одного раза в неделю дорожный мастер обязан проводить осмотр работы освещения, работоспособности и технического состояния аварийно-вызывной и технологической связи.

- Выявленные дефекты (подлежащие замене лампы, механические дефекты, дефекты краски и т.п.) устраняются в течение суток с момента обнаружения.

- О дефектах, устранение которых не может быть устранено дорожными рабочими и требует привлечения специалистов (связистов, электриков и др.), дорожный мастер в письменном виде докладывает главному инженеру дорожно-эксплуатационной организации.

3.1.11. Уход за посадками и саженцами.

Уход за посадками заключается в:

а) дополнительной посадке саженцев на месте погибших деревьев и кустарников (до 50 % от общего количества посадок после первого года эксплуатации и 25 % после второго года эксплуатации);

б) рыхлении грунта и вспашке дисковым плугом (не реже одного раза в год) на глубину 0,2 м и ширину 1,5 - 2,0 м по закрайкам посадок;

в) внесении удобрений и борьбе с вредителями растений (предпочтительно осуществлять в весенний и осенний период) с использованием распределителей химических веществ ранцевого типа;

г) проведении ежегодных рубок ухода (для повышения эффективности снегозадержания) на штамб (высота штамба 1,2 - 1,5 м) или на пень (высота пня 0,3 - 0,5 м) или специальных рубок (например, в зоне высоковольтных линий электропередач).

Уход за посадками осуществляется на основании осмотров состояния посадок, проводимых периодически один раз в квартал.

3.1.12. Содержание в чистоте и порядке пунктов по учету движения, пунктов весового контроля, дорожных метеорологических пунктов и станций, снегомерных и водомерных постов

- Уборка мусора и уход за оборудованием указанных объектов производится обслуживающим персоналом, работающим на этих объектах.

3.1.13. Содержание мостовых сооружений

- Работы по содержанию мостовых сооружений осуществляются дорожными рабочими или силами специализированных бригад в соответствии с требованиями «Методических рекомендаций по содержанию мостовых сооружений на автомобильных дорогах» (Утверждены распоряжением руководителя Росавтодора от 10.08.99 г. № 7-р).

3.2. Производство работ весеннего переходного периода эксплуатации (зима-весна)

В весенний переходный период, после схода снежного покрова, под руководством дорожного мастера выполняются следующие работы по содержанию дорог и искусственных сооружений.

3.2.1. Подготовка системы водоотвода и водопропускных сооружений к пропуску талых и паводковых вод и ледохода

В рамках реализации системы мероприятий по пропуску талых вод производятся работы по очистке от снега и льда водоотводных канав, открытых лотков, приемных колодцев, устоев трубчатых выпусков из дренажей, выходов на откос дренажных прорезей и воронок, а также работы по подготовке мостов к пропуску паводка и ледохода. Работы производятся ранней весной в период, предшествующий сходу снежного покрова (до начала интенсивного снеготаяния).

- Прикромочные лотки, водосбросы по откосу и приемные колодцы очищаются от снега и льда полностью;

- устои трубчатых выпусков из дренажей очищаются на расстоянии не менее 0,5 м по периметру устоя;

- водоотводные канавы освобождаются от снега вдоль оси на ширину не менее 0,5 м до уровня грунта.

Снежные отложения большой плотности и ледяные отложения удаляют предварительно (за сутки до проведения работ), распределив в местах их образования химические противогололедные вещества в количестве 30 - 60 г на 1 м2 снежно-ледяных отложений (при толщине отложений до 5 см).

- Осуществляют скол льда по периметру опор мостов, ледорезов и вдоль укрепления откосов в виде прорубей-борозд шириной 0,3 - 0,5 м на расстоянии не менее 0,2 - 0,3 м от конструкций.

3.2.2. Восстановление профиля переходных покрытий (гравийных, щебеночных)

- Восстановление профиля переходных покрытий заключается в профилировании (рис. 11).

- Первое профилирование выполняют после таяния снега, в результате чего улучшается поверхностный водоотвод, ускоряется просыхание покрытия, ликвидируются колеи глубиной до 2 - 4 см и выравнивается поперечный профиль.

- Второе профилирование делают в конце весеннего (влажного) периода для ликвидации вновь образовавшихся деформаций и окончательного выравнивания покрытия.

- Профилирование выполняют автогрейдером (Рис. 11), последовательными проходами от обочин к оси проезжей части (рекомендуемая длина захватки 1,5 - 3 км). Если толщина слоя гравийного покрытия недостаточна, подсыпают гравий (фракции 10 - 15 мм) или крупнозернистый песок (фракции 2 - 5 мм) при расходе 20 - 30 м3 на километр дороги.

Рис. 11. Технологическая карта профилирования покрытий переходного типа

- По окончании профилирования необходимо произвести уплотнение покрытия легкими катками за 3 - 5 проходов по одному следу. Уплотнение необходимо производить последовательными проходами катков от обочин к оси проезжей части с перекрытием 0,4 м (рис. 12).

Рис. 12. Технологическая карта уплотнения переходных покрытий после профилирования

3.2.3. Ликвидация последствий проявления пучин, включая проведение ремонта покрытий всех типов, при необходимости, с заменой слоев основания дорожной одежды и подстилающих слоев (после оттаивания грунтов земляного полотна)

- Весной в начале оттаивания, после освобождения от снега покрытия, обочин и внутренних откосов канав, на пучинистых участках поперек обочин через 3 - 4 м выкапывают воздушные воронки шириной 25 см, глубиной до дна корыта, в шахматном порядке. Их дну придается уклон 4 - 5 % (рис. 13).

Рис. 13. Проведение весенних противопучинистых мероприятий

- Прокопку осушительных воронок выполнять с помощью машин с рабочим органом роторного типа. После отвода воды воронки засыпают дренирующим грунтом и планируют обочины.

- На участках, подверженных пучинообразованию, для быстрого удаления воды прокапывают вдоль кромки покрытия канаву шириной 25 - 30 см, а через каждые 50 - 80 м и в пониженных местах делают поперечные прорези таких же размеров, как и воздушные воронки.

3.2.4. Заделка выбоин

Работы по заделке выбоин появляющихся на покрытиях всех типов после схода снежного покрова в период ослабления несущей способности грунтов земляного полотна и нижних слоев дорожной одежды, осуществляются по технологии и по нормам, изложенным в п. 3.1.4.

3.2.5. Установка временных дорожных знаков, ограничивающих движение грузового транспорта по автомобильным дорогам, подверженным пучинообразованию, и по дорогам с недостаточной прочностью дорожных одежд

- Временные дорожные знаки устанавливаются бригадой дорожных рабочих под непосредственным руководством дорожного мастера в соответствии с дислокацией, утвержденной начальником дорожно-эксплуатационной организации.

3.2.6. Обеспечение поверхностного водоотвода с обочин автомобильных дорог в весенний период

- Поверхностный водоотвод с обочин автомобильных дорог осуществляется периодической планировкой и профилированием, а также устройством поперечных дренажных канавок для отвода талых вод.

- Основанием для проведения работ является наличие колей на неукрепленных и слабо укрепленных обочинах, а также места застоя талых вод, выявленные при проведении ежедневных осмотров дороги.

- Профилирование осуществляется автогрейдером с приданием обочинам поперечного уклона 4 - 5 % (уклон контролируется рейкой с уровнем).

- Поперечные дренажные канавки устраиваются шириной 5 - 10 см, глубиной не менее глубины образовавшейся колеи в переувлажненных местах. Уклон дна дренажных канавок должен составлять 5 - 6 %. После отвода поверхностных вод дренажные канавки заполняются дренирующим грунтом, который уплотняется ручными трамбовками до коэффициента уплотнения не менее 0,95.

3.2.7. Ликвидация последствий размывов талыми водами обочин, откосов и кюветов

- В местах размыва обочин, откосов и кюветов, выявленных при специальных весенних осмотрах, осуществляется подсыпка грунта в объеме, необходимом для восстановления продольного и поперечного профиля элементов земляного полотна.

- Распределение грунта осуществляется автогрейдером или вручную (в зависимости от объемов разрушения) с последующим уплотнением ручными трамбовками, виброплитами или катками до коэффициента уплотнения 0,95.

3.2.8. Ликвидация просадок и смещений отдельных элементов системы поверхностного водоотвода

- После окончания снеготаяния и схода паводковых вод дорожный мастер осуществляет осмотр технического состояния элементов поверхностного водоотвода.

- Устанавливаются места размывов и определяются объемы работ по ликвидации смещения отдельных элементов прикромочных лотков, водотоков по откосу, водоотводных канав и т.п.

- При производстве работ осуществляется подсыпка грунта, щебня в места размывов с последующим уплотнением уложенного материала ручными трамбовками и виброплитами.

- Смещенные элементы водоотвода демонтируют краном, восстанавливают основание, осуществляя подсыпку щебня и последующее его уплотнение, и устанавливают элементы системы водоотвода в проектное положение.

3.2.9. Очистка лотков, водосбросов по откосу, водоотводных канав и быстротоков, а также водобойных колодцев и гасителей от скопившихся наносов, грунта, грязи и т.п. после схода снежного покрова

- Объем работ по очистке системы водоотвода от наносов устанавливается дорожным мастером по результатам специальных осмотров.

- Очистку элементов водоотвода производят гидроразмывом или вручную с погрузкой грунтовых отложений в автомобили-самосвалы и последующим вывозом в специально отведенные места складирования отходов (или равномерно распределяя в пониженных частях рельефа полосы отвода).

- При очистке системы водоотвода методом гидроразмыва, размыв отложений начинают с минимальных геодезических отметок указанных сооружений (выходных оголовков).

3.2.10. Открытие отверстий малых искусственных сооружений, закрытых щитами на зимний период

- До начала обильного снеготаяния под руководством дорожного мастера дорожные рабочие должны убрать щиты, закрывавшие отверстия малых мостов и труб в зимний период;

- Лед и снег перед отверстиями удаляют на всю ширину русла на расстоянии не менее 30 м от каждого оголовка.

3.2.11. Периодический осмотр искусственных сооружений во время ледохода и паводка с целью обеспечения сохранности труб и мостов, а также с целью принятия мер, предотвращающих размывы земляного полотна

- Во время паводка дорожным мастером осуществляется ежедневный осмотр искусственных сооружений.

- Определяются места скопления веток, бревен, льдин и прочих предметов, способных нарушить нормальную работу мостов и труб.

- Возникающие завалы и заторы ликвидируются в течение суток с момента обнаружения, предметы, создающие препятствия пропуску паводковых вод, удаляются из русл баграми и вывозятся в отведенные места складирования.

- Места размывов локализуются путем подсыпки грунта, щебня или каменных материалов.

3.3. Производство работ летнего периода эксплуатации (весна-лето-осень)

В летний период под руководством и при непосредственном участии дорожного мастера производятся следующие работы.

3.3.1. Выявление мест избытка вяжущего и проведение работ по ликвидации последствий указанного явления или причин, его вызывающих

- При выявлении (на основании данных ежедневных осмотров) мест с избыточным содержанием вяжущего, необходимо произвести распределение высевок или крупнозернистого песка по площади выявленного дефекта покрытия или обработать участок с избыточным содержанием вяжущего органическим растворителем (например, керосином 0,1 - 0,2 л/м2) с последующей присыпкой песком и очисткой через 0,5 часа поверхности щеткой.

- В случае невозможности устранения скользкости покрытия указанными методами, асфальтобетон на месте дефекта необходимо заменить.

3.3.2. Устройство поверхностной обработки на всех типах дорожных одежд капитального типа

- Работы по устройству поверхностной обработки с целью повышения коэффициента сцепления покрытия и локализации поверхностных разрушений дорожных одежд капитального типа проводятся на основании данных диагностики при снижении коэффициента сцепления покрытия до величины меньшей 0,3 (при измерении шиной без протектора) и 0,4 (при измерении шиной с протектором).

- Производство работ по устройству поверхностной обработки осуществляется под руководством дорожного мастера.

- Поверхностную обработку устраивают из щебня, обработанного битумом. Щебень для обработки должен быть из изверженных и метаморфических пород 1-го и 2-го классов прочностью не ниже R ³ 100 МПа и износом при истирании в полочном барабане не более 35 %; осадочные породы соответственно R ³ 80 МПа, и износом при истирании не более 40 %. Истираемость дробленого гравия должна быть не выше 30 %. Применяют только одномерный щебень узких фракций: 5 - 10, 10 - 15, 10 - 20, 15 - 20, 20 - 25 мм. В нем не должно быть более 15 % зерен пластинчатой или игольчатой формы, примеси глины не более 0,7 %. Из вяжущих применяют битумы марок БНД130/200, БНД90/130 с температурой нагрева и розлива 140 - 160 °С. Для устройства поверхностной обработки на асфальтобетонных и черных щебеночных покрытиях применяют также битумные эмульсии, а на цементобетонных - резинобитумное вяжущее.

Технология устройства поверхностной обработки включает:

а) очистку от пыли и грязи;

б) розлив вяжущего (0,5 - 1,0 л/м2) автогудронатором;

в) распределение щебня (15 - 30 кг/м2) щебнераспределителем;

г) прикатку и уплотнение щебня двумя катками на пневматических шинах за пять, шесть проходов по одному следу.

Применяют как однократную, так и двукратную россыпь щебня. При устройстве поверхностной обработки с двукратной россыпью щебня расход битума для основного розлива увеличивают до 1,4 л/м2.

3.3.3. Заделка трещин и швов асфальтобетонных и цементобетонных покрытий

Заделка трещин и швов асфальтобетонных покрытий осуществляется на основании данных периодических осмотров состояния покрытия, проводимых дорожным мастером не реже одного раза в месяц.

Трещины заделывают под руководством дорожного мастера, в период когда они имеют еще значительное раскрытие (желательно в утренние часы).

Отдельные трещины расчищают металлическими крючьями и продувают сжатым воздухом. Трещины шириной 3 - 5 мм после очистки промазывают жидким битумом, затем с помощью леек заполняют битумом БНД200/300, нагретым до 160 - 170 °С. Трещины большей ширины (5 мм и более) тщательно очищают с помощью металлических щеток и сжатого воздуха, промазывают жидким битумом и заполняют битумной мастикой с помощью леек. Их заполняют с небольшим избытком и затирают поверхность сухим нагретым мелким песком или минеральным порошком.

Рекомендуемый состав мастик для заделки трещин: битум БНД90/130 60 - 70 %, минеральный порошок 10 - 35 %, резиновая крошка 5 - 10 %, асбестовая крошка 10 - 20 %. Рекомендуемая температура мастики при заделке трещин асфальтобетонного покрытия 150 - 170 °С.

Шелушение, сплошную сетку трещин на небольших участках перекрывают поверхностной обработкой. Сплошную сетку трещин, возникшую из-за неустойчивости основания, как и места пониженной прочности, вырубают и устраивают новый слой покрытия.

Узкие трещины цементобетонных покрытий (до 5 мм) предварительно расчищают крючьями, продувают сжатым воздухом и заливают жидким битумом при 80 - 100 °С.

Волосяные трещины покрывают тонким защитным слоем, для чего поверхность очищают, разливают жидкий битум (0,7 - 0,8 л/м2), рассыпают щебень (5 - 10 мм) в объеме 0,8 - 1,0 м3 на 100 м2 или крупный песок 0,3 - 0,5 м2 на 100 м2 и уплотняют легкими катками.

Широкие трещины в цементобетонном покрытии (5 - 25 мм) прочищают пальцевыми фрезами, продувают сжатым воздухом и подгрунтовывают по норме 0,1 - 0,2 л/м2 при 15 - 25 °С. Подгрунтовку получают разжижением с помощью бензина резинобитумных вяжущих, полимерно-битумных, битумно-бутилкаучуковых мастик. После подгрунтовки трещины заливают мастиками или герметиками, составы которых принимают в зависимости от климатических условий. Трещины заполняют выше уровня покрытия на 3 - 5 мм. После проседания пасты возможно образование избытка, который снимают скребком.

Деформационные швы ремонтируют по той же технологии, что и широкие трещины, применяя компрессоры с набором пневмоинструмента и заливщики швов.

Раковины, мелкие выбоины, отдельные очаги шелушения плит цементо-бетонных покрытий заделывают цементо- и полимербетонными смесями, а также смесями на жидком стекле. Цементобетонные смеси применяют, если можно закрыть движение на ремонтируемых участках в период набора бетоном необходимой прочности (до 7 суток). В отдельных случаях допускается применять асфальтобетонные смеси. Могут быть и другие методы ремонта, например, заполнение выбоин горячей литой смесью подобранного состава из серы, пластификатора и минерального наполнителя с содержанием серы 25 - 30 % от общего объема.

Работы по заделке трещин и швов капитальных покрытий производятся при температуре воздуха не ниже +10 °С в течение десяти дней после обнаружения дефекта.

3.3.4. Восстановление и нанесение дорожной разметки

Восстановление дорожной разметки производится в соответствии с утвержденными и согласованными в органах ГИБДД схемами дорожной разметки.

Работы по разметке должны проводиться в сухую погоду при температуре воздуха не ниже 15 °С и относительной влажности не выше 70 %.

Не допускается наносить разметку на мокрое покрытие или на покрытие, имеющее температуру ниже 5 °С.

Работы по разметке проезжей части включают:

- подготовку дорожного покрытия;

- предварительную разметку проезжей части;

- нанесение разметки.

Подготовка дорожного покрытия к нанесению разметки заключается в очистке его от пыли и грязи (например, механической щеткой поливомоечной машины). При необходимости покрытие дополнительно промывают водой и дают просохнуть.

Проезжую часть размечают по технологическим схемам.

Толщина слоя краски, используемой для нанесения разметки, должна быть не менее 0,35 мм.

Толщина слоя термопласта, используемого для нанесения разметки осевых линий, ограничивающих полосы движения, должна быть не менее 2,5 мм, а для линий кромок дорожного полотна - не менее 1,5 мм. Все приведенные размеры справедливы для материалов, находящихся в сухом состоянии

3.3.5. Укрепление проезжей части грунтовых дорог щебнем, гравием, шлаком и другими материалами

На грунтовых дорогах, в местах с повышенной влажностью, и, как следствие, с повышенным колееобразованием, производят работы по повышению несущей способности грунтов путем подсыпки и распределения автогрейдером щебня, гравия, шлака слоем 10 см с последующим уплотнением материала за 6 - 10 проходов по одному следу катка на пневматических шинах.

3.3.6. Обеспыливание грунтовых, гравийных и щебеночных покрытий автомобильных дорог

Обеспыливание производят водой или водным раствором неорганических солей, распределяемых поливомоечной машиной по норме 1,0 - 3,0 л/м2, или органическими вяжущими (жидкий битум, сырая нефть) и обеспыливающими материалами (лигнодор, лигносульфонаты) один раз в два месяца при норме 1,0 - 2,0 л/м2.

3.3.7. Скашивание травы на обочинах, разделительных полосах, кюветах, откосах и резервах

Скашивание травы на обочинах, разделительных полосах, откосах и в резервах производят механическими косилками или вручную (в труднодоступных местах) при достижении высоты травяной растительности 15 см.

Потребность в производстве работ по скашиванию травы определяется дорожным мастером на основании данных ежедневных осмотров.

3.3.8. Планировка неукрепленных обочин и отдельных участков неукрепленных откосов

Планировка неукрепленных обочин и откосов осуществляется автогрейдером по мере необходимости, выявляемой в результате ежедневных осмотров, проводимых дорожным мастером.

Продольный уклон спланированных обочин должен соответствовать продольному уклону дорожной одежды, поперечный уклон должен составлять 4 - 5 %.

Уклон откосов необходимо обеспечивать в соответствии с проектными решениями, но не более 1/2.

Контроль поперечных уклонов дорожный мастер осуществляет рейкой с уровнем, располагая ее на контролируемой поверхности перпендикулярно оси дороги.

3.3.9. Ликвидация не предусмотренных проектом и последующими согласованиями съездов, профилировка тракторных путей

Не реже одного раза в квартал производится профилировка тракторных путей автогрейдером.

Ликвидация не предусмотренных проектом съездов осуществляется бульдозером или автогрейдером путем создания грунтового препятствия (канавы или бруствера).

3.3.10. Очистка водопропускных труб

Очистка водопропускных труб от грунтовых отложений производится на основании данных специальных осмотров, объемы и адреса проведения работ определяются дорожным мастером.

Очистку водопропускных труб от грунтовых отложений осуществляют вручную или гидроразмывом, начиная производство работ со стороны выходного оголовка.

3.3.11. Очистка русл малых искусственных сооружений от кустарниковой и древесной растительности (если эта растительность не является средством борьбы с размывом и регулированием водного потока)

С целью исключения вероятности образования заторов, повышения скорости течения в верхнем и нижнем бьефах малых искусственных сооружений не реже одного раза в год (предпочтительно в наиболее засушливый период) дорожный мастер должен произвести осмотр русл на подходах к искусственным сооружениям и, при необходимости, провести работы по очистке русл на расстоянии 30 м вверх и вниз по течению от кустарников и деревьев. Работа по очистке русл от деревьев и кустарников выполняется экипированным соответствующим образом дорожным рабочим.

Работа по очистке русл малых искусственных сооружений осуществляется под руководством дорожного мастера в течение десяти дней с момента обнаружения потребности в их проведении.

3.3.12. Очистка от мусора, грязи и оплывших грунтов открытых лотков, приемных колодцев и устьев трубчатых выпусков из дренажей

Работы по очистке от мусора, грязи и оплывших грунтов выполняются не реже чем два раза в год (весной, после завершения периода снеготаяния, и осенью, до наступления заморозков). Работы по очистке лотков, приемных колодцев и устоев трубчатых выпусков дренажей от мусора, грязи и оплывших грунтов осуществляются методом гидроразмыва, начиная с минимальных геодезических отметок указанных инженерных устройств, нуждающихся в проведении данного вида работ.

3.3.13. Содержание покрытий проезжей части и тротуаров на мостах, а также ремонт и покраска перил и ограждений

Очистка от грязи и посторонних предметов проезжей части мостов, проведение работ по устройству поверхностной обработки, заделка выбоин и т.п. осуществляются в те же сроки и с той же периодичностью, что и аналогичные работы на подходах к мостам.

Объем работ определяется по результатам ежедневных осмотров состояния дороги, проводимых дорожным мастером.

Не реже одного раза в неделю дорожным мастером оценивается состояние тротуаров и назначаются работы по их очистке от загрязнения и посторонних предметов, а также работы по заделке выбоин, исправлению незначительных дефектов ограждений и, при необходимости, их покраске.

Дорожный мастер не реже одного раза в квартал осматривает состояние деформационных швов, выявленные дефекты устраняются в течение трех суток с момента обнаружения.

3.3.14. Содержание и ремонт покрытий посадочных площадок автобусных остановок. Содержание автобусных павильонов

Уборку мусора и ликвидацию загрязнения покрытий посадочных площадок и автобусных павильонов производят в объеме, установленном по результатам ежедневных осмотров, и выполняют в течение суток с момента обнаружения.

Уборку мусора производят вручную путем погрузки в контейнер или автомобиль с последующей вывозкой в специально установленные места.

Загрязнение с покрытия посадочных площадок и конструктивных элементов автобусных павильонов удаляется гидросмывом.

Автобусные павильоны периодически осматривают на предмет выявления отдельных повреждений, которые устраняют в течение трех суток с момента обнаружения.

Покраску и побелку автобусных павильонов осуществляют не реже одного раза в год.

3.4. Производство работ осеннего переходного периода эксплуатации (осень-зима)

В осенний переходный период эксплуатации под руководством и при непосредственном участии дорожного мастера производятся следующие виды дорожных работ.

3.4.1. Ремонт баз хранения, приготовления и погрузки противогололедных материалов и подъездных путей к ним

За два месяца до наступления зимнего периода эксплуатации дорожный мастер обязан произвести осмотр состояния баз хранения, приготовления и погрузки противогололедных материалов и организовать, при необходимости, проведение работ по ликвидации дефектов покрытия на подъездах к ним, а также работ по ремонту оборудования и складов противогололедных материалов. Работы по подготовке баз хранения противогололедных материалов, включая заготовку материалов, должны быть завершены за месяц до наступления зимнего периода эксплуатации.

3.4.2. Подготовка к эксплуатации машин для зимнего содержания

Работоспособность всех машин и оборудования проверяется комиссией, назначаемой приказом начальника дорожно-эксплуатационной организации.

По результатам проверки составляется АКТ технического состояния, подписываемый главным механиком дорожно-эксплуатационной организации и дорожным мастером.

3.4.3. Организация пунктов обогрева и отдыха для рабочих и водителей, подготовка к ведению круглосуточного дежурства и проведению работ патрульной снегоочистке и борьбе с зимней скользкостью

За месяц до наступления зимнего периода эксплуатации дорожным мастером должны быть проведены работы по подготовке пунктов обогрева и отдыха дорожных рабочих, занятых на работах по зимнему содержанию на основе круглосуточных дежурств.

Помещения для отдыха и обогрева дорожных рабочих должны иметь отопление, плиты для приготовления пищи, кровати с постельными принадлежностями, оборудованные места для сушки одежды и обуви, туалет, аптечки со средствами против обморожения.

Дорожным мастером составляется график круглосуточных дежурств с учетом потребности в машинах, оборудовании и рабочей силе при производстве работ по патрульной снегоочистке и борьбе с зимней скользкостью.

3.4.4. Установка указательных вех в местах расположения сигнальных столбиков и малых искусственных сооружений

Установка указательных вех, имеющих окраску из чередующихся красных (или черных) и белых полос, должна быть завершена к началу зимнего периода эксплуатации, но не позднее первого снегопада.

Вехи закрепляются в начале и конце ограждений, у направляющих столбиков, у входных и выходных оголовков труб, в начале и конце мостов.

3.4.5. Завершение работ по ремонту проезжей части и обочин

Работы по устройству поверхностной обработки, заделке выбоин на покрытии, заделке трещин и швов, укреплению обочин органическими материалами должны быть завершены до наступления периода с температурой воздуха ниже +10 °С.

Работы по укреплению обочин каменными материалами, профилированию и исправлению поперечного профиля обочин и разделительных полос, а также работы по выравниванию поперечного и продольного профиля щебеночных, гравийных и грунтовых дорог должны быть завершены до наступления заморозков.

Весь материал временно (на период работ) размещается на обочинах.

3.4.6. Ремонт оголовков и укрепление русл от размыва у водопропускных сооружений

Ремонт оголовков труб цементобетоном и укрепление русл малых искусственных сооружений цементобетоном и каменными материалами должен быть завершен до наступления заморозков. Опалубку и фундаменты при производстве работ следует предварительно увлажнять.

Бетон должен быть использован в течение часа с момента приготовления, при этом промежуток между укладкой отдельных партий материала не должен превышать 30 минут, а работы должны производиться при температуре воздуха не ниже +5 °С.

3.4.7. Закрытие щитами отверстий малых искусственных сооружений

Отверстия малых искусственных сооружений закрываются сплошными щитами со стороны входного и выходного оголовков.

Площадь щита, предназначенного для закрытия отверстия малого искусственного сооружения, должна быть достаточной для закрытия всего поперечного сечения малого искусственного сооружения до уровня постоянного водотока.

Щиты должны быть установлены до наступления заморозков.

3.4.8. Ремонт и пополнение средств снегозащиты (щиты, сетки и пр.). Установка временных снегозащитных устройств (щиты, сетки и т.п.) и ремонт постоянных снегозащитных устройств (заборы и т.п.) на снегозаносимых участках. Установка и ремонт снегозадерживающих и лавинонаправляющих устройств и сооружений на лавиноопасных участках

Потребное количество снегозащитных устройств определяется за месяц до наступления зимнего периода эксплуатации по формуле

N = L/l,

где L - протяженность снегозаносимых участков (в метрах) по данным диагностики;

l - длина одной секции применяемых снегозащитных устройств (в метрах).

Временные средства снегозащиты (щиты, сетки и т.п., снегозадерживающие устройства) располагают вертикально на стойках, предварительно установленных в ряд на расстоянии 60 метров от бровки земляного полотна, с наветренной стороны, параллельно заносимому участку дороги, с шагом, соответствующим длине секции, или в соответствии с инструкцией по установке.

Ремонт временных и постоянных средств снегозащиты, заключающийся в замене отдельных поврежденных элементов конструкции, должен быть выполнен до образования снежного покрова (согласно данным справочника по климату).

3.5. Производство работ зимнего периода эксплуатации

В зимний период дорожный мастер осуществляет оперативное руководство снегозащитой на обслуживаемых участках дорог, с учетом состояния дорог, работоспособности средств снегозащиты и информации об изменении погоды.

В зимний период эксплуатации под руководством и непосредственном участии дорожного мастера проводятся следующие работы по содержанию дороги и сооружений.

3.5.1. Удаление с проезжей части и обочин снега во время и после снегопада, организация и контроль проведения работ по патрульной снегоочистке и борьбе с зимней скользкостью, включая организацию круглосуточного дежурства для проведения этих работ

Дорожный мастер в зимний период эксплуатации контролирует выполнение графика круглосуточных дежурств, лично присутствуя при передаче дежурств от смены к смене, производя расстановку людей и механизмов по объектам дежурства, корректируя периодичность проходов снегоочистительных машин и соблюдение технологии работ при патрульной снегоочистке и борьбе с зимней скользкостью.

Патрульная снегоочистка ведется периодическими проходами одноотвальных плужных снегоочистителей или отряда снегоочистителей, движущихся уступом на расстоянии 30 - 60 м друг за другом с перекрытием следа не менее 0,4 м. Очистка от снега производится в течение всей метели или снегопада и заканчивается после обеспечения полной очистки дорога от снега, согласно требованиям к состоянию покрытия, но не превышая максимальных сроков, установленных техническими правилами ремонта и содержания дорог.

В случае сильного заноса, вызвавшего перерыв движения, дорожный мастер обязан принять меры к быстрейшему восстановлению движения, начиная с расчистки дороги на ширину полосы движения и организации совместно с представителями ГИБДД однопутного движения.

3.5.2. Работы по очистке от снега автобусных остановок, тротуаров мостов и пешеходных дорожек, барьерных ограждений

После завершения работ по очистке от снега проезжей части и обочин, дорожный мастер организует и контролирует проведение работ по очистке от снега и льда посадочных площадок автобусных остановок, площадок отдыха, тротуаров мостов и пешеходных дорожек. Работы по очистке от снега посадочных площадок автобусных остановок, тротуаров мостов и пешеходных дорожек должны быть завершены в течение суток с момента окончания работ по очистке от снега проезжей части и обочин.

3.5.3. Работы по устранению и предотвращению образования наледей

С целью предупреждения образования наледей в долинах небольших водотоков углубляют и выравнивают русла (срезая петли), осушают местность с помощью поверхностного водоотвода.

В целях предотвращения выхода наледи на дорогу следует:

- отводить воду (притекающую к полотну дороги) по открытым каналам, прорубленным непосредственно в наледи (уводя ее в сторону от дороги);

- отводить воду по утепленным водоотводным канавам, обеспечивающим водоток на уровне ниже глубины промерзания теплоизолирующего материала;

- устраивать постоянные задерживающие валы высотой 1,2 - 2,0 м из недренирующих грунтов, задерживающие валы следует располагать на расстоянии не ближе 5,0 м от подошвы насыпи.

3.5.4. Работы по оборудованию и содержанию зимних автомобильных дорог (автозимников), в т.ч. ледовых переправ

Работы по устройству и содержанию автозимников осуществляются в следующей последовательности:

- расчистка дорожной полосы на ширину 8 - 10 м;

- уборка излишнего слоя снега и уплотнение оставшегося слоя (при использовании метода снегоочистки) или уплотнение снега (с поливкой водой и распределением фрикционных материалов);

- уполаживание валов снега, скапливающихся по бокам дорожной полосы;

- расстановка дорожных знаков согласно временным схемам организации дорожного движения (по согласованным с ГИБДД схемам);

- периодическая профилировка дорожной полосы и распределение фрикционных материалов.

Требования к геометрическим параметрам автозимников следующие:

- поперечный профиль на прямолинейных участках - горизонтальный;

- ширина проезжей части не менее 8 м;

- продольные уклоны не более 5 %;

- радиусы кривых - не менее 100 м;

Плотность снега на проезжей части автозимников должна составлять не менее 0,6 т/м3.

В качестве искусственных сооружений рационально использование металлических труб с засыпкой их слоем снега не менее 1,5 м.

3.5.5. Перестановка и дополнительная установка временных снегозадерживающих устройств, а также устройство снежных траншей вдоль снегозаносимых участков дорог

Дорожный мастер в течение суток после окончания метели должен совершить объезд закрепленного за ним мастерского участка и определить адреса и объем работ по установке дополнительных средств снегозащиты или перестановке существующих защит (в случае применения щитов или сеток). Дополнительная защитная линия должна обеспечивать задержание не менее 50 м3/м (при использовании щитов или сеток) или состоять не менее чем из трех постоянно возобновляемых снежных траншей. Устройство дополнительных защитных линий или перестановка существующих защит должны быть осуществлены в течение суток.

3.6. Производство работ по ремонту автомобильных дорог и сооружений на них

3.6.1. При производстве работ по ремонту автомобильных дорог и сооружений на них дорожный мастер должен точно соблюдать технические условия, правила, нормы и инструкции, а также выполнять указания и распоряжения начальника, главного инженера и начальника производственного отдела дорожно-эксплуатационной организации.

3.6.2. Дорожный мастер имеет право приступить к производству работ по ремонту участка автомобильной дороги или искусственного сооружения только по распоряжению начальника дорожно-эксплуатационной организации. Работы должны проводиться в строгом соответствии с разработанным и утвержденным проектом производства работ.

3.6.3. Дорожный мастер несет ответственность за качество проводимых ремонтных работ. Он должен:

а) наблюдать за состоянием поверхности ремонтируемого дорожного покрытия (очистка от грязи, пыли, обработка краев поврежденного участка);

б) не допускать к употреблению материалы, загрязненные и не соответствующие установленным техническим требованиям для данного вида работ;

в) соблюдать установленную техническими правилами и проектом последовательность производства работ;

г) следить за соблюдением установленных проектами и техническими условиями размеров элементов автомобильной дороги, обустройства и искусственных сооружений.

3.6.4. Дорожный мастер несет ответственность за безопасность производства работ и проезда транспорта по ремонтируемым участкам дороги, а также за безопасное движение транспорта по участкам объезда.

На участках ремонта должны быть установлены временные средства организации дорожного движения, включая дорожные знаки и ограждения установленного образца. Схемы расстановки знаков, ограждений и других временных средств организации движения при производстве ремонтных работ согласовываются с ГИБДД.

3.6.5. В случае закрытия движения по ремонтируемому участку дорожный мастер обязан устроить объезд и содержать его в требуемом эксплуатационном состоянии в течение всего времени ремонта.

ПРИЛОЖЕНИЯ

Справочные данные

Укрупненные показатели на основные работы по содержанию земляного полотна и полосы отвода (на 1 км дороги в год)

Вид работы

Средства механизации

Рабочие

наименование

кол-во, маш.-ч.

профессия и квалификация

кол-во, чел.-ч.

1

2

3

4

5

Земляное полотно и система водоотвода

Содержание системы водоотвода с очисткой канав весной от снега, а летом от наносов и грязи с вывозкой мусора. Очистка от снега русл весной на подходах к трубам.

Кюветовосстановитель ДЭ-9 на автогрейдере ДЗ-31-1

0,84

Машинист 6-го разряда

0,84

Автомобиль ЗИЛ-ММЗ-555 с грейфером

0,80

Водитель 3-го класса

Дорожные рабочие 2-го разряда

0,80

4,0

Очистка труб весной от снега, льда и наносов с вывозкой мусора

Оборудование для Т-927 на комбинированной дорожной машине КДМ-130А

0,20

Водитель 3-го класса

Дорожный рабочий 3-го разряда

0,20

0,20

 

Автомобиль ЗИЛ-ММЗ-555 с грейфером

0,20

Водитель 3-го класса

0,20

Рытье и засыпка осушительных воронок на обочинах весной на пучинистых участках

Машина ЭД-201 на колесном тракторе «Беларусь» МТЗ-5 - для рытья дренажных прорезей

20,9

Машинист 5-го разряда

20,9

Планировка откосов и засев травами

Автогрейдер ДЗ-31-1

0,52

Машинист 6-го разряда

0,52

 

Машина для гидропосева СД-101

4,40

Водитель 3-го класса

Дорожный рабочий 2-го разряда

4,40

Окашивание откосов и уборка скошенной травы

Косилка ЭД-101 на колесном тракторе «Беларусь» МТЗ-50

0,40

Водитель 3-го класса

Дорожный рабочий 2-го разряда

0,40

0,4

Содержание укрепленных обочин с подсыпкой, планировкой, уплотнением

Комбинированная дорожная машина КДМ-130А

0,50

Машинист 4-го разряда

0,50

 

Автомобиль ЗИЛ-ММЗ-555

10,0

Водитель 3-го класса

10,00

 

Автогрейдер ДЗ-31-1

6,28

Машинист 6-го разряда

6,28

 

Каток ДУ-11

15,0

Машинист 5-го разряда

15,00

Содержание неукрепленных обочин с подсыпкой, планировкой, окашиванием и уборкой скошенной травы

Автомобиль ЗИЛ-ММЗ-555

10,00

Водитель 3-го класса

Машинист 4-го разряда

10,00

0,12

Комбинированная дорожная машина КДМ-130А

0,12

Машинист 6-го разряда

6,28

 

Автогрейдер ДЗ-31-1

6,28

Машинист 6-го разряда

15,00

 

Каток ДУ-11

15,00

Машинист 4-го разряда

0,06

 

Косилка ЭД-101 на колесном тракторе «Беларусь» МТЗ-50

0,06

Дорожный рабочий 2-го разряда

0,06

Полоса отвода

Планировка полосы для обеспечения стока

Бульдозер ДЗ-37

Автогрейдер ДЗ-31-1

6,26

0,52

Машинист 4-го разряда

Машинист 6-го разряда

6,26

0,52

Сбор мусора, погрузка и вывозка его с полосы

Автомобиль ЗИЛ-ММЗ-555 с грейфером

0,40

Водитель 3-го класса

0,40

Скашивание полосы и уборка скошенной травы

Косилка ЭД-101 на колесном тракторе «Беларусь» МТЗ-50

1,40

Дорожный рабочий 2-го разряда

0,40

 

 

 

Машинист 4-го разряда

1,40

 

 

 

Дорожные рабочие 3-го разряда

1,40

 

 

 

Дорожные рабочие 2-го разряда

1,40

Укрупненные показатели на содержание проезжей части с усовершенствованными и переходными покрытиями (на 1 км дороги в год)

Вид работы

Средства механизации

Рабочие

наименование

кол-во, маш.ч

профессия и квалификация

кол-во, чел.-ч

Проезжая часть с усовершенствованным покрытием

Подметание и мойка

Комбинированная дорожная машина КДМ-130А

9,60

Машинист 4-го разряда

9,60

Уход за участками с избытком вяжущего

Распределитель каменной мелочи ДС-49

0,04

Машинист 5-го разряда

0,04

 

Каток ДУ-11

7,50

Машинист 5-го разряда

7,50

Проезжая масть с гравийным покрытием

Обеспыливание водой

Комбинированная дорожная машина КДМ-130А

0,19

Машинист 4-го разряда

0,19

Профилирование и уплотнение

Автогрейдер ДЗ-31-1

4,62

Машинист 6-го разряда

4,62

 

Каток ДУ-11

30,00

Машинист 5-го разряда

30,00

Укрупненные показатели на содержание элементов обстановки дороги (на 1 км дороги в год)

Вид работы

Средства механизации

Рабочие

наименование

кол-во, маш.-ч

профессия и квалификация

кол-во, чел.-ч.

Содержание ограждений и сигнальных столбиков

Оборудование для мойки обстановки дороги ЭД-309 на колесном тракторе «Беларусь» МТЭ-50

0,70

Машинист 4-го разряда

0,70

 

Мастерская технического обслуживания А-701М

3,00

Водитель 2-го класса

Дорожный рабочий 3-го разряда

3,00

 

Маркировочная машина с краскопультом ДЭ-3

4,14

Машинист 4-го разряда

4,14

Содержание дорожных знаков

Оборудование для мойки обстановки дороги ЭД-309

0,16

Машинист 4-го разряда

0,16

 

Мастерская технического обслуживания А-701М

0,40

Водитель 2-го класса

Дорожный рабочий 3-го разряда

0,40

0,88

 

Автомобиль ЗИЛ-ММЗ-555 с краном

0,60

Водитель 3-го класса

0,60

 

Маркировочная машина с краскопультом ДЭ-3

0,76

Машинист 4-го разряда

0,76

Содержание автопавильонов

Оборудование для мойки обстановки дороги ЭД-309

3,20

Дорожный рабочий 2-го разряда

6,40

 

 

 

Машинист 4-го разряда

3,20

 

Мастерская технического обслуживания А-701М

4,00

Водитель 2-го класса

Дорожный рабочий 3-го разряда

4,00

8,00

 

Маркировочная машина с краскопультом ДЭ-3

0,80

Машинист 4-го разряда

0,80

 

 

 

Дорожный рабочий 3-го разряда

1,60

Расход материалов на ремонт гравийных и щебеночных дорог

Материал

Расход материалов, м3, на 10 м2 ремонтируемых мест при глубине выбоин или просадок, см, до

3

6

10

Щебень

0,42

0,67

1,0

Гравий

0,41

0,66

0,99

Примечания. 1. В нормах принят коэффициент уплотнения гравия 1,24, щебня 1,26.

2. Прогрохоченный (старый) материал нормами не учтен.

Затраты труда и выработка при ремонте покрытия

Наименование

Трудоемкость, чел.-час, при площади карт, м2, до

3

20

25

Затраты труда на 100 м2 ремонта асфальтобетонного покрытия при заделке выбоин и просадок

54,1

46,1

24,1

Выработка на 1 чел.-день отремонтированного покрытия при заделке выбоин и просадок

14,8

17,4

33,2

Примечание. Потребность асфальтобетонной смеси для ремонта 100 м2 площади покрытия толщиной 50 мм составляет 8 т, битума - 0,04 т.

Нормы времени на ремонт 100 м шва или трещин

Вид работы

Состав звена

Трудоемкость, чел.-час

Приготовление мастики

Асфальтобетонщики

0,8

Заполнение швов мастикой при помощи:

(асфальтировщики)

 

лейки

3-го разряда - 1

8,4

передвижной воронки

1-го разряда - 2

7,0

Примечания. 1. Нормами предусмотрена продувка швов и трещим ручным насосом.

2. При использовании компрессора показатели в нижних двух строках следует уменьшать на 0,87 чел.-час.

Нормы расхода материалов и продолжительность действия

Материал

Ед. изм.

Норма расхода материала на 1 ч покрытия

Срок действия, сут

гравийного

щебеночного

грунтового

1

2

3

4

5

6

Гигроскопические

Кальций хлористый технический:

 

 

 

 

 

кальцинированный

кг

0,6 - 0,7

0,8 - 0,9

0,4 - 0,5

0,6 - 0,7

0,7 - 0,8

0,9 - 1,0

20 - 40

плавленный

кг

0,8 - 0,9

1,0 - 1,1

0,6 - 0,8

0,7 - 1,0

0,9 - 1,0

1,1 - 1,2

20 - 40

жидкий

л

1,3 - 1,7

2,0 - 2,2

1,0 - 1,5

1,5 - 2,0

1,7 - 2,0

2,2 - 2,4

15 - 25

Кальций хлористый ингибированный фосфатами (ХКФ)

кг

0,7 - 0,8

0,9 - 1,0

0,5 - 0,6

0,7 - 0,8

0,8 - 0,9

1,0 - 1,1

25 - 40

Техническая поваренная соль (в виде раствора 30 %-ной концентрации)

л

1,5 - 2,2

2,4 - 3,0

1,2 - 2,0

2,0 - 2,6

1,8 - 2,8

3,4 - 4,0

15 - 20

Техническая соль сильвинитовых отвалов:

твердая

кг

0,8 - 1,2

1,4 - 1,8

0,6 - 1,0

1,2 - 1,6

1,0 - 1,4

1,6 - 2,0

15 - 25

жидкая

л

1,6 - 2,5

2,7 - 3,3

1,4 - 2,2

2,4 - 3,0

2,0 - 3,0

3,6 - 4,2

15 - 20

Вода морская лиманная или соленых озер

л

1,0 - 1,5

1,5 - 2,0

0,8 - 0,3

1,3 - 1,8

1,5 - 2,0

2,0 - 2,5

3 - 5

Вода техническая

л

1,0 - 2,0

0,5 - 1,5

1,5 - 2,5

0,04 - 0,12

(1 - 3 ч)

Органические

Лигносульфонаты технические (марка В 50 %-ной концентрации)

л

1,6 - 2,0

1,2 - 1,6

1,4 - 1,8

1,0 - 1,4

1,8 - 2,2

1,6 - 2,0

20 - 30

Лигнодор

л

1,6 - 2,0

1,2 - 1,6

1,4 - 1,8

1,0 - 1,4

1,8 - 2,2

1,6 - 2,0

40 - 45

Сульфитный щелок (10 %-ной концентрации)

л

4,0 - 6,0

3,0 - 5,0

3,5 - 5,0

2,5 - 4,0

4,5 - 6,5

3,5 - 5,5

15 - 20

Жидкие битумы и дегти

л

0,8 - 1,0

0,7 - 1,0

1,0 - 1,2

30 - 90

Битумные эмульсии

л

1,2 - 1,5

1,0 - 1,3

1,5 - 2,0

30 - 90

Сырые нефти

л

0,8 - 1,0

0,7 - 1,0

1,0 - 1,2

30 - 90

Примечания. 1. Органические вяжущие (дегти, сырые нефти и др.) применяют с вязкостью по стандартному вискозиметру не более 25 с.

2. В числителе приведены значения - для III, в знаменателе - IV и V дорожно-климатических зон.

3. Меньшие нормы расхода относятся к интенсивности движения до 300 авт./сут., большие - 300 авт./сут и выше.

4. Продолжительность обеспыливающего действия дана после первой обработки покрытия.

Трудозатраты и потребность в материалах при обустройстве автомобильных дорог

Вид работы

Измеритель

Затраты труда, чел.-ч

Состав звена

Вид и количество материалов

1

2

3

4

5

Снятие устаревшего и установка нового знака (крепится на стойке болтом)

1 знак

0,21

Дорожный рабочий 3-го разряда - 1

-

Снятие устаревшего и установка нового знака (крепится четырьмя болтами на двух стойках)

1 знак

0,70

То же

-

Замена стоек дорожных знаков

1 знак

1,20

Дорожные рабочие 3-го разряда - 2

-

Окраска реставрируемых металлических щитков дорожных знаков при помощи краскопульта

1 знак

0,38

Маляры 2-го и 3-го разряда - 2

Растворитель ацетатный № 646 - 0,0358 кг.

Грунтовка - 0,108 кг.

а) предупреждающие знаки (треугольные, размер сторон 900 мм)

 

 

 

Эмаль синтетическая и нитрокраска, кг:

серая НЦ-2,5-0,0786

белая НЦ-25-0,267

красная НЦ-132П-0,0289

желтая НЦ-25-0,12

б) запрещающие знаки (круглые d = 900 мм)

1 знак

0,32

То же

Растворитель ацетатный № 646 - 0,0649 кг

Грунтовка - 0,196 кг

Эмаль синтетическая и нитрокраска, кг:

белая НЦ-25-0,21146

красная НЦ-13211-0,051

в) предписывающие знаки (круглые d = 700 мм)

1 знак

0,32

То же

Грунтовка - 0,076 кг

Эмаль синтетическая и нитрокраска, кг:

голубая ПФ- 115-0,078

серая НЦ-25-0,068

красная НЦ-13211-0,03

Окраска металлических стоек дорожных знаков и железобетонных тумб1

1 знак

(1 стойка и 1 тумба)

0,347

Маляры 2-го и 3-го разряда - 2

Олифа комбинированная 0,042 + 0,133 = 0,175 кг

Грунтовка 0,119 + 0,0172 = 0,291 кг

Белила цинковые 0,132 + 0,17 = 0,302

Эмаль черная НЦ-25 0,0294 + 0,115 = 0,0409

Окраска криволинейного бруса кистью

1 м бруса

0,25

То же

Краска перхлорвиниловая силикатная белая - 0,22 кг

Черная масляная краска - 0,013 кг

Замена старых сигнальных железобетонных столбиков

1 столбик

1,2

Дорожные рабочие 3-го разряда - 2

 

Окраска сигнальных столбиков

10 шт.

1,4

Маляры 2-го и 3-го разряда - 2

Грунтовка - 0,99 кг

Олифа комбинированная - 0,77 кг

Белила цинковые - 0,78 кг

Эмаль черная НЦ-25 - 0,12 кг

Разметка проезжей части краской:

а) сплошной линией шириной 0,1 м

1 км линии

4,13

КДМ-130, машинист 4-го разряда, маркировочная машина, машинист 5-го разряда, пом. машиниста 4-го разряда и дорожные мастера 3-го разряда - 3

Эмаль 42,0 кг

б) прерывистой линией шириной 0,1 м при соотношении штриха и промежутка 1:1

1 км линии

4,13

КДМ-130, машинист 4-го разряда, маркировочная машина, машинист 5-го разряда, пом. машиниста 4-го разряда и дорожные мастера 3-го разряда - 3

Эмаль 21,0 кг

Разметка проезжей части термопластиком сплошной линией 0,1 м

1 км линии

2,157

Маркировочная машина, машинист 5-го разряда, пом. машиниста 4-го разряда и дорожные мастера 3-го разряда - 3

Газ пропан - 47,8 кг

Термопластик - 991

1 Металлическая стойка имеет диаметр 100 мм и высоту 2,0 м; железобетонная тумба квадратного сечения 200 ´ 200 мм, высота окрашиваемой поверхности 2 м.

Укрепление обочин щебнем с поверхностной обработкой (измеритель - 100 м2 укрепленных обочин при ширине укрепления 2,0 м и толщине слоя 0,15 м)

Вид работы

Состав звена

Трудоемкость, чел.-ч.

Рыхление грунта обочины кирковщиком, смонтированным на автогрейдере, за четыре прохода по одному следу

Машинист 6-го разряда - 1

0,58

Устройство корыта автогрейдером с перемещением грунта на откосы земляного полотна

Машинист 6-го разряда - 1

0,23

Разравнивание и планировка щебня в корыте авгогрейдером за четыре прохода

Машинист 6-го разряда - 1

0,45

Уплотнение щебня самоходным катком массой 5 - 6 т за 12 проходов по одному следу

Машинист 5-го разряда - 1

0,68

Розлив битума автогудронатором по норме 1,5 л/м2

Машинист 5-го разряда - 1, 4-го разряда - 1

0,13

Россыпь черного клинца автомобилем-самосвалом, оборудованным съемным приспособлением для россыпи по норме 25 кг/м2

Машинист 4-го разряда - 1

0,11

Уплотнение клинца самоходным катком массой 8 - 10 т за 10 проходов по одному следу

Машинист 5-го разряда - 1

0,56

Укрепление откосов засевом трав (на 100 м2 укрепленных откосов)

Вид работы

Состав звена

Трудоемкость, чел.-ч.

Выравнивание грунта на откосах граблями, разбивка комьев, выборка камней (грунт II группы)

Рабочий зеленого строительства 2-го разряда - 1

4,4

Разметка верха укреплений откосов шнуром

То же

0,67

Укрепление откосов засевом трав

Рабочий зеленого строительства 3-го разряда - 1

1,15

Поливка засеянной площади водой из поливомоечной машины через шланг

Рабочий зеленого строительства 4-го разряда - 1

1,2

Укрепление обочин асфальтобетоном на основании из щебня фракции 70 - 120 мм

(измеритель - 100 м2 укрепленных обочин при ширине укрепления 2,5 м и толщине слоя 0,17 м, в том числе 0,04 м - асфальтобетонное покрытие)

Вид работы

Состав звена

Трудоемкость, чел.-ч.

Рыхление грунта обочины кирковщиком, смонтированным на автогрейдере, за четыре прохода по одному следу

Машинист 6-го разряда - 1

0,62

Устройство корыта автогрейдером с перемещением грунта на откосы земляного полотна

Машинист 6-го разряда - 1

0,25

Выравнивание кромки с частичной подломкой старого покрытия пневматическим инструментом (25 % всей длины)

Асфальтобетонщики (асфальтировщики): 3-го разряда - 1, 1-го разряда - 1

0,52

Разравнивание и планировка щебня в корыте автогрейдером за четыре прохода

Машинист 6-го разряда - 1

0,45

Уплотнение слоя щебня толщиной 12 см катком массой 8 - 10 т за 12 проходов по одному следу

Машинист 5-го разряда - 1

0,68

Подгрунтовка щебеночного основания жидким битумом по норме 0,5 л/м2 с помощью автогудронатора

Машинист 5-го разряда - 1, 4-го разряда - 1

0,028

Укладка асфальтобетонной смеси слоем 4 см асфальтоукладчиком

Машинист 6-го разряда, асфальтобетонщики (асфальтировщики) 5-го разряда - 1, 3-го разряда - 1, 2-го разряда - 1

3,08

Подкатка слоя легким катком за 4 - 6 проходов по одному следу

Машинист 5-го разряда - 1

0,33

Уплотнение слоя средними или тяжелыми катками за 8 - 10 проходов по одному следу

Машинист 5-го разряда - 1

0,55

Устройство одиночной поверхностной обработки на асфальтобетонных и других черных покрытиях (на 1000 м2 покрытия)

Вид работы

Состав звена

Трудоемкость, чел.-ч.

Очистка покрытия от пыли и грязи за шесть проходов механической щетки

Машинист 4-го разряда - 1

0,25

Розлив битума автогудронатором (норма 0,5 - 1,1 л/м2)

Машинист 5-го разряда - 1

0,43 - 0,95

Распределение черного щебня распределителем Т-224 (норма 15 - 30 кг/м2)

Машинист 4-го разряда - 1, дорожные рабочие 3-го разряда - 2

Машинист 5-го разряда - 1

0,39

Уплотнение (прикатка) черного щебня легким катком (5 - 6 т) за 5 - 6 проходов по одному следу

Уплотнение черного щебня тяжелым пневмокатком (10 - 16 т) за 5 - 6 проходов по одному следу

Машинист 5-го разряда - 1

2,1

1,5

Примечания. 1. Поверхностную обработку устраивают в летний период на сухом покрытии при температуре воздуха не ниже 15 °С, применяя вязкие битумы, а при температуре не ниже 5 °С - битумные эмульсии.

2. Для поверхностной обработки используют:

щебень изверженных, метаморфических и осадочных пород с маркой по прочности не менее 1000 и износом при истирании в полочном барабане не более 35 %; гравий с износом при испытании в полочном барабане не более 30 и содержанием дробленных зерен не менее 100 %; шлаки, устойчивые против любого распада, при показателях дробимости в цилиндре не менее 1000 и износа в полочном барабане не более 35 %.

Ремонтная профилировка гравийных (щебеночных) покрытий с добавлением нового материала (на 1000 м)

Вид работы

Ширина покрытия, м

Число круговых проходов

Состав звена

Трудоемкость, чел.-ч.

Кирковка покрытия кирковщиком, смонтированным на автогрейдере

6

4

Машинист 5-го разряда - 1

1,18

(0,59)

7

5

Дорожный рабочий 2-го разряда

1,26

0,66

Перемещение автогрейдером дополнительного гравийного материала с обочины, разравнивание по всей ширине покрытия

6

6

Машинист 5-го разряда - 1

(0,63)

0,77

7

6

 

 

Перемещение автогрейдером вскиркованного и вновь добавленного материала со сбором в мерный вал

6

4

Машинист 5-го разряда - 1

0,51

7

4

 

0,44

Разравнивание и планировка материала на всю ширину покрытия

6

6

Машинист 5-го разряда - 1

0,77

7

6

0,66

Поливка распланированного гравийного материала водой (норма до 0,9 м2 на 100 м2)

6 - 7

-

Машинист 4-го разряда - 1

0,75

Уплотнение материала самоходным катком (8 - 10 т) за 4 прохода по одному следу

6 - 7

-

Машинист 5-го разряда - 1

2,2

Регулирование движения по ширине покрытия и уход за покрытием в течение 3 дней с перестановкой ограждений

6 - 7

-

Дорожный рабочий 2-го разряда - 1

1,38

Примечания. 1. Необходимое количество воды определяет лаборатория.

2. С целью создания прочного и устойчивого покрытия гравийный материал в процессе уплотнения рекомендуется поливать водным раствором гигроскопических солей 20 - 30 %-ной концентрации - норма расхода 2 - 3 л/м2.

Краткая техническая характеристика оборудования для распределения противогололедных материалов

Показатели

КДМ-130Б

ЭД-403М

КО-705УРЛ

Базовое шасси

ЗИЛ-130В

ЗИЛ-133ГЯ

Трактор Т-40АП

Вместимость кузова, м2

3

4,6

2

Ширина насыпки, м

До 8,5

10,5

7

Техническая производительность, м2

212000

365000

6500 (по песку)

Скорость, км/ч:

рабочая

транспортная

6 - 30

40

30

60

10

27

Норма россыпи, г/м2

155 - 940

30 - 500

16 - 400

Габаритные размеры, мм

 

 

 

длина

9450

11020

8380

ширина

2790

2790

1780

высота

2750

2825

2260

Масса, кг

5850

17175

5000 (прицеп с материалом)

Составы битумных паст

Материал, входящий в битумные пасты

Содержание компонентов, % по массе, в составах

Кузбасслаковая паста, % по массе

1

2

3

4

Фтористый натрий

40

31

50

51

40

Кузбасслак

-

-

-

-

50

Битум БН-III

15

31

18

23

-

Креозотовое масло

41

-

-

-

-

Зеленое масло

-

31

28

-

-

Керосин

 

-

-

22

-

Торфяная мука

4

7

4

4

-

Вода

 

-

-

-

10

Устройство слоя износа толщиной 1,5 - 3 см из асфальтобетонных и им подобных смесей на черных покрытиях (на 1000 м2 покрытия)

Вид работы

Состав звена

Трудоемкость, чел.-ч.

Очистка покрытия от пыли и грязи механической щеткой

Машинист 4-го разряда - 1

Машинист 5-го разряда - 1

0,25

Подгрунтовка покрытия жидким битумом, распределяемым автогудронатором (норма 0,5 л/м2)

Машинист 6-го разряда - 1,

Асфальтобетонщики:

0,24

Укладка асфальтобетонной смеси асфальтоукладчиком Д-150А

5-го разряда - 1; 4-го разряда - 1; 3-го разряда - 3; 2-го разряда - 1; 1-го разряда - 1

Машинист 5-го разряда - 1

Машинист 5-го разряда - 1

0,39

21,6 (2,7)

Предварительное уплотнение легкими катками за 5 - 8 проходов по одному следу

 

5,2

Уплотнение слоя тяжелыми катками на пневматических шинах за 10 - 12 проходов по одному следу

 

7,6

Затраты труда и потребность в материалах на установку дорожных ограждений, знаков и указателей

Вид работы

Измеритель

Затраты труда, чел.-ч.

Вид и количество материалов

Установка ограждений:

а) из стали на железобетонных столбах

10 м ограждений

9,473

Столбы железобетонные - 0,244 м3, конструкции металлические - 0,017 т, прочие материалы - 3,23 р.

б) из стали на металлических столбах

То же

13,93

Бетон М-150 - 0,372 м3, конструкции металлические - 0,248 т, прочие материалы - 4,19 р.

в) из железобетонного криволинейного бруса

- ² -

10,93

Столбы железобетонные - 0,72 м3, конструкции железобетонные сборные - 0,34 м3, прочие материалы - 6,22 р.

Устройство тросовых ограждений на железобетонных столбах

- ² -

8,769

Столбы железобетонные по проекту, трос 20 мм - 21,4 м, поковки - 55,8 кг, прочие материалы - 0,37 р.

Установка указательных, запрещающих, предупреждающих и километровых знаков на железобетонной стойке СБ-1, СБ-4

1 знак

2,938

Щитки металлические - 1 шт., блоки бетонные сборные - 0,04 м3, столбы железобетонные по проекту, прочие материалы - 0,53 р.

То же, на металлической стойке СМ-1, СМ-3, СМ-5

1 указатель

3,666

Щиты металлические - 1 шт., блоки бетонные сборные - 0,04 м3, стойки металлические - 27,3 кг, прочие материалы - 6,22 р.

Установка дорожных указателей на двух металлических стойках СМ-18

То же

6,132

Стойки металлические - 42,0 кг, блоки бетонные сборные - 0,48 м3, поковки - 2,56 кг, щиты металлические - 1 шт., прочие материалы - 1,91 р.

Установка дорожных указателей на V-образной железобетонной опоре СБ-5

- ² -

3,19

Столбы железобетонные - 0,24 м3, блоки бетонные сборные - 0,86 м3, щиты металлические 1 шт., прочие материалы - 2,68 р.

Примечание. Состав звена; бурильные машины (на автомобиле), машинист 5-го разряда, помощник машиниста 4-го разряда, дорожные рабочие 3-го разряда - 3.

Минимально допустимые значения уровня зимнего содержания

Показатели состояния автомобильных дорог

Интенсивность движения, авт./сут

Минимальная ширина очищенной поверхности проезжей части, м

Максимально допустимая толщина слоя рыхлого снега на проезжей части, мм

Допустимая толщина уплотненного слоя снега на проезжей части, мм

Допустимая толщина уплотненного слоя снега на обочинах (у бровки земляного полотна), мм

Максимальный срок проведения работ по снегоочистке и ликвидации зимней скользкости, ч

1

2

3

4

5

6

7

Федеральные автомобильные дороги

Более 3000

На всю ширину

20

-

50

4

1000 - 3000

То же

25

-

60

5

Менее 1000

- ² -

30

50*

70

6

Дороги местного значения с регулярным автобусным движением

Более 3000

- ² -

30

-

60

4

1000 - 3000

- ² -

40

-

70

5

Менее 1000

- ² -

60

50*

80

6

Дороги местного значения с нерегулярным автобусным движением

Менее 1000

- ² -

70

50*

120

6

Дороги местного значения с допускаемым перерывом движения

Движение нерегулярное

-

-

50

200

24 - 48

Количество основных средств механизации для обеспечения требуемого уровня содержания автомобильных дорог зимой

Наименование средств механизации

Основные параметры

Минимально необходимое количество (на 100 км)

Категория дороги

I

II

III

IV

V

1

2

3

4

5

6

7

Одноотвальные плужно-щеточные снегоочистители

Ширина отвала - 3 м;

Рабочая скорость - 25 - 60 км/ч

9

5

4

2

2

Шнекороторные или фрезернороторные снегоочистители

Ширина захвата - 3 м;

Производительность - 1000 - 1200 т/ч

2

1

1

0,5

0,5

Бульдозер с поворотным отвалом

Мощность 118 кВт

1

1

1

1

1

Автогрейдер легкий

Мощность 66 кВт

4

3

2

2

2

Распределитель твердых противогололедных материалов

Ширина распределения - 10 м; Вместимость бункера - 5 м3

12

8

6

4

4

Распределитель жидких противогололедных материалов

Ширина распределения - 7 м;

Вместимость бункера - 5 м

10

6

4

2

2

СПИСОК НОРМАТИВНО-ТЕХНИЧЕСКОЙ ЛИТЕРАТУРЫ

1. ГОСТ Р 50597-93. Автомобильные дороги и улицы. Требования к эксплуатационному состоянию, допустимому по условиям обеспечения безопасности дорожного движения. Введ. 11.10.93. - 12 с.

2. ГОСТ 13508-74. Разметка дорожная. - Взамен ГОСТ 13508-68; Введ. 25.01.74; Срок действия до 01.01.80. - 31 с.

3. ГОСТ 10807-78. Знаки дорожные. Общие технические требования. - Взамен ГОСТ 10807-71; Введ. 30.08.78; Срок действия до 01.01.90 - 117 с.

4. ГОСТ 23457-86. Технические средства организации дорожного движения. Правила применения. - Взамен ГОСТ 23457-79; Введ. 24.06.86; Срок действия до 01.01.92. - 65 с.

5. Инструкция по борьбе с зимней скользкостью на автомобильных дорогах: ВСН 20-87 / Минавтодор РСФСР. М.: Транспорт, 1988. - 41 с.

6. Инструкция по организации движения и ограждению мест производства дорожных работ: ВСН 37-84 / Минавтодор РСФСР. - М.: Транспорт, 1985. - 59 с.

7. Инструкция по проведению осмотра мостов и труб на автомобильных дорогах ВСН 4-81 / Минавтодор РСФСР. М.: Транспорт, 1982. - 33 с.

8. Инструкция по проведению рубок ухода в снегозащитных насаждениях вдоль автомобильных дорог: ВСН 34-78 / Минавтодор РСФСР. - М.: Транспорт, 1979. - 24 с.

9. Инструкция по учету движения транспортных средств на автомобильных дорогах: ВСН 45-68 / Минавтошосдор РСФСР. - М.: Транспорт, 1969. - 56 с.

10. Методические рекомендации по планированию работ текущего ремонта и содержания автомобильных дорог. - М.: ЦБНТИ Минавтодора РСФСР, 1985. - 58 с.

11. Правила приемки работ при строительстве, капитальном и среднем ремонтах автомобильных дорог: ВСН 19-81 / Минавтодор РСФСР. - М.: Транспорт, 1982. - 120 с.

12. Правила техники безопасности при строительстве, ремонте и содержании автомобильных дорог. М.: Транспорт, 1979. - 175 с.

13. Региональные и отраслевые нормы межремонтных сроков службы нежестких дорожных одежд и покрытий: ВСН 41-88 / Минавтодор РСФСР. - М.: ЦБНТИ Минавтодора РСФСР, 1988. - 8 с.

14. Рекомендации по применению асфальтобетонов на основе разнопрочных каменных материалов. - М.: ЦБНТИ Минавтодора РСФСР, 1986. - 24 с.

15. СНиП 3.06.03-85. Организация, производство и приемка работ. Сооружения транспорта. Автомобильные дороги / Госстрой СССР. М.: Изд. Госстроя СССР, 1986. - 112 с.

16. ТУ 218 РСФСР 536-85. Смеси органоминеральные влажные для устройства конструктивных слоев дорожных одежд. - М.: ЦБНТИ Минавтодора РСФСР, 1986. - 20 с.

17. Технические правила ремонта и содержания автомобильных дорог: ВСН 24-88 / Минавтодор РСФСР. - М.: Транспорт, 1989. - 198 с.

18. Технические указания по оценке и повышению технико-эксплуатационных качеств дорожных одежд и земляного полотна автомобильных дорог: ВСН 29-76 / Минавтодор РСФСР. - М.: Транспорт, 1978. - 103 с.

19. Технические указания по укреплению обочин автомобильных дорог: ВСН 39-79 / Минавтодор РСФСР. М.: Транспорт, 1980. - 47 с.

20. Технические указания по устройству дорожных покрытий с шероховатой поверхностью: ВСН 38-88 / Минавтодор РСФСР. - М.: Транспорт, 1979 - 56 с.

21. Указания по обеспечению безопасности движения на автомобильных дорогах: ВСН 25-86 / Минавтодор РСФСР. - М.: Транспорт, 1988. - 183 с.

22. Указания по применению дорожных знаков / МВД СССР, Минавтодор РСФСР. - М.: Транспорт, 1984. - 112 с.

23. Указания по разметке автомобильных дорог: ВСН 23-75 / Минавтодор РСФСР. - М.: Транспорт, 1976. - 124 с.

 




ГОСТЫ, СТРОИТЕЛЬНЫЕ и ТЕХНИЧЕСКИЕ НОРМАТИВЫ.
Некоммерческая онлайн система, содержащая все Российские Госты, национальные Стандарты и нормативы.
В Системе содержится более 150000 файлов нормативно-технической документации, действующей на территории РФ.
Система предназначена для широкого круга инженерно-технических специалистов.

Рейтинг@Mail.ru Яндекс цитирования

Copyright © www.gostrf.com, 2008 - 2026