|
|
|
МИНИСТЕРСТВО ЭНЕРГЕТИКИ РОССИЙСКОЙ ФЕДЕРАЦИИ
РЕКОМЕНДАЦИИ
СО 153-34.03.357-2003
Москва 2005 СОДЕРЖАНИЕ
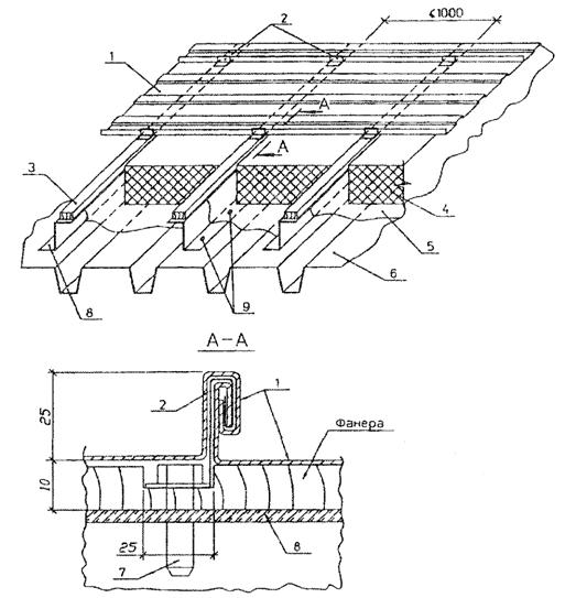
1 ОБЩИЕ ПОЛОЖЕНИЯ1.1 Настоящие Рекомендации СО 153-34,03.357-2003 разработаны в соответствии с действующими строительными нормами и правилами и другими нормативными документами, обеспечивающими требования пожарной безопасности кровельных покрытий главных корпусов действующих ТЭС, с учетом требований Федерального закона «О промышленной безопасности опасных производственных объектов» и предназначены для использования проектными и эксплуатационными организациями при разработке и согласовании проектных решений по ремонту и реконструкции кровельных покрытий главных корпусов действующих ТЭС. 1.2 Настоящие Рекомендации содержат основные технические положения по повышению пожарной безопасности кровельных покрытий (покрытий с применением профилированного стального листа, полимерных горючих утеплителей, а также кровельных покрытий с железобетонными плитами) главных корпусов действующих ТЭС, осуществляемые при ремонте или реконструкции. 1.3 Положения настоящих Рекомендаций в части конструкций кровельных покрытий и применяемых материалов можно использовать при проектировании вновь строящихся и расширяемых электростанций. 1.4 Повышение пожарной безопасности зданий и сооружений обеспечивается выполнением комплекса мер противопожарной защиты, включающего в себя; - установление более жесткого эксплуатационного режима; - повышение огнестойкости конструкций зданий; - обеспечение эвакуации людей при пожаре в соответствии с действующими нормами. Под более жестким эксплуатационным режимом не ТЭС подразумевается: использование в турбоустановках трудногорючего масла ОМТИ; применение специальных ингибиторов для водорода в системах охлаждения генераторов, снижающих опасность взрыва и возгорания; применение генераторов с воздушным и водяным охлаждением, а также кабелей с оболочкой, не распространяющей горения, и другие технологические мероприятия. Эти меры, оказывающие влияние на повышение пожарной безопасности, относятся к технологической части проекта и в настоящих Рекомендациях не рассматриваются. 1.5 В Рекомендациях рассматриваются меры по повышению огнестойкости конструкций кровельных покрытий главных корпусов действующих ТЭС за счет таких конструктивных решений, как: - устройство трехслойной металлической кровли, а также кровли из металлических панелей полной заводской готовности; - замена горючих утеплителей; - замена многослойного рубероидного водоизоляционного ковра на ковер из современных кровельных материалов из одного или двух слоев; - выполнение дополнительных противопожарных мероприятий (огнезащиты несущих конструкций покрытия, устройства противопожарных поясов). 1.6 Выбор способа повышения пожарной безопасности кровельного покрытия на каждом объекте производится руководством ТЭС с привлечением генеральных проектировщиков и специализированных организаций, имеющих лицензии на проведение данных работ. Решения по пожарной безопасности согласовываются с территориальными органами государственной пожарной службы и органами Госэнергонадзора России на местах. 1.7 К выбору конструктивных решений и материалов для кровли машинного отделения главного корпуса предъявляются повышенные требования по пожарной безопасности, так как пожары в нем приводят, как правило, к наиболее тяжелым последствиям и прекращению выдачи электроэнергии и (или) тепла, 1.8 С выходом настоящих Рекомендаций утрачивают силу «Рекомендации по повышению пожарной безопасности кровельных покрытий главных корпусов действующих ТЭС: РД 153-34.1-03.357-00» (М: СПО ОРГРЭС, 2001). 2 ОБСЛЕДОВАНИЕ НЕСУЩИХ И ОГРАЖДАЮЩИХ КОНСТРУКЦИЙ ПОКРЫТИЙ2.1 Решения по ремонту и реконструкции кровельных покрытий главных корпусов ТЭС, направленные на повышение пожарной безопасности, принимаются после проведения комплексных обследований несущих и ограждающих конструкций покрытия и оценки их состояния. Обследования организует руководство ТЭС. 2.2 Для обследования привлекаются специализированные организации, имеющие лицензию на выполнение таких работ и опыт их проведения. 2.3 Обследование выполняется по технической программе, составленной исполнителем и согласованной с заказчиком. 2.4 В процессе обследования выполняются следующие работы: - выявление условий эксплуатации, включая температурно-влажностный режим, и степень агрессивности среды по отношению к конструкциям, особенно к профилированному листу и утеплителю; - определение фактических нагрузок на покрытие, в том числе не предусмотренных проектом (от увеличения слоев гидроизоляционного ковра и стяжек в процессе ремонта, от отложений золы, мусора, складирования материалов, образования наледей и др.); - выявление повреждений и деформаций ограждающих и несущих конструкций покрытия и возможных причин их появления и развития; - определение степени коррозионного износа и снижения несущей способности несущих металлоконструкций (ферм, связей, каркаса панелей, профилированного листа); - выполнение необходимых геодезических измерений прогибов ферм, прогонов, каркасов комплексных панелей; - выявление влажностного, прочностного и общего состояния утеплителя, водоизоляционного ковра и пароизоляции с отбором при необходимости образцов для лабораторных исследований, а также состояния узлов примыкания и системы водостоков с кровли, наличия и состояния защитного гравийного слоя; - уточнение методом контрольных вскрытий в покрытиях из легких металлических конструкций наличия и конструкции противопожарных преград, в том числе закрывающих пустоты в гофрах профилированного листа, а также соответствия их проектной документации. 2.5 По результатам обследования составляется заключение о техническом состоянии конструкций покрытия, в котором дается оценка состояния конструкций кровельного покрытия и содержатся основные данные, необходимые для принятия решений по их ремонту или реконструкции, а также по повышению пожарной безопасности, 3 ОСНОВНЫЕ КОНСТРУКТИВНЫЕ РЕШЕНИЯ ПО ПОВЫШЕНИЮ ПОЖАРНОЙ БЕЗОПАСНОСТИ ПОКРЫТИЙ ПРИ ИХ РЕМОНТЕ И РЕКОНСТРУКЦИИ3.1 На основании результатов комплексного обследования ограждающих и несущих конструкций покрытия и оценки их состояния заказчик совместно с проектирующей организацией принимает решения по повышению пожарной безопасности, ремонту и реконструкции кровельного покрытия главного корпуса ТЭС, Реализацию разработанных и принятых решений рекомендуется, как правило, выполнять при проведении капитального ремонта и реконструкции. 3.2 Разработку мероприятий по повышению надежности облегченных покрытий рекомендуется выполнять по таким основным направлениям, как: - повышение долговечности; - повышение пожаробезопасности. 3.3 В проекте ремонта или реконструкции в зависимости от конструкции и состояния покрытия принимается один из следующих способов повышения пожарной безопасности кровельных покрытий главных корпусов ТЭС: - устройство трехслойной металлической кровли (при уклоне кровли 5% и более); - устройство кровли из металлических панелей полной заводской готовности; - замена горючего утеплителя на негорючий или в отдельных специально обоснованных случаях на слабо- или умеренногорючий с рулонным водоизоляционным ковром. 3.3.1 Трехслойные металлические кровли: 3.3.1.1 Кровля представляет собой два слоя стального профилированного листа специального профиля с дополнительным синтетическим антикоррозионным покрытием, между которыми располагается негорючий утеплитель, Стыковка листов производится закаткой фальцев механическим способом. Устройство трехслойных металлических кровель приведено в приложении А настоящих Рекомендаций, Кровля обеспечивает надежную герметичность стыков, делает возможным применение наиболее эффективных негорючих утеплителей малой плотности независимо от их прочности на сжатие, например URSA отечественного производства. Устройство кровли не требует использования горячих процессов и может производиться при отрицательных температурах наружного воздуха, ограниченных только свойствами стального листа. 3.3.1.2 В зависимости от состояния существующего кровельного покрытия рекомендуется принимать один из следующих способов устройства кровли: а) если стальные конструкции покрытия, включая профилированный лист, находятся в состоянии, пригодном для дальнейшей эксплуатации, существующие водоизоляционный ковер и горючий утеплитель удаляются с кровли, после чего укладывается негорючий утеплитель и устанавливается верхний профилированный лист с помощью специальных Z-образных профилей (кляммеров), прикрепленных к существующему профилированному листу с помощью самонарезающих болтов. Реконструкция покрытия с сохранением существующего профилированного листа приведена на рисунке А.1 приложения А. При производстве работ по удалению горючего утеплителя предусматриваются мероприятия по сохранению целостности стального профилированного листа панелей; б) если стальной профилированный лист подлежит замене, а каркас кровельных панелей (прогоны) находится в пригодном для дальнейшей эксплуатации состоянии, существующий водоизоляционный ковер, утеплитель и профилированный лист удаляются. После этого устанавливаются с использованием каркаса панелей специальные несущие профили с заполнением их негорючим утеплителем и укладкой на них верхнего профилированного листа. Реконструкция покрытия с заменой существующего профилированного листа приведена на рисунке А.2 приложения А; в) если кровельные панели, включая профилированный лист и каркас панелей, не подлежат дальнейшей эксплуатации, предусматриваются элементы балочных клеток и дополнительных связей между стропильными фермами, на них устанавливаются кровельные конструкции, предусмотренные в пункте 3.3.1.2, б. Реконструкция покрытия с удалением существующих кровельных панелей приведена на рисунке А.3 приложения А. 3.3.1.3 Выбор способа устройства кровли и, соответственно, объема реконструкции выполняется с учетом соизмеримости сроков возможной эксплуатации сохраняемых в покрытии конструкций (профилированного листа, каркаса панелей, несущих конструкций) и вновь монтируемых конструкций, 3.3.1.4 При принятии решений об использовании существующих профилированного листа и каркаса панелей учитывается, что эти конструкции в существующих покрытиях одновременно выполняют функции жесткого диска и являются обязательными элементами, обеспечивающими устойчивость ферм покрытия. 3.3.1.5 Толщина утеплителя назначается из условия невыпадения конденсата на внутренней (со стороны помещения) поверхности нижнего профилированного листа. 3.3.2 Металлические панели полной заводской готовности: 3.3.2.1 При реконструкции покрытий главных корпусов ТЭС одним из эффективных решений является применение легких металлических панелей полной заводской готовности, например монопанелей. 3.3.2.2 Панель представляет собой многослойную конструкцию из стального профилированного листа Н57-750-0,7 (0,8) или Н60-845-0,7 (0,8) (оцинкованного или оцинкованного и окрашенного), приформованного к нему слоя трудносгораемого утеплителя из пенопласта «Пенорезол» с одновременным припениванием в заводских условиях кровельного полимерного материала повышенной атмосферостойкости. Конструкция металлической кровельной панели полной заводской готовности приведена в приложении Б настоящих Рекомендаций, Стыки панелей проклеиваются самоклеящейся лентой из кровельного материала на липком слое. Крепление к несущим элементам покрытия осуществляется с помощью самонарезающих винтов, При реконструкции рекомендуется использовать панели длиной до 6,7 м и шириной 750 или 845 мм, что обусловлено размером применяемого профилированного листа. Толщина панелей изменяется от 137 до 200 мм. Масса 1 м2 панели составляет 18 - 23 кг, Панели могут быть использованы в качестве ограждающих конструкций в покрытиях зданий с любым уклоном от 1,5%. 3.3.3 Кровли с рулонным водоизоляционным ковром: 3.3.3.1 При ремонте и реконструкции покрытий главных корпусов ТЭС рулонные кровли в сочетании с негорючими или трудногорючими утеплителями применяются при сохранении в покрытиях пригодных для дальнейшей эксплуатации металлических профилированных листов комплексных панелей, а также при их замене и в покрытиях из железобетонных плит, 3.3.3.2 При ремонте и реконструкции кровли для уменьшения горючей нагрузки на покрытие вместо традиционного водоизоляционного ковра, состоящего, как правило, из четырех, или большего числа слоев рубероида и защитного слоя из гравия, втопленного в слой битума, рекомендуется использовать современные рулонные атмосферостойкие гидроизоляционные материалы, укладываемые в один - два слоя, не требующие устройства защитного слоя из гравия. К этим материалам относятся битумно-полимерные (предпочтительно с основой из полиэфирного нетканого полотна - полиэстра) и вулканизированные эластомерные материалы. 3.3.3.3 В качестве утеплителя в кровельных покрытиях главных корпусов при ремонте и реконструкции принимаются негорючие и трудногорючие материалы с наименьшей плотностью, чтобы не была превышена расчетная проектная нагрузка на несущие конструкции покрытия, Рекомендуется принимать утеплители с прочностью на сжатие не менее 0,1 МПа (1 кгс/см2), позволяющие укладывать гидроизоляционный слой непосредственно на утеплитель. В противном случае устраивается стяжка из цементно-песчаного раствора М100 толщиной 20-40 мм, цементно-стружечных, асбоцементных плит или других аналогичных материалов. 3.3.3.4 Перечень некоторых современных гидроизоляционных и теплоизоляционных материалов, рекомендуемых для использования при ремонте и реконструкции покрытий, приведен в приложении В настоящих Рекомендаций. 3.3.3.5 Если несущая способность конструкций покрытия машинного отделения недостаточна для применения негорючего утеплителя, а усиление их при ремонте невозможно, могут применяться более легкие слабо- или умеренно-горючие утеплители (групп горючести Г1, Г2). 3.3.3.6 В покрытиях других отделений главных корпусов, в том числе котельных отделений, независимо от вида применяемого топлива могут применяться слабо- или умеренно-горючие утеплители (Г1, Г2). 3.3.3.7 При ремонте и реконструкции кровельного покрытия с сохранением в нем профилированного стального листа комплексных панелей предусматриваются мероприятия по сохранению его целостности при выполнении работ по удалению заменяемого гидроизоляционного ковра и утеплителя. В случае необходимости выполняется замена участков профилированного листа с нарушенной оцинковкой или начавшимся процессом коррозионного износа металла на новый профилированный лист. После очистки профилированного листа от остатков утеплителя и грязи выполняется его защитная окраска со стороны утеплителя, 3.3.3.8 При полной замене существующего пришедшего в неработоспособное состояние профилированного листа комплексных панелей или при замене мелкоразмерных железобетонных плит на профилированный лист вновь монтируемый профилированный лист укладывается по существующему каркасу комплексных панелей или прогонам в поперечном направлении здания, предварительно предусматривается его защитная покраска с двух сторон. 3.3.3.9 Выбор способа защиты от коррозии оцинкованного профилированного листа рекомендуется осуществлять в соответствии с действующими строительными нормами. К работам по нанесению антикоррозионных составов привлекаются организации, имеющие лицензии на производство таких работ. 3.3.3.10 При работоспособном состоянии горючего утеплителя (ПСБ-с, ФРП, пенополиуретана) и несущих металлических конструкций покрытия эксплуатация покрытия до проведения комплексной реконструкции осуществляется при условии выполнения таких дополнительных мероприятии, повышающих пожарную безопасность здания, как: - устройство в кровле поясов из негорючих утеплителей; - защита несущих металлоконструкций покрытия, особенно машинных отделений, огнезащитными составами; - вывод на кровлю сухотрубов, оборудованных пожарными кранами с соединительными напорными головками, с периодической проверкой исправности их рабочего состояния. Такая же проверка производится перед проведением работ на кровлях; - устройство «разделок» из негорючих материалов шириной 250 мм в местах прохода труб аварийного и технологического сброса пара через кровлю здания с горючими утеплителями в соответствии с требованиями действующих нормативных документов по проектированию противопожарной защиты энергетических предприятий; - заполнение пустот гофр профилированного листа на длину 250 мм несгораемыми материалами в местах примыкания профилированного листа к стенам, деформационным швам, стенкам фонарей, шахт, водосточным воронкам, трубам технологического оборудования, а также с каждой стороны конька кровли и ендовы. Торцы всех продольных гофр профилированного листа панелей заполняются на длину 250 мм несгораемым материалом или перекрываются листом кровельного оцинкованного железа. 3.3.3.11 Работы по замене сгораемых гидроизоляционных ковров и утеплителей кровельных покрытий главных корпусов ТЭС выполняются без применения открытого огня. 3.3.3.12 Проектирование ремонта и реконструкции кровельных покрытий с водоизоляционным ковром из рулонных материалов без гравийной засыпки выполняется с соблюдением требований действующих строительных норм (СНиП II-26-76 «Кровли»): а) максимально допустимая площадь кровли без гравийной засыпки, а также площадь участков, разделенных противопожарными поясами, принимается по таблице 1; Таблица 1
б) противопожарные пояса выполняются как защитные слои эксплуатируемых кровель шириной не менее 6 м; в) противопожарные пояса пересекают основание под кровлю (в том числе теплоизоляцию), выполненное из материалов групп горючести Г3, Г4, на всю толщину этих материалов. Основанием под кровлю считается материал, расположенный непосредственно под водоизоляционным ковром; г) места пересечения противопожарными стенами рассматриваются как противопожарный пояс, 3.3.3.13 Взамен противопожарных поясов в кровле устраиваются противопожарные преграды в виде разделительных стенок из негорючих материалов в соответствии с требованиями действующих нормативных документов по проектированию противопожарной защиты энергетических предприятий. Разделительные стенки выполняются толщиной не менее 250 мм и возвышаются над кровлей не менее чем на 600 мм. 3.4 На участках кровель, предназначенных для производственных целей (участках обслуживания и ремонта расположенного на кровле оборудования, технологических трубопроводов, выхлопов, водосточных воронок и т.п.), устраиваются решетчатые настилы (металлические или деревянные). Общие рекомендации по устройству кровель из битумно-полимерных, эластомерных гидроизоляционных материалов и плитных утеплителей при ремонте и реконструкции кровельных покрытий приведены в приложении Г настоящих Рекомендаций. 4 ДОПОЛНИТЕЛЬНЫЕ ПРОТИВОПОЖАРНЫЕ МЕРОПРИЯТИЯ4.1 Для повышения огнестойкости стальных конструкций покрытия (ферм, связей, ребр панелей) применяются сертифицированные в лицензионных пожарных центрах или лабораториях огнезащитные составы (вспучивающиеся краски и покрытия), повышающие предел их огнестойкости не менее чем до 0,5 ч, К работам по нанесению огнезащитных составов привлекаются организации, имеющие лицензию на производство таких работ. Для этих целей используются; - огнезащитный состав «Файрекс-400» (ТУ 2316-004-40366225-98), относящийся к третьей группе огнезащитной эффективности при толщине слоя огнезащитного покрытия 11,5 мм и расходе состава не менее 18 кг/м2; - огнезащитная краска по металлу «ФИРЕФЛЕКС» (ТУ 2317-019-40366225-00) в сочетании с грунтовкой ГФ-021 (ГОСТ 25129-82) и покрывным слоем «ТЕМАКЛОР 40» (Финляндия). Эта краска относится к четвертой группе огнезащитной эффективности, повышает предел огнестойкости до 1,0 ч при толщине сухого слоя 1,12 мм и расходе краски 2,9 кг/м2; - огнезащитный терморасширяющийся состав «Огракс-В-СК» (ТУ 5728-021-13267785-00 с изм. 1) по грунтовке ГФ-023, относящийся к четвертой группе огнезащитной эффективности при толщине сухого слоя 1 мм и расходе состава 1,86 кг/м2, 4.2 Нагрузки от огнезащитных покрытий в пределах кровельного покрытия учитываются при проверке несущей способности конструкций покрытия и при его проектировании. Приложение А (рекомендуемое)
|
|||||||||||||||||||||||||||||||||||||||||||||||||||||||||||||||||||||||||||||||||||||||||||||||||||||||||||||||||||||||||||||||||||||||||||||||||||||||||||||||||||||||||||||||||||||||||||||||||||||||||||||||||||||||||||||||||||||||||||||||||||||||||||||||||||||||||||||||||||||||||||||||||||||||||||||||||||||||||||||||||||||||||||||||||||||||||||||||||||||||||||||||||||||||||||||||||||||||||||||||||||||||||||||||||||||||||||||||||||||||||||||||||||||||||||||||||||||||||||||||||||||||||||||||||||||||||||||||||||||||||||||||||||||||||||||||||||||||||||||||||||||||||||||||||||||||||
|
Позиция рис. |
Наименование материала |
Ед. изм. |
Количество на 1 м2 |
|
1 |
Оцинкованный профиль ПГФ25-500-0.6 |
кг |
6,52 |
|
2 |
Кляммер - оцинкованная сталь толщиной 0,6 мм |
кг |
0,04 |
|
3 |
Бакелизированная фанера 30×10 |
м3 |
0,0009 |
|
4 |
Утеплитель URSA M15-М17 |
м3 |
До 0,12 |
|
5 |
Полиэтиленовая пленка |
м2 |
2,0 |
|
6 |
Существующий оцинкованный профиль |
кг |
13,3 |
|
7 |
Самонарезающий винт М6×25 |
кг |
0,0246 |
|
8 |
Гнутый оцинкованный профиль толщиной 2 мм |
- |
- |
|
9 |
Комбинированные заклепки |
- |
- |
Рисунок А.1 - Реконструкция покрытия с сохранением существующего профилированного листа
|
Позиция рис. |
Наименование материала |
ед. изм. |
Количество на 1 м2 |
|
1 |
Оцинкованный профиль ПГФ25-5О0-0.6 |
кг |
6,52 |
|
2 |
Кляммер - оцинкованная сталь толщиной 0,6 мм |
кг |
0,04 |
|
3 |
Бакелизированная фанера 30×10 |
м3 |
0,0009 |
|
4 |
Утеплитель URSA M15-М17 |
м3 |
До 0,12 |
|
5 |
Полиэтиленовая пленка |
м2 |
2,0 |
|
6 |
Оцинкованный профиль С-0,8 |
кг |
13,3 |
|
7 |
Самонарезающий винт М6×25 |
кг |
0,0246 |
|
8 |
Элемент существующей кровельной панели |
- |
- |
Рисунок А.2 - Реконструкция покрытия с заменой существующего профилированного листа
|
Позиция рис. |
Наименование материала |
ед. изм. |
Количество на 1 м2 |
|
1 |
Оцинкованный профиль ПГФ25-5О0-0.6 |
кг |
6,52 |
|
2 |
Кляммер - оцинкованная сталь толщиной 0,6 мм |
кг |
0,04 |
|
3 |
Бакелизированная фанера 30×10 |
м3 |
0,0009 |
|
4 |
Утеплитель URSA M15-М17 |
м3 |
До 0,12 |
|
5 |
Полиэтиленовая пленка |
м2 |
2,0 |
|
6 |
Оцинкованный профиль С-0,8 |
кг |
13,3 |
|
7 |
Самонарезающий винт М6×25 |
кг |
0,0246 |
Рисунок А.3 - Реконструкция покрытия с удалением существующих кровельных панелей
в) замена участков с нарушенной оцинковкой на новый профилированный лист;
г) нанесение специального антикоррозионного покрытия;
д) укладка пароизоляции (полиэтиленовой пленки);
е) раскладка и закрепление Z-образных профилей;
ж) укладка утеплителя;
з) раскладка верхнего листа и завальцовка фальцев, Реконструкция покрытия с сохранением существующего профилированного листа приведена на рисунке А.1 настоящего приложения.
А.1.5.2 При реконструкции с заменой существующего профилированного листа осуществляются:
а) удаление старого водоизоляционного ковра, утеплителя и профилированного листа;
б) очистка элементов каркаса панелей и приварка при необходимости дополнительных элементов;
в) нанесение специального антикоррозионного покрытия;
г) укладка, закрепление и завальцовка нижних профилей;
д) укладка пароизоляции (полиэтиленовой пленки);
е) укладка утеплителя;
ж) раскладка верхнего листа и завальцовка фальцев, Реконструкция покрытия с заменой существующего профилированного листа приведена на рисунке А.2 настоящего приложения.
А.1.5.3 При реконструкции с удалением существующих кровельных панелей осуществляются:
а) удаление старого водоизоляционного ковра, утеплителя и панелей:
б) монтаж необходимых элементов балочных клеток и дополнительных связей между стропильными фермами;
в) нанесение специального антикоррозионного покрытия и затем выполнение операций в соответствии с пунктами А.1.5.2, г - А. 1.5.2, ж настоящего приложения.
А.2 Для выполнения работ по реконструкции кровельного покрытия на ТЭС заказчик выбирает строительно-монтажную организацию, имеющую лицензию на проведение работ данного вида, преимущественно на конкурсной основе.

1 - стальной профилированный лист Н57-750-0.7, Н60-845-0,7 (ГОСТ 24045-94); 2 - пенопласт «Пенорезол» (ТУ 2254-104-04614443-97); 3 - гидроизоляционный кровельный полимерный материал; 4 - прогон; 5 - самонарезающий винт
Рисунок Б.1 - Поперечное сечение

1 - проклейка стыка самоклеющейся лентой из кровельного полимерного материала на липком слое; 2 - самонарезающий винт
Рисунок Б.2 - Продольный стык
|
Материал, технические условия |
Характеристика материала |
Группа
горючести (Г), воспламеня- |
Морозо- |
Водонепрони- |
Тепло- |
Гибкость на брусе при температуре, °С |
|
Битумно-полимерные направляемые |
||||||
|
1. Изопласт, ТУ 5774-005-05766450-2002 |
Рулонный битумно-полимерный материал на стекло- или полиэфирной основе с защитным слоем из посыпки или легкоплавкой пленки. Предназначен для верхних (Изопласт К) и нижних (Изопласт П) слоев кровли |
Г4, В2, РП2 - Изопласт К Г4, В2, РП4 - Изопласт П |
Не выше -25 |
2ч при давлении 0,1 МПа |
+120 |
-15 (R=10 мм) |
|
2. Изоэласт, ТУ 5774-007-05766460-2002 |
Рулонный битумно-полимерный материал на стекло- или полиэфирной основе с защитным слоем из посыпки или полиэтиленовой пленки. Применяется для верхних (Изоэласт К) и нижних (Изоэласт П) слоев кровли |
Г4, В2, РП2 - Изоэласт К Г4, В2, РП3 - Изоэласт П |
Не выше -40 |
2ч при давлении 0,1 МПа |
+90 |
-30 (R=25 мм) |
|
3. Новопласт, ТУ 5774-001 -58590414- 2002 |
Рулонный битумно-полимерный материал на стекло- или полиэфирной основе с защитным слоем из посыпки или легкоплавкой пленки. Предназначен для верхних (Новопласт К) и нижних (Новопласт П) слоев кровли |
Г4, В2, РП2 - Новопласт К Г4, В3, РП4 - Новопласт П |
-25 |
72 ч при давлении 0,001 МПа |
+120 |
-15 (R=10мм) |
|
4. Филизол, ТУ 5774-008-05108038-99 с Изм. № 1 и 2 |
Рулонный битумно-полимерный материал на стекло- или полиэфирной основе с защитным слоем из посыпки или полиэтиленовой пленки. Предназначен для верхних (Филизол В), (Филизол Супер) и нижних (Филизол Н) слоев кровли |
Г4, В2, РП3 |
-25 |
2 ч при давлении 0,1 МПа |
+85 |
-18 (R=25 мм) |
|
5. Люберит, ТУ 5770-001-18060333-95 с Изм. № 1 |
Рулонный битумно-полимерный материал на стекло- или полиэфирной основе с защитным слоем из посыпки или легкоплавкой пленки. Предназначен для верхних (Люберит К) и нижних (Люберит П) слоев кровли |
Г4, В3, РП4 |
-30 |
72 ч при давлении 0,001 МПа |
+85 |
-15 (R=25 мм) |
|
6. Стекломаст, ТУ 21-5744710-519-92 с Изм. №1,2,3,4 |
Рулонный битумный материал на стекло- или полиэфирной основе с защитным слоем из посыпки или легкоплавкой пленки. Предназначен для верхних (Стекломаст К) и нижних (Стекломаст П) слоев кровли |
Г4, В3, РП4 - для Стекломаст К; Г4, В3, РП4 - для Стекломаст П |
Не выше -15 |
72 ч при давлении 0,001 МПа |
+70 |
0 (R=25 мм) |
|
7. Элабит, ТУ 5770-528-00284718-94 с Изм. № 1, 2, 3 |
Рулонный битумно-полимерный материал на стекло- или полиэфирной основе с защитным слоем из посыпки. Предназначен для верхних (Элабит К) и нижних (Элабит П) слоев кровли |
Г4, В3, РП4 |
Не выше -35 |
72 ч при давлении 0,001 МПа |
+85 |
-25 (R=25 мм) |
|
8. Стеклобит, ТУ 21-5744710-515-92 с Изм. №1,2,3,4 |
Рулонный битумный материал на стекло-волокнистой основе с защитным слоем из посыпки или легкоплавкой пленки. Предназначен для верхних (Стеклобит К) и нижних (Стеклобит П) слоев кровли |
Г4, В3, РП4 |
Не выше -15 |
72 ч при давлении 0,001 МПа |
80 |
-15 (R=25 мм) |
|
9. Техноэласт, ТУ 5774-003-00287852-99 |
Рулонный СБС модифицированный наплавляемый материал |
Г4, В3, РП4 |
|
72 ч при давлении 0,001 МПа |
+100 |
-25 (В=10 мм) |
|
10. Техноэласт С, ТУ 5774-005-17925162-2002 |
Рулонный самоклеющийся СБС модифицированный битумно-полимерный материал |
Г4, В3, РП4 |
|
72 ч при давлении 0,001 МПа |
+100 |
-25 (R=10 мм) |
|
11. Техноэласт «Соло», ТУ 5774-003-00287852-99 |
Рулонный СБС модифицированный битумно-полимерный материал на основе из полиэстра с защитной минеральной посыпкой с верхней стороны и песком с нижней. Предназначен для устройства однослойного кровельного ковра без применения открытого огня. Возможна укладка на горячую мастику |
Г4, В3, РП4 |
|
72 ч при давлении 0,001 МПа |
+100 |
-25 (R=10 мм) |
|
12. Техноэласт «Вент» ТУ 5774-003-00287852-99 |
Рулонный СБС - модифицированный битумно-полимерный материал на полиэфирной основе. Предназначен для однослойного кровельного ковра с частичной приклейкой нижней поверхности материала (для создания воздушных каналов для отвода водяных паров) |
Г4, В3, РП4 |
|
72 ч при давлении 0,001 МПа |
+100 |
-25 (R=10 мм) |
|
13. Унифлекс, ТУ 5774-001-17925162-99 |
Рулонный битумно-полимерный материал на стекло- и полиэфирной основе с защитным слоем из посыпки или полиэтиленовой пленки. Предназначен для верхних (Унифлекс К) и нижних (Унифлекс П) слоев кровли |
Г4, В3, РП4 |
|
72 ч при давлении 0,001 МПа |
+90 |
-15 (R=25 мм) |
|
14. Унифлекс «Вент», ТУ 5774-001-17925162-99 |
Рулонный СБС-модифицированный битумно-полимерный материал на синтетической (полиэстр) основе, предназначен для двухслойных «дышащих» кровельных ковров с частичной приклейкой нижней поверхности материала (для создания воздушных каналов для отвода водяных паров) |
Г4, В3, РП4 |
|
72 ч при давлении 0,001 МПа |
+80 |
0 (R=25 мм) |
|
15, Линокром, ТУ 5774-002-13157915-98 |
Рулонный битумно-полимерный материал на стекло- и полиэфирной основе с защитным слоем из посыпки или полиэтиленовой пленки. Применяется для верхних и нижних слоев кровли |
Г4, В3, РП4 |
|
72 ч при давлении 0,001 МПа |
+90 |
-15 (R=25 мм) |
|
16. Бикрост, ТУ 21-00288739-42-93 |
Рулонный битумно-полимерный материал на стекло- и полиэфирной основе с защитным слоем из посыпки или полиэтиленовой пленки. Применяется для верхних и нижних слоев кровли |
Г4, В3, РП4 |
|
72 ч при давлении 0,001 МПа |
+80 |
0 (R=25 мм) |
|
17. Биполь, ТУ 5774-008-17925162-2002 |
Рулонный битумно-полимерный материал на стеклооснове. Применяется для устройства верхних и нижних слоев кровли |
Г4, В3, РП4 |
|
72 ч при давлении 0,001 МПа |
+85 |
-15 (R=25 мм) |
|
18. Экофлекс, TV 5774-003-17925162-00 |
Рулонный битумно-полимерный материал на стекло- и полиэфирной основе. Применяется для верхних и нижних слоев кровли |
Г4, В3, РП4 |
|
72 ч при давлении 0,001 МПа |
+130 |
-10 (R=25 мм) |
|
19. Вестопласт, ТУ 5774-009-17925162-2002 |
Рулонный битумно-полимерный материал на стекло- и полиэфирной основе. Применяется для верхних и нижних слоев кровли |
Г4, В3, РП4 |
|
72 ч при давлении 0,001 МПа |
+130 |
-15 (R=25 мм) |
|
Эластомерные |
||||||
|
1. «Кровлелон-Е» тип А, ТУ 5770-069-25048396-2002 |
Рулонный полимерный материал на основе поливинилхлорида (ПВХ) |
Г1, В3, РП1 |
|
|
+120 |
-40 (R=5 мм) |
|
2, «Огнеизол» ТПА-1, ТУ 5774-001-38976057-2002 |
Рулонный полимерный термопластичный материал на основе стекловолокна |
Г1, В2, РП1 |
|
72 ч при давлении 0,001 МПа |
+80 |
-60 (R=25 мм) |
|
3. «Норфлекс», марка V, ТУ 5774-001-05768042-01 |
Рулонный полимерный армированный материал на основе специальных синтетических каучуков |
Г2, В3, РП1 |
|
1 ч при давлении 0,3 МПа |
+100 |
-35 (R=5 мм) |
|
4. «Эпикром» марки ПиГ, ТУ 5774-001-46439362-99 с Изм. № 1 |
Рулонный полимерный материал на основе синтетического этилен-пропиленового каучука (СКЭПТ) |
Г1, В2, РП1 |
|
72 ч при давлении 0,001 МПа |
+120 |
-60 (R=5 мм) |
|
5. Поликров, ТУ 5774-002-11313564-96 с Изм. № 1 |
Рулонный полимерный материал на основе каучука: марки «Р» - рядовой, марки «АР» - армированный стеклотканью |
Г3, В2, РП4 |
-60 |
|
+100 |
-50 (R=5 мм) |
|
6. Изсшен, ТУ 5774-002-04578851-99 с Изм. №1,2 (изготавливается под заказ) |
Рулонный полимерный материал на основе хлорсульфированного полиэтилена ХСПЭ-20 |
Г2, В2, РП1 - для марки ТА-2 |
|
|
+100 |
-40 (R=15 мм) |
|
7. «СИНТОФОИЛ» марки ST (Италия) |
Мембрана кровельная гидроизоляционная на основе полипропилена с добавлением синтетического каучука |
Г2, В2, РП1 |
|
2 ч при давлении 0,2 МПа |
|
-55 (R=5 мм) |
|
8. «Sikaplan» марки VGWT (Швейцария) |
Кровельная гидроизоляционная мембрана из армированной полимерной пленки на основе мягкого ПВХ, битумонесовместимый |
Г2, В2, РП2 |
|
|
+90 |
-35 (R=5 мм) |
|
9. «Protan» марки SE (Норвегия) |
Кровельная гидроизоляционная мембрана из поливинилхлоридной композиции, армированная полотном на основе полиэфирных волокон |
Г2, В2, РП2 |
|
10 мин при давлении 0,5 МПа |
+80 |
-50 (R=5 мм) |
|
10. «Alkorplan» марки 35276 (Бельгия) |
Кровельная гидроизоляционная мембрана на основе поливинилхлоридной композиции с армирующей сеткой из синтетического волокна |
Г2, В2, РП2 |
|
72 ч при давлении 0,001 МПа |
+90 |
-50 (R=5 мм) |
|
Материал, технические условия |
Характеристика материала |
Группа
горючести (Г), воспламеня- |
Плотность, кг/м3 |
Водопогло- |
Теплопро- |
Прочность на сжатие, МПа |
|
1. Руф Баттс, ТУ 5762-005-45757203-99 |
Минераловатные теплоизоляционные плиты отечественного производства, повышенной жесткости гидрофобизированные, изготовленные из минеральной ваты на основе базальтовых пород |
НГ |
170 |
1,5 |
0,038 |
0,045 |
|
2. Руф Баттс В, ТУ 5762-005-45757203-99, Изм. № 1 |
Минераловатные теплоизоляционные плиты отечественного производства очень жесткие гидрофобизированные, изготовленные из минеральной ваты на основе базальтовых пород. Плиты используются в качестве верхнего теплоизоляционного слоя в многослойных или однослойных конструкциях кровельного покрытия |
НГ |
180 |
1,5 |
0,036 |
0,060 |
|
3. Руф Баттс Н, ТУ 5762-005-45757203-99, Изм. № 1 |
Минераловатные теплоизоляционные плиты отечественного производства жесткие гидрофобизированные, изготовленные из минеральной ваты на основе базальтовых пород. Плиты используются в качестве нижнего теплоизоляционного слоя в многослойных или однослойных конструкциях кровельного покрытия |
НГ |
110 |
1,5 |
0,037 |
0,025 |
|
4. Плиты фирмы «Rockwool» (Дания) |
Минераловатные теплоизоляционные плиты гидрофобизированные, изготовленные из минеральной ваты на основе базальтовых пород. Для теплоизоляции покрытий применяются плиты марок: |
|
|
|
|
|
|
|
- TF-Board - очень жесткая плита, используется в качестве верхнего теплоизоляционного слоя в многослойных или однослойных конструкциях кровли |
НГ |
180 |
1,0 |
0,042 |
0,043 |
|
|
- HARDROCK - жесткая плита, используется в качестве верхнего теплоизоляционного слоя в многослойных или однослойных конструкциях кровли |
НГ |
140 |
1,0 |
0,036 |
0,043 |
|
|
- CUT-TO-FALLS ROOF SLAB и UNDERLAV ROOF SLAB - жесткие плиты, используются в качестве нижнего теплоизоляционного слоя в многослойных конструкциях кровли |
НГ |
110 |
1,0 |
0,035 |
0,025 |
|
5. «Леноплэкс» тип 35, ТУ 5767-002-46261013-99 |
Плиты теплоизоляционные из экструзионного вспененного полистирола |
Г1, В2, РП1, Д3 |
35 |
0,1 |
0,032 |
0,25 |
|
6. «Styrofoam» марки Roofmat (Венгрия) |
Плиты теплоизоляционные из экструдированного пенополистирола |
Г1, В2, Д3 |
32 |
0,2 |
0,028 |
0,3 |
|
7. Плиты «Парок» компании «Партек» (Финляндия) |
Минераловатные плиты на основе базальтового волокна. Для кровельных покрытий в качестве теплоизолирующего слоя применяются плиты: |
НГ |
|
|
|
|
|
|
- ROS 30 - плита, используется в качестве нижнего теплоизоляционного слоя в многослойных конструкциях кровям |
|
95 |
|
0,036 |
0,030 |
|
|
- ROS 50 - жесткая плита, используется в качестве единственного теплоизоляционного слоя в конструкции кровли |
|
155 |
|
0,037 |
0,050 |
|
|
- ROB 60 - плита, повышенной жесткости, используется в качестве единственного теплоизоляционного слоя в конструкции кровли |
|
180 |
|
0,037 |
0,60 |
|
|
- ROB 80 - плита повышенной жесткости, используется в качестве верхнего слоя кровельного теплоизоляционного пирога |
|
230 |
|
0,038 |
0,80 |
|
8. Плиты «NOBASIL» (Словакия) |
Минераловатные теплоизоляционные плиты на основе базальтового волокна с повышенной гидрофобизацией. Для кровельных покрытий в качестве теплоизолирующего слоя применяются плиты марок: |
|
|
|
|
|
|
|
- Т - жесткая плита, используется в качестве нижнего слоя в многослойных конструкциях кровли |
НГ |
120 |
1,0 |
0,035 |
0,3 |
|
|
- JPS - плита, повышенной жесткости, используется в качестве верхнего слоя при плотности 175 и 200 в сочетании с плитой |
НГ |
150 |
1,0 |
0,037 |
0,6 |
|
|
марки «Т» или самостоятельно - STA - плиты из базальтовой ваты с нанесенным на поверхность слоем асфальтовой суспензии |
Г1 (основа НГ) |
150 |
1,0 |
0,037 |
0,6 |
|
9. Плиты «БелТИСМ», ТУ 5767-003-02066339-98 |
Теплоизоляционные плиты из пеностекла |
НГ |
150-180 |
0,1-0,2 |
0,05-0,06 |
0,7-1,6 |
|
10. Плиты ПТТЛ, ТУ 2254-001-04002183-95 |
Плиты теплоизоляционные трудносгораемые для легких конструкций, изготовленные на основе фенолформальдегидной смолы. Плиты выпускаются двух марок: |
Г2, В2, Д2 |
|
|
|
|
|
|
-100; |
|
90-110 |
4,5 |
0,047 |
0,13 |
|
|
-125 |
|
110-135 |
4,0 |
0,05 |
0,18 |
|
11. Пенорезол, ТУ 2254-104-04614443-97 |
Заливочный пенопласт для устройства среднего слоя в трехслойных ограждающих конструкциях |
Г1, В2, Д2 |
100 |
|
0,045-0,052 |
0,15 |
|
12. URSA, ТУ 5763-002-00287697-97, Изм. №1,2 |
Теплоизоляционный материал из стеклянного штапельного волокна. Выпускаются: |
НГ - для марок М-11, М-15, М-17, М-25, П-15, П-17, П-20, П-30 |
|
|
|
|
|
|
- маты URSA марок М-11, М-15, М-17, М-25 |
П - для марок П-35, П-45, П-60, П-75, П-85 |
11-25 |
|
0,038-0,048 |
|
|
|
- полужесткие плиты URSA марок П-15, П-17, П-20, П-30, П-35, П-45, П-60, П-75, П-85 |
|
15-85 |
|
0,035-0,042 |
|
|
13.Консил, ТУ 5767-504-00113543-2003 (изготавливается под заказ) |
Изделия из термостойкого теплоизоляционного строительного материала |
НГ |
180-400 |
20 |
0,06-0,1 |
0,2-1,5 |
|
14. Ячеистый бетон, ГОСТ 5742-87 |
Плитный теплоизоляционный материал |
НГ |
350 |
12 (сорбц.) |
0,101-0,108 |
0,8 |
|
Примечание - Наряду с перечисленными в данном приложении гидроизоляционными и теплоизоляционными материалами могут применяться другие материалы с аналогичными характеристиками, производимые в регионах и имеющие сертификаты соответствия, пожарной безопасности и гигиенические. |
||||||
Г.1.1 Работы по устройству кровель выполняются с учетом требований норм по проектированию кровель, технике безопасности в строительстве, действующих правил по охране труда и противопожарной безопасности, а также действующих инструкций, руководств, рекомендаций и т.д. по устройству кровель с применением конкретного вида теплоизоляционного и гидроизоляционного материала.
Г.1.2 К работам по устройству кровель приступают при наличии технической документации после завершения ремонта несущих и ограждающих конструкций покрытия, проверки правильности выполнения подготовительных работ и приемки их по акту на скрытые работы, а также при обеспечении работ всеми необходимыми материалами и приспособлениями,
Г.1.3 До устройства и ремонта кровли приводятся в технически исправное состояние конструкции покрытия, устройства и оборудование, расположенные на кровле; карнизные свесы, парапеты, температурно-деформационные швы, шахты, свето-аэрационные фонари, водоотводящие элементы кровли, места прохода технологических трубопроводов через кровлю,
Г.2.1 Для устройства и ремонта кровель применяются гидроизоляционные и теплоизоляционные материалы, имеющие сертификаты соответствия, пожарной безопасности и гигиенические.
Г.2.2 Перед началом работ гидроизоляционные, теплоизоляционные и другие используемые материалы подвергаются входному контролю в соответствии с действующими нормами на:
- наличие сопроводительного документа (паспорта), удостоверяющего качество материала;
- соответствие показателей качества, указанных в паспорте, требованиям технических условий на материал;
- состояние упаковки (тары), наличие бирок (этикеток), позволяющих идентифицировать получаемый материал;
- отсутствие внешних повреждений материала,
Г.2.3 Перечень некоторых битумно-полимерных и эластомерных гидроизоляционных материалов, а также негорючих и трудногорючих плитных теплоизоляционных материалов, рекомендуемых для использования при ремонте и реконструкции кровельных покрытий, приведен в приложении В настоящих Рекомендаций.
Г.3.1 До начала теплоизоляционных работ выполняется:
- очистка поверхности панелей из профилированного листа или железобетонных плит покрытия от посторонних предметов, строительного мусора и просушка;
- заделка стыков между железобетонными плитами или панелями из профилированного листа;
- огрунтовка праймером поверхности железобетонных плит покрытия или нанесение защитного лакокрасочного покрытия на внешнюю поверхность профилированных листов;
- устройство пароизоляции.
Г.3.2 Теплоизоляционные работы совмещаются с работами по устройству кровельного ковра. Укладка теплоизоляционных плит и устройство гидроизоляционного ковра (при двухслойном гидроизоляционном ковре нижнего слоя) производятся в одну и ту же смену, либо предусматриваются мероприятия по защите уложенных теплоизоляционных плит от увлажнения атмосферными осадками. Замоченные во время монтажа теплоизоляционные плиты удаляются и заменяются сухими,
Г.3.3 Крепление теплоизоляционных плит к железобетонным плитам и металлическому профилированному листу осуществляется способом наклейки или механическим способом.
Теплоизоляционные плиты укладываются на поверхность пароизоляционного слоя, прижимаются к поверхности основания и плотно стыкуются с ранее уложенными плитами.
Г.3.4 При устройстве теплоизоляции из двух слоев плиты укладываются с «разбежкой» швов. Между собой плиты склеиваются.
Г.3.5 Теплоизоляционные плиты укладываются с плотным прилеганием одна к другой. Если ширина швов между плитами превышает 5 мм, то они заполняются крошкой из теплоизоляционного материала, из которого выполнен утеплитель, или аналогичного по своим теплотехническим характеристикам,
Г.3.6 При превышении по высоте перепадов рядом расположенных теплоизоляционных плит более чем на 3 мм производится срезка выступов или подкладка клинообразных пластин из аналогичного плитного утеплителя, или выравнивание перепадов цементным раствором, легким бетоном.
Г.4.1 Основанием под гидроизоляционный ковер могут служить:
- ровные поверхности теплоизоляционных плит без устройства по ним выравнивающих стяжек;
- выравнивающая стяжка из цементно-песчаного раствора, песчаного асфальтобетона;
- сборная стяжка из асбоцементных листов или цементно-стружечных плит;
- водоизоляционный ковер ремонтируемых кровель.
Г.4.2 Основанию под кровельный ковер предъявляются следующие требования:
- исключается наличие на поверхности основания раковин, впадин, бугров и наплывов, мешающих плотному склеиванию рулонных материалов с основанием и между собой;
- основание очищается от мусора и грязи, обеспыливается, обеспечиваются проектные уклоны к водосточным воронкам;
- цементно-песчаная стяжка по теплоизоляционным плитам выполняется из раствора марки 100 толщиной 20-40 мм. Стяжка из песчаного асфальтобетона выполняется толщиной 20 мм;
- в стяжках выполняются температурно-усадочные швы шириной 5-10 мм, разделяющие стяжку из цементно-песчаного раствора на участки не более 6×6 м, а из песчаного асфальтобетона - не более 4×4 м. На швы укладываются полоски шириной 150-200 мм из рулонного материала, применяемого для устройства кровли;
- при устройстве выравнивающей стяжки по плитному минераловатному утеплителю в целях предохранения его от затекания влаги из цементно-песчаного раствора под стяжку укладывается слой рулонного гидроизоляционного материала или полиэтиленовой пленки;
- поверхности оснований из песчаного асфальтобетона, цементно-песчаного раствора огрунтовываются;
- асбоцементные листы и цементно-стружечные плиты укладываются с плотным прилеганием друг к другу;
- под угловые стыки листов сборной стяжки подкладываются листы из оцинкованной стали толщиной 1,0 мм размерами 200×200 мм. Над стыками листов сборной стяжки укладываются полосы из рулонного материала шириной 100-200 мм, которые приклеиваются по кромкам;
- асбоцементные листы и цементно-стружечные плиты перед укладкой огрунтовываются с обеих сторон.
Г.4.3 В местах примыкания к выступающим конструктивным элементам (стенам, парапетам, бортикам светоаэрационных фонарей, шахтам и т.д.) выполняются наклонные бортики из цементно-песчаного раствора, асфальтобетона или легкого бетона под углом 45° и высотой не менее 100 мм.
В тех случаях, когда основанием под кровлю служат теплоизоляционные плиты, наклонные бортики выполняются из этих же плит и склеиваются с верхней поверхностью теплоизоляционного слоя.
Г.4.4 При ремонте существующей (старой) кровли без замены теплоизоляции и гидроизоляционного ковра:
- существующий кровельный ковер очищается от грязи, мусора, наплывов битума и т.д.;
- с поверхности кровли удаляется вода, влажные участки просушиваются;
- заплаточным методом выполняется ремонт «старой» кровли в местах вздутий, механических повреждений,
Г.4.5 При устройстве кровельного ковра с применением наплавляемых битумно-полимерных материалов ковер выполняется из двух слоев рулонного материала, причем для верхнего слоя применяется материал с крупнозернистой посыпкой,
Г.4.6 Возможно комбинированное сочетание в кровельном ковре битумно-полимерных материалов (например, изопласта с филизолом, стекломастом, рубитексом и т.д.),
Г.4.7 При устройстве кровельного ковра по «старой» рулонной кровле «новая» кровля из битумно-полимерных материалов выполняется в один слой с использованием материалов с крупнозернистой посыпкой,
Г.4.8 При устройстве гидроизоляционного ковра с применением эластомерных материалов кровельный ковер выполняется из одного слоя с последующей окраской поверхности кровли защитными составами.
Г.4.9 У мест примыкания кровельного ковра к стенам, парапетам, карнизным свесам, в коньке кровли, а также в местах пропуска через кровлю технологических труб и воронок внутреннего водостока выполняется усиление основного гидроизоляционного ковра дополнительными слоями.
Г.4.10 Устройство кровельного ковра из битумно-полимерных и эластомерных рулонных материалов выполняется методом наклейки или методом механического крепления.
Г.4.11 При наклейке кровельного ковра обеспечиваются требуемые величины нахлестки полотнищ рулонного материала, плотное прижатие полотнищ к поверхности основания, без образования пузырей, складок, морщин.
Г.4.12 Для обеспечения безопасного ведения работ по устройству и ремонту кровель наклейка наплавляемого битумно-полимерного рулонного материала производится с использованием оборудования, исключающего огневой метод.
|
ГОСТЫ, СТРОИТЕЛЬНЫЕ и ТЕХНИЧЕСКИЕ НОРМАТИВЫ. Некоммерческая онлайн система, содержащая все Российские Госты, национальные Стандарты и нормативы. В Системе содержится более 150000 файлов нормативно-технической документации, действующей на территории РФ. Система предназначена для широкого круга инженерно-технических специалистов. Copyright © www.gostrf.com, 2008 - 2026 |