Крупнейшая бесплатная информационно-справочная система онлайн доступа к полному собранию технических нормативно-правовых актов РФ. Огромная база технических нормативов (более 150 тысяч документов) и полное собрание национальных стандартов, аутентичное официальной базе Госстандарта. GOSTRF.com - это более 1 Терабайта бесплатной технической информации для всех пользователей интернета. Все электронные копии представленных здесь документов могут распространяться без каких-либо ограничений. Поощряется распространение информации с этого сайта на любых других ресурсах. Каждый человек имеет право на неограниченный доступ к этим документам! Каждый человек имеет право на знание требований, изложенных в данных нормативно-правовых актах!

  


 

РОССИЙСКОЕ АКЦИОНЕРНОЕ ОБЩЕСТВО
«РОСАВТОДОР»

НАУЧНО-ТЕХНИЧЕСКОЕ УПРАВЛЕНИЕ

МЕТОДИЧЕСКИЕ РЕКОМЕНДАЦИИ
ПО ИСПЫТАНИЯМ И ОЦЕНКЕ КАЧЕСТВА
ДОРОЖНО-СТРОИТЕЛЬНЫХ МАТЕРИАЛОВ

1994 г.

Введение

Настоящие «Методические, рекомендации по испытаниям и оценке качества дородно-строительных материалов» посвящены описанию методов испытаний и требованиям к ряду основных дорожно-строительных материалов: каменным материалам, органическим вяжущим, асфальтобетону, укреплённым грунтам, минеральным вяжущим и цементобетону.

Измерительная техника, применяемая при испытаниях, должна соответствовать определённым метрологическим требованиям. Технический уровень средств и методов испытаний оказывает влияний на технический уровень дорожно-строительной организации, от которого во многом зависит качество и надёжность транспортных, сооружений.

По мере накопления опыта исследований, строительства и эксплуатации дорог нормативные документы перерабатывают и совершенствуют, вносят изменения в методы испытаний и требования к материалам.

Методы испытаний дорожно-строительных материалов и требования к ним даны в кратком изложении, подробно они приведены в соответствующих нормативных документах.

1. Условия работы материалов в дорожной одежде

Материалы в дорожных одеждах работают в условиях воздействия на них двух групп факторов: нагрузки от колес автомашин и окружающей среды.

Воздействие колес автомашин на дорожную одежду вызывает в материалах, из которых сделаны слои дорожной одежды, различные виды многократно повторяющихся напряжений. Величина напряжений зависит от состава и интенсивности движения, а также от расположения материала в дорожной одежде.

При движении по покрытию колеса автомашин должны иметь достаточное сцепление с верхним слоем покрытия, поэтому каменный материал в этом слое должен иметь шероховатую поверхность, которая не полируется и не истирается при воздействии автотранспорта. В слоях основания из щебня может происходить обламывание кромок, уменьшаться зацепление частиц щебня между собою и нарушаться плотность каменного остова из-за изменения гранулометрического состава каменного материала, если щебень и его гранулометрический состав неверно подобраны.

В процессе эксплуатации дорожной одежды материалы подвергаются воздействию окружающей среды: воды, попеременного замораживания и оттаивания, перепада температур, солнечной радиации, кислорода воздуха, солей, кислот и других агрессивных факторов. Интенсивность воздействия окружающей среды зависит от климатических условий и района расположения автомобильной дороги.

Климатические условия на территории России разнообразны: например, зимой среднемесячная температура воздуха в различных районах страны колеблется от 6 до -48 °С, продолжительность периода с температурой ниже 0 °С составляет до 305 суток. Среднемесячная температура летом изменяется от 4 до 25 °С, а наиболее жаркого месяца до 31 °С. Годовая амплитуда абсолютного минимума и максимума превышает 100 °С, средняя относительная влажность воздуха летом лежит в пределах от 20 до 90 %.

Такое разнообразие климатических условий требует дифференцированного подхода к выбору материалов для устройства различных слоев дорожных одежд с целью обеспечения их надежной работы. Так, например, на напряженное состояние монолитных и сборных цементобетонных покрытий кроме нагрузки от транспортных средств оказывают влияние суточные и сезонные колебания температуры и влажности воздуха, переходы температуры через 0 °С.

Условия эксплуатации конструкций следует учитывать при выборе материалов для их устройства. Например, морозостойкость щебня как крупного заполнителя в бетоне не должна быть ниже проектной морозостойкости бетона. В противном случае бетонное покрытие будет разрушаться из-за разрушения щебня. При многократном замораживании и оттаивании материал может разрушаться из-за того, что лед занимает объем примерно на 9 % больший чем вода, создает давление на стенки пор материала и он разрушается.

Основной причиной шелушения бетонных покрытий является несоответствие морозостойкости верхнего слоя и его прочности климатическим воздействиям и напряжениям от механической нагрузки.

Если для устройства цементобетонных покрытий используют гравий, то прочность такого бетона на изгиб наибольшая из-за пониженного сцепления гравия с цементным камнем.

При использовании тощего бетона в качестве дорожного основания важное значение имеет гранулометрический состав каменных материалов. Если гранулометрический состав тщательно подобран и обладает минимальной пустотностью, то для устройства такого основания требуется минимальное количество вяжущего.

Использование загрязненных заполнителей приводят не только к перерасходу вяжущего материала, но и ухудшает сцепление с цементным камнем, снижению морозостойкости бетона, интенсифицирует процесс шелушения, так как в верхних зонах покрытия скапливаются загрязняющие примеси.

При строительстве дорожных оснований из укрепленных грунтов особое внимание следует уделять выбору вяжущего материала, исходя из химического состава грунта, так как это во многом определит водостойкость, морозостойкость и деформативность укрепленного грунта, срок его службы.

Введение извести в грунты повышает их водоустойчивость. Однако, как показывают лабораторные данные и опыт эксплуатации дорожных конструкций, морозостойкость грунтов, укрепленных известью, невелика. Поэтому применять грунты, укрепленные известью, в конструкциях, подверженных многократному попеременному замораживанию и оттаиванию, нельзя.

Ввиду очень медленного нарастания прочности грунта, укрепленного известью, физико-механические свойства этого материала целесообразно определять спустя 90 и более суток после его изготовления. Это относится и к грунтам, укрепленным золой уноса, золой уноса с добавками цемента или извести, известково-зольными, известково-шлаковыми цементами.

В летний период битум в слое покрытия или основания дорожной одежды должен обладать достаточной прочностью и невысокой деформативностью, иначе появятся деформации в виде волн. Зимой битум в слое дорожной одежды должен обладать достаточной деформативностью, что особенно важно при резком перепаде отрицательных температур, в противном случае появятся трещины.

В первый период эксплуатации дорожной одежды эти трещины не мешают проезду автомашин, но в эти трещины попадает весной вода, проникает в материал и может привести к его разрушению. В дальнейшем ширина трещин увеличивается, идет обламывание кромок и интенсивное разрушение покрытия и нижележащих слоев дорожной одежды.

Битум должен хорошо прилипать к каменному материалу, иначе покрытие будет шелушиться и быстро разрушаться.

Для повышения качества битума в его состав вводят полимерные и поверхностно-активные вещества, что заметно увеличивает сроки службы дорожных одежд.

Солнечная радиация и кислород воздуха способствуют старению органического вяжущего в слоях дорожных одежд, преимущественно в покрытии, что может значительно увеличить жесткость слоев, привести к их растрескиванию и разрушению конструкции.

Различные химические соединения, содержащиеся в окружающей среде, например, воде могут вступать в реакцию с материалами дорожной одежды - цементным камнем, щебнем и др., что приводит к их разрушению вследствие химической коррозии.

Для предотвращения разрушений необходимо, чтобы свойства материалов соответствовали условиям работы их в дорожной одежде. Испытания дорожно-строительных материалов должны моделировать их работу в слоях дорожных одежд с учетом воздействия колес автомашин и окружающей среды.

В процессе строительства материалы должны обладать рядом технологических свойств, без которых невозможно построить качественную дорожную одежду. Например, щебень должен хорошо уплотняться, в противном случае слой дорожной одежды будет неплотным, что может привести к его разрушению. Смеси на основе минеральных вяжущих должны обладать определенными сроками загустевания. При производстве бетонных работ не должны наблюдаться водоотделение и сегрегация смеси с обводнением верхнего слоя покрытия, в противном случае это может вызвать снижение морозостойкости и прочности покрытия.

2. Методы испытаний и оценка качества каменных материалов

Определение минералого-петрографического состава

щебня (гравия)

Минералогический состав щебня (гравия) во многом определяет их физико-механические свойства: прочность, истираемость, устойчивость к воздействию окружающей среды и др.

Для определения минералого-петрографического состава щебня (гравия) необходимы стандартный набор сит, лупы минералогические, набор реактивов, стальная игла, молоток, ступки и чашки фарфоровые, весы настольные гирные и лабораторные.

Щебень, изготовленный из одной горной породы, характеризуется петрографическим составом с указанием пород и минералов, которые могут обладать потенциальной реакционной способностью, проявляющейся при взаимодействии со щелочами цемента в бетоне.

Петрографическую разборку щебня (гравия) производят на основе внешнего осмотра зерен при помощи лупы, используя набор реактивов для минералогического анализа, а также другие, принятие в петрографии методы (с изготовлением в необходимых случаях прозрачных шлифов).

Для этой цели испытываемый щебень (гравий) рассеивают на стандартные фракции и от каждой из них отбирают пробу массой, соответствующей указанной в табл. 1.

При содержании в испытываемом щебне (гравии) какой-либо фракции в количестве, меньшем 5 % по массе, определение минералого-петрографического состава этой фракции не производят.

Пробу промывают и высушивают до постоянной массы, после чего зерна пробы каждой фракции разделяют по генетическим типам пород в соответствии с табл. 2.

Таблица 1

Размер фракции, мм

Масса пробы, кг, не менее

5 - 10

0,25

10 - 20

1,0

20 - 40

5,0

40 - 70

15,0

Св. 70

35,0

Таблица 2

Генетический тип породы

Породы

Осадочные

Известняк, доломит, песчаник, кремень и др.

Изверженные интрузивные

Гранит, габбро, диорит и др.

Изверженные эффузивные

Базальт, порфирит, диабаз и др.

Метаморфические

Кварцит, кристаллические сланцы и др.

Зерна карбонатных пород, подвергавшиеся процессом скремнения более чем на 40 % своего объема, относят к группе кремния. Зерна кварца выделяют в самостоятельную группу.

Кроме этого, выделяют зерна, представленные обломками минералов и пород, наличие которых ограничивается стандартами и техническими условиями на соответствующие виды строительных работ:

а) рудные минералы (пирит, бурый железняк и др.);

б) сернистые и сернокислые соединения (гипс и др.);

в) глинистые сланцы, аргиллиты, мергель;

г) минералы и породы, которые могут обладать потенциальной реакционной способностью: опал, халцедон, кремень и окремнелые породы, вулканические стекла и содержащие их породы;

д) уголь и другие органические примеси.

При наличии минералов, содержащих серу, количество сернистых и сернокислых соединений в пересчете на SO3 определяют методами химического анализа.

В целях уточнения количественного содержания в щебне, граните зерен с включениями аморфных разновидностей кремнезема может быть применен метод термического испытания.

Разобранные по породам (или минералам) зерна щебня (гравия) взвешивают раздельно и вычисляют их содержание Xi в процентах в данной навеске по формуле:

где mi - масса зерен данной породы или минерала, г;

m - общая масса навески, г.

Содержание зерен каждой породы или минерала в пробе щебня (гравия) определяют как средневзвешенное значение их количества во всех фракциях с учетом гранулометрического состава каменного материала.

Определение дробимости щебня (гравия) при сжатии (раздавливании) в цилиндре

Щебень и гравий имеют неправильную форму, поэтому для оценки их прочности определяют дробимость щебня (гравия) в цилиндре и истираемость в полочном барабане, моделирующие работу этого материала в дорожной одежде.

Для определения дробимости щебня (гравия) при сжатии (раздавливании) в цилиндре используют пресс гидравлический с усилием до 100 или 500 кН, цилиндры стальные со съемным дном и плунжером, с внутренними диаметрами 75 и 150 мм, весы настольные, стандартный набор сит, сушильный шкаф, сосуд для насыщения каменного материала водой.

Стальной цилиндр со съемным дном и внутренним диаметром 150 мл заполняют щебнем (гравием) фракции 5 - 10, 10 - 20 мм или 20 - 40 мм, ссыпая его с высоты 5 см. Материал после разравнивания должен быть ниже края цилиндра на 15 мм. Затем в цилиндр вставляют плунжер, плита которого должна быть на уровне верхнего края цилиндра. После этого цилиндр помещают на нижнюю плиту пресса.

Давление пресса на плунжер доводят до 200 кН со скоростью нагружения 1 - 2 кН в секунду. После сжатия пробу щебня взвешивают и просеивают через сито, размер отверстий которого выбирают в соответствии с размером испытываемых фракций (табл. 3).

Таблица 3

Размер фракций, мм

Размер отверстий сита, мм

5 - 10

1,25

10 - 20

2,5

20 - 40

5,0

Показатель дробимости определяют с точностью до 1 % по формуле:

где m - испытываемая навеска щебня (гравия), г;

m1 - остаток на сите после просеивания раздробленной, в цилиндре навески щебня, г.

При испытании щебня (гравия), состоящего из смеси двух или более фракций, показатель дробимости вычисляют как средневзвешенное результатов испытания таких фракций.

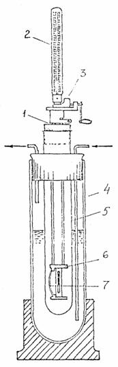
Определение истираемости щебня (гравия) в полочном барабане

Для испытания каменного материала необходим полочный барабан, весы, сушильный шкаф, стандартный набор сит.

Фракции щебня (гравия) загружают в полочный барабан (рис. 1) вместе с чугунными или стальными шарами диаметрам около 48 мм и массой 405 г каждый. Крышку барабана закрепляют и приводят барабан во вращение. Скорость вращения составляет 30 - 33 об/мин.

Массу фракций щебня, количество шаров и оборотов барабана принимают в соответствии с табл. 4.

Таблица 4

Фракции щебня (гравия), мм:

Масса фракции, кг:

Количество шаров

Количество оборотов барабана

5 - 10

5

8

500

5 - 15

5

9

500

10 - 20

5

11

500

20 (25) - 40

10

12

1000

После испытания материал просеивают через сита с размером отверстий 5 и 1,25 мм. Остатки на ситах объединяют вместе и взвешивают.

Рис. 1. Полочный барабан

Истираемость щебня в процентах определяют по формуле:

где m - масса материала до испытания, г;

m1 - масса остатков на сите с размером отверстий 5 и 1,25 мм.

При испытании щебня (гравия), состоящего из нескольких фракций истираемость вычисляет как средневзвешенное результатов испытаний этих фракций.

Определение гранулометрического состава нефракционированного щебня (гравия)

Гранулометрический состав щебня (гравия) свидетельствует о плотности упаковки частиц этого материала, от которой зависит прочность слоев дорожной одежды и их плотность.

Для определения гранулометрического состава нефракционированного гравия необходимы весы настольные и платформенные, сушильный шкаф, набор стандартных сит с отверстиями от 3 до 70 мм, сито с размером отверстий 0,14 мм, калибры проволочные круглые диаметром 90, 100, 110, 120 мм и более в зависимости от предельной крупности испытываемого материала.

При проведении испытания берут пробу гравия в соответствии с табл. 5.

Таблица 5

Наибольшая крупность частиц, мм:

Масса пробы, кг, не менее

до 10

5,0

" 20

10

" 40

20

" 70

30

более 70

50

При этом в состав пробы должны быть включены и песчаные фракции, имеющиеся в испытываемом материале.

Пробу щебня (гравия) тщательно промывают, частицы, прошедшие с водой через нижнее сито с размером отверстий 0,14 мм, отбрасывают. Материал на каждом из сит взвешивают и определяют величину частных остатков на ситах: m0,14; m3; m5 … и выражают их в граммах.

Потом определяют общую массу пробы путем суммирования частных остатков:

åm = m0,14 + m3 + m5 + … + m70

Затем определяют величину частных остатков на каждом из сит в процентах от суммарной пробы:

где mi - остаток на данном сите, г;

åm - общая масса пробы, г.

Далее подсчитывают полные остатки на ситах как сумму частных остатков на данном и всех вышележащих ситах в процентах.

По результатам подсчетов строят кривую гранулометрического состава щебня (гравия).

Размер частиц, соответствующих по кривой просеивания полному остатку равному 5 %, принимают за наибольший диаметр частиц каменного материала, а полному остатку 95 % - за наименьший диаметр.

Значения этих диаметров округляют в большую сторону до ближайшего размера стандартного сита.

Определение содержания в щебне (гравии) пластинчатых (лещадных) и игловатых зерен

При строительстве дорожных одежд следует использовать щебень кубовидной формы. Частицы пластинчатой (лещадной) и игловатой формы разрушаются при уплотнении слоев дорожной одежды, снижают их прочность и плотность.

Для проведения испытания необходимы весы напольные и платформенные, передвижной шаблон или штангенциркуль, стандартный набор сит.

Каменный материал рассеивают по фракциям и от каждой берут пробу в соответствии с табл. 6.

Таблица 6

Фракция щебня (гравия), мм

Масса пробы, кг, не менее

5 - 10

0,25

10 - 20

1,0

20 - 40

5,0

40 - 70

15,0

более 70

35,0

Из каждой фракции каменного материала отбирают частицы, толщина или ширина которых в три и более раза меньше их длины.

Содержание в каждой фракции каменного материала пластинчатых (лещадных) и игловатых частиц в процентах определяют по формуле:

где m - масса частиц пластинчатой (лещадной) и игловатой формы, г;

m1 - масса остальных частиц, г.

Содержание частиц пластинчатой (лещадной) и игловатой формы в пробе всего щебня вычисляют как средневзвешенное их содержания в каждой фракции.

Определение истинной плотности зерен щебня (гравия)

Надежность работы дорожной одежды и ее слоев во многом зависит от пористости каменного материала, которая влияет на такие важные свойства как водостойкость, морозостойкость и др. Для подсчета величины общей пористости каменного материала необходимо определить его истинную и среднюю плотность.

При проведении испытания используют весы настольные гирные или циферблатные, шкаф сушильный, эксикатор, песчаную баню, фарфоровую ступку, пикнометр емкостью 100 мл, фарфоровую чашку, металлическую щетку.

Для определения истинной плотности зерен щебня (гравия) берут пробу в соответствии с табл. 7.

Таблица 7

Наибольшая крупность щебня (гравия), мм

Масса пробы, кг, не менее

10

0,5

20

1,0

40

2,5

70 и более

5,0

Зерна щебня (гравия) очищают металлической щеткой от пыли, измельчают до крупности менее 5 мм, после чего перемешивают и сокращают пробу примерно до 150 г. Полученную пробу вновь измельчают до крупности менее 1,25 мм, перемешивают и сокращают до 90 г. Приготовленную пробу измельчают в порошок в фарфоровой ступке, насыпают в стаканчик для взвешивания, высушивают до постоянной массы и охлаждают в эксикаторе над концентрированной серной кислотой или над безводным хлористым кальцием, после чего отвешивают две навески массой по 10 г каждая.

Каждую навеску насыпают в пикнометр и наливают в него дистиллированную воду не более чем на половину объема, затем пикнометр в слегка наклонном положении ставят в водяную баню и кипятят его содержимое в течении 15 - 20 мин для удаления пузырьков воздуха. После удаления воздуха пикнометр обтирают, охлаждают до комнатной температуры, доливают до метки дистиллированной водой и взвешивают.

Пикнометр освобождают от содержимого, промывают, наполняют до метки дистиллированной водой и взвешивают.

Истинную плотность r в г/см3 вычисляют по формуле:

где m - навеска порошка, высушенного до постоянной массы, г;

m1 - масса пикнометра с дистиллированной водой, г;

m2 - масса пикнометра с навеской и дистиллированной водой после удаления пузырьков воздуха, г;

rв - плотность воды, равная 1 г/см3.

Расхождение между результатами двух определений не должно быть более 0,02 г/см3.

Определение средней плотности зерен щебня (гравия)

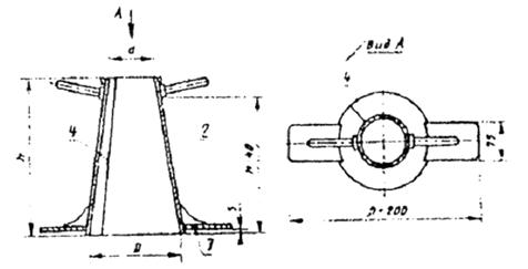
Для проведения испытания необходимы весы настольные гирные или циферблатные, весы технические с приспособлением для гидростатического взвешивания (рис. 2), сосуд для насыщения щебня (гравия) водой и набор стандартных сит.

Для определения средней плотности зерен щебня (гравия) крупностью до 40 мм берут пробу массой около 2,5 кг. При испытании щебня (гравия) фракции крупные 40 мм берут пробу массой около 5 кг зерна крупнее 40 мм дробят до получения частиц размером не более 40 мм и пробу сокращают вдвое.

Пробу высушивают до постоянной массы, просеивают через сито с размером отверстий, соответствующим наименьшему размеру зерен данной фракции щебня (гравия) и из остатка на сите отвешивают две навески до 1000 г каждая.

Навесу щебня (гравия) насыщают водой, погружая их в воду на 2 ч так, чтобы уровень воды в сосуде был выше поверхности образцов или щебня (гравия) не менее чем на 20 мм.

Рис. 2. Весы для гидростатического взвешивания:

1 - сетчатый стакан; 2 - сосуд для воды со сливом; 3 - дробь для уравновешивания сетчатого стакана в воде; 4 - разновесы

Насыщенные образцы щебня (гравия) вынимают из воды, удаляют влагу с их поверхности мягкой влажной тканью и сразу же взвешивают сначала на настольных, а затем на гидростатических весах, помещая пробу в сетчатый стакан, погруженный в воду.

Среднюю плотность g0 в г/см3 вычисляют по формуле:

где m - масса пробы в сухом состоянии, г;

m1 - масса пробы в насыщенном водой состоянии на воздухе, г;

m2 - масса пробы в насыщенном водой состоянии в воде, г;

rв - плотность воды, равная 1 г/см3.

Образцы произвольной формы с мелкими открытыми порами покрывают пленкой парафина толщиной около 1 мм. Для этого высушенный до постоянной массы образец погружают в разогретый парафин и охлаждают на воздухе.

Подготовленный образец взвешивают на настольных, а затем на гидростатических весах.

Среднюю плотность g01 в г/см3 вычисляют по формуле:

где m - масса образца в сухом состоянии, г;

m1 - масса парафинированного образца на воздухе, г;

m2 - масса парафинированного образца в воде, г;

rп - плотность парафина (0,93 г/см3);

rв - плотность воды, равная 1 г/см3.

Определение пористости зерен щебня (гравия)

Пористость зерен определяют на основании предварительно установленных значений истинной и средней плотности зерен щебня (гравия). Объем пор в процентах от объема вычисляют по формуле:

где g0 - средняя плотность зерен, г/см3;

r - истинная плотность зерен, г/см3.

Определение водопоглощения щебня (гравия)

При воздействии воды на щебень или гравий прочность слоев дорожной одежды может снижаться. Уменьшение прочности зависит от количества воды, поглощенной каменным материалом.

Для определения водопоглощения каменного материала необходимы сушильный шкаф, весы, сосуд для насыщения образцов водой, металлическая щетка.

Щебень (гравий) промывают, высушивают до постоянной массы и отбирают пробу в соответствии с табл. 8.

Таблица 8

Наибольшая крупность щебня (гравия), мм:

Масса пробы, кг

до 10 мм

0,5

" 20 "

1,0

" 40 "

2,6

" 70 "

5,0

более 70 "

10,0

Материал укладывают в сосуд с водой, имеющей комнатную температуру, так, чтобы уровень воды в сосуде был выше верха частиц не менее чем на 20 мм.

Через 48 ч щебень (гравий) вынимают из сосуда, удаляют мягкой влажной тканью воду с поверхности частиц и взвешивают их. Если при этом из пор материала вытекает вода, ее включают в массу образца.

Водопоглощение в процентах по массе вычисляют по формуле:

где m - масса щебня (гравия) в сухом состоянии, г;

m1 - масса щебня (гравия) после водопоглощения, г.

Определение морозостойкости щебня (гравия)

При многократном попеременном замораживании и оттаивании насыщенный водой каменный материал может разрушаться. Это происходит из-за того, что объем замерзшего льда на 9 % больше исходного объема воды, что вызывает возникновение больших напряжений в частицах каменного материала, приводящих к разрушению.

Морозостойкость определяют как в результате замораживания и оттаивания в воде, так и при воздействии раствора сернокислого натрия.

Для определения морозостойкости каменного материала необходимы холодильная камера, сушильный шкаф, весы, стандартный набор сит, ванная для насыщения щебня (гравия) водой, металлический сосуд для проведения испытаний.

Перед испытанием щебень рассеивают на фракции и каждую испытывают на морозостойкость. Масса каждой фракции должна соответствовать табл. 9.

Таблица 9

Фракция, мм

Масса фракций, кг

5 - 10

1,0

10 - 20

1,5

20 - 10

2,5

40 - 70

5,0

Каждую фракцию материала насыпают в металлический сосуд слоем «в одну щебенку» и заливают водой, имеющей комнатную температуру.

Через 48 ч сливают воду, помещают сосуд с материалом в морозильную камеру, доводят температуру в ней до минус 17 - 25 °С, и выдерживают эту температуру в течение 4 ч.

После этого сосуд со щебнем (гравием) выдерживают не менее 2 ч в проточной или сменяемой воде, имеющей комнатную температуру, до полного оттаивания щебня (гравия). Затем цикл испытаний повторяют.

Через каждые 25 циклов попеременного замораживания и оттаивания щебень (гравий) высушивают до постоянной массы, просеивают через сито, на котором данная фракция оставалась, и взвешивают остаток на сите.

Расколовшиеся частицы материала фракции 40 - 70 мм считаются неморозостойкими даже если они остались на сите с размером отверстий 40 мм.

Потерю в массе вычисляют в процентах по формуле:

где m - масса пробы (фракции) до испытания, г;

m1 - масса остатка на сите после испытания, г.

Определение морозостойкости щебня (гравия) ускоренным методом в растворе сернокислого натрия

Для проведения испытания необходимы: шкаф сушильный, весы, металлический сосуд, стандартный набор сит.

В начале готовят раствор сернокислого натрия. Для этого отвешивают 250 - 300 г безводного сернокислого натрия или 700 - 1000 г кристаллического сернокислого натрия и растворяют в 1 л подогретой дистиллированной воды.

Сернокислый натрий добавляют постепенно; тщательно перемешивая до образования насыщенного раствора. После этого, раствор охлаждают до комнатной температуры, сливают в стеклянную емкость и оставляют в покое двое суток.

Фракцию каменного материала насыпают в сосуд слоем «в одну щебенку», заливают раствором сернокислого натрия выше уровня материала и выдерживают в течение 20 ч при комнатной температуре.

Затем раствор сливают в бутыль, а каменный материал помещают в сушильный шкаф, где его выдерживают в течение 4 ч при 105 - 110 °С. Потом каменный материал охлаждают до комнатной температуры, вновь заливают раствором сернокислого натрия, выдерживают в течение 4 ч при комнатной температуре, сливают раствор и вновь помещают каменный материал в сушильный шкаф. Насыщение и высушивание каменного материала повторяют требуемое количество раз.

После проведения испытания пробу каменного материала промывают горячей водой, высушивают до постоянной массы и просеивают через сито, на котором каменный материал оставался до испытания.

Остаток на сите взвешивают и подсчитывают потерю в массе каменного материала по формуле:

где m - масса каменного материала до испытания, г;

m1 - масса каменного материала после испытания (остаток на сите), г.

Определение содержания в щебне (гравии) пылевидных, илистых и глинистых частиц отмучиванием

Пылевидные, илистые и глинистые частицы, содержавшиеся в щебне (гравии), снижают прочность дорожной одежды при воздействии воды, ухудшают сцепление каменного материала с вяжущим, что приводит к уменьшению надежности конструкции.

Для проведения испытания необходимы сосуд для отмучивания или цилиндрическое ведро высотой не менее 300 мм с сифоном, шкаф сушильный, весы настольные.

Из щебня или гравия, высушенных до постоянной массы отбирают пробу массой 5 кг при наибольшей крупности частиц каменного материала до 40 мм. Если крупность превышает 40 мм, то масса пробы должна быть 10 кг.

Каменный материал ссыпают в сосуд для отмучивания и заливают водой до уровня щебня (гравия) и дают возможность размокнуть глине, если она имеется в пробе.

Затем доливают воду, чтобы уровень воды был примерно на 20 см выше уровня каменного материала, перемешивают содержимое сосуда и через 2 минуты сливают полученную водную суспензию. После слива уровень воды над материалом должен быть выше на 3 см. Промывку каменного материала повторяют до тех пор, пока вода при сливе станет прозрачной. После отмучивания щебень (гравий) высушивают до постоянной массы.

Содержание в щебне (гравии) пылевидных, илистых и глинистых частиц в процентах по массе вычисляют по формуле:

где m - масса проб до отмучивания, г;

m1 - масса пробы после отмучивания, г.

Определение устойчивости структуры шлакового щебня

При использовании шлакового щебня для строительства дорожных одежд, его следует испытать на распад, который может происходить вследствие ряда химических процессов, протекающих в шлаке.

Для определения устойчивости структуры щебня используют: автоклав электрический, весы торговые, набор сит, ванна, металлическая щетка, мешочки из плотной ткани.

Пробу щебня тщательно промывают, высушивают до постоянной массы и просеивают через сита с отверстиями, соответствующими наибольшей и наименьшей крупности.

От каждой подготовленной фракции отбирают по 2 пробы (объемом 1 л фракции 5 - 10 мм, 10 - 20 мм и (5 л фракции 20 - 40 мм) и взвешивают.

Пробы щебня помещают в мешочки из плотной ткани и погружают в дистиллированную воду на 30 суток. Затем пробу вынимают из воды, высушивают и просеивают через сито, на котором она оставалась до испытания.

Остаток на сите взвешивают и вычисляют потерю в массе Q1 в процентах с точностью до 0,1 по формуле:

где m1 - масса навески, высушенной до постоянной массы до испытания, г;

m2 - масса остатка на сите, высушенного до постоянной массы после испытания, г.

Затем пробы помещают в автоклав или пропаривают в бачке в течение 10 ч. Давление в автоклаве в течение 30 мин доводят до 2 атм. При этом давлении щебень выдерживают в течение 6 ч, после чего давление в течение 20 мин снижают до атмосферного.

Пробу щебня просушивают и просеивают сквозь сито, на котором она оставалась до испытания. Остаток на сите взвешивают и вычисляют потерю в массе Q2 по формуле:

где m1 - масса навески до испытания, г;

m2 - масса навески после испытания, г.

Потеря в массе при испытании щебня yа устойчивость структуры определяется как сумма потерь при испытании в воде и автоклаве.

Оценка качества щебня

В соответствии с [1] пористые каменные материалы подразделяют на марки в зависимости от показателя дробимости при сжатии (раздавливании в цилиндре) (табл. 10). Щебень, в зависимости от его марки, делят на четыре класса (табл. 11).

Щебень из пористых каменных материалов не должен содержать более 30 % частиц пластинчатой (лещадной) формы. Он должен выдерживать на менее 15 циклов попеременного замораживания-оттаивания. При этом потеря массы не должна превышать 10 % для щебня из естественных и 8 % для щебня из искусственных пористых каменных материалов.

Щебень из керамзита должен выдерживать испытания на известняковый распад (потери массы пробы при кипячении не более 5 %), щебень из аглопорита - не более 8 % при испытании на силикатный и железистый распад. Щебень из шлаковой пемзы при испытании на силикатный распад должен иметь потерю массы не более 5 %.

Щебень шлаковый доменный и сталеплавильный для дорожного строительства в соответствии с ГОСТ 3344-73 делят на четыре марки и характеризует его морозостойкость (табл. 12 и 13). Щебень из естественного камня в соответствии с ГОСТ 8267-75 делят на марки по прочности, марки по износу и предъявляют к нему требования по морозостойкости (табл. 14 - 18).

Таблица 10

Марка пористого каменного материала по прочности

Прочность при сжатии (раздавливании) в цилиндре, МПа

керамзита и его разновидностей

щебня аглопоритового

щебня шлако-пемзового

щебня из пористых горных пород:

остальных щебнеподобных материалов

пемз и шлаков

туфов, известняков

П-25

0,5 - 0,7

0,3 - 0,4

0,2 - 0,5

0,2 - 0,3

0,2 - 0,3

0,4 - 0,5

П-35

0,7 - 1,0

0,4 - 0,5

0,3 - 0,4

0,3 - 0,5

0,3 - 0,4

0,5 - 0,7

П-60

1,0 - 1,5

0,5 - 0,6

0,4 - 0,5

0,5 - 0,8

0,4 - 0,6

0,7 - 0,9

П-75

1,5 - 2,0

0,6 - 0,7

0,5 - 0,6

0,8 - 1,0

0,6 - 0,8

0,9 - 1,2

П-100

2,0 - 2,5

0,7 - 0,8

0,6 - 0,8

1,0 - 1,2

0,8 - 1,0

1,2 - 1,5

П-125

2,5 - 3,3

0,8 - 0,9

0,8 - 1,1

1,2 - 1,5

1,0 - 1,2

1,5 - 1,8

П-150

3,3 - 4,5

0,9 - 1,0

1,1 - 1,4

1,5 - 2,0

1,2 - 1,6

1,8 - 2,2

П-200

4,5 - 5,5

1,0 - 1,2

1,4 - 1,8

2,0 - 2,5

1,6 - 2,0

2,2 - 2,7

П-250

5,5 - 6,5

1,2 - 1,4

1,8 - 2,2

2,5 - 3,0

2,0 - 2,5

2,7 - 3,3

П-300

более 8

белее 1,6

более 2,7

более 3,5

белее 3

более 4

Таблица 11

Класс прочности

Марка пористого каменного материала по прочности

керамзита и его разновидностей

щебня аглопоритового

щебня шлако-пемзового

щебня из пористых горных пород:

остальных щебнеподобных материалов

пемз и шлаков

туфов, известняков

1

 

П-300

П-200 и более

П-150 и более

П-200 и более

П-125 и более

2

П-50

П-250

П-200

П-150

П-125

П-150

П-100

3

П-50

П-200

П-150

П-125

П-125

П-100

П-75

П-125

П-100

П-75

4

П-35

П-25

П-100 и меньше

П-100 и меньше

П-50 и меньше

П-75 и меньше

П-50 и меньше

ГОСТ 3344-73                                                                                                         Таблица 12

Класс прочности щебня

Потери в массе при испытании в полочном барабане, % от массы, не более

Потери в массе при испытании на дробимость в цилиндре, % от массы (в водонасыщенном состоянии), не более

1

25

15

2

35

25

3

45

35

4

55

45

ГОСТ 3344-73                                                                                                         Таблица 13

Наименование показателей

Показатели морозостойкости щебня

Мрз-15

Мрз-25

Мрз-50

Мрз-100

Мрз-150

Мрз-200

1. Непосредственным замораживанием:

 

 

 

 

 

 

количество циклов

15

25

50

100

150

200

потеря в массе после испытания, %, не боле

10

10

5

5

5

5

2. В растворе сернокисло натрия:

 

 

 

 

 

 

количество циклов

3

5

10

10

15

15

потеря в массе после испытания, %, не более

10

10

10

5

5

3

ГОСТ 8267-75                                                                                                         Таблица 14

Марка щебня по прочности

Потеря массы, % при определении дробимости щебня

в сухом состоянии

в насыщенном состоянии

1200

До 11

До 11

1000

Св. 11 до 13

Св. 11 до 13

800

" 13 "15

" 13 " 15

600

" 15 "19

" 15 " 20

400

" 19 "24

"20 "28

300

" 24 "28

" 28 " 38

200

" 28 "35

" 38 " 54

ГОСТ 8267-75                                                                                                           Таблица 15

Марка щебня по прочности

Потеря массы, % при определении дробимости щебня

из интрузивных пород

из эффузивных пород

1400

До 12

До 9

1200

Св. 12 до 16

Св. 9 до 11

1000

" 16 " 20

"11 "13

800

" 20 " 25

"13 "15

600

" 25 " 34

" 15 " 20

ГОСТ 8267-75                                                                                                           Таблица 16

Марка щебня по износу

Потеря массы, % при испытании в полочном барабане

И-I

До 25

И-II

Св. 25 до 35

И-III

" 36 до 45

И-IV

" 45 до 60

ГОСТ 8267-75                                                                                                           Таблица 17

Испытания

Марки щебня по морозостойкости

Мрз 15

Мрз 25

Мрз 50

Мрз 100

Мрз 150

Мрз 200

Мрз 300

Замораживанием:

 

 

 

 

 

 

 

а) количество циклов

15

25

50

100

150

200

300

б) потеря в массе после испытания, %, не более

10

10

5

5

5

5

5

В растворе сернокислого натрия:

 

 

 

 

 

 

 

а) количество циклов

3

5

10

10

15

15

15

б) потеря массы после испытания, %, не более

10

10

10

5

5

3

2

В зависимости от марки щебня по прочности содержание в нем пылевидных, глинистых и илистых частиц не должно превышать указанного в табл. 18.

ГОСТ 8267-75                                                                                        Таблица 18

Испытания

Щебень из изверженных и метаморфических пород

Щебень из осадочных пород марок

от 600 до 1200

от 200 до 400

Содержание пылевидных, глинистых и илистых частиц, определяемое отмучиванием, % от массы, не более

1

2

3

В том числе, содержание глины в комках, % от массы, не более

0,25

0,25

0,25

Определение минералого-петрографического состава песка

Для определения минералого-петрографического состава песка необходимы набор стандартных сит, весы технические, сушильный шкаф, микроскоп бинокулярный и микроскоп поляризационный, лупы минералогические, магнит, набор реактивов, стальная игла.

Песок массой 0,5 кг промывают, высушивают и просеивают через сита с размером отверстий 5, 2,5, 1,25, 0,63, 0,315 и 0,14 мм. Для испытания берут пробы с каждого сита в количестве, указанном в табл. 19.

Таблица 19

Фракция, мм

5 - 2,5

2,5 - 1,25

1,25 - 0,63

0,63 - 0,315

0,315 - 0,14

Масса навески, г

25,0

5,0

1,0

0,1

0,01

Навеску каждой фракции высыпают на стекло и рассматривают с помощью бинокулярного микроскопа. Частицы песка с помощью иглы разделяют по генетическим типам пород. Кроме того, выделяют области горных пород и минералов, содержание которых ограничивается в песке для определения видов строительных работ: слюду, глинистые сланцы, опал, халцедон, кремень, уголь и др.

Одновременно определяют форму поверхности частиц песка в каждой фракции и характер ее поверхности в соответствии с табл. 20.

Таблица 20

Форма зерен

Характер поверхности зерен

Пески природные

пески дробленые

Окатанная

Близка к кубической или шарообразной

Гладкая

Угловатая

Плоская или удлиненная

Шероховатая

Содержание пород или минералов в каждой фракции в процентах определяют по формуле:

где - n количество частиц длиной породы или минерала во фракции песка;

N - общее количество частиц во фракции песка.

Содержание частиц каждой горной породы или минералов в пробе песка вычисляют как средневзвешенное результатов определения их количества во всех фракциях с учетом гранулометрического состава песка. Также определяют содержание частиц песка различной формы и с различным характером поверхности.

Определение зернового состава и модуля крупности песка.

Песок в смеси для устройства слоев дорожных одежд должен плотно упаковываться. Это способствует повышению прочности и плотности слоя. Плотность упаковки песка характеризуют зерновой состав и модуль крупности.

Для определения зернового состава песка необходимы набор сит с размером квадратных отверстий 1,25 мм; 0,63 мм; 0,315 мм; 0,14 мм и с круглыми отверстиями диаметром 10,5 и 2,5 мм, сушильный шкаф и весы.

Пробу песка массой 2 кг высушивают до постоянной массы и просеивают через сита с круглыми отверстиями диаметром 10 и 5 мм.

Остатки на ситах взвешивают и определяют содержание в песке фракций гравия 5 - 10 мм и гравия крупнее 10 мм по формулам:

                                                           

где М10 - остаток на сите с отверстиями 10 мм, г;

М5 - остаток на сите с отверстиями 5 мм, г;

М - масса пробы песка, г.

Из пробы песка, прошедшего через сито с отверстиями 5 мм, отбирают навеску массой 1000 г.

Гранулометрический состав песка определяют после предварительной промывки с отмучиванием песка. Содержание отмученных частиц включают в проход через сито с размером отверстия 0,14 мм и в общую массу навески.

Разрешается просеивать навеску без предварительной промывки, если песок не содержит значительного количества глинистых частиц.

Навеску песка просеивают через набор сит с круглыми отверстиями диаметром 2,5 мм и с сеткой с размерами отверстий 1,25, 0,60, 0,315 и 0,14 мм.

По результатам просеивания вычисляют частный остаток на сите, полный остаток и модуль крупности.

Частный остаток на сите определяют по формуле:

где mi - масса остатка на сите, г;

m - масса просеиваемой навески, г.

Полный остаток подсчитывают по формуле:

Аi = а2,5 + а1,25 + … + аi

где а2,5, а1,25, аi - частные остатки на ситах.

Модуль крупности песка определяют по формуле

где А2,5, А1,25 и т.д. - полные остатки на ситах.

Результаты испытаний записывают в виде табл. 21.

Таблица 21

Остатки на ситах, %

Размер отверстий сит, мм:

Содержание частиц мельче 0,14 мм, %

2,5

1,25

0,63

0,315

0,14

Частные

а2,5

а1,25

а0,63

а0,315

а0,14

а< 0,14

Полные

А2,5

А1,25

А0,63

А0,315

А0,14

А< 0,14

Определение содержания пылевидных, глинистых и илистых частиц методом отмучивания

Для проведения испытания по отмучиванию необходимы сосуд для отмучивания, весы, шкаф сушильный, секундомер.

Навеску песка массой 1000 г помещают в сосуд и заливают водой. Уровень воды должен быть выше уровня песка примерно на 200 мм. Песок выдерживают в воде около 2 ч, периодически перемешивая.

Затем песок с водой энергично перемешивают и через 2 мин сливают полученную суспензию, но при этом слой воды над песком должен быть не менее 30 мм. Промывку производят до тех пор, пока вода станет прозрачной. Песок после отмучивания высушивают до постоянной массы.

Содержание в песке отмучиваемых пылевидных, глинистых и илистых частиц в процентах по массе вычисляют по формуле:

где m - масса песка до отмучивания, г;

m1 - масса песка после отмучивания, г.

Определение содержания в песке органических примесей

Для проведения испытаний необходимы весы технические, мерные цилиндры с внутренним диаметром 36 - 40 мм емкостью 250 мм, 3 % раствор едкого натра в однопроцентном растворе этилового спирта.

В мерный цилиндр емкостью 250 мл всыпают песок до уровня 130 мл и заливают 3 % раствором едкого натра до отметки 200 мл. Содержимое цилиндра перемешивают и оставляют в покое на 24 ч, повторяя перемешивание через 4 ч после начала испытания. После этого устанавливают цвет жидкости, находящейся над песком. Как правило, жидкость имеет желтый или коричневый цвет. Если жидкость имеет слабую окраску, то содержимое сосуда подогревают при 60 - 70 °С на водяной бане в течение 2 - 3 ч. Цвет жидкости после испытания сравнивают с цветом эталона.

Эталон готовят следующим образом: готовят 2 %-ный раствор танина в 1 %-ном растворе этилового спирта. Полученный раствор в количестве 5 мл смешивают со 195 мл 3 %-ного раствора едкого натра. Приготовленный таким образом эталон взбалтывают и оставляют в покое на 24 ч. Эталон должен быть свежеприготовленным.

Если жидкость над песком светлее или одинакова по цвету с эталоном, то испытываемый песок пригоден для изготовления бетонных и растворных смесей. Если цвет жидкости темнее цвета эталона, необходимо провести специальное исследование песка для установления его качества.

Определение содержания глины в комках в песке

Для проведения испытаний необходимы сита с размером отверстий 5; 2,5 и 1,25 мм, сушильный шкаф, весы технические, лупа минералогическая и стальная игла.

Среднюю пробу песка просеивают через сито с размером отверстий 5 мм, а затем берут из нее около 100 г песка. Из этой пробы получают две навески следующих фракций:

5 - 2,5 мм - 5,0 г

2,5 - 1,25 мм - 1,0 г

Каждую навеску высыпают тонким слоем на стекло и увлажняют, а затем стальной иглой выделяют комки глины. Выделенные комки глины и частицы песка высушивают раздельно до постоянной массы.

Содержание комков глины в каждой фракции песка в процентах вычисляют по формуле:

                                       

где m и m2 - масса комков глины, г;

m1 и m3 - масса частиц песка, г.

Содержание комков глины в пробе песка Гл в процентах вычисляют по формуле:

где а2,5 и а1,25 - частные остатки на ситах с размером отверстий 2,5 и 1,25 мм, вычисленные при определении гранулометрического состава пробы в процентах.

Определение объемной насыпной плотности песка в партии для перевода количества поставляемого песка из весовых единиц в объемные

Для испытания песка с целью перевода количества поставляемого песка из весовых единиц в объемные необходимы весы, мерный цилиндрический сосуд емкостью 10 л (диаметром и высотой 234 мм), металлическая линейка.

Мерный сосуд емкостью 10 л взвешивают, затем в него всыпают песок с высоты 10 см. Излишек песка над сосудом снимают вровень с краями сосуда металлической линейкой без уплотнения и взвешивают сосуд с песком.

Объемную насыпную плотность в кг/м3 вычисляют по формуле:

где m - масса мерного сосуда, кг;

m1 - масса, мерного сосуда с песком, кг;

V - объем мерного сосуда, м3.

Определение влажности песка

Для определения влажности песка необходимы шкаф сушильный, технические весы и противень.

Для проведения испытания берут среднюю пробу песка массой 1000 г, насыпают в противень и взвешивают. Затем песок сушат до постоянной массы.

Влажность песка в процентах от массы подсчитывают по формуле:

где m - масса песка до высушивания, г;

m1 - масса песка после высушивания, г.

Требования к песку

Пористый песок по зерновому составу подразделяют на крупный, средний и мелкий. Требования к его составу приведены в табл. 22.

Таблица 22

Наименование песка

Содержание частиц материала мельче, мм, %:

5

2,5

1,25

0,63

0,315

0,14

0,071

Крупный

90 - 100

50 - 90

30 - 70

20 - 50

10 - 30

5 - 10

0 - 5

Средний

90 - 100

60 - 90

40 - 80

30 - 70

15 - 50

10 - 25

10 - 15

Мелкий

95 - 100

80 - 95

60 - 90

40 - 85

25 - 60

10 - 30

10 - 20

Содержание в обжиговом песке слабо обожженных частиц не должно превышать 3 % от массы песка.

Требования к природным и дробленым пескам с плотностью свыше 1,8 г/см3, применяемым в материалах для устройства дорожных одежд, изложены в ГОСТ 8736-77 Песок для строительных работ. Технические условия.

3. Методы испытаний и оценка качества минеральных вяжущих

Местные минеральные вяжущие для строительства и ремонта автомобильных дорог получают, в основном, из металлургических шлаков, зол и шлаков тепловых электростанций, побочных продуктов химической, цементной, керамической промышленности и природного сырья.

Эти вяжущие должны содержать твердеющий компонент, обладать определенной тонкостью помола, требуемыми сроками схватывания, равномерностью изменения объема и прочностью при сжатии и изгибе.

Определение активности шлака

Для проведения испытания необходимы прибор ПСХ-2 или Т-3, малый прибор для стандартного уплотнения, гидравлический пресс мощностью 300 - 500 кН, сушильный шкаф, лабораторная мешалка, весы торговые, сито с отверстиями размером 0,071 мм, сферическая чашка, ванна для хранения образцов.

Среднюю пробу шлака массой 5 кг высушивают до постоянной массы и размалывают в шаровой мельнице до остатка 6 - 10 % на сите с размером отверстий 0,071 мм или до удельной поверхности 3000 ± 100 см2/г, определяемой с помощью прибора ПСХ-2 или Т-3.

Затем определяют оптимальное количество воды по максимальной плотности смеси.

Молотый шлак с оптимальным количеством воды перемешивают в течение 2,5 мин в лабораторной мешалке. При отсутствии мешалки шлак с водой перемешивают в сферической чашке в течение 10 мин.

Из шлаковой смеси готовят 10 образцов-цилиндров с высотой и диаметром 50 мм. Эти образцы получают при уплотнении с помощью прибора стандартного уплотнения или пресса при давлении 20 МПа, выдерживаемом в течение 3 мин.

Образцы хранят 7 суток на воздухе при 18 - 20 °С, затем помещают на 19 суток во влажную камеру и после этого в течение 2 суток насыщают водой.

Насыщенные водой образцы испытывают на прессе и определяют предел прочности при сжатии через 28 суток с момента изготовления.

За показатель активности принимают среднее арифметическое значений предела прочности при сжатии 10 образцов.

Определение суммарного содержания активных окисей кальция и магния в кальциевой извести

При проведении испытания используют коническую колбу емкостью 250 мл, стеклянные бусы, стеклянную воронку, прибор для титрования.

Навеску массой 1 г ссыпают в колбу, емкостью 250 мл, и вливают 150 мл дистиллированной воды. Туда же кладут несколько стеклянных бусинок, закрывают часовым стеклом и нагревают воду до кипения в течение 5 - 7 мин.

Раствор охлаждают до комнатной температуры, промывают стенки колбы и часовое стекло кипяченой дистиллированной водой. Затем в раствор добавляют 2 - 3 капли 1 %-ного спиртового раствора фенолфталеина и титруют при постоянном взбалтывании 1 н раствором соляной кислоты до полного обесцвечивания раствора.

Титрование считается законченным, если в течение 8 мин раствор при периодическом взбалтывании остается бесцветным. Содержание активных окисей кальция и магния в негашеной извести определяют по формуле:

где V - объем раствора 1 н соляной кислоты, пошедший на титрование, мл;

ТСаО - титр 1 н раствора соляной кислоты, выраженный в г.

Q - масса навески извести, г.

Содержания активных окисей кальция и магния в гидратной извести вычисляют по формуле:

где W - влажность гидратной извести, %.

Определение суммарного содержания активных окисей кальция и магния в магнезиальной, доломитовой и гидравлической извести

Определение содержания активной окиси кальция сахаратным способом

В коническую колбу емкостью 500 мл всыпают 0,25 мг извести, добавляют 50 мл 10 %-ного раствора сахарозы и энергично взбалтывают в течение 15 мин. Для улучшения перемешивания в колбу помещают несколько стеклянных бус.

Затем в колбу вводят 2 - 3 капли 1 %-ного спиртового раствора фенолфталеина и титруют содержимое 1 н раствором соляной кислоты. Титрование производят каплями до первого исчезновения розовой окраски.

Количество активной окиси кальция вычисляют по формуле:

где V - объем 1 н раствора соляной кислоты, пошедшей на титрование, мл;

ТСаО - титр 1 н раствора соляной кислоты, выраженный в г;

m - масса навески извести, г.

Определение содержания активной окиси магния трилонометрическим методом

В стакан, емкостью 200 - 250 мл, помещают 0,5 г извести, смачивают ее водой и приливают 30 мл 1 н соляной кислоты. Стакан закрывают часовым стеклом и нагревают его содержимое до кипения в течение 8 - 10 мин. Затем часовое стекло ополаскивают дистиллированной водой, раствор охлаждают, переливают в мерную колбу емкостью 250 мл и доливают в нее дистиллированную воду до отметки. Полученный раствор тщательно перемешивают и дают ему отстояться.

Из раствора отбирают с помощью пипетки 50 мл, вливают в колбу емкостью 250 мл, добавляют туда 50 мл дистиллированной воды, 5 - 10 мл аммиачного буферного раствора, 5 - 7 капель кислотного хрома темно-синего индикатора и титруют 0,1 н раствором трилона Б до изменения цвета раствора от красного до синего. После этого отмечают объем V1 трилона Б, пошедший на титрование.

Из этой же мерной колбы берут 25 мл раствора и переливают в коническую колбу емкостью 250 мл. Туда же вливают 100 мл дистиллированной воды, перемешивают, добавляют 3 мл триэтаноламина и 25 мл 20 %-ного раствора едкого калия и снова перемешивают.

Через 1 - 2 минуты добавляют на кончике шпателя флуорексен и титруют раствором трилона Б до перехода розово-зеленой окраски раствора в устойчивую розовую при наблюдении на черном фоне. Отмечают объем V2 израсходованного раствора трилона Б.

Содержание активной окиси магния вычисляют по формуле:

где V1 - объем 0,1 н раствора трилона Б, пошедшего на титрование СаО + MgO, мл;

V2 - объем 0,1 н раствора трилона Б, пошедшего на титрование CaO, мл;

TMgO - титр 0,1 н раствора трилона Б, выраженный в г MgO;

m - масса извести, г;

5 - коэффициент, учитывающий определение MgO в аликвотной части раствора.

Содержание активных окисей кальция и магния А определяется суммой величин А1 + А2.

Определение тонкости помола минеральных вяжущих

Тонкость помола вяжущих влияет на их физико-механические свойства, одним из которых является прочность при сжатии и изгибе.

Для определения тонкости помола минерального вяжущего необходимо сито с сеткой № 008 и прибор дм механического просеивания.

Вяжущее высушивают при 105 - 110 °С до постоянной массы. Навеску 50 г просеиваю через сито. Просеивание считают законченным, если при контрольном просеивании сквозь сито проходит не более 0,05 г вяжущего. Тонкость помола характеризуют остатком на сите в процентах к первоначальной массе просеиваемой пробы с точностью до 0,1 %.

Определение тонкости помола вяжущего по удельной поверхности производит в соответствии с ГОСТ 310.2-76.

Определение сроков схватывания минеральных вяжущих

Сроки схватывания минеральных вяжущих являются технологическим параметром, определяющим время от момента изготовления смеси до ее уплотнения в конструкции.

Для определения сроков схватывания используют прибор Вика с иглой и пестиком, кольцо к прибору Вика и мешалку для приготовления цементного теста.

Сроки схватывания определяют на тесте нормальной густоты. Нормальной густотой теста, перемешанного в мешалке, считают такую консистенцию его, при которой пестик прибора Вика (рис. 3), погруженный в кольцо, заполненное тестом, не доходит на 5 - 7 мм до пластинки, на которое установлено кольцо.

Перед началом испытания проверяют исправность прибора, чистоту поверхности и отсутствие искривлений иглы. Иглу доводят до соприкосновения с поверхностью цементного теста нормальной густоты, приготовленного и уложенного в кольцо. Иглу погружают в тесто каждые 10 мин, передвигая кольцо после каждого погружения для того, чтобы игла не попадала в прежнее место. После каждого погружения иглу вытирают.

Началом схватывания теста считают время, прошедшее от начала затворения его до того момента, когда игла не доходит до пластинки на 1 - 2 мм. Концом схватывания теста считают время от начала затворения до момента, когда игла погружается в тесто не более чем на 1 - 2 мм.

Рис. 3. Прибор Вика:

1 - стержень; 2 - обойма станины; 3 - стопорный винт; 4 - указатель; 5 - шкала; 6 - пестик; 7 - игла

Определение равномерности изменения объема

Вяжущее при затворении водой должно равномерно изменять свой объем, в противном случае, при неравномерности его изменения, в сооружении возникают большие внутренние напряжения, могущие привести к его растрескиванию.

Для проведения испытания необходимы бачок для испытания кипячением и ванна с гидравлическим затвором (рис. 4). Готовят тесто нормальной густоты и из чего делают образцы в виде лепешек диаметром 7 - 8 см и толщиной в центре около 1 см. Образцы заглаживают смоченным водой ножом от наружных краев к центру до образования острых краев и гладкой закругленной поверхности.

Приготовленные образцы хранят 24 часа с момента изготовления, а из медленно твердеющих вяжущих - 48 часов в ванне с гидравлическим затвором, затем помещают на решетку бачка с водой.

Воду в бачке доводят до кипения, которое поддерживают в течение 3 ч, после чего образцы охлаждают и производит их осмотр.

Вяжущее имеет равномерное изменение объема, если на лицевой стороне образца не обнаружено радиальных, доходящих до краев трещин, или сетки мелких трещин, а также каких-либо искривлений и увеличения объема образцов.

Определение предела прочности при сжатии и изгибе

При проведении испытания используют мешалку для перемешивания цементного раствора, чашку и лопатку, встряхивающий столик и форму-конус, штыковку, формы с насадками для изготовления образцов-балочек размером 4´4´16 см, пресс и пластинки для передачи нагрузки.

Вначале испытания определяют нормальную консистенцию раствора. Для этого берут 1500 г нормального вольского песка и 500 г вяжущего, перемешивают, добавляют воду, перемешивают в чаше мешалки в течение 2,5 мин. Затем раствор помещают в форму-конус на половину его высоты и уплотняют штыковкой 15 раз. Потом заполняют конус полностью и штыкуют еще 10 раз. Излишек раствора срезают.

Рис. 4. Ванна с гидравлическим затвором

Конус с раствором помещают на встряхивающий столик (рис. 5), конус снимают, а раствор встряхивают на столике 30 раз со скоростью одно встряхивание в секунду. После этого измеряют штангенциркулем диаметр расплывшегося раствора по нижнему основанию. Консистенция раствора считается нормальной, если диаметр расплыва лежит в пределах 106 - 115 мм. Если диаметр расплыва отклоняется от требуемого, то готовят новый образец с большим или меньшим содержанием воды.

Готовят раствор нормальной густоты, закрепляют формы с укрепленными на них насадками на виброплощадке и в течение первых двух минут заполняют раствором. По истечении 3 мин от начала вибрации виброплощадку отключают, образцы заглаживают и маркируют.

После изготовления образцы хранят в формах в течение 1 - 2 суток в ванне с гидравлическим затвором, затем вынимают из форм и хранят в ванне с водой до момента испытания в течение 28 - 90 суток.

При испытании образец устанавливают на опорные элементы прибора и производят испытание в соответствии с инструкцией, прилагаемой к прибору. Предел прочности при изгибе вычисляют как среднее арифметическое значение из двух наибольших результатов испытания трех образцов.

Полученные при испытании на изгиб 6 половинок балочек испытывают на сжатие. Половинку балочки помещают между двумя пластинками и центрируют на опорной плите пресса. Средняя скорость нарастания нагрузки должна составлять 2 ± 0,5 МПа в секунду. Предел прочности при сжатии вычисляют как среднее арифметическое четырех наибольших результатов испытания шести образцов.

Рис. 5. Встряхивающий столик и форма:

1 - станина; 2 - кулачок; 3 - перемещающаяся часть; 4 - диск; 5 - форма

Требования к минеральным вяжущим

Вяжущие и их активные компоненты должны обладать свойствами, приведенными в табл. 23 в соответствии с ВСН 185-75 Минтрансстроя СССР [2]. Тонкость помола вяжущих должна быть такой, чтобы остаток на сите № 008 не превышал 15 %.

Таблица 23

Наименование показателей

Самостоятельное медленно твердеющее вяжущее

Активный компонент смешанного вяжущего

с цементом

с известью

Содержание свободной окиси кальция, СаО, % от массы

не менее 8

не более 4

Не нормируется

Удельная поверхность, см2/г, не менее

3000

3000

3000

Содержание сернистых и сернокислых соединений, % от массы (в пересчете на SO3) не более

6

3

Не нормируется

Потери при прокаливании, % от массы, не более

5

10

10

Начало схватывания всех вяжущих должно наступать не ранее 2 часов от момента затворения, а конец - не позднее 6 - 8 часов.

Образцы-балочки и их половинки при испытании должны иметь прочность при изгибе и сжатии не меньше величин, указанных в табл. 24 в соответствии с [3].

Таблица 24

Наименование показателей

Сроки испытаний, сутки

Марки

100

200

300

400

500

Предел прочности при изгибе, МПа, не менее

28

1,0

1,5

2,0

2,5

3,0

90

2,0

2,5

3,5

4,5

5,5

Предел прочности при сжатии, МПа, не менее

28

5

10

15

20

25

90

10

20

30

40

50

Требования к извести строительной приведены в ГОСТ 9179-77, а к веществам вяжущим известесодержащим гидравлическим - в ГОСТ 2544-76.

4. Методы испытаний и оценка качества материалов на минеральных вяжущих

Местные минеральные вяжущие находят широкое применение в дорожном строительстве для укрепления грунтов, изготовлении различных смесей для устройства оснований дорожных одежд и других целей. В данном разделе приведены методы испытаний бетонных смесей на местных вяжущих и требования к бетону, укрепленным пористым каменным материалам и грунтам.

Определение удобоукладываемости бетонной смеси

Конус (рис. 6) устанавливают на гладкий металлический лист и заполняют его бетонной смесью через воронку тремя слоями. Каждый слой уплотняют металлическим стержнем 25 раз. В процессе уплотнения конус должен быть плотно прижат к листу, на котором он установлен. После уплотнения избыток смеси срезают вровень с краями конуса.

Рис. 6. Конус для определения удобоукладываемости бетонной смеси:

1 - ручка; 2 - конус прибора; 3 - упоры; 4 - сварной шов

Конус плавно в течение 3 - 7 с снимают с уплотненной смеси и ставят рядом с ней на лист.

На верх металлического конуса кладут ребром линейку и замеряют расстояние от низа линейки до верха бетонной смеси. Осадку конуса характеризуют величиной этого расстояния в см. Осадку конуса бетонной смеси определяют дважды. Время от момента наполнения металлического конуса смесью до конца испытания должно быть не более 10 мин.

Осадку конуса вычисляют как среднее арифметическое двух определений, отличающихся между собой не более чем:

на 1 см при ОК равной или менее 4 см;

на 2 см при ОК = 5 - 9 см;

на 3 см при ОК равной или более 10 см.

Определение жесткости бетонной смеси

На виброплощадке устанавливают и жестко закрепляют цилиндрическое кольцо прибора. В это кольцо вставляют конус и закрепляют его ручками, затем устанавливают воронку.

Конус заливают бетонной смесью, уплотняют ее и снимают конус так же, как при определении удобоукладываемости смеси. Поворачивая штатив, устанавливают диск над отформованной в виде конуса бетонной смесью и плавно опускают его на поверхность смеси. Штатив закрепляют во втулке зажимным винтом.

Включают одновременно вибратор и секундомер и наблюдают за оплыванием бетонного конуса. Вибрирование производят до появления цементного теста из двух отверстий диска. В этот момент выключают секундомер и вибратор. Полученное время (в секундах) характеризует жесткость бетонной смеси.

Жесткость бетонной смеси определяют дважды и вычисляют как среднее арифметическое результатов двух определений. Расхождение между двумя параллельными испытаниями не должно превышать 20 %.

Определение раствороотделения бетонной смеси

Бетонную смесь укладывают в металлическую стандартную форму в виде куба с размером ребра 200 мм и уплотняют. Затем уплотненную бетонную смесь вместе с формой укрепляют на виброплощадке и подвергают вибрированию в течение периода времени, равному 10Ж, где Ж - показатель жесткости бетонной смеси, с. Пластичные смеси вибрируют в форме в течение 25 с.

После этого верхнюю половину смеси из формы кладут на один противень, а нижнюю - на другой. При испытании жестких бетонных смесей можно производить разделение распалубленного образца. Отобранные пробы бетонных смесей взвешивают с точностью до 10 г и подвергают мокрому рассеву на сите с отверстиями 5 мм, промывку зерен заполнителя заканчивают, когда из сита вытекает чистая вода. После этого заполнитель сушат при 105 - 110 °С до постоянной массы.

Содержание раствора в верхней и нижней частях уплотненной бетонной смеси определяют по формуле:

где mк - масса крупного заполнителя, т;

mсм - масса бетонной смеси, г.

Показатель раствороотделения бетонной смеси определяют по формуле:

где DVр - разность между содержанием раствора в верхней и нижней частях образца, %;

SVp - суммарное содержание раствора в верхней и нижней частях образца, %.

Определение прочности бетона

Прочность бетона определяют путем испытания образцов. Формы и размеры образцов, в зависимости от вида испытания бетона, должны соответствовать указанным в табл. 25.

Таблица 25

Вид испытания

Форма образца

Геометрические размеры образца, мм

Определение прочности на сжатие

куб

Длина ребра: 70, 100, 150, 200, 300

Определение прочности на растяжение при изгибе

Призма квадратного сечения

100 ´ 100 ´ 400;

150 ´ 150 ´ 600;

200 ´ 200 ´ 800

За базовый принимают образец с размерами рабочего сечения 150 ´ 150 мм. При производственном контроле бетонов, к которым одновременно предъявляются требования по прочности на растяжение при изгибе и на сжатие, допускается определять прочность бетона на сжатие испытанием половинок образцов-призм, полученных после испытания на изгиб образцов-призм.

Размеры образцов в зависимости от наибольшей крупности заполнителя в пробе бетонной смеси должны соответствовать указанным в табл. 26.

Таблица 26

Наибольший размер зерна заполнителя, мм

Наименьший размер ребра куба или стороны поперечного сечения призмы, мм

10 и менее

70

20

100

40

150

70

200

100 и более

300

Образцы изготовляют сериями. Серия должна состоять из трех образцов. Перед изготовлением образцов внутренние поверхности форм покрывают тонким слоем смазки, не оставляющей пятен на поверхности образцов.

Укладку и уплотнение бетонной смеси и формах производят следующим образом:

а) при изготовлении образцов из бетонной смеси жесткостью более 20 с на форме закрепляют насадку, высотой, равной высоте формы. Форму с насадкой жёстко закрепляют на лабораторной виброплощадке. Затем заполняют бетонной смесью до половины высоты насадки и устанавливают на поверхность смеси пригруз, обеспечивающий давление не менее 0,004 МПа и вибрируют в течение 30 - 60 с до прекращения оседания пригруза. После этого снимают пригруз и насадку, срезают избыток смеси и заглаживают поверхность образца;

б) при изготовлении образцов из бетонной смеси жесткостью менее 20 с форму заполняют смесью, жестко закрепляют на лабораторной виброплощадке и вибрируют до полного уплотнения. Полное уплотнение характеризуют прекращением оседания бетонной смеси, выравниванием ее поверхности и появлением на ней тонкого слоя цементного теста. Поверхность образца заглаживают кельмой.

Лабораторная виброплощадка должна обеспечивать вертикальные колебания формы с бетонной смесью частотой 2900 ± 100 колебаний в минуту и амплитудой 0,5 ± 0,05 мм.

Образцы, твердеющие в нормальных условиях (температура 20 ± 2 °С, влажность воздуха на менее 95 %) после их изготовления до распалубливания хранят в формах, покрытых влажной тканью или другим материалом, исключающим возможность испарения из них влаги, в течение суток из бетонов марок 100 и выше и в течение 2 - 3 суток - из бетонов марок 75 и ниже, а также из бетонов с добавками, замедляющими их твердение в раннем возрасте.

Распалубливание образцов, предназначенных для определения растяжения при изгибе, производят не ранее 4 суток после их изготовления.

Для испытания образцов-призм (балок) на растяжение при изгибе необходимы пресс, устройство для испытания бетона на растяжение при изгибе. Перед испытанием образцы осматривают и в случае необходимости фиксируют схему расположения дефектов. Измерение линейных размеров образцов производят с погрешностью ± 1 %.

Перед установкой образца на пресс с опорных катков тщательно удаляют частицы бетона, оставшиеся от предыдущих испытаний. Затем устанавливают образец и на него - испытательное устройство.

Шкалу силоизмерителя пресса выбирают таким образом, чтобы ожидаемое значение разрушающей нагрузки составляло 20 - 80 % от максимальной, допускаемой выбранной шкалой. Напряжение в образце при его нагружении должно возрастать непрерывно с постоянной скоростью 0,05 ± 0,02 МПа в секунду до разрушения образца.

Если образец разрушился не в средней трети пролета, то этот результат испытания не учитывают. Максимальное усилие, достигнутое в процессе испытания, принимают за величину разрушающей нагрузки.

Прочность на растяжение при изгибе вычисляют по формуле:

где d - масштабный коэффициент прочности бетона в образцах базового размера;

P - разрушающая нагрузка;

l - расстояние между опорами;

a - ширина призмы;

b - высота призмы;

KW - поправочный коэффициент, учитывающий влажность бетонного образца.

Для испытания на сжатие половинок бетонных образцов призм необходимы пресс, стальные прокладки толщиной 20 мм. Прокладки должны быть изготовлены из конструкционной стали твердостью НRC 50 … 60. Поверхность прокладок, прилегающих к образцам, должна иметь параметр шероховатости Ra £ 2,5 мкм. Размеры прокладок в плане равны размеру поперечного сечения образца (100 ´ 100; 150 ´ 150; 200 ´ 200 мм) с допуском +1 мм.

Образцы-половинки призм при испытании на сжатие помещают между двумя металлическими прокладками, которые располагают заподлицо с боковыми гранями призмы на расстоянии 30 ± 2 мм от ее торца.

Напряжение в образце при нагружении должно возрастать непрерывно с постоянной скоростью 0,6 ± 0,2 МПа в секунду до его разрушения. Максимальное усилие, достигнутое в процессе испытания, принимают за величину разрушающей нагрузки.

Прочность образца вычисляют по формуле:

где a - масштабный коэффициент прочности бетона в образцах базового размера (табл. 27);

Р - разрушающая нагрузка;

F - средняя площадь рабочего сечения образца, см2;

KW - поправочный коэффициент, учитывающий влажность бетонного образца.

Таблица 27

Величины масштабного коэффициента

Размер ребра куба, мм

Масштабный коэффициент

70

0,85

100

0,91

150

1,0

200

1,05

300

1,10

Требования к бетонам на местных вяжущих, укрепленным каменным материалам и грунтам

Бетоны на местных вяжущих используют для устройства верхних и нижних слоев оснований одежд автомобильных дорог всех категорий в различных дорожно-климатических зонах нашей страны [3]. Требования к крупнозернистым бетонам приведены в табл. 28, а к мелкозернистым - в табл. 29.

Таблица 28

Марка бетона

Прочность через 90 сут., МПа, не менее

Морозостойкость, циклы, при среднемесячной температуре самого холодного месяца не менее

при изгибе

при сжатии

от 0 до -5 °С

ниже -5 °С

75

1,5

7,5

25

50

100

2,0

10

25

50

Таблица 29

Наименование показателей

На автомобильных дорогах категорий

I - II

III - IV

Предел прочности при сжатии через 90 суток, МПа, в водонасыщенном состоянии не менее

10

10

Предел прочности при изгибе через 90 суток, МПа, не менее

3,5

2,5

Морозостойкость (циклы)

 

 

а) в районах со среднемесячной температурой наиболее холодного месяца от 0 до -5 °С не менее

25

25

б) то же ниже -5 °С не менее

50

50

Требования к пористым каменным материалам, обработанным местными минеральными вяжущими, приведены в табл. 30.

Таблица 30

Наименование показателей

Класс прочности

I

II

III

Предел прочности при сжатии, МПа, водонасыщенных образцов через:

 

 

 

7 суток не менее

0,25

0,15

-

28 суток не менее

0,35

0,20

0,08

60 суток не менее

0,50

0,30

0,15

Предел прочности на растяжение при изгибе, МПа, водонасыщенных образцов через:

 

 

 

7 суток не менее

0,6

0,4

-

28 суток не менее

0,8

0,6

0,3

60 суток не менее

1,2

0,8

0,4

Коэффициент морозостойкости через 28 суток после изготовления образцов не менее

0,75

0,75

0,75

Морозостойкость обработанных минеральными вяжущими пористых материалов, применяемых в слоях оснований, в зависимости от климатических условий и категории дороги, должна соответствовать требованиям табл. 31.

Местные вяжущие используют для укрепления песчаных грунтов и супесей. Физико-механические свойства укрепленных грунтов должны соответствовать требованиям, приведенным в табл. 32.

Таблица 31

Слой дорожной одежды

Категория автомобильной дороги

I - II

III

IV - V

Климатические условия

Суровые

Умеренные

Мягкие

Суровые

Умеренные

Мягкие

Суровые

Умеренные

Мягкие

Верхний слой основания

25

20

15

25

15

10

15

10

-

Низший слой основания

20

15

10

15

10

-

10

-

-

Примечание: суровые климатические условия характеризуются среднемесячной температурой наиболее холодного месяца года ниже -15 °С, умеренного - от -5 до -15 °С, мягкого - до -5 °С.

Таблица 32

Наименование показателей

Классы прочности

I

II

III

Предел прочности при сжатии через 90 суток, МПа, в водонасыщенном состоянии

4 - 6

2 - 4

1 - 2

Предел прочности при растяжении через 90 суток, МПа, в водонасыщенном состоянии не менее

1

0,6

0,2

Коэффициент морозостойкости не менее

0,75

0,70

0,65

5. Методы испытаний и оценка качества сырья для производства нефтяных, вязких, дорожных битумов

Сырьём для производства нефтяных вязких дорожных битумов являются остатки после атмосферно-вакуумной перегонки высокосернистых, высокосмолистых нефтей типа арланской и сернистых смолистых типа западно-сибирских нефтей. При переработке западно-сибирских нефтей допускается получение сырья путём смешения гудрона с АВТ и асфальта деасфальтизации первой ступени.

Определение условной вязкости

Для определения условной вязкости сырья необходимы стандартный вискозиметр (рис. 7), секундомер, мерный цилиндр на 100 мл и фарфоровая чашка.

В водяную баню вискозиметра заливают воду с температурой 82 - 83 °С. Сырьё с такой же температурой заливают в цилиндр до штифта на стержне. Диаметр сточного отверстия цилиндра должен быть равен 5 мм. Когда температура воды и сырья будет 80 °С, приподнимают стержень клапана и сырьё вытекает в мерный цилиндр, поставленный под отверстие цилиндра.

Когда уровень сырья в мерном цилиндре достигнет отметки 25 мл включают секундомер, а когда уровень подойдёт к отметке 75 мл, его выключают. Время истечения 50 мл сырья через сточное отверстие 5 мм при температура 80 °С принимают за условную вязкость. Время истечения измеряют в секундах.

За окончательный результат принимают среднее из двух определений, если расхождение между ними не превышает 10 %.

Температуру вспышки определяют по ГОСТ 4333-48, содержание воды в сырье измеряют в соответствии с ГОСТ 2477-65, а плотность сырья - по ГОСТ 3900-85.

Рис. 7. Стандартный визкозиметр:

1 - водяная баня; 2 - крышка; 3 - цилиндр; 4 - шариковый клапан; 5 - горелка; 6 - мерный цилиндр

Сырьё для производства нефтяных вязких дорожных битумов должно соответствовать техническим условиям Министерства нефтеперерабатывающей и нефтехимической промышленности СССР, согласованным с Минавтодором РСФСР, ТУ 38 101582.

Таблица 33

Требования к сырью по ТУ 38 101582

Наименование

Нормы для марок

Методы испытаний

СБ высшего сорта

СБ первого сорта

КОД ОКП

025864

0102

025864

0101

 

Вязкость при 80 °С и диаметре сточного отверстия 5 мм, с

20 - 40

41 - 60

ГОСТ 11503-74

Температура вспышки, °С, не ниже

190

200

ГОСТ 4333-38

Содержание воды

Следы

Следы

ГОСТ 2477-65

Плотность, г/см3, при 20 °С

0,970 - 0,990

0,980 - 1,000

ГОСТ 3900-85

Рис. 8. Пенетрометр:

1 - опора; 2 - лимб; 3 - кремальера; 4 - стержень с грузом и иглой; 5 - стопорная кнопка; 6 - бюкс с битумом

6. Методы испытаний и оценка качества органических вяжущих

Определение глубины проникания иглы

Глубина проникания иглы характеризует условную вязкость вяжущего, которая связана с такими свойствами как прочность пленки, температура размягчения и хрупкости и др.

Для определения глубины проникания иглы в вяжущее необходимы пенетрометр (рис. 8), чашка металлическая цилиндрическая с плоским дном внутренним диаметром 55 ± 2 мм, водяной термостат, баня водяная вместимостью на менее 10 л и высотой не менее 200 мм, термометры ртутные стеклянные 0 - 50 °С и 0 - 360 °С, секундомер, сито с размером отверстий 0,63 мм, сосуд стеклянный плоскодонный емкостью 1 л, чашка, для расплавления вяжущего.

Для проведения испытания вяжущий материал заливают в стандартную металлическую чашку, охлаждают на воздухе, а затем выдерживают при температуре испытания, например, 25 °С в течение часа, а затем помещает в плоскодонный сосуд с водой, имеющий температуру 25 ± 0,1 °С. Высота слоя воды над поверхностью вяжущего материала должна быть не менее 10 мм. Затем подводят острие иглы к поверхности вяжущего, доводят кремальеру до верхней площадки плунжера, несущего иглу и устанавливают стрелку прибора на 0. Включают секундомер и одновременно нажимают кнопку прибора и через 5 с отпускают ее. После этого доводят кремальеру до верхней площадки плунжера и отмечают показание прибора по шкале.

Глубину проникания при 0 °С определяют по описанной методике со следующими изменениями: вяжущее охлаждают на воздухе в течение 1 - 1,5 ч. В баню наливают воду со льдом, ее температура должна быть 0 ± 0,1 °С. Вяжущее выдерживают при 0 °С в течение 1 - 1,5 ч. На плунжер прибора надевают дополнительный груз - шайбу массой 100 г. Время погружения иглы в вяжущее 60 с.

За величину глубины проникания иглы принимают среднее арифметическое значение результатов не менее трех параллельных измерений. Допускаемые расхождения не должны превышать следующих величин:

Глубина проникания иглы

Допускаемые расхождения, мм-1

0 - 40

2

40 - 130

4

130 - 250

6

Более 250

3 % от среднего арифметического результата

Определение температуры хрупкости

Для определения температуры хрупкости вяжущего необходимы прибор Фрааса (рис. 9), работающий на смеси спирта и твердой углекислоты, со стальными пластинками, ртутный стеклянный термометр, металлическая сетка № 07.

Взвешивают 0,4 г вяжущего и помещают на специальную стальную пластинку. Ее нагревают так, чтобы вяжущее растеклось ровным слоем и выдерживают на воздухе 20 мин. Затем пластинку с вяжущим вставляют в зажимы прибора Фрааса и снижают температуру воздуха в приборе с помощью спирта и сухого льда со скоростью 1 °С в минуту. Начиная с 0 °С пластинку сгибают и возвращают в исходное положение.

Рис. 9. Прибор для определения температуры хрупкости битума:

1 - коаксиальные трубки; 2 - термометр; 3 - клиновидное устройство; 4 - сосуд Дьюара; 5 - пробирка; 6 - захваты; 7 - пластинка с битумом

За температуру хрупкости принимают температуру, при которой появилась трещина в слое вяжущего. За окончательный результат принимают среднее арифметическое из трех определений, расхождения между которыми не должно превышать 2 °С.

Определение температуры размягчения по кольцу и шару

Температура размягчения вяжущего характеризует его теплоустойчивость, что связано с устойчивостью нежестких дорожных покрытий к образованию волн, сдвигов и колеи.

Для проведения испытания применяют: аппарат для определения температуры размягчения (рис. 10), пластинку полированную металлическую или стеклянную, стакан стеклянный диаметром не менее 90 мм и высотой не менее 115 мм, ртутный термометр, сито с размером отверстий 0,63 мм, нож, газовую горелку или электрическую плитку с регулировкой нагрева.

Обезвоженное вяжущее процеживают через сито и тщательно перемешивают до полного удаления пузырьков воздуха. Вяжущее наливают в 2 гладких кольца, охлаждают в течение 20 мин при комнатной температуре. Избыток вяжущего срезают нагретым ножом вровень с краями колец.

Кольца с вяжущим помещают в отверстия на подвеске аппарата. В среднее отверстие подвески вставляют термометр.

Подвеску с кольцами и 2 стальными шариками помещают в баню с водой, имеющей температуру 5 °С. Через 10 мин на поверхность битума кладут стальной шарик и подогревают воду со скоростью 5 ± 0,5 °С в минуту.

Рис. 10. Прибор «Кольцо и шар» для определения температуры размягчения битума:

1 - термометр; 2 - стойка штатива; 3 - шарик; 4 - кольцо; 5 - средняя пластина; 6 - нижняя пластина; 7 - стакан

За температуру размягчения принимают температуру, при которой шарик с вяжущим коснется основания (контрольного диска) аппарата. Допускаемые расхождения между 2 параллельными испытаниями не должно превышать 1 °С.

Определение сцепления органического вяжущего с каменным материалом

Сцепление вяжущего с каменным материалом характеризует его адгезионные свойства, что влияет на водостойкость слоев нежестких дорожных одежд.

При определении сцепления вяжущего с каменным материалом применяют сита металлические с отверстиями размером 2´2 и 5´5 мм, ложку металлическую, стаканы лабораторные, пробирки стеклянные с притертыми пробками, водяную баню, подставку для пробирок, чехол из кошмы или другого теплоизоляционного материала, сетку металлическую № 5 с окантовкой и припаянными проволочными дужками.

Сцепление вяжущего с каменными материалами, используемыми для строительства дорожных одежд - песком и щебнем, оценивают по методу «пассивного» и «активного» сцепления.

Сущность метода заключается в определении способности вязкого вяжущего удерживаться на поверхности каменного материала. Сущность второго метода заключается в определении способности жидкого или вязкого вяжущего сцепляться с поверхностью каменного материала в присутствии воды.

При определении «пассивного» сцепления вяжущего с песком и щебнем дробят щебень и отсеивают фракцию 2 - 5 мм. Щебень и песок промывают дистиллированной водой и сушат при 105 °С до постоянной массы.

Вяжущее нагревают до 105 °С, перемешивают стеклянной палочкой до полного его обезвоживания, затем процеживают через сито с размером отверстий 0,07 мм.

Для проведения испытания готовят смесь, состоящую из 30 г каменного материала и 1,2 г вяжущего. Чашку с материалами выдерживают в термостате при 130 - 140 °С в течение 20 мин, затем вынимают из термостата и тщательно перемешивают. После этого смесь выдерживают при комнатной температуре в течение 20 мин.

На сетку с проволочными дужками и отверстиями 0,25 или 0,5 мл раскладывают ровным слоем половину смеси и опускают в стакан с кипящей дистиллированной водой. Высота слоя воды под сеткой и над смесью должна быть 40 - 50 мм.

Смесь выдерживают в воде в течение 30 мин. Всплывшее вяжущее удаляют фильтровальной бумагой. Затем сетки со смесью переносят в стаканы с холодной водой, где выдерживают 3 - 5 мин, после этого смесь переносят на фильтровальную бумагу.

Поверхность смеси сравнивают с фотографиями контрольных образцов. Вяжущее считают выдержавшим испытание, если после 2 параллельных испытаний внешний вид смеси не хуже изображения контрольного образца.

При определении «активного» сцепления в 3 стеклянные пробирки помещают по 8 г каменного материала, наливают по 10 см3 дистиллированной воды и добавляют по 0,32 г вяжущего. Подготовка материалов производится так же, как и в методе «пассивного» сцепления.

Пробирки закрывают стеклянными пробками и выдерживают в водяной бане в течение 10 мин. При испытании вязких вяжущих температура в бане равна 100 °С, а при испытании жидких - 55 - 60 °С.

Через 10 мин пробирки быстро помещают в чехол из кошмы и встряхивают в специальном приборе в течение 2 мин 280 - 320 раз. После этого смесь из пробирки раскладывают на стеклянную пластинку.

Вяжущее считают выдержавшим испытание, если после 2 параллельных испытаний поверхность смеси не хуже изображения контрольного образца.

Определение растяжимости

Для определения растяжимости вяжущего необходимы: латунные формы, термометр ртутный стеклянный с интервалом измеряемых температур 0 - 50 °С, нож, сито с металлической сеткой и размером отверстий 0,63 мм, пластинка металлическая полированная.

Вяжущее, нагретое до температуры 140 - 160 °С наливают в формы и оставляют охлаждаться при комнатной температуре в течение 30 - 40 мин. Затем избыток вяжущего срезают острым горячим ножом от середины формы к краям. Поверхность вяжущего в форме должна быть вровень с ее краями.

Форму с вяжущим, находящуюся на пластинке, вместо с ней помещают в водяную ванну с температурой 25 ± 0,5 °С, если растяжимость определяют при 25 °С или с температурой 0 ± 0,5 °С, если определение растяжимости производят при 0 °С и выдерживают в ванне 1 ч. Толщина слоя воды над вяжущим должна быть не менее 25 мм.

После выдерживания формы с вяжущим снимают с пластинки и закрепляют в дуктилометре и производят растяжение вяжущего со скоростью 5 мм/мин. Если плотность вяжущего отличается от плотности воды, то в нее, для увеличения плотности, добавляют раствор поваренной соли или глицерин. Если плотность воды нужно уменьшить, в нее добавляют этиловый спирт.

Растяжимость измеряют длиной нити вянущего в сантиметрах в момент ее разрыва. За окончательный результат принимают среднее арифметическое значение трех параллельных испытаний, расхождение между которыми не должно превышать 10 % от среднего арифметического.

Определение содержания водорастворимых соединений

Водорастворимые соединения ухудшают сцепление органического вяжущего с каменным материалом при воздействии воды на нежесткую дорожную одежду, что приводит к снижению ее несущей способности.

При определении содержания водорастворимых соединений применяют: колбы конические емкостью 250 мл, стаканчики для взвешивания емкостью 50 мл, обратный холодильник, сушильный шкаф, сетку металлическую с размером отверстий 0,63 мм.

В коническую колбу отвешивают около 1 г вяжущего с погрешностью не более 0,0002 г, нагревают его и равномерным слоем распределяют по дну колбы. Затем в колбу наливают 25 мл дистиллированной воды, присоединяют к колбе обратный холодильник и кипятят ее содержимое в течение 30 мин.

После этого колбу, не отсоединяя от холодильника, охлаждают до комнатной температуры и пропускают водную вытяжку через фильтр, смоченный дистиллированной водой, в стаканчик, который должен быть взвешен с точностью 0,0002 г. Колбу ополаскивают дистиллированной водой и сливают ее через фильтр в тот же стаканчик. Фильтром выпаривают, не допуская кипения, а сконцентрированный в стаканчике остаток сушат при 100 - 105 °С до постоянной массы (расхождения между последовательными взвешиваниями не должны превышать 0,0004 г).

Содержание водорастворимых соединений в вяжущем вычисляют по формуле:

где m1 - масса стаканчика с сухим остатком, г;

m2 - масса стаканчика, г;

m3 - масса вяжущего, г.

Требования к вязким органическим вяжущим

При нормировании свойств вязких органических вяжущих ориентируются на требования, предъявляемые к вязким дорожным битумам (табл. 34), изложенные в ГОСТ 22245-90.

Определение условной вязкости жидких органических вяжущих

При определении условной вязкости вяжущих применяют: вискозиметр, секундомер, сито с металлической сеткой № 063, посуду фарфоровую лабораторную.

Жидкое вяжущее нагревают до 60 °С, обезвоживают, процеживают через сито и тщательно перемешивают до полного удаления пузырьков воздуха. Пробу жидкого вяжущего, нагретого до 62 - 63 °С, наливают в цилиндр вискозиметра, сливное отверстие которого предварительно закрывают клапаном, а баню наполняют водой, нагретой до 62 - 63 °С.

Когда вяжущее будет иметь температуру 60 °С, открывают сточное отверстие диаметром 5 мм и вяжущее льется в мерный цилиндр, стоящий под сточным отверстием. Когда уровень вяжущего в цилиндре достигнет 25 мл, включают секундомер, а когда уровень равен 75 мл, секундомер включает. За условную вязкость принимают время в с, в течение которого 50 мл вяжущего выливаются из цилиндра вискозиметра в стеклянный измерительный цилиндр.

За результат испытания принимают среднее арифметическое значение двух параллельных испытаний. Допускаемые расхождения при условной вязкости до 40 с составляют 2 с, а при большей вязкости - до 10 % от величины меньшего результата.

Таблица 34

Наименование показателей

Нормы по маркам

БНД 200/300

БНД 130/200

БНД 90/130

БНД 60/90

БНД 40/60

БН 200/300

БН 130/200

БН 90/130

БНД 60/90

Глубина проникания иглы:

 

 

 

 

 

 

 

 

 

а) при 25 °С

201 - 300

131 - 200

91 - 130

61 - 90

40 - 60

201 - 300

131 - 200

91 - 130

60 - 90

б) при 0 °С, не менее

45

35

23

20

13

24

18

15

10

Температура размягчения по кольцу и шару, °С не ниже

35

40

43

47

51

33

3

40

45

Растяжимость, см, не менее:

 

 

 

 

 

 

 

 

 

а) при 25 °С

-

70

65

55

45

-

20

80

70

б) при 0 °С

20

6

4,0

3,5

-

-

-

-

-

Температура хрупкости, °С не выше

-20

-18

-17

-15

-12

-14

-12

-10

-6

Температура вспышки, °С не ниже

20

220

20

20

20

220

20

20

20

 

 

 

 

 

 

-

-

-

-

Изменение температуры размягчения после прогрева, °С не более

7

6

5

5

5

8

7

6

6

Индекс пенетрации

плюс 1 - минус 1

плюс 1 - минус 1,5

Содержание водорастворимых соединений, % не более

0,2

0,2

0,3

0,3

0,3

-

-

-

-

Определение количества разжижителя, испарившегося из жидкого вяжущего

Для проведения испытания применяет: стеклянные лабораторные чашки (Петри), сушильный шкаф, электроплитку, стеклянный термометр, эксикатор, сито с размером отверстий 0,63 мм.

Пробу жидкого вяжущего нагревают до 60 °С и обезвоживают при фильтровании через слой крупнокристаллической свежепрокаленной поваренной соли толщиной 15 - 20 мм.

Вяжущее процеживают через металлическое сито и тщательно перемешивают до полного удаления пузырьков воздуха. В две чашки помещают навески вяжущего толщиной слоя по дну чашки равной 1 мм. Чашки с вяжущим выдерживают в сушильном шкафу при следующих условиях:

Класс вяжущего                        Время выдерживания, ч          Температура, °С

СГ                                                    3                                     160 ± 1

МГ                                                    3                                     110 ± 1

Количество испарившегося разжижителя вычисляют по формуле:

где m - масса жидкого вяжущего до испытания, г;

m1 - масса жидкого вяжущего после испытания, г.

Расхождения между двумя параллельными испытаниями не должны превышать 1,5 %.

Требования к жидким органическим вяжущим

Для оценки качества жидких органическиx вяжущих пользуются требованиями, предъявляемыми к жидким битумам (ГОСТ 11955-82). Требования к жидким битумам приведены в табл. 35.

Таблица 35

Наименование показателей

Нормы по маркам

СГ 40/70

СГ 70/130

СГ 130/200

МГ 40/70

МГ 70/130

МГ 130/200

МГО 40/70

МГО 70/130

МГО 130/200

Условная вязкость по вискозиметру с отверстием 5 мм при 60 °С, с

40 - 70

71 - 130

131 - 200

40 - 70

71 - 130

131 - 200

40 - 70

71 - 130

131 - 200

Количество испарившегося разжижителя, %, не менее

10

8

7

8

7

5

-

-

-

Температура размягчения остатка после определения количества испарившегося разжижителя, °С, не ниже

37

39

39

28

29

30

-

-

-

Температура вспышки, определяемая в открытом тигле, °С, не ниже

45

50

60

100

110

110

120

160

180

Испытание на сцепление с мрамором или песком

Выдерживают в соответствии с контрольным образцом № 2

* Примечание: испытание на сцепление проводят методом «А» для жидких битумов марок МГО, а для марок СГ и МГ - методом «Б».

В дорожном строительстве применяют различные каменноугольные вяжущие - дорожные каменноугольные дегти, составленные и отогнанные дегти, дегти, получаемые при полукоксовании и газификации углей, составленные каменноугольные, дегтебитумные и битумодегтевые вяжущие. Ниже приведен ряд испытаний этих материалов и требования к ним.

Определение фракционного состава каменноугольных вяжущих

Для проведения испытания используют: сушильный шкаф, металлическую круглодонную колбу емкостью 250 мл, стеклянный одношариковый дефлегматор, воздушный холодильник, стеклянные стаканы емкостью 50 - 100 мл, стеклянный цилиндр емкостью 10 мл, ртутный стеклянный термометр.

Перед испытанием пробу дегтя нагревают до 70 - 80 °С тщательно перемешивают. Нижнюю часть стеклянного дефлегматора обматывают асбестовым шнуром, упитанным жидким стеклом с тальком и плотно вставляют в пробку.

Часть дефлегматора, выступающую над пробкой, также уплотняют. Подготовленный дефлегматор с пробкой сушат в течение суток при комнатной температуре, а затем в течение 3 ч в сушильном шкафу при 100 - 105 °С.

Подогретый деготь массой 100 г помещают в предварительно взвешенную колбу, в которую затем вставляют пробку с дефлегматором и термометр. Колбу нагревают газовой горелкой или электроплиткой. При достижении температуры 170 °С из колбы должно выделяться 2 капли дистиллята в 1 с. В процессе перегонки отбирают в цилиндры фракции при 170, 270 и 300 °С. Взвешивание производят с погрешностью не более 0,1 г.

За содержание соответствующей фракции принимают массу дистиллята, отнесенную к первоначальной навеске дегтя, выраженную в процентах.

Расхождения между результатами двух параллельных определений не должны превышать для первой фракции 0,5 г, а для второй и третьей - 1,5 г.

Определение содержания фенолов

Для проведения испытания используют: бюретку Каттвинкеля и коническую колбу емкостью 100 мл.

Нижний шар бюретки Каттвинкеля заполняют 10 %-ным раствором гидроокиси натрия, насыщенным хлористым натрием, до нижнего деления бюретки. Затем приливают 10 - 20 мл бензола и замеряют уровень щелочного слоя.

Часть фракции 170 - 270 °С (2 - 5 г) взвешивают в колбе с погрешностью не более 0,01 г, добавляют 10 - 20 мл бензола и полученный раствор переносят в бюретку Каттвинкеля. Колбу промывают бензолом (30 - 50 мл) и сливают его в бюретку. Бюретку закрывают и содержимое тщательно взбалтывают в течение 5 мин. Затем содержимому дают отстояться в нижнем шаре в течение 1 ч.

Содержание фенола в дегтях вычисляют по формуле:

где 1,040 - средняя плотность фенолов, г/см3;

m1 - масса первой фракции, полученная при определении фракционного состава в интервале температур 170 - 270 °С, г;

m2 - масса первой фракции, взятая для анализа, г;

m3 - масса дегтя, взятая для определения фракционного состава.

Определение содержания нафталина

Для определения содержания нафталина необходимы: термостат, вакуум-насос, колба емкостью 500 мл, воронка Бюхнера, лабораторный термометр, фарфоровый шпатель, часовое стекло.

Часть фракции 170 - 270 °С взвешивают, охлаждают и выдерживают при 15 °С на водяной бане в течение 15 мин.

Выделившийся осадок быстро отфильтровывают с помощью вакуум-насоса на воронке Бюхнера через бумажный фильтр до прекращения выделения масла. Кристаллы, оставшиеся на стенках стакана, присоединяют к осадку. Остаток сушат на фарфоровой пластинке в течение 30 мин. Подсушенный остаток переносят на предварительно взвешенное часовое стекло и взвешивают с точностью до 0,01 г.

Содержание нафталина подсчитывают по формуле:

где m1 - масса первой фракции (170 - 270 °С) при определении фракционного состава, г;

m3 - масса дегтя, взятого для определения фракционного состава, г;

m4 - масса фракции, взятой для анализа, г;

m5 - масса выделенного нафталина, г.

Требования к дегтям каменноугольным для дорожного строительства (ГОСТ 4644-80) приведены в табл. 36, к остальным вяжущим и их составляющим - в Руководстве по применению каменноугольных вяжущих в дорожном строительстве [4].

При строительстве дорожных одежд из местных материалов широко используют битумные эмульсии. Они бывают анионные (ЭБА) и катионные (ЭБК). По смешиваемости с минеральными материалами каждый вид эмульсии подразделяют на три класса: анионные - ЭБА-1, ЭБА-2, ЭБА-3; катионные - ЭБК-1, ЭБК-2, ЭБК-3. Ниже приведены методы испытаний эмульсий и требования к ним.

ГОСТ 4644-80                                                                                       Таблица 36

Наименование показателей

Нормы по маркам

Д-1

Д-2

Д-3

Д-4

Д-5

Д-6

Вязкость, с, в пределах: С305 *

5 - 70

-

-

-

-

-

С3010

-

5 - 20

20 - 50

50 - 120

120 - 200

-

С5010

-

-

-

-

-

10 - 80

Содержание воды, % по массе, не более

3

1

1

1

1

1

Содержание веществ, не растворимых в феноле, % по массе, не более

18

20

20

20

20

20

Перегоняемый фракционный состав, % по массе, не более:

 

 

 

 

 

 

при температурах: до 170 °С

3

2

1,5

1,5

1,5

1,5

до 270 °С

20

20

15

15

15

15

до 300 °С

35

30

25

25

25

20

Температура размягчения остатка после отбора фракций до 300 °С, °С, не более

45

65

65

65

65

70

Содержание фенолов, % по массе, не более

5

3

2

2

2

2

Содержание нафталина, % по массе, не более

5

4

3

3

3

3

* Примечание: Буква С обозначает вязкость. Цифра вверху обозначает диаметр сточного отверстия прибора в мм. Цифра внизу обозначает температуру материала при испытании, °С.

Определение смешиваемости эмульсии с минеральными материалами

Для проведения испытания необходимы весы технические до 1 кг 3-го класса точности, секундомер, сушильный шкаф, стеклянный цилиндр емкостью 100 мл, сосуд емкостью не менее 3 л, шпатель или лопатка фарфоровые.

а) Смешиваемость эмульсии с минеральными материалами плотного гранулометрического состава.

Готовят смесь из 270 г щебня, 200 г песка и 30 г минерального порошка. Смесь увлажняют 15 мл воды и тщательно перемешивают, а затем вливают в смесь 55 мл эмульсии и перемешивают в течение 45 с. Если эмульсия покрыла сплошной пленкой без сгустков вяжущего поверхность частиц каменного материала, то считают, что эмульсия хорошо смешивается с каменным остовом плотного состава.

б) Смешиваемость эмульсии с минеральными материалами пористого гранулометрического состава.

Для проведения испытания берут 325 г щебня, 175 г песка, смешивают их с 10 мл воды, затем добавляют 45 мл эмульсии и перемешивают смесь в течение 45 с.

Дальнейшее испытание и оценку смешиваемости производят по аналогии с испытанием, изложенным в пункте «а».

Определение сцепления пленки вяжущего с минеральными материалами

Для проведения испытания используют: весы технические до 1 кг не ниже 3-го класса точности, шкаф сушильный, секундомер, песчаную баню, штатив, стакан химический термостойкий емкостью не менее 500 мл, асбестовую сетку.

Пробу щебня промывают и высушивают в термостате при 105 °С. Частицы щебня обвязывают ниткой, погружают в стакан с дистиллированной водой на 1 - 2 с, а затем 2 - 3 раза окунают в эмульсию и подвешивают на штативе. Через сутки каждую обработанную эмульсией частицу щебня (щебенку) погружают в подвешенном на нитке состоянии в кипящую дистиллированную воду на 30 мин.

Если после испытания не менее 75 % поверхности щебенки, обработанной анионной эмульсией, и не менее 95 % поверхности щебенки, обработанной катионной эмульсией, покрыто пленкой вяжущего, то считают, что пленка вяжущего хорошо прилипает к поверхности каменного материала.

Испытание эмульсий с местными вяжущими и эмульгаторами

Эмульсию перемешивают и процеживают через сито с размером отверстий 1,25 мм. При использовании анионных эмульсий сетку сита предварительно смачивают 1 %-ным раствором едкого натрия, а при использовании катионных эмульсией - 1 %-ным раствором соляной кислоты.

Для проведения испытания необходимы: весы технические до 1 кг не ниже 3-го класса точности, песчаная баня, эксикатор диаметром 200 мм, чашка выпарительная емкостью 100 мл.

Чашку с эмульсией и стеклянной палочкой устанавливают на песчаную баню и выпаривают из эмульсии воду. При выпаривании эмульсию периодически перемешивают стеклянной палочкой. Когда поверхность остатка в чашке станет зеркальной, нагрев прекращают, чашку с содержимым охлаждают в эксикаторе, а затем взвешивают вместе с палочкой

Массовую долю вяжущего с эмульгатором вычисляют по формуле:

где g1 - масса чашки с палочкой, г;

g2 - масса чашки с палочкой и эмульсией, г;

g3 - масса чашки с палочкой и остатком после выпаривания воды и эмульсии, г.

За результат испытания принимают среднее арифметическое значение результатов двух параллельных определений. Максимальное расхождение между результатами параллельных определений не должно превышать 0,5 %.

Определение однородности эмульсии

Для проведения испытания необходимы: шкаф сушильный лабораторный, весы технические до 1 кг не ниже 3-го класса точности, сито с сеткой № 014 в цилиндрической оправе из оцинкованной жести диаметром 100 и высотой 50 мм, эксикатор диаметром 200 мм, чашка выпарительная емкостью 250 мл, воронка стеклянная диаметром 110 - 120 мм, стакан стеклянный лабораторный емкостью 250 мл, сосуд емкостью не менее 2 л, штатив с кольцом.

Сито с размером отверстий 0,14 мм тщательно промывают керосином, водой с моющим средством, а затем дистиллированной водой и сушат при комнатной температуре.

Сито помещают в чашку, взвешивают с точностью до 0,01 г, затем вынимают из чашки и обильно смачивают раствором щелочи при испытании анионных эмульсий или раствором кислоты при испытании катионных эмульсий.

Через сито процеживают 200 г эмульсии. При процеживании катионной эмульсии одновременно с ней в сито вливают раствор кислоты, а при процеживании анионной эмульсии - раствор щелочи. Стакан из под эмульсии и стеклянную палочку промывают раствором кислоты или щелочи и сливают его в сито. Остаток на сите также промывают.

Об однородности эмульсии судят по остатку, который вычисляют по формуле:

где g1 - масса сита и чашки, г;

g2 - масса сита с остатком и чашкой, г;

g3 - масса эмульсии, г.

Максимальное расхождение между результатами параллельных испытаний не должна превышать 0,05 %. За результат принимают среднее арифметическое значение результатов 2 параллельных определений.

Определение устойчивости эмульсии при хранении

При проведении испытания необходимы: шкаф сушильный, весы технические до 1 кг не ниже 3-го класса точности, сито с сеткой № 014 в цилиндрической оправе из жести диаметром 100 и высотой 50 мм, эксикатор диаметром 200 мм, стакан лабораторный емкостью 250 мл, сосуд емкостью 2 л, штатив с кольцом, 4 стеклянных цилиндра емкостью по 250 мл.

В каждый из 4 цилиндров наливают по 200 г эмульсии, плотно закрывают и испытывают через 7 и 28 суток на однородность.

Определение устойчивости при транспортировании

Для проведения испытания необходимы: аппарат для встряхивания жидкости в сосудах, две стеклянные плоскодонные колбы емкостью по 250 мл.

Пробы эмульсии по 200 мл каждая заливают в 2 чистые колбы, закрывают пробками и закрепляют на площадке встряхивающего прибора. Прибор включают и эмульсию встряхивают в течение 2 ч. Если за это время эмульсия не распалась, то она считается устойчивой при транспортировании.

Требования к дорожным эмульсиям

Эмульсии должны состоять из частиц вяжущего мельче 0,14 мм. Массовая доля частиц крупнее 0,14 мм не должна превышать 0,5 %. Условная вязкость эмульсии при 20 °С должна быть на более 35 с.

По смешиваемости с минеральными материалами эмульсии в зависимости от класса должны соответствовать указанному в табл. 37 (ГОСТ 18659-81).

Таблица 37

Наименование показателей

Классы эмульсий

ЭБА-1, ЭБК-1

ЭБА-2, ЭБК-2

ЭБА-3, ЭБК-3

Смешиваемость со смесями минеральных материалов:

 

 

 

пористого гранулометрического состава

не смешивается

смешивается

смешивается

плотного гранулометрического состава

не смешивается

не смешивается

смешивается

Анионные эмульсии классов ЭБА-1 и ЭБА-2 должны выдерживать испытание на сцепление со щебнем, при этом не менее 75 % площади его поверхности должно оставаться покрытым пленкой вяжущего. При испытании на сцепление катионных эмульсий классов ЭБК-1, ЭБК-2 и ЭБК-3 не менее 95 % площади щебня должно быть покрыто пленкой вяжущего.

Эмульсии должны быть устойчивыми при транспортировании и хранении: массовая доля частиц крупнее 0,14 мм через 7 суток должна быть не более 0,8 % для анионных и 0,5 % для катионных эмульсий. Через 30 суток - не более 1,2 к 0,8 % для анионных и катионных эмульсий соответственно.

Показатели свойств вяжущего, извлеченного из эмульсии, не должны отличаться от исходных более чем на 15 %.

7. Методы испытаний и оценка качества минерального порошка

Минеральный порошок играет большую роль в составе асфальтобетона. Он вместе с битумом образует асфальтовое вяжущее вещество, которое связывает частицы щебня и песка в монолит.

Лучшим по качеству является минеральный порошок из карбонатных горных пород /например, известняков/. Свойства таких порошков нормируются ГОСТ 16557-78, а их испытания производят по ГОСТ 12784-78.

Допускается использовать в соответствии с ГОСТ 9128-84 в качестве минеральных порошков измельчённые основные металлургические шлаки в горячих и тёплых смесях второй и третьей марок для плотного асфальтобетона, в смесях первой и второй марок для пористого и высокопористого асфальтобетона и в холодных смесях второй марки.

Можно использовать порошкообразные отходы промышленности в горячих и теплых смесях третьей марки для плотного асфальтобетона и первой и второй марок для пористого и высокопористого асфальтобетона.

Требования к минеральному порошку из карбонатных горных пород приведены в табл. 38, а к материалам, применяемым в качестве минерального порошка в табл. 39.

Определение зернового состава минерального порошка

Для определения зернового состава минерального порошка необходимы: сушильный шкаф, эксикатор, весы технические не ниже второго класса точности, сосуд емкостью 6 - 10 л, фарфоровая чашка, пестик с резиновым наконечником, набор сит с сетками № 1,25, 0,63, 0,315, 0,14, 0,071.

ГОСТ 16557-78                                                                                                       Таблица 38

Наименование показателей

Нормы для порошка

активированного

неактивированного

Зерновой состав, % по массе, не менее:

 

 

мельче 1,25 мм

100

100

мельче 0,315 мм

95

90

мельче 0,071 мм

80

70

Пористость, % по объёму, не более

30

35

Набухание образцов из смеси порошка с битумом, % по объёму, не более: при содержании глинистых примесей в порошке не более 5 % /Al2O + Fe2O3 не более 1,7 % по массе/

1,5

2,5

при содержании глинистых примесей, в порошке не более 15 % /Al2O + Fe2O3 не более 5 % по массе/

2,5

-

Показатель битумоёмкости, г, не более:

при содержании глинистых примесей в порошке не более 5 % /Al2O + Fe2O3 не более 1,7 % по массе/

50

65

при содержании глинистых примесей в порошке не более 15 % /Al2O + Fe2O3 % не более 5 % по массе/

65

-

Влажность, % по массе, не более

0,5

1,0

ГОСТ 9128-84                                                                                                         Таблица 39

Наименование показателей

Нормы по видам материалов

Из основных металлургических шлаков

Из зол и золошлаковых смесей

Из пыли уноса цементных заводов

Гранулометрический состав, % от массы не менее:

 

 

 

мельче 0,25 мм

100

100

100

мельче 0,315 мм

90

55

90

мельче 0,071 мм

70

35

70

Пористость, % от объема, не более

40

45

45

Набухание образцов из смеси минерального порошка с битумом, % от объема, не более

2,5

не нормируется

не нормируется

Коэффициент водостойкости образцов из смеси порошка с битумом, не менее

0,7

0,6

0,8

Показатель битумоемкости, не более

100

100

100

Содержание водорастворимых соединений, % от массы, не более

не нормируется

1

6

Влажность, % от массы, не более

1

2

2

Содержание окислов щелочных металлов, % от массы, не более

не нормируется

не нормируется

6

Потери при прокаливании, % от массы, не более

не нормируется

20

не нормируется

Содержание свободной окиси кальция

0

0

0

Пробу минерального порошка массой 100 г помещают в фарфоровую чашку, заливают небольшим количеством воды и растирают пестиком с резиновым наконечником в течение 2 - 3 минут. Воду со взвешенными в ней частицами выливают в сито с размером отверстий 0,071 мм, установленное чад кастрюлей. Остаток частиц порошка в чашке заливают водой, растирают и сливают в сито.

Эту операцию повторяют до тех пор, пока вода в чашке станет прозрачной. Частицы, оставшиеся на сите смывают в ту же фарфоровую чашку, где остались промытые частицы порошка.

Остаток в чашке сушат при 105 - 110 °С до постоянной массы. Сухой остаток просевают через набор сит с сетками № 125, 063, 014, 0,071. Остаток на каждом сите взвешивают и выражают в процентах по отношению к массе просеиваемой навески с точностью до 0,1 %.

Расхождение между результатами двух параллельных испытаний не должно превышать 2 % от общей массы навески. Общая потеря порошка при испытании также не должна быть более 2 %.

Определение пористости минерального порошка

Пористость минерального порошка подсчитывают по результатам, определения его истинной плотности и средней плотности по формуле:

где: g0 - средняя плотность порошка, уплотнённого нагрузкой 40 МПа, г/см3;

r - истинная плотность порошка, г/см3.

Определение истинной плотности неактивированного минерального порошка пикнометрическим методом

Для проведения испытания необходимы: пикнометр ёмкостью 100 см3, весы технические и аналитические, вакуум-прибор, колба для промывания минерального порошка, термометр химический с ценой деления 1 °С, сушильный шкаф, сита с размерами отверстий 1,25 и 0,14 мм, фарфоровая чашка.

Среднюю пробу порошка массой 200 г просеивают через сито с размерами отверстий 1,25 мм, высушивают до постоянной массы при 105 - 110 °С и охлаждают в эксикаторе до комнатной температуры.

Отвешивают 2 навески порошка массой по 10 г на аналитических весах. Для испытания используют очищенный керосин, предварительно определив его плотность.

Навеску порошка всыпают в сухой, чистый предварительно взвешенный пикнометр и заливают керосином примерно на 2/3 его объёма. Пикнометр с содержимым помещают в вакуум-прибор и выдерживают его там в течение часа при остаточном давлении не более 15 кПа. Затем в пикнометр доливают керосин до метки на его шейке, выдерживают 30 минут, снова доливают керосин до метки если его уровень понизился и взвешивают.

Истинную плотность подсчитывают по формуле:

где: m2 - масса сухого минерального порошка, г;

rк - плотность керосина при 20 °С, г/см3;

m1 - масса пикнометра с уровнем керосина до метки на шейке пикнометра, г;

m3 - масса пикнометра с минеральным порошком и керосином, г.

Плотность минерального порошка подсчитывают как среднее арифметическое результатов двух определений. Расхождение между результатами этих определений не должно превышать 0,02 г/см3.

Определение средней плотности минерального порошка, уплотнённого нагрузкой 40 МПа

Для проведения испытания необходимы: пресс 70 т, весы технические, сушильный шкаф, эмалированный противень размером около 25 ´ 40 см, ступка фарфоровая, сито с размером отверстий 1,25 мм, кисть мягкая и форма металлическая / рис. /.

Минеральный порошок массой 1 кг высушивают до постоянной массы при температуре 105 - 110 °С, охлаждают, растирают в фарфоровой ступке для удаления комков порошка и просеивают через сито с отверстиями 1,25 мм.

Из этой пробы отвешивают 300 г порошка и частями переносят в предварительно собранную форму, установленную на металлический поддон. Порошок распределяют по форме, прижимают вкладышем и уплотняют на прессе в течение 3 минут при давлении 40 МПа. Затем нагрузку снимают, а минеральный порошок в нижней части формы срезают вровень с краями. Излишек порошка тщательно собирают и взвешивают с точностью до ± 0,5 г.

Среднюю плотность порошка вычисляют по формуле:

где m1 - масса навески минерального порошка, г;

m2 - масса остатка от навески минерального порошка после его уплотнения, г;

V - объём формы /100 см3/.

Среднюю плотность порошка вычисляют как среднее арифметическое результатов трёх измерений. Расхождение между результатами этих определений не должно превышать 0,02 г/см3.

Определение набухания образцов из смеси минерального порошка с битумом

Для проведения испытания необходимы: весы технические с приспособлением для гидростатического взвешивания, пресс гидравлический 1 т, сушильный шкаф, вакуум-прибор и термометр химический с ценой деления 1 °С, сито с размером отверстий 1,25 мм, ступка фарфоровая, сосуды ёмкостью 0,5 - 1,5 л и 2 - 3 л, чашка металлическая, форма для уплотнения образцов.

Из средней пробы берут 100 г минерального порошка и нагревают активированный порошок до 135 - 140 °С, а неактивированный - до 150 - 160 °С. В порошок вводят битум с температурой 140 - 150 °С и перемешивают в течение 5 - 6 минут до полного и равномерного объединения порошка с битумом.

Ориентировочное количество битума при перемешивании с активированным порошком составляет 8 - 15 %, с неактивированным - 13 - 18 %, а с порошкообразными материалами в пределах 20 - 30 %.

Форму нагревают до 80 - 90 °С и засыпают в неё 25 - 30 г смеси порошка с битумом. Смесь уплотняют при нагрузке 10 МПа в течение 3 мин. Затем образцы помещают в сосуд с водой и устанавливают его в вакуум-прибор на 1,5 часа при остаточном давлении не более 2 кПа. Потом давления доводят до нормального, выдерживают 1 час.

После этого образцы выдерживают при 60 °С в течение 4 часов. Затем образцы при 20 °С выдерживают в воде в течение 15 - 20 часов.

Набухание образцов вычисляют с точностью до 0,1 % по формуле:

где: m - масса образца, взвешенного на воздухе, г.;

m1 - масса образца, взвешенного в воде, г;

m2 - масса образца на воздухе после насыщения водой, г;

m3 - масса образца в воде после насыщения водой, г;

Определение содержания водорастворимых соединений

Для проведения испытания необходимы: сушильный шкаф, обратный холодильник, эксикатор, стеклянные бюксы по 50 мл, весы аналитические, песчаная баня, колбы конические 2 шт по 250 мл, колба для промывания и фильтровальная бумага.

Навеску порошка 20 г высыпают в коническую колбу, заливают 100 мл дистиллированной воды. На колбе закрепляют обратный холодильник. Содержимое колбы кипятят в течение 1 часа и охлаждают до комнатной температуры.

Образовавшуюся водную вытяжку выливают во вторую колбу через фильтр, предварительно смоченный водой. Остаток в первой колбе промывают и смывают через фильтр во вторую колбу. Фильтрат из второй колбы выливают в стеклянный бюкс и выпаривают до постоянной массы и после охлаждения взвешивают с точностью до 0,01 г.

Содержание водорастворимых соединений вычисляют по формуле:

где: m - масса первоначальной пробы порошка, г;

m1 - масса бюкса с сухим остатком порошка, г;

m2 - масса бюкса, г.

Содержание водорастворимых соединений вычисляют как среднее арифметическое результатов двух определений. Расхождение между результатами параллельных определений не должно быть более 0,03 %.

8. Методы испытаний и оценка качества материалов на органических вяжущих

В дорожном строительстве применяют различные виды материалов, обработанных органическими вяжущими материалами, для устройства оснований и покрытий способом полупропитки и пропитки, смешения на дороге и в установке. Наиболее высокими показателями свойств обладают бетоны на различных органических вяжущих, методы испытания которых одинаковы с методами испытаний асфальтобетонов (ГОСТ 12801-84), приведенных в данном разделе.

Определение плотности асфальтобетона

Для проведения испытания используют: весы гидростатические, стеклянный сосуд емкостью 2 - 3 литра.

Плотность асфальтобетона определяют с помощью гидростатического взвешивания. Образцы асфальтобетона взвешивают на воздухе с точностью до 0,01 г. Затем погружают на 30 мин в сосуд с водой. После этого образцы вытирают, взвешивают на воздухе, а потом в воде. Температура воды в процессе взвешивания должна быть 20 ± 2 °С.

Плотность асфальтобетона определяют по формуле:

где g0 - масса образца, на воздухе, г;

g1 - масса образца, выдержанного в воде в течение 30 мин, на воздухе, г;

g2 - масса образца в воде, г;

g - плотность воды, принимаемая равной 1 г/см3.

За величину плотности принимают среднее арифметическое результатов определений плотности трех образцов. Расхождения между результатами их испытаний не должны превышать 0,02 г/см3.

Определение плотности минерального остова асфальтобетона

Плотность минерального остова асфальтобетона рассчитывают по плотности асфальтобетона и соотношения в нам компонентов. Плотность минерального остова асфальтобетона вычисляют по формуле:

где r - плотность асфальтобетона, г/см3;

q0 - содержание минеральных материалов в асфальтобетоне, % от массы (принимается равным 100 %);

qб - содержание битума (вяжущего материала) в асфальтобетоне, % от массы (сверх 100 % минеральной части асфальтобетона);

Определение истинной плотности минеральной части асфальтобетона расчетным методом

Расчет производится по результатам определения истинной плотности минеральных составляющих асфальтобетона: щебня, песка, минерального порошка. Истинную плотность минеральной части асфальтобетона вычисляют по формуле:

где g1, g2, g3, … gn - истинная плотность компонентов минеральной части асфальтобетона (щебня, песка, минерального порошка), г/см3;

q1, q2, q3, … qn - содержание компонентов минеральной части асфальтобетона, % от массы.

Определение истинной плотности асфальтобетона расчетным методом

Истинную плотность асфальтобетона можно рассчитать по результатам определения истинной плотности минеральной части асфальтобетона, битума и содержания материалов в асфальтобетоне по формуле:

где g0 - истинная плотность минеральной части асфальтобетона, г/см3;

gб - плотность битума, г/см3;

qм - содержание минеральных материалов в асфальтобетоне, % от массы (принимают за 100 %);

qб - содержание битума в асфальтобетоне, % от массы (сверх 100 % минеральных материалов в асфальтобетоне).

Определение пористости минерального остова асфальтобетона

Пористость минерального остова асфальтобетона вычисляют по формуле:

где r - средняя плотность минерального остова асфальтобетона, г/см3.

g0 - истинная плотность минерального остова асфальтобетона, г/см3.

Пористость минерального остова асфальтобетона вычисляют с точностью до 0,1 %.

Определение остаточной пористости асфальтобетона

Остаточную пористость асфальтобетона вычисляют по формуле:

где rа - средняя плотность асфальтобетона, г/см3;

gа - истинная плотность асфальтобетона, г/см3.

Определение водонасыщения асфальтобетона

Для определения водонасыщения асфальтобетона необходимы: вакуум-прибор, весы гидростатические или технические с приспособлением для гидростатического взвешивания не ниже 2-го класса точности, термометр ртутный с ценой деления шкалы 1 °С, сосуд емкостью 2,5 - 3 л.

Асфальтобетон помещают в сосуд с водой. Температура воды 20 ± 2 °С, уровень над образцами не менее 3 см. Сосуд с образцами помещают в вакуум-прибор и создают остаточное давление в нем 2000 Па. Через 1 ч 30 мин давление доводят до атмосферного и выдерживают образцы в воде с температурой 20 ± 2 °С 1 час. После этого асфальтобетон вынимают из воды, вытирают мягкой тканью к взвешивают на воздухе и в воде с точностью до 0,01 г,

Водонасыщение асфальтобетона вычисляют по формуле:

где g0 - масса сухого, не насыщенного водой образца на воздухе, г;

g1 - масса образца, выдержанного в течение 30 мин в воде, и взвешенного на воздухе, г;

g2 - масса того же образца в воде, г;

g3 - масса насыщенного водой образца на воздухе, г.

Водонасыщение определяют с точностью до 0,1 %. Расхождение между наибольшим и наименьшим результатом трех определений не должно превышать 0,5 %.

Определение набухания асфальтобетона

При определении набухания асфальтобетона используют показатели, полученные при определении плотности и водонасыщения асфальтобетона.

Набухание асфальтобетона после насыщения его водой определяют по формуле:

где q1 - масса асфальтобетона, выдержанного в течение 30 мин в воде и взвешенного на воздухе, г;

q2 - масса того же образца в воде, г;

q3 - масса насыщенного образца на воздухе, г;

q4 - масса насыщенного образца в воде, г.

Расхождение между наибольшим и наименьшим результатами трех определений не должно превышать 0,2 %.

Определение предела прочности при сжатии

Для проведения испытания необходимы: пресс механический 50 - 100 кН, сосуды емкостью 3 - 8 л для термостатирования образцов, термометр ртутный с ценой деления 1 °С.

Предел прочности при сжатии асфальтобетонных образцов определяют с помощью механического пресса при скорости деформирования образца 3 ± 0,5 мм/мин. При прочности образцов менее 1,5 МПа точность силоизмерителя должна быть не менее 0,05 МПа, а при прочности более 1,5 МПа - соответственно не менее 0,1 МПа.

Образец после термостатирования ставят в центре нижней плиты пресса, затем опускают верхнюю плиту, не доводя ее до поверхности образца на 1 - 1,5 мм. Затем включают электродвигатель и начинают нагружать образец. Во избежание остывания образца при соприкосновении с металлическими плитами под образцы подкладывают прокладки из плотной бумаги.

Для равномерной передачи усилия на образец можно использовать дополнительное шарнирное устройство. Разрушающую нагрузку определяют при максимальном показании силоизмерителя.

Предел прочности при сжатии вычисляют по формуле:

где Р - разрушающая нагрузка.

S - первоначальная площадь поперечного сечения образца, см2.

За результат определения принимают среднее арифметическое значений испытаний трех образцов. Расхождение между результатами испытаний этих образцов не должно превышать 10 %. При отсутствии механических прессов испытания можно, в виде исключения, производить на гидравлических прессах с максимальным усилием не более 10 т при скорости холостого хода поршня 3 ± 0,5 мм/мин. Не разрешается использовать для испытаний гидравлические прессы с ручным приводом.

Определение коэффициента водостойкости асфальтобетона

Коэффициент водостойкости асфальтобетона при температуре 20 °С подсчитывают по результатам его испытаний на сжатие по формуле:

где  - предел прочности при сжатии асфальтобетона при 20 °С после его водонасыщения, МПа;

 - предел прочности при сжатии асфальтобетона при 20 °С в сухом состоянии, МПа.

Определение водостойкости асфальтобетона при длительном водонасыщении

При проведении испытания используют: пресс с механическим приводом и максимальным усилием 50 кН, вакуум-прибор, сосуды емкостью 3 - 8 л для термостатирования образцов, термометр ртутный с ценой деления шкалы 1 °С.

Перед испытанием образцы взвешивают на воздуха и в воде. Затем производят водонасыщение асфальтобетонных образцов, а потом переносят в сосуд с водой, где их выдерживают в течение 15 суток. Температура воды в процессе испытания должна быть 20 ± 2 °С. По истечении 15 суток образцы извлекают из воды, обтирают мягкой тканью, взвешивают на воздухе и в воде.

По результатам взвешивания подсчитывают длительное набухание асфальтобетонных образцов по формуле:

где g1 - масса образца, выдержанного в воде в течение 30 мин и взвешенного на воздухе, г;

g2 - масса того же образца в воде, г;

g5 - масса образца на воздухе после 15 суток выдерживания в воде, г;

g0 - масса того же образца в воде, г.

Коэффициент водостойкости асфальтобетона после длительного водонасыщения определяют по формуле:

где  - предел прочности при сжатии асфальтобетонного образца при 20 °С после его длительного водонасыщения, МПа;

 - предел прочности при сжатии сухого асфальтобетонного образца при 20 °С, МПа.

Асфальтобетонные смеси в зависимости от вязкости использованного битума и условий применения подразделяют на виды:

горячие - приготовленные с использованием вязких битумов, применяемые сразу после изготовления и имеющие температуру не ниже 120 °С;

теплые - приготовленные с использованием вязких битумов пониженной вязкости или жидких битумов, применяемые непосредственно после изготовления и имеющие температуру не ниже 70 °С;

холодные - приготовленные с использованием жидких битумов, применяемые сразу после изготовления или длительного хранения и имеющие температуру не ниже 5 °С.

Горячие и теплые смеси в зависимости от наибольшего размера частиц минерального материала подразделяются на:

крупнозернистые - с частицами размером до 40 мм,

мелкозернистые - с частицами размером до 20 мм,

песчаные - с частицами размером до 5 мм.

Асфальтобетоны из горячих и теплых смесей в зависимости от пористости подразделяют на:

плотные с остаточной пористостью от 2 до 7 %,

пористые с остаточной пористостью от 7 до 12 %,

высокопористые с остаточной пористостью от 12 до 18 %.

Требования к горячему и теплому асфальтобетону

Требования к гранулометрическому составу горячих и теплых асфальтобетонов приведены в табл. 40. Требования к горячему и теплому асфальтобетону для устройства верхних слоев покрытий даны в табл. 41, а для нижних слоев покрытий и оснований - в табл. 42. Требования к материалам для приготовления асфальтобетонных смесей приведены в ГОСТ 9128-84,

Определение слеживаемости холодных асфальтобетонных смесей

Слеживаемость холодных асфальтобетонных смесей определяют с помощью прибора для определения слеживаемости (рис. 11). Для испытания готовят три образца. Перед испытанием их выдерживают в течение 4 ч при 15 ± 2 °С. Образец устанавливают на подставку, а острие конуса вводят в отверстие образца. Груз поднимают до упорного кольца, а затем отпускают его. Удары груза по конусу повторяют до тех пор, пока образец полностью разрушится или острый конус коснется подставки.

Рис. 11. Прибор для определения слёживаемости холодной асфальтобетонной смеси:

1 - основание с подставкой; 2 - образец; 3 - отверстие в образце; 4 - конусный наконечник; 5 - груз; 6 - штанга; 7 - упорное кольцо; 8 - направляющая втулка; 9 - риска на штанге

Таблица 40

Наименование и тип смеси

Содержание, %, зерен минерального материала мельче, мм:

20

15

10

5

2,5

1,25

0,63

0,315

0,14

0,071

Мелкозернистые типов

Непрерывные зерновые составы

А

95 - 100

78 - 100

60 - 100

35 - 50

24 - 38

17 - 28

12 - 20

9 - 15

6 - 11

4 - 10

Б

95 - 100

85 - 100

70 - 100

50 - 65

38 - 52

28 - 39

20 - 29

14 - 22

9 - 16

6 - 12

В

95 - 100

88 - 100

80 - 100

65 - 80

52 - 66

39 - 53

29 - 40

20 - 28

12 - 20

8 - 14

Песчаные типов:

 

 

 

 

 

 

 

 

 

 

Г

-

-

-

95 - 100

68 - 83

45 - 67

28 - 50

18 - 35

11 - 24

8 - 16

Д

-

-

-

95 - 100

74 - 93

53 - 86

37 - 75

27 - 55

17 - 33

10 - 16

Мелкозернистые типов

Прерывистые зерновые составы

А

95 - 100

78 - 100

60 - 100

35 - 50

23 - 50

22 - 50

18 - 50

14 - 28

8 - 15

4 - 10

Б

95 - 100

85 - 100

70 - 100

50 - 65

40 - 85

34 - 85

27 - 65

20 - 40

14 - 23

8 - 12

(Продолжение таблицы 40)

Наименование и тип смеси

Содержание, %, зерен минерального материала мельче, мм:

40

20

15

10

5

2,5

1,25

0,63

0,315

0,14

0,071

Плотные, крупнозернистые типов:

Непрерывные зерновые составы

А

95 - 100

65 - 80

55 - 70

45 - 62

35 - 50

24 - 38

17 - 28

12 - 20

9 - 15

6 - 11

4 - 10

Б

95 - 100

78 - 86

70 - 80

62 - 74

50 - 65

38 - 52

28 - 39

20 - 29

14 - 22

9 - 16

6 - 12

 

Прерывистые зерновые составы

А

95 - 100

65 - 80

55 - 70

45 - 62

35 - 50

28 - 50

22 - 50

18 - 50

14 - 28

8 - 15

4 - 10

Б

95 - 100

78 - 86

70 - 80

62 - 74

50 - 65

40 - 65

34 - 65

27 - 65

20 - 40

14 - 23

6 - 12

Пористые и высокопористые крупно- и мелкозернистые

Непрерывные зерновые составы

95 - 100

70 - 100

57 - 100

45 - 76

27 - 65

18 - 50

10 - 38

7 - 28

4 - 22

3 - 15

2 - 8

Высокопористые песчаные

-

-

-

-

95 - 100

68 - 100

45 - 100

28 - 88

18 - 73

10 - 45

4 - 10

Пористые и высокопористые крупно- и мелкозернистые

Прерывистые зерновые составы

95 - 100

65 - 100

54 - 100

42 - 88

30 - 65

25 - 65

18 - 65

12 - 65

8 - 40

5 - 22

2 - 8

ГОСТ 9128-84                                                                             Таблица 41

Наименование показателей

Нормы для асфальтобетонов из смесей марок

I

II

III

для дорожно-климатических зон

I

II, III

IV, V

I

II, III

IV, V

I

II, III

IV, V

Предел прочности при сжатии, МПа, при температурах:

 

 

 

 

 

 

 

 

 

а) 20 °С для всех типов асфальтобетона не менее

2,5

2,2

2,5

2,2

2,5

1,9

2,2

2,0

2,2

1,8

2,2

1,8

2,0

1,6

2,0

1,6

2,0

1,6

б) 50 °С не менее для асфальтобетонов типов:

 

 

 

 

 

 

 

 

 

А

0,9

-

0,9

-

0,9

-

0,8

-

0,8

-

0,8

-

-

-

-

Б и В

0,9

0,9

1,1

0,9

1,3

1,0

0,8

0,8

1,0

0,8

1,2

0,9

0,8

0,7

0,9

0,7

1,1

0,8

Г

1,0

1,0

1,3

1,0

1,6

1,2

0,9

0,9

1,2

1,0

1,4

1,1

0,8

0,8

1,1

0,9

1,3

1,0

Д

-

-

-

1,0

0,8

1,2

0,9

1,2

1,0

0,8

0,6

0,9

0,70

1,0

0,8

в) 0 °С для всех типов асфальтобетонов, не более

9

7

11

7

13

8

10

7,5

12

7,5

13

8,5

10

8

12

8

13

9

Пористость минерального остатка, % объема асфальтобетона типа

 

 

 

 

 

 

 

 

 

А и Б

15 - 19

18 - 19

15 - 19

15 - 19

15 - 19

15 - 19

15 - 19

15 - 19

15 - 19

В, Г и Д

18 - 22

18 - 22

18 - 22

18 - 22

18 - 22

18 - 22

18 - 22

18 - 22

18 - 22

Водонасыщение, % от объема асфальтобетона, типа:

 

 

 

 

 

 

 

 

 

А

2,0 - 3,5

2,0 - 5,0

3,0 - 7,0

2,0 - 3,5

2,0 - 5,0

3,0 - 7,0

2,0 - 3,5

2,0 - 5,0

3,0 - 7,0

Б и Г

1,5 - 3,0

1,5 - 4,0

2,5 - 6,0

1,5 - 3,0

1,5 - 4,0

2,5 - 6,0

1,5 - 3,0

1,5 - 4,0

2,5 - 6,0

В и Д

1,0 - 2,5

1,0 - 4,0

2,5 - 6,0

1,0 - 2,5

1,0 - 4,0

2,5 - 6,0

1,0 - 2,5

1,0 - 4,0

2,5 - 6,0

Остаточная пористость, % от объема

2,5 - 3,5

2,0 - 5,0

3,0 - 7,0

2,5 - 3,5

2,0 - 5,0

3,0 - 7,0

2,5 - 3,5

2,0 - 5,0

3,0 - 7,0

Коэффициент водостойкости, не менее

0,95

0,90

0,90

0,80

0,85

0,75

0,90

0,85

0,85

0,75

0,80

0,70

0,85

0,80

0,75

0,70

0,70

0,60

Коэффициент водостойкости после длительного водонасыщения, не менее

0,90

0,85

0,85

0,75

0,75

0,70

0,85

0,80

0,75

0,65

0,70

0,60

0,75

0,70

0,65

0,60

0,60

0,50

Набухание, % от объема, не более

0,5

0,5

0,5

0,7

0,5

0,7

1,0

1,0

1,0

1,5

1,5

1,7

1,5

1,0

1,0

1,5

1,5

1,7

Примечание: в числителе приведены требования к асфальтобетону из горячих смесей, в знаменателе - из теплых смесей.

Таблица 42

Наименование показателей

Нормы для асфальтобетона из смесей марок

I

II

Предел прочности при сжатии, МПа, не менее при температурах:

 

 

а) 20 °С

 

 

пористого асфальтобетона

1,8

1,5

высокопористого асфальтобетона

1,4

1,2

б) 50 °С

 

 

пористого асфальтобетона

0,7

0,5

высокопористого асфальтобетона

0,5

0,4

Пористость минерального остова, % от объема не более:

 

 

пористого щебеночного (гравийного)

23

23

высокопористого щебеночного (гравийного)

24

24

высокопористого песчаного

28

28

Водонасыщение, % от объема не более:

 

 

пористого асфальтобетона

12

12

высокопористого асфальтобетона

18

18

Коэффициент водостойкости, не менее

0,7

0,6

Коэффициент водостойкости после длительного водонасыщения, не менее

0,6

0,5

Набухание, % от объема не более

1,0

2,0

За условный показатель слеживаемости холодной асфальтобетонной смеси принимают количество ударов, необходимое до полного разрушения образца.

Показатель слеживаемости вычисляют как среднее арифметическое результатов испытания трех образцов. Расхождение между результатами испытаний отдельных образцов из одного замеса не должно быть более двух ударов.

Требования к холодному асфальтобетону

Требования к гранулометрическому составу холодных асфальтобетонных смесей приведены в табл. 43, а к свойствам холодного асфальтобетона в табл. 44.

Таблица 43

Наименование и тип смеси

Содержание, %, зерен минерального материала мельче, мм:

20

15

10

5

2,5

1,25

0,63

0,315

0,14

0,07

Мелкозернистые типа Бх

95 - 100

85 - 100

70 - 100

50 - 65

32 - 50

21 - 39

14 - 29

10 - 22

9 - 16

8 - 12

Мелкозернистые типа Вх

95 - 100

88 - 100

80 - 100

65 - 80

50 - 60

39 - 49

29 - 38

22 - 31

16 - 22

12 - 17

Песчаные типов Гх и Дх

-

-

-

95 - 100

66 - 82

46 - 58

26 - 54

18 - 43

14 - 30

12 - 20

Таблица 44

Наименование показателей

Нормы для асфальтобетона из смесей марок

I

II

Предел прочности при сжатии, МПа, при 20 °С, не менее:

 

 

а) до прогрева асфальтобетона типа

 

 

Бх, Вх

1,5

1,0

Гх

1,7

-

Дх

-

1,2

б) после прогрева асфальтобетона типа

 

 

Бх, Вх

1,8

1,3

Гх

2,0

-

Дх

-

1,5

Пористость минерального остова, % от объема, не более, асфальтобетона типа:

 

 

Бх

18

18

Вх

20

20

Гх и Дх

21

21

Водонасыщение, % от объема

5 - 9

5 - 9

Остаточная пористость, % от объема

6 - 10

6 - 10

Коэффициент водостойкости, не менее

 

 

а) до прогрева

0,75

0,60

б) после прогрева

0,90

0,80

Коэффициент водостойкости после длительного водонасыщения не менее

 

 

а) до прогрева

0,5

0,4

б) после прогрева

0,75

0,65

Набухание, % от объема, не более

1,2

2,0

Слеживаемость по числу ударов, не более

10

10

Список литературы

1. Предложения по применению в дорожном строительстве пористых (естественных и искусственных) каменных материалов, обработанных неограническими и органическими вяжущими. Минавтодор РСФСР, Ростов-на-Дону, Гипродорнии, 1979, 49 с.

2. Технические указания по использованию зол уноса и золошлаковых смесей от сжигания различных видов твердого топлива для сооружения земляного полотна и устройства дорожных оснований и покрытий автомобильных дорог. ВСН 185-75. Минтрансстрой СССР. М., 1975, 40 с.

3. Предложения по использованию в дорожном строительстве минеральных вяжущих веществ на основе отходов промышленности и местных материалов. Минавтодор РСФСР, М., 1979, 38 с.

4. Руководство по применению каменноугольных вяжущих в дорожном строительстве. Минавтодор РСФСР, М., Транспорт, 1979, 38 с.

СОДЕРЖАНИЕ

Введение. 1

1. Условия работы материалов в дорожной одежде. 1

2. Методы испытаний и оценка качества каменных материалов. 3

3. Методы испытаний и оценка качества минеральных вяжущих. 18

4. Методы испытаний и оценка качества материалов на минеральных вяжущих. 23

5. Методы испытаний и оценка качества сырья для производства нефтяных, вязких, дорожных битумов. 28

6. Методы испытаний и оценка качества органических вяжущих. 30

7. Методы испытаний и оценка качества минерального порошка. 40

8. Методы испытаний и оценка качества материалов на органических вяжущих. 44

Список литературы.. 52

 

 




ГОСТЫ, СТРОИТЕЛЬНЫЕ и ТЕХНИЧЕСКИЕ НОРМАТИВЫ.
Некоммерческая онлайн система, содержащая все Российские Госты, национальные Стандарты и нормативы.
В Системе содержится более 150000 файлов нормативно-технической документации, действующей на территории РФ.
Система предназначена для широкого круга инженерно-технических специалистов.

Рейтинг@Mail.ru Яндекс цитирования

Copyright © www.gostrf.com, 2008 - 2026