Крупнейшая бесплатная информационно-справочная система онлайн доступа к полному собранию технических нормативно-правовых актов РФ. Огромная база технических нормативов (более 150 тысяч документов) и полное собрание национальных стандартов, аутентичное официальной базе Госстандарта. GOSTRF.com - это более 1 Терабайта бесплатной технической информации для всех пользователей интернета. Все электронные копии представленных здесь документов могут распространяться без каких-либо ограничений. Поощряется распространение информации с этого сайта на любых других ресурсах. Каждый человек имеет право на неограниченный доступ к этим документам! Каждый человек имеет право на знание требований, изложенных в данных нормативно-правовых актах!

  


 

Министерство транспорта Российской Федерации
Государственная служба дорожного хозяйства
(Росавтодор)

Центр
организации труда и экономических
методов управления
(Центроргтруд)

СБОРНИК КАРТ
ТРУДОВЫХ ПРОЦЕССОВ НА СТРОИТЕЛЬСТВО,
РЕМОНТ И СОДЕРЖАНИЕ АВТОМОБИЛЬНЫХ ДОРОГ

Ремонт гравийного (щебеночного)
покрытия

КТП-8.04-2002

Издание второе, переработанное и дополненное

(Выпуск 8)

Москва, 2002 г.

Сборник карт трудовых процессов на строительство, ремонт и содержание автомобильных дорог. Выпуск 8. М.: Центроргтруд, 2002.

Карты трудовых процессов предназначены для совершенствования организации труда рабочих, занятых на строительстве, ремонте и содержании автомобильных дорог.

Карты определяют прогрессивную технологию работ, рациональное использование рабочего времени, технологическую последовательность выполнения работ на основе передовых приемов и методов труда.

Карты могут быть использованы при разработке организационно-технологической документации при строительстве, ремонте и содержании автомобильных дорог (ППР и другие), планировании работ, а также в учебных целях при подготовке высококвалифицированных рабочих.

СОДЕРЖАНИЕ

 

Карта
трудового процесса

Ремонт гравийного
(щебеночного)
покрытия

Разработана ГП

Центрорпруд

Росавтодора

КТП-8.04-2002

(Е17-3-1-3 (щ), 18, 19;

Е-17-2-1 (щ), 3;

Е17-31-2 (прим. 30 %);

Е20-2-19-1, 3, 5, 7, 9)

Взамен КТ

1. Область и эффективность применения карты

1.1. Карта предназначена для организации труда специализированного звена рабочих по ремонту гравийного (щебеночного) покрытия.

1.2. Показатели производительности труда:

№ п/п

Наименование показателей

Единица измерения

Величина показателей

по ЕНиР

по карте

1.

Выработка на 1 чел.-день:

гравийного покрытия

щебеночного покрытия

м2

м2

398

246

406

254

2.

Затраты труда на ремонт 1000 м2 покрытия:

гравийного

чел.-час

20,1

19,7

 

щебеночного

чел.-час

32,5

31,45

Примечание: В затраты труда по карте включено время на подготовительно-заключительные работы - 5 % и отдых - 10 %.

Использование методов и приемов труда, рекомендованных данной картой, позволит повысить производительность на 2 - 3 % по сравнению с едиными нормами.

2. Подготовка и условия выполнения процесса

2.1. Работы по ремонту гравийного (щебеночного) покрытия производят в весенний, летний и осенний периоды.

2.2. Перед началом работ необходимо:

- оградить участок работ типовыми ограждениями и знаками безопасности;

- подготовить механизмы к работе;

- иметь необходимый запас гравия (щебня), складированного на обочине.

2.3. Работы следует выполнять, соблюдая нормы проектирования, а также правила техники безопасности (СНиП III-4-80), Правила охраны труда при строительстве, ремонте и содержании автомобильных дорог, 1993 г., СНиП 12-03-2001, инструкции по охране труда.

3. Исполнители, предметы и орудия труда

3.1. Исполнители

1.

Машинист автогрейдера

5 разряд (М1)

1

2.

Тракторист

5 разряд (Т)

1

3.

Машинист поливомоечной машины ПМ-130

4 разряд (М2)

1

4.

Машинист катка

6 разряд (М3)

1

5.

«                     «

5 разряд (М4)

1

6.

Дорожный рабочий

2 разряд (Д1 - Д2)

2

3.2. Машины, оборудование, инструменты, приспособления, инвентарь

№ п/п

Наименование

Количество

1

2

3

1.

Кирковщик КП-4 в прицепе к трактору С-80

1

2.

Автогрейдер

1

3.

Каток

2

4.

Поливомоечная машина ПМ-130

1

5.

Шаблон с уровнем

2

6.

Трехметровая рейка

2

7.

Лопата стальная строительная

2

8.

Знаки безопасности и ограждения в соответствии с ПОР

комплект

3.3. Расход материалов.

Гравий или щебень - на 1 км - 500 м3;

Вода:

- перед кирковкой - 100 м2 - 0,2 м3;

- при укатке гравия (щебня) - 100 м2 - 0,9 м3 (1,5 м3).

3.4. Спецодежда и спецобувь.

Машинисты автогрейдера и поливомоечной машины:

1. Комбинезон хлопчатобумажный                                                                                                                                                    2

2. Рукавицы комбинированные двупалые                                                                     2 пары

Машинисты катков:

1. Комбинезон хлопчатобумажный                                                                               2 пары

2. Ботинки кожаные                                                                                                        2 пары

3. Рукавицы комбинированные                                                                                      2 пары

Дорожные рабочие

1. Костюм хлопчатобумажный                                                                                                                                                    2

2. Ботинки кожаные                                                                                                        2 пары

3. Рукавицы комбинированные                                                                                      2 пары

4. Жилет сигнальный                                                                                                                                                    2

4. Технология и организация процесса

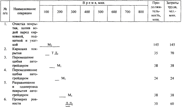
4.1. Технологический процесс ремонта гравийного (щебеночного) покрытия включает в себя следующие операции:

- очистку покрытия от пыли и грязи;

- полив водой перед кирковкой;

- кирковку покрытия кирковщиком;

- перемещение автогрейдером гравийного (щебеночного) материала с обочины с одновременным разравниванием по всей ширине;

- перемешивание вскиркованного и вновь добавленного материала со сбором в мерный валик;

- разравнивание и планировка материала из валика на всю ширину проезжей части;

- проверка ровности;

- полив водой при укатке;

- подкатка и укатка;

- очистка и разравнивание обочин, проверка ровности.

4.2. Разравнивание и планировка автогрейдером материала из валика на всю ширину проезжей части -7 метров.

4.3. Технологическая схема ремонта гравийного (щебеночного) покрытия

4.4. Графики технологического процесса на ремонт:

а) гравийного покрытия

а) щебеночного покрытия

5. Приемы труда

№ п/п

Наименование операций

Характеристика приемов труда

1

2

3

1.

Очистка покрытия от пыли и грязи, полив водой перед укаткой

М2 до начала кирковки производит очистку покрытия от пыли и грязи за 2 - 3 прохода по одному следу на постоянной рабочей скорости 10 - 12 км/час с перекрытием каждого следа на 30 - 40 см. После очистки производит полив покрытия из расчета 2 л/м2.

2.

Кирковка покрытия

Т производит кирковку покрытия по всей ширине проезжей части. Д1 следит за глубиной кирковки во время работы.

3.

Перемещение гравийного (щебеночного) материала с обочины с одновременным разравниванием его по всей ширине проезжей части

М1 устанавливает автогрейдер на проезжую часть дороги таким образом, чтобы задние правые колеса находились у кромки основания, ставит отвал автогрейдера под углом 35 - 40°, углом резания до 50° и начинает перемещение гравийного (щебеночного) материала с обочины, одновременно разравнивая его по всей ширине проезжей части за 6 круговых проходов на постоянной рабочей скорости 3,5 - 4 км/час.

4.

Перемешивание вскиркованного и вновь добавленного материала со сбором материала в мерный валик

М1 производит перемешивание вскиркованного и вновь добавленного материала с последующим оформлением его в мерный валик за 4 круговых прохода.

5.

Разравнивание и планировка материала из валика на всю ширину проезжей части

М1 производит разравнивание и планировку гравийной (щебеночной) смеси за 6 проходов автогрейдера.

6.

Проверка ровности

Д1 - Д2 проверяют ровность покрытия при помощи 3-метровой рейки, укладывая ее вдоль дороги в трех местах (на оси и в одном метре от кромок проезжей части) на каждом поперечнике.

Измеряют просветы под рейкой в пяти контрольных точках, расположенных на расстоянии 0,5 м от концов рейки и одна от другой. Выявляют дефектные места.

Д1 - Д2 проверяет уклоны поперечного профиля шаблоном через каждые 100 м.

7.

Уплотнение катками

М3, М4 производят подкатку и укатку гравийного покрытия за 20 проходов по одному следу; щебеночного покрытия за 42 прохода по одному следу. Уплотнение начинают от краев проезжей части с постепенным переходом к середине. Каждый последующий проход катка должен перекрывать предыдущую полосу укатки на 30 см. Скорость движения при первых двух проходах должна быть 1,5 - 2,0 км/час, при последующих - 3,5 - 4,0 км/час. Расстояние между движущимися катками 10 - 15 м.

М2 в процессе уплотнения производит полив гравийного (щебеночного) материала водой.

Внешним признаком окончания укатки является прекращение осадки укатываемого слоя при проходе катка и прекращение движения волны перед катком.

8.

Проверка ровности, очистка и планировка обочин

Д1, Д2 - проверяют ровность покрытия трехметровой рейкой, поперечный уклон - шаблоном, выявляют дефектные места и исправляют их. Очищают и планируют обочины.

 

 




ГОСТЫ, СТРОИТЕЛЬНЫЕ и ТЕХНИЧЕСКИЕ НОРМАТИВЫ.
Некоммерческая онлайн система, содержащая все Российские Госты, национальные Стандарты и нормативы.
В Системе содержится более 150000 файлов нормативно-технической документации, действующей на территории РФ.
Система предназначена для широкого круга инженерно-технических специалистов.

Рейтинг@Mail.ru Яндекс цитирования

Copyright © www.gostrf.com, 2008 - 2026