Крупнейшая бесплатная информационно-справочная система онлайн доступа к полному собранию технических нормативно-правовых актов РФ. Огромная база технических нормативов (более 150 тысяч документов) и полное собрание национальных стандартов, аутентичное официальной базе Госстандарта. GOSTRF.com - это более 1 Терабайта бесплатной технической информации для всех пользователей интернета. Все электронные копии представленных здесь документов могут распространяться без каких-либо ограничений. Поощряется распространение информации с этого сайта на любых других ресурсах. Каждый человек имеет право на неограниченный доступ к этим документам! Каждый человек имеет право на знание требований, изложенных в данных нормативно-правовых актах!

  


 

МИНИСТЕРСТВО СТРОИТЕЛЬСТВА
ПРЕДПРИЯТИЙ НЕФТЯНОЙ И ГАЗОВОЙ ПРОМЫШЛЕННОСТИ
ГЛАВНОЕ ТЕХНИЧЕСКОЕ УПРАВЛЕНИЕ

НАУЧНО-ИССЛЕДОВАТЕЛЬСКИЙ
И ПРОЕКТНО-ТЕХНОЛОГИЧЕСКИЙ ИНСТИТУТ
НИПИоргнефтегазстрой

ТЕХНОЛОГИЧЕСКАЯ КАРТА
ОПЕРАЦИОННОГО КОНТРОЛЯ КАЧЕСТВА
СБОРОЧНО-СВАРОЧНЫХ РАБОТ ПРИ СТРОИТЕЛЬСТВЕ
ЛИНЕЙНОЙ ЧАСТИ МАГИСТРАЛЬНЫХ ТРУБОПРОВОДОВ

Москва 1984

Технологическая карта определяет технологию и организацию операционного контроля качества сборочно-сварочных работ при строительстве линейной части магистральных трубопроводов диаметрами 720 - 1420 мм.

В карте приведены основные положения операционного контроля, технологические требования к производству работ, технические требования к материалам и контролю их качества, указаны основные операции и процессы, подлежащие контролю; определены контролируемые показатели (допуски) и перечень лиц, контролирующих процессы.

Карта предназначена для линейного персонала и рабочих бригад строительно-монтажных организаций, принимавших участие в строительстве магистральных трубопроводов.

1. ОБЩИЕ ПОЛОЖЕНИЯ

1.1. Технологическая карта операционного контроля разработана на основании нормативных документов:

СНиП II-45-75     Нормы проектирования. Магистральные трубопроводы;

СНиП III-42-80    Правила производства и приемки работ. Магистральные трубопроводы;

Р 375-79                Руководство по операционному контролю качества строительно-монтажных работ при сооружении линейной части магистральных трубопроводов;

Инструкция по применению стальных труб в газовой и нефтяной промышленности.

ГОСТ 9466-75      Электроды металлические для ручной дуговой окраски сталей и наплавки. Классификация, размеры и общие технические требования.

ГОСТ 9087-81      Флюсы сварочные плавленные.

ГОСТ 2246-70      Проволока стальная сварочная.

ТУ 202-78             Порошковая проволока ППАН-19.

ГОСТ 10157-73    Аргон газообразный.

ГОСТ 8050-76      Двуокись углерода газообразная и жидкая.

ВСН 2-180-80      Инструкция по технологии сварки трубопроводов и технологического оборудования при монтаже компрессорных и насосных станций.

ВСН 2-124-80      Инструкция по технологии сварки магистральных трубопроводов.

Сборник примерных положений о должностях линейных инженерно-технических работников строительного производства.

1.2. Основными задачами операционного контроля являются:

обеспечение соответствия выполняемых строительно-монтажных работ проекту и требованиям нормативных документов по строительству, утвержденных Госстроем СССР, а также ведомственных инструкций и указаний;

предупреждение брака и дефектов в процессе производства работ, исключение возможности их накопления;

повышение личной ответственности исполнителей в целях обеспечения высоких эксплуатационных показателей строящихся объектов.

1.3. Осуществление операционного контроля качества обязательно для всех строительно-монтажных организаций, участвующих в строительстве.

1.4. Операционный контроль проводится в соответствии со схемами (раздел 10) которых указывается:

наименование работ;

перечень основных операций, подлежащих контролю;

состав контроля (что проверяется);

наименование документации, где регистрируют результат контроля;

перечень лиц, контролирующих процесс и их персональная ответственность;

периодичность (режим) контроля;

техническое оснащение контроля;

контролируемые показатели (допуски).

1.5. Предельные величины контролируемых показателей определяются на основе соответствующих СНиПов, ГОСТов, технических условий и проекта.

1.6. Все обнаруженные в процессе контроля отклонения от проектных величин и превышающие установленные допуски, фиксируются, а затем подлежат исправлению и последующему контролю.

1.7. В ходе операционного контроля сборочно-сварочных работ проверяется:

соответствие труб и сварочных материалов проекту, СНиПам, ГОСТам техническим условиям;

квалификация исполнителей работ;

соблюдение технологии и технических условий при выполнении всех операций;

качество сварных стыков.

1.8. При выполнении операционного контроля качества сборочно-сварочных работ необходимо строго выполнять правила техники безопасности.

2. ВИДЫ ОПЕРАЦИОННОГО КОНТРОЛЯ

2.1. В зависимости от этапа процесса производства, объема контрольных выборок (полноты охвата контролем), применения средств контроля, пользуются такими его видами:

входной приемочный; операционный; периодический; постоянный; измерительный; сплошной; выборочный.

2.2. Операционный контроль проводится в процессе и после завершения определенной операции.

2.3. Входной приемочный контроль осуществляется с целью проверки соответствия поступающих материалов ГОСТам, СНиПам, техническим условиям и рабочим чертежам.

2.4. Периодический и постоянный виды контроля характеризуют его режим. Интервалы, через которые осуществляется периодический контроль, определяется в зависимости от степени важности данной операции (процесса), должности контролирующего лица, а также экономической целесообразности.

2.5. Постоянный контроль осуществляется силами непосредственных исполнителей работ (рабочих, бригадиров) в форме самоконтроля.

2.6. Измерительный вид контроля определяется применением средств контроля. В понятие измерительного входит также контроль с применением простейших шаблонов, рисок, кромок, упоров, совмещение которых гарантирует выполнение работы на заданном уровне качества.

2.7. Сплошной и выборочный виды контроля характеризуют объем контрольных выборок (полноту охвата контролем).

Наиболее достоверным является сплошной контроль. Однако в связи с его высокой стоимостью, в ряде случаев эффективнее оказывается статистический выборочный контроль с применением контрольно-измерительных приборов и инструмента и последующей обработкой результатов.

3. ОРГАНИЗАЦИЯ ОПЕРАЦИОННОГО КОНТРОЛЯ

3.1. Организация контроля и надзор за его выполнением на строительстве возлагается на начальников и главных инженеров строительно-монтажных и специализированных строительных организаций (управлении, трестов).

3.2. Руководство строительно-монтажной или специализированной организации не позднее, чем за 15 дней до начала работ должно передать непосредственному руководителю работ (начальнику участка, производителю работ, мастеру) технологические карты на производство работ в комплекте со схемами операционного контроля качества.

3.3. Схемы операционного контроля должны находиться у всех исполнителей работ и предъявляться по требованию представителей организации контролирующей качество строительства.

3.4. Главные инженеры строительных организаций до начала работ на объекте обязаны обеспечить:

инструктаж линейных инженерно-технических работников о порядке проведения операционного контроля, ответственности за его выполнение, оформлении документации, о чем делается запись в журнале работ по строительству объекта;

исполнение всеми инженерно-техническими работниками требований проекта, СНиПа и действующих инструкций по выполнению строительно-монтажных работ;

периодическую проверку знаний этих документов, результаты проверки оформляются в установленном порядке.

3.5. Инженерно-технические работники до начала работ должны ознакомить исполнителей работ с пояснениями контроля требованиями карт и схем.

3.6. Все выявленные в ходе контроля дефекты, отклонения от СНиПов, ГОСТов и проекта должны быть исправлены до начала последующих работ.

Ответственность за исправление возлагается на прорабов и мастеров.

3.7. Производители работ, мастера обязаны выполнять все положения операционного контроля, вести учет производственного брака и дефектов, выявленных в его процессе. Данные о результатах вносятся в журнал операционного контроля.

4. ЛАБОРАТОРНЫЙ КОНТРОЛЬ

4.1. Контроль за качеством работ в течение всего периода строительства осуществляют полевые испытательные лаборатории (ПИЛ), прикомандированные к монтажным управлениям и входящие в состав центральных полевых испытательных лабораторий (ЦПИЛ) трестов.

4.2. Эти лаборатории осуществляют:

контроль качества сварочных материалов;

проверку квалификаций сварщиков;

механические испытания образцов сварных стыков;

контроль сварных швов неразрушающими методами и надзор за выполнением операционного контроля в соответствии с СНиПами, ГОСТами и другими руководящими материалами.

4.3. Полевым испытательным лабораториям представлены следующие права:

приостанавливать производство работ при неправильном ведении процесса сварки;

в случае неблагоприятных результатов механических испытаний и физических методов контроля сварных стыков отстранять сварщиков от работы в соответствии с установленными положениями;

запрещать применение некачественных и несоответствующих проекту материалов.

4.4. Контроль сварных стыков неразрушающими методами производится лабораториями в соответствии со СНиПом III-42-80 (пункт 4.28).

Монтажные сварные стыки участков трубопроводов всех категорий, выполненные дуговой сваркой, подлежат контролю физическим методом, в объеме 100 %. Только радиографическим методом сварные стыки:

участков трубопроводов категории В и I во всех районах и независимо от диаметра;

участков трубопроводов диаметрами 1020 - 1420 мм в районах Западной Сибири и Крайнего Севера;

участков трубопроводов на переходах через болота II и III типа во всех районах;

участков трубопроводов на переходах через железные и автомобильные дороги I, II, III категории во всех районах;

участков подземных переходов, захлестов, ввариваемых вставок и арматуры.

В остальных случаях монтажные сварные стыки участков трубопроводов подлежат контролю для категорий II, III и IV радиографическим методом в объеме, не менее 25, 10, и 5 %. а остальные сварные стыки ультразвуковым или магнитографическим методом.

Угловые сварные стыки трубопроводов подлежат контролю ультразвуковым методом в объеме 100 %.

4.5. Кроме установленных норм количества сварных стыков, подверженных контролю физическими методами и механическим испытаниям, проверке могут подвергаться также отдельные сварные соединения, назначаемые к контролю представителями технадзора заказчика, Госгазнадзора СССР и Государственной инспекции по качеству строительства.

4.6. Критерии оценки качества сварных стыков физическими методами контроля представлены в табл. 1.

5. ИСПОЛНИТЕЛЬНАЯ ДОКУМЕНТАЦИЯ

5.1. При выполнении сборочно-сварочных работ должна своевременно оформляться и храниться на участке работ (потока) или в СМУ следующая исполнительная документация:

заводские сертификаты на трубы и сварочные материалы;

список сварщиков с указанием номера аттестационного свидетельства и присвоенного шифра (форма № 1);

журнал операционного контроля (прил. 1);

журнал регистрации результатов механических испытаний допускных и контрольных сварных соединений, (форма № 2);

журнал сварки труб на трассе и на сварочной базе (форма № 3);

журнал регистрации результатов контроля сварных соединений физическими методами контроля (форма № 4);

заключение по проверке качества сварного стыка физическими методами контроля (форма № 5);

акт на сварку межсекционного (гарантийного) стыка (форма № 7);

акт на сварку «заплат» (форма № 8);

акт на приемку узла трубопровода (форма № 16);

5.2. Рентгеновские пленки и ферромагнитные ленты со стыков, подвергшихся контролю, хранятся в ПИЛ до сдачи трубопровода в эксплуатацию.

Таблица 1

Критерии оценки качества сварных стыков

Дефекты

Допустимые размеры

Дополнительные требования

Единичных дефектов

Совокупности дефектов

длина

глубина

суммарная длина

суммарная глубина

1

2

3

4

5

6

Поры:

сферические

 

20 % от S при

15 % от S при

 

 

 

удлиненные

до 2,7 мм

10 % от S при

 

 

Во всех случаях максимальный размер поры должен превышать 2,7 мм.

цепочки

 

10 % от S при

Не более 30 мм на 300 мм сварного шва

 

 

цепочки

 

 

 

 

 

Неметаллические включения:

 

 

 

 

 

 

единичные шлаки

 

10 % от S

Не более 1/6 периметра

 

 

 

удлиненные включения

до 50 мм

 

 

 

 

Непровары:

в корне шва

 

10 % от S, но не более 1 мм

1/6 периметра

 

В стыках трубопроводов диаметром 1020 мм и более, выполненных с внутренней подваркой, непровары в корне шва не допускаются.

 

межваликовое несплавление по кромкам

до 50 мм

 

Не более 50 мм на 350 мм сварного шва

 

При сварке целлюлозными электродами труб диаметром 1020 мм и более допускается непровар длиной не более 15 мм на 350 мм сварного шва.

 

шлаковые включения

 

 

 

10 % от S, но не более 1 мм

Если дефекты расположены на одной вертикальной линии.

Трещины:

продольные

поперечные

 

 

 

 

Не допускаются трещины любой глубины и протяженности.

Наружные дефекты:

 

(провисы)

подрезы

утяжины

до 50 мм

До 0,5 мм

Не более 50 мм на 350 мм шва

 

 

Дефекты сборки

смещение кромок

 

До 20 % от S, но не более 3 мм

 

 

При сборке под газоэлектрическую сварку смещение не должно превышать 2 мм.

  Примечания. 1. К цепочке дефектов относятся также дефекта, которые расположены на одной линии в количестве не менее 3-х с расстоянием между ними, меньшим трехкратного размера дефекта.

2.  К скоплению относятся дефекты с кучным расположением в количестве не менее трех с расстоянием между ними, меньшим трехкратного размера дефекта.

3.  В таблице приняты следующие обозначения: S - толщина стенки трубы;  - расстояние между соседними порами; d - максимальный размер поры.

6. ТЕХНИЧЕСКИЕ ТРЕБОВАНИЯ К МАТЕРИАЛАМ
И КОНТРОЛЮ ИХ КАЧЕСТВА

6.1. Трубы

6.1.1. Трубы для строительства линейной части магистральных трубопроводов должны отвечать требованиям СНиП II-45-75 в Инструкции по применению стальных труб в газовой и нефтяной промышленности.

6.1.2. Трубы импортной поставки (в т.ч. заказные по ГОСТам) должны отвечать требованиям СНиП II-45-75 по следующим параметрам:

способ изготовления труб;

химический состав стали;

физические характеристики стали;

физические характеристики сварного шва.

6.1.3. Технические условия на отечественные и импортные трубы диаметрами 720 - 1420 мм приведены в табл. 2.

6.1.4. На каждую партию труб завод-изготовитель выдает сертификат, удостоверяющий их соответствие механическим условиям. В сертификате указывается: номера заказа, номер и дата ТУ; размеры труб; количество труб в партии; номера плавок вошедших в партию; результаты гидравлических и механических испытаний; заводской номер труб и номер партии.

6.1.5. На каждой трубе на расстоянии около 50 мм от концов должны быть четко написаны несмываемой краской: номер, размер и год изготовления; номер партии; клеймо ОТК; товарный знак завода-изготовителя.

6.1.6. Приемка и разбраковка труб производится на прирельсовых складах во время разгрузки и штабелирования.

6.1.7. Приемка начинается со сварки показателей химических и механических свойств металла, предусмотренных техническими условиями и указанных в сертификате.

6.1.8. Количество поступивших труб проверяется по вагонной накладной. Затем поступившие трубы сличают с сертификатами. Трубы, показатели которых по сертификатам не соответствуют техническим условиям, а также трубы, номера которых не значатся в полученных сертификатах, из дальнейшей приемки исключаются.

6.1.9. После проверки соответствия труб сертификатам, проводятся выборочные замеры: разделки фаски, толщины стенок.

Таблица 2

Перечень технических условий на стальные трубы большого диаметра отечественного производства и их основные характеристики

Поставщик труб, номер технических условий

Наружный диаметр труб, мм

Номинальная толщина стенки, мм

Марка стали

Эквивалент углерода, не более

Гарантированное заводом испытательное давление без осевого подпора, МПа (кГс/см2)

Состояние поставки металла труб

Коэффициент безопасности по металлу (KI)

1

2

3

4

5

6

7

8

Волжский трубный завод

1420

14,0

16ГФР

0,43

9,4 (96,0)

Электросварные, спиральношовные термоупрочненные

1,4

ТУ 14-8-668-78

1220

11,6

16ГФР

0,43

92,5 (94,5)

 

Челябинский трубопрокатный завод

1220

 

11,0

17Г1С-У

0,46

6,2 (63,0)

Прямошовные, электросварные, экспандированные (нормализованный лист)

1,47

ТУ 14-3-602-77

 

12,0

То же

 

6,5 (66,0)

 

 

 

13,0

-”-

 

7,1 (72,0)

 

 

 

14,0

-”-

 

7,7 (78,0)

 

 

 

 

14,5

-”-

 

7,9 (81,0)

 

 

 

 

15,2

-”-

 

8,3 (85,0)

 

 

Харцызский трубный завод

1220

11,0

17Г1С-У

0,46

6,2 (63,0)

Прямошовные, электросварные, экспандированные (нормализованный лист)

1,40

ТУ 14-3-602-77

 

12,0

То же

 

6,5 (66,0)

 

 

 

13,0

-”-

 

7,1 (72,0)

 

 

 

14,0

-”-

 

7,6 (78,0)

 

 

 

 

14,5

-”-

 

7,9 (81,0)

 

 

 

 

15,2

-”-

 

8,3 (85,0)

 

 

Волжский трубный завод

1220

12,0

17Г2СФ

0,46

6,4 (65,0)

Спиральношовные из рулонной горячекатанной низколегированной стали

1,47

ТУ 14-3-295-74

 

 

 

 

 

 

Волжский трубный завод

1020

10,5

17Г2CФ 17Г1С

0,46

6,4 (65,0)

Спиральношовные термически упрочненные из рулонной горячекатанной низколегированной стали

1,40

ТУ 14-3-311-74

 

 

 

 

 

 

Челябинск трубопрокатный завод

1020

9,5

17Г1С-У

0,46

6,0 (61,0)

Прямошовные электросварные экспандированные (нормализованный лист)

1,47

ТУ 14-3-602-77

 

10,0

То же

 

6,4 (65,0)

 

 

 

10,5

-”-

 

6,7(68,0)

 

 

 

 

11,5

-”-

 

7,4 (75,0)

 

 

 

 

12,0

-”-

 

7,7 (79,0)

 

 

 

 

12,5

-”-

 

8,1 (82,6)

 

 

 

 

14,0

-”-

 

9,2 (93,5)

 

 

Новомосковский трубный завод

1020

9,5

-”-

0,46

6,0 (61,0)

То же

1,47

ТУ 14-3-602-77

 

10,0

-”-

 

6,4 (65,0)

 

 

 

 

10,5

-”-

 

6,7 (68,0)

 

 

 

 

11,5

-”-

 

7,4 (75,0)

 

 

 

 

12,0

-”-

 

7,7 (79,0)

 

 

 

 

12,5

-”-

 

8,1 (82,6)

 

 

 

 

14,0

-”-

 

9,2 (93,5)

 

 

Новомосковский трубный завод ТУ 14-3-602-77

1020

8,5

16Г2САФ

0,46

5,8 (53,0)

Прямошовные электросварные экспандированные (нормализированный лист)

1,47

 

9,0

То же

 

6,2 (63,0)

1,47

 

10,5

-”-

 

7,3 (74,5)

 

Новомосковский трубный завод ТУ 14-3-666-78

1020

9,5

16Г2АЮ

0,46

6,0 (61,0)

Прямошовные электросварные экспандированные (лист термообработан)

 

 

10,0

То же

 

8,4 (65,0)

 

 

10,5

-”-

 

6,7 (68,0)

 

 

11,5

-”-

 

7,4 (75,5)

 

 

 

12,0

-”-

 

7,7 (79,0)

 

 

 

12,5

-”-

 

8,1 (82,5)

 

 

Харцызский трубный завод

ТУ 14-3-602-77

1020

12,5

14ХГС

0,46

7,6 (78,0)

Прямошовные электросварные из горячекатанной стали

1,4

Волжский трубный завод ТУ 14-3-295-74

1020

10,0

17Г2СФ

0,46

6,4 (65,0)

Спиральношовные из рулонной горячекатанной низколегированной стали

1,47

 

11,5

То же

 

7,4 (75,0)

 

 

12,0

-”-

 

 

 

 

Волжский трубный завод

ТУ 14-3-311-74

1020

10,5

17Г1С

0,46

7,4 (75,0)

Спиральношовные термически упрочненные из рулонной горячекатанной низколегированной стали

1,4

 

12,0

То же

 

8,3 (85,0)

 

Ждановский металлургический завод

ТУ 14-3-499-76

1020

10,6

15ГСТЮ

-

6,4 (65,0)

Спиральношовные из рулонной горячекатанной низколегированной стали

1,47

Волжский трубный завод

ТУ 14-3-295-74

820

8,0

17Г2СФ

0,46

6,4 (65,0)

Спиральношовные трубы из рулонной горячекатанной низколегированной стали

1,47

 

10,0

То же

 

7,4 (75,0)

 

 

11,5

-”-

 

8,8 (90,0)

 

То же

ТУ 14-3-311-74

820

8,5

17Г2СФ

0,46

7,4 (75,0)

Спиральношовные термически упрочненные из рулонной горячекатанной низколегированной стали

1,4

 

10,0

или 17Г1С

 

8,3 (85,0)

 

 

12,0

 

 

10,3 (105,0)

 

Ждановский металлургический завод

ТУ 14-3-604-77

530

7,0

09Г2С

-

7,4 (75,0)

Прямошовные электросварные горячеправленные из низколегированной стали

1,4

 

8,0

То же

 

7,8 (80,0)

 

 

9,0

-”-

 

 

 

То же

ТУ 14-3-605-77

530

7,0

10Г2С1

-

8,8 (80,0)

То же

1,4

 

8,0

То же

 

8,3 (85,0)

 

 

9,0

-”-

 

8,3 (85,0)

 

ГОСТ 20295-74

530 - 820

5,0

по ГОСТу 19281-73

-

по ГОСТу 3845-75

Сварные прямошовные и спиральношовные

1,4

 

9,0

по ГОСТу 19282-73 по ГОСТу 1050-74

 

 

 

 

Таблица 3

Перечень технических условий за стальные трубы большого диаметра импортного производства и их основные характеристики

Поставщик труб, номер технических условий

Наружный диаметр труб, мм

Минимальная толщина стенки, мм

Эквивалент углерода, не более

Гарантированное испытательное давление,

МПа (кГс/см2)

Состояние поставки металла труб

Коэффициент безопасности до материалу (%)

1

2

3

4

5

6

7

Япония

 

 

 

 

 

 

ТУ-56-76С

1420

16,5

0,41

9,6 (98,0)

100 %-ный контроль

1,34

ТУ-56-77С

 

19,5

0,42

11,4 (16,0)

ультразвуком, регулируемая прокатка

 

Япония

 

25,0

0,43

11,8 (120,0)

 

ТУ-56-76НС

1420

16,5

0,40

9,6 (98,0)

То же

1,34

ТУ-56-77НС

 

19,5

0,42

11,4 (116,0)

 

 

Япония

 

25,0

0,43

11,8 (120,0)

 

 

ТУ-56-76-НКК

1420

16,5

0,40.

9,6 (98,0)

-”-

1,34

ТУ-56-77-НКК

 

19,5

0,42

11,4 (116,0)

 

 

Япония

 

25,0

0,43

11,8 (120,0)

 

 

ТУ-56-76КС

1420

16,5

0,40

9,6 (98,0)

-”-

1,34

ТУ-56-77КС

 

19,5

0,42

11,4 (116,0)

 

 

 

 

25,0

0,43

11,8 (120,0)

 

 

ФРГ

 

 

 

 

 

 

ТУ 28/40-77МВ

720

8,4

0,40

8,3 (85,0)

100 %-ный контроль ультразвуком, регулируемая прокатка

1,34

 

720

11,0

0,42

10,8 (110,0)

 

 

1020

21,5

 

14,7 (150,0)

 

ФРГ

1220

14,1

0,40

9,3 (95,0)

То же

1,34

ТУ 48/56-77МВ

1220

16,8

0,41

11,1 (113,0)

 

 

 

1420

16,5

0,41

9,4 (96,6)

 

 

 

1420

19,5

0,42

11,6 (118,0)

 

 

ФРГ

1420

25,0

0,44

14,7 (150,0)

 

 

ТУ 28-40-48-76МВ

720

11,0

 

9,2 (94,0)

-”-

1,4

 

 

12,0

 

7,8 (80,0)

 

 

 

 

16,0

 

11,8 (120,0)

 

 

 

1020

16,0

21,5

 

8,8 (90)

 

 

Франция

1220

26,0

 

11,8 (120,0)

 

 

ТУ 26-40-48-76

720

11,0

 

9,2 (94,0)

-”-

1,4

 

 

12,0

 

7,8 (80,0)

 

 

 

 

16,0

 

11,8 (126,0)

 

 

 

1020

16,0

21,0

 

8,8 (90,0)

 

 

 

1220

26,0

 

11,8 (120,0)

.

 

Франция

ТУ 28-40-48-76С

720

12,0

16,0

 

7,8 (80,0)

11,8 (120,0)

-”-

1,4

 

1020

16,0

21,5

0,43

7,8 (80,0)

11,8 (120,0)

 

 

 

1220

26

 

11,8 (120,0)

 

 

ФРГ

1020

11,8

 

8,8 (90,0)

100 %-ный контроль ультразвуком, регулируемая прокатка

1,4

ТУ 40/48/56-76МВ

 

14,0

 

10,8 (110,0)

 

 

1220

14,1

 

8,8 (90,0)

 

 

 

16,8

 

10,8 (110,0)

 

 

 

1420

16,5

 

8,8 (90,0)

 

 

 

 

19,5

25,0

 

10,8 (110,0)

 

 

Франция

720

8,4

0,45

7,3 (74,0)

То же

1,4

ТУ 20/28/76Фр

 

11,0

 

9,8 (100,0)

 

 

Италия

720

8,4

 

7,3 (74,0)

-”-

1,4

ТУ 20/28/75Ит

 

11,0

0,45

9,8 (100,0)

 

 

ФРГ

720

7,0

 

9,2 (94,0)

-”-

1,4

ТУ 28/40-48-72

 

11,0

 

7,8 (80,0)

 

 

 

 

12,0

16,0

0,45

0,46

11,8 (120,0)

 

 

 

1020

16,0

 

8,3 (90,0)

 

 

 

 

21,5

0,47

11,8 (125,0)

 

 

 

1220

21,5

 

11,8 (120,0)

 

 

 

 

26,0

0,47

11,8 (120,0)

 

 

ЧССР

720

9,0

 

7,4 (75,3)

Бесшовные горячекатанные

1,55

ТУ 132/73

 

10,0

 

7,4 (75,3)

 

 

 

15,0

 

8,3 (85,0)

 

 

ЧССР

820

9,0

 

6,6 (67,0)

Горячекатанные спиральношовные

1,47

ТУ 205Ц46/72 дополнение

720

8,0

 

6,9 (70,0)

 

ТУ 28-40-48-78МВ

720

 

 

6,9 (70,0)

100 %-ный контроль ультразвуком, регулируемая прокатка

1,34

 

720

 

 

8,3 (85,0)

 

 

720

 

 

10,8 (110,0)

 

 

730

 

0,40

11,8 (120,0)

 

 

 

1020

 

0,42

10,8 (110,0)

 

 

 

1020

 

 

14,7 (150,0)

 

 

 

1220

 

 

11,8 (120,0)

 

 

 

1220

 

0,43

11,8 (120,0)

 

 

ЧССР

720

16,0

 

11,8 (120,0)

То же

1,34

ТУ 42/20/28

1020

16,0

 

11,4 (116,0)

 

 

 

1020

21,5

0,42

14,7 (150,0)

 

 

 

1220

20,0

 

11,8 (120,0)

 

 

 

1220

26,0

0,43

14,7 (150,0)

 

 

6.1.10. Трубы, имеющие недостаточную толщину стенки и отклонения размеров, превышающие допускаемые ГОСТом или техническими условиями отбраковываются.

6.1.11. Разбраковка осуществляется строительно-монтажной организацией совместно с заказчиком и оформляется техническим актом качественной приемки труб, в котором указываются причины браковки.

6.1.12. Приемка импортных труб производится по особым техническим условиям, прилагаемым к контракту.

6.2. Сварочные материалы

6.2.1. Для сварки магистральных трубопроводов разрешено применять следующие материалы:

электроды с целлюлозным (Ц) и основным (Б) покрытием для ручной дуговой сварки поворотных и неповоротных стыков труб;

флюс и сварочную проволоку для автоматической сварки под флюсом поворотных стыков труб;

защитный газ и сварочную проволоку для автоматической газоэлектрической сварки неповоротных стыков труб;

самозащитную порошковую проволоку для автоматической сварки неповоротных стыков труб с принудительным формированием.

6.2.2. Сварочные материалы должны удовлетворять требованиям следующих нормативных документов;

ГОСТ 9-67-75. Электроды металлические для ручной дуговой сварки сталей и наплавка. Классификация, размеры и общие технические требования;

ГОСТ 9087-81. Флюсы сварочные плавленные;

ГОСТ 2246-70. Проволока стальная сварочная;

ТУ 302-76, Порошковая проволока ППАН-19;

ГОСТ 10157-73. Аргон газообразный;

ГОСТ 8050-76. Двуокись углерода газообразная жидкая.

6.2.3. При автоматических способах сварки необходимо использовать проволоки с омедненным или специальным антикоррозийным покрытием.

6.2.4. Для проведения сварочных работ допускается применение только тех марок электродов, флюсов, проволок, защитных газов, которые регламентированы ВСН 2-124-80 и разделом 2 настоящей карты.

6.2.5. Применение любой новой марки сварочных материалов разрешается только после получения положительных результатов их испытания в соответствии с Инструкцией на порядок выдачи рекомендаций по новым маркам отечественных и импортных сварочных материалов.

6.2.6. Характеристики и рекомендации по применению сварочных материалов приведены в табл. 4, 5.

6.3. Контроль сварочных материалов

6.3.1. Каждая партия электродов должна иметь сертификат завода-изготовителя, в котором умаивается: тип и марка по ГОСТу, допустимые пространственные положения при сварке, данные о механических свойствах металла шва и сварного стыка.

6.3.2. Для проверки качества покрытия электродов из каждой партии отбирается по 10 - 15 штук, упакованных в разные пачки, и путем внешнего осмотра устанавливается отсутствие трещин, местных утолщений и т.п.

При обнаружении дефектов производят дополнительный осмотр 30 - 35 электродов. Если при дополнительном осмотре обнаружены дефекты, вся партия электродов бракуется.

6.3.3. Для проверки концентричности нанесения покрытия надрезают и измеряют его толщину в разных сечениях электрода.

Покрытие электрода должно быть расположено относительно стержня концентрично.

6.3.4. При проверке концентричности нанесения покрытия одновременно устанавливают наличие на стержне электрода ржавчины; при ее обнаружении применять для сварки электроды запрещается.

6.3.5. Покрытие электродов не должно разрушаться при их свободном падении на гладкую стальную плиту (с высоты 1 м для электродов диаметром 3 мм и с высоты 0,5 м для электродов диаметром 4 - 5 мм).

6.3.6. Технологические свойства электродов проверяют при постоянном наблюдении за сваркой и качеством получаемого шва первых трех-пяти стыков труб. Проверка должна производиться сварщиками непосредственно на их рабочих местах.

6.3.7. Электроды должны удовлетворять следующим требованиям:

обеспечивать легкое возбуждение дуги и спокойное стабильное горение во всех пространственных положениях без чрезмерного разбрызгивания металла и шлака;

покрытие должно плавиться равномерно, без отваливания кусков покрытия и без образования из него «чехла» или «козырька», препятствующих непрерывному плавлению электрода.

Таблица 4

Электроды для дуговой сварки труб из нормализованных: и горячекатанных сталей

Электроды

Трубы

Назначение

Тип электродов

Вид покрытий

Марка

Диаметр, мм

Толщина стенки, мм

Нормативное значение временного сопротивления разрыву металла труб,

МПа (кГс/мм2)

Условия прокладки

1

2

3

4

5

6

7

8

Для сварки корневого слоя шва неповоротных стыков труб

Э-42

Ц

ВСЦ-4

Фокс-Цель

Кобе 6010

Флитвельд 5П

3,0 - 3,25

4,0

5 - 8

7 - 26

до 540 (55)

Подземная

 

 

 

 

 

 

 

 

 

То же

То же

ВСЦ-4

Фокс Цель Кобе 6010 Флитвельд 5П

4,0

8 - 26

540-588 (55 - 60) включительно

То же

 

Э-50

-“-

ВСЦ-4А

3,0 - 3,25

5 - 8

540 - 588 (55 - 60)

-“-

 

 

 

 

4,0

7 - 26

включительно

 

Для сварки «горячего» прохода неповоротных стыков труб

Э-42

-“-

ВСЦ-4

Кобе 6010 Фокс Цель Флитвельд 5П

4,0

5 - 26

до 540 (55)

-“-

 

Э-50

-“-

 

ВСЦ-4А

Фокс Цель МО

4,0

5 - 26

до 540 (55)

-“-

Для сварки «горячего» прохода неповоротных стыков труб

Э-42

Ц

ВСЦ-4

Фокс Цель Кобе 6010 Флитвельд 5П

4,0

7 - 26

540 - 588 (55 - 60) включительно

Подземная

То же

Э-50

То же

ВСЦ-4А

Фокс Цель МО МилдАрк 85П

4,0

5 - 26

540 - 588 (55 - 60) включительно

То же

 

Э-50А

Б

ВСФС-50

4,0

5 - 26

 

Любая

Для сварки ремонта корневого слоя шва поворотных и неповоротных стыков труб

Э-42А

То же

УОНИ-13/45

2,0 - 2,5

3,0 - 3,25

5 - 8

7 - 26

до 490 (50)

включительно

То же

 

 

 

 

 

 

 

 

 

Э-50А

-“-

УОНИ-13/55

2,0 - 2,5

5 - 8

до 588 (60)

-“-

 

 

 

ДБ-52У Гарант

Фокс ЕВ 50

3,0 - 3,25

7 - 26

включительно

 

Для подварки изнутри трубы

Э-42А

-“-

УОНИ-13/45

3,0 - 4,0

5 - 26

до 490 (50) включительно

-“-

 

Э-50А

-“-

УОНИ-13/55 ЛБ-52У Гарант

Фокс ЕВ 50

3,0 - 4,0

5 - 26

до 588 (60) включительно

-“-

Для сварки и ремонта заполняющих и облицовочных слоев шва (после «горячего» прохода электродами с целлюлозным покрытием или после сварки корневого слоя шва электродами с основным покрытием)

Э-42А

Б

УОНИ-13/45

3,0 - 3,25

4,0 - 5,0

5 - 8

7 - 26

до 490 (50)

до 540 (55)

Любая

Э-50А

То же

УСНИ 13/55 ДБ- 52У

3,0 - 3,25

5 - 6

до 540 (55)

То же

 

 

Гарант

Фокс ЕВ 50

4,0 - 5,0

7 - 26

до 540 (55)

-“-

Э-60

-“-

ВСФ-65У

Шварц 3К

3,0 - 3,25

5 - 8

 

 

 

 

Гарант КС

ЛБ-62Д

4,0 - 5,0

7 - 26

540 - 588 (55 - 60) включительно

-“-

Примечания.       1. При надземной и наземной прокладке трубопроводов в районах многолетней мерзлоты следует применять специальные сварочные материалы.

2. Электроды диаметром 5 мм разрешается применять только для сварки верхней полуокружности труб.

3.    При сварке труб с нормативным временным сопротивлением разрыву до 490 МПа (50 кгс/мм2) применение электродов УОНИ-13/45 предпочтительнее.

Таблица 5

Электроды для дуговой сварки термически упрочненных труб

Электроды

Трубы

Назначение

Тип

Вид покрытий

Марка

Диаметр, мм

Толщина стенки, мм

Нормативное значение временного сопротивления разрыву металла труб, МПа (кгс/мм2)

Условия прокладки

1

2

3

4

5

6

7

8

Для сварки корневого слоя шва неповоротных стыков труб

Э-50

Ц

ВСЦ-4А (БСЦ-4, Кобе 6010, Фокс Цель)

3,0 - 4,0

7 - 15

588 (60)

Подземная

Для сварки «горячего» прохода неповоротных стыков труб

Э-50

То же

ВСЦ-4А Фокс Цель МО Милд Арк В5П (ВСЦ 4, Кобе 6010, Фокс Цель)

3,0 - 4,0

7 - 15

588 (60)

То же

Для сварки и ремонта корневого слоя шва поворотных стыков труб

Э-50А

Б

УОНИ-13/55 Гарант

Фокс ЕВ 50

ЛБ-52У

2,0 - 2,5

3,6 - 3,25

7 - 8

7 - 15

588 (60)

Любая

Для подварки изнутри трубы

Э-50

То же

УОНИ-13/55 Гарант

Фокс ЕВ 50

ЛБ-52У

3,0 - 4,0

7 - 15

588 (60)

То же

Для сварки и ремонта заполняющих слоев шва неповоротных стыков труб

Э-70

Э-60

Б

ВСФ-75 (ВСФ-65У, ЛБ-62Д), Шварц-3К

4,0

7 - 15

588 (60)

Любая

Примечание. Применение электродов, указанных без скобок, предпочтительнее.

Таблица 6

Сварочные материалы для автоматической сварки под флюсом поворотных стыков труб

Способ сварки

Сочетание сварочных материалов

Нормативное значение временного сопротивления разрыву,

МПа (кгс/мм2)

Условия прокладки

Марка флюса

Марка проволоки

Односторонняя сварка по сваренному вручную корневому слою шва

АН-348А

СВ-08

СВ-08А

СВ-08АА

до 490 (50)

включительно

Подземная

 

АН-348АМ

(СВ-08ГА)

до 490 (50)

включительно

 

 

АН-47

ВС-08

СВ-08А

СВ-08АА

(СВ-08ГА)

 

Любая

 

АН-348А

АН-348АМ

СВ-08ГА

свыше 490 (50)

до 540 (55)

Подземная

 

АН-47

СВ-08ГА

свыше 490 (50)

до 540 (55)

Любая

 

АН-47

СВ-08ХМ

СВ-08МХ

540 - 588 (55 - 60) включительно, в т.ч. термоупрочненных

То же

Двусторонняя сварка

АН-348А

АН-346АМ АН-47

СВ-08ГА

до 588 (60)

включительно

Подземная

 

АН-47

СВ-08ХМ

СВ-08МХ

свыше 540 (55)

до 588 (60) включительно, в т.ч. термически упрочненных

Любая

Примечания. 1. При автоматической сварке стыков труб с временным сопротивлением разрыву 540 МПа (55 кгс/мм2) и выше по сваренному ручной дуговой сваркой корневому слою взамен флюса АН-47 допускается применение флюса АН-22 по ГОСТу 9087-81.

2.       При автоматической сварке труб с нормативным временным сопротивлением разрыву до 490 МПа (50 кгс/мм2) предпочтительнее применение проволок СВ-08А, СВ-08АА.

3.       При подварке корневого слоя шва автоматической сваркой под флюсом следует использовать материалы, которые рекомендованы для сварки заполняющих слоев.

6.3.8. Каждая бухта проволоки должна иметь бирку завода-изготовителя и сертификат, в котором указывается номер плавки, марка и химический состав.

6.3.9. Флюс должен иметь сертификат завода-изготовителя, в котором указывается марка, химический состав и грануляция.

6.3.10. Проверка технологических свойств проволоки и флюса производится в процессе сварки 3 - 4 поворотных стыков при тщательном наблюдении за процессом сварки каждого слоя шва.

Проволока и флюс считаются годными к применению, если процесс сварки на установленном режиме протекает спокойно, формирование шва происходит равномерно, шлак после остывания легко удаляется со шва, а в наплавленном металле отсутствуют поры и трещины.

6.4. Приемка сварочных материалов и их хранение

6.4.1. Поступающие на участок централизованного хранения и подготовки сварочные материалы должны пройти количественный и качественный контроль с соответствующим оформлением первичной приходной документации.

6.4.2. Количественный и качественный контроль сварочных материалов осуществляет комиссия, в состав которой входят представители монтажной организации, сварочной службы или ПИЛ и отдела снабжения.

6.4.3. Кладовщик должен отметить поступление сварочных материалов в журнале регистрации прибытия грузов.

5.4.4. Сварочные материалы, поступающие на участок для повторной подготовки, учитывают на основании приемо-сдаточных накладных.

6.4.5. Сварочные проволоки, электроды, флюсы, порошковую проволоку следует хранить в таких помещениях, где приняты меры, предупреждающие их увлажнение.

Сварочные материалы должны храниться при температуре не ниже + 15°.

Электроды и флюсы непосредственно перед сваркой должны быть прокалены (просушены).

Таблица 8

Условия прокалки (просушки) сварочных материалов

Тип, марка сварочных материалов

Температура прокалки, °С

Время выдержки, ч

Электроды

 

 

      Э-42,   Э-50 (Б)

60 - 100

1

      Э-42А (Б)

200 - 250

1

      Э-50А (Б)

250 - 300

1

      Э-60,   Э-70 (б)

300 - 350

1

Флюсы

 

 

      АИ-348А

250 - 300

1

      АЧ-47

300 - 350

1

      АН-22

450 - 500

2

Порошковая проволока

      ППАН-19

230 - 250

2

Примечание. Электроды с целлюлозным покрытием, доставленные к месту работ с неповрежденной герметической упаковкой (в жестяных банках или картонных коробках с герметической пленкой), разрешается использовать по назначению без предварительной сушки.

6.4.6. Сварочные материалы необходимо доставлять к месту производства работ в количествах, обеспечивающих потребность в них только одной смены. Оставшиеся неиспользованными флюс и электроды перед применением их на следующий день следует вновь прокалить (просушить).

6.4.7. Прокалка флюсов выполняется без ограничений. Если электроды прошли повторную сушку (прокалку), в журнал регистрации в графе «Специальные отметки» делается запись: «Повторная прокалка (просушка)».

6.4.8. Оставшийся после сварки флюс должен быть возвращен на участок подготовки, где его очищают от шлаковых включений, металлических примесей и других загрязнений. Флюс хранится в герметической таре.

Таблица 9

Основные профессии рабочих и характер выполняемых ими работ

Профессия, разряд

Характер выполняемых работ

Трубоукладчик 6 разр.

Основные операции по сборке секций труб в плети

Общее руководство бригадой

Трубоукладчик 5 разр.

Основные операции по сборке и центровке труб в секции

Общее руководство бригадой

Трубоукладчик 4 разр.

Основные операции по подготовке труб к сборке и сборка труб в секции.

Трубоукладчик 3-2 разр.

Подготовка труб и секций к сборке

Электросварщик ручной сварки 5 разр.

Ручная электродуговая сварка поворотных стыков труб

Электросварщик ручной сварки 6 разр.

Ручная электродуговая сварка неповоротных стыков труб

Электросварщик на автоматических машинах 5 разр.

Автоматическая сварка неповоротных стыков труб

Электросварщик на автоматических машинах 6 разр.

Автоматическая сварка неповоротных стыков труб

Машинист сварочного агрегата 4 разр.

Обслуживание сварочного агрегата

Газорезчик 4 разр.

Обрезка концов труб с подготовкой кромок, вырезка участка трубы под установку кранов или задвижек и пр.

6.4.9. Готовую к производству сварочную проволоку следует хранить на специальных стеллажах или в таре и снабжать ярлыком с указанием маркировки.

6.4.10. При указанных выше условиях срок хранения должен быть:

электродов с основным видом покрытия в герметической упаковке (металлические банки, герметические пластмассовые пеналы) 1 год;

электродов с основным видом покрытия в упаковке другого типа, а также электродов с целлюлозным покрытием 6 мес.

7. ПРОФЕССИОНАЛЬНЫЕ И КВАЛИФИКАЦИОННЫЕ
 ТРЕБОВАНИЯ К ИСПОЛНИТЕЛЯМ РАБОТ

7.1. Сборочно-сварочные работы выполняются бригадами, состав которых определяется в зависимости от характера, объема и способов производства работ.

7.2. Для выполнения комплекса сборочно-сварочных работ в составе производственных подразделений, ведущих строительство линейной части трубопровода, комплектуются специализированные бригады и звенья.

7.3. Численный состав рабочих определяется в зависимости от метода производства работ и диаметра строящегося трубопровода. Тарифно-квалификационные характеристики основных профессий рабочих приведены в прил. 10.

7.4. Положение о бригадире, а также мастере и производителе работ приведены в прил. 12, 14.

7.2. Проверка квалификации сварщиков и контроль допускных стыков

7.2.1. Проверка квалификации сварщиков производится в соответствии с Положением об аттестации электросварщиков и ВСН-124-80

7.2.2. К прихватке и сварке стыков магистральных трубопроводов допускаются сварщики, имеющие соответствующие удостоверения и ранее выполнившие сварку допускных стыков.

7.2.3. Сварка допускного стыка должна выполняться на трубах диаметрами до 400 мм тем способом, который будет применяться на трассе.

7.2.4. Допускной стык сваривается полностью на трубах диаметром до 1000 мм. На трубах диаметром 1000 мм и более допустима сварка половины стыка.

7.2.5. Сварщик выполняет допускной стык, если он:

приступает впервые к сварке магистральных трубопроводов или имея перерыв в работе более трех месяцев;

выполняет сварку труб из новых марок сталей;

применяет новые марки сварочных материалов;

выполняет сварку труб с измененной формой разделки кромок;

использует новые типы сварочного оборудования;

переведен на сварку труб других диаметров.

В случае, если сварщик повторно переведен на сварку труб, на которых он ранее сварил допускной стык, то дополнительная проверка квалификации сварщика не требуется.

7.2.6. Допускной стык, сваренный для квалификационных испытаний, должен быть подвергнут визуальному контролю и замерам параметров сварного контролю шва, радиографическим методам и механическим испытаниям образцов.

7.2.7. Если стык не удовлетворяет установленным требованиям, то выполняют повторную сварку и контроль ещё двух стыков. Если при повторном контроле получены неудовлетворительные результаты хотя бы по одному из стыков, то сварщик (или бригада сварщиков) признается не выдержавшим испытание.

7.2.8. Образцы для механических испытаний должны быть подготовлены в соответствии с ВСН 2-124-80.

Механические испытания выполняются в соответствии с ГОСТом 6996-66 Сварные соединения. Методы определения механических свойств.

7.2.9. Результаты испытаний допускных стыков должны быть оформлены в соответствии с действующими нормами исполнительной производственной документации.

7.2.10. Каждому сварщику приказом по организации присваивается определенный шифр для маркировки сваренных стыков.

7.2.11. В организации, выполняющей на строительстве магистральных трубопроводов сварочно-монтажные работы, на каждого сварщика должен быть заведен формуляр для занесения результатов испытаний допускных стыков и приемки стыков, сваренных на трассе.

8. ТЕХНОЛОГИЧЕСКИЕ ТРЕБОВАНИЯ К ПРОИЗВОДСТВУ
РАБОТ

8.1. Сборка труб

8.1.1. Допускается сборка и сварка труб, деталей трубопровода и запорной арматуры, только если они соответствуют проекту и рабочим чертежам.

8.1.2. Перед сборкой необходим визуальный контроль поверхностей труб, деталей трубопровода, запорной и распределительной арматуры;

8.1.3. Обнаруженные дефекты устраняются соответствующим ремонтом:

царапины, риски и задиры на трубах и деталях трубопроводов глубиной выше 0,2 мм, но не более 5 % от толщины стенки устраняют шлифованием; при этом толщина стенки не должна быть выведена за пределы минусового допуска;

вмятины на концах труб глубиной до 3,5 % от диаметра трубы исправляют с применением безударных разжимных устройств.

Правку вмятин на концах труб из сталей с нормативам значением временного сопротивления разрыву 540 МПа (55 кгс/см2) а более, независимо от температуры окружающего воздуха, и труб не менее прочных сталей при отрицательных температурах, следует выполнять с предварительным местным подогревом до 100 - 150 °С;

забоины и задиры фасок глубиной до 5 мм ремонтируют, применяя электроды с основным покрытием, при этом параметры подогрева устанавливают по данным таблиц, приведенным в ВСН 2-124-80;

дефектные торцы патрубков запорной и распределительной арматуры; трубы с царапинами, рисками и задирами фасок глубиной более 5 мм ремонту не подлежат. Ремонт патрубков арматуры допускается, если это разрешено заводом-изготовителем. Дефектные участки труб обрезают.

8.1.4. Применяемые типы разделки кромок труб приведены в схеме 2.

8.1.5. Соединение разностенных труб, труб с деталями трубопровода или труб с запорной и распределительной арматурой допускается при соответствии, указанном в табл. 10.

Таблица 10

Разность толщины стыкуемых элементов, мм

Наибольшая толщина стенки стыкуемого элемента, мм

Не более 2,5

Не более 12,0

Не более 3,0

Более 12,0

8.1.6. Соединение труб с большей разностью толщины стенок осуществляют посредством вварки между стыкуемыми элементами переходников заводского изготовления или вставок из труб промежуточной толщины, длиной не менее 250 мм.

8.1.7. Непосредственная сборка и сварка труб с разной толщиной стенок допускается при специальной подготовке трубы с большей толщиной стенки (рис. 1).

Коэффициент разности толщины стенок не должен превышать 1,5.

Рис. 1. Подготовка для сварки торцов труб с разной толщиной стенок.

8.1.8. При оборке труб с одинаковой или различной нормативной толщиной стенки величина наружного смещения кромок не должна превышать 20 % от минимальной (фактической) толщины стенки трубы, но не более:

3 мм - в случае последующей ручной дуговой или автоматической сварки под флюсом;

2 мм - в случае последующей автоматической газоэлектрической сварки.

8.1.9. Перед сборкой внутренняя полость труб должна быть освобождена от земли, снега и других загрязнений; а кромки и прилегающие к ним внутренняя и наружная поверхности труб зачищены на ширину не менее 10 мм.

При сборке под двустороннюю автоматическую сварку внутренняя поверхность труб необходимо зачистить на ширину не менее 15 мм.

8.1.10. Рекомендуемые величины зазоров в стыках при сборке приведены в табл. 11.

Таблица 11

Способ сварки

Диаметр электрода или сварочной проволоки, мм

Величина зазора при толщине стенки трубы, мм

до 8

8 - 10

10 и более

Ручная дуговая сварка электродами с основным покрытием

2,0 - 3,25

3,0 - 3,25

2,0 - 3,0

-

-

2,5 - 3,5

-

3,0 - 3,5

Ручная дуговая сварка электродами с целлюлозным покрытием

3,0 - 3,26

4,0

1,5 - 2,0

-

1,5 - 2,5

-

1,5 - 2,5

Двухсторонняя автоматическая сварка под флюсом

3,0 - 4,0

 

0 - 1,0

0 - 1,0

Автоматическая газоэлектрическая сварка

0,9 - 1,0

Без зазора в верхней части периметра, с зазором 0,0 - 0,5 в нижней

8.1.11. Просушка торцов труб за счет их нагрева до температуры 20 - 50º на ширину не менее 150 мм обязательна:

при наличии влаги на трубах независимо от способа сварки и прочности основного металла;

при температуре окружающего воздуха ниже плюс 5 °С в случае сварки труб с нормативными значением временного сопротивления разрыву металла труб 540 МПа (55 кгс/мм2) и выше.

8.1.12. Необходимость подогрева и его параметры перед прихваткой и сваркой корневого слоя шва определяют по схеме 5 в зависимости от эквивалента углерода стали.

8.1.13. Температуру подогрева измеряют на расстоянии 10 - 15 мм от торца труб, место подогрева предварительно необходимо зачистить металлической щеткой.

При температуре стыка ниже установленной, необходим повторный подогрев.

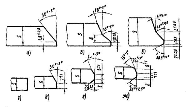
8.1.14. Применяемые типы разделки кромок для труб разных диаметров представлены на рис. 2.

Рис. 2. Применяемые типы разделки кромок для труб разных диаметров.

а) труба диаметром до 1220 мм с толщиной стенки до 16 мм;

б) труба диаметром 1020 - 1420 мм с толщиной стенки более 15 мм;

в) труба диаметром 1220 - 1420 мм с толщиной стенки более 10 мм;

г) труба диаметром не более 1020 мм с тещиной стенки 7,5 - 11,0 мм;

д) труба диаметром не более 820 мм с толщиной стенки 11,0 - 18,0 мм;

е) труба диаметром 720 - 820 мм с толщиной стенки 18 мм и более, а также для труб диаметром 1020 - 1420 мм с толщиной стенки более 21,0 мм;

ж) труба диаметром 1020 - 1420 мм с толщиной стенки 11,0 - 21,0 мм.

Примечания. 1. Разделка кромок применяется для типов сварки: ручной дуговой; односторонней автоматической под флюсом; автоматической дуговой порошковой проволокой с принудительным формированием (а и б); автоматической в среде защитных газов (в); двусторонней автоматической под флюсом (г, д, е, ж).

2. После газовой резки в монтажных условиях разделка кромок должна соответствовать рис. а) независимо от толщины стенок труб.

В этом случае величина притупления установлена в пределах 2 ± 1 мм, а угол скоса 35°-5.

3. Приведенный на рис. 2 в пункте б размер В зависит от толщины стенки (табл. 12).

Таблица 12

Изменение размера В в зависимости от толщины стенки трубы

Размер В, мм

Толщина стенки трубы, мм

7

Более 15 до 19

8

Более 19 до 21,5

10

Более 21,5 до 26

В случае изменения формы заводской разделки кромок для последующей автоматической сварки в среде защитных газов или двусторонней автоматической сварки под флюсом эта операция должна быть выполнена механическим способом непосредственно перед сваркой.

8.1.14. Сборка и сварка спецсоединений захлестов, катушек, врезок и т.д. следует производить в соответствии с Инструкцией по технологии сварки при выполнении специальных монтажных работ.

8.2. Ручная электродуговая сварка труб

8.2.1. Ручную электродуговую сварку труб следует выполнять с применением электродов, указанных в разделе 6 настоящей карты.

8.2.2. Сварку первого корневого слоя шва электродами с целлюлозным покрытием ведут постоянным током обратной или прямой полярности; сварку «горячего» прохода электродами с целлюлозным покрытием; всех слоев шва электродами с основным покрытием на постоянном токе обратной полярности.

8.2.3. Рекомендуемые значения сварочного тока при сварке электродами с основным покрытием способом «на подъем» приведены в табл. 13

Таблица 13

Диаметр электродов, мм

Величина сварочного тока в зависимости от пространственного положения шва, А

нижнее

вертикальное

потолочное

2,0 - 2,5

50 - 70

30 - 50

40 - 50

3,0 - 3,25

100 - 130

100 - 130

90 - 110

4,0

170 - 200

160 - 180

150 - 180

5,0

210 - 250

180 - 200

 

8.2.4. Рекомендуемые значения сварочного тока при сварке электродами с целлюлозным и основным видом покрытия способом «на спуск» приведены в табл. 14.

Таблица 14

Диаметр электродов, мм

Слой шва

Величина сварочного тока в зависимости от пространственного положения шва, А

нижнее

вертикальное

потолочное

Электроды с целлюлозным покрытием

3,0 - 3,25

1-ый

90 - 110

90 - 110

80 - 100

4,0

1-ый

120 - 160

120 - 160

100 - 140

4,0

2-ой («горячий» проход)

150 - 180

150 - 170

140 - 170

Электроды с основным видом покрытия марки ВСФС-50

4,0

2-й («горячий» проход)

170 - 210

160 - 180

150 - 180

8.2.5. При вынужденных перерывах более трех минут время сварки первого (корневого) слоя шва стык подогревается вновь.

При несоблюдении этого правила стык вырезается и сваривается вновь.

8.2.6. «Горячий» проход является обязательной операцией при сварке корневого слоя шва электродами с целлюлозным покрытием.

8.2.7. Время между сваркой корневого слоя шва и «горячего» прохода не должно превышать пяти минут.

8.2.8. Скорость сварки «горячего» прохода целлюлозными электродами 18 - 20 м/ч, с основным покрытиям не менее 22 м/ч.

8.2.9. Облицовочный слой сварного шва должен перекрывать основной металл в каждую сторону на 2,5 - 3,5 мм и иметь усиление высотой 1 - 3 мм.

8.2.10. Стыки труб диаметром 1020 мм и более с нормативным пределом прочности 539 МПа (55 кгс/мм2) и выше должны быть подварены изнутри электродами с основным покрытием.

8.2.11. Подварку поворотных стыков, а также стыков разностенных труб выполняют по всему периметру.

8.2.12. Подварку неповоротных стыков (в случае сварки корневого слоя электродами с основным покрытием) осуществляют на нижней четверти периметра и на участках стыка с непроваром, при сварке корневого слоя шва электродами с целлюлозным покрытием производят только на участках с непроваром протяженностью более 15 мм.

8.2.13. Подварочный слой должен иметь усиление высотой 1 - 3 мм и шириной 8 - 10 мм.

8.2.14. Минимально допустимое количество слоев шва при ручной дуговой сварке стыков труб приведены в табл. 15.

Таблица 15

Толщина стенки трубы, мм

Количество слоев шва при сварке электродами

с целлюлозным покрытием

с основным покрытием

до 10

3

2

10 - 15

4

3

15 - 20

5

4

20 - 25

6

5

8.2.15. Сварные соединения захлестов оставлять незаконченными не разрешается.

8.3. Односторонняя автоматическая сварка и подварка под флюсом поворотных стыков труб

8.3.1. Автоматическая сварка под флюсом заполняющих слоев шва применяется при изготовлении секций труб диаметрами 720 - 1420 мм с толщиной стенки до 26 мм включительно и автоматической подварке корня шва под флюсом труб диаметром 1020 - 1420 мм.

8.3.2. Подварку стыков следует выполнять в один слой по всему периметру проволокой диаметром 3 или 4 мм.

Режимы автоматической сварки под флюсом заполняющих слоев шва поворотных стыков труб приведены в табл. 16.

Таблица 16

Диаметр трубы, мм

Толщина стенки, мм

Диаметр электродной проволоки, мм

Слой шва

Сварочный ток, А

Напряжение, В

Скорость сварки, м/ч

530 - 820

7 - 12,5

2

1-ый

400 - 480

42 - 45

35 - 40

 

 

 

2-ой последний

500 - 550

46 - 48

38 - 40

 

 

3

1-ый

550 - 650

44 - 46

35 - 50

 

 

 

2-ой

680 - 750

46 - 48

40 - 55

 

 

 

последний

 

 

 

более 12,5

3

1-ый

550 - 650

44 - 46

35 - 50

 

 

2-ой

660 - 750

46 - 48

40 - 55

 

 

 

последний

 

 

1020-

7 - 12,5

3

1-ый

580 - 650

46 - 48

50 - 60

-1220

 

 

2-ой

680 - 750

48 - 50

50 - 55

 

 

4

1-ый

900 - 1000

44 - 46

55 - 60

 

 

 

2-ой

1100 - 1150

46 - 48

55 - 65

1020-

более 12,5

3

1-ый

750 - 800

44 - 46

50 - 60

-1220

 

2-ой

800 - 650

40 - 50

50 - 55

 

 

 

последний

 

 

 

 

4

1-ый

900 - 1000

44 - 46

55 - 60

 

 

 

2-ой

1100 - 1200

46 - 48

70 - 90

 

 

 

последний

 

 

 

 

 

облицовочный

1050 - 1150

46 - 48

55 - 60

1420

9 - 16

3

1-ый

750 - 800

44 - 46

50 - 60

 

 

 

2-ой

800 - 850

46 - 48

50 - 60

 

 

4

1-ый

900 - 1000

44 - 46

55 - 60

 

 

 

2-ой

1050 - 1150

46 - 48

50 - 60

1420

более 16

3

1-ый

750 - 600

44 - 46

50 - 55

 

 

2-ой

800 - 850

45 - 47

50 - 55

 

 

 

последний

 

 

 

 

 

 

облицовочный

850 - 900

46 - 48

45 - 50

 

 

4

1-ый

900 - 1000

44 - 46

50 - 55

 

 

 

2-ой

1150 - 1200

46 - 48

70 - 90

 

 

 

последний

 

 

 

 

 

 

облицовочный

1050 - 1150

46 - 48

50 - 55

Примечание. Ток постоянный, полярность обратная.

Режимы автоматической подварки под флюсом корневого слоя приведены в табл. 17.

Таблица 17

Схема выполнения подварки

Диаметр электродной проволоки, мм

Сварочный ток, А

Напряжение на дуге, В

Скорость сварки, м/ч

Трубы из горячекатанных и нормализованных сталей

После сварки корня шва

3

450 - 500

45 - 47

25 - 28

4

550 - 600

44 - 46

30 - 40

После завершения всех наружных слоев

3

550 - 600

45 - 47

30 - 35

4

600 - 650

44 - 46

30 - 40

 

Трубы из термически упрочненных сталей

 

После сварки корня шва

3

380 - 420

45 - 47

30 - 36

После завершения всех наружных слоев

3

570 - 620

42 - 46

40 - 45

Примечание. Ток постоянный, полярность обратная. Вылет электрода равен 0.

8.4. Двусторонняя автоматическая сварка под флюсом поворотных стыков труб

8.4.1. Сварку поворотных стыков труб диаметрами 720 - 1420 мм выполняют на трубосварочных базах типа БТС.

Режим двусторонней автоматической сварки под флюсом поворотных стыков труб приведен в табл. 18.

Таблица 18

Вид сварки

 Диаметр трубы, мм

Толщина стенки, мм

Слой шва

Ток, А

Напряжение, В

Скорость сварки, м/ч

Наружная сварка

20 - 820

7,5 - 11,0

1-ый

550 - 700

42 - 46

33 - 45

 

720 - 820

11,0 - 18,0

1-ый

550 - 650

42 - 46

30 - 40

 

 

 

последний

600 - 700

44 - 48

35 - 40

 

720 - 320

18 и более

1-ый

500 - 600

42 - 46

35 - 45

 

 

последний

600 - 700

44 - 48

30 - 45

 

1020 - 1220

9,0 - 11,0

1-ый

600 - 700

45 - 48

35 - 45

 

1020 - 1220

1420

11,0 - 26,0

1-ый

700 - 800

44 - 46

40 - 60

 

последний

700 - 800

45 - 48

35 - 45

 

1420

15,8-17,5

1-ый

900 - 350

44 - 46

50 - 55

 

 

2-ой

750 - 800

46 - 48

45 - 50

 

1420

17,5 - 20,5

1-й

950 - 1000

45 - 47

48 - 50

 

 

2-ой

750 - 800

46 - 43

40 - 15

Внутренняя сварка

720 - 1220

7,5 и более

1-ый

600 - 700

42 - 46

35 - 45

 

1220 - 1420

15,8 и более

1-ый

750 - 800

42 - 46

40 - 50

Примечание. Диаметр электродной проволоки 3 мм при вылете электрода 40 - 50 мм.

8.4.2. Высота усиления внутреннего и наружного швов должна находиться в пределах 1 - 3 мм.

8.4.3. Геометрические размеры швов должны соответствовать схеме настоящей карты.

8.4.4. Запрещается скатывать сваренную плеть на мокрый грунт или снег до тех пор, пока стык не остынет до температуры окружающей среды.

8.4.5. Режимы двусторонней автоматической сварки под флюсом поворотных стыков труб из термически упрочненных сталей приведены в табл. 19.

Таблица 19

Вид сварки

Диаметр трубы, мм

Толщина стенки, мм

Слой шва

Сварочный ток, А

Напряжение, В

Скорость сварки, м/ч

 

 

 

 

 

 

 

Наружная сварка

820 - 1226

7,0 - 15,0

1

570 - 620

42 - 46

40 - 45

 

 

 

2

620 - 670

44 - 48

45 - 50

Внутренняя сварка

 

 

1

600 - 720

46 - 46

38 - 42

Примечание. Ток постоянный, полярность обратная. Электродная проволока диаметром 3 мм при вылете электрода 40 - 50 мм.

8.5. Автоматическая электродуговая сварка в среде защитных газов

8.5.1. Сварка неповоротных стыков труб диаметрами 1220 - 1420 мм выполняется на установках типа «Дуга».

8.5.2. Технологию сварок в среде защитных газов выполняется в соответствии с ВСН-2-124-80 в следующей последовательности:

сварку наружного корневого слоя первым наружным автоматом начинают после того, как внутренними головками будет сварено по 200 мм корневого слоя шва на первом полупериметре;

сварку вторым наружным автоматом начинают после того, как на втором полупериметре стыка будет сварено 200 мм шва внутреннего корневого слоя.

8.5.3. Сварку всех наружных слоев шва выполняют одновременно двумя автоматами в направлении сверху-вниз. При вынужденном перерыве сварки наружного корневого слоя шва необходим подогрев стыка до 150 - 200 °С.

8.5.4. Рекомендуемое количество заполняющих слоев шва при сварке труб с различной толщиной стенки приведены в табл. 21.

Таблица 21

Толщина стенки трубы, мм

Количество заполняющих слоев

до 13 включительно

2

свыше 13 до 16,5 включительно

3

свыше 16,5 до 19,5 включительно

4

свыше 19,5 до 26 включительно

5-6

8.5.4. Перекрытия участков внутреннего корневого шва, сваренных внутренними сварочными головками, должно составлять на вертикальных и нижних участках 20 - 40 мм. Перекрытие участков внутреннего корневого шва в потолочной части стыка не должно превышать 1 мм.

8.5.5. Режимы сварки внутреннего корневого слоя шва обеспечивают получение внутреннего валика шириной 5 - 10 мм с усилением высотой 0 - 3 мм.

8.5.6. Высота усиления облицовочного слоя шва должна быть в пределах 1 - 3 мм.

8.5.7. Допускается ослабление облицовочного шва на вертикальных участках в виде «седловины». Ослабление шва в центре «седловины» не должно быть ниже поверхности трубы.

8.5.8. Ширина облицовочного шва в зависимости от толщины стенки труб приведена в табл. 20

Таблица 20

Толщина стенки труб, мм

Ширина облицовочного шва, мм

10,5 - 13,5

11,5      + 3

      - 1

15,2 - 16,5

13  + 3

      - 1

19,5

14  +3

      - 1

Таблица 22

Режимы автоматической сварка в среде защитных газов неповоротных стыков труб диаметром 1420 при толщине стенки 16,5 мм

Параметры режима сварки

Слой шва

внутренний корневой

наружный корневой

заполняющий

Облицовочный

первый

второй

третий

Скорость сварки, см/мин

60 - 75

48 - 30

25 - 35

25 - 35

25 - 35

25 - 35

Сварочный ток, А

190 - 210

220 - 240

220 - 240

190 - 210

180 - 200

170 - 190

Напряжение, В

20 - 22

22 - 24

22 - 24

20 - 22

20 - 22

19 - 21

Частота колебаний электрода, мин

-

-

130 - 150

110 - 130

110 - 130

110 - 130

Амплитуда колебаний, мм

-

-

4,0

5,6

6,3

8,1

Вылет электродной проволоки, мм

9

9

12

10

10

10

Состав защитной газовой среды, %

 

 

 

 

 

 

      аргон

25

0

0

0

0

0

      углекислый газ

75

100

100

100

100

100

Расход газовой среды, л/мин

40

30

30

30

30

30

Ток постоянный, полярность обратная.

8.6. Маркировка стыков и плетей

8.6.1. Каждый должен иметь клеймо сварщика, выполняющего сварку. Если сварку одного стыка выполняют несколько сварщиков, то на каждом стыке должно быть проставлено столько клейм, сколько их в данной бригаде (или одно клеймо, присвоенное всей бригаде).

На каждой секции, с одного торца наносят порядковый номер.

8.6.2. На стыки труб с нормативным значением временного сопротивления разрыву до 539 МПа (55 кгс/мм2) шифр наносят механическим способом или наплавкой с нормативным значением временного сопротивления равным 55 МПа (55 кгс/мм2) и более маркируют несмываемой краской.

8.6.3. При сварке бригадой допускного стыка и получении положительных результатов контроля, каждый сварщик получает право выполнять сварку только того слоя шва, который им сварен на допускном стыке (в том числе и подварочного шва).

8.6.4. В журнале сварки труб отмечается:

номер клейма бригады;

состав бригады с указанием фамилии каждого сварщика;

номер слоя, выполняемый каждым сварщиком;

условное положение слоя по циферблату часов относительно хода продукта.

9. ДЕФЕКТЫ СВАРНЫХ ШВОВ И ПРИЧИНЫ ИХ ОБРАЗОВАНИЯ

9.1. Дефектами сварных швов называются отклонения от требований технических условий, снижающие качество сварного соединения (механические свойства, сплошность и др.).

9.2. По природе образования дефекты сварных швов делятся на следующие группы:

механические повреждения основного металла (вмятины, трещины, забоины, задиры, фасон расслоения металла вблизи сварного шва и пр.);

дефекты, связанные с плохой свариваемостью металла труб (склонность к образованию трещин в околошовной зоне);

дефекты, вызванные отклонением от состава и технологических свойств сварочных материалов, а также нарушением технологии сварки (трещины, пористость швов, шлаковые включения, плохое формирование швов и др.);

дефекты, связанные с неправильным ведением процесса сварки (непровар, подрезы, ослабление шва и др.);

дефекты, появляющиеся в процессе эксплуатации.

9.3. В зависимости от расположения в шве дефекты делятся на:

внешние (на поверхности шва);

внутренние (наиболее часто находящиеся в корне шва);

параллельные или направленные под углом к действующему в конструкции усилию;

перпендикулярные или направленные под утлом около 90° к наибольшему растягивающему усилию.

9.4. Степень влияния дефектов на прочность сооружения в основном зависит от их формы, глубины и расположения по отношению к направлению действующих усилий (главных напряжений).

9.5. Наиболее опасны дефекты, имеющие вытянутую форму и острые очертания (трещины, расположенные по оси шва, узкие глубокие непровары). Наличие любых трещин в сварных швах совершенно недопустимо.

9.6. Наличие непроваров отрицательно сказывается на пластичности сварного шва, особенно при его работе в условиях отрицательных температур.

9.7. Подрезы в околошовной зоне действуют в швах как концентраторы.

9.8. Цепочки и скопления пор приводят к резкому снижению пластичности, вязкости и прочности наплавленного металла.

Таблица 23

Возможные дефекты при выполнении электродуговой сварки

Характер дефекта

Причины возникновения

Непровар в корне шва выше допустимого предела

1. Нарушение режима:

мала сила тока,

мала скорость подачи проволоки;

велика скорость сварки

2. Смещение электрода относительно оси шва

3. Притупление выше нормы

4. Велико смещение электрода относительно зенита

5. Велико проскальзывание свариваемой секции

Сквозной прожог

1. Нарушение режима: велика сила сварочного тока, велика скорость подачи проволоки; мала скорость сварки

2. Мало смещение зенита

3. Велик зазор в корне разделки

Трещины в шве

Отклонение от норм химического состава проволоки или флюса; повышенное содержание углерода и серы в проволоке или серы во флюсе

Подрез кромок

1. Большая сила тока

2. Низкое напряжение на дуге

3. Велико смещение электрода относительно зенита

Чрезмерное усиление шва

1. Неправильное смещение электрода относительно зенита

2. Недостаточная величина разделки

3. Мала скорость сварки для применения силы тока

Газовые поры и свищи выше допускаемых техническими условиями

1. Ржавчина на кромках или проволоке

2. Влага во флюсе или на кромках

3. Некондиционный флюс

Непровар одной кромки

Смещение электрода относительно оси зенита

Шлаковые включения, свыше допускаемых техническими условиями

Недостаточно защищен шов от шлака

Перед выполнением подварки необходимо зачистить поверхности дефекта механическим способом до металлического блеска:

участки со шлаковыми включениями отшлифовать и сварить вновь;

при ремонте стыка с трещиной длиной до 50 мм засверливаются два отверстия на расстоянии не менее 30 мм от краев трещины, дефектный участок отшлифовывается и сваривается вновь в несколько слоев.

9.9. Ремонт стыков, которые выполнены любыми методами сварки, регламентированными настоящей картой и ВСН-2-124-80, осуществляются ручной дуговой сваркой с использованием технологии и сварочных материалов для сварки стыков труб из примененной стали.

9.10. Все отремонтированные участки должны быть проконтролированы визуально, просвечены рентгеновскими или гамма-лучами.

9.11. Повторный ремонт сварных стыков не допускается.

Схема 1

Проверка наружной поверхности и внутренней полости труб

Состав контроля (что проверяется) Исполнительная документация

Кто контролирует

Периодичность (режим) контроля

Техническое оснащение контроля

Контролируемые показатели

Допуски

Наличие повреждений (задиры, риски, вмятины на трубе, вмятины на торцах, забоины и задиры фасок)

Бригадир Мастер

Непрерывно по

каждой трубе (сплошной контроль)

Визуально

Штангенциркуль

Линейка

Не допускается применение труб без сертификатов и несоответствующих СНиПу и проекту

1. Дефекты на трубах, подлежащие ремонту:

а) царапины, риски и задиры на трубах глубиной свыше 0,2 мм, но не более 0,5 % от толщины стенки - шлифованием;

б) вкатаны на концах глубиной до 3,5 % от диаметра трубы - с применением безударных разжимных устройств;

      То же при σв - 55 кгс/мм2 - с местным      подогревом до 150 ºС

в) забоины и задиры фасок глубиной до 5 мм - с применением сварки электродами с основным видом покрытия.

      2. Кривизна труб не должна превышать     1,5 мм на 1 м длины

      3. Овальность концов труб не должна

      превышать 1 %

      Не допускать наличия посторонних      предметов во внутренней полости труб

Журнал операционного контроля

Прораб

Выборочно в местах, вызывающих сомнение

Визуально

Штангенциркуль

Линейка

Степень очистки внутренней полости труб; овальности, кривизна труб

Исполнитель работ

Непрерывно в процессе работы

Визуально

Проходной калибр-шаблон

Журнал операционного контроля

Мастер

Непрерывно в процессе работы

Визуально

Проходной калибр-шаблон

Схема 2

Подготовка кромок под сварку

Состав контроля (что проверяется)

Исполнительная документация

Кто контролирует

Периодичность (режим) контроля

Техническое оснащение контроля

Контролируемые показатели

допуски

Форма и размеры разделки кромок

Исполнитель работ

Непрерывно (по каждой трубе сплошной контроль)

Штангенциркуль

Шаблон

Типы разделок кромок

1. Расшифровка разделок кромок приведена в   разделе настоящей карты.

2. Наружную и внутреннюю поверхность кромок      зачистить на ширину не менее 10 мм.

Журнал операционного контроля

Мастер

Непрерывно (по каждой трубе сплошной контроль)

Штангенциркуль

Шаблон

 

Прораб

Выборочно в местах, вызывающих сомнение

 

Схема 3

Подготовка сварочных материалов

Состав контроля (что проверяется)

Исполнительная документация

Кто контролирует

Периодичность (режим) контроля

Техническое оснащение контроля

Контролируемые показатели

Допуск

 

Наличие сертификатов, правила приемки, условия хранения, целостность упаковки

Мастер

Каждую вновь поступающую партию

Визуально

Условия прокалки (просушки) сварочных материалов

 

Сварочные материалы

Температура прокалки, ºС

Время выдержки, ч

 

Тип, марка

вид покрытия

 

Прораб

Выборочно

Визуально

 

Результаты испытаний

Гл. сварщик управления

При получении новой марки сварочных материалов

Лабораторный контроль

Электроды

Э-42; Э50

Э-42А

350А

Э-60; Э70

 

Ц

Б

То же

-”-

 

60 - 100

200 - 250

250 - 300

300 - 350

 

1,0

1,0

1,0

1,0

 

Режимы прокаливания электродов и флюсов, качество очистки сварочной проволоки

Мастер

Постоянно

Термометр

Визуально

Флюсы

АН-348А

АН-47

АН-22

Порошковая проволока

ППАН-19

 

 

250 - 300

300 - 350

450 - 500

 

230 - 250

 

 

1,5

1,5

2,0

 

2,0

 

 

Журнал регистрации контроля сварочных материалов

Прораб

Выборочно

Термометр

Визуально

 

Примечания.    1.  Применение сварочных материалов без сертификатов и ТУ на их поставку запрещается.

2. Технические требования к сварочным материалам приведены в разделе 6 настоящей карты и ВСН 2-124-80.

3. Сварочные материалы рекомендуется хранить при температуре не ниже + 15 ºС.

Схема 4

Центровка и сборка стыка

Состав контроля (что проверяется)

Исполнительная документация

Кто контролирует

Периодичность (режим) контроля

Техническое оснащение контроля

Контролируемые показатели

Допуски

 

Качество сборки стыка, точность установки зазора

Исполнитель работ

Непрерывно в процессе работы

Шаблон

Линейка

Щуп

1. Соединение разностенных: труб при:

 

 

разности толщин труб, мм

наибольшей толщине

 

Не более 2,5

Не более 3,0

Не более 12,0

Более 12,0

 

2. Непосредственную сборку и сварку допускается при разностенности до 1,5 толщин при специальной подготовке торца более толстой трубы или детали

3. При сборке труб с одинаковой или различной нормативной толщиной стенки величина наружного смещения кромок не должна превышать 20 % от минимальной толщины стенки трубы, но не более:

3 мм - в случае последующей ручной или автоматической сварки под флюсом;

2 мм - в случае последующей автоматической газоэлектрической сварки

 

Мастер

Выборочно, но не менее 30 % стыков

Шаблон

Линейка

Щуп

 

 

Прораб

Выборочно, но не менее 10 % стыков

Шаблон

Линейка

Щуп

 

Журнал операционного контроля

 

 

 

4. Рекомендуемые величины зазоров

 

Способ сварки

Диаметр электрода, мм

Величина зазора при толщине стенки, мм

 

до 8

8 - 10

10 и более

 

Ручная дуговая сварка электродами с основным покрытием (типа УОНИ)

2,0 - 3,25

2,0-3,0

-

-

 

3,0 - 3,25

-

2,5-3,5

3,0-3,5

 

Ручная дуговая сварка электродами с целлюлозным покрытием (типа ЭСЦ)

3,0 - 3,25

1,5-2,0

 

-

-

 

4,0

-

1,5 - 2,5

1,5 - 2,5

 

Двусторонняя автоматическая сварка под флюсом

3,0-4,0

-

0 - 1,0

0 - 1,0

 

 



Схема 6

Сварка корневого слоя два поворотных стыков труб на базе

Состав контроля (что проверяется) Исполнительная документация

Кто контролирует

Периодичность (режим) контроля

Техническое оснащение контроля

Контролируемые показатели

Допуски

 

Режим сварки Выбор электродов

Исполнитель работ (сварщик)

Периодически в процессе наладки перед работой

Визуально Амперметр Вольтметр

 

 

Диаметры электродов, мм

Сварочный ток, А в зависимости от пространственного положения шва

 

нижнее

вертикальное

потолочное

 

2,0 - 2,5

3,0 - 3,25

50 - 70

100 - 130

30 - 50

100 - 130

40 - 50

90 - 110

 

4,0

170 - 200

160 - 180

150 - 180

 

Исправность сварочных установок

Мастер

Периодически в процессе работы

То же

5,0

210 - 250

180 - 200

-

 

Примечания. 1. Сварку следует выполнять электродами, указанными в ВСН 2-124-80 и настоящей карте (раздел 8)

                             2. Рекомендуемые значения сварочного тока при сварке электродами с основным покрытием способом «на подъем»

                             3. Ток постоянный. Полярность обратная. Вынужденный перерыв при сварке корня шва не более 3 минут. Корневой слой шва зачистить шлифмашинками до получения плоской поверхности.

Сварочный журнал

Прораб

То же

-”-

 

Схема 7

Ручная электродуговая подварка корня шва

Состав контроля (что проверяется) Исполнительная документация

Кто контролирует

Периодичность (режим) контроля

Техническое оснащение контроля

Контролируемые показатели

допуски

 

Режим сварки

Исполнитель работ (сварщик)

Периодически в процессе наладки режима

Визуально Амперметр Вольтметр

Режим подварки корня шва

Марка электрода

Диаметр электрода, мм

Способ сварки

Сварочный ток А в зависимости от сварочного шва

 

Исправность сварочных установок

Прораб

Периодически в процессе

То же

нижнее

вертикальное

потолочное

 

Прораб

работе

Выборочно

-”-

УОНИ 13/55 ГАРАНТ Фокс ЕВ50

4

«на подъем»

170 - 200

160 - 180

150 - 180

 

Параметры и внешний вид сварного шва

Сварочный журнал

Журнал операционного контроля

Исполнитель работ

Непрерывно, после сварки шва

-”-

Примечания. 1. Стыки труб диаметром 1020 мм и более с нормативным пределом прочности и 55 кгс/мм2 и выше должны быть подварены изнутри электродами с основным покрытием.

2. Подварка заполняется по всему периметру. Запрещается производить подварку способом сварки «на спуск». Подварочный слой шва должен иметь усиление высотой 1 - 3 мм и шириной 8 - 10 мм.

 

Схема 8

Автоматическая подварка корня шва поворотных стыков на базе

Состав контроля (что проверяется) Исполнительная документация

Кто контролирует

Периодичность (режим) контроля

Техническое оснащение контроля

Контролируемые показатели

Допуски

 

Режим сварки (вылет, угол наклона электрода, смещения с зенита, скорость сварки)

Исполнитель работ

Непрерывно в процессе

Визуально Амперметр Вольтметр

Автоматическая подварка корня шва под флюсом выполняется по всему периметру проволокой диаметром 3 или 4 мм Режимы автоматической подварки корня шва

Мастер

работы

Периодически в процессе работы

То же

 

Схема выполнения подварки

Диаметр электродной проволоки, мм

Сварочный ток, А

Напряжение на дуге, В

Скорость сварки, м/ч

Вылет электрода, мм

Смещение с надира в наставлении вращения трубы, мм

 

Прораб

Выборочно

-“-

 

 

 

 

 

трубы из горячекатанных и нормализованных сталей

 

Параметры подварочного шва

Исполнитель работ

Периодически (после сварки шва)

Визуально

Шаблон

После

3

450 - 500

45 - 47

25 - 38

до 30

30 - 35

 

сварки корня шва

4

550 - 600

44 - 46

30 - 40

40 - 50

30 - 50

 

Сварочный журнал

Журнал операционного контроля

Мастер

Выборочно

-”-

После завершения всех наружных слоев шва

3

4

550 - 600

600 - 650

45 - 47

44 - 46

30 - 36

30 - 40

до 30

40 - 50

30 - 50

30 - 50

 

 

 

 

 

После сварки корня ива

3

380 - 420

45 - 47

30 - 36

до 30

30 - 50

 

 

 

 

 

После завершения всех наружных слоев ива

3

570 - 620

42 - 46

40 - 45

до 30

30 - 50

 

 

Примечание. Ток постоянный, полярность обратная. Усиление шва не менее 1 мм и не более 2 мм. Ширина шва в зависимости от толщины стенки трубы 18 - 24 мм. Глубина проплавления не должна превышать 50 % толщины стенки трубы, но не более 7 мм. Сведение осей наружных и внутренних слоев шва от условной оси стыка не должно превышать 1 мм.

Схема 9

Сварка корневого слоя шва и «горячего» прохода неповоротных стыков

Состав контроля (что проверяется) Исполнительная документация

Кто контролирует

Периодичность (режим контроля)

Техническое оснащение контроля

Контролируемые показатели

Допуски

 

Технология и режимы сварки Выбор электродов

Исполнитель работ (сварщик)

Периодически в процессе наладки перед работой

Визуально

Амперметр

Вольтметр

Выбор электродов в соответствии с ВСН 2-124-80 и разделом 6 настоящей карты

Рекомендуемые значения сварочного тока

Диаметр электродов, мм

Способ сварки

Слой

Сварочный ток А при положении шва

Марка электродов

 

Мастер

Периодически в процессе работы

То же

нижнее

вертикальное

потолочное

 

Прораб

Выборочно (при измерении технологии сварки)

Визуально

3,25

«на спуск»

I

90 - 110

90 - 110

80 - 110

ВСЦ-4 с целлюлозным покрытием ФОКСЦЕЛЬ с целлюлозным покрытием

 

Параметры и внешний вид сварного шва

Исполнитель работ (сварщик)

Периодически (после сварки слоя шва или его части)

Визуально

4,0

То же

I

120 - 160

120 - 160

100 - 140

ФЛИТВЕЛЬД 5П с целлюлозным покрытием

 

4,0

-”-

(«горячий проход»)

II

150 - 180

150 - 170

140 - 170

 

 

 

Мастер

Выборочно, не менее, чем в 3-х точках на контролируемом стыке

Визуально

Шаблон

2,0 - 2,5

«на

подъем»

I

50 - 70

30 - 50

40 - 50

УОНИ-13/45, УОНИ-13-55 с основным покрытием

 

3,0 - 3,25

«на подъем»

I

100 - 130

100 - 130

90 - 110

Гарант с основным покрытием ФОКС ЕВ50 с основным покрытием

 

Сварочный журнал

Прораб

Выборочно

Визуально Шаблон

4,0

 

То же

I

170 - 200

160 - 180

150 - 180

 

 

Журнал операционного контроля

 

 

 

4,0

«на спуск»

(«горячий проход»)

II

170 - 120

160 - 180

150 - 180

ВСФС 50 с основным покрытием

 

Примечание. Ток постоянный, полярность обратная. Вынужденный перерыв при сварке корня шва не более 3 мин. Время между окончанием сварки корневого шва и началом выполнения «горячего» прохода не более 5 мин.

2. Выбор электродов в соответствии с ВСН 2-124-80 и разделом 6 настоящей карты.

Схема 10

Односторонняя автоматическая сварка под флюсом заполняющих слоев шва поворотных стыков труб (установки типа ПАУ)

Состав контроля (что проверяется) Исполнительная документация

Кто контролирует

Периодичность (режим контроля)

Техническое оснащение контроля

Контролируемые показатели

Допуски

Диаметр трубы, мм

Толщина стенки, мм

Диаметр электрода, мм

Слой шва

Сварочный ток, А

Напряжение, В

Скорость сварки, м/ч

Вылет электрода, мм

Смещение электрода с зенита, мм

 

Режимы сварки

Прораб

Выборочно

 

530 - 820

7 - 12,5

2

1-ый

400 - 480

42 - 45

35 - 40

30 - 35

60 - 80

 

 

 

 

 

 

2-ой и последний

500 - 550

46 - 48

38 - 40

 

40 - 50

 

 

 

 

 

3

1-ый 2-ой и последний

550 - 650

680 - 750

44 - 46

46 - 48

35 - 50

40 - 55

40 - 45

40 - 60

30 - 40

 

 

 

 

 

 

более 12,5

3

1-ый

550 - 650

44 - 46

35 - 50

 

40 - 60

 

 

 

 

 

 

 

 

2-ой и последний

680 - 750

46 - 48

40 - 55

40 - 45

30 - 40

 

 

 

 

 

 

 

3

1-ый 2-ой и последний

580 - 650

680 - 750

46 - 48

48 - 50

50 - 60

50 - 55

40 - 45

60 - 80

40 - 60

 

 

 

 

 

1020 - 1220

7 - 12,5

 

1-ый

900 - 1000

44 - 46

55 - 60

40 - 50

60 - 80

 

 

 

 

 

 

 

4

2-ой

1000 - 1150

46 - 48

55 - 65

40 - 50

40 - 60

 

 

 

 

 

 

 

3

1-ый

750 - 800

44 - 46

50 - 60

10 - 45

60 - 80

 

 

 

 

 

 

 

 

2-ой и последний

800 - 850

48 - 50

50 - 55

 

40 - 60

 

 

 

 

 

 

 

 

1-ый

900 - 1000

44 - 46

55 - 60

40 - 50

60 - 80:

 

 

 

 

 

1020 - 1220

Более 12,5

4

2-ой и последний

1100 - 1200

46 - 48

70 - 90

10 - 30

140 - 60

 

 

 

 

 

 

 

 

облицовочный

1050 - 1150

46 - 48

55 - 60

40 - 50

40 - 60

 

 

 

 

 

 

3

3

1-ый

750 - 800

44 - 46

50 - 60

40 - 45

80 - 100

 

 

 

 

 

 

 

 

2-ой

800 - 850

46 - 46

50 - 60

 

40 - 80

 

 

 

 

 

1420

9 - 16

4

1-ый

900 - 1000

44 - 46

50 - 60

40 - 50

80 - 100

 

 

 

 

 

 

 

 

2-ой

1050 - 1150

46 - 48

50 - 60

40 - 50

40 - 80

 

 

Примечание. Технология сварки и контролируемые показатели должны соответствовать требованиям ВСН 2-124-80 и раздела У настоящей карты.

Продолжение схемы 10

Состав контроля (что проверяется) Исполнительная документация

Кто контролирует

Периодичность (режим) контроля

Техническое оснащение контроля

Контролируемые показатели

Допуски

Диаметр трубы, мм

Толщина стенки, мм

Диаметр электрода, мм

Слои шва

Сварочный ток,

Напряжение, В

Скорость сварки, м/ч

Вылет электрода, мм

Смещение электрода с зенита, мм

 

 

 

 

 

1420

более 16

3

1-ый 2-ой и последний облицов.

750 - 800

800 - 850

44 - 46

45 - 47

50 - 55

50 - 55

40 - 45

60 - 100

60 - 80

 

 

 

 

 

 

850 - 900

46 - 48

45 - 50

40 - 45

40 - 80

 

 

 

 

 

 

 

4

1-ый

2-ой и последний облицов.

900 - 1000

44 - 46

50 - 55

40 - 50

80 - 100

 

 

 

 

 

 

 

 

1150 - 1200

46 - 48

70 - 90

40 - 50

60 - 80

 

 

 

 

 

 

 

 

1050 - 1150

46 - 48

50 - 55

40 - 50

40 - 80

 

 

 

 

 

При силе тока больше 600 А сварку целесообразней выполнять током прямой полярности. Усиление шва не менее 1 мм и не более 3 мм. Ширина сварного шва в зависимости то толщины стенки труба и вида разделки кромок.

 

 

 

 

 

 

 

 

 

 

 

Толщина стенки трубы, мм

Вид разделки кромок

Ширина сварного шва, не более, мм

 

 

 

 

 

7 - 8

а

14 ± 4

 

 

 

 

 

8 - 12

а

20 ± 4

 

 

 

 

 

12 - 16

а

24 ± 4

 

 

 

 

 

15 - 20,5

б

26 ± 4

 

 

 

 

 

20,5 - 28

б

32 ± 4

 

 

 

 

 

26 - 32

б

34 ± 4

 

Параметра и внешний вид шва

Исполнитель

Периодически (после сварки)

Шаблон Линейка

 

 

Диаметр трубы, мм

Толщина стенки трубы, мм

Минимальное число наружных слоев

Ширина на последнем слое, им

 

Мастер

100 % стыков

Шаблон Линейка

наружного шва

внутреннего шва

 

720

7,5 - 11,5

1

18 ± 3

18 ± 3

 

Сварочный журнал

Прораб

Выборочно 1 - 2 раза в смену

Шаблон Линейка

 

11,5 - 15,0

2

20 ± 3

18 ± 3

 

 

15,0 - 17,5

3

20 ± 3

18 ± 3

 

 

17,5 - 22,0

3

22 ± 4

22 ± 4

 

820

8,0 - 11,5

1

18 ± 3

18 ± 3

 

 

11,5 - 15,0

2

20 ± 3

18 ± 3

 

Журнал операционного контроля

 

 

1020 - 1220

10,5 - 11,5

1

18 ± 3

18 ± 3

 

 

 

 

11,5 - 17,5

2

18 ± 3

18 ± 3

 

 

 

 

17,5 - 21,5

2

 

22 ± 4

 

 

 

 

21,5 - 22,0

3

22 ± 4

22 ± 4

 

 

 

 

22,0 - 26,0

4

24 ± 4

24 ± 4

 

 

 

 

1420

15,8 - 20,5

2

22 ± 4

22 ± 4

 

 

 

 

 

20,5 - 24,0

3

24 ± 4

24 ± 4

 

 

Примечания. 1. Рекомендуемое количество наружных слоев и ширина шва на последнем слое в зависимости от диаметра и толщины стыка труб.

                            2. Величина усиления внутреннего и наружного шва должна находиться в пределах 1 - 3 мм.

Схема 11

Двусторонняя автоматическая сварка под флюсом поворотных стыков труб (базы типа БТС)

Состав контроля (что проверяется) Исполнительная документация

Кто контролирует

Периодичность (режим) контроля

Техническое оснащение контроля

Контролируемые показатели

Допуски

Диаметр трубы, мм

Толщина стенки, мм

Вид разделки

Номер слоя шва

Ток, А

Напряжение, В

Скорость сварки м/ч

Угол наклона

Смещение электрода с зенита, мм

 

 

 

 

Наружная сварка

 

 

 

 

против вращения трубы

 

Прораб

Выборочно

Визуально

 

7,5 - 11,0

г

1

550 - 700

42 - 46

35 - 45

до 30

30 - 50

 

 

 

 

720 - 820

11,0 - 18,0

а

1

550 - 650

42 - 46

30 - 40

до 30

30 - 35

 

 

 

 

 

 

поел.

600 - 700

44 - 48

35 - 40

до 30

20 - 40

 

 

 

 

 

18,0 и более

д

1

500 - 600

42 - 46

35 - 45

до 30

30 - 50

 

 

 

 

 

 

 

поел.

600 - 700

44 - 48

30 - 45

до 30

26 - 40

 

 

 

 

1020 - 1220

9,0 - 11,0

г

1

600 - 700

45 - 48

35 - 45

до 15

50 - 70

 

 

 

 

1020 - 1420

11,0 - 26,0

ж

1

700 - 800

44 - 46

40 - 50

до 15

50 - 70

 

 

 

 

е

посл.

700 - 800

45 - 48

35 - 45

до 15

40 - 50

 

 

 

 

1420

15,8 - 17,5

ж

1

900 - 950

44 - 46

50 - 55

до 15

60 - 80

 

 

 

 

 

 

2

750 - 800

46 - 48

45 - 50

до 15

60 - 60

 

 

 

 

 

17,5 - 20,5

ж

1

950 - 1000

45 - 47

48 - 50

до 30

40 - 60

 

 

 

 

 

 

2

750 - 800

46 - 48

40 - 45

до 30

70 - 90

 

 

 

 

720 - 1220

7,5 и более

 

1

600 - 700

42 - 46

35 - 45

до 10

15 - 20

 

 

 

 

1220 - 1420

15,8 и более

 

2

750 - 800

42 - 46

40 - 50

до 20

15 - 25

Примечания.     1.  Технология сварки и контролируемые показатели должны соответствовать требованиям ВСН 2-124-80 и раздела 8 настоящей карты.

2. Вид разделки на схеме настоящей карта. Ток постоянный, полярность обратная. Диаметр электродной проволоки 8 мм.

Схема 12

Автоматическая сварка в среде защитных газов неповоротных стыков труб диаметром 1420 при толщине стыка 16,5 мм (установка типа «Дуга» - «GRC»)

Состав контроля (что проверяется) Исполнительная документация

Кто контролирует

Периодичность (режим) контроля

Техническое оснащение контроля

Контролируемые показатели

Допуски

Технология сварки

Исполнитель работ

Непрерывно в процессе работы

Визуально Амперметр

Вольтметр

 

Параметры режима сварки

Слои

облицовочный

Внутренний корневой

наружный корневой

заполняющий

первый

второй

третий

Режим сварки

Мастер

Периодически в процессе работы

То же

Скорость сварки см/мин

60 - 75

48 - 50

25 - 35

25 - 35

25 - 35

25 - 35

 

Прораб

Выборочно

Визуально

Сварочный ток, А

190 - 210

220 - 240

220 - 24

190 - 210

180 - 200

170 - 190

 

 

 

 

Напряжение, В

20 - 22

22 - 24

22 - 24

20 - 22

20 - 22

19 - 21

 

 

 

 

Частота колебаний электрода, мин

-

-

130 - 150

110 - 130

110 - 130

110 - 130

 

 

 

 

Амплитуда колебаний, мм

-

-

4,0

5,6

6,3

8,1

 

 

 

 

Вылет электродной проволоки, мм

9

9

12

10

10

10

Примечания. 1. Контролируемые показатели и технология должны соответствовать требованиям ВСН 2-124-80 и разделу 8 настоящей карты.

2. Ток постоянный, полярность обратная.

Продолжение схемы 12

Состав контроля (что проверяется) Исполнительная документация

Кто контролирует

Периодичность (режим) контроля

Техническое оснащение контроля

Контролируемые показатели

Допуски

Параметры и внешний вид шва

Исполнитель работ

Периодически (после сварки шва)

Шаблон

Линейка

Ширина облицовочного слоя

 

Мастер

100 % стыков

То же

Толщина стенки труб, мм

Ширина облицовочного шва, мм

10,5 - 13,5

11,5      + 3

      - 1

Сварочный журнал

Прораб

Выборочно 1 - 2

-”-

15,2 - 16,5

13  + 3

      - 1

 

 

раза в смену

 

19,5

14  + 3

      - 1

Журнал операционного контроля

 

 

 

Усиление облицовочного слоя ива должно быть в пределах 1 - 3 мм

Внутренний валик:   ширина - 5 - 10 мм

усиление - 0 - 3 мм

Приложения

Документы, приведенные в приложениях, взяты из Законодательства о капитальном строительстве, т. 8 (М., Юридическая литература. 1980)

1. ПРИМЕРНОЕ ПОЛОЖЕНИЕ О БРИГАДИРЕ И БРИГАДЕ В СТРОИТЕЛЬСТВЕ1)

1) Госстрой СССР направил министерствам и ведомствам Примерное положение, разработанное с участием строительных министерств и ведомств на основе Типового положения о производственной бригаде и бригадире, утвержденного Постановлением Госкомтруда и Секретариата ВЦСПС от 15 декабря 1975 г. № 297/29.

Приложение к письму Госстроя СССР от 22 апреля 1977 года № ВИ-1976-3

1. Общие положения

1.1. Бригада является одной из прогрессивных коллективных форм организации труда, наиболее полно отвечающей современным требованиям научно-технического прогресса и задачам повышения эффективности производства. Бригадная форма работы создает более широкие возможности для применения научной организации труда, повышения его содержательности, ускорения роста производительности трудя и улучшения качества продукции (работ, услуг). Бригадная форма развивает у членов бригады чувство коллективизма, товарищескую взаимопомощь, творческую активность, способствует воспитанию коммунистического отношения к труду.

В бригаду объединяются рабочие для совместного и согласованного выполнения общего производственного задания. Совместная работа членов бригады должна создавать законченную продукцию или ее часть.

Положение о бригадире в строительстве, утвержденное Госстроем СССР 29 июня 1957 г. (см. Законодательство о капитальном строительстве, Вып. 2, 1969, с. 161 - 162) утратило силу согласно Постановлению Госстроя СССР от 20.05.1980 г. № 70.

1.2. Бригада образуется в соответствии с приказом (распоряжением) руководителя строительно-монтажной организации либо по его поручению распоряжением начальника участка.

1.3. Для более широкого привлечения рабочих к управлению производством в крупных бригадах может создаваться совет бригады, избираемой ее членами открытым голосованием.

Совет (собрание, производственное совещание) бригады рассматривает вопросы совершенствования внутрибригадной организации труда, хозяйственного расчета, развития социалистического соревнования, выполнения производственных заданий, соблюдения технологической и трудовой дисциплины, обеспечения безопасности труда, повышения качества продукции и другие.

Предложения, выработанные в бригаде, вносятся на рассмотрение мастера (производителя работ).

1.4. Бригаду возглавляет бригадир, назначаемый из числа передовых, наиболее квалифицированных рабочих, обладающих организаторскими способностями. Назначение бригадира производится приказом (распоряжением) руководителя строительно-монтажной организации, строительного участка по представлению мастера (производителя работ).

Бригадир подчиняется мастеру (производителю работ), а при его отсутствии - другому руководителю.

1.5. Бригадир работает в бригаде в качестве рабочего по своей специальности, уделяя необходимое время руководству бригадой.

1.6. Бригадир наряду со знаниями, предусмотренными по его профессии в тарифно-квалификационном справочнике работ и профессий рабочих, занятых в строительстве и на ремонтно-строительных работах, должен знать: технологию производства, организацию, оплату и нормы труда, применяемые в бригаде; правила производства и приемки работ, формы и условия применения бригадного хозяйственного расчета; требования, предъявляемые к качеству строительно-монтажных работ, а также к строительным материалам, изделиям и конструкциям, используемым на рабочих местах бригады; номенклатуру приспособлений и оснастки, необходимые для производства работ; правила эксплуатации ручного и механизированного инструмента, приспособлений и инвентаря; инструкции по охране труда, технике безопасности, промышленной санитарии и противопожарной безопасности при выполнении работ, порученных бригаде; должны уметь читать рабочие чертежи и монтажные схемы, пользоваться нормами и расценками на строительные и монтажные работы, применять документации по организации труда (технологические карты, карты трудовых процессов строительного производства) и калькуляции трудовых затрат, производить замеры выполненных бригадой работ.

1.7. Для более широкого обмена передовым опытом производственной и воспитательной работы, организация социалистического соревнования в строительных организациях может создаваться совет бригадиров, который избирается общим собранием бригадиров.

2. Организация и оплата труда в бригадах

2.1. Организационные формы бригад, их численный и квалификационный состав устанавливаются исходя из содержания и характера производственного процесса, принятой технологии производства строительно-монтажных работ, объема, сложности и сроков их выполнения, требований научной организации труда и производства, применяемых технических и организационных средств, достигнутого уровня выполнения норм выработки, заданий по росту производительности труда, материально-технического обеспечения рабочих мест и других факторов.

Бригады могут быть специализированными и комплексными.

Специализированная бригада объединяет, как правило, рабочих одной профессии, занятых на однородных технологических процессах (видах работ).

Комплексная бригада организуется из рабочих различных профессий для выполнения комплекса технологически разнородных, но взаимосвязанных работ, охватывающих полный цикл производства или его законченную часть.

Для обеспечения взаимозаменяемости и расширения совмещения профессий рабочие комплексных бригад, как правило, должны уметь выполнять работы по одной или нескольким смежным профессиям.

2.2. В зависимости от условий производства и организации труда крупные бригады могут делиться на звенья (в т.ч. специализированные) для выполнения отдельных видов работ и для работы в нескольких сменах.

2.3. Каждой бригаде устанавливаются производственные (нормированные) задания по выполнению строительно-монтажных работ в соответствия с рабочими чертежами и действующими строительными нормами и правилам и создаются необходимые организационно-технические условия для их выполнения.

В целях повышения экономической эффективности строительного производства, развития инициативы и расширения участия рабочих в управлении производством бригады должны, как правило, переводиться на хозяйственный расчет в соответствии с действующим Положением о новой форме бригадного хозяйственного расчета в строительстве бригадном подряде. При этом бригадам могут устанавливаться плановые показатели по росту производительности труда, экономии материалов, топлива, электроэнергии, улучшению использования строительных машин и механизмов и других.

2.4. Оплата труда рабочих строительных бригад осуществляется в соответствии с действующими тарифными ставками, сдельными расценками, месячными окладами и положениями о материальном стимулировании.

Сдельная оплата труда применяется в основном в сочетании с премированием за выполнение и перевыполнение установленных бригаде количественных и качественных производственных показателей (сдельно-премиальная система оплаты труда), по аккордным нарядам, составленным за весь комплекс основных и вспомогательных работ, с премированием за его выполнение в установленный срок и досрочно. При повременной оплате труда должны применяться нормированные задания (нормы обслуживания, нормативы численности) с премированием за их качественное и своевременное выполнение.

В целях усиления материальной заинтересованности рабочих и улучшения работы бригады, упрощения учета выработки продукции начисление им заработной платы должно осуществляться, как правило, по конечным результатам работы.

Распределение коллективного заработка между членами бригады, а также доплата бригадирам производится в соответствии с действующим законодательством.

3. Права и обязанности бригадира1)

1) При работе бригады в несколько смен в помощь бригадиру, обязанности и права которого определены настоящим Положением, можно назначать сменных бригадиров. Бригадирами назначается наиболее квалифицированные рабочие.

3.1. Основные обязанности бригадира:

организовать в бригаде труд с учетом требований его научной организации, добиваться расширения совмещения профессий, внедрения поточно-расчлененных и других прогрессивных форм организации и методов труда с тем, чтобы обеспечить постоянный рост производительности труда, выполнение в установленный срок и досрочно производственных заданий при высоком качестве работ, рациональное использование строи тельных нажин и механизмов, экономию и сохранность строительных материалов, конструкций и изделий;

своевременно доводить производственные задания до рабочих бригады, производить их расстановку в соответствии с технологическим (производственном) процессом и квалификацией;

осуществлять контроль за соблюдением членами бригады правил производства строительных и монтажных работ, правил техники безопасности, выполнением производственных заданий, за качеством выполняемых бригадой работ и принимать меры к исправлению обнаруженных дефектов и недостатков в работе, производить приемку работ, выполненных членами бригады;

проверять подготовленность фронта работ и обеспеченность рабочих мест материалами, инструментом, приспособлениями, принимать необходимые меры по предупреждению и ликвидации простоев, аварий, поломок инструмента, инвентаря и приспособлений и других неполадок;

содействовать внедрению и развитию бригадного хозяйственного расчета, добиваться наибольшего экономического аффекта на основе совершенствования организация труда, рационального использования машин, механизмов, инструмента и материалов;

развивать и поддерживать инициативу рабочих бригад по снижению трудоемкости работ, всемерно добиваться внедрения технически обоснованных норм трудовых затрат, вносить предложения по пересмотру устаревших и ошибочно установленных норм выработки, помогать членам бригады осваивать новые нормы разъяснять им условия работы и оплаты труда;

систематически повышать свой идейно-политический и культурно-технический уровень. Личным примером воспитывать у рабочих бригады коммунистическое отношение к труду, бережливое отношение к социалистической собственности;

совместно с профгрупоргом организовывать социалистические соревнование в бригаде, укреплять трудовую и производственную дисциплину, всемерно способствовать повышению квалификации и экономических знаний членов бригады, развитию изобретательности и рационализации.

3.2. Неисполнение или ненадлежащее исполнение по вине бригадира возложенных на него обязанностей влечет за собой применение мер общественного воздействия или наложение дисциплинарного взыскания в соответствии с действующим законодательством.

3.3. Бригадир имеет право:

принимать участие в разработке текущих, перспективных и встречных планов бригады;

давать рабочим бригады необходимые указания по производству работ, имеющие для них обязательный характер;

вносить совместно с мастером (производителем работ), а при его отсутствии другим руководителем предложения о зачислении рабочих в бригаду и исключения из нее с учетом мнения бригады;

приостанавливать работу в тех случаях, когда нарушение правил по технике безопасности может повлечь за собой угрозу здоровью или жизни рабочих, с немедленным сообщением об этом мастеру (производителю работ), а при его отсутствии другому руководителю;

представлять совместно с профгруппоргом мастеру (производителю работ), а при его отсутствии другому руководителю предложения:

а) о присвоении или повышении рабочих в установленном порядке квалификационных разрядов;

б) о моральном и материальном поощрении членов бригады, в том числе о премировании из фонда мастера;

в) о лишении или снижении размера премий, вознаграждения по итогам работы строительно-монтажных организаций отдельным членам бригады и соответствии с действующими положениями;

г) о применении мер общественного воздействия или наложении дисциплинарных взысканий на отдельных членов бригады за неисполнение ими обязанностей, возложенных на них правилами внутреннего трудового распорядка.

3.4. Права и обязанности звеньевых определяются ведомственными положениями о производственной бригаде и бригадире соответствующими инструкциями, утвержденными руководителем предприятия.

2. ПРИМЕРНОЕ ПОЛОЖЕНИЕ О МАСТЕРЕ ПРОИЗВОДСТВЕННОГО УЧАСТКА СТРОИТЕЛЬНО-МОНТАЖНОЙ ОРГАНИЗАЦИИ1)

1) Примерное положение направлено Госстроем СССР министерствам и ведомствам СССР для обеспечения единого подхода при подготовке и утверждении ими соответствующих положений для линейных работников в строительстве.

Положение о мастере в строительстве, утвержденное Госстроем СССР 29 июня 1957 г. (см. Законодательство о капитальном строительстве. Вып. 2, 1969. с. 156 - 161) утратило силу согласно постановлению Госстроя СССР от 20 мая 1980 г. № 70.

Одобрено и рекомендовано Госстроем СССР

30 ноября 1977 г. за № ВИ-5599-3 (Сборник примерных положений о должностях линейных инженерно-технических работников строительного производства, Стройиздат, 1979 г.)

Общие положения

3.1. Мастер является непосредственным руководителем и организатором труда и производства на участке строительных или монтажных работ. Участок мастера создается для выполнения на объекте комплекса технологически взаимосвязанных работ, например: земляных, бетонных, нулевого цикла, кирпичной кладки с сопутствующими монтажными работами, штукатурных, малярных, санитарно-технических др. Объем, характер работ и численность рабочих на участке мастера определяет руководитель соответствующей строительно-монтажной организации.

3.2. Мастер возглавляет первичный трудовой коллектив, состоящий из комплексной или специализированных бригад, закрепленных за ним, и перемещается с объекта на объект вместе с ними. Руководство коллективом мастер осуществляет на принципах единоначалия.

3.3. Мастер назначается, перемещается и освобождается от занимаемой должности приказом руководителя строительно-монтажной организации.

3.4. Руководитель организации по согласованию с соответствующим комитетом профсоюза может присвоить мастерам звание «мастер I класса» и «мастер II класса» с установлением надбавки к заработной плате (% и должностному окладу): от 20 до 30 - мастеру I класса и от 10 до 15 - мастеру II класса. Порядок присвоения указанных званий определен Типовым положением, утвержденным постановлением Госкомтруда СССР и ВЦСПС от 15 июня 1977 г.

3.5. Мастер подчиняется непосредственно производителю (старшему производителю) работ. Все распоряжения, относящиеся к производственной деятельности участка, передаются для исполнения рабочим через мастера.

3.6. Мастер должен знать: Строительные нормы и правила (СНиП); правила по охране труда, технике безопасности, противопожарной защите; основы экономики, организации труда и производства, трудового законодательства; технологию производства строительных и монтажных работ; технические характеристики применяемых строительных машин, механизированного инструмента и приспособлений; правила работы с геодезическим инструментом; методы хозяйственного расчета; нормы и расценки на выполняемые работы; положения об оплате труда; принципы планирования работы участка.

3.7. Мастер в своей деятельности руководствуется решениями партии и правительства, законодательством о труде, приказами, распоряжениями, плановыми заданиями и нормативными документами, правилами внутреннего трудового распорядка и данным Положением.

3.8. Основными задачами мастера являются: выполнение плановых заданий и социалистических обязательств при наименьших затратах материальных, трудовых и финансовых ресурсов; повышение производительности труда и качества строительно-монтажных работ на основе выявления в использования резервов производства на каждом рабочем месте; воспитание у рабочих чувства коллективизма, высокой ответственности за порученное дело.

Основные обязанности

Мастер обязан:

3.9. Участвовать в разработке и обсуждении текущих, перспективных, встречных планов и социалистических обязательств, а также плана социального развития коллектива строительной организации, исходя из полного использования возможностей и резервов производства, всемерной его интенсификации, ускорения технического прогресса.

3.10. Обеспечивать выполнение в срок установленных участку плановых заданий по завершении комплексов работ на пусковых объектах и объему строительно-монтажных работ с высоким качеством и при соблюдении требований проектов, СНиП и технических условий, а также по выработке в стоимостном и натуральном измерениях с соблюдением установленных участку лимитов по расходованию заработной платы.

3.11. Детально изучать (не позднее чем за месяц до перехода на очередной объект) проектно-сметную документацию и проект производства работ.

3.12. Комплектовать совместно с бригадиром звенья по численному и профессионально-квалификационному составу в зависимости от объемов, сроков и характера выданных заданий, а также производить расстановку рабочих в соответствии с их специальностью.

3.13. Разъяснять исполнителям правила и технологию производства работ, условия оплаты труда. Эффективно применять системы материального поощрения. Доводить до бригад (звеньев) производственные задания (пятилетние, годовые, месячные, недельно-суточные и сменные). Выдавать до начала работ наряды на производство работ.

3.14. Создавать условия рабочим для выполнения норм выработки путем своевременной подготовки фронта работ для каждой смены, а также обеспечения материально-техническими ресурсами.

3.15. Обеспечивать сохранность технологического оборудования, инвентаря, оснастки и приспособлений, закрепляемых за участком мастера.

3.16. Осуществлять оперативное руководство работой машинистов строительных машин и механизмов, обслуживающих участок.

3.17. Участвовать в разработках документации по бригадному подряду, планов НОТ бригады и обеспечивать их внедрение, используя карты трудовых процессов, применять передовые методы и приемы труда.

3.18. Организовывать деятельность коллектива участка на основе хозяйственного расчета, бригадного подряда.

3.19. Принимать от бригады, звеньев или отдельных исполнителей выполненные объемы работ с определением их качества. Оформлять наряды на выполнение работы для их оплаты.

3.20. Участвовать в приемке фронта работ от смежных бригад, а также сдавать производителю работ выполненные участком мастера задания с оформлением необходимой документации.

3.21. Вести исполнительную документацию, учет выполненных объемов строительно-монтажных работ, отработанного времени рабочими и машинами, заработной платы.

3.22. Осуществлять контроль за приемкой, хранением и рациональным использованием материалов, конструкций, инструмента и приспособлений. Вести учет поступления и расхода материальных ценностей. Не допускать применения материалов, не отвечающих требованиям действующих стандартов или технических условий.

3.23. Осуществлять безопасное ведение строительно-монтажных работ. Контролировать состояние лесов и подмостей, защитных приспособлений и креплений, применение и правильное использование рабочими спецодежды и индивидуальных защитных средств, соблюдение норм переноски тяжестей, обеспечение рабочих мест предупредительными надписями и плакатами. Проводить инструктаж рабочих по технике безопасности на рабочих местах в процессе производства работ.

3.24. Проверить чистоту и порядок на рабочих местах, в проходах и на подъездных путях; обеспечивать нормальную освещенность рабочих мест, а также правильное содержание и эксплуатацию подкрановых и подъездных путей.

3.25. Обеспечивать на своем участке трудовую и производственную дисциплину, соблюдать правила внутреннего трудового распорядка; предупреждать брак, простои, потери рабочего времени, материалов и энергии.

3.26. Быть активным проводником технического прогресса на участке, постоянно повышать свою квалификацию, личным примером показывать образец сознательности, трудолюбия, творческой активности и инициативы. Оказывать помощь рабочим в оформлении и внедрении изобретений и рационализаторских предложений. Участвовать в организации социалистического соревнования за эффективный и высококачественный труд. Развивать наставничество и коммунистическое отношение к труду.

3.27. Проводить воспитательную работу в коллективе; создавать условия для взаимной помощи и взыскательности; проявлять чуткое отношение к нуждам и запросам рабочих, а также заботу о повышении их профессионального мастерства. Совместно с общественными организациями и коллективом рабочих систематически подводить итоги работы участка.

Права

Мастер имеет право:

3.28. Производить расстановку рабочих в соответствии с их квалификацией и специальностью, вносить предложения о перемещении излишних рабочих на другие производственные участки.

3.29. Участвовать: в работе квалификационной комиссии при присвоении подчиненным рабочим тарифных разрядов, при рассмотрении администрацией и профсоюзной организацией претензий в случаях нарушений обязательств при применении бригадного подряда.

3.30. Премировать по согласованию с профгрупоргом рабочих за достижение высоких количественных и качественных производственных показателей, образцовую работу и успешное выполнение заданий за счет средств премиального фонда, выделяемого ежемесячно в распоряжение мастера, в размере до полумесячной тарифной ставки.

3.31. Представлять отличившихся исполнителей к моральному поощрению и материальному вознаграждению. Вносить предложения о наложении взысканий за нарушение трудовой и производственной дисциплины.

3.32. Вносить предложения о назначении и замене бригадиров (в том числе сменных).

3.33. Участвовать в рассмотрении администрацией вопросов труда, быта и отдыха подчиненных ему рабочих.

3.34. Приостанавливать производство работ при возникновении опасности для жизни и здоровья людей с незамедлительным сообщением об этом прорабу (старшему прорабу).

3.35. Не допускать или отстранять в процессе работы лиц в нетрезвом состоянии в порядке, установленном законом.

Ответственность

3.36. Мастер несет ответственность за деятельность возглавляемого им производственного участка, успешное выполнение стоящих перед ним задач по повышению эффективности и качества работы, а также обязанностей, предусмотренных настоящим Положением.

3. ПРИМЕРНОЕ ПОЛОЖЕНИЕ О ПРОИЗВОДИТЕЛЕ РАБОТ СТРОИТЕЛЬНО-МОНТАЖНОЙ ОРГАНИЗАЦИИ1)

1) Примерное положение направлено Госстроем СССР министерствам и ведомствам СССР для обеспечения единого подхода при подготовке и утверждении ими соответствующих положений для линейных работников в строительстве.

Положение о производителе работ в строительстве, утвержденное Госстроем СССР 29 июня 1957 г. (см. Законодательство о капитальном строительстве, Вып. 2, М, Юрид. лит., 1969, с. 153 - 157) утратило силу согласно постановлению Госстроя СССР от 20 мая 1960 г., № 70.

Одобрено и рекомендовано Госстроем СССР 30 ноября 1977 года № ВИ-5599-3

(Сборник примерных положений о должностях линейных инженерно-технических работников строительного производства, Стройиздат, 1979 г.)

Общие положения

2.1. Производитель работ является руководителем коллектива и организатором производства на порученном ему объекте строительства (группе объектов или части объекта).

2.2. Производитель работ руководит на принципах единоначалия деятельностью мастеров, а также рабочими, непосредственно подчиненными ему.

2.3. Производитель работ назначается, перемещается и освобождается от занимаемой должности приказом управляющего трестом или приравненной к нему организации по представлении начальника СУ (ПМК).

2.4. На должность производителя работ назначаются лица, имеющие высшее образование и стаж работы в строительстве не менее одного года или среднее специальное образование и стаж работы в строительстве на инженерно-технических должностях не менее трех лет. Для особо ответственных и сложных в инженерном отношении работ требуется окончание специальных курсов.

2.5. Подчиненность производителя работ устанавливается руководителем строительно-монтажной организации в зависимости от принятой структуры управления.

2.6. Производитель работ должен знать: проектно-сметную документацию на строящиеся объекты; технические условия и инструкции на производство и приемку выполняемых строительно-монтажных: работ; методы хозяйственного расчета участка; нормы и расценки на выполняемые работы; положение об оплате труда и материальном стимулировании; основы экономики, организации производства и труда; передовой отечественной и зарубежной опыт производства строительно-монтажных работ; Строительные нормы и правила; порядок организация и производства геодезических работ на участке; документы, регулирующие взаимоотношения подрядной организации с заказчиком; систему производственно-технологической комплектации и диспетчеризации; правила по охране труда, технике безопасности и противопожарной технике; основы трудового законодательства.

2.7. Производитель работ в своей деятельности руководствуется решениями партии и правительства, законодательством о труде, плановыми заданиями, проектно-сметной документацией, приказами, распоряжениями, правилами внутреннего трудового распорядка, инструкциями и данным Положением.

2.8. Основной задачей производителя работ является обеспечение своевременного ввода в действие производственных мощностей и объектов строительства (части объекта, законченного комплекса специальных строительных и монтажных работ) с соблюдением требований по качеству, а также выполнение плановых заданий и социалистических обязательств путем эффективного использования трудовых и материально-технических ресурсов.

Основные обязанности

Производитель работ обязан:

2.9. Участвовать в разработке и обсуждении текущих, перспективных, встречных планов и социалистических обязательств, а также плана социального развития коллектива, строительной организации, исходя из полного использования возможностей и резервов производства, всемерной его интенсификации, ускорения техническом прогресса.

2.10. Обеспечивать выполнение установленных участку плановых заданий и в первую очередь по вводу в действие производственных мощностей и объектов строительства в установленные сроки; объему товарной строительной продукции и прибыли от ее реализации; производительности труда (выработке) работающих с соблюдением установленных по объекту лимитов фонда заработной платы.

2.11. Получать в аппарате строительной организации (за месяц до начала возведения объекта) проектно-сметную документацию - рабочие чертежи, сметы, проекты производства работ, калькуляции затрат труда и заработной платы, карты трудовых процессов и изучать ее. Об имеющихся замечаниях по полученной документации сообщать соответствующим работникам аппарата управления.

2.12. Производить организационную и техническую подготовку строительных площадок к началу возведения объектов и осуществлять их строительство в соответствии с технической и технологической документацией и требованиями СНиП.

2.13. Предоставлять, в соответствии с календарными графиками фронта работ субподрядными организациями, координировать и контролировать их деятельность на объекте.

2.14. Принимать от подчиненных мастеров и субподрядных организаций законченные работы с определением их качества.

2.15. Возглавлять на объекте работу по внедрению достижений науки и техники, совершенствованию организации производства и труда на научной основе, внедрению системы управления качеством строительства, организации социалистического соревнования и воспитанию подчиненных работников в духе коммунистического отношения к труду, внедрению хозяйственного расчета - бригадного подряда, рационализации и изобретательству, активному использованию строительных материалов и фонда заработной платы, повышению культуры производства.

2.16. Вести на объекте учет выполненных объемов работ, поступления и расхода материальных ресурсов.

2.17. Вести журналы производства работ, составлять совместно с подчиненными мастерами акт приемки выполненных объемов и акты на скрытые работы.

2.18. Принимать участие в соответствии недельно-суточных планов; вносить необходимые уточнения в сетевые графики и комплектовочные ведомости на конструкции и материалы с учетом фактических сроков выполнения работ; снимать информацию о состоянии производства работ и передавать ее в оперативные службы строительной организации; составлять заявки на транспорт и средства механизации.

2.19. Осуществлять контроль за деятельностью подчиненных мастеров, обращая особое внимание на экономное использование фонда заработной платы и правильное применение систем материального поощрения, соблюдение работниками трудовой и производственной дисциплины, качественное выполнение строительно-монтажных работ, соблюдение технологии производства работ, обеспечение рабочих спецодеждой и защитными приспособлениями, правильное оформление первичной документации по учету объемов и качества работ, труда, заработной платы, работы механизмов, движения строительных материалов.

2.20. Осуществлять мероприятия по технике безопасности и производственной санитарии; обеспечивать исправное состояние и правильную эксплуатацию лесов, подмостей, креплений, ограждений; вести надзор за правильным и безопасным использованием строительных машин, механизмов, энергоустановок и транспортных средств; оформлять допуски на право производства работ в охранной зоне линии электропередач и в действующих цехах; инструктировать мастеров и рабочих, обучать их безопасным методам труда; использовать наглядные методы пропаганды техники безопасности.

2.21. Своевременно расследовать несчастные случаи, связанные с производством, и составлять соответствующие акты. Участвовать в разработке и во внедрении мероприятий по предотвращению производственного травматизма.

2.22. Обеспечивать правильное складирование материалов, конструкций, их сохранность, чистоту строительной площадки, рабочих мест, проходов, проездов и времянок.

2.23. Создавать условия для успешного прохождения молодыми специалистами с высшим образованием стажировки, обеспечивать их правильное использование по специальности, способствовать приобретению ими производственных навыков.

2.24. Организовывать совместно с комитетом профсоюза социалистическое соревнование в возглавляемом ими коллективе. Создавать условия для выполнения принятых обязательств; участвовать в подведении итогов работы; оказывать всемерную помощь передовикам и новаторам производства в доработке, оформлении и внедрении рационализаторских предложений.

Права

Производитель работ имеет право:

2.25. Участвовать в обсуждении перспективных, текущих планов, проекта производства работ, организационно-технических мероприятий, планов социального развития и вносить предложения по их улучшению.

2.26. Вносить в установленном порядке предложения по совершенствованию проектных решений, изменению сметной и технологической документации.

2.27. Вносить предложения о моральном и материальном поощрении отличившихся работников, а также о наложении взысканий на лиц, допустивших нарушения трудовой и производственной дисциплины.

2.28. Вносить предложения руководству строительно-монтажной организации о замене подчиненных ему линейных работников, а также о зачислении лучших мастеров в резерв на повышение в должности.

2.29. Утверждать наряды и контролировать соблюдение подчиненными мастерами плановых заданий по производительности труда и фонду заработной платы.

2.30. Прекращать на объекте работы в случае возникновения опасности для жизни и здоровья людей, незамедлительно сообщая об этом главному инженеру строительной организации.

2.31. Не допускать или отстранять в процессе работы лиц в нетрезвом состоянии в порядке, установленном законом.

Ответственность

2.32. Производитель работ несет ответственность за производственную деятельность коллектива на порученном ему объекте строительства (группе объектов или части объекта), выполнение стоящих перед ним задач по повышению эффективности и качества работы, а также обязанностей, предусмотренных настоящим Положением.

4. Журнал операционного контроля

Дата контроля (число, месяц, год)

Наименование конструкций и вид контролируемых работ

Обнаруженные дефекты, в т.ч. неисправимые (брак) и подпись исполнителя допустившего брак

Должность, Ф. И. О. проверяющего

Подпись проверяющего

Отметка об исправлении брака и сумма затрат (дата, подпись)

Подпись начальника СУ, гл. инженера СУ на первое число каждого месяца

Примечание

1

2

3

4

5

6

7

8

ЛИТЕРАТУРА

1. Магистральные трубопроводы. Нормы проектирования. СНиП II-45-75. М.: Стройиздат, 1979.

2. Магистральные трубопроводы. Правила производства и приемки работ. СНиП III-42-80. М.: Стройиздат, 1981.

3. Руководство по операционному контролю качества строительно-монтажных работ при сооружении линейной части магистральных трубопроводов. Р-375-79. М.: ВНИИСТ, 1980.

4. Инструкция по технологии сварки магистральных трубопроводов. ВСН 2-124-80. М.: ВНИИСТ, 1981.

5. Законодательство о капитальном строительстве. М.: Юридическая литература, 1980.

6. Тарифно-квалификационный справочник работ и профессий рабочих, занятых в строительстве и на ремонтно-строительных работах. М.: Стройиздат, 1969.

7. Правила техники безопасности при строительстве магистральных стальных трубопроводов. М.: Недра, 1972.

8. Ведомственные нормы и расценки на строительные, монтажные и ремонтно-строительные работы. В 31 М.: Нефтегазстройтруд, 1979.

СОДЕРЖАНИЕ

1. Общие положения. 1

2. Виды операционного контроля. 2

3. Организация операционного контроля. 3

4. Лабораторный контроль. 3

5. Исполнительная документация. 4

6. Технические требования к материалам  и контролю их качества. 6

6.1. Трубы.. 6

6.2. Сварочные материалы.. 10

6.3. Контроль сварочных материалов. 11

6.4. Приемка сварочных материалов и их хранение. 15

7. Профессиональные и квалификационные  требования к исполнителям работ. 16

7.2. Проверка квалификации сварщиков и контроль допускных стыков. 16

8. Технологические требования к производству  работ. 17

8.1. Сборка труб. 17

8.2. Ручная электродуговая сварка труб. 20

8.3. Односторонняя автоматическая сварка и подварка под флюсом поворотных стыков труб. 21

8.4. Двусторонняя автоматическая сварка под флюсом поворотных стыков труб. 22

8.5. Автоматическая электродуговая сварка в среде защитных газов. 23

8.6. Маркировка стыков и плетей. 24

9. Дефекты сварных швов и причины их образования. 24

Схема 1 Проверка наружной поверхности и внутренней полости труб. 26

Схема 2 Подготовка кромок под сварку. 26

Схема 3 Подготовка сварочных материалов. 27

Схема 4 Центровка и сборка стыка. 28

Схема 5 Подогрев стыкуемых кромок труб. 29

Схема 6 Сварка корневого слоя два поворотных стыков труб на базе. 30

Схема 7 Ручная электродуговая подварка корня шва. 30

Схема 8 Автоматическая подварка корня шва поворотных стыков на базе. 31

Схема 9 Сварка корневого слоя шва и «горячего» прохода неповоротных стыков. 32

Схема 10 Односторонняя автоматическая сварка под флюсом заполняющих слоев шва поворотных стыков труб (установки типа ПАУ) 33

Схема 11 Двусторонняя автоматическая сварка под флюсом поворотных стыков труб (базы типа БТС) 35

Схема 12 Автоматическая сварка в среде защитных газов неповоротных стыков труб диаметром 1420 при толщине стыка 16,5 мм (установка типа «Дуга» - «GRC») 36

Приложения. 38

Литература. 47

 

 




ГОСТЫ, СТРОИТЕЛЬНЫЕ и ТЕХНИЧЕСКИЕ НОРМАТИВЫ.
Некоммерческая онлайн система, содержащая все Российские Госты, национальные Стандарты и нормативы.
В Системе содержится более 150000 файлов нормативно-технической документации, действующей на территории РФ.
Система предназначена для широкого круга инженерно-технических специалистов.

Рейтинг@Mail.ru Яндекс цитирования

Copyright © www.gostrf.com, 2008 - 2026