Крупнейшая бесплатная информационно-справочная система онлайн доступа к полному собранию технических нормативно-правовых актов РФ. Огромная база технических нормативов (более 150 тысяч документов) и полное собрание национальных стандартов, аутентичное официальной базе Госстандарта. GOSTRF.com - это более 1 Терабайта бесплатной технической информации для всех пользователей интернета. Все электронные копии представленных здесь документов могут распространяться без каких-либо ограничений. Поощряется распространение информации с этого сайта на любых других ресурсах. Каждый человек имеет право на неограниченный доступ к этим документам! Каждый человек имеет право на знание требований, изложенных в данных нормативно-правовых актах!

  


 

ЦЕНТРАЛЬНЫЙ ИНСТИТУТ НОРМАТИВНЫХ ИССЛЕДОВАНИЙ
И НАУЧНО-ТЕХНИЧЕСКОЙ ИНФОРМАЦИИ «ОРГТРАНССТРОЙ» МИНИСТЕРСТВА ТРАНСПОРТНОГО СТРОИТЕЛЬСТВА

Технологическая карта № 5

Окончательная отделка поверхности бетонного
покрытия и уход за бетоном с применением
машин Т
FВ-280 и ТС-280

I. Область применения

Технологическая карта разработана в развитие карты № 4 «Устройство бетонного покрытия машиной SF-400».

Карта предусматривает окончательную планировку поверхности бетонного покрытия трубным брусом бетоновыглаживающей машины ТFВ-280 с выглаживающей холстовой щеткой, создание шероховатости на поверхности покрытия и нанесение жидкого пленкообразующего материала двухполосным финишером ТС-280.

В настоящей технологической карте предусмотрены:

- сменная производительность - 600 м покрытия (4500 м2);

- обслуживающий персонал - 2 чел;

- затраты труда на 1000 м2 покрытия - 0,44 чел-дн;

- ширина бетонируемой полосы - 7,5 м;

- использование жидкого пленкообразующего материала помароль ПМ-86 для ухода за свежеуложенным бетоном.

II. Указания по технологии производственного процесса

Окончательную отделку поверхности бетонного покрытия с созданием шероховатости и уходом за свежеуложенным бетоном осуществляют на одной захватке с укладкой цементобетонной смеси.

К окончательной отделке приступают сразу же за укладкой бетона. Технология окончательной отделки, создание шероховатости и ухода за свежеуложенным бетоном включает в себя следующие технологические операции.

1. Планировка (предварительная отделка) поверхности бетонного покрытия бетоновыглаживающей машиной ТFВ-280 с помощью двух трубных брусьев.

2. Окончательная отделка поверхности бетонного покрытия за второй проход бетоновыглаживающей машины с опущенной холстовой щеткой.

3. Создание шероховатости на поверхности бетонного покрытия двухполосным финишером ТС-280.

4. Уход за свежеуложенным бетоном нанесением на поверхность бетона жидкого пленкообразующего материала двухполосным финишером ТС-280.

Краткая характеристика бетоновыглаживающей машины ТFВ-280

Бетоновыглаживающая машина ТFВ-280 фирмы «CMI» с трубчатым брусом - это полуавтоматическая дорожно-строительная машина, сконструированная для обеспечения самой высококачественной отделки бетонных покрытий.

Закрепленные под главной рамой машины две трубы исполняют функции как выглаживающих брусьев, которые заполняют пониженные и срезают повышенные части покрытия, так и профилировочных брусьев, обеспечивающих точный профиль отделанной поверхности. Два бруса установлены параллельно, один сзади другого, концы брусьев заходят один за другой по осевой линии дорожного полотна.

Управление положением брусьев осуществляется гидравлически; они могут быть подняты, опущены или повернуты на любой угол относительно продольной оси покрытия.

Плавающая холстовая щетка (джутовое полотно) применяется для создания однородной текстуры поверхности покрытия при его отделке.

Выдерживание курса бетоновыглаживающей машины осуществляется либо механизмом автоматического выдерживания курса по копирной струне, либо вручную с пульта управления машины. Пульт управления позволяет оператору управлять всеми рабочими узлами машины и регулировать скорость передвижения.

Автоматическое выдерживание курса достигается с помощью датчика с контактными вилочками, который выдерживает заданное направление по копирной струне, натянутой по любой стороне дороги.

Техническая характеристика бетоновыглаживающей машины

Мощность двигателя, л.с................................................. 47

Рабочий вес, кг................................................................. 5206

Габариты:

             ширина, м....................................................... 9,1

             длина с выглаживающими брусьями и

             плавающей холстовой щеткой, м................. 9,2

Скорости переднего и реверсивного хода, м/мин........ от 0 до 71

Колесные тележки, шт..................................................... 8

Выглаживающий брус:

             количество брусьев, шт................................. 2

             длина одного бруса, см................................. 610

             диаметр трубы бруса, мм.............................. 203

Спереди и сзади брусьев расположена оросительная труба с быстроотсекающими соплами.

Плавающая холстовая щетка (джутовое полотно), расположенная на специальной раме сзади машины, опускается и поднимается гидромеханизмами и снабжена оросительными трубами с быстроотсекающими соплами.

Система орошения представляет собой непрерывную оросительную трубу по всей длине машины с быстроотсекающими распылительными соплами, оборудованными ветровыми щитками.

Машина снабжена двумя баками емкостью по 510 л каждый.

Краткая характеристика двухполосного финишера ТС-280

Двухполосный финишер ТС-280 фирмы «СМI» предназначен для создания шероховатости на поверхности свежеуложенного бетонного покрытия и нанесения жидких пленкообразующих материалов при уходе за бетоном.

Создание шероховатости на поверхности бетонной полосы осуществляется с помощью поперечной щетки, подвешенной под главной рамой машины.

Нанесение жидких пленкообразующих материалов осуществляется с помощью приспособления, расположенного сзади машины.

Автоматическое или ручное выдерживание курса машины производится аналогично бетоновыглаживающей машины ТFВ-280.

Техническая характеристика двухполосного финишера

Мощность двигателя, л.с................................................. 47

Рабочий вес, кг................................................................. 5607

Габариты:

             ширина, м....................................................... 9,6

             длина, м.......................................................... 8,3

Скорость переднего и реверсивного хода, м/мин........ от 0 до 71

Колесные тележки, шт..................................................... 8

Поперечная щетка представляет собой цилиндрическую трубу со щеткой, подвешенную на двух направляющих. Она может смещаться влево или вправо и приводится в действие тросиком от вытеснительного, низкоскоростного, высокомоментного гидродвигателя. Вертикальное ее положение регулируется правым и левым гидроцилиндрами.

Приспособление для нанесения жидких пленкообразующих материалов расположено на специальной раме, прикрепленной шарнирами сзади главной рамы машины и представляет собой трубу длиной 7,3 м с 21 быстроотсекающими распылительными соплами и ветровыми щитками. Рама с приспособлением поднимается и опускается двумя гидроцилиндрами.

Подготовка машины к началу работы

Перед началом работы оператор (машинист) должен тщательно проверить состояние каждой машины: нет ли согнутых, поломанных или поврежденных частей; прямолинейна ли нижняя часть рабочих органов (трубчатого выглаживающего бруса и поперечной щетки); смазаны ли все детали машины в соответствии с «Инструкцией по смазке».

После осмотра машины он наполняет топливный бак дизельным топливом (избегая попадания в топливную систему грязи, воды и других посторонних предметов), проверяет уровень жидкости в системе охлаждения, состояние гидравлических трубопроводов, насосов и двигателей, герметичность соединений и, в случае необходимости, перед пуском двигателя принимает необходимые меры для устранения утечек и повреждений частей машины, после чего приступает к настройке датчиков на автоматическое выдерживание курса.

Настройка датчиков на автоматическое выдерживание курса и установка машин относительно копирной струны

В системе автоматического выдерживания курса применяются четыре датчика. Два датчика обеспечивают автоматическое выдерживание курса при движении машины вперед и два - при движении машины назад. Это позволяет оператору изменять направление хода машины только изменением положения селекторного переключателя выдерживания курса с переднего на реверсивный ход. Каждый датчик оборудован вилочкой, выступающей из корпуса датчика приблизительно на 46 см.

Датчики могут быть смонтированы с одной или с другой стороны выглаживающей машины или двухполосного финишера. Штанга для крепления опорного кронштейна датчика может быть поднята или опущена для установки датчика на одном уровне с натянутой копирной струной.

Настройку датчиков на автоматическое выдерживание курса осуществляют в следующей последовательности:

- устанавливают машину точно по оси покрытия параллельно натянутой копирной струне;

- устанавливают удлинительный рычаг в кронштейне на корпусе опорной стойки, оставляя болты крепления кронштейна достаточно свободными для перемещения рычага в пределах кронштейна;

- крепят опорный кронштейн датчика к концу удлинительного рычага так, чтобы он был параллелен рулевой тяге опорной стойки;

- устанавливают датчики на обоих концах опорного кронштейна и подключают к электросети;

- с помощью индикаторных лампочек (на пульте управления) перемещают (вдвигают или выдвигают) удлинительный рычаг до тех пор, пока поворотный переключатель датчиков не займет нулевого положения, на что укажет погасание индикаторных лампочек, затем проверяют настройку передней и задней позиций управления с помощью селекторного переключателя датчиков на пульте управления;

- закрепляют удлинительный рычаг в кронштейне в тот момент, когда датчики будут находиться в требуемом положении по отношению к натянутой копирной струне;

- регулируют длину вала между рулевой тягой и опорным кронштейном с помощью регулятора в центре сборного комплекта, после чего крепят этот валик к опорному кронштейну датчика.

После настройки датчиков на автоматическое выдерживание курса подводят бетоновыглаживающую машину или двухполосный финишер к струне так, чтобы контактная вилочка датчика слегка касалась струны. Устанавливают селекторный переключатель рулевого управления в положение «Автоматическое» и продолжают продвигать машину вперед до тех пор, пока она не станет параллельна копирной струне, и только в этом случае следует приступать к регулированию чувствительности датчиков.

Регулирование чувствительности датчиков осуществляют в следующей последовательности:

- запускают двигатель для обеспечения давления в гидравлической системе постоянного давления;

- настраивают клапаны регулирования скорости потока на передние и задние рулевые цилиндры на выдвижение и втягивание штоков гидроцилиндров со скоростью 406 мм/мин;

- поворачивают селекторный переключатель рулевого управления в положение «вперед»;

- поворачивают регулировочный винт датчика по часовой стрелке (для сужения нулевой позиции поворотного селекторного переключателя) до тех пор, пока шток сервоцилиндра перейдет от плавного движения к скачкообразному;

- медленно поворачивают винт в обратном направлении так, чтобы скачкообразное движение штока сервоцилиндра прекратилось.

Это будет являться самой высокой чувствительностью датчика для большинства условий работ. Если эта настройка не будет обеспечивать требуемую скорость реагирования рулевого управления, то следует изменить настройку клапана регулирования скорости потока для ускорения или замедления движения штока сервоцилиндра и повторно настроить чувствительность датчика.

После установки машины относительно струны и регулировки чувствительности датчиков переходят непосредственно к установке рабочих органов машин в рабочее положение и приступают к окончательной отделке покрытия и уходу за свежеуложенным бетоном.

Планировка (предварительная отделка) поверхности бетонного покрытия бетоновыглаживающей машиной ТFВ-280

Предварительную отделку поверхности осуществляют при опущенных на проектную отметку покрытия брусьях и поднятой холстовой щетке.

Перед началом отделки покрытия необходимо проверить прямолинейность нижней кромки бруса: убедиться, не имеет ли брус прогиба или дефектов на рабочей поверхности. Прямолинейность бруса можно проверить с помощью приспособления (натянутого шнура или струны), описанного в технологической карте № 2 «Планировка земляного полотна планировщиком ТS-425» (см. рис. 3 вышеуказанной карты).

Затем устанавливают два бруса так, чтобы их нижние грани находились на проектной отметке верха покрытия и имели в поперечном направлении профиль покрытия дороги. В таком положении брусья поднимают.

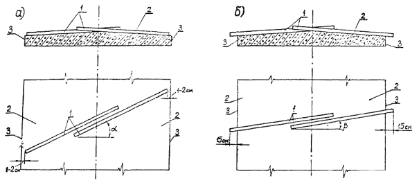
Перед опусканием на поверхность бетонного покрытия брусья должны быть установлены под углом поперек бетонной полосы. Для этого устанавливают брусья так, чтобы их внешние концы не доходили до кромок бетонной полосы на 1 - 2 см (см. рис.). Это предотвратит повреждение кромок покрытия при отделке поверхности.

После установки брусьев под требуемым углом по отношению к полосе, бетоновыглаживающую машину подводят к началу участка с уложенным бетоном, включают среднюю скорость движения машины, во время движения машины опускают брусья в рабочее положение и после этого переводят машину на более высокую скорость. Во избежание получения следов на поверхности бетонного покрытия в точках опускания запрещается опускать брусья во время остановок машины.

Положение брусьев при работе бетоновыглаживающей машины ТFВ-280

а) при предварительной отделке поверхности покрытия; б) при окончательной отделке; 1 - выглаживающие брусья; 2 - цементобетонное покрытие; 3 - кромка покрытия; a - угол наклона брусьев при предварительной отделке; b - угол наклона брусьев при окончательной отделке

Два бруса, проходя по поверхности покрытия, срезают излишки растворной части с поверхности покрытия и перемещают их в пониженные участки и к краю цементобетонного покрытия.

Предварительную отделку осуществляют небольшими участками. Длина таких участков зависит от скорости твердения бетона, температуры воздуха и скорости ветра и в каждом конкретном случае будет различна (приблизительно от 10 до 30 м).

В некоторых случаях во время первого прохода машины поверхность покрытия орошают водой с помощью установленной на машине системы орошения.

Количество проходов машины по одному участку покрытия при предварительной отделке определяют в зависимости от количества и величины неровностей покрытия.

Окончательная отделка поверхности бетонного покрытия

После окончания предварительной отделки машину возвращают к началу участка и начинают подготовку ее к окончательной отделке.

Для этого поднимают брусья и изменяют угловое их положение так, чтобы внешние концы брусьев заходили за кромки покрытия на 15 см (см. рисунок). После чего придают брусьям очертание поперечника дороги.

Опускают холстовую щетку на поверхность покрытия и включают среднюю скорость машины. Во время движения машины опускают брусья в рабочее положение, после чего переводят машину на повышенную скорость.

Так как брусья своими внешними концами выходят за кромки покрытия, то при движении машины излишки растворной части удаляются за пределы покрытия.

Плавающая холстовая щетка, перемещаясь по поверхности покрытия, создает однородную матовую текстуру поверхности покрытия, подготавливая ее для нанесения пленкообразующего материала. В случае необходимости холстовую щетку смачивают водой при помощи системы орошения.

Создание шероховатости на поверхности бетонного покрытия

Сразу же по завершении окончательной отделки поверхности машиной ТFВ-280 осуществляют текстурирование поверхности покрытия - создание шероховатости поперечной щеткой двухполосного финишера ТС-280.

Поперечная щетка установлена в двойных направляющих снизу главной рамы и перемещается поперек бетонируемой полосы.

Перед началом работ по созданию шероховатости на поверхности покрытия необходимо проверить прямолинейность направляющих, по которым перемещается щетка, и придать направляющим очертание поперечного профиля покрытия.

После чего щетку устанавливают так, чтобы она отстояла от левой кромки покрытия на 1 - 2 см. С помощью «правого» и «левого» выключателей опускают ее на поверхность покрытия и приступают к созданию шероховатости.

Во время движения машины, пользуясь выключателем «ход щетки вправо - влево» перемещают щетку поперек бетонируемой полосы, создавая шероховатость на поверхности покрытия. При достижении щеткой противоположной стороны (правой или левой) срабатывает реверсивный выключатель и щетка возвращается в исходное положение.

Создание шероховатости на поверхности свежеуложенного бетонного покрытия осуществляют за один проход двухполосного финишера ТС-280.

Уход за свежеуложенным бетоном

Уход за свежеуложенным бетоном осуществляют небольшими участками нанесением на их поверхность жидкого пленкообразующего материала помароля ПМ-86 за два прохода двухполосного финишера ТС-280 с общей нормой розлива помароля - 0,6 - 1 л/м2.

Время нанесения пленкообразующего материала зависит от температуры и влажности воздуха во время укладки бетона и скорости ветра и ориентировочно составляет от 5 до 30 мин после отделки покрытия.

Помароль ПМ-86 завозят к месту укладки бетона в металлических бочках и перекачивают его в бак емкостью 1136 литров, установленный на финишере.

Перед началом работы необходимо подготовить машину к работе: подобрать распылительные сопла по диаметру выходного отверстия (при норме разлива помароля - 0,3 - 0,5 л/м2 за один проход); опустить раму устройства орошения вниз так, чтобы низ головок распылительных сопел отстоял от верха покрытия не более 20 - 25 см (в противном случае при сильном ветре происходит снос струи).

Первый разлив пленкообразующего материала осуществляют за первый проход финишера одновременно с созданием шероховатости на поверхности покрытия при опущенной поперечной щетке.

Затем машину возвращают к началу участка, поднимают поперечную щетку и производят второй разлив пленкообразующего материала с нормой расхода 0,3 - 0,5 л/м2.

В конце каждой смены необходимо тщательно прочистить сопла и протереть их керосином.

При работе с помаролью ПМ-86 машинисту необходимо соблюдать правила техники безопасности:

- во время работы машинист обязан быть в комбинезоне, брезентовых рукавицах, головном уборе и защитных очках;

- при попадании пленкообразующей жидкости на кожу рук и лица следует немедленно вымыть их керосином, а затем теплой водой с мылом и насухо протереть;

- запрещается вблизи емкостей с помаролем курить и зажигать огонь.

III. Указания по организации труда

Работы по окончательной отделке поверхности бетонного покрытия и уходу за свежеуложенным бетоном осуществляют на одной захватке с укладкой цементобетонной смеси после окончания нарезки швов в свежеуложенном бетоне, то есть спустя один час после начала смены (см. график технологической карты № 4 «Устройство бетонного покрытия машиной SF-400»).

В связи с тем, что с момента отделки поверхности бетона и до момента нанесения пленкообразующего материала необходим промежуток времени не более 30 мин, всю сменную захватку длиной 600 м разбивают на небольшие участки и работу по окончательной отделке, созданию шероховатости и уходу за бетоном ведут последовательно на каждом из этих участков. Длину каждого участка определяют в каждом конкретном случае в зависимости от возможности окончательной его отделки и уходу за ним в промежуток времени не более 30 мин с учетом температуры и влажности воздуха и скорости ветра.

Работы по окончательной отделке, созданию шероховатости и уходу за свежеуложенным бетоном выполняют машинист (оператор) бетоновыглаживающей машины 5 разр. и машинист (оператор) двухполосного финишера 5 разр.

В начале смены машинисты готовят машины к работе: проверяют уровень масла в двигателе (при холостых оборотах); уровень жидкости в радиаторе (перед первоначальным пуском двигателя), доступ воздуха к теплообменнику, индикатор воздушного фильтра, герметичность всех гидравлических линий, фитингов; налаживают рабочие органы машины, устанавливают датчики и т.п.

Во время работы машинисты с пульта управления управляют рабочими органами машин, следят за наличием воды и жидкого пленкообразующего материала в баках, проверяют нет ли посторонних предметов впереди колес машин.

В подготовке машин к работе и осуществлении их ремонта в течение смены машинистам помогает строительный слесарь 4 разр.

IV. Материально-технические ресурсы

Бетоновыглаживающая машина ТFВ-280................................................... 1

Двухполосный финишер ТС-280................................................................. 1

Приспособление для проверки ровности

нижней поверхности рабочих органов

(шнур или струна с двумя зажимами;

см. рис. 3 технологической карты № 2

«Планировка земляного полотна,

планировщиком ТS-425»), шт...................................................................... 2

Помароль ПМ-86, л....................................................................................... 2700 - 4500

(при расходе 0,6 - 1 л/м2)

Технологическая карта разработана отделом внедрения передового опыта и технического нормирования в строительстве автодорог и аэродромов института «Оргтрансстрой» (исполнители: В.К. Пишванов, Ф.А. Потанин, В.Т. Дурикин)

СОДЕРЖАНИЕ

 

 




ГОСТЫ, СТРОИТЕЛЬНЫЕ и ТЕХНИЧЕСКИЕ НОРМАТИВЫ.
Некоммерческая онлайн система, содержащая все Российские Госты, национальные Стандарты и нормативы.
В Системе содержится более 150000 файлов нормативно-технической документации, действующей на территории РФ.
Система предназначена для широкого круга инженерно-технических специалистов.

Рейтинг@Mail.ru Яндекс цитирования

Copyright © www.gostrf.com, 2008 - 2026