|
|
|
ОРДЕНА ЛЕНИНА ГЛАВМОССТРОЙ ПРИ МОСГОРИСПОЛКОМЕ МОСОРГСТРОЙ ТЕХНОЛОГИЧЕСКАЯ
КАРТА Арх. № 8355 МОСКВА 1983 Технологическая карта разработана проектно-технологическим отделом треста Мосоргстрой (А.Н. Абрамович, А.П. Смирнов), согласованы с Управлением подготовки производства Главмосстроя, НИИМосстроем, ЦНИБ - Мосстрой (М.И. Черняк). Технологическая карта рекомендована к внедрению в строительном производстве. СОДЕРЖАНИЕ 1. ОБЛАСТЬ ПРИМЕНЕНИЯ1.1. Технологическая карта составлена на производство работ по устройству внутриквартальной (безнапорной фекальной) канализации из полиэтиленовых (ПЭ) труб диаметрами 160 и 225 мм. Соединение труб выполняется на раструбах с резиновыми уплотнителями и сваркой. 1.2. В состав работ, рассматриваемых картой, входят: подготовка основания траншеи; установка канализационных колодцев; соединение ПЭ труб; укладка ПЭ труб в проектное положение; испытание трубопроводов; обратная засыпка траншеи. 1.3. Технологическая карта предназначена для составления проектов производства работ (ППР) и с целью ознакомления рабочих и инженерно-технических работников с правилами производства работ и организацией труда. 1.4. При привязке технологической карты к конкретному объекту и условиям строительства уточняются схемы производства работ, объемы работ, калькуляция затрат труда, средства механизации и приспособления. 2. ОРГАНИЗАЦИЯ И ТЕХНОЛОГИЯ СТРОИТЕЛЬНОГО ПРОЦЕССА2.1. К началу работ по устройству канализации из ПЭ труб должны быть выполнены следующие работы: геодезическая разбивка трассы; вертикальная планировка; обозначены (отшурфлены) пересекаемые или находящиеся в зоне работы действующие подземные коммуникации; доставлены на стройплощадку канализационные колодцы, ПЭ трубы, механизмы и приспособления; отрыта траншея. 2.2. Земляные работы следует производить в соответствии с требованиями глав СНиП III-8-76 «Земляные сооружения», СНиП 30-74 «Водоснабжение, канализация и теплоснабжение», СНиП III-4-80 «Техника безопасности в строительстве». 2.3. После отрытия траншеи выполняются работы по устройству основания под укладку ПЭ труб в соответствии с проектом. 2.4. Если проектом не предусматривается устройство искусственного основания, ПЭ трубы надлежит укладывать на естественный грунт неразрушенной структуры, при этом трубы по всей длине должны плотно прилегать к основанию. 2.5. Устанавливаются канализационные колодцы монтажным краном соответствующей грузоподъемности. 2.6. При соединении ПЭ труб на раструбах с резиновыми кольцами работы выполняются в следующей последовательности: трубы опускаются краном к месту работы и раскладываются вдоль траншеи; осуществляется соединение труб; количество раскладываемых труб должно определяться сменной выработкой и расстоянием между колодцами. 2.7. Соединение ПЭ труб раструбом с резиновыми кольцами в траншее следует производить последовательно от трубы к трубе. Соединение труб выполняется натяжным устройством, разработанным НИИМосстроем и СКБ «Мосстрой» (раб. чертежи № 5164/4 и 5164/3), или с помощью рычага. Ситуационный план прокладки фекальной канализации, схемы соединений ПЭ труб и организации рабочего места приведены на листах 1 - 5. 2.8. При соединении ПЭ труб посредством сварки работы выполняются в следующей последовательности: трубы раскладываются на бровке вдоль траншей; свариваются стыки труб; сваренная плеть опускается на дно траншеи и укладывается в проектное положение. ПРИМЕЧАНИЕ. Сваренные плети сбрасывать в траншею не разрешается. 2.9. Сваривается плеть с использованием комплекта монтажных сварочных приспособлений конструкции НИИМосстрой и СКБ «Мосстрой» (раб. чертеж № 3911/2А). 2.10. Комплект монтажных приспособлений включает: центрирующее устройство; электронагревательный диск; торцевую фрезу; поддерживающие опоры. Схема контактной сварки, техническая характеристика монтажного приспособления и схемы организации работ приведены на листах 6, 7, 8, 9. 2.11. Перед укладкой ПЭ трубы должны подвергаться тщательному осмотру с целью выявления дефектов: трещин, подрезов, рисок и других механических повреждений глубиной более 5 % толщины стенки. При обнаружении дефектов трубы отбраковываются. Овальность ПЭ труб при укладке канализационных сетей не должна превышать 0,02 диаметра трубы. ПРИМЕЧАНИЕ. Трубы с большей овальностью (до 6 %) допускаются к укладке, однако при этом больший их диаметр следует располагать в вертикальной плоскости. 2.12. Перед укладкой пластмассового трубопровода дно траншеи должно быть спланировано по проектному уклону. Трубопровод, уложенный на дно траншеи, должен выравниваться по оси (в вертикальной плоскости) и закрепляться путем подсыпки грунта и его подбивки вокруг трубопровода с последующим его уплотнением. 2.13. Монтаж узлов в колодцах должен производиться одновременно с прокладкой трубопровода. 2.14. Сваренная плеть должна опускаться в траншею одним автокраном (или двумя) при помощи специальных «полотенец». Схема организации работ - см. листы 8 - 9. 2.15. При обратной засыпке пластмассовых трубопроводов над верхом трубопровода следует делать защитный слой толщиной 30 см из мягкого местного грунта, не содержащего твердых и острых включений (щебня, камней, кирпичей и др.). При этом применение ручных и механических трамбовок непосредственно над трубопроводом не допускается. Схема организации работ приведена на листе 10. ПРИМЕЧАНИЯ: 1. При устройстве защитного слоя места соединений трубопровода следует оставлять незасыпанным. 2. В зимнее время устройство защитного слоя должно производиться талым грунтом. 2.16. Схема организации работ испытания трубопроводов приведена на листе 13. 2.17. Другие варианты схем прокладки канализации и сборки ПЭ труб приведены на листах 11, 12. 2.18. При работе с ПЭ трубами необходимо руководствоваться требованиями, изложенными в СН 478-80. 2.19. Устройство внутриквартальной канализации диаметром 160 и 225 мм выполняется звеном рабочих, состав которого приведен в графике организации работ. Состав звена принят по ранее проводимым экспериментам, при разработке ППР должны уточняться. 2.20. Калькуляция трудовых затрат приведена в табл. 2. 2.21. Операционный контроль качества работ по устройству внутриквартальной канализации из ПЭ труб выполняется в соответствии с требованиями СНиП III-1-76 «Организация строительного производства», инструкции СН-478-80, инструкции СН 47-74 и ГОСТ 18599-73. Схема операционного контроля приведена в табл. 3. 2.22. При производстве работ следует строго соблюдать требования СНиП III-4-80 «Техника безопасности в строительстве» и системы стандартов безопасности труда (ССБТ). 3. ТЕХНИКО-ЭКОНОМИЧЕСКИЕ ПОКАЗАТЕЛИ
|
|||||||||||||||||||||||||||||||||||||||||||||||||||||||||||||||||||||||||||||||||||||||||||||||||||||||||||||||||||||||||||||||||||||||||||||||||||||||||||||||||||||||||||||||||||||||||||||||||||||||||||||||||||||||||||||||||||||||||||||||||||||||||||||||||||||||||||||||||||||||||||||||||||||||||||||||||||||||||||||||||||||||||||||||||||||||||||||||||||||||||||||||||||||||||||||||||||||||||||||
|
Наименование |
Марка |
Единица измерения |
Количество |
|
Полиэтиленовые трубы |
п.н.п. |
п. м |
40,5 |
|
Канализационные колодцы |
к.к. |
шт. |
2 |
|
Люки для колодцев |
к.к. |
шт. |
2 |
|
Резиновые кольца |
3311 |
шт. |
10 |
ПРИМЕЧАНИЕ. Объемы взяты на 40 пог. м канализации.
4.2. Потребность в машинах, инструментах и приспособлениях
Таблица 2
|
Марка |
Тип |
Количество, шт. |
|
|
Монтажный кран |
КС-2561Д |
На пневмоходу |
2 |
|
Сварочное приспособление |
НИИМосстрой, СКБ «Мосстрой» раб. чертеж № 3911/2А |
Переносное |
2 |
|
Натяжное устройство |
-«- № 5164/4 и 5164/3 |
-«- |
2 |
ГРАФИК ОРГАНИЗАЦИИ РАБОТ (на один пролег - 40 пог. м)
Таблица 3
|
Наименование работ |
Единица измерения |
Объем работ |
Трудоемкость |
Состав бригады (звена) |
Рабочие дни |
||||
|
на единицу, чел.-ч. |
на весь объем, чел.-дн. |
1 |
2 |
3 |
|||||
|
1. |
Подготовка основания траншеи |
м3 |
2,8 |
1,2 |
0,42 |
трубопроводчики 3 раз. - 2 чел. 2 раз. - 2 чел. |
_ |
|
|
|
2. |
Установка канализационных колодцев |
1 кол. |
2,0 |
4,0 |
1,0 |
трубопроводчики 4 раз. - 1 чел 3 раз. - 1 чел. 2 раз. - 1 чел. |
_ |
|
|
|
3. |
Соединение труб раструбом на резиновых кольцах и укладка их в проектное положение |
10 пог. м |
4,0 |
1,5 |
0,75 |
трубопроводчики 4 раз. - 1 чел. 2 раз. - 2 чел. |
_ |
|
|
|
4. |
Засыпка пазух на высоты 0,5 м над верхом трубопровода вручную |
пог. м тр. |
40,0 |
0,099 |
0,5 |
трубопроводчики 2 раз. - 1 чел. 1 раз. - 2 чел. |
_ |
|
|
|
5. |
Засыпка траншеи на высоту 0,3 м над верхом трубопровода |
-«- |
40,0 |
0,52 |
2,6 |
трубопроводчики 2 раз. - 1 чел. 1 раз. - 2 чел. |
_ |
__ |
|
|
6. |
Окончательная засыпка траншеи грунтом (бульдозером) |
100 м3 |
1,0 |
0,38 |
0,048 |
машинист 5 раз. - 1 чел. |
|
_ |
|
|
7. |
Гидравлическое испытание трубопроводов |
пог. м тр. |
40,0 |
0,13 |
0,65 |
трубопроводчики 6 раз. - 1 чел. 3 раз. - 3 чел. |
|
_ |
_ |
КАЛЬКУЛЯЦИЯ ТРУДОВЫХ ЗАТРАТ (на один пролет - 40 пог. м)
Таблица 4
|
Обоснование (ЕНиР и др.) |
Наименование работ |
Единица измерения |
Объем работ |
Трудоемкость |
Расценка на единицу измерения, руб., коп. |
Стоимость затрат труда на весь объем работ, руб., коп |
|
|
на единицу измерения, чел.-ч. |
на весь объем работ, чел.-дн. |
||||||
|
1 |
2 |
3 |
4 |
5 |
6 |
7 |
8 |
|
ЕНиР, § 10-30, п. 1 |
Подготовка основания траншеи |
м3 |
2,8 |
1,2 |
0,42 |
0,62,9 |
1,76 |
|
ЕНиР, § 10-27, № 1Б |
Установка канализационных колодцев |
1 кол. |
2,0 |
4,0 |
1,0 |
2,23 |
4,46 |
|
Местные нормы, § 2-1-75, № 1 |
Соединение труб раструбом на резиновых кольцах и укладка их в проектное положение |
10 пог. м |
4,0 |
1,5 |
0,75 |
0,87 |
3,48 |
|
Обязательная технология -ЦНИБ «Мосстрой», ВТ-1-73, № 14, А.т 4, № 1е, К1, 1 |
Засыпка пазух на высоту 0,5 м над верхом трубопровода вручную |
пог. м тр. |
40,0 |
0,099 |
0,5 |
0,04,5 |
1,8 |
|
То же, № 14, В.Т-3, № 1Е |
Засыпка траншеи на высоту 0,3 м над верхом трубопровода |
-«- |
40,0 |
0,52 |
2,6 |
0,24 |
9,6 |
|
То же, № 14, т. 10, № 53 |
Окончательная засыпка траншеи грунтом (бульдозером) |
100 м |
1,0 |
0,38 |
0,048 |
0,30 |
0,30 |
|
ИНиР, § 10-6, т. 7, № 1А |
Гидравлическое испытание трубопроводов |
пог.м тр. |
40,0 |
0,13 |
0,65 |
0,07,7 |
3,08 |
|
ИТОГО |
чел.-дн. |
|
|
|
5,92 |
|
24,18 |
|
машино-смен |
|
|
|
0,378 |
|
1,46 |
|
СХЕМА ОПЕРАЦИОННОГО КОНТРОЛЯ
Таблица 5
|
Наименование операций, подлежащих контролю |
Контроль качества выполнения операций |
||||
|
производителем работ |
мастером |
состав |
способы |
время |
привлекаемые службы |
|
Подготовительные работы |
- |
Геодезическая разбивка, вертикальная планировка, правильность складирования, соответствие геометрических размеров, наличие внешних дефектов, наличие паспортов |
Теодолитом, нивелиром, визуально, стальным метром, штангенциркулем |
До начала земляных работ |
Геодезическая |
|
- |
Подготовка основания траншей |
Планировка, добор грунта, уплотнение грунта |
Нивелиром, визирками, визуально |
В процессе работ |
-«- |
|
- |
Установка железобетонных колодцев |
Правильность и надежность строповки, соосность колодца, отметка основания колодца, надежность установки |
Визуально, нивелиром, рулеткой, отвесом |
-«- |
-«- |
|
Соединение труб |
- |
Качество соединения труб при помощи раструба на резиновых кольцах и сварки |
Визуально |
По окончании работ |
Строительная лаборатория, автор проекта |
|
Укладка труб в проектное положение |
- |
Соосность труб, сохранность стыков, присыпка грунтом на 30 см выше труб |
Визуально, нивелиром, визирками |
В процессе работ |
Эксплуатирующая организация, заказчик |
|
- |
Обратная засыпка |
Качество грунта, очередность засыпки, сохранность труб, качество уплотнения |
Визуально |
В процессе работ |
Строительная лаборатория |

Условные обозначения:
-
городская канализация;
- (К-1,
К-2, К-3, К-4, К-5) - внутриквартальная канализация

Условные обозначения:
1 - ПЭ трубы с раструбом; 2 - ПЭ труба с гладким концом, 3 - резиновое кольцо
|
Наружный диаметр, мм |
Внутренние диаметры частей раструба, мм |
Углы сопряжения частей раструба, град. |
Длина частей раструба, мм |
Общая длина раструба, мм |
Глубина вдвигания гладкого конца трубы в раструб, мм |
Характеристика резинового кольца |
||||||||||
|
ДТ |
ДР |
Д |
Дз |
b1 |
b2 |
b3 |
l3 |
lp |
l2 |
lk |
l1 |
l |
- |
dn |
Дg |
марка резины |
|
160 |
174 |
164 |
134 |
30 |
45 |
20 |
14 |
60 |
5 |
140 |
9 - 24 |
188 - 203 |
150 |
10 |
156 |
3311 |
|
225 |
244 |
230 |
258 |
20 |
45 |
20 |
19 |
70 |
7 |
120 |
12 - 24 |
228 - 242 |
180 |
14 |
215 |
3311 |

Условные обозначения:
1 - рычаг; 2 - зажимной хомут; 3 - направляющая

Условные обозначения:
1 - направление усилия; 2 - рычаг; 3 - деревянная прокладка; 4 - раструб ПЭ трубы; 5 - полиэтиленовые трубы; b - резиновое кольцо
ПРИМЕЧАНИЕ.
(1) Размеры полиэтиленовых труб приведены на листе 2;
(2) ∆l определяется глубиной заложения труб и сезоном работ.

Условные обозначения:
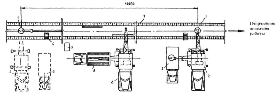
1 - установленные в проектное положение железобетонные колодцы; 2 - место установки автокрана для монтажа железобетонных колодцев и ПЭ труб; 3 - автомашина; 4 - откосы траншеи; 5 - ларь для инструментов; 6 - лестница для спуска рабочих в траншею
-
соединенные ПЭ трубы;
- трубы,
подготовленные для последующего соединения
ПРИМЕЧАНИЕ. Данный лист читать совместно с листами 2, 3 и 4.

Условные обозначения:
1 - поддерживающие опоры; 2 - центрирующее устройство; 3 - электронагревательный диск; 4 - пружинный динамометр; 5 - рычаг центрирующего устройства
ТЕХНИЧЕСКАЯ ХАРАКТЕРИСТИКА МОНТАЖНЫХ ПРИСПОСОБЛЕНИЙ ДЛЯ СВАРКИ:
Наружный диаметр свариваемых труб, мм - 125 - 225
Напряжение электронагревательного диска, В - 36
Мощность диска, Вт - 600
Габариты центрирующего устройства - 475´375´1300
Масса, кг
устройства - 45
диска - 8,0
фрезы - 4,4

Условные обозначения:
1 - установленные в проектное положение железобетонные колодцы; 2 - складирование ПЭ труб; 3 - место установки автокрана; 4 - автомашина; 5 - откосы траншеи; 6 - ларь для инструмента; 7 - комплект монтажного сварочного приспособления; 8 - лестница для спуска рабочих в траншею; 1* - 8* - последовательность соединения труб
-
соединенные ПЭ трубы;
-
трубы, подготовленные для последующего соединения
ПРИМЕЧАНИЯ:
1. Расстояние по горизонтали от основания откоса выемки до ближайшей опоры машины в м принимать по табл. 3 СНиП III-4-80.
2. Крутизну откосов принимать по табл. 4 СНиП III-4-80.
3. В сухой траншее рекомендуется сварку труб производить непосредственно в траншее.

Условные обозначения:
1 - траншея; 2 - берма; 3 - полиэтиленовые трубы (плоть); 4 - автомобильные краны; 5 - временное ограждение

Условные обозначения:
1 - автокран; 2 - сваренные в звенья трубы; 3 - уложенные трубы; 4 - железобетонный колодец; 5 - «полотенце»; 6 - ПЭ труба
ПРИМЕЧАНИЕ.
Данный лист читать совместно с листом 2.
СНиП III-4-80, таблица 4
|
Виды грунтов |
Крутизна откоса (отношение его высоты к заложению) при глубине выемки, м, не более |
||
|
1,5 |
3 |
5 |
|
|
Насыпные неуплотненные |
1 : 0,67 |
1 : 1 |
1 : 1,25 |
|
Песчаные и гравийные |
1 : 0,5 |
1 : 1 |
1 : 1 |
|
Супесь |
1 : 0,25 |
1 : 0,67 |
1 : 0,85 |
|
Суглинок |
1 : 0 |
1 : 0,5 |
1 : 0,75 |
|
Глина |
1 : 0 |
1 : 0,25 |
1 : 0,5 |
|
Лессы и лессовидные |
1 : 0 |
1 : 0,5 |
1 : 0,5 |
ПРИМЕЧАНИЕ. При напластовании различных видов грунта крутизну откосов для всех пластов надлежит назначать по наиболее слабому виду грунта.
СНиП III-4-80, таблица 3
|
Глубина выемки, м |
Грунт |
|||
|
песчаный |
супесчаный |
суглинистый |
глинистый |
|
|
Расстояние по горизонтали от основания откоса выемки до ближайшей опоры машины, м |
||||
|
1 |
1,5 |
1,25 |
1 |
1 |
|
2 |
3 |
2,4 |
2 |
1,5 |
|
3 |
4 |
3,6 |
3,25 |
1,75 |
|
4 |
5 |
4,4 |
4 |
3 |
|
5 |
6 |
5,3 |
4,75 |
3,5 |


Условные обозначения:
1 - обратная засыпка грунта бульдозером; 2 - обратная засыпка экскаватором-планировщиком; 3 - разравнивание грунта экскаватором-планировщиком; 4 - разравнивание грунта вручную; 5 - ПЭ труба; 6 - экскаватор-планировщик; 7 - канализационный колодец; 8 - грунт для обратной засыпки; 9 - бульдозер

1. В траншее
2. Вне траншеи на бровке
3. Вне траншеи под навесом (в бытовке)
Условные обозначения:
1 - траншея; 2 - отвал грунта; 3 - канализационный колодец; 4 - ПЭ трубы; 5 - лестница; 6 - лебедка; 7 - установки для сборки соединений ПЭ труб; 8 - опорные стойки; 9 - передвижная платформа; 10 - навес (или бытовка); 11 - откос; 12 - элементы креплений траншеи; 13 - направление движения ПЭ трубы к лебедке; 14 - доски-забирки

4. В траншее с креплениями
5. В траншее на одном месте
6. Над траншеей
Условные обозначения:
1 - траншея; 2 - отвал грунта; 3 - канализационный колодец; 4 - ПЭ трубы; 5 - лестница; 6 - лебедка; 7 - установки для сборки соединений ПЭ труб; 8 - опорные стойки; 9 - передвижная платформа; 10 - навес (или бытовка); 11 - откос; 12 - элементы креплений траншеи; 13 - направление движения ПЭ трубы к лебедке; 14 - доски-забирки

Условные обозначения:
1 - компрессор (бак с водой); 2 - упор; 3 - заглушка; 4 - манометр
|
ГОСТЫ, СТРОИТЕЛЬНЫЕ и ТЕХНИЧЕСКИЕ НОРМАТИВЫ. Некоммерческая онлайн система, содержащая все Российские Госты, национальные Стандарты и нормативы. В Системе содержится более 150000 файлов нормативно-технической документации, действующей на территории РФ. Система предназначена для широкого круга инженерно-технических специалистов. Copyright © www.gostrf.com, 2008 - 2026 |