Крупнейшая бесплатная информационно-справочная система онлайн доступа к полному собранию технических нормативно-правовых актов РФ. Огромная база технических нормативов (более 150 тысяч документов) и полное собрание национальных стандартов, аутентичное официальной базе Госстандарта. GOSTRF.com - это более 1 Терабайта бесплатной технической информации для всех пользователей интернета. Все электронные копии представленных здесь документов могут распространяться без каких-либо ограничений. Поощряется распространение информации с этого сайта на любых других ресурсах. Каждый человек имеет право на неограниченный доступ к этим документам! Каждый человек имеет право на знание требований, изложенных в данных нормативно-правовых актах!

  


 

НАУЧНО-ИССЛЕДОВАТЕЛЬСКИЙ ИНСТИТУТ
СТРОИТЕЛЬНОГО ПРО
ИЗВОДСТВА ГОССТРОЯ УССР

ТЕХНОЛОГИЧЕСКАЯ КАРТА
НА УСТРОЙСТВО ФУНДАМЕНТО
В
В ВЫТРАМБОВАННЫХ КОТЛОВАНАХ
С ПРИМЕНЕНИЕМ УСТАНОВКИ УВК-
1

Одобрена Ученым советом НИИСП Госстроя УССР
(протокол № 8 от 04.06.85),
секцией внедре
ния новой техники НТС Укрмежколхозстроя
(про
токол № 4 от 11.04.85),
секцией строительства НТС Минсельстроя УССР
(протокол № 7 от 13.06.85)

КИЕВ 1985

Карта содержит основные положения по технологии и механизации устройства фундаментов в вытрамбованных котлованах для сельскохозяйственных зданий с применением установки для вытрамбовывания котлованов УВК-1.

Приведены область применения, мероприятия по подготовке объекта к производству работ по вытрамбовыванию, указаны методы и последовательность выполнения операций по вытрамбовыванию котлованов и бетонированию фундаментов. Даны указания по методам контроля и оценки качества работ, по технике безопасности и особенностям производства работ в зимнее время. Приведены калькуляция трудовых затрат, технико-экономические показатели и материально-технические ресурсы.

Разработана на основании «Руководства по разработке типовых технологических карт в строительстве» ЦНИИОМТП Госстроя СССР ., Стройиздат, 1976, 33 с.), «Руководства по проектированию и устройству фундаментов в вытрамбованных котлованах» НИИОСП им. Н. Герсеванова Госстроя СССР (М., Стройиздат, 1981, 55 с.), а также на основе результатов научно-исследовательских разработок НИИСП Госстроя УССР и их внедрения на строительстве сельскохозяйственных зданий производственного назначения.

Карту разработали инженеры Н.Я. Климова, В.Г. Антонюк. В составлении карты принимали участие кандидаты техн. наук. А.А. Франивский, В.С. Могильный, инженеры: Т.И. Потапенко, В.П. Погорелая, А.П. Крутиев, Э.С. Митьков.

Карта может быть использована при разработке разделов ППР и ПОР на устройство фундаментов в вытрамбованных котлованах, а также при внедрении новой технологии в системе Минсельстроя УССР и Укрмежколхозстроя.                                                                                                                                                                Отзывы, замечания и предложения направлять по адресу: 252180, Киев-180, ул.И.Клименко,5/2, НИИСП Госстроя УССР.

1. ОБЛАСТЬ ПРИМЕНЕНИЯ

1.1. Технологическая карта разработана на устройство столбчатых фундаментов в вытрамбованных котлованах без уширения основания в лессовидных суглинках и супесях плотностью сухого грунта до 1,55 с I типом грунтовых условий по просадочности. Технология строительного процесса и схемы производства работ даны на захватку (группу фундаментов), а график выполнения работ, калькуляция трудовых затрат и технико-экономические показатели - на один фундамент.

1.2. Областью рационального применения карты является строительство одноэтажных сельскохозяйственных зданий производственного назначения, выполненных в стоечно-балочных и рамных конструкциях с вертикальными нагрузками до 500 кН и горизонтальными до 150 кН, а также других зданий гражданского назначения с аналогичными конструктивными решениями.

1.3. В состав работ, рассматриваемых картой, входят планировка строительной площадки, вытрамбовывание котлованов; армирование фундаментов, бетонирование фундаментов.

1.4. При привязке технологической карты к конкретному объекту и условиям строительства уточняются объемы работ, инженерно-геологические условия площадки, схема движения трамбующей установки, захватки в зависимости от расположения в плане несущих конструкций каркаса здания, высота сбрасывания трамбовки и ориентировочное количество ударов для вытрамбовывания котлованов на заданную глубину, а также средства механизации для бетонирования фундаментов с учетом максимального использования наличного парка машин и механизмов. Уточняется калькуляция трудовых затрат.

2. ОРГАНИЗАЦИЯ И ТЕХНОЛОГИЯ СТРОИТЕЛЬНОГО ПРОЦЕССА

Подготовительные работы

2.1. Перед началом работ по вытрамбовыванию котлованов необходимо выполнить:

общестроительные работы подготовительного периода согласно стройгенплану;

вертикальную планировку площадки до отметки основания пола и геодезическую разбивку осей, контуров здания и центров будущих котлованов согласно рабочим чертежам; если отметка верха котлованов значительно ниже отметки подготовки под полы, перед разбивкой центров необходимо выполнить разработку траншей шириной не менее 4 м до отметки начала вытрамбовывания (рис. 1);

для зданий с подвалом планировку площадки до отметки подготовки под полы подвала;

доувлажнение грунтов до оптимальной влажности, заливку расчетного количества воды на пятно будущей траншеи, огражденной грунтовым валиком. Расчетное количество воды А определяется по формуле

                                             (1)

где ρd - среднее значение плотности сухого грунта естественного сложенияли насыпного) в пределах слоя от отметки вытрамбовывания до нижней границы уплотненной зоны, т3;

ρв - плотность воды, т/м3;

Wоп - оптимальная влажность грунта, доли единицы;

W - естественная влажность грунта, доли единицы;

hупл - толщина уплотненного слоя грунта под котлованом, м;

F - площадь проекции уплотненной зоны, м2.

Вытрамбовывание котлованов

2.2. Вытрамбовывание котлованов производится в соответствии с проектом и требованиями настоящей технологической карты установкой для вытрамбовывания котлованов УВК-1, выполненной в виде навесного оборудования к бульдозеру ДЗ-54С или ДЗ-27С.

Рис. 1. Схема расположения траншей и разбивочных кольев:

1 - инвентарная обноска; 2 - натянутая проволока; 3 - оси здания; 4 - отвес; 5 - разбивочный колышек; 6 - контрольная точка

Техническая характеристика УВК-1

Глубина вытрамбовывания, м, не более................................ 1,8

Максимальные размеры рабочего органа (трамбовки), м:

поверху.................................................................................. 1,0´1,0

понизу................................................................................... 0,8´0,8

Масса, т..................................................................................... 5,0

Высота сбрасывания (максимальная), м................................ 4,0

Количество ударов (среднее) в 1 мин.................................... 1,0

Привод....................................................................................... Гидравлический

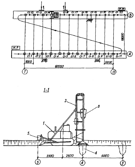
Рис. 2. Схема устройства вытрамбованных котлованов:

1 - бульдозер; 2 - навесное оборудование; 3 - трамбовка; 4 - котлован; 5 - противовес

2.3. Очередность вытрамбовывания котлованов и направление движения установки УВК-1 принимается в зависимости от расположения фундаментов в плане, отметок верха фундамента (рис. 2).

2.4. Вытрамбовывание котлованов начинается с установки трамбовки, снабженной сменными днищами с различными углами заострения (a), строго вертикально над центром будущего фундамента и производится путем последовательного сбрасывания трамбовки. При вытрамбовывании котлованов в грунтах с начальной плотностью сухого грунта ρd = 1,3 ... 1,35 г/см3 необходимо высоту сбрасывания принимать 2,5 ... 3,0 м и сменное днище с углом заострения a = 90°; 120°; при работе в грунтах с начальной плотностью сухого грунта ρd свыше 1,35 г/см3 высоту сбрасывания увеличить до 4,0 м при сменном днище с углом заострения a = 60°; при насыпных неуплотненных грунтах следует применять плоское сменное днище a = 180°.

Для вытрамбовывания котлованов под фундаменты распорных конструкций следует использовать трамбовку с днищем с a = 60°.

На каждой стоянке установки вытрамбовывание производится сразу на всю глубину. Исполнителем работ ведется журнал производства работ в соответствии с формой, приведенной в приложении 1.

2.5. Глубина вытрамбованных котлованов назначается в соответствии с рабочими чертежами проекта и конструктивными особенностями здания.

2.6. Ориентировочное количество ударов трамбовки для получения котлована заданной глубины определяется по формуле

                                                                (2)

где hк - заданная глубина котлована, м;

η - коэффициент, учитывающий влажность грунта и принимаемый равным 1 при вытрамбовывании котлованов в грунтах с влажностью, близкой к оптимальной, и равным 0,7 - при понижении влажности более чем на 0,03 ... 0,05 от оптимальной;

D - средняя величина понижения дна котлована за один удар трамбовки; принимается в зависимости от площади днища;

для трамбовок с плоским днищем

F < 1,0 м2                            D = 0,10 м;

F = 1,0 ... 2,0 м2                  D = 0,08 м;

F > 2,0 м2                            D = 0,06 м;

для трамбовок с заостренным днищем D = 0,15 м;

Кa - коэффициент, зависящий от угла заострения днища трамбовки:

Кa = 60° = 1,0; Кa = 90° = 0,8; Кa = 120° = 0,7.

Кроме этого, с учетом п. 2.3 ориентировочное количество ударов определяется по опытным данным, приведенным в табл. 1, и уточняется в процессе вытрамбовывания.

2.7. В случае осыпания грунта в процессе вытрамбовывания необходимо последние удары трамбовки выполнять с высоты 0,5 ... 1,0 м.

2.8. При смещении центров вытрамбованных котлованов производится соответствующая их доработка вручную с удалением осыпавшегося грунта.

2.9. Глубина вытрамбовывания котлованов, расположенных на расстоянии в свету менее ширины среднего сечения фундамента от коммуникаций, приямков и каналов, принимается не выше их отметки заложения.

2.10. Вытрамбовывание котлованов под фундаменты у осадочного шва выполняют отдельными этапами (рис. 3). На I и II этапах глубина должна быть на уровне заложения стакана опорной конструкции, на III и IV этапах - соответствовать проектной. После окончания вытрамбовывания котлованов производят подчистку их дна - этап IV.

2.11. При вытрамбовывании близко расположенных котлованов с разными отметками их верха сначала вытрамбовывается котлован с высшей отметкой, а затем с низшей.

Таблица 1. Ориентировочное количество ударов трамбовки, оборудованной днищами с различными углами заострения (a)

Вид грунта

Плотность сухого грунта ρd, г/см3

Глубина котлована без высоты днища, м

Количество ударов трамбовки, n

при естественной влажности w = 0,13 ... 0,18

при оптимальной влажности wоп = 0,19 ... 0,23

Высота сбрасывания Hсбр = 4,0 м

Высота сбрасывания Hсбр = 2,5 м

Высота сбрасывания Hсбр = 4,0 м

a, град.

a, град.

60

90

120

180

60

Суглинки массовидные от твердой до тугопластичной консистенции

1,30 ... 1,35

1,0

8 - 9

9 - 10

9 - 10

11 - 12

-

4 - 5

1,2

10 - 11

13 - 14

13 - 14

16 - 17

-

5 - 6

1,4

13 - 14

17 - 18

18 - 19

21 - 22

-

6 - 7

1,6

16 - 17

20 - 21

22 - 23

25 - 26

-

7 - 8

1,8

19 - 20

23 - 24

26 - 27

29 - 30

-

8 - 9

1,35 ... 1,40

1,0

10 - 11

10 - 11

10 - 11

12 - 13

-

-

1,2

12 - 13

14 - 15

15 - 16

17 - 18

-

-

1,4

15 - 16

18 - 19

19 - 20

21 - 22

-

-

1,6

18 - 19

22 - 23

24 - 25

24 - 25

-

-

1,8

20 - 21

25 - 26

28 - 29

29 - 30

-

-

Супеси лессовидные от твердой до текучей консистенции

1,30 ... 1,35

1,0

8 - 9

9 - 10

9 - 10

-

6 - 7

5 - 6

1,2

11 - 12

12 - 13

14 - 15

-

7 - 8

6 - 7

1,4

14 - 15

16 - 17

19 - 20

-

8 - 9

7 - 8

1,6

16 - 17

19 - 20

23 - 24

-

9 - 10

8 - 9

1,8

19 - 20

22 - 23

27 - 28

-

11 - 12

9 - 10

2.12. Приемка котлованов выполняется комиссией на основании исполнительной схемы с указанием проектных и фактических отметок, журнала производства работ, осмотра состояния котлованов на месте и оформляется актом на скрытые работы с приложением перечисленных документов.

Бетонирование фундаментов

Рис. 3. Схема последовательности вытрамбовывания котлована под фундамент у осадочного шва:

I, II, III - этапы вытрамбовывания установкой УВК-1; IV - этап доработки вручную

2.13. Фундаменты бетонируются сразу же после приемки вытрамбованных котлованов, но не позже чем через сутки после окончания вытрамбовывания. Приемка-сдача готовых котлованов под бетонирование фундаментов осуществляется отдельными захватками (секциями) в день их производства. Каждый котлован очищается от рыхлого разуплотненного грунта, выставляются проектные отметки заложения арматурных изделий, опалубки стакана и верха фундамента на стенки котлованов и начинается укладка бетона проектной марки враспор. Схема устройства фундаментов показана на рис. 4.

2.14. Укладка бетона с уплотнением в котлованы, опалубочные работы, контроль и уход за уложенным бетоном выполняются согласно требованиям СНиП III.15-76. Бетонирование каждого фундамента выполняется без перерывов. Образование плоскостей среза в фундаменте недопустимо.

2.15. В процессе производства работ необходимо избегать засорения бетона грунтом, предохранять свежеуложенный бетон от сотрясений в течение первых трех суток его твердения. Для этого следует соблюдать технологический разрыв (не менее 15 м) между зонами вытрамбовывания и бетонирования.

Рис. 4. Схема устройства фундаментов:

1 - котлован; 2 - вибратор; 3 - кран; 4 - зона разгрузки бетона

2.16. В период бетонирования ведется журнал бетонных работ. Готовые фундаменты принимаются комиссией на месте, составляется акт на скрытые работы, к акту прилагаются журналы производства работ и ведомости испытаний контрольных образцов-кубов бетона.

2.17. Монтаж несущих конструкций каркаса начинается после достижения бетоном 70 % проектной прочности.

Организация и методы труда рабочих

2.18. Производство работ по вытрамбовыванию котлованов и бетонированию фундаментов в вытрамбованных котлованах осуществляет комплексно-специализированная бригада, которая выполняет весь комплекс взаимосвязанных работ: вертикальную планировку площадки, разбивку центров котлованов, вытрамбовывание котлованов, установку арматурных изделий и опалубки стаканной части фундамента и бетонирование фундамента враспор.

2.19. До начала устройства фундаментов объект разбивают на захватки и на каждой захватке однородные процессы выполняют последовательно, а разнородные - параллельно.

Последовательно выполняют такие работы: вертикальную планировку; разбивку центров котлованов; вытрамбовывание котлованов; бетонирование до нижних отметок установки арматурных изделий; установку арматурных изделий и опалубки стаканной части; бетонирование до проектной отметки верха фундамента.

Бетонирование должно осуществляться беспрерывно.

Параллельно с разбивкой центров котлованов идет монтаж установки УВК-1. Одновременно с вытрамбовыванием ведутся подготовительные работы к бетонированию фундаментов. Процесс бетонирования производится с соблюдением технологического разрыва между двумя строительными процессами.

2.20. Численный, квалификационный и профессиональный состав бригады соответствует структуре выполняемого комплекса работ, а количество рабочих каждой профессии - объемам и срокам выполнения работ, входящих в данный комплекс. Нормативный состав звеньев и калькуляция трудовых затрат на устройство фундамента в вытрамбованном котловане приведены в табл. 2.

Таблица 2. Калькуляция трудовых затрат на устройство одного фундамента в вытрамбованном котловане объемом 1,5 м с применением установки УВК-1

Обоснование

Наименование работы

Объем работ

Состав звена по ЕНиР

Трудозатраты

чел.-ч

р.-к.

Профессия и разряд

Количество, чел.

на единицу объема

на весь объем

на единицу объема

на весь объем

ЕНиР, 1969, § 2-1

Планировка площадки бульдозером под траншеи, 1000 м2

0,0024

Машинист бульдозера (установки УВК-1) - IV

1

0,21

0,0005

0-166

0-0083

ЕНВиР-И, 1933, № 147, 1

Разбивка осей фундаментов здания, км хода

0,01

Техник-строитель, рабочий - II

1

0,812

0,00812

1-37

0-0137

ЕТКС, данные опытных работ, 1969

Монтаж и демонтаж навесного оборудования, установка УВК-1

1

Машинист бульдозера (установки УВК-1) - VI,

1

-

0,16

2-205

0-353

 

 

 

помощник машиниста (стропальщик) - IV,

1

 

 

 

 

 

 

 

машинист автокрана - VI

1

 

 

 

 

ЕТКС, данные опытных работ, 1969, приложение 2

Вытрамбовывание котлованов установкой УВК-1становка и выверка положения, вытрамбовывание и переезд к следующей стоянке), м3 котлована

1,5

Машинист УВК-1 - VI

1

1,0

1,5

0-75

1-125

Помощник машиниста - VI

1

ЕНиР, 1969, § 4-1-27, т. 2, п. 2А

Установка щитов над вытрамбованными котлованами площадью до 2,0 м2

1,0

Плотник - II

1

0,52

0,52

0-29

0-29

ЕНиР, 1969, § 4-1-33 б, т. 2, п. 1

Установка вручную сеток массой до 20 кг, шт.

3

Арматурщик - III,

1

0,17

0,51

0-087

0-261

арматурщик - II

2

ЕНиР, 1969, § 4-1-34, а, п. 1

Установка арматуры из отдельных стержней, т

0,005

Арматурщик - III,

1

12,5

0,063

6-99

0-035

арматурщик - II

2

ЕНиР, § 4-1-30, а

Установка инвентарной опалубки стаканной части фундамента, 100 шт.

0,02

Плотик - IV,

1

6,0

0,12

3-54

0-071

плотник - III

1

ЕНиР, § 4-1-36, т. 5

Прием бетонной смеси из кузова автосамосвала, м3

1,5

Бетонщик - II

1

0,115

0,173

0-057

0-086

ЕНиР, § 4-1-37 А, т. 2

Укладка бетонной смеси в отдельные фундаменты краном в бадьях, м3

1,5

Бетонщик - IV,

1

0,44

0,66

0-246

0-37

бетонщик - II

1

ЕНиР, § 4-1-30, б № 4б

Распалубка стаканной части фундамента, 100 шт.

0,02

Плотник - III,

1

3,5

0,07

1-83

0-04

плотник - II

1

СНиП IV-3-82

Работа крана при бетонировании, маш.-ч

1,0

Машинист автокрана - VI

1

-

-

1-25

1-25

 

Итого:

 

 

 

 

3,784

 

3-90

примечание. Трудозатраты и их стоимость на монтаж и демонтаж установки УВК-1 составляют соответственно 8,0 чел.-ч и 17-64 р.

В бригаде должно быть обеспечено равномерное распределение объемов работ между рабочими. Члены бригады должны владеть смежными профессиями, обеспечивающими бесперебойное выполнение работ и непрерывную загрузку всех рабочих в соответствия с квалификацией. Рекомендуемый состав бригады приведен в табл. 3.

Таблица 3. Рекомендуемый состав бригады

Профессия

Разряд

Количество, человек

Машинист установки УВК-1

VI

1

Помощник машиниста УВК-1 (стропальщик)

IV

1

Арматурщик-бетонщик (бригадир)

IV

1

Бетонщик-плотник

III

1

Бетонщик-арматурщик

II

1

Машинист автокрана

VI

1

Итого:

 

6

2.21. В бригаде комплектуются звенья по принципу их работы поточно-расчлененным методом на захватках.

Продолжительность выполнения работ каждым звеном на захватке принимается равной продолжительности работы ведущего звена, которая в свою очередь определяется производительностью установки УВК-1 и технологией бетонирования.

2.22. График выполнения работ при устройстве одного фундамента приведен в табл. 4.

Допуски при производстве работ и контроль качества

2.23. Площадка строительства, подготовленная для вытрамбовывания котлованов, должна быть ровной, исключающей скопление атмосферных вод и спланирована с точностью ±0,05 м.

2.24. При установке трамбовки по центру будущего фундамента допускается отклонение центра трамбовки на величину не более 0,01 м.

Таблица 4. ГРАФИК выполнения работ бригадой из 6 человек при устройстве одного фундамента в вытрамбованном котловане объемом 1,5 м с применением установки УВК-1

Примечание: Пунктирная линия обозначает чистое время работы при устройстве фундамента.

2.25. Смещение центров вытрамбованных котлованов от проектного положения не должно превышать при устройстве стакана для установки несущей конструкции 0,01 м. При невыполнении этих условий перед сдачей котлованов производится соответствующая подрезка боковых стенок вручную с удалением или доуплотнением осыпавшегося грунта.

2.26. Глубина вытрамбованных котлованов должна соответствовать проектной с точностью ±0,05 м.

2.27. Отклонения верхних поверхностей фундаментов от проектных отметок не должно превышать ±0,01 м.

2.28. Контроль качества производства работ по вытрамбовыванию котлованов и устройству фундаментов следует производить согласно требованиям «Руководства по производству и приемке работ при устройстве оснований и фундаментов» Госстроя СССР (М., Стройиздат, 1977, 240 с). Операционный контроль качества производства работ по устройству фундаментов следует производить в соответствии с табл. 5.

Особенности производства работ в зимнее время

2.29. Размеры захваток траншей определяются с учетом температуры воздуха для того, чтобы на период вытрамбовывания котлованов сохранять такое состояние грунта.

2.30. После отрывки траншей места под котлованы необходимо утеплить.

2.31. Вытрамбовывание котлованов допускается производить только при глубине промерзания грунта до 30 см. Если глубина промерзания превышает 30 см, грунт необходимо оттаить.

2.32. В зимнее время при влажности грунта ниже оптимальной вытрамбовывание котлованов допускается при естественной влажности с соответствующим увеличением количества ударов трамбовки.

2.33. После вытрамбовывания котлованов талое состояние грунта стенок и дна сохраняется до бетонирования путем утепления.


Таблица. 5. Операционный контроль качества производства работ по устройству фундаментов

Операции, подлежащие контролю

Контроль качества выполняемых технологических операций

 

Состав

Способы выполнения, инструменты

Время

Привлекаемые службы

производителя работ

мастера

 

Подготовка строительной площадки

 

Оборудование площадки бытовыми помещениями, очистка территории от кустарника и других предметов, отвод поверхностных вод, вертикальная планировка, разбивка осей и вынос проектных отметок траншей

Визуально, нивелир, теодолит

До начала работ по вытрамбовыванию

Геодезическая

 

Разбивка будущих котлованов

 

Правильность разбивки, соответствие размеров проекту

Визуально, стальной метр, рулетка, шнур, теодолит

Перед началом процесса вытрамбовывания

-

 

Подготовка опытных работ

 

Наличие материалов, машин и оборудования для проведения опытных работ

визуально

То же

Строительная лаборатория

 

вытрамбовывание котлованов

 

Правильность расположения разбивочных кольев, отметки глубин котлованов, отклонение от центров и состояние стенок

Визуально, рулетка, нивелир

В процессе вытрамбовывания

Геодезическая

 

Подготовка котлованов к бетонированию

 

Вынос отметок на стенки котлованов или на выносную рейку

Нивелир

До начала бетонирования фундаментов

То же

 

Бетонирование фундаментов

 

Качество бетонирования, правильность установки арматурных изделий и опалубки стакана

Визуально, забивка контрольных кубов бетона

В процессе бетонирования, из каждой партии приготовляемого бетона

Строительная лаборатория

 

 

Разбивка центров будущих котлованов

Правильность разбивки центров котлованов

Визуально, стальной метр, рулетка, шнур

перед началом процесса вытрамбовывания

-

 

 

Проведение опытных работ по вытрамбовыванию котлованов и испытанию фундаментов

Обеспечение технологии производства работ

Визуально, нивелир, рулетка, испытательная установка, измерительные приборы

В процессе проведения опытных работ

То же

 

 

Вытрамбовывание котлованов

Точность центровки установки УВК-1. Соответствие технологии вытрамбовывания проекту

Визуально, рулетка, нивелир, отвес

В процессе вытрамбовывания

Геодезическая

 

 

Подготовка котлованов к бетонированию фундаментов

Состояние котлованов и очистка их от осыпанного грунта, размеры арматурных изделий, наличие отметок на стенах котлованов

Визуально, стальной метр

До начала бетонирования фундаментов

-

 

 

Бетонирование фундаментов

Соблюдение технологии бетонирования, качество бетонной смеси, степень уплотнения бетона, правильность установки арматурных изделий

Визуально, стандартный конус, стальной метр

В процессе бетонирования фундаментов

Строительная лаборатория

 


2.34. При бетонировании фундаментов необходимо соблюдать требования раздела 5 главы СНиП III-15-76.

2.35. На период твердения бетона электропрогрев и контроль за ним осуществляются по специальному проекту производства работ.

2.36. Во время бетонирования котлованов не допускать попадания в них льда, снега и мерзлого грунта.

2.37. В период производства работ готовые фундаменты и грунт вокруг них необходимо утеплять. Для этого можно применять опилки, соломенные маты и т.д.

Требования безопасности

2.38. Работы по устройству фундаментов в вытрамбованных котлованах и их испытание следует производить в строгом соответствии с главой СНиП III.4-80, «Правилами устройства и безопасной эксплуатации грузоподъемных кранов» (М., Металлургия, 1977, 192 с), инструкцией по эксплуатации установки УВК-1 и настоящей технологической картой.

2.39. До начала производства работ по вытрамбовыванию котлованов машинист установки и его помощник должны быть ознакомлены с требованиями, предъявляемыми к стальным канатам и грузозахватным приспособлениям.

2.40. В зоне работы механизмов и зоне проведения испытаний фундаментов должны быть установлены знаки безопасности и предупредительные надписи.

2.41. Во избежание влияния динамических воздействий на близкорасположенные здания вытрамбовывание котлованов допускается выполнять при расположении их на расстоянии не менее: 10 м от строений, не имеющих трещин в стенах; 15 м от строений, имеющих трещины в стенах, и инженерных коммуникаций.

2.42. Прежде чем приступить к работам по вытрамбовыванию котлованов, весь персонал, занятый на этих работах, должен пройти инструктаж по технике безопасности.

2.43. С целью предотвращения опрокидывания установки УВК-1 передвижение ее должно осуществляться при уклонах местности менее 4 градусов. При этом трамбовка должна находиться в крайнем нижнем положении при наличии противовеса.

2.44. При маневрах установки УВК-1 следует подавать предупреждающий сигнал, а передвижение ее допускается только после того, как машинист убедится в отсутствии людей и механизмов в радиусе не менее 10 м.

2.45. Во время вытрамбовывания котлованов не допускается нахождение людей в радиусе не менее 15 м от места падения трамбовки.

2.46. В период эксплуатации установки УВК-1 запрещается: работать на неисправном механизме; изменять наклон рамы; совмещать операции; работать без установленной и застопоренной перемычки; оставлять трамбовку на весу при прекращении работ по вытрамбовыванию; работать при поднятых выносных опорах.

2.47. В нерабочее время необходимо принять меры, предупреждающие опрокидывание или самопроизвольное перемещение установки УВК-1 под действием ветра или при наличии уклона местности.

2.48. Вытрамбовывание котлованов в зоне действующих коммуникаций осуществляется при непосредственном руководстве прораба или мастера.

Не рекомендуется устанавливать трамбовку над вытрамбованным котлованом для его доработки.

2.49. Проезд установки УВК-1 под проводами действующих линий электропередач допускается производить в местах наименьшего провисания проводов (около опоры). Расстояние между верхней точкой выступающей части установки и электролинией должно быть: при напряжении до 20 кВ - не менее 2,0 м; 35 ... 110 кВ - не менее 3,0 м.

2.50. Техническое обслуживание установки УВК-1 осуществляется только после остановки двигателя и снятия давления в гидравлической системе.

2.51. При перемещении установки своим ходом или на транспортных средствах должны соблюдаться требования правил дорожного движения, утвержденных МВД СССР.

2.52. Монтаж (демонтаж) установки должен производиться в соответствии с инструкцией завода-изготовителя и под руководством лица, ответственного за техническое состояние установки.

Не допускается выполнять монтажные работы в гололедицу, туман, снегопад, грозу, при температуре воздуха ниже или при скорости ветра выше пределов, предусмотренных в паспорте установки.

2.53. Вытрамбованные котлованы должны закрываться инвентарными щитами.

3. ТЕХНИКО-ЭКОНОМИЧЕСКИЕ ПОКАЗАТЕЛИ

3.1. При разработке технологических карт на вытрамбовывание котлованов и их бетонирование приводятся следующие технико-экономические показатели:

затраты труда на вытрамбовывание одного котлована и на весь объем работ по технологической карте, чел.-смены;

затраты труда на бетонирование одного фундамента и на все фундаменты, чел.-смены;

затраты машино-смен на вытрамбовывание котлованов и на их бетонирование отдельно;

выработка на одного рабочего в смену в физическом выражении на вытрамбовывание котлованов и их бетонирование;

себестоимость работ, руб.;

продолжительность работ по вытрамбовыванию котлованов на весь объем, смены.

продолжительность бетонирования всего объема фундаментов, смены.

3.2. На основании данных таблиц 2 и 4 технико-экономические показатели на один фундамент приведены в табл. 6.

Таблица 6. Технико-экономические показатели на один фундамент

Наименование показателей

На один фундамент

V = 1,5 м3

На 1 м3 фундамента

Затраты труда, чел.-ч:

 

 

на вытрамбовывание

2,4

1,6

на бетонирование

1,6

1,07

Себестоимость работ, руб.:

 

 

вытрамбовывания

1,8

1,20

бетонирования

2,113

1,41

Затраты, машино-смены:

 

 

на вытрамбовывание

0,4

0,27

на бетонирование

0,54

0,36

4. МАТЕРИАЛЬНО-ТЕХНИЧЕСКИЕ РЕСУРСЫ

Потребность в основных материалах на один фундамент (V = 1,5 м3), машинах, оборудовании, инструментах, эксплуатационных материалах приведены в таблицах 7 - 9.

Таблица 7. Основные материалы

Наименование материалов

Марка

Количество

Бетонная смесь, м

М-200 или М-150

1,58

Арматурная сталь, кг

А-1

13,5

Инвентарная опалубка, шт.

-

1

Таблица 8. Машины, оборудование, инструменты, инвентарь и приспособления

Наименование машин, оборудования, инструментов, инвентаря и приспособлений

Тип, марка, ГОСТ, ТУ

Количество, шт.

Характеристика

Установка для вытрамбовывания котлованов (навесное оборудование)

УВК-1

1

Трамбовка массой 5 т

Бульдозер

ДЗ-54С или ДЗ-27С

1

С гидравлическим приводом

Автомобильный кран

АК-7,5

1

Стрела 7,5 м

Бункер для бетона

БП-0,5

ГОСТ 21807-76

2

V1 = 0,5 м3

Строп двухветвевой К1-2,5/1500

СК-3,2/Р-231

ГОСТ 14110-80

2

L = 1,5 м

Вибратор электромеханический с гибким валом

ИВ-47

1

 

Теодолит в комплекте

 

1

Переносной

Нивелир в комплекте

 

1

То же

Рулетка измерительная металлическая

ГОСТ 7502-80

1

L = 10 м

То же

ГОСТ 7502-80

1

L = 50 м

Метр стальной

ТУ 12-156-76

1

Складной

Лопата совковая

ГОСТ 3620-76

2

 

Лопата штыковая

ГОСТ 3620-76

2

 

Лом

ГОСТ 1405-83

1

 

Отвес

 

1

m = 400 - 600 г

Шнур

 

1

L = 100 м

Разбивочные колья

 

1

Деревянные

Рукавицы

 

7 пар

Хлопчатобумажные

Уровень строительный

УС1-300

ГОСТ 9416-83

1

 

Обноска инвентарная

 

10

 

Инвентарные щиты

 

1

 

Кельма

КШ ГОСТ 9533-81

2

 

Ножовка

 

1

 

Топор

 

1

 

Таблица 9. Эксплуатационные материалы

Наименование материалов

Норма на 1 ч работы машины

Расход на время работы механизма

Дизельное топливо, кг

11,0

7,3

Масло дизельное, кг

0,7

0,46

Бензин на запуск двигателя, кг

0,4

0,26

ПРИЛОЖЕНИЕ 1

ЖУРНАЛ
производства работ по вытрамбовыванию котлованов

Объект ___________________________________________________________________

Наименование организации _________________________________________________

Начало производства работ _________________________________________________

Окончание работ __________________________________________________________

Глубина вытрамбовывания котлованов _______________________________________

Размеры трамбовки ________________________________________________________

Масса трамбовки __________________________________________________________

Высота сбрасывания _______________________________________________________

Марка базовой машины ____________________________________________________

Марка навесного оборудования ______________________________________________

№ захватки оси здания

№ котлована

Количество ударов трамбовки

Глубина вытрамбовывания, ч

Состояние стенок котлована

Отклонение котлована от осей

Примечание

 

 

 

 

 

 

 

Представитель исполнителя работ ___________________________________ /подпись/

Представитель заказчика работ _____________________________________ /подпись/

ПРИЛОЖЕНИЕ 2

РАСЧЕТ
нормы времени и себестоимости вытрамбовывания 1 м3 котлована при использовании установки УВК-1

Вытрамбовывание котлованов выполняют машинист установки УВК-1 VI разряда и помощник машиниста V разряда.

В соответствии с Единым тарифно-квалификационным справочником (ЕТКС) часовая тарифная ставка равна, руб.:

для VI разряда................... 0,790;

для V разряда..................... 0,702;

средняя............................... 0,746

При вытрамбовывании котлованов сменная производительность, по результатам опытного внедрения составляет 16,0 м3, а часовая - 2,0 м3. Тогда норма времени на 1 м3 котлована при занятости двух рабочих составит:

2,0 : 2 = 1 чел.-ч.

Себестоимость вытрамбовывания 1 м3 котлована при этом будет равна

0,746 ´ 1,0 = 0,746 руб. ≈ 0,75 руб.

СОДЕРЖАНИЕ

1. Область применения. 1

2. Организация и технология строительного процесса. 2

Подготовительные работы.. 2

Вытрамбовывание котлованов. 2

Организация и методы труда рабочих. 7

Допуски при производстве работ и контроль качества. 9

Особенности производства работ в зимнее время. 10

Требования безопасности. 12

3. Технико-экономические показатели. 13

4. Материально-технические ресурсы.. 13

Приложение 1 Журнал  производства работ по вытрамбовыванию котлованов. 14

Приложение 2 Расчет нормы времени и себестоимости вытрамбовывания 1 м3 котлована при использовании установки увк-1. 15

 

 




ГОСТЫ, СТРОИТЕЛЬНЫЕ и ТЕХНИЧЕСКИЕ НОРМАТИВЫ.
Некоммерческая онлайн система, содержащая все Российские Госты, национальные Стандарты и нормативы.
В Системе содержится более 150000 файлов нормативно-технической документации, действующей на территории РФ.
Система предназначена для широкого круга инженерно-технических специалистов.

Рейтинг@Mail.ru Яндекс цитирования

Copyright © www.gostrf.com, 2008 - 2026