Крупнейшая бесплатная информационно-справочная система онлайн доступа к полному собранию технических нормативно-правовых актов РФ. Огромная база технических нормативов (более 150 тысяч документов) и полное собрание национальных стандартов, аутентичное официальной базе Госстандарта. GOSTRF.com - это более 1 Терабайта бесплатной технической информации для всех пользователей интернета. Все электронные копии представленных здесь документов могут распространяться без каких-либо ограничений. Поощряется распространение информации с этого сайта на любых других ресурсах. Каждый человек имеет право на неограниченный доступ к этим документам! Каждый человек имеет право на знание требований, изложенных в данных нормативно-правовых актах!

  


 

ПРАВИТЕЛЬСТВО МОСКВЫ

КОМПЛЕКС АРХИТЕКТУРЫ, СТРОИТЕЛЬСТВА,
РАЗВИТИЯ И РЕКОНСТРУКЦИИ ГОРОДА

 

ТЕХНИЧЕСКИЕ РЕКОМЕНДАЦИИ
по организации воздухообмена в квартирах
многоэтажного жилого дома

ТР АВОК-4-2004

 

Москва - 2004

Разработаны творческим коллективом:

Ю. А. Табунщиков, доктор техн. наук, проф. (НП «АВОК») - руководитель,

М. М. Бродач, канд. техн. наук (МАрхИ),

Л. В. Иванихина, канд. техн. наук (ОАО «ЦНИИПромзданий),

В. А. Ионин, инженер (Москомархитектура),

В. И. Ливчак, канд. техн. наук (Мосгосэкспертиза),

Е. Г. Малявина, канд. техн. наук, проф. (МГСУ),

А. Л. Наумов, канд. техн. наук (НПО «Термэк»),

Е. О. Шилькрот, канд. техн. наук (ОАО «ЦНИИПромзданий»).

Согласованы с Госстроем России, Москомархитектурой и Москомэкспертизой.

Содержание

1. Введение

2. Общие положения

3. Нормативные ссылки

4. Термины и определения

5. Виды и типы систем

6. Общие технические требования

7. Требования санитарно-гигиенической и пожарной безопасности

8. Материалы и оборудование

9. Расчет систем вентиляции

9.1. Расчет естественной вентиляции

9.2. Расчет механической вытяжной вентиляции с естественным притоком

9.3. Расчет механической приточно-вытяжной вентиляции

Приложение 1. Термины и определения

Приложение 2. Примеры расчета систем вентиляции

Правительство Москвы

Комплекс архитектуры,
строительства, развития
и реконструкции города

Технические
рекомендации по
организации
воздухообмена в
квартирах многоэтажного
жилого дома

ТРАВОК-4-2004

Вводятся впервые

1. Введение

Организованный воздухообмен, вентиляция, является основным способом обеспечения чистоты воздуха в квартирах жилых домов. От качества и надежности работы вентиляции зависит комфортность проживания, сохранность и долговечность конструкций.

В жилищном строительстве в СССР и в России, как правило, применяются системы естественной приточно-вытяжной вентиляции. Приточный, наружный воздух поступает в квартиры через неплотности в оконных переплетах, форточки, фрамуги или открываемые окна. Основными достоинствами естественной вентиляции являются простота и невысокая ее стоимость, а также практическое отсутствие необходимости ее обслуживания. Недостатками являются неустойчивый воздушный режим квартир, вызываемый значительным влиянием температуры наружного воздуха и влиянием ветра, дискомфорт от использования форточек при низких наружных температурах. Открывание форточек приводит обычно к избыточному проветриванию и охлаждению помещений, что особенно проявляется в периоды похолоданий.

Высокая герметичность современных окон сделала практически неработоспособными системы естественной вентиляции. В квартирах ухудшилась комфортность проживания: имеет место высокая влажность и низкое качество воздуха, возрастает вероятность грибковых поражений конструкций. Разгерметизация квартир путем открытия форточек в герметичных окнах не позволяет обеспечивать требуемый микроклимат в квартирах и значительно снижает эффективность использования тепла, затраты которого на подогрев вентиляционного воздуха в современной квартире превышают потери тепла через наружные ограждения. Открывание форточек вызывает повышенный уровень шума, проникающего в квартиры домов, выходящих на улицы.

Разработаны НП «АВОК»

Введены в действие распоряжением
руководителя Департамента
градостроительной политики,
развития и реконструкции
города Москвы
от 24.02.2004 № 14

Срок введения в действие

1 марта 2004 г.

Устройство регулируемой вентиляции с естественным притоком через специальные приточные устройства-клапаны, обеспечивающей нормативный воздухообмен и снижающей проникающий шум в квартирах до уровня нормативных требований, и с механической вытяжной или механической приточно-вытяжной вентиляцией, в том числе с утилизацией теплоты вытяжного воздуха, позволяет нормализовать воздушно-тепловой режим квартир, обеспечить требуемый воздухообмен, снизить затраты тепла на 10 - 15 %, а в случае использования утилизации - на 20 - 25 %.

В настоящее время имеются материалы исследований воздушно-теплового режима квартир, опыт проектирования и строительства жилых домов как в России, так и за рубежом с различными системами вентиляции. На рынке материалов и оборудования присутствуют все необходимые элементы систем вентиляции практически любой конфигурации.

Настоящие Технические рекомендации являются специальным нормативно-методическим документом по вопросам вентиляции квартир в жилых зданиях.

2. Общие положения

2.1. Настоящие Технические рекомендации распространяются на проектирование систем естественной и механической вентиляции квартир вновь строящихся и реконструируемых жилых домов и жилой части многофункциональных зданий.

2.2. Рекомендации разработаны в развитие СНиП 2.04.05-91* «Отопление, вентиляция и кондиционирование» (изд. 2003 г.), СНиП 2.08.01-89* «Жилые здания», МГСН 3.01-01 «Жилые здания».

При проектировании, строительстве и эксплуатации систем вентиляции жилых квартир следует руководствоваться нормативными документами, действующими в Российской Федерации, а также положениями настоящих Технических рекомендаций.

2.3. Рекомендации распространяются на проектирование систем вентиляции квартир, в которых сопротивление воздухопроницанию окон, балконных дверей, входных дверей в квартиру, дверей и люков коммуникационных шахт соответствует требованиям СНиП 23-02-2003 «Тепловая защита зданий».

3. Нормативные ссылки

1. ГОСТ 30494-96. Здания жилые и общественные. Параметры микроклимата в помещениях.

2. ГОСТ 12.1.003-83. ССБТ Шум. Общие требования безопасности.

3. Стандарт АВОК. Здания жилые и общественные. Нормы воздухообмена.

4. СНиП 23-01-99. Строительная климатология.

5. СНиП 23-02-03. Тепловая защита зданий.

6. СНиП 2.04.05-91* (изд. 2003 г.). Отопление, вентиляция и кондиционирование.

7. СНиП 2.08.01-89*. Жилые здания.

8. СНиП 11-12-77. Защита от шума.

9. СанПиН 2.1.2.1002-00. Санитарно-эпидемиологические требования к жилым зданиям и помещениям.

10. СН 2.2.4/2.18.562-96. Шум на рабочих местах в помещениях жилых, общественных зданий и на территории жилой застройки.

11. МГСН 3.01-01. Жилые здания.

12. МГСН 2.04-97. Допустимые уровни шума, вибрации и требования к звукоизоляции в жилых и общественных зданиях.

13. Пособие к МГСН 2.04-97. Проектирование звукоизоляции ограждающих конструкций жилых и общественных зданий.

4. Термины и определения

Термины и определения представлены в приложении 1.

5. Виды и типы систем

5.1. В квартирах жилых домов могут применяться следующие виды систем вентиляции:

- системы естественной вентиляции, с естественным притоком и удалением воздуха;

- системы смешанной вентиляции, с механическим удалением и с естественным притоком воздуха; с механическим притоком и с естественным удалением воздуха;

- системы механической приточно-вытяжной вентиляции.

В квартирах жилых домов могут применяться следующие типы систем вентиляции: централизованные, индивидуальные и смешанные.

Системы приточно-вытяжной механической вентиляции рекомендуется оборудовать установками для утилизации тепла вытяжного воздуха (при технико-экономическом обосновании) и могут быть оборудованы установками для охлаждения и увлажнения (кондиционирования) воздуха.

5.2. Рекомендуется выбирать тип и вид системы вентиляции в соответствии с данными табл. 1 с учетом требований технического задания на проектирование.

5.3. Системы естественной вентиляции могут быть с удалением вытяжного воздуха через теплый чердак (рис. 1) или шахты на кровле (рис. 2).

Системы естественной вентиляции с удалением вытяжного воздуха через теплый чердак не следует применять в домах ниже 6 этажей.

При проектировании систем вентиляции в домах с теплым чердаком следует устраивать одну вытяжную шахту на дом-башню или на секцию при условии герметичного разделения секций друг от друга. Вытяжная шахта с соотношением сторон не более 1:2 с открытым оголовком должна иметь высоту не менее 4,5 м от верха перекрытия над последним этажом. Для сбора атмосферных осадков на полу чердака под шахтой размещается поддон глубиной 250 мм. В расчетных условиях температура воздуха на чердаке должна быть не ниже 14 °С.

Типы и виды систем вентиляции и рекомендуемая область их применения

Таблица 1

Приточная система

Вытяжная система

Рекомендуемая область применения

Естественная

Естественная

Квартиры 2-й категории* - «Экономические»

Естественная

Механическая централизованная

Квартиры 2-й категории* - «Экономические»

Естественная

Механическая индивидуальная

Квартиры 2-й категории* - «Экономические» и «Средние»

Механическая централизованная

Естественная

Квартиры 1-й и 2-й категории* - «Средние»

Механическая индивидуальная

Естественная

Квартиры 1-й и 2-й категории* - «Средние»

Механическая централизованная**

Механическая централизованная

Квартиры 1-й и 2-й категории* - «Средние»

Механическая централизованная**

Механическая индивидуальная

Квартиры 1-й и 2-й категории* - «Средние»

Механическая индивидуальная**

Механическая индивидуальная

Квартиры 1-й категории* - «Средние» и «Элитные»**

Механическая индивидуальная**

Механическая централизованная

Квартиры 1-й категории* - «Средние» и «Элитные»**

* По МГСН 3.01-01 «Жилые здания».

** Возможна утилизация и/или кондиционирование.

В домах без теплого чердака вытяжные шахты на кровле следует оборудовать дефлекторами.

Приток воздуха в помещения квартиры осуществляется через приточные клапаны, устанавливаемые в переплете окна или в наружной стене. Допускается осуществлять приток воздуха через форточки, фрамуги или открывающиеся створки окон, оборудованные фиксаторами, в домах с окнами, выходящими на улицу, если уровень уличного шума не превышает 60 дБА.

Удаление воздуха из помещений квартиры осуществляется через вытяжные устройства - вытяжные решетки или клапаны. Вытяжные устройства присоединяются к вертикальному сборному каналу через воздушный затвор, спутник. Вертикальные сборные каналы следует предусматривать общими или раздельными для кухонь и туалетов. В случае использования общего вертикального сборного канала вытяжные устройства из кухни, ванной комнаты и туалета должны присоединяться через отдельные спутники.

Удаление воздуха из помещений квартир верхних этажей дома, как правило, осуществляется индивидуальными вытяжными вентиляторами через отдельные каналы. Число этажей, квартиры которых должны быть оборудованы индивидуальными вентиляторами, определяется расчетом.

В системах естественной вентиляции допускается устанавливать индивидуальные бытовые вытяжные вентиляторы на вытяжных устройствах каждой квартиры, как правило, в системах с индивидуальными вертикальными каналами.

5.4. Системы механической вытяжной вентиляции с естественным притоком воздуха проектируются с центральным вытяжным вентилятором (рис. 3) или индивидуальными вытяжными вентиляторами (рис. 4).

Приток воздуха в помещения квартиры осуществляется так же, как в системах естественной вентиляции.

Системы проектируются с общим или раздельными вертикальными сборными каналами для кухонь, ванных комнат и туалетов.

Индивидуальные вытяжные вентиляторы должны иметь обратный клапан, предотвращающий перетекание воздуха между квартирами через сборный канал.

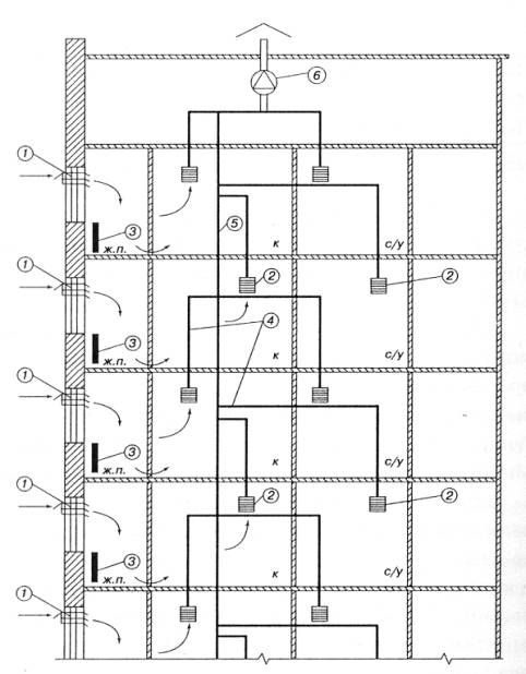
5.5. Системы механической приточной вентиляции с естественным удалением воздуха проектируются с центральным приточным вентилятором или индивидуальными приточными вентиляторами (рис. 5).

Приток воздуха в помещения квартиры осуществляется в жилые помещения.

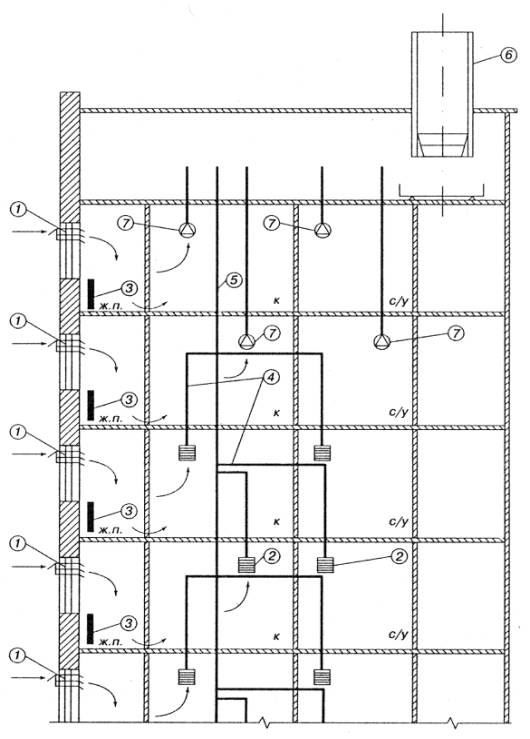
Рис. 1. Схема системы естественной вентиляции с раздельными и общим сборным вытяжным каналом в здании с теплым чердаком.

Обозначения:

ж. п. - жилое помещение; к - кухня; с/у - санузел;

1 - приточное устройство; 2 - вытяжное устройство;

3 - отопительный прибор; 4 - вытяжные каналы;

5 - сборный вытяжной канал; 6 - вытяжная шахта;

7 - вытяжной вентилятор (индивидуальный).

Рис. 2. Схема системы естественной вентиляции с раздельными сборными вытяжным каналами.

Обозначения:

ж. п. - жилое помещение; к - кухня; с/у - санузел;

1 - приточное устройство; 2 - вытяжное устройство;

3 - отопительный прибор; 4 - вытяжные каналы;

5 - сборный вытяжной канал; 6 - вытяжная шахта с дефлектором;

7 - вытяжной вентилятор (индивидуальный); 8 - обратный клапан.

Системы проектируются с общим или раздельными вертикальными сборными каналами для кухонь, ванных комнат и туалетов.

5.6. Системы механической приточно-вытяжной вентиляции (рис. 6, 7), как правило, должны иметь устройства утилизации тепла вытяжного воздуха для подогрева приточного воздуха (рис. 8). Воздухораспределители для подачи приточного воздуха устанавливаются в жилых помещениях, вытяжные устройства - в подсобных помещениях (кухнях, ванных, туалетах, постирочных, кладовых и т. п.).

6. Общие технические требования

6.1. Рекомендации распространяются на проектирование систем вентиляции квартир, в которых сопротивление воздухопроницанию окон и балконных дверей не ниже 0,9 м2∙ч/кг; сопротивление воздухопроницанию входных дверей в квартиру не ниже 0,65 м2∙ч/кг; сопротивление воздухопроницанию дверей и люков коммуникационных шахт 0,3 м2∙ч/кг при разности давлений 10 Па.

6.2. Системы вентиляции жилых квартир следует проектировать обеспечивая нормы воздухообмена по наружному воздуху (нормы расхода наружного воздуха) не ниже минимальных, поддерживающих в обслуживаемых помещениях необходимую чистоту (качество) воздуха и его минимально возможное неблагоприятное воздействие на здоровье человека.

Качество воздуха в помещениях должно быть обеспечено вне зависимости от принятой системы вентиляции и схемы организации воздухообмена при соблюдении предельно допустимых концентраций загрязняющих веществ в атмосферном воздухе (табл. 2).

Таблица 2

Предельно допустимые концентрации загрязняющих веществ в воздухе
населенных пунктов

Вещество

Предельно-допустимая концентрация в наружном воздухе qн ПДК, мг/м3

Максимальная разовая

Среднесуточная

Азота двуокись

0,085

0,04

Пыль нетоксичная

0,5

0,15

Свинец

0,001

0,0003

Сернистый ангидрид

0,5

0,05

Углеводороды (бензол)

0,3

0,1

Углерода окись

5

3

Фенол

0,01

0,003

Углекислый газ*:

 

 

- населенная местность (село),

650

650

- малые города,

800

800

- большие города

1000

1000

* ПДК для углекислого газа не нормируется, данная величина является справочной.

6.3. Материалы и конструкция вентиляционной системы, приемные устройства наружного воздуха в системах механической приточно-вытяжной вентиляции и выбросы вытяжного воздуха должны соответствовать требованиям СниП 2.04.05-91*.

6.4. Системы вентиляции жилых квартир рекомендуется проектировать с возможностью индивидуального регулирования величины воздухообмена. Следует применять регулируемые устройства для притока и удаления воздуха. Вентиляторы центральных систем механической вентиляции, как правило, должны иметь регулируемый привод и обеспечивать возможность изменения воздухообмена. Минимальный воздухообмен в квартире не должен быть менее 25 % от расчетного.

6.5. Энергоэффективность систем вентиляции обеспечивается сокращением величины воздухообмена в зависимости от интенсивности эксплуатации отдельных помещений и квартиры в целом, использованием тепла вытяжного воздуха для подогрева приточного (в системах приточно-вытяжной механической вентиляции). Применение теплых чердаков позволяет уменьшить нагрузку системы отопления на величину потерь тепла через покрытие за счет использования тепла вытяжного воздуха.

6.6. Для проветривания квартир в теплый период года должны предусматриваться открывающиеся окна (створки окон), форточки или фрамуги.

6.7. Приточный воздух должен поступать в жилые помещения квартиры; удаление воздуха следует осуществлять из подсобных помещений.

6.8. Приточные устройства следует размещать в жилых комнатах и кухнях-столовых в верхней части окна или наружной стены или над отопительным прибором, установленным под окном. При размещении приточного устройства над отопительным прибором следует обеспечить его незамерзание.

В системах с естественным притоком воздуха в качестве приточных устройств, как правило, следует применять приточные регулируемые клапаны.

В системах с механическим притоком воздуха в качестве приточных устройств следует применять регулируемые воздухораспределители.

Размеры, количество и размещение приточных устройств должно обеспечивать требуемые параметры воздуха в обслуживаемой зоне помещений при расчетных расходах наружного воздуха.

В системах с естественным притоком воздуха температура и скорость приточного воздуха при входе приточных струй в обслуживаемую зону не должна превышать допустимых величин по СНиП 2.04.05-91* при расчетных для проектирования отопления значениях температуры наружного воздуха.

В квартирах домов, расположенных в местах с повышенным уровнем шума и запыленности наружного воздуха, следует применять клапаны с шумоглушителями и воздушными фильтрами, доступными для очистки.

Рис. 3. Схема системы механической вытяжной вентиляции (централизованной) с естественным притоком воздуха.

Обозначения:

ж. п. - жилое помещение; к - кухня; с/у - санузел;

1 - приточное устройство; 2 - вытяжное устройство;

3 - отопительный прибор; 4 - вытяжные каналы;

5 - сборный вытяжной канал; 6 - вытяжной вентилятор.

6.9. Вытяжные устройства следует размещать в верхней зоне подсобных помещений. В качестве вытяжных устройств следует, как правило, применять регулируемые решетки и клапаны.

6.10. Воздухообмен в квартирах должен быть организован так, чтобы исключить перетекание воздуха из подсобных помещений в жилые. В кухнях-столовых расход приточного воздуха должен составлять не более 50 % расхода вытяжного воздуха.

6.11. Двери кухонь, ванн, туалетов и подсобных помещений должны иметь подрезы или переточные решетки для поступления воздуха из жилых комнат. Скорость воздуха в подрезах дверей или переточных решетках, как правило, не должна превышать 0,3 м/с.

6.12. В системах вентиляции с утилизацией тепла вытяжного воздуха в пределах одной квартиры могут применяться регенеративные или рекуперативные утилизаторы; для систем с центральной утилизацией тепла - только рекуперативные, в том числе с промежуточным теплоносителем.

6.13. Системы локальной вытяжной вентиляции (надплитный зонт или аналогичные устройства с удалением вытяжного воздуха в атмосферу) должны, как правило, иметь отдельный сборный канал для их подключения. В кухнях, оборудованных надплитным зонтом или аналогичным устройством, следует устанавливать уравновешивающий клапан, обеспечивающий дополнительный приток воздуха в помещение кухни при работе зонта.

Рис. 4. Схема системы механической вытяжной вентиляции (с индивидуальными вентиляторами) с естественным притоком воздуха.

Обозначения:

ж. п. - жилое помещение; к - кухня; с/у - санузел;

1 - приточное устройство; 2 - вытяжной вентилятор (индивидуальный);

3 - отопительный прибор; 4 - вытяжные каналы;

5 - сборный вытяжной канал; 6 - вытяжная шахта;

7 - обратный клапан.

6.14. Системы механической вентиляции должны обслуживаться службой эксплуатации здания или специализированной организацией.

Таблица 3

Нормы воздухообмена в помещениях

Наименование помещения

Режим работы

Норма воздухообмена

Примечания

Жилая зона

Постоянный

Кратность воздухообмена 0,35 1/ч, но не менее 30 м 3/ч∙чел.

3 м 32 жилых помещений, если общая площадь квартиры меньше 20м 2/чел.

Для расчета расхода воздуха, м3/ч, по кратности объем помещений следует определять по общей площади квартиры.

Квартиры с плотными для воздуха ограждающими конструкциями требуют дополнительного притока воздуха для каминов (по расчету) и механических вытяжек

Кухни

Постоянный

60 м 3/ч при электрической плите

90 м 3/ч при 4-конфорочной газовой плите

Приточный воздух поступает из жилых помещений

 

Максимальный1,2

180 м 3

 

 

Минимальный3

30 м 3/ч при электрической плите

45 м 3/ч при 4-конфорочной газовой плите

 

Ванные комнаты, туалеты 3

Постоянный

25 м 3/ч из каждого помещения 50 м 3/ч при совмещенном санузле

Приточный воздух поступает из жилых помещений'

 

Максимальный1,2

90 м 3/ч из каждого помещения 120 м 3/ч при совмещенном санузле

 

 

Минимальный

10 м 3/ч из каждого помещения 20 м 3/ч при совмещенном санузле

 

Постирочная

 

Кратность воздухообмена

Приточный воздух поступает из жилых помещений'

 

Максимальный1,2

51/ч

 

 

Минимальный

11/ч

 

Гардеробная, кладовая

Постоянный

Кратность воздухообмена 11/ч

Приточный воздух поступает из жилых помещений'

1 Кухонное оборудование, ванная комната и туалет используются.

2 Для максимальных режимов следует принимать коэффициент одновременности Кодн = 0,4 ÷ 0,5.

3 Кухонное оборудование, ванная комната и туалет не используются.

Таблица 4

Допустимые уровни звукового давления, уровни звука, эквивалентные и максимальные уровни звука проникающего шума в помещениях жилых и общественных зданий и шума на территории жилой застройки

Вид трудовой деятельности, рабочее место

Время суток

Уровни звукового давления, дБ, в октавных полосах со среднегеометрическими частотами, Гц

Уровни звука и эквивалентные уровни звука и, дБА

Максимальные уровни звука LAмакс, дБА

31,5

63

125

250

500

1000

2000

4000

8000

Жилые комнаты квартир

с 7 до 23 ч

79

63

52

45

39

35

32

30

28

40

55

 с 23 до 7 ч

72

55

44

35

29

25

22

20

18

30

45

Примечание. Допустимые уровни шума от внешних источников в помещениях устанавливаются при условии обеспечения нормативной вентиляции помещений - при открытых форточках, фрамугах, узких створках окон.

7. Требования санитарно-гигиенической и пожарной безопасности

7.1. Материалы и конструкция вентиляционных каналов и камер должны сводить к минимуму условия, способствующие росту и распространению микроорганизмов через вентиляционную систему.

7.2. Концентрация вредных веществ в наружном (атмосферном) воздухе, используемом для вентиляции (кондиционирования), не должна превышать предельно допустимые концентрации (ПДК) в воздухе населенных мест.

Рис. 5. Схема системы механической приточной вентиляции с естественным удалением воздуха.

Обозначения: ж. п. - жилое помещение; к - кухня; с/у - санузел;

1 - приточное устройство; 2 - вытяжное устройство; 3 - отопительный прибор; 4 - вытяжные каналы;

5 - приточный воздуховод; 6 - приточная камера (индивидуальная);

7 - надплитный зонт с индивидуальным вентилятором (для каждой секции дома следует принимать одинаковую схему подключения зонтов);

8 - вытяжная шахта; 9 - уравновешивающий клапан; 10 - обратный клапан.

Значения ПДК следует принимать в соответствии с ГН 2.1.6.695-98, ГН 2.1.6.696-98, ГН 2.1.6.716-98, ГН 2.1.6.7135-98, ГН 2.1.6.789-99, ГН 2.1.6.790-99.

Значения ПДК загрязняющих веществ, наиболее часто присутствующих в атмосферном воздухе, представлены в табл. 2.

Если уровень загрязнения наружного воздуха превышает показатели, приведенные в табл. 2, необходимо проводить его очистку.

В случаях, когда существующие технологии очистки не позволяют обеспечить требуемую чистоту наружного воздуха, допускается кратковременное (например, в часы пик на автодорогах) уменьшение количества наружного воздуха, но не более 75 % от расчетного.

7.3. Расчетный воздухообмен в квартирах следует определять в соответствии с нормами Стандарта АВОК «Здания жилые и общественные. Нормы воздухообмена» независимо от принятой схемы вентиляции (табл. 3).

7.4. Уровни шума в квартирах должны соответствовать требованиям СНиП 11-12-77, МГСН 2.04-97 и пособия к нему (табл. 4).

7.5. Системы вентиляции следует предусматривать отдельными для каждой группы квартир, размещенных в пределах одного пожарного отсека.

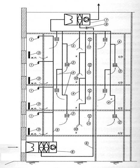
Рис. 6. Схема системы механической приточно-вытяжной вентиляции с утилизацией тепла вытяжного воздуха (индивидуальный утилизатор). Обозначения:

ж. п. - жилое помещение; к - кухня; с/у - санузел;

1 - приточное устройство; 2 - вытяжное устройство; 3 - отопительный прибор;

4 - вытяжные каналы; 5 - приточные каналы; 6 - утилизатор тепла;

7 - надплитный зонт с индивидуальным вентилятором (для каждой секции дома следует принимать одинаковую схему подключения зонтов);

8 - вытяжной вентилятор (центральный); 9 – уравновешивающий клапан; 10 - обратный клапан.

7.6. Воздуховоды из негорючих материалов следует проектировать для прокладки в пределах помещений для вентиляционного оборудования, а также в технических этажах, чердаках и подвалах.

7.7. Места прохода воздуховодов через стены, перегородки и перекрытия зданий (в том числе в кожухах и шахтах) следует уплотнять негорючими материалами, обеспечивая нормируемый предел огнестойкости пересекаемого ограждения.

8. Материалы и оборудование

8.1. Каналы и воздуховоды.

8.1.1. Каналы систем естественной вентиляции, как правило, состоят из поэтажных унифицированных бетонных блоков. В местах соединений поэтажные блоки должны иметь герметизирующие прокладки.

8.1.2. Каналы, воздуховоды, систем механической вытяжной вентиляции с естественным притоком воздуха и систем механической приточно-вытяжной вентиляции должны иметь класс Н (нормальные) и изготавливаются, как правило, из листовой стали.

Рис. 7. Схема системы механической приточно-вытяжной вентиляции (центральная) с утилизацией тепла вытяжного воздуха (утилизация с промежуточным теплоносителем).

Обозначения: ж. п. - жилое помещение; к - кухня; с/у - санузел;

1 - приточное устройство; 2 - вытяжное устройство; 3 - отопительный прибор;

4 - вытяжные каналы; 5 - приточные каналы; 6 - приточная камера с утилизатором тепла с промежуточным теплоносителем; 7 - вытяжная камера с утилизатором тепла с промежуточным теплоносителем; 8 - трубопровод промежуточного теплоносителя; 9 - циркуляционный насос;

10 - надплитный зонт с индивидуальным вентилятором; 11 - уравновешивающий клапан.

 

Рис. 8. Утилизаторы тепла вытяжного воздуха:

а) регенеративный, б) рекуперативный.

Обозначения:

а - вытяжной вентилятор, б - приточный вентилятор, в - фильтр вытяжного воздуха, г – фильтр приточного воздуха, д - регенеративный теплообменник, е - рекуперативный теплообменник, ж - нагреватель для догрева приточного воздуха.

8.2. Приточные и вытяжные устройства.

8.2.1. В качестве приточных устройств в системах естественной вентиляции и механической вытяжной вентиляции с естественным притоком воздуха следует применять приточные клапаны.

8.2.2. Приточные клапаны должны обеспечивать изменение расхода приточного воздуха в ручном или автоматическом режиме. Изменение расхода воздуха может быть плавным или ступенчатым. В полностью закрытом положении приточные клапаны должны обеспечивать минимально необходимый расход воздуха, равный 25 % от расчетного.

8.2.3. В качестве датчиков управления приточными клапанами с автоматическим регулированием расхода воздуха могут использоваться датчики перепада давления, влажности внутреннего воздуха, освещенности, присутствия людей и т. п.

8.2.4. Приточные клапаны следует устанавливать, как правило, в каждом жилом помещении. В каждой квартире следует устанавливать не менее двух приточных клапанов.

8.2.5. В доме, как правило, следует применять приточные клапаны одного типа. Типоразмер или количество клапанов в одинаковых квартирах на разных этажах может быть различным.

8.2.6. В качестве вытяжных устройств в системах естественной вентиляции рекомендуется применять регулируемые решетки; в системах механической вытяжной вентиляции с естественным притоком воздуха следует применять регулируемые решетки или вытяжные клапаны.

8.2.7. Вытяжные решетки должны обеспечивать изменение расхода вытяжного воздуха в ручном режиме; вытяжные клапаны должны обеспечивать изменение расхода вытяжного воздуха в ручном или автоматическом режиме. Изменение расхода воздуха может быть плавным или ступенчатым.

В качестве датчиков управления для вытяжных клапанов с автоматическим регулированием расхода воздуха могут использоваться датчики перепада давления, влажности внутреннего воздуха, освещенности, присутствия людей и т. п.

8.2.8. В доме, как правило, следует применять вытяжные решетки или клапаны одного типа и типоразмера.

8.3. Вентиляторы.

8.3.1. Индивидуальные вытяжные вентиляторы, как правило, должны оборудоваться обратными клапанами. Включение вентиляторов, устанавливаемых в туалетах и ванных, возможно блокировать с включением освещения или по датчику присутствия; выключение вентиляторов с заданным запаздыванием после выключения освещения или ухода.

8.3.2. Центральные вытяжные вентиляторы, как правило, должны обеспечивать переменный расход воздуха в системе. Вентиляторы следует подбирать на расчетный расход вытяжного воздуха; глубина регулирования должна составлять 100 - 30 %. Рекомендуется использовать вентиляторы с «пологой» характеристикой. Изменение расхода воздуха в системе происходит по сигналу датчика статического давления, установленного в нижней части сборного канала.

8.3.3. Вентиляторы должны иметь резервирование, которое следует осуществлять либо установкой дополнительного вентилятора (в центральных системах), либо ремонтом или заменой отказавшего вентилятора службой эксплуатации в течение суток.

9. Расчет систем вентиляции

9.1 .Расчет естественной вентиляции.

9.1.1. Расчетный расход воздуха в квартире Lвент, м3/ч, следует принимать по табл. 2.

9.1.2. Расчетную температуру наружного воздуха tн расч, °С, и расчетную скорость ветра Vветр, м/с, следует принимать в соответствии со СНиП 2.04.05-91*

tн расч = 5; Vветр = 0.

9.1.3. Расчетное располагаемое давление Δ ррасп, Па, для квартир каждого этажа следует определять по формуле

Δ ррасп = g(ρн - ρв),                                      (1)

где ρн и ρв - соответственно плотность наружного и внутреннего воздуха при расчетных температурах, кг/м3;

hрасч - расстояние по вертикали от центра приточного устройства до устья вытяжной шахты, м.

9.1.4. Сопротивление воздушного тракта (потери давления) системы вентиляции должно быть меньше величины располагаемого давления с запасом в 10 %:

Δ ррасп = 0,9(Δ рприт  + Δ рвыт + Δ рспут + Δ ркан + Δ рт.чер + Δ ршахт),                 (2)

где Δ рприт - потери давления в приточных устройствах;

Δ рвыт - потери давления в вытяжных устройствах;

Δ рспут - потери давления в спутнике;

Δ ркан - потери давления в сборном канале, в том числе потери давления в тройнике;

Δ рт.чер - потери давления на теплом чердаке;

Δ ршахт - потери давления в вытяжной шахте.

При расчете сопротивления воздушного тракта рекомендуется принимать:

(Δ рприт  + Δ рвыт + Δ рспут) ≥ 6 ÷ 9 Па;

Vспут = 1,0 ÷ 1,5м/с,

где Vспут - скорость воздуха в спутнике, м/с;

Vкан = 2 ÷ 3,5 м/с,

где Vкан - скорость воздуха в сборном канале, м/с;

Vшахт ≤ 1 м/с, Δ ршахт ≈ 1 Па

где Vшахт - скорость воздуха в вытяжной шахте, м/с.

9.1.5. Если сечения спутников и сборного вытяжного канала заданы, то определяются расчетные потери давления в остальных элементах системы из формулы (2).

9.1.6. Тип и типоразмер приточного клапана подбирается по его характеристикам (данные изготовителя) в зависимости от величины Δ рприт.

Если величина располагаемого давления недостаточна для установки приточных клапанов, например на верхних этажах, следует использовать форточки или устанавливать индивидуальные вытяжные вентиляторы с обратными клапанами.

Число этажей, где следует установить индивидуальные вытяжные вентиляторы, определяется расчетом.

Если установка клапана обязательна по санитарно-гигиеническим требованиям, следует увеличить сечение вытяжного канала или использовать механическую вытяжную вентиляцию.

9.1.7. Расчетные расходы тепла на вентиляцию.

Q вент = ср ρн L вент (tн - tв),                                  (3)

где ср - теплоемкость воздуха, ср = 1,005 кДж/кг∙°С;

ρн и L вент - см- пп. 9.1.3 и 9.1.1;

tн и tв - соответственно значения температуры наружного и внутреннего воздуха в квартире при расчетных для проектирования вентиляции условиях.

При расчете расхода тепла на вентиляцию расход воздуха, удаляемого надплитным зонтом, не учитывается.

9.2. Расчет механической вытяжной вентиляции с естественным притоком.

9.2.1. Расчет проводится для условий Vветра = 0.

9.2.2. Скорость воздуха в каналах и вытяжных устройствах следует принимать по акустическим требованиям. До и после вентилятора в случае необходимости следует предусматривать установку шумоглушителей.

Типоразмер приточных каналов, приточных клапанов и вытяжных решеток выбирается по акустическим требованиям.

9.2.3. Вытяжной вентилятор, центральный или индивидуальный, подбирается стандартным способом. В системах с централизованной вытяжкой следует устанавливать резервный вентилятор.

9.2.4. Расчетные расходы тепла на вентиляцию определяются по формуле (3).

9.3. Расчет механической приточно-вытяжной вентиляции проводится аналогично п. 9.2.

9.3.1. В системах вентиляции с утилизацией тепла вытяжного воздуха утилизатор должен быть оборудован системой нагрева приточного воздуха, когда его температура ниже 15 °С.

Приложение 1

Термины и определения

Вентиляция - организованный обмен воздуха в помещениях для обеспечения параметров микроклимата и чистоты воздуха в обслуживаемой зоне помещений в пределах допустимых норм.

Вентиляция естественная - организованный обмен воздуха в помещениях под действием теплового (гравитационного) и/или ветрового давления.

Вентиляция механическая (искусственная) - организованный обмен воздуха в помещениях под действием давления, создаваемого вентиляторами.

Воздух наружный - атмосферный воздух, забираемый системой вентиляции для подачи в обслуживаемое помещение.

Воздух приточный - воздух, подаваемый в помещение системой вентиляции.

Воздух удаляемый (уходящий) - воздух, забираемый из помещения и больше в нем не используемый.

Воздушный затвор, спутник - вертикальный участок воздуховода, изменяющий направление движения воздуха и препятствующий его перетеканию из одной квартиры в другую.

Допустимое качество воздуха в помещениях (чистота воздуха) - состав воздуха, в котором в соответствии с определением полномочных органов концентрация известных загрязняющих веществ не превышает ПДК и к которому не имеют претензий более 80 % людей, подвергаемых его воздействию.

Микроклимат помещения - состояние внутренней среды помещения, характеризуемое следующими показателями: температурой воздуха, радиационной температурой, скоростью движения и относительной влажностью воздуха в помещении.

Отопление - поддержание в закрытых помещениях нормируемой температуры воздуха и радиационной температуры.

Сборный канал, воздуховод - участок воздуховода, к которому присоединяются воздуховоды из двух или большего числа этажей.

Транзитный воздуховод - участок воздуховода, прокладываемый за пределами обслуживаемого им помещения или группы помещений.

Приложение 2

Примеры расчета систем вентиляции

Пример 1

Рассчитать систему естественной вентиляции секции 17-этажного жилого дома с высотой этажа 2,8 м. Квартиры 2-й категории - «Экономические» (по МГСН 3.01-01 «Жилые здания»). На каждом этаже расположены 4 квартиры: 2 однокомнатные и 2 трехкомнатные. В примере рассмотрена вертикаль однокомнатных квартир. Общая площадь квартиры - 54 м2; жилая площадь - 22 м2; в квартире проживает 2 человека. - - Конструкция системы вентиляции.

Система вентиляции собирается из вентиляционных блоков по схеме с общим вертикальным сборным каналом и поэтажными ответвлениями (спутниками).

Спутники проходят вертикально параллельно сборному каналу и присоединяются к нему через этаж на 300 мм ниже отверстия для вытяжного устройства. Схема системы соответствует рис. 1.

К сборному вентиляционному каналу на каждом этаже присоединяется одна квартира.

Для повышения аэродинамической устойчивости системы (за счет увеличения аэродинамического сопротивления входу воздуха в спутник) входной участок спутника выполнен в виде конфузора. Спутники присоединены к сборному вертикальному каналу через диффузор.

В каждой квартире установлены 2 вытяжных клапана и 2 спутника: один в кухне и один в совмещенном санузле. Вытяжной клапан кухни вставлен непосредственно в вентиляционный блок, а клапан санузла соединяется со спутником коробом из гипсокартона.

Сборный вентиляционный канал выведен в теплый чердак. В месте выхода на чердак канал накрыт бетонным оголовком, представляющим собой диффузор. В чердак поступает воздух из всех квартир секции дома (двух вертикалей однокомнатных квартир и двух вертикалей трехкомнатных квартир).

Из теплого чердака воздух удаляется в атмосферу через утепленную вытяжную шахту (без зонта). Высота шахты равна 2,5 м над кровлей чердака (4,5 м от пола чердака).

Для притока свежего воздуха в наружных стенах установлены регулируемые приточные клапаны. В однокомнатной квартире установлено 3 клапана (2 клапана в комнате и 1 клапан на кухне).

- Расчетный расход вентиляционного воздуха определен по табл. 2.

Расчетный расход приточного воздуха (проживает 2 человека)

L прит = 30 м3/ч∙2 = 60м3

Расчетный расход вытяжного воздуха L выт = 110 м3/ч, в том числе из кухни L кух = 60 м3/ч, из совмещенного санузла L с/у = 50 м3/ч. В качестве расчетного принимаем больший расход воздуха L расч = L выт = 110 м3/ч.

Расчетный расход воздуха в трехкомнатных квартирах (проживает 3 человека) такой же, как в однокомнатных. Расчетный расход воздуха теплого чердака составляет L расч. чер = 4∙17∙110 = 7480 м3/ч.

- Аэродинамический расчет системы вентиляции.

В соответствии с п. 9.1.3 определяем расчетное располагаемое давление Δ ррасп, Па, для квартир каждого этажа по формуле (1).

Результаты расчета представлены в табл. П 1.

В соответствии с п. 9.1.4 определяем сопротивление воздушного тракта (потери давления) системы вентиляции.

Предварительно принимаем скорость воздуха в спутнике Vспут = 1,0 м/с и определяем площадь его поперечного сечения:

dспут = 0,146 м

Принимаем диаметр спутника dспут = 0,14 м, тогда fспут = 0,0154 м2Vспут = 1,08 м/с.

Предварительно принимаем скорость воздуха в сборном канале Vкан = 2,5 м/с и определяем площадь его поперечного сечения:

Принимаем площадь поперечного сечения сборного канала fкан = 0,192 м2. Сечение имеет форму прямоугольника 450×360 мм, соединенного с половиной круга d = 369 мм. Vкан = 2,7 м/с.

Предварительно принимаем скорость воздуха в шахте Vшах = 1,0 м/с и определяем площадь ее поперечного сечения:

Таблица П 1

№ этажа

Hh, м

ΔРрасп, Па

L, м3

ξп

ξотв

vп, м/с

ΔРп, Па

ΔРотв, Па

R, Па/м

βш

βш R1

ΔР, Па

L, м3

1

2

3

4

5

6

7

8

9

10

11

12

13

14

1

51,4

32,89

110

1,6

1

0,12

0,013

0,70

0,002

1,01

0,01

18,46

157

2

48,6

31,10

220

1,0

1

0,25

0,037

0,70

0,008

1,04

0,02

18,44

149

3

45,8

29,31

330

0,75

1

0,38

0,065

0,70

0,01

1,07

0,03

18,38

141

4

43,0

27,52

440

0,44

1

0,50

0,066

0,70

0,021

1,10

0,06

18,29

134

5

40,2

25,73

550

0,36

0,83

0,63

0,085

0,58

0,030

1,12

0,08

18,04

128

6

37,4

23,94

660

0,31

0,75

0,75

0,105

0,52

0,039

1,15

0,11

17,81

122

7

34,6

22,14

770

0,27

- 0,46

0,88

0,125

- 0,28

0,055

1,17

0,16

16,8

116

8

31,8

20,35

880

0,24

- 0,67

1,00

0,144

- 0,47

0,068

1,20

0,20

16,32

110

9

29,0

218,56

990

0,21

- 1,09

1,13

0,161

- 0,76

0,082

1,22

0,24

15,69

105

10

26,2

16,77

1100

0,19

- 1,5

1,25

0,178

- 1,05

0,095

1,23

0,29

15,0

100

11

23,4

14,97

1210

0,17

- 2,3

1,38

0,194

- 1,61

0,105

1,24

0,32

14,18

96

12

20,6

13,18

1320

0,16

- 2,83

1,51

0,219

- 1,98

0,145

1,25

0,45

12,93

91

13

17,8

11,39

1430

0,14

- 3,63

1,62

0,220

- 2,54

0,157

1,26

0,49

11,71

86

14

15,0

9,60

1540

0,12

- 3,89

1,76

0,223

- 2,72

0,183

1,26

0,58

10,82

81

15

12,2

7,81

1650

0,11

- 4,15

1,89

0,235

- 2,98

0,206

1,27

0,65

9,76

75

16

9,4

6,02

1760

0,10

- 4,35

2,01

0,242

- 3,10

0,227

1,27

0,72

8,75

69

17

6,6

4,22

1870

-

- 4,56

2,14

-

- 3,19

-

-

-

7,70

63

Принимаем площадь поперечное сечение шахты равным fшax = 1,50×1,50 = 2,25м2. Vшах = 0,92 м/с.

Принимаем к установке приточные клапаны с расходом воздуха, при полном открытии клапана Lклап = Lрасч / 3 = 110 / 3 = 37 м3/ч. Потеря давления в клапане при расчетном расходе воздуха составит 6 Па.

Принимаем к установке регулируемые вытяжные клапаны диаметром dвыт = 130 мм; площадь сечения fвыт. = 0,0133 м2; коэффициент местного сопротивления, отнесенный к фронтальному сечению ξ = 1,5.

Потеря давления в вытяжных клапанах составит:

- в кухнях – ΔР = ξ∙v2∙ρ / 2 = 1,41 Па (скорость во фронтальном сечении – V = 1,25 м/с);

- в совмещенных санузлах - 0,98 Па (скорость во фронтальном сечении – V = 1,04м/с).

Потеря давления в конфузорах перед вытяжными клапанами при ξ = 0,1 составит:

- в воздуховоде из кухни – ΔР = ξ∙v2∙ρ / 2 = 0,1; 1,252∙1,2 / 2 = 0,09 Па;

- в воздуховоде из совмещенного санузла

ΔР = ξ∙v2∙ρ / 2 =0,1∙1,042∙1,2 / 2 = 0,06 Па.

Потеря давления в гипсокартонном воздуховоде сечением 150×150 мм, проложенном от совмещенного санузла до вентиляционного блока, ΔР = R∙βш∙1 = 0,105∙1,073∙1,6 = 0,18 Па (при эквивалентной шероховатости гипсокартона κш = 1 мм и скорости воздуха V = 50 / (36000,150,15) = 0,62 м/с).

Потеря давления в диффузорах перед входом в сборный воздуховод при ξ = 0,12 составит:

- для кухни - ΔР= ξ∙v2∙ρ / 2 = 0,120,5321,2 / 2 = 0,02 Па (при скорости воздуха V = 60 / (36003,140,22 / 4) = 0,53 м/с);

- для совмещенного санузла ΔР= ξ∙v2∙ρ / 2 = 0,120,4421,2 / 2 = 0,014 Па (при скорости воздуха V = 50 / (36003,140,22 / 4) = 0,44м/с) / 2 = 0,120,4421,2 / 2 = 0,014 Па).

Потеря давления в коленах при входе воздуха в спутник и выходе из него (площадь поперечного сечения колена 3,140,142 / 4 = 0,0154 м2, ξ = 1,2) составит:

- в воздуховоде из кухни -

ΔР = ξ∙v2∙ρ / 2 = 21,21,0821,2 / 2 = 20,84 = 1,68 Па (при скорости воздуха V = 60 / (36000,0154) = 1,08 м/с);

- в воздуховоде из совмещенного санузла -

ΔР = ξ∙v2∙ρ / 2 = 21,20,921,2 / 2 = 20,58 = 1,17 Па (при скорости воздуха V = 50 /(36000,0154) = 0,9 м/с).

Потеря давления в спутниках по длине при шероховатости 2 мм:

- в спутниках из кухни - ΔР = R∙βш∙1 = 0,1631,232,5 = 0,50 Па;

- в спутниках из совмещенного санузла - ΔР = R∙βш∙1 = 0,1151,22,5 = 0,35 Па.

Проверяем равенство потерь давления в воздушном тракте от приточного клапана до сборного воздуховода:

- для кухни – ΔР = 6 + 1,41 + 0,09 + 1,68 + 0,02 + 0,5 = 9,7 Па;

- для совмещенного санузла -

ΔР = 6 + 0,98 + 0,06 + 0,18 + 1,17 + 0,014 + 0,35 = 8,8 Па.

Для выравнивания потерь давлений по обоим трактам необходимо при наладке системы прикрыть вытяжной клапан в совмещенном санузле.

Для дальнейших расчетов принимаем потери давления в воздушном тракте от приточного клапана до сборного воздуховода 9,7 Па.

Общие потери давления в оголовке сборного воздуховода в вытяжной шахте составят:

- в диффузоре ΔР = ξ∙v2∙ρ / 2 = 0,151,21521,2/2 = 0,13 Па (при коэффициенте местного сопротивления ξ = 0,15 и скорости воздуха в основании оголовка V=11017 / (36000,950,45) 1,215м/с);

- в шахте по длине ΔР = R∙βш∙1 = 0,01114,5 = 0,05 Па (при эквивалентном диаметре шахты dэкв = 2 АВ / (А + В) = 21,51,5 (1,5 + 1,5) = 1,5 м и расходе воздуха 7480 м3/ч);

- потери давления на местные сопротивления при входе воздуха в шахту и выходе из нее ΔР = ξ∙v2∙ρ / 2 = (0,5 + 1,5)0,9221,2/2 = 1,01 Па (ξвх = 0,5; ξвых = 1,5; скорость воздуха в шахте V= 0,92 м/с).

Общие потери давления в шахте - ΔР = 0,05 + 1,01 = 1,06 Па.

Общие потери давления в оголовке и шахте составят ΔР = 0,13 + 1,06 =1,19 Па.

Основные результаты дальнейших расчетов приведены в табл. П 1.

В графах таблицы представлены:

- в графе 2 - расстояния от центра вытяжного клапана до верха вытяжной шахты;

- в графе 3 - располагаемое естественное давление Δр ест, рассчитанное по формуле (1);

- в графе 4 - расчетный расход воздуха L, м3/ч, в сборном воздуховоде после тройника этажа, указанного в графе 1;

- в графах 5 и 6 - коэффициенты местных сопротивлений в тройниках при входе в сборный воздуховод соответственно на проход ξ п и в ответвлении ξ отв;

- в графе 7 - скорость воздуха Vп, м/с, после тройников;

- в графе 8 - потери давления в тройнике на проход (ΔР = ξпvп2∙ρ / 2 = при соответствующей скорости воздуха);

- в графе 9 - потери давления в тройнике на ответвлении

(ΔР = ξотвvотв2∙ρ / 2при скорости воздуха в ответвлении , Vотв = 1,08 м/с);

- в графе 10 - удельная потеря давления на трение в участке сборного воздуховода от присоединения спутников указанного этажа до следующего;

- в графе 11 - поправочный коэффициент на шероховатость сборного воздуховода;

- в графе 12 - потери давления по длине на участке сборного воздуховода (эквивалентный диаметр сборного воздуховода равен dэкв = 20,5330,4 / (0,533 + 0,4) = 0,46м);

- в графе 13 - полные потери давления от приточного клапана рассматриваемого этажа до верха вытяжной шахты. Величина этих потерь складывается из потерь в ответвлении (9,7 Па), потерь на общих участках (1,19 Па), суммы потерь в тройниках на проход, начиная с 17 этажа и включая рассматриваемый, потерь в тройнике на ответвлении данного этажа и суммы потерь по длине сборного воздуховода от данного этажа до 17 включительно;

- в графе 14 - суммарные расходы воздуха в квартире на вентиляционных вытяжных решетках. Расходы воздуха соответствуют режиму без наладки вентиляционной системы по данным расчета.

Данные табл. П 1 показывают:

- в квартирах на 14 -17 этажах потеря давления в воздуховодах при проходе расчетного расхода воздуха превышает располагаемое естественное давление; на этих этажах естественная вентиляция не обеспечивает расчетный расход воздуха при расчетных условиях. Для обеспечения вентиляции квартир на 14 - 17 этажах необходимо установить индивидуальные вытяжные вентиляторы;

- в квартирах 1 - 13 этажей с системой естественной вентиляции в расчетных условиях при установке принятых приточных и вытяжных клапанов и размерах шахты и спутников имеет место большая неравномерность в распределении расходов воздуха по этажам (+ 40 % на первом этаже и - 20 % на 13 этаже).

Для уменьшения неравномерности в распределении расходов воздуха по этажам следует провести монтажную регулировку системы (например, настройкой вытяжных клапанов) либо изменить сечение шахты, уменьшив его на участке с 1 до 7 этажей на 30 %.

В этом случае в расчетных условиях неравномерность в распределении расходов воздуха снизится до + 20 ÷ 10 %. В процессе эксплуатации системы при понижении температуры наружного воздуха и увеличении располагаемого давления проводится индивидуальная регулировка системы.

Пример 2

Рассчитать систему механической вытяжной вентиляции (централизованной) с естественным притоком воздуха 17-этажного жилого дома, рассмотренного в примере 1.

- Конструкция системы вентиляции.

Воздуховоды вентиляционной системы выполняются из стали по схеме с общим вертикальным сборным каналом и поэтажными ответвлениями (спутниками). Спутники проходят вертикально параллельно стволу и присоединяются к нему через этаж на 300 мм ниже отверстия для решетки. Схема системы соответствует рис. 2.

К сборному вентиляционному каналу на каждом этаже присоединяется одна квартира.

В каждой квартире установлены 2 регулируемых вытяжных клапана и 2 спутника: один в кухне и один в совмещенном санузле.

Спутники соединяются со сборным каналом и с вытяжным клапаном коленом. Вытяжной клапан кухни вставлен непосредственно в спутник, а клапан санузла соединяется со спутником коробом из гипсокартона. Центр отверстия вытяжного регулируемого клапана расположен на расстоянии 0,3 м от потолка.

Сборный вентиляционный канал выведен на верхний технический этаж, где устанавливается радиальный вентилятор с шумоглушителями до и после него. Вентилятор удаляет вытяжной воздух непосредственно в атмосферу. Утепленная вытяжная шахта выполнена из стали. Высота шахты равна 1 м над кровлей чердака.

Для притока свежего воздуха в наружных стенах жилой комнаты установлены регулируемые приточные клапаны. В однокомнатной квартире установлено 2 клапана.

- Расчетный расход вентиляционного воздуха - см. пример 1.

- Аэродинамический расчет системы вентиляции.

Размеры вентиляционных каналов выбираем из условий акустики.

Диаметр ответвлений принимаем dотв =100 мм, площадь поперечного сечения ответвлений равна fотв = 0,00785 м2, скорость воздуха в ответвлении Vотв = 2,1 м/с.

Диаметр сборного канала принимаем dсб1-4 = 300 мм (площадь поперечного сечения f сб1-4 = 0,141 м2, V сб1-4 = 0,9 м/с) на первых 4 этажах; диаметр d сб5-14 = 470 мм (fc6 = 0,173 м2, V сб4 = 3,0 м/с) на остальных этажах.

Диаметр соединительных участков спутника и сборного канала принимаем dотв = 100 мм. Вытяжной клапан санузла соединяется со спутником коробом сечением 100×100 мм длиной 1,6м.

Поперечное сечение шахты принято равным dшах = 470 мм, скорость воздуха в шахте и на конечном участке сборного канала Vшах = 3,0 м/с.

Потери давления в регулируемом приточном клапане при расходе воздуха Lпр кл = 55 м3/ч составляют 15 Па.

Потери давления в регулируемых вытяжных клапанах составляют:

- в кухне (при расходе воздуха Lвыт кух = 60 м3/ч) - ΔР кух = 6,76 Па;

- в совмещенном санузле (при расходе воздуха - L выт кух = 50 м3/ч) - ΔРкyх = 4,5 Па. Потери давления в гипсокартонном воздуховоде при эквивалентной шероховатости гипсокартона κш = 1 мм и скорости воздуха V = 50 / (36000,01) = 1,39 м составит

ΔР = R∙βш∙1 =0,5881,251,6 = 1,18 Па.

Сопротивление в коленах при входе в спутник и выходе из него при (ξ кол = 1,2) составит:

- в воздуховоде из кухни - ΔР кол кух = 6,49 Па;

- в воздуховоде из санузла - ΔР кол су = 4,5 Па.

Потеря давлений в спутниках по длине при шероховатости 0,1 мм:

- в воздуховоде из кухни - ΔР сп кух = 2 Па;

- в воздуховоде из санузла - ΔР сп су = 1,47 Па.

Проверяем равенство сопротивлений прохождению воздуха до слияния со сборным воздуховодом по трактам из кухни и из санузла. Общая потеря давлений по тракту равна:

- из кухни - ΔР кух = 15 + 6,76 + 6,49 + 1,68 + 2 = 31,93 Па;

- из санузла - ΔР су = 15 + 4,495+ 1,176 + 4,506+ 1,47 = 26,65 Па.

Для выравнивания потерь давлений необходимо при наладке в санузле прикрыть вытяжной клапан.

Считаем, что до ствола потеря давления на каждом этаже составляет 31,93 Па. Общие потери давления на конечном участке сборного канала, шумоглушителях и в вытяжной шахте составят:

- в круглом воздуховоде длиной 1,5 м с отводом 90° при коэффициенте местного сопротивления ξ = 0,21 и скорости воздуха в V= 3 м/с

ΔР = ΔР = R∙βш∙1 + ξ∙v2∙ρ / 2 =0,21511,5 + 0,21З21,2 / 2 = 0,32 + 1,13 = 1,45 Па;

- в шахте при длине 2,5 м с учетом сопротивления на выходе из шахты с зонтом при ξ = 1,15 и скорости в шахте V= 3 м/с

ΔР = R∙βш∙1 + ΔР= ξ∙v2∙ρ / 2 = 0,21512,5+1,15321,2 / 2 = 0,54 + 6,21 = 6,75 Па;

- в шумоглушителях потери равны 20 + 15= 35 Па.

Общие потери в общих участках составляют 1,45 + 6,75 + 35 = 43,2 Па.

Длина прохода на каждом этаже равна 2,8 м.

Основные результаты дальнейших расчетов приведены в табл. П 2. В графах таблицы приведены:

- в графе 2 - расстояния от центра вытяжного клапана до верха вытяжной шахты;

- в графе 3 - располагаемое естественное давление Δрест, рассчитанное по формуле (1);

- в графе 4 - расчетный расход воздуха L, м3/ч, в сборном воздуховоде после тройника этажа, указанного в графе 1;

- в графах 5 и 6 - коэффициенты местных сопротивлений в тройниках при входе в сборный воздуховод соответственно на проход ξп и в ответвлении ξотв;

- в графе 7 - скорость воздуха Vп м/с, после тройников;

- в графе 8 - потери давления в тройнике на проход ΔР = ξ∙v2∙ρ / 2 при соответствующей скорости воздуха);

- в графе 9 - потери давления в тройнике на ответвлении ΔР = ξотвvотв2∙ρ / 2 при скорости воздуха в ответвлении Vотв = 2,12 м/с);

- в графе 10 - удельная потеря давления на трение в участке сборного воздуховода от присоединения спутников указанного этажа до следующего;

- в графе 11 - потери давления по длине на участке сборного воздуховода от присоединения спутников указанного этажа до следующего;

- в графе 12 - полные потери давления от приточного клапана рассматриваемого этажа до верха вытяжной шахты. Величина этих потерь складывается из потерь в ответвлении (31,93 Па), потерь на общих участках (42,29 Па), суммы потерь в тройниках на проход, начиная с 17 этажа и включая рассматриваемый, потерь в тройнике на ответвлении данного этажа и суммы потерь по длине сборного воздуховода от данного этажа до 17 включительно;

- в графе 13 - полные потери давления за вычетом естественного располагаемого давления. Данные графы 13 показывают, что самые большие потери давления (с учетом естественного давления) составляют потери для квартир 16 и 17 этажей. Для обеспечения расчетных расходов воздуха необходима монтажная регулировка клапанов, увеличивающая сопротивление воздушного тракта квартир нижележащих этажей.

Вытяжной вентилятор должен быть подобран на расход воздуха 1870 м3/ч и давление не менее 75 Па. Если вентилятор подбирать на давление без учета естественного давления, то в наиболее холодный зимний период воздух будет удаляться с увеличенным расходом из нижних этажей и с уменьшенным из верхних;

- в графе 14 приведены суммарные расходы воздуха в квартире на вентиляционных вытяжных решетках. Расходы воздуха соответствуют режиму без наладки вентиляционной системы по данным расчета.

Данные табл. П 2 показывают:

- неравномерность в распределении расходов воздуха по этажам составляет + 30 % на первом этаже и - 20 % на 17 этаже;

- для уменьшения неравномерности в распределении расходов воздуха по этажам следует провести монтажную регулировку системы.

Таблица П 2

№ этажа

Hh, м

ΔРрасп, Па

L, м3

ξп

ξотв

vп, м/с

ΔРп, Па

ΔРотв, Па

R, Па/м

βш

βш R1

ΔР, Па

L, м3

1

2

3

4

5

6

7

8

9

10

11

12

13

14

1

48,4

29,17

110

2,5

1

0,22

0,07

2,70

0,002

0,01

87,9

58,7

142

2

45,6

27,38

220

1

1

0,43

0,111

2,70

0,008

0,02

87,8

60,4

138

3

42,8

25,59

330

0,71

1

0,65

0,180

2,70

0,011

0,03

87,7

62,1

134

4

40,0

23,81

440

0,44

1

0,87

0,199

2,70

0,019

0,05

87,5

63,3

130

5

37,2

22,02

550

0,36

1

0,88

0,167

2,70

0,027

0,08

87,2

65,2

126

6

34,4

20,23

660

0,31

1

1,06

0,209

2,70

0,032

0,09

87,0

66,8

122

7

31,6

18,45

770

0,27

0,89

1,24

0,249

2,07

0,046

0,13

86,1

67,7

118

8

28,8

16,66

880

0,24

0,67

1,41

0,286

1,26

0,058

0,16

84,9

68,2

114

9

26,0

14,87

990

0,21

0,37

1,59

0,318

0,69

0,073

0,20

83,9

69,0

110

10

23,2

13,09

1100

0,19

0,15

1,77

0,357

0,28

0,089

0,25

83,3

70,2

107

11

20,4

11,30

1210

0,17

- 0,02

1,94

0,384

- 0,01

0,095

0,27

82,0

70,7

104

12

17,6

9,51

1320

0,16

- 0,14

2,12

0,431

- 0,26

0,110

0,31

81,2

71,7

101

13

14,8

7,73

1430

0,15

- 0,25

2,23

0,476

- 0,47

0,162

0,45

80,2

72,4

98

14

12,0

5,94

1540

0,14

- 0,33

2,30

0,448

- 0,62

0,190

0,53

79,1

73,2

95

15

9,2

4,16

1650

0,13

- 0,40

2,65

0,547

- 0,75

0,206

0,58

78,0

73,8

92

16

6,4

2,37

1760

0,12

- 0,46

2,83

0,576

- 0,86

0,227

0,64

76,8

75,0

89

17

3,6

0,38

1870

0,11

- 0,51

3,00

0,594

- 0,96

0,241

0,67

75,4

75,0

86

 

 




ГОСТЫ, СТРОИТЕЛЬНЫЕ и ТЕХНИЧЕСКИЕ НОРМАТИВЫ.
Некоммерческая онлайн система, содержащая все Российские Госты, национальные Стандарты и нормативы.
В Системе содержится более 150000 файлов нормативно-технической документации, действующей на территории РФ.
Система предназначена для широкого круга инженерно-технических специалистов.

Рейтинг@Mail.ru Яндекс цитирования

Copyright © www.gostrf.com, 2008 - 2026