Крупнейшая бесплатная информационно-справочная система онлайн доступа к полному собранию технических нормативно-правовых актов РФ. Огромная база технических нормативов (более 150 тысяч документов) и полное собрание национальных стандартов, аутентичное официальной базе Госстандарта. GOSTRF.com - это более 1 Терабайта бесплатной технической информации для всех пользователей интернета. Все электронные копии представленных здесь документов могут распространяться без каких-либо ограничений. Поощряется распространение информации с этого сайта на любых других ресурсах. Каждый человек имеет право на неограниченный доступ к этим документам! Каждый человек имеет право на знание требований, изложенных в данных нормативно-правовых актах!

  


 

ОТКРЫТОЕ АКЦИОНЕРНОЕ ОБЩЕСТВО
ПРОЕКТНО-КОНСТРУКТОРСКИЙ
И ТЕХНОЛОГИЧЕСКИЙ ИНСТИТУТ
ПРОМЫШЛЕННОГО СТРОИТЕЛЬСТВА
ОАО ПКТИпромстрой

УТВЕРЖДАЮ

Генеральный директор, к.т.н.

_____________ С.Ю. Едличка

«___»____________2001 г.

УКАЗАНИЯ
ПО ПРОИЗВОДСТВУ РАБОТ ПРИ ЗАБИВКЕ
ЖЕЛЕЗОБЕТОННЫХ СВАЙ, МЕТАЛЛИЧЕСКИХ
БАЛОК И ТРУБ ДЛЯ КРЕПЛЕНИЯ СТЕНОК
КОТЛОВАНОВ

11-01

Главный инженер

_________ А.В. Колобов

Начальник лаборатории

_________ Б.И. Бычковский

2001

В настоящих Указаниях изложены основные положения безопасного ведения работ при забивке свай, металлических балок и труб для крепления стенок котлованов.

Приведены требования к оборудованию, оснастке, организации строительной площадки; транспортировке, монтажу и демонтажу копровых установок; выгрузке и складированию свай, металлических балок и труб; строповке, подаче, подъему и забивке свай, металлических балок и труб.

Освещены вопросы техники безопасности, а также обязанности и ответственность должностных лиц и обслуживающего персонала.

В приложении представлены технические характеристики механизмов и средства безопасного ведения работ.

Настоящие «Указания» откорректированы сотрудниками ОАО ПКТИпромстрой:

Бычковский Б.И. - руководитель и ответственный исполнитель разработки и нормоконтроль;

Ярымов Ю.А. - исполнитель технологических решений производства работ;

Покровская Е.В. - исполнитель разработки Указаний и компьютерная обработка и графика;

Савина О.А. - компьютерная обработка и графика;

Едличка С.Ю., к.т.н., заслуженный строитель РФ - общее руководство разработкой «Указаний».

Авторы будут признательны за предложения и возможные замечания по составу и содержанию настоящих «Указаний».

125040, Москва, Ленинградский пр-т., д. 26, ОАО ПКТИпромстрой

Контактный телефон: (095) 214-36-49, факс 214-95-53

Е-mail: pkti@rinet.ru www.rinet.ru/~pkti

СОДЕРЖАНИЕ

1 Общие положения. 2

2 Организация строительной площадки. 3

3 Транспортировка, монтаж, демонтаж и ввод в эксплуатацию копровых установок. 4

4 Выгрузка и складирование свай, металлических балок и труб. 8

5 Строповка, подача и подъем свай, металлических балок и труб. 9

6 Забивка свай, металлических балок и труб. 15

7 Обязанности и ответственность должностных лиц и обслуживающего персонала. 18

8 Требования техники безопасности, охраны труда и пожарной безопасности. 23

Приложение А Разрешение на производство подготовительных и основных строительно-монтажных работ. 32

Приложение Б Журнал погружения свай. 33

1 ОБЩИЕ ПОЛОЖЕНИЯ

1.1. Настоящие Указания распространяются на производство работ по забивке железобетонных свай и металлических балок с помощью копрового оборудования на базе гусеничных кранов-экскаваторов, а также по погружению стальных труб с помощью бурильно-крановых машин на строительных объектах. Далее по тексту копровое оборудование будет именоваться термином - «копры».

1.2. Указания составлены на базе требований следующих нормативных документов:

СНиП 2.02.03-85 «Свайные фундаменты».

СНиП 3.01.01-85* «Организация строительного производства»;

СНиП 12-03-2001 «Безопасность труда в строительстве. Часть 1. Общие требования»;

СНиП III-4-80* «Техника безопасности в строительстве»;

СНиП 3.02.01-87 «Земляные сооружения, основания и фундаменты»;

«Правил устройства и безопасной эксплуатации грузоподъемных кранов» Госгортехнадзора России.

1.3. Для устройства свайных фундаментов используют железобетонные сваи, изготавливаемые по ГОСТ 19804-91 «Сваи железобетонные. Технические условия».

Для крепления откосов котлованов применяют двутавровые металлические балки № 45, № 50 по ГОСТ 8239-89 и трубы стальные 220´12 мм по ГОСТ 8733-74*.

Далее по тексту железобетонные сваи, двутавровые балки и стальные трубы будут именоваться одним термином - «сваи».

1.4. Правильное и своевременное определение оптимальной глубины погружения и несущей способности свай ведет к снижению трудоемкости и стоимости производства свайных работ. Для этой цели необходимо осуществлять мероприятия по забивке и испытанию пробных свай в соответствии с рекомендациями по организационно-технической подготовке площадки под забивку свай и ГОСТ 5686-94.

1.5. Запрещается приступать к свайным и сопутствующим им работам без разрешения Инспекции государственного архитектурно-строительного надзора (ИГАСН), наличия полного комплекта проектно-технической документации и утвержденного проекта производства работ (ППР).

Разрешение на производство подготовительных и основных строительно-монтажных работ получает заказчик по форме ИГАСН (приложение А).

1.6. Выполнение свайных работ следует поручать комплексной сваебойной бригаде. Квалификационный и количественный состав бригады и ее звеньев (копров и расчетов), включая машинистов копровых установок, назначается приказом по строительной организации.

1.7. Производство работ в непосредственной близости от существующих зданий и сооружений осуществляется с учетом:

- специальных мероприятий по обеспечению сохранности существующих строений, базирующихся на результатах инженерных изысканий и обследования зданий и сооружений и учитывающих особенности инженерно-геологических условий площадки, а также состояние строительных конструкций строений;

- решений по усилению существующих зданий и сооружений, включая укрепление грунтов оснований;

- мероприятий по мониторингу строящихся и существующих строений и прилегающего к ним подземного пространства.

1.8. Перед началом работ по забивке свай на строительной площадке ответственным лицом за безопасность производства работ и перемещение грузов, назначенным приказом по строительному подразделению на данный объект, производится осмотр площадки на ее соответствие требованиям СНиП и ППР.

1.9. Производство работ по забивке свай следует осуществлять по рабочим чертежам проекта, в котором должны быть указаны марки применяемых свай, их габариты и глубина погружения.

Динамические и статические испытания свай в процессе производства свайных работ могут быть назначены проектной организацией в случае обоснованных сомнений в принятых проектом решениях.

1.10. В процессе забивки свай должен вестись «Журнал погружения свай» согласно приложению Б, все страницы которого должны быть пронумерованы, прошнурованы и скреплены печатью строительной организации.

1.11. В процессе забивки свай следует проводить замер отказов на контрольных сваях, указанных в проекте. В конце забивки каждой контрольной сваи, когда «отказ» близок к расчетному, погружение сваи останавливают и производят залоговый контроль забивки сваи. Минимальное количество свай, подлежащих залоговому контролю, должно составлять не менее 10 % общего количества погружаемых свай.

1.12. Если в процессе забивки свай (по данным 5 - 10 свай) они не добиваются до заданных в проекте отметок на 1 метр и более, необходимо остановить забивку и совместно с представителями проектной организации выяснить причины недобивок и решить вопрос об уточнении длины свай или замене сваебойного оборудования.

1.13. При принятии решения о проведении пробных динамических или статических испытаний свай они должны выполняться в соответствии с ГОСТ 5686-94, о чем должна быть сделана соответствующая запись в журнале и отметка в проекте.

1.14. В целях ликвидации разброса отметок верха голов свай, недобитых в пределах 1 метра, сваи следует погружать до проектных отметок или до критического отказа.

За величину критического отказа в процессе забивки свай принимается величина погружения сваи, равная 0,2 см от одного удара молота. Погружение свай при отказе 0,2 см и менее не допускается.

1.15. Сдачу забитых свай проектировщикам осуществляют по акту в установленном порядке по осям сооружения или отдельными захватками, но не менее 100 штук в захватке.

2 ОРГАНИЗАЦИЯ СТРОИТЕЛЬНОЙ ПЛОЩАДКИ

2.1. Строительная площадка перед производством строительно-монтажных работ должна быть организована в строгом соответствии с утвержденным в установленном порядке стройгенпланом на конкретный объект.

2.2. Перед забивкой свай на строительной площадке должны быть выполнены следующие подготовительные работы:

- планировка строительной площадки;

- разработка котлована и устройство пандусов в соответствии с ППР;

- установка санитарно-бытовых помещений;

- устройство временных дорог и ограждений;

- подводка электроэнергии и воды;

- установка светильников;

- установка предупредительных надписей и плакатов;

- вынесены и закреплены оси сооружения и высотные отметки;

- завезены и складированы в определенных местах сваи;

- оформлена необходимая документация.

2.3. До начала свайных работ производитель работ должен проверить состояние площадки и ограждения, временных дорог, расположение наружных и подземных коммуникаций. В местах прохождения подземных коммуникаций должны быть выставлены знаки.

2.4. Освещение площадки в ночное время суток при производстве свайных работ должно быть равномерным, не менее 50 люкс (30 ватт на 1 м2).

2.5. Площадка для всех видов копровых установок после планировки должна иметь уклон не более 3°.

2.6. Для выхода из котлована по откосу с уклоном более 20° должны быть оборудованы стремянки или лестницы с односторонними перилами. Может быть использован пандус.

2.7. Приемка готовности рабочей площадки осуществляется производителем работ по актам, он же проверяет комплектность, соответствие проекту и техническую пригодность завозимых на площадку свай.

3 ТРАНСПОРТИРОВКА, МОНТАЖ, ДЕМОНТАЖ И ВВОД В ЭКСПЛУАТАЦИЮ КОПРОВЫХ УСТАНОВОК

3.1 Каждая машина, предназначенная для производства свайных работ, имеет свою рациональную область применения. Основными факторами, влияющими на технико-экономические показатели применения машин, являются:

- конструкция машины и ее рабочих органов;

- конструкция возводимых свайных фундаментов, их конфигурация и типы строящихся зданий;

- грунтовые условия и рельеф строительной площадки после проведения планировочных и земляных работ;

- гидрогеологические условия и расчетное сопротивление грунтов, являющихся основанием свайных фундаментов;

- требуемая точность погружения свай;

- срок производства свайных работ.

С учетом влияния перечисленных факторов (при их усреднении) в таблицах 1, 2 и 3 даются ориентировочные рекомендации по выбору копров и копрового оборудования.

Таблица 1 - Рекомендации по выбору копров и копрового оборудования

Длина погружаемых свай

Основные рабочие параметры и типоразмеры копров и копрового оборудования

Марка или индекс выпускаемой или принятой к выпуску машины

Грузоподъемность, тс

Типоразмер

Рабочие наклоны

Изменение вылета стрелы, м

Угол поворота платформы, град.

вперед

назад

1

2

3

4

5

6

7

8

3 - 8

5 - 7

КН-I-8

1:8

1:3

0,9

360

С-860

КН-II-8

1:8

1:3

0,4

-

С-878, С-870, СА-8

КО-II-8

1:8

1:3

0,4

-

УСА

КО-III-8

-

-

0,4

360

Навесные стрелы к экскаватору и кранам

9 - 12

10

КН-I-12

1:8

1:3

1,05

360

СН-50

КН-II-12

1:8

1:3

1,4

360

СН-49

(СА-12)

КН-III-12

1:8

1:3

1,4

360

Навесные стрелы к экскаваторам и кранам

13 - 16

14

КН-I-16

1:8

1:3

1,2

360

СН-51

КО-III-16

-

-

-

360

Навесные стрелы к экскаваторам и кранам

Примечания

1. Копровое оборудование (сменные навесные и подвесные стрелы) к различным базовым машинам, выпускаемое строительными организациями для собственных нужд.

2. В графе 3 - типоразмер - цифры 8, 12 и т.д. - максимальная длина сваи, а I, II, III и т.д. - исполнение конструкции копра или копрового оборудования: I - универсальное; II - полууниверсальное, без поворота платформы; III - полууниверсальное без рабочего наклона стрелы; IV - простое, буквы: КН - копер навесной; КО - сменное копровое оборудование.

3. В графах 2, 4, 5, 6 и 7 приведены номинальные параметры машин.

Таблица 2 - Рекомендуемые области применения копров и копрового оборудования в зависимости от конструкции и типа строящегося здания

Характеристика типов строящихся зданий

Длина свай, наиболее часто встречающихся в фундаментах зданий, м

Характеристика расположения свай в ростверках

Типоразмеры копрового оборудования, рекомендуемые к применению

Конструкция

Тип

Каркасные здания с панельным стеновым ограждением из штучных материалов

Гражданское малоэтажное строительство и одноэтажные малонагруженные промышленные здания

3 - 8

Отдельно стоящие сваи

КН-II, КО-IV

Кустовое

КН-I, КО-III

Одноэтажные средненагруженные промышленные здания

9 - 12

Отдельно стоящие сваи

КН-II

Кустовое

КН-I, КО-III

Одноэтажные многонагруженные и многоэтажные промышленные здания

13 - 16

Кустовое

КН-I, КО-III

Примечание - Условные обозначения см. в примечаниях к таблице 1.

Таблица 3 - Техническая характеристика дизельных молотов, изготовляемых отечественными заводами

Тип и марка молота

Масса ударной части, кг

Максим. энергия удара, кгс×м

Частота удара, мин.

Система охлаждения

Высота, м

Общая масса, кг

Штанговый молот С-330

2500

3500

50

Воздушная

4,5

4200

Трубчатые молоты:

УР-I-500

500

1500

43

то же

3,8

1300

УР-I-1250

1250

3750

43

- « -

3,9

2300

УР-I-1800

1800

5400

43

- « -

3,9

3500

С-995А

1250

3750

43

Водяная (испарительная)

4,2

2500

С-996А

1800

5400

43

то же

3,9

3500

С-1047

2500

7560

43

- « -

5,0

5340

С-1048

3500

10500

43

- « -

5,1

7490

СП-54

5000

15000

43

- «-

5,3

9500

С-949

2500

7500

43

Воздушная

4,6

5660

С-954

3500

10500

43

то же

4,8

7500

С-947

5000

15000

43

- « -

5,5

9500

Быстроходные молоты:

УРБ-500

500

850

75

- « -

3,5

1950

УРБ-1250

1250

1900

65

Водяная

3,8

2600

УРБ-1800

1800

2700

65

то же

4,0

4000

3.2 Для погружения железобетонных свай, металлических балок и труб можно использовать и свайные погружатели, номенклатура и области применения которых приведены в таблице 4.

3.3 Номенклатура, типоразмеры и характеристика вспомогательного оборудования и приспособлений для ведения комплекса свайных работ при устройстве креплений стенок котлована определяется исходя из местных условий, наличия средств механизации на данной стройплощадке и т.п.

Таблица 4 - Номенклатура типоразмеров и области применения свайных погружателей

Масса ударной части применяемого молота, кг

Типоряды погружаемых свай, длина, м (масса, т)

Индекс молота

Марки моделей, молотов, имеющихся в строительных организациях

3 - 8 (до 1,8)

9 - 12 (до 3,7)

13 - 16 (до 6,5)

17 - 20 (до 8,1)

21 - 25 (до 13)

Дизель-молоты трубчатые

600

+(1500)

-

-

-

-

МДТ-600

С-857; УР-500; С-994

1250

+(3000)

-

-

-

-

мдт-1250

С-858; С-995; УР-1250;

1800

-

+(4000)

-

-

-

МДТ-1800

С-859; С-996

2500

-

+(6000)

-

-

-

МДТ-2500

С-949; С-1047

3500

-

-

+(8000)

-

-

МДТ-3500

С-954; С-1048

5000

-

-

-

+(11500)

-

МДТ-5000

С-974; СП-54

7500

-

-

-

-

+(17000)

МДТ-7500

-

Паровоздушные молоты простого действия

2000

+

-

-

-

-

-

-

3000

-

+(4200)

-

-

 

мпвм-3000

С-276

4500

-

+(6200)

-

-

-

мпвм-4500

-

6000

-

-

+(8500)

-

-

МПВМ-6000

С-811

8000

-

-

+(11000)

-

-

мпвм-8000

С-812

12000

-

-

-

-

+(15000)

мпвм-12000

-

Дизель-молоты штанговые

1800

+(3100)

-

-

-

-

-

С-268

2500

+(4200)

+(4200)

-

-

-

-

C-330

Грузоподъемность, тс, используемого копрового оборудования:

 

7

10

14

20

30

-

-

Примечание - знаком «+» обозначен рекомендуемый молот, в скобках дана предельная масса молота, кг.

3.4 После выбора базовой машины, копра, копрового оборудования или вибропогружателей отобранное оборудование подлежит перебазировке на строительную площадку.

3.5 Руководство работами по перевозке, монтажу и демонтажу копров осуществляется механиком строительной организации или прорабом (мастером), ответственным за производство работ на объекте.

3.6 Технический персонал строительной организации, осуществляющий руководство по перевозке копров и свай, обязан обеспечить выполнение требований ГИБДД, а для Москвы - «Правил перевозки грузов по улицам г. Москвы», утвержденных исполкомом Моссовета 9.03.66 г.

3.7 Масса копра и его максимальная грузоподъемность должны быть указаны на раме базовой машины или мачте (стреле) копра.

3.8 Все рабочие, занятые на перебазировании, монтаже или демонтаже копра, должны быть обучены профессиям копровщика и такелажника, аттестованы, а также допущены к работе на высоте.

3.9 Работы по перебазированию, монтажу и демонтажу копра должны производиться согласно заводским инструкциям и техническим схемам на перебазирование, монтаж и демонтаж копра, а также дополнительным указаниям механика или производителя работ (мастера).

3.10 При производстве работ по оснащению копра можно использовать собственно копровое оборудование для подъема деталей и узлов навесных механизмов.

3.11 Монтаж производится на площадке размером, указанным в заводской инструкции, но не менее 35´15 м. Площадка может располагаться непосредственно в котловане или вблизи него, за пределами призмы обрушения.

3.12 Площадку для монтажа копра следует располагать не ближе 50 м от линии электропередачи. Уклон площадки не должен превышать 5°, она должна быть освобождена от посторонних предметов и очищена от мусора.

ТРЕБОВАНИЯ К МОНТАЖУ И ДЕМОНТАЖУ КОПРОВОГО ОБОРУДОВАНИЯ

3.13 Сборка узлов копрового оборудования, в том числе навеска копровой стрелы, осуществляется в строгом соответствии с заводской инструкцией на сборку и монтаж копра.

Навеска копровой стрелы для копров конструкции Главмосстроя и ее подъем крановой (опорной) стрелой базовой машины производится самой базовой машиной с помощью специальных подставок и опорных устройств, разработанных Главмосстроем, или любым краном грузоподъемностью не менее 5 т. При этом крановая (опорная) стрела базовой машины устанавливается под углом (в плане) к оси копровой стрелы. Угол не должен превышать для базовой машины, град:

Э-10011..................... 73

Э-1252 Б, С............... 73

Э-1258....................... 77

3.14 Демонтаж копровой установки производится в последовательности, обратной монтажу.

3.15 При выполнении работы непосредственно на копровой стреле базовой машины рабочие должны пользоваться предохранительными поясами.

3.16 Совмещение работ, производимых в одно и то же время на одной вертикали, запрещается.

3.17 Запрещается производить работы по монтажу и демонтажу копра в темное время суток, при ветре 3 балла и более, в грозу и гололед, при сильном дожде, снегопаде, тумане.

3.18 Во время запасовки тросов двигатели лебедок должны быть выключены.

3.19 Намотка тросов на барабан лебедки при работающем двигателе производится без участия людей. Направлять трос руками строго запрещается.

3.20 При монтаже и демонтаже копра поворотная площадка базовой машины должна быть заторможена и должна располагаться точно вдоль продольной оси машины.

3.21 Все болтовые соединения копра должны быть тщательно затянуты и закреплены контргайками или шплинтами.

3.22 Все трущиеся части механизмов копра должны быть смазаны в соответствии с картами смазки и инструкцией по эксплуатации данной машины.

3.23 Ввод навесного копрового оборудования в эксплуатацию разрешается при наличии на него паспорта и соответствующей технической документации, в том числе инструкции по эксплуатации, монтажу и демонтажу, карт смазки и технического обслуживания, а также акта на окончание монтажных работ, имеющего заключение о технической исправности навесного копрового оборудования и базовой машины.

3.24 В состав комиссии по приемке копра в эксплуатацию входят производитель работ, мастер, главный механик строительной организации, бригадир копровщиков (его помощник), лицо, ответственное за техническое состояние базовой машины (крана, экскаватора), и машинист копра (базовой машины).

Акт приемки копра составляется в трех экземплярах, из которых один хранится на месте работ копра у производителя работ (мастера), второй - у главного механика строительной организации и третий - в управлении механизации владельца базовой машины.

3.25 К ремонту копрового оборудования допускаются только рабочие, имеющие соответствующие квалификационные свидетельства, а сварщики должны иметь удостоверения о сдаче экзаменов в соответствии с правилами Госгортехнадзора России.

3.26 Ввод копров в эксплуатацию допускается только при наличии обученного персонала и лиц, ответственных за организацию безопасной работы (последние назначаются приказом по строительной организации из числа инженерно-технических работников, одно лицо в каждую смену работ на объекте).

3.27 Копер и сваепогружающее средство (молот) вводятся в эксплуатацию после их приемки комиссией по акту. Комиссия назначается приказом по строительной организации.

4 ВЫГРУЗКА И СКЛАДИРОВАНИЕ СВАЙ, МЕТАЛЛИЧЕСКИХ БАЛОК И ТРУБ

4.1 Порядок транспортирования свай, места их разгрузки, складирования и раскладки, а также использование грузозахватных приспособлений определяются проектом производства работ (ППР).

4.2 Грузоподъемный кран, выполняющий разгрузку и перемещение свай, обслуживают такелажники - их число предусмотрено Правилами Госгортехнадзора России, и один из них назначается старшим.

4.3 При транспортировании и хранении железобетонных свай в штабелях каждая свая должна опираться на две деревянные прокладки, расположенные вблизи подъемных петель. Прокладки располагаются по одной вертикали. Высота прокладок должна на 2 - 5 см превышать высоту подъемных петель; ширина прокладок не менее 15 см. При транспортировании и хранении металлических свай (шпунта) в штабелях места расположения прокладок, их материал и форма устанавливаются технологической схемой складирования или расчетом, утвержденным главным инженером строительной организации.

4.4 При транспортировании и хранении в штабелях свай круглого (трубчатого) сечения должны быть приняты меры по предотвращению их раскатывания (расклинка, стяжка и т.п.).

4.5 Транспортирование и хранение в одном штабеле свай разных длин или сечений не допускается.

4.6 При транспортировании и складировании свай следует располагать их остриями в одну сторону.

4.7 Высота штабеля железобетонных свай квадратного и прямоугольного сечения на подкладках и с прокладками не должна превышать 2 м, а сваи круглого сечения (трубчатого) не более 1,5 м с прокладками между рядами и установкой упоров против раскатывания, при этом ширина штабеля менее его высоты не допускается. Высота штабеля металлических балок не должна превышать 1,5 м. При транспортировании количество рядов свай по высоте не должно быть более трех.

4.8 Складирование свай внутри котлованов и траншей не разрешается, за исключением случаев, специально предусмотренных ППР, с четким указанием мест расположения штабелей, их высоты, проездов между ними и требований по обеспечению безопасного производства работ.

Раскладка свай на спланированной площадке дна котлована для их подтаскивания к копру допускается только при однорядном расположении свай по высоте.

4.9 Подъем свай при погрузке, разгрузке, укладке в штабеля и раскладке их в котловане производится двухветвевым стропом для свай длиной до 12 м и траверсами - при длине более 12 м.

Угол, образованный двумя ветвями стропа, не должен превышать 90°. При невозможности обеспечить допустимый угол между ветвями стропа для подъема свай следует применять специальные траверсы независимо от длины свай.

4.10 Подъем свай при погрузке, разгрузке и транспортировании производится за монтажные петли. При отсутствии монтажных петель строповка производится кольцевым стропом. При этом строп следует располагать в местах, указанных проектом (или расчетом), и обозначенных на сваях краской или специальным штырем. Кольцевой строп следует накладывать на сваю равномерно без узлов и перекрутки. В целях предохранения каната от перегиба и перетирания под грани сваи подложить подкладки из дерева или инвентарные металлические. Подъем металлических свай (шпунтов, балок) может быть осуществлен за специально устроенные отверстия, места расположения которых определяются проектом (или расчетом).

4.11 Подъем сваи следует производить в два приема. Сначала сваю поднимают на высоту 20 - 30 см и в таком положении проверяют подвеску груза и устойчивость крана. Затем поднимают сваю на полную высоту и производят перемещение.

4.12 Место производства погрузочно-разгрузочных работ должно быть освещено согласно действующим нормам.

4.13 Схемы и способы строповки металлических балок и труб выполняются в соответствии с указаниями проекта производства работ (ППР) или расчетных схем рабочих чертежей.

4.14 Транспортировка и хранение в одном штабеле металлических балок и труб разного сечения не допускается.

4.15 Стропы и траверсы, применяемые для строповки и перемещения свай, металлических балок и труб, должны иметь клеймо завода-изготовителя, заводской номер, обозначение грузоподъемности и дату испытаний ОТК завода.

4.16 При разгрузке свай с автотранспорта необходимо:

- шоферу автомашины (тягача) заглушить двигатель, установить машину на тормоза и выйти из кабины на безопасное расстояние;

- стропальщику (копровщику) после строповки сваи удалиться с кузова или прицепа на безопасное расстояние и только после этого дать сигнал машинисту крана на подъем.

4.17 Направлять сваи во время подъема, укладки их в штабель или раскладки для подтаскивания разрешается только с помощью оттяжек, не касаясь при этом рукой сваи.

4.18 Перемещение копров на базовых машинах с гусеничным ходом и поворотной платформой на строительной площадке допускается только со стрелой, развернутой вдоль гусеничного хода, а имеющих копровые стрелы подвесного типа - со стрелой, опущенной под углом 45° и развернутой вдоль гусениц.

4.19 Передвижение копров с поднятой сваей запрещается. Поворот платформы базовой машины с копровой стрелой подвесного типа, расположенной вертикально и с вертикально установленной сваей, запрещается.

5 СТРОПОВКА, ПОДАЧА И ПОДЪЕМ СВАЙ, МЕТАЛЛИЧЕСКИХ БАЛОК И ТРУБ

5.1 Подача свай в котлован и их раскладка осуществляется кранами, находящимися внутри котлована или вне его, с соответствующими грузоподъемностью и вылетом.

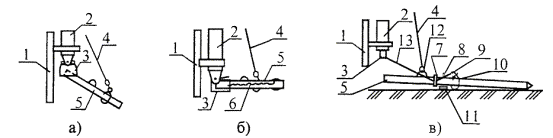
5.2 Подтаскивание свай к копру допускается только по спланированной площадке или дну котлована, не имеющим перепада в отметках в зоне видимости машиниста копра по прямой линии от места стоянки копра до места расположения сваи. Подтаскивание свай, схема которого показана на рисунке 1, осуществляется рабочим тросом копра на расстояние, не превышающее свободной длины рабочего троса, с помощью нижнего отводного блока, укрепленного на раме поворотной платформы базовой машины или нижней части копровой стрелы.

5.3 Использование для подтаскивания и подъема свай троса с верхнего блока с отклонением от вертикали разрешается только вблизи копра, когда сваи располагаются на расстояниях, указанных в таблице 5.

Рисунок 1 - Схема подтаскивания сваи:

1 - копер, 2 - мачта, 3 - рабочий канат, 4 - молот, 5 - нижний отводной блок, 6 - строп, 7 - свая.

Таблица 5 - Допустимая величина отклонения троса

Копер с подвесной копровой стрелой на базе экскаватора

Вылет стрелы копра, м

Допустимая величина отклонения троса, м, при подъеме свай, расположенных

рядом с копром

поперек оси копра

впереди копра по продольной оси

Э-10011 А, Д

8

3

2,5

Не более максимальной длины погружаемой сваи

Э-1252 БС

9

4

3

Э-1258

8

4

3

5.4 Подтаскивание копром свай, уложенных в штабель, лежащих на бровке котлована, а также зажатых другими изделиями (материалами) или примерзших не допускается.

По специальному (письменному) разрешению главного инженера строительной организации может быть проведено стаскивание тросом копра (крана или базовой машины) металлических балок и труб с верхнего ряда штабеля при следующих условиях:

- наличие свободного пространства около штабеля свай;

- высота штабеля не должна превышать 1,2 м;

- штабель после стаскивания с него очередной сваи сохраняет надежное положение лежащих в нем свай и обеспечивает безопасность работ по строповке следующей сваи;

- участок, где расположен штабель, не имеет находящихся рядом других штабелей или сооружений, которые могут быть нарушены или деформированы стаскиваемой сваей; основание участка при стаскивании на него сваи не подвергается разрушениям, требующим восстановительного ремонта;

- стаскивание свай производится только с использованием нижнего (отводного) блока, расположенного над уровнем земли не ниже 1 метра.

Разрешение на стаскивание металлических балок и труб из штабеля может быть дано в следующих случаях:

- прочность материала свай обеспечивает их недеформативность при сбрасывании со штабеля;

- сбрасывание свай со штабеля является технологической операцией, предусмотренной проектом производства работ.

Стаскивание (сбрасывание) железобетонных свай со штабеля категорически запрещается.

5.5 Организация рабочего места при подтаскивания сваи к копровой установке приведена на рисунке 2.

При подтаскивании сваи копровщики К1 и К2 производят строповку сваи «мертвой» петлей кольцевым стропом канатного типа СКК, после чего отходят на безопасное расстояние и копровщик К1 подает сигнал машинисту подтянуть сваю к копру. Подтягивание осуществляется сваеподъемным тросом копра с помощью нижнего отводного блока, укрепленного на нижней части копровой стрелы.

К1К2 - рабочие места копровщиков

1 - копровая установка, 2 - свая, 3 - строп канатного типа СКК1, 4 - трос сваебойного агрегата, 5 - отводной блок.

Рисунок 2 - Схема организации рабочего места при подтаскивании свай.

5.6 Строповка сваи для подъема на копер и установки ее под молот перед погружением может производиться следующими способами:

а)                                         б)                                              в)

L - длина сваи; 1 - свая; 2 - подъемная петля; 3 - свайный канат; 4 - карабин; 5 - страховочный строп; 6 - штырь-фиксатор; 7 - двухветвевой строп; 8 - кольцевой строп; 9 - прокладки (деревянные).

Рисунок 3 - Строповка свай длиной до 6 - 8 м (а, б) и более 6 - 8 м (в) при подъеме на копер

а) за подъемную петлю (для свай длиной до 8 м) согласно рисункам 3а и 3б;

1) строповка производится непосредственно за петлю карабином свайного троса с запирающимся устройством и дополнительным страховочным стропом способом «на удавку», закрепленным у фиксирующего штыря;

2) строповка производится с помощью двухветвевого стропа, на концах каждой ветви которого закрепляются карабины. Карабин, расположенный на основной ветви, зацепляется за подъемную петлю сваи, а второй карабин удерживает петлю страховочного стропа, охватывающего сваю «на удавку», в месте расположения фиксирующего штыря.

б) кольцевым стропом «на удавку» (для свай длиной более 8 м) согласно рисунку 3в;

Строповка производится карабином свайного троса за кольцевой строп, охватывающий сваю «на удавку» в месте расположения фиксирующего штыря.

в) шарнирно-закрепленным наголовником (для свай длиной до 6 м) согласно рисункам 4а и 4б;

Использование шарнирно-закрепленного наголовника разрешается только при условии достаточной грузоподъемности рабочего троса, на котором подвешен молот, для одновременного подъема молота и сваи.

Молот с прикрепленным к нему шарнирным наголовником устанавливается на высоте 2 - 2,5 м над землей. Свая после подтаскивания к копру приподнимается с помощью свайного троса до частичного ввода за щеки наголовника. Затем при небольшом опускании молота наголовник разворачивается и самостоятельно надевается на голову сваи.

Свая скрепляется с крюками наголовника тросовым петлевым соединителем и переводится в вертикальное положение поднятием молота одновременно со сваей. При заводе сваи в наголовник их соосность в плане не обязательна, так как подушка молота соединена с наголовником шарнирно.

г) устройством для одновременного подъема и установки сваи согласно рисунку 4в.

Использование устройства для подъема и установки сваи разрешается только при условии достаточной грузоподъемности рабочего троса, на котором подвешен молот, для одновременного подъема молота и сваи.

Молот устанавливается на копровой стреле в нижнем положении. Свая, подтянутая к копру для подъема, приподнимается с помощью свайного троса, и под нее в месте расположения штыря-фиксатора устанавливается деревянный брус (подкладка). Хомут устройства для подъема свай надевают на сваю и закрепляют в месте расположения фиксирующего штыря. Затем с помощью специальной подвески с крюком и кольцевого стропа производится захват сваи «на удавку» в целях страховки. После этого поднятием молота производится подъем сваи в вертикальное положение с одновременной заводкой ее головы за щеки наголовника.

Заводка головы сваи в наголовник

Опускание молота и закрепление наголовника

 

1 - мачта; 2 - молот; 3 - наголовник; 4 - свайный канат; 5 - свая; 6 - канатный петлевой соединитель; 7 - хомут (направляющая рамка); 8 - штырь фиксатор; 9 - подвеска с крюком; 10 - кольцевой строп; 11 - подкладка; 12 - петля; 13 - канаты подвески хомута.

Рисунок 4 - Схема подъема (а) и установки (б) сваи шарнирно-закрепленным наголовником и схема специального устройства для одновременного подъема молота и сваи (в)

5.7 Зачаливание сваи за молот (кроме случаев, указанных в п. 5.6) и одновременный подъем сваи с молотом запрещаются. Подъем сваи осуществляется после полного подъема молота на необходимую высоту.

5.8 Разворачивать сваю после ее подъема в вертикальное положение и установки острием на грунт разрешается только с помощью специальных ключей.

5.9 Во избежание раскачивания и ударов сваи о конструкции копра во время ее подъема следует применять специальные оттяжки из пенькового каната.

5.10 В поднятом состоянии свая для безопасности установки ее на ось забивки во время поворота платформы копра (экскаватора) должна прикрепляться к нижней части копровой стрелы кольцевым стропом или механическими захватами. Эти механические захваты служат и для повышения точности при забивке сваи.

5.11 В процессе подъема сваи копровщик должен находиться на безопасном расстоянии от поднимаемой сваи.

5.12 Поднимать и опускать сваю следует плавно, без резких рывков и переключений механизмов копра, в том числе и с прямого хода на обратный.

5.13 Длина сваи должна быть не больше полезной высоты копровой стрелы, указанной в паспорте копра.

5.14 Организация рабочего места при подъеме и установке сваи в шарнирный наголовник копра (для свай до 6 метров) представлена на рисунке 5.

Машинист установки устанавливает молот с прикрепленным к нему шарнирным наголовником на высоте 2 ... 2,5 м над землей. Свая поднимается свайным тросом в положение I, а копровщики К1 и К2 оттяжками заводят сваю в оголовник. Затем машинист установки опускает молот и свая самостоятельно одевается на наголовник, принимая положение II. Машинист выключает копровую установку. Копровщики К1 и К2 скрепляют сваю с крюками наголовника тросовым петлевым соединителем и снимают оттяжки.

К1К2 - рабочие места копровщиков, L - длина сваи

1 - копровая установка, 2 - шарнирный наголовник, 3 - свая, 4 - оттяжка, 5 - свайный трос, 6 - тросовый петлевой соединитель, 7 - молот, 8 - копровая стрела

Рисунок 5 - Схема организации рабочего места при подъеме и установке сваи в наголовник копра

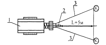
5.15 Схема организации рабочего места при заводке сваи в оголовок копра представлена на рисунке 6.

К1К2 - рабочие места копровщиков, L - длина сваи

1 - копровая установка, 2 - свая, 3 - кольцевой строп, 4 - оттяжки (пеньковый канат Æ 16 - 18 мм), 5 - хомут для закрепления оттяжек

Рисунок 6 - Схема организации рабочего места при заводке сваи в оголовок копра

После того, как свая подтянута к копровой установке на расстояние 1/3 своей длины, машинист копра останавливает установку, а копровщики производят перестроповку кольцевого стропа к карабину сваеподъемного троса.

Копровщик К2 устанавливает предохранительные уголки на грани сваи, закрепляет оттяжки и отходит на безопасное расстояние (L + 5 м).

Копровщик К1 отойдя на безопасное расстояние (L + 5 м), подает сигнал машинисту поднять сваю. Машинист копровой установки сваеподъемной лебедкой плавно поднимает дизель-молот со сваей, а копровщики К1 и К2 оттяжками разворачивают ее тыльной стороной к направляющей копровой стрелы.

5.16 Организация рабочего места при подъеме и установке сваи на точку погружения представлена на рисунке 7.

К1К2 - рабочие места копровщиков, L - длина сваи

1 - сваебойная установка, 2 - свая, 3 - оттяжка.

Рисунок 7 - Схема организации рабочего места при подъеме и установке сваи на точку погружения

Строповка подтянутой сваи производится карабином сваеподъемного троса за кольцевой строп канатного типа, который охватывает сваю «мертвой» петлей. Копровщики заводят кольцевой строп в обхват сваи ниже петли и, сделав петлю, цепляют свободный конец стропа за карабин сваеподъемного троса. Копровщик К2 устанавливает инвентарные прокладки на ребра сваи, закрепляет оттяжки, а затем отходит на безопасное расстояние (L + 5 м).

Копровщик К1 отойдя на безопасное расстояние (L + 5 м), подает сигнал машинисту поднять сваю. Машинист копровой установки сваеподъемной лебедкой заводит сваю в наголовник дизель-молота, поднятого на мачте с помощью лебедки главного подъема, а копровщики К1 и К2 оттяжками разворачивают ее тыльной стороной к направляющей копровой стрелы. Подняв сваю, машинист опускает ее так, чтобы она своим острием касалась грунта, а оголовником - направляющих копровой стрелы. Затем машинист увеличивает натяжение сваебойного троса, отводит верх сваи от стрелы и опускает наголовник с молотом, захватывая оголовник сваи ловителем наголовника. Машинист копра дополнительно поднимает сваю на 0,3 - 0,5 м и фиксирует ее в таком положении, поворотом платформы наводит острие сваи на точку погружения. По сигналу копровщика К1 машинист ослабляет натяжение сваеподъемного троса и плавно опускает сваю на грунт на место забивки.

6 ЗАБИВКА СВАЙ, МЕТАЛЛИЧЕСКИХ БАЛОК И ТРУБ

6.1 Забивка свай, металлических балок и труб производится навесным оборудованием на базе кранов-экскаваторов, техническая характеристика которых дана в таблице 6, в последовательности, указанной в проекте производства работ в соответствии с рабочими чертежами проекта. При устройстве ограждений котлованов в тяжелых грунтах трубы погружают (осаждают) в заранее пробуренные скважины как показано на рисунке 8.


УСЛОВНЫЕ ОБОЗНАЧЕНИЯ:

 Временное ограждение

 Трап для спуска рабочих в котлован

 Места забивки свай или заранее пробуренные скважины для погружения труб

 Временная дорога

* Забитые сваи (трубы)

L - Длина сваи

 Граница опасной зоны

 

lотл. - минимальное расстояние отлета груза (табл. Г1 СНиП 12-03-2001)

Рисунок 8 - Технологическая схема забивки свай или погружения труб


6.2 Запрещается вести забивку в охранных зонах подземных коммуникаций и воздушных линий электропередачи без согласования с эксплуатационной организацией.

6.3 Расстояние от места забивки свай до расположения действующих коммуникаций (газопровод, водопровод, канализация и т.д.) составляет не менее 3 м, а в зимний период - не менее 5 м и должно быть согласовано с организацией, эксплуатирующей коммуникации.

В акте приемки-передачи площадки под забивку свай, металлических балок и труб должны быть указаны тип, месторасположение подземных коммуникаций и наличие согласований на производство свайных работ с организациями, эксплуатирующими коммуникации.

Забивка в вышеуказанных случаях, а также вблизи проложенных электрокабелей и в охранной зоне воздушных линий электропередачи производится только при наличии наряда-допуска, подписанного главным инженером строительной организации, и ППР, согласованных с эксплуатационной организацией.

Таблица 6 - Техническая характеристика кранов-экскаваторов

Марка крана

Длина стрелы, м

Грузоподъемность, т

Вылет крюка, м

Высота подъема крюка, м

Масса, т

На min вылете

на max вылете

min

max

при min вылете

при max вылете

Э-10011А

12,5

15

3,7

3,8

12

9,2

5,8

34,5

Э-10011Д

15,0

12,3

3,0

4,53

14,15

12,0

7,0

34,77

 

17,5

9,5

2,6

5,09

16,33

14,5

7,5

34,95

 

20,0

8,45

2,1

5,65

18,47

18,2

9,6

35,1

 

25,0

5,0

1,0

6,4

22,8

24,0

12,3

35,3

Э-1252БС

12,5

20,0

3,9

4,0

13,1

10,7

3,5

38,8

Э-1258

15,0

13,9

3,5

4,5

13,6

13,9

6,3

39,42

 

17,5

10,8

3,2

5,1

13,6

16,3

12,2

-

 

20,0

9,0

2,6

5,65

15,5

19,3

14,5

39,6

 

22,5

7,9

2,1

6,5

17,2

20,8

15,3

-

 

25,0

7,0

1,7

6,5

19,0

22,1

16,7

40,0

 

27,5

5,1

1,35

7,2

20,0

23,8

18,2

-

 

30,0

4,0

1,0

7,5

22,5

25,2

20,0

40,5

6.4 Допуск бригады к выполнению работ разрешается только после ознакомления (под расписку) всех ее членов с проектом производства работ и рабочим проектом данного объекта и инструктажа на рабочем месте с выдачей наряда на особо опасные работы, подписанного главным инженером управления, ведущего работы по забивке свай.

6.5 Работа копра без оформления акта о вводе его в эксплуатацию запрещается.

6.6 При подъеме сваи на копровую стрелу молот (с опущенной ударной частью) поднимается в такое положение, при котором его нижняя часть будет выше поднятой сваи на 0,5 м.

Такое же расстояние должно сохраняться и для случаев, когда нижняя часть молота оснащена наголовником.

6.7 Ось копровой стрелы (копровой мачты) и ось погружаемой сваи должны соответствовать проектному положению сваи.

6.8 Оставлять погружаемую сваю или молот подвешенными на тросе копра запрещается. Наголовники и молот (или молот, оснащенный наголовником) опускаются на сваю после установки ее на точку забивки и разворота граней по заданным осям.

6.9 При перемещении копра по строительной площадке молот должен находиться в нижнем положении.

6.10 Нахождение людей непосредственно под молотом или подвешенной сваей запрещается.

6.11 Перед пуском молота в работу бригадир (звеньевой) обязан предупредить об этом всех, находящихся у копра, и лично убедиться, что люди находятся на своих рабочих местах.

Допуск к рабочим местам посторонних лиц запрещается.

6.12 При погружении железобетонных свай в грунт для предохранения голов свай от разрушения, а копровщиков - от поражения осколками следует применять специальные наголовники с деревянными или резиновыми вкладышами - амортизаторами.

6.13 В целях избежания излишней высоты подъема молота в процессе погружения конструкции следует устанавливать специальные ограничители подъема молота.

6.14 Ремонтировать или смазывать копры и молоты во время их работы запрещается.

6.15 Запрещается оставлять на копровой стреле, ферме и других механизмах копра после их ремонта какие-либо предметы или инструменты.

6.16 Выдергивание и извлечение поврежденных или отклонившихся от проектных допусков свай, металлических балок и труб копровыми установками запрещается.

6.17 Работа копров на слабых или водонасыщенных грунтах в условиях засасывания грунтом ходовых устройств, а также перемещение копра по воде не допускаются. Для возможности обеспечения перемещений и работы копров на слабых или водонасыщенных грунтах в соответствии с требованиями безопасности и нормальной эксплуатации должны быть разработаны проекты, предусматривающие использование специальных заранее заготовленных деревянных щитов, дорожных плит или других конструкций.

6.18 В зимних условиях должны быть приняты меры обеспечения мероприятий зимнего производства работ против вмерзания ходовой части копра в грунт, нормальной работы узлов и механизмов копра и молота, техники безопасности и т.д.

6.19 В случае поломки или отклонения сваи в процессе ее погружения от нормативных (проектных) допусков работы по дальнейшему ее погружению следует прекратить и забить дублирующую сваю. В случае невозможности применения сваи-дублера необходимо вызвать представителя проектной организации для решения вопроса о дальнейшем использовании бракованной погруженной сваи. Выдергивание бракованных свай разрешается только с помощью специализированных средств для извлечения свай. Использование для этой цели копров не допускается.

6.20 В целях обеспечения правильного погружения свай необходимо:

- использовать сваи, отвечающие требованиям ГОСТ;

- произвести выбор сваепогружающего средства (молота), обеспечивающего погружение свай до проектных отметок с соблюдением их проектного положения в пределах, установленных проектом (СНиП) допусков;

- обеспечить в процессе погружения соосность забиваемой сваи и ударной части используемого молота;

- проводить постоянный контроль за качеством работ, связанных с погружением свай.

7 ОБЯЗАННОСТИ И ОТВЕТСТВЕННОСТЬ ДОЛЖНОСТНЫХ ЛИЦ И ОБСЛУЖИВАЮЩЕГО ПЕРСОНАЛА.

7.1. Производитель работ (мастер, механик), выполняющий свайные работы, монтаж и демонтаж копра, перемещение и складирование свай, должен быть аттестован как лицо, ответственное за безопасное производство работ по перемещению грузов кранами.

7.2. Производитель работ или мастер, назначенные приказом по строительной организации в качестве непосредственных технических руководителей объекта свайных и других относящихся к ним работ, несут полную ответственность за выполнение работ в соответствии с проектом производства работ и правилами техники безопасности.

7.3. На производителя работ и мастера возлагается ответственность за:

- осуществление правильного руководства работами с применением исправных и соответствующих своему назначению машин, механизмов, механизированного инструмента, оборудования и инвентаря;

- обеспечение исправного состояния и правильной эксплуатации подмостей, креплений, ограждений, стремянок и т.д., а также порядка и чистоты строительной площадки, рабочих мест, проходов, проездов, спусков, трапов, пандусов и т.п.;

- оформление нарядов-допусков на право работы в охранных зонах линий электропередачи, расположения электрокабелей, подземных коммуникаций и т.д.;

- контроль и правильное использование спецодежды и индивидуальных защитных приспособлений;

- инструктаж рабочих на рабочем месте по вопросам техники безопасности, охраны труда и правил выполнения работ;

- правильное использование рабочих по их профессиям и квалификации, а также соблюдение режима рабочего времени и отдыха, в том числе при неблагоприятных метеорологических условиях и в зимний период с созданием условий для обогрева рабочих и охраны их здоровья;

- обеспечение питьевой и бытовой водой, аптечкой, предупредительными надписями, плакатами, схемами и графиками;

- получение до начала работ на объекте всей необходимой технической документации, в том числе проекта производства работ, технологических карт и рекомендаций о мероприятиях по технике безопасности и охране труда;

- проведение по утвержденному графику совместно с бригадиром (звеньевым), участковым механиком и машинистом копра осмотра копра и вспомогательного оборудования, канатов, стропов, инструмента и защитных средств с оформлением результатов осмотра в соответствующих журналах и актах;

- обеспечение высокого уровня трудовой дисциплины и выполнение правил внутреннего распорядка и техники безопасности.

При обнаружении неисправности машин, вспомогательного оборудования, канатов, стропов, инструмента и защитных средств следует немедленно остановить работу, а дефектное оборудование и инструмент отбраковать и изъять из сферы действия с немедленным их ремонтом или заменой; применение механизмов, крюков, карабинов и других приспособлений, оборудования и инвентаря, изготовленных кустарным способом, запрещается.

7.4. Ответственность за обеспечение безопасности производства работ по перемещению грузов на каждом участке работ в течение каждой смены может быть возложена только на одного инженерно-технического работника, назначенного приказом по строительной организации. Его фамилия должна быть указана на табличке, помещенной на видное место, а приказ о назначении такого работника должен находиться на участке производства работ.

7.5. Производитель работ и мастер при выполнении работ обязаны:

- выдавать бригаде задание и проводить инструктаж на рабочем месте;

- убедиться в знании рабочим технологии выполнения проводимых им работ;

- обеспечить надзор за правильным и безопасным использованием оборудования, приспособлений, автоматических установок и инструментов;

- обеспечить знание и выполнение персоналом соответствующих правил настоящих Указаний и требований СНиП III-4-80* «Техника безопасности в строительстве» и СНиП 12-03-2001 «Безопасность труда в строительстве. Часть 1. Общие требования».

7.6. Личное присутствие производителя работ и мастера на объекте работ обязательно при:

- приемке площадки и котлована под забивку свай, металлических балок и труб от генподрядной организации;

- монтаже и демонтаже копра (при участии в работах механика участка присутствие производителя работ не обязательно);

- осмотре комиссией копра после его монтажа в целях актирования его работоспособности;

- заезде и выезде копров по пандусу в котлован и из котлована;

- пробной забивке и динамических испытаниях свай;

- организации работ по перемещению грузов кранами;

- производстве массовой забивки свай с проведением ежедневной проверки хода работ и состояния техники безопасности;

- производстве работ на объекте с нарядом-допуском.

7.7. Производитель работ и мастер должны руководствоваться в своих действиях:

- проектом производства работ, утвержденным для данного объекта строительства;

- данными Указаниями;

- правилами техники безопасности, предусмотренными главами 9, 13 и 17 СНиП III-4-80* и СНиП 12-03-2001;

- инструкциями по эксплуатации и паспортами заводов-изготовителей на используемые машины и оборудование;

- утвержденными Госгортехнадзором России «Правилами устройства и безопасной эксплуатации грузоподъемных кранов» ПБ 10-382-00;

- рабочим проектом возводимых сооружений.

7.8. Главный механик или механик участка обязан:

- осуществлять технический надзор и нести ответственность за исправное состояние копров, выполнение правил техники безопасности при монтаже, демонтаже, ремонте, перебазировке и правильную эксплуатацию копра, если они находятся на балансе строительного управления или арендованы в управлении механизации без соответствующего персонала;

- давать письменные заключения в акте технического осмотра копра и молотов о вводе их в эксплуатацию;

- составлять графики планово-предупредительных ремонтов копров и погружающих средств с обеспечением ремонта квалифицированными исполнителями;

- обеспечивать по разработанным в соответствия с требованиями СНиП схемам электроосвещение объектов и бытовых помещений;

- обеспечивать нормальную работу водоотливных средств на объекте строительства.

7.9. Бригадир копровщиков и звеньевой (машинист молота) обязаны:

- изучить проект производства работ и рабочие чертежи сооружений, возводимых на объекте, и ознакомить с ними членов бригады;

- ознакомиться до начала работ с особенностями предстоящих работ и условиями их проведения;

- получить совместно с членами бригады от технического руководства инструктаж по организации технологи производства работ и безопасным методам их выполнения;

- проверить совместно с производителем работ и мастером при участии механика участка техническое состояние копра после монтажа (демонтажа) или ремонта;

- проверять ежесменно перед началом работ техническое состояние средств погружения свай, механизмов копра, базовой машины, такелажной оснастки, чалочных приспособлений, тросов, защитных средств, инвентаря и т.п.; все неисправное должно быть забраковано;

- проверять ежесменно перед началом работ состояние строительной площадки, рабочей зоны, откосов, пандусов, мест раскладки железобетонных свай, металлических балок и труб, штабелей и т.д. с целью исключения несчастных случаев;

- расставить членов бригады по рабочим местам в соответствии с указанием производителя работ (мастера), с соблюдением требований техники безопасности;

- лично руководить подтаскиванием, подъемом и забивкой свай, металлических балок и труб, подавая команду машинисту копра на каждую операцию, вести журнал погружения свай и замеры отказов;

- проверять надежность строповки конструкций, способов их подтаскивания, а также правильность подъема и установки их на место погружения;

- следить за исправностью и выполнением режима работы молота или других погружающих средств;

- следить за использованием всеми членами бригады соответствующей спецодежды и средств индивидуальной защиты (защитные каски, защитные очки, предохранительные пояса и т.д.);

- проверить наличие у копровщиков и машиниста удостоверений на право производства свайных работ;

- не допускать посторонних лиц в зону производства работ;

- отстранять от работы членов бригады в случае нарушения ими трудовой или технологической дисциплины.

7.10. Инженерно-технический работник управления механизации, назначенный приказом и ответственный за техническое состояние машин и оборудования, обязан:

- осуществлять технический надзор и нести ответственность за исправное состояние копра, если он находится на балансе управления механизации, а машинисты находятся в штате управления механизации;

- осуществлять по графику планово-предупредительные ремонты, результаты которых записывают в бортовой журнал машиниста.

7.11. Машинист копра должен быть обучен по утвержденной программе, аттестован квалификационной комиссией и иметь удостоверение на право управления копром.

7.12. Машинист копра несет полную ответственность за техническое состояние и правильное (безопасное) использование копра.

7.13. В процессе работы копра (подтаскивание, подъем, забивка свай, металлических балок и труб) и при его перемещении по площадке машинист выполняет команды бригадира (звеньевого). Сигнал «Стоп» машинист выполняет независимо от того, кем он подан.

7.14. Машинист копра должен знать:

- производственную инструкцию по эксплуатации машины и техническую документацию завода-изготовителя;

- установленный порядок подачи сигналов;

- факторы, влияющие на устойчивость копра в процессе его эксплуатации и перемещений;

- правила работы в охранных зонах вблизи линий электропередачи и других опасных участков по наряду-допуску;

- безопасные способы строповки комплектующего оборудования, средств погружения и погружаемых свай;

- условия браковки стальных канатов, чалочных приспособлений и грузозахватных устройств;

- проект производства работ на данном объекте;

- требования Указаний и правил безопасного производства работ при эксплуатации машины.

7.15. Машинист копра (базовой машины) обязан:

- перед началом работы ознакомиться с техническим состоянием копра по записям в журнале и принять его от сменщика, а при одновременной работе убедиться в исправности копра лично, и только после этого включать его в работу (включение муфт и тормозов нужно производить плавно, не допуская рывков и раскачивания стрелы);

- систематически проверять техническое состояние копра в течение рабочей смены; осмотр копра в темное время суток производится с переносной лампой. Внешнему осмотру подлежат: двигатель, лебедки (минимальный запас витков каната на барабане должен быть не менее 1,5), фрикционы, тормоза, гидросистемы, металлоконструкции, стрелы и их подвески, ролики, блоки, канаты, предохранительные устройства и приспособления, средства оснащения и звуковой сигнализации (внешний осмотр проводится только при неработающем двигателе и установленном на стопор в нижней части стрелы молоте). Результаты проверки заносятся в бортовой журнал;

- до производства свайных работ ознакомиться с их составом и условиями их выполнения;

- получить наряд-допуск, если предстоит работа в охранной зоне ЛЭП или в зоне коммуникаций;

- получить от производителя работ или мастера инструктаж на рабочем месте по технике безопасности;

- перед началом любого действия копра дать звуковой сигнал;

- при обнаружении мелких дефектов или перебоев в работе механизмов машины немедленно их устранить;

- обо всех замеченных неисправностях копра, его оснастки и т.д. немедленно ставить в известность производителя работ и бригадира (мастера и звеньевого). В случае обнаружения серьезной неисправности машины следует остановить работы и доложить лицу, ответственному за техническое состояние и ремонт машины, или руководству строительной организации (управления механизации). До устранения неисправности возобновлять работы запрещается;

- выполнять инструкции и правила техники безопасности по эксплуатации и содержанию копровой установки;

- не допускать нарушений правил техники безопасности при производстве свайных работ как лично, так и со стороны рабочих, выполняющих эти работы.

7.16. За невыполнение или нарушение правил техники безопасности и трудовой дисциплины при эксплуатации машины, приведших к аварии или несчастному случаю, машинист несет ответственность наряду с инженерно-техническим работником, ответственным за данное действие.

7.17. Рабочие, занятые на свайных работах, должны выполнять только ту работу, которая им поручена производителем работ (мастером) или бригадиром (звеньевым). Работа по личной инициативе не допускается.

7.18. При выполнении производственного задания рабочий обязан не нарушать правил техники безопасности, соблюдать трудовую дисциплину и меры личной предосторожности.

7.19. Знание и выполнение данных Указаний инженерно-техническим персоналом и рабочими, занятыми на свайных работах, обязательно.

7.20. Администрация строительной организации обеспечивает настоящими Указаниями всех рабочих и инженерно-технических работников, связанных с производством свайных и сопутствующих работ, и осуществляет контроль за соблюдением приведенных в них требований.

7.21. Вновь обученные рабочие могут быть допущены к самостоятельной работе копровщика или машиниста после вводного инструктажа по технике безопасности; первичного инструктажа на рабочем месте, недельной (для копровщиков) или месячной (для машиниста) стажировки.

7.22. Инструктаж бригады проводится производителем работ (мастером):

- при новых условиях производства работ;

- при смене копрового или сваепогружающего оборудования;

- при замене одного или нескольких членов бригады;

- при особых обстоятельствах, связанных с местными условиями;

- по требованию авторского или технического надзора, а также лиц, ответственных за качество и безопасность работ.

7.23. Администрация строительной организации устраивает проверку знаний членов бригады квалификационной комиссией не реже одного раза в 12 месяцев, а также:

- при переходе из другой организации;

- при замене средств механизации;

- при фактическом перерыве в работе по специальности более полугода;

- по требованию лиц, осуществляющих надзор за безопасной эксплуатацией, инспекции профсоюза или вышестоящей организации.

7.24. Администрация строительной организации должна создать машинисту и копровщикам условия, позволяющие выполнять требования настоящих Указаний и правила эксплуатации машин в соответствии с инструкциями завода-изготовителя, в частности:

- содержать в исправном состоянии копер, базовую машину, средства погружения и оснастку;

- выполнять график планово-предупредительных ремонтов машин и оборудования;

- обеспечить машиниста и копровщика производственной инструкцией, таблицами массы погружаемых свай, графическим изображением правильных способов, строповки (зацепки) свай и настоящими Указаниями;

- предусмотреть в распорядке дня машиниста время, необходимое для осмотра копра и приемки его от сменщика;

- установить единый порядок обмена условными сигналами между машинистом и копровщиками;

- обеспечить возможность производства свайных работ после полностью завершенного смежного технологического процесса (например, устройства котлована, подготовки площадки и т.п.);

- обеспечить машиниста и копровщиков спецодеждой и личными средствами безопасного производства работ согласно предъявляемым нормам и требованиям.

7.25. Выдача должностным лицом строительной организации указаний или распоряжений, принуждающих подчиненных нарушать правила техники безопасности и требования руководств и инструкций, самовольно возобновлять работы, приостановленные техническими инспекциями или надзором, а также непринятие мер для устранения нарушений правил и инструкций, допускаемых рабочими или другими подчиненными лицами в их присутствии, являются грубейшим нарушением производственной дисциплины и должны строго караться в административном, а при нанесении ущерба - в уголовном порядке.

8 ТРЕБОВАНИЯ ТЕХНИКИ БЕЗОПАСНОСТИ, ОХРАНЫ ТРУДА И ПОЖАРНОЙ БЕЗОПАСНОСТИ

8.1 ОБЩИЕ ТРЕБОВАНИЯ

8.1.1 К управлению копром, а также к выполнению всех работ, связанных с погружением свай, монтажу и демонтажу копров допускаются лица не моложе 18 лет, имеющие профессиональные навыки, прошедшие медицинское освидетельствование и признанные годными, получившие знания по безопасным методам и приемам производства работ, сдавшие экзамены квалификационной комиссии в установленном порядке и получившие соответствующие удостоверения.

Проверка знаний безопасных методов производства работ проводится ежегодно.

8.1.2 Машинист копра должен иметь удостоверение на право управления копром с указанием марки копра.

Машинист копра должен знать инструкцию завода-изготовителя по монтажу, эксплуатации копра и технике безопасности.

8.1.3 Вновь поступившие на работу должны пройти вводный инструктаж и первичный инструктаж на рабочем месте согласно ГОСТ 12.0.004-90. О проведении вводного инструктажа и проверке знаний делается запись в журнале регистрации вводного инструктажа и личной книжке по технике безопасности с обязательной подписью инструктируемого и инструктирующего.

8.1.4 Первичный инструктаж на рабочем месте проводит непосредственный руководитель работ с каждым рабочим индивидуально с практическим показом безопасных методов и приемов работы.

8.1.5 Повторный инструктаж по безопасности труда проводится с каждым работником не реже одного раза в три месяца.

8.1.6 После проведения первичного инструктажа на рабочем месте и проверки знаний рабочие в течение 2 - 5 смен (в зависимости от стажа, опыта работы и ее характера) должны выполнять работу под руководством мастера или бригадира, после чего оформляется их допуск к самостоятельной работе. Допуск к самостоятельной работе фиксируют в журнале регистрации инструктажа на рабочем месте с обязательной подписью инструктирующего и датой.

8.1.7 Внеплановый инструктаж проводится при изменении правил по охране труда, технологического процесса, замене или модернизации оборудования, приспособлений, инструмента, нарушении работниками требований безопасности труда, которые могут привести или привели к травме, аварии, взрыву или пожару, а также при перерывах в работе более чем на 30 календарных дней.

8.1.8 Перед выполнением работ в особо опасных условиях должен проводиться текущий инструктаж с выдачей наряд-допуска, определяющего безопасные условия работы. Проведение текущего инструктажа фиксируется в наряде-допуске.

8.1.9 Знания, полученные при инструктаже, проверяет работник, проводивший инструктаж.

8.1.10 Рабочий, показавший неудовлетворительные знания после получения инструктажа, к работе не допускается. Он обязан вновь пройти инструктаж.

8.1.11 О проведении первичного инструктажа на рабочем месте, повторного и внепланового лицо, проводившее инструктаж, делает запись в журнале регистрации инструктажа на рабочем месте (личной карточке инструктажа) с обязательной подписью инструктируемого и инструктирующего. При регистрации внепланового инструктажа следует указать причину, вызвавшую его проведение.

8.1.12 Копровщики, выполняющие весь комплекс работ по сооружению свайного основания, должны быть обучены безопасным методам и приемам производства работ в полном объеме по основной и совмещаемой профессиям и иметь удостоверения, на право выполнения соответствующих работ.

8.1.13 В темное время суток все рабочие площадки копра, а также зона производства работ должны быть освещены в соответствии с действующими нормами. Запрещается работать в темное время суток при отсутствии электрического освещения, а также при резком ухудшении видимости (дождь, снегопад, туман, гроза).

8.1.14 Запрещается выполнять работу при скорости ветра выше пределов, предусмотренных в паспорте машины.

8.1.15 При отрицательной температуре площадки копра должны быть очищены от снега и льда и посыпаны песком.

8.1.16 Подавать команду при работе копра следует знаковыми сигналами, отвечающими требованиям ГОСТ 12.4.026-76*.

8.1.17 Все рабочие, обслуживающие копер, должны знать эту сигнализацию. Сигналы должны подаваться одним лицом (сигнальщиком, стропальщиком, звеньевым), кроме сигнала «Стоп», который может быть подан любым лицом, заметившим опасность. Сигнальщик должен иметь нарукавную повязку. Запрещается использовать промежуточных сигнальщиков для передачи сигналов машинисту.

8.1.18 Промасленные обтирочные материалы (тряпки, ветошь) следует хранить в металлических ящиках или ведрах с плотно закрывающимися крышками. Запас керосина и масла, необходимый для промывки и смазки ремонтируемых деталей, нужно хранить в прочных металлических бидонах в специально отведенных для этого местах. Тару из-под горюче-смазочных материалов необходимо убирать в специально отведенные места.

8.1.19 На всех механизмах и движущихся частях копровой установки должны быть установлены необходимые ограждения. Запрещается во время работы механизмов снимать предохранительные щиты и ограждения, а также производить внутренний осмотр, смазку и ремонт механизмов.

8.1.20 Подключение электрокабеля, ремонт и необходимые исправления в электросети, проверку и ремонт ручных электрических машин разрешается производить только электромонтеру или электромеханику, имеющему квалификационную группу по технике безопасности не ниже III.

8.1.21 Машинист копра должен иметь II квалификационную группу по технике безопасности.

8.1.22 Во время работы машинисты копров и копровщики должны пользоваться средствами индивидуальной защиты в соответствии с типовыми отраслевыми нормами.

8.1.23 Допуск посторонних лиц, машинистов копров и копровщиков в нетрезвом состоянии на территорию строительной площадки, В производственные санитарно-бытовые помещения и на рабочие места запрещается.

8.2 ТРЕБОВАНИЯ БЕЗОПАСНОСТИ ПЕРЕД НАЧАЛОМ РАБОТ

(для копровщиков)

8.2.1 Перед началом работы копровщик обязан:

- получить исправный инструмент;

- проверить исправность ограждений, предохранительных устройств, рабочих настилов;

- проверить исправность механизмов, оборудования и инструмента, применяемых для погружения свай.

При обнаружении неисправностей нужно доложить о них прорабу или мастеру и до устранения неисправностей к работе не приступать.

8.2.2 Грузоподъемные приспособления (стропы, траверсы) должны удовлетворять следующим требованиям:

- грузоподъемные крюки должны быть снабжены предохранительными замыкающими устройствами, предотвращающими самопроизвольное выпадение груза;

- стропы должны иметь клеймо или прочно прикрепленную бирку с указанием номера, грузоподъемности и даты изготовления;

- стропы не должны иметь оборванных прядей проволок свыше установленной нормы, а также заломов, узлов;

- ключи, траверсы, захваты и другие съемные грузозахватные приспособления должны иметь заводское клеймо с указанием номера, грузоподъемности и даты изготовления.

Применять, подбирать и выбраковывать грузозахватные приспособления, стальные канаты, стропы, чалки следует в соответствии с действующими «Правилами устройства и безопасной эксплуатации грузоподъемных кранов» Госгортехнадзора России выписка из которых представлена в таблице 7.

Таблица 7 - Данные по числу обрывов проволок

Первоначальный коэффициент запаса прочности при Д:d

Конструкция канатов

6´19 = 114 и один органический сердечник

6´37 = 222 и один органический сердечник

6´61 = 366 и 18´19 = 342 и один органический сердечник

Число обрывов проволок на длине одного шага свивки каната, при котором канат должен быть забракован

крестовой

односторонней

крестовой

односторонней

крестовой

односторонней

До 6

12

6

22

11

36

18

6,7

14

7

26

13

38

19

Свыше 7

16

8

30

15

40

20

Примечания

1. Д - диаметр барабана, мм; d - диаметр каната, мм.

2. Число проволок наружного слоя прядей берется по ГОСТ или определяется подсчетом на канате. При наличии у каната поверхностного износа или коррозии проволок число обрывов на шаге свивки как признак браковки должно быть уменьшено в соответствии с таблицей 8.

Таблица 8 - Исходные данные браковки каната

Уменьшение диаметра проволок в результате поверхностного износа и коррозии

Число обрывов проволок на шаге свивки, % от норм, указанных в таблице 8

10

85

15

75

20

70

25

60

30 и более

50

Приспособления должны иметь заводское клеймо с указанием номера, грузоподъемности и даты изготовления.

8.2.3 Запрещается во время работы натягивать и перегибать кабель, шланг, паропровод и на них ставить груз. Не допускается пересечение кабеля, шланга, паропровода с тросами, электрокабелями, электросварочными проводами, шлангами газосварочного аппарата.

8.2.4 Работы на высоте более 1,3 м при отсутствии ограждений следует производить с использованием предохранительных поясов и в нескользящей обуви. Места крепления предохранительного пояса указываются руководителем работ. При работе без ограждений инструменты должны быть прикреплены к поясу работающего шкертами (короткая прочная веревка). Запрещается раскладывать инструмент, болты и метизы по карманам.

8.2.5 Предохранительный пояс должен иметь бирку с указанием даты очередного испытания и номера. Независимо от наличия бирки пояс перед работой должен быть тщательно осмотрен.

8.2.6 Запрещается связывать звенья цепи предохранительного пояса между собой, а также прикреплять звено цепи проволокой к кольцу пояса или карабину.

8.2.7 Ручной инструмент должен удовлетворять следующим требованиям:

- слесарные молотки и кувалды должны быть прочно и правильно (под прямым углом) насажены на гладкие обработанные рукоятки овального сечения из твердых пород сухого дерева и надежно закреплены стальными заершенными клиньями;

- бойки молотков и кувалд должны быть гладкими, слегка выгнутыми, не иметь заусениц;

- гаечные ключи должны соответствовать размерам гаек и болтов. Губки ключей должны быть параллельными, поверхности их не должны иметь сбитых откосов, а рукоятки - заусениц. Запрещается наращивать ключи другими предметами;

- ножовки, отвертки, напильники и др. инструменты, имеющие острые концы для насадки ручек, должны быть прочно укреплены в рукоятках, стянутых металлическим кольцом;

- ударные инструменты (зубила, бородки, просечки и др.) должны быть правильно заточены и не иметь повреждений на рабочих концах. Затылочные части не должны иметь скошенных или сбитых поверхностей, заусениц, вмятин, трещин и выбоин.

8.2.8 Для переноски и хранения инструментов, крепежных и других деталей необходимо применять индивидуальные ящики или сумки с несколькими отделениями.

8.2.9 Запрещается разбрасывать на рабочем месте, а также хранить и оставлять (даже в ящиках) инструменты и другие предметы на площадках стрелы (башни) копра. Шкворень (под молот) должен храниться в специальном устройстве.

8.2.10 Все рабочие площадки копра и лестницы должны быть надежно укреплены и иметь перила высотой 1,1 м с бортовым ограждением по низу высотой не менее 0,15 м.

На вертикальных лестницах, а также на лестницах с углом наклона к горизонту более 75° при высоте более 5 м, начиная с 3 м должны быть ограждения в виде дуг (колец) с продольными связями (полосами). Дуги должны располагаться на расстоянии не более 0,8 м друг от друга.

8.2.11 Копер должен иметь ограничитель высоты подъема молота, указание (надпись) на ферме или раме копра о предельной массе молота и сваи и звуковую сигнализацию или радиотелефон.

8.3 ТРЕБОВАНИЯ БЕЗОПАСНОСТИ ПРИ ПОГРУЗОЧНО-РАЗГРУЗОЧНЫХ РАБОТАХ

8.3.1 Погрузочно-разгрузочные работы должны выполняться механизированным способом при помощи подъемно-транспортного оборудования.

Механизированный способ погрузочно-разгрузочных работ является обязательным для груза массой 50 кг и более.

8.3.2 При выполнении погрузочно-разгрузочных работ не допускается строповка груза, находящегося в неустойчивом положении, а также смещение строповочных приспособлений на приподнятом грузе.

8.3.3 При складировании конструкций на площадке необходимо руководствоваться следующими требованиями:

- укладывать конструкции на спланированную поверхность, имеющую уклон не более 5°. В зимнее время территория для складирования должна очищаться от снега, наледи и посыпаться песком;

- складировать конструкции на расстоянии не менее 1 м от проезжей части автодороги;

- укладывать железобетонные сваи, в том числе и предварительно-напряженные, в штабеля высотой до 2 м, но не более четырех рядов, при этом головы свай должны укладываться в одну сторону;

- при складировании в несколько ярусов необходимо следить за горизонтальностью рядов, не допуская возможности самопроизвольного раскатывания.

8.3.4 Запрещается при производстве погрузочно-разгрузочных работ:

- находиться под перемещаемым грузом;

- оставлять поднятые элементы на весу во время перерыва или по окончании работы;

- находиться на грузе во время его строповки и перемещения.

8.3.5 Копровщик должен знать массу перемещаемого груза и не допускать превышение грузоподъемности механизма.

8.4 ТРЕБОВАНИЯ БЕЗОПАСНОСТИ ВО ВРЕМЯ РАБОТЫ

(при монтаже, демонтаже и перемещении копра)

8.4.1 Монтаж, демонтаж и перемещение копра следует выполнять только под наблюдением и руководством инженерно-технического персонала по инструкции завода-изготовителя, а при ее отсутствии - в соответствии с проектом производства работ (ППР) или технологической картой.

8.4.2 Перед подъемом конструкций копра все его элементы должны быть надежно закреплены, а инструменты и незакрепленные предметы удалены.

8.4.3 При подъеме стрелы копра, собранной в горизонтальном положении, разборке, передвижке и развороте копра, а также при установке свай должны быть прекращены все работы в радиусе, равном длине поднимаемой конструкции копра, сваи и т.д. плюс 7 м.

8.4.4 При подъеме стрела (башня) копра, смонтированная в горизонтальном положении, должна поддерживаться оттяжками и тормозными тросами. При выводе стрелы в вертикальное положение тормозные тросы и оттяжки не должны иметь слабину. Во время подъема стрелы все работы в опасной зоне должны быть прекращены.

8.4.5 Если после начала подъема стрелы (башни) копра будут замечены какие-либо дефекты в такелаже или в самой поднимаемой конструкции (стреле), подъем следует немедленно прекратить, поднимаемую конструкцию опустить на подведенные под нее клетки, а лебедки разгрузить. Запрещается удерживать поднимаемую стрелу копра на тормозе лебедки.

8.4.6 Перед пуском в эксплуатацию копер должен пройти техническое освидетельствование и испытание лицами технического персонала, ответственными за его работу. О результатах испытания делается запись в паспорте и составляется акт установленной формы.

8.4.7 При передвижке и повороте копра, изменении наклона его стрелы, молот должен быть опущен в нижнее положение и закреплен предохранительным устройством.

8.4.8 Установку, передвижку и развороты копра следует производить на спланированной горизонтальной площадке. При передвижении копров высотой более 10 м следует применять расчалки, а передвижку производить под руководством инженерно-технического персонала (прораба, мастера).

ТРЕБОВАНИЯ БЕЗОПАСНОСТИ ВО ВРЕМЯ РАБОТЫ

(при установке свай)

8.4.9 Подъем свай, находящихся в горизонтальном положении, должен производиться в соответствии с ППР или по технологическим картам. При подъеме свай, находящихся в горизонтальном положении, при всех условиях должно быть обеспечено вертикальное положение полиспастов грузоподъемного крюка копра (крана).

8.4.10 Сваи разрешается подтягивать по прямой линии в пределах видимости машиниста копра только через отводной блок, закрепляемый у основания копра. Запрещается подтягивать сваю через верхний блок копра, а также сваю, расположенную сбоку, а при выведении сваи в вертикальное положение строповка производится за кольцевой строп согласно рисунку 9.

Рисунок 9 - Схемы строповок свай

8.4.11 Сваи стропят в фиксированных точках или за петли. При недостаточной высоте подъема крюка копра захват сваи может быть осуществлен на расстоянии не более 1/3 длины сваи, считая сверху. На ребра сваи должны быть уложены и привязаны к тросу или свае прокладки для предохранения троса от резких перегибов и перетирания. Освобождать сваи от такелажной петли разрешается только после посадки и закрепления на них забивного снаряда.

8.4.12 Во избежание ударов сваи по копру во время ее подъема и установки необходимо пользоваться оттяжками. Разворот сваи вокруг ее оси при установке на грунт следует производить с помощью специального разворотного ключа длиной не менее 150 см.

Категорически запрещается разворачивать сваи руками.

8.4.13 Очистку свай от грязи и наледи следует производить до их подъема. Запрещается производить строповку свай, находящихся в неустойчивом положении.

8.4.14 Запрещается отрывать примерзшую сваю при помощи копра или крана. Сваю следует предварительно очистить от снега (льда) и сдвинуть трактором, бульдозером.

8.4.15 Перемещать сваи следует при помощи катков или башмаков по расчищенному пути. Запрещается подтаскивать их волоком, а также сбрасывать с высоты. Запрещается во время строповки находиться на свае. Рабочий может стоять только рядом, на безопасном расстоянии.

8.4.16 Заводить сваю под наголовник молота необходимо в соответствии с инструкцией по эксплуатации копра. Перед заводкой сваи под наголовник молот должен быть закреплен на направляющей предохранительным устройством. Запрещается при заводке свай находиться под незакрепленным молотом.

8.4.17 Забивку свай следует производить с применением наголовника соответствующего поперечному сечению сваи. Наголовник должен быть плотно и прочно закреплен на голове сваи. Запрещается производить забивку сваи при неплотном соединении сваи с наголовником, наличии боковых колебаний или стука.

8.4.18 Наголовник должен быть исправным, прочным и иметь приспособление для надежного скрепления его со сваей. Запрещается применять наголовник, имеющий трещины в швах, изношенные деревянные подушки (амортизаторы) и другие дефекты. При разрушении наголовника или головы забиваемой сваи работу по забивке следует прекратить.

8.4.19 До начала установки наголовника на железобетонную сваю необходимо срезать выступающие концы стержней арматуры во избежание образования осколков бетона при разрушении головы сваи.

8.4.20 Перед установкой самозаклинивающегося наголовника дежурный электромонтер должен проверить исправность электропроводки, сохранность изоляции, наличие и исправность заземления и т.д.

8.4.21 Снимать стропы со сваи разрешается только после закрепления ее в направляющих, установки на грунт и посадки молота на голову сваи. Запрещается оставлять сваю на весу во время перерыва в работе копра.

ТРЕБОВАНИЯ БЕЗОПАСНОСТИ ВО ВРЕМЯ РАБОТЫ

(при погружении свай)

8.4.22. Пуск молота можно производить только после осадки сваи в грунт под тяжестью ее собственной массы, массы наголовника и молота. Перед пуском должен быть дан звуковой сигнал.

При установке сваи кранами с подвесными стрелами молот должен быть закреплен.

8.4.23. Предельная масса молота и сваи для копра должны быть указаны на его ферме или раме. На копре должен быть установлен ограничитель грузоподъемности. Запрещается поднимать сваи неизвестной массы, а также превышать грузоподъемность копра.

8.4.24. Перед пуском молота без амортизатора трос или полиспаст, на котором он подвешен, должен быть ослаблен и поддерживаться в таком состоянии на весь период погружения сваи.

8.4.25. Выправлять положение стрелы или опускать подвижную стрелу копра в процессе погружения разрешается только после остановки сваебойного снаряда.

8.4.26. Запрещается оставлять недобитую сваю в неустойчивом положении. При перерывах или временном прекращении работ незабитая свая и копер должны быть надежно закреплены, а молот опущен на сваю.

8.4.27. При передвижках и поворотах копра, а также при временных перерывах в работе все механизмы должны быть отключены.

8.5. ТРЕБОВАНИЯ БЕЗОПАСНОСТИ ПРИ РАБОТЕ КОПРА

8.5.1. Разрешение на пуск смонтированной копровой установки в эксплуатацию выдается прорабом или мастером совместно с механиком участка после проверки правильности монтажа в соответствии с паспортом установки.

8.5.2. В начале смены и после перерывов в работе машинист копра должен:

- при выключенных механизмах произвести осмотр копра, проверить надежность крепления узлов, исправность связей;

- проверить наличие заземления, наличие и исправность звуковой сигнализации;

- вхолостую опробовать все механизмы, проверить действие тормозов лебедок;

- проверить наличие защитных ограждений в соответствии с инструкцией завода-изготовителя.

8.5.3. Запрещается загромождать проходы вблизи действующих механизмов и у постов их обслуживания инструментом, инвентарем, материалами.

8.5.4. До передвижки или разворота копровой установки необходимо:

- опустить сваебойный снаряд в нижнее положение и закрепить его;

- отключить электропитание;

- установить расчалки на копровой установке, если этого требует инструкция.

8.5.5. До начала работ на лебедках необходимо убедиться в исправности тормоза и проверить исправность защитных приспособлений, ограждений, кожухов.

8.5.6. Во время работы лебедок запрещается;

- поднимать груз массой более паспортной грузоподъемности лебедок;

- надевать и сбрасывать на ходу приводные ремни;

- удерживать груз на весу во время перерывов в работе;

- оставлять какие-либо предметы около вращающихся частей.

8.5.7. Корпус электродвигателя и металлический кожух рубильника должны быть защищены от атмосферных осадков и заземлены.

8.6 МЕРЫ БЕЗОПАСНОСТИ ПО ОКОНЧАНИИ РАБОТ

8.6.1. После окончания работы сваебойный снаряд должен быть опущен в нижнее положение и закреплен стропами.

8.6.2. Копровщики по окончании рабочего дня обязаны:

- в опасных местах по указанию мастера вывесить предупредительные знаки и установить световые сигналы;

- очистить рабочее место от строительных отходов, убрать вспомогательные приспособления, незакрепленные детали;

- закрыть доступ на площадку к копровой установке;

- снять и убрать в установленное место такелажные приспособления;

- сообщить руководителю работ о всех неисправностях и неполадках механизмов, неисправностях подмостей.

8.7 РЕКОМЕНДУЕМОЕ ОБОРУДОВАНИЕ И ПРИСПОСОБЛЕНИЯ ДЛЯ БЕЗОПАСНОГО ВЕДЕНИЯ РАБОТ

8.7.1 Сачок-ловитель для свай при их забивке с помощью дизель-молота С-996 в опасных зонах.

Разработан трестом Харьковметрострой Минтрансстроя.

Сачок-ловитель состоит из канатного кольца Æ 20 - 22 мм и оттяжной веревки. Поддерживающие стропы крепятся к концу Г-образного верха копра, на стропах канатное кольцо с оттяжной веревкой. При подъеме сваи при помощи оттяжной веревки, свая направляется в канатное кольцо до полного ее подъема, где затем фиксируется дизель-молотом. Любое отклонение или падение сваи предотвращает сачок-ловитель.

8.7.2 Гидравлический копер «Junttan».

Разработан АО САВОНВАРВИ, Финляндия.

«Junttan» за несколько минут готов к перевозке и работе. Крупные и прочные гусеницы можно расширять гидравлически из кабины. Устойчивость машины можно регулировать из кабины при помощи противовеса. Кабина имеет звуко- и виброзащиту. Подъем и падение бабы регулируется в копре гидравлически. Это делает возможным максимальную частоту ударов. Благодаря держателю нижнего конца (гидравлические щеки), свая параллельна с мачтой, чем и обеспечивается безопасное ведение работ.

ПЕРЕЧЕНЬ НОРМАТИВНО-ТЕХНИЧЕСКОЙ ЛИТЕРАТУРЫ

1. СНиП 2.02.03-85 Свайные фундаменты.

2. СНиП 3.01.01-85* Организация строительного производства.

3. СНиП 3.02.01-87 Земляные сооружения, основания и фундаменты.

4. СНиП 12-03-2001 Безопасность труда в строительстве. Часть 1. Общие требования.

5. СНиП III-4-80* Техника безопасности в строительстве.

6. ПБ 10-382-00 Правила устройства и безопасной эксплуатации грузоподъемных кранов.

7. ППБ 01-93** Правила пожарной безопасности в Российской Федерации.

8. ГОСТ 12.0.004-90 ССБТ. Организация обучения безопасности труда. Общие положения.

9. ГОСТ 12.4.026-76* ССБТ. Цвета сигнальные и знаки безопасности.

10. ГОСТ 5686-94 Грунты. Методы молевых испытаний сваями.

11. ГОСТ 8239-89 Двутавры стальные горячекатанные. Сортамент.

12. ГОСТ 8733-74* Трубы стальные бесшовные холоднодеформированные. Технические требования.

13. ГОСТ 19804-91 Сваи железобетонные. Технические условия.

14. «Правила перевозки грузов по улицам г. Москвы». Утверждены исполкомом Моссовета 9.03.66.

15. Операционно-технологическая карта на устройство металлического ограждения для крепления откосов котлованов. ОАО ПКТИпромстрой, М., 2000.

16. Операционно-технологическая карта на производство работ по срезке «голов» свай с применением отечественного и зарубежного оборудования. ОАО ПКТИпромстрой, М., 1988.

17. Инструкция по определению годности извлеченного шпунта для повторного использования. ОАО ПКТИпромстрой, М., 2001.

ПРИЛОЖЕНИЕ А

(обязательное)

форма ИГАСН № 1

РАЗРЕШЕНИЕ
на производство подготовительных и основных строительно-монтажных работ

__________________________________________________________________________

___________________________________________________________________________

(наименование организации застройщика «заказчика», получающей разрешение)

Адрес строительства объекта__________________________________________________

______________________________________район________________________________

Наименование объекта_______________________________________________________

Серия проекта______________________________________________________________

Автор привязки проекта ________________Технический надзор____________________

Подрядная организация______________________________________________________

Согласно «Правилам о порядке застройки г. Москвы», утвержденным Постановлением СНХ СССР № 55 от 1 октября 1935 г., и на основании

- решения (распоряжения) Мосгорисполкома № ________

от______________20__г. об отводе участка

- акта на землепользование (разрешительного письма) № ____________

от_______________20__г., выданного УРЗиОЗ ГлавАПУ,

- обязательства застройщика от «____»_____________20___г.

- технического (техно-рабочего) проекта, согласованного с ГлавАПУ

(утвержденного Мосгорисполкомом) протокол (решение, распоряжение) № ________

от______________20___ г.

- сводного сметно-финансового расчета, утвержденного в сумме________ тыс. р.

«____»______________20 ___г.

- акта разбивки здания в натуре Мосгоргеотрестом от______________20___г.

УПРАВЛЕНИЕ ГОСУДАРСТВЕННОГО АРХИТЕКТУРНО-СТРОИТЕЛЬНОГО НАДЗОРА

РАЗРЕШАЕТ:

1. ПРОИЗВОДСТВО ПОДГОТОВИТЕЛЬНЫХ РАБОТ, УСТРОЙСТВО НАРУЖНЫХ КОММУНИКАЦИЙ И ФУНДАМЕНТОВ

Срок действия разрешения до «___»__________________ 20___г.

Начальник управления________________

(подпись)

Начальник отдела выдачи

разрешений и сводного учета___________

(подпись)

«_____»______________ 20___ г.

ПРИЛОЖЕНИЕ Б

(обязательное)

Строительная организация_____________

___________________________________

Строительство_______________________

___________________________________

(наименование и местоположение,

________________________________________

км, ПК)

ЖУРНАЛ № __________________ПОГРУЖЕНИЯ СВАЙ

Ответственный за ведение журнала_____________________________________________

___________________________________________________________________________

(Должность, Ф. И. О., подпись)

Сваи № ____________________________________________________________________

___________________________________________________________________________

1. Система копра (тип направляющего оборудования)_____________________________

___________________________________________________________________________

___________________________________________________________________________

2. Тип молота_______________________________________________________________

3. Масса ударной части молота____________________________________________ кН

4. Давление (воздуха, пара) по паспорту ___________________________________МПа

5. Энергия удара молота (по паспорту)________________________________кДж (кН×м)

6. Тип и масса наголовника ________________________________________________кН

7. Характеристика амортизаторов свайного наголовника __________________________

___________________________________________________________________________

(материал, толщина, площадь, периодичность замены)

___________________________________________________________________________

___________________________________________________________________________

8. Отметка уровня воды __________________________________________________м

9. Проектный отказ см при высоте падения ударной части молота __________м.

Схематический план свайного поля с привязкой к осям опор и указанием номеров свай

Начальник производственно-технического отдела__________________

(Ф. И. О.)

___________________________________________________________

(подпись)

СВАЯ № _______________________________________________________(по плану)

1. Дата забивки (и добивки)________________________________________________

Смена от _________________________час до_______________________________ час

2. Марка сваи___________________________________________________________

Материал ________________________, длина _______________________________м,

поперечное сечение _____________________________________________________см

3. Отметки:

Поверхности грунта у сваи ________________________________________________

острия сваи: проектная ___________________________________________________

фактическая _________________________________________________

4. Глубина погружения __________________________________________________м

Бригада ________________________________________________________________

(Ф. И. О. бригадира и подпись)

 

№ залога

Высота подъема ударной части молота, м

Число ударов в залоге

Глубина погружения свай от залога, см

Отказ от одного удара, см

Примечание

 

 

 

 

 

 

Исполнитель

(мастер, прораб)___________________________

(Ф. И. О.)

___________________________

(подпись)

 

 




ГОСТЫ, СТРОИТЕЛЬНЫЕ и ТЕХНИЧЕСКИЕ НОРМАТИВЫ.
Некоммерческая онлайн система, содержащая все Российские Госты, национальные Стандарты и нормативы.
В Системе содержится более 150000 файлов нормативно-технической документации, действующей на территории РФ.
Система предназначена для широкого круга инженерно-технических специалистов.

Рейтинг@Mail.ru Яндекс цитирования

Copyright © www.gostrf.com, 2008 - 2026