Крупнейшая бесплатная информационно-справочная система онлайн доступа к полному собранию технических нормативно-правовых актов РФ. Огромная база технических нормативов (более 150 тысяч документов) и полное собрание национальных стандартов, аутентичное официальной базе Госстандарта. GOSTRF.com - это более 1 Терабайта бесплатной технической информации для всех пользователей интернета. Все электронные копии представленных здесь документов могут распространяться без каких-либо ограничений. Поощряется распространение информации с этого сайта на любых других ресурсах. Каждый человек имеет право на неограниченный доступ к этим документам! Каждый человек имеет право на знание требований, изложенных в данных нормативно-правовых актах!

  


 

МОССТРОЙКОМИТЕТ

ПРОЕКТНО-СТРОИТЕЛЬНОЕ ОБЪЕДИНЕНИЕ
«МОСПРОМСТРОЙ»

ПРОЕКТНО-КОНСТРУКТОРСКИЙ И ТЕХНОЛОГИЧЕСКИЙ
ИНСТИТУТ ПРОМЫШЛЕННОГО СТРОИТЕЛЬСТВА
ПКТИ ПРОМСТРОЙ

ОПЕРАЦИОННО-ТЕХНОЛОГИЧЕСКАЯ КАРТА
НА ПРОИЗВОДСТВО РАБОТ ПРИ СРЕЗКЕ ГОЛОВ СВАЙ
С ПРИМЕНЕНИЕМ ОТЕЧЕСТВЕННОГО И ЗАРУБЕЖНОГО
ОБОРУДОВАНИЯ

Главный инженер                                        А.И. Курочкин

Начальник отдела № 15                                      А.В. Белов

Главный технолог                           Ю.И. Алексапольский

Зав. сектором                                              А.М. Кулебянова

Москва 1988

СОДЕРЖАНИЕ

1. Область применения. 2

2. Технико-экономические показатели. 2

3. Технология и организация строительного процесса с применением установки «ВНИИстройдормаш». 3

4. Организация рабочего места и приемы труда при работе с установкой ВНИИстройдормаша. 10

5. Организация и технология строительного процесса с применением японской установки НД-10-6ЕВ фирмы «SANWAKIZAICO». 15

6. Организация рабочего места и приемы труда при работе с японской установкой НД-10-6ЕВ.. 20

7. Машины, инструменты, приспособления. 24

8. Качество работ. 26

9. Техника безопасности. 26

Список использованной литературы.. 29

АННОТАЦИЯ

Операционно-технологическая карта разработана в соответствии с действующими нормативными документами и на основании изучения опыта работы СУ-185 МФС-4 по срезке «голов» свай на строительных объектах ГМПС с применением машины СО-270 ВНИИстройдормаша /опытный образец/ и японской машины НД 10-6ЕВ фирмы «SANWAKIZAICO».

В карте приведены разделы:

- организация и технология строительного процесса;

- организация рабочего места с учетом требований техники безопасности и приемы труда;

- качество работ и техники безопасности.

Представлены:

- таблица машин, механизмов и приспособлений;

- технико-экономические показатели, отражающие эффективность применения данных машин и сравнение представленных технологий с существующей срубкой «голов» свай вручную.

Работа выполнена отделом «Внедрения новой техники» /Гл. технолог отдела Ю.И. Алексапольский, ответственный исполнитель зав. сектором А.М. Кулебянова, инженеры - Клюева В.Ф., Шелковникова Е.В./

Технологическая карта не заменяет ППР (см. СНиП 3.01.01-85*).

1. Область применения.

1.1. Настоящая технологическая карта разработана на производство работ по срезке железобетонных «голов» свай с последующим оголением арматурных стержней в сваях сечением до 40 см´40 см и высотой до 150 см, предназначенных для замоноличивания их в ростверк при устройстве свайных фундаментов в промышленном и гражданском строительстве.

1.2. В качестве примера принято свайное основание под фундамент одноэтажного промышленного здания размером 51´27 м с сеткой колонн 6 м´9 м. Количество свай в кусте 9 шт. Сечение свай 30´30 см.

1.3. Срезка голов свай предусмотрена в двух вариантах:

1) с помощью устройства СО-270, разработанного «ВНИИстройдормаш» и навешиваемого на крюк трубоукладчика ТГ-124 «А»;

2) с помощью японской машины НД-10-6ЕВ фирмы «SANWAKIZAICO», навешиваемой на автокран СМК-10.

1.4. Работы следует производить в районах с умеренным климатом при температуре окружающего воздуха от минус 40° С до плюс 40° С.

1.5. Технические возможности машины СО-270 «ВНИИстройдормаш»:

Таблица № 1.

Наименование параметра

Ед. изм.

Величина

1

2

3

1. Сечение раздавливаемой сваи

см

25´25 до 35´35

2. Наибольший диаметр арматурных стержней

мм

18

3. Количество арматурных стержней

шт.

4

4. Наименьшая высота отрыва арматурных стержней сваи от уровня земли

мм

300

5. Необходимое для установки машины расстояние между соседними сваями, не менее

см

45

6. Наибольшая длина отрываемой части сваи

мм

2000

7. Наименьшая высота отрыва бетона свай от уровня земли

мм

50

8. Производительность техническая (без транспортирования оторванной части сваи) не менее

св/час

37

2. Технические возможности японской установки НД-10-6ЕВ.

Таблица № 2.

Наименование параметров

Ед. изм.

Величина

1. Допускаемый диаметр свай

мм

300 ÷ 600

2. Минимальная высота срезки

мм

50

2. Технико-экономические показатели.

Таблица № 3

Наименование показателей

Срезка «голов» машиной СО-270 (техн. карт)

Срезка «голов» японской машиной (техн. карта)

Вручную ЕНиР §12 - 27 § 22 - 11

1

2

3

4

5

1.

Затраты труда на срезку 1 сваи

5,54

16,2

23,9

чел-мин

чел-мин

чел-мин

2.

Выработка на одного рабочего в смену

87 шт.

44

123

19 шт.

3.

Производительность в смену

173 шт.

88

123

57 шт.

4.

Состав звена

2 чел.

3

1

3 чел.

Примечание к табл. 3. Дробью представлены показатели по двум самостоятельным видам работ:

- числитель - раздавливание бетона сваи;

- знаменатель - срезка арматуры.

3. Технология и организация строительного процесса с применением установки «ВНИИстройдормаш».

3.1. Работы по срезке «голов» свай необходимо производить в соответствии со СНиП 3.02.01-87 «Земляные сооружения, основания и фундаменты», а также настоящей технологической картой.

3.2. До начала работ по срезке «голов» свай необходимо выполнить следующие работы:

- закончить забивку свай на участке не менее 87 свай;

- оформить актом в установленном порядке сдачу и приемку участка свайного поля;

- нанести проектные отметки среза на сваях;

- подготовить к работе и проверить работоспособность машины СО-270, а также других механизмов;

- определить места складирования срезанных «голов» свай и их места погрузки;

- произвести инструктаж по технике безопасности в соответствии со СНиП III-480 и п.п. 9.1 - 9.8 настоящей технологической карты.

3.3. Устройство и принцип работы машины СО-270.

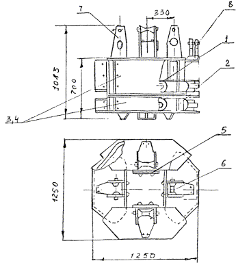
Машина «СО-270 НПО «ВНИИстройдормаш» (рис. 1) состоит из верхнего и нижнего захватов с горизонтальными цилиндрами. К внутренним сторонам секций верхнего и нижнего захватов крепятся плиты - две короткие и две длинные. В зависимости от поперечного сечения срезаемой сваи плиты устанавливаются в соответствии с этим сечением. Плиты верхнего захвата имеют рельефную поверхность и ревущую кромку, что улучшает сцепление со сваей и обеспечивает при обжатии подрезание бетона и ровную поверхность отрыва сваи. На секциях нижнего захвата устанавливаются съемные шипы, которые при обжатии сваи надкалывают бетон, что облегчает снятие его с арматурных стержней. Привод машины осуществляют из кабины трубоукладчика ТГ-124А. Два рукава высокого давления машины СО-270 подсоединяются к свободной секции распределителя базовой машины.

Рис. 1 Машина для срезки «голов» свай СО-270 НПО ВНИИстройдормаш

1. Верхний захват

2. Нижний захват

3, 4. Съемные кожухи

5. Скусывающие шипы на плите l = 260 мм

6. Скусывающие шипы на плите l = 540 мм

7. Стойка

8. Рукава высокого давления (подсоединение к базовой машине).

Принцип работы машины основан на разрыве бетона сваи и ее арматуры статическим усилием, направленным по оси сваи. Это обеспечивается обжатием сваи по четырем граням в поперечном направлении двумя расположенными друг над другом захватами и последующим приложением к захватам усилий, направленных в противоположные стороны. При обжатии прилегание плит к граням сваи, должно быть плотным без перекосов и щелей. Машина СО-270 обеспечивает срезку «голов» свай в трех вариантах. По первому варианту обрыв бетона сваи производится «на уровне грунта» (на высоте не более 50 мм от него), при этом оголение арматурных стержней обеспечивается усилием грузоподъемного механизма. По второму варианту (рис. 2) отрыв свай производится на высоте не менее 300 мм от уровня грунта и оголение арматурных стержней обеспечивается только усилием вертикальных гидроцилиндров.

По третьему варианту обеспечивается отрыв бетона сваи и арматуры на высоте не менее 300 мм от уровня грунта без оголения арматурных стержней.

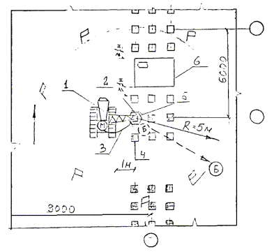
3.4. Работы с помощью машины СО-270 производят в соответствии с технологической схемой представленной на рис. 3 в следующем порядке:

- машину СО-270 подвешивают на крюк трубоукладчика ТГ-124 и подключают ее к насосной станции последнего;

- трубоукладчик с навесным оборудованием перемещается на рабочее место к кусту свай, опускает машину на наиболее удаленную от трубоукладчика сваю, срезает ее и с обломком перемещается к месту складирования. Места складирования расположены между кустами свай. Движение трубоукладчика осуществляется вдоль пролетов свайного поля;

- строповку устройства СО-270 осуществляют с помощью четырехветвевого стропа длиной 1,5 м, грузоподъемностью 3,2 т (рис. 4).


Рис. 2 Схема срезки «голов» свай на проектной отметке «ниже уровня грунта» с оголением арматурных стержней.

I. Установка машины на сваю под проектную отметку и обжатие захватами.

II. Разрыв бетона с арматурными стержнями.

III. Разжатие захватов и опускание машины.

IV. Обжатие захватами и снятие обрубка свай с арматурных стержней.

V. Разжатие нижнего захвата и подъем машины с обрубком сваи.

VI. Перемещение машины с обрубком к месту складирования.

VII. Разжатие захватов сброс обрубка («головы сваи»).

Примечание: Стрелками указано направление движения машины и ее элементов.

Рис. 3 Технологическая схема производства работ при срезке «голов» свай с помощью установки ВНИИстройдормаша

1 - забитая свая; 2 - свая со срезанной «головой»; 3 - путь трубоукладчика при срезке «голов» свай; 4 - срезанные «головы» свай; 5 - установка ВНИИстройдормаша для срезки «голов» свай; 6 - ЗИЛ-130; 7 - ограждение; 8 - лестницы для спуска в котлован; 9 - направление движения а/крана при погрузке «голов» свай; Ст. I - Ст. IV - стоянки а/крана.


Разрез 1 - 1 (к рис. 3)

1 - Строп 4-х ветвевой; 2 - установка для срезки свай ВНИИстройдормаша; 3 - свая, подлежащая срезке; 4 - свая со срезанной «головой»; 5 - арматурные выпуски; 6 - ограждение

I - R1 = 1,0 м; Р1 = 12,5 т; l1 до 1,8 м

II - R2 = 2,0 м; Р2 = 6,0 т; l2 до 1,5 м

III - R3 = 3,0 м; Р3 = 4,0 т; l3 до 1,0 м

Рис. 4. Схема строповки машины СО-270 Рис. 5. Схема строповки обрубка сваи

Наименование изделий

Масса, кг

Грузоподъемные приспособления

Наименование

Кол. шт.

Q, тс

l, м

Р, кг

Машина СО-270 для срезки голов свай

1750

Строп четырехветвевой 4СК-3,2 СКБ Мосстрой, арх. № 1028/2

1

3,2

1,5

21,7

Обрезки свай

до 1000

Строп четырехветвевой 4СК-5 СКБ Мосстрой, арх. № 1028/3

1

5

1,6

33,5

 

 

Универсальный строп УСК 2-1,0 ТР МОПС арх. № 1048/11*

2

1,0

2,0

21,7

3.5. В соответствии с технологической схемой фронт производства работ разделен на 2 захватки. После перемещения трубоукладчика на вторую захватку, с первой производят вывоз обрубков свай автотранспортом. Погрузку осуществляют автокраном КС 2561Д. Строповку срезанной части сваи следует осуществлять кольцевым стропом.

3.6. График производства работ на срезку голов сваи машиной СО-270 представлен на рис. 6, машины, инструменты представлены на листе 35.

3.7. Работы по срезке «голов» свай осуществляет звено из 2-х человек. Машинист трубоукладчика одновременно управляет трубоукладчиком и машиной СО-270, второй рабочий устанавливает машину на сваи, подает сигналы машинисту, указывает места складирования обрубков свай.


Рис. 6. ГРАФИК ПРОИЗВОДСТВА РАБОТ ПО СРЕЗКЕ «ГОЛОВ» СВАЙ МАШИНОЙ СО-270 (ВНИИстройдормаш).

Примечания: 1. Нормы времени приняты в соответствии с хронометражными наблюдениями СУ-185 МФС-4 и НПО «ВНИИстройдормаш» с учетом дополнительного времени на отдых, подготовительно-заключительные работы и технологические перерывы в работе машины (Кобщ. = 1,26).

2. В соответствии с графиком время на срезку 1 сваи составляет 2,772 минуты.

3. За одну 8-ми часовую смену звено из 2-х чел., включая машиниста трубоукладчика, срезает 480:2,771 = 173 шт.

4. Выработка одного рабочего в смену 87 шт.

5. Затраты машин. времени 0,046 маш-час на 1.

6. Нормы времени на погрузку и транспортировку «голов» свай со свайного поля приняты в соответствии с ЕНиР § 1 - 5 п. 1. и составляют 41,76 чел-час на 348 шт. «голов» свай.

Условные обозначения:

 --- Работа на 1-ой захватке.


4. ОРГАНИЗАЦИЯ РАБОЧЕГО МЕСТА И ПРИЕМЫ ТРУДА ПРИ РАБОТЕ С УСТАНОВКОЙ ВНИИстройдормаша.

4.1. Схема организации рабочего места при установке машины.

Условные обозначения:

1. Трубоукладчик ТГ-124

2. Машина СО-270 для срезки «голов» свай

3. Гидрошланги

4. Свая, срезанная под проектную отметку

5. Срезаемая свая

6. Место складирования обрезков свай

 - рабочее место машиниста-оператора трубоукладчика

 - рабочее место бетонщика

 - граница опасной зоны

 - направление движения трубоукладчика

4.1.1. ПРИЕМЫ ТРУДА

По сигналу бетонщика, находящегося на безопасном расстоянии от машины машинист трубоукладчика перемещает машину СО-270 и останавливает ее над сваей.

Бетонщик подходит к машине и, придерживая ее руками за раму, разворачивает так, чтобы при опускании машины свая свободно входила в отверстие машины, затем он подает сигнал машинисту трубоукладчика опустить машину.

Машинист плавно опускает машину. Бетонщик, отойдя от сваи и наклонившись, следит за перемещением машины при совпадении линии разъема захватов машины с проектной отметкой на свае подает сигнал машинисту остановить движение.

4.2. Схема организация рабочего места при срезке свай.

Условные обозначения:

1. Трубоукладчик ТГ-124

2. Машина СО-270 ДЛЯ срезки свай

3. Гидрошланги

4. Срезанная свая под проектную отметку

5. Срезаемая свая

6. Место складирования обрубков сваи

 - рабочее место машиниста оператора трубоукладчика

 - рабочее место бетонщика.

 - граница опасной зоны

 - направление перемещения бетонщика

 - направление движения трубоукладчика

4.2.1. ПРИЕМЫ ТРУДА

Машинист трубоукладчика, сидя в кабине, управляет машиной, производя операции по срезке «головы» сваи.

Верхний и нижний захваты обжимают сваю, разрывают бетон и арматурные стержни.

Бетонщик в это время находится на безопасном расстоянии и наблюдает за работой машины.

Машинист по команде бетонщика опускает машину на 200 ÷ 250 мм и повторяет операции по обжиму сваи и ее разрыву. Происходит осыпание бетона с арматурных стержней.

4.3. Схема организации рабочего места при подъеме машины и снятии обрубка сваи.

Условные обозначения:

1. Трубоукладчик ТГ-124А

2. Машина СО-270 для срезки голов свай

3. Гидрошланги

4. Свая, срезанная под проектную отметку

5. Срезаемая свая

6. Место складирования обрубков свай

 - рабочее место машиниста-оператора

 - рабочее место бетонщика.

 - граница опасной зоны

 направление перемещения бетонщика

 направление движения трубоукладчика

4.3.1. ПРИЕМЫ ТРУДА

Машинист раскрывает нижний захват, а верхний захват фиксирует в зажатом положении.

4.4. Схема организации рабочего места при транспортировке срезанных «голов» свай к месту складирования

Условные обозначения:

1. Трубоукладчик ТГ-124А

2. Машина СО-270 для срезки свай

3. Гидрошланги

4. Срезанные под отметку сваи

5. Место складирования обрубков свай

 - рабочее место машиниста-оператора на трубоукладчике

 - рабочее место бетонщика

 - граница опасной зоны

 - направление перемещения бетонщика

 направление движения трубоукладчика

4.4.1. ПРИЕМЫ ТРУДА

Машинист трубоукладчика по команде бетонщика поднимает машину с обрубком сваи и транспортирует к месту складирования.

5. Организация и технология строительного процесса с применением японской установки НД-10-6ЕВ фирмы «SANWAKIZAICO»

5.1. Подготовительные работы по срезке голов свай японской машиной осуществляют по аналогии с п.п. 3.1, 3.2 настоящей карты.

5.2. Японская машина НД-10-6ЕВ состоит из нескольких установок: насосной станции, разрушающей рамы, дистанционного пульта управления с кабелем.

В раме разрушения имеется четыре цилиндра. На цилиндры крепятся болтами разрушающие насадки-резцы. Рама разрушения соединена 3-мя гидрошлангами с насосной станцией.

5.3. Насосная станция установлена на автомобильном прицепе ИАПЗ-754В, который транспортируется автокраном.

Разрушающая рама подвешивается на крюк базовой машины с помощью четырехветвевого стропа (рис. 7).

5.4. Приведение в действие гидроцилиндров, рамы разрушения может осуществляться оператором как с пульта управления насосной станции, так и с помощью дистанционного пульта управления.

5.5. Работы по срезке «голов» свай японской установкой осуществляют в следующей последовательности:

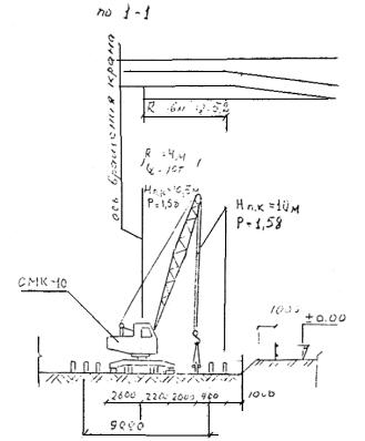
- автомобильный кран СМК-10 с насосной станцией на прицепе и навесным оборудованием перемещается к месту 1-ой стоянки крана и устанавливается на опоры. В соответствии с технологической схемой (рис. 8) зона работы крана охватывает шесть кустов забитых свай.

Рис. 7. Схема строповки японской машины для срезки голов свай

Наименование изделий

Масса, кг

Грузоподъемные приспособления

Наименование

Кол. шт.

Q, тс

l, м

Р, кг

Машина для срезки «голов» свай японской фирмы

1400

Строп четырехветвевой 4СК-5,0 СКБ Мосстрой № 1028/3

1

5,0

2

35,0


Рис. 8. Технологическая схема производства работ по срезке «голов» свай японской машиной НД 10-6ЕВ, навешенной на крюк автокрана СМК-10.


1. Автокран СМК-10 l = 10 м, Q = 10 т

2. Насосная станция.

3. Прицеп ИАПЗ 75413.

4. Японская установка для голов свай НД-10-6ЕВ.

5. Резак универсальный РПС-70.

6. Гидрошланги.

7. Тележка с кислородным и ацетиленовым баллонами.

8. Рукава к резаку.

Условные обозначения:

- стоянка крана

- начало работ по срезке «голов» свай

- окончание работ по срезке «голов» свай

- временное ограждение

- временная дорога

- трап для спуска рабочих в котлован

- срезанные сваи

- забитые сваи

- лебедкой крана рама опускается на сваю и фиксируется на уровне проектной отметки. Поверхности режущей части рамы должны быть параллельны плоскостям сваи;

- производят надрез до появления трещин глубиной 5 - 10 мм;

- резцы раздвигают и поднимают раму с помощью крана до верха сваи;

- включают машину и начинают разрушение от верхней части сваи до линии надреза;

- после чего процесс повторяют на следующей свае.

5.6. По окончании разрушения «голов» свай на первой захватке осуществляют кислородно-ацетиленовую срезку арматурных стержней, оставляя длину выпусков, соответствующих проекту.

5.7. Работу по раздавливанию осуществляет звено из 3-х человек, включая крановщика, срезку арматурных стержней выполняет газорезчик 6 разряда.


Рис. 9. ГРАФИК ПРОИЗВОДСТВА РАБОТ ПО СРЕЗКЕ «ГОЛОВ» СВАЙ ЯПОНСКОЙ МАШИНОЙ НД-10-6ЕВ

Примечания: 1. Нормы времени приняты по хронометражным наблюдениям НПО ВНИИстройдормаш и СУ-185 МФС-4 с учетом дополнительного времени на отдых, подготовительно-заключительные работы и технологические перерывы в работе машины (К = 1,41).

2. Работы по срезке голов свай японской машиной НД 10-6ЕВ выполняют 2 звена двумя самостоятельными потоками:

- в первом потоке звено из 3-х человек, включая крановщика, выполняет операции по раздавливанию бетона свай;

- во втором потоке газорезчик осуществляет срезку оголенных арматурных стержней.

3. В соответствии с графиком затраты труда на срезку 1 сваи составляют - 0,27 чел-ч.

4. За одну 8-ми часовую смену звено из 3-х человек включая машиниста крана срезает 88 шт. голов свай.

5. Выработка на 1 чел. по срезке арматуры 123 сваи.

6. График составлен на объем работ, приведенный в технологической схеме на рис. 8.


6. ОРГАНИЗАЦИЯ РАБОЧЕГО МЕСТА И ПРИЕМЫ ТРУДА ПРИ РАБОТЕ С ЯПОНСКОЙ УСТАНОВКОЙ НД-10-6ЕВ

6.1. Схема организации рабочего места при установке машины на сваю.

Условные обозначения

1. Автокран СМК-10

2. Насосная станция на прицепе ИАПЗ 75413

3. Японская машина для срезки голов свай

4. Гидрошланги

5. Пульт управления

6. Срезанная свая

7. Срезаемая свая

8. Пеньковая оттяжка

 перемещение бетонщика

 - рабочее место машиниста автокрана

 - рабочее место бетонщика

 - рабочее место оператора

 - граница опасной зоны.

6.1.1. ПРИЕМЫ ТРУДА

По сигналу бетонщика Б машинист крана М перемещает машину и останавливает ее над сваей.

Бетонщик Б, придерживая машину с помощью пеньковой оттяжки, разворачивает ее так, чтобы свая свободно входила в отверстие машины, и подает сигнал крановщику опустить машину.

Бетонщик Б отходит на безопасное расстояние и следит за перемещением машины. При совпадении линии разъема машины с отметкой на свае бетонщик Б подает сигнал машинисту крана остановить движение.

6.2.1., 6.3.1. ПРИЕМЫ ТРУДА

Оператор О, держа в руках дистанционный пульт управления и отойдя на безопасное расстояние, включает машину на режим раздавливания.

По сигналу бетонщика Б оператор О производит надрез до появления трещин глубиной 5 - 10 мм. После этого оператор раздвигает резцы машины, а бетонщик подает сигнал машинисту крана поднять раму до верха сваи.

Оператор О по сигналу бетонщика Б снова включает машину и начинает разрушение сваи сверху до проектной отметки, попеременно сжимая и разжимая захваты машины. При этом бетон сваи осыпается и обнажает арматуру.

После раздавливания бетона сваи бетонщик Б подает сигнал оператору О разжать захваты, а машинисту крана - поднять машину и переместить ее к следующей свае.

6.4. Схема организации рабочего места при срезке арматуры керосиновым резаком.

Условные обозначения:

1. Резак универсальный РПС-70

2. Баллоны с кислородом и ацетиленом на тележке

3. Рукава к резаку

4. Лопата для расчистки оголовков свай

5. Обрабатываемая свая

 - рабочее место газорезчика

6.4.1. ПРИЕМЫ ТРУДА.

Газорезчик Г подходит к кусту свай, отмечает места срезки арматурных стержней и срезает стержни резаком РПС-70. Затем лопатой он очищает оголовок сваи от осыпавшегося бетона.

7. Машины, инструменты, приспособления

Наименование

Техническая характеристика

Назначение

Кол-во на звено

ГОСТ, ТУ, изготовитель

1

2

3

4

5

1. Машина СО-270

Вид привода - гидравлический.

Номинальное давление рабочей жидкости, МПа - 16.

Расход рабочей жидкости, не более, л/мин - 40.

Габариты при раскрытых захватах и выдвинутых штоках вертикальных цилиндров, мм: 1250´1250´1085

Масса, кг - 1750

Для срезки недопогруженных частей свай и оголения арматуры

1

Орский з-д строительных машин

2. Трубоукладчик ТГ-124А

Грузоподъемность, т - 12,5.

Момент устойчивости, т. м - 35.

Длина стрелы, м - 5,0.

Габариты, мм: 4393´3220´6480.

Масса, кг - 21800

Базовая машина для подвески СО-270

1

Бакинский машиностроительный завод

3. Автокран КС 2561Д

Длина стрелы 12 м.

Грузоподъемность, т - 3,7.

Вылет крюка, м 4,1 - 11,0.

Высота подъема крюка, м 7 - 12.

Базовый автомобиль ЗИЛ-130.

Масса, т 8,9.

Погрузка срезанных частей свай

1

 

4. Японская установка НД-10-6ЕВ

1. Разрушающая рама

Давление, кг/см2 350.

Габариты, мм: 1580´1498´437.

Масса, т 1,4

Для разрушения бетона и оголения арматуры

1

Поставка по импорту

2. Насосная станция

Мощность, квт - 11.

Источник питания: переменный ток, гц - 50 напряжение, В - 380.

Гидравлич. рукав, длина, м - 32.

Эл. кабель, длина, м - 50.

Раб. кабель выносной панели, м - 20.

5. Строп четырехветвевой 4СК-5,0

Грузоподъемность, тс - 5,0.

Масса, кг - 35,0.

Длина, м - 2,0.

Строповка японской машины

1

СКВ Мосстрой, арх. № 1028/3

6. Строп четырехветвевой 4СК-3,2

Грузоподъемность, тс - 3,2.

Масса, кг - 21,7.

Длина, м - 1,5.

Строповка машины СО-270

1

СКВ Мосстрой, арх. № 1028/2

7. Строп четырехветвевой 4СК-5

Грузоподъемность, тс - 5,0.

Масса, кг - 33,5 Длина, м - 1,6.

Строповка обрубков свай

1

СКВ Мосстрой, арх. № 1028/3

8. Универсальный строп УСК2-1,0

Грузоподъемность, тс - 1,0.

Масса, кг - 1,7.

Длина, м - 2,0.

_”_

 

Тр. МОПС, арх. № 1048/11

9. Пеньковая оттяжка

Длина, м - 2,0.

Для наведения машины на сваю

 

 

10. Автомобильный прицеп ИАПЗ-754В

Грузоподъемн., кг - 4000.

Внутренние разм. кузова, мм: 3848´2207´595.

Масса, кг - 1900.

Для транспортирования насосной станции.

1

Автомобильный завод им. Лихачева

11. Автокран СМК-10

Грузоподъемность т - 10.

Вылет крюка, м 4 - 9,5.

Высота подъема крюка, м 6 - 10,5.

Длина стрелы, м - 10.

Базовый автомобиль - МАЗ-500А.

Масса, т 14,6.

Для навешивания разрушающей рамы

1

Ивановский механический завод

12. Резак вставной универсальный РПС-70

Давление кислорода в рабочей камере, МПа (кгс/см2) - 0,3 - 0,6 (3,0 - 6,0).

Давление ацетилена, МПа (кгс/см2) - 0,001 (0,01).

Габаритные размеры, мм: 282´34´143.

Масса, кг 0,66

Для ручной разделительной резки стали с использованием ацетилено-кислородного пламени

1

Харьковский котельно-механический завод Минмонтажспецстроя СССР, ТУ 26-05-228-80

13. Баллон кислородный тип А

Рабочее давление, МПа (кгс/см2) 15 (150). Емкость, л - 40. Масса, кг - 80.

Для хранения сжатого кислорода

1

 

14. Редуктор кислородный ДКП-1-65 или ДКД-1-65

Пределы регулирования давления, МПа (кгс/см2) - 0,1 ÷ 1,5 (1 ÷ 15).

Пропускная способность, м3/ч 60.

Для понижения давления кислорода до рабочего

1

Харьковский котельно-механический з-д Минмонтажспецстроя СССР, ГОСТ 13861-80

15. Баллон ацетиленовый тип В

Рабочее давление, МПа (кгс/см2) 1,6 (16).

Емкость, л 40.

Масса, кг 90.

Для хранения растворенного ацетилена

1

ГОСТ 949-73

16. Редуктор ацетиленовый ДАП-1-65 или дАП-8-65

Пределы регулирования рабочего давления, МПа (кгс/см2) -

0,02 ÷ 0,15 (0,2 ÷ 1,5).

Пропускная способность, м3/ч 5.

Для понижения давления ацетилена до рабочего

1

Харьковский котельно-механический з-д Минмонтажспецстроя СССР, ГОСТ 13861-80Е

17. Рукава резинотканевые, тип Г

Внутренний диаметр, мм 9; 12

Для воздуха, кислорода, ацетилена

 

ГОСТ 18698-79

18. Ключ газосварщика

Размеры зевов под шестигранники, мм 7; 8; 10; 12; 17; 19; 24; 32.

Размер отверстия под квадрат, мм 10.

Габаритные размеры, мм: 210´70´32.

Масса, кг 0,5.

Для завертывания и снятия вентилей и гаек на баллонах, редукторах и горелках.

2

ЦНИИОМТП Госстроя СССР Р. ч. 716-78

ЕН

20.020

19. Контейнер на 6 баллонов

Габаритные размеры, мм:

диаметр - 1300,

высота - 2040.

Масса, кг - 475.

Для хранения и транспортировки баллонов с кислородом или ацетиленом

1

Московский з-д нестандартного оборудования им. Матросова, 1 СКВ Мосстрой ГМС, № 2880А

20. Тележка-носилки на пневмоходу

Грузоподъемн., кгс - 220,

Ø перевозимых баллонов, мм - 230. Масса, кг - 110.

Колич. баллонов - 2.

Габаритные размеры, мм:

длина - 1860,

ширина - 730,

высота - 900.

Масса тележки, кг - 50.

Для транспортировки кислородных и ацетиленовых баллонов

1

СКБ Мосстрой гмс, арх. № 4644 Московское государственное объедин. Моспромстроймеханизация Главмосмонтажспецстроя

21. Лом монтажный ЛМ-20

 

Для вспомогательных работ

1

ГОСТ 1405-83

22. Лопата подборочная типа ЛП-2

Габариты, мм: 1550´240.

Масса, кг - 2,2

Очистка головы сваи от бетонной щебенки

1

ГОСТ 3620-76

23. Скарпель

 

Для вспомогат. работ

1

 

Средства индивидуальной защиты

1. Каска строительная

 

 

1/3

ГОСТ 12.4.087-84

2. Щиток-маска УН

 

 

0/1

ГОСТ 12.4.035-84

3. Костюм мужской для сварщика

 

 

0/1

ТУ 17-08-89-77

4. Комбинезон

 

 

2/3

ГОСТ 12276-75

5. Сапоги резиновые

 

 

2/4

ГОСТ 12.4.072-79

6. Рукавицы тип Б

 

 

2/4

ГОСТ 12.4.010-75 - с изменен.

ПРИМЕЧАНИЕ: В числителе дроби указано количество для звена, выполняющего работы машиной СО-270;

В знаменателе - для звена, выполняющего работы японской машиной НД-10-6ЕВ.

8. Качество работ.

8.1. Контроль качества срезки свай осуществляют в соответствии со СНиП 3.02.01-87.

8.2. Торцы срезанных свай должны быть горизонтальными с отклонениями не более 5°, ширина сколов бетона по периметру сваи не должна превышать 50 мм, клиновидные сколы по углам должны быть не глубже 35 мм и длиной не менее, чем на 30 мм короче глубины заделки.

8.3. Торцы свай для платформенного стыка должны быть горизонтальными с отклонениями не более 0,02, не должны иметь сколов бетона по периметру шириной более 25 мм, клиновидных сколов углов на глубину более 15 мм.

8.4. Контроль осуществляют техническим осмотром обработанной сваи, результаты которого фиксируются в журнале.

8.5. Перед началом работ по срезке «голов» свай необходимо проверить техническое состояние машины в соответствии с техническими паспортами на машины СО-270 и НД-10-6ЕВ

Перечень основных проверок состояния машины СО-270.

Таблица

Наименование деталей проверки

Технические требования

1

2

3

1.

Работоспособность гидроцилиндров.

Визуально

Движение штоков гидроцилиндров должно быть равномерным без заеданий.

2.

Отсутствие трещин, вмятин на плитах верхнего и нижнего захватов.

Отсутствие деформации на шипах.

Визуально

Наличие трещин, вмятин на плитах и шипах не допускается

3.

Отсутствие трещин на проушинах гидроцилиндров.

Визуально.

Наличие трещин на проушинах не допускаются

9. Техника безопасности.

9.1. Работы по срезке «голов» свай следует производить в соответствии со СНиП III-4-80, с Правилами устройства и безопасной эксплуатации грузоподъемных кранов, Санитарными правилами при варке и наплавке металлов, утвержденными Минздравом СССР.

9.2. При работе, с установками СО-270 и НД-10-6Е следует руководствоваться правилами безопасной эксплуатации электроустановок и требованиями эксплуатационных документов завода-изготовителя.

9.2. К работе с установками СО-270 и НД-10-6Е допускаются рабочие, прошедшие предварительное обучение и инструктаж по правилам безопасной эксплуатации устройства, обучение по смежной профессии такелажника.

9.3. Вновь обученные рабочие могут быть допущены к самостоятельной работе после следующих мероприятий:

- вводного инструктажа по технике безопасности;

- производственного инструктажа на рабочем месте;

- пятидневной стажировки.

9.4. Инструктаж бригады производится начальником строительного участка или прорабом в следующих случаях:

- при изменении конструкции навесного оборудования;

- при особых обстоятельствах связанных с местными условиями.

9.5. Машинист, допущенный к работе на трубоукладчике с машиной СО-270 должен знать:

- устройство и назначение всех частей трубоукладчика и навесного оборудования, правила управления и обслуживания;

- установленный порядок обмена условными сигналами с рабочими.

9.6. Перед началом работы необходимо проверить надёжность всех резьбовых соединений, убедиться в отсутствии засорения машины обломками бетона, грязи, песка и т.д., а также в отсутствии течи рабочей жидкости.

9.7. Перед началом работы машинист должен дать предупредительный сигнал.

Поднимать машину следует посредством тросовой подвески, имеющей 3-х кратный запас прочности. Строповку машины производить только в рукавицах.

Необходимо следить за правильной строповкой машины, стропы не должны иметь перехлест. В случае повреждения строп необходимо их заменить.

9.8. При работе в темное время суток рабочая зона должна иметь достаточное освещение согласно СН-81-80 - 30 люкс.

9.9. В случае какой-либо поломки или обнаружения неисправности работа должна быть прекращена до ее устранения.

9.10. Выполнение операции «стягивание бетона с зажатыми верхними и нижними захватами» производить только при наличии ограничителя грузоподъемности на базовой машине и убедившись в предварительном разрыве всех стержней арматуры сваи.

9.11. Категорически запрещается:

1) работать на неисправной машине;

2) находиться посторонним лицам и обслуживающему персоналу в опасной зоне: под поднятой машиной, в зоне выброса оторванной части сваи;

3) работать в темное время суток без достаточного освещения;

4) работать без защитных касок;

5) производить ежесменное и техническое обслуживание, а также ремонт во время работы машины, при работающем двигателе базовой машины и без установки машины на опору;

6) производить какое-либо обслуживание машины в подвешенном состоянии (например, смену плит под новый размер сваи: в этом случае машину следует положить на бок);

7) оставлять машину в подвешенном состоянии;

8) обжимать сваю только нижним захватом;

9) производить работы со сваями, выступающими более чем на 1,5 м от уровня грунта (при работе с трубоукладчиком);

10) при некачественном обрыве арматурных стержней (при оставшихся неразорванными 1 - 2 стержнями) пытаться снять машину со сваи путем ее подъема с зажатыми захватами, т.е. протащить необорванные стержни арматуры сквозь бетон сваи. В этом случае обязательно разжать захваты и рабочий цикл повторить еще раз, если и на этот раз стержни не оборвались - следует прекратить работу, разжать захваты и снять машину со сваи;

11) применение открытого огня для обогрева каких-либо элементов гидравлической системы;

9.12. По окончании работ и при значительных перерывах в работе машину опустить на грунт и отключить двигатель базовой машины.

9.13. При перемещении базовой машины на новую позицию для предотвращения раскачивания устройства СО-270 или НД-10-6Е следует применять оттяжки.

9.14. Границы опасных зон вблизи движущихся частей и рабочих органов машин определяются расстоянием в пределах 5 м.

9.15. При работе с японской машиной НД-10-6Е необходимо выполнять следующие правила:

- при правильном подсоединении силового кабеля к источнику питания на пульте управления насосной станции горит белая лампа. В случае загорания красной лампы - поменять фазу;

- обеспечить закрепление гидрошлангов на строповочном приспособлении согласно техническому паспорту для исключения их свисания в перегибе в месте крепления к раме разрушения;

- двери шкафов насосной станции держать закрытыми;

- не натягивать гидрошланги для предупреждения их обрыва;

- не натягивать сильно кабель дистанционного пульта управления;

- хранить пульт управления закрытым пленкой от попадания влаги;

- не оставлять без присмотра включенным пульт дистанционного управления и разрушающую раму;

- не перегибать гидрошланги и не крепить их проволокой во избежание разрыва;

- не повышать давление в гидросистеме выше номинального;

- мощность источника питания установки должна быть не менее 30 кВт, т.к. при пуске установки потребляемый ток в 3 раза превышает номинальный (II кВт).

9.16. При производстве газопламенных работ рабочее место необходимо освободить от сгораемых материалов в радиусе не менее 5 м, а от взрывоопасных материалов и установок (в том числе газовых баллонов) - 10 м.

9.17. Закрепление газопроводящих рукавов на ниппелях горелок, резаков и редукторов, а такие в местах наращивания рукавов необходимо выполнять стяжными хомутами.

9.18. При срезке арматурных выпусков керосинорезом следует соблюдать правила пожарной безопасности при производстве строительно-монтажных работ.

9.19. Грузозахватные приспособления в процессе эксплуатации должны осматриваться лицом, ответственным за их исправное состояние в сроки, установленные «Правилами устройства и безопасной эксплуатации грузоподъемных кранов», утвержденными Госгортехнадзором СССР.

9.20. При складировании обрезков свай на площадке, необходимо руководствоваться следующими требованиями:

1) укладывать обрезки свай на прокладки и спланированную поверхность, имеющую уклон не более 5°. В зимнее время площадка для складирования должна очищаться от снега и наледи и посыпаться песком.

2) Складировать обрезки на расстоянии не менее 1 м от проезжей части автодороги.

3) При выполнении погрузочно-разгрузочных работ не допускается строповка обрезков, находящихся в неустойчивом положении, а также смещение строповочных приспособлений на приподнятом грузе.

СПИСОК ИСПОЛЬЗОВАННОЙ ЛИТЕРАТУРЫ

1. Технический паспорт на машину СО-270 для обработки голов железобетонных свай под ростверк. НПО ВНИИстройдормаш 1988 г.

2. Каталог «Строительно-монтажные краны и подъемники», трест Мосоргпромстрой, М. 1984г.

3. Транспортные машины общего и специального назначения (краткая техническая характеристика), тр. Мосоргпромстрой, Москва, 1984 г.

4. «Строительные и дорожные машины» № 12, 1987 г.

5. СНиП 3.02.01-87 «Земляные сооружения, основания и фундаменты».

6. СНиП III-4-80 «Техника безопасности в строительстве»

7. ЕНиР Сборник 12 «Свайные работы».

8. Строительно-монтажные краны. Каталог тр. Мосоргпромстрой. М. 1985 г.

9. Перечень грузозахватных приспособлений, рекомендуемых для применения при строительстве зданий и сооружений, возводимых Главмоспромстроем. Москва 1984 г.

 




ГОСТЫ, СТРОИТЕЛЬНЫЕ и ТЕХНИЧЕСКИЕ НОРМАТИВЫ.
Некоммерческая онлайн система, содержащая все Российские Госты, национальные Стандарты и нормативы.
В Системе содержится более 150000 файлов нормативно-технической документации, действующей на территории РФ.
Система предназначена для широкого круга инженерно-технических специалистов.

Рейтинг@Mail.ru Яндекс цитирования

Copyright © www.gostrf.com, 2008 - 2026