Крупнейшая бесплатная информационно-справочная система онлайн доступа к полному собранию технических нормативно-правовых актов РФ. Огромная база технических нормативов (более 150 тысяч документов) и полное собрание национальных стандартов, аутентичное официальной базе Госстандарта. GOSTRF.com - это более 1 Терабайта бесплатной технической информации для всех пользователей интернета. Все электронные копии представленных здесь документов могут распространяться без каких-либо ограничений. Поощряется распространение информации с этого сайта на любых других ресурсах. Каждый человек имеет право на неограниченный доступ к этим документам! Каждый человек имеет право на знание требований, изложенных в данных нормативно-правовых актах!

  


 

МИНИСТЕРСТВО АВТОМОБИЛЬНЫХ ДОРОГ РСФСР

МЕТОДИЧЕСКИЕ РЕКОМЕНДАЦИИ
ПО ПРОЕКТИРОВАНИЮ И ОБОРУДОВАНИЮ
АВТОМАГИСТРАЛЕЙ ДЛЯ ОБЕСПЕЧЕНИЯ
БЕЗОПАСНОСТИ ДВИЖЕНИЯ

МОСКВА «ТРАНСПОРТ» 1983

Методические рекомендации по проектированию и оборудованию автомагистралей для обеспечения безопасности движения /Минавтодор РСФСР - М.: Транспорт, 1983.

Разработаны в развитие СНиП II-Д.5-72 и основаны на результатах научных исследований, выполненных в Гипродорнии, МАДИ и других организациях, а также на анализе отечественного и зарубежного опытов проектирования автомагистралей. Учтены положения проекта стандарта СЭВ «Автомагистрали международные. Основные технические требования».

При составлении рекомендаций учтены замечания и предложения рецензента проф. д-ра техн. наук В.Ф. Бабкова, а также замечания Союздорпроекта, Союздорнии, ВНИИ БД МВД СССР и Росавтомагистрали.

Предназначены для инженерно-технических работников.

Ил. 64, табл. 34, библиогр. 12 назв.

Рекомендации разработаны под руководством д-ра техн. наук А.П. Васильева. Отдельные главы и разделы написали: д-р техн. наук А.П. Васильев, кандидаты техн. наук В.Д. Белов, Н.П. Минин, Е.М. Окороков, М.И. Фримштейн, А.П. Шевяков, инженеры Б.Б. Анохин, А.А. Кукушкин, Л.Г. Марьяхин, В.О. Машкин (Гипродорнии); доктора техн. наук Е.М. Лобанов, В.В. Сильянов, кандидаты техн. наук М.В. Немчинов, В.С. Порожняков, Н.П. Орнатский, П.И. Поспелов, Б.А. Щит, инженеры П.С. Садиков, А.Я. Хомяк (МАДИ); инж. С.Г. Бородина (ВНИИБД МВД СССР).

Выпущено по заказу Министерства автомобильных дорог РСФСР

Ответственный за выпуск Л.Г. Марьяхин

Зав. редакцией В.Г. Чванов

Редактор Е.С. Голубкова

1. ОБЩИЕ ПОЛОЖЕНИЯ

1.1. Автомобильные магистрали (автомагистрали) предназначены для безопасного и удобного движения автомобилей с высокими скоростями, для обеспечения общегосударственных, административных, культурных и социально-экономических связей в стране.

1.2. К автомагистралям относятся дороги, имеющие проезжую часть не менее чем из двух полос движения в каждом направлении, остановочные полосы, разделительную полосу (полосы), инженерное обустройство и специальные дорожные знаки, пересечения в разных уровнях с автомобильными и железными дорогами. В исключительных случаях допускается устройство канализированных пересечений и примыканий в одном уровне.

К автомагистралям относятся дороги I категории.

1.3. На автомагистралях разрешается движение мотоциклов, не разрешается движение велосипедов, гужевых повозок и других транспортных средств, имеющих скорость менее 40 км/ч или габариты, превышающие габариты автомобилей, на движение которых запроектирована дорога.

1.4. По условиям трассирования и техническому уровню автомагистрали разделяются на скоростные, предназначенные преимущественно для дальних пассажирских и грузовых перевозок, и частично скоростные, по которым осуществляются, как правило, грузовые перевозки высокой интенсивности на сравнительно короткие расстояния.

1.5. Конструкция и оборудование скоростных автомагистралей исключает возможность въезда на них автомобилей, кроме мест пересечений и примыканий дорог I - III категорий.

На частично скоростных магистралях допускаются более частые примыкания, в том числе дорог IV категории и подъездов к расположенным поблизости населенным пунктам, с устройством в отдельных случаях канализированных пересечений в одном уровне.

1.6. По назначению и условиям работы автомагистрали разделяют на следующие группы:

соединяющие крупные административные и индустриальные центры;

обходы и кольцевые магистрали вокруг больших городов;

головные участки дорог (вводы в большие города);

подъезды к аэропортам, морским или речным причалам, к местам массового отдыха, исторических событий.

Для автомагистрали каждой группы характерен свой состав транспортного потока и закономерности роста интенсивности движения (см. приложение 1). Автомагистраль большой протяженности может состоять из участков, относящихся к различным группам.

1.7. Оценивая эффективность строительства автомагистралей, следует учитывать, что относительное число дорожно-транспортных происшествий на них в среднем в 2 - 3 раза ниже, чем на других дорогах, а относительное число смертельных исходов в происшествиях ниже в 3 - 4 раза (см. приложение 1).

При одинаковых уровнях загрузки скорости движения на автомагистралях на 10 - 30 км/ч выше, чем на двухполосных дорогах (см. приложение 1).

1.8. Автомагистрали рекомендуется трассировать по новому направлению, поскольку это способствует развитию промышленности и сельского хозяйства в зоне тяготения и позволяет получить трассу, полностью удовлетворяющую современным требованиям удобства и безопасности движения.

1.9. Если получаемые по рекомендациям решения будут выше максимальных или ниже минимальных значений, регламентируемых СНиП II.Д-5.72, их целесообразность должна быть обоснована технико-экономическими расчетами.

2. ТРАНСПОРТНО-ЭКСПЛУАТАЦИОННЫЕ КАЧЕСТВА АВТОМОБИЛЬНЫХ МАГИСТРАЛЕЙ

2.1. Загрузка автомобильных магистралей движением

2.1.1. Загрузка автомагистрали движением характеризуется степенью загрузки Zp, которую определяют как отношение интенсивности движения N к пропускной способности Р

Zр = N : Р.                                                                   (2.1)

2.1.2. Под расчетной загрузкой автомагистрали движением понимают загрузку, при которой обеспечиваются наиболее высокая экономичность, удобство и безопасность движения. Для участков автомагистралей на подъездах к аэропортам, морским и речным причалам расчетный уровень загрузки1 может быть принят из условия минимизации времени сообщения.

1 В «Руководстве по оценке пропускной способности автомобильных дорог» (М., Транспорт, 1982, с. 10, п. 1.28) термин «уровень загрузки» заменен на «коэффициент загрузки».

Уровень загрузки движением определяется для каждого периода года - летнего, осенне-весеннего и зимнего (порядок определения расчетного периода года см. в п. 6.2).

2.1.3. Рекомендуемая степень загрузки Zp для условий движения в сухое летнее время года на автомагистралях различных групп приведена в табл. 2.1. При неблагоприятных погодно-климатических условиях в расчетные периоды года эти уровни загрузки могут быть повышены на 10 - 15 %.

Таблица 2.1

Группа автомагистралей

Расчетные Zp для дорог

Обеспечиваемый уровень удобств

Критерий определения

вновь строящихся

реконструируемых

Подъезды к аэропортам, морским и речным причалам

0,2

0,5

А

Минимизация времени сообщения

Внегородские автомагистрали

0,45

0,65

Б

Минимизация приведенных затрат

Входы в города, обходы и кольца вокруг больших городов

0,6

0,65

В

То же

2.1.4. При разработке проектов новых или реконструируемых автомагистралей следует предусматривать в первую очередь увеличение числа полос движения на тех участках, где Zp выше приведенных в табл. 2.1.

2.2. Пропускная способность и ее оценка

2.2.1. Пропускная способность - одна из важнейших характеристик транспортной работы автомагистрали, используемая для определения числа полос движения, выявления участков возможного образования заторов или ухудшения транспортно-эксплуатационных качеств. Пропускная способность автомагистрали определяется для каждого периода года.

2.2.2. Суммарная пропускная способность автомобильной магистрали

,                                                (2.2)

где РΣ - суммарная пропускная способность автомагистрали, авт./ч;

P1, Р2 ..... Рn - пропускная способность отдельных полос движения, соответственно, первой, второй и т.д. полос, определяемая по формуле (2.3), авт./ч.

2.2.3. Пропускная способность отдельной полосы движения

,                    (2.3)

где Pn - пропускная способность n-ной полосы движения, авт./ч;

К - коэффициент приведения потока легковых автомобилей к физическому;

β1 - коэффициент, учитывающий влияние вида подъезда к сооружению обслуживания на пропускную способность и принимаемый при определении пропускной способности только правой полосы;

β2 - коэффициент, учитывающий радиус кривой в плане и принимаемый при определении пропускной способности только левой полосы (при радиусах кривых менее 1000 м β2 = 0,85, а более 1000 м β2 = 1);

β3 - коэффициент, учитывающий влияние пересечений в разных уровнях (табл. 2.2);

b - ширина полосы движения (b = 3,0 ÷ 3,75 м), м;

Р - число тяжелых автомобилей и автобусов = 0 ÷ 30), %;

i - продольный уклон, ‰;

ψcj - коэффициент приведения к легковому автомобилю отдельных типов транспортных средств;

ηi - число (в долях единицы) транспортных средств различных типов.

Таблица 2.2

Вид сопряжения съезда с автомагистралью

Интенсивность движения по съезду, % от интенсивности по автомагистрали

β3 для полосы

правой

левой

Переходно-скоростные полосы, отделенные от основной проезжей части разделительной полосой

10 - 25

0,95

1,0

25 - 40

0,90

0,95

Только переходно-скоростные полосы

10 - 25

0,88

0,95

25 - 40

0,83

0,90

Съезды, не имеющие переходно-скоростных полос

10 - 25

0,80

0,90

25 - 40

0,75

0,80

Коэффициент β1 имеет следующие значения:

Полное отделение от основной проезжей части и наличие

переходно-скоростных полос                                                                                  1,0

Наличие только переходно-скоростных полос                                                     0,98

Только отделение от основной проезжей части                                                   0,80

Без переходно-скоростных полос и без отделения                                               0,64

Коэффициент ψcj имеет следующие значения:

Легковые автомобили                                                                                              1,0

Грузовые автомобили грузоподъемностью:

до 2 т                                                                                                                          1,5

5 т                                                                                                                           2,0

8 т                                                                                                                           2,5

14 т                                                                                                                         3,5

Автопоезда грузоподъемностью:

до 6 т                                                                                                                          3,0

12 т                                                                                                                         3,5

20 т                                                                                                                         4,0

30 т                                                                                                                         5,0

Автобусы                                                                                                                   3,0

Примечание. При промежуточных значениях грузоподъемности транспортных средств коэффициенты приведения определяют по интерполяции.

2.2.4. Значения величин Р, ψcj и ηi в формуле (2.3) принимаются с учетом распределения автомобилей различного типа по полосам при интенсивности движения, близкой к размеру пропускной способности. Данные о распределении автомобилей на четырехполосных магистралях, полученные из наблюдений, приведены в табл. 2.3. При ином, чем в таблице, составе движения допускается интерполяция значений. Необходимо также учитывать, что тяжелые автомобили и автопоезда движутся, как правило, по правой полосе.

Таблица 2.3.

Число легковых автомобилей, % от общей интенсивности движения

Состав движения, %

легкового

грузового

20

7 - 10 (30 - 35)

90 - 93 (65 - 70)

40

24 - 30 (50 - 55)

70 - 76 (45 - 50)

60

38 - 45 (65 - 70)

55 - 62 (30 - 35)

80

74 - 84 (80 - 85)

16 - 26 (15 - 20)

Примечание. В скобках дан состав движения на левой стороне проезжей части, без скобок - на правой.

2.2.5. Порядок определения пропускной способности автомагистрали в расчетные периоды года приведен в п. 6.7.

2.2.6. Каждый участок автомагистрали, где происходит снижение пропускной способности, имеет зону влияния.

При построении линейного графика изменения пропускной способности необходимо исходить из следующей протяженности зон влияния от рассматриваемого элемента в каждую сторону (в метрах):

Участки подъемов с 20 ‰ и более протяженностью до 200 м                            300

Пересечение в разных уровнях                                                                                600

Кривые в плане R < 1000                                                                                         200

2.2.7. При построении линейного графика изменения пропускной способности дороги для каждого периода года необходимо:

выделить однородные элементы и зоны их влияния, руководствуясь планом и профилем дороги;

вычислить пропускную способность отдельных полос движения для каждого периода года;

вычислить суммарную пропускную способность в каждом направлении;

график изменения пропускной способности дороги нужно строить для каждого направления движения.

2.2.8. Над графиком пропускной способности строят график изменения степени загрузки движением для каждого направления по всем периодам года. На этом графике показывают расчетную величину Zp. Участки, где Z > Zp, следует перепроектировать, добиваясь снижения Z, т.е. Z < Zp.

2.3. Прогнозирование интенсивности и скорости движения

2.3.1. При проектировании автомагистрали возникает необходимость прогноза интенсивности и скоростей движения в различные сроки работы магистрали. Различают прогнозирование: краткосрочное (5 - 7 лет), среднесрочное (10 - 15 лет), долгосрочное (более 20 лет).

2.3.2. Для автомагистрали, прокладываемой по новому направлению, прогноз интенсивности движения на все сроки выполняется на основе экономических изысканий с учетом перспектив увеличения грузовых и пассажирских перевозок в зависимости от планируемого развития всех отраслей народного хозяйства и населения в районе тяготения к дороге, а также перспектив развития дорожной сети.

На участках автомагистрали, проектируемой по направлению существующей дороги, а также при прогнозе интенсивности движения на существующей автомагистрали динамика роста интенсивности может быть установлена на основе анализа данных учета движения и закономерностей его изменения за последние 10 - 15 лет.

2.3.3. Краткосрочное прогнозирование интенсивности Nt на существующей автомагистрали используется при разработке проектов организации движения (на период до 2 - 3 лет) и при среднем или капитальном ремонте (на период до 7 - 10 лет).

При краткосрочном прогнозировании используют три закона.

А. Закон прямой с постоянным коэффициентом прироста (применяется при прогнозировании до 5 лет)

,                                                         (2.4)

где N0 - годовая среднесуточная интенсивность движения в исходный год, определенная по данным учета движения, авт./сут;

Р - средние темпы роста интенсивности движения за последние 10 - 15 лет;

t - порядковый номер расчетного года.

Б. Уравнение сложных процентов при n > 3

,                                              (2.5)

где n - число лет, на которые прогнозируется интенсивность.

В. Закон геометрической прогрессии (если известна величина q)

,                                                               (2.6)

где q - коэффициент ежегодного роста интенсивности движения, определяемый по данным учета ее за последние 10 - 15 лет.

2.3.4. Среднесрочное прогнозирование Nt используют в проектах реконструкции автомагистралей и при периоде прогнозирования до 15 лет.

При среднесрочном прогнозировании используют:

уравнение (2.5) сложных процентов;

уравнение

,                                                       (2.7)

где а, b - коэффициенты, устанавливаемые по данным учета интенсивности за последние 10 - 15 лет;

t - порядковый номер года, на который прогнозируют Nt.

2.3.5. Долгосрочное прогнозирование Nt применяют при проектировании новых автомобильных магистралей с учетом:

методов, основанных на анализе грузовых и пассажирских перевозок в районе проложения проектируемой автомагистрали;

метода экспертных оценок;

уравнения сложных процентов с проверкой по уравнению (2.5).

2.3.6. На основе прогнозов интенсивности движения могут быть определены прогнозируемые скорости движения транспортных потоков на автомагистрали во все периоды года и в среднем за год с учетом погодно-климатических условий района проложения магистрали. Методика этих расчетов приведена в гл. 6.

2.4. Оценка безопасности движения методом коэффициентов аварийности

2.4.1. Высокий технический уровень современных автомагистралей исключает многие причины дорожно-транспортных происшествий (ДТП), в результате чего аварийность на автомагистралях значительно ниже, чем на других дорогах. Однако вероятность возникновения ДТП на автомагистралях остается. Это объясняется во многом случайным характером изменения параметров и характеристик системы «водитель - автомобиль - дорога - среда», неполной изученностью и невозможностью учесть при проектировании дороги все изменения в их взаимодействии. Поэтому оценка обеспечения безопасности движения в летний и расчетные периоды года обязательна при проектировании автомагистрали.

2.4.2. Порядок и методы оценки безопасности движения приведены в ВСН 25-76 Минавтодора РСФСР [12]. В настоящих рекомендациях приведены только дополнительные частные коэффициенты аварийности, позволяющие более полно учесть особенности трассирования и оборудования автомагистралей.

2.4.3. Дополнительные частные коэффициенты К - К относительной аварийности учитывают влияние различных факторов.

Коэффициент К учитывает ширину разделительной полосы автомагистрали:

Ширина разделительной полосы, м                   ≤ 2       4          6          8          10        12

К                                                                          10        7          4          2,5       1,2       1,0

Коэффициент К учитывает способ сопряжения кромки проезжей части с обочинами и разделительной полосой, имеет следующие значения:

Краевая полоса                                                                                                1,0

»            »        отсутствует                                                                        1,2

Бордюр высотой более 6 - 8 см                                                                      1,5

Коэффициент К учитывает расположение относительно кромки проезжей части до массивных элементов (опор путепроводов, мачт освещения):

Расстояние от кромки проезжей части

до массивных элементов, м                      0,5       1,5       3,0        4,5     6,0     7,5       9,0

К                                                               15        10        7           4,5     2,5     1,25     1,0

Примечание. При установке ограждений на разделительной полосе коэффициент К уменьшается в 1,7 раза.

Коэффициент К учитывает расстояния lп между пересечениями в разных уровнях:

lп, км              ≤ 3,0         3 - 4           4 - 5           5 - 6            6 - 7           7 - 8           ≥ 9

К                  3,0            2,1             1,8             1,6              1,4             1,2             1,0

Коэффициент К учитывает тип сопряжения съезда с основными полосами движения, имеет следующие значения:

Съезды, примыкающие к автомагистрали посредством самостоятельной полосы движения, дополнительной к основным                                                                    1,0

Съезды, имеющие полосы разгона и торможения, отделенные от автомагистрали разделительной полосой                                                                                              1,3

То же, без отделения от автомагистрали                                                               1,7

Съезды без полос разгона и торможения                                                              2,8

Коэффициент К учитывает интенсивность движения по автомагистрали с четырьмя полосами проезжей части:

Интенсивность движения, тыс. авт./сут

2 - 5

5 - 8

8 - 11

11 - 14

14 - 17

17 - 20

20 - 23

23 - 26

26 - 29

29 - 31

К

2,3

1,7

1,2

1,0

1,1

1,3

1,7

2,2

2,8

3,4

Примечание. Для шестиполосных автомагистралей при интенсивности свыше 17 тыс. авт./с коэффициент К уменьшается в 1,3 раза.

Зоны влияния различных элементов представлены в табл. 2.4.

Таблица 2.4

Элемент автомагистрали или оборудования

Зона влияния

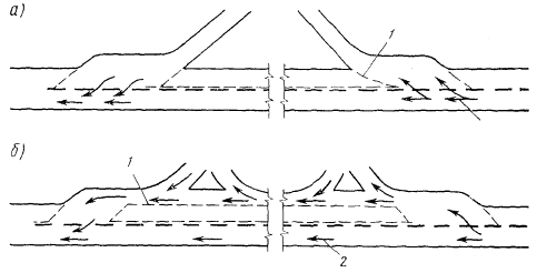
Пересечения в разных уровнях типа «полный клеверный лист»:

 

при отсутствии переходно-скоростных полос

В пределах между правоповоротными съездами; в пределах участков длиной по 150 м до и после правоповоротных съездов

при наличии переходно-скоростных полос

50 м до начала съезда с автомагистрали; 30 м после начала въезда на автомагистраль

Другие типы пересечений в разных уровнях:

 

при отсутствии переходно-скоростных полос

75 м до начала съезда с автомагистрали; 50 м после начала въезда на автомагистраль

при наличии переходно-скоростных полос

50 м до начала полосы торможения; 30 м за полосой разгона

Массивные препятствия

50 м до места установки

Зоны влияния других элементов следует определять в соответствии с ВСН 25-76.

2.4.4. Значения частных коэффициентов аварийности, характеризующих влияние других элементов и условий движения, не представленных в п. 2.4.3, следует определять в соответствии с ВСН 25-76. При этом необходимо учитывать следующие особенности: коэффициент аварийности K3 принимается для случая двухполосных дорог; K5 соответствует случаю устройства кривых как с переходными кривыми, так и без них; K6 характеризует влияние расстояния видимости поверхности покрытий проезжей части; K9 не принимается в расчет; K17 заменяется коэффициентом K.

2.4.5. Рекомендуется относить к категориям опасных для вновь проектируемых автомагистралей участки с итоговым коэффициентом аварийности более 10, для эксплуатируемых автомагистралей - 12 и более.

3. УЧЕТ ВЛИЯНИЯ ДОРОЖНЫХ УСЛОВИЙ НА ЭМОЦИОНАЛЬНОЕ НАПРЯЖЕНИЕ ВОДИТЕЛЕЙ

3.1. Психологическая безопасность дороги

3.1.1. Безопасность дороги для движения складывается из технической и психологической безопасности.

Техническая безопасность - это обеспечение устойчивости автомобиля против заноса и опрокидывания за счет подбора радиусов кривых в плане, высоких сцепных качеств и ровности покрытия, ограждения дорог, рациональных конструкций проезжих частей на кривых в плане и всех мероприятий, влияние которых на движение автомобиля сказывается независимо от восприятия водителем дорожной обстановки.

3.1.2. Психологическая безопасность требует создания условий движения, при которых водитель будет работать в состоянии оптимальной напряженности, изменения дорожных условий для него не будут неожиданными и дорога не будет ставить перед ним неожиданных задач, в решении которых водитель может допустить ошибку.

3.1.3. Для обеспечения психологической безопасности требуются большие параметры геометрических элементов трассы автомагистрали, чем для технической безопасности. Обоснованием выбора параметров этих элементов могут служить закономерности восприятия водителем дорожной обстановки и данные о влиянии дорожных условий на эмоциональное напряжение водителя.

3.2. Возможности водителя в восприятии элементов дорожной обстановки

3.2.1. В процессе движения водителю приходится сосредоточивать свое внимание на объектах, удаленных от него на разные расстояния. Надежность работы водителя при этом в значительной степени зависит от точности зрительной оценки расстояний с учетом скорости движения автомобиля (табл. 3.1).

3.2.2. Наиболее точно водители оценивают расстояния до объектов, перемещающихся в тангенциальном направлении. При оценке расстояний в радиальном направлении точность снижается при увеличении расстояний:

Расстояние, м

≤ 50

≤ 700

1000

1500

2000

Средняя ошибка оценки расстояния, %

12

17

21

30

48

Таблица 3.1

Информация, получаемая водителем во время фиксации взгляда

Расстояние, м, при скорости движения, км/ч

40

60

80

≥ 100

Оценка покрытия

80

120

160

160 - 180

Оценка видимости покрытия проезжей части и объектов на нем высотой до 0,2 м

100 - 120

150 - 180

210 - 240

280 - 350

Восприятие встречных и попутных автомобилей

200 - 300

200 - 500

300 - 500

500 - 1000

Оценка общего направления дороги

200 - 1000

500 - 1000

1000 - 1500

1000 - 1500

3.2.3. Особенности восприятия водителем глубины пространства, точность оценки им расстояний определяют эффективность мер по обеспечению видимости на автомагистрали. Максимальная удаленность объектов, а следовательно, и оцениваемое до них расстояние находятся в пределах 1,5 - 2,5 км, причем бóльшая часть наиболее важных с позиции обеспечения безопасности движения объектов воспринимается при удалении до 1,5 км. На этом расстоянии устанавливается лишь факт наличия их в поле зрения.

Наибольшее расстояние (в метрах), при котором возможны:

а) оценка расстояний до:

грузового автомобиля                                                                                              2500

легкового          »                                                                                                       1400

человека                                                                                                                     1300

б) различение скорости движения встречного автомобиля:

грузового                                                                                                                   350

легкового                                                                                                                   200

в) оценка изменения скорости попутного автомобиля:

грузового                                                                                                                   85

легкового                                                                                                                   60

3.2.4. Наибольшее расстояние до объектов восприятия, при котором еще возможно получение о них какой-либо информации, составляет 2500 м, а для обеспечения оценки режима движения транспортного потока - не более 1500 м. Увеличение расстояния видимости автомобилей на автомагистралях сверх указанных не дает какого-либо эффекта.

3.3. Восприятие водителем кривых в плане

3.3.1. Крутизна закругления оценивается водителем с различных расстояний в зависимости от скорости движения и радиуса кривой в плане. Чем выше скорость, тем на большем расстоянии до начала кривой водитель пытается оценить закругление, с тем чтобы вовремя скорректировать скорость.

3.3.2. Водитель прогнозирует условия движения на кривых в плане по их внешней характеристике - видимой кривизне линий с использованием сформулированных у него ассоциативных связей внешнего вида кривой и возможной поперечной (центробежной) силы. При этом такие связи формируются для наиболее часто встречаемых сочетаний дорожных условий. Точность прогноза, составляемого водителем, помимо состояния зрительной системы, определяется еще и соответствием конкретных условий восприятия тем, при которых были сформулированы ассоциативные связи. Этим, в частности, можно объяснить повышенную опасность кривых в плане, расположенных в конце спуска, так как такие закругления рассматриваются водителем с необычно высокой точки, вследствие чего уменьшаются перспективные искажения закругления и оно воспринимается более плавным, допускающим большую скорость движения, чем есть на самом деле.

3.3.3. Изменение радиусов кривых в плане воспринимается водителем дискретно. Точность различения закруглений определяется дорожными условиями, в частности, интенсивностью движения (табл. 3.2).

Таблица 3.2

Класс шкалы восприятия

Радиусы однозначно воспринимаемых кривых, м, при уровне загрузки дороги движением

0 - 0,5

0,5 - 0,7

> 0,7

1

200 - 300

200 - 250

200 - 400

2

300 - 400

250 - 300

400 - 800

3

400 - 600

300 - 400

800 - 1200

4

600 - 800

400 - 500

> 1200

5

800 - 1200

500 - 700

-

6

1200 - 2000

800 - 1000

-

7

> 2000

1000 - 2000

-

8

-

> 2000

-

3.3.4. Число классов на шкале восприятия кривых в плане зависит от сложности дорожных условий. Кривые, радиусы которых различаются на значение, меньшее порогового, относятся водителем к одному классу и воспринимаются как однозначные. Исходя из этого может быть сформулировано правило выбора параметров закруглений при проектировании или реконструкции дорог: при необходимости улучшения условий движения на кривых в плане малые изменения радиусов неэффективны. Радиусы должны быть увеличены настолько, чтобы были превышены пороговые значения и закругления могли быть отнесены при их значительном восприятии к другому классу, обеспечивающему более безопасное и комфортабельное движение. В противном случае эффект от увеличения радиуса кривой будет неощутим.

3.4. Влияние дорожных условий на утомление водителей

3.4.1. Субъективное ощущение человеком утомления - усталость зависит от эмоционального состояния. В напряженных условиях работы чувство усталости при одной и той же степени утомления меньше, чем при монотонной работе.

3.4.2. Наибольшая продолжительность работы водителя с оптимальной надежностью наблюдается при уровне загрузки дороги движением в пределах 0,1 - 0,3. Этот уровень обеспечивает и оптимальный уровень эмоционального напряжения водителя, при котором продуктивность работы восстанавливается незначительным волевым усилием.

3.4.3. На автомагистралях в целях снижения утомления водителя при любой работе следует предусматривать:

обеспечение оптимальной загрузки движением;

обеспечение психологической ясности трассы автомагистрали;

площадок для кратковременного отдыха водителей и пассажиров;

создание комплексов обслуживания с пунктами питания и отдыха;

обеспечение своевременной подачи водителю информации о дорожных условиях и рекомендуемых режимах движения.

3.5. Учет влияния дорожных условий на эмоциональное напряжение водителя

3.5.1. Под эмоциональным напряжением водителя понимают нервно-психическую напряженность, вызванную дорожными условиями. Уровень эмоционального напряжения определяет надежность работы водителя и безопасность движения.

3.5.2. Различают три основных состояния эмоционального напряжения: недогрузка, оптимальное напряжение и информационная перегрузка. Первое состояние характерно для монотонных условий движения, третье - для участков автомагистрали со сложными дорожными условиями, вызванными высокой интенсивностью движения или неудачными сочетаниями элементов плана и продольного профиля автомагистрали.

Чем сложнее дорожные условия, тем выше уровень эмоционального напряжения водителя. Переход в менее сложные дорожные условия, как правило, не отражается на надежности работы водителя. Наиболее опасно резкое возрастание сложности дорожных условий, например переход от монотонных условий работы к напряженным.

3.5.3. Для обеспечения наивысшей надежности работы и снижения утомления водителя продолжительность пребывания его в состоянии оптимального эмоционального напряжения должна быть более 80 %, в состоянии перегрузки - менее 5 %, а в состоянии информационной недогрузки - менее 15 %. Продолжительность непрерывного пребывания в состоянии эмоциональной перегрузки или недогрузки не должна превышать 2 - 4 мин в зависимости от интенсивности движения.

3.5.4. Особенности формирования эмоционального напряжения водителя определяют два основных требования к дороге по оптимальному уровню эмоционального напряжения и надежности работы водителя:

должно быть обеспечено прогнозирование изменения трассы дороги и всей дорожной обстановки. Психологически правильной можно считать только трассу, не содержащую неожиданностей для водителя и заблаговременно подсказывающую ему изменение направления движения. Это требование связано с выбором расстояний видимости, рациональных сочетаний элементов трассы в плане и продольном профиле, обеспечивающих зрительную ясность и пространственную плавность дороги;

сама дорога должна исключать возможность появления как монотонных, так и чрезмерно напряженных условий движения. Первое обеспечивается рациональным сочетанием элементов трассы и всей дороги с ландшафтом, а второе - обеспечением высокой пропускной способности, исключающей чрезмерно высокий уровень загрузки и напряженный режим движения.

3.6. Время реакции водителя

3.6.1. Время реакции отражает процесс восприятия водителем дорожной обстановки. Это основной показатель, позволяющий учесть психофизиологические возможности водителя при проектировании дорог.

3.6.2. Время реакции водителя на автомагистралях на ожидаемый сигнал находится и пределах 0,60 - 1,6 с. Время реакции на неожиданный сигнал зависит от возможного ускорения автомобиля-лидера:

Уровень обеспеченности, %                                                  15          50          85          95

Возможное ускорение торможения лидера, м/с2                5,5         3,4         2,4         1,5

Время реакции водителя, с                                                    1,35       1,9         2,6         3,7

3.6.3. Продолжительность движения по автомагистрали оказывает существенное влияние на время реакции водителя:

Продолжительность движения, ч        0,5               1,0             1,5              2,0             2,5

Время реакции, с                             1,6 ± 0,3     2,0 ± 0,3     2,3 ± 0,4     2,4 ± 0,4     2,5 ± 0,5

3.6.4. Расчетное время реакции водителя, принятое в СНиП II-Д.5-72, для всех категорий дорог равно 1,0 с. Для автомагистралей это значение можно применять лишь при условии гарантируемого обеспечения своевременного обнаружения водителем опасности. Мировая практика эксплуатации автомагистралей и отечественные исследования показывают, что для автомагистралей время реакции водителей нужно назначать из условия неожиданного возникновения опасности с ориентацией на ослабленное внимание водителей. Желательно, чтобы расчетное время реакции было не менее 2,5 с.

3.6.5. Возрастание стоимости строительства автомагистралей при увеличении расчетного времени реакции компенсируется главным образом за счет сокращения потерь от дорожно-транспортных происшествий. Экономически оправдано расчетное время реакции водителя на автомагистрали в равнинном рельефе 2,6 с, в пересеченном - 2,4 с. Это значение времени реакции, имеющее обеспеченность 85 %, рекомендуется принимать в качестве расчетного согласно п. 3.21 СНиП II-Д.5-72 при уклонах местности менее 30 ‰, т.е. в тех случаях, когда увеличение расчетного времени реакции и как следствие расстояний видимости радиуса вертикальных кривых не влечет за собой значительного увеличения объема земляных работ.

4. ТРЕБОВАНИЯ К ЭЛЕМЕНТАМ ПЛАНА И ПРОДОЛЬНОГО ПРОФИЛЯ

4.1. Общие принципы трассирования автомагистралей

4.1.1. Трасса автомобильной магистрали на всем своем протяжении должна обеспечивать безопасность при высоких скоростях движения и пропуск потоков автомобилей без помех от местного и пересекающего движения. В этой связи к автомагистралям предъявляются более высокие требования по выбору и сочетанию элементов трассы, чем к двухполосным дорогам.

4.1.2. Трассу автомагистрали рекомендуется проектировать как плавную линию в пространстве. Элементы плана, продольного и поперечных профилей должны быть связаны между собой и с прилегающей местностью с учетом их влияния на условия движения и зрительное восприятие дороги. При проектировании плана, продольного и поперечных профилей необходимо учитывать удобство и безопасность движения, условия наименьшего ограничения скорости и недопущения ее резких изменений в любое время года, экономичность перевозок, а также удобство водоотвода, защиты дороги от снежных и песчаных заносов, гололеда, влияния порывов ветра, тумана и других неблагоприятных погодно-климатических факторов.

4.1.3. Трасса автомагистрали не должна на большом протяжении содержать элементы, соответствующие минимальным нормам, поскольку при этом не обеспечивается психологическая безопасность дороги. Использовать эти нормативы, согласно СНиП II-Д.5-72, п. 3.21, следует в исключительных случаях. Такие участки автомагистрали должны преодолеваться с расчетной скоростью не более чем за 2 - 3 мин (см. п. 3.5.3). Суммарная длина таких участков не должна превышать 15 % от общей длины автомагистрали.

4.1.4. Автомагистраль должна обеспечивать психологическую безопасность. Это связано с повышенными требованиями к зрительной ясности и плавности дороги. От проектировщика требуется пространственное представление о будущей дороге и о связи ее с окружающим ландшафтом. Недопустимо раздельное проектирование плана и продольного профиля автомагистрали, т.е. трассу сразу нужно проектировать как пространственную кривую. Увязка автомагистрали с ландшафтом окружающей местности и обеспечение зрительной ясности и плавности дороги - неотъемлемая часть обеспечения безопасности движения.

4.1.5. К автомагистрали предъявляются повышенные эстетические требования, которые распространяются не только на земляное полотно и элементы инженерного оборудования, но и на более широкую полосу местности, видимую с дороги. При проектировании необходимо бережно относиться к природе, сохранять природные формы ландшафта, растительность, водоемы. В отдельных случаях следует улучшать ландшафтный коридор за счет дополнительных посадок деревьев или прореживания небольших лесных массивов и открытия видов на озера и реки, красивые рощи и поля, необычные геологические обнажения и выходы скал, исторические и архитектурные памятники. Правильно запроектированная дорога может улучшать и разнообразить ландшафт, внося в него новые элементы. В степных районах дорога оживляет однообразный ландшафт благодаря посадке придорожных насаждений, устройству придорожных водоемов и озеленению берегов рек и озер.

4.1.6. При проектировании автомагистрали необходимо учитывать меры по охране окружающей среды, включающие бережное отношение к сельскохозяйственным, особенно высокопродуктивным, землям, лесным массивам, садам, ценным техническим культурам, к зонам отдыха и местам расположения лечебно-профилактических учреждений и санаториев; не допускается нарушать экологические, геологические, гидрогеологические и другие естественные условия.

Выбирать трассу автомагистрали нужно с учетом технических, экономических, эргономических, эстетических, экологических и других факторов.

Автомагистраль требует комплексного решения технических, экономических, эстетических и экологических вопросов. Она должна быть не только безопасной для движения, но и не причинять вреда землепользованию и окружающей среде. Для этого при проектировании следует соблюдать ряд взаимно связанных принципов:

обеспечение постоянной, оптимальной по значимости, эмоциональной напряженности водителей при движении по дороге;

обеспечение на всем протяжении дороги постоянной расчетной скорости;

проложение трассы дороги как единой плавной пространственной кривой с взаимно увязанными элементами;

увязка дороги и дорожных сооружений с окружающим ландшафтом; сохранение окружающей среды, в том числе склонов холмов, лесных массивов, ценных сельскохозяйственных угодий.

4.2. Расстояние видимости поверхности дороги

4.2.1. Обеспечение расстояний видимости поверхности дороги на автомагистралях проверяется на участках кривых в плане, на вершинах подъемов и в зоне транспортных развязок.

При определении расстояния видимости высота препятствия принимается равной 0,2 м. Расчетные значения коэффициента сцепления принимаются в зависимости от состояния покрытия и возможной скорости движения (см. гл. 9).

4.2.2. Особый случай - требование к расстоянию видимости на кривых в плане. На таких участках из-за опасности бокового заноса интенсивность торможения меньшая, чем на прямой. Кроме этого, необходимо учитывать неравномерность шероховатости покрытия под правым и левыми колесами автомобиля, возможность неожиданного порыва бокового ветра, появления гололеда. Поэтому на кривых в плане расчетное значение коэффициента продольного сцепления следует снижать на 20 %.

4.2.3. Времени, предоставляемого расчетным расстоянием видимости по СНиП II-Д.5-72, достаточно для водителя, предупрежденного об опасности и ожидающего ее, но работа в таком режиме является очень напряженной.

В этой связи расстояния видимости, рассчитанные с ориентацией на напряженную работу водителей и преодолеваемые с расчетной скоростью за 6 с или менее, следует рассматривать как минимально исключительные, т.е. их можно применять не повсеместно, а в исключительных случаях - при ……… обстоятельствах, если это не влечет за собой значительного увеличения объема земляных работ, расстояния видимости должны быть рассчитаны на время реакции водителя не ниже 85 % обеспеченности при неожиданном появлении опасности (см. ч. 3.6).

4.2.4. Расстояния видимости, рассчитанные на предельные возможности водителя и автомобиля, обеспечивают техническую безопасность движения. Психологическая безопасность на автомагистралях зависит от уверенности водителя в течение длительного времени выдерживать высокую скорость движения. Психологическая безопасность может быть обеспечена при расстояниях видимости, значительно превышающих необходимые из условия торможения. Это расстояние должно быть 600 - 700 м, и его следует выдерживать на большей части длины автомагистрали.

Участки с ограниченной видимостью должны преодолеваться с расчетной скоростью движения не менее чем за 10 с. Эти расстояния превышают минимально исключительные. Они обеспечивают расчетное время реакции водителя 2,5 с и могут рассматриваться как допустимые при проектировании автомагистралей.

4.2.5. В зависимости от сложности рельефа расстояние видимости поверхности дороги при проектировании автомагистрали везде, где это не вызывает удорожания, рекомендуется выбирать с учетом скорости движения автомобилей (табл. 4.1).

Таблица 4.1

Условие применения

Расстояние видимости, м, при скорости движения, км/ч

80

100

120

140 - 150

Минимальное по СНиП II-Д.5-72

100

140

175

250

Допустимое кратковременное ограничение видимости

250

280

340

400

Обеспечение психологической комфортабельности и безопасности движения

450

500

600

700

Примечание. В связи с отличием от требований СНиПа рекомендации можно применять при технико-экономическом обосновании.

4.3. Ограничение длин прямых

4.3.1. Задачи повышения безопасности движения на автомагистралях связаны с устранением причин, вызывающих монотонность движения. Наибольшую опасность в этом отношении представляют длинные прямые, на которых надежность работы водителей значительно ниже, чем на криволинейных участках.

4.3.2. С точки зрения безопасности движения опасна не только возможность ослепления водителей светом фар встречных автомобилей, но и продолжительность движения по прямой. Транспортный поток имеет скорость значительно меньшую, чем одиночный автомобиль, и преодолевает прямую за более продолжительное время. Предельная продолжительность движения в потоке малой интенсивности по прямой на автомагистрали установлена 1,5 - 3,0 мин в зависимости от плотности транспортного потока. При более трудных условиях движения допускается большая длина прямой:

Среднесуточная суммарная интенсивность движения, авт. сут

≤ 10000

> 10000

Соответствующая ей интенсивность 5 %-ной обеспеченности, авт./ч

≤ 250

> 250

Предельная продолжительность движения по прямой, мин

1,5 - 2,0

2,0 - 3,5

Предельная длина прямой, км

2,5 - 3,5

3,5 - 5,0

Бóльшие значения длин прямых рекомендуется использовать при преимущественном легковом движении, меньшие - при грузовом.

4.3.3. При проектировании трассы автомагистрали необходимо ограничивать не только длины прямых участков, но и их число. Две прямые, разделенные одной короткой кривой в плане, воспринимаются как единый монотонный участок дороги. Исключить ощущение монотонности можно лишь разделением длинных прямых участком с криволинейной трассой. Длина такого участка определяется продолжительностью адаптации водителя к новым условиям движения, отвыканием от предыдущего монотонного участка. Продолжительность адаптации должна быть более 2,5 - 3 мин. Из этих условий длину извилистого участка, разделяющего длинные прямые, следует назначать более 6 - 8 км. В целом же общая длина участков не должна превышать 20 % от всей протяженности дороги.

4.3.4. Ограничение длин прямых и увеличение извилистости трассы не должно быть формальным. Причину появления угла поворота следует не только оправдывать с инженерных позиций, но и обеспечивать, чтобы она была понятной и логичной для водителей и пассажиров. Такими причинами служат: сохранение архитектурных и исторических памятников, ценных сельскохозяйственных угодий, грунтово-геологические условия, к которым относятся участки поверхностного заболачивания, места с необеспеченным стоком, участки избыточного засоления. Существенны требования охраны окружающей среды - сохранение ценных земель, лесов и рощ, малых лесных массивов в малолесных степных районах, форм рельефа, определяющих поверхностный сток. Обязательным является обход населенных пунктов. Кроме указанных причин, с точки зрения трассирования автомагистралей важны вопросы обеспечения безопасности движения, связанные с учетом погодно-климатических условий. К ним относится выявление участков местности с частым образованием туманов, гололеда.

4.3.5. Для едущих по дороге изменения направления трассы выглядят убедительно только в том случае, если причины, их вызвавшие, могут быть связаны с окружающим ландшафтом. К числу таких причин относятся: резко выделяющиеся формы рельефа (холмы, низины, овраги), растительность, водоемы и водотоки, населенные пункты, в том числе хутора и сооружения, имеющие культурную или историческую ценность. Если же причину искривления трассы зрительно определить сложно, необходимо за счет посадок растительности сделать эту причину подчеркнуто убедительной. Изменения направления трассы выглядят логичными и будут экономически целесообразными, если дорога протрассирована по границам элементов рельефа с учетом рельефных форм архитектурно-ландшафтного бассейна и требований охраны окружающей среды.

4.4. Радиусы кривых в плане

4.4.1. Для автомагистралей радиусы кривых в плане там, где это возможно, рекомендуется принимать 3000 м и более. Радиус кривой в плане должен обеспечивать зрительную плавность дороги и увязку ее с окружающим ландшафтом (см. гл. 5).

4.4.2. В сложных условиях при необходимости уменьшения радиуса кривой в плане минимальный радиус рассчитывается по уравнению устойчивости автомобиля, движущегося по криволинейной траектории [см. формулу (6.9)].

4.4.3. Коэффициент μ при расчете радиуса кривой в плане можно рассматривать не только как используемую часть коэффициента сцепления, но и как характеристику комфортабельности движения. Установлено, что при μ < 0,1 поперечная (центробежная) сила практически не ощущается пассажирами и водителем.

4.4.4. При выборе поперечного уклона на кривой необходимо учитывать, что трасса автомагистрали на большем протяжении криволинейна, а проезжая часть из условия водоотвода должна иметь поперечный уклон, направленный к бровке земляного полотна. Это означает, что в формулу (6.9) величину iв нужно вводить с минусом.

4.4.5. В случае если по местным условиям необходимо вписать кривую в плане малого радиуса, размер его можно выбрать с учетом виража. Уклон виража рекомендуется принимать для районов без снежного покрова от 20 до 60 ‰, а в остальных случаях - до 40 ‰. При расположении кривой в плане на участке с продольным уклоном необходимо проверять устойчивость автомобиля по направлению косого уклона, значение которого при скорости движения 120 км/ч не должно превышать 60 ‰. В районах без снежного покрова и при отсутствии опасности гололеда косой уклон может быть увеличен до 100 ‰. Минимальные радиусы кривых в плане с учетом уклона виража приведены в табл. 4.2.

Таблица 4.2

Поперечный уклон проезжей части

Минимальные радиусы кривых в плане, м, при скорости движения, км/ч

100

120

140 - 150

Двускатный поперечный профиль iп = -0,02

1000

1500

2000

Вираж, iв = 0,02

700

1000

1200

Вираж, iв = 0,04

600

800

1100

4.4.6. Водители и пассажиры воспринимают изменение дорожных условий не непрерывно, а дискретно. Изменение радиуса кривой в плане ощущается только в том случае, если изменение поперечной (центробежной) силы и видимой кривизны поворота дороги изменяется на значение, большее порогового. В пределах одного класса (см. пп. 3.3, 3.4) кривые воспринимаются как однозначные. Для уровней загрузки движением, характерных для автомагистралей, эти классы имеют следующие границы: до 2000, 2000 - 1200, 1200 - 800, 800 - 600 м.

Водитель не ощутит разницы в условиях движения на закруглениях, радиусы которых находятся в пределах одного класса. Для улучшения условий движения необходимо увеличить радиус кривой так, чтобы он вошел в следующий класс.

4.4.7. Для автомагистралей рекомендуется применять два класса кривых в плане: повсеместно, где это возможно согласно п. 3.21 СНиП II.Д-5.72 с радиусом более 3000 м; в сложных условиях с радиусом 2000 - 1200 м; в исключительных случаях с радиусом 1000 м.

4.5. Требования к параметрам вертикальных кривых

4.5.1. Радиусы вертикальных кривых определяют не только объем земляных работ при строительстве дороги, но безопасность движения по ней и ее зрительную ясность и плавность. Минимальный радиус выпуклой вертикальной кривой рассчитывают исходя из условия обеспечения необходимого расстояния видимости поверхности дороги.

В СНиП II.Д-5.72 даны минимальные расстояния видимости поверхности дороги, обеспечивающие время реакции водителя 1,0 с. Время такой реакции может иметь обеспеченность, близкую к 85 %, лишь при гарантии исключения неожиданного появления сигнала; оно предполагает напряженную работу водителя. Такие условия могут быть допущены на участках дорог, где сама планировка, дорожно-транспортная ситуация требуют от водителя только напряженной работы, например на съездах транспортных развязок. При этом такие условия движения могут распространяться только на съезды, но не на саму автомагистраль.

4.5.2. С учетом требований, предъявляемых к расстояниям видимости, для обеспечения психологической безопасности дороги минимальные радиусы вертикальных кривых рекомендуется выбирать согласно табл. 4.3.

Таблица 4.3

Условия применения

Минимальные радиусы вертикальных выпуклых кривых, м, при расчетной скорости движения, км/ч

80

100

120

140 - 150

В исключительных случаях по СНиП II-Д.5-72 (при tp = 1 с)

5000

10000

15000

25000

Везде из условия обеспечения безопасности движения (при tp = 2,5 с)

10000

12000

18000

35000

Обеспечение удобных условий работы (психологически безопасная дорога)

15000

20000

30000

45000

4.5.3. Увеличение радиусов вертикальных кривых улучшает зрительную ясность и плавность дороги. Зрительная плавность дороги, на которой совмещены вертикальные и горизонтальные кривые, обеспечивается при соотношении

Rv : Rp > 8,

где Rv - радиус вертикальной выпуклой кривой;

Rp - радиус кривой в плане.

4.5.4. Выбор радиусов вертикальных вогнутых кривых обычно связывают только с дополнительными перегрузками, возникающими при движении по ним. Но для обеспечения зрительной плавности дороги, особенно на участках совмещения вогнутой вертикальной и горизонтальной кривых, радиус вогнутой кривой должен быть увеличен по сравнению с минимально допустимым из условия ограничения перегрузки. Должно быть выдержано соотношение

RВ : Rp > 5,

где RB - радиус вогнутой вертикальной кривой.

4.5.5. Учитывая, что радиусы кривых в плане играют очень важную роль в обеспечении технической и психологической безопасности автомагистрали, радиус вогнутой вертикальной кривой следует рассчитывать в увязке с радиусом горизонтальной кривой:

,

где Rp следует выбирать согласно пп. 4.4.6 и 4.4.7.

При этом RB не должно быть меньше указанного в СНиП II-Д.5-72 для соответствующих скоростей движения.

4.5.6. Принятые радиусы вертикальных кривых должны не только удовлетворять требованиям безопасности движения, но и обеспечивать зрительную ясность и плавность дороги. С этой целью на участках дороги, в продольном профиле которых имеются сопрягающиеся вогнутые и выпуклые кривые, необходимо проверять обеспечение зрительной плавности согласно п. 5.1 и исключать возможность появления непросматриваемых зон в пределах необходимого расстояния видимости направления дороги.

5. ОБЕСПЕЧЕНИЕ ЗРИТЕЛЬНОЙ ПЛАВНОСТИ АВТОМАГИСТРАЛЕЙ

5.1. Критерии зрительной плавности дороги

5.1.1. Под зрительной плавностью дороги понимают отсутствие в перспективе дороги резких переходов между отдельными элементами трассы и переломов линий, образующих перспективное изображение дороги. Ощущение зрительной плавности дороги достигается только в случае, если соблюдается соотношение видимых поперечных размеров проезжей части и земляного полотна и видимой кривизны ведущей линии изображения.

Под зрительной ясностью дороги понимают отсутствие зрительных искажений отдельных участков в перспективе дороги и ясность в направлении дороги на расстояниях, исключающих неожиданное для водителя изменение дорожных условий. Видимые участки дороги и придорожной полосы должны заблаговременно сигнализировать водителю о последующем изменении направления.

5.1.2. Необходимое условие обеспечения плавности трассы - непрерывное и плавное изменение кривизны трассы, исключающее за счет применения переходных кривых появление скачкообразных изменений кривизны пространственной линии (закон непрерывности). Важная особенность движения автомобиля - нарастание центробежного ускорения при переходе с прямой на кривую в плане.

Для обеспечения зрительной плавности дороги нарастание центробежного ускорения должно быть значительно меньшим, чем допускаемое из условия комфортабельного движения по кривой.

Критерии зрительной плавности связаны с характеристиками зрительного восприятия - угловыми размерами изображения, плотностью объектов и фоном, на котором они воспринимаются. Видимым угловым размером отрезка линии называют угол, образованный линиями, проведенными от глаза к концам этот отрезка. Видимые угловые размеры элементов изображения дороги в картинной плоскости определяются отношением размеров изображения к расстоянию до картинной плоскости от наблюдателя и выражаемым в радианах или угловых минутах, т.е. в угловой мере.

5.1.3. При зрительной оценке плавности дороги ведущей линией, по которой рассчитывают характеристики видимого изображения дороги, служит внутренняя кромка проезжей части, если оценивается поворот дороги в плане, а при оценке участка с переломами в продольном профиле и прямым в плане - ближайшая к наблюдателю линия. Линия, на которой стоит наблюдатель, в расчет не принимается.

5.1.4. Для приближения к реальным условиям восприятия при визуальной оценке зрительной плавности перспективного изображения дороги, необходимо вычерчивать изображения не одной ведущей линии, а всей дороги.

Субъективная плавность одной и той же линии в зависимости от того, предъявляется она одна или в составе изображения дороги, не одинакова: воспринимаемая как плавная в перспективном изображении дороги при одиночном предъявлении линия вызывает ощущение резкой кривой. Вероятность возникновения ощущения плавного поворота дороги зависит не только от видимого радиуса кривизны ведущей линии, но и от дополнительных линий и признаков. Зрительная плавность дороги улучшается при наличии виража, разметки проезжей части, средств зрительного ориентирования, элементов ландшафта и дорожной обстановки, облегчающих восприятие глубины пространства. Видимые угловые размеры радиусов кривизны ведущей линии в плоскости перспективы или на сетчатке глаза, вызывающие различные ощущения плавности, приведены в табл. 5.1. Эти показатели используются при оценке зрительной плавности автомагистралей.

Таблица 5.1

Характеристика плавности трассы дороги

Пороговый радиус кривизны ведущей линии угл. мин, при обеспеченности, %

15

50

85

95

Излом

5,3

4,2

3,3

3,0

Резкий поворот

3,3

4,2

5,3

5,8

Плавный поворот

9,6

10,7

11,8

12,5

5.1.5. Одной характеристики кривизны для оценки зрительной плавности дороги недостаточно.

Для пространственных кривых одинакового радиуса видимая кривизна линии зависит от расстояния от наблюдателя до начала кривой. В общем случае для пространственных кривых любых радиусов видимая кривизна линий определяется расстоянием от наблюдателя до точки касания луча зрения к кромке кривой. Перспективные изображения разных участков дороги могут иметь одинаковую кривизну ведущей линии, но вызывать разные зрительные ощущения. Объясняется это тем, что при зрительном восприятии изображения дороги ощущение плавности определяется не только кривизной линий, но и соответствием в одном поперечном сечении видимых размеров элементов дороги.

5.1.6. Соотношение между максимальной кривизной ведущей линии перспективы и видимой шириной проезжей части, при которых возникают ощущения плавного поворота Пл, резкого поворота Рп или излома Из, представлены на рис. 5.1. Пороговые значения этих соотношений (все возможные сочетания кривизны линий и видимых размеров проезжей части на закруглениях в плане) делят на три области, вызывающие зрительное ощущение плавного, резкого поворота и излома. Знание этого соотношения для реального дорожного закругления позволяет с надежностью не менее 85 % определить его зрительную плавность. Это соотношение следует рассматривать как качественный критерий плавности.

5.1.7. Более общая характеристика зрительной плавности кривой - связь между длиной дуги и радиусами кривизны в ее концах. Этот показатель, учитывая его однозначную связь со зрительным ощущением плавности кривой, называют параметром видимой кривой и определяют в картинной плоскости как произведение длины Lα кривой от ее начала до экстремальной точки и радиуса Rα э кривизны в этой точке, т.е.

,                                                                 (5.1)

где Lα и Rα э - длина кривой и радиус кривизны, размеры которых выражены в угловой мере. Имеется связь между зрительным ощущением плавности закругления дороги и параметром ведущей линии в картинной плоскости (рис. 5.2).

Рис. 5.1. Соотношение кривизны Rα э ведущей линии с видимой шириной Bα э проезжей части в экстремальной точке дороги, обеспечивающих зрительную плавность дороги

Рис. 5.2. Схема расположения на кривой экстремальной точки (еxtr) и начала кривой (а) и пороги восприятия (б):

1 - излома; 2 - плавных линий; S - расстояние от глаза водителя до картинной плоскости; Рк - параметр видимой кривой; Об - обеспеченность

5.1.8. При расчете параметра Рк важно правильно определить положение начала и конца кривой Lk. При этом необходимо учитывать особенность зрительного восприятия кривизны линий.

Дуга кривой воспринимается как отрезок прямой линии при условии, что при ее видимом угловом размере в 1° угол между касательными в ее концах составляет в среднем менее 2,5°. Если же дуга сопряжена с прямой, то начало кривой воспринимается в точке, в которой касательная с направлением прямой образует угол, больший 2°. При сопряжении кривых с разной скоростью нарастания кривизны точка их сопряжения зрительно ощущается в том случае, если скорость нарастания кривизны этих кривых различается более чем в 2 раза.

5.1.9. При оценке зрительной плавности дороги за начало кривой в картинной плоскости следует принимать точки: при сопряжении прямой и переходной или круговой кривой на прямолинейном продольном профиле - действительное положительное начало кривой; на криволинейном продольном профиле, исключающем появление в картинной плоскости прямой в ведущей линии - точку, где кривизна линии (при расстоянии от наблюдателя до картинной плоскости, равном 1 м) более 0,8 м-1. Эти показатели необходимы при выполнении анализа плавности дороги с применением ЭВМ.

5.1.10. Три показателя - радиус кривизны в экстремальной точке, угловые размеры ширины проезжей части в этой точке и параметр видимой кривой - надежные критерии зрительной плавности дорожного закругления. Качественная оценка зрительной плавности дороги требует расчета радиуса кривизны в экстремальной точке и видимых угловых размеров ширины проезжей части в этой же точке, а количественная оценка - расчета параметра видимой кривой в ведущей линии.

5.1.11. Зрительная плавность автомагистралей часто нарушается не только неудачно выбранными параметрами закругления в плане, но и сочетаниями элементов продольного профиля. Наиболее опасны в этом отношении прямые вставки. Чем больше длина прямой вставки между двумя вертикальными кривыми, тем зрительно жестче становится дорога. Это особенно заметно при наличии длинных прямых в плане трассы.

Рис. 5.3. Допустимая длина L прямой вставки между двумя кривыми с радиусом R в продольном профиле.

Цифрами на кривых показан продольный уклон

5.1.12. Ощущение нарушения зрительной плавности, связанное с присутствием прямой линии в перспективном изображении дороги, определяется соотношением видимой кривизны участков вертикальных кривых и видимых размеров прямой. Чем больше радиус вертикальных кривых, тем большей может быть прямая вставка, не нарушающая при этом зрительную плавность дороги.

5.1.13. Ведущий участок при зрительном восприятии прямой в продольном профиле - вогнутая кривая.

5.1.14. Для прямого в плане участка дороги допустимая длина прямой вставки между вертикальными вогнутыми и выпуклыми кривыми, не нарушающая зрительной плавности дороги, может быть определена по графику (рис. 5.3).

5.1.15. Для участка дороги с переломом в продольном профиле, расположенном на кривой в плане, длина прямой вставки может быть увеличена при условии, что она полностью будет совмещена с кривой в плане.

5.1.16. В трассе автомагистрали следует избегать пространственной прямой, которая получается при совмещении прямой в плане и в продольном профиле Нежелательно совмещение даже короткой прямой вставки в продольном профиле с прямой в плане. Наилучшие результаты достигаются при клотоидном трассировании, исключающем появление прямых в плане трассы. В этом случае длину прямой вставки в продольном профиле можно не ограничивать при параметрах клотоид на участке (где эта прямая расположена) меньших максимальных (Amax < 1200 м).

5.2. Определение экстремальных точек в перспективном изображении дороги

5.2.1. При оценке зрительной плавности дороги с использованием критериев плавности, приведенных в п. 5.1, необходимо знать положение точки на перспективном изображении дороги, в которой следует определять радиус кривизны ведущей линии и видимую ширину проезжей части. Эти характеристики изображения определяют зрительную плавность дороги.

На трассе существуют точки, обеспечение зрительной плавности дороги с которых наиболее сложно. Точки, в которых определяются характеристики зрительной плавности, и точки, с которых оценивается зрительная ясность дороги, называются экстремальными.

5.2.2. При восприятии закругления дороги в реальных условиях экстремальную точку можно видеть только на внутренней кромке проезжей части или бровке земляного полотна. Однако в связи с тем, что бровка не всегда различима на фоне откосов насыпи, в поле зрения водителя имеется лишь одна линия с экстремальной точкой - внутренняя кромка проезжей части. Эта линия и является ведущей при оценке плавности перспективного изображения дороги.

5.2.3. В плоскости перспективы дуга окружности выглядит как дуга эллипса, положение точки с максимальной кривизной на которой зависит от взаимного расположения в пространстве реальной кривой и точки, с которой эта кривая рассматривается. Экстремум проявится только в том случае, если наблюдатель окажется с внешней стороны линии. В плоскости перспективы наибольшая кривизна будет в точке кривой, в которой луч зрения касается видимой кривой.

5.2.4. Положение экстремальной точки вычисляют из условия реального восприятия через удаленность наблюдателя от начала закругления, радиус кривой и удаление водителя от внутренней кромки проезжей части:

Sэ = S + 2l                                                                    (5.2)

при ,                                (5.3)

где Sэ - расстояние от наблюдателя до экстремальной точки при заданном S;

S - расстояние от наблюдателя до начала закругления, а в формуле (5.3) - до начала переходной кривой согласно п. 5.2.6, равное 50 м;

2l - расстояние от начала кривой до экстремальной точки;

b - удаление водителя от внутренней кромки проезжей части;

R - радиус кривой.

Формула (5.2) пригодна и для оценки зрительной плавности участка дороги, не имеющего в закруглении переходной кривой.

Для клотоидной трассы и закругления с переходной кривой:

Р = -0,75S2;                                                                 (5.4)

q = 0,25S2 - 3bЛA2;                                                      (5.5)

Q = (P : 3)3 + (0,5q)2;                                                  (5.6)

;                              (5.7)

2l = у - 0,5S; Sэ = S + 2lк,                                            (5.8)

где S - расстояние от наблюдателя до начала закругления;

bЛ - удаление наблюдателя от ведущей линии;

А - параметр клотоиды;

lk - длина клотоиды от начала кривой до экстремальной точки.

5.2.5. Участок автомагистрали с правильно выбранными сочетаниями элементов плана и продольного профиля воспринимается как зрительно плавный с любого расстояния, если высота глаз водителя над поверхностью рассматриваемой кривой не уменьшается. В связи с этим расстояние, с которого следует оценивать зрительную плавность дороги, особого значения не имеет. В данном случае целесообразно ориентироваться на традиции, сложившиеся в ландшафтном проектировании.

Большая часть рекомендаций по выбору рациональных сочетаний элементов автомагистрали установлена при анализе перспективного изображения дороги с удалением наблюдателя от начала закругления на 50 м. Для такого же удаления рассчитан и график (см. рис. 5.2). Исходя из этого для вычислений по формулам (5.2) - (5.8) рекомендуется S = 50 м.

Радиусы вертикальных вогнутых и выпуклых кривых на автомагистралях имеют большие значения, поэтому на длине 50 м изменение высоты глаз водителя над поверхностью дороги при наличии вертикальных кривых незначительно (менее 0,1 м), что дает возможность во всех случаях использовать критерии зрительной плавности автомагистрали, приведенные в пп. 5.1.8, 5.1.9, 5.2.4.

5.2.6. Зрительная ясность автомагистрали должна быть обеспечена на возможно большем расстоянии. Это в первую очередь относится к участкам с выпуклыми вертикальными кривыми. Согласно требованиям к расстояниям видимости с позиции обеспечения психологической безопасности дороги и оптимального эмоционального напряжения водителя (п. 4.2.7) наименьшее расстояние, с которого должна быть обеспечена зрительная ясность дороги, должно преодолеваться с расчетной скоростью движения не менее чем за 10 с. С этих же позиций видимость направления автомагистрали должна быть обеспечена на расстоянии более 1500 м. При этом следует стремиться, чтобы ограничение видимости направления дороги менее 1500 м в равнинной и слабопересеченной местности по продолжительности не превышало 10 - 15 с при расчетной скорости движения.

5.2.7. Правила выбора параметров геологических элементов дороги и их сочетаний, обеспечивающих зрительную плавность, изложены в книге В.Ф. Бабкова «Ландшафтное проектирование автомобильных дорог» [1] и в ВСН 18-74 Минавтодор РСФСР [11].

5.3. Клотоидное трассирование

5.3.1. На двухполосных автомобильных дорогах переходные кривые выполняют вспомогательную роль - с их помощью сопрягаются прямые и круговые кривые. Длина таких переходных кривых рассчитывается из условия плавного нарастания центробежного ускорения и для кривых радиусом 1000 м не превышает 50 м.

На автомагистралях переходные кривые служат основными элементами трассы, часто заменяя не только прямые, но и круговые кривые. Параметры переходных кривых не рассчитываются, а выбираются с ориентацией на возможности и особенности восприятия водителем и пассажирами перспективного изображения дороги. Эти кривые называют эстетическими и основное условие их выбора - обеспечение зрительной плавности дороги и устранение монотонности движения. Длины переходных кривых на автомагистралях должны превышать длины кривых, рассчитанных только с ориентацией на допустимую скорость нарастания центробежного ускорения.

5.3.2. Для закруглений с радиусами кривизны более 1000 м различия в очертаниях переходных кривых, имеющих уравнение клотоиды, параболы или составленных из дуг окружности, несущественны. Поэтому при трассировании автомагистрали можно использовать любую из переходных кривых, отвечающую условию плавного изменения кривизны линии по всей ее длине. Это обстоятельство позволило развить существующие методы проектирования трассы дороги и применить так называемые сплайн-линии - плавные линии свободных очертаний, укладываемые на плане местности в пределах ширины полосы варьирования с учетом рельефа и охраны среды. Координаты этой линии рассчитывают на ЭВМ, опираясь на заданные характеристики по максимальной кривизне линии и скорости ее нарастания, с использованием цифровой модели местности. Параметры клотоид () выбирают из условия обеспечения безопасности движения, психологической уверенности водителя и обеспечения зрительной плавности дороги.

5.3.3. С точки зрения безопасности движения криволинейная трасса, частным случаем которой является клотоидная трасса, помимо исключения опасности ослепления водителя светом фар встречного автомобиля, имеет еще одно преимущество перед прямолинейной - обеспечение возможности оценки водителем расстояний до встречных и попутных автомобилей и их скоростей движения. Это преимущество обеспечивается наличием в относительном перемещении автомобилей тангенциальной составляющей. Размер этой составляющей определяется кривизной трассы - чем ближе трасса к прямолинейной, тем эта составляющая меньше.

5.3.4. Предельное значение тангенциальной составляющей, обеспечивающее восприятие скорости автомобилей и расстояний на автомагистралях, определяет требования к минимальной кривизне трассы и к максимальным параметрам A клотоид (в метрах):

При различении движения автомобиля                                               Amax ≤ 1200

Для оценки скорости движения попутных автомобилей                  Aреком = 100 ÷ 1100

Условия восприятия движения автомобилей и расстояний до них при А > 1200 м не отличается от условий на прямолинейной трассе.

5.3.5. Минимальный параметр клотоиды выбирается из условия обеспечения зрительной плавности дороги. Установлено, что зрительная плавность поворота дороги может быть улучшена введением переходной кривой только в случае, если угол между осью абсцисс и касательной к точке сопряжения переходной к круговой кривой превышает 3°. Кроме этого, длина большого тангенса переходной кривой из условия обеспечения зрительной плавности дороги должна быть не менее 100 м. С учетом этих требований минимальные параметры клотоид для разных скоростей движения имеют следующие значения:

Расчетная скорость, км/ч                                                        100            120           140

Минимальный параметр А, м                                                 260            390           517

Для проектирования клотоидной трассы при расчетной скорости движения 120 км/ч рекомендуется A = 390 ÷ 1200 м, а при 140 км/ч - A = 517 ÷ 1200 м.

5.3.6. Клотоидное трассирование предполагает использование не только переходных кривых, но прямых и круговых кривых. При этом необходимо соблюдать следующие условия:

протяженность участков, протрассированных прямыми, не должна превышать 20 % от общей длины дороги, включая и квазипрямые - начальные участки переходных кривых с отклонениями от тангенса менее чем на 0,25 м;

длины прямых и разделяющих их криволинейных участков должны исключать опасность появления монотонных условий движения и должны назначаться: а) для прямых из условия их преодоления со скоростью, соответствующей интенсивности движения 5 %-ной обеспеченности не более чем за 1,5 - 3,5 мин в зависимости от состава транспортного потока, согласно п. 4.2.4; б) для криволинейных участков - преодоление не менее чем за 3 мин с расчетной скоростью движения согласно п. 4.2.6;

общая длина криволинейных участков должна быть не менее 80 % от всей длины дороги, а на долю переходных кривых должно приходиться более 30 % от всей длины дороги;

применение прямых в равнинной степной местности со слабовыраженными формами рельефа логически оправдано, но при этом необходимо ограничивать их длину. В таком рельефе общая протяженность прямых может достигать 50 %. В пересеченном рельефе или при долинном ходе прямые могут быть вообще устранены и заменены переходными или круговыми кривыми радиусом более 4000 м;

при прокладке трассы автомагистрали целесообразно пользоваться гибкими упругими линейками, позволяющими на заданной полосе варьирования получить плавную линию. Эта линия затем должна быть апроксимирована с помощью шаблонов переходными и круговыми кривыми.

5.3.7. При клотоидном трассировании из-за того, что трасса автомагистрали на большем своем протяжении криволинейна, усложняется устройство виража и водоотвода.

С точки зрения технической безопасности движения виражи необходимы на кривых радиусом до 1500 м при скорости 120 км/ч, а при 140 км/ч - до 2000 м. Однако для обеспечения психологической безопасности и зрительной плавности виражи необходимы и при больших радиусах. Практика эксплуатации автомагистралей показывает целесообразность виражей на кривых радиусами до 3000 м. Уклон виража в таких случаях выбирается лишь из условия обеспечения водоотвода.

5.3.8. При клотоидном трассировании вираж следует проектировать лишь на участках с радиусом кривизны менее 3000 м. На остальной части клотоиды применяется двускатный поперечный профиль, поскольку при радиусе кривизны более 3000 м устойчивость автомобиля обеспечивается на обеих сторонах двускатного профиля.

5.3.9. В зависимости от местных условий проложения трассы автомагистрали возможны различные способы устройства виража (см. п. 6.1). Основным остается способ, сохраняющий неизменным положение осей проезжих частей и вращения вокруг них проезжих частей вместе с обочинами. Здесь меняется поперечный профиль разделительной полосы, но с этим приходится мириться, поскольку данный способ позволяет решить водоотвод с внешней проезжей части (лоток устраивается на разделительной полосе), а дополнительные уклоны, вызванные отгоном виража, меньше, чем при других способах.

5.3.10. По соображениям безопасности движения обочинам придается тот же уклон, что и проезжим частям. Грунтовая часть внешней обочины должна иметь круглые очертания с переходом в ее середине к обратному (по сравнению с виражами) уклону. Это необходимо для предотвращения попадания на проезжую часть грязи во время дождя. Данное требование выполняется автоматически при округлении бровки земляного полотна автомагистрали.

5.3.11. Длину отгона виража на автомагистралях выбирают из условия, чтобы дополнительный продольный уклон был не более 3 - 5 ‰. Это обеспечивается на длине отгона 80 - 440 м, а сам участок отгона виража располагается между точкой с радиусом кривизны 4000 - 6000 м и основной кривой.

5.4. Рациональные сочетания элементов плана трассы

5.4.1. Для автомагистралей выбор параметров трассы с ориентацией только на обеспечение технической безопасности движения не гарантирует зрительную ясность и плавность дороги, удобство и безопасность движения. Объяснение этому следует искать не в недостатках действующих норм, а в неудачном выборе и сочетании элементов трассы.

Опытом установлены рациональные сочетания элементов трассы, облегчающие решение задачи обеспечения зрительной ясности и психологической безопасности автомагистрали.

5.4.2. Одно из основных требований, которому должна удовлетворять трасса автомагистрали - обеспечение постоянного скоростного режима транспортного потока. Коэффициент безопасности на автомагистрали должен быть более 0,8. Это требование может удовлетворяться, если радиусы сопрягающихся круговых кривых в плане или параметры сопрягающихся клотоид различаются не более чем в 1,5 раза, т.е. если R1 : R2 ≤ 1 : 1,5 и A1 : A2 ≤ 1 : 1,5.

5.4.3. Опасность для движения по кривым в плане, расположенных после длинных прямых, резко увеличивается, если продолжительность движения по прямой более 1,5 - 3,5 мин (см. п. 4.3). В таких случаях кривая в плане должна быть рассчитана на скорость движения как минимум на 20 км/ч большую, чем расчетная скорость для предшествующего участка:

Расчетная скорость движения, км/ч                                                       100    120       140

Минимальный радиус кривой после прямой длиной более 2 км, м   1500  2000     2500

5.4.4. Между сопрягающимися круговыми кривыми необходимо иметь прямую вставку, достаточную для размещения на ней двух переходных кривых. При этом следует учитывать, что параметры этих переходных кривых значительно превышают минимальные, рассчитанные из условия ограничения нарастания поперечного ускорения, и выбираются с ориентацией на обеспечение зрительной плавности дороги. Рекомендуется выбирать параметр клотоид из условия R : 3 < А < R. Кроме этого, параметр клотоиды должен находиться согласно п. 4.4 в пределах Amin < A < Amax. Если R : 3 < Amin, то принимается A > Amin.

 

…для размещения двух переходных кривых потребуется прямая вставка, длина которой (в метрах) удовлетворяет условию

2vLвст < 10v,

где v - расчетная скорость движения, км/ч.

5.4.5. При использовании переходной кривой в качестве вспомогательного элемента длина должна быть более 1/2 - 2/3 от длины основной круговой кривой, а угол, образованный осью абсцисс к касательной в конце переходной кривой, должен быть более 3°.

5.4.6. При клотоидном трассировании параметры смежных клотоид не должны сильно различаться. Следует стремиться, чтобы сопрягаемые клотоиды имели одинаковые параметры. Если обеспечить это не удается, параметры смежных клотоид выбираются из условия А1 : A2 ≤ 1,5.

5.4.7. Обеспечить зрительную плавность дороги при углах поворота менее 5° очень трудно, поэтому следует избегать поворотов трассы с такими углами. При невозможности устранения такого угла закругление следует проектировать с использованием круговых кривых большого радиуса или двух симметричных переходных кривых:

Малый угол поворота                                                                                  

Минимальный радиус круговой кривой, м   13000   8500  6000  3500   2500   2200                                                                           2000

Минимальный параметр клотоиды Amin, м   1200     1200  1200  1000   800     700    600

6. УЧЕТ ПОГОДНО-КЛИМАТИЧЕСКИХ УСЛОВИЙ ПРИ НАЗНАЧЕНИИ ПАРАМЕТРОВ И ТРАНСПОРТНО-ЭКСПЛУАТАЦИОННЫХ ХАРАКТЕРИСТИК АВТОМАГИСТРАЛЕЙ

6.1. Общие положения

6.1.1. Погодно-климатические условия включают в себя метеорологические явления и факторы, которые оказывают существенное влияние на: состояние дороги, автомобиля и водителя; взаимодействие автомобиля с дорогой; восприятие водителем дороги и окружающей обстановки; режим и безопасность движения транспортных потоков. К метеорологическим явлениям, создающим неблагоприятные условия движения, относятся высокая и низкая температуры воздуха, твердые, жидкие и смешанные осадки, метель, гололед, туман и ветер. Каждое метеорологическое явление характеризуется частотой или вероятностью появления, интенсивностью и продолжительностью. С увеличением интенсивности явления условия движения на дороге ухудшаются, снижается скорость движения, возникают заторы, растет число дорожно-транспортных происшествий.

6.1.2. Наиболее неблагоприятен для движения зимний период, когда трудные или очень трудные условия могут сложиться под влиянием семи метеорологических элементов - метели, гололеда, снегопада, тумана, ветра, низкой температуры и высокой относительной влажности воздуха - и их сочетаний. Весной и осенью такие условия могут быть под влиянием шести метеорологических элементов - гололеда, дождя, тумана, ветра, отрицательной температуры и высокой влажности воздуха. Летом лишь четыре метеоэлемента могут создать трудные и очень трудные условия движения - дождь, туман, ветер, высокая температура воздуха.

Число дней в году с неблагоприятными для движения метеорологическими условиями колеблется по территории страны от 170 до 260.

6.1.3. Автомагистрали предназначены для непрерывного пропуска интенсивных транспортных потоков с высокими скоростями и безопасностью движения в любое время года. Поэтому их параметры и характеристики должны быть назначены и обоснованы исходя из условий обеспечения удобных и безопасных условий движения прежде всего в зимний и осенне-весенние периоды с учетом вероятности появления, длительности и интенсивности метеорологических явлений, характеризующих климат района проложения дороги.

6.1.4. При проектировании дорог для предотвращения или ослабления влияния погодно-климатических факторов на условия движения имеются два принципиальных подхода. Первый заключается в выборе таких геометрических параметров плана, продольного и поперечного профилей, транспортно-эксплуатационных характеристик, конструктивных и организационных решений по защите поверхности дороги и транспортного потока от воздействия погодно-климатических факторов, которые обеспечивают требуемый уровень удобства и безопасности движения в любое время года и в любых условиях погоды и снижают затраты на содержание дороги. Этот подход - основной, наиболее эффективный. Второй подход заключается в значительном увеличении мощности службы содержания дороги до уровня, обеспечивающего условия движения, идентичные условиям движения при отсутствии неблагоприятных метеорологических факторов. В большинстве случаев этот путь оказывается экономически нецелесообразным.

6.1.5. Проект автомобильной магистрали должен включать в себя комплекс проектных решений и мероприятий, позволяющих сохранить принятый уровень обеспеченности расчетной скорости в неблагоприятных метеорологических условиях. В состав этих решений и мероприятий входят:

проложение трассы на каждом участке местности с учетом возможного неблагоприятного воздействия метеорологических факторов;

выбор и назначение параметров продольного и поперечного профилей, краевых полос, укрепленных обочин, а также размеров и форм разделительной полосы;

выбор руководящих рабочих отметок и очертаний земляного полотна;

выбор конструкции дорожной одежды и назначение параметров шероховатости и сцепных качеств покрытия проезжей части, краевых полос и обочин;

проектирование снегозащитных и ветрозащитных насаждений и сооружений, мест размещения баз по хранению противогололедных материалов;

расчет и обоснование структуры и мощности службы содержания дороги и оснащения ее дорожной техникой исходя из годовых и сезонных объемов работ по содержанию дороги в данных климатических условиях;

выбор и обоснование схем организации и режимов движения в различные периоды года, схем разметки и расстановки знаков по сезонам года, мест установки знаков со сменной информацией.

Выбор и обоснование проектных решений и мероприятий, обеспечивающих удобство и безопасность движения в течение всего срока эксплуатации дороги, и в том числе при неблагоприятных погодно-климатических условиях, рекомендуется выполнять на основе принципиально нового показателя - уровня обеспеченности расчетной скорости движения.

6.1.6. Чтобы запроектировать автомагистраль, гарантирующую принятый уровень обеспеченности расчетной скорости в любое время года, необходимо на стадии проектирования оценить влияние каждого элемента и параметра дороги и каждого метеорологического явления, а также их совместное влияние на скорость движения и выбрать такие параметры дороги, такие технические решения и мероприятия, которые обеспечивают заданную скорость и безопасность движения в процессе эксплуатации дороги в реальных погодно-климатических условиях.

Наиболее удобное и безопасное движение наблюдается в эталонных условиях. Любое ухудшение условий движения по сравнению с эталонными ведет к снижению скорости движения, которая может быть ограничена динамическими возможностями автомобиля или требованиями безопасности движения.

Характеристика эталонных условий движения:

Дорожные условия

Параметры дороги:

прямой горизонтальный участок дороги,

продольный уклон, ‰                                                               0

Ширина полосы движения, м                                                        3,75

»       обочины, м                                                                       3,75

в том числе укрепленной, м                                                           2,50

видимость поверхности дороги, м                                                2,50

Состояние дороги:

покрытие шероховатое, коэффициент сцепления

в сухом состоянии                                                                      0,8

то же, в мокром состоянии                                                       0,6

ровность покрытия (просвет под трехметровой рейкой

или сумма неровностей по ПКРС-2у), мм/(см/км)                5/(300)

сопротивление качению                                                            0,010

Условия погоды

Сезон года                                                                                        лето

Температура воздуха, °С                                                                 20

Интенсивность осадков, мм/с                                                        0

Скорость ветра, м/с                                                                         0

Метеорологическая видимость, м                                                 > 300

Расчетный автомобиль

Марка                                                                                       ВАЗ-2103        ГАЗ-24

Максимальная скорость, км/ч                                                    140                150

Ширина колеи, мм                                                                      1345              1470

»      кузова (габарит), мм                                                     1611              1800

Длина       »      , мм                                                                      4073              4735

Максимальная мощность двигателя, кВт (л. с.)                     55 (75)          72(98)

6.1.7. Для оценки влияния параметров и состояния дорог, а также метеорологических условий на режим движения автомобилей необходимо сравнивать максимальную скорость vфmax расчетного автомобиля в реальных условиях движения с максимальной скоростью vэmax движения в эталонных условиях, которая принимается за расчетную (vэmax = vр). Отношение этих скоростей называется коэффициентом Крс обеспеченности расчетной скорости или коэффициентом снижения расчетной скорости:

Крс = vфmax : vэmax или Крс = vфmax : vp.                                (6.1)

Расчетная скорость движения в эталонных условиях для дорог I категории принимается по СНиП II-Д.5-72 равной 80 - 150 км/ч в зависимости от рельефа местности. В целях упрощения расчетов для оценки влияния погодно-климатических условий на режим движения в неблагоприятные периоды года за расчетную принята скорость 120 км/ч.

6.1.8. Максимально возможные или допустимые скорости при проектировании определяются расчетно-аналитическим методом исходя из схем движения автомобиля при состоянии поверхности дороги и условиях погоды, характерных для расчетных периодов года (см. п. 6.2).

Все параметры и транспортно-эксплуатационные характеристики дороги при проектировании рекомендуется выбирать так, чтобы на любом участке дороги в эталонных метеорологических условиях была обеспечена скорость не ниже расчетной. Допускается, что неблагоприятное воздействие метеорологических факторов может привести к снижению максимальной скорости на…

 

Для дорог I категории рекомендуются следующие допустимые пределы коэффициентов обеспеченности расчетной скорости в период действия метеорологических явлений: опасных Крс = 0,75, очень опасных Крс = 0,5. По этим значениям Крс определяются требования к параметрам и транспортно-эксплуатационным характеристикам в расчете на движение одиночных автомобилей.

6.1.9. Оценка условий движения по коэффициентам обеспеченности расчетной скорости позволяет определить ожидаемые условия движения на проектируемой дороге и оценить качество проектных решений:

Обеспеченная скорость в реальных метеорологических условиях, км/ч

120 - 90

90 - 60

< 60

Коэффициент обеспеченности расчетной скорости

1,0 - 0,75

0,75 - 0,50

< 0,50

Условия движения

нормальные

трудные

очень трудные

Качество проектных решений

требования к проекту соблюдены

перепроектировать или обосновать технико-экономическими расчетами

перепроектировать

6.2. Определение расчетного периода года по условиям движения автомобилей и расчетных состояний поверхности дороги

6.2.1. Критерий выделения расчетного периода года для данного района - среднесезонный коэффициент обеспеченности расчетной скорости, вычисляемый для эталонного участка дороги по методике, приведенной в п. 6.6. Период года, для которого этот коэффициент имеет меньшее значение, наиболее труден для движения, и его нужно принимать в качестве основного расчетного при назначении параметров и транспортно-эксплуатационных характеристик дорог, при проектировании мощности дорожно-эксплуатационной службы и организации движения на дороге. В большинстве районов трудные условия движения наблюдаются в зимний и осенне-весенние переходные периоды. Наиболее трудный из них принимается за расчетный, а второй по трудности - за поверочный.

6.2.2. Каждому периоду года соответствует характерное состояние поверхности дорог, которое формируется под влиянием метеорологических условий, уровня содержания дороги и характера движения. При проектировании автомобильных магистралей за расчетные могут быть приняты следующие состояния поверхности.

I. В зимний период: а) слой рыхлого снега на поверхности покрытия и обочин имеется только во время снегопада и метелей в перерывах между проходами снегоочистительных машин; б) проезжая часть чистая от снега, уплотненный снег и лед имеются на прикромочных полосах, а рыхлый снег - на обочинах; в) поверхность дороги покрыта гололедом; г) поверхность влажная, имеется рыхлый слой снега и льда, растворенного хлоридами.

Как исключительный может быть рассмотрен случай, когда проезжая часть покрыта слоем плотного укатанного снега, а на обочинах имеется слой рыхлого снега.

II. В осенне-весенние переходные периоды: а) вся поверхность дороги мокрая, чистая; б) проезжая часть мокрая, чистая, а прикромочные полосы загрязнены. Состояние «а» является расчетным для дорог с применением минеральных или органических вяжущих; состояние «б» относится к участкам дорог с укрепленными краевыми полосами и неукрепленными обочинами или с обочинами, укрепленными щебеночными и гравийными материалами без вяжущих.

III. В летний период: сухие, чистые покрытия и обочины.

6.2.3. За расчетные метеорологические условия могут быть приняты: в зимний период - снегопад без ветра или с ветром со скоростью до 3 м/с, метель (низовая, верховая, общая), сильный ветер; в переходные осенне-весенние периоды - дождь, дождь с ветром, туман, ветер; в летний период - дневная температура воздуха 30 °С и выше, ветер.

6.2.4. Расчетный период года рекомендуется определять для каждой проектируемой дороги по данным многолетних наблюдений ближайшей метеостанции. При этом к зимнему относится период с устойчивой средней суточной температурой воздуха ниже 0 °С. Допускается определять длительность зимнего периода по числу дней с устойчивым снежным покровом.

Переходные периоды - это весенний и осенний периоды с неустойчивой погодой. Весенним считается период со средней суточной температурой воздуха от 0 до 15 °С, а осенним - период понижения температуры воздуха от 15 °С до 0. Летний период ограничивается датами перехода средней суточной температуры воздуха через 15 °С в период повышения весной и понижения осенью.

Для предварительной оценки на рис. 6.1 приведена схема районирования территории страны на три основные зоны, характерные по условиям движения на дорогах.

6.2.5. К зоне I относится территория с зимним расчетным периодом. Южная граница этой зоны проходит по линии, соединяющей точки, в которых , т.е. среднесезонные коэффициенты обеспеченности расчетной скорости для зимнего и переходных периодов равны между собой. К этой зоне отнесены районы, в которых длительность периода со среднесуточными температурами ниже 0 °С составляет в году 125 сут и более.


Рис. 6.1. Районирование территории СССР на зоны по условиям движения автомобилей


 

……ных периодов. Подзона IА характеризуется тем, что здесь зимний расчетный период единственный, поскольку переходные периоды очень короткие (20 - 60 сут в году) и ими можно пренебречь. Скользкость покрытия наблюдается в период гололеда, снежного наката или рыхлого слоя снега на покрытии. В подзоне IБ зимний период дополняется значительным по длительности (60 - 100 сут) переходным периодом. Поэтому в подзоне IБ необходимо конструктивные и организационные мероприятия дополнять мероприятиями, рассчитанными на обеспечение удобства и безопасности в переходные периоды года. Подзона IБ близка по характерным особенностям к зоне II. Расчетными условиями здесь служат скользкость и сужение проезжей части из-за наличия гололеда, снежных заносов, выпадения осадков, т.е. в этой подзоне необходимы мероприятия, характерные для зимнего и переходных периодов.

6.2.6. Зона II характерна тем, что расчетными служат переходные периоды. Южная граница этой зоны проходит по линии, где . Зона II включает районы, где переходные периоды длятся от 40 до 110 сут, а зимний - от 40 до 125 сут. Зимы в этих районах малоснежные с частыми оттепелями, поэтому расчетным состоянием дорог можно считать повышенную скользкость покрытия из-за увлажнения и загрязнения покрытия на обочинах и переходных полосах.

6.2.7. Зона III характеризуется летним расчетным периодом, так как зимний и осенне-весенний периоды весьма короткие и вместе составляют 80 - 110 сут. Основными расчетными условиями служат движение в период высокой температуры воздуха, а поверочными - условия движения в период выпадения дождей. К зоне III могут быть отнесены южные районы Крыма, Кавказа и районы Средней Азии.

6.2.8. Для горных районов (зона Г на рис. 6.1) расчетный период рекомендуется определять для каждого характерного участка дороги по высоте, так как в зависимости от высоты местности над уровнем моря погодно-климатические условия значительно изменяются.

6.2.9. Районирование по условиям движения коррелируется с дорожно-климатическим районированием. Однако границы зон отличаются друг от друга: зона I по условиям движения включает в себя дорожно-климатические зоны I, II и III; зона II по условиям движения примерно соответствует дорожно-климатической зоне IV; аналогично зона III соответствует V дорожно-климатической зоне.

6.3. Последовательность проектирования дорог с учетом влияния климата на состояние поверхности дорог и условия движения

6.3.1. Дорогу вместе со всем комплексом инженерных сооружений по обеспечению удобства и безопасности движения в сложных метеорологических условиях можно проектировать двумя методами.

По первому из них вначале все параметры и характеристики дороги назначаются из условий обеспечения расчетной скорости одиночного автомобиля в эталонных метеорологических условиях, а затем проверяется обеспеченность расчетных скоростей в наиболее неблагоприятные для движения периоды года, вносятся коррективы и разрабатываются дополнительные мероприятия на участках дороги, где коэффициент обеспеченности ниже допустимого. По второму методу за расчетную принимается схема движения одиночного легкового автомобиля при состоянии поверхности дороги и метеорологических условий, соответствующих наиболее трудному расчетному периоду года. При этом параметры и транспортно-эксплуатационные характеристики назначаются в расчете на допустимый коэффициент обеспеченности расчетной скорости (табл. 6.1).

Таблица 6.1

Параметр

Значение характеристики при максимальной скорости движения в неблагоприятных метеорологических условиях, км/ч

120 - 90

90 - 80

60

Коэффициент обеспеченности расчетной скорости движения

1,0 - 0,75

0,75 - 0,67

0,5

Ширина чистой укрепленной поверхности дороги (без остановочных полос) в одном направлении. Минимальная ширина очищенной полосы

8,75 - 8,30

8,3 - 7,3

6,6

Ширина проезжей части в одном направлении

7,5

7,5

7,5

Ширина чистой укрепленной краевой полосы

0,65 - 0,40

0,40 - 0,25

0,25

Минимальный радиус кривой в плане при мокром покрытии (коэффициент сцепления не ниже 0,4), м:

 

 

 

скорость ветра 20 - 30 м/с

400 - 250

250 - 200

150

»            »    40 м/с

450 - 250

250 - 200

150

То же, при наличии снега на покрытии (коэффициент сцепления не ниже 0,2), м:

 

 

 

скорость ветра 20 м/с

900 - 400

400 - 300

175

»         »     30 м/с

1000 - 450

450 - 350

200

»         »     40 м/с

1200 - 475

475 - 350

200

Максимальный продольный уклон при движении на подъем, ‰:

 

 

 

при мокром покрытии

20 - 50

50 - 60

70

при наличии слоя рыхлого снега толщиной 10 - 20 мм

0 - 10

10 - 30

40

То же, при движении на спуск, ‰:

 

 

 

при мокром покрытии

-

0 - 25

55

при наличии слоя рыхлого песка толщиной 10 - 20 мм

-

0 - 20

30

Минимальный коэффициент сцепления

0,6 - 0,45

0,45 - 0,40

0,35

Максимальная толщина слоя рыхлого снега на покрытии, мм:

 

 

 

на горизонтальных участках дороги

-

0,30

40

на подъемах 10 - 40 ‰

-

0 - 15

20

То же, уплотненного снега на покрытии, мм

-

-

10

То же, слоя воды на покрытии, мм

-

0 - 3

4

Примечание. При определении полной ширины укрепленной поверхности необходимо к ширине чистой укрепленной поверхности добавить ширину полосы загрязнения в зависимости от укрепления обочины (см. ниже табл. 6.7).

6.3.2. Проектировать дороги с учетом влияния климата и погоды на условия движения рекомендуется по первому методу в такой последовательности:

определить погодно-климатические характеристики района проложения дороги и расчетные периоды года;

назначить все параметры и характеристики дороги в расчете на эталонные условия в соответствии с нормами и правилами, а также рекомендациями, изложенными в гл. 1 - 5 и 7;

вычислить коэффициенты обеспеченности расчетной скорости на всех характерных участках дороги (на прямых горизонтальных участках, подъемах и спусках, кривых в плане, а также на насыпях и в выемках) для состояния дорог и метеорологических условий, соответствующих расчетным периодам года;

построить эпюру коэффициента обеспеченности расчетной скорости для каждого направления движения и выявить участки, где значения коэффициентов ниже допустимых;

проверить обеспеченность расчетной скорости на участках дорог, где может наблюдаться повышенная опасность воздействия отдельных метеорологических явлений - тумана, ветра, песчаных заносов, пыльных бурь, снега и др.;

назначить варианты геометрических параметров, транспортно-эксплуатационных характеристик и других инженерных решений (см. п. 6.4), гарантирующих требуемый уровень обеспеченности расчетной скорости в неблагоприятные периоды года;

повторно проверить обеспеченность расчетной скорости в неблагоприятные периоды года;

исходя из максимально возможных и максимально допустимых скоростей движения одиночного автомобиля на запроектированных участках дорог, прогнозируемой интенсивности и состава движения вычислить средние скорости транспортного потока по сезонам года и среднегодовую скорость (см. п. 6.8);

оценить обеспеченность безопасности движения в различные периоды года по сезонным графикам коэффициентов аварийности по каждому варианту;

определить технико-экономические показатели намеченных решений с учетом их фактической эффективности по периодам года (п. 6.8) и принять окончательное решение.

6.4. Назначение параметров и характеристик автомагистралей и оценка их влияния на обеспеченность расчетной скорости в неблагоприятные периоды года

6.4.1. Продольные и поперечные уклоны проезжей части автомагистралей, радиусы кривых в плане, ширину краевых полос и укрепленных обочин, инженерное оборудование дорог, шероховатость покрытия и его сцепные качества, а также снегозащитные и ветрозащитные сооружения необходимо назначать с учетом вероятности появления и интенсивности основных метеорологических явлений, характеризующих климат данного района.

6.4.2. Наличие снежных отложений на поверхности дорожного покрытия в периоды снегопадов и метелей приводит к изменению взаимодействия в зоне контакта колеса автомобиля с дорогой - одновременно снижается сцепление с покрытием и повышается сопротивление качению (рис. 6.2). Следовательно, максимально возможная скорость и коэффициент обеспеченности расчетной скорости зависят от толщины слоя снега на покрытии, его плотности и влажности.

6.4.3. В общем случае максимальный продольный уклон…..

 

 

Рис. 6.2. Зависимость коэффициента сцепления φ и коэффициента сопротивления f качению от толщины d слоя неуплотненного снега на покрытии

Исходя из динамической характеристики и с учетом состояния покрытия в расчетный период максимальный продольный уклон при движении на подъем (в тысячных)

iсц max = Dсц - f,                                                             (6.2)

где Dсц - динамическая характеристика по сцеплению;

f - коэффициент сопротивления качению.

Коэффициент сопротивления качению для легкового автомобиля

fл = f20 + 0,00025 (v - 20),                                           (6.3)

для грузового

fг = f20 + 0,0002 (v - 20),                                             (6.4)

где f20 - коэффициент сопротивления качению при скорости v движения автомобиля до 20 км/ч.

Для .сухого и влажного чистого покрытия из асфальтобетона и цементобетона f20 = 0,01 ÷ 0,02, а для заснеженного покрытия - по рис. 6.2.

6.4.4. Максимальный продольный уклон необходимо проверять возможностью его преодоления при скользком покрытии в период гололеда и снежных осадков, когда автомобиль преодолевает косой уклон. Максимальный продольный уклон (в тысячных), преодолеваемый автомобилем при гололеде,

,                                          (6.5)

где т - коэффициент сцепного веса, равный 0,5 - 0,55 для легковых автомобилей и 0,65 - 0,75 для грузовых;

φ - коэффициент продольного сцепления колеса автомобиля с покрытием;

iпоп - поперечный уклон наружной полосы движения.

6.4.5. Максимально возможная скорость движения на подъем с принятым в проекте уклоном определяется по графику динамической характеристики по сцеплению для фактического состояния поверхности дороги и проверяется для расчетного состояния.

Максимально возможная скорость на подъеме по условиям сцепления колеса автомобиля с дорогой может быть также определена по формулам:

при снежном покрове v = 120 - 667 (f + i),                      (6.6)

при гололеде v = 120 - 874 (f + i).                                     (6.7)

6.4.6. Частный коэффициент обеспеченности расчетной скорости при движении на подъем определяется как отношение

Крсi = vфi : vр,                                                               (6.8)

где vфi - максимально возможная скорость автомобиля на подъеме;

vр - расчетная скорость автомобиля (принята 120 км/ч).

Для упрощенных расчетов vф и Крс могут быть получены по графикам (рис. 6.3, а).

Рис. 6.3. Влияние продольного уклона iпрод и состояния покрытия на скорость v и коэффициент Крс обеспеченности расчетной скорости:

а - на подъеме; б - на спуске; 1 - сухое чистое покрытие, f = 0,015; 2 - рыхлый снег толщиной h = 2 ÷ 5 мм, f = 0,02; 3 - уплотненный снег, f = 0,04; 4 - рыхлый снег, h = 20 мм, f = 0,09; 5 - то же, h = 40 мм, f = 0,10; 6 - то же, h = 80 мм, f = 0,15; 7 - то же, h = 10 мм, f = 0,17; 8 - гололед, f = 0,09; 9 - сухое чистое покрытие, φ = 0,5 ÷ 0,6; 10 - мокрое, φ = 0,4; 11 - то же, φ = 0,3; 12 - снежный накат, φ = 0,2; 13 - гололед, φ = 0,1.

6.4.7. Максимальная допустимая скорость на спуске определяется из условия торможения перед внезапно возникшим препятствием на дороге, а коэффициент обеспеченности расчетной скорости определяется исходя из равенства остановочных путей при сухом, чистом и шероховатом покрытии, принятом за эталонное, и при состоянии покрытия, характерном для расчетного периода года (рис. 6.3,б).

6.4.8. По изложенной методике определяется максимально возможная скорость во время снегопада, метели при наличии на проезжей части рыхлого снега, снежного наката и гололеда. Анализом этих расчетов могут быть установлены требования к допустимой толщине слоя снега на покрытии исходя из принятого уровня обеспеченности расчетной скорости (рис. 6.4).

Для дорог I категории рекомендуется принимать в расчетах допустимую толщину слоя рыхлого снега на покрытии в период снегопадов и метелей на горизонтальных участках не более 30 мм, на подъемах не более 15 мм.

6.4.9. Минимальные радиусы кривых в плане рекомендуется назначать из условия устойчивости автомобиля против заноса при движении по покрытию, находящемуся в состоянии, характерном для расчетного периода года, с учетом бокового воздействия ветра, которое рекомендуется учитывать при расчетной скорости ветра 20 м/с и более. Радиус (в метрах)

;                                              (6.9)

,                                                  (6.10)

где φ2 = (0,6 ¸ 0,7)φ - используемое поперечное сцепление;

iв - поперечный уклон виража;

qв - коэффициент учета бокового воздействия ветра;

ρ - аэродинамический коэффициент, принимаемый равным 1,1 - 1,2;

F - площадь боковой проекции автомобиля, м2;

vв - скорость ветра на уровне центра боковой поверхности автомобиля, м/с;

ma - масса незагруженного автомобиля с водителем, кг;

g - ускорение свободного падения, м/с2.

6.4.10. Боковое давление ветра учитывается на участках дорог, не защищенных лесом, в насыпях, в нулевых отметках, полунасыпях-полувыемках и в выемках глубиной до 1,5 м. Не учитывается воздействие ветра на участках, расположенных в лесу и в выемках глубиной более 1,5 м.

Рис. 6.4. Зависимость скорости v легкового автомобиля и коэффициента Крс расчетной обеспеченности от толщины h слоя рыхлого снега на покрытии:

1 - скорость, возможная по динамическим качествам автомобиля ВАЗ-2103 при fmin; 2 - то же, при fср; 3 - то же, при fmax; 4 - скорость, возможная по соотношению φmax и fmin; 5 - то же, φср и fср; 6 - то же, φmin и fmax

6.4.11. Значения коэффициента бокового воздействия ветра зависят от скорости ветра и типа автомобиля:

Скорость ветра на уровне центра бокового давления автомобиля, м/с

20

30

40

50

Коэффициент qв бокового воздействия ветра для автомобилей ГАЗ-24 «Волга», ВАЗ-2103 «Жигули», «Москвич-412»

0,10

0,022

0,040

0,063

То же, для автомобилей ЗАЗ-966 «Запорожец», РАФ-977Д

0,013

0,029

0,053

0,081

6.4.12. При определении расчетной скорости ветра учитываются положение дороги на местности и ее защищенность, а также порывистость ветра:

vв = K1 × K2 × K3 × vфл,                                                (6.11)

где К1 - коэффициент, учитывающий положение дороги на местности и назначаемый с учетом формы рельефа и места расположения дороги;

К2 - коэффициент, учитывающий переход от показаний флюгера (измерений на метеостанциях) к высоте центра боковой поверхности автомобиля над поверхностью земли;

К3 - коэффициент, учитывающий порывистость ветра и равный 1,7 для порывистого и 1,9 для крайне порывистого ветра;

vфл - скорость ветра по флюгеру на высоте 10 м повторяемостью 1 раз в год, принимаемый по данным ближайшей метеостанции или же по картам зонирования расчетного ветра.

Коэффициент К1 имеет следующие значения:

Открытое ровное место                                                                                           4,0

Вершины открытых возвышенностей:

более 50 м                                                                                                                  1,2 - 1,1

менее 50 м                                                                                                                 1,1

Наветренные склоны крутизной 3 - 10°

верхняя часть                                                                                                            1,0 - 1,1

средняя     »                                                                                                               1,0

нижняя      »                                                                                                               0,9 - 1,0

Параллельные ветру склоны крутизной 3 - 10°:

верхняя часть                                                                                                            0,9 - 1,0

средняя     »                                                                                                               0,8 - 0,9

нижняя      »                                                                                                               0,7 - 0,8

Подветренные склоны крутизной 3 - 10°:

 

Дно долин, оврагов, лощин, глубоких выемок:

продуваемых ветром                                                                                                1,0 - 1,1

непродуваемых ветром                                                                                            0,6 - 0,7

замкнутых                                                                                                                  0,6

Поправочный коэффициент К2:

Высота центра боковой поверхности автомобиля над уровнем поверхности земли, м

0

2

4

6

8

10

К2

0,2

0,2

0,25

0,9

0,95

1,0

6.4.13. Высота центра боковой поверхности легкового автомобиля над уровнем поверхности земли (в метрах)

h = hн + 0,75,                                                               (6.12)

где hн - высота насыпи, м.

6.4.14. Максимальная скорость и коэффициент обеспеченности расчетной скорости в зависимости от радиуса кривой в плане, расчетного состояния покрытия и расчетной скорости ветра может быть определен по формуле (6.9) или по графикам (рис. 6.5).

6.4.15. При проектировании кривых в плане необходимо проверять возможность образования снежных отложений на внутренней части кривых и назначать размеры срезки для обеспечения видимости поверхности дороги с учетом этих отложений (рис. 6.6). При этом ширину срезки (z - z0) определяют исходя из требования обеспечения видимости в плане аналитическим или графо-аналитическим методом. При определении уровня срезки (отметка точки D) учитывают толщину снежного покрова  hсн и толщину дополнительного слоя Dh, образующегося за счет снега, сбрасываемого с дороги при очистке. Минимальное возвышение глаза (точка Е) водителя над поверхностью снега принимают ΔH = 0,2 ÷ 0,3 м. Тогда отметка уровня срезки в точке D:

НD = Нв - (hсн + Δh + ΔН),                                          (6.13)

где Нв - отметка уровня глаза водителя (см. рис. 6.6).

Рис. 6.5. Влияние радиуса R кривой в плане и ветра на скорость v автомобиля:

а - сухое чистое покрытие, φ = 0,6; б - мокрое чистое покрытие, φ = 0,4; в - слой рыхлого снега или снежный накат, φ = 0,2; г - гололед, φ = 0,1

Рис. 6.6. Схема к расчету срезки для обеспечения видимости в плане с учетом снежных отложений

Рис. 6.7. Схема к расчету ширины укрепления поверхности дороги

Расчеты по указанной схеме необходимо проводить на участках кривых, проходящих в выемках, полувыемках, на косогорах и в нулевых отметках.

6.4.16. Фактически используемая ширина проезжей части, по которой движутся автомобили, отличается от нормативной в зависимости от общей ширины проезжей части, от наличия бордюров или красных укрепленных полос и обочин, а также от их состояния при различных метеорологических условиях. Это объясняется психологическим воздействием состояния проезжей части и прикромочной полосы обочин на восприятие водителем дороги и уверенность управления автомобилем. Поэтому ширина проезжей части назначается исходя из требуемой ширины укрепления поверхности дороги (рис. 6.7). Расчетной схемой учитывается вся ширина В2 коридора, оказывающего психологическое воздействие на водителя при выборе траектории и режима движения, и выделяются зоны по ширине дороги в зависимости от их назначения:

I зона - полоса постоянного движения автомобилей, шириной 0,5B для одного направления;

II зона, используемая для случайных наездов при отклонении от основной траектории движения, шириной

у0 = 0,5B1 - 0,5В;                                                         (6.14)

III зона - полоса b, необходимая для размещения автомобиля в случае вынужденной остановки.

6.4.17. Психологический коридор включает в себя прикромочную полосу y проезжей части и прикромочную полосу y0 обочины. Общая ширина z укрепленной полосы от внешнего колеса автомобиля, необходимая для уверенного управления автомобилем (см. рис. 6.7).

z = y + y0;                                                          (6.15а)

значение величины (в метрах)

z = 0,25 + 0,01v;                                                     (6.15б)

где v - скорость автомобиля, км/ч.

6.4.18. Для одного направления двухполосной проезжей части автомагистрали ширина укрепленной поверхности (без остановочной полосы)

B1 = 0,5 (a1 + с1 + а2 + с2) + 2D + 2z;                                   (6.16)

значения величины (в метрах)

D = 0,25 + 0,005v.                                                       (6.17)

При движении различных автомобилей по полосам величина (в метрах)

B1 = 0,5 (a1 + с1 + а2 + с2) + 1,0 + 0,015 (v1 + v2).                           (6.18)

При движении одинаковых автомобилей по полосам

В1 = а + с + 1,0 + 0,03v.                                             (6.19)

6.4.19. Для обеспечения движения с высокой скоростью в неблагоприятные периоды года в проекте должны быть предусмотрены параметры проезжей части, краевых укрепленных полос и обочин, обеспечивающие в любых условиях погоды сохранение чистой укрепленной поверхности В1 шириной не менее значений, приведенный в табл. 6.2.

Таблица 6.2

Расчетная схема

Параметры автомобилей

Расчетная скорость, км/ч

Ширина чистой укрепленной поверхности В1, м

Минимальная ширина чистой укрепленной краевой полосы y0, м, при ширине проезжей части, м

 

а1 + с1

а2 + с2

V1

V2

7,5

7,0

 

ВАЗ-2103 + ВАЗ-2103

1,345 + 1,611

1,345 + 1,611

140

140

8,20

0,35

0,60

 

ГАЗ-24 + ГАЗ-24

1,45 + 1,80

1,45 + 1,80

150

150

8,75

0,65

0,85

 

ЗИЛ-130 + ЗИЛ-130 и КамАЗ + КамАЗ

1,79 + 2,50

1,79 + 2,50

90

90

8,70

0,60

0,85

 

ЗИЛ-130 (КамАЗ) + ВАЗ-2103

1,79 + 2,50

1,345 + 1,611

90

140

8,10

0,30

0,60

 

ЗИЛ-130 (КамАЗ) + ГАЗ-24

1,79 + 2,50

1,45 + 1,80

90

150

8,35

0,45

0,70

 

6.4.20. Максимально допустимая скорость может быть определена из формул (6.18) и (6.19).

При движении автомобилей различных марок по полосам коэффициент обеспеченности расчетной скорости

,                             (6.20)

при движении одинаковых автомобилей

Крс = [B - (а + с + 1,0)] : [B - (а + с + 1,0)],                      (6.21)

где B - ожидаемая фактическая ширина укрепленной поверхности дороги в неблагоприятные периоды года с учетом ее уменьшения за счет загрязнения прикромочных полос, образования на них снежного наката, льда и т.д.;

B - проектная ширина укрепленной поверхности, принимаемая в соответствии со СНиП II-Д.5-72 равной 9 м для двухполосной проезжей части в одном направлении.

Ширина фактически используемой чистой укрепленной поверхности

B1ф = B1э - 2b3,                                                             (6.22)

где b3 - ширина загрязнения укрепленной поверхности, принимаемая по табл. 6.3.

Значения максимальных возможных скоростей и коэффициентов обеспеченности расчетных скоростей в зависимости от фактически используемой для движения ширины укрепленной поверхности можно брать по графику (рис. 6.8).

Таблица 6.3

Тип укрепления обочин

Ширина полосы загрязнения укрепленной поверхности дороги, м, в период

зимний

осенне-весенний

Покрытие из асфальтобетона, цементобетона и из материалов, обработанных вяжущими

-

-

Обочина укреплена слоем щебня, гравия

0,2 - 0,3

0,1 - 0,2

Обочина укреплена засевом трав

0,2 - 0,5

0,1 - 0,2

Обочина не укреплена

0,2 - 0,5

0,2 - 0,3

Бордюр высотой h

(3 ÷ 8) h

3h

Примечание. На участках дорог, где имеются помехи для работы по их содержанию, принимаются максимальные значения, приведенные в таблице. К таким участкам относятся подходы к мостам и путепроводам, участки дорог над трубами, места установки ограждений, надолб, направляющих столбиков и т.п.

6.4.21. Ширина и конструкция укрепления краевых полос и обочин назначаются в соответствии с нормативными документами и настоящими рекомендациями. При этом следует учитывать, что краевые полосы эффективно работают во все периоды года и во всех климатических районах, хотя необходимая ширина их и прочность конструкции укрепления могут быть различными. Однако укрепленные обочины работают с различной эффективностью в различные периоды года. Так, например, в зоне IА, где зима длится от 180 до 260 дней в году, укрепленные обочины большую часть года не работают. То же самое наблюдается в зоне III, где большую часть года стоит сухая жаркая погода. Эти особенности следует учитывать при технико-экономических обоснованиях принимаемых решений.

6.4.22. Поперечный уклон проезжей части принимают с учетом его влияния на скорость стекания воды с покрытия при различных шероховатости и интенсивности расчетного дождя. Сочетания этих факторов определяют толщину слоя воды на покрытии.

Исходя из этого в районах с большим количеством дождей в зонах IБ, IВ и II рекомендуется проектировать двускатный поперечный профиль проезжей части там, где это возможно по технологическим условиям, а в зонах IА и III - односкатный. При выборе поперечного уклона в зонах I и II рекомендуется учитывать работу дорог в зимний период, когда увеличение поперечного уклона способствует снижению устойчивости автомобиля во время снегопада, снежного наката и гололеда, особенно на участках крутых подъемов и спусков. В районах зоны III с засушливым, жарким климатом, где осадки выпадают редко и покрытие быстро высыхает, поперечный уклон может быть снижен. Таким образом, поперечный уклон проезжей части автомагистрали должен назначаться дифференцированно в зависимости от климатической зоны (табл. 6.4).

Рис. 6.8. Влияние ширины В1 укрепленной поверхности на скорость v автомобилей:

1 - ВАЗ-2103 и ВАЗ-2103; 2 - ЗИЛ-130 (КамАЗ) и ВАЗ-2103; 3 - ГАЗ-24 и ГАЗ-24; 4 - ЗИЛ-130 (КамАЗ) и ГАЗ-21; Крс - коэффициент…..

 

Таблица 6.4

Поперечный профиль проезжей части

Поперечный уклон проезжей части, ‰, для климатических зон

IА

IБ

IВ

II

III

Двускатный

15 - 20

20

20

20 - 25

15 - 20

Односкатный:

 

 

 

 

 

первая полоса

15

15

15 - 20

20

15

вторая »

15

20

20

20

15

третья »

20

25

25

25

20

четвертая и последующая полосы

20

25

25

25

20

6.4.23. Для районов с зимним расчетным периодом исключительно важны вопросы выбора высоты насыпей, глубины выемок и очертания земляного полотна с точки зрения обеспечения снегонезаносимости. Параметры земляного полотна вместе со снегозащитными насаждениями имеют решающее значение для обеспечения снегонезаносимости дорог. Рекомендуемая в СНиП II-Д.5-72 высота незаносимой насыпи может быть уточнена технико-экономическими расчетами с учетом затрат на строительство и содержание дороги в конкретных условиях зимнего периода данного района.

Вероятность появления различной заносимости в определенном районе может быть получена на основе анализа данных метеорологических станций. Сравнивая варианты насыпей различной высоты, можно установить высоту насыпи, гарантирующую от снегозаносимости дороги, для которой суммарные приведенные затраты на строительство и эксплуатацию будут минимальными.

6.4.24. Особое внимание рекомендуется уделять выявлению снегозаносимых участков дорог во время метелей. По условиям незаносимости снегом в холмистой и гористой местности метелей или зоны выдувания. К ним относятся наветренные склоны в верхней части (рис. 6.9) и полосы шириной 200 - 300 м за подветренными границами русел, балок, оврагов и других понижений местности. Поэтому трассу рекомендуется располагать на открытых и наветренных склонах не менее чем на 50 - 60 м от подошвы косогора (положения 2 и 3 на рис. 6.9, а).

Рекомендуется избегать расположения трассы на скрытых подветренных склонах (см. рис. 6.9, б), так как на этих участках мощность снегового покрова значительна. В случае неизбежности укладки трассы на таком косогоре необходимо предусматривать защиту дороги от снежных заносов по индивидуальному проекту. Если условия трассирования позволяют уложить трассу на разной

 

следует отдавать трассе в нижней и средней частях склона (положения 1' и 2' на рис. 6.9, б), а при сильных ветрах (со скоростью более 10 м/с) - в верхней части склона (положение 3').

Рис. 6.9. Варианты расположения трассы на склоне:

а - наветренном; б - подветренном

Рис. 6.10. Зависимость расчетной скорости v автомобиля от коэффициента сцепления f при расстоянии видимости 300 - 100 м

6.4.25. Требования к шероховатости и сцепным качествам проектируемого покрытия в неблагоприятные периоды года устанавливаются исходя из анализа зависимости обеспеченности расчетной скорости от коэффициента сцепления (рис. 6.10).

Влияние принятой в проекте шероховатости покрытия на обеспеченность расчетной скорости определяют исходя из равенства остановочных путей при внезапном торможении автомобиля перед препятствием при сцепных качествах покрытия и видимости поверхности дороги, принятых за эталонные, и при сцепных качествах покрытия в характерных для неблагоприятных периодов года состояниях. Для обеспечения нормальных условий движения в проекте рекомендуется предусмотреть решения, гарантирующие коэффициент сцепления в неблагоприятные периоды года и в сложных условиях погоды не ниже 0,4, что может быть достигнуто при исключении возможности образования гололеда, льда и снежного наката на покрытии.

При выборе типа покрытия, конструкции и материалов укрепления краевых полос и обочин необходимо также соблюдать требования к допустимому изменению сцепных качеств по ширине проезжей части и обочин в зависимости от расчетной скорости движения. Требования к параметрам макрошероховатости покрытий с учетом климатических условий, рекомендуемые типы покрытий, а также технология их устройства с учетом указанных требований приведены в гл. 9.

6.4.26. В проекте дороги рекомендуется обосновать требования к уровню содержания, обеспечивающему принятые транспортно-эксплуатационные характеристики.

В качестве примера приводится методика технико-экономического обоснования требований к толщине допускаемого слоя рыхлого снега на поверхности дороги при патрульной снегоочистке.

Число патрульных снегоочистительных машин

,                                              (6.23)

где iсн - интенсивность снегопада, мм/ч;

tсн - продолжительность снегопада, ч;

L - длина участка, км;

B - ширина очищаемой поверхности, м;

ρ - плотность слоя снега на покрытии в период снегопада, равная 0,1 - 0,4 г/см3;

hдоп - допустимая толщина слоя снега на покрытии, мм;

vраб - скорость снегоочистителя, км/ч;

Кв - -коэффициент использования рабочего времени (может быть принят равным 0,9);

b3 - ширина захвата снегоочистителя, м.

Определив число снегоочистительных машин при различной допустимой толщине слоя рыхлого снега на покрытии, получим затраты на снегоочистку по каждому ва

 

ты по этим вариантам. Сравнивая варианты по приведенным, но выбирать наиболее целесообразное решение.

Рис. 6.11. Затраты З на патрульную снегоочистку в зависимости от допускаемой толщины hдоп слоя рыхлого снега на дороге и интенсивности iс снегопада

6.5. Оценка влияния отдельных метеорологических факторов на обеспеченность расчетной скорости

6.5.1. При проектировании автомагистрали необходимо разрабатывать инженерные решения для обеспечения расчетных скоростей при действии отдельных метеорологических факторов, оказывающих влияние на режим движения.

6.5.2. Максимальная допустимая скорость в зависимости от метеорологической дальности видимости может быть определена по формуле вычисления остановочного пути перед препятствием на дороге. По этой формуле определяют степень опасности метеорологических факторов, ограничивающих только видимость без влияния на коэффициент сцепления, и факторов, одновременно ограничивающих видимость и снижающих сцепные качества покрытий. К первым относятся дымка, мгла, дымные гари, пыльные бури, а ко вторым - туман, дождь, снег, метель.

6.5.3. Метеорологическая дальность видимости (МДВ), входящая в расчетные формулы, может быть получена для тумана из климатических справочников, а для дождя и снегопада - расчетным путем исходя из установленных в метеорологии зависимостей между интенсивностью дождя и снегопада (рис. 6.12). При этом видимость определяется по нижней грани балла, а интенсивность дождя и снегопада принимается по данным ближайшей метеостанции для повторяемости 1 раз в год.

Влияние метеорологической видимости на скорость при различных состояниях проезжей части может быть определено по графику (см. рис. 6.10).

6.5.4. При выборе трассы и геометрических параметров дороги необходимо учитывать туманоопасные участки местности.

Анализ данных климатических наблюдений позволяет выявить участки местности с наибольшей повторяемостью туманов - котловины, поймы рек, заболоченные низины, озера, водоемы с теплыми водами и др. Такие участки целесообразно обходить при трассировании автомагистралей. На этих участках нельзя располагать кривые в плане, пересечения, примыкания и автобусные остановки. На туманоопасных участках обязательны: а) направляющие столбики и планки со светоотражающими катафотами или полосами пленки; б) дорожные знаки и указатели с рефлектирующей поверхностью или специальной подсветкой; в) специальные сигнальные устройства и световые табло со сменной информацией, предупреждающие о тумане; г) разметка проезжей части из краски или термопластики со светоотражающими свойствами, втапливаемые в покрытие; д) светоотражающие микрошарики; е) стационарное освещение на опасных участках; ж) осветление покрытий; з) устройство покрытий краевых полос из цветных материалов; и) шероховатые поверхностные обработки.

Рис. 6.12. Зависимость метеорологической дальности видимости (МДВ) от интенсивности iдж, iсн осадков во время:

a - дождя; б - снегопада; 1 - нижняя граница балла видимости; 2 - то же, верхняя. Заштрихована полоса видимости балла

6.5.5. Влияние бокового воздействия ветра на скорость автомобиля на прямых участках дороги определяют исходя из сравнения допустимого отклонения траектории автомобиля при заданной ширине полосы движения с фактическим.

Допустимое отклонение

yдоп = 0,5b - (z + 0,5a);                                                (6.24а)

фактическое отклонение (в метрах)

yф = a1 × a2 × t3                                                            (6.24б)

где b - ширина полосы движения многополосной автомагистрали, м;

z - допустимое приближение автомобиля к границе полосы, принимаемое равным 0,2 - 0,3 м;

а - ширина кузова автомобиля, м;

t - время реакции водителя на порыв ветра, с.

Коэффициент а1 имеет следующие значения:

Скорость автомобиля, км/ч       50       60       70       80       90       100     110     120                                                      140

а1                                                   0,13    0,15    0,20    0,30    0,60    0,95    1,22    1,42                                                      1,67

Коэффициент а2 имеет следующие значения:

Скорость ветра, м/с                                  10             20             30             40          50

а2                                                                 0,3            0,55          0,65          0,75       0,80

Расчетную скорость ветра определяют в соответствии с указаниями п. 6.4.11 - 6.4.12, а максимально допустимую скорость автомобиля по условиям безопасности движения - из равенства уф = удоп.

Значения коэффициентов обеспеченности расчетной скорости можно брать по графику (рис. 6.13).

6.5.6. Для обеспечения расчетной скорости автомобилей на ветроопасных участках на стадии проектирования необходимо предусматривать комплекс мероприятий. К ним относятся: обход ветроопасных участков, устройство ветрозащитных сооружений (ветрозащитные насаждения, заборы, сетки, ограждения, галереи и др.), установка предупреждающей сигнализации на подходах к ветроопасным участкам и уширение полос движения на размер отклонения автомобиля под действием ветра.

Сводные данные о степени опасности метеорологических явлений (факторов) различной интенсивности по их влиянию на обеспеченность расчетной скорости на автомобильных магистралях с разделительной полосой приведены в табл. 6.5.

Рис. 6.13. Влияние скорости ветра vвт на обеспеченность расчетной скорости va при времени реакции водителя 1, 1,5 и 2 с

Таблица 6.5

Метеорологический фактор

Интенсивность факторов

неопасных Крс = 1,0 ÷ 0,75

опасных Крс = 0,75 ÷ 0,5

очень опасных Крс = 0,5

Метель, скорость ветра, м/с

-

3 - 9

> 9

Гололед, коэффициент сцепления

-

0,4 - 0,2

< 0,2

Осадки:

 

 

 

дождь, мм/мин

-

0 - 0,2

> 0,2

снегопад, мм/ч

-

< 0,1

> 0,1

Туман, видимость, м

350 - 250

250 - 170

< 170

Ветер, скорость, м/с

0 - 10

10 - 20

> 20

Температура воздуха, °С:

 

 

 

положительная

0 - 40

> 40

-

отрицательная

0 - 30

30 - 40

Ниже -40

Относительная влажность воздуха, %

50 - 90

90 - 100

-

6.5.7. Наибольшее влияние на состояние дороги и условия движения оказывают гололед, метель, осадки в виде дождя и снега, туман и ветер. В такой же последовательности необходима и разработка мероприятий по нейтрализации этих явлений.

Для этого на основе климатических характеристик ближайшей метеостанции и сопоставления их с табл. 6.5 необходимо определить число дней в году с различной обеспеченностью расчетной скорости под влиянием отдельных метеорологических явлений.

Гололед относят к особо опасным явлениям, поскольку коэффициент сцепления при этом всегда меньше 0,2. Гладкие покрытия, для которых коэффициент сцепления в сухом состоянии составляет 0,5 - 0,6, уже при образовании связной пленки воды имеют коэффициент сцепления менее 0,4, т.е. для таких покрытий влажность воздуха 90 - 100 % опасна, дождь интенсивностью 0,2 мм/мин очень опасен.

Для шероховатого покрытия опасен дождь интенсивностью 0,3 мм/мин и выше, при котором образуется слой воды толщиной 4 мм и коэффициент сцепления снижается до 0,4. Поэтому при назначении поперечного уклона проезжей части, уклона виража и параметров шероховатости покрытия для автомагистралей необходимо исходить из толщины слоя воды на покрытии не более 4 мм.

Особенно трудные условия движения наблюдаются во время метелей, когда любое препятствие на поверхности или около дороги может привести к образованию снежных отложений на дороге. Известно, что особенно много снега переносится при скорости ветра более 9 м/с.

Поэтому метели при скорости ветра до 9 м/с можно отнести к опасным для движения, а метели при скорости ветра более 9 м/с - к очень опасным для движения.

6.5.8. Для борьбы с гололедом в проектах дорог нужно предусматривать устройство баз хранения противогололедных материалов. В зависимости от интенсивности движения расстояние между базами должно приниматься от 20 до 50 км.

На опасных участках через каждые 50 - 100 м должны быть созданы места хранения абразивных материалов, защищенные от снега, намокания и замерзания.

 

 

ность устройства теплоэлектрообогрева проезжей части на наиболее опасных участках (мосты, путепроводы, пересечения в разных уровнях, зоны автобусных остановок и др.).

На участках автомагистрали, где по данным метеорологических справочников или наблюдений ожидается повышенное число случаев гололеда, целесообразно предусматривать автоматические световые табло, предупреждающие водителей о гололеде.

6.5.9. Особенно большое значение имеет предупреждение водителей о реальных условиях движения и рекомендуемых режимах. Для информации водителей необходимо предусматривать в проекте систему временных дорожных знаков и табло со сменной информацией, предупреждающих о неблагоприятных метеорологических условиях, а также системы автоматизированного управления движением (см. гл. 12). В проектах дорог целесообразно предусматривать посты наблюдения за метеорологическими условиями, обслуживаемые дорожными организациями.

6.6. Методика и обобщенный показатель оценки и прогнозирования совместного влияния метеорологических условий, параметров дороги и ее состояния на обеспеченность расчетной скорости

6.6.1. После оценки влияния отдельных параметров дороги и отдельных метеорологических явлений рекомендуется оценить совместное влияние метеорологических факторов на состояние дороги, условия и режим движения.

Для учета такого влияния используются обобщенные показатели, итоговый и среднегодовой (или сезонный) коэффициенты  и Ксг обеспеченности расчетной скорости движения, которые учитывают снижение скоростей в периоды действия каждого в отдельности, совместного действия двух и более метеорологических факторов, а также их последействие. Для определения Ксг предварительно вычисляются вероятности совпадения двух и более метеорологических факторов одновременно.

6.6.2. Вероятность появления каждого фактора в отдельности и их интенсивность могут быть получены из климатических справочников или по данным многолетних наблюдений ближайшей метеостанции.

Данные выписываются по следующим факторам:

х1 - температура воздуха;

х2 - относительная влажность воздуха;

х3 - фактор дождя;

х4 - фактор ветра;

х5 - фактор тумана;

х6 - фактор снега;

х7 - фактор гололеда;

х8 - фактор метели.

Совокупность возможных температур воздуха, кроме того, разбивается на х+1 и х-1 - множество значений положительных и отрицательных температур.

6.6.3. Множества значений каждого метеорологического фактора  разбиваются на 4 интервала по степени влияния их интенсивности на режим движения автомобилей (рис. 6.14):

 - подмножество значений фактора , не оказывающих неблагоприятного воздействия на движение, при Крс = 1,0;

 - подмножество значений факторов , вызывающих снижение расчетных скоростей в диапазоне Крс = 0,75 ÷ 1,0;

 - то же, в диапазоне Крс = 0,5 ÷ 0,75;

 - то же, в диапазоне Крс < 0,5.

Граничные значения интенсивностей каждого метеорологического явления определяются по табл. 6.5.

Рис. 6.14. Основные случаи распределения интенсивности Ixj метеорологических явлений по влиянию на режим движения автомобилей:

а - факторы, действующие во всем диапазоне опасности для движения (метеорологическая видимость, ветер и отрицательная температура воздуха); б - факторы, оказывающие неопасное и опасное влияние (относительная влажность и положительная температура воздуха); в - факторы, оказывающие опасное и очень опасное влияние (метель, гололед, дождь и снегопад); 1 - множество значений фактора, не оказывающих неблагоприятного влияния на режимы движения; 2 - то же, оказывающих неопасное влияние; 3 - то же, оказывающих опасное влияние; 4 - то же, оказывающих очень опасное влияние

6.6.4. При определении вероятности совместного действия двух и трех факторов учитывается, что между подмножествами  множества х факторов имеется три типа соотношений:

несовместимость двух факторов при данной интенсивности (например, снегопад не может наблюдаться при высокой температуре воздуха)

;                                             (6.25)

независимость появления и влияния факторов (например, дождь - ветер)

,                            (6.26)

зависимость появления одного фактора от другого (например, гололед может возникнуть только при отрицательной температуре, метель - при скорости ветра более 3 м/с и т.д.).

.                           (6.27)

Вероятность совместного действия более чем трех отрицательных факторов ничтожно мала и поэтому не определяется.

6.6.5. Совместное влияние различных метеорологических факторов определяется по итоговому коэффициенту обеспеченности расчетной скорости:

. (6.28)

Коэффициенты βij и yije - параметры парного и тройного взаимодействия. Если взаимодействие между факторами отсутствует и каждый фактор действует независимо, то β = y = 0. Коэффициенты парного и тройного взаимодействия определяются отдельно для факторов, возможных при положительных и отрицательных температурах воздуха.

6.6.6. При положительных температурах воздуха возможны сочетания факторов: х1 - температуры воздуха, х2 - влажности воздуха, х3 - дождя, х4 - ветра, х5 - тумана.

Параметры парного взаимодействия факторов имеют вид:

 

х2

х3

х4

х5

0

4,16

1,1

1,36

0

х2

 

0

-0,91

0

0

х3

 

 

0

0,28

0,36

Параметры тройного взаимодействия факторов имеют значения: y123 = 4,56, y124 = 0, y125 = 0, y134 = 24,09, y135 = 0, y234 = 0, y235 = 0, y345 = 0.

Для расчетов необходимо в исходную формулу (6.28) подставить значения параметров парного и тройного взаимодействия.

Например, для одновременного действия трех факторов: температуры (), дождя (х3) и тумана (х5) значения коэффициентов парного взаимодействия β13 = 1,1; β15 = 0; β35 = 0,36; y135 = 0. Тогда расчетная формула примет вид:

.     (6.29)

6.6.7. При отрицательных температурах возможны сочетания факторов:

 - отрицательной температуры воздуха,

х4 - ветра,

х5 - тумана,

х6 -снегопада,

х7 - гололеда,

х8 - метели.

Фактор относительной влажности воздуха при отрицательных температурах отдельно не учитывается, поскольку ее влияние учитывается при образовании гололеда и появлении снегопада. Следует иметь в виду, что сочетание ветра и снегопада дает метель и поэтому не должно учитываться дважды.

Параметры взаимодействия факторов имеют вид:

 

х4

х5

х6

х7

х8

0

0,19

0

0,27

0

0

х4

 

0

0

-0,62

0,15

-

х5

 

 

0

-0,17

-0,32

0

х6

 

 

 

0

0

-1,62

х7

 

 

 

 

0

-0,30

х8

 

 

 

 

 

0

Значения параметров тройного сочетания: y145 = 3,04, y147 = -0,81, y157 = -0,46, y567 = 4,2, y678 = -0,75, остальные y = 0.

Таким образом, по формуле (6.28) определяют итоговый коэффициент обеспеченности расчетной скорости на проектируемой дороге при всех сочетаниях метеорологических факторов и параметров дороги, а по формулам (6.25) ÷ (6.27) - вероятность появления их сочетаний в условиях климата района проложения дороги. Тем самым на стадии проектирования прогнозируются удобство и безопасность движения с учетом характеристик климата

 

 

характерном участке для состояния поверхности дороги и метеорологических условий, соответствующих расчетному периоду года (см. пп. 6.2.2 и 6.2.3), после чего строится линейный график итоговых коэффициентов обеспеченности расчетной скорости, который служит основным показателем оценки соответствия проектных решений требованиям движения с учетом влияния климата и погоды.

Для автомобильных магистралей следует принимать решения, обеспечивающие в расчетный период значения  ≥ 0,75.

Принятие решений, обеспечивающих значения  = 0,5 ÷ 0,75, допускается после технико-экономического обоснования. В исключительных случаях на основании этих расчетов могут быть допущены значения  = 0,50.

6.6.9. Технико-экономические обоснования производятся с использованием значений среднесезонного или среднегодового коэффициента Ксг обеспеченности расчетной скорости, который учитывает продолжительность действия и последействия метеорологических явлений и их сочетаний на состояние поверхности дороги и режим движения транспортного потока.

6.6.10. Точные значения

,                                            (6.30)

где Крс (х) - частные коэффициенты обеспеченности расчетной скорости при действии различных метеорологических факторов;

Ат - линейный оператор продолжительности действия и последействия (Т) метеорологических факторов;

t1 - продолжительность действия метеорологических факторов или характерного состояния атмосферы;

t2 - продолжительность последействия:

Т - продолжительность действия и последействия метеорологических факторов в часах или долях суток соответственно в пределах расчетного периода или года;

T = t1 + t2.                                                                    (6.31)

Таблица 6.6

Метеорологический фактор

Продолжительность действия, ч

Продолжительность последствия, ч

на покрытии

на укрепленных обочинах

на неукрепленных обочинах

Снегопад

4 - 12

6 - 10

6 - 10

Всю зиму

Метель

6 - 9

6 - 24

6 - 24

То же

Гололед

3 - 6

1 - 4

2 - 24

Не удаляется

Дождь, мокрый снег

2 - 6

2 - 12

2 - 12

3 - 10

6.6.11. Продолжительность действия каждого фактора определяется по климатическим справочникам, а продолжительность последействия может быть определена при изысканиях путем наблюдений за состоянием существующей автомагистрали в районе проложения трассы. Осредненные данные о продолжительности действия и последействия ряда факторов приведены в табл. 6.6. Продолжительность совместного действия и последействия двух и трех факторов принимается по наименьшей длительности взаимодействующих факторов.

Для факторов, не имеющих последействия, осредненные данные продолжительности действия (в часах):

 

Таблица 6.7

Интенсивность движения по двухполосной проезжей части, авт./ч

y при коэффициенте β, равном

0,3

0,4

0,5

0,6

0,7

0,8

100

0,037

0,040

0,045

0,049

0,055

0,062

200

0,036

0,039

0,046

0,047

0,053

0,059

300

0,035

0,038

0,042

0,046

0,051

0,057

400

0,034

0,037

0,041

0,044

0,049

0,055

500

0,033

0,036

0,039

0,043

0,047

0,053

600

0,033

0,036

0,038

0,042

0,045

0,051

700

0,032

0,035

0,037

0,040

0,044

0,048

800

0,032

0,034

0,036

0,039

0,042

0,046

900

0,031

0,033

0,035

0,037

0,040

0,044

1000

0,031

0,032

0,033

0,036

0,038

0,042

где σv - среднее квадратичное отклонение скоростей свободного транспортного потока, принимаемое по графику (см. рис. 6.15) для скорости vmax, км/ч;

y - коэффициент, учитывающий влияние интенсивности движения и принимаемый по табл. 6.7;

N - интенсивность движения в одном направлении, авт./ч;

β - коэффициент, учитывающий состав транспортного потока (численно равный доле грузовых автомобилей в потоке) и принимаемый с учетом перераспределения автомобилей различных типов по полосам движения:

Число легковых автомобилей

в общем потоке движения, %                20                  40                  60                   80

β для полосы:

левой                                                  0,65 - 0,7       0,45 - 0,5       0,3 - 0,35         0,15 - 0,20

правой                                                0,9 - 0,93       0,7 - 0,76       0,55 - 0,62       0,16 - 0,26

6.8.3. При определении транспортных издержек следует учитывать реальную продолжительность воздействия того или иного параметра или характеристики дороги на скорость и безопасность движения в данных климатических условиях. Реальная продолжительность воздействия каждого параметра или характеристики дороги равна суммарной продолжительности действия и последействия того метеорологического фактора, влияние которого учитывается при определении значения этого параметра и скорости. Для упрощения расчетов допускается принимать реальную продолжительность воздействия равной длительности характерных состояний дороги по периодам года. Так, например, характерное для осени влажное состояние покрытия может быть принято равным 60 % длительности этого периода. В то же время на большей части территории страны 15 - 20 % длительности летнего периода может быть отнесено по состоянию поверхности дороги к осеннему периоду, так как во время летних дождей оно не отличается от осеннего.

Продолжительность состояния поверхности дороги, характерного для зимнего периода, может быть принята равной 50 % длительности зимы.

6.8.4. Продолжительность характерных состояний поверхности дороги и реальная продолжительность воздействия каждого параметра и характеристики дороги непосредственно зависят от климата и погоды в каждом районе. С учетом этого экономически целесообразные требования к параметрам и транспортно-эксплуатационным характеристикам дороги в различных климатических зонах могут быть существенно различны.

6.8.5. Экономический критерий оценки эффективности выбора проектных решений - минимум приведенных затрат, которые включают в себя сумму единовременных и текущих затрат.

В состав единовременных затрат входят капитальные вложения в автомобильную дорогу для каждого варианта проектных решений, а также в автомобильный транспорт, необходимые для перевозок при этих параметрах.

6.8.6. Чтобы учесть фактические условия в различные периоды года, необходимо годовые капитальные затраты в автомобильный транспорт определять, подставляя в расчетную формулу среднегодовую скорость движения, вычисленную с учетом влияния климата и погоды.

В текущих затратах наиболее существенное значение имеют текущие затраты на автомобильном транспорте, которые также зависят от скорости движения, определяемой с учетом влияния климата и погоды района проложения дороги.

Технико-экономические расчеты включают в себя определение стоимости дороги по каждому варианту решений, капитальных вложений в автомобильный транспорт, ежегодных текущих затрат на перевозки и на содержание дороги с учетом климата и погоды, определение приведенных затрат, по минимуму которых выбирается наиболее эффективное решение.

7. ТРЕБОВАНИЯ К ЭЛЕМЕНТАМ ПОПЕРЕЧНОГО ПРОФИЛЯ

7.1. Число полос движения, ширина и конструкция проезжей части

7.1.1. Число полос движения на автомагистрали для одного направления движения должно быть не меньше двух. При сильно выраженной неравномерности распределения интенсивности движения по направлениям число полос в одном направлении может отличаться от числа полос в другом.

В сложных случаях необходимое число полос движения может быть определено технико-экономическими расчетами из условия минимума приведенных затрат.

7.1.2. Число полос движения определяют исходя из ожидаемой интенсивности на последний год перспективного периода или на другой год в пределах указанного периода с максимальной интенсивностью.

Для каждого характерного периода года число полос движения

n = α · NΣ · Kc : (Zp · PS),

где α - коэффициент перехода от суточной интенсивности к часовой, равный 0,15;

NΣ - суммарная среднегодовая интенсивность движения в обоих направлениях, авт./сут;

Kc - коэффициент, учитывающий сезонную неравномерность интенсивности движения (табл. 7.1);

Zp - принятый расчетный уровень загрузки тля данного периода года (см. п. 2.1.3);

PS - суммарная пропускная способность автомагистрали на рассматриваемом участке в данный период года (см. п. 2.2.), авт./ч.

Таблица 7.1

Вит автомагистрали

Коэффициент Kc

Лето

Осень

Зима

Весна

Подъезды к аэропортам

1,1

1,0

0,9

0,9

Внегородские автомагистрали

1,0

1,2 - 1,4

0,8 - 1,0

0,8 - 0,9

То же, к курортным зонам

1,1 - 1,2

1,0

0,7 - 0,8

0,7 - 0,8

Входы в города, обходы и кольца вокруг больших городов

1,0

1,2 - 1,4

0,9 - 1,0

0,8 - 0,9

7.1.3. Ширина одной полосы движения принимается равной 3,75 м. В исключительных случаях на участках ограниченного протяжения, там, где это обеспечит значительную экономию строительных затрат без существенного изменения условий движения, допускается принимать ширину полосы 3,5 м. К таким могут быть отнесены отдельные участки: с расчетной скоростью 80 и 100 км/ч, в горной местности, при неблагоприятных геологических, гидрогеологических условиях, при стесненной территории строительства.

7.1.4. Поперечный профиль автомагистрали может быть запроектирован в расчете на стадийное строительство, что позволяет обеспечить повышение пропускной способности по мере роста интенсивности движения и уровня загрузки автомагистрали.

Возможно несколько методов и стадий развития автомагистрали в поперечном профиле: а) устройство вначале одной проезжей части и организация на ней двустороннего движения, а затем второй проезжей части и разделительной полосы с организацией одностороннего движения; б) постоянное увеличение числа полос движения на всем протяжении дороги (рис. 7.1); в) постоянное увеличение числа полос на отдельных участках за счет сокращения разделительной полосы.

7.1.5. В проекте стадийного сооружения автомагистрали параметры искусственных сооружений и земляного полотна должны быть рассчитаны на размещение перспективного числа полос движения.

7.1.6. На участках автомагистрали со значительными продольными уклонами, на которых скорость некоторых типов транспортных средств снижается до 50 км/ч и ниже, при проезжей части на 2×2 полосы движения необходимо предусматривать устройство дополнительной полосы в сторону подъемов. Ширина дополнительной полосы должна, как правило, приниматься одинаковой с основными полосами, но не менее 3,5 м, а при реконструкции автомагистрали в отдельных случаях может быть принята не менее 3 м.

Рис. 7.1. Этапы I - III увеличения числа полос (см. стрелки) движения на протяжении автомагистрали с полосой отвода Lпо (пример)

7.1.7. Дополнительные полосы должны соединяться с основной полосой постепенным переходом для обеспечения безопасного перестроения автомобилей. В тех случаях, когда расстояние между двумя соседними дополнительными полосами менее 500 м, эти полосы следует объединять в одну непрерывную дополнительную полосу движения.

7.1.8. При реконструкции автомагистралей допускается в отдельных случаях при соответствующем технико-экономическом обосновании оставлять существующие параметры плана и продольного профиля без изменения.

7.1.9. Поперечный профиль проезжей части в каждом направлении может быть принят одно- или двускатным. Односкатный профиль рекомендуется устраивать в районах с малым количеством осадков и в тех случаях, когда по технологии строительства не представляется возможным устроить двускатный профиль (например, при устройстве проезжей части комплектом машин ДС-100 или ДС-110). В районах с большим количеством осадков (зоны с зимним и осенне-весенним расчетными периодами) рекомендуется устраивать двускатный поперечный профиль. В этом случае разделительная полоса должна иметь погнутый поперечный профиль.

7.1.10. В случаях когда по условиям строительства в районах с большим количеством осадков применяется односкатный поперечный профиль проезжей части, для уменьшения количества стекающей по покрытию воды и предотвращения его загрязнения рекомендуется устраивать 20 ‰-ный поперечный уклон левой укрепленной полосы в сторону разделительной полосы.

7.1.11. Поперечный уклон полос проезжей части принимается с учетом погодно-климатических условий района проложения автомагистрали (см. п. 6.4.22).

7.1.12. Конструкция поперечного профиля проезжей части должна учитываться при выборе конструкции земляного полотна и метода его проектирования, особенно на участках кривых в плане.

Наиболее распространенный способ создания односкатного поперечного профиля проезжей части автомагистрали на кривых, требующих устройства виража, - вращение проезжей части вокруг внутренней кромки. Этот способ применим при различной ширине разделительной полосы, при раздельном трассировании, а также в случаях, когда в перспективе потребуется использовать разделительную полосу для уширения проезжей части. Высотное изменение положения различных точек поперечного профиля при способе вращения относительно небольшое, поэтому водоотвод в большинстве случаев обеспечивается без затруднений.

В случаях когда необходимо сохранить односкатный поперечный профиль разделительной полосы, вращать проезжую часть следует вокруг ее центра. При этом в равнинной или слабопересеченной местности возникает проблема водоотвода, так как в середине кривой обочина сильно понижается по сравнению с прямолинейным участком. Преимущество этого способа - возможность беспрепятственного использования разделительной полосы для перспективного уширения проезжей части.

Наиболее сложным с точки зрения водоотвода и обеспечения безопасности движения при малой ширине разделительной полосы оказывается способ вращения проезжей части вокруг ее центра или вокруг внешней кромки. При узкой разделительной полосе ее крутизна в поперечнике значительно увеличивается из-за разницы высотных отметок внутренних кромок проезжих частей, в связи с чем этот способ вращения наиболее целесообразен при раздельном трассировании.

7.2. Обочины, краевые и остановочные полосы

7.2.1. На автомагистралях ширина правой обочины включает в себя ширину краевой укрепленной полосы, ширину полосы для вынужденных остановок автомобилей (остановочная полоса) и грунтовую полосу, укрепленную засевом трав, переходящую в откос.

7.2.2. При размещении проезжих частей в обоих направлениях на едином земляном полотне левая краевая укрепленная полоса (внутренняя ведущая полоса) входит в состав разделительной полосы, а при раздельном трассировании эта полоса входит в состав левой обочины.

7.2.3. Краевые укрепительные полосы устраиваются на всем протяжении автомагистралей шириной 0,75 м, кроме случаев, указанных и п. 7.2.5.

7.2.4. Остановочные полосы желательно устраивать вдоль всей автомагистрали, в том числе на участках пересечений, переходно-скоростных полос, дополнительных полос на подъемах, на искусственных сооружениях.

Устройство остановочных полос обязательно (п. 6.20 СНиП II-Д.5-72):

на участках автомагистралей для движения преимущественно скоростных автомобилей, где интенсивность за первые 5 лет эксплуатации достигает 50 % и более от расчетной перспективной;

в местах пересечений, примыканий и съездов с автомагистрали, на которых не предусматривается устройство переходно-скоростных полос на расстоянии не менее 100 м в обе стороны.

7.2.5. Ширина остановочной полосы вместе с внешней краевой полосой принимается не менее 2,5 м, за исключением особо трудных участков горной местности, где ширину всей обочины разрешается принимать 1,5 м.

7.2.6. При специальных технико-экономических обоснованиях допускается не предусматривать остановочные полосы в случаях, когда расчетная интенсивность движения, приведенная к легковому автомобилю, менее 1500 транспортных единиц в час в одном направлении. В этих случаях следует предусматривать устройство только внешней краевой полосы шириной 0,5 м и неукрепленной обочины шириной не менее 1,5 м.

7.2.7. Краевые укрепленные и остановочные полосы не предназначены для движения. Их отделяют от основной проезжей части сплошной разметкой, за исключением специальных площадок для остановки автомобилей где устраивается прерывистая разметка.

7.2.8. Общая ширина обочин на основном протяжении автомагистрали принимается равной 3,75 м. На особо трудных участках горной местности, а также в местах с переходно-скоростными полосами допускается принимать ширину обочин равной 1,5 м (п. 3.13 СНиП II-Д.5-72).

7.2.9. При раздельном трассировании обочину и укрепленную краевую полосу обычных размеров следует предусматривать и с левой стороны проезжей части, так как при их отсутствии или недостаточной ширине снижается эффективность использования левой полосы движения.

7.2.10. Конструкция дорожной одежды на краевых укрепленных и остановочных полосах и технология их устройства принимаются в соответствии с требованиями ВСН 39-79 Минавтодора РСФСР [9].

Кроме того, может быть применена схема устройства краевых укрепленных полос совместно с проезжей частью с установкой утопленного бетонного бордюра (рис. 7.2). Преимущество такой схемы - возможность устройства дорожной одежды с высокой точностью разбивки в плане, продольном и поперечном профилях, а недостаток - потребность в ручном труде при устройстве бетонного бордюра.

Весьма эффективен способ устройства краевых укрепленных полос за счет уширения крайних правой и левой полос движения на ширину краевой укреплённой полосы и отделение последней линией разметки.

7.2.11. Поперечный уклон правых краевых укрепленных полос принимается равным поперечному уклону крайней правой полосы проезжей части в том случае, когда они устраиваются совместно. Если правая краевая укрепительная полоса устраивается отдельно от проезжей части, ее поперечный уклон так же, как и уклон остановочной полосы, принимается равным 40 ‰.

Поперечный уклон левой краевой укрепительной полосы принимается равным:

поперечному уклону проезжей части при двускатном поперечном профиле и при совместном устройстве с проезжей частью;

20 - 40 ‰ в сторону левой обочины при раздельном трассировании проезжих частей;

40 ‰ к разделительной полосе при устройстве проезжих частей с односкатным уклоном в районах с большим количеством осадков;

поперечному уклону односкатной проезжей части (в сторону ее уклона) в районах с засушливым климатом.

Рис. 7.2. Поперечный профиль в проезжей части с втопленным бордюром:

1 - водоприемный колодец; 2 - ось дороги; 3 - покрытие; 4 - основание; 5 - водоотводная трубка диаметром 20 см; 6 - бетонное основание под бордюр; 7 - разделительная полоса; 8 - бордюр; 9 - краевая укрепительная полоса

7.3. Разделительные полосы

7.3.1. На автомагистралях различают два типа разделительных полос: центральную, предназначенную для разделения проезжих частей разных направлений движения, и боковую, отделяющую основную проезжую часть от дополнительных полос движения в зоне транспортных развязок, подъемов, площадок отдыха, автобусных остановок, велодорожек и т.д. Боковые разделительные полосы можно устраивать на участках четырехполосных автомагистралей с реверсивным движением.

7.3.2. Ось центральной разделительной полосы служит осью автомагистрали в целом, т.е. направляющей трассирования.

В случае раздельного трассирования направляющими осями являются оси проезжих частей каждого направления движения. Независимо от способа трассирования проектными отметками в продольном профиле будут отметки правой бровки земляного полотна.

7.3.3. Центральная разделительная полоса должна включать две краевые укрепленные полосы и одну среднюю, которая может иметь твердое покрытие, укрепление засевом трав или одерновкой.

На центральной разделительной полосе возможно устройство: опор искусственных сооружений, опор дорожных знаков, ограждений, водосборных и водоотводных сооружений, устройств, препятствующих ослеплению водителей светом фар встречных автомобилей. Роль таких устройств могут выполнять кустарники, если разделительная полоса устраивается без твердого покрытия.

7.3.4. Как конструктивный элемент разделительная полоса может иметь различную ширину. Наилучшие условия движения создаются при ширине разделительной полосы, равной 12 м и более, при которой вероятность столкновения со встречным автомобилем и степень ослепления светом фар в темное время минимальны.

Исходя из этих условий ширину разделительной полосы рекомендуется принимать не менее 12,5 м с учетом возможности в перспективе увеличить число полос. Для дорог с преимущественно скоростным движением автомобилей на подходах к крупным городам и промышленным центрам ширину разделительной полосы принимают не менее 13,5 м.

Если разделительная полоса имеет ширину меньше 12 м, необходимо с учетом интенсивности движения предусматривать установку ограждений:

Ширина разделительной полосы, м               ≤ 3,0       3 - 5        5 - 7        7 - 9       9 - 11

Интенсивность движения, при которой рекомендуется

установка ограждений, тыс. авт./сут.           10 - 15    20 - 25    30 - 35    40 - 45    50 - 60

7.3.5. Наименьшая ширина разделительной полосы между разными направлениями движения принимается равной 5 м, а на дорогах со значительным процентом высокоскоростных автомобилей - 6 м.

Ширина разделительной полосы на особо трудных участках дорог в горной местности, на больших мостах, в случае проложения автомагистрали в застроенных районах при соответствующих технико-экономических обоснованиях может быть уменьшена до 2 м.

На международных автомагистралях наименьшая ширина разделительной полосы в исключительных случаях при технико-экономических обоснованиях принимается равной 3 м.

7.3.6. При ширине разделительной полосы до 3 м рекомендуется на всей ее поверхности устраивать твердое покрытие. При большей ширине твердое покрытие на средней полосе не устраивается, и она укрепляется засевом трав или одерновкой.

7.3.7. При изменении ширины разделительной полосы длину переходного участка следует назначать не меньше значений, указанных в табл. 7.2. Рекомендуемые длины переходных участков позволяют проектировать их в виде сопряженных кривых радиусом 2500 - 3000 м. При других значениях изменения ширины разделительной полосы длину переходного участка следует определять по интерполяции.

Таблица 7.2

Скорость автомобиля, км/ч

Длина переходного участка, м, при значении измененной ширины раздельной полосы, м

3

6

9

12

80

100

150

185

215

100

120

170

215

250

120

130

190

235

270

Рис. 7.3. Схема разметки торцов боковых разделительных полос

7.3.8. Разделительную полосу можно устраивать с вогнутым или выпуклым поперечным профилем, а также без поперечного уклона. Вогнутый поперечный профиль разделительной полосы рекомендуется принимать во всех случаях устройства двускатного поперечного профиля проезжих частей, а также при односкатном поперечном профиле проезжих частей автомагистрали, в зонах с осенне-весенним и зимним расчетными периодами.

Выпуклый поперечный профиль и профиль без поперечного уклона можно устраивать: при ширине разделительной полосы до 5 м, при наличии на разделительной полосе твердого покрытия, в районах с засушливым климатом.

7.3.9. Поперечные уклоны разделительной полосы с вогнутым и выпуклым поперечными профилями принимаются 20 - 50 ‰ при устройстве твердого покрытия и 100 - 150 ‰ при укреплении засевом трав или одерновкой.

7.3.10. Для обеспечения пропуска движения с одной проезжей части на другую и для проезда дорожных машин при ремонтах и текущем содержании, а также при подъезде к большим искусственным сооружениям (тоннели, мосты, путепроводы), в разделительной полосе устраивают разрывы через каждые 2 - 4 км. Минимальную ширину разрыва допускается принимать равной 30 м.

Участки разрывов в разделительной полосе необходимо обязательно закрывать съемными ограждениями, конструкция которых должна быть указана в проекте дороги.

7.3.11. В отличие от центральной боковые разделительные полосы имеют небольшую длину, ограниченную протяженностью того участка автомагистрали, где они устраиваются. Ширина боковых разделительных полос обычно назначается в пределах 3 - 5 м, а их поверхность покрывается газоном.

7.3.12. Боковые разделительные полосы устраиваются в одном уровне с поверхностью проезжей части или возвышающимися на 10 - 15 см с обязательным окаймлением скошенным бордюром. При этом ширину краевой полосы следует назначать не менее 0,5 м.

7.3.13. Торцы боковых разделительных полос следует проектировать по схеме рис. 73.

7.4. Раздельное трассирование

7.4.1. Раздельное независимое трассирование проезжих частей автомагистрали возможно как в продольном профиле, так и в плане. Автомагистраль воспринимается как две самостоятельные дороги при расстоянии между бровками земляного полотна отдельных проезжих частей более 25 - 30 м. Желательно, чтобы пространство между проезжими частями было свободным или плотность его заполнения (например, частота посадок) позволяла периодически видеть в поперечнике противоположную проезжую часть.

7.4.2. К основным достоинствам независимого трассирования проезжих частей автомагистрали следует отнести:

высокую степень безопасности движения за счет полного устранения слепящего воздействия света фар встречных автомобилей и малой вероятности встречных столкновений;

более полное сохранение естественного состояния поверхности земли и окружающего ландшафта;

возможность наилучшего вписывания дороги в рельеф местности.

7.4.3. Способ независимого трассирования чаще применяется при проложении автомагистрали на косогорных участках и в некоторых случаях на участках транспортных развязок для наилучшего расположения левоповоротных съездов.

Рис. 7.4. Поперечные профили автомагистрали на косогоре

7.4.4. Если крутизна косогора не превышает 1:8 - 1:6, разделительную полосу можно устраивать без планировки ее поверхности. Имеющиеся предметы и препятствия на косогоре и зоне разделительной полосы следует удалить или располагать не ближе 9 - 10 м от кромки проезжей части.

7.4.5. Варианты размещения земляного полотна автомагистрали на косогоре при обычном трассировании даны на рис. 7.4, а и раздельном на рис. 7.4, б - г. Поперечники на рис. 7.4, а - в соответствуют условию раздельного трассирования лишь в продольном профиле, положение осей проезжих частей в плане остается неизменным. Поперечники на рис. 7.4, г соответствуют автомагистрали, проезжие части которой трассируются независимо и в плане и продольном профиле; в этом случае в зависимости от поперечного уклона поверхности между проезжими частями и расстояния между ними превышение кромки одной проезжей части над другой нужно принимать по табл. 7.3.

Таблица 7.3

Расстояние в свету между проезжими частями, м

Превышение кромок смежных проезжих частей, м, при уклонах поверхности между ними

1 : 6

1 : 4

1 : 3

12

0,9

1,2

1,5

15

1,2

1,8

2,4

18

1,8

2,7

3,6

21

2,1

3,3

4,5

24

2,7

4,2

5,4

30

3,6

5,7

7,5

7.4.6. Для лучшего ориентирования водителей в выборе направления движения и восприятия дороги как единого целого желательно, чтобы при раздельном трассировании полоса между проезжими частями была свободна от препятствий, затрудняющих видимость в поперечном направлении. Если видимость одной проезжей части с другой ограничена, то при въездах на автомагистраль необходимо устанавливать знаки, способствующие правильному выбору направления движения.

7.5. Откосы земляного полотна

7.5.1. Крутизна и состояние откосов земляного полотна автомагистралей на участках, проходящих в насыпи, высота которой не требует установки ограждений, должны обеспечивать в аварийных ситуациях безопасный съезд автомобиля с дороги. Крутизну таких откосов следует назначить в пределе опрокидывания

 

действуют на водителя и пассажиров в допускаемых пределах.

7.5.2. Бровку следует делать скругленной с тем, чтобы колеса съехавшего с дороги автомобиля не теряли контакта с поверхностью откоса в месте сопряжения с обочиной и автомобиль оставался управляемым на протяжении всего пути съезда.

В целях повышения безопасности движения скругление необходимо предусматривать и у подошвы откоса.

7.5.3. Поверхность откоса должна быть ровной. На откосе и в пределах полосы отвода на расстоянии 15 м от кромки проезжей части следует удалить все предметы или сооружения, с которыми может столкнуться автомобиль, съезжающий с дороги.

7.5.4. Пологие откосы способствуют беспорядочному съезду и въезду автомобилей на дорогу, места которых концентрируются на участках, проходящих вдоль сельскохозяйственных угодий, живописных мест, населенных пунктов. Для предотвращения этого на перечисленных участках необходимо особенно тщательно учитывать схему местных дорог и организацию подъездов, а при необходимости устраивать ограждения.

7.5.5. В стесненных условиях трассирования или при проложении автомагистрали по ценным сельскохозяйственным угодьям, когда рекомендуемую крутизну откосов обеспечить затруднительно, следует устанавливать ограждения, учитывая высоту насыпи, фактическую крутизну откосов и форму боковых канав (см. п. 7.6.5).

7.6. Конфигурация и расположение водоотводных сооружений

7.6.1. При съезде автомобиля с проезжей части его траектория и устойчивость движения в значительной степени зависят от расположения и формы водоотводных сооружений, в первую очередь лотков, устраиваемых для перехвата воды, стекающей с проезжей части и боковых канав.

7.6.2. Требования к боковым канавам, параметры которых обеспечивают не только нормальные условия водоотвода, но и безопасный переезд через них автомобиля, съехавшего в аварийной ситуации с дороги, необходимо учитывать при проектировании земляного полотна в выемках, а также в насыпях, имеющих высоту, при которой ограждения не устанавливаются. Эти требования необходимо соблюдать не только при проектировании земляного полотна самих автомагистралей, но также съездов транспортных развязок, рассчитываемых на скорость движения 70 - 80 км/ч и более.

7.6.3. Устройство вдоль кромок основных полос движения мелких лотков для перехвата воды, стекающей с покрытия на обочину, уменьшает эффективно используемую ширину проезжей части и небезопасно для мотоциклов и малолитражных легковых автомобилей. Взамен лотков целесообразно устраивать вдоль грунтовой части обочины водоотводящий валик или бордюр высотой не более 3 - 5 см с разрывами для сброса воды. Такая конструкция исключает необходимость устройства на укрепленной части обочины поперечных водоотводных лотков.

7.6.4. Наиболее устойчивая и безопасная траектория движения автомобиля, съехавшего с проезжей части, наблюдается при устройстве боковых канав треугольного или трапециевидного сечения. При этом более пологим должен быть внутренний откос. Рекомендуемые заложения откосов боковых канав различной формы представлены на рис. 7.5.

7.6.5. На выбор параметров боковых канав с точки зрения безопасного переезда через них большое влияние оказывает положение водителя и пассажиров в автомобиле и применение ремней безопасности (см. рис. 7.5). Расчет по схеме фиксированного положения человека в автомобиле позволяет назначать более крутые откосы. Для большой надежности при проектировании автомагистралей следует ориентироваться на случай нефиксированного положения.

Рис. 7.5. Соотношения заложения внешних Вш и внутренних Вт откосов боковых канав треугольной (а) и трапецеидальной (б) форм:

I - рекомендуемые; II - нежелательные

7.6.6. Водоотвод с широких разделительных полос погнутого профиля обеспечивается устройством водосборных колодцев, закрытых металлической решеткой, из которых вода выводится по дренажной трубе в пониженную сторону. Водосборные колодцы устраивают не реже чем через 300 - 500 м в зависимости от объема стекающей воды.

7.6.7. Лоткам, устраиваемым по оси широких разделительных полос вогнутого профиля, следует придавать треугольную форму с крутизной откосов, соответствующей поперечному уклону разделительной полосы. Продольный уклон должен быть не менее 5 ‰.

7.6.8. При разработке конструкции водоотводных сооружений, предназначенных для сброса воды по откосам насыпей, на которых не устанавливаются ограждения, не следует применять лотки прямоугольного сечения, представляющие большую опасность для съехавшего с дороги автомобиля. Для безопасности движения одно из оптимальных решений - устройство скрытого лотка в виде трубы диаметром не менее 300 мм, укладываемой параллельно откосу на глубине 0,5 - 0,7 м.

8. ВЫБОР И НАЗНАЧЕНИЕ ЭЛЕМЕНТОВ ПЕРЕСЕЧЕНИЙ НА АВТОМАГИСТРАЛЯХ

8.1. Основные положения

8.1.1. Транспортно-эксплуатационные качества и конфигурацию пересечений в целом определяют главным образом тип и геометрические параметры левоповоротных съездов. Схемы съездов, по которым возможны левые повороты на транспортных развязках различных типов, представлены на рис. 8.1, а схемы развязок различных типов, классифицированные по характеру выполнения левых поворотов, - на рис. 8.2 - 8.8.

8.1.2. Развязки рекомендуется располагать на прямолинейных участках автомагистралей с продольными уклонами не более 2 - 3 ‰. В стесненных условиях трассирования допускается располагать развязки на кривых в плане радиусом 2000 - 2500 м. В случаях расположения развязок на уклонах более 2 ‰ переходно-скоростные полосы следует отделять от основной проезжей части разделительной полосой.

8.1.3. Исходя из требований безопасности и удобства движения транзитных и поворачивающих автомобилей расстояние между развязками по осям пересекающих автомагистраль дорог рекомендуется назначать не менее 8 - 9 км, минимальное расстояние между развязками в исключительных случаях можно принимать равным 2 - 3 км. Эти рекомендации отличаются от требований СНиПа и могут применяться при соответствующих технико-экономических обоснованиях.

8.1.4. В целях лучшей ориентации водителя, намеревающегося съехать

 

левоповоротного и правоповоротного съездов (рис. 8.9), что позволит добиться единообразного расположения места выезда с автомагистрали. Это требование выполнимо на любых типах развязок, в том числе и на пересечениях «клеверный лист», при условии устройства на них боковых разделительных полос.

Рис. 8.1. Типы левоповоротных съездов на транспортных развязках:

1 - съезд на неполных развязках («ромб», «полуклеверный лист» и др.); 2 - петля на развязке «клеверный лист»; 3 - кольцевой съезд; 4, 5, 6 - полупрямые съезды; 7, 8 - прямые съезды

Рис. 8.2. Неполные пересечения

Рис. 8.3. …………..

Рис. 8.4. Полные пересечения с одним-тремя полупрямыми или прямыми левоповоротными съездами

Рис. 8.5. Полные пересечения левоповоротного типа с полупрямыми или прямыми левоповоротными съездами

Рис. 8.6. Пересечения кольцевого типа

Рис. 8.7. Неполные примыкания, имеющие зоны пересечения потоков автомобилей в одном уровне или зоны переплетения

Рис. 8.8. Полные примыкания

Рис. 8.9. Расположение съездов на транспортных развязках:

а - рассредоточенное; б - совмещенное

8.1.5. Выезды с автомагистрали и въезды на нее рекомендуется располагать справа по движению, так как при расположении слева слияние и разделение потоков автомобилей значительно опаснее. Однако при раздельном трассировании такие участки на развязке могут возникнуть. Поэтому для выбора оптимальной схемы развязки необходимы расчеты по оценке относительной опасности пересечения.

8.1.6. Затраты на реконструкцию транспортных развязок минимальны в тех случаях, когда улучшение их эксплуатационных качеств связано не с частичным или полным изменением их планировки, а лишь со строительством дополнительных элементов. Поэтому развязки неполного типа следует проектировать как первую очередь строительства, предусмотрев возможность перспективного развития пересечения.

8.1.7. Тип пересечения определяется интенсивностью движения на пересекающихся дорогах и интенсивностью левоповоротного съезда. При реконструкции канализированных пересечений в одном уровне рекомендуется пользоваться диаграммой (рис. 8.10), определяющей границы применимости развязок типа «ромб» или «неполный клеверный лист». Переход к развязке типа «ромб» целесообразен в тех случаях, когда не предвидится значительного перспективного роста интенсивности левоповоротного и транзитного движений. Если же рост возможен, следует ориентироваться на устройство развязки типа «неполный клеверный лист» с тем, чтобы зарезервировать место для строительства в перспективе левоповоротных съездов (рис. 8.11, а). Условия движения, при которых желательны полупрямые левоповоротные съезды по типу 4 и 5 (рис. 8.1), отражены на диаграмме (рис. 8.12, б).

8.1.8. Транспортные развязки рекомендуется проектировать таким образом, чтобы съезды не имели участков со встречным движением и были однополосными. Добавление полосы движения на съезде практически не увеличивает его пропускную способность, которая зависит не от ширины проезжей части, а от условий выхода автомобилей со съездов. Исключение могут составлять съезды, расположенные на подъемах с уклонами более 20 ‰ и длиной более 300 м, а также съезды, имеющие своим продолжением на главной дороге дополнительную полосу проезжей части. Однако выходную часть съезда в этих случаях следует устраивать од

 

Рис. 8.10. Диаграмма условий перехода к неполной транспортной развязке при пересечениях:

Iр - в разных уровнях («ромб»); IIк - в одном уровне, канализированное; Nвд - интенсивность движения по второстепенной дороге; Nгд - интенсивность движения по главной дороге

Рис. 8.11. Границы применимости левоповоротного съезда:

Iкл - развязки типа «клеверным лист»; IIк - канализированного пересечения в одном уровне; IIп - полупрямого

8.1.9. Расстояние l между съездами (рис. 8.13) назначается в зависимости от направления движения и характера взаимодействия поворачивающих потоков автомобилей. На рис. 8.13, а это расстояние не должно быть меньше длины полос торможения или разгона, на рис. 8.13, в - менее длины зоны переплетения. На рис. 8.13, б расстояние между съездами определяется длиной участка, необходимого для размещения указательных знаков, и составляет для скоростей 80 - 100 км/ч от 250 до 300 м, а для скоростей 120 - 150 км/ч - от 320 до 370 м.

Для случая, изображенного на рис. 8.13, г, это расстояние назначается таким, чтобы автомобили, поворачивающие направо по съезду 1, не влияли на водителей автомобилей, въезжающих на дорогу со съезда 2, при выборе ими интервалов в основном потоке движения.

Расстояние принимается равным 100 - 110 м для участков автомагистрали с расчетными скоростями движения по дороге 80 - 100 км/ч и 130 - 170 м при скоростях 120 - 150 км/ч.

8.1.10. Рекомендации по выбору скоростей для расчета съездов развязок, назначению ширины проезжей части съездов и других геометрических элементов приведены в ВСН 25-76 [12].

Рис. 8.12. Планировка и разметка выходного участка съезда с двумя полосами движения:

1 - основные полосы движения; 2 - разметка; 3 - съезд

Рис. 8.13. Варианты планировки съездов, определяющие выбор расстояния l между съездами пересечений в разных уровнях

8.2. Полосы разгона и торможения

8.2.1. На автомагистралях полосы разгона и торможения - обязательные элементы транспортных развязок, подъездов к площадкам отдыха, кемпингам, АЗС и т.д.

Рекомендации пп. 8.2.2, 8.2.3, 8.2.5 и 8.2.6 отличаются от принятых в СНиПе, и их можно применять при технико-экономическом обосновании, а также в проектах капитального ремонта автомагистралей.

8.2.2. Длину участка замедления на полосах торможения рекомендуется рассчитывать на начальную скорость не ниже 90 км/ч. Отрицательное ускорение следует принимать не более 1 м/с2 исходя из того, что большинство водителей не допускает быстрого нарастания замедления на полосе торможения. Конечная скорость зависит от радиуса съезда и может приниматься равной 50 км/ч при радиусе съезда, рассчитываемого на скорость не выше 30 - 35 км/ч, и 70 - 75 км/ч при радиусах, рассчитываемых на скорости более 40 км/ч.

8.2.3. Если радиус съезда менее 100 м, полосу торможения следует рассматривать как одно целое с входной переходной кривой съезда, которую необходимо рассчитывать как тормозную. При этом за расчетную начальную скорость принимается соответствующая конечная скорость, используемая в расчетах длины полосы торможения (см. п. 8.2.2.). Для начальных скоростей, не превышающих 50 км/ч, степень замедления движения для расчета тормозной кривой принимается равной 1,5 м/с2, для скоростей 70 - 75 км/ч - 1,2 м/с2.

8.2.4. При расчете длины участка ускорения на полосе разгона рекомендуется принимать начальную скорость равной скорости, на которую рассчитывается круговая часть съезда, в следующих случаях: а) между полосой разгона и главной дорогой имеется разделительная полоса; б) разделительная полоса отсутствует, но степень загрузки автомагистрали не превышает 0,3. При больших значениях степени загрузки и отсутствии разделительной полосы за начальную следует принимать скорость, равную 0,5 - 0,6 от расчетной для съезда.

8.2.5. Конечная скорость для расчета участка ускорения на полосе разгона назначается не менее 85 - 90 км/ч, ускорение - 0,8 - 1,0 м/с2 при уклонах до 20 ‰. При больших уклонах ускорение принимается на спусках больше на 15 - 20 %, на подъемах на 20 - 25 % меньше.

8.2.6. Длина участка маневрирования на полосе разгона, по которому водитель выбирает приемлемый для выезда интервал между автомобилями в основном потоке, зависит от интенсивности движения на автомагистрали и типа выезжающего автомобиля:

Интенсивность по основной полосе

автомагистрали, авт./ч                                                  200        400      600        800                                                                                        1000

Длина участка маневрирования автомобилей, м:

 легковых                                                                        115        125      140        175       220

грузовых                                                                         125        135      160        205       255

8.2.7. На переходно-скоростных полосах параллельного типа безопасность движения выше, чем непараллельного, из-за лучшего использования их водителями, особенно при высокой интенсивности движения.

8.2.8. В целях обеспечения видимости конечные участки полос разгона не следует располагать на переломах продольного профиля, если длина полосы превышает расстояние видимости поверхности проезжей части в продольном профиле. В противном случае водитель, выехавший со съезда на полосу разгона, не будет уверен, что ее длины достаточно для плавного вливания в основной поток.

8.2.9. В зоне выхода со съезда за 40 - 50 м до начала полосы разгона водителю необходимо обеспечить видимость если не всей полосы разгона, то хотя бы первой трети ее длины.

Когда это условие не соблюдается, эффективность использования полос разгона значительно снижается, наблюдаются частые остановки автомобилей в конце съезда перед выходом на полосу разгона.

8.2.10. Эффективность использования переходно-скоростных полос, особенно полос разгона, в значительной мере зависит от характера отделения их от главной дороги. Желательно, чтобы конструкция устройства, предназначенного для отделения полос, рельефно выделялась на поверхности дороги и была различима на достаточном расстоянии, так как только при этом условии большинство автомобилей, выходящих со съезда на полосу разгона, не снизят скорость и в наименьшей степени повлияют на режим движения основного потока.

9. ТРЕБОВАНИЯ К ПОКРЫТИЯМ

9.1. Требования к сцепным качествам дорожных покрытий

9.1.1. Сцепные качества покрытий автомагистралей - важнейшая транспортно-эксплуатационная характеристика, определяющая надежность взаимодействия шин автомобиля с поверхностью покрытий при различных режимах движения и маневрирования автомобилей.

9.1.2. При сдаче дороги в эксплуатацию коэффициент сцепления на всем протяжении автомагистрали при измерениях со скоростью 60 км/ч на мокрых покрытиях должен быть не ниже 0,45, а на участках со сложными условиями движения (переходно-скоростные полосы, рампы пересечений в разных уровнях, участки разделения и слияния потоков) - не ниже 0,5. При этом снижение коэффициента сцепления с увеличением скорости с 60 до 80 км/ч не должно превышать 0,05 на основном протяжении автомагистрали и 0,10 на участках со сложными условиями движения.

Коэффициенты сцепления в процессе эксплуатации автомагистрали должны быть не ниже 0,4 при измерениях на скорости 60 км/ч и мокром покрытии.

Коэффициент сцепления на покрытиях остановочных полос должен быть не ниже 0,4 при измерениях со скоростью 60 км/ч и мокром покрытии.

9.1.3. Вне зависимости от числа полос движения и средних скоростей транспортных потоков сцепные качества покрытия в поперечном профиле должны быть одинаковыми. Разница коэффициентов сцепления не должна превышать 0,05 - 0,1 в пределах проезжей части и 0,1 - 0,15 на краевых укрепленных полосах по сравнению с проезжей частью.

9.1.4. Сцепные качества покрытий в основном определяются шероховатостью, которая должна обеспечивать высокие коэффициенты сцепления в продолжение всего срока службы покрытия, быстрый сток воды с проезжей части, минимальные изменения коэффициента сцепления по сезонам года, по ширине проезжей части, наименьший износ протектора шин и оптимальный уровень шума. Этому комплексу требований в наибольшей степени удовлетворяют покрытия, поверхность которых имеет среднюю высоту выступов не менее 1,5 мм.

9.1.5. Для сохранения постоянного коэффициента сцепления на участках с различными скоростями может быть использована приближенная зависимость между средней высотой выступов шероховатости и коэффициентом сцепления, в соответствии с которым измеряемая методом песчаного пятна требуемая средняя высота выступов шероховатости (ориентировочно)

,                                                                (9.1)

где hv - средняя высота выступов шероховатости, которая требуется на участке при скорости v;

hv0 - то же, при скорости vо;

п - отношение скоростей в долях единицы.

9.1.6. Рекомендуемые значения начальной макрошероховатости, т.е. в момент устройства покрытия, принимают в зависимости от условий движения (по степени опасности) и с учетом климатической зоны в соответствии с табл. 9.1.

Таблица 9.1

Условия движения по СНиП II-Д.5-72

Начальная макрошероховатость покрытия, мм, в климатических зонах

IA, III

IБ, IВ, II

Легкие

1,5

1,5

Затрудненные

2,0

2,0

Опасные

2,5

3,5

Примечания. 1. Макрошероховатость определяют по способу песчаного пятна.

2. Наибольшая макрошероховатость не должна превышать 7 мм. При создании шероховатой поверхности путем поверхностной обработки на асфальтобетонных покрытиях начальная макрошероховатость в зоне IБ, IВ и II должна составлять 5 - 6 мм.

9.1.7. Методы и технология устройства шероховатых поверхностей, обеспечивающих изложенные в пп. 9.1.2 - 9.1.6 требования, изложены в ВСН 38-77 [10].

9.1.8. Проектирование покрытия состоит в выделении по длине автомагистрали участков с различными условиями движения, назначении минимально допустимых коэффициентов сцепления и выбора типа покрытия, обеспечивающего назначенные коэффициенты сцепления.

9.2. Требования к шероховатости покрытий с учетом условий эксплуатации в зимний период

9.2.1. В целях быстрейшего удаления с проезжей части снежных образований поверхность покрытий должна: обеспечивать высокие сцепные свойства при сухом и чистом состояниях и благоприятные условия для снегоуборки и удаления льда с проезжей части механическими и химическими средствами; создавать благоприятные условия замедления образования слоя плотного снега и быстрой ликвидации его под воздействием колес автомобилей.

Указанным требованиям в наиболее полной форме удовлетворяют покрытия с шероховатой поверхностью.

9.2.2. Покрытия с шероховатой поверхностью способствуют продолжительному воздействию солей на слой снега или льда за счет накапливания раствора солей в углублениях шероховатости и меньшего разбрызгивания его колесами автомобилей.

В период снегопадов покрытия с шероховатой поверхностью удлиняют процесс образования слоя уплотненного снега за счет отложения и уплотнения его в пространствах между выступами шероховатости. После уборки снега шероховатая поверхность покрытия более быстро очищается от снега под воздействием колес автомобиля.

9.2.3. Дорожные покрытия со средней глубиной шероховатости менее 0,3 мм способствуют более прочному сцеплению уплотненного снега или льда с поверхностью проезжей части, усложняя их уборку механическими средствами. Поэтому при проектировании покрытий на автомагистралях структуру поверхности следует назначать в зависимости от высоты снежного покрова.

 

эксплуатацию можно принимать следующей:

Средняя многолетняя высота снежного покрова, см                        < 30      30 - 60    > 60

Средняя глубина шероховатости, мм                                                  1,5        2,0           2,5

9.3. Выбор типа покрытия с высокими сцепными качествами

9.3.1. Покрытия с шероховатой поверхностью на автомагистралях можно устраивать из материалов, обработанных как органическими, так и неорганическими вяжущими.

Из материалов, обработанных органическими вяжущими, предпочтение следует отдавать горячим многощебенистым асфальтобетонным смесям типа А с содержанием щебня не менее 60 % по массе или покрытиям из литого асфальтобетона с обработкой поверхности методом втапливания щебня, предварительно обработанного битумом.

9.3.2. Высокие сцепные качества покрытий из горячих многощебенистых асфальтобетонных смесей обеспечиваются за счет образования пространственного каркаса из крупных зерен, грани которых при уплотнении выступают над поверхностью и создают необходимую шероховатость.

При устройстве покрытия из литого асфальтобетона необходимо предусматривать втапливание прочного щебня, предварительно обработанного битумом. Для втапливания рекомендуется щебень размером 5 - 10, 10 - 15 или 15 - 20 мм.

9.3.3. Сцепные качества цементобетонных покрытий зависят от состава бетонной смеси, свойств, применяемых в смеси каменных материалов, структуры поверхности покрытия, сопротивления поверхностного слоя шлифующему воздействию шин автомобилей, а также от погодно-климатических условий.

При проектировании состава цементобетонных смесей необходимо учитывать, что сцепные качества их поверхности можно повысить за счет: уменьшения содержания цемента; снижения водоцементного отношения; уменьшения содержания пылеватых частиц.

9.3.4. Крупный заполнитель в бетонной смеси должен обладать высоким сопротивлением шлифующему воздействию шин. Применение известнякового щебня не допускается.

Особое внимание следует уделять качеству применяемого в смеси песка. Только чистый кварцевый песок с остроугольными гранями зерен обеспечивает высокие сцепные качества и долговечность шероховатой поверхности. При наличии в песке около 15 % известняковых частиц бетонная смесь уже непригодна для устройства покрытия с шероховатой поверхностью. В случае окатанных зерен песка целесообразно добавлять дробленый песок, а при возможности и синтетические материалы типа корунда с размером частиц 0,1 - 1 мм.

9.3.5. Структура поверхности цементобетонного покрытия должна быть по возможности грубой и иметь острые углы и грани. Подобную структуру можно создать одним из трех способов: обработкой поверхности свежеуложенного бетона жесткими щетками или граблями; россыпью высокопрочного щебня по поверхности свежеуложенного бетонного покрытия и втапливания этого щебня вибробрусом; удалением с поверхности свежеуложенного покрытия цементного раствора до обнажения крупных частиц щебня.

9.3.6. В зависимости от способа обработки бетонного покрытия средняя глубина шероховатости имеет следующие значения (в миллиметрах):

Легкой лентой                                                                                                          0,38

»      мешковиной                                                                                                 0,43

Тяжелой лентой                                                                                                        0,51

Проволочной сеткой                                                                                                0,56

Тяжелой мешковиной                                                                                              0,63

Средней щеткой                                                                                                        0,74

Тяжелой      »                                                                                                             0,94

Гибкой проволочной щеткой                                                                                  1,30

Жесткой         »                »                                                                                        1,9 - 3,0

Металлическими граблями                                                                                     5,0 - 7,0

9.4. Требования к цвету дорожного покрытия

9.4.1. Для лучшего ориентирования водителей на автомагистрали, особенно на участках с дополнительными полосами движения различного назначения, например, на пересечениях, затяжных подъемах, в зоне площадок отдыха и АЗС, целесообразно выделять отдельные полосы посредством изменения окраски покрытия. Возможны такие сочетания цветов покрытия полос: основные полосы - темно-серые или черные, полосы разгона или торможения и съезды на пересечениях - голубого или зеленого цвета, стояночные полосы - красного, краевые направляющие полосы - белого. Цвета покрытий отдельных полос основного направления движения могут отличаться друг от друга по тону. Например, левая внутренняя полоса четырехполосной автомагистрали может быть более светлой по сравнению с правой полосой.

9.4.2. Поверхность покрытия краевых полос должна внешне отличаться от поверхности проезжей части и обеспечивать более высокую отражательную способность.

9.4.3. Изменение цвета покрытия может использоваться как средство предупреждения водителя о приближении к опасному участку. В этих случаях могут быть эффективны покрытия красного цвета, устраиваемые на опасном участке и на подходах к нему.

9.4.4. При расчете прочности слоев основания и покрытия проезжей части следует учитывать закономерности распределения интенсивности и состава движения по полосам. В связи с большей загрузкой правой полосы целесообразно назначать конструкцию дорожной одежды равнопрочной по ширине проезжей части. При этом, если толщина одежды разных полос окажется разной, грунтовое основание можно устраивать уступом или с уклоном.

10. ОРГАНИЗАЦИЯ ДВИЖЕНИЯ НА АВТОМАГИСТРАЛЯХ В РАЗЛИЧНЫХ ДОРОЖНЫХ УСЛОВИЯХ

10.1. Выбор средств и методов организации движения

10.1.1. Средства и методы организации и управления движением следует выбирать с учетом качественного состояния транспортного потока и степени загрузки дороги. При этом должен соблюдаться принцип поэтапного наращивания средств организации движения по мере роста интенсивности (табл. 10.1).

10.1.2. При разработке мероприятий по организации движения не следует ориентироваться на применение какого-либо одного средства регулирования при любой степени загрузки автомагистрали. Необходимо учитывать изменение состояния потока автомобилей и гибко использовать существующие способы и имеющиеся средства. Наиболее эффективными следует считать средства регулирования, позволяющие устанавливать оптимальные режимы движения, меняющиеся в зависимости от загрузки автомагистрали. Следует также учитывать, что на расположение и выбор средств организации и регулирования движения на автомагистралях сильное влияние оказывают конструктивные особенности - многополосная проезжая часть, разделительные полосы, устройство пересечений в разных уровнях, широкие полосы для вынужденных остановок автомобилей и др.

Таблица 10.1

Уровень удобства движения

Степень загрузки

Состояние потока

Основные причины дорожных происшествий

Рекомендуемые средства регулирования движения

А

< 0,2

Свободный

Превышение скорости, потеря управления, невнимательность водителя

Разметка проезжей части; предупреждающие дорожные знаки; автоматизированные системы предупреждения водителей о тумане и гололеде; направляющие столбики и шумовые полосы

Б

0,2 - 0,5

Частично связанный

Неправильная смена полосы

Знаки и разметка, ограничивающие маневры и предупреждающие об изменениях дорожных условий; световые информационные указатели скоростей; системы предупреждения водителей о гололеде и тумане; многопозиционные знаки

В

0,5 - 0,7

Связанный

Недооценка водителями скорости впереди идущего автомобиля

Разметка проезжей части, дублируемая знаками; островки; светофоры; многопозиционные знаки; автоматизированные системы регулирования

Г

0,7 - 1,0

Насыщенный

Несоблюдение безопасного интервала движения

Знаки, рекомендующие интервалы движения; автоматизированные системы регулирования; световые табло с указанием скоростей и полос движения; телевидение

10.2. Регулирование скоростей движения на автомагистралях

10.2.1. Скорость на автомагистрали воспринимается водителями всегда с недооценкой и тем большей, чем продолжительнее они не получают объективной информации о ее размерах. Установлено, что ошибки в оценке собственной скорости могут быть уменьшены, если водителю периодически передавать информацию о действительной скорости движения. При этом знаки и указатели, призывающие водителей к осторожности, мало помогают им. Больший эффект достигается при изменении условий зрительного восприятия водителем дорожной обстановки. Наиболее эффективны следующие два мероприятия.

I. Изменение параметров продольной разметки проезжей части.

Для автомагистрали оптимальный параметр продольной пунктирной разметки - это соотношение длины штриха и разрыва 1 : 3 и 1 : 4 с общей длиной (штриха и разрыва) 12 - 16 м. Рекомендуется наносить продольную разметку постоянных параметров на участке автомобильной

 

мом с разрешенной скоростью не более чем на 10 мин. На следующем участке необходимо изменить общую длину штриха и разрыва. Например, на соседних трех участках можно рекомендовать соотношение длин штриха и разрыва 1 : 3 и их общую длину, соответственно, 12, 16, 12 м, а длины участков при разрешаемой скорости 90 км/ч - не более 15 км.

Изменение частоты мелькания штрихов разметки в поле зрения водителя воспринимается им как сигнал о необходимости усиления контроля за скоростью движения.

II. Изменение крупности поверхностной обработки.

В этом случае резко меняется шум и вибрация в автомобиле, вызывающие повышение уровня внимания водителя. На таких участках следует менять и параметры разметки проезжей части.

10.2.2. При необходимости ввода местного ограничения скорости автомобилей следует избегать ее ограничений, требующих снижения более чем на 20 км/ч относительно фактической скорости на подходах. При необходимости большего снижения скорости следует использовать метод ступенчатого ограничения. Ступенчатое ограничение скоростей построено на использовании особенностей адаптации человека к меняющейся скорости. Установлено, что для привыкания к новой скорости водителю требуется 0,8 - 1 мин на каждые 20 км/ч. Этим определяется и расстояние между знаками, указывающими допустимую скорость на подходе к опасному участку:

Уровень ограничения скоростей, км/ч                         100       80        60         40         20

Минимальное расстояние между знаками, м                   1000     800       600    300

10.3. Организация движения на пересечениях в разных уровнях

10.3.1. Мероприятия, связанные с организацией движения на пересечениях, должны быть направлены на создание безопасных условий для основных и поворачивающих потоков автомобилей. При организации движения на пересечениях необходимо в первую очередь учитывать присущие им особенности, затрудняющие водителям, совершающим поворот, выбирать нужные направления и удобный режим: большие площади, занимаемые пересечением; значительная протяженность съездов (на спуск или подъем); наличие путепроводов, ухудшающих видимость; необычность левых поворотов на некоторых типах развязок и др.

10.3.2. При отделении переходно-скоростных полос от главной дороги разделительной полосой необходимо рельефно выделить эту полосу на проезжей части. Требования к способу сопряжения кромок такой боковой разделительной полосы с основной проезжей частью аналогичны требованиям, предъявляемым к центральной разделительной полосе.

10.3.3. На развязках типа «клеверный лист» боковые разделительные полосы могут быть двух видов в зависимости от интенсивности поворачивающих потоков. По первому виду правоповоротный поток вливается в поток автомобилей, вышедших с петли левоповоротного съезда, по второму эти потоки разделены и автомобили, выходящие с правоповоротного съезда, имеют возможность использовать полосу разгона, что существенно повышает пропускную способность (рис. 10.1).

Область применимости разделительных полос из условия наименьших транспортных потерь определяется в зависимости от интенсивности движения (в автомобилях в час):

Интенсивность движения входящего

правоповоротного потока                                                            50        75         125      150

То же, выходящего левоповоротного                                          250      200       80        60

При меньших из приведенных соотношений интенсивностей целесообразен тип а, при больших - тип б (см. рис. 10.1). Начальная скорость при

 

с петли № 1, принимается равной скорости автомобилей, входящих на петлю № 2. При реконструкции развязки участок между петлей 2 и правоповоротным съездом № 3 может оказаться слишком малым, чтобы обеспечить достаточную длину полосы разгона. Для устранения этого недостатка необходима перестройка правоповоротного съезда с отнесением его от петли № 2.

Рис. 10.1. Типы отделения переходно-скоростных полос от основной проезжей части автомагистрали:

а - без разделения правоповоротных и левоповоротных потоков; б - с отделением левоповоротного потока (петля № 1) от правоповоротного (съезд № 3)

10.3.4. Для наиболее надежного отделения друг от друга полос движения в зоне пересечения, а также для более рельефного обозначения боковой разделительной полосы на ней желательно устанавливать ограждения, которые следует считать обязательными, если съезд, примыкающий к полосе разгона, расположен на подъеме. Устанавливаемое в этих случаях ограждение, видимое водителем до выхода со съезда, помогает ему заранее оценить условия вливания в основной поток.

10.3.5. Один из способов снижения строительной стоимости развязок - раздельное в плане трассирование автомагистрали. Образующееся между проезжими частями пространство может быть использовано для организации движения поворачивающих автомобилей по принципу вытянутого кольца. При раздельном трассировании примыкания любого типа в разных уровнях можно запроектировать и в одном уровне без перекрещивания траекторий движения автомобилей; на неполных пересечениях не требуется устройства левоповоротных петель. Пересечения полного типа становятся примыканиями, которые вне зависимости от вида левоповоротных съездов проектируются не более чем в двух уровнях.

10.3.6. В пределах транспортных развязок не рекомендуется располагать остановки общественного транспорта, чтобы избежать увеличения числа конфликтных точек и усложнения планировки развязки. Остановки следует располагать не ближе чем за 300 - 350 м до или после переходно-скоростных полос.

При необходимости организации автобусных остановок в пределах развязки для них выделяют специальные полосы, которые отделяют от других полос движения и оборудуют знаками, запрещающими использование их другими автомобилями. Въезд автобусов на остановочные полосы целесообразно предусматривать со съездов развязки или с переходно-скоростных полос.

10.3.7. В связи с тем, что выезд с переходно-скоростной полосы на проезжую часть автомагистрали может осуществляться на всем протяжении маневрового участка, знак «Пересечение с главной дорогой» целесообразно устанавливать не в конце съезда, а в начале маневрового участка с добавлением к знаку таблички, информирующей водителя о его длине.

10.4. Организация движения на пересечениях в одном уровне

10.4.1. Для предупреждения возможных ошибок на пересечениях в одном уровне водители заблаговременно должны быть информированы о порядке проезда через пересечение, рекомендуемых скоростях, расположении основных населенных пунктов на маршруте.

10.4.2. Расстановка знаков на пересечениях в одном уровне на автомагистралях с отнесенным левым поворотом требует индивидуального подхода (рис. 10.2).

10.4.3. Для обеспечения своевременной смены полосы в пределах пересечений в одном уровне с отнесенным левым поворотом необходимо знак 5.11.1 дублировать с указанием расстояния до участка разворота.

10.4.4. На участках разворота для предупреждения неправильного направления автомобилей, движущихся по встречной полосе, следует устанавливать знак 4.1.2.

10.4.5. Знак 5.11.1 следует устанавливать на разделительной полосе при ее ширине более 5 м, в остальных случаях с правой стороны дороги. Это позволяет водителям правильно понять назначение съезда, особенно ночью.

10.4.6. В пределах пересечения рекомендуется указывать возможные направления движения по каждой полосе над проезжей частью, что особенно эффективно при высокой интенсивности на автомагистрали.

10.4.7. На пересечениях следует применять направляющие стрелы, наносимые на участках разворота и слияния потоков. Неиспользуемые участки покрытия в зоне разворотов необходимо обозначать в виде островков штрихами.

10.5. Участки изменения ширины проезжей части

10.5.1. На автомагистралях участки с различной шириной проезжей части могут возникать при слиянии с дорогами с иным числом полос движения, в зонах пересечений в разных уровнях, в местах съездов к площадкам отдыха, АЗС и к другим объектам обслуживания, а также на подъемах с дополнительными полосами движения. Основная задача организации движения на этих участках - обеспечение плавности снижения скорости и смены полос, а также создания условий, исключающих движение во встречном направлении.

Рис. 10.2. Расстановка знаков на пересечении с отнесенными левыми поворотами (пример)

Рис. 10.3. Схемы организации движения для наиболее характерных изменений ширины проезжей части автомагистрали, стыкующейся с дорогой с иным числом полос движения:

1 - разделительная полоса; 2 - разметка; 3 - знак 3.1; 4 - знак типа 1.18.1; 5 - светофор; 6 - знак 5.2

10.5.2. Схемы организации движения для наиболее характерных случаев стыковки дорог с различным числом полос движения представлены на рис. 10.3. Рама, на которой устанавливаются светофоры, может использоваться также для размещения на ней и других средств регулирования - знаков, рекомендующих движение с определенной скоростью, указательных знаков и т.д. Размеры Р определяются в соответствии с ВСН 25-76 [12].

10.5.3. В зоне пересечений в разных уровнях изменение ширины проезжей части вызывается уменьшением или увеличением интенсивности движения по магистрали за счет влияния поворачивающих потоков автомобилей. Схема организации движения в зоне уменьшения числа полос на участке развязки показана на рис. 10.4, а, а в зоне увеличения - на рис. 10.4, б. В последнем случае протяженность участка l сплошной линии разметки назначается в зависимости от размера радиуса выходной части съезда:

Радиус, м               40 - 60                    60 - 90                    90 - 120                 < 120

l, м                         150 - 180                120 - 140                100 - 120               90 - 100

Указательные знаки, показанные на рис. 10.4 и изображенные на рис. 10.5, необходимы для своевременной информации водителя, движущегося по съезду, о том, что его дальнейшее движение будет осуществляться без маневра вливания в основной поток по дополнительной полосе проезжей части автомагистрали. При этом устанавливать знак 2.4 «Уступите дорогу» не требуется, так как движение автомобилей на рассматриваемом участке происходит без характерных маневров, присущих движению на пересечениях.

Рис. 10.4. Схемы организации движения на участках с изменяющейся шириной проезжей части в зоне транспортных развязок:

1 - знак типа 1.18.2; 2 - знак типа 5.8.5; 3 - знак типа 5.8.8; 4 - знак типа 5.8.1

Рис. 10.5. Указательный знак типа 5.8.1, рекомендуемый для установки на участке примыкания съезда к основным полосам при увеличении ширины проезжей части

10.6. Организация движения при раздельном трассировании

10.6.1. Особенности организации движения на участках автомагистралей с раздельным трассированием связана в основном с возникающим своеобразием поперечного профиля: между проезжими частями образуется широкая полоса местности с деревьями и кустарником, затрудняющими в ряде случаев видимость одной проезжей части с другой; обочины устраиваются не только с правой стороны, но и с левой, в зоне пересечений возникают левосторонние съезды, непривычные для водителей.

При планировании работ по организации движения на участках с раздельным трассированием следует также учитывать возможные отличия в условиях движения по направлениям, поскольку геометрические элементы правой и левой частей могут быть разные.

10.6.2. В местах, где видимость одной проезжей части с другой затруднена, возможны ошибки водителей в выборе направления движения. Поэтому на съездах перед выездом на автомагистраль следует устанавливать знаки, указывающие на одностороннее движение, и повторять их на дороге.

10.6.3. В связи с повышенной опасностью левосторонних съездов указательные знаки при раздельном трассировании, информирующие водителя о направлении движения, необходимо располагать преимущественно над проезжей частью и дублировать чаще, чем в случае их установки для правоповоротных съездов.

10.6.4. На участках автомагистралей с раздельным трассированием, расположенных на подъеме, дополнительную полосу без затруднений можно устраивать с левой стороны проезжей части. К такому решению иногда целесообразно прибегать, когда устройство дополнительной полосы с правой стороны связано с большим объемом дорогостоящих земляных работ. При этом необходимо учитывать повышенную опасность левостороннего слияния потоков автомобилей основного направления и выходящих с дополнительной полосы. В целях создания более безопасных условий движения протяженность отгона ширины в конце дополнительной полосы, расположенной слева, следует назначать в 1,3 - 1,4 раза больше, чем в случае расположения ее справа.

10.6.5. При озеленении пространства между проезжими частями необходимо обеспечивать их взаимную видимость на всем участке с раздельным трассированием или через 500 - 700 м. Протяженность открытого пространства рекомендуется назначать не менее 150 - 200 м.

10.7. Организация движения на участках ремонтных работ

10.7.1. Основным принципом организации движения в пределах участков ремонтных работ служит обеспечение: хорошей видимости участка ремонтных работ и дорожных рабочих; своевременной предварительной информации водителей о наличии участка ремонтных работ; водителей информацией о рекомендуемых режимах движения по мере приближения к ремонтируемому участку.

Таблица 10.2

Скорость 85 %-ной обеспеченности, км/ч

Уклон отгона

Длина отгона, м, при ширине полосы движения, м

2,7

3,0

3,5

3,75

15

1 : 10

30

30

35

35

30

1 : 20

55

60

65

70

45

1 : 30

80

85

95

100

60

1 : 40

100

120

140

150

75

1 : 50

130

140

150

160

90

1 : 60

150

180

190

200

105

1 : 70

190

200

250

270

10.7.2. Основное внимание при организации движения следует уделять обеспечению плавности въезда автомобилей на участок ремонтных работ. Это достигается правильным выбором длины и планировки участка изменения ширины проезжей части (рис. 10.6), интенсивности и скорости движения. Длину отгона необходимо применять в соответствии с рекомендациями табл. 10.2, а расстояния между конусами в соответствии со следующими данными:

Порядковый номер конусов или щитов ограждения (см. рис. 10.6)

1 - 2

2 - 3

3 - 4

4 - 5

5 - 6

6 - 7

7 - 8

8 - 9

9 - 10

10 - 11

Расстояние между соседними конусами, м

15

17

20

23

25

27

30

33

35

35

10.7.3. С точки зрения обеспечения безопасности наиболее трудна организация движения при ремонтных работах на центральной полосе автомагистралей.

Два способа (I, II) организации движения на центральной полосе шестиполосной магистрали показаны на рис. 10.7, а.

10.7.4. При высоких интенсивностях большие помехи движению возникают при необходимости закрыть полосу. Для обеспечения безопасности движения в момент закрытия центральной полосы используют специальные приемы, последовательность которых показана на рис. 10.7, б. Для этого используют два автомобиля дорожной ремонтной службы. Способ I следует применять при высокой интенсивности на третьей полосе, II - на первой полосе.

Рис. 10.6. Схема расположения щитов или конусов (1 - 11) изгородей на подходе к участку ремонтных работ

Рис. 10.7. Схемы к способам (I, II) закрытия центральной полосы на ремонт:

1 - ограждающие конуса; 2 - место ремонтных работ; 3 - разделительная полоса; 4 - автомобиль со знаком «Осторожно, впереди работы»; 5 - то же, «Объезд слева»

Рис. 10.8. Схемы к организации движения при закрытии:

а - крайней правой полосы; б - крайней правой полосы и обочины; в - обочины; 1 - ограждающие конуса; 2 - место ремонтных работ

10.7.5. При необходимости закрыть крайние полосы движения и обочины необходимо обеспечивать достаточный размер отгона ширины проезжей части в соответствии с рекомендациями рис. 10.8.

10.7.6. Особое внимание при организации движения необходимо уделять ограничению скорости и своевременному предупреждению водителей об участке ремонтных работ. Ограничение скорости должно быть ступенчатое. Возможная схема расстановки знаков на подходе к участку показана на рис. 10.9.

Рис. 10.9. Схема расстановки знаков на подходе к участку ремонтных работ

Рис. 10.10. Схемы закрытия полос около пересечений:

а - ромбовидного; б - типа «клеверный лист»; 1 - ограждающие конусы; 2 - направление движения

10.7.7. При организации движения в районе пересечений в разных уровнях, на которых идут ремонтные работы, основное внимание нужно уделять информации водителей о направлениях проезда через пересечение. Пример организации движения на пересечениях в разных уровнях показан на рис. 10.10.

10.8. Организация реверсивного движения

10.8.1. На отдельных участках автомагистралей, например, на подходах к крупным городам, интенсивность движения по направлениям не всегда распределяется равномерно. Неравномерность загрузки может быть вызвана сезонными и суточными колебаниями интенсивности и наиболее ярко проявляется в период июль-сентябрь, в выходные и предвыходные дни, когда степени загрузки полос разных направлений в вечерние часы могут отличаться друг от друга в 5 - 10 раз и больше. В этих случаях один из способов улучшения условий движения - его реверсирование, т.е. поочередное использование в разное время центральных полос для движения в разных направлениях. В зависимости от характера колебаний интенсивности и неравномерности загрузки направление преимущественного движения может меняться как в течение суток, так и по дням недели.

Обеспечение безопасности при реверсивном движении возможно только при использовании специальных технических средств - светофоров, расположенных над полосами движения с частотой 200 - 250 м.

10.8.2. Расчеты по перераспределению интенсивности движения разных направлений по полосам преследуют цель выравнивания их загрузки и должны сопровождаться оценкой пропускной способности.

10.8.3. При организации реверсивного движения необходимо соблюдать принцип пространственного отделения полос разных направлений друг от друга с помощью разделительных полос.

Применение автоматически убирающихся в покрытие барьеров-разделителей позволяет более гибко регулировать загрузку полос. Однако этот способ обладает рядом недостатков, к которым, прежде всего, следует отнести более низкую безопасность движения по сравнению с устройством разделительных полос и сложность размещения барьеров-разделителей в покрытии.

10.8.4. Варианты организации реверсивного движения при устройстве разделительных полос представлены на рис. 10.11.

10.8.5. При разработке проекта организации движения на участке автомагистрали с устройством реверсивных полос основное внимание должно быть уделено разработке мер по предотвращению въезда на одну полосу проезжей части автомобилей, движущихся в противоположных направлениях. Для этого рекомендуется использовать передвижные ограждения (конусы, тумбы и др.), светофоры, а также указательные, предписывающие и предупреждающие знаки.

10.8.6. На примере четырехполосной автомагистрали (рис. 10.12) показаны схемы организации движения в зоне перехода от участка с обычным направлением движения к участку с реверсивным движением. Следует отметить, что на покрытие в зоне этих участков не следует наносить сплошные линии разметки и линии, обозначающие островки, в данном случае - торцы разделительных полос, так как места нанесения сплошных линий и наклон линий у торцов разделительных полос будут меняться в зависимости от направления реверсивности.

Рис. 10.11. Варианты реверсирования движения на автомагистрали:

а - с четырьмя полосами проезжей части, б - то же, с шестью

Рис. 10.12. Схемы организации реверсивного движения при большой загрузке по направлениям:

а - «восток»; 6 - «запад»; 1 - указательный знак 5.8; 2 - предписывающий знак 4.2; 3 - рама со светофорами; 4 - переносные ограждения (конуса); 5 - предупреждающий знак 1.18.3

10.8.7. Для информирования водителя об изменении направления движения следует устанавливать знак типа 5.8 «Направление движения по полосам» (рис. 10.13). Первый такой знак с дополнительной табличкой 7:1, а «Расстояние до объекта» рекомендуется устанавливать за 500 - 800 м до начала участка реверсирования с правой стороны дороги, а второй знак размещать на раме (в зоне перехода к реверсированию), предназначаемой для подвески светофоров, сигналы которых регулируют направление движения.

10.8.8. Длина зоны перехода от участка автомагистрали с обычным направлением движения к участку реверсивного движения, где происходит смена полос, назначается по аналогии с рекомендациями п. 10.5.

10.8.9. На участке автомагистрали с реверсивным движением в разделительных полосах следует устраивать разрывы, необходимые для перестроения автомобилей в зонах транспортных развязок и съездов с автомагистрали. Длина разрывов назначается с учетом рекомендации п. 10.5.

Рис. 10.13. Указательный знак, информирующий водителя о приближении к участку с реверсивным движением

11. ИНЖЕНЕРНОЕ ОБОРУДОВАНИЕ АВТОМОБИЛЬНЫХ МАГИСТРАЛЕЙ

11.1. Особенности применения дорожных знаков

11.1.1. Характерная особенность автомагистралей - обеспечение движения с высокими скоростями потоков автомобилей в два, три и более рядов. В этих условиях восприятие водителями дорожной обстановки существенно отличается от восприятия на обычных дорогах. Роль знаков на автомагистралях намного больше, чем на других дорогах, и поэтому намного больше они должны быть заметны для водителей.

Это обстоятельство необходимо учитывать при размещении и конструировании знаков.

В связи с высокими требованиями к трассе автомагистралей для них вводится значительно меньше ограничений и намного реже применяются предупреждающие и запрещающие знаки.

На автомагистралях организуется развитая сеть объектов обслуживания, устраиваются площадки отдыха, пункты питания, кемпинги, мотели и другие сооружения, требующие установки большего числа информационно-указательных знаков и знаков сервиса. Применение на магистральных дорогах автоматизированных систем управления движением также предъявляет особые требования к дорожным знакам.

11.1.2. Особенности дорожных знаков на автомагистралях ввиду особых режимов и схем организации движения - в номенклатуре, конструкции, способах установки и размещения знаков вдоль дороги.

Предупреждающие знаки используются на автомагистралях сравнительно редко, так как на них не должно быть условий, опасных для движения. Исключение составляют временные знаки, устанавливаемые в местах производства дорожных работ.

Знаки приоритета обычно применяются только для организации движения на развязках.

Из группы запрещающих знаков значительная их часть устанавливается непосредственно на автомагистрали. Их основное назначение - создание безопасных и экономически целесообразных режимов движения. В тех случаях, когда на автомагистрали с помощью автоматизированных систем обеспечивается управление режимами движения, часть запрещающих знаков могут иметь сменную информацию. Это прежде всего1 относится к знакам 3.20 «Обгон запрещен», 3.22 «Обгон грузовым автомобилям запрещен» и 3.24 «Ограничение максимальной скорости».

1 Здесь и далее номера и названия знаков приведены в соответствии с ГОСТ 10807-78 «Знаки дорожные. Общие технические условия» (срок действия до 01.01.90).

Предписывающие знаки, как и знаки приоритета, применяются на автомагистралях в основном для организации движения на развязках. Исключение составляет знак 4.7 «Ограничение минимальной скорости», который применяется для управления режимом движения.

Информационно-указательные знаки - наиболее распространенная группа, применяемая на автомагистралях. С помощью этих знаков водители информируются о категории дороги, порядке использования полос движения, о рекомендуемой скорости, об имеющихся вдоль магистрали населенных пунктах или объектах, направлении движения к ним и расстояниях до них.

Широкое применение на автомагистралях имеют знаки сервиса. При этом их номенклатура и размещение зависят от расположения объектов и видов обслуживания. Если объекты обслуживания располагаются в стороне от автомагистрали, знаки устанавливаются у места поворота к ним, а на знаке указывается направление к объекту и расстояние до него. Эти знаки устанавливают предварительно за 60 - 80, 15 - 20 км и 400 - 800 м от обозначаемого объекта с указанием расстояния до него.

11.1.3. На автомагистрали применяются знаки III типоразмера, имеющие увеличенные размеры по сравнению со знаками, устанавливаемыми на дорогах с двумя и тремя полосами движения. Так, сторона треугольника предупреждающих знаков составляет 1,2 м, а диаметр запрещающих и предписывающих знаков - 0,9 м.

Размеры указательных знаков индивидуального проектирования устанавливаются после их компоновки, а размеры надписей на знаках определяются высотой прописной буквы, которая на знаках 5.20.1, 5.20.2, 5.21.1 - 5.25 для автомагистралей принимается равной 500 мм при числе в одной строке менее 10 элементов и 400 мм, когда их больше.

В случае ремонтных работ на автомагистрали необходимо использовать знаки IV типоразмера со стороной треугольника знака 1500 мм или диаметром круга 1200 мм.

11.1.4. Применение на магистралях систем автоматизированного управления движением обусловливает использование управляемых знаков со сменной информацией. Номенклатура таких знаков зависит от задач, решаемых данной системой управления. Чаще всего используются знаки, ограничивающие максимальную скорость, или рекомендующие движение с какой-то определенной скоростью, а также знаки, указывающие направление движения.

11.1.5. Если на автомагистрали устанавливается освещение, знаки должны иметь внутреннюю подсветку.

11.2. Расстановка информационно-указательных знаков

11.2.1. При размещении информационно-указательных знаков необходимо соблюдать главным образом принцип своевременности и комплексности информации. К задачам, решаемым системой информационно-указательных знаков, относятся предоставление информации о режиме движения и направлении маршрута, об окружающих объектах, а также оказание помощи водителю в ориентировании по ширине проезжей части и по длине дороги.

11.2.2. Наиболее важная информация для условий движения по автомагистралям - указания о направлении движения к населенным пунктам, к другим дорогам и объектам, интересующим водителя. Информацию о приближении к съезду необходимо сообщить заранее, чтобы водитель сумел плавно и безопасно перестроиться без создания помех другим автомобилям.

11.2.3. С целью предварительной информации на автомагистралях применяются знаки 5.20.1 и 5.20.2 «Предварительный указатель направлений». Знак 5.20.1 устанавливается сбоку дороги на расстоянии 800 и 300 м от начала полосы замедления, а знак 5.20.2 - над проезжей частью непосредственно перед началом полосы замедления. Для непосредственного указания места поворота к населенному пункту или объекту в месте ответвления съезда устанавливается знак 5.21.1.

11.2.4. Для быстрого и правильного восприятия знаков большое значение имеют их начертание и содержание. На знаке 5.20.1 необходимо указывать не все возможные маневры на развязке, а только главное направление и начало ответвлений от него. Начертание стрел должно соответствовать реальным направлениям движения поворачивающих автомобилей.

Знаки 5.20.2, устанавливаемые в начале полос замедления, должны показывать населенные пункты на главном направлении и в направлении ответвления. В связи с этим первый из них устанавливается над основной проезжей частью, а второй - над полосой замедления. Если на знаке, установленном перед съездом над основной проезжей частью, указывается несколько населенных пунктов, то рекомендуется указывать конечный пункт и два ближайших после съезда, где он установлен (рис. 11.1).

На знаках 5.20.1, 5.20.2 не должно быть более трех наименований населенных пунктов или других объектов, соответствующих одному направлению движения. Первым сверху указывается пункт, ближайший к месту установки знака.

Рис. 11.1. Варианты информации на предварительных указателях направлений движения

11.2.5. Поскольку остановки на автомагистралях вне специально выделенных мест запрещены, большое значение приобретает информация о наличии стоянок. С этой целью для обозначения площадок, отводимых для стоянки, у въезда на них устанавливается знак 5.15 «Место стоянки». Для предварительной информации водителей этот знак должен устанавливаться с табличкой 7.1.1 за 400 - 800 м от обозначаемой площадки.

11.2.6. Перед началом полос замедления следует устанавливать знак 5.8.3 «Начало полосы».

Для обозначения окончания полосы разгона за 50 м до ее конца требуется устанавливать знак 5.8.5 «Конец полосы».

11.2.7. Важная информация, помогающая водителю рассчитывать время и режим своего движения, - указание расстояний до населенных пунктов, расположенных на маршруте. Это обеспечивается с помощью знака 5.27 «Указатель расстояний», который устанавливается на крупных развязках, находящихся вблизи городов и других крупных населенных пунктов, а также в их пределах, а на участках дорог между ними - не реже чем через 40 км.

Эти знаки рекомендуется устанавливать после развязки. При нанесении на знаке наименований нескольких населенных пунктов первым сверху указывается пункт, ближайший к месту установки знака.

Знаки 5.28 «Километровый знак» также помогают водителю ориентироваться в определении расстояний до пункта следования. На автомагистралях, имеющих не более четырех полос без разделительной полосы, километровые знаки можно устанавливать с одной стороны дороги, а при наличии разделительной полосы - по ее середине или с правой стороны дороги для каждого направления движения. При установке знаков на разделительной полосе следует применять безопасные конструкции их опор.

11.2.8. В случаях когда автомагистрали присвоен номер, необходимо использовать знаки 5.29.1 и 5.29.2 «Номер маршрута». Знак 5.29.1 следует устанавливать в начале автомагистрали и повторять через 15 - 20 км, а знак 5.29.2 - перед развязками. Оба этих знака рекомендуется изображать на указателях 5.20.1, 5.20.2.

11.3. Использование знаков со сменной информацией

11.3.1. Наряду с методами организации движения, используемыми на всей сети дорог, на автомагистралях большой эффект дает использование знаков со сменной информацией, табло, световых сигналов, радио и телевидения, позволяющих более гибко информировать водителей об изменении этих условий, объяснять причину ограничений, способствовать правильному выбору маршрутов и режима движения, предупреждать водителя о возможных ошибках.

Без знаков со сменной информацией невозможно функционирование автоматизированных систем управления движением. Вместе с тем такие знаки целесообразно применять и самостоятельно, управляя ими с постов ГАИ, ДЭУ или других пунктов, где размещаются службы эксплуатации дорог и организации движения.

11.3.2. Основные задачи, решаемые с применением знаков со сменной информацией, следующие:

установление верхнего предела скорости по полосам, или по всей проезжей части на отдельных участках дороги или на всей ее длине с целью обеспечения безопасности движения при неблагоприятных погодно-климатических условиях в случаях дорожно-транспортных происшествий и т.д.;

установление рекомендуемых скоростей на отдельных участках автомагистрали или по всей ее длине в целях обеспечения эффективности функционирования магистрали по заложенному в стратегии управления движением критерию;

запрещение въезда на отдельные участки полос движения из-за происшествий, ремонтных работ и по другим причинам;

ограничение въезда каким-либо типам транспортных средств на отдельные полосы движения при их специализации;

перевод потока с закрытых полос на соседние;

организация реверсивного движения в отдельные периоды суток;

организация обходных маршрутов при дорожно-транспортных происшествиях, заторах, ремонтных работах, на отдельных участках автомагистрали.

11.3.3. Как правило, водители плохо соблюдают устанавливаемые на дороге ограничения скорости, если они не знают причин, из-за которых вводятся такие ограничения. Поэтому рядом со знаком, ограничивающим или рекомендующим скорость на магистрали, рекомендуется устанавливать табло, на которых указывать причину вводимых ограничений. Например, для обеспечения безопасности движения при возникновении заторов можно рекомендовать знак, устанавливаемый над проезжей частью, на котором изображена рекомендуемая скорость, а рядом с ним надпись, призывающая водителей снизить скорость до рекомендуемой, с объяснением причины (рис. 11.2).

Рис. 11.2. Табло для пояснения причин снижения скорости движения

11.3.4. Поскольку информационные табло позволяют воспроизводить различные надписи, то их можно использовать не только для предупреждения водителей о неблагоприятных условиях движения на дороге, но и конкретизировать их, показав протяженность степени опасности, и дать водителям необходимые рекомендации. Табло можно устанавливать на разделительной полосе или над проезжей частью на рамных опорах.

11.3.5. При высокой загрузке автомагистрали и наличии параллельных дорог, по которым возможен объезд наиболее напряженных участков автомагистрали, с помощью знаков 5.21.1 и 5.21.2 со сменной информацией можно информировать водителей об условиях движения на участке магистрали до следующей развязки, а при необходимости и на участке за следующей развязкой путем установки на этих знаках соответствующей надписи: «Затор», «Нормальное», «С остановками» (рис. 11.3, а).

С помощью аналогичных знаков со сменными надписями «Открыт», «Регулируется», «Закрыт» водителей можно информировать о режимах въезда на магистраль (рис. 11.3, 6).

Такого же типа знаки со сменными надписями «Открыт», «Регулируется», «Закрыт» могут быть установлены перед съездами с магистрали, если их работа регулируется.

Для предотвращения образования очередей на въездах и съездах с автомагистрали в случае их закрытия информация о режимах работы въездов и съездов должна размещаться на второстепенных дорогах за 300 м и до съезда на автомагистраль, а на самой автомагистрали - за 800 и 300 м до съезда с нее. Такую сменную информацию удобнее всего размещать на знаках 5.20.1 «Предварительный указатель направлений», устанавливаемых на необходимых расстояниях.

В случае закрытия отдельных въездов на автомагистраль более предпочтительны системы знаков со сменной информацией, организующих обходные маршруты.

11.3.6. Если водители на автомагистрали информируются с помощью знаков, имеющих световую индикацию, то целесообразно, чтобы информация на них включалась лишь в тот момент, когда на соответствующем участке дороги возникают условия, требующие изменения режима движения. В остальное время информация должна отсутствовать. Для того чтобы водители могли своевременно заметить на знаке появившуюся информацию, вместе с ее включением может включаться световая сигнализация (например, мигающие огни желтого цвета по углам знака), привлекающая внимание.

Рис. 11.3. Знак, информирующий об условиях движения:

а - на двух последующих участках магистрали за въездом; б - на въезде

Рис. 11.4. Знак, показывающий разрешенную и фактическую скорости автомобилей

11.3.7. Большое значение в обеспечении безопасности движения на автомагистралях имеет соблюдение водителями рекомендуемого режима, в связи с чем целесообразно применение знаков, которые не только вводят ограничения, но и показывают, как они соблюдаются каждым водителем (рис. 11.4). Аналогичные системы следует использовать в случаях регулирования скоростей и интервалов между следующими в одном направлении автомобилями в условиях тумана.

11.3.8. Необходимость организации обходного маршрута на автомагистрали может возникнуть в случае серьезного ДТП, когда проезжая часть блокирована группой столкнувшихся автомобилей (что наиболее вероятно при наличии тумана и гололеда) и возник затор из скопившихся перед ними автомобилей, для ликвидации которого необходимо значительное время.

Организация обходного маршрута возможна лишь в том случае, когда параллельно автомагистрали проходит дорога и существуют соединительные дороги, имеющие достаточную пропускную способность. Для организации обходного маршрута необходимо, чтобы автомагистраль и все дороги, по которым проходит обходной маршрут, были оборудованы системой управляемых дорожных знаков и других средств управления движением, работающих по единому алгоритму. С помощью управляемых дорожных знаков водители должны информироваться о маршруте движения и безопасных режимах, обеспечивающих наибольшую пропускную способность маршрута.

Информация о маршруте движения может быть обеспечена путем установки знаков 5.20.1, 5.20.2 «Предварительный указатель направлений», на которых информация изменяется при изменении маршрута (рис. 11.5). При этом такие знаки нужно устанавливать перед всеми основными пересечениями на маршруте, так как они предназначены не только для водителей, уже следующих по новому маршруту, но и для тех, кто на данном пересечении должен изменить свое направление движения ввиду закрытия участка автомагистрали, на который он первоначально наметил въехать.

При направлении потока, движущегося по автомагистрали (в обход), безопасность движения в месте съезда может быть достигнута путем постепенного снижения скорости по полосам, их выравнивания и постепенного закрытия полос на магистрали, начиная с левой (рис. 11.6). Для этого над каждой полосой движения должны быть знаки со сменной информацией, управляющие скоростью, и светофоры типа 3, регулирующие въезд на отдельные полосы.

11.3.9. Знаки со сменной информацией, применяемые на автомагистрали, в зависимости от условий движения и содержащейся на них информации могут быть установлены с правой стороны дороги, на разделительной полосе, над проезжей частью и обочиной.

С правой стороны дороги размещают знаки, если их информация одинаково относится ко всем движущимся (в данном направлении) автомобилям при интенсивности до 5 тыс. авт./сут. При интенсивности от 5 до 10 тыс. авт./сут эти знаки нужно дублировать на разделительной полосе.

Если интенсивность превышает 15 тыс. авт./сут, то обеспечение хорошей видимости таких знаков может быть достигнуто только путем их размещения над проезжей частью или обочиной.

Если с помощью знаков со сменной информацией управляют движением по каждой полосе отдельно, то такие знаки необходимо устанавливать над каждой полосой. При этом знаки одного типа нужно размещать в одном створе, чтобы водители могли легче оценить разницу в режимах движения по каждой полосе и выбрать для себя наиболее подходящий.

Если интенсивность движения на дороге не превышает 15 тыс. авт/сут, то можно применять комбинированную систему размещения знаков, например, знаки рекомендуемой скорости по полосам расположить над каждой полосой, а все остальные - с правой стороны дороги.

Рис. 11.5. Расстановка управляемых дорожных знаков на обходном маршруте для направления движения из пункта А в пункт Б (пример):

А, В, С, Д, Е, N, Б, M - названия населенных пунктов

Рис. 11.6. Направление потока на съезд при организации обходного маршрута

11.3.10. При отсутствии ограждения знаки, расположенные на разделительной полосе, следует устанавливать на ударобезопасных опорах. Верхний обрез фундамента опоры знака должен быть выполнен заподлицо с поверхностью разделительной полосы. Это в одинаковой степени относится и к установке знаков с постоянной информацией.

11.4. Применение светофоров

1.1.4.1. Светофоры на автомагистралях применяют для регулирования движения на въездах и съездах, а также для регулирования въезда на отдельные полосы (участки полос) проезжей части.

11.4.2. Движение на въездах и съездах с магистрали регулируется с помощью светофоров1 типа 1, которые устанавливают на въездах - в начале разгонного участка переходно-скоростной полосы, а на съездах - в начале съезда. Причем если въезд на автомагистраль обеспечивается по нескольким полосам, то для каждой полосы устанавливают свой светофор.

1 Типы светофоров приведены в соответствии с ГОСТ 23457-79 «Технические средства организации дорожного движения. Правила применения» (срок действия до ….).

11.4.3. При регулировании въезда на отдельные полосы проезжей части (обычно полосы для реверсивного движения) или участки полос (как правило, в случаях ДТП, поломок транспортных средств, при ремонтных работах и т.п.) должны применяться светофоры типа 3. Их следует устанавливать над полосой в начале и повторять таким образом, чтобы расстояние между этими светофорами обеспечивало видимость водителями транспортных средств сигналов не менее двух последовательно установленных светофоров. С этой целью можно применять опоры рамного типа или вантовые конструкции. Высота установки светофоров от нижней части корпуса до поверхности проезжей части должна составлять 4,5 - 5,5 м.

11.5. Особенности применения разметки

11.5.1. На автомагистралях разнотипность линий разметки значительно меньше, чем на других дорогах. Наиболее часто применяются, согласно ГОСТ 13508-74,* линии 1.2, 1.5, 1.8, 1.11, 1.16, 1.18, 2.4, 2.5, 2.6 [4].

11.5.2. Важный фактор, который необходимо учитывать при устройстве на автомагистралях разметки, - обеспечение ее видимости при высоких скоростях. С этой целью на автомагистралях, не имеющих искусственного освещения, применяется разметка, обладающая световозвращающими свойствами, дальность видимости которой в несколько раз выше обычной разметки. Кроме того, ширина линий, обозначающих край проезжей части, берется в 2 раза шире (0,2 м), чем на других дорогах.

11.5.3. Учитывая высокую скорость, размеры штрихов и разрывов между ними у линии разметки 1.5, 1.6 и 1.11, высота стрел, а также букв и цифр, применяемых для различных надписей, берутся максимальными.

11.5.4. Одна из наиболее важных особенностей применения разметки на магистрали - использование износоустойчивых материалов с тем, чтобы сохранить достаточно продолжительный срок службы разметки в условиях интенсивного движения. Для этого, как правило, применяются термопластики или долговечные краски.

11.6. Особенности применения ограждений и направляющих столбиков

11.6.1. На автомагистралях применяют ограждения двух групп по ГОСТ 23457-79. Первая предназначена для предотвращения съездов транспортных средств с автомагистрали, столкновений со встречными транспортными средствами, а также наездов на массивные предметы. Назначение ограждений второй группы - упорядочение движения пешеходов и предотвращение появления на дороге животных.

11.6.2. Ограждения первой группы устанавливаются:

на мостах, путепроводах, эстакадах;

на разделительной полосе;

на обочинах, расположенных к склону при его крутизне более 1 : 3;

на обочинах автомагистралей, идущих параллельно железнодорожным линиям, болотам и водным потокам глубиной более 2 м, оврагам и горным ущельям при их расстоянии от края проезжей части менее 25 м;

у опор путепроводов, деревьев с диаметром стволов более 10 см, у консольных или арочных опор информационно-указательных знаков, расположенных на расстоянии менее 4 м от края проезжей части;

на обочинах автомагистралей, проходящих в насыпи высотой 3 м и более;

с наружной стороны кривых в плане с радиусами менее 600 м при высоте насыпи 2 м и более;

на закруглениях съездов пересечений и разных уровнях вне зависимости от высоты насыпи: при одностороннем движении на обочине с наружной стороны закругления, при двустороннем - на обеих обочинах.

11.6.3. Ограждения первой группы располагаются: у края проезжей части мостов, путепроводов, эстакад на расстоянии от него, равном ширине краевой полосы, но не менее 1 м; на разделительной полосе на расстоянии не менее 1 м от кромки проезжей части, за исключением случая, оговоренного в пп. 1.5, 6.4; на обочине на расстоянии не менее 0,5 м от бровки земляного полотна (предпочтительно 0,75 м).

11.6.4. Высоту установки ограждений по верху рекомендуется назначать не менее 0,7 - 0,8 м. Начальные по ходу движения элементы ограждения необходимо отводить за пределы обочины, а при невозможности отвода заглублять в нее. Отводить рекомендуется с отгоном не менее 1 : 20, а снижать при заглублении с уклоном не более 1 : 13,5.

11.6.5. Протяженность изолированного участка ограждения рекомендуется принимать не менее 60 м. Полезно соединять в одно целое ограждения на двух смежных участках, если расстояние между концами этих ограждений менее 100 м. Начало ограждения следует располагать не ближе 25 м до препятствия по ходу движения, а заканчивать не ближе 2,5 м после препятствия.

11.6.6. На разделительной полосе ограждения устанавливают при ширине ее 10 м и менее. Тип ограждения рекомендуется выбирать с учетом климатических условий, интенсивности движения и наличия на разделительной полосе опор освещения.

11.6.7. В районах с незначительной высотой снежного покрова на разделительной полосе шириной до 6 м следует устанавливать железобетонные ограждения парапетного типа или металлические ограждения (табл. 11.1). На разделительной полосе шириной 6 - 10 м ограждения устанавливаются при интенсивности движения более 20 - 30 тыс. авт./сут. При этом рекомендуются металлические ограждения, которые могут быть расположены как совместно в средней части разделительной полосы, так и раздельно вдоль каждой проезжей части.

Таблица 11.1

Число полос движения в обоих направлениях

Наличие на разделительной полосе опор освещения

Перспективная интенсивность движения, тыс. авт./сут, при ширине разделительной полосы, м

3 - 4

5 - 6

4

Отсутствуют

15

20

Имеются

10

15

0

Отсутствуют

20

30

Имеются

15

25

11.6.8. В районах со значительным снежным покровом необходимо в первую очередь рассматривать вариант увеличения ширины разделительной полосы до 10 - 12 м и более с учетом повышенных затрат на очистку дороги от снега в местах установки ограждений. При ширине разделительной полосы более 3,5 м допускается устанавливать тросовые ограждения.

11.6.9. Ограждения предпочтительнее устанавливать в средней части разделительной полосы. Однако в случаях окаймления разделительной полосы возвышающимся бордюром ограждения рекомендуется устанавливать по ее краям, чтобы не допустить опрокидывания автомобиля, ударившегося в аварийной ситуации о бордюр, и возможности переезда его через ограждение при потере управляемости из-за удара.

11.6.10. При установке ограждений в средней части разделительной полосы балки следует крепить болтами на стойку с двух сторон. В случае наличия на разделительной полосе мачт освещения, опор путепроводов и т.п., ограждения, усиленные в поперечном направлении, устанавливаются по обе стороны от них на расстоянии не ближе 0,75 м.

11.6.11. На участках кривых, где разделительная полоса имеет уклон более 20 ‰ не совпадающий по направлению с уклоном проезжих частей, ограждения на разделительной полосе следует смещать к ее внутреннему краю, но не ближе чем на 1 м и до кромки проезжей части.

11.6.12. На вогнутой разделительной полосе место расположения ограждений необходимо увязывать с расположением водоприемных решеток и подземного водостока (рис. 11.7).

11.6.13. В зоне мостов и путепроводов, имеющих отдельные проезжие части, ограждения, устанавливаемые вдоль внутренних перил, следует плавно выводить на разделительную полосу с тем, чтобы исключить возможность падения в реку или на пересекаемую дорогу автомобиля, выехавшего за пределы проезжей части (рис. 11.8).

11.6.14. При раздельном трассировании установку ограждений на верхнем земляном полотне следует предусматривать с учетом разницы отметок ΔН проезжих частей и значения поперечного уклона iпоп полосы между ними (рис. 11.9).

Рис. 11.7. Размещение ограждений и водостока на вогнутой разделительной полосе

Рис. 11.8. Установка ограждений на разделительной полосе в зоне мостов и путепроводов, имеющих отдельные проезжие части:

а - при ширине разделительной полосы 12 м и более; б - то же, менее 12 м

Рис. 11.9. Области целесообразной I и нецелесообразной II установки ограждения на верхнем земляном полотне автомагистрали при раздельном трассировании

11.6.15. Из ограждений второй группы на автомагистралях чаще всего используются ограждающие сетки и перила.

Ограждающие сетки, применяемые для предотвращения выхода на проезжую часть пешеходов или крупных животных, устанавливаются на границе полосы отвода. Их можно устанавливать в зонах автобусных остановок, у подземных или наземных пешеходных переходов, по оси разделительной полосы за 200 м до и после перехода.

11.6.16. Выбирая средства против ослепления светом фар в темное время суток, необходимо учитывать, что кустарник, высаживаемый на разделительной полосе, выполняет функции противоослепляющего экрана лишь когда имеет листву. В периоды увядания и сброса листвы его эффективность резко снижается и требуются другие средства. Помимо этого, кустарник способствует задержанию влаги, а на кривых в плане ухудшает видимость. Поэтому на разделительных полосах шириной менее 14 - 16 м в качестве противоослепляющих экранов наиболее целесообразны сетки, устанавливаемые с ограждением, как единое комбинированное устройство.

11.7. Мероприятия по снижению транспортного шума

11.7.1. В районах с плотной застройкой, со сложным рельефом, с тяжелыми грунтовыми и другими условиями трасса автомагистрали может проходить через населенные пункты или вблизи от них. В соответствии с санитарными нормами допустимый уровень звука, равный 55 дБА, не превышается при создании буферной зоны, т.е. при расположении трассы автомагистрали от застройки на следующих расстояниях:

Интенсивность движения, авт./ч                             600          800        1000      1500                                                                                     2000

Минимальное расстояние до застройки, м             800          1050      1300      1800                                                                                     2100

11.7.2. При прохождении автомагистрали через населенный пункт или на расстоянии от него меньшем, чем указано в п. 11.7.1, требуются специальные мероприятия по снижению транспортного шума, основные из которых:

строительство шумозащитных барьеров, которые позволяют сократить буферную зону, а в период эксплуатации снизить шум до значений, регламентируемых санитарными нормами;

использование снегозащитных насаждений вдоль автомобильных дорог одновременно и для борьбы с шумом, посадка специальных шумозащитных насаждений;

устройство защитных грунтовых валов;

применение средств организации движения, приводящих к снижению транспортного шума, таких, как снижение скоростей на участках автомобильных дорог, проходящих в районе населенных пунктов, уменьшение задержек на пересечениях и их рациональное расположение, распределение потоков автомобилей по параллельным маршрутам для снижения интенсивности движения, обеспечение постоянной скорости автомобилей без переключения передач и остановок с последующим разгоном;

строительство покрытий, при проезде по которым возникает сравнительно малый шум.

При проектировании глубоких вводов в города рекомендуется также устройство эстакад, галерей, тоннелей.

11.7.3. Конструкции шумозащитных барьеров делятся на две группы - шумоотражающие и шумопоглощающие. От шумоотражающих барьеров звуковая энергия отражается в противоположную от защищаемого объекта сторону. Шумопоглощающие в результате поглощения звуковой энергии в пори

 

11.7.4. Шумоотражающие барьеры устраивают из дерева, цементобетона, кирпича, алюминиевых сплавов и пластмасс. Для их нормальной работы установлена следующая минимальная масса конструкции барьера:

Снижение уровня звука по расчету, дБА     5       10     12     14     16     18     20     22                                                                         24

Минимальная масса конструкции, кг/м2     14,5  17     17     17     19,5  22     24,5  32                                                                         39

11.7.5. При наличии разделительной полосы шумозащитный барьер устанавливают на ее оси. Желательно совмещать его с ограждениями. Барьер на разделительной полосе всегда выполняют шумопоглощающим. Одновременно он уменьшает опасность ослепления водителей светом фар встречных автомобилей. Высота шумопоглощающего барьера для обеспечения высокой эффективности его работы должна быть не менее 2 м.

11.7.6. При расположении объектов шумозащиты с обеих сторон дороги шумозащитные барьеры должны быть также шумопоглощающими.

11.7.7. Для придания шумозащитным барьерам лучшего внешнего вида рекомендуется посадка около них декоративных растений, которые, украшая дорогу и частично устраняя однообразный вид барьера, в летнее время усиливают шумопоглощающее действие барьера.

11.7.8. Шумозащитные барьеры можно использовать для повышения эффективности шумозащиты грунтовых валов, а также откосов выемок при недостаточной их глубине.

11.7.9. Шумозащитные барьеры в поперечном профиле земляного полотна размещают в соответствии с рис. 11.10, а, б. Минимальное значение высоты шумозащитных барьеров для защиты жилой застройки приведены в табл. 11.2.

11.7.10. При расстоянии до жилой застройки менее 100 м через каждые 80 м барьеры должны иметь легкосъемные элементы для проезда специальных машин (скорая помощь, пожарная служба и т.п.).

11.7.11. Для защиты от транспортного шума с использованием шумозащитных барьеров и грунтовых валов могут быть рекомендованы типовые поперечные профили земляного полотна автомобильных дорог, предназначенные для проектирования и строительства дорог общей сети СССР.

11.7.12. Проектирование автомагистрали в выемках является одним из наиболее эффективных способов защиты от шума.

Поперечные профили выемок глубиной 3 м и более рекомендуется принимать в соответствии с типовыми проектами снижения шума. Внешние откосы выемок рекомендуется выполнять необтекаемыми, без округления верхней кромки для обеспечения бóльшего снижения шума.

11.7.13. Если глубина выемки является недостаточной для создания акустического комфорта, ее эффективная высота может быть увеличена путем установки шумозащитных барьеров или отсыпки грунтовых валов необтекаемой формы, имеющих ширину поверху не менее 1 м.

Рис. 11.10. Размещение шумозащитного барьера в поперечном профиле автомагистрали:

а - при высоте насыпи до 2 м; 6 - то же, более 2 м; в - на грунтовом валу; В - ширина полосы движения; С - обочина

Таблица 11.2

Расстояние до застройки, м

Этаж здания

Минимальная высота барьера, м, при интенсивности движения, авт./ч

6000

1000

1500

3000

25

1

4,0

5,1

6,0

7,8

3

7,0

8,0

> 8

> 8

5 и 9

> 8,0

> 8,0

> 8

> 8

50

1

3,3

4,0

4,8

6,0

3

4,6

5,4

6,2

7,6

5

5,9

6,7

7,5

> 8

9

7,9

> 8

> 8

> 8

75

1

2,8

3,4

4,0

5,0

3

3,8

4,4

5,0

6,0

5

4,6

5,2

5,9

7,0

9

5,7

6,5

7,2

> 8

100

1

2,5

3,0

3,6

4,4

3

3,1

3,8

4,3

5,2

5

3,8

4,5

5,0

5,8

9

4,7

5,4

5,9

6,8

125

1

2,2

2,8

3,3

4,0

3

2,9

3,5

3,9

4,7

5

3,3

3,8

4,3

5,1

9

4,1

4,7

5,2

6,0

150

1

2,1

2,6

3,0

3,7

3

2,6

3,1

3,5

4,2

5

2,9

3,4

3,8

4,5

9

3,4

4,0

4,5

5,2

11.7.14. Шумозащитные барьеры размещают на грунтовых валах в соответствии с рис. 11.10, в.

11.7.15. Посадка деревьев и кустарников, выполняющих декоративную и снегозащитную функции, может обеспечивать защиту от транспортного шума, эффективность которой зависит от конструкции посадки, подбора древесно-кустарниковых пород, плотности крон и пр. Наиболее целесообразна шахматная посадка. Рекомендуемая высота деревьев в шумозащитных посадках не менее 5 - 8 м, а ширина каждой полосы не менее 8 м.

11.7.16. Шумозащитные зеленые насаждения желательно проектировать из нескольких полос с разрывом между ними, ширину которого следует назначать не более высоты деревьев.

11.7.17. Полосы зеленых насаждений рекомендуется располагать как можно ближе к источнику шума, но не ближе 15 м от кромки проезжей части.

11.7.18. При выборе древесной или кустарниковой породы для создания шумозащитных насаждений предпочтение следует отдавать породам с высоким удельным весом «зеленой массы», густым ветвлением, большой плотностью и крепостью крон, хорошим порослевым возобновлением и быстрым ростом в первые годы после посадки. Сюда прежде всего следует отнести все хвойные породы деревьев.

11.8. Требования к освещению

11.8.1. При проектировании освещения автомагистралей необходимо руководствоваться п. 14.1 ВСН 25-76 [12].

11.8.2. Автомобильные магистрали с четырьмя полосами движения и разделительной полосой шириной 5 - 6 м вне населенных пунктов целесообразно освещать на всем протяжении при среднесуточной интенсивности движения на пятилетнюю перспективу более 20 тыс. авт./сут. В случае проложения автомагистрали через населенный пункт освещение следует предусматривать при среднесуточной интенсивности 5 тыс. авт./сут и более, достигаемой в первые 5 лет эксплуатации.

11.8.3. Средняя яркость проезжей части и равномерность распределения яркости нормируются в зависимости от интенсивности движения:

Среднесуточная интенсивность движения, тыс. авт./сут                    20                 30

Средняя яркость проезжей части, кд/м                                                 0,8                1,5 - 2

Равномерность распределения яркости                                                3 : 1              3 : 1

Коэффициент ослепленности не должен превышать 1,15.

11.8.4. Необходимо предусматривать освещение автобусных остановок, пешеходных переходов, пересечений и примыканий, транспортных развязок.

При проектировании освещения транспортных развязок следует отдавать предпочтение высокомачтовому освещению с несколькими светильниками на одной опоре (используя ртутные или натриевые лампы мощностью 1000 - 2000 Вт), обеспечивающему хорошую равномерность освещения на большой площади.

11.8.5. Освещение мостовых переходов следует предусматривать в соответствии с пп. 14.2.8 - 14.2.10 ВСН 25-76 [12].

11.8.6. Схемы расположения светильников целесообразно принимать согласно рис. 11.11. При наличии разделительной полосы рекомендуется двухрядная схема расположения светильников. Допускается размещение опор по оси разделительной полосы при условии установки ограждений. В случае отсутствия разделительной полосы допускается двухрядная схема расположения опор светильников в шахматном порядке при соблюдении требований к средней яркости проезжей части и равномерности ее распределения.

11.8.7. Использовать грунтовую часть обочины для расположения в ее пределах мачт освещения крайне нежелательно, так как устанавливаемые при этом ограждения занимают значительную часть обочины. Поэтому в местах установки мачт освещения обочину следует уширять в виде бермы так, чтобы расстояние между мачтой и ограждением, устанавливаемым вдоль бровки земляного полотна, было не меньше 1,2 - 1,5 м.

Рис. 11.11. Схемы размещения двухрядных опор:

а - прямоугольная в плане; б - в шахматном порядке; в - прямоугольная по оси разделительной полосы

12. АВТОМАТИЗИРОВАННЫЕ СИСТЕМЫ УПРАВЛЕНИЯ ДВИЖЕНИЕМ НА АВТОМАГИСТРАЛЯХ

12.1. Классификация систем управления, этапы разработки и внедрения

12.1.1. В целях повышения эффективности работы и создания наиболее благоприятных условий для удобного и безопасного движения автомагистрали оборудуются автоматизированными системами управления движением. Объекты управления в этих системах - транспортный поток на автомагистрали, транспортные потоки на въездах, а также состояние поверхности автомагистрали.

К средствам управления относятся управляемые многопозиционные знаки и светофоры на основной магистрали, знаки и светофоры на въездах и съездах, а также технические средства и ресурсы дорожно-эксплуатационной службы (аварийно-патрульной и службы зимнего содержания).

12.1.2. На автомобильных магистралях можно применять различные по сложности, решаемым задачам и составу технических средств системы управления движением. Классификация систем управления приведена в табл. 12.1.

12.1.3. При выборе системы управления движением необходимо учитывать значение автомагистрали, ее транспортно-эксплуатационные характеристики, интенсивность движения и погодно-климатические условия. Наиболее предпочтительно применение сложных линейных систем диспетчерского управления и автоматизированных систем типа АРДАМ.

12.1.4. В проекте автомагистрали может быть предусмотрено стадийное развитие системы управления движением с учетом темпов роста интенсивности на 10 - 20 лет вперед.

Если интенсивность движения на автомагистрали в первые 10 лет не превышает 20 тыс. авт./сут в районах с зимним и осенне-весенним расчетными периодами и 30 тыс. авт./сут в районах с летним расчетным периодом, рекомендуется на первом этапе устраивать простые или сложные линейные системы диспетчерского управления, которые в дальнейшем могут быть переоборудованы в автоматизированные. При интенсивности движения в первые 10 лет эксплуатации более 20 тыс. авт./сут в районах с длительным зимним и осенне-весенними периодами и 30 тыс. авт./сут в районах с летним расчетным периодом рекомендуется сразу устраивать полную систему автоматизированного управления типа АРДАМ.

12.1.5. Полная система автоматизированного управления движением типа АРДАМ должна включать:

подсистемы сбора и первичной обработки информации о транспортном потоке, метеорологических и дорожных условиях;

вычислительное устройство (вычислительный центр), анализирующее поступающую информацию, выбор соответствующих сложившимся условиям движения программ управления и передачу команд на управляющие устройства;

устройства (управляемые знаки, светофоры, табло), с помощью которых водителю передастся информация о вводимых ограничениях и рекомендуемых режимах движения;

линии связи, по которым передается информация от периферийных устройств в центр управления и наоборот;

линии электроснабжения.

12.1.6. При стадийном развитии и внедрении отдельных элементов и подсистем систем управления необходимо выполнять два требования: каждая подсистема должна решать самостоятельную задачу в общей задаче управления движением; подсистемы должны разрабатываться и сооружаться с учетом возможности их включения с наименьшими переделками в полную систему. Поэтому и при стадийном развитии необходимо уже на первой стадии иметь основные проектные решения перспективной системы управления движением на проектируемой автомагистрали.

Таблица 12.1.

№ п/п

Сложность системы

Решаемые задачи

Основные подсистемы и технические средства

Целесообразность области применения

1

2

3

4

5

1

Простые системы управления дорожным движением

Организация движения, продольное и поперечное управление транспортными потоками и режимами движения

Ручной или автоматизированный учет движения; разметка проезжей части, краевые полосы и укрепление обочины, направляющие островки, дорожные знаки и указатели с постоянной и сменной информацией, световые табло местного управления на отдельных опасных участках

Дороги, I, II категорий интенсивностью движения более 7 тыс. авт./сут

2

Сложные линейные системы управления дорожным движением

Организация и диспетчерское управление дорожным движением; оперативное управление дорожной аварийной службой и службой зимнего содержания

Автоматизированный учет движения, полная разметка проезжей части, полное инженерное оборудование, дорожные знаки, указатели и светофоры с дистанционным управлением, телевизионный обзор опасных участков; линии связи и силовые линии вдоль дорог

Дороги, I, II категорий интенсивностью движения более 7 тыс. авт./сут

3

Сложные сетевые системы управления дорожным движением

Координированное диспетчерское управление движением на сети автомобильных дорог области, крупного транспортного узла; оперативное управление дорожной аварийной службой и службой зимнего содержания

Автоматизированный учет движения на сети дорог с обработкой данных учета на ЭВМ; управляемые дорожные знаки, сигналы и светофоры на основных узлах (местного или дистанционного управления), несколько управляющих пунктов, связь между пунктами и вдоль основных дорог

Крупные транспортные узлы с развитой сетью автомобильных дорог

4

Локальные системы управления дорожным движением

Автоматизированное управление движением на отдельных участках дорог, в тоннелях, на крупных мостах

Автоматизированный учет движения, светофоры и управляемые знаки; система датчиков контроля степени загазованности и освещения; дистанционно-управляемая система вентиляции и освещения, телевизионный обзор, пульт управления

Тоннели, крупные мосты при высокой интенсивности движения

5

Автоматизированные системы управления дорожным движением (системы типа АРДАМ)

Автоматизированное управление на автомагистрали, управление въездами, организация реверсивного движения; оперативное управление дорожной аварийной службой и службой текущего и зимнего содержания

Автоматизированный учет движения, непрерывный сбор информации о состоянии дороги, окружающих условиях с помощью стационарных приборов и передвижных лабораторий; современное инженерное оборудование и разметка, сигнально-переговорная связь, телевизионный обзор, управляемые дорожные знаки, сигналы и светофоры, мощные ЭВМ с программным обеспечением

Автомобильные дороги I категории интенсивностью движения более 20 тыс. авт./сут

6

Автоматизированные системы управления дорожным движением на сети дорог (АСУД-СД)

Автоматизированное управление движением сети автомобильных дорог области, крупного транспортного узла, соединенные с системами управления движением в крупных городах; оперативное управление аварийной службой и системой текущего и внешнего содержания

То же, что и в п. 3. Кроме того, автоматический учет движения на сети дорог, непрерывный обзор информации о состоянии дорог и метеорологических условиях, телевизионный обзор, сигнально-переговорная связь на основных дорогах, дистанционно-управляемые дорожные знаки и сигналы, мощные ЭВМ с программным обеспечением в главном и периферийных центрах управления

Крупные транспортные узлы с развитой сетью автомобильных дорог и высокой интенсивностью движения

7

Информационно-управляющие системы на сети автомобильных дорог с передачей управляющей информации индивидуально в каждый автомобиль

Рекомендация оптимального маршрута с учетом загрузки дорог, наличия заторов, ДТП и пр.

Система сбора информации о параметрах движущихся по сети дорог транспортных потоков. Оборудование всех автомобилей радио- или телеприемниками, или специальными приемниками управляющей информации. Оборудование дорог центрами передачи управляющей информации дополнительными знаками с указанием частот, на которых передается информация, или специальными придорожными передатчиками информации

Разветвленные сети автомобильных дорог

8

Автоматизированные системы управления функционированием дорог (АСУ-ФД)

Управление состоянием дороги, дорожным движением и деятельностью дорожно-эксплуатационной службы

То же, что и в п. 5. Кроме того, передвижные лаборатории для оценки работоспособности дороги и ее состояния; система оперативной информации о деятельности подразделений дорожной службы

Дороги I - III категорий

9

Автоматизированные системы управления функционированием сети автомобильных дорог (АСУ-ФД)

Управление состоянием сети дорог, дорожным движением на сети дорог и деятельностью дорожно-эксплуатационной службы

То же, что и в пп. 6 и 8

То же, что и в п. 6

12.1.7. С учетом требований стадийности развития системы управления движением рекомендуется следующая последовательность их сооружения:

сооружение технологической линии связи и организация автоматизированного учета движения;

устройство сигнально-переговорной связи и центрального диспетчерского пункта для вызова медицинской и технической помощи;

оборудование магистрали дистанционно управляемыми знаками, табло и светофорами, сооружение линии электроснабжения и центра диспетчерского управления движением;

оборудование сложных участков магистрали телевизионными установками с передачей изображения в центр управления;

создание единой системы автоматизированного управления движением с помощью ЭВМ из центра управления.

12.1.8. Разработку систем управления движением следует проводить по этапам.

Первый этап - анализ технического уровня автомагистрали, ее состояния и оборудования, характеристик существующих и перспективных транспортных потоков, аварийности и метеорологических условий. На основе этого анализа выявляют основные факторы, отрицательно влияющие на эффективную работу автомагистрали, разрабатывают мероприятия по повышению удобства и безопасности движения. Первый этап должен выполняться специалистами-дорожниками совместно со специалистами по организации движения, хорошо знающими характер изменения транспортно-эксплуатационных характеристик дороги и режимов движения транспортных потоков во времени и под воздействием погодно-климатических факторов.

На втором этапе определяются конкретная цель и задачи управления, разрабатывается система организации движения, стратегии управления и выбираются критерии оценки эффективности функционирования системы, основные типы технических средств и рассчитывается экономическая целесообразность строительства системы.

На третьем этапе выбираются существующие и разрабатываются новые технические средства, осуществляется привязка проекта в соответствии со схемой организации движения и стратегией управления. На этом же этапе разрабатывается математическое обеспечение, включающее комплекс управляющих и вспомогательных программ для ЭВМ.

На втором и третьем этапах необходимо привлекать специализированные организации по созданию средств автоматики и телемеханики, вычислительной техники, связи, телевидения и электроснабжения и т.д. совместно со специалистами по системам управления движением.

12.2. Технические средства, применяемые в системах управления движением

12.2.1. Состав основных технических средств определяется характером решаемых системой задач, от которых зависит объем необходимой исходной информации и управляющих воздействий. В состав технических средств входят контрольно-измерительная аппаратура и сервисное оборудование, периферийные средства автоматики и телемеханики (управляемые дорожные знаки и светофоры), линии связи и электроснабжения, средства телевизионного обзора, устройства центрального управляющего пункта.

12.2.2. В состав технических средств системы сбора информации о транспортном потоке должны входить детекторы транспорта различных типов (детекторы прохождения и присутствия транспортной единицы в контролируемой зоне, времени прохождения автомобилем заданной длины, состава транспортного потока), периферийные устройства первичной обработки и обмена информацией с центром управления не реже 1 раза в секунду.

12.2.3. Детекторы транспорта размещаются на каждой полосе движения и на расстоянии от 0,5 до 2 км вдоль автомагистрали, а также на всех въездах и съездах с нее (рис. 12.1).

12.2.4. В состав технических средств системы сбора информации о состоянии поверхности дороги входит передвижная лаборатория (для оперативного определения коэффициента сцепления и оценки состояния поверхности дороги) с оборудованием для передачи информации в центр управления.

12.2.5. В состав технических средств системы сбора информации о метеорологических условиях входят стационарные посты наблюдения для фиксирования осадков различных видов, гололеда, скорости ветра, метеорологической дальности видимости, влажности и температуры воздуха. Кроме того, на подвижной лаборатории должно быть установлено оборудование, позволяющее фиксировать метеорологическую видимость, скорость и направление ветра на отдельных участках дороги.

12.2.6. Технические средства управления движением должны включать в себя многопозиционные управляемые указатели скоростей, а управляемые указатели направлений - светофоры, дорожные контроллеры для переключения скоростей и направлений движения, контроллеры управления светофорами и выносные пульты управления.

12.2.7. Управляемые указатели скоростей располагаются на специальных опорах рамного или консольного типа над каждой полосой движения с тем, чтобы обеспечивать возможность контактного управления движением на каждой полосе (рис. 12.2).

12.2.8. Управляемые указатели направлений устанавливаются перед каждым съездом с автомагистрали в соответствии с требованиями п. 11.2. Они предназначены для организации движения по обходным маршрутам (рис. 12.3).

Рис. 12.1. План размещения транспортных детекторов (на въезде):

Д1 - интенсивности; Д2 - занятости; Д3 - присутствия для изменения скорости; Д4 - присутствия для обнаружения автомобилей на переходно-скоростной полосе; Д5 - для регистрации подхода автомобилей; Д6 - то же, ухода; Д7 - для обнаружения очереди; С - светофор

Рис. 12.2. Схема снижения скорости на автомагистрали по тактам I - III и полосам 1 - 3 движения:

1 и № 5 - места установки светофоров и знаков

Рис. 12.3. Управляемые дорожные знаки, используемые для организации обходных маршрутов при закрытии участка магистрали и устанавливаемые:

а - в начале переходно-скоростной полосы; б - за 1000 и 500 мм до съезда

12.2.9. Для телевизионного обзора применяют камеры промышленного телевидения, которые устанавливают на опорах высотой 6 - 10 м около сложных развязок, а также в тоннелях, на мостах и путепроводах, на участках автомагистралей в населенных пунктах.

На сложных развязках может быть установлено несколько телекамер.

12.2.10. Сигнально-вызывные колонки располагаются с обеих сторон автомагистрали через каждые 2 - 4 км.

12.2.11. Кабельные линии связи рекомендуется устраивать в средней части разделительной полосы или с одной стороны автомагистрали в полосе отвода. Мощность кабельной линии связи определяется на основании объема передачи информации о транспортном потоке, состоянии поверхности дороги и метеорологических условиях, а также управляющих команд и сигналов.

12.2.12. В центре управления дорожным движением необходимо предусмотреть следующие технические средства:

пульт управления;

информационное табло с мнемосхемой, изображающей условными символами управляемый участок дороги;

пульт диспетчерской связи;

пульт управления сигнально-переговорными стойками;

устройства визуального отображения исходной информации (телеэкраны, дисплеи и т.п.);

управляющий вычислительный комплекс для обработки исходной информации об отыскании оптимальных управляющих воздействий;

аппаратуру приема сигналов исходной информации и передачи управляющих команд;

радиостанцию для связи с патрульными службами;

ремонтное и вспомогательное оборудование.

12.2.13. При выборе места расположения здания центра управления необходимо учитывать, что максимальное удаление от источников информации и управляемых знаков до центра управления не должно превышать 20 км.

12.2.14. Управляющий вычислительный комплекс рекомендуется компоновать на основе серийно выпускаемых ЭВМ с использованием дополнительных модулей и средств вычислительной техники.

В качестве базы для компоновки УВК рекомендуется вычислительный комплекс СМ-2 серии СМ ЭВМ, оперативная память которого имеет емкость до 12 кБит. В минимальный набор модулей и устройств вычислительного комплекса входят: два процессора, канал прямого доступа, устройство оперативной памяти, коммутаторы, согласователь ввода-вывода и таймеры. Двухпроцессорная структура комплекса позволяет использовать разделение задач управления между процессорами и одновременное их выполнение. При выходе из строя одного из процессоров все задачи в соответствии с присвоенными приоритетами будут решаться вторым процессором.

12.2.15. Для выбора и фиксирования информации на бумаге необходимо иметь в составе УВК ряд устройств печати по обслуживанию запросов оператора, выводу суточного журнала функционирования системы и различных форм документов, выводу на печать информации об отказах оборудования и режимах функционирования системы.

12.2.16. Включенная в состав оборудования центрального управляющего пункта мнемосхема должна: а) сигнализировать оператору о состоянии каждого дорожного контролера и управляемого указателя направлений и скорости; б) выдавать обобщенную информацию об условиях движения и состоянии оборудования для каждого километра магистрали; в) высвечивать введенную оператором в ЭВМ информацию о дорожных условиях (осадки, гололед, туман, ремонт) и ДТП (авария) для каждого участка магистрали; г) высвечивать номера телефонов системы аварийной связи, с которых поступает сообщение об аварии или заторе с магистрали; д) информировать оператора о включенных сигналах светофоров на каждом въезде.

12.2.17. Мнемосхема должна быть в виде схематического изображения магистрали с размещенными на нем индикаторами, на которой предусматриваются места для размещения телевизионных экранов, куда поступает информация с элементов магистрали, включенных в систему телевизионного обзора (в первую очередь с развязок).

12.2.18. Пульт управления совместно с аппаратурой обмена информации должен позволять: взять на контроль и управление любое периферийное устройство, подключенное к одному (любому) каналу связи; вывести на индикацию содержание любого из байтов контрольной информации этого канала связи; проконтролировать исправность сигнальных ламп пульта и мнемосхемы.

12.3. Выбор стратегии управления движением

12.3.1. Цель управления движением на автомобильной магистрали в общем виде может быть выражена следующим образом: при заданных характеристиках транспортного потока и аппарата обслуживания (постоянных и переменных параметрах автомагистрали), процесса обслуживания (характеристик уровня содержания дороги и организации движения) с учетом состояния метеорологических условий в каждый момент времени обеспечивать требуемые показатели функционирования дороги и дорожного движения (скорость, пропускную способность и безопасность движения), определяемые из условия минимума приведенных дорожно-транспортных затрат на перемещение грузов и пассажиров.

12.3.2. Под стратегией управления понимается способ достижения поставленной цели путем использования методов управления, технических средств и ресурсов. В общем виде она охватывает порядок и методы выбора управляющих воздействий, инженерных и организационно-технических решений. Стратегия управления движением содержит в себе три взаимосвязанные группы управляющих воздействий - на дорожные условия, на систему организации движения и транспортный поток.

12.3.3. В качестве критерия, по которому в оперативном порядке можно судить о степени достижения желаемой цели, рекомендуется выбирать такие показатели, как средние задержки автомобилей, следующих по магистрали, среднее время проезда, скорость, уровень загрузки. Из названных критериев наиболее надежным, способным обеспечить достаточно высокие скорости, минимизировать задержки автомобилей и высокую степень безопасности их движения, является уровень загрузки, значение которого при повышении спроса на пользование магистралью не должно превышать максимального значения, определенного заранее по результатам анализа работы магистрали.

12.3.4. Сохранение уровня загрузки магистрали в допустимых пределах достигается путем управления работой въездов, осуществляемым по четырем принципиально отличным стратегиям: закрытие въездов в определенные периоды; дозированный впуск на магистраль по жесткой программе; дозированный впуск, зависящий от характеристик потока на подходе к выезду; координированный дозированный впуск, учитывающий работу всех въездов.

12.3.5. Въезд на автомагистраль при наличии другого близко расположенного въезда обычно закрывают в час пик, если на въезде нет места для останавливающихся автомобилей или загрузка магистрали приближается к критическому значению, превышение которого отрицательно скажется на работе магистрали.

12.3.6. Дозированный впуск по жесткой программе поддерживает поток на въезде на уровне, находящемся в пределах между пропускной способностью въезда, равной 800 - 1200 авт./ч, и некоторым минимальным значением, равным 180 - 240 авт./ч. Этот уровень может меняться в течение суток, однако во всех случаях суммарный поток за въездом не должен вызывать перегрузки магистрали. В связи с этим работа светофора, обеспечивающего работу въезда в жестком режиме, может иметь несколько программ, по которым он работает в строго определенные часы суток.

Модификацией такой стратегии служит такая, при которой зеленый сигнал светофора на въезде загорается лишь в тот момент, когда перед светофором останавливается автомобиль в ожидании зеленого сигнала. Для этого въезд должен быть оборудован детектором присутствия. Недостаток такой стратегии - она не реагирует на возможные случайные резкие изменения интенсивности движения.

12.3.7. Дозированный впуск, зависящий от характеристик потока в зоне въезда, поддерживает размер потока на въезде в соответствии с заранее намеченной стратегией. При этом для получения данных о характеристиках потока на магистрали и на въезде используются транспортные детекторы, тип которых зависит от выбранной стратегии. Так, если движение на въезде регулируется на основе анализа спроса и пропускной способности, то данные об интенсивности движения на магистрали, полученные с помощью детекторов, установленных на участке перед въездом, сравниваются с пропускной способностью участка магистрали за въездом. Если его пропускная способность выше размера потока перед въездом, то одному автомобилю на въезде разрешается вход на магистраль. Подсчет интенсивности и впуск автомобилей обеспечивается через наибольшие интервалы (например, через 1 мин).

При регулировании движения на въезде на основе контроля занятости с помощью детекторов измеряются занятость участка магистрали перед въездом. Впуск на магистраль осуществляется в соответствии с калибровочными данными о параметрах транспортного потока (интенсивность, скорость), полученными ранее опытным путем для различных значений занятости. При этом с помощью ЭВМ решают, какую дозу автомобилей можно впустить на магистраль для данного значения ее занятости.

Регулирование, основанное на замере интенсивности движения по крайней правой полосе магистрали, действует на основе того, что число впускаемых за единицу времени автомобилей зависит от интенсивности, замеренной с помощью детектора, установленного на крайней кривой полосе магистрали перед въездом.

12.3.8. Стратегия поиска приемлемого интервала позволяет впустить автомобили на магистраль в интервалы, имеющиеся на ее крайней правой полосе. Поиск таких интервалов производится детекторами, установленными на правой крайней полосе магистрали на некотором расстоянии до въезда. С помощью детекторов измеряются скорость и расстояния между автомобилями. Затем на основе этих величин прогнозируются вероятные интервалы между автомобилями в момент их нахождения на участке въезда. При этом предполагается, что их скорость за все это время останется неизменной. Если окажется, что ожидаемый интервал между какой-либо парой автомобилей на крайней полосе автомагистрали больше некоторого критического значения (обычно 3 - 10 с), то автомобилю, стоящему на въезде, разрешается воспользоваться этим интервалом и влиться в поток на магистрали.

12.3.9. Возможна комбинированная стратегия, связанная с поиском приемлемого интервала и анализа спроса и пропускной способности магистрали. При этом программа, определяющая возможное число впускаемых автомобилей, выбирается на основе анализа опроса и пропускной способности, а впуск каждого конкретного автомобиля - с использованием метода поиска приемлемого интервала.

12.3.10. Если автомобили впускаются на магистраль, проходящую по эстакаде, и видимость автомобилей на магистрали со стороны въезда, находящегося ниже нее, недостаточна, можно применять стратегию потока приемлемого интервала со световой индикацией. Индексация заключается в том, что на протяжении въезда с левой стороны устанавливается световая сигнализация в виде лампочек, находящихся на расстоянии 2 - 3 м одна от другой. По командам из центра управления лампочки загораются на отрезке, соответствующем длине имеющегося приемлемого интервала. Причем цепочка зажженных лампочек передвигается в соответствии со скоростью перемещения интервала на магистрали. Если автомобиль на въезде будет двигаться параллельно огням, то в месте въезда на магистраль он точно попадет в интервал между автомобилями на магистрали.

12.3.11. При использовании стратегии поиска приемлемого интервала необходимо иметь в виду, что на въездах, имеющих характеристики, соответствующие условиям безопасности движения, она не даст каких-либо преимуществ перед стратегией управления по жесткой программе или по анализу спроса и пропускной способности. Применение такой стратегии рекомендуется на автомобильных дорогах, реконструированных под автомагистрали, на которых на въездах неудовлетворительные условия видимости, недостаточная длина переходно-скоростных полос или въезды устроены на подъеме.

12.3.12. Стратегия координированного дозированного впуска предусматривает зависимость въезда на магистраль от результатов анализа опроса и пропускной способности всех участков магистрали в целом. По этой стратегии загрузка каждого участка магистрали прогнозируется на некоторый отрезок времени вперед с учетом потока автомобилей, въезжающих на магистраль на каждом предыдущем въезде и движущихся по всем предыдущим перегонам. Для этого необходимо использование ЭВМ и специальной программы её работы. Критерием, по которому можно судить об эффективности принятой стратегии, может быть соотношение между задержками автомобилей, движущихся по магистрали и ожидающих въезда на нее.

12.3.13. В отдельных случаях может потребоваться предоставить приоритет отдельным автомобилям или группам, въезжающим с бокового въезда на автомагистраль. Этого можно достичь двумя способами.

По первому из них в транспортном потоке на крайней правой полосе устраивается искусственный разрыв путем снижения скорости автомобилей, приближающихся к въезду. Для этого на указатели скорости, расположенные за 1,5 - 2 км до въезда, устанавливают более низкое значение скорости. Тогда автомобили, прошедшие этот створ до момента уменьшения скорости, следуют до въезда с прежней скоростью, а прошедшие его после изменения скорости - с более низкой скоростью. За счет этого между первыми и вторыми автомобилями возникает разрыв, который может быть использован для впуска автомобилей на въезде.

При втором способе скорость на крайней полосе по командам из центра управления может уменьшаться до полной остановки потока перед въездом (рис. 12.4).

Эти два способа отличаются тем, что при первом время задержек автомобилей на магистрали меньше, но и меньше степень безопасности въезда, при втором степень безопасности гораздо выше, хотя при этом растет время задержек.

12.3.14. В качестве наиболее эффективной стратегии управления движением на автомобильной магистрали рекомендуется такая, при которой комплекс управляющих воздействий на транспортный поток (сигналы светофоров на въездах, рекомендуемые или максимальные скорости по полосам движения, закрытие полос или отдельных их участков) выбирается на основе анализа совместной работы всех участков магистрали, обладающих определенными технико-эксплуатационными характеристиками и находящимися под воздействием транспортного потока и погодно-климатических факторов.

12.3.15. В качестве оперативного критерия эффективности функционирования автомагистрали может быть рекомендован ряд показателей, выбор которых зависит от конкретных условий движения.

В час пик, когда уровень загрузки превышает оптимальный, в нормальных условиях следует использовать критерий обеспечения максимального потока по магистрали или в ее наиболее узком месте.

Если уровень загрузки ниже оптимального и условия движения благоприятны, следует использовать критерий обеспечения наименьшей обобщенной задержки на магистрали. В качестве обобщенной задержки может быть принята суммарная задержка автомобилей на отдельных участках магистрали, связанная с потерей их скорости при интенсивном впуске автомобилей на въездах и с соответственным увеличением плотности движения на магистрали, а также автомобилей на въездах, ожидающих возможности въезда на магистраль.

Более простым выражением обобщенной задержки, не требующим длительного ее вычисления, может быть сумма квадратных форм от плотностей потоков и длин очередей на въездах, данные о которых можно получить достаточно быстро с помощью транспортных детекторов.

При воздействии неблагоприятных погодно-климатических факторов и в ночное время управляющие воздействия в основном определяются из условия обеспечения безопасности движения.

Рис. 12.4. Схема организации движения при приоритете автомобилей, въезжающих на магистраль:

1 - зеленый сигнал; 2 - разделительная полоса

12.3.16. Комплекс управляющих воздействий выбирается путем решения оптимальной задачи с ограничениями. Компромисс «безопасность - задержки I рода (на магистрали) - задержки II рода (на въездах)» разрешается при этом следующим образом: ограничения по безопасности, накладываемые условиями движения, имеют безусловный характер; в рамках этих ограничений вычисляются управления, оптимальные по критерию обобщенной задержки или обеспечения пропуска максимального потока.

Поскольку сформулированная задача имеет большую размерность, ее численное решение должно производиться на ЭВМ с помощью комбинации известных методов - случайного поиска и локальных вариаций.

13. ОБСЛУЖИВАНИЕ ДВИЖЕНИЯ НА АВТОМОБИЛЬНЫХ МАГИСТРАЛЯХ

13.1. Общие положения

13.1.1. Система сооружений обслуживания движения на автомагистрали необходима для обеспечения отдыхом, питанием и ночлегом водителей и пассажиров, а автомобилей - техническим обслуживанием, ремонтом и топливо-смазочными материалами.

13.1.2. В зависимости от характера обслуживаемых объектов и соответственно видов предоставляемых услуг сооружения обслуживания разделяют на следующие основные группы:

обслуживание участников движения - площадки отдыха, видовые площадки, (предприятия питания и торговли, длительного отдыха (гостиницы, мотели, кемпинги);

обслуживание транспортных средств - автозаправочные станции (АЗС), станции технического обслуживания (СТО), пункты технической помощи (ПТП), устройства для технического обслуживания;

обслуживание перевозок общественным транспортом - автобусные остановки, автостанции и автовокзалы;

службы дорожного надзора и безопасности движения - стационарные посты ГАИ, контрольно-диспетчерские пункты.

13.1.3. Площадки отдыха предназначаются для кратковременного отдыха водителей и пассажиров.

Продолжительность такого отдыха 30 ± 10 мин. Частота расположения площадок отдыха зависит от сложности дорожных условий и от интенсивности движения.

Расстояние между двумя ближайшими площадками должно преодолеваться при скорости, обусловленной местными условиями, но не более чем за 45 мин.

13.1.4. Система сооружений обслуживания движения на автомобильной магистрали должна состоять из комплексов, рекомендуемые виды и состав которых приведены в табл. 13.1.

13.1.5. В комплексах II и III должны быть предусмотрены телефонная связь и пункты медицинской помощи.

Таблица 13.1.

Комплекс обслуживания

Сооружения обслуживания

Мотель

Кемпинг

Пункт питания

Торговый пункт

АЗС

СТО

ПТП

Эстакада

Площадка отдыха

Комплекс I:

 

 

 

 

 

 

 

 

 

Iа

Нет

Нет

Нет

Нет

Нет

Нет

Нет

Нет

Есть

Iб

»

»

»

»

»

»

»

Есть

»

Комплекс II:

 

 

 

 

 

 

 

 

 

IIа

»

»

Есть

Есть

Есть

»

»

Нет

Нет

IIб

»

»

»

»

»

»

Есть

»

»

Комплекс III:

 

 

 

 

 

 

 

 

 

IIIа

»

Есть

»

»

»

»

»

»

»

IIIб

Есть

Нет

»

»

»

Есть

Нет

»

»

13.2. Размещение сооружений обслуживания

13.2.1. В основу схемы размещения по магистрали сооружений (предприятий) обслуживания всех типов следует принимать «модуль» - единицу протяженности дороги до 15 км. Схему принципиального размещения сооружений обслуживания по длине дороги следует составлять с учетом стадийного развития каждого комплекса. Основа всей системы обслуживания - площадки отдыха, на базе которых с течением времени могут быть созданы предприятия торговли и питания, а затем и другие комплексы обслуживания движения:

Виды комплексов обслуживания                                Iа         Iб       IIа      IIб       IIIа      IIIб

Расстояния между видами комплексов, км               30        30      30      30        90        90

13.2.2. Комплексы I следует располагать не ближе 1 км от населенных пунктов и в привлекательной местности, которая способствовала бы их заполняемости. Сюда относятся лесные поляны и опушки, берега водоемов, а также места расположения историко-монументальных памятников. Эти комплексы должны полностью исключить необходимость остановки автомобилей на обочинах для отдыха водителей и пассажиров.

13.2.3. Комплексы II необходимо размещать на участках автомобильных магистралей в густонаселенной местности при небольшом расстоянии между городами. На автомагистралях в малообжитой местности следует предусматривать комплексы III.

13.2.4. Отдельно расположенные предприятия и комплексы II и III следует размещать по возможности вблизи населенных пунктов, имеющих системы водоснабжения, канализации и электроснабжения. Территория для них должна быть сухой, ровной с поперечным уклоном от магистрали и непосредственно примыкать к полосе отвода магистрали.

13.2.5. Сооружения обслуживания одного вида на автомобильной магистрали должны располагаться попарно с обеих сторон дороги. В исключительных случаях при одностороннем расположении предприятия необходимо предусматривать стоянку автомобилей на противоположном направлении дороги с устройством пешеходного перехода в разных уровнях. Допускается размещение сооружений и комплексов II и III вблизи от пересечений в раз

 

от развязки. В этом случае для обеспечения подъезда к сооружению в схеме развязки предусматриваются специальные съезды.

13.2.6. Сооружения обслуживания не следует размещать в местах с ограниченной видимостью, на горизонтальных кривых радиусами менее 1000 м, ближе 400 м от начала переходно-скоростных полос транспортных развязок, на выпуклых вертикальных кривых с радиусом меньше 10000 м, на участках с продольным уклоном более 40 ‰, в пониженных точках рельефа местности, на внутренней стороне горизонтальных кривых.

13.2.7. При выборе места для сооружений обслуживания и их комплексов следует учитывать архитектурную схему дороги, выбирая места для основных зданий так, чтобы они были видны издалека. Местоположение сооружений целесообразно назначать по границам архитектурных бассейнов или в качестве архитектурных доминант внутри бассейнов [11]. Особое внимание следует обратить на возможность стадийного развития комплексов, при которой должна допускаться только перестройка подъездов.

13.2.8. Планировка территории всех видов комплекса должна содержать две четко выделяемые зоны обслуживания: для автомобилей (АЗС, СТО, эстакады) и для участников движения (площадки отдыха, пункты питания, мотели, кемпинги и пр.). В общем случае зона обслуживания автомобилей должна предшествовать зоне обслуживания участников движения.

13.2.9. Движение пешеходов по проездам внутри территории не допускается. Пешеходные дорожки должны быть вынесены за пределы внутренних проездов и мест стоянки автомобилей. Высадку и посадку пассажиров автобусов следует предусматривать непосредственно у сооружений обслуживания.

13.3. Размеры сооружений обслуживания

13.3.1. Размеры сооружений обслуживания движения и их комплексов определяются расчетом в зависимости от расстояния между однотипными предприятиями, а также от интенсивности и состава движения транспорта по автомагистрали. Нормативы расчетных показателей пользования сооружениями обслуживания на автомагистралях приведены в приложении 2.

13.3.2. Комплексы I (площадки отдыха) на автомагистралях следует устраивать вместимостью на 10 - 15 автомобилей раздельно для грузовых и легковых.

13.3.3. Расчет вместимости предприятий питания, мотелей и кемпингов, располагаемых на участках автомагистралей в пригородных зонах крупных городов, протяженность которых составляет 120 - 150 км, имеет свои особенности. При определении вместимости придорожных сооружений, располагаемых на этих участках, за расчетные следует принимать интенсивность и состав движения на транзитном участке, следующем за пригородным. Суммарные Σm (для всего пригородного участка магистрали) вместимости предприятий питания и стоянок при них распределяются по участку длиной 120 км на каждые 30 км (от города) в таком объеме: 0,15 Σm; 0,20 Σm; 0,35 Σm; 0,30 Σm.

13.3.4. При размещении придорожных предприятий питания относительно дороги, а также при организации движения и мест стоянки автомобилей необходимо учитывать, что на участках, находящихся в пригородной зоне крупных городов, соотношение числа съезжающих к предприятиям автомобилей по направлениям движения неодинаково и уменьшается по мере удаления от города по участку 120 км на каждые 30 км в такой последовательности:

k = 2,5; k = 2,0; k = 1,5; k = 1,0.

Здесь k - отношение чисел, останавливающихся у предприятий питания автомобилей, двигающихся из города и к городу. Пример расчета вместимости предприятий (сооружений) приведен в приложении 3.

13.4. Организация мест стоянок автомобилей у сооружений обслуживания и подъездов к ним

13.4.1. Особенность всех сооружений обслуживания и их комплексов - устройство при них мест для стоянки автомобилей. Планировка стоянки и ее размеры существенным образом зависят от вида обслуживания, числа мест в сооружении и наличия свободной территории. Расстояние от стоянки до обслуживаемого здания не должно превышать 200 м. В общем случае стоянка состоит из места для маневрирования, где обеспечиваются въезд, выезд и движение автомобилей в пределах территории стоянки, и площадки для стоянки.

13.4.2. Удельная вместимость стоянок у каждого сооружения обслуживания принимается согласно приложению 2.

13.4.3. Общее число мест на стоянке у ресторанов должно равняться одной трети, у кафе, столовых, мотелей и кемпингов - половине от числа мест на предприятии. При соединении в одном комплексе мотеля (кемпинга) и предприятия питания число мест на стоянке определяется исходя из числа посадочных мест в последнем с добавлением 50 % потребности в стоянке проживающих в мотеле (кемпинге).

3.4.4. Стоянки на крупных площадках отдыха, у придорожных предприятий питания, мотелей и кемпингов следует размещать между магистралью и зданиями с разделением транспортных средств по типам и размерам. Грузовые автомобили следует располагать слева, а легковые справа по ходу движения. При этом рекомендуется стоянки грузовых автомобилей располагать параллельно оси движения, а стоянки легковых автомобилей преимущественно устраивать по косоугольной схеме под углом 45 - 60°. При продолжительном пребывании на стоянке, а также в стесненных условиях, когда стоянки имеют один выезд, рекомендуется установка автомобилей перпендикулярно к направлению оси движения. Области применения и удельные площади стоянок в зависимости от схем расстановки на них автомобилей приведены в табл. 13.2.

13.4.5. Ширина места маневрирования определяется радиусом поворота автомобилей (для легковых 8 м, грузовых 9 - 12 м), их длиной (для легковых 5 м, грузовых 7 - 8 м), а также углом установки автомобилей на стоянке. При ориентировочном расчете суммарной площади покрытия на стоянках, включая площадь маневрирования и стоянки, следует исходить из средней площади, приходящейся на один автомобиль - легковой 25 м2 и грузовой 40 м2.

Таблица 13.2

Схема установки автомобилей на стоянке

Область применения

Площадь, занимаемая одним автомобилем, м2

легковым

грузовым

Продольная, т.е. под углом 0°

У предприятий питания и торговли для небольшого числа автомобилей (5 - 6 маш.-мест)

16

26

Косоугольная, т.е. под углом 30 - 60°

У предприятий питания, торговли, на площадках отдыха, при кратковременных стоянках большого числа автомобилей

15

-

Перпендикулярная, т.е. под углом 90°

У мотелей, кемпингов, для длительной стоянки большого числа автомобилей

13

28

13.4.6. Организация движения в связи с размещением сооружений обслуживания включает установку дорожных знаков, нанесение горизонтальной разметки, устройство переходно-скоростных полос для торможения перед съездом и для разгона на выезде, разбивку очертания съездов и назначение их размеров.

13.4.7. Планировочное решение комплекса должно предусматривать возможность сквозного проезда с устройством удобных подъездов к стоянкам и не допускать пересечения транспортных потоков. При въезде на территорию комплекса для лучшей ориентировки водителей необходимо устанавливать схему расположения в нем сооружений обслуживания.

13.4.8. Съезды с автомагистралей к сооружениям обслуживания устраиваются однополосными, с односкатным поперечным уклоном проезжей части и шириной 3 - 3,5 м без бордюров, с обочинами по 1,5 м или шириной 4 м и в случае установки бордюров. Угол примыкания съезда с автомагистрали на территорию сооружения должен быть не более 25 - 28°, а выезда - 15 - 25°. Радиус съезда следует принимать не менее 25 м.

13.4.9. В местах примыкания подъездов к комплексам II и III от автомагистрали обязательно устройство переходно-скоростных полос. При интенсивности движения на съезде с автомагистрали на территорию сооружения обслуживания менее 10 авт./ч и выезде на нее менее 60 авт./ч допускается устройство клинообразных переходно-скоростных полос длиной 75 - 80 м.

13.4.10. Площадки отдыха и стоянки у сооружений обслуживания должны быть отделены от проезжей части автомагистрали отделительной полосой шириной не менее 10 м.

Приложение 1

Справочные данные

Таблица 1

Интенсивность и состав движения на отдельных автомагистралях СССР в 1979 г.

Вид автомагистрали

Среднесуточная интенсивность движения, тыс. авт./сут

Состав движения, %

Годовой прирост интенсивности, %

Легковые автомобили

Грузовые автомобили

Автобусы

Внегородская

5 - 6,5

39 - 45

50 - 58

3 - 5

5 - 6

Кольцевая

13 - 35

23 - 34

60 - 74

3 - 6

7 - 8

Вход в город

9 - 22

32 - 53

43 - 66

2 - 4

5 - 6

Подъезд к аэропорту

4,5 - 5,5

54 - 75

17 - 40

6 - 8

2 - 3

То же

6 - 6,5

71 - 85

6 - 22

7 - 9

2 - 3

Таблица 2

Относительное число дорожно-транспортных происшествий на автомагистралях и других дорогах (1970 - 1979 гг.)

Тип дороги

Уровень загрузки

Число происшествий на 10 млн. авт./км

С четырьмя полосами движения, пересечения в разных уровнях:

 

 

в среднем по дороге

0,3 - 0,4

7,7

вне населенных пунктов

0,3 - 0,4

5,1

С четырьмя полосами движения, пересечения в одном уровне

0,3 - 0,4

13,9

С двумя полосами движения

0,3 - 0,4

7,7

Таблица 3

Относительное число погибших в дорожно-транспортных происшествиях на автомагистралях и других дорогах (1970 - 1979 гг.)

Тип дороги

Уровень загрузки

Число погибших на 10 млн. авт./км

Автомагистраль с четырьмя полосами движения, пересечения в разных уровнях

0,1 - 0,2

0,9 - 0,7

0,3 - 0,4

0,5 - 0,4

0,5 - 0,6

0,3 - 0,25

Дорога с двумя полосами движения

0,3 - 0,4

1,4 - 1,1

Таблица 4

Средние скорости автомобилей в свободных условиях (1973 - 1977 гг.)

Тип дороги

Скорость движения автомобилей, км/ч

легковых

грузовых

Автомагистрали с четырьмя полосами движения

82 - 100

60 - 85

Дороги с двумя полосами движения

70 - 75

45 - 55

Средние скорости на автомагистралях с четырьмя полосами движения при разных уровнях загрузки (период 1973 - 1977 гг.):

Уровень загрузки                                                            0,3                  0,5                 0,7

Скорость автомобилей, км/ч:

легковых                                                                       70 - 80           62 - 68           45 - 52

грузовых                                                                       62 - 70           50 - 58           40 - 45

Приложение 2

Нормативы расчетных показателей предприятий обслуживания

Таблица 1

Удельная вместимость предприятий обслуживания для участка автомагистрали 120 км на 1000 авт./сут.

Тип автомобиля

Нормативное число мест

Ресторан

Кафе-столовая

Мотель

Кемпинг

Легковой

4/4

30/24

100

200

Грузовой

1/1

10/8

54

-

Автобус

1/50

30/20

140

280

Примечания. 1. В числителе приведены данные для транзитных участков автомагистрали, а знаменателе - для пригородных и крупных городов.

2. Нормативы для АЗС и СТО нужно принимать по СНиП II-Д.5-72.

Таблица 2

Вместимость стоянок у предприятий обслуживания

Тип автомобиля

Ресторан

Кафе-столовая

Мотель

Кемпинг

Легковые

0,5

0,6

0,4

0,4

Грузовые

1,1

1,0

0,7

-

Автобусы

0,04

0,04

0,03

0,03

Примечание. Нормативы даны в виде числа мест стоянок, приходящихся на одно посадочное (спальное) место.

Приложение 3

Пример расчета вместимости сооружений обслуживания и стоянок при них

Рассчитаем вместимость сооружений обслуживания для участка автомагистрали длиной 220 км, примыкающей к крупному городу. Интенсивность движения 10000 авт./сут, из них легковых автомобилей N1 = 6000 авт./сут, грузовых N2 = 2500 авт./сут и автобусов N3 = 500 авт./сут.

Выделяем два участка автомагистрали - пригородный и транзитный длиной соответственно L1 = 120 км и L2 = 100 км. Определяем суммарную потребную вместимость сооружений обслуживания и стоянок при них (на примере придорожных кафе) для выделенных участков, пользуясь данными приложения 2.

Пригородный участок:

 

Мест в кафе

Мест на стоянке

Легковые автомобили

144 : 0,6 = 86

Грузовые автомобили

20 × 1,0 = 20

Автобусы

10 × 0,04 = 0,4 ≈ 1

Транзитный участок:

 

Место в кафе

Мест на стоянке

Легковые автомобили

150 × 0,6 = 0,6

Грузовые автомобили

21 × 1,0 = 21

Автобусы

12 × 0,04 = 0,48 ≈ 1

Внутри выделенных участков суммарная вместимость сооружений распределяется равномерно (см. п. 13.2.1). Исключение составляют придорожные предприятия питания в пригородной зоне, размещать которые следует соответственно п. 13.3.

СПИСОК ЛИТЕРАТУРЫ

1. Бабков В.Ф. Ландшафтное проектирование дорог. 2-е изд. - М.: Транспорт, 1980. -190 с.

2. ГОСТ 12.4.026-76*. Цвета сигнальные и знаки безопасности. - М.: Изд. стандартов, 1979. - 26 с. (Срок действия 01.01.83).

3. ГОСТ 10807-78. Знаки дорожные. - М.: Изд. стандартов, 1978. - 117 с. (Срок действия 01.01.90).

4. ГОСТ 13508-74*. Разметка дорожная. - М.: Изд. стандартов, 1975. - 31 с. (Срок действия 01.01.85).

5. ГОСТ 23457-79. Технические средства организации дорожного движения. - С.: Изд. стандартов, 1980. - 56 с. (Срок действия 01.01.85).

6. Методические рекомендации по оценке пропускной способности автомобильных дорог. / Минавтодор РСФСР. - М.: Транспорт, 1975. - 72 с.

7. Строительные нормы и правила. СНиП II-Д.5-72. - М.: Стройиздат, 1973. - 110 с.

8. Технические правила ремонта и содержания автомобильных дорог. ВСН 24-75. / Минавтодор РСФСР. - М.: Транспорт, 1974. - 264 с.

9. Технические указания по укреплению обочин автомобильных дорог. ВСН-39-79. / Минавтодор РСФСР. - М.: Транспорт, 1980. - 48 с.

10. Технические указания по устройству дорожных покрытий с шероховатой поверхностью. ВСН 38-77. / Минавтодор РСФСР. - М.: Транспорт 1978. - 56 с.

11. Указания по архитектурно-ландшафтному проектированию автомобильных дорог. ВСН 18-74. / Минавтодор РСФСР. - М., 1975. - 46 с.

12. Указания по организации и обеспечению безопасности движения на автомобильных дорогах. ВСН 25-76. / Минавтодор РСФСР. - М.: Транспорт, 1977. - 176 с.

СОДЕРЖАНИЕ

1. Общие положения. 1

2. Транспортно-эксплуатационные качества автомобильных магистралей. 2

2.1. Загрузка автомобильных магистралей движением.. 2

2.2. Пропускная способность и ее оценка. 3

2.3. Прогнозирование интенсивности и скорости движения. 5

2.4. Оценка безопасности движения методом коэффициентов аварийности. 6

3. Учет влияния дорожных условий на эмоциональное напряжение водителей. 7

3.1. Психологическая безопасность дороги. 8

3.2. Возможности водителя в восприятии элементов дорожной обстановки. 8

3.3. Восприятие водителем кривых в плане. 9

3.4. Влияние дорожных условий на утомление водителей. 9

3.5. Учет влияния дорожных условий на эмоциональное напряжение водителя. 10

3.6. Время реакции водителя. 10

4. Требования к элементам плана и продольного профиля. 11

4.1. Общие принципы трассирования автомагистралей. 11

4.2. Расстояние видимости поверхности дороги. 12

4.3. Ограничение длин прямых. 13

4.4. Радиусы кривых в плане. 14

4.5. Требования к параметрам вертикальных кривых. 15

5. Обеспечение зрительной плавности автомагистралей. 16

5.1. Критерии зрительной плавности дороги. 16

5.2. Определение экстремальных точек в перспективном изображении дороги. 20

5.3. Клотоидное трассирование. 21

5.4. Рациональные сочетания элементов плана трассы.. 24

6. Учет погодно-климатических условий при назначении параметров и транспортно-эксплуатационных характеристик автомагистралей. 25

6.1. Общие положения. 25

6.2. Определение расчетного периода года по условиям движения автомобилей и расчетных состояний поверхности дороги. 27

6.3. Последовательность проектирования дорог с учетом влияния климата на состояние поверхности дорог и условия движения. 30

6.4. Назначение параметров и характеристик автомагистралей и оценка их влияния на обеспеченность расчетной скорости в неблагоприятные периоды года. 32

6.5. Оценка влияния отдельных метеорологических факторов на обеспеченность расчетной скорости. 41

6.6. Методика и обобщенный показатель оценки и прогнозирования совместного влияния метеорологических условий, параметров дороги и ее состояния на обеспеченность расчетной скорости. 44

7. Требования к элементам поперечного профиля. 49

7.1. Число полос движения, ширина и конструкция проезжей части. 49

7.2. Обочины, краевые и остановочные полосы.. 51

7.3. Разделительные полосы.. 53

7.4. Раздельное трассирование. 55

7.5. Откосы земляного полотна. 56

7.6. Конфигурация и расположение водоотводных сооружений. 57

8. Выбор и назначение элементов пересечений на автомагистралях. 58

8.1. Основные положения. 58

8.2. Полосы разгона и торможения. 64

9. Требования к покрытиям.. 65

9.1. Требования к сцепным качествам дорожных покрытий. 65

9.2. Требования к шероховатости покрытий с учетом условий эксплуатации в зимний период. 66

9.3. Выбор типа покрытия с высокими сцепными качествами. 67

9.4. Требования к цвету дорожного покрытия. 68

10. Организация движения на автомагистралях в различных дорожных условиях. 68

10.1. Выбор средств и методов организации движения. 68

10.2. Регулирование скоростей движения на автомагистралях. 69

10.3. Организация движения на пересечениях в разных уровнях. 70

10.4. Организация движения на пересечениях в одном уровне. 71

10.5. Участки изменения ширины проезжей части. 72

10.6. Организация движения при раздельном трассировании. 74

10.7. Организация движения на участках ремонтных работ. 75

10.8. Организация реверсивного движения. 77

11. Инженерное оборудование автомобильных магистралей. 80

11.1. Особенности применения дорожных знаков. 80

11.2. Расстановка информационно-указательных знаков. 81

11.3. Использование знаков со сменной информацией. 83

11.4. Применение светофоров. 86

11.5. Особенности применения разметки. 87

11.6. Особенности применения ограждений и направляющих столбиков. 87

11.7. Мероприятия по снижению транспортного шума. 90

11.8. Требования к освещению.. 93

12. Автоматизированные системы управления движением на автомагистралях. 94

12.1. Классификация систем управления, этапы разработки и внедрения. 94

12.2. Технические средства, применяемые в системах управления движением.. 97

12.3. Выбор стратегии управления движением.. 100

13. Обслуживание движения на автомобильных магистралях. 104

13.1. Общие положения. 104

13.2. Размещение сооружений обслуживания. 104

13.3. Размеры сооружений обслуживания. 106

13.4. Организация мест стоянок автомобилей у сооружений обслуживания и подъездов к ним.. 106

Приложение 1. Справочные данные. 107

Приложение 2. Нормативы расчетных показателей предприятий обслуживания. 108

Приложение 3. Пример расчета вместимости сооружений обслуживания и стоянок при них. 109

Список литературы.. 109

 

 




ГОСТЫ, СТРОИТЕЛЬНЫЕ и ТЕХНИЧЕСКИЕ НОРМАТИВЫ.
Некоммерческая онлайн система, содержащая все Российские Госты, национальные Стандарты и нормативы.
В Системе содержится более 150000 файлов нормативно-технической документации, действующей на территории РФ.
Система предназначена для широкого круга инженерно-технических специалистов.

Рейтинг@Mail.ru Яндекс цитирования

Copyright © www.gostrf.com, 2008 - 2026