Крупнейшая бесплатная информационно-справочная система онлайн доступа к полному собранию технических нормативно-правовых актов РФ. Огромная база технических нормативов (более 150 тысяч документов) и полное собрание национальных стандартов, аутентичное официальной базе Госстандарта. GOSTRF.com - это более 1 Терабайта бесплатной технической информации для всех пользователей интернета. Все электронные копии представленных здесь документов могут распространяться без каких-либо ограничений. Поощряется распространение информации с этого сайта на любых других ресурсах. Каждый человек имеет право на неограниченный доступ к этим документам! Каждый человек имеет право на знание требований, изложенных в данных нормативно-правовых актах!

  


 

МВД СССР

Всесоюзный
научно-исследовательский институт
безопасности
дорожного движения

СОГЛАСОВАНО
с Главным управлением Госавтоинспекции
МВД
СССР

МЕТОДИЧЕСКИЕ РЕКОМЕНДАЦИИ
ПО
УСТАНОВКЕ ЗНАКОВ
ОГРАНИЧЕНИЯ
СКОРОСТИ
НА
АВТОМОБИЛЬНЫХ
ДОРОГАХ

(Нормирование скорости движения)

Москва 1983

Ограничение скорости движения, действующее в нашей стране, в целом отвечает состоянию дорожной сети. Однако на опасных участках дорог возникает необходимость введения дополнительного местного ограничения. Прежде всего - это участки дорог, проходящие через населенные пункты, расположенные на кривых в плане малого радиуса, а также участки с недостаточной видимостью, узкой проезжей частью и низким коэффициентом сцепления колеса автомобиля с покрытием. Проведение мероприятий по ликвидации опасных участков дорог в короткие сроки связано с определенными трудностями, поэтому обоснованное местное ограничение скорости является одним из эффективных средств регулирования дорожного движения.

Методические рекомендации предназначены для работников ГАИ и служб эксплуатации автомобильных дорог.

Рекомендации подготовлены М.Б. Афанасьевым, Б.Н. Баваровым, В.В. Новизенцевым.

1. Общие положения

1.1. Ограничение скорости - один из наиболее распространенных методов регулирования дорожного движения, который применяется для повышения уровня его безопасности во многих странах мира (приложение 1).

1.2. Ограничение скорости движения может быть общим или местным.

1.3. Общее ограничение вводится на всей дорожной сети страны с учетом состояния дорог, категории транспортных средств и классификации водителей. Такое ограничение скорости в СССР было введено Правилами дорожного движения с 1 января 1976 г.

1.4. Местное ограничение скорости распространяется на отдельные опасные участки дорог. Это участки, при въезде на которые коэффициент безопасности наиболее быстроходных автомобилей (отношение скорости на данном участке к скорости на подходах к нему) меньше 0,6, а также участки с интенсивным движением пешеходов и зоны ремонтных работ и т.п.

1.5. Величину местного ограничения скорости следует выбирать на уровне 85 %-ной обеспеченности по кумулятивной кривой фактически наблюдаемых скоростей движения на рассматриваемом участке по методике, приведенной в приложении 2.

1.6. На подходах к опасным участкам дорог знак 3.24 «Ограничение максимальной скорости» целесообразно устанавливать совместно с предупреждающим знаком, информирующим водителей о причинах вводимого ограничения. Например, на кривой в плане знак 3.24 устанавливается со знаком 1.11.1 или 1.11.2 (рис. 1).

1.7. Установка знака ограничения скорости, как правило, должна рассматриваться в качестве временной меры до устранения причин, вызвавших необходимость такого ограничения.

Рис. 1. Пример расположения предупреждающего и запрещающего знаков на полной опоре

1.8. Знак 3.24 «Ограничение максимальной скорости» следует устанавливать с табличкой 7.5.4, указывающей время его действия, если ограничение вводится на определенные часы, например, у школ, заводских проходных и т.п.

1.9. Минимальный предел ограничения скорости на дорогах не должен быть ниже 40 км/ч, кроме случаев, когда ограничение вводится на участках со скользким покрытием (гололедица, снежный накат).

1.10. Если максимально допустимая скорость ниже установленной Правилами дорожного движения, ограничение распространяется на весь транспортный поток.

2. Местное ограничение скорости на опасных участках дорог

2.1. Величина допустимой скорости движения в населенных пунктах зависит от их протяженности, расстояния от края проезжей части до линии застройки (табл. 1), интенсивности пешеходного движения и т.п.

Таблица 1

Расстояние от края проезжей части до линии застройки, м

Допустимая скорость (км/ч) в населенных пунктах протяженностью

менее 1 км

более 1 км

Менее 5

50

40

5 - 10

60

50

10 - 15

60

60

15 - 25

70*

60

25 - 35

80**

70*

* Ограничение скорости в населенных пунктах, обозначенных знаком 5.24 (с голубым фоном).

** Ограничение скорости для легковых автомобилей и междугородных автобусов.

2.2. Допустимую скорость движения в зоне пешеходных переходов, расположенных в населенных пунктах, рекомендуется определять с учетом интенсивности движения пешеходов:

Интенсивность движения пешеходов, чел/ч          Допустимая скорость, км/ч

Менее 50                                                                        60

50 - 100                                                                           50

Более 100                                                                        40

2.3. В населенных пунктах, где в непосредственной близости от проезжей части дороги расположены магазины, столовые и т.д., а стоянки для автомобилей не оборудованы, скорость движения рекомендуется ограничивать до 50 км/ч. При интенсивном движении пешеходов (более 100 чел/ч) предел допустимой скорости движения следует устанавливать также с учетом интенсивности их движения (см. п. 2.2).

2.4. Если протяженность участка между населенными пунктами не превышает 2 км и фактические скорости движения больше, чем в населенных пунктах, то при интенсивном движении (более 500 авт/ч) на таком участке дорог следует запретить обгон.

2.5. Расстояние видимости - важнейший показатель транспортно-эксплуатационных качеств дорог. Во многих случаях он определяет выбор безопасной скорости движения.

2.6. Величину ограничения скорости на участках дорог с недостаточной видимостью (кривые в плане и профиле) следует определять исходя из минимального расстояния видимости, обеспечивающего безопасность движения при данной скорости (видимость встречного автомобиля1):

1 Видимость встречного автомобиля - расстояние, на котором предмет, установленный на высоте 1,2 м над проезжей частью, виден наблюдателю (глаз его находится на высоте 1,2 м).

Видимость встречного автомобиля, м                    Допустимая скорость движения, км/ч

Менее 100                                                                     40

100 - 120                                                                        50

120 - 150                                                                        60

150 - 200                                                                        70

200 - 250                                                                        80*

* Ограничение скорости только для легковых автомобилей и междугородных автобусов.

2.7. На кривых в плане малого радиуса с обеспеченной видимостью допускается применение знака 5.18 «Рекомендуемая скорость». Значение скорости в этом случае определяется по фактически наблюдаемым скоростям движения 50 %-ной обеспеченности (см. приложение 2).

2.8. В целях повышения пропускной способности на участках затяжных подъемов, имеющих дополнительную полосу, необходимо регламентировать минимальную скорость движения по полосам.

2.9. Значение минимально допустимой скорости движения по левой полосе в сторону подъема (рис. 2) определяют с учетом его длины:

Длина подъема, км                          Минимально допустимая скорость движения

по левой полосе, км/ч

0,5 - 0,7                                                                   60

0,7 - 1,0                                                                   50

Более 1,0                                                                 40

Значение установленной скорости указывают на знаке 5.8.3.

2.10. Ограничение скорости движения на спусках целесообразно вводить, если спуск заканчивается кривой в плане малого радиуса, мостом с шириной проезжей части, равной или меньшей ширине проезжей части дороги и т.д. При определении максимального предела ограничения скорости в конце спусков необходимо учитывать дорожные условия:

Дорожные условия в конце спуска             Допустимая скорость, км/ч

Радиус кривой, м:

менее 100                                                       40

100 - 200                                                        50

200 - 400                                                        60

Ширина проезжей части

малого моста и дороги

равна                                                              60

меньше на 1 м                                               40

Рис. 2. Применение знака 5.8.3 для введения минимально допустимой скорости движения по левой полосе

2.11. На прямых горизонтальных участках дороги перед малыми мостами с узкой проезжей частью максимально допустимая скорость определяется для всего транспортного потока:

Ширина проезжей части моста и дороги                      Допустимая скорость, км/ч

Равна                                                                                  70

Меньше на 1 м                                                                   50

2.12. Предел ограничения скорости на мокром покрытии выбирается с учетом следующих значений коэффициента сцепления (j):

50 км/ч при j = 0,35 ¸ 0,45;

40 км/ч при j = 0,25 ¸ 0,35.

2.13. Дополнительное средство нормирования скорости и повышения уровня безопасности дорожного движения в определенных условиях - частичное или полное запрещение обгонов.

2.14. Ограничение обгонов должно вводиться на основе анализа интенсивности и состава транспортного потока, геометрических элементов дороги, фактической видимости, погодно-климатических условий, состояния покрытия и т.д.

2.15. Периоды, на которые вводится ограничение обгонов, должны определяться с учетом изменения интенсивности движения (табл. 2)

Таблица 2

Вводимая мера

Ширина проезжей части, м

Интенсивность (авт/ч), свыше которой рекомендуется ограничивать обгон при состоянии покрытия

сухом

мокром

Запрещение обгона грузовым автомобилям

6,0 - 6,5

300

170

7,0 - 7,5

500

300

9,0 - 9,5

700

400

Полное запрещение обгона

6,0 - 6,5

500

300

7,0 - 7,5

750

500

9,0 - 9,5

800

700

3. Введение повышенного предела ограничения скорости вне населенных пунктов

3.1. Скорость транспортных средств может быть увеличена на участках дорог, где условия обеспечивают безопасность движения с более высокими скоростями (п. 9.5 Правил дорожного движения). На таких участках устанавливают соответствующие дорожные знаки.

3.2. Повышенные пределы скорости (для легковых автомобилей - до 110 км/ч, грузовых - до 80 км/ч), как правило, вводятся на дорогах, имеющих не менее четырех полос для движения в обоих направлениях, разделительную полосу и пересечения в разных уровнях. При этом устанавливается знак 3.24 с табличками 7.4.1 и 7.4.3 (рис. 3).

3.3. Введение повышенного предела скорости допускается и на дорогах с четырьмя полосами движения, проходящими через населенные пункты, при наличии разделительной полосы и отсутствии пересечений в одном уровне. В этом случае величину верхнего предела скорости определяют на основе анализа данных о дорожно-транспортных происшествиях и режимах движения.

Рис. 3. Применение знака 3.24 с табличками 7.4.1 и 7.7.3 для введения повышенного предела скорости движения на автомагистралях

4. Ограничение скорости в местах проведения работ

4.1. В целях обеспечения безопасности дорожного движения в зоне ремонтных работ, как правило, возникает необходимость ограничения скорости движения транспортных средств.

4.2. Непосредственно в зоне работ на дорогах вне населенных пунктов ограничивать скорость ниже 40 км/ч нецелесообразно. Более низкие пределы скорости допускается вводить в тех случаях, когда характер ремонтных работ и качество покрытия не обеспечивают безопасности дорожного движения с этой скоростью.

4.3. На подходах к участку, где проводятся работы следует вводить ступенчатое ограничение скорости движения. Оптимальный интервал скоростей между двумя последовательно установленными знаками - 20 км/ч. Знаки располагают на расстоянии 150 - 200 м.

4.4. Выбор допустимой скорости движения зависит от характера и места работ (обочина, полоса движения, разделительная полоса и т.д.).

4.5. При ремонтных работах на обочине двухполосных дорог движение рекомендуется организовывать по схеме (рис. 4). Скорость движения на подходах к таким участкам должна быть ограничена до 50 км/ч.

4.6. Если ремонтные работы ведутся на одной из полос двухполосной дороги, транспортные средства пропускают по свободной полосе в обоих направлениях (рис. 5). Для постепенного ограничения скорости движения автомобилей за 400 м до начала ремонтируемого участка устанавливается знак 3.24 со значением скорости 60 км/ч, а за 200 м - со значением 40 км/ч.

Рис. 4. Организация движения при ремонтных работах на обочине двухполосных дорог

Рис. 5. Организация движения при ремонтных работах на полосе движения двухполосной дороги

4.7. При ремонтных работах на одной полосе трехполосной дороги движение организуют по схеме, приведенной на рис 6. За 400 м до начала опасного участка необходимо установить знак 3.24 со значением скорости 60 км/ч, а за 200 м - со значением 40 км/ч.

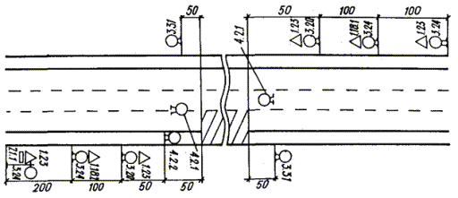
4.8. Расстановка знаков, предупреждающих о ремонтных работах на внешней полосе четырехполосной дороги с разделительной полосой, осуществляется по рекомендуемой схеме (рис. 7). Для ступенчатого ограничения скорости за 500 м до начала участка устанавливается знак 3.24 со значением скорости 70 км/ч, а за 350 м - со значением 50 км/ч.

Рис. 6. Организация движения при ремонтных работах на полосе движения трехполосной дороги

Рис. 7. Организация движения при ремонтных работах на четырехполосной дороге с запрещением движения по одной полосе

Если интенсивность движения по левой полосе превышает 400 авт/ч и в составе потока имеются грузовые (более 40 %), а также крупногабаритные автомобили, дорожные знаки, установленные на обочине, должны быть продублированы на разделительной полосе.

4.9. При дорожных работах, проводимых на половине проезжей части четырехполосной дороги с разделительной полосой, знак 3.24 устанавливается за 300 м до начала участка со значением скорости 60 км/ч, а за 100 м - со значением 40 км/ч (рис. 8).

4.10. Указатель перестроения на другую проезжую часть рекомендуется изготавливать по аналогии со знаком 5.31. «Схема объезда» (на желтый фон наносятся обозначения черного цвета).

Рис. 8. Организация движения при ремонтных работах на четырехполосной дороге с запрещением движения по двум полосам

Приложение 1

Эффективность систем ограничения скорости, существующих в различных странах

Во многих странах, начиная с 1974 г. наблюдается тенденция к снижению числа погибших в ДТП (табл. 3). В значительной степени это обусловлено ограничением скорости во время энергетического кризиса. Установлено, что в случае возникновения ДТП при скорости 100 км/ч вероятность смертельного исхода в 4 раза выше, чем при скорости 70 км/ч. В США, благодаря введению ограничения скорости, только в период с 1974 по 1977 г. была сохранена жизнь 16 тыс. человек. В СССР скорость на автомобильных дорогах ограничена с 1 января 1976 г. Анализ аварийности за 1976 - 1980 гг. позволяет предположить, что показатели аварийности в среднем стабилизировались на уровне 1975 г.

Положительный эффект от введения ограничения скорости достигается лишь в том случае, если водители соблюдают установленные скоростные пределы, и на дорогах организован постоянный контроль за скоростным режимом.

Об этом свидетельствуют итоги Всесоюзного рейда «Скорость», проведенного с 1 по 10 июля 1977 г. в соответствии с указанием МВД СССР от 18 марта 1977 г. 41. За этот период количество ДТП, возникших по вине водителей, снизилось на 12 % по сравнению с показателями за аналогичный период 1976 г., погибших - на 9 % и раненых - на 11,7 %. Количество происшествий, возникших вследствие превышения установленной скорости, сократилось на 16,8 %, а число погибших и раненых в них - соответственно на 18 и 14,4 %.

Из-за ослабления контроля за скоростным режимом на одной из дорог Московской области (1977 г.) средняя скорость движения по сравнению с 1976 г. увеличилась на 9,6 %, причем скорость превысили 11 % водителей легковых автомобилей и 15 % грузовых. Это обстоятельство сказалось и на основных показателях аварийности. За год количество ДТП, число погибших и раненых в них увеличилось соответственно на 21; 12,8 и 35 %.

Наблюдения показывают, что ограничение скорости способствует не только снижению уровня аварийности, но и формированию однородного транспортного потока благодаря уменьшению диапазона между максимальными и минимальными скоростями. Скорость сообщения (средняя скорость прохождения маршрута с учетом задержек в пути) остается неизменной или снижается, но незначительно.

Таблица 3

Страна

Год введения ограничения

Ограничение скорости для легковых автомобилей, км/ч

Количество погибших, тыс. чел.

1973

1974

1975

1976

1977

1978

1979

1980

1981

США

1973

88

55,6

46,2

46,6

45,4

46,88

50,0

51,1

52,6

-

ФРГ

1973

100

16,3

14,6

14,9

14,8

14,97

14,66

13,2

13,0

11,8

Франция

1974

90

15,5

14,2

13,2

13,6

13,1

12,8

12,8

12,5

12,4

Италия

-

100

10,7

9,6

9,5

8,9

8,22

8,0

8,3

8,5

-

Япония

1973

60, 100

14,6

11,4

10,8

9,7

8,9

8,8

8,5

8,8

8,6

Австрия

1973

100

2,5

2,2

2,2

1,9

1,86

1,88

1,9

1,74

-

Бельгия

1971

90

2,9

2,7

2,5

2,5

2,5

2,63

2,33

2,4

-

Финляндия

1973

80

1,1

0,86

0,91

0,8

0,7

0,6

0,65

0,55

-

ВНР

1975

100

1,8

1,8

1,8

1,9

1,6

1,8

2,0

1,75

1,63

ГДР

1964

90

2,1

2,0

2.1

2,3

2,42

2,64

2,3

2,0

2,0

Окончание табл. 3

Страна

Изменение числа погибших

% 1974 г. к 1973 г.

%1975 г к 1974 г

% 1976 г. к 1975 г.

% 1977 г. к 1976 г.

% 1978 г. к 1977 г.

% 1979 г. к 1978 г.

% 1980 г. к 1979 г.

% 1981 г. к 1980 г.

США

-17,0

+0,9

-2,6

+3,2

+6,3

+2,2

+2,9

-

ФРГ

-10,4

+2,1

-0,7

+0,1

-2,1

-10,3

-1,5

-9,2

Франция

-8,8

-6,9

+3,0

-3,7

-2,3

-4,7

+2,5

-0,8

Италия

-10,3

-1,1

-6,3

-0,7

-2,7

+3,75

+2,4

-

Япония

-22,0

-5,3

-10,2

-8,2

-1,1

-3,4

+3,5

-2,3

Австрия

-12,0

0

-13,6

-3,1

+1,0

+1,1

-10,5

-

Бельгия

-7,0

-14,8

+8,6

±0

+4,0

-1,5

+4,3

-

Финляндия

-18,2

+5,2

-12,1

-12,2

-14

+8,3

-15,4

-

ВНР

-

+5,6

-15,8

+12,5

+11

-2,5

-11,1

-

ГДР

-4,8

+5,0

+9,5

+5,2

+9,1

-1,5

-13

0

Ограничение скорости оказывает существенное влияние и на экономию топлива. По данным США, реальный расход топлива благодаря введению ограничения скорости движения в 1974 г. уменьшился по сравнению с 1973 г. на 3,7 млрд. л. Расчеты, выполненные во ВНИИБД МВД СССР после введения ограничения скорости в 1976 г., показали, что по сравнению с 1975 г. экономический эффект от снижения расхода топлива в целом по стране составил около 45 млн. руб. Данные, полученные в ГДР, свидетельствуют, что снижение предела скорости позволило сократить удельный расход топлива в среднем на 0,6 л/100 км для легкового автомобиля, на 0,8 л/100 км - для мотоцикла, на 0,3 л/100 км - для грузового автомобиля.

В ходе исследования, проведенного в 1981 - 1982 гг. ВНИИБД МВД СССР, установлено, что на двухполосных дорогах при введении ограничения скорости движения 60 км/ч вместо 70 км/ч (при интенсивности движения 250 - 400 авт/ч в одном направлении) экономия топлива для грузовых автомобилей достигает 4,5 ¸ 5 %.

В настоящее время ограничение скорости действует в большинстве стран мира, причём применяется как общее, так и местное ограничение скорости (табл. 4). Система ограничения скорости учитывает во многих случаях категорию дорог, характеристики транспортных средств, другие факторы.


Таблица 4

Категория дороги

Категория транспортного средства

Ограничение скорости, км/ч

ФРГ

Австрия

НРБ

Дания

США

Финляндия

Франция

ВНР

Италия

ГДР

Англия

Швеция

СССР

Автомагистрали

А

130*

130

100

100

88

120

130

80

130

100

112

110

70

В

130*

130

120

100

88

120

130

100

140

100

112

110

80

С

80

80

100

70

88

90

90

80

80

80

112

90

70

Д

80

100

100

70

88

100

130

80

80

80

112

90

70***

Автомобильные дороги

 

 

 

 

 

 

 

 

 

 

 

 

 

 

А

130*

100

70

80

88

80**

110

70

130

80

112

110

70

В

130

100

80

80

88

80**

110

80

140

80

112

110

90

С

80

70

70

70

88

80

110

70

60

80

64

90

70

Д

80

80

70

70

88

80

110

70

60

80

80

90

70***

Прочие

А

100**

100

70

80

88

80**

90

70

100

80

97

70

70

В

100**

100

80

80

88

80**

90

80

110

80

97

70**

90

С

80

70

70

70

88

80

90

70

60

80

64

70

70

Д

80

80

70

70

88

80

90

70

60

80

80

70

70***

* Максимальная скорость, превышать которую не рекомендуется.

** Дорожные знаки могут разрешать более высокую скорость движения.

*** Междугородные автобусы могут двигаться со скоростью 90 км/ч.


Приложение 2

Методика обработки данных наблюдений за скоростями движения автомобилей

Необходимое количество замеров скоростей движения определяют с учетом интенсивности движения. С ее увеличением разница в значениях скоростей отдельных автомобилей в потоке снижается, поэтому количество замеров можно уменьшить:

Интенсивность движения                     Необходимое количество замеров

в одном направлении, авт/ч

Менее 50                                                    150

50 - 100                                                      100

100 - 200                                                    70 - 100

Более 200                                                   50 - 70

Полученные результаты заносят в таблицу (табл. 5) и обрабатывают методами математической статистики.

Таблица 5

Разряды, км/ч

Сводка

Частота, ед.

Частость, %

Накопленная частость, %

35 - 40

 

3

2,2

2,2

40 - 45

 

19

13,8

16,0

45 - 50

 

20

14,5

30,5

50 - 55

 

29

21,0

51,5

55 - 60

 

44

31,9

83,4

60 - 65

 

11

8,0

91,4

65 - 70

 

6

4,3

95,7

70 - 75

 

5

3,6

99,3

75 - 80

 

1

0,7

100

Всего                                                138

 

Используя данные табл. 5, строят кривую распределения и кумулятивную кривую, на основании которых делаются выводы о скоростях движения. При построении кривой распределения (рис. 9, а) по вертикальной оси откладывают значения частостей, по горизонтальной - разряды. Кумулятивную кривую значений скоростей движения строят на основе данных о величине накопленных частостей в каждом разряде (рис. 9, б). Значения скоростей при 85 %-ной обеспеченности принимают за максимально допустимые на данном участке и по ним вводят местное ограничение скорости движения. Значения скорости при 50 %-ной обеспеченности принимают в случае установки знаков 5.18 «Рекомендуемая скорость» (на рис. 9 такое значение соответствует скорости 51 км/ч. В последующем это число округляется).

Рис. 9. Обработка результатов наблюдений:

а - кривая распределения; б - кумулятивная кривая

СОДЕРЖАНИЕ

 

 




ГОСТЫ, СТРОИТЕЛЬНЫЕ и ТЕХНИЧЕСКИЕ НОРМАТИВЫ.
Некоммерческая онлайн система, содержащая все Российские Госты, национальные Стандарты и нормативы.
В Системе содержится более 150000 файлов нормативно-технической документации, действующей на территории РФ.
Система предназначена для широкого круга инженерно-технических специалистов.

Рейтинг@Mail.ru Яндекс цитирования

Copyright © www.gostrf.com, 2008 - 2026