Крупнейшая бесплатная информационно-справочная система онлайн доступа к полному собранию технических нормативно-правовых актов РФ. Огромная база технических нормативов (более 150 тысяч документов) и полное собрание национальных стандартов, аутентичное официальной базе Госстандарта. GOSTRF.com - это более 1 Терабайта бесплатной технической информации для всех пользователей интернета. Все электронные копии представленных здесь документов могут распространяться без каких-либо ограничений. Поощряется распространение информации с этого сайта на любых других ресурсах. Каждый человек имеет право на неограниченный доступ к этим документам! Каждый человек имеет право на знание требований, изложенных в данных нормативно-правовых актах!

  


 

МИНИСТЕРСТВО НАРОДНОГО ОБРАЗОВАНИЯ БССР

Республиканский учебно-методический кабинет

ОДОБРЕНО

Республиканским учебно-

методическим кабинетом

«20» июня 1989 г.

ПРОЕКТИРОВАНИЕ ТЕХНОЛОГИЧЕСКОЙ КАРТЫ
НА МОНТАЖ ЖЕЛЕЗОБЕТОННОГО КАРКАСА
ОДНОЭТАЖНОГО ПРОМЫШЛЕННОГО ЗДАНИЯ

Методические рекомендации
для
средних специальных учебных заведений
по
специальности 1202

«ПРОМЫШЛЕННОЕ И ГРАЖДАНСКОЕ СТРОИТЕЛЬСТВО»

(Ч. 1)

Минск - 1989

Составили В.Д. Соломахин, к.т.н. доц. Белорусского политехнического института.

Н.Г. Геллер, ст. преподаватель Минского архитектурно-строительного техникума.

Рецензенты В.В. Гапонов, ст. преподаватель кафедры технологии строительного производства Белорусского политехнического института.

П.П. Зуевский, преподаватель Минского индустриально-педагогического техникума.

Введение

Данные Методические рекомендации предназначены для преподавателей и учащихся средних специальных учебных заведений специальностей 1202 «Промышленное и гражданское строительство», 1225 «Сельскохозяйственное и гражданское строительство», а также могут быть использованы преподавателями и учащимися других специальностей строительного профиля.

Работа состоит из двух частей.

В первой части содержатся рекомендации для учащихся по проведению практических занятий по теме «Монтаж строительных конструкций» предмета «Технология и организация строительного производства», приводится алгоритм выполнения практической работы, даются вопросы для самоконтроля.

Во второй части будут рассмотрены вопросы деятельности преподавателя по организации и методическому обеспечению практических занятий.

Обе части выполнены в соответствии с основными положениями теории поэтапного формирования умственных действий применительно к проблеме управления познавательной деятельностью учащихся.

Рис. 1. Последовательность выполнения практической работы «Проектирование технологической карты на монтаж железобетонного каркаса одноэтажного промышленного здания»

Слово «технология» произошло от двух греческих слов «техно» - искусство, мастерство, и «логос» - учение. Строить технологично - значит строить качественно.

Главная цель работы - научить учащихся технологически грамотно мыслить, разрабатывать такую проектно-технологическую документацию, которой можно пользоваться в строительном производстве.

Для успешного выполнения работы надо хорошо знать учебный материал темы «Монтаж строительных конструкций», структуру и содержание технологических карт. Практическая работа выполняется бригадами учащихся по вариантам.

Ознакомьтесь по рис. 1 с составом и последовательностью выполнения работы. Решив поставленные задачи, вы научитесь разрабатывать технологическую карту.

В каждом разделе данных Методических указаний есть вопросы для самоконтроля. Прочтите их. Если почувствуете, что вам все понятно, приступайте к выполнению соответствующего раздела работы. Решения выбираются всеми членами бригады и согласовываются с преподавателем.

Знания и умения, приобретенные при выполнении этой работы, окажут вам помощь в будущей профессиональной деятельности, а также при курсовом и дипломном проектировании.

Внимание! Это - начало работы. Главное - не спешить. Внимательно изучите исходные данные.

Анализ исходных данных позволит вам составить конструктивно-планировочную характеристику здания:

- размеры здания ...;

- количество пролетов ...;

- ширина пролета ...;

- отметка верха колонн ...;

- отметка верха балок (ферм) ...;

- габаритные размеры конструкций:

колонны ...;

балки (фермы) ...;

плиты покрытия ...;

- масса наиболее тяжелого элемента ...;

- степень стесненности монтажной площадки ...;

- наличие особых условий ... .

1. С какой целью определяются отметки верха колонн и балок (ферм)?

2. Что дает определение массы наиболее тяжелого элемента?

3. Как влияет стесненность строительной площадки на организацию производства работ?

С этого момента начинается проектирование технологической карты. Состав работ входит в раздел I «Область применения».

Определяем технологическую последовательность установки железобетонных конструкций со всеми сопутствующими и вспомогательными работами.

1. Допускается ли монтаж элементов покрытия без заделки стыков колонн с фундаментами?

2. Чем обеспечивается временная устойчивость смонтированных колонн, ферм или балок, плит покрытий?

3. Какие работы относятся к основным, сопутствующим и вспомогательным?

Составляем ориентировочный перечень всех работ по монтажу железобетонного каркаса здания, который заносим в практическую работу:

Раздел I. ОБЛАСТЬ ПРИМЕНЕНИЯ

В технологической карте рассматриваются следующие работы:

1. _____________________________________________

2. ______________________________________________

Далее разрабатывается раздел II технологической карты «Технология и организация строительного процесса».

Выполнение этой чести работы потребует от вас внимательности и аккуратности. Математические действия несложны. Полученные данные будут нужны при решении последующих задач.

Составляя «Ведомость объемов работ», руководствуемся следующими правилами:

1. Объемы работ по монтажу строительных конструкций подсчитываем по схемам и спецификации (исходные данные задания) в единицах измерения, принятых в ЕНиР.

1. Почему в единицах ЕНиР?

2. При составлении табл. 1 указываем в технологической последовательности установку железобетонных элементов и сопутствующие работы.

3. При расчете объемов работ по электросварке стыков длину швов принимаем в м на 1 элемент:

стропильная балка пролетом 12 м                                0,72

то же 18 м                                                                        1,02

ферма покрытия пролетом 18 м                                    1,00

то же 24 м                                                                        1,20

панель покрытия для шага 6 м                                      0,30

то же 12 м                                                                        0,45

4. Число стыков для заделки колонн в стакане фундамента определяется по количеству колонн.

5. При расчете объемов работ по заливке швов плит покрытия длина швов определяется по формуле:

                                                    (1)

где n1, n2 - соответственно число продольных и поперечных швов в покрытии;

lпрод, lпоп - длина одного продольного и поперечного швов покрытия, м.

6. Полученные данные сводим в таблицу.

Таблица 1

Ведомость сборных элементов и расчет объемов сопутствующих работ

Сборные элементы

Марка элемента

Единица измерения

Количество

Эскиз элемента с размерами, формулы подсчета объемов работ

Объем, м3

Масса, т

элемента

общий

элемента

общая

Внимание! Выбор метода производства работ - основной вопрос при проектировании технологической карты.

Напоминаем, что в зависимости от последовательности установки конструктивных элементов можно выбрать следующие методы:

1. Дифференцированный (раздельный), при котором монтируют все колонны с выверкой и заделкой стыков, затем фермы или балки покрытия, после них плиты покрытия (рис. 2а).

3. Комплексный (сосредоточенный), при котором устанавливают, выверяют и закрепляют все несущие конструкции и связи каждой ячейки здания (рис. 2б).

3. Комбинированный, при котором монтируют все колонны (как при дифференцированном методе), а затем фермы или балки и плиты покрытия отдельных ячеек здания (как при комплексном методе). Комбинированный метод сочетает элементы первых двух (рис. 2в).

Рис. 2. Методы монтажа конструкций промышленного здания:

а) дифференцированный;

б) комплексный;

в) комбинированный.

Цифрами показана последовательность монтажа конструкций.

4. По направлению движения крана относительно пролета здания методы производства работ могут быть продольными и поперечными.

При выборе метода руководствуются следующими правилами:

1. Дифференцированный метод обеспечивает большую производительность труда и лучшее использование кранов при установке одноименных конструкций с помощью одинаковых захватных приспособлений. Недостатки - большое число проходов крана и увеличение сроков строительства.

2. Комплексный метод обеспечивает фронт работ для последующих строительных процессов и монтажа технологического оборудования (меньшие сроки строительства). Недостатки - увеличение сроков монтажа за счет времени на твердение бетона до 70 % проектной прочности стыка железобетонной колонны и фундамента, частая смена грузозахватных приспособлений;

3. Комбинированный метод монтажа позволяет использовать преимущества обеих методов.

Проанализируем исходные данные задания:

- размеры здания;

- схемы расположения конструктивных элементов;

- характеристики конструктивных элементов;

- состав работ в их технологической последовательности.

Выбираем метод производства работ и записываем:

- наименование метода;

- выделенные монтажные потоки;

- состав работ в каждом потоке.

На этом этапе проверяется технологическое мышление и знание предмета.

Ваша задача:

- выбрать тип монтажного крана (башенный, самоходный);

- рассчитать требуемые параметры для выбора крана;

- обосновать выбор крана по технико-экономическим показателям.

Для решения этой задачи вначале подбираем монтажную оснастку для каждого устанавливаемого элемента. Пользуемся характеристиками монтажной оснастки по табл. 1 приложения 1. Подобранные характеристики монтажной оснастки заносим в табл. 2 практической работы.

Таблица 2

Основные характеристики монтажной оснастки

Монтируемый элемент

Монтажная оснастка

Наименование

Масса, т

Наименование захватных приспособлений

№ позиции по табл. 1 приложения 1

Грузоподъемность, т

Масса, т

Расчетная высота, м

Масса подмостей, расчалок, кондукторов и т.д.

Выбираем тип монтажного крана.

1. Почему для монтажа одноэтажного промышленного здания рациональней применять самоходный стреловый кран?

Приступаем к расчету требуемых параметров самоходного стрелового крана для каждого монтажного потока в отдельности (рис. 3 и 4).

Рис. 3. Аналитический метод определения монтажных характеристик самоходного стрелового крана при монтаже:

а) колонн; б) ферм или балок покрытия; в) плит покрытия.

1. Требуемую грузоподъемность Q крана определяем па формуле:

Q = mэ + mс + mо,                                                           (2)

где mэ - максимальная масса монтируемого элемента, т;

mс - масса захватного приспособления, т;

mо - масса обстройки, т.

2. Минимальное требуемое расстояние от уровня стоянки крана до верха стрелы Нстр определяем по формуле:

Hстр = hо + hз + hэ + hс + hп,                                                 (3)

где hо - превышение опоры монтируемого элемента над уровнем стоянки крана, м;

hз - запас по высоте (не менее 0,5 м);

hэ - высота элемента в монтируемом положении, м;

hс - высота строповки, м;

hп - высота полиспаста в стянутом состоянии, (1 м).

3. Наименьший вылет стрелы lстр определяем аналитическим или графическим способом.

Аналитический расчет производил по формуле:

                                        (4)

где l - половина толщины стрелы на уровне верха монтируемого элемента (приблизительно - 0,3 м);

с - минимальный зазор между стрелой и монтируемым элементом (принимается равным 0,5 ... 1,0 м в зависимости от длины стрелы);

d - расстояние от центра тяжести до края элемента, приближенного к стреле, м;

hш - расстояние от уровня стоянки крана до оси шарнира стрелы (1,5 м);

а - расстояние от оси шарнира стрелы до оси вращения крана (1,5 м).

4. Требуемая наименьшая длина стрелы L определяется по формуле:

                                     (5)

5. Графическим способом вылет стрелы lстр определяется отдельно для установки колонн и для укладки плит покрытия. Для колонн в масштабе вычерчиваем схему плана 2 - 3 ячеек здания. Затем наносим на схему направление движения крана, места стоянок крана и по масштабу измеряем вылет стрелы lстр, м (рис. 4).

Рис. 4. Расположение стоянок монтажных кренов при установке колонн

1. От чего зависят маршруты движения кранов, число их стоянок?

2. Возможны ли другие варианты движения кранов и расположение стоянок, кроме приведенных на рис. 4?

3. Какие требования предъявляются к раскладке конструктивных элементов?

В масштабе строим схему монтажа плит покрытия (рис. 5). В плоскости опирания монтируемого элемента проводим горизонтальную линию длиной 1 м до пересечения с осью стрелы (точка С). Этим фиксируем зону безопасности приближения стрелы к ранее установленным конструкциям. Затем через центр неподвижного блока А и точку С проводим прямую линию до пересечения с горизонталью шарнира стрелы на высоте hш = 1,5 м (точка Д). Расстояние АД - соответствует длине стрелы L, а FE - вылету стрелы lстр.

Рис. 5. Графический метод определения монтажных характеристик самоходного стрелового крана при монтаже плит покрытия

Для балок (ферм) покрытий по данным табл. 2 определяем расчетную грузоподъемность Q и по графику грузоподъемности (приложение 2) проверяем кран на вылет стрелы для второго монтажного потока.

Рассчитанные требуемые параметры кранов сводим в табл. 3. Затем по табл. 1 «Грузовые характеристики гусеничных кранов» (приложение 2) подбираем две марки кранов, которые имеют рабочие параметры, близкие к требуемым. Марки кранов и их рабочие параметры заносим в табл. 3.

Таблица 3

Монтажные характеристики выбранных кранов

Наименование элементов

Обозначение параметров

Расчетные величины

Расчетные параметры кранов

марка

марка

марка

марка

Колонны

Q

 

 

 

 

 

Hстр

 

 

 

 

 

lстр

 

 

 

 

 

L

 

 

 

 

 

Ссеб

 

 

 

 

 

Плиты покрытий

Q

 

 

 

 

 

Hстр

 

 

 

 

 

lстр

 

 

 

 

 

L

 

 

 

 

 

Ссеб

 

 

 

 

 

1. Какая взаимосвязь при выборе крана между его грузоподъемностью, высотой подъема и вылетом стрелы?

2. Какое приспособление позволяет увеличить монтажную зону работы крана без изменения длины основной стрелы?

Задание. Удостоверьтесь в правильности выбора стрелового крана по графикам грузоподъемности (приложение 3).

После технико-экономического сравнения марок кранов производим окончательный выбор: в табл. 3 обводим соответствующие графы.

На этом этапе переходим к проектированию схем производства работ.

Все решения нами приняты:

- по методу производства работ;

- по схемам движения кранов с их стоянками;

- по выбору монтажной оснастки;

- по определению марок кранов и их рабочих параметров.

Проектирование схемы монтажа колонн

На плане здания в пределах трех-четырех ячеек (рис. 6) производим привязку принятых решений:

- наносим направление движения крана,

- раскладываем колонны у места монтажа с учетом схемы подъема колонн и требований правил техники безопасности. Легкие колонны до двух тонн раскладываются вершинами, обращенными к фундаменту, а тяжелые колонны - пятой к фундаменту и переводятся в вертикальное положение способом поворота или скольжения,

- наносим места стоянок кранов с указанием их порядковых номеров,

- вычерчиваем вылет стрелы крана и маркируем группу монтируемых колонн на каждой стоянке: 1-1, 1-2 и т.д., где первая цифра указывает номер места стоянки крана, вторая - последовательность установки колонны.

На разрезе 1-1 изображаем:

- кран на стоянке с указанием вылета стрелы (схематично);

- место складирования колонн;

- строповку колонн и временное ее крепление;

- проектные отметки днища фундаментного стакана, верха смонтированной колонны.

Проектирование схемы монтажа конструкций покрытия

На плане здания в пределах шести-семи ячеек (рис. 7) производим привязку принятых решений:

- в первых двух ячейках вычерчиваем схему уложенных плит покрытия с указанием временного ограждения;

- в четвертой - седьмой ячейках размещаем балки (фермы) и плиты покрытия в рабочем положении. Балки (фермы) устанавливаем в кассетах, плиты покрытия - в штабелях на деревянных прокладках высотой не более 2,5 м;

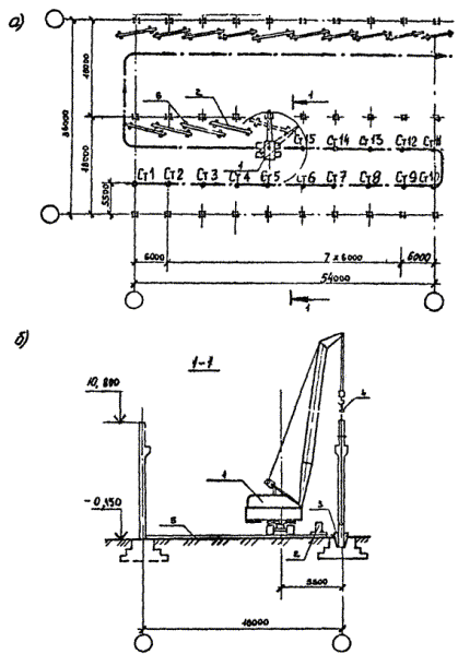
Рис. 6. Технологическая схема монтажа колонн

а) план; б) разрез

→ - направление движения крана при монтаже колонн; 1 - кран гусеничный, МКГ-16М Lстр = 15 м; 2 - колонна; 3 - клиновые вкладыши; 4 - траверса; 5 - бетонная подготовка; 6 - подкладки.

Рис. 7. Технологическая схема монтажа конструкций покрытия: а) план; б) разрез

- направление движения крана при монтаже конструкций покрытия; 1 - кран гусеничный МКГ-40, Lстр = 25,8 м; 2 - плиты покрытия; 3 - стропильные фермы; 4 - бетонная подготовка; 5 - кассета К-8 для складирования ферм; 6 - вертикальная лестница; 7 - оттяжной канат; 8 - траверса; 9 - маршевая лестница; 10 - инвентарная распорка; 11 - временное ограждение; 12 - подкрановая балка.

- наносим направление движения крана;

- в пределах четвертой и последующих ячеек на основании рассчитанного вылета стрелы для установки балки (фермы) указываем место стоянки крана с обозначением его порядкового номера. Нумерацию стоянок осуществляем с первой ячейки. С места рассматриваемой стоянки вычерчиваем смонтированную балку (ферму), приспособления для временного крепления, инвентарные лестницы-стремянки; на основании рабочих параметров в четвертой или пятой ячейках показываем место стоянки крана для монтажа плит покрытия. При этом производим проверку достаточности вылета крана для укладки крайних плит (рис. 8).

«а» определяется по схеме раскладки плит покрытия

Рис. 8. Схема определения достаточности вылета стрелы для укладки крайних плит

На разрезе 1-1 (рис. 7) изображаем:

- места складирования конструкций;

- кран на месте стоянки с привязкой к осям здания (схематично);

- момент установки балки (фермы) в проектном положении с деталировкой: строповкой балки, установкой лестницы-стремянки, оттяжкой;

- проектную отметку установки балки (фермы).

На предыдущем этапе разработаны технологические схемы производства работ. Следующая задача - определение численного и квалификационного состава бригады монтажников для выполнения строительно-монтажных работ в соответствии с технологической картой.

Для определения затрат труда и машинного времени составляем калькуляцию трудовых затрат.

Исходными данными для калькуляции трудовых затрат являются:

- перечни работ, рассматриваемые технологической картой (с. 4 Методических указаний);

- подсчитанные объемы работ (табл. 1).

Таблицу 4 составляем следующим образом:

- в гр. 2 указываем наименование работ в соответствии с перечнем;

- в гр. 6 заносим объемы этих работ в соответствующих единицах измерения.

Далее подсчет трудовых затрат осуществляем по ЕНиР. Сборник Е4. Монтаж сборных и устройство монолитных железобетонных конструкций. Вып. 1. Здания и промышленные сооружения / Госстрой СССР. - М.: Стройиздат, 1987 - 64 с.

Для каждого вида работ по оглавлению ЕНиР находим соответствующий параграф и переносим в гр. 1 табл. 4. Каждый параграф ЕНиР указывает состав работы, состав звена, нормы времени и расценки на единицу измерения данной работы. В гр. 3 и 4 записываем состав звена, в гр. 5 - измеритель, на который установлены нормы времени и расценки, в гр. 7 и 8 - нормы времени, в гр. 11 - расценку.

Нормы времени в маш.-ч. указываются для работ, выполняемых с использованием кранов.

Подсчитываем затраты труда Тр весь объем работ (гр. 9 и 10):

                                                    (6)

где Нв - норма времени, чел.-ч или маш.-ч.;

V - объем работ;

Еи - измеритель объема работ по ЕНиР.

Для каждого вида работ делаем перерасчет на чел.-дн. и маш.м (гр. 9 и 10) путем деления чел.-ч. и маш.-ч. на 8,2 ч., где 8,2 ч - средняя продолжительность смены.

Таблица 4

Калькуляция трудовых затрат

Основание ЕНиР

Наименование работ

Состав звена

Единица измерения

Объем работ

Нормы затрат труда на ед. изм.

Затраты труда на весь объем работ

Расценка, руб.

Заработная плата, руб.

 

профессия, разряд

количество

чел.-ч.

маш.-ч.

чел.-ч.

чел.-дн.

маш.-ч.

маш.-см.

4-1-4 табл. 2 п. 3

Установка колонн массой до 3-х т в стакан фундамента

Монтажник

5

шт.

20

3,7

0,74

74

9

14,8

1,8

2-77

55-40

5р - 1;

4р - 1;

3р - 2;

2р - 1

4-1-25 табл. 1 п. 1

Заделка стыков

Монтажник

2

шт.

20

0,81

-

16,2

2

-

-

0-60,3

12-06

4р - 1;

3р - 1

Итого

11

 

1,8

 

67-46

 

Заработную плату З определяем по формуле:

                                                    (7)

где Р - расценка по ЕНиР, руб.

Трудоемкость (гр. 9 и 10) и заработную плату (гр. 12) на весь объем работ суммируем для последующего определения технико-экономических показателей.

При расчете состава бригады задаемся следующими условиями:

- работы ведутся в две смены;

- выполнение норм выработки на 110 - 115 %;

- продолжительность работ и бригады определяется по продолжительности работы крана.

Продолжительность работы крана Ткр:

                                                (8)

где Тр - итоговое значение затрат машинного времени на весь объем работ (гр. 10), маш.-ч.;

1,1 - коэффициент, учитывающий выполнение норм выработки;

8,2 ч - средняя продолжительность смены;

2 - количество смен.

Для расчета состава комплексной бригады трудоемкость из табл. 4 распределяем по разрядам согласно количественному составу звена.

Таблица 5

Распределение трудоемкости по разрядам

Наименование работы

Общая трудоемкость чел.-ч.

Разряды

2

3

4

5

Итого:

 

 

 

 

 

Работа крана

 

 

 

 

 

Распределив трудоемкость по разрядам, приступаем к расчету состава бригады:

- в гр. 1 и 2 табл. 6 записываем наименование профессии рабочего и разряды. В гр. 3 табл. 5 заносим итоговые значения трудоемкости по каждой профессии и разряду;

- определяем затраты труда в чел.-дн. (гр. 4) путем деления трудоемкости в чел.-ч. на среднюю продолжительность смены, равную 8,2 ч.;

- в гр. 5 записываем подсчитанные затраты чуда в чел.-дн. с учетом выполнения норм на 110 ... 115 %:

- определяем расчетное количество рабочих в бригаде (гр. 6):

                                                          (9)

где Т - затраты труда в чел.-днях с учетом выполнения норм на 110 ... 115 % (гр. 5);

Тк - продолжительность работы крана в днях;

- принимаем количество рабочих по профессиям и разрядам. Дробные цифровые значения округляем до целых чисел.

Суммируем расчетные данные гр. 3, 6, 7 и формируем состав звена.

Монтаж конструкций

Монтажники 5р - чел.

4р - чел.

Заделка стыков

Монтажники 4р - чел.

3р - чел.

Электросварка

Электросварщик 5р - чел.

Итого:       чел.

Таблица 6

Расчет численно-квалификационного состава бригады

Наименование профессии

Разряд

Затраты труда

Затраты труда с перевыполнением нормы, чел.-дн.

Количество человек

чел.-ч.

чел.-дн.

Расчетное

Принятое

Монтажник

+

+

+

+

+

+

 

Электросварщик

+

+

+

+

+

+

 

Итого:

-

+

+

+

+

+

 

Машинист-крановщик

+

+

+

+

+

+

 

В эту часть практической работы входят письменные пояснения к производству работ, запроектированных на рис. 6 и 7:

- доставка, разгрузка и раскладка конструкций;

- количество монтажных потоков и содержание каждого потока;

- тип и марки монтажных кранов с указанием длины стрелы;

- способ установки колонн в стаканы фундаментов, захватные приспособления, подготовка опорных площадок, временные крепления, инструментальная выверка;

- заделка стыков колонны в стакане фундамента;

- подготовка конструкций к монтажным работам на высоте;

- способы установки балок или ферм, захватные приспособления, приваркой закладных изделий, обеспечение устойчивости на период монтажа, закрепление в проектное положение;

- технология замоноличивания стыков колонн и швов покрытия, применяемые механизмы, уход за бетоном;

- предельные отклонения положения элементов при приемке смонтированных конструкций по СНиП III-16-80 гл. 6.;

- указания по безопасному производству монтажных работ в соответствии со СНиП III-16-80, СНиП III-4-80.

Определяем порядок операционного контроля качества работ (табл. 7).

Таблица 7

Схема операционного контроля качества работ

Наименование операций, подлежащих контролю мастером

Контроль качества выполнения операций

состав

способы

время

привлекаемые службы

Монтаж конструкций

 

 

 

 

Внешний осмотр сварных соединений

 

 

 

 

Замоноличивание стыков колонн в фундаментах и заливка швов в покрытии

 

 

 

 

Какие операции контролирует производитель работ?

График выполнения работ - это расчетно-графическая модель монтажного технологического процесса (табл. 8).

Левая часть графика - расчетнаяр. 1 ... 11). В нее заносятся исходные данные и выполненные расчеты. Правая часть - графическая (гр. 12), где вычерчивается линейный график выполнения всех видов работ.

Наша задача: строго соблюдая технологическую последовательность выполнения отдельных процессов, их продолжительность и взаимную увязку во времени, смонтировать железобетонный каркас промышленного здания в минимально короткий срок.

Исходные данные:

- состав, объем работ;

- нормативная трудоемкость, (табл. 4):

- профессионально-квалификационный состав бригады, (табл. 6);

- количество смен работы - две.

График выполнения работ проектируем в следующей последовательности:

- гр. 1, 2, 3, 4, 5 заполняем по данным табл. 4.

- в гр. 1 приводим работы в технологической последовательности по двум потокам:

1-й поток - монтаж колонн и заделка стыков;

2-й поток - монтаж конструкций покрытия, электросварка монтажных стыков и заливка швов.

Объем работ и затраты труда на монтаж балок (ферм) и плит покрытия, электросварочные работы суммируем соответственно виду работ;

- в гр. 8 заносим ранее подсчитанные данные состава звеньев для каждого вида работ;

- гр. 9 заполняется из условия двухсменной работы.

Определяем количество рабочих в бригаде для каждого вида работ: Рр = rp × 2 (гр. 10);

Определяем продолжительность каждого вида работ (гр. 11):

                                                  (10)

Дробные цифровые значения округляем до целых чисел в меньшую сторону.

В правой части (гр. 12) вычерчиваем линейный график каждого вида работ, учитывая монтажные потоки. Над отрезком линейного графика указываем продолжительность работы в днях, сменах и количество рабочих в смену;

На основе выполненного графика производства работ заполняем гр. 6 и 7 принятыми решениями по затратам труда в чел.-дн. и маш.-см. Затраты труда в чел.-дн. подсчитываются умножением дней и смен работы на количество рабочих в смену, затраты труда в маш.-см. - принимаются по графику.

По гр. 4, 5, 6, 7 подсчитываем итоговые значения нормативных и принятых затрат труда.

Таблица 8

График выполнения работ

Материально-технические ресурсы - третий раздел технологической карты. Цель его разработки - обеспечение монтажных работ строительными конструкциями и материалами, машинами, оборудованием, приспособлениями. Потребность определяем раздельно по материалам и машинам.

1. Какие материалы и изделия используются:

- при заделке стыков колонн?

- при электросварке монтажных стыков?

- при заливке швов плит покрытия?

Исходные данные:

- наименование и характеристики конструктивных элементов;

- СНиП IV-2-82. Табл. 7.3, 7.10, 7.11 «Нормы на 100 шт. сборных элементов».

Определяем материалы и изделия, которые потребуются при монтаже железобетонного каркаса промышленного здания.

Таблица 9

Ведомость материалов и изделий

Наименование работ

Единица измерения

Объем работ

Номер табл. по СНиП IV-2-82

Потребные материальные ресурсы

Бетон, м3

Монтажные изделия, т

Электроды, т

на единицу

всего

на единицу

всего

на единицу

всего

Установка колонн массой до ..., т

100 шт.

 

 

 

 

 

 

 

 

Установка балок пролетом до ..., т

100 шт.

 

 

 

 

 

 

 

 

Укладка плит покрытия длиной до ..., м, пл. ..., м2

100 шт.

 

 

 

 

 

 

 

 

Итого:

-

-

-

-

+

-

+

-

+

При определении потребности в бетоне на замоноличивание стыков колонн уточняем глубину их заделки в стакане фундамента. Для этого определяем разность между высотой колонны и отметкой ее верха по исходным данным варианта задания.

По СНиП IV-2-82 определяем нормы расхода материалов и изделий, подсчитываем потребность по каждому виду работ и подводим итог гр. 6, 8, 10.

Составляем таблицу потребности конструкций, материалов и изделий. Наименование и характеристики конструктивных элементов принимаем из табл. 1, материалов и изделий - из табл. 9.

Таблица 10

Ведомость потребности конструкций, материалов и изделий

Наименование

Марка

Единица измерения

Количество

Сборные железобетонные колонны

 

шт.

м3

 

Сборные железобетонные балки

 

шт.

м3

 

Сборные железобетонные плиты покрытий

 

шт.

м3

 

Бетон:

 

 

 

- на замоноличивание стыков колонн

 

м3

 

- на замоноличивание плит покрытия

 

м3

 

Электроды:

 

 

 

- для монтажа сборных балок

 

т

 

- для монтажа плит покрытия

 

т

 

Данные о ранее выбранных монтажных кранах (табл. 3), монтажной оснастке (табл. 2) сводим в табл. 11. Дополнительно приводим сведения о механизированном и ручном инструменте, инвентаре и приспособлениях.

1. С какой целью применяется технологический комплект (нормокомплект)?

2. От чего зависит количественный и качественный состав нормокомплекта?

3. Из каких разделов состоит нормокомплект?

Таблица 11

Ведомость потребности строительных машин, оборудования, инструментов и приспособлений

Наименование

Тип, марка, ГОСТ

Количество

Техническая характеристика

1, Строительные машины

 

 

 

2. Энергетическое оборудование

 

 

 

3. Монтажная оснастка

 

 

 

4. Строительный инструмент

 

 

 

5. Средства измерения и контроля

 

 

 

Задача раздела IV Технологической карты - оценка экономичности выбранных методов монтажа одноэтажного промышленного здания.

1. По каким показателям можно оценить экономичность выбранных решений?

2. С данными каких организаций можно сопоставить наши показатели для оценки их эффективности?

Технико-экономические показатели после расчета сводим в табл. 12.

Таблица 12

Технико-экономические показатели

Наименование показателей

Единица измерения

Показатели

 

нормативные

принятые

Типовая технологическая карта

1. Объем работ по технологической карте

м3

 

 

 

2. Продолжительность монтажа каркаса

см

 

 

 

3. Трудоемкость всего объема работ по карте

чел.-дн.

 

 

 

4. Трудоемкость на единицу измерения объема работ

чел.-дн.

м3

 

 

 

5. Выработка рабочего в смену в натуральном выражении

м3

чел.-дн.

 

 

 

6. Производительность труда

%

100

 

 

7. Заработная плата на весь объем работ

руб.

 

 

 

8. Средняя сменная заработная плата одного рабочего

руб.

 

 

 

Определяем:

- объем работ (табл. 1);

- продолжительность монтажа каркаса (определяем по графику выполнения работ (гр. 11, табл. 8),

- трудоемкость всего объема работ (табл. 8 по итогам гр. 4, 6);

- затраты труда на единицу объема работ путем деления трудоемкости на объем работ;

- выработку на одного рабочего в смену в натуральном выражении путем отношения объема работ к суммарной трудоемкости Вн и Впр;

- принятую производительность труда по отношению к нормативной Впр/Вн × 100 %;

- заработную плату на весь объем работ (табл. 4, при этом Зн = Зпр);

- среднюю сменную заработную плату одного рабочего путем деления суммарной зарплаты на трудоемкость всего объема работ.

Показатели:

- выработка рабочего в смену;

- трудоемкость на единицу объема работ;

- среднюю заработную плату сравниваем с аналогичными показателями типовой технологической карты или базовых строительных организаций.

Вы закончили разработку технологической карты. При защите своей работы следует обосновать:

- состав и технологическую последовательность выполнения работ;

- метод монтажа конструкций каркаса промышленного здания;

- тип и марку кранов, монтажную оснастку;

- численно-квалификационный состав бригады;

- последовательность и взаимоувязку работ во времени по графику выполнения работ;

- материально-технические ресурсы;

- основные технико-экономические показатели.

Защита практической работы производится учащимися по бригадам. Для демонстрации необходимо подготовить:

- схемы производства работ;

- график выполнения работ (правую часть);

- основные технико-экономические показатели.

Приложение 1

ОСНОВНЫЕ ХАРАКТЕРИСТИКИ МОНТАЖНОЙ ОСНАСТКИ ДЛЯ МОНТАЖА ЖЕЛЕЗОБЕТОННЫХ КОНСТРУКЦИЙ

Наименование монтируемого элемента

Грузозахватные устройства и монтажные приспособления

Характеристика

Эскиз

Грузоподъемность, т

Масса, кг

Расчетная высота, м

Масса подмостей, кондукторов и др., т

1

2

3

4

5

6

7

Колонны

Низ строительных конструкций до:

10

50

3

-

6,6 м

6,8 м

7,2 м

9,3 м

9,45 м

 

а) универсальные стропы

8

800

3

-

 

б) захват для прямоугольных колонн

8

800

3

-

 

в) полуавтоматический захват

Балки

Траверса для монтажа балок покрытия, длина 12 м, 18 м

16

991

9,5

-

 

 

14

511

5

-

Сегменты фермы

Траверса для монтажа сегментных ферм и ферм с параллельными поясами, длиной 24 м при шаге 6 м и 12 м

17,5

809

3,5

-

 

 

20

1106

4,5

-

Плиты покрытия

Траверса для подъема плит покрытий размером 1,5´6 м, 3´12 м

 

3

205

2

-

 

 

7

1066

2,1

-

Приложение 2

Грузовые характеристики гусеничных кранов

Марка крана

Показатели

вылет стрелы, м

грузоподъемность, т

высота подъема, м

1

2

3

4

МКГ-6.3 (стоимость 1 маш.-см. 22,52 руб.)

Основная стрела l = 10 м

4

6,3

10

5

4

9,8

6,5

2,6

9

7,5

2,1

8,2

10

1,5

5

Удлиненная стрела l = 18 м

5,5

2,8

18

8,5

1,2

17,2

12

0,6

15

16

0,35

11

Удлиненная стрела l = 18 м с гуськом l = 2,3 м

7,5

1,9

18

9

1,2

17,5

12,5

0,6

16,5

16

0,35

14

МКГ-10 (стоимость 1 маш.-см 22,3 руб.)

Основная стрела l = 11 м

4

10

10

6

4,7

9,2

8

3

8

10

2,4

5

Удлиненная стрела l = 18 м

5,5

4,5

18

8

2,3

17,3

12

1

15

16

0,45

10,5

Удлиненная стрела l = 18 м с гуськом l = 2,3 м

7,5

3

20

9

2,2

17,7

13

1

16,8

16

0,5

14

МКГ-16 (стоимость 1 маш.-см. 25,7 руб.)

Основная стрела l = 11 м

4

16

10

6

8,2

9,3

8

5

8

10

3,1

6,2

Удлиненная стрела l = 18,5 м

5

10

17,5

8

4,6

16,7

10

3

15,9

12

2

14,6

Удлиненная стрела l = 18,5 м с гуськом l = 4 м

9

3,5

20,4

10

3

20

11

2,5

19,6

12

2

19

Стрела l = 26 м

6

7

25,5

8

4,3

24,5

15

8,2

15,6

18

4,5

12,3

Стрела l = 25 м

7

17

25

9

12,8

24,7

12

8,3

23,7

15

5,9

22

19

3,7

18,5

23

2,5

13,8

Стрела l = 30 м

9,5

7,5

29,5

12

6

29

16

4

27,2

20

2

24

24

1

20,5

МКГ-20 (стоимость 1 маш.-см. 32 руб.)

Стрела l = 12,5 м

4,6

20

12

6,5

12

11,5

12

4,6

7,5

Стрела l = 22,5 м

5,5

15

22

9

7

21

16,2

2

17,76

10

2,7

23,9

12

1,8

22,1

МКГ-25 (стоимость 1 маш.-см. 32 руб.)

Стрела l = 17,5 м

4

20

17

12

4,5

13,9

Стрела l = 22,5 м

4,5

16

22

14

3,1

18,2

Стрела l = 27,5 м

4,5

13,0

27

15,0

2,5

23,6

СКГ-25 (стоимость 1 маш.-см. 37,2 руб.)

Стрела l = 15 м

5,5

25

15,4

6,5

20,9

15,2

8

15,8

14,5

10

11,5

13,2

12

8,9

12,6

14

7,2

9,5

Стрела l = 20 м

5,5

17

20,5

7

17

20,2

9

13,1

19,5

12

8,7

18

Приложение 3

Гусеничный кран МКГ-16

Гусеничный кран МКГ-10

Гусеничный кран МКГ-20

Гусеничный кран СКГ-25

а - график грузоподъемности для стрел 15 и 30 м; б - график грузоподъемности для стрел 25 и 30 м; в - график грузоподъемности для стрел 35 и 45 м

Кран МКГ-25, графики грузоподъемности (сплошные линии) и высоты подъема крюка (штриховые линии) при стреле длиной:

1 - 12,5 м; 2 - то же, для вспомогательной лебедки; 3 - 12,5 м с гуськом; 4 и 5 - 17,5 м для главной и вспомогательной лебедок; 6 и 7 - 22,5 м для главной и вспомогательной лебедок

Кран МКГ-6,3

Графики грузоподъемности (сплошные линии) и высоты подъема крюка (штриховые линии):

1 - 3 - кран МКГ-6,3 с основной стрелой, удлиненной стрелой и удлиненной стрелой с гуськом.

СОДЕРЖАНИЕ

 

 




ГОСТЫ, СТРОИТЕЛЬНЫЕ и ТЕХНИЧЕСКИЕ НОРМАТИВЫ.
Некоммерческая онлайн система, содержащая все Российские Госты, национальные Стандарты и нормативы.
В Системе содержится более 150000 файлов нормативно-технической документации, действующей на территории РФ.
Система предназначена для широкого круга инженерно-технических специалистов.

Рейтинг@Mail.ru Яндекс цитирования

Copyright © www.gostrf.com, 2008 - 2026