Крупнейшая бесплатная информационно-справочная система онлайн доступа к полному собранию технических нормативно-правовых актов РФ. Огромная база технических нормативов (более 150 тысяч документов) и полное собрание национальных стандартов, аутентичное официальной базе Госстандарта. GOSTRF.com - это более 1 Терабайта бесплатной технической информации для всех пользователей интернета. Все электронные копии представленных здесь документов могут распространяться без каких-либо ограничений. Поощряется распространение информации с этого сайта на любых других ресурсах. Каждый человек имеет право на неограниченный доступ к этим документам! Каждый человек имеет право на знание требований, изложенных в данных нормативно-правовых актах!

  


 

ФЕДЕРАЛЬНОЕ АГЕНТСТВО
ПО
ТЕХНИЧЕСКОМУ РЕГУЛИРОВАНИЮ И МЕТРОЛОГИИ

НАЦИОНАЛЬНЫЙ СТАНДАРТ РОССИЙСКОЙ ФЕДЕРАЦИИ

ГОСТ
Р 52274-2004

ЭЛЕКТРОСТАТИЧЕСКАЯ
ИСКРОБЕЗОПАСНОСТЬ

Общие технические требования и методы испытаний

Москва

ИПК Издательство стандартов

2005

Предисловие

Задачи. Основные принципы и правила проведения работ по государственной стандартизации в Российской Федерации установлены ГОСТ Р 1.0-92 «Государственная система стандартизации Российской Федерации. Основные положения» и ГОСТ Р 1.2-92 «Государственная система стандартизации Российской Федерации. Порядок разработки государственных стандартов»

Сведения о стандарте

1 РАЗРАБОТАН Некоммерческой автономной научно-исследовательской организацией «Центр по сертификации взрывозащищенного и рудничного электрооборудования» (НАНИО «ЦСВЭ»)

2 ВНЕСЕН Техническим комитетом по стандартизации ТК 403 «Взрывозащищенное и рудничное электрооборудование»

3 УТВЕРЖДЕН И ВВЕДЕН В ДЕЙСТВИЕ Приказом Федерального агентства по техническому регулированию и метрологии от 30 ноября 2004 г. 91-ст

4 ВВЕДЕН ВПЕРВЫЕ

Информация об изменениях к настоящему стандарту публикуется в указателе «Национальные стандарты», а текст этих изменений - в информационных указателях «Национальные стандарты». В случае пересмотра или отмены настоящего стандарта соответствующая информация будет опубликована в информационном указателе «Национальные стандарты»

СОДЕРЖАНИЕ

1 Область применения. 2

2 Нормативные ссылки. 3

3 Термины и определения. 3

4 Общие технические требования. 4

5 Методы испытаний. 6

Приложение А. Методика измерения удельного поверхностного электрического сопротивления материала вентиляционных труб. 10

Приложение Б. Методика измерения электрического сопротивления спецобуви. 10

Приложение В. Измерительные приборы.. 12

Приложение Г. Методика определения зажигающей способности разрядов статического электричества по заряду в импульсе. 12

Приложение Д. Минимальные параметры изделий и электрического разряда, обеспечивающие электростатическую искробезопасность. 13

Введение

Настоящий стандарт входит в комплекс национальных стандартов на взрывозащищенное и рудничное электрооборудование, разрабатываемых Техническим комитетом по стандартизации ТК 403 «Взрывозащищенное и рудничное электрооборудование» на основе действующих стандартов и имеющихся знаний в этой области.

Стандарт устанавливает общие технические требования и методы испытаний оболочек взрывозащищенного и рудничного электрооборудования, специальной одежды и обуви, конвейерных лент, вентиляционных труб, изготовленных полностью или частично из металлических материалов с высоким электрическим сопротивлением, электризующихся в процессе их применения в угольных шахтах и рудниках, опасных по газу или пыли, и во взрывоопасных зонах.

Определены условия для четырех представительных взрывоопасных смесей, при которых изделия из неметаллических материалов могут быть признаны электростатически безопасными. Представленные в настоящем стандарте методы испытаний подразделяют на электроизмерительные и испытания во взрывной камере. Для испытаний во взрывной камере установлены составы испытательных взрывоопасных смесей.

ГОСТ 52275-2004

НАЦИОНАЛЬНЫЙ СТАНДАРТ РОССИЙСКОЙ ФЕДЕРАЦИИ

ЭЛЕКТРОСТАТИЧЕСКАЯ ИСКРОБЕЗОПАСНОСТЬ

Общие технические требования и методы испытаний

Static electricity spark safety.

General technical requirements and test methods

Дата введения 2006-01-01

1 Область применения

Настоящий стандарт в соответствии с положениями ГОСТ 12.1.004, ГОСТ 12.1.010 и ГОСТ 12.1.018 регламентирует общие технические требования и методы испытаний оболочек и других частей электрооборудования, специальной одежды и обуви, конвейерных лент и вентиляционных труб, полностью или частично изготовленных из неметаллических материалов и электризующихся в процессе их применения во взрывоопасных зонах.

Стандарт не распространяется на кабели и провода, указатели напряжения, изолирующие штанги и клещи, диэлектрические боты и коврики, которые по требованиям электробезопасности должны иметь высокое электрическое сопротивление, а для обеспечения их электростатической искробезопасности должны быть предусмотрены организационные меры, указанные в «Правилах применения и испытания средств защиты, используемых в электроустановках, и технических требованиях к ним» и в «Инструкции по эксплуатации».

Стандарт не распространяется на оборудование электронно-ионных технологий, производств взрывчатых веществ и объектов, опасность которых обусловлена свойствами взрывчатых веществ.

2 Нормативные ссылки

В настоящем стандарте использованы нормативные ссылки на следующие стандарты:

ГОСТ 12.1.004-91 Система стандартов безопасности труда. Пожарная безопасность. Общие требования

ГОСТ 12.1.010-76 Система стандартов безопасности труда. Взрывобезопасность. Общие требования

ГОСТ 12.1.018-93 Система стандартов безопасности труда. Пожаровзрывобезопасность статического электричества. Общие требования

ГОСТ 12.2.007.0-75 Система стандартов безопасности труда. Изделия электротехнические. Общие требования безопасности

ГОСТ 12.4.011-89 Система стандартов безопасности труда. Средства защиты работающих. Общие требования и классификация

ГОСТ 12.4.124-83 Система стандартов безопасности труда. Средства защиты от статического электричества. Общие технические требования

ГОСТ 20-85 Ленты конвейерные резинотканевые. Технические условия

ГОСТ 166-89 (ИСО 3599-76) Штангенциркули. Технические условия

ГОСТ 6433.2-71 Материалы электроизоляционные твердые. Методы определения электрического сопротивления при постоянном напряжении

ГОСТ 9572-93 Бензол нефтяной. Технические условия

ГОСТ 17299-78 Спирт этиловый технический. Технические условия

ГОСТ 19616-74 Ткани и трикотажные изделия. Метод определения удельного поверхностного электрического сопротивления

ГОСТ 21130-75 Изделия электротехнические. Зажимы заземляющие и знаки заземления. Конструкции и размеры

ГОСТ 51330.0-99 (МЭК 60079-0-98) Электрооборудование взрывозащищенное. Общие требования

Примечание - При пользовании настоящим стандартом целесообразно проверить действие ссылочных стандартов по указателю «Национальные стандарты», составленному по состоянию на 1 января текущего года, и по соответствующим информационным указателям, опубликованным в текущем году. Если ссылочный стандарт заменен (изменен), то при пользовании настоящим стандартом следует руководствоваться замененным (измененным) стандартом. Если ссылочный стандарт отменен без замены, то положение, в котором дана ссылка на него, применяется в части, не затрагивающей эту ссылку.

3 Термины и определения

В настоящем стандарте применены следующие термины с соответствующими определениями:

3.1 статическое электричество: Совокупность явлений, связанных с разделением положительных и отрицательных электрических зарядов, сохранением и релаксацией свободного электростатического заряда на поверхности или в объеме диэлектриков или на изолированных проводниках (ГОСТ 12.1.018).

Примечание - Термин распространяется также на совокупность явлений, обусловленных связанными положительными и отрицательными электростатическими зарядами на противоположных поверхностях диэлектрических материалов, а также на явления, обусловленные преобразованием энергии различных видов в энергию электростатического поля и т.п.

3.2 электростатическая искробезопасность (ЭСИБ): По ГОСТ 12.1.018.

3.3 допустимые значения геометрических параметров неметаллического изделия: Наибольшие значения геометрических параметров неметаллического изделия, при которых на нормативном уровне в условиях слабой электризации (электризации, не приводящей к возникновению разрядов, соответствующих электропрочностным свойствам твердых диэлектриков) исключается возможность возникновения разряда статического электричества, способного воспламенить взрывоопасную смесь.

3.4 удельное поверхностное электрическое сопротивление: По ГОСТ 6433.2.

3.5 взрывоопасная смесь: Смесь с воздухом горючих веществ (газов и/или паров, и/или аэрозолей, и/или пыли, и/или волокон), которая при концентрации в пределах воспламенения и наличии источника зажигания способна загораться и сгорать с распространением фронта пламени во всем ее объеме.

3.6 взрывоопасная испытательная смесь: По ГОСТ 51330.0.

3.7 специальная одежда и специальная обувь: По ГОСТ 12.4.011.

4 Общие технические требования

4.1 Соответствие изделий с неметаллическими материалами требованиям электростатической искробезопасности (ЭСИБ) обеспечивается предотвращением возникновения с них разрядов статического электричества и/или предотвращением способности возникающих разрядов стать источником зажигания взрывоопасных смесей.

4.2 ЭСИБ обеспечивается соблюдением требований ГОСТ 12.1.004, ГОСТ 12.1.010, ГОСТ 12.1.018, настоящего стандарта и применением средств защиты по ГОСТ 12.4.124. Требования к средствам защиты по ГОСТ 12.4.124 направлены на обеспечение охраны труда и в ряде случаев могут оказаться недостаточными для обеспечения ЭСИБ.

4.3 Требованиями ЭСИБ предусматривается обеспечение эффективности заземления и экранирующего влияния электропроводящих заземленных конструктивных элементов изделия. Поэтому в соответствии с положениями настоящего стандарта из числа параметров, влияющих на эффективность заземления, следует определять:

- для материала - удельное поверхностное электрическое сопротивление;

- для неметаллического изделия - электрическое сопротивление.

4.4 Требованиями ЭСИБ предусматривается нормирование геометрических параметров изделий с неметаллическими материалами. К геометрическим параметрам изделия относят размеры, площадь и данные о характере поверхности участков изделия из неметаллических конструкционных материалов и расположении заземленных металлических элементов. При наличии ребер толщиной и глубиной от 2 до 20 мм за нормированную площадь поверхности участков изделия из неметаллических конструкционных материалов следует принимать их общую максимальную площадь проекции на плоскость. К геометрическим параметрам относят также размеры, площадь поверхности, толщину покрытий или пленок и данные о их расположении относительно заземленной металлической основы и других заземленных электропроводящих элементов.

4.5 Основная характеристика воспламеняющей способности разряда статического электричества - это его способность в стандартных условиях испытания с заданной нормативной вероятностью зажигать определенную взрывоопасную смесь.

В настоящем стандарте применены три физические характеристики воспламеняющей способности разрядов с испытуемого образца:

- результат непосредственного испытания воспламеняющей способности разрядов во взрывоопасной испытательной смеси (зажглась/не зажглась);

- значение энергии, запасенной перед разрядом и принимаемой за энергию разряда (Ws, Дж, косвенная характеристика);

- значения заряда в униполярном импульсе разрядного тока или заряд в импульсе (qs, Кл, косвенная характеристика).

4.6 Металлические элементы оболочек взрывозащищенного и рудничного электрооборудования отвечают требованиям настоящего стандарта, если они заземлены.

4.7 Предотвращение возникновения разрядов статического электричества с изделий с неметаллическими материалами достигается при соблюдении следующих условий.

4.7.1 Разряды статического электричества с неметаллических участков поверхностей заземленных изделий из электропроводящих конструкционных материалов в смесях горючего с воздухом отсутствуют, если в рассматриваемой системе исключены разрядные промежутки с разностью потенциалов, превышающей 300 В. Согласно закону Пашена для возникновения разряда в воздухе разность потенциалов в разрядном промежутке должна превысить 320 В.

В случае, когда при испытании такого изделия в условиях воздействия на него плотности тока электризации, равной 100 мкА/м2, данное условие соблюдается, изделие в целом считают электропроводящим и его заземление достаточно для обеспечения соответствия требованиям ЭСИБ.

4.7.2 Заземление является основным условием обеспечения соответствия электропроводящих изделий требованиям ЭСИБ. Поэтому в технической документации на такие изделия следует привести данное требование, а также следует указывать, что сопротивление заземляющего устройства, предназначенного исключительно для защиты от статического электричества, допускается до 100 Ом. Допускается объединять заземляющие устройства для защиты от статического электричества с заземляющими устройствами электрооборудования, но при этом следует исключить использование в заземляющих устройствах токонесущих проводов. Не допускается объединять заземляющие устройства для защиты от статического электричества с заземляющими устройствами отдельно стоящих молниеотводов.

4.7.3 Электропроводными следует считать материалы с удельным объемным электрическим сопротивлением не более 105 Ом · м.

4.7.4 Электропроводными следует считать изделия, электрическое сопротивление между любыми точками поверхности которых и металлическими участками устройств заземления не превышает 107 Ом. Участки поверхности электропроводных изделий из неметаллических материалов также следует считать электропроводными, если электрическое сопротивление, измеренное при относительной влажности воздуха не более 60 % при площади соприкосновения с ними измерительного электрода не более 20 см2, не превышает 107 Ом. При наличии участков поверхности электропроводных изделий из неметаллических материалов 100 см2 или менее площадь соприкосновения с ними измерительного электрода должна быть не более 1 см2.

4.7.5 Площадь участков поверхности электропроводных изделий из неметаллических материалов не ограничивают.

4.8 Оборудование, неметаллические оболочки и другие части оболочки электрооборудования соответствуют требованиям ЭСИБ, если соблюдено хотя бы одно из ниже перечисленных условий.

4.8.1 Удельное поверхностное электрическое сопротивление, измеренное при температуре (23 ± 2) °С и относительной влажности воздуха (50 ± 5) %, не должно превышать:

- для неметаллических материалов оборудования 109 Ом;

- для лопаток вентиляторов 1011 Ом.

4.8.2 Значения геометрических параметров оборудования должны удовлетворять положениям, указанным в таблице 1.

4.8.3 Для обеспечения электростатической искробезопасности необходимо, чтобы энергия разряда или заряд в импульсе при разряде с изделия или материала не превышали критических значении для соответствующих представительных испытательных смесей горючих газов с воздухом, указанных в таблице 2.

4.8.4 При несоблюдении положений 4.6.1 - 4.6.3 следует провести испытание образцов непосредственно с применением соответствующих представительных испытательных смесей горючих газов с воздухом.

4.9 Для обеспечения соответствия специальной одежды требованиям ЭСИБ необходимо, чтобы удельное поверхностное электрическое сопротивление ткани не превышало 109 Ом.

4.10 Электрическое сопротивление между подпятником и ходовой стороной антиэлектростатической специальной обуви согласно ГОСТ 12.4.124 должно быть от 106 до 108 Ом.

4.11 Удельное поверхностное электрическое сопротивление конвейерных лент и вентиляционных труб не должно превышать 3 · 108 Ом.

Таблица 1 - Требования к значениям геометрических параметров изделия с неметаллическими материалами

Геометрический параметр изделия

Допустимые значения геометрического параметра, не более, в зависимости от категории взрывоопасной смеси

I

IIА

IIВ

II или IIС

1 Площадь поверхности неметаллической оболочки или ее частей, см2, не более

100

Зона 0

50

25

4

Зоны 1 и 2

100

100

20

2 Расстояние по поверхности от наиболее удаленной точки до заземленного металлического элемента, мм, не более

50

50

50

50

3 Ширина щели между подвижными и/или неподвижными деталями, мм

2,00

1,55

1,10

0,50

Таблица 2 - Характеристики чувствительности испытательных взрывоопасных смесей к зажигающему воздействию разрядов статического электричества

Горючий газ, применяемый в испытательной смеси

Минимальная энергия зажигания, Wмин, мДж

Критические значения энергии разряда Wс, мДж

Критические значения заряда в импульсе* qc, мкКл

Метан

0,280

0,1870

0,060

Пропан

0,250

0,1670

Этилен

0,086

0,0580

0,030

Водород

0,011

0,0073

0,010

* Значения qc - по ГОСТ 51330.0.

4.12 Устройства заземления, применяемые в целях обеспечения ЭСИБ, должны удовлетворять требованиям ГОСТ 12.4.124, ГОСТ 12.2.007.0 и ГОСТ 21130.

5 Методы испытаний

5.1 Испытания проводят с целью проверки соответствия материала и конструкции изделия техническим требованиям раздела 4 настоящего стандарта с учетом приложений А - Д по программе, приведенной в таблице 3.

Таблица 3 - Виды испытаний и проверок

Вид испытания и проверки

Пункт

1 Определение геометрических параметров

5.4

2 Определение электрического сопротивления и/или удельного поверхностного электрического сопротивления

5.5

3 Определение электрической емкости металлического элемента

5.6.4

4 Определение энергии разряда статического электричества

5.6

5 Определение величины заряда в импульсе

5.7

6 Испытание на зажигание представительных взрывоопасных смесей разрядами статического электричества

5.8

5.2 Испытания специальной одежды, обуви, а также вентиляционных труб должны проводиться на образцах готовых изделий. Для испытаний должны быть представлены:

- материалы специальной одежды и вентиляционных труб - не менее 1 м2 каждого вида;

- спецобувь - две пары.

5.3 Определение геометрических параметров

5.3.1 Геометрические параметры определяют с целью проверки их соответствия требованиям 4.4 и 4.9. Проверяют также соответствие испытуемых образцов технической документации.

5.3.2 Неметаллические изделия на соответствие технической документации проверяют осмотром и измерениями с использованием стандартного измерительного инструмента, обеспечивающего определение геометрических параметров с погрешностью, указанной в рабочих чертежах на конкретное неметаллическое изделие. При наличии в неметаллическом изделии нескольких одинаковых по конструкции сборочных единиц допускается проводить измерения параметров только одной сборочной единицы.

5.3.3 Проводят не менее трех измерений каждого геометрического параметра. Из результатов трех измерений учитывают только максимальное значение геометрического параметра.

5.3.4 По данным, полученным в результате определения значений геометрических параметров, считают, что оболочки взрывозащищенного и рудничного электрооборудования допустимы к применению, если соблюдены соответствующие положения таблицы 1.

5.4 Электрическое сопротивление и удельное поверхностное электрическое сопротивление определяют в соответствии с требованиями 4.7 - 4.9, 4.11 и 4.12.

5.4.1 Удельное поверхностное электрическое сопротивление материала измеряют по ГОСТ 6433.2, ткани - по ГОСТ 19616, вентиляционных труб - по методике приложения А.

5.4.2 Электрическое сопротивление измеряют:

- оболочки - по ГОСТ 6433.2;

- конвейерные ленты - по ГОСТ 20;

- вентиляционные трубы - по методике, приведенной в приложении А;

- специальную обувь - по методике, приведенной в приложении Б.

5.4.3 Образец при подготовке к испытаниям кондиционируют не менее 24 ч в испытательной камере, термостате или помещении при температуре (23 ± 2) °С и относительной влажности воздуха (50 ± 5) %.

5.4.4 Образцы располагают так, чтобы расстояние между ними и стенками испытательной камеры было не менее 50 мм, а между собой - не менее 20 мм.

5.4.5 Проводят не менее девяти измерений электрического сопротивления. Результат испытания выражают средним арифметическим значением первичных данных измерений и средним квадратичным значением их отклонений от среднего арифметического значения.

5.4.6 При отсутствии особых требований стандартов и норм на объект испытания по данным, полученным в результате измерений, считают, что спецодежда выдержала испытание, если удельное поверхностное электрическое сопротивление ткани не превышает 1 · 109 Ом.

5.4.7 При отсутствии особых требований стандартов и норм на объект испытания по данным, полученным в результате измерений, считают, что спецобувь выдержала испытание, если электрическое сопротивление изоляции между внутренней и ходовой сторонами подошвы и каблука не превышает 1 · 108 Ом, но не менее 1 · 106 Ом.

5.4.8 По данным, полученным в результате измерений, считают, что конвейерные ленты или вентиляционные трубы выдержали испытание, если их удельное поверхностное электрическое сопротивление не превышает 3 · 108 Ом.

5.4.9 При отсутствии особых требований стандартов и норм на объект испытания по данным, полученным в результате измерений, считают, что оболочки взрывозащищенного и рудничного электрооборудования выдержали испытание, если удельное поверхностное электрическое сопротивление материала их стенок не превышает 1 · 109 Ом.

5.4.10 По данным, полученным в результате измерений, считают, что лопатки вентиляторов выдержали испытание, если удельное поверхностное электрическое сопротивление их материала не превышает 1 · 1011 Ом.

5.5 Определение энергии разряда статического электричества

5.5.1 За энергию разряда статического электричества с металлической детали принимают энергию заряда статического электричества данной детали перед разрядом. Энергию разряда статического электричества W, Дж, рассчитывают по формуле

W = 0,5 CU2,                                                            (1)

где С - электрическая емкость металлической детали неметаллического изделия, Ф;

U - электрическое напряжение на металлической детали изделия, В.

Для определения энергии электрического разряда проводят измерения электрической емкости металлической детали и электрического напряжения на ней.

За энергию электрического разряда принимают значение, рассчитанное по формуле (1) при подстановке в нее максимальных значений электрического напряжения и электрической емкости металлической детали.

5.5.2 Для обеспечения электростатической искробезопасности изделия или материала энергия электрического разряда не должна превышать значений, приведенных в таблице 2.

5.5.3 Определение электрического напряжения

5.5.3.1 При испытании изделий, в которых при их нормальном режиме работы имеются движущиеся детали и осуществляются процессы измельчения или диспергирования, условия электризации при испытаниях должны соответствовать рабочим параметрам, приведенным в технической характеристике данного изделия.

5.5.3.2 Испытания изделий, у которых отсутствуют движущиеся детали и не осуществляются процессы измельчения или диспергирования, проводят методом трения - скольжения.

В качестве контртела принимают материал или ткань с удельным поверхностным электрическим сопротивлением от 106 до 109 Ом. При этом взаимное давление между контртелом и поверхностью испытуемого изделия должно быть не менее 103 Па, площадь контактирования - не менее 10 см2. Скорость относительного перемещения контртела и испытуемого изделия должна быть:

- для переносных изделий (2,0 ± 0,2) м/с;

- для остальных изделий (1,0 ± 0,1) м/с.

5.5.3.3 Отсчет значений электрического напряжения проводят при каждом испытании по истечении не менее 100 с от начала процесса электризации. Проводят не менее 10 испытаний. Каждое испытание повторяют после удаления остаточного заряда с испытуемого изделия путем соединения металлического элемента с землей. За расчетное значение электрического напряжения принимают максимальное из результатов всех измерений.

5.5.4 Определение электрической емкости металлического элемента

5.5.4.1 Электрическую емкость металлического элемента измеряют в соответствии с инструкцией на применяемый измерительный прибор (см. приложение В).

5.5.4.2 Проводят не менее 10 измерений. За значение электрической емкости металлического элемента принимают максимальное из результатов всех измерений.

5.5.4.3 Изделие считают электростатически искробезопасным, если электрическая емкость каждого из металлических элементов изделия не превышает значений, приведенных в приложении Д.

5.6 Определение величины заряда в импульсе

5.6.1 Заряд в импульсе определяют посредством измерения количества электричества, протекающего в цепи заземленного электрода-разрядника за время существования электрического разряда.

5.6.2 Методика измерения величины заряда в импульсе приведена в приложении Г.

5.7 Испытание на зажигание представительных испытательных взрывоопасных смесей разрядами статического электричества

5.7.1 Целью испытаний является определение вероятности зажигания взрывоопасной испытательной смеси разрядами статического электричества, возникающими от электрических зарядов на испытуемом изделии.

5.7.2 Испытания проводят во взрывной камере, заполненной испытательной взрывоопасной смесью. Давление взрывоопасной испытательной смеси должно быть 0,1 МПа (760 ± 20) мм рт.ст. при температуре 20 °С - 30 °С. Объемное содержание горючих в представительных взрывоопасных смесях для категорий:

I......................................... (8,3 ± 0,3) % метана

IIА..................................... (5,3 ± 0,3) % пропана

IIВ..................................... (7,3 ± 0,5) % этилена

IIС..................................... (21,0 ± 2,0) % водорода

При проведении испытаний допустимо также применять активизированные взрывоопасные испытательные смеси. В качестве последних используют водородокислородную смесь. Содержание кислорода в смеси для категории:

I......................................... 10,8 %

IIА..................................... 12,8 %

IIВ..................................... 16,6 %

IIС..................................... 27,5 %

В случае индивидуального газа или пара состав испытательной водородокислородной смеси выбирают из выражения

C[О2] - 10,85 / (МТВ + 0,186),                                          (2)

где C[O2] - содержание кислорода в водородокислородной смеси, %;

МТВ - отношение БЭМЗ/БЭМЗ0;

БЭМЗ - максимальный безопасный экспериментальный зазор для взрывоопасной смеси, в которой горючим является индивидуальный газ или пар;

БЭМЗ0 - максимальный безопасный экспериментальный зазор для метановоздушной смеси.

Таким образом может быть определен эквивалент любой взрывоопасной смеси. Для определения активизированной испытательной взрывоопасной смеси МТВ уменьшают в , где К - коэффициент безопасности, определяемый как отношение зажигающей энергии к безопасной и равный 1,5.

5.7.3 Состав испытательных взрывоопасных смесей необходимо контролировать приборами, обеспечивающими требуемую точность измерения, например хроматографами или интерферометрами.

5.7.4 После электризации испытуемого оборудования подвижный электрод подводят к неподвижному на расстояние, при котором происходит электрический разряд в представительной или в активизированной взрывоопасной среде.

5.7.5 Проводят 10 испытаний. Изделия относят к электростатически искробезопасным, если произошло не более пяти зажиганий испытательной взрывоопасной смеси во взрывной камере.

Допускается проводить пять испытаний, если при этом не произойдет ни одного воспламенения взрывоопасной испытательной смеси во взрывной камере.

Приложение А

(обязательное)

Методика измерения удельного поверхностного электрического сопротивления материала вентиляционных труб

А.1 Образцы для испытаний должны быть размером не менее 300×300 мм. Испытания следует проводить на трех образцах с двух сторон.

А.2 Перед испытаниями образцы должны быть предварительно нормализованы по ГОСТ 6433.2. Если в стандартах или технических условиях на изделие условия нормализации не указаны, то проводят нормализацию образцов при температуре (23 ± 2) °С и относительной влажности воздуха (50 ± 5) % в течение не менее 24 ч. Испытания образцов проводят при температуре (23 ± 5) °С и относительной влажности воздуха (50 ± 5) %.

А.3 Для удаления с поверхности образца талька и других загрязнений его следует тщательно протереть бензолом (ГОСТ 9572) или этиловым спиртом (ГОСТ 17299).

А.4 На поверхность образца в его центральной части по шаблонам следует установить два латунных (медных) электрода:

- кольцевой внутренним диаметром (125,0 ± 0,2) мм, наружным диаметром (150,0 ± 0,2) мм и массой (5000 ± 10) г;

- цилиндрический диаметром (25 ± 0,2) мм и массой (500 ± 10) г.

Цилиндрический электрод должен быть помещен в центре кольцевого, при этом смещение осей цилиндра и кольца не должно превышать 0,2 мм. Для создания контакта электродов с образцом должно быть обеспечено давление (10,0 ± 0,2) кПа за счет кольцевого цилиндрического электрода.

Под образец подкладывают изоляционный материал с удельным поверхностным электрическим сопротивлением не менее 1012 Ом, размером не менее 350×350 мм и толщиной не менее 2 мм.

А.5 Измерительное электрическое напряжение постоянного тока должно быть от 100 до 1000 В.

Время измерения электрического сопротивления изоляции каждой стороны образца должно быть не менее 60 с.

А.6 Удельное поверхностное сопротивление материалов вентиляционных труб ρs, Ом, определяют по формуле

ρs = 4,7Rs,                                                             (A.1)

где Rs - измеренное поверхностное сопротивление, Ом.

Приложение Б

(обязательное)

Методика измерения электрического сопротивления спецобуви

Б.1 Испытания проводят на двух парах спецобуви.

Б.2 Перед испытаниями образцы должны быть предварительно нормализованы по ГОСТ 6433.2. Если в стандартах или технических условиях на изделие условия нормализации не указаны, то образцы нормализируют при температуре (23 ± 2) °С и относительной влажности воздуха (50 ± 5) % в течение не менее 24 ч. Испытания образцов проводят в помещении при температуре (23 ± 2) °С и относительной влажности воздуха (50 ± 5) %.

Б.3 Измерение электрического сопротивления изоляции проводят между внутренней и ходовой сторонами подошвы и каблука.

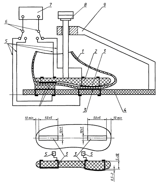
Б.4 Электрическое сопротивление изоляции определяют с помощью латунных электродов длиной (50 ± 5) мм, шириной (10 ± 1) мм и толщиной не более 2 мм (рисунок Б.1).

1 - специальная обувь; 2 - колодка (стелька) пластмассовая; 3 - электроды; 4 - пластмассовая пластина; 5 - провода; 6 - переключатель; 7 - измерительный прибор; 8 - груз; 9 - станина

Рисунок Б.1 - Схема стенда для измерения электрического сопротивления изоляции специальной обуви

Б.5 Электроды закрепляют на пластмассовой колодке, вставляемой внутрь спецобуви, и на пластмассовой пластине, накладываемой на ходовую сторону обуви.

Б.6 Для удаления с внутренней и ходовой стороны подошвы каблука загрязнений их следует тщательно протереть бензолом (ГОСТ 9572) или этиловым спиртом (ГОСТ 17299).

Б.7 Колодку с электродами устанавливают внутрь спецобуви и прижимают к внутренней стороне подошвы и каблука с усилием (250 ± 25) Н.

Колодка и пластина должны быть изготовлены из материала с удельным поверхностным электрическим сопротивлением не менее 10 Ом. Колодку выполняют по форме стельки спецобуви из пластины толщиной 5 - 10 мм с закругленными краями.

Б.8 Электрическое сопротивление изоляции измеряют между противоположно расположенными электродами, закрепленными на колодке и пластмассовой пластине.

Измерительное электрическое напряжение постоянного тока должно быть от 100 до 1000 В.

Время измерения электрического сопротивления изоляции между внутренней и ходовой сторонами подошвы или каблука должно быть не менее 60 с.

Приложение В

(справочное)

Измерительные приборы

Применяют следующие приборы:

1) термометры Е6-13А, Е6-3 для измерения удельного поверхностного электрического сопротивления или электрического сопротивления изоляции;

2) вольтметры электростатические С95, С96, С196 для измерения электрического напряжения;

3) измерители Е7-8, Е8-4, Е12-1А для измерения электрической емкости;

4) барометр-анероид БАММ-1 для измерения давления воздуха;

5) психрометр аспирационный МВ-4М для измерения влажности воздуха;

6) секундомер «Агат» для измерения времени;

7) штангенциркуль типа I по ГОСТ 166 для измерения геометрических размеров.

Также могут быть использованы и другие приборы с аналогичными параметрами.

Приложение Г

(справочное)

Методика определения зажигающей способности разрядов статического электричества по заряду в импульсе

Г.1 Общие положения

Г.1.1 Зажигающую способность разрядов статического электричества определяют экспериментально путем сравнения заряда в импульсе qmax с допустимым значением заряда qд.

При условии

qmax < qc                                                           (Г.1)

разряды статического электричества считают безопасными.

Г.1.2 Максимально возможный заряд в импульсе вычисляют по формуле

qmax = 10lg q + 4,95S,                                                    (Г.2)

где S - выборочное среднее квадратичное отклонение зарядов в импульсах.

Г.2 Методика измерения зарядов в импульсах

Г.2.1 Принципиальная схема измерения зарядов в импульсах включает в себя:

- испытуемое изделие;

- проводник-датчик с радиусом кривизны свыше 20 мм, между которым и испытуемым изделием происходят электрические разряды;

- интегрирующую цепочку, включаемую в цепь заземления датчика;

- прибор, регистрирующий пропорциональное заряду в импульсе электрическое напряжение на интегрирующей цепочке.

Г.2.2 В качестве интегрирующей используют, например, RC-цепочку. Электрическое напряжение на такой цепочке прямо пропорционально заряду в импульсе и обратно пропорционально электрической емкости при условии, что длительность разряда составляет менее 0,1 постоянной времени релаксации τ (τ = RC).

Электрическая емкость интегрирующей цепочки зависит от чувствительности прибора, измеряющего электрическое напряжение, а также от ожидаемого значения заряда в импульсе. Электрическую емкость C, Ф, вычисляют по формуле

C = q / U,                                                                (Г.3)

где q - ожидаемое значение заряда в импульсе, Кл;

U - рабочее электрическое напряжение, измеренное вольтметром, В.

Электрическое сопротивление RC-цепочки должно удовлетворять условию

                                                    (Г.4)

где Т - длительность импульса или время, необходимое для регистрации показаний, с;

Т1 - время между двумя раздельно различаемыми импульсами, с.

Г.2.3 В качестве приборов для регистрации электрического напряжения на интегрирующей цепочке применяют электронно-лучевые осциллографы или другие устройства регистрации параметров импульса падения напряжения на интегрирующей цепочке, формируемого при разряде статического электричества.

Г.2.4 Импульсы на экране осциллографа фиксируют визуально или фотографируют. В процессе измерений регистрируют не менее 25 импульсов.

Г.3 Обработка результатов измерений

Г.3.1 По данным измеренных значений электрического напряжения на интегрирующей цепочке рассчитывают значения зарядов в импульсах q, Ф, по формуле

q = CU.                                                              (Г.5)

Г.3.2 Составляют таблицу, в которую заносят в порядке возрастания значения зарядов в импульсах, частоту (количество импульсов одинакового значения), накопленную частоту и накопленную частость.

Г.3.3 По данным таблицы строят график в координатной сетке логарифмически нормального распределения. На оси абсцисс откладывают значения зарядов в импульсах, а на оси ординат - накопленную частость.

По совокупности нанесенных точек проводят прямую. При этом крайние точки можно не принимать во внимание.

Пользуясь прямой на графике, на оси абсцисс находят точку А, соответствующую частости 50 %. Логарифм значения заряда, соответствующего точке А, есть среднее арифметическое логарифма выборочной совокупности зарядов в импульсах

lg A = lg q.                                                         (Г.6)

Далее в таком же порядке находят значение В, соответствующее частости 15,9 %, и вычисляют выборочное среднее квадратичное отклонение по формуле

S = lg q - lg B.                                                       (Г.7)

Г.3.4 Найденные значения lg q и S подставляют в формулу (Г.2) и вычисляют qmax.

Приложение Д

(обязательное)

Минимальные параметры изделий и электрического разряда, обеспечивающие электростатическую искробезопасность

Д.1 Дополнительные характеристики взрывоопасность представительных взрывоопасных смесей при воспламенении электрическим разрядом приведены в таблице Д.1.

Таблица Д.1 - Минимальные воспламеняющие значения энергии, мощности и тока электрического разряда

Представительная взрывоопасная смесь

Энергия, выделившаяся во взрывоопасной смеси, мкДж

Ток разряда, проходящий через взрывоопасную смесь, мА

Мощность разряда, выделившаяся во взрывоопасной смеси, Вт

Метановоздушная

150,0

0,89

1,34

Пропановоздушная

110,0

0,81

1,03

Этиленовоздушная

35,0

0,46

0,61

Водородовоздушная

4,5

 

-

Примечание - Приведенные данные получены с использованием стальных цилиндрических электродов диаметром 0,3 мм. Минимальные значения тока и мощности разряда соответствуют вероятности воспламенения P = 10-1. Значения энергий разряда соответствуют вероятности воспламенения 10-2.

Д.2 Предельно допустимые значения электрических емкостей металлических одиночных элементов, обеспечивающих электростатическую искробезопасность для представительных взрывоопасных смесей при напряжении электризации до 10 кВ:

- метановоздушная смесь.................................... 5 · 10-11 Ф

- пропановоздушная смесь................................. 5 · 10-11 Ф

- этиленовоздушная смесь.................................. 5 · 10-11 Ф

- водородовоздушная смесь................................ 5 · 10-12 Ф

Д.3 Максимально допустимые по условиям электростатической искробезопасности значения сопротивления антистатической одежды и специальной антистатической обуви, устанавливаемые настоящим стандартом, приведены в таблице Д.2 из расчета, что емкость тела человека эквивалентна 400 пФ, ток электризации при действиях человека не превышает 1 мкА, а при пользовании СО2-огнетушителем - 100 мкА.

Таблица Д.2 - Максимально допустимые значения сопротивления спецодежды и спецобуви

Представительная взрывоопасная смесь

Электрическое сопротивление, Ом

Нормальные условия

Пользование СО2-огнетушителем

Метановоздушная

1010

108

Пропановоздушная

9 · 109

9 · 107

Этиленовоздушная

5 · 109

5 · 107

Водородовоздушная

2 · 109

2 · 107

Д.4 Классификационные критерии электростатической искробезопасности неметаллических покрытий на заземленном основании представлены в таблице Д.3.

Таблица Д.3 - Классификационные критерии электростатической искробезопасности неметаллических покрытий на заземленном основании

Классификация покрытия

Исходные классификационные показатели

Критерий

1 Электропроводящее

ρv

ρv £ 105 Ом · м

2 Антистатическое

ρv

ρv £ 108 Ом · м

3 Электростатически заземленное

Rз

Rз £ 107 Ом

Примечание - Для площади участка покрытия до 20 см2

ρv и λ

ρv £ 2 · 104 / λ Ом · м

4 Электростатически безыскровое

ρv, j и λ

ρv £ 300 / (J · λ) Ом · м

ρv и λ

ρv £ 3 · 106 / λ Ом · м

5 Электростатически слабо электризующееся

n

n 0,4 nпр

V

V0,4 Vпр

ρv, j и λ

ρv 0,4 Vпр / (J · λ) Ом · м

ρv

ρv ≤ 2,9 · 1010 Ом · м

6 Электростатически искробезопасное слабо электризующееся

Категория взрывоопасной смеси, n и Vs

VsVд и n0,4nпр

Категория взрывоопасной смеси, n и ρv

ρvVд / (J · λ) и n0,4nпр

Категория взрывоопасной смеси, n и Vпр

VпрVд и n0,4nпр

Категория взрывоопасной смеси IIА, n и Vs

Vs ≤ 17,5 кВ и n0,4nпр

Категория взрывоопасной смеси IIА, n, ρv и λ

ρv ≤ 1,7 · 108 / λ Ом · м и n0,4nпр

Категория взрывоопасной смеси IIА, n и Vs

Vs ≤ 14,2 кВ и n0,4nпр

Категория взрывоопасной смеси IIА, n, ρv и λ

ρv ≤ 1,4 · 108 / λ Ом · м и n0,4nпр

Обозначения

J - плотность тока, А/м2.

n - электростатическая нагрузка безразмерная.

nпр - электростатическая нагрузка, соответствующая электростатической прочности.

Rз - электрическое сопротивление «поверхность - основание» участка слоя покрытия заданной площади.

V - потенциал, В.

Vпр - потенциал, соответствующий электростатической прочности.

Vд - потенциал, допустимое значение, В.

Vs - потенциал, обусловленный поверхностной плотностью электрических зарядов покрытия, В.

ρv - удельное объемное электрическое сопротивление материала слоя покрытия, Ом м.

λ - толщина слоя покрытия, м.

Ключевые слова: взрывоопасная испытательная смесь, статическое электричество, электростатическая искробезопасность, электрический разряд, энергия электрического разряда, заряд в импульсе, взрывная камера, коэффициент безопасности, удельное поверхностное электрическое сопротивление, электрическое сопротивление изоляции, емкость металлического элемента, электростатические свойства поверхности, заземление металлического элемента

 




ГОСТЫ, СТРОИТЕЛЬНЫЕ и ТЕХНИЧЕСКИЕ НОРМАТИВЫ.
Некоммерческая онлайн система, содержащая все Российские Госты, национальные Стандарты и нормативы.
В Системе содержится более 150000 файлов нормативно-технической документации, действующей на территории РФ.
Система предназначена для широкого круга инженерно-технических специалистов.

Рейтинг@Mail.ru Яндекс цитирования

Copyright © www.gostrf.com, 2008 - 2026