|
КАРТА ТРУДОВОГО ПРОЦЕССА СТРОИТЕЛЬНОГО ПРОИЗВОДСТВА
|
КТ-4.1-1.26-77
|
|
|
Разработана конструкторско-технологическим
институтом Минпромстроя СССР*
Откорректирована и рекомендована ВНИПИ труда в строительстве Госстроя СССР для внедрения в строительное производство
|
|
|
УСТАНОВКА ФУНДАМЕНТОВ СТАКАННОГО ТИПА
|
|
|
Входит в комплект карт ККТ-4.1-1
Монтаж каркасных зданий из сборных железобетонных элементов серии ИИ-04
|
|
|
Взамен КТ-4.1-1.26-73
|
|
* 300600, г. Тула, проспект Ленина, 108.
1. ОБЛАСТЬ
И ЭФФЕКТИВНОСТЬ ПРИМЕНЕНИЯ КАРТЫ
1.1. Карта предназначена для организации труда рабочих при установке фундаментов стаканного типа массой 1,5 т.
1.2. Показатели производительности труда
|
|
По карте
|
По ЕНиР
|
|
Выработка на 1 чел.-день, фундаментов
|
9,4
|
5,7
|
|
Затраты труда на один фундамент, чел.-ч
|
0,85
|
1,41
|
Примечание. В затраты
труда включено время на подготовительно-заключительные работы (4 %) и отдых (12
%).
1.3. Снижение затрат труда и повышение выработки рабочих достигается за счет
четкой организации труда в звене и сокращения численного состава звена по сравнению
с нормами ЕНиР на одного человека.
2. УСЛОВИЯ И ПОДГОТОВКА ВЫПОЛНЕНИЯ ПРОЦЕССА
2.1. До начала работ необходимо: закончить устройство обносок и вынести на них оси здания; закончить земляные работы и вынести на обноски нулевые отметки; проверить по нивелиру горизонтальность основания под фундаменты (при этом ниже подошвы
фундамента не должно быть разрыхленного грунта); защитить (в зимнее время) основания фундаментов из пучинистых
грунтов от промерзания; разложить фундаменты в соответствии со схемой производства работ.
2.2. Работы следует выполнять, строго соблюдая правила техники безопасности и
охраны труда рабочих согласно СНиП
III-А.11-70, § 14.
3. ИСПОЛНИТЕЛИ, ПРЕДМЕТЫ И ОРУДИЯ ТРУДА
3.1. Исполнители:
монтажник конструкций IV разряда (М1) - 1
монтажник конструкций III " (М2) - 1
3.2. Инструменты, приспособления и инвентарь
|
Наименование, назначение и основные параметры
|
ГОСТ, № чертежа
|
Количество, шт.
|
|
Строп четырехветвевой грузоподъемностью 4 т, длина ветвей 4 м
|
РЧ-508-72 ЦНИИОМТП*
|
1
|
|
Рулетка стальная
|
РС-10, ГОСТ 7502-69
|
1
|
|
Метр стальной складной
|
ГОСТ 7253-54
|
1
|
|
Отвес
|
О-400, ГОСТ 7948-71
|
1
|
|
Лопата
|
ГОСТ 3620-63
|
2
|
|
Лом монтажный
|
ГОСТ 1405-72
|
2
|
|
Молоток-кирочка
|
ГОСТ 11042-72
|
2
|
|
Шаблон для проверки установленных фундаментов по высоте
|
-
|
1
|
* Рабочие чертежи можно приобрести в Бюро внедрения ЦНИИОМТП.
4.
ТЕХНОЛОГИЯ ПРОЦЕССА И ОРГАНИЗАЦИЯ ТРУДА
4.1. Операции по укладке фундаментов выполняют в следующем порядке: подготовляют основание и фундамент к установке; стропят и подают фундамент к месту установки; принимают, устанавливают и выверяют его; расстроповывают фундамент.
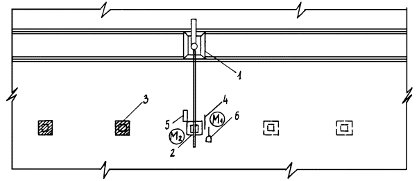
4.2. Организация рабочего места

- рабочие места монтажников
1
- башенный кран; 2 - укладываемый фундамент; 3 - уложенный фундамент; 4 - лом;
5 - ящик для инструментов; 6 - лопата
4.3. График трудового процесса

4.4. Описание операций
|
№ по графику
|
Наименование операций, их продолжительность,* исполнители и орудия труда; характеристика приемов труда
|
|
1
|
2
|
|
1
|
ПОДГОТОВКА ОСНОВАНИЯ ПОД ФУНДАМЕНТ; 7 мин; М1; лопата
Монтажник М1, находясь в котловане, очищает и начисто выравнивает гравийное или песчаное основание под фундамент

|
|
2
|
ПОДГОТОВКА ФУНДАМЕНТА К УКЛАДКЕ; 4 мин; М2; метр, лом, молоток-кирочка
Монтажник М2 осматривает фундамент, проверяет размеры стакана и целостность монтажных петель, при необходимости выправляя их ломом или молотком. Затем при помощи метра он наносит грифелем на грани стакана фундамента риски осей

|
|
3
|
СТРОПОВКА ФУНДАМЕНТА; 1 мин; М2; строп
Монтажник М2 цепляет два крюка четырехветвевого стропа за монтажные петли фундамента. Убедившись в надежности строповки, он отходит на безопасное расстояние и подает команду машинисту крана приподнять фундамент

|
|
4
|
ПОДАЧА ФУНДАМЕНТА К МЕСТУ УКЛАДКИ; 2 мин; М2; строп, лопата
Монтажник М2 осматривает нижнюю плоскость фундамента и при необходимости очищает ее от налипшего грунта, после чего машинист крана по его команде поднимает и перемещает фундамент к месту укладки
|
|
5
|
ПРИЕМ И УКЛАДКА ФУНДАМЕНТА; 5,5 мин; М1, М2; строп
Монтажники М1 и М2 принимают поданный машинистом крана фундамент на расстоянии 50 см от основания и ориентируют его над местом укладки. Затем они центрируют
фундамент, совмещая риски на фундаменте с разбивочными осями. По сигналу монтажника М1 машинист крана опускает фундамент на основание

|
|
6
|
ВЫВЕРКА ФУНДАМЕНТА; М1, М2; 5 мин; лом, отвес, шаблон

Монтажник М1 закрепляет отвес в месте пересечения проволочных осей и вместе с монтажником М2 при натянутом стропе рихтует фундамент, добиваясь полного совмещения шнура отвеса с рисками на верхней грани стакана. Затем он
подает команду машинисту крана ослабить строп и, вертикально установив шаблон на дне стакана, по совпадению риски на шаблоне с разбивочной осью здания проверяет правильность установки фундамента по высоте
|
* На один фундамент.
СОДЕРЖАНИЕ