Крупнейшая бесплатная информационно-справочная система онлайн доступа к полному собранию технических нормативно-правовых актов РФ. Огромная база технических нормативов (более 150 тысяч документов) и полное собрание национальных стандартов, аутентичное официальной базе Госстандарта. GOSTRF.com - это более 1 Терабайта бесплатной технической информации для всех пользователей интернета. Все электронные копии представленных здесь документов могут распространяться без каких-либо ограничений. Поощряется распространение информации с этого сайта на любых других ресурсах. Каждый человек имеет право на неограниченный доступ к этим документам! Каждый человек имеет право на знание требований, изложенных в данных нормативно-правовых актах!

  


 

КАРТА ТРУДОВОГО ПРОЦЕССА СТРОИТЕЛЬНОГО ПРОИЗВОДСТВА

КТ-4.1-6.6-77

Разработана конструкторско-технологическим институтом Минпромстроя СССР*

Откорректирована и рекомендована ВНИПИ труда в строительстве Госстроя СССР для внедрения в строительное производство

УКЛАДКА РИГЕЛЕЙ С ПОМОЩЬЮ РШИ

Входит в комплект карт ККТ-4.1-4

Монтаж сборных железобетонных конструкций каркасных зданий

Взамен КТ-4.1-6.6-70

* 300600, г. Тупа, проспект Ленина, 108.

1. ОБЛАСТЬ И ЭФФЕКТИВНОСТЬ ПРИМЕНЕНИЯ КАРТЫ

1.1. Карта предназначена для организации труда рабочих при укладке ригелей массой до 3 т с помощью рамно-шарнирных индикаторов (РШИ).

1.2. Показатели производительности труда

 

По карте

По ЕНиР

Выработка на 1 чел.-день, ригелей

7,3

3,8

Затраты труда на один ригель, чел.-ч

1,1

2,1

Примечание. В затраты труда включено время на подготовительно-заключительные работы и отдых.

1.3. Снижение затрат труда и повышение выработки рабочих достигается за счет использования рамно-шарнирных индикаторов (РШИ).

2. УСЛОВИЯ И ПОДГОТОВКА ВЫПОЛНЕНИЯ ПРОЦЕССА

2.1. До начала работ необходимо: смонтировать и выверить колонны, замонолитить стыки между ними; проверить соответствие полок консолей колонн проектным отметкам; проверить размеры ригелей и правильность установки закладных деталей; доставить в зону монтажа приспособления, инструменты и инвентарь и разложить их на рабочем месте.

2.2. Работы следует выполнять, строго соблюдая правила техники безопасности и охраны труда рабочих согласно СНиП III-А.11-70, § 14.

3. ИСПОЛНИТЕЛИ, ПРЕДМЕТЫ И ОРУДИЯ ТРУДА

3.1. Исполнители:

монтажник конструкций V разряда (М1) - 1

монтажник конструкций IV разряда (М2) - 1

монтажник конструкций III разряда (М3) - 1

монтажник конструкций II разряда (М4) - 1

3.2. Инструменты, приспособления и инвентарь

Наименование, назначение и основные параметры

ГОСТ, чертежа

Количество, шт.

Строп двухветвевой

РЧ-507-72 ЦНИИОМТП*

1

Лом монтажный

ГОСТ 1405-72

2

Щетка стальная

Каталог-справочник ЦНИИТЭстроймаша**, стр. 83

3

Шаблон

-

1

Кондуктор для временного крепления и выверки ригеля

Чертеж ТС-054 треста Оргтехстроя Главзапстроя***

8

* Рабочие чертежи можно приобрести в Бюро внедрения ЦНИИОМТП.

** 121019, Москва, Г-19, ул. Маркса и Энгельса, 7/10.

*** Ленинград-Центр, ул. Герцена, 31.

4. ТЕХНОЛОГИЯ ПРОЦЕССА И ОРГАНИЗАЦИЯ ТРУДА

4.1. Операции по установке ригеля выполняют в следующем порядке: устанавливают поворотно-выдвижные люльки в рабочее положение; стропят ригель и подают его к месту установки; принимают и устанавливают ригель в проектное положение; выверяют и временно крепят его; расстроповывают ригель.

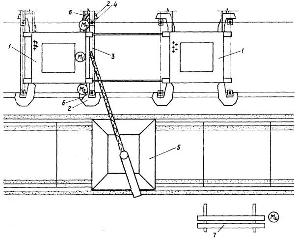
4.2. Организация рабочего места

 - рабочие места монтажников

1 - рамно-шарнирные индикаторы; 2 - поворотно-выдвижные люльки; 3 - монтируемый ригель; 4 - кондуктор; 5 - кран; 6 - монтажные ломы; 7 - место складирования ригелей

4.3. График трудового процесса

4.4. Описание операций

№ по графику

Наименование операций, их продолжительность, * исполнители и орудия труда; характеристика приемов труда

1

2

1

УСТАНОВКА ПОВОРОТНО-ВЫДВИЖНЫХ ЛЮЛЕК В РАБОЧЕЕ ПОЛОЖЕНИЕ; 1 мин; М1, М3

Монтажники М1 и М3 ослабив зажимные винты фиксаторов, вращением рукояток против часовой стрелки поворачивают люльки в рабочее положение. Вращая рукоятки по часовой стрелке, они закрепляют люльки фиксаторами

2

ОЧИСТКА ЗАКЛАДНЫХ ДЕТАЛЕЙ; 2 мин; М1, М3; стальные щетки

Монтажники М1 и М3, стоя в люльках, стальными щетками очищают закладные детали на консолях колонн от ржавчины, масляных пятен и наплывов бетона

3

СТРОПОВКА И ПОДАЧА РИГЕЛЯ К МЕСТУ УКЛАДКИ; М2 - 1 мин; М4 - 3 мин; строп

Монтажник М4 цепляет двухветвевой строп за крюк крана, а машинист крана подает его к штабелю ригелей. Монтажник М4 стропит ригель и, убедившись в надежности строповки, отходит на безопасное расстояние. По его команде машинист крана поднимает ригель и подает его к месту укладки

4

ПРИЕМ И УКЛАДКА РИГЕЛЯ; 7,5 мин; М1, М2, М3; строп, ломы, шаблон, кондукторы

Монтажник М2, стоя на верхней площадке РШИ, подает команду машинисту крана опустить ригель над консолями колонн. Монтажники М1 и М3, находясь в поворотно-выдвижных люльках, принимают ригель на высоте 0,5 - 0,7 м от верха консолей и, придерживая его за концы, наводят на опоры. По команде монтажника М2 машинист крана опускает ригель на консоли колонн. Монтажники М1 и М3 проверяют шаблоном расстояние в свету между колонной и торцом ригеля и в случае необходимости ломами рихтуют ригель в проектное положение. Затем с помощью фиксаторов монтажники закрепляют на колоннах кондукторы и, перемещая ригель прижимными винтами, выверяют его положение в плане

* На один ригель.

СОДЕРЖАНИЕ

 

 




ГОСТЫ, СТРОИТЕЛЬНЫЕ и ТЕХНИЧЕСКИЕ НОРМАТИВЫ.
Некоммерческая онлайн система, содержащая все Российские Госты, национальные Стандарты и нормативы.
В Системе содержится более 150000 файлов нормативно-технической документации, действующей на территории РФ.
Система предназначена для широкого круга инженерно-технических специалистов.

Рейтинг@Mail.ru Яндекс цитирования

Copyright © www.gostrf.com, 2008 - 2026