| |
|
КАРТА ТРУДОВОГО ПРОЦЕССА СТРОИТЕЛЬНОГО ПРОИЗВОДСТВА
|
КТ-4.1-0.9-77
|
|
|
Разработана трестом Ленинградоргстрой *
Откорректирована и рекомендована ВНИПИ труда в строительстве Госстроя СССР для внедрения в строительное производство
|
|
|
МОНТАЖ БЛОКОВ ШАХТ ЛИФТОВ ШЛ-1
|
|
|
Входит в комплект карт ККТ-4.1-26
Монтаж элементов жилых домов серии 1ЛГ-504Д
|
|
|
Взамен КТ
|
|
*
190121, Ленинград, Ф-121, Набережная Мойки, 122.
1.1. Карта предназначена для организации труда рабочих при монтаже железобетонных блоков шахт лифтов ШЛ-1 массой 3,7 т.
1.2. Показатели производительности труда
|
|
По карте
|
По ЕНиР
|
|
Выработка на 1 чел.-день, блоков
|
8
|
-
|
|
Затраты труда на один блок, чел.-ч
|
1
|
-
|
2.1. До начала работ необходимо: закончить монтаж плит перекрытия предыдущего этажа; установить ограждения лестничных маршей и монтажного проема; вынести на перекрытие монтажные отметки для установки блока шахты; доставить блок шахты в зону действия башенного крана; установить в блоке шахты рабочий настил для монтажа оборудования лифта; доставить на рабочее место инструменты и приспособления.
2.2. Работы следует выполнять, строго соблюдая правила техники безопасности и охраны труда рабочих согласно СНиП III-А.11-70, § 14.
3.1. Исполнители:
монтажные конструкций V разряда (М1) - 1
монтажник конструкций IV (М2) - 1
такелажник III разряда (Т) - 1
машинист крана V (К) - 1
электросварщик V (Э) - 1
3.2. Инструменты, приспособления и инвентарь
|
Наименование, назначение и основные параметры
|
ГОСТ, № чертежа
|
Количество, шт.
|
|
Строп четырехветвевой грузоподъемностью 5 т
|
ГОСТ 19144-73
|
1
|
|
Рейка-отвес
|
Чертеж 615.00.00.00 треста Мосоргстрой*
|
1
|
|
Столик-стремянка
|
Чертеж 2577.00.00.00 того же треста
|
1
|
|
Ящик-контейнер стальной объемом 0,3 м3 для раствора
|
Чертеж 3182.00.00.00 того же треста
|
1
|
|
Лом монтажный
|
ГОСТ 1405-72
|
2
|
|
Лопата для раствора
|
ГОСТ 3620-63
|
2
|
|
Кельма
|
ГОСТ 9533-71
|
2
|
|
Ведро для воды
|
-
|
1
|
|
Сварочный аппарат
|
СТЭ-300
|
1
|
|
Комплект инструментов электросварщика
|
-
|
1
|
*
113095, Москва, Ж-95; Б. Полянка, 51а.
4.1. Операции по монтажу блоков шахт лифтов выполняют в следующем порядке: подготовляют блок шахты к строповке; снимают крышку проема шахты лифта; подают строп к блоку и стропят его; устраивают растворную постель; поднимают и подают блок к месту монтажа; принимают, устанавливают, выверяют и расстроповывают блок; устанавливают крышку проема шахты лифта; устанавливают ограждение дверного проема; крепят блок электросваркой закладных деталей.
4.2. Допустимые отклонения:
а) верха боковых граней блока шахты от вертикали - не более 5 мм;
б) верха граней шахты на всю ее высоту - не более 30 мм.
4.3. Организация рабочего места

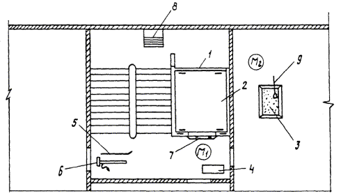
- рабочие места монтажников
1 - блок шахты лифта; 2 - защитная крышка проема шахты лифта; 3 - ящик с раствором; 4 - ящик с инструментами; 5 - лом; 6 - рейка-отвес; 7 - ограждение дверного проема; 8 - столик-стремянка; 9 - лопата
4.4. График трудового процесса

Примечание. В затраты труда включено время на
подготовительно-заключительные работы и отдых.
4.5. Описание операций
|
№ по графику
|
Наименование операции, их продолжительность, * исполнители и орудия труда; характеристика приемов труда
|
|
1
|
2
|
|
1
|
ПОДГОТОВКА БЛОКА К СТРОПОВКЕ; 2,5 мин; Т; лом, лопата
Такелажник Т осматривает блок шахты лифта, проверяет прочность монтажных петель и наличие закладных деталей, при необходимости очищая их от грязи и наплывов раствора
|
|
2, 3
|
СНЯТИЕ КРЫШКИ С ПРОЕМА ШАХТЫ ЛИФТА; ПОДАЧА СТРОПА; М1, М2 - 1 мин; К - 2,5 мин; строп
Монтажники М1 и М2 стропят крышку монтажного проема шахты лифта. Машинист крана К по команде монтажника М1 поднимает, а затем переносит и опускает крышку на перекрытие. Монтажники М1 и М2 расстроповывают крышку, и монтажник М1 дает машинисту крана сигнал о подаче стропа к блоку

|
|
4
|
СТРОПОВКА БЛОКА; 0,5 мин; Т, К; столик-стремянка, строп, лом
Такелажник Т, находясь на столике-стремянке, цепляет крюки стропа сначала за две монтажные петли блока, затем он переставляет столик-стремянку и стропит две другие петли блока. После чего он убирает столик-стремянку и отходит от блока на 4 - 5 м

|
|
5
|
ПОДЪЕМ И ПОДАЧА БЛОКА К МЕСТУ УСТАНОВКИ; 2 мин; Т, К; строп
По сигналу такелажника Т машинист крана К приподнимает блок на 20 - 30 см. Убедившись в надежности строповки, такелажник дает команду переместить блок к месту установки. Машинист крана К плавно поднимает блок и подает его к месту установки
|
|
6
|
УСТРОЙСТВО РАСТРОВОЙ ПОСТЕЛИ; 4 мин; М1, М2; ящик с раствором, лопаты, кельмы, ведро с водой, столик-стремянка
Монтажники М1 и М2 при необходимости очищают и смачивают водой место опирания
блока. Монтажник М1 подает лопатой из ящика раствор и, держа лопату наклонно, раскладывает его на верхних гранях блока. Монтажник М2 разравнивает кельмой и втапливает в раствор монтажные клинья для последующей выверки положения блока

|
|
7
|
ПРИЕМ, УСТАНОВКА И ВЫВЕРКА БЛОКА; 5 мин; М1, М2, К; рейка-отвес, лом
По сигналу монтажника М1 машинист крана К подает блок к месту установки. Монтажники М1 и М2 принимают его на высоте
20 - 30 см над опорной поверхностью и разворачивают в нужном направлении. Затем по сигналу монтажника М1 машинист крана медленно опускает блок, а монтажники направляют его на ранее установленный и с помощью ломов совмещают наружные грани блоков.
Монтажник М1 проверяет вертикальность установки блока рейкой-отвесом, плотно прижимая ее упорами к выверяемым плоскостям двух смежных стенок.

Незначительные отклонения по вертикали монтажник М2 устраняет, осаживая
завышенную сторону путем постепенного вытаскивания клиньев, для чего машинист крана по его сигналу приподнимает, а затем опускает блок
|
|
8
|
РАССТРОПОВКА БЛОКА; 0,5 мин; М1, К; столик-стремянка
Машинист крана К по сигналу монтажника М1 ослабляет натяжение ветвей стропа. Монтажник М1 приставляет к установленному блоку столик-стремянку, поднимается на него и расстроповывает блок, поочередно вынимая крюки стропа из монтажных петель. Убрав столик-стремянку, монтажник М1 дает машинисту
крана сигнал подать строп к крышке монтажного проема
|
|
9
|
УСТАНОВКА КРЫШКИ НА ПРОЕМ ШАХТЫ ЛИФТА; 1,5 мин; М1, М2, К; столик-стремянка
Монтажник М2 стропит крышку и дает машинисту крана сигнал подать ее к установленному блоку. Монтажник М1, стоя на столике-стремянке, принимает и
устанавливает защитную крышку, а затем расстроповывает ее
|
|
10
|
УСТАНОВКА ОГРАЖДЕНИЯ ДВЕРНОГО ПРОЕМА; 0,5 мин; М2
Монтажник М2 устанавливает инвентарное стальное ограждение дверного проема блока. При этом сначала он устанавливает вертикально две боковые вилки, заводит ограждение в проем, а затем, повернув вилки горизонтально, закрепляет ограждение на блоке

|
|
12
|
КРЕПЛЕНИЕ ПРЕДЫДУЩЕГО БЛОКА ЭЛЕКТРОСВАРКОЙ; 12 мин; Э; комплект инструментов электросварщика, сварочный аппарат
Электросварщик Э, находясь на лестничной площадке, приваривает петли ранее
смонтированного блока к закладным деталям вновь установленного. Причем предварительно электросварщик подгибает молотком петли, чтобы они оказались
вплотную к закладным деталям и зачищает места сварки стальной щеткой. Сварной шов он накладывает по наружному и внутреннему контурам петли, следя за тем, чтобы высота катета была не менее 6 мм

Блок шахты лифта ШЛ-1
1 - блок шахты лифта; 2 - рабочий настил
|
* На один блок шахты лифта
СОДЕРЖАНИЕ
|
|