Крупнейшая бесплатная информационно-справочная система онлайн доступа к полному собранию технических нормативно-правовых актов РФ. Огромная база технических нормативов (более 150 тысяч документов) и полное собрание национальных стандартов, аутентичное официальной базе Госстандарта. GOSTRF.com - это более 1 Терабайта бесплатной технической информации для всех пользователей интернета. Все электронные копии представленных здесь документов могут распространяться без каких-либо ограничений. Поощряется распространение информации с этого сайта на любых других ресурсах. Каждый человек имеет право на неограниченный доступ к этим документам! Каждый человек имеет право на знание требований, изложенных в данных нормативно-правовых актах!

  


 

РОССИЙСКАЯ АКАДЕМИЯ АРХИТЕКТУРЫ
И
СТРОИТЕЛЬНЫХ НАУК

РУКОВОДСТВО
по комплексному освоению
подземного
пространства
крупных
городов

Москва - 2004

ПРЕДИСЛОВИЕ

РУКОВОДСТВО

1. РАЗРАБОТАНО:

Российской Академией архитектуры и строительных наук (академик РААСН, доктор техн. наук, проф. Ильичев В.А. - руководитель работы, доктор архитектуры, проф. Голубев Г.Е.; кандидаты техн. наук: Замараев А.В., Скачко А.Н., Игнатова О.И., Буданов В.Г., Короткова О.Н.)

2. ОДОБРЕНО и рекомендовано к изданию:

Ученым советом РААСН (протокол от 30.11.2004 г.) для использования проектными и строительными организациями России

3. ПОДГОТОВЛЕНО к изданию:

Управлением перспективного проектирования, нормативов и координации проектно-изыскательских работ Москомархитектуры и ГУП «НИАЦ» Москомархитектуры

СОДЕРЖАНИЕ

Введение. 2

1. Основные положения. 4

2. Основные принципы развития систем подземных сооружений и их взаимосвязи в многофункциональных комплексах различного назначения. 5

2.1. Основные предпосылки и ограничения комплексного освоения подземного пространства городов. 6

2.2. Номенклатура городских подземных сооружений. 6

2.3. Градостроительные основы подземного строительства в крупных городах. 7

2.4. Многофункциональные подземные объекты и их комплексы.. 10

2.5. Подземные сооружения улично-дорожной и транспортной сети. 12

2.6. Автомобильные стоянки и гаражи. 14

3. Особенности инженерно-геологических и геоэкологических изысканий для подземных сооружений. 15

3.1. Инженерно-геологические изыскания. 15

3.2. Геоэкологические изыскания. 19

4. Подземные сооружения, возводимые открытым способом.. 22

4.1. Применение и выбор эффективных методов и технологий строительства. 22

4.1.1. Общие положения. 22

4.1.2. Современные методы ограждения глубоких котлованов. 23

4.1.3. Методы строительства способами «сверху-вниз» и «вверх-вниз». 33

4.1.4. Применение струйной цементации (технологии «jet-grouting») в подземном строительстве. 35

4.2. Основные принципы проектирования подземных сооружений, возводимых открытым способом.. 36

5. Городские подземные сооружения мелкого заложения, возводимые закрытым способом.. 40

5.1. Горные способы работ. 41

5.2. Проходка выработок под защитой опережающей крепи. 47

5.3. Способ продавливания пешеходных и коммуникационных тоннелей небольшого диаметра. 51

5.4. Щитовые способы работ. 54

5.5. Бестраншейные способы прокладки коммуникаций. 57

5.6. Основные принципы проектирования городских подземных сооружений, возводимых закрытым способом.. 62

6. Защита от подземных вод. 65

6.1. Дренажные системы.. 65

6.2. Гидроизоляция подземных сооружений. 72

6.3. Основные принципы проектирования защиты подземных сооружений от подземных вод. 77

7. Основные принципы защиты существующей застройки при устройстве подземных сооружений. 83

8. Мониторинг при строительстве и эксплуатации подземных сооружений. 87

8.1. Геотехнический мониторинг. 87

8.2. Инженерно-геологический мониторинг. 90

8.3. Экологический мониторинг подземных вод. 91

Список использованных источников. 92

Приложение а. Оценка технического состояния зданий по внешним признакам.. 96

Приложение б. Определение дополнительных осадок зданий от влияния водопонижения или дренажа. 97

Приложение в. Методы и аппаратура, применяемые при обследовании конструкций при мониторинге. 98

Приложение г. Современные методы и средства геофизических исследований при проведении мониторинга подземных сооружений и окружающей застройки. 99

ВВЕДЕНИЕ

Рост объемов и масштабов подземного строительства в крупных городах, развивающихся как культурно-исторические и торгово-промышленные центры, наблюдается сегодня во всем мире. Связан он с непрерывно возрастающей концентрацией населения в этих городах и непрерывным ростом численности автомобильного парка, которые порождают практически все наиболее острые современные городские проблемы - территориальные, транспортные, экологические, энергетические.

Мировая практика градостроительства свидетельствует, что одним из наиболее эффективных путей решения этих проблем является комплексное освоение подземного пространства, в котором могут размещаться сооружения различного назначения.

В последние десятилетия рост объемов и масштабов подземного строительства наблюдается и в крупных городах России. Строятся крупные подземные комплексы различного назначения, транспортные и коммуникационные тоннели, подземные стоянки и гаражи, производственные и складские помещения, растет протяженность линий метрополитена.

Важнейшую роль в комплексном освоении подземного пространства городов играют архитектурно-планировочные решения подземных объектов. К настоящему времени уже в значительной степени определились общие требования к городскому подземному строительству. В частности, предпочтительной признана такая его форма, при которой наземная и подземная части городской застройки сочетаются на основе принципов их максимального горизонтального и вертикального блокирования.

Сложность и высокий уровень ответственности подземных сооружений, значительное влияние их возведения в условиях плотной городской застройки на существующие окружающие объекты выдвигает целый ряд требований, которые необходимо учитывать при планировании, проектировании и строительстве этих сооружений. Основные из них сводятся к следующим.

1) Необходимость изучения строения и свойств грунтов на большую глубину, разработки прогнозов возможных изменений состояния окружающего грунтового массива и гидрогеологических условий, а также обследования оснований близрасположенной застройки, предопределяют значительное увеличение площади, объема и детальности инженерно-геологических изысканий по сравнению с требованиями действующих нормативных документов.

2) Применяемые конструктивные решения и технологии возведения подземных сооружений должны обеспечивать сохранность и нормальные условия эксплуатации окружающих наземных и подземных объектов, особенно памятников истории и архитектуры. Для решения этой задачи необходимо проводить математическое моделирование изменения напряженно-деформированного состояния грунтового массива, вмещающего в себя само подземное сооружение, а также основания существующих зданий, попадающих в зону влияния нового строительства.

3) При возведении и эксплуатации подземных сооружений первостепенное значение приобретает их защита от подземных вод, особенно при наличии помещений, где должно быть абсолютно сухо. Это требует при проектировании решать вопросы водопонижения, дренирования грунтов и устройства гидроизоляции.

4) При проектировании подземных сооружений необходимо также проектировать проведение геотехнического мониторинга, способного обеспечить как контроль в процессе выполнения принятых проектных решений, так и оперативную корректировку этих решений в случае необходимости.

К настоящему времени научными, проектными и строительными организациями уже накоплен большой опыт успешной реализации даже самых сложных проектов подземного строительства. Созданы новые прогрессивные конструктивные и технологические решения подземных объектов, в том числе для защиты окружающей застройки, разработаны методы расчета и численного моделирования поведения возводимого подземного объекта и находящихся в зоне его влияния существующих объектов, методы и средства мониторинга. Главный акцент при разработке проблемы комплексного освоения подземного пространства крупных городов приходится сегодня на поиск путей наиболее целесообразного размещения подземных объектов и наиболее рационального применения тех методов и средств их возведения, которые наработаны. Поэтому большое значение приобретает научно-техническое сопровождение городского подземного строительства, которое в последние годы стало одной из главных составляющих системы обеспечения его безопасности и надежности.

Настоящее Руководство содержит рекомендации по использованию новейших отечественных и зарубежных достижений в области комплексного освоения подземного пространства крупных городов. Руководство состоит из восьми разделов.

Первый раздел содержит общие положения по комплексному освоению подземного пространства.

Второй раздел посвящен градостроительным основам современного городского подземного строительства и отражает основные принципы развития систем городских подземных сооружений и их взаимосвязи в многофункциональных комплексах различного назначения.

В третьем разделе изложены особенности инженерно-геологических и геоэкологических изысканий для проектирования и строительства подземных сооружений.

В четвертом и пятом разделах рассмотрены вопросы применения и выбора эффективных методов и технологий строительства подземных сооружений, возводимых в открытых котлованах и закрытым способом, а также изложены основные принципы проектирования этих сооружений.

Защите подземных сооружений от подземных вод посвящен шестой раздел, а в седьмом разделе изложены основные принципы защиты существующей окружающей застройки при устройстве подземных сооружений.

В восьмом разделе рассмотрены вопросы организации геотехнического и инженерно-геологического мониторинга при строительстве и эксплуатации подземных сооружений.

Вспомогательные материалы приведены в четырех приложениях к основным разделам Руководства.

1. Основные положения

1.1. Настоящее Руководство распространяется на городские подземные и заглубленные (далее для краткости подземные) сооружения, возводимые открытым способом (в котлованах) и закрытым способом (подземной проходкой): подземные комплексы многоцелевого назначения, подземные гаражи и автостоянки, коммуникационные тоннели, подземные пешеходные переходы и др.

Руководство в части разделов 3 - 8 не распространяется на тоннели метрополитена и автотранспортные тоннели.

1.2. Освоение подземного пространства городов должно осуществляться по единому градостроительному плану, увязанному с генеральным планом развития города.

1.3. Подземные сооружения необходимо проектировать на основе применения достижений подземной архитектуры с использованием многообразных объемно-планировочных и конструктивных решений, современных строительных технологий и материалов.

1.4. При размещении подземных сооружений, обосновании и выборе технических решений и технологии производства работ должен применяться комплексный подход, состоящий в совместном рассмотрении трех составляющих: первая - наземная часть города со зданиями, дорогами, инженерной инфраструктурой, водной средой; вторая - подземная часть города, включающая тоннели и станции метрополитена, автотранспортные тоннели, подземные объекты любого назначения, подземные коммуникации и др.; третья - инженерно-геологическая среда. Эти три составляющие должны учитываться в процессах планирования, инвестирования, проектирования, строительства и эксплуатации объектов, размещаемых в подземном пространстве.

1.5. Для исключения инженерно-строительного риска необходимо планировать подземное строительство в зависимости от инженерно-геологических условий территории города. В соответствии с этим должны предъявляться строгие требования к площади, глубине и объему вторжения в подземное пространство на различных участках, конструктивным решениям и технологиям производства работ.

1.6. Инженерно-геологические изыскания для проектирования и строительства подземных сооружений должны выполняться в соответствии с действующими нормативными документами по инженерным изысканиям с учетом требований, изложенных в разделе 3 настоящего Руководства.

Особое внимание должно быть уделено прогнозу изменения начального геомеханического состояния грунтового массива и гидрогеологических условий под влиянием строительных работ по возведению подземного сооружения, а также прогнозу возможной активизации опасных геологических и инженерно-геологических процессов (карстовых, суффозионных, оползневых и др.).

Для сложных и ответственных подземных сооружений или возводимых в сложных инженерно-геологических условиях необходимо предусматривать мониторинг отдельных компонентов геологической среды.

1.7. Технические решения подземных сооружений должны обосновываться расчетами напряженно-деформированного состояния их конструкций и вмещающего массива грунта с примыкающими зданиями и сооружениями.

1.8. Конструктивные и технологические решения подземных сооружений, возводимых в условиях тесной городской застройки, должны обеспечивать сохранность близрасположенных существующих сооружений, для чего необходимо предусматривать:

- исследование влияния нового строительства на изменение напряженно-деформированного состояния грунтового массива и режима подземных вод;

- обследование оснований, фундаментов и конструкций окружающих сооружений;

- расчетный прогноз деформаций сооружений, попадающих в зону влияния подземного строительства;

- разработку, при необходимости, защитных мероприятий;

- организацию геотехнического мониторинга.

При проектировании подземных сооружений должны быть также предусмотрены инженерные мероприятия, обеспечивающие экологическую защиту прилегающей территории от подтопления, загрязнения подземных вод и пр.

1.9. Для выполнения работ по обследованию оснований и конструкций существующих сооружений, попадающих в зону влияния строительства подземного сооружения, составления расчетных прогнозов дополнительных деформаций этих сооружений и для организации геотехнического мониторинга следует привлекать специализированные организации.

1.10. При проектировании подземных сооружений следует учитывать уровень их ответственности и ответственности сооружений, на которые может оказывать влияние подземное строительство.

Если влияние проектируемого подземного сооружения распространяется на объекты более высокого уровня ответственности, то уровень ответственности проектируемого сооружения должен быть повышен до уровня ответственности этих объектов.

1.11. Основные технические решения, принимаемые при проектировании подземных сооружений (расположение в плане и по глубине, тип и форма сечения, конструктивные решения несущих конструкций и фундаментов, способ защиты от подземных вод и др.), должны обосновываться путем сравнения технико-экономических показателей различных вариантов проектных решений с учетом затрат на строительство и эксплуатацию сооружения.

1.12. При возведении подземных сооружений необходимо применять передовые технологии и методы работ, обеспечивающие широкое использование современных машин и механизмов, рост производительности труда и благоприятные условия работы.

1.13. Внедрение передовых технических решений и новой техники в сложных условиях городского подземного строительства, не отраженных в действующих нормативных документах, может выполняться первоначально в экспериментальном порядке при соответствующем научно-техническом сопровождении, согласовании с надзорными органами и с последующей, при необходимости, корректировкой проектной документации.

1.14. При проектировании и возведении подземных сооружений следует соблюдать требования нормативных документов по организации строительного производства, обеспечивать соблюдение правил техники безопасности, выполнение требований пожарной безопасности, охраны окружающей среды и санитарных норм.

1.15. В процессе строительства следует выполнять производственный контроль, предусмотренный действующими нормативными документами, соблюдать основные требования операционного контроля качества строительно-монтажных работ и проводить мониторинг существующей застройки и окружающей среды.

2. Основные принципы развития систем подземных сооружений и их взаимосвязи в многофункциональных комплексах различного назначения

2.1. Основные предпосылки и ограничения комплексного освоения подземного пространства городов

2.1.1. Освоение подземного пространства позволяет решать следующие задачи градостроительства:

- предельно компактно размещать здания и сооружения самого различного назначения в наиболее нужных для города местах, в том числе в условиях крайне стесненной застройки;

- совершенствовать транспортное обслуживание населения со значительным повышением скоростей сообщения благодаря использованию подземных рельсовых путей (электрифицированных железных дорог, метрополитена традиционного и новых модификаций, «скоростного трамвая»), а также благодаря организации на отдельных участках магистральных улиц и автомобильных дорог непрерывного движения;

- обеспечивать оптимальные условия для развития, эксплуатации и ремонта городских инженерных сетей;

- решать проблему постоянного и временного хранения непрерывно возрастающего парка легковых автомобилей и других видов транспорта;

- обеспечивать значительную экономию топливно-энергетических ресурсов.

2.1.2. Городское подземное строительство способствует оздоровлению городской среды: уменьшается загрязненность воздушного бассейна, снижаются уровни шумов и вибраций, появляется возможность увеличения площадей озелененных и обводненных территорий.

2.1.3. В первую очередь целесообразно размещать под землей объекты, в которых технологические процессы полностью автоматизированы и герметизированы или, наоборот, просты и не требуют большого количества обслуживающего персонала.

2.1.4. Подземные сооружения не нуждаются в каких-либо разрывах между собой и в нужных для города местах могут распространяться на большие площади. На пространственную организацию подземных сооружений почти не оказывает влияние рельеф, а благодаря созданию подземных транспортных и пешеходных путей могут быть обеспечены самые удобные условия движения с минимальной высотой перемещений по вертикали.

2.1.5. При определении зон наиболее активного подземного строительства решающим фактором должна являться социальная и технико-экономическая целесообразность использования тех или иных участков и зон города.

2.1.6. Проблема использования подземного пространства городов наиболее актуальна в их центральных, наиболее посещаемых районах, где преобладает капитальная опорная и исторически ценная застройка, а также в различных специализированных центрах и в общественно-транспортных комплексах. При этом подземные сооружения могут быть расположены практически повсеместно, в том числе под зданиями, улицами и площадями, а также под водой.

2.1.7. На характер и масштабы строительства подземных сооружений и их конструктивно-планировочные решения значительное влияние оказывает совокупность конкретных природно-климатических и антропогенных факторов.

К природно-климатическим факторам относятся показатели характерного температурно-влажностного и ветрового режима местности, особенности рельефа, геологии и гидрогеологии, наличие акваторий и др. К антропогенным факторам относится все то, что было ранее создано в городе человеком.

2.1.8. В крупных городах потенциально возможны значительные объемы подземного строительства. Ниже уровня поверхности земли может быть размещено до 70 % от общего объема гаражей, до 80 % складов, до 50 % архивов и хранилищ, до 30 % предприятий сферы обслуживания и других служб.

2.2. Номенклатура городских подземных сооружений

2.2.1. Перечень основных видов городских объектов, потенциально пригодных для размещения ниже уровня поверхности земли, включает:

- инженерно-транспортные сооружения (автотранспортные и пешеходные тоннели; подземные участки путей рельсового транспорта - метрополитена, мини-метро, «скоростного трамвая»; автомобильные стоянки и гаражи; помещения автобусных и железнодорожных вокзалов и др.);

- предприятия торговли и общественного питания (торговые центры и залы; магазины различного профиля и киоски; вспомогательные помещения кафе, столовых, ресторанов и др.);

- административные, зрелищные и спортивные сооружения (конференц-залы, архивы, выставочные и концертные залы, кинотеатры, спортивные залы, плавательные бассейны, катки с искусственным льдом и др.);

- предприятия коммунально-бытового обслуживания и связи (ателье ремонта, химчистки, прачечные, бани, парикмахерские, почтовые и телеграфные отделения, автоматические телефонные станции и др.);

- объекты складского хозяйства (продуктовые и промтоварные склады, овощехранилища, холодильники, резервуары для жидкостей и газов, склады горюче-смазочных материалов и др.);

- объекты промышленного назначения и энергетики, в которых необходима тщательная защита от пыли, вибраций, перепадов температур и других внешних воздействий;

- сооружения и сети инженерного оборудования (сети водопровода и канализации, электроснабжения и газоснабжения, тепловые сети, котельные, насосные станции и резервуары, общие проходные коллекторы, трансформаторные станции, газораспределительные станции и др.).

2.2.2. Подземные сооружения и их комплексы в зависимости от назначения, связей с окружающей застройкой и архитектурно-пространственной формы могут быть подразделены следующим образом:

- монофункциональные и многофункциональные;

- расположенные отдельно и встроенные или пристроенные к зданиям и сооружениям;

- мелкого (на отметках до -15 м от уровня поверхности земли) и глубокого (ниже -15 м) заложения.

- одноуровневые и многоуровневые.

2.3. Градостроительные основы подземного строительства в крупных городах

2.3.1. Комплексное использование подземного строительства необходимо осуществлять во всех функциональных зонах городов. Степень и характер освоения подземного пространства той или иной территории города следует дифференцировать:

- по расположению ее в плане города, по функциональному назначению ее различных зон и ценности земли;

- по характеру застройки (плотности жилья и другой недвижимости, степени ее амортизации, а также архитектурно-художественной и культурно-исторической ценности);

- по уровню развития городского уличного и внеуличного транспорта;

- по обеспеченности предприятиями культурно-бытового обслуживания;

- по совокупности природно-климатических и инженерно-геологических условий.

2.3.2. Планирование подземного строительства должно быть тесно связано с градостроительным планированием. При этом можно условно выделить следующие основные группы подземных объектов:

- «плоскостные» (объекты и их комплексы, распространенные на отдельные участки городских территорий);

- «линейные» (протяженные объекты и их комплексы, например, магистральные сети и сооружения водоснабжения, энергоснабжения, газоснабжения, связи и др.);

- «точечные» (относительно компактные объекты и их комплексы).

2.3.3. Основной зоной комплексного использования подземного пространства города является зона городского центра и другие, наиболее посещаемые части города.

Общие принципы горизонтального зонирования подземного пространства центра города могут быть определены следующим образом:

- в ядре центральной части города, с его высокой концентрацией дневного населения и транспорта, подземное пространство объектов массового посещения целесообразно использовать преимущественно для размещения сооружений транспортного назначения, а подземное пространство других зданий и участков между ними - для технологических, складских и вспомогательных помещений, объектов культурно-бытового обслуживания и др.;

- на периферии центральной части города, в зонах концентрации пешеходных и транспортных потоков, целесообразно создание многофункциональных общественно-транспортных комплексов, включающих в себя пересадочные узлы, гаражи и стоянки легковых автомобилей, а также предприятия культурно-бытового обслуживания, предприятия торговли и общественного питания.

2.3.4. Подземное пространство в селитебных зонах целесообразно использовать для комплексного размещения в нем автостоянок и гаражей, небольших предприятий торговли, общественного питания и коммунально-бытового обслуживания, всех видов подсобных помещений, «точечных» объектов системы инженерного оборудования, а также различных комплексов этих сооружений.

2.3.5. Основной принцип использования подземного пространства в зонах массовой жилой застройки - это устройство подвальных (подземных) и цокольных (полуподземных) помещений под жилыми и общественными зданиями, а в необходимых случаях - и под незастроенными участками. При этом для предварительных расчетов площади подземных помещений можно принимать по 0,2 м2/чел. на цели торговли и бытового обслуживания и по 0,1 м2/чел. на цели культурно-просветительных, зрелищных, спортивных и других организаций.

2.3.6. Использование подземного пространства промышленных зон и районов рекомендуется для следующих производств:

- не допускающих каких-либо вибраций несущих и ограждающих конструкций;

- требующих наличия стабильного микроклимата;

- требующих максимальной изолированности от внешней среды.

Промышленные зоны рекомендуется также использовать для размещения складов, в т.ч. требующих стабильного температурно-влажностного режима, и организации непрерывного движения потоков производственных изделий и грузов.

2.3.7. Освоение подземного пространства промышленных зон может осуществляться:

- отдельно для каждого объекта (с перенесением под землю автоматизированных производств, подсобных помещений и складов);

- на основе максимального блокирования или полного кооперирования отдельных объектов.

2.3.8. В коммунально-складских зонах города в подземном пространстве целесообразно размещать различного рода хранилища, депо метрополитена, трамвайные депо, троллейбусные и автобусные парки, гаражи грузовых и специальных автомобилей.

При этом следует учитывать возможность размещения объектов складского хозяйства в отработанных горных выработках шахт и карьеров по добыче известняков, гипса, песчаников, соли и др.

2.3.9. В подземном пространстве зон прибытия и отправления внешнего транспорта рекомендуется размещение вокзалов, пересадочных узлов различной степени сложности, гаражей и стоянок легковых автомобилей и др.

2.3.10. Подземное пространство зон отдыха целесообразно использовать для размещения тоннельных участков транспортной сети города, стоянок легковых автомобилей, небольших предприятий сферы обслуживания и др.

2.3.11. Необходимая степень использования подземного пространства каждой конкретной зоны или участка определяется на основе комплексного анализа территории с учетом:

- распределения на территории дневного населения и транспорта;

- расчетных показателей системы обслуживания, как населения самого города, так и тяготеющих к нему пригородов;

- характера сложившейся застройки, ее этажности, степени амортизации, а также ее исторической и художественной ценности.

- характера проектируемой наземной застройки, а также природно-климатических условий.

2.3.12. Помимо общих принципов горизонтального зонирования подземного пространства городов, важен учет наиболее общих принципов его вертикального зонирования. К их числу относятся следующие:

- максимальное приближение основных уровней пешеходного движения к уровню поверхности земли (расположение их на отметках от -4,00 до -6,00 м; в этих же отметках целесообразно размещение объектов «попутного» обслуживания, в том числе автостоянок кратковременного хранения и остановочных пунктов массового транспорта);

- размещение ниже указанных выше отметок (на отметках от -6,00 до -15,00 м) автотранспортных тоннелей и станций метро мелкого заложения; в этих же отметках целесообразно размещение различных подсобных помещений и крупных складских объектов, а также гаражей, предназначенных для постоянного хранения автомобилей и других транспортных средств;

- размещение на отметках от -15,00 до -40,00 м и ниже автотранспортных тоннелей и станций метрополитена глубокого заложения, а также крупных складов, резервуаров, морозильников, холодильников и других объектов без значительного количества посетителей и обслуживающего персонала.

2.3.13. Разработка основных направлений комплексного использования подземного пространства городов должна осуществляться на всех основных стадиях градостроительного проектирования:

- при составлении или корректировке Генерального плана развития города;

- при разработке проектов детальной планировки и застройки города;

- при разработке проекта застройки.

2.3.14. На стадии Генерального плана должна разрабатываться «Схема использования подземного пространства» с определением технических коридоров, зон и участков для всех видов основных подземных сооружений транспорта: метрополитена, тоннельных участков железных дорог и «скоростного трамвая», автотранспортных тоннелей мелкого и глубокого заложения, тоннелей перспективных видов пассажирского транспорта.

В этой схеме должны быть указаны размещение и пространственная организация наиболее важных для города общественно-транспортных комплексов и пересадочных узлов, а также участков и зон, предназначенных для размещения подземных стоянок и гаражей, значительных групп городских инженерных сетей, складских и подсобных сооружений.

2.3.15. На стадии разработки проекта детальной планировки и застройки города должны определяться габариты соответствующих объектов и их комплексов, осуществляться взаимосогласованное размещение объектов традиционно наземного и подземного строительства, определяться стадийность освоения отдельных участков. При этом в дополнение к обычным проектным материалам может разрабатываться «Проект комплексного освоения подземного пространства», являющийся основой для проектирования отдельных сооружений и их комплексов.

2.3.16. Для достижения наибольшего суммарного (социального, градостроительного и экономического) эффекта от подземного строительства необходимо согласовывать развитие подземных сооружений и их комплексов в масштабах всего города путем работки «Схем комплексного использования подземного пространства». Для оценки эффективности различных вариантов комплексного использования городского подземного пространства необходимо проводить многовариантное проектирование с использованием многокритериальных оценок альтернативных решений, которые должны учитывать:

- характер существующей и проектируемой застройки;

- архитектурно-стилевые характеристики зданий;

- особенности конструктивных схем проектируемых подземных сооружений и технологии производства работ по их реализации;

- строительные и эксплуатационные затраты и их соотношение.

2.4. Многофункциональные подземные объекты и их комплексы

2.4.1. Подземными комплексами называются группы объектов, объединенных пространственно в одно целое и имеющих общую инфраструктуру. Различают монофункциональные и многофункциональные комплексы. Монофункциональные комплексы объединяют в себе функционально связанные объекты. Основой для формирования многофункциональных комплексов, в состав которых входят функционально не связанные между собой объекты, является технико-экономическая целесообразность их увязки.

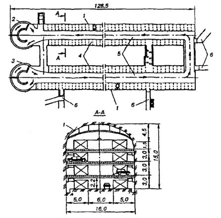
2.4.2. Специфика каждого интегрируемого в существующую застройку нового подземного объекта, как правило, не отделима от учета его места в городе и от его реального окружения. Необходимость создания многофункциональных подземных комплексов чаще возникает в центральных районах больших городов, которые являются наиболее плотно застроенными и наиболее посещаемыми. Примерами таких комплексов в г. Москве являются ТРК «Охотный ряд» на Манежной площади» (рис. 2.1) и многофункциональный наземно-подземный комплекс «Москва-Сити» (рис. 2.2).

ПРОДОЛЬНЫЙ РАЗРЕЗ

ПОПЕРЕЧНЫЕ РАЗРЕЗЫ

У ЗДАНИЯ МАНЕЖ

ПО БОЛЬШОМУ КУПОЛУ

У Гостиницы «Москва»

Рис. 2.1. Торгово-рекреационный подземный комплекс «Охотный ряд» на Манежной площади в г. Москве. Продольный и поперечные разрезы

Рис. 2.2. Многофункциональный наземно-подземный комплекс «Москва-Сити»

2.4.3. Многофункциональные подземные комплексы, включающие, наряду с предприятиями сферы обслуживания, подземные пешеходные и транспортные коммуникации, в том числе железнодорожные станции и станции метро, подземные участки скоростных автомагистралей, подземные гаражи, автостоянки и др., перспективны также при создании окраинных центров культурно-бытового обслуживания населения, как самого города, так и тяготеющих к нему пригородов.

2.4.4. В районах вокзалов целесообразно создание многофункциональных комплексов с устройством просторной подземной пешеходной зоны, связывающей перроны вокзала со станциями метрополитена, большими универсальными магазинами, остановочными пунктами наземного общественного транспорта, подземными автостоянками. При этом рекомендуется совмещение пешеходных тоннелей, подземных подходных коридоров железнодорожных вокзалов и подземных вестибюлей станций метро, которые часто располагаются на одних и тех же отметках.

2.4.5. Автотранспортные тоннели во многих случаях также целесообразно возводить как элементы более сложных многофункциональных комплексов, включающих в себя станции метро мелкого заложения, подземные участки железных дорог, другие транспортные и иного назначения сооружения.

2.4.6. В крупных общественных наземно-подземных центрах вблизи узловых станций метро целесообразно под объединяющей их площадью проектировать многофункциональные комплексы, объединяющие магазины, рестораны, административные помещения различных фирм, а также автостоянки большой вместимости и гаражи.

2.4.7. Здания наземно-подземных общественных центров целесообразно проектировать с несколькими подземными уровнями. Нижний подземный уровень могут занимать трассы и станции метрополитена, отдельные участки железных дорог и скоростных автомагистралей. Верхний уровень может представлять собой систему взаимосвязанных входов в метро, входов в вокзалы и пешеходных переходов, непосредственно связанных со зданиями и сооружениями наземной застройки, а также подземными автостоянками и гаражами.

2.4.8. В современных общественно-транспортных подземных комплексах целесообразно использовать принцип взаимосвязанного и многоярусного размещения объектов на участках ограниченных размеров. Плоские кровли таких комплексов можно использовать для создания фрагментов зеленой наземной зоны.

2.4.9. В многоуровневых подземных общественных комплексах целесообразно создание заглубленных «открытых дворов», на которые могут быть ориентированы витрины, входы в магазины и рестораны, а также входы в многочисленные служебные помещения.

2.4.10. В сложившихся районах крупных городов как при новом высотном строительстве, так и при реконструкции практически всегда целесообразны многоуровневые подземные коммунальные службы, размещаемые в контуре здания, а при необходимости и под дворовыми участками.

2.4.11. При строительстве многоуровневых подземных комплексов в условиях сложившейся плотной застройки, исторический облик района строительства, как правило, должен быть сохранен.

2.5. Подземные сооружения улично-дорожной и транспортной сети

2.5.1. Подземное строительство сооружений улично-дорожной и транспортной сети позволяет организовать скоростное движение автотранспорта и одновременно повысить безопасность движения пешеходов. Отсутствие задержек автомобильного транспорта перед светофорами и в «пробках» снижает затраты времени на передвижение по городу, способствует снижению уровней транспортных шумов, а также уровней загрязненности воздушного бассейна выхлопными газами автомобилей.

2.5.2. Основным средством организации скоростного движения наземного транспорта является устройство транспортных и пешеходных тоннелей мелкого заложения, а также автотранспортных тоннелей глубокого заложения.

2.5.3. Общие принципы проектирования автотранспортных тоннелей в городах сводятся к следующему:

- выбору автомобильных трасс, на которых целесообразно устройство тоннелей;

- обеспечению полного разделения в тоннелях встречного движения;

- исключению слияния в тоннелях второстепенных потоков с главными потоками транспорта.

2.5.4. Строительство автотранспортных тоннелей целесообразно на отдельных участках наиболее загруженных магистральных улиц и дорог, как средство повышения их пропускной способности.

2.5.5. Для обеспечения сохранности исторической застройки города строительство автотранспортного тоннеля часто оказывается единственно возможным решением.

2.5.6. В городских условиях могут быть использованы автотранспортные тоннели для двухстороннего и одностороннего движения. Тоннели второго типа позволяют «развести» встречные потоки транспорта, а также целесообразны при необходимости обхода фундаментов капитальных сооружений и монументов или при необходимости устройства съездов между тоннелями.

2.5.7. Различные типы транспортных тоннелей могут быть составными элементами развитых в плане многоярусных транспортных пересечений и узлов. При этом использование двухъярусных и многоярусных транспортных тоннелей, на каждом уровне которых движение является односторонним, повышает безопасность движения.

Городские тоннели специальных типов могут быть использованы для преодоления водных преград.

2.5.8. Автотранспортные тоннели могут входить в состав более сложных комплексов, включающих станции метро мелкого заложения, железнодорожные пути и другие транспортные сооружения.

2.5.9. Во многих случаях рациональными оказываются решения, в которых автотранспортные тоннели и эстакады, связанные между собой системами съездов, являются элементами единого дорожно-транспортного комплекса.

2.5.10. Для повышения скорости движения по городу автотранспортные тоннели и другие дорожно-транспортные сооружения должны представлять собой единую целостную систему. При этом автотранспортные тоннели глубокого заложения при высокой, по сравнению с метро, стоимости их строительства и относительно небольшой, по сравнению с ним, пропускной способности в массовом порядке строиться не могут.

2.5.11. Для организации непрерывного транспортного движения и повышения безопасности движения пешеходов необходимо создание систем подземных переходов.

2.5.12. Общая протяженность отдельных подземных переходов определяется шириной проезжих частей улиц и дорог, а также условиями размещения лестниц, пандусов и других элементов этих сооружений. Для сокращения строительной длины переходов их обычно трассируют перпендикулярно продольной оси пересекаемой улицы или проезда. В отдельных случаях может возникать необходимость трассирования подземных переходов под острым углом к оси улицы или в устройстве переходов сложных конфигураций.

2.5.13. В зависимости от пространственно-планировочной организации подземные пешеходные переходы могут быть решены с использованием следующих схем:

- линейные («коридорные»), однопролетные и многопролетные;

- развитые в плане Т-, У-, Н-, Х- и О-образные;

- «зальные», в том числе многопролетные;

- комбинированных типов.

2.5.14. Тоннельные пешеходные переходы, как правило, должны совмещаться с остановочными пунктами общественного уличного транспорта, среднее расстояние между остановками которого в городских условиях не должно превышать 300 - 400 м (в отдельных случаях - 500 м).

Подземные переходы рекомендуется также совмещать с системой автостоянок и гаражей большой вместимости, а также с другими объектами массового тяготения.

2.5.15. В зонах железнодорожных вокзалов рационально совмещение пешеходных тоннелей с подземными подходными коридорами железнодорожных вокзалов и подземными вестибюлями станций метро, которые часто располагаются примерно в одних и тех же узловых пунктах города и приблизительно на одних и тех же отметках. Развитые в плане подземные переходы могут включать в себя различные объекты сферы обслуживания (киоски и магазины штучных товаров, театральные кассы, справочные бюро, блоки телефонов-автоматов и др.).

2.5.16. Для городских железнодорожных станций часто вместо надземных пешеходных мостов целесообразны подземные переходы, обеспечивающие меньшую высоту вынужденных подъемов и спусков.

2.5.17. По мере роста и развития городов, может оказаться целесообразным переход от строительства систем отдельных пешеходных тоннелей к созданию взаимосвязанных пешеходных улиц и зон, т.е. целых подземных пешеходных пространств.

2.6. Автомобильные стоянки и гаражи

2.6.1. Размещение мест хранения личных легковых автомобилей необходимо обеспечивать в зоне их пешеходной доступности (по существующим нормативам, в пределах до 500 м).

2.6.2. В зонах высотной застройки должны строиться подземные гаражи, непосредственно связанные подземными переходами и лифтами с жилыми зданиями и общественными центрами. При этом организация хранения автомобилей должна быть тесно связана с характером и этажностью застройки.

2.6.3. Для районов новой комплексной жилой застройки перспективны встроенные гаражи, размещаемые в цокольных и подземных этажах многоэтажных домов (особенно в зданиях, поднятых на колоннах), а также полуподземные и подземные гаражи под дворовыми участками, площадями, скверами и бульварами. Этажность таких сооружений может колебаться в широких пределах, а вместимость - от нескольких сотен до нескольких тысяч автомобилей.

2.6.4. В условиях новой малоэтажной жилой застройки гаражи, в том числе подземные, должны быть предусмотрены только в общественных центрах. Постоянное же хранение основной массы автомобилей в этих условиях должно быть обеспечено системой открытых автостоянок, максимально приближенных к домам владельцев автомобилей.

2.6.5. Подземные многоуровневые гаражи и стоянки, несмотря на более высокую стоимость их строительства, по сравнению с наземными многоэтажными гаражами, имеют ряд преимуществ, главным из которых является возможность их устройства в тех местах, где вообще недопустимо какое-либо наземное строительство (например, в районах площадей, бульваров, улиц, скверов и др.).

2.6.6. Многоярусные подземные гаражи-стоянки, сооружаемые под улицами и имеющие по торцам две шахты со спиральными рампами для въезда и выезда автомобилей, могут иметь малую ширину, ограниченную шириной проезжей части улицы, под которой они сооружены.

2.6.7. При анализе различных вариантов организации постоянного и временного подземного хранения легковых автомобилей в переуплотненных городских и районных центрах должны выполняться:

- определение (на основе расчетного уровня автомобилизации) необходимых размеров соответствующих участков;

- выбор способа организации хранения автомобилей: в одном или нескольких уровнях, в виде отдельно расположенных или встроенных (пристроенных) сооружений;

- контроль удаленности мест хранения с использованием критериев «не ближе», чем это допустимо по санитарным нормам, и «не дальше» от гаража до обслуживаемого им здания или дома владельца автомобиля, чем это также определено нормами (для гаражей второй показатель не должен превышать 500 м, а для автостоянок временного хранения 150 - 200 м).

3. Особенности инженерно-геологических и геоэкологических изысканий для подземных сооружений

3.1. Инженерно-геологические изыскания

3.1.1. Инженерно-геологические изыскания для проектирования и строительства подземных сооружений должны обеспечить комплексное изучение инженерно-геологических условий площадки строительства, а также получение данных для разработки в случае необходимости защитных мероприятий, обеспечивающих сохранность окружающей застройки.

3.1.2. Инженерно-геологические изыскания должны выполняться в соответствии с требованиями СНиП 11-02-96 и СП 11-105-97 (ч. I - IV) и учетом положений настоящего раздела.

При назначении состава и объема инженерно-геологических изысканий необходимо учитывать уровень ответственности сооружений и сложность инженерно-геологических условий.

3.1.3. Для подземных сооружений I уровня ответственности, а в сложных инженерно-геологических условиях, как правило, и II уровня ответственности для составления технического задания и программы изысканий рекомендуется привлекать специализированные организации по геотехнике. Программу изысканий необходимо подвергать геотехнической экспертизе.

3.1.4. В состав инженерно-геологических изысканий должны входить:

- сбор, изучение и обобщение архивных материалов изысканий;

- исследование геологического строения площадки;

- выявление гидрогеологического режима, химического состава подземных вод и фильтрационных характеристик грунтов;

- полевые исследования физико-механических свойств грунтов;

- лабораторные исследования физико-механических свойств грунтов;

- геофизические исследования;

- исследование опасных геологических и инженерно-геологических процессов и оценка степени инженерно-геологического риска социальных и экономических потерь, обусловленных их развитием;

- обследование грунтов оснований существующих зданий и сооружений;

- составление прогноза изменений инженерно-геологических и гидрогеологических условий в связи со строительством;

- камеральная обработка материалов и составление технического отчета (заключения) по результатам изысканий.

В необходимых случаях в соответствии с техзаданием и программой изысканий могут выполняться опытные работы, стационарные наблюдения, а также мониторинг отдельных компонентов геологической среды (см. разд. 8).

3.1.5. При инженерно-геологических изысканиях для проектирования подземных сооружений в зависимости от их назначения, уровня ответственности, конструктивных особенностей и глубины расположения необходимо выявлять и изучать:

- тектонические структуры, разрывные и складчатые нарушения;

- древние эрозионные долины;

- глубину залегания скальных грунтов;

- наличие в толще дисперсных грунтов прослоев трещиноватых скальных грунтов;

- ожидаемые водопритоки в котлованы и подземные выработки, величины напора в горизонтах подземных вод, наличие и толщину водоупоров и их устойчивость против прорыва напорных вод;

- наличие и распространение специфических грунтов и грунтов, склонных к проявлению плывунных, тиксотропных и суффозионных свойств и виброползучести;

- наличие и местоположение других подземных сооружений: линий метро, тоннелей, инженерных коммуникаций, а также старых подвалов, колодцев, подземных выработок, буровых скважин и пр.;

- динамические воздействия от существующих сооружений.

3.1.6. Для эффективного решения задач подземного строительства необходимо инженерно-геологическое, геотехническое, а также экологическое районирование городских территорий.

Необходимо создание и ведение единой геоинформационной системы геологической среды городов в пределах фактических глубин зон взаимодействия ее с подземными и наземными сооружениями, а также составление соответствующего комплекта карт инженерно-геологического, геоэкологического и геотехнического районирования территории городов с учетом зон различной техногенной нагрузки, вида, плотности и давности застройки, зон актуального и потенциального геологического, геотехнического и геоэкологического рисков.

3.1.7. При проведении горных работ для строительства локальных подземных сооружений в котлованах с использованием постоянных ограждающих конструкций («стена в грунте», шпунт, сваи разного вида и пр.) дополнительные скважины должны быть размещены по контуру сооружения с шагом не более 20 м.

Инженерно-геологическое строение площадки должно быть изучено на глубину не менее 1,5Hc + 5 м, где Hc - глубина заложения подошвы ограждающей конструкции, но не менее 10 м от подошвы ограждающей конструкции. На указанную глубину должно быть пройдено не менее 30 % скважин, но не менее трех скважин.

3.1.8. При проектировании локальных подземных сооружений в котлованах без применения ограждающих конструкций глубина скважин должна быть не менее 1,5Hк + 5 м, где Hк - глубина котлована от планировочной отметки.

3.1.9. При строительстве подземного сооружения на свайных фундаментах или комбинированном свайно-плитном фундаменте глубина инженерно-геологических выработок должна быть не менее чем на 5 м больше проектируемой глубины заложения нижних концов свай при рядовом их расположении и нагрузках на куст свай до 3 МН и на 10 м больше - при нагрузках на куст более 3 МН и свайных полях размером до 10´10 м. При свайных полях размером более 10´10 м и применении комбинированных свайно-плитных фундаментов глубина выработок должна превышать предполагаемое заглубление свай не менее чем на ширину свайного поля или плиты, но не менее чем на 15 м.

3.1.10. При строительстве зданий повышенной этажности и высотных с подземной частью на плитном фундаменте при нагрузках р на плиту от 400 до 600 кПа глубина бурения ниже глубины ее заложения должна составлять не менее:

- при ширине плиты В = 10 м - (1,3 - 1,6)В для квадратной плиты и (1,6 - 1,8)В - для прямоугольной с соотношением сторон η = 2;

- при ширине плиты В = 20 м - (1,0 - 1,2)В для квадратной плиты и (1,2 - 1,4)В - для прямоугольной с соотношением сторон η = 2;

- при ширине плиты В = 30 м - (0,9 - 1,05)В для квадратной плиты и (1,0 - 1,25)В - для прямоугольной с соотношением сторон η = 2.

Для промежуточных значений В, р и η глубина бурения назначается по интерполяции.

3.1.11. При наличии ниже указанных в пп. 3.1.9 и 3.1.10 глубин слоев специфических грунтов (рыхлых песков, слабых глинистых, органо-минеральных и органических грунтов и др.) глубина выработок определяется с учетом необходимости их проходки и установления глубины залегания подстилающих грунтов и определения их характеристик.

3.1.12. Размещение инженерно-геологических выработок по трассе линейных подземных сооружений должно быть неравномерным и отвечать задаче выявления особенностей подземной геологической среды. Они сгущаются на участках сочленения различных форм рельефа, сложного геологического строения, развития геологических процессов.

3.1.13. Для проектирования и строительства подземных переходов, сооружаемых открытым способом, рекомендуется располагать скважины на расстоянии до 30 м, а при сложном геологическом разрезе оно должно быть сокращено до 10 - 15 м.

Глубина проходки скважин должна приниматься в соответствии с рекомендациями пп. 3.1.7 - 3.1.8.

3.1.14. Для проектирования коллекторов различного назначения расстояние между скважинами по трассе рекомендуется принимать до 50 м, а на участках пересечения трассой различных геоморфологических элементов, в сложных инженерно-геологических условиях, а также при строительстве в условиях существующей застройки сокращать до 20 м.

В сложных инженерно-геологических условиях рекомендуется трассу линейных сооружений дополнять поперечниками. Расстояние между поперечниками и между скважинами на поперечнике должно быть не более 50 м.

Глубина скважин для коллекторов, сооружаемых закрытым способом, должна быть не менее Н0 + 2D, где Н0 - глубина заложения низа обделки, D - диаметр или поперечный размер обделки.

3.1.15. Для уточнения инженерно-геологического строения, особенно при строительстве линейных подземных сооружений, следует, как правило, предусматривать статическое зондирование грунтов, размещая точки зондирования около буровых скважин и между ними.

3.1.16. Для определения модуля деформации грунтов необходимо предусматривать полевые испытания штампами в количестве не менее трех или прессиометрами в количестве не менее шести для каждого выделенного инженерно-геологического элемента.

Лабораторные исследования должны в первом приближении моделировать работу грунта в условиях изменяющегося напряженно-деформированного состояния при устройстве подземного сооружения. В частности, испытания грунта в компрессионных приборах и приборах трехосного сжатия необходимо проводить в диапазоне действующих в основании сооружения напряжений и предусматривать реконсолидацию образцов грунта.

3.1.17. При проектировании подземных сооружений I и, как правило, II уровня ответственности по специальному заданию проектной организации дополнительно полевыми и лабораторными методами могут быть определены следующие физико-механические характеристики дисперсных и скальных грунтов:

- модуль деформации Е для первичной ветви компрессии (Ес1), для ветви декомпрессии (Ed) и ветви вторичной компрессии (Ec2); декомпрессию и вторичную (повторную) компрессию образцов следует выполнять для тех же диапазонов напряжений, что и первичную компрессию;

- коэффициент поперечной деформации v;

- параметры ползучести глинистых грунтов δcrp и δi,crp (СНиП 2.02.02-85*);

- прочностные характеристики: угол внутреннего трения φ и удельное сцепление c, определяемые для условий, соответствующих всем этапам строительства и эксплуатации подземного и заглубленного сооружения;

- коэффициент морозного пучения Кh, удельные нормальные и касательные силы морозного пучения σh и τh;

- коэффициент фильтрации k грунтов;

- коэффициент крепости f (по Протодьяконову) и классификационные характеристики массивов скальных пород (СНиП 2.02.02-85*): модуль трещиноватости Mj, показатель качества породы RQD, коэффициент выветрелости Kw.

Значения модулей деформации по результатам лабораторных испытаний следует корректировать на основе результатов полевых испытаний грунтов штампами или прессиометрами.

При обосновании могут определяться по специальному заданию проектной организации другие классификационные и физико-механические (например, реологические) характеристики грунтов.

3.1.18. При необходимости по специальной программе в ходе инженерно-геологических изысканий с привлечением специализированных геотехнических организаций следует выполнять измерения напряжений в массивах горных пород и грунтов; опытные полевые работы по водопонижению, закреплению и заморозке грунтов, устройству буровых свай и захваток «стены в грунте» и другие исследования.

При необходимости следует также проводить мониторинг отдельных компонентов геологической среды (см. 3.3).

3.1.19. Гидрогеологические исследования следует выполнять с целью изучения режима подземных вод. Должны быть исследованы: характер водоносных горизонтов; уровни, направление и скорость движения подземных вод; обводненность; ожидаемые водопритоки в котлованы; величины напоров; наличие и толщина водоупоров и их устойчивость против прорыва напорных вод; химический состав подземных вод и их агрессивность по отношению к материалу сооружения; гидростатическое давление на конструкции сооружения; фильтрационные свойства грунтов. Должны быть получены исходные данные для проектирования дренажных и противофильтрационных систем и водопонижения.

3.1.20. Для сложных подземных сооружений, строительство которых сопровождается устройством противофильтрационных завес и дренажных систем, коэффициент фильтрации грунтов необходимо определять полевыми методами.

3.1.21. При проектировании подземных сооружений, перекрывающих частично или полностью естественные фильтрационные потоки в грунтовом или скальном массиве, а также изменяющих условия и пути фильтрации подземных вод, следует выполнять прогноз изменений гидрогеологического режима площадки строительства, в частности прогноз возможности образования барражного эффекта и подтопления окружающей территории.

Гидрогеологическое прогнозирование осуществляется на основе геофильтрационных моделей с использованием данных, полученных при анализе и обработке материалов инженерно-геологических изысканий, а также фондовых материалов.

3.1.22. В комплексе с прямыми полевыми и лабораторными исследованиями грунтов должны проводиться, как правило, геофизические исследования, которые позволяют установить:

- литологическое строение массива грунтов с выделением основных инженерно-геологических и структурных элементов;

- степень однородности массива грунта по исследуемым свойствам;

- наличие в инженерно-геологическом разрезе слоев и структур, обладающих пониженной плотностью (насыпных грунтов, илов, сапропелей, заторфованных грунтов и торфов и др.);

- наличие в массиве грунта погребенных объектов и пустот;

- наличие закарстованных участков и зон повышенной трещиноватости в карстующихся породах;

- наличие древних эрозионных долин;

- положение уровня и режим подземных вод, наличие водоупоров;

- физико-механические свойства грунтов.

3.1.23. При проведении геофизических исследований целесообразно комплексирование отдельных методов (вследствие их различной разрешающей способности по отношению к физическим свойствам грунтов) с целью повышения достоверности результатов и с целью получения более полной информации об участке работ.

3.1.24. При подземном строительстве с помощью геофизических методов, помимо задач общего плана, могут быть решены следующие задачи:

- детальное изучение грунтов по трассе подземного сооружения (тоннеля, коллектора и т.д.) с определением участков слабых и трещиноватых грунтов при помощи наземных и скважинных методов;

- определение мест водопритоков и разгрузки подземных вод;

- определение зоны влияния устройства подземного сооружения на вмещающие грунты и близрасположенные здания.

При подземном строительстве целесообразно использовать следующие методы: детальную сейсморазведку, высокочастотную электроразведку (в вариантах метода скользящей точки, синхронного зондирования и профилирования), метод становления поля, радиолокационный широкополосный метод, детальную гравиразведку. Эти методы необходимо сочетать с геофизическим исследованием скважин, пробуриваемых по трассе с небольшим интервалом между ними с выполнением тех или иных межскважинных просвечиваний.

3.1.25. Для установления наличия карста и оценки степени карстовой опасности следует, как правило, предусматривать проведение геофизических исследований для определения глубины залегания карстующихся пород, оценки условий залегания, толщины и состава покрывающих их грунтов, изучения режима подземных вод. Методы геофизики позволяют выявить карстовые полости, которые не всегда могут быть обнаружены бурением, и определить их конфигурацию и размеры, а также степень закарстованности. Для указанных целей следует применять следующие геофизические методы: сейсморазведку, вертикальное электрическое зондирование, дипольное индукционное профилирование, гравиметрический метод.

3.1.26. Геофизические методы рекомендуется применять для мониторинга изменения компонентов геологической среды на участках, представляющих опасность в геологическом и инженерно-геологическом отношении (зоны развития карстовых и суффозионных явлений, оползневые процессы, подтопление, зоны развития неустойчивых грунтов и т.д.). Мониторинг целесообразно осуществлять при помощи геофизических методов, обеспечивающих необходимую точность определения изменения свойств грунтов или геологических границ. К ним, прежде всего, относятся скважинные методы (радиоизотопные методы измерения плотности и влажности, акустические методы прозвучивания, радиоволновые методы межскважинного просвечивания).

3.1.27. В процессе инженерно-геологических изысканий на участках проявления опасных геологических и инженерно-геологических процессов необходимо устанавливать площадь их проявления и глубину интенсивного развития, приуроченность к определенным геоморфологическим элементам и литологическим видам грунтов, условия, причины, формы и динамику образования, развития и активизации.

Горные выработки необходимо проходить не менее чем на 3 - 5 м ниже зоны активного развития опасных процессов - поверхностей скольжения оползневых тел, предполагаемой глубины карстообразования и т.д.

Технический отчет по изысканиям должен включать раздел «Опасные геологические процессы», содержащий их детальную характеристику, прогноз развития при строительстве и эксплуатации подземного сооружения и оценку геологических рисков.

3.2. Геоэкологические изыскания

3.2.1. Геоэкологические изыскания при строительстве подземных сооружений проводятся в соответствии с требованиями СП 11-102-97 и настоящего раздела Руководства для оценки современного состояния и прогноза возможных изменений природной среды с целью предотвращения, минимизации или ликвидации вредных и нежелательных экологических и связанных с ними других последствий и сохранения оптимальных условий жизни населения.

3.2.2. Задачи инженерно-геоэкологических изысканий определяются в зависимости от стадии проектно-изыскательских работ, особенностей природной обстановки и характера существующих и планируемых воздействий.

3.2.3. Материалы инженерно-геоэкологических изысканий должны включать:

- оценку существующего экологического состояния компонентов природной среды на площадке строительства и прилегающих территориях;

- прогноз изменения экологического состояния природной среды при строительстве и эксплуатации объекта;

- оценку экологического риска при реализации строительства;

- рекомендации по мероприятиям, направленным на предотвращение, минимизацию или ликвидацию вредных и нежелательных экологических и связанных с ними других последствий и сохранение оптимальных условий жизни населения;

- программу локального геоэкологического мониторинга.

3.2.4. Геоэкологические исследования должны выполняться организациями, имеющими лицензию на право проведения инженерно-экологических изысканий для строительства.

Для выполнения работ, связанных со специфическими видами физических, химических и биологических анализов, прогнозированием, разработкой системы геоэкологического мониторинга, следует привлекать специализированные организации.

3.2.5. В состав геоэкологических изысканий в общем случае входят:

- сбор, изучение, обобщение и анализ опубликованных и фондовых материалов о состоянии компонентов природной среды на данной площадке и прилегающих территориях;

- исследования химического загрязнения грунтов;

- радиационно-экологические исследования;

- газогеохимические исследования;

- исследование и оценка физических воздействий;

- стационарные наблюдения (геоэкологический мониторинг);

- прогноз изменения состояния компонентов природной среды при строительстве и эксплуатации подземного объекта;

- камеральная обработка материалов и составление технического отчета (заключения) по результатам изысканий.

Назначение и необходимость отдельных видов работ и исследований устанавливаются в программе геоэкологических изысканий в зависимости от вида и уровня ответственности проектируемых подземных сооружений, особенностей природно-техногенной обстановки, степени экологической изученности территории и стадии проектно-изыскательских работ.

3.2.6. Геоэкологические исследования могут выполняться как самостоятельно в составе геоэкологических изысканий, так и в комплексе с и следованиями в составе инженерно-геологических изысканий.

3.2.7. При строительстве подземных сооружений наиболее важным из указанных видов исследований (п. 3.2.5) являются эколого-гидрогеологические исследования.

Эколого-гидрогеологические исследования должны включать в себя экологический мониторинг подземных вод и гидрогеологическое прогнозирование и выполняться для решения следующих задач:

- оценки существующей на момент строительства ситуации с подтоплением территории, загрязнением подземных вод;

- прогноза изменения гидрогеологических условий в период строительства сооружения (оценки: водопритоков в строительный котлован, влияния строительного дренажа, загрязнения пород зоны аэрации и подземных вод и т.д.);

- прогноза изменения гидрогеологических условий в период эксплуатации сооружения (оценки: возможности барражного эффекта, влияния пристенного и пластового дренажей, возможности подтопления территории и загрязнения подземных и поверхностных вод в результате возможных утечек из коммуникаций и т.д.).

3.2.8. При выполнении эколого-гидрогеологических исследований самостоятельно в составе инженерно-геоэкологических изысканий и при отсутствии данных гидрогеологических исследований следует устанавливать: наличие водоносных горизонтов, которые могут испытывать негативное влияние в процессе строительства и эксплуатации объекта и подлежат защите от загрязнения и истощения; области питания подземных вод (в случае, если они находятся в зоне возможного негативного влияния проектируемого объекта) и области разгрузки подземных вод, на характеристиках которых может отразиться проектируемое строительство; условия залегания, распространения и естественную или сложившуюся ко времени строительства в городских условиях защищенность горизонтов подземных вод (в особенности, первого от поверхности); состав, фильтрационные и сорбционные свойства грунтов зоны аэрации и водовмещающих пород и их пространственную изменчивость; наличие верховодки; глубину залегания первого от поверхности регионального водоупора и локальных слабопроницаемых разделяющих слоев; закономерности движения грунтовых вод, основные закономерности режима грунтовых вод, наличие и характер гидравлической взаимосвязи между горизонтами и с поверхностными водами; наличие условий для формирования под влиянием хозяйственной деятельности новых водоносных горизонтов и верховодки; температуру и химический состав грунтовых вод, их загрязненность вредными компонентами; возможность проникновения в подземные воды по транзиту загрязнений из поверхностных вод; влияние изменений в подземных водах на охраняемые территории и рекреационные ресурсы города; возможность, характер и степень влияния техногенных факторов на изменение гидрогеологических условий.

3.2.9. Материалы эколого-гидрогеологических исследований для обоснования проектной документации должны включать:

- оценку гидрогеологических условий до начала строительства;

- уточнение границ зоны воздействия проектируемого подземного объекта на подземные воды;

- прогноз возможных изменений гидрогеологических условий в зоне влияния проектируемого объекта при его строительстве и эксплуатации;

- рекомендации по организации мероприятий по защите подземных вод от загрязнения и истощения;

- уточненную программу мониторинга подземных вод, а также анализ и интерпретацию результатов первых циклов наблюдений, если они были начаты на предпроектной стадии (см. раздел 8).

3.2.10. Гидрогеоэкологическое прогнозирование осуществляется на основе геофильтрационных и геомиграционных моделей. Размеры моделируемой области геофильтрации и геомиграции не должны ограничиваться строительной площадкой и должны определяться размером области возможного влияния объекта на изменение уровней и загрязнение подземных и поверхностных вод. В область влияния должны быть включены располагающиеся по соседству со строительной площадкой водоохранные зоны рек, зеленые насаждения, парки, пруды, жилые массивы, площадки отдыха и другие природные и социальные объекты.

3.2.11. При выборе положения нижней границы области влияния в гидрогеологическом разрезе необходимо учитывать сложность геологического строения и гидрогеологических условий территории, глубину и размеры подземного сооружения.

3.2.12. Для разработки моделей используют данные, полученные в результате анализа и обработки материалов инженерно-геологических и геоэкологических изысканий, а также фондовые материалы.

3.2.13. По материалам геоэкологических исследований должен быть составлен отчет (заключение).

4. Подземные сооружения, возводимые открытым способом

4.1. Применение и выбор эффективных методов и технологий строительства

4.1.1. Общие положения

4.1.1.1. Технические решения по технологии строительства подземных сооружений открытым способом должны быть комплексными и включать технологии крепления котлована, разработки грунта в нем и устройства конструкций сооружения, инженерные мероприятия по защите котлована и подземного сооружения от подземных вод, инженерные мероприятия по обеспечению сохранности близрасположенной существующей застройки, а также обеспечивать выполнение экологических требований по охране окружающей среды.

4.1.1.2. Обоснование этих технических решений должно обеспечиваться проектными расчетами напряженно-деформированного состояния ограждающих конструкций и вмещающего массива грунтов вместе с примыкающими к котловану зданиями и сооружениями, гидрогеологического режима подземных вод и фильтрационного притока в котлован.

4.1.1.3. На выбор технологии возводимого открытым способом подземного сооружения решающее значение оказывают следующие факторы:

- габариты подземного сооружения в плане и по глубине;

- месторасположение подземного сооружения (строительство на свободной территории или в условиях тесной существующей застройки);

- инженерно-геологические и гидрогеологические условия участка строительства;

- необходимость соблюдения экологических требований по охране окружающей среды;

- экономические соображения;

- возможности строительной организации.

4.1.1.4. При проектировании подземных сооружений в районах существующей застройки следует выполнять геотехнический прогноз влияния строительства на изменение напряженно-деформированного состояния грунтового массива и деформации существующих зданий и сооружений.

4.1.1.5. Выбранная технология возведения подземного сооружения должна обеспечивать непревышение допустимых дополнительных деформаций эксплуатируемых зданий, попадающих в зону влияния нового строительства, с учетом их технического состояния (см. приложение А). Также технология должна учитывать наличие линий метрополитена и насыщенность подземного пространства существующими коммуникациями.

4.1.1.6. При проектировании подземных сооружений, перекрывающих частично или полностью естественные фильтрационные потоки в грунтовом массиве, а также изменяющих условия и пути фильтрации подземных вод, следует выполнять прогноз изменений гидрогеологического режима площадки строительства.

4.1.1.7. В процессе строительства и в начальный период эксплуатации подземных сооружений следует выполнять натурные наблюдения (мониторинг) на строительной площадке для оценки надежности системы «сооружение-основание», своевременного выявления дефектов конструкций, предотвращения аварийных ситуаций, а также для оценки правильности результатов прогноза, принятых методов расчета и проектных решений. Состав, объем и методы мониторинга должны назначаться в зависимости от уровня ответственности подземных сооружений, их конструктивных особенностей, геологических и гидрогеологических условий площадки, способа возведения, плотности окружающей существующей застройки, требований эксплуатации и в соответствии с результатами геотехнического прогноза (см. раздел 8).

4.1.2. Современные методы ограждения глубоких котлованов

4.1.2.1. Конструкция и технология устройства ограждения при строительстве подземного сооружения открытым способом должны удовлетворять следующим основным требованиям:

- обеспечивать устойчивость стен котлована в процессе и после полной разработки грунта;

- воспринимать нагрузку от сооружения, если ограждение входит в состав конструкции подземного сооружения;

- обеспечивать водонепроницаемость, если невозможно или экономически нецелесообразно водопонижение;

- должна быть предусмотрена многократная оборачиваемость элементов крепи, если ограждение является временным;

- крепление не должно загромождать котлован, мешать выемке и обратной засыпке грунта и монтажу основных конструкций;

- обеспечивать сокращение материалоемкости, трудоемкости и сроков строительства;

- обеспечивать сохранность эксплуатируемых наземных и подземных объектов, попадающих в зону влияния строящегося подземного сооружения;

- обеспечивать соблюдение экологических требований (соблюдение допустимых норм по шуму, вибрации, защите окружающей среды).

Классификация современных методов крепления котлована при строительстве подземного сооружения открытым способом приведена на схеме.

Схема

Классификация крепления котлованов

Ограждение по способу «стена в грунте»

4.1.2.2. Способ «стена в грунте» является одним из наиболее прогрессивных и универсальных для устройства подземных сооружений, возводимых в открытых котлованах.

По назначению различают три типа стен: несущие, ограждающие и противофильтрационные; по материалам - монолитные, сборные и сборно-монолитные.

Технология строительства состоит из пяти основных технологических этапов:

- разработка траншеи под защитой глинистого раствора;

- установка арматурного каркаса;

- заполнение траншеи монолитным или сборным железобетоном;

- разработка грунта в ядре сооружения с замоноличиванием стыков и устройством распорных конструкций;

- устройство днища внутренних конструкций.

4.1.2.3. Способ «стена в грунте» позволяет осуществлять строительство:

- в непосредственной близости от существующих зданий и сооружений;

- при значительной глубине сооружения (до 50 м);

- при больших размерах в плане и сложной форме сооружения;

- при высоком уровне подземных вод.

По грунтовым условиям «стена в грунте» может применяться в любых дисперсных грунтах за исключением:

- текучих глинистых грунтов, илов и плывунов;

- при наличии подземных вод с большими скоростями фильтрации.

4.1.2.4. При наличии грунтов, содержащих твердые включения природного или техногенного происхождения (крупные валуны, обломки бетонных конструкций, каменной кладки и др.) при проходке траншеи необходимо использовать технику, оснащенную фрезерным оборудованием, например, фирм «Касагранде», «Бауэр», TONE Boring.

Использование грейферного оборудования, которым крупные включения извлекаются, может привести к деформированию стенки траншеи, падению уровня тиксотропного раствора и деформациям окружающего массива и близрасположенных зданий.

При наличии трещиноватых скальных грунтов или прослоев из них и закарстованных пород, когда тиксотропный раствор может вытекать в грунт, необходимо применять опережающий тампонаж этих прослоев цементно-глинистыми растворами.

4.1.2.5. При устройстве «стены в грунте» жесткие требования должны предъявляться к глинистому раствору, приготовление которого, как правило, должно осуществляться с использованием бентонитового глинопорошка. Плотность раствора должна составлять при приготовлении его с использованием бентонитового глинопорошка 1,03 - 1,10 г/см3, а из глин других видов - 1,10 - 1,25 г/см3.

При разработке траншей в неустойчивых грунтах (водонасыщенные пески, глинистые грунты текучей консистенции) с напорными водами необходимо использовать глинистые растворы повышенной плотности, для чего допускается применять барит, магнетит и другие утяжелители раствора, но не более 7 % массы глины.

Для снижения водоотдачи и потерь глинистого раствора в него можно добавлять жидкое стекло (силикат натрия) в пределах 2 - 6 % массы глины.

4.1.2.6. При устройстве монолитных стен в грунте методом вертикально перемещающейся трубы (ВПТ) необходимо применять более совершенную технологию бетонирования с использованием вибрирования. Если бетон литых смесей, укладываемый без вибрирования, должен иметь осадку конуса 18 - 20 см, то при бетонировании полужесткими смесями с применением вибраторов осадка конуса должна быть не более 8 см, а подвижность бетонной смеси сохраняться на период транспортировки и укладки - не менее 40 мин.

При закреплении глубинных вибраторов на нижней части бетонолитной трубы при применении жестких смесей с осадкой конуса 3 - 6 см значительно повышается однородность бетона, а его средняя прочность на 35 - 40 % выше, чем при укладке литых смесей.

При регулировании процесса подачи бетона путем включения и выключения вибратора достигается повышенная плотность, прочность и водонепроницаемость стены. Вместо литых бетонов с высоким содержанием цемента (до 500 - 600 кг3) можно использовать малоподвижные смеси с осадкой конуса 3 - 4 см. Экономия цемента по сравнению с литыми смесями составляет 150 - 200 кг/м3. Метод применим и при температуре до -30° С.

4.1.2.7. Для повышения индустриальности ведения работ и качества стен рекомендуется применять сборный или сборно-монолитный вариант. Сборная или сборно-монолитная «стена в грунте» позволяет увеличить скорость возведения конструкции и снизить ее трудоемкость, а также снизить расход бетона.

Применение для ограждения котлованов технологии «стена в грунте» в виде сборной или сборно-монолитной конструкции позволяет получить:

- гарантированную марку бетона стен по прочности и водонепроницаемости;

- гарантированную геометрию и чистую поверхность стен;

- снижение расхода бетона на 15 - 20 %;

- возможность установки в заводских условиях закладных деталей и сальников для подводки коммуникаций;

- исключение необходимости регулярной поставки расчетного количества товарного бетона в нормативные сроки;

- увеличение скорости возведения конструкции на 15 - 20 %;

- снижение трудоемкости работ;

- возможность передачи нагрузки на стену сразу после ее возведения.

4.1.2.8. В качестве конструкций сборной «стены в грунте» хорошо зарекомендовали себя шпунтовые панели ПШС-50, разработанные ОАО «ЦНИИС» (Москва). Панели шириной 1,5 м, толщиной 0,5 м и длиной, равной глубине траншеи, соединяются друг с другом посредством пазового замка.

Другая конструкция «стены в грунте» с листовой арматурой состоит из сборных железобетонных стеновых блоков, устанавливаемых в заполненную глинистым раствором траншею с определенными интервалами и монолитных участков между ними из бетона или цементного раствора (рис. 4.1).

Рис. 4.1. Принципиальная схема сборно-монолитной «стены в грунте»:

1 - стеновой блок; 2 - листовая арматура; 3 - бетонное заполнение; 4 - отметка верха блока; 5 - отметка дна котлована; 6 - отметка низа стены; 7 - контур траншеи

Стеновые блоки поперечного сечения 600´600 мм, длиной до 25 м и массой 15 - 20 т имеют полуцилиндрические боковые поверхности, снабженные со стороны подземного сооружения листовой арматурой толщиной 6 - 10 мм, которая может служить гидроизоляцией. Блоки изготавливаются в заводских условиях из тяжелого бетона класса В22,5 - В30, марки по водонепроницаемости W4 - W6. Конструкция сборно-монолитной стены толщиной 600 мм может быть использована при глубине «стены в грунте» до 28 м в различных инженерно-геологических условиях. При этом на нее могут быть переданы вертикальные нагрузки до 1500 кН/м и изгибающие моменты до 1000 кНм/м.

4.1.2.9. Технологические приемы, применяемые для омоноличивания (тампонажа) стыков при устройстве «стен в грунте», должны обеспечивать достаточную прочность и водонепроницаемость стыков.

Опыт строительства показывает, что более рационально увеличить ширину стыка (и расстояние между панелями) с обычных 20 мм до 200 - 300 мм и перейти на тампонаж его бетонным раствором с классом не ниже В25. Применение этой рекомендации полностью исключает фильтрацию подземных вод и позволяет отказаться от заварки стыков металлическими накладками.

Эффективно технологическое решение стыков из монолитного и сборного железобетона вибронабивным способом. Оборудование для омоноличивания бетонной смесью стыков ограждающих конструкций под глинистым раствором включает: инвентарную трубу, вибратор (например, В-401), приемный бункер с площадкой для обслуживания вибратора и заполнения бункера бетонной смесью. Применение этой технологии обеспечивает высокое качество работ по прочности стыка (40 - 50 МПа) и водонепроницаемости (на контакте с бетоном испытаны на 2 атм.).

Технология устройства «стены в грунте» отдельными захватками (опережающими и соединительными) предусматривает установку арматурных каркасов и бетонирование в опережающих захватках и последующую разработку соединительных захваток со срезкой бетона толщиной 0,15 м с торцевых кромок опережающих захваток с последующей установкой каркасов и бетонированием. Такая технология обеспечивает монолитность «стены в грунте» и отсутствие холодных и грязевых швов в стыках.

Для надежного уплотнения проблемных стыков между панелями траншейных стен, как показал опыт строительства, успешно может быть применена технология струйной цементации «jet-grouting». При этом цементационные работы могут выполняться как снаружи ограждающих котлован стен, так и изнутри котлована до его разработки. С этой целью в зависимости от прогнозируемой величины раскрытия стыков с глубиной могут быть применены неармируемые или армируемые металлическими трубами грунтоцементные колонны диаметром 60 или 80 см.

4.1.2.10. Для разработки грунтового ядра внутри подземного сооружения, возводимого способом «стена в грунте», рекомендуется применять технологию, которая предусматривает разработку вначале центральной части грунтового массива внутри сооружения на глубину одного яруса с сохранением по периферии неразработанных участков. Такой прием облегчает работу ограждающей конструкции. Затем монтируются распорные конструкции и разрабатывается оставшаяся часть грунта. На следующей заходке цикл повторяется.

Новым и прогрессивным является также способ разработки грунта в котловане через перекрытия в многоуровневых подземных сооружениях. В этом случае дополнительная крепь ограждающих стен не применяется.

Ограждение из буронабивных свай

4.1.2.11. Ограждение из буронабивных свай относится к малодеформирующимся видам крепления и его целесообразно применять в случае больших нагрузок на бровке котлована, а также на сами сваи при использовании их в качестве несущего элемента строящегося сооружения.

В качестве ограждения котлованов из буронабивных свай применяют три группы свайных стен: с прерывистым расположением свай, с касательным их сопряжением и секущиеся сваи (рис. 4.2).

Рис. 4.2. Типы ограждений котлована из буронабивных свай

а и б - сваи, установленные с определенным шагом и затяжкой; в - бурокасающиеся сваи; г - буросекущиеся сваи: 1 - опережающая свая, 2 - пересекающая свая, 3 - затяжка

Стены с прерывистым расположением свай устраиваются в сухих связных грунтах, способных держать вертикальный откос 1 - 2 м. Промежуток между сваями для предотвращения местных вывалов защищается затяжками из досок, тонких железобетонных плит, гофрированных стальных листов или бетонной затяжкой. Расстояние между осями а свай должно находиться в пределах D + 50 мм < а £ 3D, где D - диаметр скважины.

Стены с касательным сопряжением свай используются в несвязных грунтах, чтобы избежать осыпания грунта между сваями при раскрытии котлована, а следовательно и осадок поверхности.

Стены из буросекущихся свай сооружают, когда дно котлована ниже подземных вод. На первом этапе изготавливаются через одну сваи без армирования, на втором - между ними устраиваются сваи таким образом, чтобы бетон соседних свай частично подрезался. Сваи второго этапа армируются. Благодаря полученному сцеплению образуется сплошная прочная стена с повышенной водонепроницаемостью. Врезка в бетон соседних свай составляет 80 - 150 мм в зависимости от диаметра свай, который составляет от 600 до 1300 мм.

4.1.2.12. К преимуществам ограждений из буронабивных свай следует отнести:

- возможность использования в качестве основания прочных грунтов, залегающих на большой глубине;

- возможность устройства свай разной длины, опирающихся на необходимой отметке при резко пересеченном рельефе кровли прочных грунтов, принятых за основание свай;

- возможность устройства ограждений стен котлованов, когда уровень подземных вод залегает выше уровня дна котлована;

- возможность передачи на одну сваю большого диапазона нагрузок (1000 - 10000 кН);

- возможность устройства свай большого диаметра (по сравнению с забивными сваями), что значительно улучшает работу свай на горизонтальную нагрузку;

- повышение надежности сооружений за счет уменьшения общих и неравномерных осадок;

- исключение подвижки и деформации грунтового массива и расположенных поблизости зданий за счет повышенной жесткости свай;

- возможность устройства свай без армирования в нижней ее части, где отсутствует передача моментов и горизонтальных сил;

- отсутствие существенных вибраций и сотрясений в процессе производства работ;

- сокращение потребности в механизмах и транспорте.

4.1.2.13. В зависимости от грунтовых условий применяют следующие способы бурения скважин для устройства буронабивных свай:

- грейферный способ - в песчаных, крупнообломочных, скальных и глинистых грунтах;

- способ бурения желонкой - в водонасыщенных пылеватых песках, текучих супесях и илах;

- вращательный (роторный) способ - в глинистых грунтах от мягкопластичной до твердой консистенции, песках средней крупности и крупных.

Для предотвращения обрушения стенок скважин при бурении применяют инвентарные обсадные трубы или избыточное давление воды или глинистого раствора. Применение обсадных труб является наиболее эффективной мерой обеспечения качества изготовления свай в неустойчивых обводненных грунтах.

4.1.2.14. Устройство буронабивных свай предъявляет жесткие требования к технологическому процессу производства работ. Особенно это важно при устройстве буросекущихся свай. Изготовление таких свай требует обеспечения непрерывности процесса производства работ, т.к. устройство секущихся армированных свай должно быть произведено в относительно строго регламентированный период (1,5 - 2 суток), начиная с момента выполнения бетонных неармированных свай.

4.1.2.15. Во избежание возможного излишнего отбора и разуплотнения грунта за счет его текучего состояния и выдавливания внутрь обсадных труб при проходке скважин, что может вызвать деформации оснований близко расположенных эксплуатируемых зданий, следует обеспечивать опережающую обсадку трубами забоя скважины (сохранение пробок), а при необходимости дополнительно осуществлять пригрузку забоя глинистым раствором или водой.

4.1.2.16. Буронабивные сваи изготавливаются по одной технологической схеме: вначале бурят скважину, устанавливают арматуру, затем скважину заполняют бетонной смесью. Более совершенной и рациональной технологией является технология, когда через отверстия в полом шнеке скважина заполняется бетоном в процессе бурения, а каркас погружается в литой бетон при помощи виброзадавливания.

4.1.2.17. При бурении скважин для устройства буронабивных свай под защитой глинистого раствора требуется бентонитовая глина. Бентонитовый раствор может быть заменен специальным полимерным раствором, изготовленным с использованием сертифицированных загустителей на основе полиакриламида с обязательным соблюдением условия обеспечения вязкости раствора в пределах 35 - 80 сек/литр по вискозиметру Марша (меньшее значение для глинистых грунтов, большее для песков).

4.1.2.18. Сравнение экономических показателей методов ограждения котлованов показывает, что производительность работ по устройству стен из буросекущихся свай примерно в 5 раз ниже производительности по устройству траншейных стен в грунте. Однако, в тех случаях, когда «стена в грунте» по каким-либо причинам невыполнима, прежде всего из-за опасности упуска глинистого раствора, стена из буросекущихся свай остается надежным видом ограждения котлованов.

Ограждение из бурозавинчивающихся и вдавливаемых свай

4.1.2.19. Область применения металлических бурозавинчивающихся свай по грунтовым условиям - песчаные и глинистые грунты от плотных до текучих.

В глинистых грунтах применяют завинчивание труб диаметром до 325 мм, в песках - до 500 мм при их длине - до 20 м. При этом возможна стыковка труб во время их погружения сваркой по аналогии с составными сваями.

4.1.2.20. В зависимости от конкретных гидрогеологических условий и требований к конструкции ограждения трубы могут быть оснащены заглушками с рыхлителем как глухими, так и теряемыми, которые позволяют осуществить дополнительное рыхление плотного грунта, ускорить процесс завинчивания и не допустить попадания грунта и грунтовых вод в полость трубы, что важно при необходимости заполнения внутреннего пространства трубы бетоном. При завинчивании трубы грунт частично уплотняется.

Бурозавинчивающаяся труба может быть использована и для устройства буронабивных свай, в том числе в неустойчивых обводненных грунтах. В этом случае в завинченную трубу с теряемым наконечником вставляется металлический каркас и подается литой бетон. Затем, пока бетон не схватился, труба выкручивается.

Работы по завинчиванию труб выполняются буровой установкой СО-2, навешиваемой на копер на базе кранов и экскаваторов типа «Драгляйн». Сменная производительность одной установки в зависимости от грунтовых условий, длины и диаметра труб составляет 8 - 12 труб в смену.

4.1.2.21. При завинчивании труб отсутствуют удары и вибрация, а также нарушение и ослабление окружающего грунта, поэтому данная технология позволяет вести работы в непосредственной близости от существующих зданий и сооружений.

Конструкцию ограждения в виде бурозавинчивающихся свай с забиркой нельзя рекомендовать при устройстве котлованов в слабых и водонасыщенных грунтах в непосредственной близости от существующих сооружений. В этих случаях для ограждения котлованов успешно применяется конструкция из двух рядов свай, причем сваи внутреннего ряда, обращенные к котловану, являются несущими, а наружные - тампонирующими или замыкающими. В качестве тампонирующих хорошо зарекомендовали себя так называемые буротрамбованные сваи (рис. 4.3 и 4.4).

Рис. 4.3. План ограждения котлована конструкций из 2-х рядов свай

1 - несущие металлические сваи; 2 - тампонирующие буротрамбованные сваи

Рис. 4.4. Конструкция стены подземного сооружения из 2-х рядов свай

1 - несущие металлические сваи; 2 - тампонирующие буротрамбованные; 3 - облицовочная ж/б рубашка

4.1.2.22. Стоимость 1 м2 ограждающей стенки из бурозавинчивающихся свай на 20 - 30 % ниже стоимости устройства стенки, выполненной способом «стена в грунте» при примерно одинаковых параметрах конструкции. Стоимость 1 м2 ограждающей стенки, выполненной способом буровставных труб с бурением скважин с применением бентонитового раствора, со стоимостью всех сопутствующих работ примерно на 30 % выше стоимости погружения бурозавинчивающихся свай.

4.1.2.23. Область применения метода вдавливания свай - песчаные и глинистые грунты. При этом в плотных и прочных грунтах вдавливание может быть облегчено устройством лидерных скважин. Грунт в процессе погружения сваи уплотняется, а его строительные свойства улучшаются.

4.1.2.24. Вдавливание свай (шпунта) статической нагрузкой полностью исключает динамические нагрузки на основание, поэтому ограждение котлованов из вдавливаемых свай является наиболее безопасным методом в условиях тесной городской застройки, исключающим возникновение дополнительных недопустимых деформаций близрасположенных сооружений.

4.1.2.25. Метод вдавливания свай характеризуется высокой производительностью и технологичностью.

Помимо вдавливания железобетонных свай технология вдавливания позволяет:

- устраивать трубобетонные сваи (металлическая труба, заполненная бетоном);

- производить устройство набивных железобетонных свай путем вдавливания и последующего извлечения стальных труб с оставляемым нижним концом.

Ограждение из буроинъекционных свай

4.1.2.26. Буроинъекционные сваи в ряде случаев могут быть использованы в качестве подпорной стенки в грунте с целью ограждения глубокого котлована в стесненных условиях городской застройки.

Для увеличения жесткости стенки в связи с большой гибкостью буроинъекционных свай может быть рекомендовано:

- двухрядное расположение свай;

- дополнительное закрепление грунта вокруг свай путем инъектирования твердеющего раствора;

- устройство анкеров;

- объединение голов свай железобетонной плитой.

4.1.2.27. Толщина и несущая способность буроинъекционных свай может быть повышена в два и более раз с помощью разрядно-импульсной технологии (РИТ), основанной на использовании энергии электрических разрядов в грунте и в бетонных смесях.

Устройство буроинъекционных свай РИТ по разрядно-импульсной технологии производится не менее чем 5 - 7 электрическими разрядами с шагом соответственно 200 - 300 мм по ее длине и не менее чем 15 разрядами в забое скважины при энергии каждого разряда 30 - 40 кДж. Для этого в скважину после заполнения ее мелкозернистой бетонной смесью опускается специальный разрядник. В процессе погружения разрядника на его электроды периодически подается высокое напряжение, обеспечивающее возникновение электрического разряда требуемой мощности, что вызывает уплотнение грунта в стенках скважины и в ее забое.

Расход инъекционного раствора при устройстве свай РИТ должен соответствовать установленному в проекте.

Шпунтовые и балочные ограждения

4.1.2.28. Стальные шпунтовые ограждения в определенных инженерно-геологических и гидрогеологических условиях и при глубине котлована до 7 - 8 м по технико-экономическим показателям могут оказаться эффективнее других способов ограждения котлованов.

Применение этого вида ограждающих элементов, погружаемых, как правило, забивкой, может регламентироваться состоянием близрасположенных эксплуатируемых сооружений. Кроме того, шпунтовая стена относится к гибким видам крепления, поэтому ее целесообразно использовать при отсутствии вблизи бровки котлована значительных нагрузок.

4.1.2.29. Область применения шпунтовых ограждений по грунтовым условиям - пески и глинистые грунты, в том числе водонасыщенные, не содержащие крупных включений. Для облегчения погружения оправдал себя способ подмыва. Для обеспечения водонепроницаемости концы шпунтовых балок своими плоскостями соединяются в так называемые «замки», служащие также направляющими при погружении шпунта.

4.1.2.30. Погружение шпунтовых элементов в грунт осуществляется обычно тремя способами: ударным, вибрационным и вдавливанием. Выбор способа погружения определяется: грунтовыми условиями, наличием вблизи котлована эксплуатируемых зданий и сооружений, массой и длиной погружаемых элементов, а также наличием необходимого оборудования. Шпунт, так же, как и балочное ограждение, чаще всего предусматривается извлекаемым из грунта, для чего используются механизмы, аналогичные применяемым для погружения.

4.1.2.31. Перспективным методом погружения шпунта и балок, который расширяет область применения этого вида ограждения, особенно в условиях тесной городской застройки, является их вдавливание в грунт, а также вибропогружение с повышенной частотой вибрирования (до 2000 кол/мин).

4.1.2.32. Погружение шпунтовых элементов пакетами на полную глубину увеличивает производительность работ и повышает качество ограждения. К таким конструкциям относятся сварные шпунтовые элементы - панели (ПШС), разработанные ОАО «ЦНИИС» (г. Москва). Применяются панели расчетной шириной 100 и 150 см и длиной до 36 м. Сортамент панелей ПШС, содержащий 57 типоразмеров, позволяет конструировать стены с моментом сопротивления от 1800 до 11100 см3/м.

Замок для соединения панелей решен в сварном варианте, не требующем прокатки специального фасонного элемента. Тип замка - «одинарная» или «двойная» обойма.

Для панелей ПШС характерна малая удельная металлоемкость. Она на 20 % меньше, чем у равнонесущей стены из шпунта Ларсен-5 из стали того же класса.

Количество замков на единицу длины стены из панелей ПШС в 2 - 3 раза меньше, чем у обычных шпунтин шириной 400 - 600 мм, что обеспечивает их меньшую водопроницаемость.

Способы крепления ограждающих конструкций

4.1.2.33. Для обеспечения устойчивости ограждающей конструкции при глубине котлована более 4 - 6 м необходимо применять ее крепление распорными или анкерными конструкциями.

К преимуществам распорных систем перед анкерными следует отнести следующие: их устройство проще, дешевле и не требует специальной технологии и специального оборудования, они могут многократно использоваться. Поэтому там, где это возможно, предпочтение следует отдавать распорным системам.

Хорошо зарекомендовали себя наклонные распорки с упором на фрагмент днища котлована или на специально выполненную свайную опору.

4.1.2.34. Применение анкерного крепления ограждающих конструкций котлованов взамен распорных систем во многих случаях дает ряд технико-экономических преимуществ, важнейшими из которых являются:

- нет ограничений по ширине котлована;

- расширяется фронт разработки грунта в котловане строительной техникой;

- отсутствуют какие-либо помехи при монтаже конструкций сооружения;

- отпадает необходимость в перекладке распорных элементов;

- применение там, где это возможно, одностороннего крепления ограждения котлована;

- достигается существенный технико-экономический эффект в последующих технологических операциях по возведению подземного сооружения (земляные работы, монтаж строительных конструкций), что обеспечивает существенное сокращение сроков строительства.

4.1.2.35. Анкеры могут устанавливаться во всех грунтах за исключением слабых (глины текучей консистенции, илы, заторфованные грунты и торфы, просадочные грунты).

Скважины для установки анкера образуют путем бурения (с обсадными трубами, под глинистым раствором, шнеком) или забивкой или вдавливанием обсадной трубы.

4.1.2.36. Наиболее широко применяются инъекционные предварительно напряженные грунтовые анкеры, в которых закрепление в грунте создается путем нагнетания в рабочую зону твердеющих растворов, как правило, на основе портландцементов. Такие анкеры обладают целым рядом преимуществ: экономичностью, хорошим сцеплением затвердевшего цементного раствора с тягой, высокой несущей способностью, образованием защитного слоя от коррозии.

В зависимости от грунтовых условий следует применять однократную, двукратную или многократную (в глинистых грунтах) инъекцию раствора давлением 2 - 3 МПа.

С целью повышения темпов работ и качества заделки в цемент рекомендуется вводить добавки для ускорения сроков твердения, снижения усадки, использовать расширяющийся цементный состав.

4.1.2.37. Применяемая фирмой «Рита» (г. Москва) технология устройства анкеров предусматривает заполнение скважины твердеющим раствором в зоне заделки с обработкой ее импульсными разрядами с энергией 40 кДж и одновременным доливом цементного раствора. В результате происходит расширение скважины, увеличение поглощения и плотности раствора, а соответственно и несущей способности анкера.

4.1.2.38. При использовании для крепления ограждающих конструкций прядевых анкеров их расчетная нагрузка составляет при числе канатов 3 - 5 до 800 кН, при числе канатов 5 - 7 до 1000 - 1200 кН.

В стержневых анкерах расчетная нагрузка составляет до 350 кН при одностержневом варианте и до 600 кН при 2-х стержневой конструкции.

Несущая способность анкеров может быть повышена при применении специального насосного оборудования, способного создавать высокое давление (до 10 МПа) для нагнетания твердеющего раствора, и путем введения в раствор различных добавок.

4.1.2.39. Прогрессивным методом крепления вертикальных и крутопадающих грунтовых стен котлованов глубиной до 12 - 15 м является использование в качестве подпорной конструкции самого грунта, укрепленного системой арматурных стержней - нагелей. Область применения метода по грунтовым условиям - связные глинистые грунты от твердой до пластичной консистенции при отсутствии водоносных и трудно осушаемых песчаных прослоев.

4.1.2.40. Армирование грунта стальными стержнями осуществляется постепенно по мере разработки котлована. Для защиты грунтовой стены от местных вывалов между нагелями в период экскавации ее поверхность покрывается набрызг-бетонной облицовкой или устраивается сборный экран из плит, а также могут использоваться полимерные рулонные материалы.

Достоинством метода является его простота и экономичность, т.к. нет необходимости в специально возводимой ограждающей стенке и ее дополнительном креплении. С применением этого вида крепи сооружен ряд объектов метрополитена, возводимых котлованным способом, в гг. Москве, С.-Петербурге и других крупных городах.

В ОАО «ЦНИИС» (г. Москва) разработана методика и расчетная программа по проектированию нагельного крепления, а также Руководство по технологии его возведения.

4.1.3. Методы строительства способами «сверху-вниз» и «вверх-вниз»

4.1.3.1. Способы строительства подземных сооружений «сверху-вниз» и «вверх-вниз» позволяют отказаться от крепления ограждения котлована временными распорными конструкциями или анкерными креплениями, т.к. в качестве распорной системы для ограждения котлована здесь используются междуэтажные перекрытия. Для второго из способов, кроме того, существенно сокращаются сроки строительства.

Эти методы строительства являются наиболее щадящими по отношению к близлежащей существующей застройке, обеспечивая минимальные, по сравнению с другими способами крепления котлованов, осадки существующих зданий и сооружений.

4.1.3.2. При способе строительства подземных сооружений «сверху-вниз» (полузакрытый способ) могут быть использованы три основных технологических приема, определяющих порядок возведения монолитных железобетонных перекрытий и поярусной разработки грунта под их защитой.

Первый прием базируется на опережающем возведении перекрытий по отношению к поярусной разработке грунта в котловане, при этом бетонирование перекрытий осуществляется безопалубочным методом непосредственно на подготовленном грунтовом основании (рис. 4.5).

Второй прием предполагает опережающую поярусную разработку грунта и последующее возведение перекрытий с помощью инвентарной опалубки, опирающейся на подготовленное грунтовое основание.

Третий прием - комбинированный и сочетает в себе как элементы технологии возведения перекрытий безопалубочным методом, так и с опиранием инвентарной опалубки на подготовленное грунтовое основание (рис. 4.6).

Из трех приемов наиболее эффективен второй, позволяющий существенно снизить трудоемкость, продолжительность процесса и стоимость экскавации котлована.

4.1.3.3. Разработка грунта в котловане под защитой перекрытий производится малогабаритными экскаваторами и обычными бульдозерами, а выдача грунта - с помощью грейферного экскаватора через монтажные отверстия в перекрытиях.

Особое внимание должно уделяться предварительной подготовке грунтового основания перед бетонированием перекрытия или установкой опалубки, которая может осуществляться песчаной подсыпкой, втрамбовыванием щебня, укладкой слоя низкомарочной бетонной смеси или цементно-песчаного раствора.

Рис. 4.5. Способ строительства подземного сооружения «сверху-вниз»

Разработка грунта на третьем ярусе котлована под защитой перекрытий над 1 - 3 подземными этажами, возведенными безопалубочным методом

Рис. 4.6. Способ строительства подземного сооружения «сверху-вниз» по комбинированной технологии

Параллельное возведение перекрытия над 3-м подземным этажом и разработка грунта на третьем ярусе котлована

4.1.3.4. Метод строительства «вверх-вниз» предусматривает строительство зданий с несколькими подземными этажами за счет одновременного сооружения этажей вверх и вниз от уровня поверхности земли с устройством ограждения котлована способом «стена в грунте», которое часто служит стеной подземной части здания. Строительство таким методом позволяет сократить общие сроки строительства здания в целом до 30 %.

Строительство по схеме «вверх-вниз» начинается с устройства траншейных «стен в грунте» по периметру сооружения и промежуточных буровых опор (колонн). Траншейные стены и буровые колонны служат опорами будущих конструкций верхнего строения. Далее начинается открытая разработка грунта на первом подземном ярусе и параллельно захватками возводится перекрытие над первым этажом (в уровне земли). При достижении бетоном перекрытия в уровне земли 75 % прочности, на нем в специально усиленной зоне стационарно устанавливается башенный кран. По достижении бетоном перекрытия 100 % прочности начинается возведение конструкций наземных этажей и одновременно ведется строительство второго и последующих подземных этажей по одному из трех технологических приемов, описанных выше.

Методы строительства способами «сверху-вниз» и «вверх-вниз» успешно применены на целом ряде объектов строительства в г. Москве.

4.1.4. Применение струйной цементации (технологии «jet-grouting») в подземном строительстве

4.1.4.1. Технология струйной цементации или технология «jet-grouting» заключается в разрушении и перемешивании грунта высоконапорной струей цементного раствора, исходящего под высоким давлением из монитора, расположенного на нижнем конце буровой колонны. В результате в грунтовом массиве формируются сваи диаметром 0,6 - 1,0 м из нового материала - грунтобетона с достаточно высокими несущими и противофильтрационными характеристиками.

4.1.4.2. Устройство свай из грунтобетона выполняется в два этапа: производство прямого (бурение скважины) и обратного хода буровой колонны. В процессе обратного хода производят подъем колонны с одновременным ее вращением. При этом поднимают давление цементного раствора, который поступает в сопла монитора, создающие струю с высокой кинетической энергией.

Сваи, образуемые с использованием струйной технологии, могут быть круглого сечения, трехлопастные, четырехлопастные, винтообразные, а также секущиеся. Комбинирование трех- и четырехлопастных свай создает ячеистые структуры, которые могут быть использованы в качестве несущих конструкций благодаря вовлечению в работу грунта, находящегося в ячейках.

4.1.4.3. Технология струйной цементации может быть эффективно применена при решении следующих задач подземного строительства:

- сооружение одиночных свайных фундаментов;

- сооружение ленточных в плане конструкций типа «стена в грунте»;

- устройство анкерных креплений;

- укрепление грунта вокруг строящихся подземных сооружений;

- усиление оснований и фундаментов существующих зданий;

- проведение противооползневых мероприятий;

- создание противофильтрационных завес.

- цементационное упрочнение разрушенных скальных грунтов;

- уплотнение стыков между панелями траншейных «стен в грунте».

4.1.4.4. К основным преимуществам технологии относятся следующие: высокая производительность, простота, экономичность, возможность работы в стесненных условиях (вблизи существующих зданий, в подвалах), отсутствие негативных ударных воздействий.

4.1.4.5. Конструкция ограждения котлована может выполняться из одного ряда секущихся грунтоцементных свай (например, диаметром 800 мм с шагом 650 мм) или с расположением свай меньшего диаметра в два ряда в шахматном порядке. Для крепления такого ограждения также могут быть применены грунтоцементные сваи, наклоненные под углом 30 - 45° к вертикали. Сваи ограждения и крепления объединяются поверху монолитной железобетонной обвязочной балкой.

Для повышения устойчивости стен, выполненных методом струйной цементации, применяют их армирование стальными трубами диаметром 500 - 600 мм или прокатными балками (h = 50 - 60 мм), располагаемыми с шагом 1,5 - 2 м вдоль стены.

4.1.4.6. Оборудование для реализации струйной цементации включает: буровую установку, растворонасос с давлением нагнетания цементного раствора 400 - 700 атм, шланги высокого давления, монитор и керамические сопла.

Основные параметры струйной технологии с использованием импортного оборудования следующие:

- водоцементное отношение раствора - В/Ц = 1;

- плотность портландцемента М500 - 3 т/м3;

- диаметр сопел - 3,2 - 4,0 мм оличество сопел - 1 - 2 шт.);

- диаметр подающего шланга - 25,4 мм;

- рабочее давление подачи раствора - 410 - 440 бар.

Применение технологии «jet-grouting» на ряде объектов Москвы в сложных инженерно-геологических условиях показало эффективность и перспективность этой технологии как при новом строительстве, так и при реконструкции зданий, выполняемых в условиях тесной городской застройки.

4.2. Основные принципы проектирования подземных сооружений, возводимых открытым способом

4.2.1. Проектирование подземных сооружений, возводимых открытым способом, должно производиться с учетом:

- назначения сооружения, объемно-планировочных решений, глубины заложения;

- нагрузок, передаваемых на сооружение;

- инженерно-геологических и гидрогеологических условий площадки строительства;

- технологии возведения сооружения;

- условий существующей застройки и влияния на нее подземного строительства;

- взаимного влияния проектируемого подземного сооружения и существующих подземных сооружений;

- экологических требований;

- технико-экономического сравнения вариантов проектных решений.

4.2.2. При оценке влияния строящегося подземного сооружения на окружающую застройку прогноз изменения напряженно-деформированного состояния грунтового массива следует, как правило, выполнять путем математического моделирования с использованием нелинейных моделей механики сплошных сред численными методами.

Прогноз изменений гидрогеологического режима следует, как правило, выполнять путем математического моделирования фильтрационных процессов также численными методами.

Для проведения указанных расчетов должны привлекаться специализированные организации.

4.2.3. Расчеты подземных сооружений по первой и второй группам предельных состояний должны включать определения:

- несущей способности основания, устойчивости сооружения и его отдельных элементов;

- местной прочности основания;

- устойчивости склонов, примыкающих к сооружению, откосов, бортов котлованов;

- устойчивости ограждающих конструкций;

- внутренних усилий в ограждающих, распорных, анкерных и фундаментных конструкциях;

- фильтрационной прочности основания, давления подземных вод на конструкции подземного сооружения, фильтрационного расхода;

- деформаций системы «подземное сооружение - основание».

При выполнении расчетов следует руководствоваться требованиями глав СНиП 2.02.01-83*, СНиП 2.02.03-85, СНиП 2.01.07-85*, СНиП 2.05.03-84*, СНиП 2.06.07-87, СНиП 52-01-2003, а также инструктивных документов.

При расчетах следует учитывать возможные изменения гидрогеологических условий, а также физико-механических свойств грунтов с учетом промерзания-оттаивания грунтового массива, а также явлений просадки, набухания и пучения.

4.2.4. Нагрузки и воздействия на грунты оснований и конструкции подземных сооружений должны устанавливаться расчетом, исходя из совместной работы конструкций сооружения и основания.

При проектировании следует учитывать нагрузки и воздействия, возникающие на всех стадиях возведения и эксплуатации подземного сооружения.

К постоянным нагрузкам, учитываемым при проектировании, относятся: вес строительных конструкций подземного сооружения и наземных зданий или сооружений, опирающихся на него или передающих нагрузку через грунт; давление грунтового массива, вмещающего сооружение, и подземных вод при установившейся фильтрации; усилия натяжения постоянных анкеров; распорные усилия и др.

К временным длительным нагрузкам относятся: вес стационарного оборудования подземных сооружений и другие полезные нагрузки; давление жидкостей и газов в резервуарах и трубопроводах; давление подземных вод при неустановившемся режиме фильтрации; нагрузки от складируемых на поверхности грунта материалов; температурные технологические воздействия; усилия натяжения временных анкеров; нагрузки, обусловленные изменением влажности, усадкой и ползучестью материалов и пр.

К кратковременным нагрузкам и воздействиям относятся: дополнительное давление грунтов, вызванное подвижными нагрузками на поверхности грунта; температурные климатические воздействия и пр.

К особым нагрузкам и воздействиям относятся: динамические воздействия от эксплуатируемых линий метрополитена, транспортных сооружений или промышленных объектов; воздействия, обусловленные деформациями основания при морозном пучении грунтов, и др.

Коэффициенты надежности по нагрузке и возможные сочетания нагрузок должны приниматься в соответствии с требованиями СНиП 2.01.07-85*.

Ограждения котлованов

4.2.5. В настоящем разделе рассмотрены ограждения котлованов, которые относятся к гибким подпорным стенам, устойчивость которых обеспечивается заделкой в грунтовом массиве, распорными и анкерными конструкциями. К гибким конструкциям относятся шпунтовые ограждения, «стены в грунте», ограждения из свай различных видов и способов устройства или профильных прокатных элементов.

4.2.6. При проектировании ограждений котлованов следует учитывать:

- технологические особенности возведения и последовательность технологических операций;

- необходимость передачи на конструкцию вертикальных нагрузок;

- необходимость устройства пристенного дренажа, использования анкерных или распорных конструкций;

- возможность изменений физико-механических характеристик грунтов, связанных как с природными процессами, так и с процессами бурения, забивки и другими технологическими воздействиями;

- воздействие морозного пучения;

- необходимость обеспечения требуемой водонепроницаемости конструкции;

- возможность применения конструктивных решений и мероприятий по снижению величин давлений грунта на подпорные стены (применение разгружающих элементов, геотекстиля, армогрунта и пр.).

4.2.7. Конструкции ограждений котлованов должны выбираться на основе технико-экономической целесообразности их применения в конкретных условиях строительства с учетом условий и длительности эксплуатации.

4.2.8. Глубина заложения ограждения котлованов должна определяться статическими расчетами.

При проектировании ограждений в водонасыщенных грунтах глубину заложения конструкций следует назначать с учетом возможности их заделки в водоупорный слой (с целью обеспечения производства работ по экскавации грунта без применения мероприятий по водоотливу или водопонижению).

4.2.9. Конструкции ограждений котлованов должны проектироваться с учетом устройства гидроизоляции в случае ее необходимости.

4.2.10. Проектирование ограждений котлованов при наличии агрессивной среды должно вестись с учетом требований СНиП 2.03.11-85.

4.2.11. При проектировании ограждений котлованов в грунтах, подверженных морозному пучению, следует предусматривать мероприятия по предотвращению проявления или по снижению сил морозного пучения. К таким мероприятиям относятся:

- теплоизоляция подпорной стены;

- понижение влагосодержания в пределах сезонно промерзающего слоя;

- обработка пучинистого грунта растворами, понижающими температуру его замерзания;

- повышение податливости конструкций подпорной стены для снижения сил морозного пучения.

4.2.12. В железобетонных подпорных стенах ограждений протяженных подземных сооружений следует предусматривать устройство температурно-усадочных деформационных швов в соответствии с требованиями действующих нормативных документов по проектированию железобетонных конструкций. Конструкция деформационных швов должна быть решена с учетом необходимости устройства гидроизоляции.

4.2.13. Подпорные стены, служащие ограждениями котлованов, а также их основания следует рассчитывать по двум группам предельных состояний.

Первая группа предельных состояний должна предусматривать выполнение следующих расчетов:

- устойчивости положения стены против сдвига, опрокидывания и поворота;

- устойчивости, несущей способности и местной прочности основания;

- прочности элементов конструкций и узлов соединения;

- несущей способности и прочности анкерных элементов;

- устойчивости и прочности распорных элементов;

- фильтрационной устойчивости основания.

Вторая группа предельных состояний должна предусматривать выполнение следующих расчетов:

- основания, подпорных стен и их конструктивных элементов по деформациям, в том числе с определением горизонтальных смещений;

- железобетонных элементов конструкций стен по раскрытию трещин.

4.2.14. При проектировании подпорных стен, устраиваемых способом «стена в грунте», следует выполнять расчет устойчивости стенок траншеи, заполненной тиксотропным раствором.

При проектировании подпорных стен, устраиваемых из отдельно стоящих профильных прокатных элементов или свай, следует выполнять расчет прочности основания на продавливание грунта.

4.2.15. При определении контактных напряжений и бокового давления грунта на подпорные стены ограждений котлованов следует учитывать:

- внешние нагрузки и воздействия на грунтовый массив, такие как пригрузка от складируемых материалов, нагрузка от строительных механизмов, транспортная нагрузка на проезжей части, нагрузка, передаваемая через фундаменты близрасположенных зданий и сооружений, и пр.;

- инженерно-геологические и гидрогеологические условия площадки;

- наклон поверхности грунта, неровности рельефа и отклонение границ инженерно-геологических элементов от горизонтали;

- возможность устройства берм и откосов в котловане в процессе производства работ;

- прочностные характеристики на контакте «стена - грунтовый массив»;

- деформационные характеристики подпорной стены, анкерных и распорных элементов;

- порядок и технологию производства работ;

- возможность перебора грунта в процессе экскавации;

- дополнительные давления на подпорные стены, вызванные пучением, набуханием грунтов, а также проведением работ по нагнетанию в грунт растворов, тампонажу и пр.;

- температурные и динамические (вибрационные) воздействия.

4.2.16. Силы трения и сцепления на контакте «стена - грунтовый массив» должны определяться в зависимости от:

- значений прочностных характеристик грунта;

- гидрогеологических условий площадки;

- качества поверхности контакта и материала подпорной конструкции;

- направления и значений перемещений стены;

- технологии устройства стены;

- способности ограждающей конструкции воспринимать вертикальные нагрузки.

При отсутствии экспериментальных исследований в расчетах по первой и второй группам предельных состояний допускается принимать следующие расчетные значения прочностных характеристик на контакте «стена - грунтовый массив»:

- удельное сцепление ск = 0;

- угол трения грунта по материалу стены φк = γкφ, где φ - угол внутреннего трения грунта, γк - коэффициент условий работы, принимаемый по таблице 4.1.

Таблица 4.1

Материал стены

Технология устройства и особые условия

γк

Бетон, железобетон

Монолитные гравитационные стены и гибкие стены, бетонируемые насухо

0,67

Монолитные гравитационные стены, бетонируемые под глинистым раствором в грунтах естественной влажности.

0,5

Сборные гравитационные стены

 

Монолитные гибкие стены, бетонируемые под глинистым раствором в водонасыщенных грунтах.

0,33

Сборные гибкие стены, устраиваемые под глинистым раствором в любых грунтах

Металл, дерево

В мелких и пылеватых водонасыщенных песках.

0

В прочих грунтах

0,33

Любой

При наличии вибрационных нагрузок на основание

0

4.2.17. При расчетах гибких подпорных стен ограждений котлованов рекомендуется применять численные методы (например, МКЭ), используя нелинейные модели сплошных сред или нелинейные контактные модели, выбираемые в зависимости от типа грунтов и конструктивных особенностей сооружения. Численные методы, как правило, следует применять для ответственных и сложных подземных сооружений, а также при их устройстве вблизи существующей застройки и при применении распорных или анкерных креплений.

4.2.18. При использовании для расчетов гибких подпорных стен аналитических методов теории предельного равновесия (в которых давление грунта на конструкцию рассматривается как сумма заданной активной нагрузки и реактивного отпора грунта) в зависимости от жесткости стены применяют следующие схемы расчета:

- схема свободного опирания стены (схема Э.К. Якоби);

- схема заделанной стены (схема Блюмаомейера);

- метод местных упругих деформаций (метод коэффициента постели).

4.2.19. Ограждения котлованов могут быть закреплены одним или несколькими ярусами анкеров или распорок. Число ярусов, шаг, угол наклона, конструкция и размеры анкеров должны определяться расчетом в зависимости от высоты конструкции закрепляемой стенки, грунтовых условий и несущей способности анкеров.

Тип анкера должен назначаться исходя из расчетной выдергивающей нагрузки, вида грунтов и условий производства работ.

4.2.20. Грунтовые анкеры, используемые для крепления ограждений котлованов, подразделяются по срокам их работы на временные и постоянные. Временными считаются анкеры, срок работы которых не превышает двух лет.

Проектирование анкеров должно основываться на результатах статических расчетов системы «стена - грунтовый массив», в которых должна быть определена погонная осевая нагрузка на анкеры с учетом требуемого количества анкеров, отметок их установки, углов наклона анкеров к горизонту и углов отклонения анкеров в плане от нормали к стене.

Проектирование анкеров должно включать определение: числа анкеров в ярусе и их шаг; свободной длины анкерных тяг, обеспечивающей размещение заделок (корней) анкеров за пределами границы призмы обрушения; длины заделки анкеров, требуемой для восприятия проектных усилий; мест для устройства опытных анкеров; числа контрольных испытаний анкеров и порядка их выполнения; усилий, на которые должны быть напряжены анкеры, после проведения контрольных и приемочных испытаний.

5. Городские подземные сооружения мелкого заложения, возводимые закрытым способом

Введение

Конструкции и технологии возведения городских подземных сооружений мелкого заложения (комплексов многоцелевого назначения, подземных гаражей и автостоянок, коммуникационных тоннелей, пешеходных переходов) должны удовлетворять следующим основным требованиям:

- обеспечивать устойчивость стенок выработок в процессе проходки и эксплуатации сооружения;

- воспринимать нагрузки и воздействия от горного давления или толщи вышерасположенного грунта и наземного транспорта;

- обеспечивать водонепроницаемость обделок или их гидроизоляции;

- обеспечивать механизированную разработку грунта и возведение обделки;

- обеспечивать минимизацию нарушений поверхностных условий движения транспорта и пешеходов;

- исключать, по возможности, применение водопонижения, способного вызвать осадку поверхности грунта, наземных и подземных объектов;

- обеспечивать сохранность окружающего горного массива и близко расположенных наземных и подземных объектов;

- обеспечивать высокие скорости проходки, сокращение материалоемкости, трудоемкости и сроков строительства;

- обеспечивать соблюдение экологических, санитарно-технических и пожарных требований.

Строительство подземных сооружений мелкого заложения должно базироваться на применении индустриальных технологий с использованием современной проходческой техники, монолитных или сборных железобетонных конструкций обделок, комплексной механизации всех основных процессов и специализации отдельных видов работ, внедрении в производство работ новых строительных материалов.

При этом весь комплекс подземного сооружения должен возводиться в единых конструктивных и технологических решениях, взаимно увязанных между собой.

5.1. Горные способы работ

5.1.1. Горный способ заключается в разработке всего сечения выработки за один прием или по частям с заменой вынимаемой породы временной крепью с последующим возведением постоянной обделки из монолитного бетона или из железобетонных элементов. Плотный контакт обделки с окружающим массивом грунта обеспечивается нагнетанием за обделку цементного раствора.

5.1.2. Существующие основные способы производства работ по сооружению выработки горным способом могут быть подразделены на три группы:

- к первой группе относят способы, при которых сечение выработки целиком освобождают от породы, используя варианты полностью раскрытого сечения (поточный и кольцевой варианты), сплошного забоя, ступенчатого забоя, центральной штольни, подсводного разреза, нижнего и верхнего уступов, после чего в выработке полного сечения сооружают стены и свод обделки;

- ко второй группе относят способы, когда сначала раскрывают и закрепляют калотту, в которой возводят свод, опираемый непосредственно на породу, применяя варианты проходки двухштольной, одноштольной и с опережающей калоттой);

- в третьей группе способов стены обделки сооружают в штольнях, после чего раскрывают калотту, в которой возводят свод, опираемый на стены (способ опорного ядра).

5.1.3. Способы проходки выработок и средства механизации определяют в зависимости от назначения сооружения, размеров и формы поперечного сечения, инженерно-геологических условий и др. на основании результатов технико-экономического сравнения вариантов.

5.1.4. До начала основных работ по сооружению выработок при необходимости следует производить проходку передовой штольни в пределах всего сечения для обеспечения осушения выработки и отвода самотеком подземных вод, улучшения ее вентиляции, организации транспортной связи между портальными площадками и уточнения инженерно-геологических условий.

5.1.5. Способ сплошного забоя следует применять для проходки выработок высотой до 10 м с монолитной обделкой в скальных грунтах с коэффициентом крепости по Протодьяконову не менее 4. При этом временное крепление выработки при проходке в скальных (невыветрелых) грунтах с коэффициентом крепости от 12 и выше не требуется, а при проходке скальных выветрелых и сильнотрещиноватых грунтов применение временной крепи обязательно.

5.1.6. Уступный способ следует применять для проходки выработок высотой более 10 м, сооружаемых в скальных грунтах с коэффициентом крепости не менее 4 и для проходки выработок высотой менее 10 м в скальных грунтах с коэффициентом крепости от 2 до 4. Проходку выработок следует осуществлять преимущественно с нижним уступом.

5.1.7. Способ опертого свода допускается применять при сооружении выработок или их участков длиной до 300 м в дисперсных грунтах типа твердых глин и суглинков, в сцементированных крупнообломочных и других грунтах, а также в скальных грунтах с коэффициентом крепости от 1 до 4, способных воспринять давление от пят свода обделки с учетом всех нагрузок, действующих на свод. При сооружении выработок в необводненных грунтах способ опертого свода должен применяться преимущественно по одноштольной схеме. Выработки в водонасыщенных грунтах следует сооружать по двухштольной схеме.

Верхняя и нижняя штольни должны соединяться между собой грунтоспусками (фурнелями), а также наклонными стойками (бремсбергами).

При проходке тоннелей способом опертого свода раскрытие калотт надлежит вести отдельными участками (кольцами), длина которых устанавливается в зависимости от инженерно-геологических условий и не должна превышать 6,5 м.

5.1.8. Способ опорного ядра следует применять при сооружении выработок или их участков длиной до 300 м в неводонасыщенных глинистых грунтах, не способных воспринимать давление от свода обделки. В этом случае стены возводят в штольнях, после чего раскрывают калотту, в которой возводят свод, опираемый на стены.

При сооружении тоннелей сечением более 40 м2 допускается предварительная проходка по оси выработки нижней транспортной штольни.

Боковые штольни для возведения стен при проходке выработок следует, по возможности, разрабатывать на всю длину сооружаемого участка выработки.

5.1.9. Разработку грунта в забое в зависимости от инженерно-геологических условий, размеров поперечного сечения и принятого способа проходки производят следующими способами:

- при проходке сплошным забоем - буровзрывным способом с использованием буровой техники и уборкой грунта породопогрузочными машинами или экскаваторами;

- при проходке уступным способом - верхнего уступа буровзрывным способом с использованием самоходных бурильных установок или горнопроходческими комбайнами, а нижнего уступа - буровзрывным способом с использованием самоходных бурильных установок и уборкой грунта экскаваторами или породопогрузочными машинами;

- при проходке выработки по частям (способами опертого свода и опорного ядра) - в калотте и боковых штроссах - отбойными молотками и пневматическими лопатами; в ядре - тоннельными экскаваторами или буровзрывным способом с уборкой грунта малогабаритными породопогрузочными машинами.

5.1.10. В последнее время работы по разработке грунта в забое выработок и вывозе на поверхность земли ведутся современными автоматизированными и механизированными средствами.

Большое применение находят проходческие комбайны с механизированной установкой временных и постоянных крепей.

5.1.11. В настоящее время создаются и внедряются новые более эффективные способы разработки грунта: гидравлический, пневматический, электрофизический, химический и др.

Эти способы могут быть применены самостоятельно или в сочетании с механическими способами.

5.1.12. Выбор средств механизации следует производить из условий обеспечения поточного процесса при наименьших затратах и сроках продолжительности строительства.

5.1.13. Переборы грунта против проектного поперечного сечения выработки в скальных грунтах в случаях разработки выработок буровзрывным способом без применения метода контурного взрывания не должны превышать значений, указанных в табл. 5.1.

В дисперсных грунтах перебор грунта против проектного сечения при разработке выработок механическими средствами не должен превышать 50 мм. В подошве выработки без обратного свода и при разработке лотка под обратный свод в дисперсных грунтах переборы грунта не допускаются.

Таблица 5.1

Выработки

Значение перебора грунта, мм, при грунтах с коэффициентом крепости

от 1 до 4

от 4 до 12

от 12 до 20

Тоннели

100

150

200

Стволы и штольни

75

75

100

Способ заполнения пустот, образовавшихся от переборов грунта против проектного сечения, должен устанавливаться проектом производства работ.

5.1.14. Временное крепление выработок при проходке сплошным забоем или уступным способом в скальных грунтах трещиноватых, прочных и средней прочности надлежит выполнять с применением анкерной или набрызг-бетонной крепей или их сочетаний.

Использование арочной крепи в качестве временного крепления допускается при технико-экономическом обосновании. В этих случаях арочную и анкерно-арочную крепь допускается применять в трещиноватых скальных грунтах с коэффициентом крепости до 8, а также в зонах с тектоническими нарушениями.

5.1.15. Набрызг-бетон следует применять в качестве временной крепи при проходке в скальных трещиноватых грунтах, не проявляющих горное давление. При проходке выработок в скальных трещиноватых и выветрелых грунтах, проявляющих горное давление, следует применять набрызг-бетон, армированный металлической сеткой в сочетании с анкерной крепью.

Число слоев набрызг-бетона устанавливается в зависимости от инженерно-геологических условий и принятой проектом толщины набрызг-бетона.

5.1.16. Анкерная крепь должна применяться для временного крепления выработок на период производства работ до возведения постоянной обделки в скальных трещиноватых грунтах с коэффициентом крепости от 4 и выше. При этом применяют железобетонные, полимербетонные или металлические анкеры. Применение анкерной крепи в более слабых грунтах должно быть обосновано натурными исследованиями.

При устройстве анкерной крепи в мерзлых грунтах с использованием железобетонных анкеров должны применяться растворы, в которые введены добавки, ускоряющие схватывание, или производится электропрогрев для обеспечения твердения растворов.

5.1.17. Конструкция анкеров, их число и длина определяются проектом в зависимости от крепости и состояния грунта.

На анкерную крепь должен составляться паспорт с учетом инженерно-геологических особенностей каждого участка по длине выработки.

5.1.18. Допускаемые отклонения фактического положения анкерной крепи от проектного не должны превышать следующих значений: расстояние между анкерами - ±10 %; размер шпура - 5 мм; угол наклона шпура - 10°.

5.1.19. Горные способы работ получили совершенствование в разных странах.

1) В Японии проходку тоннелей в крепких скальных породах выполняют с забуриванием в забое системы щелей. Для этого по контуру тоннельной выработки или непосредственно на поверхности лба забоя устраивают разгружающие щели, которые ослабляют массив и облегчают разработку его взрывным способом.

Данную технологию целесообразно применять в крепких скальных породах, сохраняющих устойчивость опережающих щелей на период осуществления основных горнопроходческих операций, включенных в технологический цикл.

2) В КНР в скальных породах применяют способ центральной штольни. При этом способе горнопроходческие работы выполняют с предварительной проходкой центральной пилот-штольни, из которой забуривают веерные шпуры. Чтобы повысить степень устойчивости забоя и избежать загромождения пилот-штольни взорванной породой, необходимо создавать опережение нижней части забоя, т.е. устраивать своеобразный верхний уступ, что достигается определенной последовательностью взрывания верхних шпуров. Такая технология буровзрывных работ имеет следующие достоинства:

- возможность детального изучения геологических условий ведения работ;

- ускорение буровзрывных работ за счет ведения их на широком фронте пилот-штольни;

- возможность избирательного закрепления грунтов.

Эта технология наряду с ускорением темпов проходки позволяет проводить эвакуацию породы со снижением стоимости горнопроходческих работ.

3) В зарубежной практике с применением горного способа работ построено много подземных сооружений (подземных гаражей и автостоянок, подземных убежищ, хранилищ и др.).

Характерным примером является построенный горным способом подземный гараж тоннельного типа на 1500 автомобилей в г. Зальцбурге (Австрия).

Два тоннеля длиной по 136 м расположены параллельно в скальных породах и соединены между собой сбойками (рис. 5.1). Каждый тоннель сводчатого очертания пролетом 16 м и высотой 15 м рассчитан на 4-ярусное хранение автомобилей. На каждом ярусе высотой 2,2 м принята двухсторонняя прямоугольная расстановка автомобилей перпендикулярно оси проезда; размеры стояночного места 5´2,3 м, ширина проезда 6 м. По торцам тоннелей устроены спиральные рампы диаметром 18 м для проезда автомобилей с яруса на ярус.

Проходка тоннелей велась преимущественно буровзрывным способом, а частично - тоннелепроходческой машиной с рабочим органом избирательного действия типа «АМ-5 производительностью 40 м3/ч. Обделку тоннелей возводили из набрызг бетона.

5.1.20. Наиболее прогрессивным методом при строительстве подземных сооружений горным способом является новоавстрийский способ проходки тоннелей (НАТМ).

Технология НАТМ крепления выработки заключается в создании специальной торкрет-крепи, удерживаемой стержневой анкерной системой, сооружаемой с максимальным вовлечением в работу вмещающего массива грунта (рис. 5.2).

По этому способу возводят двухслойную обделку замкнутого очертания. Первичная обделка выполняется из набрызг-бетона толщиной 10 - 20 см и усиливается стальными арками или анкерами, а вторичная - из монолитного бетона или набрызг-бетона толщиной 25 - 35 см.

При строительстве тоннелей с применением НАТМ эффективными оказываются ребристые обделки из набрызг-бетона, усиливаемые решетчатыми арками. При этом вместо дорогостоящей прокатной, профильной стали используются армирующие элементы из сварных арматурных каркасов различного поперечного сечения.

Использование НАТМ позволяет:

- увеличить диапазон применения горнопроходческого способа работ в сложных инженерно-геологических условиях, в том числе в слабых грунтах, в которых затруднительно применение традиционного горного способа производства работ;

- увеличить несущую способность крепи без ее утолщения за счет установки усиливающих элементов (арок, анкеров);

- возводить подземные сооружения практически любой формы и размеров поперечного сечения;

- производить разработку породы как буровзрывным способом, так и механизированными способами с применением экскаваторов и различных тоннелепроходческих машин;

- сочетать проходку со специальными способами упрочнения грунтов осушением, закреплением инъекционными методами, замораживанием и др.;

- обеспечивать снижение стоимости строительства до 10 % по сравнению с другими способами.

Рис. 5.1. Схема подземного гаража в г. Зальцбурге (Австрия)

1 - тоннель-стоянка; 2 - въездная рампа; 3 - выездная рампа; 4 - стояночные места; 5 - проезды; 6 - вспомогательные выработки; размеры в метрах

Рис. 5.2. Сравнение конструкций обделок, выполняемых горным и новоавстрийским методами

а) горный способ: 1 - деревянная затяжка; 2 - стальная арка; 3 - рошпаны; (1, 2, 3 - составляют временную крепь, расположенную вне постоянной обделки); 4 - бетонная или железобетонная постоянная обделка; 5 - обратный свод

б) новоавстрийский метод: 6 - несущий породно-анкерный свод; 7 - анкеры; 8 - наружный слой обделки из набрызг-бетона толщиной 5 - 15 см (вместе с анкерами служит временной крепью); 9 - внутренний слой постоянной обделки из набрызг-бетона или бетона толщиной 15 - 35 см

5.1.21. Основным требованием при строительстве подземных сооружений методом НАТМ является проведение мониторинга за поведением грунтового массива, как в проводимой горной выработке, так и на земной поверхности. Сбор, оценка, оптическая и письменная индикация данных наблюдений проводятся с использованием компьютерной техники и с применением высокоточного математического аппарата. Основным условием при проведении мониторинга является немедленное представление результатов измерений руководству стройки и органам технического надзора для принятия неотложных мер.

5.1.22. Способ НАТМ благодаря техническим и экономическим преимуществам в течение последних 10 - 15 лет стал стандартным в области подземного строительства.

Во многих странах западной Европы, Азии и в Америке НАТМ обогащен различными модификациями и применяется практически в любых инженерно-геологических условиях и на любой глубине. Специальные мероприятия по закреплению грунтов создают возможность применять этот метод в слабых водонасыщенных грунтах.

При использовании НАТМ стали применять проходческие комбайны, например, «Паурат Е 242» и податливую тюбинговую крепь с элементами обжатия породы типа «Мейсо».

5.1.23. Ниже приведены примеры использования НАТМ в мировой практике.

1) В Вене и Копенгагене НАТМ построены метрополитены мелкого заложения с предотвращением осадок в густонаселенных районах посредством инъекций укрепляющих растворов во вмещающие породы и с водопонижением до 10 м.

Комбайны избирательного действия фирм «Ноэль», «Альпинист Вестфалия» позволяют при новоавстрийском способе проходить тоннели высотой до 6,5 м и шириной до 7,8 м.

2) В США в последние годы технологию НАТМ в значительной степени модифицировали, сохранив основные принципы, но приспособив ее к условиям подземного строительства Северной Америки.

Для модифицированной «Североамериканской технологии» характерно более интенсивное применение для разработки породы тоннелепроходческих машин со стреловым рабочим органом, обладающих достаточно высокой производительностью и не требующих привлечения ручного труда. Кроме того, в США часто устраивают дополнительный дренаж и инъекционное закрепление слабоустойчивых грунтов.

3) Несколько видоизмененную технологию НАТМ используют в Норвегии. В трещиноватых скальных породах ее применяют в сочетании с буровзрывными работами, а в мягких породах - с механизированной разработкой. Главная особенность «Норвежского метода» - крепление выработки дисперсно армированным набрызг-бетоном, наносимым «мокрым» способом, и анкерами.

4) Одним из примеров успешной реализации технологии НАТМ для возведения подземных сооружений является строительство трехъярусной подземной автостоянки на 345 автомобилей в г. Ландесберге (Германия). В связи с тем, что место расположения стоянки окружено памятниками архитектуры и создание наземных объектов практически невозможно, был принят закрытый способ работ.

По данным инженерно-геологических изысканий с поверхности залегает 17-метровый слой плотного гравия и конгломерата, подстилаемый слоем водоупорной глины толщиной 3 - 34 м. Уровень подземных вод располагается на глубине 1 м от поверхности земли.

Стоянка выполнена в виде подземной выработки длиной 180 м, пролетом 18,9 м и высотой 16,4 м (рис. 5.3). Строительство автостоянки осуществлено в 6 этапов с разработкой породы экскаватором «обратная лопата» и креплением каждого элемента выработки (площадь поперечного сечения 20 - 40 м2) слоем набрызг-бетона и решетчатыми арками с шагом 0,8 - 1 м. Набрызг-бетон наносили по «сухой» технологии. Стены основной выработки закрепляли 2-мя слоями набрызг-бетона толщиной 20 см с двумя стальными сетками. Помимо основной выработки сооружены 60-метровый проходной тоннель, 3 лифтовых шахтных ствола глубиной 30 м и аварийно-вентиляционный ствол глубиной 37 м. Строительство автостоянки сопровождалось измерениями деформаций поверхности земли, зданий, сооружений, а также проходимых подземных выработок.

Рис. 5.3. Продольный разрез (а) и поперечный разрез (б) подземной автостоянки в г. Ландесберге (Германия)

1 - стояночные места; 2 - обделка; 3 - проезд; 4 - въезд-выезд; 5 - аварийный выезд; (расстояние в метрах)

5) Горным способом возведен крупнейший подземный спорткомплекс в Норвегии в районе Холмлиа, занимающий территорию 6800 м2. Основные выработки сводчатого поперечного сечения, пролетами 15 - 25 м и высотой 8,5 - 13,2 м заложены на глубинах 16 - 18 м от поверхности земли.

6) В г. Чикаго построен подземный комплекс для насосной станции сточных и ливневых вод. Подземные выработки сводчатого очертания пролетом 19,2 м, высотой 29,3 м и длиной 83,7 м сооружались буровзрывным способом.

5.2. Проходка выработок под защитой опережающей крепи

5.2.1. При строительстве подземных сооружений мелкого заложения на застроенных городских территориях, а также при пересечении железнодорожных и автодорожных магистралей применяют защитные экраны, устраиваемые по технологии опережающей крепи в верхней и боковой частях выработок.

5.2.2. По типу защитные экраны подразделяют: на металлические железобетонные из труб, из стабилизированного закрепленного грунта и опережающей бетонной крепи.

5.2.3. Технология строительства выработок состоит из следующих основных этапов:

- проходки вспомогательной выработки (котлована или шахты);

- устройства опережающей защитной крепи;

- разработки, погружения и удаления грунта;

- возведения временной или постоянной крепи.

Разработку грунта выработки и возведение обделки выполняют в основном по технологии горного способа.

5.2.4. Технология проходки под защитой опережающей крепи позволяет возводить выработки различных форм и сечений длиной до 80 - 100 м. Увеличение длины экранов может быть достигнуто созданием промежуточных шахтных стволов или котлованов для задавливания, а также устройством опережающей крепи непосредственно из забоя выработок (рис. 5.4).

Существуют различные модификации этого способа, отличающиеся материалом, формой и размерами экрана, способами возведения, наличием или отсутствием замковых элементов и др.

5.2.5. При устройстве экранов применяют следующие технологические способы:

- продавливание или прокол труб малого диаметра;

- горизонтальное бурение;

- нарезание (фрезерующим или баровым рабочим органом) щелей длиной до 3 - 4 м и высотой 12 - 20 см и более;

- щитовую проходку выработок малого диаметра;

- микротоннелирование;

- закрепление грунта химическими методами, струйной цементацией или замораживанием и др.

Рис. 5.4. Схема экрана из труб

1 - трубы; 2 - подземная выработка; 3 - котлован; 4 - упорная площадка; 5 - домкрат

5.2.6. При продавливании в большинстве случаев применяют стальные трубы, продавливая их в один или два ряда вдоль оси выработки; в устойчивых грунтах их располагают с зазорами 15 - 20 см, которые заполняют цементным раствором.

При продавливании труб в неустойчивых грунтах их соединяют между собой с помощью замковых устройств по типу шпунта (рис. 5.5). В этом случае достигается повышение точности задавливания и упрощается контроль, так как замковые устройства служат направляющими для вновь надавливаемых труб.

5.2.7. Для продавливания труб и извлечения из них грунта, соединения звеньев труб, заполнения их бетоном применяют специализированное оборудование. Наибольшее применение получили механизированные установки для прокола, продавливания, горизонтального бурения, микротоннелирования, основанного на протаскивании труб вслед за управляемым щитовым проходческим комплексом.

Рис. 5.5. Способ соединения труб

1 - трубы; 2 - замковые соединения

5.2.8. В отечественной практике разработана грунтопрокалывающая установка ГПУ-600, состоящая из направляющей рамы, опорно-нажимной плиты, подвижного упора, гидравлических домкратов с насосной станцией. Установка предназначена для продавливания стальных труб диаметром 100 - 630 мм на длину до 80 м со скоростью 24 м в смену. В плотных грунтах их задавливают в предварительно пробуренные лидерные скважины.

5.2.9. Оборудование для продавливания стальных и железобетонных труб разработано в Японии, Германии и других странах.

В Японии фирмой «Окумура корпорейшн» (Осака) разработана технология «ОНА» и специализированное оборудование для задавливания стальных и железобетонных труб диаметром 300 - 1000 мм. Оборудование включает направляющую трубу, шнек для разработки и удаления грунта, опорный каркас, домкратную установку и контролирующее устройство.

Германской фирмой «Крупп Штальхандель» создан агрегат для продавливания стальных и железобетонных труб усилием до 2000 кН. Разработаны различные модификации агрегата: с буровым рабочим органом, с фрезерным механизмом, со шнековым и цепным механизмом и др. для применения в разнообразных грунтовых условиях. Агрегат имеет гидравлический привод мощностью 51,5 кВт и обеспечивает задавливание 3 - 9 м труб в смену.

5.2.10. С целью увеличения длины экранов из труб без устройства промежуточных шахт или котлованов следует применять технологию создания опережающих экранов непосредственно из забоя подземной выработки путем бурения наклонных скважин и задавливания в них труб. Скважины следует забуривать под углом 4 - 6° к оси подземной выработки. Экраны устраивают секциями по 10 - 15 м с перекрытием соседних секций на 1 - 3 м.

5.2.11. Под защитой готового экрана производят раскрытие выработки. Выработку следует возводить заходками, соответствующими длине экрана с подкреплением последнего стальными арками и набрызг-бетоном, после чего в передвижной опалубке возводят постоянную обделку.

5.2.12. При строительстве выработок горным способом в полускальных и дисперсных грунтах применяют опережающую бетонную крепь (ОБК). ОБК устраивают путем бетонирования методом набрызг-бетона предварительно нарезанных контурных щелей длиной 3 - 4 м и высотой 12 - 20 см. Щель прорезают под углом 4 - 12° к продольной оси выработки, чтобы обеспечить возможность возведения последующих секций ОБК.

К преимуществам ОБК следует отнести следующие:

- создание лучших условий для стабилизации грунтового массива, которая практически наступает до начала разработки грунта в выработке в отличие от традиционной контурной крепи (арочной, анкерной, набрызг-бетонной);

- практически исключаются переборы грунта из-за ровного очертания контурной крепи, сводятся к минимуму деформации грунтового массива и поверхности земли, повышаются темпы проходки выработки. Осадка грунтового массива и поверхности земли при применении ОБК меньше в 2 - 3 раза по сравнению с НАТМ и в 4 - 5 раза - с традиционными способами в аналогичных условиях;

- способ проходки выработок с использованием ОБК целесообразен в случаях, когда применение традиционных технологий сопряжено с риском нарушения грунтового массива и где важно соблюдение экологических требований;

- применение технологии ОБК возможно в широком диапазоне грунтовых условий (от скальных до дисперсных грунтов) при проходке выработок различных форм и размеров поперечного сечения площадью более 30 м2;

- стоимость строительства на 40 - 60 % ниже, чем традиционными способами и, примерно, на 25 - 30 % выше по сравнению с новоавстрийским способом (НАТМ).

Целесообразная область применения ОБК - некрепкие скальные, полускальные и мягкие породы с коэффициентом крепости по Протодьяконову 2 - 5.

5.2.13. Для реализации технологии ОБК из отечественного оборудования используют врубовую машину «Урал-33», изготавливаемую Копейским машиностроительным заводом.

Зарубежными фирмами Франции, Германии и Италии создано оборудование для нарезания щелей баровым и фрезерующим способами, позволяющими экономично нарезать щели различной конфигурации в плане и по глубине.

5.2.14. Для устройства пешеходных и коммуникационных тоннелей мелкого заложения целесообразно применять технологию по а.с. № 1234642, состоящую в следующем (рис. 5.6).

Вначале способом «стена в грунте» возводят боковые стены тоннеля, а затем из забоя выработки устраивают опережающую щель высотой 0,3 - 0,5 м с наклоном в продольном направлении. Угол наклона щели должен составлять 2 - 6,5° для грунтов средней крепости и 6,5 - 15° - для более слабых грунтов. Щель устраивают на глубине не менее 1,5 - 2 м от поверхности земли, заполняя ее сборными железобетонными плитами и монолитным бетоном. Перехлест соседних секций крепи составляет от 25 - 30 % их длины в устойчивых грунтах и до 50 % - в неустойчивых грунтах.

Под прикрытием образованной крепи разрабатывают грунт на величину заходки длиной 3 - 3,5 м. Далее устраивают гидроизоляционное покрытие лотка, стен и перекрытий из рулонных или пленочных материалов и возводят обделку из монолитного железобетона. Временная крепь входит в состав несущей конструкции тоннеля.

Рис. 5.6. Схема проходки участка тоннеля мелкого заложения с ОБК

1 - опережающая бетонная крепь; 2 - обделка тоннеля; 3 - щель; 4 - «стена в грунте»; 5 - гидроизоляция

5.2.15. Для устройства опережающей крепи в неустойчивых грунтах применяют струйную цементацию. По контуру будущего сооружения в грунт с определенным шагом погружают мониторы с насадками, через которые под большим давлением подают воду и цементный раствор. Окружающий скважину грунт разрушается струей воды и интенсивно перемешивается с цементным раствором, в результате чего образуются грунтоцементные сваи из закрепленного грунта в виде вертикальных и наклонных стен (рис. 5.7). Для закрепления грунтов с применением струйной цементации применяют отечественное и зарубежное оборудование (Япония, Италия и др.).

Рис. 5.7. Схема экранов из закрепленного грунта

1 - закрепленный грунт; 2 - обделка; 3 - подземная выработка

5.2.16. При строительстве протяженных выработок мелкого заложения в полускальных, дисперсных и слабоустойчивых грунтах горные способы работ следует применять в сочетании с опережающей крепью в виде экранов из труб, бетонных сводов или стабилизированного грунта. Такая технология отличается достаточной гибкостью и универсальностью, сводит к минимуму нарушения окружающей среды и может составить альтернативу открытому способу работ на плотно застраиваемых участках городских территорий.

Экраны из стальных, железобетонных и асбестоцементных труб целесообразно устраивать из вспомогательных выработок или из забоя проходимой выработки. Для стабилизации грунта наиболее перспективна струйная цементация, которая может применяться практически в любых слабоустойчивых и неустойчивых грунтах независимо от степени их водонасыщения.

5.3. Способ продавливания пешеходных и коммуникационных тоннелей небольшого диаметра

5.3.1. Способ продавливания наиболее эффективен при строительстве тоннелей и прокладке инженерных коммуникаций под автомобильными и железнодорожными магистралями, а также на участках городских территорий в непосредственной близости от существующих зданий и подземных сооружений (рис. 5.8).

Рис. 5.8. Схема продавливания пешеходного тоннеля

1 - ножевая секция; 2 - горизонтальные полки; 3 - продавливаемая обделка; 4 - контактный провод; 5 - кран; 6 - секция обделки; 7 - распределительная рама; 8 - домкратная установка; 9 - опорная стена; 10 - забойный котлован

Способом продавливания в г. Москве только трестом ГПР-3 Главмосинжстроя прокладывается до 8 - 10 км трубопроводов диаметром 800 - 2000 мм. С использованием этого способа построены пешеходные тоннели у железнодорожной станции «Беговая», под путями Казанского вокзала, между станциями метро «Варшавская» и «Коломенская», у станций метро «Тушинская» и «Ботанический сад» и др.

За рубежом (в Великобритании, Германии, Италии, Франции, США, Японии и др.) способ продавливания получил широкое применение при строительстве коллекторных, пешеходных и транспортных тоннелей.

5.3.2. Способ продавливания применяют в насыпях, уплотненных, осушенных несвязных грунтах. В слабых водонасыщенных грунтах продавливание производят с применением водопонижения.

Способ применяют, как правило, для продавливания тоннелей небольшой длины (в США, Германии и Японии имеется опыт продавливания коллекторных тоннелей до 60 - 80 м и более).

5.3.3. Поперечные сечения трубопроводов, применяемых при способе продавливания, могут быть круглые, трапецеидальные, квадратные, прямоугольные и др. с размером труб 800 - 2000 мм. Материал трубопроводов - сталь, железобетон и различные полимерные материалы. Трубы выпускают звеньями длиной 1,5 - 3,0 м, а при использовании телескопических домкратных установок - до 5 м. Стыки между секциями труб уплотняют и изолируют, создавая водонепроницаемое соединение.

5.3.4. Обделки коллекторных и пешеходных тоннелей чаще всего выполняют в виде цельных секций из обычного или преднапряженного железобетона, прямоугольного, сводчатого или кругового очертания длиной до 2 - 3 м и массой до 20 т и более. Цельнотянутые обделки имеют, как правило, заводскую гидроизоляцию, а при строительстве производят только герметизацию стыков между секциями.

5.3.5. При продавливании трубопроводов больших размеров в них помещают грунторазрабатывающие агрегаты, при помощи которых разработанный грунт поступает внутрь трубопровода и грузится в вагонетки или ковши, которые лебедками перемещают в забойный котлован и краном поднимают на поверхность земли. По мере разработки грунта секции трубопровода опускают в забойный котлован и продавливают гидравлическими домкратами в грунтовый массив. Средняя скорость продавливания трубопроводов составляет 1,5 - 3 м/смена.

5.3.6. Механизированные установки для продавливания трубопроводов по принципу действия подразделяются на две группы:

- с полным разрушением керна, образующегося при продавливании трубы;

- с последующей транспортировкой неразрушенного керна.

По принципу первой группы разработаны установки СКБ Мосстроя с рабочим органом роторного типа и транспортированием разработанного грунта с помощью специального совка и установка ПУ-2 конструкции ЦНИИподземмаша с экскаваторным рабочим органом. Эти установки обеспечивают эффективную разработку забоя, но имеют пониженную производительность из-за цикличности транспортирования грунта и простоя рабочего органа.

Непрерывное транспортирование грунта из забоя с одновременным его разрушением и продавливанием трубы обеспечивает установка УВП-1600К.

Указанные установки применяются для продавливания сухих и неводонасыщенных грунтов естественной влажности.

Ко второй группе относятся установки с отрывом неразрушенного керна с применением сжатого воздуха, взрывчатых газов или механическим его отрывом (установки треста ГПР, станки горизонтального бурения УГБ-2, УГБ-5, УГБ-6, «Запорожье», ПУ-1, ПУ-2 и др.).

Ленгипротрансмостом для продавливания пешеходных тоннелей разработаны типовые проходческие комплексы шириной 3 и 4 м. В состав комплекса входит прямоугольный щит с 14-ю домкратами для передвижки и 12-ю забойными. В хвостовой части щита размещаются три барабана с антифрикционными лентами. В забойном котловане размещается основная домкратная батарея с нажимной рамой, по периметру которой расположены 16 домкратов для продавливания обделки. Скорость продавливания составляет 2,4 - 3 м/сутки, максимальная длина участка продавливания - 50 м. Для пробивания участков большей длины применяют промежуточную домкратную установку. Транспортировка грунта осуществляется скребковым транспортером, загружающим его в вагонетки вместимостью до 1 м3.

Московским механическим заводом Главтоннельметростроя изготовлен агрегат КМ-35 для продавливания колец чугунной тюбинговой обделки с наружным диаметром 6 м. Агрегат состоит из ножевой секции, размещенной впереди продвигаемой обделки, и домкратной установки с гидросистемой. Ножевая секция представляет собой опорное кольцо с двумя горизонтальными и тремя вертикальными перегородками. Для сбрасывания грунта вниз на горизонтальных перегородках предусмотрены «окна».

В кольцевой опорной части металлоконструкции размещаются 30 гидравлических домкратов грузоподъемностью по 100 т. В средней ее части имеется ступенчатая горизонтальная перегородка с выдвижными площадками, с которых ведется монтаж колец обделки.

За рубежом (США, Великобритания, Германия, Франция, Япония и др.) разработаны различные установки для продавливания коллекторных и пешеходных тоннелей в виде механизированных комплексов, включающих в себя ножевую секцию с забойной крепью и грунторазрушающими устройствами, средства для погрузки и транспортирования грунта, домкратные установки.

Ведущей фирмой Германии по изготовлению оборудования для продавливания является «Вестфалия Люнен». Эта фирма выпускает комплекс для механизированного продавливания с головной секцией в виде щита с домкратами, опирающегося на обделку через кольцо.

Германской фирмой «Базе» разработан комплекс для продавливания, в котором телескопические домкраты обеспечивают продавливание секций обделки длиной до 3,5 м и диаметром 2,4 - 3,1 м.

5.3.7. Для продавливания крупногабаритных тоннельных элементов длиной до 15 - 20 м и массой 300 - 500 т секции изготавливают непосредственно в створе тоннеля на заранее устроенном основании, которое выполняют в виде железобетонной плиты, закрепленной в грунте для восприятия реактивных усилий, возникающих при продавливании. Продавливание крупногабаритных секций позволяет получить высококачественную конструкцию тоннеля с минимальным количеством швов.

Для увеличения длины продавливания крупногабаритных секций фирмой «Вайс унд Фрайтаг» (Германия) разработан способ «телескопического продавливания», заключающийся в продавливании секций с меньшими размерами через ранее задавленные секции большего размера. Впервые этот способ применили в 1979 - 1980 гг. при строительстве в г. Кельне (Германия) автотранспортного тоннеля длиной 102 м и сечением 12´4,9 м, состоящего из 4-х секций.

В Японии разработан способ «протаскивания» секций, при котором усилия домкратов передаются на обделку при помощи стальных тяговых тросов, пропущенных через грунтовый массив и продольные каналы в обделке. Способ имеет две разновидности. При первой из них усилие в тяговых тросах создает домкратная установка, смонтированная в финишном котловане, тогда как стартовый котлован остается свободным для выполнения операций по транспортировке разработанного грунта и монтажу или изготовлению продавливаемых секций. При втором варианте натяжение тросов и соответственно «протаскивание» осуществляют при помощи домкратных установок, смонтированных в торцах продавливаемых секций с обеих сторон тоннеля.

5.4. Щитовые способы работ

5.4.1. Щитовые способы работ применяют при возведении подземных сооружений в сильнотрещиноватых (выветрелых и рухляках) скальных, мягких и слабоустойчивых грунтах, проявляющих горное давление, и требующих временного крепления кровли и лба забоя.

5.4.2. Проходческий щит представляет собой подвижную крепь, под прикрытием которой разрабатывают грунт и возводят постоянную обделку. Щиты различаются формой и размерами поперечного сечения, несущей способностью, способом разработки грунта и креплением лба забоя. Формы поперечного сечения щитов: круговая, сводчатая, прямоугольная, трапецеидальная и пр.

5.4.3. По способу разработки грунта различают немеханизированные и механизированные щиты. В первом случае грунт разрабатывается вручную или с применением ручных механизированных инструментов; во втором - все операции по разработке и уборке грунта полностью механизированы и выполняются специальным рабочим органом.

5.4.4. Технологию щитовой проходки назначают в зависимости от вида подземного сооружения, глубины его заложения, инженерно-геологических условий, типа щита и вида обделки.

Технология щитовой проходки состоит из следующих этапов:

- устройства пионерного котлована или шахты;

- производства вспомогательных операций, в случае необходимости: водопонижения, химического закрепления грунтов, замораживания и др.;

- погружения краном щита на заданную отметку разрабатываемой выработки;

- монтажа щита и оснащения его необходимым оборудованием;

- производства основных операций по проходке тоннеля, монтажу обделки, устройству гидроизоляции и выполнению вспомогательных работ.

5.4.5. При проходке тоннелей как немеханизированными, так и механизированными щитами основные горнопроходческие операции должны быть увязаны между собой во времени.

5.4.6. Основные несущие конструкции городских тоннелей, сооружаемых щитовым способом, выполняют в основном в виде обделок кругового очертания из металлических или железобетонных элементов, объединяемых между собой в продольном и поперечном направлении. Сборные обделки в наибольшей степени отвечают требованиям индустриализации строительства.

5.4.7. В соответствии с конструктивными особенностями и характером статической работы все сборные обделки кругового очертания разделяют на две группы: жесткие - со связями растяжения в радиальных стыках и гибкие - без связей растяжения в стыках.

Жесткие обделки предназначены для использования в слабоустойчивых и неустойчивых грунтах в условиях значительного горного и гидростатического давления. Их проектируют как с постоянными связями растяжения (на период монтажа и период эксплуатации), так и с временными связями растяжения (на период монтажа).

Гибкие обделки применяют в устойчивых грунтах, обладающих упругими свойствами, когда обделка работает совместно с окружающим грунтовым массивом. Такие конструкции устраивают без предварительного напряжения и с обжатием в грунт.

5.4.8. Применение вместо дорогостоящих чугунных и стальных обделок железобетонных, обладающих высокой несущей способностью, жесткостью и водонепроницаемостью, позволяет снизить расход материала на 80 - 85 %, а стоимость сооружения на 15 - 20 %.

В неводонасыщенных слабоустойчивых грунтах наиболее рациональны конструкции обделок из железобетонных тюбингов с временными связями растяжения.

В условиях возможного притока подземных вод применяют обделки из усиленных железобетонных тюбингов - ребристых блоков, имеющих ребра толщиной 250 - 300 мм и утолщенную оболочку (250 - 275 мм).

5.4.9. Прогрессивными являются обделки предварительно напряженной конструкции. При предварительном напряжении обеспечивается наиболее быстрое включение обделки в совместную работу с грунтом, обжатие и уплотнение радиальных стыков блоков, что способствует повышению трещиностойкости и экономии металла.

Обжатие создают с помощью гидравлических или винтовых домкратов, клиновыми блоками или специальными приспособлениями. Обжатые обделки работают совместно с окружающим их грунтом, при этом часть нагрузки воспринимается грунтовым массивом. Отсутствие зазора между обделкой и грунтом не требует первичного нагнетания за обделку цементного раствора и практически исключает осадку поверхности земли.

Эффективно применение железобетонных обделок повышенной водонепроницаемости (до 0,35 МПа) из бетона класса по прочности на сжатие В45 и марки по водопроницаемости W10 (изготовитель - Очаковский завод железобетонных конструкций Мосметростроя).

Успешно применяется конструкция сборной обделки из железобетонных элементов с неопреновыми уплотнителями в стыках, предназначенных для тоннелей, сооружаемых в мягких и слабых грунтах при гидростатическом давлении до 0,3 МПа. Обделка отличается повышенной прочностью, жесткостью и водонепроницаемостью и по прочностно-деформационным характеристикам приближается к обделкам из чугунных тюбингов.

5.4.10. В зависимости от крепости и степени устойчивости грунта следует применять различные схемы проходки тоннелей с возведением монолитно-прессованной обделки, являющейся наиболее рациональным видом обделок. Для этого применяют специальные щитовые комплексы типа ТЩБ с различными способами прессования бетонной смеси.

5.4.11. При проходке в песках и глинистых грунтах прессование бетонной смеси производят на участке хвостовой оболочки щита. После установки очередной секции опалубки через прессующее кольцо по бетонопроводу подают бетонную смесь. Прессование бетонной смеси производят щитовыми домкратами под давлением 2 - 4 МПа при передвижке щита, причем при сходе оболочки щита с обделки выполняют перепрессование бетонной смеси для заполнения образовавшегося зазора.

При проходке в скальных грунтах бетонную смесь укладывают на грунт и прессуют заходками по 35 и 30 см при неподвижном щите.

5.4.12. Унифицированная сборная железобетонная обделка, разработанная НИЦ ТМ ЦНИИСа (г. Москва), собирается из отдельных железобетонных элементов, которые могут быть сплошного (блоки) или ребристого (тюбинги) сечения. Особенностью конструкции является сопряжение блоков в кольце по цилиндрическим поверхностям и отсутствие связей между кольцами в продольном направлении. Эта конструкция обделки в наибольшей степени соответствует ее расчетной схеме и является экономичной.

5.4.13. Механизированные и автоматизированные щитовые агрегаты и комплексы для проходки тоннелей применяют:

- в плотных и сухих грунтах - с рабочими органами роторного, фрезерующего и экскаваторного действия;

- в несвязных грунтах естественной влажности - с горизонтальными рассекающими полками и погрузчиками;

- в слабых грунтах - с призабойными пригрузочными камерами, заполненными сжатым воздухом, водой, глинистым раствором, грунтом или пеногрунтом, а также разными стабилизирующими составами (миксощиты).

5.4.14. Применение щитов с активным пригрузом позволяет обеспечить устойчивость выработки и сохранность окружающего грунтового массива за счет создания повышенного гидростатического давления.

Способ активного пригруза - гидравлический (бентонитовый) или грунтовый (шламовый и пеногрунтовый), выбирают в зависимости от инженерно-геологических условий. При грунтовом пригрузе уравновешивание давления в призабойной зоне создается пластифицированной массой разработанного грунта, воспринимающей усилие от щитовых домкратов (рис. 5.9).

5.4.15. Основу отечественного парка щитов составляют механизированные щиты следующих типов: КЩ-2,1Б; ПЩМ-2,56; КЩ-3,23; ПМЩ-3,6; ПЩ-3,7; ПЩМ-4; KT1-5,6 и др. В последнее время для проходки коммуникационных тоннелей созданы щитовые комплексы КПЩМ-2,6СС и КПЩМ-2,5ЭМ со стреловым рабочим органом, щиты с горизонтально рассекающими полками, щитовой комплекс с роторным рабочим органом и др.

Рис. 5.9. Щит с бентонитовым пригрузом фирмы «Баде унд Тилен» (Германия)

1 - бентонитовая суспензия; 2 - роторный рабочий орган; 3 - сжатый воздух; 4 - защитный кожух; 5 - уплотнитель; 6 - нагнетаемый в обделку раствор; 7 - домкрат; 8 - тюбинг; 9 - шлюз; 10 - транспортер для подачи тюбингов; 11 - эректор; 12 - пригрузочная камера; 13 - трубопровод для подачи бентонитовой суспензии; 14 - трубопровод для удаления грунтовой пульпы

Организациями Мосинжстроя ежегодно сооружается свыше 15 км тоннелей со сборной железобетонной обделкой, используемых для укладки трубопроводов различного назначения, а также электросиловых кабелей связи.

При этом проходка тоннелей диаметром от 2,54 до 5,5 м ведется, как правило, с помощью экскаваторных щитов, изготавливаемых с 1981 г. по технической документации ОАО «Научно-технический центр» СКТБ Главмосинжстроя и оснащенных, при необходимости, поворотными подвесными забойными плитами.

Начиная с 1991 г., все вновь изготавливаемые щиты оснащают экскаваторными органами нижней установки, имеющими более высокую надежность и производительность по сравнению с органами верхней подвески.

Ввиду того, что все применяемые экскаваторные щиты не могут вести проходку в водонасыщенных грунтах без использования водопонижения или другого специального способа стабилизации грунтов, ОАО «Супр» Мосинжстроя (г. Москва) осуществляло в 1993 - 1997 гг. экспериментальное строительство «Тоннеля усиления Ново-Черемушкинского коллектора» с использованием роторного щита диаметром 2,7 м фирмы «Мицубиси», конструкция которого обеспечивала организацию в забое грунтово-глинистого пригруза путем нагнетания в забой глинистой пасты. Так как комплект наземного оборудования для приготовления глинистой пасты оказался весьма громоздким, был применен при проходке пенопригруз, для чего разработано и изготовлено специальное оборудование для приготовления и нагнетания пены заранее подобранного состава.

Высококачественную и эффективную щитовую технику разрабатывают английские фирмы «Маркхэм», «Доско», «Маклпайн»; американские - «Роббинс» и «Мемко»; канадская - «Ловат»; германские - «Херренкнехт», «Баде унд Тилен», «Вайсс унд Фрайтаг», «Маннесман Демаг»; японские - «Мицубиси», «Кавасаки», «Исикаваима Харима» и др.

5.4.16. Проходка коллекторных и пешеходных тоннелей мелкого заложения щитами прямоугольного сечения более эффективна по сравнению со щитами кругового поперечного сечения, поскольку в последних площадь сечения используется лишь на 60 %.

Применяют прямоугольные щиты незамкнутого сверху профиля, которые требуют вскрытия дневной поверхности на протяжении тоннеля и щитовые агрегаты замкнутого прямоугольного сечения для проходки городских тоннелей мелкого заложения закрытым способом.

Основные преимущества прямоугольных щитов по сравнению с круглыми состоят в следующем:

- рационально используется все выработанное пространство;

- уменьшаются объемы разработанного грунта (примерно на 40 %) и снижается стоимость строительных работ;

- возможна проходка под инженерными коммуникациями;

- снижаются осадки поверхности земли в процессе проходки;

- повышается степень устойчивости тоннельной обделки к неуравновешенному давлению грунта, вызванному проходческими работами или устройством фундаментов вблизи строящегося тоннеля.

Щиты прямоугольного поперечного сечения целесообразно использовать в мягких и слабых грунтах.

5.5. Бестраншейные способы прокладки коммуникаций

5.5.1. Бестраншейные способы прокладки коммуникаций осуществляют с применением технологий микротоннелирования, горизонтально направленного бурения и управляемого прокола.

Технология микротоннелирования

5.5.2. Микротоннельная технология предусматривает продавливание колонны труб за механизированным микрощитом из шахт (камер) или котлованов. При этом продавливают сразу постоянную или временную конструкцию трубопровода с последующей заменой ее на постоянную.

Опытная прокладка труб канализации диаметром 400 мм выполнена Мосинжстроем в г. Москве на Тайнинской улице с применением микрощита «Херренкнехт» (Германия).

Работы по разработке и внедрению технологии микротоннелирования проводятся ОАО Корпорацией «Трансстрой», Тоннельной ассоциацией России, Мосинжстроем, ОАО «НТЦ», Мосинжпроектом, Мосводоканалпроектом и др.

Впервые в России разработаны МГСН 6.01-03 «Бестраншейная прокладка коммуникаций с применением микротоннелепроходческих комплексов и реконструкция трубопроводов с применением специального оборудования».

5.5.3. Микротоннелепроходческий комплекс (МТПК) состоит из щитовой микромашины (ЩММ), прицепных элементов, системы удаления грунта, стандартных шлангов и кабелей, домкратной станции и системы управления (рис 5.10).

Применяют три основных типа МТПК:

- МТПК-г с гидротранспортом грунта;

- МТПК-п с пневмотранспортом грунта;

- МТПК-ш со шнековым транспортом грунта.

5.5.4. Микропроходку применяют для прокладки трубопроводов под препятствиями (дорогами, сооружениями и др.), а также устройства протяженных инженерных сетей в широком диапазоне грунтовых условий, в том числе в слабых водонасыщенных грунтах.

Длина участков проходки между шахтами (камерами) может достигать 100 - 150 м.

Рис. 5.10. Схема установки для прокладки коммуникаций способом микротоннелирования

1 - сепаратор; 2 - емкость для глинистого раствора; 3 - грязевой насос для подачи глинистого раствора; 4 - направление удаления пульпы; 5 - направление подачи глинистого раствора; 6 - пульт управления; 7 - силовая станция; 8 - главная домкратная станция; 9 - лазер; 10 - насос для удаления пульпы; 11 - датчик; 12 - уплотнитель; 13 - телекамера; 14 - щит; 15 - рабочий орган щита; 16 - лазерный визир.

5.5.5. Микротоннельную технологию применяют для:

- сооружения новых коллекторов в районах городской застройки;

- реконструкции изношенных инженерных сетей;

- устройства защитных экранов по контуру тоннеля (см. подраздел 5.2).

Технология микротоннелирования широко применяется в Японии. Начиная с 1985 г. крупнейшей компанией «Иссеки Политех» создано более 250 щитовых комплексов для прокладки микротоннелей диаметром 360 - 1200 мм. В последние годы этой компанией разработан новый комплекс «Кранчинг-Моул» для проходки микротоннелей с механизмом для дробления камней. В головной части щита грунт вместе с каменистыми включениями вдавливается в камеру дробления и перерабатывается эксцентрично установленной конической дробилкой. Затем измельченный грунт смешивается с водой и в виде пульпы удаляется на поверхность земли.

В Германии микропроходческую технику разрабатывают и выпускают фирмы «Херренкнехт», «Зольтау» и др.

В нашей стране применяются в основном микропроходческие установки фирмы «Херренкнехт» и «Зольтау» (табл. 5.2).

Мосинжпроектом разработан и издан альбом «Конструкции железобетонных труб для прокладки методом микротоннелирования» (РК 2411-02, выпуски 1 и 2, части 1 и 2. М., 2002 г.). Железобетонные трубы разработаны двух видов: с внутренней полиэтиленовой оболочкой и без нее и предназначены для прокладки самотечных коллекторов фекальной и дождевой канализации. Конструкции железобетонных труб имеют следующие диаметры: 600, 800, 1000, 1200, 1500 и 2000 мм.

5.5.6. При проектировании бестраншейной прокладки коммуникаций с применением МТПК и щитовой микромашины расстояние между стартовой и приемной шахтами, как правило, назначают не более 150 м. При проектировании трубопроводов диаметром более 1000 мм и применении промежуточных домкратных станций это расстояние может назначаться до 1000 м. Направление проходки (продавливания) может задаваться как на подъем, так и под уклон.

5.5.7. Для прокладки самотечных трубопроводов дождевой канализации, стоки которых не являются агрессивными по отношению к бетону и резиновым уплотняющим кольцам, рекомендуется применять железобетонные трубы.

Таблица 5.2

Характеристики микротоннелепроходческих комплексов

Страна

Фирма

Модель

Внутренний диаметр трубопровода, мм

Наружный диаметр микромашины, мм

Усилие продавливания секций, кН

Способ транспортирования грунта

Германия

«Херренкнехт»

AVN

AVT

ВМ

250 - 1600

363 - 1880

2600 - 5080

Гидротранспорт

250 - 800

363 - 975

-

Шнековый

150 - 400

250 - 560

730

То же

«Зольтау»

RVS-AS

RVS-A

300 - 2100

550 - 2250

1150 - 6000

Гидротранспорт

150 - 1200

250 - 1500

40 - 785

Шнековый

«Ловат-МТС»

MTS

MTS

«Ноэль»

1000

1190

6000

Гидротранспорт

150 - 400

250 - 560

1500 - 2300

Шнековый

400 - 1200

630 - 1490

2000 - 5500

Пневмотранспорт

Канада-США

«Аккерман»

SL

445 - 1675

610 - 2000

4000

Гидротранспорт

Япония

«Исеки-политех»

«ТелеМаус»

-

-

-

Гидротранспорт

 

«Кранинг-Моул»

-

-

-

Гидротранспорт с дроблением камней

«Анкл-Моул»

-

-

250 - 1400

-

То же

5.5.8. Для трубопроводов дождевой канализации, принимающих стоки, содержащие коррозионно-активные вещества, рекомендуется применять полимербетонные безнапорные трубы или железобетонные трубы с внутренней антикоррозийной полиэтиленовой, стеклопластиковой или другой облицовкой.

5.5.9. Для самотечных трубопроводов канализации в интервале диаметров от 400 до 1000 мм рекомендуется применять полимербетонные безнапорные трубы. Допускается применение железобетонных труб с установкой полимерных рукавов после их продавливания. Трубопроводы диаметром от 1000 до 2000 мм рекомендуется проектировать из железобетонных труб с внутренней антикоррозийной полиэтиленовой облицовкой.

Полиэтиленовые, стеклопластиковые, асбестоцементные и чугунные водопроводные трубы могут быть применены при прокладке их в защитных футлярах.

5.5.10. Для прокладки водоводов диаметром более 1000 мм рекомендуется применять стальные трубы. Соединение секций прокладываемых стальных труб предусматривают при помощи накладок и сварных швов. В проектной документации устанавливают параметры сварных швов и методы контроля сварных стыков.

5.5.11. Для стыковых соединений железобетонных и полимербетонных труб рекомендуется использовать стальные и стеклопластиковые муфты по концам трубы, а также по одному или по два кольцевых эластомерных уплотнителя.

5.5.12. Длину секций трубопроводов назначают в зависимости от размеров стартовой шахты. Для труб диаметром 400 - 800 мм рекомендуемая длина секций - 2,0 м, при диаметре более 800 мм - 3,0 м.

5.5.13. При выполнении расчетов труб на прочность следует учитывать давление вышележащего слоя грунта и временную подвижную нагрузку под транспортными проездами, усилия от домкратов при продавливании, собственную массу труб и транспортируемой жидкости, давление транспортируемой жидкости, а также физико-механические характеристики грунтов в зоне трубопровода.

5.5.14. При проектировании определяют размеры и глубину заложения стартовых и приемных шахт, конструкцию стыкового соединения секций прокладываемых трубопроводов.

5.5.15. Конструкция крепи стартовой шахты в проекте должна рассчитываться на восприятие горного и гидростатического давления, а также усилий, возникающих при продавливании секций трубопровода. В случае недостаточной несущей способности грунта необходимо предусматривать специальные способы производства работ.

5.5.16. На свободных территориях рекомендуется проектировать стартовый котлован прямоугольного очертания с целью возможного увеличения длины монтажных секций трубопровода. В стесненных условиях и при глубине шахты более 10 м, как правило, принимают круговое очертание с минимально возможными размерами.

5.5.17. Способы сооружения стартовых и приемных шахт (котлованов) назначают в зависимости от инженерно-геологических условий, глубины заложения, применяемого оборудования, формы и размеров сечения шахт (котлованов). Применяют следующие способы: опускного колодца (в том числе с использованием тиксотропной рубашки); устройство ограждения из буросекущихся свай; забивное шпунтовое ограждение и др.

5.5.18. При бестраншейной прокладке коммуникаций или защитных футляров под железнодорожными путями, городскими магистралями и в непосредственной близости от действующих подземных коммуникаций, а также при проходке на глубинах менее трех диаметров от лотка прокладываемой коммуникации и на первых 6 м от стартовой шахты рекомендуется снижение скорости проходки в целях обеспечения технической безопасности.

Технологии горизонтально направленного бурения и управляемого прокола

5.5.19. Технология горизонтально направленного бурения (ГНБ) предусматривает следующее оборудование (рис. 5.11):

- буровую установку;

- буровой инструмент (буровая штанга, буровая головка с амортизатором, расширители для разных типов грунтов);

- локационную систему (различные зонды, в зависимости от глубины и точности прокладываемой трассы, локатор);

- смесительную установку для приготовления и подачи бентонитовой суспензии.

Рис. 5.11. Схема установки направленного мелкого бурения

а) - бурение пилотной скважины; б) - расширение скважины и обратное протягивание; 1 - установка направленного горизонтального бурения, 2 - буровые штанги, 3 - буровая головка, 4 - расширитель, 5 - прокладываемый трубопровод, 6 - стартовый котлован

После проходки пилотной скважины выбирается тип расширителя в зависимости от геологических условий и диаметра трубопровода.

Скважина должна расширяться до диаметра на 20 - 50 % (в зависимости от типа грунта) больше диаметра протягиваемой трубы.

Протаскивание трубопровода за расширителем производится обратным ходом.

Характеристики установок ГНБ приведены в таблице 5.3.

Таблица 5.3

Характеристики установок ГНБ

Страна

Фирма

Максимальный диаметр скважины, мм

Максимальная длина бурения, м

Сила протяжки, т

Максимальный радиус изгиба буровой колонны, м

Мощность двигателя, л.с.

Масса со штангой, т

США

«Ditch-Witch»

114 - 1000

50 - 800

2,2 - 31,1

21 - 70

25 - 260

1,3 - 18,1

«Vermeer Navigator»

300 - 1200

95 - 1400

4,0 - 90,8

-

20 - 400

0,5 - 34,5

5.5.20. Технология ГНБ при проектировании участков бестраншейной прокладки применяется для напорных и самотечных трубопроводов, устройства защитных футляров при прокладке кабелей, теплотрасс и газопроводов. В зависимости от принятого в проекте расчетного диаметра и длины участка бестраншейной прокладки выбирается модель установки ГНБ.

5.5.21. Технологию горизонтального направленного бурения применяют в зависимости от конструкции бурового инструмента в различных грунтовых условиях, от песчаных и глинистых грунтов до скальных.

5.5.22. Трасса проектируемого участка бестраншейной прокладки может быть криволинейного очертания как в плане, так и в профиле в пределах допустимого радиуса изгиба буровых штанг.

5.5.23. Для технологии ГНБ требуется устройство стартовых и приемных приямков расчетной емкости для своевременного отбора илонасосами отработанной буровой суспензии и транспортировки ее на регенерацию.

5.5.24. Установка управляемого прокола (ПУ) состоит из следующих узлов:

- домкратной станции;

- маслостанции с приводом от карбюраторного двигателя;

- набора бурового инструмента (пилотные штанги, пилотные головки, расширители и др.);

- системы беспроводной локации.

Гидродомкрат с полым штоком оснащен передним и задним упорами. Конструктивное решение гидродомкрата позволяют обеспечить перемещение в прямом и обратном направлении штанг и его вращение совместно с пилотной головкой.

5.5.25. При управляемом проколе грунт уплотняется вокруг скважины под действием усилий: при внедрении буровой головки со штангами, а на последующем этапе - конического расширителя.

5.5.26. Диаметр расширителя принимается на 20 - 30 % больше диаметра прокладываемого за ним трубопровода. Применяют расширители следующих типоразмеров: 89, 114, 140, 168, 219, 273 и 324 мм.

Характеристика прокольных установок ПУ, изготавливаемых фирмой «Ditch Witch» (США), приведена в таблице 5.4.

В нашей стране способы горизонтально направленного бурения и управляемого прокола внедряются ОАО Корпорацией «Трансстрой», Тоннельной ассоциацией России, Мосинжстроем, Мосинжпроектом и др.

5.5.27. Технология управляемого прокола применяется при прокладке напорных трубопроводов и футляров для кабелей длиной до 150 м и самотечных трубопроводов диаметром до 400 мм и длиной до 30 м в песках и глинистых грунтах.

Таблица 5.4

Характеристика установок управляемого прокола

Модель

Максимальный диаметр, мм

Усилие прессовой станции, кН

Длина прокладки, м

Масса установки, кг

Размер шахты, м

Р-40

325

189

60

510

2,7´1,5

Р-80

325

368

150

560

2,7´1,5

Размеры в плане и конструктивно-технологические решения стартовых и приемных котлованов (шахт) принимаются в зависимости от грунтовых условий, глубины заложения, диаметра труб и длин их звеньев. Минимальные размеры в плане стартового котлована (шахты) принимаются 2,7´1,5 м.

5.6. Основные принципы проектирования городских подземных сооружений, возводимых закрытым способом

5.6.1. При возведении подземных сооружений закрытым способом применяют следующие основные способы работ:

- горный - в крепких и устойчивых грунтах, а с использованием «новоавстрийского» метода (НАТМ) и в грунтах средней и слабой устойчивости;

- щитовой - в мягких и слабых грунтах;

- продавливания - преимущественно в насыпях, сложенных уплотненными и осушенными несвязными грунтами, а также в слабых водонасыщенных грунтах, осушенных водопонижением.

В наиболее сложных инженерно-геологических, топографических и градостроительных условиях горный и щитовой способы работ применяют в сочетании со специальными видами работ, обеспечивающими предварительную стабилизацию грунтового массива (химическое закрепление и замораживание грунтов, струйная цементация, опережающие защитные крепи и др.).

5.6.2. Проектирование подземного сооружения должно производиться с учетом:

- назначения сооружения, объемно-планировочных и конструктивных решений, глубины заложения;

- результатов определения характера проявления горного давления;

- выбранного способа и технологии возведения сооружения, а также типа обделки;

- инженерно-геологических и гидрогеологических условий;

- прогноза устойчивости и смещения пород и расчета нагрузок;

- расчета конструкций обделки и сооружения.

При выборе конструкции и параметров обделки следует также учитывать особые требования к обделкам, связанные с дополнительными воздействиями на нее динамических нагрузок, агрессивных подземных вод, а также обеспечения водо- и газоизоляции выработок.

5.6.3. Расчетные модели тоннельных обделок и внутренних подземных конструкций должны соответствовать условиям работы сооружений, технологии их возведения, учитывать характер взаимодействия элементов конструкции между собой и с окружающим грунтом, отвечать различным расчетным ситуациям, включающим возможные для отдельных элементов или всего сооружения в целом неблагоприятные сочетания нагрузок и воздействий, которые могут действовать при строительстве и эксплуатации тоннеля.

5.6.4. Расчетными моделями для определения внутренних усилий в обделке должны служить модели с заданной нагрузкой, основанные на положениях строительной механики, или модели, основанные на положениях механики сплошной среды. При расчетах на заданные нагрузки следует учитывать отпор грунтового массива, за исключением случаев неустойчивых водонасыщенных грунтов.

5.6.5. Расчеты тоннельных обделок следует производить с учетом нелинейных деформационных свойств материалов конструкций и грунтов в соответствии с действующими строительными нормами, применяя метод последовательного загружения конструкции до предельного состояния. На первых стадиях проектирования допускается определение усилий в элементах конструкции на основе линейных зависимостей между напряжениями и деформациями.

5.6.6. Нагрузки и воздействия по продолжительности их действия на конструкции следует подразделять согласно СНиП 2.01.07-85* на постоянные и временные (длительные, кратковременные и особые).

При этом следует различать:

а) основные сочетания нагрузок, состоящие из постоянных, длительных и кратковременных;

б) особые сочетания нагрузок, состоящие из постоянных, длительных, некоторых кратковременных и одной из особых нагрузок.

5.6.7. К постоянным нагрузкам следует относить:

а) горное давление или вес насыпного грунта;

б) гидростатическое давление;

в) собственный вес конструкций;

г) вес зданий и сооружений, находящихся в зонах их воздействия на подземную конструкцию;

д) сохраняющиеся усилия от предварительного обжатия обделки.

5.6.8. К длительным нагрузкам и воздействиям следует относить: силы морозного пучения; вес стационарного оборудования; температурные климатические воздействия; воздействия усадки и ползучести бетона и другие, указанные в СНиП 2.01.07-85*.

5.6.9. К кратковременным следует относить нагрузки и воздействия от внутритоннельного и наземного транспорта, а также нагрузки и воздействия в процессе возведения сооружения: от нагнетания раствора за обделку; от усилий, возникающих при транспортировке, подаче и монтаже элементов сборных обделок; от веса и воздействия проходческого и другого строительного оборудования и др.

5.6.10. К особым нагрузкам следует относить сейсмические и взрывные воздействия, а также особые нагрузки, указанные в СНиП 2.01.07-85*, которые могут иметь отношение к проектируемому тоннелю.

5.6.11. Подземные несущие конструкции следует рассчитывать по предельным состояниям первой и второй групп (ГОСТ 27751-88).

5.6.12. Расчеты по предельным состояниям первой группы обязательны для всех конструкций и их следует производить на основные и особые сочетания нагрузок с использованием расчетных значений характеристик материалов, грунтов, нагрузок с учетом коэффициентов надежности.

5.6.13. Расчеты по предельным состояниям второй группы следует производить на основные сочетания нагрузок с использованием нормативных их значений, нормативных значений характеристик материалов и грунтов и коэффициентов условий работы конструкций, предусматриваемых соответствующими нормами проектирования.

Примечание: Расчеты железобетонных конструкций по предельным состояниям второй группы допускается не производить, если практикой их применения или опытной проверкой установлено, что величина раскрытия трещин в них не превышает предельно допустимых величин и жесткость конструкций в стадии эксплуатации достаточна.

5.6.14. Нормативные нагрузки от горного давления следует назначать в зависимости от размеров выработки, глубины заложения тоннеля, физико-механических свойств и структурно-тектонических характеристик (в первую очередь, трещиноватости) массива, его обводненности, а также способов производства работ. При этом следует учитывать данные, полученные при строительстве тоннелей в аналогичных инженерно-геологических условиях.

Для предварительных расчетов обделок на заданные нагрузки вертикальные и горизонтальные нагрузки от горного давления в условиях сводообразования следует принимать от веса грунта, заключенного в пространстве, ограниченном контуром свода и плоскостями обрушения, а в грунтах, в которых сводообразование невозможно, - от давления всей толщи грунтов над сооружением.

5.6.15. Коэффициент надежности по нагрузке γf следует принимать в соответствии с таблицей 5.5.

5.6.16. Коэффициент сочетаний нагрузок необходимо принимать в соответствии со СНиП 2.01.07-85*.

5.6.17. Коэффициент надежности по ответственности надлежит принимать в зависимости от уровня ответственности сооружения (ГОСТ 27751-88).

5.6.18. Проверку прочности сечений бетонных и железобетонных элементов следует производить в соответствии со СНиП 52-01-2003 с введением дополнительных коэффициентов условий работ γc, учитывающих:

- отклонение принятой расчетной модели от реальных условий работы монолитной бетонной обделки - γc = 0,9;

- отклонение фактической работы стыков сборной обделки от предусмотренных проектом - γc = 0,9;

- понижение прочности бетона в обделках без наружной гидроизоляции на обводненных участках - γc = 0,9.

5.6.19. Нормативные и расчетные значения характеристик материала следует принимать по нормам проектирования конструкций из соответствующих материалов.

Таблица 5.5

Коэффициенты надежности по нагрузке γf

Виды нагрузок

γf

Постоянные нагрузки

 

Вертикальная от веса всей толщи грунтов над тоннелем:

 

- в природном залегании

1,1

- насыпные

1,15

Вертикальная от горного давления при сводообразовании для грунтов:

 

- скальных

1,6

- глинистых

1,5

- песков и крупнообломочных

1,4

Вертикальная от давления грунта при вывалах

1,8

Горизонтальная от давления грунта

1,2 (0,7)

Гидростатическое давление

1,1 (0,9)

Собственный вес конструкций:

 

- сборных железобетонных

1,1 (0,9)

- монолитных бетонных

1,2 (0,8)

- металлических

1,05

- изоляционных, выравнивающих, отделочных слоев

1,3

Длительные нагрузки

 

Вес стационарного оборудования

1,05

Температурные климатические воздействия

1,1

Силы морозного пучения

1,5

Вертикальная нагрузка от мостовых и подвесных кранов

1,1

Воздействие усадки и ползучести бетона

1,1(0,9)

Примечание: Значения коэффициента надежности по нагрузке, указанные в скобках, принимают в случае, когда уменьшение нагрузки приводит к невыгодному загружению обделки

6. Защита от подземных вод

6.1. Дренажные системы

6.1.1. Дренажи подразделяют на общие, обеспечивающие понижение уровня подземных вод на территории микрорайона (рис. 6.1), и местные, служащие для защиты от подтопления подземными водами отдельных сооружений. К общим дренажам относятся: головной, береговой, отсечной и систематический; к местным дренажам: кольцевой, пристенный и пластовый.

По конструктивным признакам дренажи подразделяют на: горизонтальные, вертикальные, комбинированные и специальные.

Рис. 6.1. Схемы дренажа:

а) головного; б) систематического

1 - подземные сооружения; 2 - дрены; 3 - водосточный коллектор

Горизонтальные дренажи

6.1.2. Открытые дрены - канавки и лотки, и закрытые беструбчатые дрены устраивают для непродолжительной эксплуатации на период проведения строительных работ.

Наибольшее распространение получили трубчатые дрены, укладываемые в нижней части дренажных траншей, заполненных фильтрующим материалом.

6.1.3. В трубчатых дренажах используют следующие разновидности труб: асбестоцементные, бетонные и железобетонные, чугунные, керамические, пластмассовые, трубофильтры из пористого бетона на плотных заполнителях, трубофильтры из пористого полимербетона и др.

Материал труб назначают в зависимости от степени агрессивности подземных вод и прочности материала с учетом глубины их заложения.

Глубина заложения труб из пористого полимербетона ограничена 5 м. Трубы из пористого бетона на плотных заполнителях укладывают на глубину свыше 8 м. Глубина заложения асбестоцементных труб определяется расчетом, а поливинилхлоридных труб назначается с учетом толщины их стенок. Бетонные, железобетонные и асбестовые трубы применяют только в неагрессивных по отношению к бетону средах.

В таблице 6.1 приведены характеристики некоторых разновидностей дренажных труб.

6.1.4. Дренажные трубы из пластмасс, получившие в настоящее время широкое применение, изготавливают из полиэтилена низкого давления (ПЭНД) и поливинилхлорида (ПВХ) с круглыми отверстиями диаметром до 4 мм и щелевидными - шириной 0,8 - 1,5 мм.

6.1.5. Для фильтровых покрытий вокруг труб используют песчаноравийные обсыпки, обертки из искусственных волокнистых материалов (геотекстиль), обмотки из нетканого рулонного материала, а также дренажные композиционные материалы - геокомпозиты.

Для дренажных труб, обмотанных рулонным фильтрующим материалом с перехлестом слоев, устраивают песчано-гравийную подготовку (подушку) толщиной не менее 100 мм. Если в основании залегают песчаные грунты, то допускается укладка труб на спланированное естественное основание.

Таблица 6.1

Типы дренажных труб

Условный проход, мм

Допустимая глубина заложения, м

Применение в агрессивных подземных водах

Асбестоцементные

 

 

 

безнапорные (ГОСТ 1839-80)

100 - 300

2,6 - 3,5

Не допускается

напорные (ГОСТ 539-80)

100 - 300

6,6 - 16,9

 

Бетонные (ГОСТ 20054-82)

150 - 400

3,6 - 4,1

Не допускается

Чугунные

 

 

 

напорные (ГОСТ 9583-75)

150 - 300

до 18

Допускается

Керамические

 

 

 

канализационные (ГОСТ 286-82)

150 - 300

4,7 - 7,3

Допускается

дренажные

150 - 250

2,6 - 3,5

 

Трубофильтры

 

 

 

из пористого бетона

150 - 500

до 5,0 - без обсыпки

до 8,0 - с обсыпкой

Не допускается

Пластиковые

 

 

 

полиэтиленовые

50 - 250

до 3,0

 

из непластифицированного поливинилхлорида (ГОСТ 51613-2000)

50 - 280

до 6,0

Допускается

Обсыпку призмы из разделительных слоев песчано-гравийного материала назначают из условия незаиливания трубы и исключения суффозии грунта.

Фильтровые покрытия вокруг труб из минеральных волокнистых материалов выполняют из стеклохолстов ВВТ, ВВК (4 слоя), из стеклотканей ВПМ-1 ва слоя), ССТЭ-6 и СС-1 (один слой) в сочетании с обсыпкой из несортированных песчаных грунтов более водопроницаемых, чем дренируемые грунты.

6.1.6. Для обеспечения длительной работы фильтров дренажных труб используют геотекстильные материалы (водопроницаемые тканевые, нетканевые, вязаные и композиционные полотна из синтетических волокон), которые при высокой плотности и фильтрационной способности обеспечивают в наименьшей степени заиливание дренажных труб.

Геотекстиль выполняет три функции в массиве грунта - сепарацию, фильтрацию и армирование.

Из российских материалов, получивших широкое применение в подземном строительстве, следует отметить дорнит, разработанный ВНИИСтройполимером и Ростокинской фабрикой нетканых материалов (г. Москва); из зарубежных - Geolon голландской фирмы Nicolon, Heidelberger Vlies немецкой фирмы Gebruder Friedrich, Bidim французской фирмы Rhone-Poulenc, Polyfelt австрийской фирмы Polyfelt и другие.

6.1.7. Дренажный композиционный материал (геокомпозит) включает два элемента - трехмерное пластиковое основание (проводник влаги) и геотекстильный фильтр. Последний пропускает воду в пластиковое основание, задерживая при этом частицы грунта.

Наибольшее распространение получили дренажные материалы: Delta Drain (Германия), Enkadrain (Нидерланды), GSE Hyper Net (Германия), J-Drain (США), Polyfelt (Австрия), Terram Drain (Англия) и другие.

6.1.8. При сложных геологических и гидрогеологических условиях с наличием водоносных пластов большой мощности и при слоистом их строении, а также при наличии напорных подземных вод следует устраивать под подошвой подземного сооружения пластовые дренажи (рис. 6.2).

Пластовый дренаж защищает сооружение как от гравитационной воды, так и от капиллярной влаги. Такой дренаж устраивают в слабопроницаемых грунтах, где трубчатые и другие линейные конструкции малоэффективны. Вода из пластового дренажа отводится по трубчатым и беструбчатым дренам, лоткам и канавкам.

Под сооружениями пластовый дренаж выполняют однослойным или двухслойным. Однослойный дренаж из щебня или гравия укладывают на скальные или полускальные трещиноватые грунты. Двухслойный дренаж выполняют в пылеватых и мелких песках и глинистых грунтах. Верхний слой отсыпается из щебня или из гравия минимальной толщины 150 мм. Крупность щебня или гравия рекомендуется принимать 3 - 20 мм при коэффициенте неоднородности 5. Содержание глинистых или пылеватых частиц не должно быть более 3 %. Нижний слой отсыпается из песка средней крупности с минимальной толщиной слоя 100 мм.

Рис. 6.2. Схема пластового дренажа

1 - уровень подземных вод; 2 - подземное сооружение; 3 - пристенный дренаж; 4 - песчаный слой; 5 - защитное покрытие щебеночного слоя; 6 - песчано-гравийный или щебеночный слой; 7 - труба

6.1.9. Пристенный дренаж представляет собой вертикальный слой из проницаемого материала, устраиваемый с наружной стороны заглубленного сооружения, и выводится на отметку выше максимального уровня подземных вод на 0,3 м. Пристенный дренаж прокладывается по контуру здания с наружной стороны (рис. 6.3).

Рис. 6.3. Схема пристенного дренажа с применением поливинилхлоридных труб и дренажной оболочки «Дрениз»

1 - песок Кф > 5 м/сек; 2 - дорнит или минерально-волокнистый материал по ОСТ 33-10-73; 3 - гранитный щебень размером 3 - 10 мм; 4 - Бетон В15; 5 - гранитный щебень, втрамбованный в грунт

6.1.10. Конструкции пластовых и пристенных дренажей из пластмасс в сочетании с геотекстильными материалами являются наиболее эффективными.

Примером современного типа конструкций пристенного дренажа с применением полимерных фильтрующих материалов являются оболочки «Дрениз». Оболочка «Дрениз» состоит из двух слоев: листов специального профиля из полимерного материала (полиэтилена, полипропилена, и поливинилхлорида) и нетканого геотекстильного материала, скрепленных между собой с помощью сварки или водостойкого клея. Листы оболочки «Дрениз» соединяются друг с другом внахлест. Технология применения данного материала указана в Инструкции ВСН 35-95.

6.1.11. Дренажная система Delta немецкой фирмы Dorken представляет собой одно-, двух- и трехслойную конструкцию, в составе которой имеется высокопрочное полиэтиленовое полотно с отформованными округлыми шипами (рис. 6.4).

Рис. 6.4. Пристенный и горизонтальный пластовый дренаж с применением систем Delta

1 - стена из бетонных блоков; 2 - горизонтальная гидроизоляционная мембрана; 3 - наружная гидроизоляционная мембрана стен; 4 - пластовый дренаж по бетонной подготовке, выполненный из полотна Delta MS или Delta MS-20; 5 - пристенный дренаж, выполненный из полотна Delta-Geo-Drain TR или Delta-Drain; а - дренажное полотно, bилирующая мембрана из геотекстиля; 6 - перфорированные дренажные трубы по периметру сооружения; 7 - засыпка гравием; 8 - грунт обратной засыпки; 9 - профиль крепления верхней кромки дренажного полотна; 10 - металлическая сетка; 11 - теплоизоляция по гидроизоляции цоколя; 12 - поверхность пола

В однослойных конструкциях при толщине полотна 8 мм (Delta-MS) и 20 мм (Delta-MS-20) водопропускная способность составляет соответственно 5,0 и 10,0 л/м·с, что значительно выше, чем у классических дренажных систем.

В двухслойных конструкциях используют фильтрующую геотекстильную мембрану из полипропилена (Delta-Drain, Delta-Geo-Drain TP). Отличительной особенностью системы Delta-Drain является конструкция с двухсторонним расположением каналов с отформованными шипами, которая обеспечивает одновременно отвод воды и вентиляцию подземной стены.

Трехслойная система Delta-Geo-Drain состоит из профилированного полотна и геотекстиля и имеет скользящую мембрану из листового полиэтилена. Эта мембрана, создавая дополнительную изоляцию стены, обеспечивает также сохранность дренажной системы в целом при возможной осадке грунта обратной засыпки.

6.1.12. Система внутреннего пластикового дренажа Delta (рис. 6.5) устраивается по стенам и днищу (полу) защищаемого подземного помещения при ремонте или реконструкции здания, а также в процессе возведения новых сооружений.

В зависимости от типа отделочных покрытий могут быть реализованы два варианта. Первый вариант - использование дренажного полотна Delta-MS в сочетании с оцинкованной штукатурной сеткой, второй вариант - установка дренажного полотна Delta PT с наваренной полимерной сеткой.

Сбор воды из системы внутреннего дренажа осуществляется в специально оборудованном приямке. Поступление дренажной воды в приямок осуществляется по дренажному лотку, через дренажную трубу или непосредственно через воздушный зазор в днище с дренажным полотном.

Удаление воды из приямка осуществляется насосом с поплавком, который перекачивает воду в систему канализации.

Рис. 6.5. Внутренний дренаж пола и стен сооружения с применением систем Delta

1 - кирпичная кладка стен; 2 - железобетонная плита основания; 3 - строительные швы и возможные трещины в плите основания; 4 - пластовый дренаж по бетонной подготовке, выполненный из полотна Delta MS или Delta MS-20; 5 - перфорированные дренажные трубы по периметру стен; 6 - бетон пола с арматурной сеткой; 7 - пристенный дренаж с внутренней стороны стен, выполненный из полотна Delta PT; 8 - специальный профиль по периметру пола и потолка в местах крепления полотна Delta PT; 9 - штукатурка стен; 10 - система «Инжекто» по периметру примыкания основания и стен; 11 - специальная обработка поверхности пола; 12 - насос

6.1.13. Лучевые дренажи устраивают в наиболее проницаемых грунтах (песках, супесях) или когда слабопроницаемые грунты чередуются с обводненными прослойками. Лучевые дренажи целесообразно использовать на строительных площадках, расположенных в стесненных условиях городской застройки с густой сетью коммуникаций.

При лучевом дренаже совмещены горизонтальные трубчатые скважины с водосборным колодцем и водосборником. Горизонтальные скважины устраивают с помощью станков горизонтального бурения или проколом. Водосборный приемник выполняется методами «стены в грунте», опускного колодца и другими (рис. 6.6).

Рис. 6.6. Лучевой дренаж

1 - водоприемник; 2 - естественный уровень подземных вод; 3 - пониженный уровень подземных вод; 4 - водосборный колодец; 5 - горизонтальная лучевая скважина

Рис. 6.7. Основные схемы расположения лучевых водозаборов

а, б - кольцевая; в, г - площадная

6.1.14. В грунтах с низкими фильтрационными свойствами устраивают вакуумные дренажи. Конструктивно вакуумный дренаж представляет собой обычную дрену, выведенную в вакуумный колодец с крышкой, обеспечивающей надежную герметизацию внутреннего пространства колодца. Для откачки воды и воздуха используются вакуумные насосы. Рекомендуемая длина вакуумных дрен не должна превышать 50 м.

6.1.15. При глубоком осушении грунтов (более 10 м) целесообразно выполнять галерейные дренажи. Эти дренажи выполняют открытым или подземным способами (штольневым, щитовым, методом продавливания). Дренажные галереи имеют гравийно-песчаную обсыпку или фильтры из пористых материалов.

Вертикальные дренажи

6.1.16. Вертикальные дренажи предназначены для осушения грунтов с помощью вертикальных дренажно-поглощающих колодцев (рис. 6.8). Сброс воды осуществляют через специально сооружаемый центральный поглощающий колодец, к которому вода подается из всех дренажных колодцев.

Рис. 6.8. Схема вертикального дренажа с системой сифонного водоотвода

1 - уровень подземных вод; 2 - всасывающая труба; 3 - трубчатый колодец; 4 - сифонный трубопровод; 5 - галерея; 6 - воздухопроводная труба; 7 - воздушный котел; 8 - стояк сифона; 9 - вакуум-насос; 10 - выбросные трубы; 11 - центробежный насос

Трубчатый колодец (скважина вертикального дренажа) представляет собой вертикальную колонну труб, погружаемую в водоносную толщу. Колонна состоит из фильтровой части и надфильтровых труб. Если система имеет индивидуальную откачку, то в комплект колонны входит насос.

В трубчатых колодцах применяют фильтры разной конструкции (дырчатые, щелевые, проволочные, каркасно-стержневые и др.) из стали, керамики, асбестоцемента, пластмассы и других материалов.

Фильтровую часть колодца оборудуют гравийно-песчаными обсыпками. В верхней части затрубного пространства устраивают глиняный замок, чтобы воздух не проникал к фильтру. Для откачки воды из скважин вертикального вакуумного дренажа используют вакуум-насосы или эжекторы, размещаемые в фильтровой части скважин.

При уровне подземных вод до 5 м от поверхности земли применяют центробежные насосы. При глубине динамического уровня воды в скважине более 10 м осуществляют индивидуальную откачку с использованием погружных насосов. При глубине этого уровня менее 10 м скважины объединяют в единую систему с помощью сифонных водоводов, а воду отводят к насосным станциям.

Для вертикального вакуумного дренажа используют трубчатые колодцы с надежной герметизацией их внутренней полости от проникания воздуха. Сеть трубчатых колодцев оборудуют системой автоматики для информации о работе дренажа.

Комбинированные и специальные дренажи

6.1.17. Комбинированные дренажи устраивают, сочетая вертикальные самоизливающиеся скважины с горизонтальными дренами трубчатого или галерейного типа.

6.1.18. Для осушения оползневых склонов используют специальный вид дренажей - дренажные штольни. Дренажные штольни - это разновидность горизонтальных дрен, которые сооружают как закрытым подземным способом, так и траншейным способом. К числу таких дрен относятся дренажные прорезы, застенные откосные и трубчатые дренажи и другие.

Дренажные прорезы - открытые траншеи с деревянным креплением, заполняемые дренажным материалом. Устройство застенных дренажей предусматривают за подпорной стеной или на оползневом склоне.

Откосные дренажи - траншеи малой (около 0,5 м) глубины, заполненные фильтрующим материалом. Такие дренажи размещают на искусственно спланированных склонах.

6.2. Гидроизоляция подземных сооружений

6.2.1. В зависимости от назначения применяется гидроизоляция следующих видов: антифильтрационная, антикоррозийная, герметизирующая, теплогидроизоляционная.

Антифильтрационная гидроизоляция предназначена для защиты элементов подземных конструкций от воздействия вредных (химически агрессивных) поверхностных и подземных вод, а также для борьбы с электрокоррозией от блуждающих токов.

Герметизирующую гидроизоляцию используют для борьбы с прониканием вод через стыковые соединения конструкций подземных сооружений.

Теплогидроизоляция, помимо защиты от воздействия подземных вод, выполняет еще роль теплоизоляции.

6.2.2. По способу устройства гидроизоляцию подразделяют на: окрасочную, штукатурную, оклеечную, литую, плиточную, инъекционную, засыпную.

6.2.3. По виду материала гидроизоляции различают: цементную, асфальтовую, битумную, полимерцементную, полимерную (из пластмасс и эластомеров), металлическую и др.

Гидроизоляцию подразделяют также по электроизоляционной надежности: на нормальную (электрическое сопротивление изолированной конструкции не ниже 104 Ом·м) и усиленную (не ниже 105 Ом·м).

6.2.4. Для гидроизоляции подземных сооружений применяют первичную и вторичную защиту конструкций.

Первичная защита предполагает устройство конструкций из материалов повышенной химической стойкости и водонепроницаемости.

В качестве первичной защиты подземных сооружений (наиболее эффективной для монолитных конструкций) прогрессивным является применение бетонов с требуемыми показателями водонепроницаемости, химической стойкости и морозостойкости на основе использования различного рода уплотняющих, пластифицирующих, ингибирующих и комбинированных добавок.

В агрессивных средах применяют бетоны с повышенными защитными свойствами - полимерцементные растворы, полимербетоны и др.

В настоящее время разработаны бетоны на микрокремнеземах, суперпластификаторах и других добавках, которые обеспечивают водонепроницаемость до W20.

Эффективной первичной защитой, особенно в сильно агрессивных средах, являются конструкционные полимеры (композиты), обладающие во многих средах более высокой химической стойкостью, чем нержавеющие стали, алюминий, титан.

6.2.5. Для вторичной гидроизоляции конструкций от подземных вод следует применять лакокрасочные, мастичные, пропиточные, штукатурные, оклеечные и другие материалы, обладающие стойкостью в агрессивной среде (табл. 6.2).

Таблица 6.2

Типы защитных покрытий бетонных и железобетонных подземных конструкций

Тип защитного покрытия

Наименование материалов защитных покрытий

1

2

Окрасочный и мастичный

Битумные, битумно-полимерные (битумно-латексные, битумно-наиритные, битумно-эпоксидные, битумно-полистирольные и др.)

Полимерцементные (цементо-латексные, цементно-поливинилацетатные, цементно-эпоксидноамидные, цементно-фуриловые и др.)

Химически стойкие лакокрасочные покрытия на основе:

- хлорсульфинированного полиэтилена, эпоксидных смол и их модификаций и др.;

- покрытия на основе продуктов переработки сланцев;

- армированные лакокрасочные;

- на основе термоэластомеров (51-Г-10, У-30М)

Латексные и др.

Штукатурный

Цементно-песчаные с добавками битумных эмульсий, кремнийорганических жидкостей и др.

Полимерцементные с добавками латексов СКС-30, СКС-65 ГП и др., метилметакрилатхлоропрена МХ-30

Стеклоцементные (нетканое стекловолокно)

Цементно-песчаное покрытие - торкрет

Пневмонабрызг (на основе клея БКЦК и др.)

Асфальтовые (горячие и холодные) покрытия на основе полимерных композиций (эпоксидные, латексные и др.)

Оклеечный

Битумно-рулонные (гидроизол, изопласт, изоэласт, изофлекс, фольгоизол, стеклорубероид, армобитэп и др.)

Полиэтилен профилированный

Полиизобутилен

Пропиточный

Петролатум

Модифицированный битум

Асфальт деасфальтизации (крекинг-остатки)

Полимеры (стирол-мономер, метилметакрилат, стирол, низкомолекулярный полиэтилен и др.)

Кремнийорганические соединения

Эпоксидные смолы

Литой

Асфальтовые, битумно-полимерные и др.

Монтируемый

Полимерные пленки и листы (полистирола, полиэтилена, поливинилхлорида, полиметилметакрилата, полиамида, полипропилена и др.)

Плиты пенопластов

Металлические листы

Засыпной

Гидрофобные кварцевые пески или золы уноса

Бентонитовые глины

Инъекционный

Цементно-глинистые и цементно-латексные суспензии

Эмульсии из битумов

Силикат натрия (жидкое стекло)

Жидкие полимеры (карбамидные, фенолформальдегидные, фурановые смолы и др.)

Выбор материала гидроизоляции и технологии ее устройства для защиты сооружения определяется следующими факторами:

- гидростатическим давлением воды;

- допустимой влажностью помещений по СНиП II-3-79*;

- трещиноватостью изолируемых конструкций;

- агрессивностью среды по СНиП 2.03.11-85, СТ СЭВ 2440-80;

- конструктивным типом сооружения, механическими и температурными воздействиями и др.

Рекомендуемые типы защитных покрытий в зависимости от вида подземных сооружений приведены в табл. 6.3.

6.2.6. В массовом строительстве наиболее распространены окрасочная, оклеечная и штукатурная гидроизоляции. Применение оклеечной гидроизоляции целесообразно в случаях, когда использование окрасочной и штукатурной гидроизоляции не обеспечивают водонепроницаемость сооружений.

Оклеечную гидроизоляцию устраивают из рулонных, пленочных и листовых материалов. Она может быть из битумных рулонных материалов и из листовых полимерных материалов (не имеют в составе битумов и дегтей).

Таблица 6.3

Рекомендуемые типы защитных покрытий в зависимости от вида подземных сооружений

Виды подземных конструкций

Тип защитного покрытия

Окрасочная

Штукатурная

Оклеечная

Литая

Пропиточная

Инъекционная

Засыпная

Монтируемая

Конструкции, погружаемые в грунт (сваи, опускные колодцы, кессоны)

+

+

-

-

+

+

-

+

Заглубленные сооружения, возводимые открытым способом

+

+

+

+

+

-

+

+

Стены подвалов, каналов, резервуаров (сборные)

+

+

+

+

+

+

+

+

Монолитные фундаменты, подвалы, каналы, резервуары

+

+

+

+

-

-

+

-

Гибкие элементы сооружений (сопряжения, деформационные швы и др.)

-

-

+

-

-

-

-

+

Примечание: Знак «+» означает рекомендуемый для выполнения тип защиты, знак «-» означает не рекомендуемый по условиям производства

При оклеечной гидроизоляции должна быть обеспечена сплошность защиты по всему периметру сооружения, включая вертикальные элементы и подошву. При использовании оклеечной гидроизоляции, выполняемой из рулонных материалов, необходимо гарантировать ее сохранность (от механических воздействий) защитной прижимной стенкой. Для устройства прижимной стенки используют красный кирпич, железобетонную обойму и плоские асбестоцементные листы на битумной мастике.

6.2.7. Конструктивные решения оклеечной и окрасочной гидроизоляции в зависимости от категорий сухости помещений и трещиноватости (СНиП 52-01-2003) изолируемых конструкций приведены в табл. 6.4.

Таблица 6.4

Вид гидроизоляции

Категория сухости помещения

I

II

III

Группа трещиностойкости изолируемых конструкций

I

II

III

I

II

III

I

II

III

Напор подземных вод, м/количество слоев гидроизоляции

Оклеечная

 

 

 

Полиэтилен листовой (2 мм)

30/1

30/1

*

Поливинилхлоридный пластикат

То же

То же

*

Окрасочная

 

 

 

 

 

Битумно-нитритовая

*

15/4

*

20/4

20/4

Эпоксидно-дегтевая

*

30/3

*

30/2

*

Эпоксидно-фурановая

30/2

 

*

30/2

*

Этинолево-латексная

10/2

 

*

10/2

10/2

20/3

 

 

20/2,5

10/2

30/3,5

 

 

30/3

30/3,5

* - применение не целесообразно

6.2.8. При применении штукатурной гидроизоляции используют органические и неорганические вяжущие. На основе неорганических вяжущих используются цементно-песчаные покрытия. В их состав входят уплотняющие добавки, способствующие водонепроницаемости конструкций.

Для штукатурной гидроизоляции, наносимой методом торкретирования, целесообразно применять различные виды расширяющихся и напрягающихся цементов в зависимости от величины напора подземных вод (табл. 6.5).

6.2.9. Одним из наиболее надежных способов защиты в сильно агрессивных средах является нанесение бесшовных эластичных покрытий (эластомеров). В зависимости от используемого материала эти покрытия могут применяться на основе каучуков, гуммировочного состава типа наирита, водной дисперсии латекса.

Таблица 6.5

Напор подземных вод, м

Вид цемента для торкрет-штукатурки

Количество слоев/толщина гидроизоляции, мм

Отсутствует

Портландцемент

2/20 - 25

До 3 м

То же

3/25 - 30

До 20 м

Расширяющийся (РПЦ)

Напрягающийся (НЦ)

Активный торкрет (AT)

3/20 - 25

До 60 м

Коллоидный цементный раствор (ЦКР)

3/16 - 20

Эластомерами можно защищать как бетон, так и сталь. Наносят их как и мастики кистью, валиком, распылителем. Толщина покрытий составляет 1 - 3 мм.

6.2.10. Пропиточная гидроизоляция обладает рядом преимуществ: простота нанесения, большой срок службы, обеспечение высокой плотности и непроницаемости поверхностного слоя бетона. Она может применяться в сильно агрессивных газовых и жидких средах. Глубина пропитки может достигать 1 - 20 мм (в заводских условиях отдельные конструкции можно пропитывать на всю глубину).

Пропиточным материалом являются продукты нефтепереработки, а также полимеры. Пропитку железобетонных конструкций целесообразно выполнять при повышенной температуре различными полимерами (хлорвинилом, хлорстиролом, винилденхлоридом и др.).

6.2.11. Гидрофобизация является одной из разновидностей пропиточной изоляции для защиты бетона, кирпича и асбестоцемента.

Лакокрасочные покрытия, нанесенные на поверхность, предварительно обработанную гидрофобизирующими составами, имеют на 20 - 30 % больший срок службы, по сравнению с обычной лакокрасочной защитой.

Для гидрофобизации используют кремнийорганические жидкости на основе метилсиликоната натрия ГКЖ-11, полигидросилоксана ГКЖ-94 и этилсиликоната натрия ГКЖ-10, а также эмульсии типа КЭ-119.

6.2.12. Гидроизоляционную защиту с использованием бентонитовых глин применяют в виде рулонных бентонитовых материалов, полученных путем нанесения слоя бентонитовой глины в количестве 4,5 кг/м2 на лист специально обработанного полиэтилена шириной 1,2 м.

Комбинированные гидроизоляционные материалы из бентонита и каучука получаются при нанесении их смеси на слой антиадгезива (полиэтилен, вощеная бумага).

Геосинтетические бентонитовые маты состоят из полотен (например, пропиленовых), между которыми расположены гранулы или порошок бентонита. Бентонитовые маты выполняются толщиной 4,5 - 10 мм; их масса составляет 4,5 - 9 кг/м2.

Бентонитовые маты применяют для гидроизоляции фундаментных плит, подземных частей зданий и сооружений, при устройстве противофильтрационных завес и др. Однослойное покрытие из бентонитовых материалов выдерживает гидростатическое давление столба воды до 10 м.

6.2.13. Литую гидроизоляцию применяют для заполнения щелей и швов подземных строительных конструкций. Для этой цели используют горячий битум, пек, асфальтовый раствор (асфальтобетон), а также различного рода герметики (герметизирующие мастики) и профильные эластичные элементы. Профильные элементы выполняют из пластиковых масс или полосовой пленки стеклопластиков и пропитанных нефтяными битумами рулонных материалов.

6.2.14. В качестве монтируемой листовой гидроизоляции применяют металлические (стальные) или полимерные синтетические листы, которые закрепляют на конструкции (металлическую гидроизоляцию в связи с ее высокой стоимостью применяют в исключительных случаях).

Для металлической гидроизоляции применяют листовую сталь класса ВСт3 или низколегированную сталь марок 14Г2, 12ГС и 16ГС. Стальные листы в процессе эксплуатации должны подвергаться периодическому освидетельствованию для контроля их коррозионной устойчивости.

Для повышения коррозионной стойкости и долговечности стали применяют лакокрасочные покрытия, напыление металлических покрытий или используют металлизационно-лакокрасочные покрытия.

В качестве монтируемой полимерной гидроизоляции применяют полимербетонные и полимерсиликатные плиты. Полимерные, рулонные и листовые материалы соединяют сваркой.

6.2.15. В качестве монтируемой гидроизоляции в сильно агрессивных средах при защите элементов зданий и сооружений и технологического оборудования применяют футеровку (облицовку) штучными химически стойкими материалами, которая несмотря на такие недостатки, как многодельность, материалоемкость и значительные габариты, характеризуется высокой надежностью.

6.2.16. Засыпная гидроизоляция - способ защиты подземных строительных конструкций от увлажнения, основанный на использовании способов гидрофобизации. Засыпная гидроизоляция состоит из частиц песка или золы уноса ГРЭС, которые покрывают тончайшей пленкой поверхностно-активного вещества и засыпают в щели толщиной до 250 мм вокруг подземных конструкций.

6.2.17. Инъекционная гидроизоляция, используемая для повышения водонепроницаемости конструкций, включает методы силикатизации, цементации, смолизации и битумизации.

Цементация используется для устранения трещин и пустот в конструкциях при водопоглощении свыше 0,05 л/мин на 1 м2 скважины. Нагнетание растворов производится через шпуры и скважины, пробуренные в теле конструкции.

6.2.18. В связи с ограниченным сроком службы гидроизоляционных покрытий и их низкой ремонтопригодностью необходимо повышать надежность защиты конструкций от подземных вод за счет применения комбинированных методов: дренирования воды, устройства защитных теплоизоляционных экранов, внутренней окрасочной или оклеечной гидроизоляции, усиленной гидроизоляции швов и сопряжений конструкций, инъектирования в грунт закрепляющих растворов для уменьшения их водопроницаемости и др.

Примером комплексного подхода для обеспечения высокой надежности гидроизоляции со страховочным дренажным слоем является конструкция гидроизоляции с использованием геосинтетиков в подземном пространстве многофункционального комплекса «Царев Сад» (г. Москва).

Для узла сопряжения траншейной стены с промежуточным перекрытием конструкция гидроизоляции приведена на рис. 6.9.

Гидроизоляция включает:

- наружный подкладочный слой геотекстиля Letex польского производства толщиной 5 мм и плотностью 800 г/м2, являющийся также внешним фильтром;

- гидроизоляцию VFPE-геомембрану из высокоэластичного светостабилизированного полиэтилена толщиной 2 мм (Германия), стыки полотна которой свариваются контактно-тепловым и экструзивным способом и подвергаются на 100 % автоматизированному контролю качества выполнения;

- полиэтиленовую сетку HF-20 TENSARнглия) толщиной 6,2 мм, образующую внутренний дренажный слой и служащую также защитой гидроизоляции;

- защитный слой нетканого иглопробивного полотна отечественного производства толщиной 4 мм и плотностью 550 г/м2, являющийся также защитным фильтром;

- защитный слой обычной полиэтиленовой пленки отечественного производства толщиной 0,16 мм, препятствующий пропитке страховочного дренажного слоя и внутреннего фильтра цементным молоком при возведении монолитных прижимных стен, а также защитного слоя гидроизоляции под фундаментной плитой.

Рис. 6.9. Узел сопряжения гидроизоляции траншейной стены с промежуточным перекрытием, возводимым по схеме «сверху-вниз» (Многофункциональный комплекс «Царев сад», г. Москва)

1 - траншейная стена; 2 - слой подкладочного геотекстиля Letex; 3 - GSE VFPE-геомембрана; 4 - дренажная сетка HF20 TENSAR; 5 - защитный слой из синтетического нетканого иглопробивного полотна; 6 - полиэтиленовая пленка; 7 - монолитная железобетонная плита перекрытия; 8 - элементы усиления дренажной сетки HF20 TENSAR;9 - фартук усиления гидроизоляции GSE VFPE-геомембрана толщиной 2 мм; 10 - выравнивающий слой цементно-песчаного раствора; 11 - монолитная железобетонная прижимная стена; 12 - конструкция пола

6.3. Основные принципы проектирования защиты подземных сооружений от подземных вод

6.3.1. Защита подземных сооружений от подземных вод в зависимости от их назначения и технологии производства работ по их устройству может включать: водопонижение, гидроизоляцию, специальные сооружения («стена в грунте», стены из буронабивных, буросекущихся, буросмесительных и других свай, шпунтовые ограждения), противофильтрационные завесы и грунтовые экраны, бетоны с повышенной водонепроницаемостью, укрепление грунтов (цементацию, химическое закрепление, замораживание).

6.3.2. Выбор, расчет и проектирование водозащиты сооружения должны выполняться с учетом инженерно-геологических, гидрогеологических и экологических условий территории, уровня ответственности и конструктивных особенностей сооружения, состояния окружающих зданий, экологических требований.

6.3.3. Способы водозащиты должны назначаться также в зависимости от следующих условий:

- категории сооружения по степени сухости;

- гидростатического напора подземных вод на уровне пола наиболее заглубленного помещения;

- агрессивности подземных вод и грунтов;

- трещиноватости конструкций;

- технологичности производства работ и нанесения гидроизоляции при различных температурах;

- стоимости и дефицитности материалов.

6.3.4. Способы водозащиты при проектировании конкретных подземных сооружений (включая различные комбинированные методы и технологии) должны объединяться единым проектным решением с обеспечением взаимосвязи между отдельными методами.

Строительное водопонижение

6.3.5. Применение в проекте водопонижения должно решать следующие задачи:

- предотвращение поступления подземных вод в подземные выработки: котлованы, траншеи, штольни и др.;

- предупреждение прорывов подземных вод или выпора водоупорных слоев грунта в днище котлованов в случаях наличия в водовмещающих грунтах напорных водоносных горизонтов;

- предотвращение неблагоприятного изменения природных гидрогеологических условий и свойств грунтов и развития опасных процессов в грунтовой толще;

- организацию отвода поверхностных и каптированных вод к местам сброса;

- обеспечение стабильности экологических условий окружающей среды с сохранением водного баланса на участке строительства;

- обеспечение техники безопасности выполняемых работ.

6.3.6. При проектировании водопонижения должны быть предусмотрены мероприятия против нарушения природных свойств грунтов, по предотвращению недопустимых осадок оснований близрасположенных зданий и сооружений и деформаций их конструкций в результате снижения уровня подземных вод.

6.3.7. Выбор способов водопонижения должен учитывать конструктивные особенности и размеры сооружения, особенности его подземной части, инженерно-геологические и гидрогеологические условия, размеры осушаемой площади, особенности производства общестроительных работ в защищаемом котловане, возможные изменения физико-механических свойств грунтов основания будущего сооружения, прогноз влияния водопонижения на осадки окружающей территории, продолжительность работ и др.

6.3.8. В зависимости от гидрогеологических условий, следует рассмотреть возможность комбинированного использования разных способов водопонижения, способствующего повышению эффективности их применения, в том числе: водоотлива, дренажа, иглофильтров (легких и эжекторных), водопонизительных скважин (вертикальных, горизонтальных, сквозных, лучевых), электроосмоса.

6.3.9. Водопонизительные работы должны быть взаимоувязаны с земляными и другими строительными работами в зоне действия водопонизительных систем по срокам и технологии производственных процессов, а также по условиям размещения технических средств.

Все строительные работы, которые ведутся с применением водопонижения, должны выполняться без перерывов и в минимальные сроки.

6.3.10. Способ открытого водоотлива является наиболее простым и дешевым, не требующим специального оборудования. Однако применение его ограничивается в случае невозможности предохранения от нарушения свойств грунтов в откосах и в основании котлована, невозможности обеспечения необходимого понижения уровня подземных вод, применения эффективных методов земляных и строительных работ.

6.3.11. Иглофильтровый способ следует применять в неслоистых грунтах, имеющих коэффициенты фильтрации от 1 до 50 м/сут. с использованием установок типа ЛИУ, позволяющих достичь понижения уровня подземных вод одной ступенью на глубину до 4 - 5 м от оси насоса.

Иглофильтровый способ при вакуумном водопонижении следует применять в слабопроницаемых грунтах с коэффициентом фильтрации от 0,1 до 2 м/сут. При применении установок вакуумного водопонижения типа УВВ и иглофильтров с обсыпкой возможная глубина понижения уровня грунтовых вод составляет 6 - 7 м.

При необходимой глубине водопонижения до 10 - 12 м следует применять эжекторные иглофильтры с обсыпкой.

6.3.12. Электроосмотический способ следует применять в слабопроницаемых грунтах с коэффициентами фильтрации менее 0,1 м/сут. Способ может быть применен для незасоленных грунтов при ширине котлована до 40 м.

6.3.13. Водопонизительные скважины применяют при глубоком понижении уровня подземных вод или для снятия напора подземных вод в грунтах с коэффициентом фильтрации более 2 м/сут.

6.3.14. Для предотвращения осадки окружающей территории вследствие возможного выноса мелких частиц грунта при откачке воды следует при установке фильтров в предварительно пробуренные скважины в дисперсных грунтах вокруг фильтровой части скважины устраивать обсыпку из отсортированного и промытого песчано-гравийного материала, который не должен содержать частиц диаметром менее 0,5 мм и более 7 мм.

Обсыпка обязательно должна устраиваться, если водоносные слои состоят из грунтов, в которых содержание частиц размером менее 0,5 мм составляет более 50 % по массе или если минимальный размер проходных отверстий фильтрового каркаса d превышает величину диаметра d50 грунта. Состав обсыпки необходимо подбирать из условия

5D50/d50 ≤ 10,

где D50 - диаметр частиц, мельче которых в подбираемой обсыпке содержится 50 % и более частиц по массе;

d50 - диаметр частиц, мельче которых в грунте водоносного слоя или в наружном слое обсыпки содержится 50 % и более частиц.

Обсыпка выполняется однослойной и двухслойной. Однослойная песчано-гравийная обсыпка, как правило, устраивается после установки фильтра в скважине.

В мелкозернистых грунтах, когда требуется обсыпка, а также при напорных водах, когда устройство обсыпки в скважине затруднено, могут быть применены фильтры с гравийной обсыпкой, погружаемые в скважину вместе с каркасом.

Толщина одного слоя обсыпки δ устанавливается из следующих условий:

δ ≥ 30D80; δ ≥ 0,25D,

где D80 - размер частиц, мельче которых в обсыпке содержится 80 % и более частиц по массе;

D - наружный диаметр фильтра.

6.3.15. В связи с возможной осадкой грунтового массива в результате снижения уровня подземных вод, а также деформацией зданий и сооружений в зоне влияния водопонизительных работ необходимо проведение мониторинга в период ведения этих работ.

До начала водопонизительных работ необходимо обследование технического состояния зданий и сооружений, уточнение состояния существующих подземных коммуникаций.

6.3.16. При проектировании водопонижения необходимо руководствоваться требованиями СНиП 2.06.14-85, СНиП 2.06.15-85, СНиП 2.02.01-83*, МГСН 2.07-01.

Расчеты водопонижения следует производить для установившегося режима фильтрации во всех случаях, а для неустановившегося режима в период формирования депрессионной воронки - от начала откачки до установившегося режима.

6.3.17. Для условий неоднородного фильтрационного потока при сложном очертании контуров питания и водоприемного фронта расчет водопонизительных систем следует производить с использованием моделирования или других специальных методов.

6.3.18. При понижении уровня подземных вод более чем на 2 м, особенно в слабых глинистых грунтах, торфах и илах необходимо производить расчет ожидаемых дополнительных осадок зданий или территории в зоне развития депрессионной воронки (см. приложение Б).

При устройстве заглубленных в водоносный слой протяженных подземных сооружений возможен барражный эффект. В этом случае необходимо предусмотреть мероприятия по устранению неблагоприятных последствий барражного эффекта (дренаж, противофильтрационные завесы и др.).

Дренажные системы

6.3.19. Проект дренирования должен предусматривать регулирование уровней подземных вод на территории расположения подземных сооружений, исключающее как поступление подземных вод в эти сооружения, так и контакт с внешней их поверхностью. При проектировании дренажей следует учитывать требования пп. 6.3.6 и 6.3.7.

6.3.20. При проектировании дренажей следует руководствоваться СНиП 2.06.14-85, СНиП 2.06.15-85, СНиП 2.02.01-83*, МГСН 2.07-01.

Проектирование дренажей следует выполнять по данным инженерно-геологических изысканий с учетом степени агрессивности подземных вод к строительным конструкциям, конструктивных особенностей защищаемых подземных сооружений, а также их функционального назначения.

6.3.21. Дренирование грунтового массива следует предусматривать в следующих случаях:

- при расположении уровня подземных вод (УПВ), с учетом его сезонного колебания, на отметках выше пола подземного сооружения;

- когда пол подземного сооружения расположен выше естественного УПВ, но не более чем на 0,3 м;

- по техническим условиям, исключающим влажность подземных частей;

- при опасности всплытия сооружения, когда взвешивающая сила превышает вес сооружения.

6.3.22. В проекте должны быть предусмотрены мероприятия по регенерации дренажных устройств и их ремонту, запроектировано расположение и конструкции наблюдательных скважин и пьезометров.

6.3.23. При общем понижении УПВ на территории микрорайона отметки пониженного уровня подземных вод следует назначать на 0,5 м ниже полов подвалов, технических подполий, каналов для коммуникаций и других сооружений. В случае невозможности или нецелесообразности общего понижения уровня подземных вод должны предусматриваться местные дренажи для отдельных зданий и сооружений или групп сооружений.

Местные дренажи, как правило, должны устраиваться в случаях значительного заглубления подземных этажей отдельных зданий при невозможности самотечного удаления дренажных вод.

6.3.24. Кольцевые дренажи предусматривают для защиты от подтопления отдельно стоящих зданий или их групп, а также для защиты особо заглубленных сооружений при недостаточной глубине понижения уровня грунтовых вод общей системой дренажа территории.

Кольцевой дренаж необходимо закладывать ниже пола защищаемого сооружения на глубину, определяемую расчетом. При недостаточной глубине заложения дренажа следует устраивать промежуточные дрены «рассечки». Кольцевой дренаж следует прокладывать на расстоянии 5 - 8 м от стены сооружения.

6.3.25. Для защиты от подземных вод в глинистых грунтах следует проектировать пристенные дренажи. Пристенный дренаж, как правило, должен закладываться на отметках не ниже подошвы фундамента. Пристенный дренаж прокладывают по контуру сооружения с наружной стороны. Расстояние между дренажом и стеной определяется шириной фундамента и размещением смотровых колодцев.

6.3.26. Пластовые дренажи следует применять при наличии под подземными сооружениями мощного водоносного пласта в случаях недостаточной эффективности применения кольцевого или пристенного дренажа. Пластовые дренажи следует устраивать во всех случаях при наличии напорных вод. Пластовые дренажи применяют также для защиты подземных сооружений в глинистых грунтах - в зоне капиллярного увлажнения.

6.3.27. Тип и конструкцию дренажа назначают в зависимости от конкретных условий, с учетом выбора рационального метода, современных материалов (см. раздел 6.1) и технико-экономического обоснования. Глубина заложения дренажей должна быть не менее глубины промерзания грунтов.

6.3.28. Продольные уклоны дренажа рекомендуется принимать не менее 0,002 для глинистых грунтов и 0,003 - для песков. Наибольшие уклоны дренажей следует определять, исходя из максимально допустимой скорости течения воды в трубах - 1,0 мек.

При проектировании уклонов дренажей следует обеспечивать скорости воды в трубах, при которых не происходит их заиливание.

6.3.29. Допускаемое отклонение от проектного расположения трубчатого дренажа в плане не должно превышать 500 мм. Допускаемое отклонение оси трубы по горизонтали должно составлять не более 50 мм, а по вертикали - не более 20 мм.

6.3.30. Смотровые колодцы следует проектировать в местах поворота трассы и изменения уклонов, на перепадах, а также между этими точками при больших расстояниях. На прямых участках дренажа нормальное расстояние между смотровыми колодцами составляет 40 м, а наибольшее - 50 м.

6.3.31. Расположение дренажных систем как в плане, так и по глубине, относительно фундаментов определяют расчетом с целью исключения их влияния на осадки сооружений.

При заложении дренажа ниже подошвы фундаментов с целью исключения суффозии грунта особое внимание следует обратить на правильный подбор и устройство дренажных обсыпок, на качество заделки швов и отверстий в колодцах, а также на мероприятия, исключающие влияние отрывки траншей на осадки сооружений.

6.3.32. При расположении дренажа в песках гравелистых, крупных и средней крупности (при среднем диаметре частиц 0,3 - 0,4 мм и крупнее) устраивают однослойные обсыпки из гравия и щебня.

При расположении дренажа в песках средней крупности со средним диаметром частиц менее 0,3 - 0,4 мм, а также в мелких и пылеватых песках, супесях и при слоистом строении водоносного пласта, устраивают двухслойные обсыпки. Внутренний слой обсыпки устраивают из гравия или щебня, а внешний - из песка.

Материалы для дренирующих обсыпок должны быть чистыми и не должны содержать более 3 - 5 % по массе частиц с диаметром менее 0,1 мм. Толщина одного слоя дренирующей гравийной обсыпки должна быть не менее 15 см, песчаной - не менее 10 см.

В слабых грунтах с недостаточной несущей способностью дренаж должен быть уложен на искусственное основание.

6.3.33. Применение конструкций дренажей типа «Delta» и других из современных материалов, в том числе из геокомпозитов (см. раздел 6.1), исключает выполнение традиционных песчано-гравийных обсыпок и позволяет обеспечить две основные функции - водоотводящую и защитную.

6.3.34. Расчет дренажей должен включать фильтрационные расчеты (приток и положение сниженного УПВ), гидравлические расчеты (пропуск каптированных подземных вод через сооружения дренажа) и подбор песчаноравийных обсыпок.

При назначении конструктивных параметров дренажей следует обеспечить их водозахватную и водопропускную способность, достаточную прочность при воздействии внешних статических и динамических нагрузок и агрессивных подземных вод.

Гидроизоляция подземных сооружений

6.3.35. Конструкция гидроизоляции должна назначаться в зависимости от гидростатического напора подземных вод, требований заданного режима влажности помещений, грунтовых условий и агрессивности окружающей грунтовой среды. Верхнюю границу гидроизоляции стен следует принимать на 0,5 м выше максимального прогнозируемого уровня подземных вод или при наличии «верховодки» - от уровня дневной поверхности.

6.3.36. При проектировании следует учитывать, что водонепроницаемость подземных сооружений может быть обеспечена применением монолитных бетонов специального состава с пластифицирующими и водоотталкивающими добавками.

6.3.37. Для рационального выбора следует рассмотреть возможность применения методов и материалов гидроизоляции, указанных в разделе 6.2.

6.3.38. При проектировании гидроизоляции необходимо учитывать возможность осадок сооружений, деформаций подземных конструкций, включая усадку и набухание бетона, а также возможные перепады температуры.

6.3.39. Для восстановления нарушенной гидроизоляции эксплуатируемых сооружений могут быть использованы противофильтрационные завесы, устраиваемые путем нагнетания в грунт через инъекторы раствора битума, жидкого стекла, петролатума, различных смол.

Противофильтрационные завесы и экраны

6.3.40. Противофильтрационные завесы и экраны следует применять в случаях устройства:

- ограждений котлованов вблизи существующих сооружений и коммуникаций в условиях, когда применение водопонижения (или других способов защиты) может вызвать дополнительные сверхнормативные осадки грунтового массива или осушение территории;

- ограждений подземных частей сооружений при применении водопонижения, когда могут возникнуть сверхнормативные осадки зданий и сооружений.

6.3.41. Конструкция и тип противофильтрационных завес и экранов должны назначаться в зависимости от следующих факторов: долговечности ограждений, инженерно-геологических и экологических условий площадки, применяемого материала, технологии устройства и др.

6.3.42. Фильтрационные и прочностные расчеты выполняют для:

- обоснования наиболее рациональных и экономичных размеров конструкций завес и экранов;

- обеспечения фильтрационной устойчивости и прочности завес и экранов, а также сооружений, расположенных в зоне их влияния.

6.3.43. При проектировании противофильтрационных завес и экранов должны быть определены основные особенности технологии производства работ и указана система контроля их качества. При необходимости разрабатывают специальные регламенты на технологию устройства, контроль качества строительных работ и эксплуатацию завес и экранов.

7. Основные принципы защиты существующей застройки при устройстве подземных сооружений

7.1. Мероприятия по защите окружающей застройки, их конструктивные решения, методы производства работ и их объемы непосредственно связаны с принятыми решениями по вновь строящемуся объекту. Проектные решения по строительству нового объекта и защите окружающей застройки должны приниматься на основе анализа их взаимодействия. Для достижения оптимального решения разработку проектов защиты существующих сооружений следует осуществлять в составе проекта вновь строящегося объекта.

7.2. Размер зоны влияния нового строительства обусловливает следующий комплекс факторов:

- вид строительства (подземное сооружение, коллекторные сети и др.);

- нагрузки, передаваемые на основание;

- грунтовые условия;

- соотношение отметок заложения фундаментов проектируемого здания и окружающей застройки;

- глубина котлована и способ его ограждения;

- технология производства работ;

- способ возведения подземного сооружения (открытый, закрытый);

- наличие дренажей или водопонижения.

При определении зоны влияния следует также учитывать возможное влияние строительства на изменение режима подземных вод и на активизацию опасных геологических процессов.

Для выдачи технического задания на изыскания размер и конфигурация зоны влияния устанавливаются проектировщиком на основании имеющегося опыта с использованием имеющихся архивных материалов изысканий.

Ориентировочные размеры зоны влияния для некоторых способов ограждения котлована в зависимости от его глубины Нк, м, составляют:

- 5Нк при использовании для ограждения «стены в грунте» с креплением анкерными конструкциями;

- 4Нк при использовании ограждения из завинчиваемых свай с креплением распорками;

- 3Нк при использовании для ограждения «стены в грунте» с креплением распорками;

- 2Нк при использовании «стены в грунте» под защитой перекрытия строящегося здания.

На стадии «Проект» размер зоны влияния наиболее достоверно может быть определен расчетом на основе математического моделирования численными методами (например, МКЭ). Для выполнения этого прогноза рекомендуется привлекать специализированные организации по геотехнике.

7.3. Для зданий и сооружений, попадающих в зону влияния устройства подземных сооружений, должны быть выполнены:

- инженерно-геологические изыскания в составе и объемах, обеспечивающих прогноз дополнительных деформаций оснований существующих сооружений от влияния нового строительства;

- обследование оснований, фундаментов и верхних конструкций эксплуатируемых зданий и установлена категория состояния их конструкций (см. приложение А);

- прогноз дополнительных деформаций оснований фундаментов и сравнение их с предельными величинами дополнительных деформаций для данной конструкции и категории их состояния.

Обязательной составной частью строительства на площадках, где устройство подземных сооружений осуществляется в условиях плотной застройки, является мониторинг поведения эксплуатируемых зданий, попадающих в зону влияния нового строительства (см. раздел 8).

7.4. При обследовании существующих зданий, попадающих в зону влияния устройства подземных сооружений, целесообразно установить кривизну подошвы фундаментов ρ (1/м), которая определяется по результатам специальных измерений наклонов фундаментов прибором - измерителем кривизны, или вычисляется по результатам геодезических измерений осадок марок, установленных по контуру здания в его цоколе, в точках с координатами х, х + Δх, х + х, по формуле:

где S(x) - осадка здания в точке с координатой х, м;

S(x + Δx) - осадка здания в точке с координатой x + Δx, м;

S(x + 2Δx) - осадка здания в точке с координатой x + 2Δx, м;

Δx = 5 - 10 м.

Предельные значения кривизны приведены в таблице 7.1.

Таблица 7.1

Наименование и конструктивные особенности здания или сооружения

Категория состояния конструкций (приложение А)

Кривизна подошвы фундамента ρ, 1/м

Многоэтажные бескаркасные здания с несущими стенами из крупных блоков или кирпичной кладки без армирования

I

4 · 10-4

II

1 · 10-4

III

8 · 10-5

IV

5 · 10-6

V

0

Многоэтажные и одноэтажные здания исторической застройки или памятники истории, культуры и архитектуры с несущими стенами из кирпичной кладки без армирования

I

-

II

2 · 10-4

III

4 · 10-5

IV

2 · 10-6

V

0

7.5. Основными методами защиты существующих зданий, попадающих в зону влияния нового строительства, являются:

- усиление оснований и фундаментов, а также верхних конструкций зданий;

- устройство разделительной (отсечной) стенки;

- нагнетание в ограниченный объем грунта твердеющего раствора - компенсационное нагнетание.

7.6. В качестве методов усиления оснований и фундаментов применяют следующие: увеличение опорной площади существующих ленточных и столбчатых фундаментов; устройство дополнительных фундаментов; подведение плитного фундамента; пересадку фундаментов на сваи различных видов и способов погружения и изготовления; химическое закрепление грунтов основания.

Наиболее эффективными и безопасными являются методы усиления оснований и фундаментов с помощью свай вдавливаемых, бурозавинчиваемых, буроинъекционных, буронабивных и грунтоцементных (по технологии «jet-grouting»), т.е. технологии, не создающие динамических воздействий.

7.7. Эффективной мерой, направленной на уменьшение влияния подземного строительства на существующие здания, является устройство разделительной (отсечной) стенки.

Жесткость и глубина разделительной стенки определяются расчетом и должны обеспечить ограничение горизонтальных смещений грунта в основании существующего здания.

7.8. В качестве разделительной стенки могут быть использованы:

- «стена в грунте»;

- шпунтовый ряд;

- стенка из свай различных видов и способов погружения.

7.9. Применение шпунта, свай и других элементов (труб, металлических прокатных элементов), погружаемых забивкой, в условиях близрасположенной существующей застройки не рекомендуется. Допустимость применения забивки вблизи существующих зданий следует устанавливать только по результатам пробной забивки с участием специализированных организаций для определения уровня вибрационного воздействия и его соответствия нормативным ограничениям.

7.10. Опыт строительства позволяет сделать вывод, что способ завинчивания свай при реализации мероприятий по обеспечению сохранности существующих зданий вблизи строящихся подземных сооружений путем устройства разделительных стенок является наиболее приемлемым как с технической, так и с экономической точки зрения.

7.11. На основе обобщения опыта исследования влияния на существующие здания проходки вблизи них коммуникационных коллекторов диаметром до 4 м, сооружаемых щитовым методом с открытым забоем, в таблице 7.2 приведены рекомендации по эффективности применения разделительных стенок из бурозавинчивающихся свай. При этом учтена категория состояния конструкций (приложение А) и относительная удаленность прокладки коллектора от существующих фундаментов m = (H - h)/L, где Н - глубина заложения коллекторного тоннеля, h - глубина заложения фундамента здания, L - расстояние в плане от здания до тоннеля.

7.12. Компенсационное нагнетание при использовании его для защиты окружающей застройки производится таким образом, чтобы создать вертикальный геотехнический барьер на пути распространения волны изменения напряженно-деформированного состояния грунта в процессе выполнения работ по строительству подземного сооружения.

В качестве твердеющего раствора используют цементный раствор с добавками и заполнителем. Нагнетание раствора производится с помощью погруженных в грунт специальных инъекторов (рис. 7.1) по манжетной технологии методом многократной инъекции небольших объемов раствора. Процесс нагнетания должен сопровождаться мониторингом поведения поверхности грунта и защищаемого сооружения.

Рис. 7.1. Конструкция трубы-инъектора

Таблица 7.2

№ пп.

Конструктивная особенность здания

Категория состояния конструкций

m = (H - h)/L

Рекомендации

1

Гражданские и производственные одноэтажные и многоэтажные здания с полным железобетонным каркасом

I, II

0,5 ... 3,0

Защитные мероприятия не требуются

2

Многоэтажные бескаркасные здания с несущими стенами из крупных панелей

I, II

0,5 ... 3,0

III

0,5 ... 2,5

2,5 ... 3,0

Отсечной экран из бурозавинчиваемых свай

3

Многоэтажные бескаркасные здания с несущими стенами из крупных блоков или кирпичной кладки без армирования

I, II

0,5 ... 3,0

Защитные мероприятия не требуются

4

Многоэтажные и одноэтажные здания исторической застройки или памятники архитектуры с несущими стенами из кирпичной кладки без армирования

I, II, III

0,5 ... 3,0

Не эффективно устройство отсечного экрана из бурозавинчиваемых свай

7.13. При устройстве вблизи существующей застройки глубоких котлованов вид ограждающей конструкции котлована практически не влияет на значения осадок зданий и сооружений. Определяющим фактором, влияющим на осадки, является вид крепления ограждающей конструкции (анкерное крепление, распорки и раскосы, крепление перекрытиями при строительстве методами «сверху-вниз» и «вверх-вниз»). При этом наибольшее влияние оказывает анкерное крепление и наименьшее - крепление перекрытиями. Рекомендуемые методы крепления ограждения котлована приведены в табл. 7.3, составленной на основе обобщения опыта строительства в г. Москве.

Таблица 7.3

Рекомендуемые методы крепления ограждения котлована

Наименование и конструктивные особенности здания

Категория состояния конструкций

Максимальная осадка, Smax, см

Тип инж.-геол. условий

m = (H - hф)/L

Рекомендуемый тип крепления ограждения котлована

Многоэтажные бескаркасные здания с несущими стенами из крупных блоков или кирпичной кладки без армирования

I

4,0

I - III

1,7

А, Р, П

I, II

1,8 - 6,0

Р, П

6,1 - 10,0

П

II

3,0

I - III

≤ 0,5

А, Р, П

0,6 - 1,5

Р, П

I, II

1,6 - 4,0

Р, П

4,1 - 10,0

П

III

1,0

I, II

≤ 0,4

А, Р, П

0,5 - 3,0

Р, П

I

3,1 - 4,0

Р, П

4,1 - 6,0

П

IV

0,4

I - III

≤ 0,2

А, Р, II

I

0,2 - 2,0

Р, П

Многоэтажные и одноэтажные здания исторической застройки или памятники архитектуры с несущими стенами из кирпичной кладки без армирования

II

1,0

I, II

0,4

А, Р, П

0,5 - 3,0

Р, П

I

3,1 - 4,0

Р, П

4,1 - 6,0

П

III

0,4

I - III

≤ 0,2

А, Р, П

I

0,2 - 2,0

Р, П

IV

0,2

I

0,2

Р, П

Примечания к таблице:

1. Категория состояния конструкций здания определяется в соответствии с приложением А.

2. Типы инженерно-геологических условий: I тип - насыпь (2 - 5 м), пески (от мелких до гравелистых, средней плотности и плотных); II тип - насыпь (2 - 5 м), суглинки и глины от полутвердых до тугопластичных; III тип - насыпь (2 - 5 м), суглинки и глины от мягкопластичных до текучих.

3. Тип крепления ограждения котлована: А - анкерное крепление; Р - крепление распорками или раскосами; П - крепление перекрытиями (методы строительства «сверху-вниз» и «вверх-вниз»).

4. При прочих параметрах m для зданий необходимы защитные мероприятия (разделительная стенка, укрепление тела фундамента и основания, смена типа фундаментов и т.д.).

7.14. При применении любого метода защиты существующей застройки от влияния строительства подземного сооружения следует учитывать возникновение технологической осадки зданий в результате реализации защитного мероприятия, которая может достигать 20 мм, а в отдельных случаях, прежде всего для зданий III и IV категорий состояния конструкций, превышать предельные дополнительные деформации.

8. Мониторинг при строительстве и эксплуатации подземных сооружений

8.1. Геотехнический мониторинг

Назначение, цели и задачи мониторинга

8.1.1. Мониторинг следует выполнять в процессе строительства подземных сооружений, а в необходимых случаях и в начальный период их эксплуатации.

Мониторинг, как правило, следует организовывать:

- для строящихся подземных сооружений I уровня ответственности;

- для строящихся подземных сооружений II уровня ответственности в сложных инженерно-геологических условиях;

- для существующих зданий и сооружений, попадающих в зону влияния подземного строительства в условиях тесной застройки, а также в других случаях, предусмотренных техническим заданием.

В состав проекта строительства подземных сооружений следует включать требования к проведению мониторинга.

8.1.2. Мониторинг подземных сооружений предназначен для обеспечения надежности строительства подземных сооружений и сохранения зданий и сооружений, находящихся в зоне их влияния, а также защиты окружающей среды с учетом возможных негативных последствий строительства.

8.1.3. Целью мониторинга является оценка воздействия строительства подземного сооружения на окружающие здания и сооружения, на атмосферную, геологическую и гидрогеологическую среду в период строительства и эксплуатации, разработка прогноза изменения их состояния, своевременное выявление дефектов конструкций, предупреждение и устранение негативных процессов, уточнение результатов прогноза и корректировка проектных решений.

8.1.4. В задачи мониторинга входит разработка решений по обеспечению сохранности и надежности окружающей застройки, предупреждению и устранению дефектов конструкций зданий и сооружений, недопущению негативных изменений окружающей среды, а также осуществление контроля за выполнением принятых решений.

8.1.5. В процессе мониторинга должен рассматриваться весь комплекс статических, динамических и иных техногенных воздействий, приводящих к качественному и количественному изменению характеристик состояния зданий и сооружений (под воздействием строительства подземных сооружений), в т.ч. к потере ими пригодности к эксплуатации. В случае необходимости должны разрабатываться конструктивные или иные меры защиты для обеспечения их эксплуатационной надежности.

8.1.6. При проведении мониторинга, как правило, следует определять:

- осадки, крены и горизонтальные смещения конструкций подземного сооружения, а также окружающих зданий и сооружений, расположенных в зоне влияния строительства;

- техническое состояние конструкций строящегося подземного сооружения и окружающих зданий и сооружений;

- деформации ограждающих и распорных конструкций и значения усилий в них;

- усилия в анкерах конструкций;

- напряжения и деформации в грунтовом массиве;

- пьезометрические напоры воды в грунтовом массиве;

- расходы воды, фильтрующей в массиве грунта, вмещающем подземные сооружения;

- температуру грунтов в массиве;

- эффективность работы дренажных, водопонизительных и противофильтрационных систем;

- уровень колебаний подземного сооружения при его строительстве рядом с тоннелями метрополитена и другими источниками вибрационных и динамических воздействий.

8.1.7. При проектировании подземных сооружений должны быть предусмотрены инженерные мероприятия по защите зданий и сооружений от недопустимых деформаций.

8.1.8. При строительстве подземных объектов в районах с плотной застройкой и наличием исторических памятников и памятников архитектуры мониторинг осуществляется под руководством научно-технического координационного совета, который создается из представителей заказчика, проектировщика, строительной организации и районных органов надзора и контроля, а также в случае необходимости - органов охраны исторических памятников.

8.1.9. Мониторинг должен проводиться по специально разработанному проекту или программе. К выполнению мониторинга должны привлекаться специализированные организации, имеющие лицензии на проведение этих работ.

Состав мониторинга

8.1.10. Состав и объем мониторинга должны назначаться в зависимости от уровня ответственности сооружений, их конструктивных особенностей, категории сложности инженерно-геологических условий, способа возведения подземного сооружения, плотности окружающей застройки и других условий.

8.1.11. В составе мониторинга необходимо предусматривать:

- сбор и анализ технических данных по конструкциям подземных и надземных частей зданий и сооружений;

- обследование существующих зданий и сооружений, в том числе подземных коммуникаций, попадающих в зону влияния нового строительства (приложения В и Г);

- разработку требований по допускаемым предельным деформациям зданий и сооружений;

- определение расчетных величин геотехнического прогноза, включая оценку влияния подземного строительства и производства работ на существующие здания и сооружения;

- разработку мероприятий по устранению негативных последствий подземного строительства.

8.1.12. Мониторинг целесообразно осуществлять с использованием комплексной автоматизированной программы, позволяющей оперативно выявлять все возникающие отклонения, устанавливать необходимые взаимосвязи и регулировать весь процесс в целом.

Общие требования к мониторингу

8.1.13. Выбор системы наблюдений производят в зависимости от целей и задач мониторинга, результатов расчетных прогнозов, скорости протекания процессов, точности измерений и продолжительности их во времени.

8.1.14. Точность систем наблюдений назначается в зависимости от величин расчетных прогнозов и должна обеспечивать достоверность получаемой информации, а также соответствовать требованиям согласованности в пространстве и во времени применяемых различных систем наблюдений.

8.1.15. Приборы и оборудование, используемые для наблюдений, должны быть сертифицированы и аттестованы в соответствии с требованиями Госстандарта России.

8.1.16. Точки измерений и частоту наблюдений необходимо назначать в зависимости от величин расчетных прогнозов, интенсивности изменений наблюдаемых величин, масштабов освоения подземного пространства, конструктивных особенностей зданий и сооружений.

Система мониторинга

8.1.17. На стадии проектирования до проведения мониторинга должны быть разработаны и определены:

- основные эксплуатационные требования к зданиям и сооружениям и окружающей среде;

- расчетный прогноз значений деформаций и усилий;

- программа наблюдений;

- системы наблюдений.

8.1.18. На стадии строительства должны выполняться:

- установка систем наблюдений;

- производство наблюдений.

8.1.19. Оценка принятых критериев выполнения эксплуатационных требований производится на основе результатов сравнения расчетных и наблюдаемых значений деформаций и усилий. В необходимых случаях производится разработка дополнительных мероприятий по обеспечению эксплуатационной надежности строящегося подземного сооружения и окружающих эксплуатируемых зданий.

Расчетный прогноз влияния строительства подземных сооружений на окружающую застройку

8.1.20. Состав и объем защитных мероприятий определяются на стадии проектирования подземного сооружения на основе использования результатов прогноза деформаций.

В проектах подземных сооружений необходимо предусматривать раздел по защите окружающей застройки с разработкой эффективных мер по предупреждению недопустимых деформаций зданий.

8.1.21. Расчет прочности и дополнительных деформаций зданий и сооружений при проведении вблизи них работ по строительству подземных сооружений, транспортных, коллекторных и коммуникационных тоннелей, подземных переходов и других объектов рекомендуется выполнять численными методами с использованием специальных программ, в том числе методом конечных элементов (МКЭ) с использованием нелинейных моделей грунтов и методом типовых кривых (МТК), которым устанавливается мульда вертикальных и горизонтальных смещений на поверхности массива.

При поэтапном строительстве подземного сооружения расчеты деформаций поверхности ведутся в соответствии с принятой технологией строительства последовательно для каждого этапа.

При наличии динамических воздействий на грунты оснований близрасположенных объектов прогнозирование деформаций производится по результатам опытных работ.

8.2. Инженерно-геологический мониторинг

8.2.1. В процессе изысканий в необходимых случаях следует выполнять мониторинг отдельных компонентов геологической среды, который может продолжаться в период строительства, а при необходимости и в период эксплуатации зданий и сооружений.

8.2.2. Мониторинг проводится в соответствии с заранее разработанным проектом и включает в себя:

- систему стационарных наблюдений за отдельными компонентами геологической среды;

- оценку результатов наблюдений и прогноз изменения геологической среды в связи со строительством.

8.2.3. Состав, объем и методы мониторинга должны назначаться в зависимости от инженерно-геологических и гидрогеологических условий площадки, способа возведения объекта строительства, его конструктивных особенностей и уровня ответственности, удаленности окружающей существующей застройки и в соответствии с результатами геотехнического прогноза.

8.2.4. Инженерно-геологический мониторинг на конкретной площадке строительства должен быть увязан с системой регионального геологического мониторинга (при наличии последнего).

8.2.5. Натурные наблюдения, выполняемые в процессе мониторинга, могут включать:

а) наблюдения за состоянием основания и массива грунта и гидрогеологической обстановкой - наблюдения за изменением физико-механических свойств грунтов; измерения напряжений и деформаций в грунтовом массиве; наблюдения за составом и режимом подземных вод; наблюдения за развитием неблагоприятных инженерно-геологических процессов (карст, суффозия, оползни, оседание поверхности и др.); наблюдения за состоянием температурного, электрического и других физических полей;

б) наблюдения за изменением окружающей природной среды при опасности загрязнения грунтов и подземных вод, при газовыделении, радиационном излучении и т.п. (геоэкологический мониторинг).

8.2.6. На основе полученных результатов натурных наблюдений уточняются прогнозы, касающиеся изменения физико-механических свойств грунтов, напряженно-деформированного состояния грунтового массива и гидрогеологического режима, активизации и развития неблагоприятных геологических и инженерно-геологических процессов.

По результатам мониторинга проектная организация может произвести корректировку проектного решения.

8.2.7. При выполнении инженерно-геологического мониторинга применяют следующие виды работ:

- для наблюдений за изменением состояния грунтового массива - бурение, полевые и лабораторные исследования грунтов, а также геофизические исследования (см. приложение Г);

- для контроля за изменением гидрогеологического режима, в том числе развитием депрессионной воронки или подтопления - устройство системы наблюдательных скважин.

8.2.8. Общие требования, предъявляемые к мониторингу:

- комплексность, заключающаяся в том, что все наблюдения должны производиться согласованно между собой в пространстве и во времени;

- установка всех точек наблюдений в наиболее характерных местах;

- частота наблюдений определяется интенсивностью и длительностью протекания наблюдаемых процессов;

- точность измерений должна обеспечивать достоверность получаемой информации и должна быть согласована с точностью расчетов;

- по результатам мониторинга должен быть составлен отчет.

8.3. Экологический мониторинг подземных вод

8.3.1. Основными задачами экологического мониторинга подземных вод на стадии рабочей документации или рабочего проекта являются:

- разработка системы оперативного контроля и своевременного обнаружения истощения и загрязнения подземных вод и подтопления территорий;

- оценка динамики гидрогеодинамических (истощение, подтопление), гидрогеохимических (химическое загрязнение) и гидрогеотермических (тепловое загрязнение) показателей;

- изучение и оценка закономерностей динамики миграции загрязняющих веществ в зоне аэрации и в подземных водах;

- составление прогноза характера течения процессов загрязнения и истощения подземных вод, подтопления и затопления территорий, активизации карстово-суффозионных процессов, оседания и просадки поверхности земли и т.д.;

- контроль и оценка эффективности природоохранных мероприятий.

8.3.2. Получаемая при экологическом мониторинге подземных вод гидрорежимная информация должна обеспечивать оценку: геоэкологического состояния подземных вод; условий взаимодействия подземных вод с окружающей средой; прогнозов режима подземных вод, в том числе и прогнозов геоэкологических процессов; состояния грунтов зоны аэрации; баланса подземных вод в естественных и нарушенных условиях; пространственно-временных закономерностей режима, фильтрационных и миграционных параметров подземных вод; характеристик зон техногенных нарушений в подземных водах.

8.3.3. Созданию плана размещения наблюдательных сетей должно предшествовать эколого-гидрогеологическое районирование, на базе которого и намечаются наблюдательные точки мониторинга подземных вод.

8.3.4. По целевому назначению экологический мониторинг подземных вод предусматривает создание четырех видов наблюдательных сетей: 1) наблюдательных сетей в зоне влияния очагов техногенеза; 2) наблюдательных сетей в пределах всей стройплощадки; 3) наблюдательных сетей на сопредельных территориях для вычленения влияния внешних факторов загрязнения; 4) фоновых наблюдательных скважин.

8.3.5. В состав режимной сети для гидрохимических наблюдений, изучения и контроля загрязнения подземных вод входят скважины специализированной наблюдательной сети и пункты гидрохимического опробования по эксплуатационным скважинам. Наблюдения за режимом температуры подземных вод проводятся в скважинах гидрогеотермической сети.

8.3.6. Продолжительность функционирования наблюдательной сети должна быть определена из конкретных природных условий и характера и степени воздействия объекта на экологическое состояние подземных вод. При необходимости наблюдения могут быть продолжены в течение всего периода эксплуатации.

8.3.7. Гидрогеоэкологическое прогнозирование осуществляется на основе геофильтрационных и геомиграционных моделей. Размеры моделируемой области геофильтрации и геомиграции не должны ограничиваться строительной площадкой и должны определяться размером области возможного влияния объекта на изменение уровней и загрязнение подземных и поверхностных вод. В область влияния должны быть включены располагающиеся по соседству со строительной площадкой водоохранные зоны рек, зеленые насаждения, парки, пруды, жилые массивы, площадки отдыха и другие природные и социальные объекты.

8.3.8. При выборе положения нижней границы области влияния в гидрогеологическом разрезе необходимо учитывать сложность геологического строения и гидрогеологических условий территории, глубину и размеры подземного сооружения.

8.3.9. Границы области возможного влияния объекта строительства на подземные и поверхностные воды в плане и разрезе, методика проведения прогнозных расчетов должны определяться и уточняться на стадии разработки проектной документации специалистами или организацией, специализирующейся на выполнении прогнозных гидрогеоэкологических расчетов.

8.3.10. Для разработки моделей используются картографические материалы, которые получены в результате анализа и обработки материалов инженерно-геологических и геоэкологических изысканий, а также следующие фондовые материалы:

- геологическое строение площадки;

- буровые колонки скважин с указанием водопроявлений;

- гранулометрический состав водовмещающих отложений;

- коэффициенты фильтрации водовмещающих отложений, полученные лабораторными способами и при проведении опытно-фильтрационных работ;

- результаты геофизических исследований;

- данные режимных наблюдений за уровнем подземных вод;

- химический состав подземных и поверхностных вод.

8.3.11. По материалам геоэкологических исследований должен быть составлен отчет.

Список использованных источников

1. СНиП 2.01.07-85*. Нагрузки и воздействия.

2. СНиП 2.03.11-85. Защита строительных конструкций от коррозии

3. СНиП 2.02.01-83*. Основания зданий и сооружений.

4. СНиП 2.02.03-85. Свайные фундаменты.

5. СНиП 2.05.03-84*. Мосты и трубы.

6. СНиП 2.06.07-87. Подпорные стены, судоходные шлюзы рыбопропускные и рыбозащитные сооружения.

7. СНиП 52-01-2003. Бетонные и железобетонные конструкции. Основные положения.

8. СНиП 2.06.14-85. Защита горных выработок от подземных и поверхностных вод.

9. СНиП 2.06.15-85. Инженерная защита территорий от затопления и подтопления.

10. СНиП II-23-81*. Стальные конструкции.

11. СНиП II-22-81. Каменные и армокаменные конструкции.

12. СНиП 3.02.03-84. Подземные и горные выработки.

13. СП 13-102-2003. Правила обследования несущих строительных конструкций зданий и сооружений.

14. ГОСТ 27751-88. Надежность строительных конструкций и оснований. Основные положения по расчету.

15. ГОСТ 286-82. Трубы керамические канализационные. Технические условия.

16. ГОСТ 1839-80. Трубы и муфты асбестоцементные для безнапорных трубопроводов. Технические условия.

17. ГОСТ 539-80. Трубы и муфты асбестоцементные напорные. Технические условия.

18. ГОСТ 20054-82. Трубы бетонные безнапорные. Технические условия.

19. ГОСТ 9583-75*. Трубы чугунные напорные, изготовленные методами центробежного и полунепрерывного литья. Технические условия.

20. ГОСТ 51613-2000. Трубы напорные из непластифицированного поливинилхлорида. Технические условия.

21. ВСН 35-95. Инструкция по технологии применения полимерных фильтрующих оболочек для защиты подземных частей зданий и сооружений от подтопления грунтовыми водами.

22. ВСН 53-86(р). Правила оценки физического износа жилых зданий.

23. Инструкция по инженерно-геологическим и геоэкологическим изысканиям в г. Москве. - М.: Москомархитектура, 2004.

24. Инструкция по проектированию и устройству свайных фундаментов зданий и сооружений в г. Москве. - М.: Москомархитектура, 2001.

25. Инструкция по технологии и механизации строительства противофильтрационных диафрагм и монолитных несущих стен методом «стена в грунте». РСН 316-79. НИИСП. - Киев, 1980.

26. МГСН 6.01-03. Бестраншейная прокладка коммуникаций с применением микротоннелепроходческих комплексов и реконструкция трубопроводов с применением специального оборудования.

27. МГСН 2.07-01. Основания, фундаменты и подземные сооружения.

28. МГСН 1.01-99. Нормы и правила проектирования, планирования и застройки.

29. МГСН 2.08-01. Защита от коррозии бетонных и железобетонных конструкций жилых и общественных зданий.

30. МГСН 2.09-03. Защита от коррозии бетонных и железобетонных конструкций транспортных сооружений.

31. Руководство по проектированию дренажей зданий и сооружений - М.: Москомархитектура, 2000.

32. Рекомендации по размещению инженерных сооружений и объектов культурно-бытового назначения в подземном пространстве крупных городов и предложения по их номенклатуре. - М.: ЦНИИП градостроительства, 1970.

33. Рекомендации по обследованию и мониторингу технического состояния эксплуатируемых зданий, расположенных вблизи нового строительства или реконструкции. - М.: Москомархитектура, 1998.

34. Реконструкция и капитальный ремонт жилых и общественных зданий. Справочник производителя работ. - М.: Стройиздат, 2001.

35. Рекомендации по проектированию и устройству оснований и фундаментов при возведении зданий вблизи существующих в условиях плотной застройки в г. Москве. - М.: Москомархитектура, 1999.

36. Руководство по проектированию подпорных стен сооружений и противофильтрационных завес, устраиваемых способом «стена в грунте». - М.: НИИОСП им. Н.М. Герсеванова, 1977.

37. Руководство по проектированию подпорных стен и стен подвалов для промышленного и гражданского строительства. - М.: Стройиздат, 1984.

38. Проектирование железобетонных сборно-монолитных конструкций. Справочное пособие к СНиП. - М.: Стройиздат, 1991.

39. Рекомендации по проектированию гидроизоляции подземных частей зданий и сооружений. - М.: ЦНИИпромзданий, 1996.

40. Руководство по расчету противофильтрационных завес и фильтрационной прочности оснований грунтовых плотин. - Л.: ВНИИГ, 1985.

41. Руководство по составлению схем комплексного использования подземного пространства крупных и крупнейших городов. - М.: Стройиздат, 1978.

42. Руководство по проектированию свайных фундаментов. НИИОСП. - М.: Стройиздат, 1980.

43. Рекомендации по струйной технологии сооружения противофильтрационных завес, фундаментов, подготовке оснований и разработке мерзлых грунтов. - М.: НИИОСП, 1989.

44. Рекомендации по применению георадиолокационных исследований в комплексе геотехнических работ (Для практических исследователей - геотехников, аспирантов, студентов геофизических и геотехнических специальностей). - М.: Компания Спутник+, 2000.

45. Рекомендации по обследованию и оценке технического состояния крупнопанельных и каменных зданий. - М.: ЦНИИСК, 1988.

46. Пособие по проектированию оснований зданий и сооружений (к СНиП 2.02.01-83). - М.: Стройиздат, 1986.

47. Пособие к МГСН 2.07-01. Обследование и мониторинг при строительстве и реконструкции зданий и подземных сооружений. - М.: Москомархитектура, 2004.

48. Пособие к МГСН 2.09-03. Защита от коррозии бетонных и железобетонных конструкций транспортных сооружений. - М.: Москомархитектура, 2004.

49. Пособие по химическому закреплению грунтов инъекцией в промышленном и гражданском строительстве (к СНиП 3.02.1-83). - М.: Стройиздат, 1986.

50. СТ СЭВ 2440-80. Защита от коррозии в строительстве. Конструкции бетонные и железобетонные. Классификация агрессивных сред.

51. Справочник проектировщика. Сложные основания и фундаменты. - М.: Издательство литературы по строительству, 1969.

52. Справочник проектировщика. Основания, фундаменты и подземные сооружения. - М.: Стройиздат, 1985.

53. Подземная урбанистика // Горная энциклопедия. - Т. 4. - М.: Советская энциклопедия, 1989.

54. Проектирование подпорных стен и стен подвалов. Справочное пособие к СНиП. - М.: Стройиздат, 1990.

55. Общие положения к техническим требованиям по проектированию жилых зданий высотой более 75 м. - М.: Москомархитектура, 2002.

56. НТД-89. Основания и фундаменты. Справочное пособие научно-технических достижений. - М.: ВНИИНТПИ, 1990.

57. Смородинов М.И., Федоров С.И. Устройство сооружений и фундаментов способом «стена в грунте». - М.: Стройиздат, 1986.

58. Азаренкова З.В. Высокоскоростные пригородные сообщения. - М.: Стройиздат, 2003.

59. Голубев Г.Е. Подземная урбанистика. - М.: Стройиздат, 1979.

60. Голубев Г.Е. Многоуровневые транспортные услуги. - М.: Стройиздат, 1981.

61. Голубев Г.Е. Автомобильные стоянки и гаражи в застройке городов. - М.: Стройиздат, 1983.

62. Колемен Я., Вайда З. Город под землей (пер. с венгерского). - М.: Стройиздат, 1985.

63. Меркин В.Е., Маковский Л.В. Прогрессивный опыт и тенденции развития современного тоннелестроения. - М.: ТИМР, 1997.

64. Волков В.П., Наумов С.Н., Пирожкова А.Н., Храпов В.Г. Тоннели и метрополитены. - М.: Транспорт, 1975.

65. Маковский Л.В. Городские подземные транспортные сооружения. - М.: Стройиздат, 1985.

66. Маковский Л.В. Проектирование автодорожных и городских тоннелей. - М.: Транспорт, 1993.

67. Маковский Л.В., Лушников А.В. Эффективная технология строительства тоннелей мелкого заложения // Транспортное строительство. - 1984. - № 3. - с. 19 - 21.

68. Власов С.Н., Ходиш В.А., Черняховский С.Э. Применение экранов из труб при строительстве тоннелей // Транспортное строительство. - 1980. - № 5. - с. 51 - 53.

69. Самойлов В.П. Строительство городских тоннелей требует большого внимания (мировой опыт и проблемы развития специализированной техники) // Механизация строительства. - 1989. - № 8. - с. 15 - 17.

70. Самойлов В.П. Механизация строительства канализационных тоннелей и коллекторов // Подземное пространство мира. - 1995. - № 1. - с. 23 - 27.

71. Власов С.Н. Микропроходка - новое направление в коммунальном тоннелестроении // Метро. - 1993. - № 1. - с. 54 - 58.

72. Васюков П.А., Демешко Е.А., Кривошеев, Торгалов В.В. Опыт метростроения по сооружению тоннелей способом продавливания. - М.: Оргтрасстрой, 1978.

73. Левченко А.Н., Лернер В.Т., Петренко Е.В., Петренко И.Е. Организация освоения подземного пространства. Свершения и надежды. - М.: ТИМР, 2002.

74. Лернер В., Петренко Е.В. Систематизация и совершенствование технологий строительства подземных объектов. - М.: ТИМР, 1999.

75. Смородинов М.И. Строительство заглубленных сооружений. Справочное пособие. - М.: Стройиздат, 1993.

76. Шилин А.А., Зайцев М.В., Золотарев И.А., Ляпидевская О.Б. Гидроизоляция подземных и заглубленных сооружений при строительстве и ремонте. - Тверь: издательство «Русская торговая марка», 2003.

77. Шевяков В.П., Жолудов B.C. Защита от коррозии промышленных зданий и сооружений. - М.: Редакция газеты «Архитектура», 1995.

78. Абрамов С.К. Подземные дренажи в промышленном и гражданском строительстве. - М.: Издательство литературы по строительству, 1967.

79. Современные методы инженерных изысканий в строительстве. - М.: МГСУ, 2001.

80. Ильичев В.А., Коновалов П.А., Никифорова Н.С. Прогноз деформаций зданий вблизи котлованов в условиях тесной городской застройки Москвы // «ОФМГ». - 2004. - № 4. - с. 17 - 21.

81. Ильичев В.А. Геотехнические проблемы в подземном строительстве // «ОФМГ». - 2004. - № 4. - с. 2 - 4.

82. Ильичев В.А., Коновалов П.А., Никифорова Н.С. Исследование влияния строящихся заглубленных сооружений на деформации близрасположенных зданий // «ОФМГ». - 2002. - № 4.

83. Димитров Стефчо. Подземна урбанизирована среда (на болгарском языке). - София: Техника, 1984.

84. Ивахнюк В. Строительство и проектирование подземных и заглубленных сооружений. - М.: Ассоциация строительных Вузов, 1999.

85. Труды международной конференции «Подземный город: геотехника и архитектура». Россия, Санкт-Петербург: 8 - 10 сентября 1998.

86. Труды юбилейной научно-практической конференции «Подземное строительство России на рубеже XXI века. Итоги и перспективы». - М.: Тоннельная ассоциация России: 15 - 16 марта 2000 г.

87. Юркевич П., Чеканов П. Использование технологии «jet-grouting» на строительстве многофункционального комплекса «Царев сад» в Москве // Подземное пространство мира. - 2001. - № 5 - 6.

88. Петрухин В.П., Шулятьев О.А., Мозгачёва О.А. Мониторинг состояния зданий в процессе выполнения работ по компенсационному нагнетанию. - Санкт-Петербург: Труды международной конференции «Геотехника. Оценка состояния оснований и сооружений», 2001.

ПРИЛОЖЕНИЕ А

(рекомендуемое)

Оценка технического состояния зданий по внешним признакам

Категория состояния здания

Общие признаки, характеризующие состояние конструкций

Потребность в ремонте или усилении конструкций

Физический износ здания в целом, %

1

2

3

4

I

нормальное

Неисправность основных несущих конструкций (фундаментов, стен, перекрытий, перегородок, крыши, оконных и дверных заполнений, покрытий полов) и инженерного оборудования отсутствует или имеются незначительные неисправности, не препятствующие нормальной эксплуатации здания

Выполняются требования действующих норм проектной документации. Необходимость ремонтных работ отсутствует, нормальная эксплуатация обеспечивается техническим обслуживанием

До 10

II

удовлетворительное

Незначительные повреждения несущих и ограждающих конструкций. На отдельных участках имеются отдельные раковины, выбоины, волосяные трещины. Имеют место незначительные дефекты, связанные с неравномерной осадкой здания. Сдвигов и повреждений перекрытий, лестниц, сводов нет.

С учетом фактических свойств материалов удовлетворяются требования действующих норм, относящиеся к предельным состояниям I группы; требования норм II группы могут быть нарушены, но обеспечиваются нормальные условия эксплуатации. Требуется текущий ремонт с устранениями локальных повреждений без усиления конструкций

До 20

III

неудовлетворительное

Несущие и ограждающие конструкции (фундаменты, стены, перекрытия, перегородки) имеют значительные повреждения при ограниченном распространении. Смещение плит перекрытий на опорах не более 1/10 глубины заделки, но не более 2 см. Образование вертикальных трещин между продольными и поперечными стенами. Оконные и дверные заполнения, крыша, покрытия полов, инженерное оборудование, имеют значительные неисправности при массовом их распространении. Снижение несущей способности конструкций до 25 %

Нарушены требования действующих норм, но отсутствует опасность обрушения и угроза безопасности людей. Для обеспечения нормальной эксплуатации требуется капитальный ремонт с усилением и восстановлением несущей способности поврежденных конструкций. Эксплуатация здания возможна со значительными ограничениями

До 40

IV

предаварийное

Несущие и ограждающие конструкции здания (фундаменты, стены и перекрытия) имеют значительные повреждения при массовом их распространении. Развиты значительные сквозные трещины конструкций, в том числе от неравномерных деформаций. Смещение плит перекрытий на опорах более 1/10 глубины заделки. Снижение несущей способности конструкции до 40 - 50 %

Существующие повреждения свидетельствуют об опасности пребывания людей и возможности обрушения отдельных конструкций здания. Требуются немедленные страховочные мероприятия (разгрузка конструкций, устройство временной крепи и т.п.). Эксплуатация здания должна быть прекращена для проведения капитального ремонта (реконструкции) здания с восстановлением (усилением) поврежденных конструкций

До 70

V

аварийное

Несущие и ограждающие конструкции здания (фундаменты, стены и перекрытия) не способны выполнять заданные функции из-за высокой степени их повреждений. Снижение несущей способности конструкций свыше 40 - 50 %

Существующие повреждения свидетельствуют о необходимости эвакуации людей из здания и возможности его обрушения. Эксплуатация здания должна быть немедленно прекращена. Требуется проведение охранно-поддерживающих мероприятий. Необходимо проведение детального обследования конструкций о целесообразности выполнения капитального ремонта (реконструкции) или сноса здания

Свыше 70

ПРИЛОЖЕНИЕ Б

(рекомендуемое)

Определение дополнительных осадок зданий от влияния водопонижения или дренажа

1. Деформации оснований существующих зданий при временном или постоянном (дренаж) водопонижении вблизи них следует определять от влияния возникающих дополнительных эффективных напряжений в грунте, вызванных снятием взвешивающего действия воды.

2. Дополнительные эффективные напряжения в грунте σwдоп, кПа, определяют по формуле

σwдоп = (γ - γsb) · hw,                                                     (1)

где γ - удельный вес грунта, кН/м3;

γsb = (γs - γw)/(1 + e) - удельный вес грунта во взвешенном состоянии, кН/м3;

γs - удельный вес частиц грунта, кН/м3;

γw - удельный вес воды, кН/м3;

е - коэффициент пористости;

hw - понижение уровня подземных вод, м.

3. Дополнительную осадку определяют методом послойного суммирования по формуле

                                                 (2)

где β - безразмерный коэффициент, равный 0,8;

σwдоп - см. формулу (1);

hi, Ei - толщина, м, и модуль деформации, кПа, i-го слоя грунта;

n - число слоев грунта в пределах сжимаемой толщи.

3. За нижнюю границу сжимаемой толщи должна приниматься меньшая из двух величин - глубина кровли нижележащего водоупора или глубина, на которой величина дополнительных эффективных напряжений (включая напряжения от собственного веса существующих сооружений) равна 20 % величины вертикальных напряжений от собственного веса грунта.

ПРИЛОЖЕНИЕ В

(рекомендуемое)

Методы и аппаратура, применяемые при обследовании конструкций при мониторинге

Таблица В1

Ориентировочная оценка прочности бетона путем простукивания поверхности молотком

Результаты одного удара средней силы молотком массой 0,4 - 0,8 кг

Прочность бетона, МПа

Непосредственно по поверхности бетона

По зубилу, установленному «жалом» на бетон

На поверхности бетона остается слабый след, вокруг которого могут откалываться тонкие лещадки

Неглубокий след, лещадки не откалываются

Более 20

На поверхности бетона остается заметный след, вокруг которого могут откалываться тонкие лещадки

От поверхности бетона откалываются тонкие лещадки

20 ... 10

Бетон крошится и осыпается, при ударе по ребру откалываются большие куски

Зубило проникает в бетон на глубину до 5 мм, бетон крошится

10 ... 7

Остается глубокий след

Зубило забивается в бетон на глубину более 5 мм

Менее 7

Таблица В2

Ориентировочная оценка прочности раствора швов кирпичной кладки

Марка раствора

Характерные признаки повреждения раствора шва при испытании лезвием ножа

0 - 2

Раствор легко рыхлится ножом, высыпается, выдувается

4 - 10

Раствор легко режется ножом

25

Раствор режется с трудом, крошится

50

Раствор крошится, но не режется

Более 50

На поверхности шва при движении лезвия ножа остается светлый или темный след

Таблица В3

Методы и аппаратура неразрушающего контроля строительных конструкций

№ пп.

Методы

Аппаратура

Диапазон измерений

Область применения

1

2

3

4

5

1

Упругого отскока и пластической деформации

Приборы типа КМ, ОМШ, приборы ЦНИИСК, молотки Шмидта (модели N, NR, ND, L, LR, LB, М, Р, РТ, РМ) и др.

10 - 70 МПа

Определение прочности бетона

2

Ударного импульса

DIGISchmidt, ОНИКС-2-3, ИПС-МГУ и др.

2 - 100 МПа

Определение прочности бетона, кирпича, штукатурки, композитов

3

Ультразвуковой метод

Бетон-22, УК-14ПМ, УК-1401, УФ-10П, А-1220, А-1230, УП-2М и др.

2 - 100 МПа

Определение прочности бетона и оценка трещиноватости изделий из бетона

То же

Ультразвуковой толщиномер А-1220

50 - 500 мм

Измерение толщины железобетонных изделий при одностороннем доступе к ним

То же

Ультразвуковой томограф А-1230

На глубину до 1 м

Для визуализации внутренней структуры железобетонных изделий при одностороннем доступе к ним. Позволяет обнаружить пустоты с объемом до 30 см3 и расслоения площадью до 10 см2

4

Магнитный метод и методы, основанные на электромагнитных излучениях

Приборы типа «ИЗС», «Поиск-2.3»

До 120 мм

Для определения толщины защитного слоя бетона и положения арматурных стержней в железобетонных изделиях, оценки диаметра арматуры

5

Электростатические, термоэлектрические и диэлектрические методы

Дефектоскоп вихретоковый ВДЛ-5М

Предельные размеры выявляемых трещин: глубина - 0,25 мм, ширина - 0,02 мм

Поиск микротрещин, выходящих на поверхность металлов в конструкциях, деталях, сварных швах

6

Методы контроля натяжения арматуры предварительно напряженных конструкций

Накладные динамометры и частотомеры ПРД-5, ПРД-У, ЭМИН-2, ЭМИН-3, ПИН, ДП-500, ДН-ЛИИЖТ, ИНА-3, ИНА-5П, ЭСИН-1Д, ИПН-6, ИПН-7, ИРД-У, ПИН

50 - 200 МПа

Для контроля при изготовлении предварительно напряженных конструкций

7

Методы измерения механических напряжений и колебаний

ИНК-2, ВИСТ-2

Напряжения: 50 - 200 МПа;

амплитуды колебаний (для частот 10 - 60 Гц): 0,01 - 3 мм;

виброскорости: 0,01 - 200 мм/с

Для определения механических напряжений в элементах стержневой, проволочной и прядевой арматуры преднапряженных железобетонных изделий и конструкций; параметров виброколебаний различного назначения

8

Методы измерения влагосодержания конструкций

Влагомер универсальный «ВИМС-

Диапазон измерений влажности:

бетон - 1 - 20 %;

кирпич - 1 - 15 %;

древесина - 2 - 60 %

Для измерения влагосодержания различных материалов: бетона, кирпича, песка, древесины, асфальта и др.

9

Методы многоканальных регистраторов тепловых процессов

Приборы: «Терем-1», «Терем-2», «Терем-2РРПК» и др.

0 - 100 °С

Измерение, регулирование, регистрация и просмотр информации от термодатчиков при исследованиях температурных полей, теплозащитных свойств конструкций и сооружений

ПРИЛОЖЕНИЕ Г

(рекомендуемое)

Современные методы и средства геофизических исследований при проведении мониторинга подземных сооружений и окружающей застройки

пп.

Методы

Аппаратура

Область применения и получаемые результаты

Вид съемки или измерений

1

2

3

4

5

1

Георадиолокационные исследования с использованием георадаров частотном диапазоне 16 - 2000 МГц)

Георадары «Гея», «Зонд» и «Геон» НИИП (ООО «Логис», г. Жуковский)

Установление геологического разреза, определение уровня подземных вод на глубинах от 0,5 до 30,0 м.

Площадная, линейная

Зонд-12

Фирма «Radar Inc» (г. Рига - республика Латвия)

Многоцелевого назначения

То же

«Грот»

ИЗМИРАН

Переносной радиолокатор подповерхностного зондирования для определения глубины и места залегания подземных неоднородностей, разнообразных предметов, пустот, коммуникаций, фундаментов, границ раздела геологических слоев

То же

То же

17 ГРЛЗП

НПП «Локас» НИИРТ)

Выявление, прослеживание и картирование подземных объектов, коммуникаций (трубы, кабели, тоннели), пустот, проведение инженерно-геофизических изысканий для строительства зданий и подземных сооружений и диагностирования их технического состояния

То же

«Эпос»

ИЗМИРАН

Радиолокатор большой мощности для подповерхностного зондирования на глубины 100 - 200 м, поиска различных неоднородностей, предметов и объектов

То же

SIR SVSTEM-200

(США)

Портативный цифровой радар для широкого круга задач геотехники, геологии, строительства и охраны окружающей среды

То же

Pulse EKKO-1000

Цифровой георадар нового поколения для обнаружения труб и кабелей, малоглубинной стратиграфии, построения изображения целых структур, неразрушающего тестирования

То же

НПГ-РА

Портативный геолокатор для обнаружения малоразмерных объектов, не содержащих металла, в приповерхностном слое грунта

То же

ГЕО-4

Многофункциональный прибор для подповерхностного зондирования на глубину 3 - 10 м (сверхширокополосный геолокатор)

То же

НПО «Геологоразведка»

Подземная георадиолокация в процессе проходки тоннелей для контроля состояния грунтов перед проходческим щитом

То же

2

Инженерная сейсморазведка

Многоканальные сейсморазведочные станции типа «Диоген», «Лакколит-24», «Бизон», «Дельта-Геон» и др.

Мониторинг состояния грунтов с определением характеристик грунтов по корреляционным зависимостям

То же

3

Метод высокочастотной электроразведки

Аппаратура типа «Навигатор» ООО «Геопроект»

Мониторинг состояния грунтов с оценкой их неоднородности, зон разуплотнения, выявлением пустот и провалов

То же

4

Радиоизотопный метод измерения плотности и влажности грунтов

Плотномеры ППГР-1, ВПГР-1, совмещенные влагоплотномеры типа ПИКА-15 и др.

Количественная оценка изменения плотности и влажности грунтов

Точечные измерения с любым интервалом по глубине

5

Методы сейсмоакустической эмиссии

Акустическая аппаратура для измерения эмиссии (спектроанализатор)

Мониторинг технического состояния наземных конструкций и фундаментов. Регистрация дефектов в конструкциях при их нагружении

Линейные измерения

6

Метод измерения уровней шумов от движения воды

Акустическая аппаратура для измерения уровня шумов при поисках разрыва трубопроводов (разработчик НПО «Спектр»)

Прослеживание водонесущих коммуникаций и обнаружение утечек, в том числе из теплосетей

Линейные измерения

7

Способ измерительных баз

Прибор «Эхо-1М»

Мониторинг технического состояния наземных и подземных конструкций. Определение приращений параметров дефектов в конструкциях. Определение длины забивных свай методом эхолокации

То же

8

Статическая и кинематическая геодезическая съемка в реальном времени с использованием спутниковой связи

Системы GHS, например, 4600 LS Suveyor, GPS-приемник 4800, Site Suveyor Si, GPS-приемники фирм «Garmin», «Ashtech» и др., спутниковые определители координат

Привязка наблюдений при мониторинге

Точечная или непрерывная с целью привязки сети геодезических измерений и контроля осадок поверхности грунта и подвижек сооружений

9

Способы, основанные на измерении мощности инфракрасного излучения

Аппаратура для измерения мощности инфракрасного излучения

Мониторинг состояния подземных сооружений и испытания конструкций. Определение напряженно-деформированного состояния несущих конструкций крепи горных выработок

Площадные измерения

10

Высокоточные способы измерений деформаций оснований и конструкций зданий и подземных сооружений с применением наклономеров и инклинометров

Прецизионный скважинный инклинометр НИ-3 и наклономерные датчики НИ-2 (разработчик ОИФЗ РАН)

Деформационный мониторинг состояния наземных и подземных конструкций, в том числе оседаний поверхности земли

Точечная или непрерывная система контроля вертикальных и горизонтальных деформаций

 

 




ГОСТЫ, СТРОИТЕЛЬНЫЕ и ТЕХНИЧЕСКИЕ НОРМАТИВЫ.
Некоммерческая онлайн система, содержащая все Российские Госты, национальные Стандарты и нормативы.
В Системе содержится более 150000 файлов нормативно-технической документации, действующей на территории РФ.
Система предназначена для широкого круга инженерно-технических специалистов.

Рейтинг@Mail.ru Яндекс цитирования

Copyright © www.gostrf.com, 2008 - 2026