Крупнейшая бесплатная информационно-справочная система онлайн доступа к полному собранию технических нормативно-правовых актов РФ. Огромная база технических нормативов (более 150 тысяч документов) и полное собрание национальных стандартов, аутентичное официальной базе Госстандарта. GOSTRF.com - это более 1 Терабайта бесплатной технической информации для всех пользователей интернета. Все электронные копии представленных здесь документов могут распространяться без каких-либо ограничений. Поощряется распространение информации с этого сайта на любых других ресурсах. Каждый человек имеет право на неограниченный доступ к этим документам! Каждый человек имеет право на знание требований, изложенных в данных нормативно-правовых актах!

  


 

Открытое акционерное общество

Проектно-конструкторский и технологический
институт промышленного строительства
ОАО ПКТИпромстрой

УТВЕРЖДАЮ

Генеральный директор, к.т.н.

____________ С.Ю. Едличка

«___» _____________ 2004 г.

ТЕХНОЛОГИЧЕСКАЯ КАРТА
НА РЕМОНТ МЕТАЛЛИЧЕСКИХ
КРОВЕЛЬ

75-04 ТК

Главный инженер

____________ А.В. Колобов

Начальник отдела

____________ Б.И. Бычковский

2004

Карта содержит организационно-технологические и технические решения по ремонту металлических кровель.

В технологической карте приведены: область применения, организация и технологическая последовательность выполнения работ, требования к качеству и приемке работ, калькуляция затрат труда, график производства работ, потребность в материально-технических ресурсах, решения по безопасности и охране труда и технико-экономические показатели.

Исходные данные и конструктивные решения, применительно к которым разработана карта, приняты с учетом требований строительных норм, правил и стандартов.

Технологическая карта является составной частью ППР и может использоваться при строительно-монтажных работах в составе ППР согласно СНиП 3.01.01-85* и предназначается для инженерно-технических работников строительных организаций, производителей работ, мастеров и бригадиров, связанных с ремонтом кровель, а также работников технического надзора заказчика.

В разработке технологической карты участвовали сотрудники ОАО ПКТИпромстрой:

- Михальчук И.Л. - разработка технологической карты, компьютерная обработка и графика;

- Черных В.В. - общее технологическое сопровождение;

- Холопов В.Н. - проверка технологической карты;

- Бычковский Б.И. - техническое руководство, корректура и нормоконтроль;

- Колобов А.В. - общее техническое руководство разработкой технологических карт;

- к.т.н. Едличка С.Ю. - общее руководство разработкой технологической документации.

Технологическая карта на ремонт металлических кровель выпускается впервые.

СОДЕРЖАНИЕ

1 ОБЛАСТЬ ПРИМЕНЕНИЯ

1.1 Технологическая карта предназначена для использования линейным производственным и инженерно-техническим персоналом ремонтно-строительных организаций при ремонте кровельных покрытий из листовой оцинкованной или черной кровельной стали общественных и жилых зданий, имеющих уклон от 30 до 60 % (16°  30°).

1.2 Технологическая карта составлена в соответствии с «Руководством по разработке технологических карт в строительстве».

1.3 Привязка технологической карты к местным условиям строительства заключается в уточнении объемов работ, средств механизации и потребности в материально-технических ресурсах и используется в составе ППР согласно СНиП 3.01.01-85*.

1.4 В состав работ данной карты не вошли работы по ремонту и замене стропильных конструкций кровли, ремонту и восстановлению водосточных труб и воронок.

1.5 Форма использования технологической карты предусматривает обращение ее в сфере информационных технологий с включением в базу данных по технологии и организации строительного производства автоматизированного рабочего места технолога строительного производства (АРМ ТСП), подрядчика и заказчика.

2 ОРГАНИЗАЦИЯ И ТЕХНОЛОГИЯ ВЫПОЛНЕНИЯ РАБОТ

2.1 Ремонт старых кровель из листовой стали подразделяется на два вида в зависимости от степени и характера их износа: капитальный и текущий.

К капитальному ремонту относится полная (или на больших участках крыши) смена кровельного покрытия, а также водосточных труб и линейных покрытий на фасадах здания.

Текущий ремонт включает частичную смену кровельного покрытия (небольшие участки или отдельные листы), постановку заплат, заделку свищей, смену негодных частей водосточных труб.

2.2 До начала ремонта металлической кровли должны быть выполнены организационно-подготовительные мероприятия в соответствии со СНиП 3.01.01-85* «Организация строительного производства», в т.ч. обследование строительных конструкций и обрешетки, организация площадок для складирования материалов от разборки, навесы над входами в здание и т.д.

2.3 Подготовительные работы при капитальном ремонте листовых кровель включают:

- разборку старого кровельного покрытия;

- проверку соблюдения проектных уклонов скатов кровли;

- проверку правильности устройства стропильных конструкций и обрешетки, их пригодности для дальнейшей эксплуатации, при необходимости выполнение ремонта;

- сортировку и проверку качества поставляемых металлических листов.

2.4 При разборке кровли сначала разгибают или срезают гребневые фальцы, затем разгибают лежачие. Снятую с крыши кровельную сталь тщательно сортируют. Годные для повторного использования листы обрезают ножницами, выправляют и очищают.

2.5 Основным материалом для капитального ремонта кровель является оцинкованная сталь.

2.6 Применение кровельной оцинкованной стали наиболее эффективно. Она меньше подвергается коррозии, срок службы ее значительно больше. Поверхность оцинкованной стали должна быть ровной, без пленок, пузырей, затеков, с плотной и равномерной оцинковкой.

2.7 Кроме листовой стали при капитальном ремонте кровли применяются:

- кровельные гвозди диаметром 3,5 - 4 мм, длиной 40 - 50 мм с крупной шляпкой для прибивки листов стали к обрешетке на карнизных свесах и крепления кляммер;

- строительные гвозди диаметром от 2,5 до 4 мм, длиной 50 - 100 мм для прибивки обрешетки, костылей и крючьев;

- кляммеры (изготавливаются из обрезков кровельной стали) для крепления кровельных листов к обрешетке;

- крючья (выполняются из полосовой стали толщиной 5 - 6 мм, шириной 16 - 25 мм и длиной 420 мм) для крепления надстенных желобов;

- костыли (выполняются из полосовой стали толщиной 5 - 6 мм, шириной 25 - 36 мм, длиной 450 мм) для поддержания карнизных свесов.

2.8 Любые крыши состоят из двух основных частей - несущей и ограждающей (собственно кровли). При деревянной несущей конструкции под кровлю из листовой стали и расстоянии между стропилами 1,2 - 2 м должна быть обрешетка из досок сечением 200´50 мм или брусков сечением 50´50 мм.

2.9 Бруски или доски располагают на расстоянии 200 мм друг от друга. При таком расположении элементов в обрешетке нога человека, идущего по скату крыши, будет всегда опираться на два бруска или доски, что предотвратит прогиб кровельного покрытия.

2.10 Обрешетка под кровлю из листовой стали должна быть ровной, прочной, жесткой, без выступов и углублений.

2.11 Для устройства карнизного свеса и надстенных желобов укладывают сплошной дощатый настил из обрезных досок шириной в 3 - 4 доски (700 мм). Лицевая доска карнизного свеса должна быть прямая и свешиваться с карниза на одинаковую величину по всей своей длине.

Сплошной настил из обрезных досок устраивают также под разжелобками (на ширину до 500 мм в каждую сторону).

2.12 Вдоль конька кровли укладывают две сходящиеся кромками доски, которые служат для поддержания конькового стыка.

2.13 От правильного устройства обрешетки зависит долговечность кровли, так как даже незначительный прогиб листов на ней ослабляет плотность стыков (фальцев), что приводит к протечкам и разрушению покрытия.

2.14 Из общего объема работ по капитальному ремонту кровель примерно 50 % составляют монтажные работы, выполняемые непосредственно на кровле, т.е. в наиболее трудных условиях.

2.15 Кровельные монтажные работы включают следующие операции:

- покрытие карнизных свесов;

- укладку надстенных желобов;

- устройство рядового покрытия (покрытие скатов крыши);

- покрытие разжелобков.

2.16 Схема организации работ при капитальном ремонте металлической кровли представлена на рисунке 1.


 - рабочие места кровельщиков

1 - карнизный настил из досок; 2 - обрешетка; 3 - инвентарная площадка; 4 - металлическая подставка; 5 - картина рядового покрытия; 6 - картина надстенного желоба; 7 - граница опасной зоны от предметов, подающихся вблизи строящегося здания.

Рисунок 1 - Схема организации работ при ремонте металлической кровли.


Заготовленные заранее кровельные картины подаются на крышу при помощи подъемника, автомобильного крана в специальных контейнерах или вручную. Для приема их на крыше устанавливается инвентарная сборно-разборная площадка и легкая подставка для складирования листов, представленные на рисунке 2.

2.17 Установка карниза начинается с установки вдоль свеса костылей, предназначенных для поддержания картин карнизного свеса. Костыли прибивают к обрешетке через 700 мм друг от друга с выносом (свесом) Т-образной части от края обрешетки на 130 - 170 мм.

Все костыли должны быть уложены с одинаковым свесом, поэтому сначала прибивают два крайних костыля, причем один из гвоздей на каждом костыле забивают не полностью. Между этими гвоздями натягивают шнур, по которому определяют положения всех промежуточных костылей.

1 - инвентарная сборно-разборная площадка; 2 - металлическая подставка.

Рисунок 2 - Средства подмащивания.

2.18 Покрытие крыши листовой сталью производится из заранее заготовленных листов, называемых картинами.

Картины могут быть одинарными и двойными (из двух листов), соединенными по коротким сторонам. Последний способ более производителен, так как уменьшает затраты труда на соединение листов на крыше и позволяет применять укрупненные элементы кровельного покрытия, представленных на рисунке 3.

1 - картина двойная; 2 - картина одинарная.

Рисунок 3 - Кровельные картины.

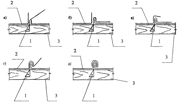
Заготовка картин заключается в отгибе кромок листа с четырех сторон для последующего соединения их на крыше фальцами согласно рисунку 4. Заготовка картин может производиться вручную или механизированным способом на фальцегибочных станках.

Гребневой одинарный

Гребневой двойной

Лежачий одинарный

Лежачий двойной

Рисунок 4 - Виды фальцев.

Кровельные листы обычно соединяют между собой по короткой стороне листа лежачими фальцами, а по длинной - стоячими (гребневыми). При покрытии скатов кровли гребневые фальцы располагаются по скату, а лежачие - поперек (параллельно коньку кровли), что не препятствует стоку воды со скатов. Фальцевые соединения могут быть одинарными и двойными.

Соединение листов для покрытия скатов кровли производится одинарными фальцами и лишь при малых уклонах крыш (около 16°) и в местах наибольшего скопления воды (желоба, разжелобки) - двойными.

Покрытие скатов кровли - одна из наиболее трудоемких операций при устройстве кровель из листовой стали.

В комплекс выполняемых на крыше работ по устройству рядового покрытия скатов наибольшие трудовые затраты приходятся на соединение картин гребневыми фальцами, так как протяженность последних в два раза больше протяженности лежачих фальцев, из которых половина выполняется в мастерской при заготовке картин.

Обычно соединение кровельных картин гребневым фальцем производится кровельщиками с помощью молотков или же молотка и бруса-отворотки согласно рисунку 5.

В последнее время предложены и применяются электрогребнегибочная машина и приспособления-гребнегибы, позволяющие выполнять работы без применения кровельных молотков.

Кровельными молотками

С помощью молотка и бруса-отворотки

С помощью электрогребнегибочной машины

Рисунок 5 - Соединение картин гребневым фальцем по фальцевым соединениям.

2.19 Заготовленные ранее и поданные на крышу карнизные картины укладывают поверх костылей по свесу крыши таким образом, чтобы край их, имеющий отворотную ленту, плотно огибал Т-образную выступающую часть костыля. Не загнутую кромку листов по противоположной стороне прибивают к обрешетке гвоздями с расстоянием между ними 400 - 500 мм. Шляпки гвоздей в дальнейшем закрывают надстенным желобом. Картины карнизного свеса соединяют между собой лежачими фальцами согласно рисунку 6.

1 - стропильная нога; 2 - обрешетка; 3 - карнизный настил из досок; 4 - картина карнизного свеса; 5 - костыль; 6 - лежачий фальц.

Рисунок 6 - Схема устройства карнизных свесов.

2.20 По окончании покрытия карнизных свесов производят укладку надстенных желобов. Обычно желоба располагают между водоприемными воронками с уклоном к ним от 1:20 до 1:10. Работы начинают с установки крючьев, которые размещают по линии, намеченной для укладки желобов и отбитой намеленным шнуром. Крючья ставятся поверх карнизных картин на расстоянии 650 мм один от другого. Крючья следует располагать перпендикулярно к линии настенных желобов и прибивать двумя или тремя гвоздями к обрешетке как показано на рисунке 7.


1 - стропильная нога; 2 - обрешетка; 3 - картина карнизного свеса; 4 - крюк для желоба; 5 - картина надстенного желоба; 6 - лоток.

Рисунок 7 - Схема укладки надстенных желобов.


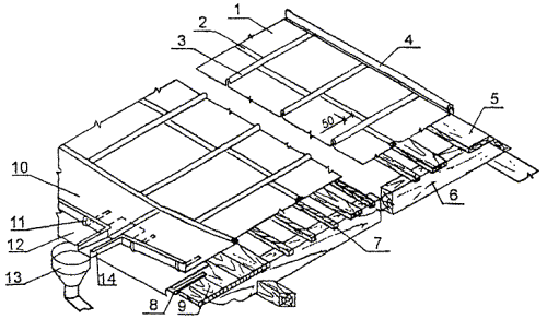
2.21 По окончании работ по укладке надстенных желобов производят покрытие скатов кровли. Картины рядового покрытия щипцовых крыш (двухскатная) обычно укладывают, начиная от щипцовой стенки (фронтона), а вальмовых (четырехскатных) - от края их коньков.

Картины раскладывают полосами по скату кровли в направлении от конька к желобу (рисунок 8). Картины в каждой полосе соединяют друг с другом лежачими фальцами. Таким способом укладывают несколько полос, которые временно прикрепляют у конька к обрешетке гвоздями (за край отогнутой кромки гребня).

Крепление фронтонного края рядовой полосы

Коньковый гребневой фальц

1 - картина в рядовой полосе; 2 - лежачий фальц; 3 - гребневой фальц; 4 - коньковый гребневой фальц; 5 - доска; 6 - стропильная нога; 7 - обрешетка; 8 - костыль;

9 - карнизный настил; 10 - картина надстенного желоба; 11 - крюк; 12 - картина карнизного свеса; 13 - воронка; 14 - лоток; 15 - фронтонная кляммера; 16 - гвоздь кровельный.

Рисунок 8 - Схема устройства кровли из листовой стали.

Фронтонный свес должен свисать с обрешетки на 40 - 50 мм. Крепление свеса выполняют концевыми кляммерами, устанавливаемыми через 200 - 400 мм, которые вместе с продольным отгибом рядовой полосы загибают в виде двойного стоячего фальца, представленного на рисунке 9.

2.22 Вдоль противоположного от фронтального свеса гребня собранной из картин полосы к боковой стороне обрешетки прибивают кляммеры на расстоянии 600 мм друг от друга. Затем собирают вторую полосу и укладывают ее таким образом, чтобы отогнутая большая кромка первой полосы примыкала к малой отогнутой кромке листов второй полосы. При этом поперечные соседние полосы сдвигают относительно друг друга на 40 - 50 мм, чтобы лежачие фальцы соседних картин были расположены вразбежку.

Фронтонные свесы монументальных зданий, а также строений, сооружаемых в районах со шквальными ветрами, следует крепить так же, как и карнизные свесы, т.е. на костылях с устройством отворотных лент с капельниками.

1 - кляммера; 2 - лист кровельной стали; 3 - обрешетка.

а - д - последовательность операций

Рисунок 9 - Схема соединения листов стоячим фальцем с креплением их кляммерой к обрешетке.

2.23 Укладку рядовых полос на скате проводят с выпуском 50 - 60 мм выше конька крыши для образования конькового гребня. Во избежание встречи на коньке двух гребневых фальцев противоположных скатов кровли их располагают вразбежку на взаимном расстоянии не менее 50 мм.

2.24 Соседние полосы картин сначала соединяют гребневым фальцем лишь у кляммер, при этом их плотно подтягивают к обрешетке, а затем на всем протяжении гребневого фальца.

2.25 Вслед за покрытием скатов кровли производят покрытие разжелобков от конька к свесу, схема устройства которых представлена на рисунке 10. Собранную в мастерской и поданную на крышу в свернутом виде полосу разжелобка развертывают и укладывают на место так, чтобы продольные кромки ее подходили под края рядового покрытия скатов, которые обрезают ручными ножницами по границам разжелобка. Затем края разжелобка соединяют с краями рядового покрытия лежачим фальцем, отогнутым в сторону разжелобка, с окончательным уплотнением фальцев киянкой.

1 - фальц лежачий; 2 - картина разжелобка; 3 - фальц гребневой; 4 - картина кровельная; 5 - нога стропильная; 6 - обрешетка; 7 - настил карнизный; 8 - костыль; 9 - картина карнизного свеса; 10 - крюк для желоба; 11 - картина надстенного желоба; 12 - хомут; 13 - воронка водоприемная.

Рисунок 10 - Схема устройства разжелобка.

2.26 После соединения с рядовым покрытием верхний конец разжелобка, примыкающий в коньку, обрезают по форме конька, а нижний, примыкающий к надстенному желобу - параллельно направлению желоба с оставлением кромки для фальца. Затем разжелобок соединяют с коньком гребневым фальцем и с настенным желобом - лежачим фальцем, отогнутым в сторону желоба (по направлению стока воды).

2.27 Фальцы, которыми соединены листы разжелобка между собой и с рядовым покрытием кровли, должны быть промазаны суриковой замазкой.

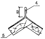
2.28 В целях лучшего отвода воды из-за дымовой трубы с верхней стороны трубы делают треугольную разделку (раскрышку) в виде двухскатной кровли из досок или брусков, прибиваемых к обрешетке и покрываемых листовой сталью. Вода, текущая со ската кровли, рассекается разделкой и стекает по скатам. Образованный отгибами кромок картин воротник должен плотно обхватывать ствол трубы и соединяться в углах на фальц. Схемы примыкания металлической кровли к дымовой трубе представлены на рисунке 11.

1 - разделка; 2 - выдра; 3 - обрешетка; 4 - воротник.

Рисунок 11 - Схемы примыкания кровли к дымовой трубе.

2.29 Как вариант обрамление труб может осуществляться воротником, который изготовляется по шаблону в виде П-образных половин, которые соединяют двойным фальцем внахлестку по стоку воды на крыше. Примыкание кровли к дымовой трубе устраивают путем заделки кромки покрытия в выдру.

2.30 Текущий ремонт выполняется следующим образом. Перед началом ремонта для обнаружения поврежденных мест кровлю осматривают одновременно с наружной стороны и с чердачного помещения. Осмотр чердака производится на просвет или на протечки в сильный дождь или после него.

Обнаруженные места повреждений кровли очерчивают мелом и наносят на схему крыши, где указывают размеры заменяемых участков кровли.

2.31 Снятие (разборка) поврежденных участков кровли производится на всю ширину листа (между смежными гребневыми фальцами). При постановке новых листов или картин сначала соединяют их со старым покрытием лежащими фальцами, а затем гребневыми с одновременным креплением кляммерами. При этом линия лежачих фальцев одной полосы не должна (как и в новом покрытии) совпадать с линией лежачих фальцев соседней полосы.

2.32 При небольших по площади поврежденных местах кровли на них ставят заплаты из кровельной стали. Для этого поврежденную часть листа вырубают зубилом по линиям обрешетки, чтобы новый стык располагался на жестком основании. Заплаты на кровле ставят на всю ширину листа (между гребневыми фальцами). Работы производят в той же последовательности, что при смене целых листов или картин.

2.33 При ремонте кровли иногда требуется частичная или сплошная смена надстенных желобов, карнизов или разжелобков, которые быстрее других разрушаются от ржавчины.

При смене желобов необходимо сначала убедиться в исправности покрытия карнизных свесов, в противном случае сначала надо сменить негодные части свесов, чтобы в последствии не пришлось снимать отремонтированные желоба.

2.34 Ремонт карнизных свесов заключается в замене поврежденных участков новыми или в выпрямлении погнутых частей. При смене поврежденных карнизных свесов сначала необходимо разобрать желоба и снять крючья. При смене желобов и разжелобков необходимо делать надставки к рядовому покрытию, так как использование старых лежачих фальцев рядового покрытия для соединения их картинами желоба или разжелобка не допускают.

2.35 Мелкий ремонт кровель из листовой стали предполагает устройство заплат. Свищи и пробоины до 5 мм очищают от грязи, ржавчины и непрочной окраски стальной щеткой и заделывают густой масляной суриковой замазкой снаружи и со стороны чердака, перекрывая поврежденное место на 20 - 30 мм.

При повреждениях размером 5 - 30 мм рваные края отверстий выправляют и очищают. Пробоину конопатят паклей, пропитанной густой суриковой краской. Очищенное место с законопаченным отверстием сверху промазывают суриковой замазкой, затем на него накладывают заплату размером больше поврежденного места на 80 - 100 мм из тонкой стеклоткани, пропитанной густой суриковой краской. Заплату тщательно разравнивают и прижимают к металлическому листу, следя за полной пропиткой стеклоткани и качеством приклеивания, особенно по периметру заплаты.

2.36 Ремонт кровель должен производиться в возможно короткие сроки. Длительные перерывы в работах не допускаются. К ремонту кровель разрешается приступать только после подготовки необходимых материалов.

2.37 К концу рабочей смены ремонтируемый участок должен быть покрыт новыми материалами. При этом должны быть приняты меры, исключающие возможность попадания атмосферных осадков в нижележащие слои покрытия.

2.38 В случае неблагоприятных метеорологических условий устранение дефектов, вызывающих протекание кровель, должно производится под пленками.

3 ТРЕБОВАНИЯ К КАЧЕСТВУ И ПРИЕМКЕ РАБОТ

3.1 Контроль качества работ по ремонту кровель должен осуществляться специальными службами, создаваемыми в строительной организации и оснащенными техническими средствами, обеспечивающими необходимую достоверность и полноту контроля.

3.2 Контроль качества работ должен включать входной контроль рабочей документации, конструкций, материалов и оборудования; операционный контроль выполнения отдельных операций при выполнении ремонта кровель и приемочный контроль выполненной кровли.

3.3 При входном контроле рабочей документации производится проверка ее комплектности и достаточности содержащейся в ней технической информации для производства работ.

При входном контроле строительных конструкций, изделий, материалов и оборудования проверяются внешним осмотром соответствия их требованиям стандартов или других нормативных документов и рабочей документации, а также наличие паспортов, сертификатов и других сопроводительных документов.

3.4 Операционный контроль осуществляется в ходе выполнения работ по ремонту кровли и обеспечивает своевременное выявление дефектов и принятие мер по их устранению и предупреждению.

Результаты операционного контроля фиксируется в журнале работ.

3.6 При приемке выполненных работ по кровле в местах примыканий проводится ее визуальное обследование.

3.7 В процессе подготовки и выполнения кровельных работ из листовой стали проверяют:

- качество поставляемых листов;

- готовность конструктивных элементов для выполнения кровельных работ;

- правильность выполнения всех примыканий к выступающим конструкциям.

3.8 Приемка кровли должна сопровождаться тщательным осмотром ее поверхности, особенно у водоотводящих лотков, в разжелобках и местах примыканий к выступающим конструкциям над крышей.

3.9 Выполненное из листовой стали кровельное покрытие должно удовлетворять следующим требованиям:

- иметь заданные уклоны;

- покрытие во всех соединениях должно быть плотным и водонепроницаемым, представлять собой поверхность без выпуклостей и впадин;

- листы кровельной стали должны прочно прикрепляться и плотно прилегать к обрешетке;

- при осмотре покрытия кровли с чердака не должно быть видно просветов;

- гребневые фальцы должны быть взаимно параллельными, одинаковыми по высоте и не иметь трещин.

3.10 Обнаруженные при осмотре кровли производственные дефекты должны быть исправлены до сдачи здания в эксплуатацию.

3.11 Приемка готовой кровли должна быть оформлена актом с оценкой качества работ.

3.12 При приемке выполненных работ подлежит освидетельствованию актами скрытых работ:

- примыкание кровли к выступающим частям вентшахт, дымовых труб, антенн, растяжек, стоек и т.п.;

- устройство кровли из листовой стали.

3.13 Требования к качеству и предметы контроля приведены в таблице 1.

Таблица 1 - Контроль качества выполнения операций

Код

Наименование процессов и конструкций, подлежащих контролю

Технические характеристики оценки качества

Предмет контроля

Способ контроля

Время проведения контроля

Ответственный за контроль

1

2

3

4

5

6

7

Подготовительные работы

1

Ремонт металлической кровли

Соответствие проекту

Расстояние между элементами обрешетки

Рулетка измерительная

В процессе работ

Мастер

2

 

Между контрольной рейкой и обрешеткой допускается просвет не более 5 мм

Ровность обрешетки

Контрольная рейка длиной 1 м

В процессе работ

Мастер

3

 

Геометрические размеры и качество покрытий металлических листов

Металлические листы

Визуально, рулетка измерительная

То же

То же

Кровля из металлических листов

4

 

Соответствие проекту

Покрытие во всех соединениях должно быть плотным и водонепроницаемым, ровным без выпуклостей и впадин. При осмотре покрытия кровли с чердака не должно быть видно просветов. Гребневые фальцы должны быть взаимно параллельными, одинаковыми по высоте и не иметь трещин

Визуально, рулетка измерительная

»

»

4 ТРЕБОВАНИЯ БЕЗОПАСНОСТИ И ОХРАНЫ ТРУДА, ЭКОЛОГИЧЕСКОЙ И ПОЖАРНОЙ БЕЗОПАСНОСТИ

4.1 Кровельные работы необходимо выполнять в соответствии с требованиями СНиП 12-03-2001 «Безопасность труда в строительстве. Часть 1. Общие требования», СНиП 12-04-2002 «Безопасность труда в строительстве. Часть 2. Строительное производство» и ГОСТ 12.3.040-86 «Строительство. Работы кровельные и гидроизоляционные. Требования безопасности».

4.2 К устройству кровельных работ допускаются лица не моложе 18 лет, имеющие профессиональные навыки, прошедшие медицинское освидетельствование и признанные годными, получившие знания по безопасным методам и приемам труда согласно ГОСТ 12.0.004-90 «ССБТ. Организация обучения безопасности труда. Общие положения», сдавшие экзамены квалификационной комиссии в установленном порядке и получившие соответствующие удостоверения.

Внеочередной инструктаж по технике безопасности проводится при переводе рабочих-кровельщиков с одного типа кровель на другой, при изменении условий производства работ, нарушений бригадой правил и инструкций по безопасности труда.

4.3 Допуск рабочих к выполнению кровельных работ разрешается только после осмотра прорабом или мастером совместно с бригадиром исправности и целостности несущих конструкций покрытий и ограждений.

4.4 Необходимо получить у мастера, руководителя работ инструктаж о безопасных методах, приемах и последовательности выполнения предстоящей работы.

4.5 Перед началом работы кровельщику необходимо подготовить рабочее место, убрать ненужные материалы, очистить все проходы от мусора и грязи.

4.6 Убедиться в надежности подмостей и лесов, а на плоской кровле - наличие временного ограждения. Проверить наличие ограждения места работы внизу здания, закрепление всех материалов на крыше.

4.7 При работе на скатах с уклоном более 20° и при отделке карнизов кровли с любым уклоном кровельщик обязан пользоваться предохранительным поясом и веревкой, прочно привязанной к устойчивым конструкциям здания. Места закрепления должен указать мастер или прораб.

4.8 Не допускается выполнение кровельных работ во время гололеда, тумана, исключающего видимость в пределах фронта работ, грозы и ветра со скоростью 15 м/с и более и при отсутствии наряд-допуска.

4.9 Руководители строительной организации своевременно оповещают специализированное подразделение, ведущее кровельные работы, о резких изменениях погоды (ураганном ветре, грозе, снегопаде и т.п.).

4.10 Все лица, находящиеся на строительной площадке, обязаны носить защитные каски.

4.11 Материалы на покрытие необходимо подавать в технологической последовательности, обеспечивающей безопасность работ. При подаче кровельных материалов на покрытие краном строповку грузов следует выполнять только инвентарными стропами. Элементы и детали кровель необходимо подавать на рабочее место в заготовленном виде. Заготовка этих элементов и деталей непосредственно на крышах не допускается.

4.12 Размещать материалы на крышах допускается только в местах, предусмотренных проектом производства работ, с принятием мер против их падения, в том числе от воздействия ветра.

4.13 Во время перерывов в работе технологические приспособления, инструмент и материалы должны быть закреплены или убраны с крыши.

4.14 К зонам постоянно действующих опасных производственных факторов относятся:

- кровельное скатное покрытие с углом наклона более 20°;

- участок подачи и приема кровельных материалов.

4.15 Зоной потенциально действующих опасных производственных факторов является участок территории строительной площадки, расположенной по периметру здания, на кровле которого ведутся работы.

4.16 Посторонним лицам запрещается находиться в рабочей зоне во время производства работ.

4.17 Для уменьшения скольжения ног по кровле во время работы кровельщики должны надевать резиновую обувь.

4.18 По всему периметру той части здания, на которой производят покрытие или ремонт кровли, на земле обозначают границу зоны опасной для нахождения людей. Граница опасной зоны определяется согласно приложению Г СНиП 12-03-2001. Границу опасной зоны обозначают сигнальным ограждением или сигнальными лентами, знаками, надписями, закрепленными на стойках.

4.19 Сбрасывать с кровли материал и инструмент запрещается. Во избежание падения с кровли на проходящих людей каких-либо предметов устанавливаются предохранительные козырьки над проходами, наружными дверьми. Зона возможного падения предметов ограждается, вывешивается плакат «Проход запрещен».

4.20 В отношении пожарной безопасности производство работ по ремонту металлических крыш должно быть организовано в соответствии с требованиями ППБ 01-03 «Правила пожарной безопасности в Российской Федерации».

4.21 Поднимать материалы следует преимущественно средствами механизации. Кровельные материалы при подъеме надо укладывать в специальную тару для предохранения от выпадения.

4.22 Подготовку, обрезку, выпрямление кровельных листов производить внизу в определенном месте на верстаке. Допускается выполнять эти работы в чердачном помещении при наличии достаточного освещения. Для резки стальных кровельных листов применять ножницы, имеющие специальные кольца или цапфы.

4.23 Элементы и детали кровли, в том числе компенсаторы в швах, защитные фартуки, сливы, свесы и т.п., следует подавать на рабочие места в заготовленном виде. Заготовка указанных элементов и деталей непосредственно на крыше не допускается.

4.24 Приемная площадка наверху по периметру должна иметь прочное ограждение высотой 1,2 м и бортовую доску высотой не менее 150 мм.

4.25 При возникновении на рабочих местах пожара необходимо тушить его с применением огнетушителей.

4.26 При несчастных случаях, происшедших в результате аварии, все операции по эвакуации пострадавших, оказание первой медицинской помощи, доставке (при необходимости) в лечебное учреждение выполняет кровельщик под руководством мастера (прораба).

5 ПОТРЕБНОСТЬ В МАТЕРИАЛЬНО-ТЕХНИЧЕСКИХ РЕСУРСАХ

5.1 Потребность в машинах, инструменте, инвентаре для ремонта металлических кровель определяется с учетом специфики выполняемых работ, назначения и технических характеристик в соответствии с таблицей 2.

Таблица 2 - Ведомость потребности в машинах, инструменте, инвентаре

№ п/п

Наименование

Тип, марка, ГОСТ

Техническая характеристика

Назначение

Кол-во на звено (бригаду)

1

2

3

4

5

6

1

Инвентарная сборно-разборная площадка

-

-

Прием контейнеров с кровельными картинами

1

2

Металлическая подставка

-

-

Складирование отдельных кровельных картин

1

3

Станок заготовительный

SPM 30/80

Ширина обработки металла 290 - 880 мм;

Для изготовления кровельных картин под фальцы

1

Толщина - 0,65 мм

4

Станок гибочный

МАРК IV

Длина гиба 2,0 - 4,4 м;

Для чистовой гибки различных элементов кровли из листовой стали

1

Толщина до 1 мм

5

Фальцоосадочный механизм

1003А

Высота шва 5 - 12 мм

Для осадки фальца

1

6

Закаточная машина

FK-1

Высота фальца 20 - 40 мм;

Загибание и уплотнение гребневых фальцев

1

Толщина - 0,6 мм

7

Машина ручная шлифовальная

WSA-2300

Диаметр диска 230 мм;

Для резки металла

1

Мощность 2,3 кВт;

Напряжение 220 В

8

Молоток кровельный

МКР-1

Масса 0,6 кг

Для загибания, уплотнения и выравнивания фальцев

2

МКР-2

Масса 0,8 кг

МКР-3

Масса 1,6 кг

9

Киянка прямоугольная

-

-

Для загибания гребней и фальцев

2

10

Инструмент для закрытия фальца

-

Толщина металла 0,8 мм;

Для соединения кровельных картин гребневыми фальцами

1

Производительность 60 м/час

11

Молоток-косяк

-

-

Для формирования фальцев

2

12

Брус-отворотка

-

Высота призмы 25 мм

Для формирования фальцев

1

13

Развертка для кровельных работ

-

-

Для вспомогательных операций

1

14

Клещи строительные

-

Масса 0,39 кг

Разные работы

1

15

Ручное устройство для изготовления кляммеров

FHS

-

Для изготовления кляммеров

1

16

Клещи кровельные прямые

-

-

Для поднятия стоячих гребней при устройстве стальной кровли

1

17

Ножницы ручные для резки металла

ТИП 1

Масса 0,7 кг;

Резка листовой стали

2

ГОСТ 7210-75*

длина 320 мм

18

Ножницы электрические

ИЭ-5407

Толщина разрезаемого металлического листа до 3,5 мм

То же

1

Масса 4,4 кг

19

Рамка ножовочная ручная с набором полотен

-

-

Для резки металла

1

20

Бородки слесарные с конической рабочей частью

ГОСТ 7214-72*

Диаметр 4 - 8 мм

Для пробивки, правки и центровки отверстий при обработке металла

2

21

Зубило слесарное

ГОСТ 7211-86*

Масса 0,1 - 0,2 кг

Рубка металла

2

22

Ножницы рычажные усиленные подрезные

-

-

Для вырубки и подрезания

1

23

Молоток строительный

МПЛ

-

Для забивки гвоздей

2

ГОСТ 11042-90

24

Топор плотничный

Тип А-I

-

Для рубки древесины

1

25

Лом-гвоздодер

ЛГ-24

-

Для выдергивания гвоздей

2

26

Ножовка по дереву широкая

-

Размер 450´115´50 мм

Для распиловки досок

1

27

Рашпиль плоский тупоносый

-

-

Для обработки металла

2

28

Напильник плоский тупоносый

-

-

Для обработки металла

2

29

Тиски параллельные

-

Длина губок 180 мм

Для правки, гибки, рубки металла

1

30

Настольный вертикально-сверлильный станок

2А112

-

Для сверления отверстий в металлических деталях

1

31

Ручная электрическая сверлильная машина

ИЭ-1032

-

Для сверления отверстий

1

32

Заточной станок

ИЭ-9703

-

Для заточки инструмента

1

33

Плоскогубцы комбинированные

ГОСТ 5547-93

Масса 0,23 кг

Разные работы

1

34

Угольник проверочный

ГОСТ 3749-77

Масса 0,89 кг

Проверка и разметка прямых углов

1

35

Штангенциркуль типа разметочный

ШЦ-IV-250

Масса 0,21 кг

Для измерения диаметров и толщин

1

36

Шнур разметочный в корпусе

-

-

Для разметки и проверки прямых линий

1

37

Циркуль разметочный

-

Размер 350´500 мм

Для разметки и раскроя материала

1

38

Линейка измерительная

ГОСТ 427-75*

-

Измерение линейных размеров

1

39

Рулетка измерительная металлическая

ГОСТ 7502-90

-

То же

1

40

Щетка стальная прямоугольная

-

-

Для очистки кровли

1

41

Пояс предохранительный

ГОСТ Р 50849-96*

Масса не более 2,1 кг

Техника безопасности

На бригаду

42

Каска строительная

ГОСТ 12.4.087-84

Масса 0,4 кг

То же

На бригаду

43

Рукавицы строительные

ГОСТ 12.4.010-75*

-

То же

То же

44

Комплект знаков по безопасности труда

ГОСТ Р 12.4.026-2001

-

То же

1

Таблица 3 - Ведомость потребности в материалах, изделиях, конструкциях

Измеритель конечной продукции - 100 м2

№ п/п

Наименование материалов, изделий

Исходные данные

Потребность на измеритель конечной продукции

 

Обоснование нормы расхода

Единица измерения

Норма расхода

 

1

Сталь оцинкованная листовая толщиной 0,7 мм

ГЭСН 2001-12

т

0,71

0,71

 

2

Пиломатериалы хвойных пород. Доски обрезные длиной 4 - 6,5 м, шириной 75 - 150 мм, толщиной 44 мм и более II сорта

м3

1,8

1,8

Раздел 12-01-007-09

3

Гвозди толевые круглые 3,0´40 мм

т

0,0072

0,0072

 

4

Поковки из квадратных заготовок массой 1,8 кг

т

0,073

0,073

 

5.2 Нормокомплекты включают средства технологического оснащения, с помощью которых обеспечивается выполнение практически всех технологических процессов и операций по обслуживанию и ремонту металлических кровель.

Средства механизации, инструмент и приспособления, предлагаемые в настоящих нормокомплектах, позволяют повысить качество и темпы работ по ремонту металлических кровель.

5.3 Нормокомплекты предназначены для выполнения бригадой (звеном исполнителей) технологических процессов и операций по ремонту металлических кровель.

6 ТЕХНИКО-ЭКОНОМИЧЕСКИЕ ПОКАЗАТЕЛИ

6.1 Технико-экономические показатели в технологической карте определены на ремонт металлической кровли площадью 100 м2 с частичной заменой обрешетки и полной заменой кровельного покрытия и карнизных свесов.

6.2 Калькуляция затрат на ремонт металлической кровли приведена в таблице 4.

6.3 Календарный график производства работ по ремонту кровли представлен в таблице 5.

6.4 На основании таблиц 4 и 5 определены основные технико-экономические показатели на измеритель конечной продукции:

Продолжительность работ на 100 м2 кровли, час.............................................................................................................................................. 29,1

Количество работающих в смену, чел.................................................................................................................................................... 5

Затраты труда, чел.-ч:

- на измеритель конечной продукции.............................................................................................................................................. 79,2

- на 1 м2 кровли.............................................................................................................................................. 0,79

Выработка на 1 рабочего в смену, м2 кровли................................................................................................................................................. 6,4

Таблица 4 - Калькуляция затрат труда и машинного времени на ремонт металлической кровли

Измеритель конечной продукции - 100 м2

№ п/п

Обоснование (ЕНиР и др. нормы)

Наименование технологических процессов

Ед. изм.

Объем работ

Норма времени

Затраты труда

рабочих, чел.-ч

машиниста, чел.-ч, (работа машин, маш.-ч)

рабочих, чел.-ч

машиниста, чел.-ч, (работа машин, маш.-ч)

1

Е-20-1-113, № 1

Разборка кровли

10 м2

10

0,63

-

6,3

-

2

Е20-1-104, № 16

Смена обрешетки*

1 м2

30

0,62

-

18,6

-

3

Е20-1-104, № 36

Смена карнизного настила из досок

1 м2

12,88

0,96

-

12,4

-

4

Е20-1-113, № 4

Заготовка картин для покрытия карнизных свесов, настенных желобов

10 м2

0,92

1,2

-

1,1

-

5

Е20-1-113, № 3

Заготовка картин для покрытия скатов

10 м2

9,1

1,0

-

9,1

-

6

Е1-5, № 1

Подача материалов на крышу

100 т

0,01

22,0

11,0 (11,0)

0,22

0,11 (0,11)

7

Е20-1-114, № 2

Смена карнизных свесов с надстенными желобами из кровельной стали

1 м

18,4

0,77

-

14,2

-

8

Е20-1-113, № 5

Покрытие кровли готовыми картинами

10 м2

9,1

1,9

-

17,3

-

ИТОГО:

79,2

0,11 (0,11)

* Объем работ по замене обрешетки принят в объеме 30 % от общей площади ремонта металлической кровли.


Таблица 5 - Календарный план производства работ по ремонту металлической кровли

Измеритель конечной продукции - 100 м2


7 Перечень использованной нормативно-технической литературы

1 СНиП 3.01.01-85* «Организация строительного производства»;

2 СНиП 3.04.01-87 «Изоляционные и отделочные покрытия»;

3 СНиП II-26-76 «Кровли»;

4 СНиП 12-03-2001 «Безопасность труда в строительстве. Часть 1. Общие требования»;

5 СНиП 12-04-2002 «Безопасность труда в строительстве. Часть 2. Строительное производство»;

6 ГОСТ 427-75* «Линейки измерительные металлические. Технические условия»;

7 ГОСТ 3749-77* «Угольники поверочные 90°. Технические условия»;

8 ГОСТ 5547-93 «Плоскогубцы комбинированные. Технические условия»;

9 ГОСТ 7210-75* «Ножницы ручные для резки металла. Технические условия»;

10 ГОСТ 7211-86* «Зубила слесарные. Технические условия»;

11 ГОСТ 7214-72* «Бородки слесарные. Технические условия»;

12 ГОСТ 7502-98 «Рулетки измерительные металлические. Технические условия»;

13 ГОСТ 11042-90 «Молотки стальные строительные. Технические условия»;

14 ГОСТ 12.4.010-75* «Система стандартов безопасности труда. Средства индивидуальной защиты. Рукавицы специальные. Технические условия»;

15 ГОСТ 12.4.087-84 «Строительство. Каски строительные. Технические условия»;

16 ГЭСН-2001-12 «Кровли»;

17 ЕНиР. Единые нормы и расценки на строительные, монтажные и ремонтно-строительные работы. Сборник Е1 «Внутрипостроечные транспортные работы»;

18 ЕНиР. Единые нормы и расценки на строительные, монтажные и ремонтно-строительные работы. Сборник Е20 «Ремонтно-строительные работы». Выпуск 1;

19 ППБ 01-03 «Правила пожарной безопасности в Российской Федерации»;

20 ПОТ РМ-016-2001 «Межотраслевые правила по охране труда (правила безопасности) при эксплуатации электроустановок»;

21 СП 12-135-2003 «Безопасность труда в строительстве. Отраслевые типовые инструкции по охране труда».

 




ГОСТЫ, СТРОИТЕЛЬНЫЕ и ТЕХНИЧЕСКИЕ НОРМАТИВЫ.
Некоммерческая онлайн система, содержащая все Российские Госты, национальные Стандарты и нормативы.
В Системе содержится более 150000 файлов нормативно-технической документации, действующей на территории РФ.
Система предназначена для широкого круга инженерно-технических специалистов.

Рейтинг@Mail.ru Яндекс цитирования

Copyright © www.gostrf.com, 2008 - 2026