Крупнейшая бесплатная информационно-справочная система онлайн доступа к полному собранию технических нормативно-правовых актов РФ. Огромная база технических нормативов (более 150 тысяч документов) и полное собрание национальных стандартов, аутентичное официальной базе Госстандарта. GOSTRF.com - это более 1 Терабайта бесплатной технической информации для всех пользователей интернета. Все электронные копии представленных здесь документов могут распространяться без каких-либо ограничений. Поощряется распространение информации с этого сайта на любых других ресурсах. Каждый человек имеет право на неограниченный доступ к этим документам! Каждый человек имеет право на знание требований, изложенных в данных нормативно-правовых актах!

  


 

Открытое акционерное общество

Проектно-конструкторский и технологический
институт промышленного строительства
ОАО ПКТИпромстрой

УТВЕРЖДАЮ

Генеральный директор, к.т.н.

____________ С.Ю. Едличка

«29» сентября 2004 г.

ТЕХНОЛОГИЧЕСКАЯ КАРТА
НА УСТРОЙСТВО ОКЛЕЕЧНОЙ ГИДРОИЗОЛЯЦИИ
ВЕРТИКАЛЬНЫХ БЕТОННЫХ ПОВЕРХНОСТЕЙ
ГИДРОИЗОЛОМ

97-04 ТК

Главный инженер

_________________ А.В. Колобов

Начальник отдела

_________________ Б.И. Бычковский

2004

Карта содержит организационно-технологические и технические решения на устройство оклеечной гидроизоляции вертикальных бетонных поверхностей с применением гидроизола, использование которого должно способствовать ускорению работ, снижению затрат труда и повышению качества гидроизоляции монолитных конструкций.

В технологической карте приведены: область применения, организация и технологическая последовательность выполнения работ, требования к качеству и приемке работ, калькуляция затрат труда, график производства работ, потребность в материально-технических ресурсах, решения по безопасности и охране труда и технико-экономические показатели.

Карта служит технологическим документом при производстве гидроизоляции подземных частей зданий и сооружений и предназначена для инженерно-технических работников строительных организаций, производителей работ, мастеров и бригадиров, связанных с выполнением гидроизоляционных работ монолитных бетонных и железобетонных конструкций, а также технических служб заказчика.

В разработке технологической карты участвовали сотрудники ОАО ПКТИпромстрой:

- Савина О.А. - разработка технологической карты, компьютерная обработка и графика;

- Аганина О.В. - разработка технологической карты, компьютерная обработка и графика;

- Черных В.В. - общее технологическое сопровождение;

- Бычковский Б.И. - разработка технологической карты, техническое руководство, корректура и нормоконтроль;

- Колобов А.В. - общее техническое руководство разработкой технологических карт;

- к.т.н. Едличка С.Ю. - общее руководство разработкой технологической документации.

Контактный телефон (095) 214-14-72.

Факс (095) 214-95-53.

Е-mail: pkti@co.ru

http://www.pkti.co.ru

СОДЕРЖАНИЕ

1 ОБЛАСТЬ ПРИМЕНЕНИЯ

1.1 Технологическая карта разработана на устройство оклеечной гидроизоляции вертикальных поверхностей подземной части бетонных и железобетонных конструкций строящихся и реконструируемых зданий от грунтовых вод с применением в качестве гидроизоляционного материала гидроизола по ГОСТ 7415-86*.

1.2 Технологическая карта, входящая согласно СНиП 3.01.01-85* в состав ППР, предназначена для инженерно-технического персонала (прорабов, мастеров) и рабочих строительных организаций, занятых на устройстве оклеечной гидроизоляции вертикальных поверхностей, сотрудников технадзора заказчика, осуществляющих надзорные функции за технологией и качеством выполнения работ, а также инженерно-технических работников строительных и проектно-технологических организаций.

1.3 При привязке карты к конкретным условиям уточняются объемы работ, калькуляция затрат труда, потребность в материально-технических ресурсах и продолжительность выполнения работ.

1.4 Форма использования технологической карты предусматривает обращение ее в сфере информационных технологий с включением в базу данных по технологии и организации строительного производства автоматизированного рабочего места технолога строительного производства (АРМ ТСП), подрядчика и заказчика.

2 ОРГАНИЗАЦИЯ И ТЕХНОЛОГИЯ ВЫПОЛНЕНИЯ РАБОТ

2.1 Гидроизоляция предназначена для защиты строительных конструкций от увлажнения грунтовыми водами.

В зданиях и сооружениях гидроизоляция обеспечивает их долговечность и нормальную эксплуатацию. В жилом доме изолируют наружные поверхности стен подвалов, фундаментов и других подземных конструкций, соприкасающихся с грунтом.

2.2 В зависимости от положения строительной конструкции гидроизоляция подразделяется на горизонтальную и вертикальную.

Вертикальная гидроизоляция укладывается на вертикальные или наклонные поверхности при угле наклона к горизонту более 25°.

2.3 Конструкция гидроизоляции должна выбираться в зависимости от гидростатического напора подземных вод на уровне пола наиболее заглубленного помещения, требований заданного режима влажности помещений, грунтовых условий (пески, глинистые грунты) и агрессивности окружающей грунтовой среды. Верхнюю границу гидроизоляции стен следует принимать на 0,5 м выше максимального прогнозируемого уровня подземных вод.

2.4 Для зданий с подвалами или подземными этажами выбор системы гидроизоляции следует делать на основании учета характера воздействия воды и ее уровня, режима, который должен быть в изолируемом помещении, и трещиноустойчивости изолируемых конструкций.

При сухих помещениях с уровнем подземных вод на 1 м выше пола помещения на наружной стене и под полом помещения требуется трехслойная оклеечная гидроизоляция из рулонных материалов. Могут быть использованы также эпоксидные и каменноугольные смолы.

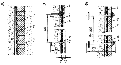
Состав гидроизоляционного слоя устанавливается рабочей документацией. Примерная конструктивная схема вертикальной гидроизоляции наружной стены подвального помещения представлена на рисунке 1. В качестве гидроизоляционного материала принят гидроизол марки ГИ-Г - безпокровный, биостойкий рулонный материал, полученный пропиткой асбестовой бумаги марки БГ-М нефтяными битумами. Гидроизол выпускается в рулонах шириной полотна (950 ± 5) мм общей площадью (20 ± 0,5) м2.

а - при устройстве кирпичной защитной стенки; б - при штукатурке по сетке; в - при устройстве защиты из железобетонных плит;

1 - выравнивающая штукатурка; 2 - гидроизоляционный слой из нескольких слоев рулонного материала; 3 - кирпичная защитная стенка; 4 - цементная штукатурка по металлической сетке; 5 - железобетонные плиты; 6 - асфальтометаллические шайбы розетки; 7 - анкерный болт

Рисунок 1 - Конструкция гидроизоляции стен из гидроизола

2.5 Рулоны гидроизола марки ГИ-Г должны храниться в сухом закрытом помещении в вертикальном положении не более чем в два яруса по высоте на расстоянии не менее 1 м от нагревательных приборов. При хранении рулонов в контейнерах число их рядов по вертикали не ограничено и определяется требованиями безопасности.

2.6 При устройстве оклеечной гидроизоляции следует применять горячие битумные мастики с температурой размягчения от 54 до 74 °С: в холодное время года с низкими температурами размягчения, а в летнее время - мастики с повышенной температурой размягчения.

2.7 Гидроизоляция вертикальных поверхностей состоит из трех этапов, выполняемых в следующей последовательности:

- подготовка поверхности под изоляцию;

- изоляция поверхности;

- устройство защитного слоя (или ограждения) в виде прижимной стенки из кирпича или другого типа (по проекту).

2.8 Поверхности, подготавливаемые под изоляцию, и выступающие детали (болты и др.) должны быть сухими, чистыми и огрунтованными.

При подготовке поверхностей под изоляцию с использованием гидроизола следует выполнить следующие работы:

- заделать швы между сборными железобетонными плитами наружных стен цементно-песчаным раствором или бетоном (при отсутствии указаний в проекте - раствором марки не ниже 100 или бетоном класса не ниже В7,5);

- выровнять поверхности оснований из сборных железобетонных плит путем затирки цементным раствором (при отсутствии указаний в проекте - марки не ниже 50) слоем толщиной до 5 мм или песчаным асфальтобетоном слоем толщиной до 10 мм;

- оштукатурить участки вертикальных поверхностей каменных конструкций (стен, шахт, труб и др.) на высоту примыкания ковра изоляции;

- закрепить пересекающиеся плоскости пола и стен (углы) радиусом 15 - 20 см или притупить, т.е. выполнить в виде наклонных бортиков под углом 45° высотой не менее 100 мм;

- предусмотреть при устройстве стяжек в них температурные усадочные швы;

- установить устройства для крепления ковра на вертикальных и наклонных поверхностях, оклеиваемых рулонными материалами;

- установить и закрепить закладные элементы для подвески водосточных труб.

2.9 Перед началом производства гидроизоляционных работ поверхности выравнивают, очищают и сушат. Места сопряжения, примыканий и швов заделывают в соответствии с рабочими чертежами. С поверхности срубают наплывы бетона и раствора, выступающую арматуру. Раковины и углубления заделывают цементным или полимерным раствором. Для выравнивания поверхности применяют машинки для скалывания бетона, шлифовальные и пескоструйные машины. Кирпичную кладку можно выравнивать путем устройства цементно-песчаной стяжки. Перед нанесением гидроизоляции поверхность очищают от пыли и мусора сжатым воздухом от компрессора, высушивают в естественных условиях или сушильными установками. В зимнее время поверхности под изоляцию с применением рулонных материалов должны быть после очистки просушены до 5 % влажности и прогреты до температуры не ниже 5 °С. При невозможности просушки этих поверхностей естественным путем может понадобиться дополнительная операция сушки поверхности огневыми форсунками, инфракрасными излучателями или теплым воздухом, а также допускается, как исключение, укладка изоляции по дополнительно нанесенному слою мастики с температурой 5 °С.

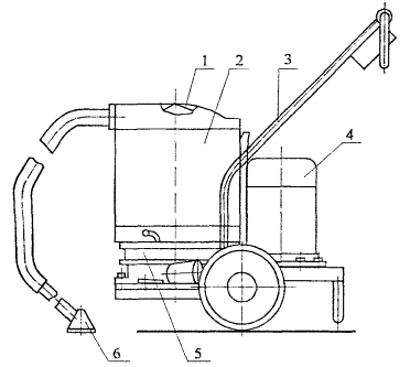
2.10 Для удаления влаги с изолируемой поверхности используют машину СО-16А, представленную на рисунке 1.

1 - крышка;

2 - водосборный бак;

3 - ручка;

4 - электрооборудование;

5 - воздуходувка;

6 - насадка

Рисунок 2 - Машина СО-106А для удаления влаги с изолируемой поверхности

Технические характеристики машины СО-106А

Производительность, л/мин                                                         20

Вместимость бака, л                                                                     20

Мощность электродвигателя, кВт                                               2,2

Габаритные размеры (длина×ширина×высота), мм                  910×595×610

Масса, кг                                                                                        60

2.11 В тех случаях, когда с помощью водоотвода, откачки воды из приямков или водопонижения не удается предотвратить фильтрацию грунтовых вод через изолируемые поверхности, или при плохом качестве поверхностей для выравнивания под оклеечную гидроизоляцию следует оштукатурить цементно-песчаным раствором состава 1:2 без добавок, приготовленным на водонепроницаемом безусадочном цементе, или цементно-песчаным раствором состава 1:2, содержащим одну из следующих добавок:

- жидкое стекло в количестве 10 - 12 % от массы цемента;

- глиноземистый цемент 10 - 15 % от общей массы смеси;

- алюминат натрия 2 - 3 % от массы воды затворения.

После нанесения штукатурного слоя производится огрунтовка поверхности разжиженным битумом в соответствии 1:2 при расходе до 0,2 кг/м2 изолируемой поверхности. Грунтовку или битумный лак следует наносить на поверхность непрерывным слоем пистолетом-распылителем или пневмофорсункой, а при малых объемах - кистью. В случае необходимости лак разбавляют до необходимой вязкости нефрасом.

Грунтовка должна быть высушена до полного испарения летучего растворителя. Интервал времени между грунтовкой поверхности и нанесением основных слоев гидроизоляции должен составлять в зависимости от температуры воздуха не менее 4 ч, что необходимо для полного испарения растворителя, и не более 16 ч во избежание запыления поверхности.

2.12 Изолируемые поверхности должны быть ровными, без раковин, выступающих щебенок и т.п.

Поверхность считается ровной, если при проверке трехметровой контрольной рейкой просвет под ней не превышает 5 мм в направлении вдоль уклона и 10 мм на вертикальной поверхности в направлении поперек уклона. Просветы допускаются только плавного очертания и не более одного на протяжении 1 м.

Основание до устройства гидроизоляции должно набрать прочность не менее 5 МПа.

2.13 Металлические сетки и каркасы, применяемые для укрепления изоляции, перед установкой очищают от ржавчины, обдувают сжатым воздухом, промывают водой, устанавливают по месту, натягивают и прикрепляют к анкерам, выпускам арматуры или штырям, заделанным в изолируемую поверхность.

2.14 Поверхности оборудования и трубопроводов и крепежные элементы, подлежащие изоляции, должны быть очищены, а обработанные ранее хладагентом освобождены от последнего до начала изоляционных работ. Каналы, в которых проложены трубопроводы, до начала изоляционных работ должны быть очищены от земли, мусора, снега и просушены.

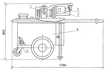
2.15 Применяемые для устройства гидроизоляции рулоны гидроизола непосредственно перед употреблением должны быть предварительно раскатаны, перевернуты и сложены один на другой в перевернутом виде. Для удаления посыпки из мелкого песка поверхность полотна должна быть протерта ветошью. После этого полотна должны быть вновь намотаны на трубчатый сердечник. Для удаления посыпки и перемотки можно также использовать машину СО-98, показанную на рисунке 3.

1 - пылеулавливающий агрегат; 2 - очистные барабаны; 3 - бункер для сбора крошки и пыли; 4 - электродвигатель.

Рисунок 3 - Машина СО-98 для очистки и перемотки рулонных изоляционных материалов

Технические характеристики машины СО-98

Производительность, м/ч                                                            600

Скорость подачи материала, м/с                                                0,7

Мощность электродвигателя, кВт                                              2,2

Габаритные размеры (длина×ширина×высота), мм                 1195×1200×1440

Масса, кг                                                                                       270

Охлажденные рулонные материалы, изготовленные на органических вяжущих, должны быть предварительно отогреты до температуры не ниже +15 °С в течение не менее 20 ч и перемотаны.

К месту укладки рулоны гидроизола следует доставлять в утепленной таре.

2.16 Мастика для приклеивания слоев гидроизоляционного покрытия должна приготавливаться централизованно и доставляться в автогудронаторах. При небольших объемах гидроизоляционных работ допускается приготовление мастики непосредственно на строительной площадке.

2.17 Битумную мастику доставляют к рабочим местам, как правило, по битумопроводу или при помощи грузоподъемных машин. При необходимости перемещения горячего битума на рабочих местах вручную следует применять металлические бачки, имеющие форму усеченного конуса, обращенного широкой частью вниз, с плотно закрывающимися крышками и запорными устройствами. Не допускается использовать битумные мастики температурой выше 180 °С.

2.18 При устройстве рулонных покрытий необходимо соблюдать следующие требования:

- толщина приклеивающих слоев из горячих битумных мастик не должна превышать 2 мм;

- приклеиваемые полотнища следует прикатывать катком или валиком от середины к краям;

- полотнища в местах их перекрытия необходимо пригладить шпателем особо тщательно;

- при механизированном способе наклейки рулонных материалов мастику наносят на основание или на раскатываемое полотнище.

2.19 На участке гидроизоляционных работ должно быть выделено место для дощатого настила, используемого для раскроя и покрытия мастикой рулонных материалов.

Рулонные материалы для удобства приклеивания должны раскраиваться (разрезаться) на полотнища по месту их приклейки, кромки полотнищ должны быть ровными, без разрывов. Мастику наносят сначала по краям полотнища двумя продольными мазками, а затем мазками в промежутке между первыми согласно рисунку 4.

а - нанесение мастики

1 - 3 - очередность нанесения мастики

б - прижатие рулонного материала

1 - 3 - последовательность работы шпателем

Рисунок 4 - Порядок нанесения мастики и прижатия рулонного материала при его клейке

2.20 Вертикальные или наклонные более 25° изолируемые поверхности следует оклеивать в направлении снизу вверх заранее нарезанными кусками рулонного материала (полотнищами) длиной 1,5 - 2 м. Мастику наносят сначала на изолируемую поверхность, а затем на рулонный материал. При наклейке на вертикальную поверхность свернутое в рулон полотнище наклеивают, постепенно раскатывая рулон и нанося мастику в зазор между изолируемой поверхностью и полотнищем.

2.21 Оклеечная рулонная гидроизоляция должна наноситься на изолируемую поверхность путем послойного наклеивания полотнищ горячими битумными мастиками при толщине каждого слоя мастики 1 - 2 мм.

Горячую битумную мастику следует наносить механизированным способом (установками типов СО-100А, СО-122А и другими или же пистолетом-соплом насоса автогудронатора).

1 - насос; 2 - пульт управления; 3 - электродвигатель; 4 - бак; 5 - нагреватель

Рисунок 5 - Машина СО-122А для нанесения битумных мастик

Технические характеристики машины СО-122А

Вместимость бака, л                                                                    80

Производительность, м3/ч                                                           0,9

Давление нагнетания, МПа                                                        0,7

Толщина наносимого слоя, мм                                                   0,8 ... 1,0

Мощность электродвигателя, кВт                                              1,5

Масса, кг                                                                                       160

2.22 Наклеивать рулонные материалы на изолируемые поверхности необходимо с соблюдением следующих правил:

- рулонные материалы (полотнища) во всех слоях раскатывать в одном направлении, без перекрестного их расположения в смежных слоях;

- каждое последующее полотнище соединять внахлестку с предыдущим в продольных стыках на 10 см, а в поперечных - на 20 см;

- продольные и поперечные стыки полотнищ в смежных слоях располагать вразбежку на расстоянии один от другого не менее 30 см;

- наклеиваемые полотнища крепко прижимать (прикатывать) к изолируемой поверхности, обращая особое внимание на тщательность выполнения швов нахлестки.

Кромки в местах стыков и вся поверхность гидроизоляционного полотна должны тщательно уплотняться шпателем.

2.23 Соединение слоев гидроизоляционного покрытия отдельных частей сооружения (стен, перекрытия и т.д.) может производиться в вилку или вразбежку.

При соединении слоев гидроизоляции в вилку места нахлестки склеиваемых полотен в каждом слое располагаются одно под другим.

При соединении слоев гидроизоляции вразбежку оставляемые для стыкования концы полотен имеют разную длину, убывающие на 10 см от нижнего слоя к верхнему, а места нахлестки полотен в каждом слое располагаются со смещением на 10 см.

2.24 При перерывах в работе должны быть оставлены для стыкования концы полотнищ каждого слоя покрытия длиной не менее 30 см, защищенные от механических повреждений, загрязнения и увлажнения фартуками-отрезками рулонного материала на прочной основе, а в местах прохода - деревянными коробами и настилами.

При длительных перерывах в работе допускается проводить и другие защитные мероприятия, обеспечивающие сохранность концов полотнищ гидроизоляционного материала.

Фартуки должны быть наклеены одним концом на покрытие, а другим - на изолируемую поверхность. При устройстве фартуков из гидроизола их поверхность должна быть покрыта горячей битумной мастикой.

2.25 Последний слой рулонной гидроизоляции при отсутствии специальных указаний в проекте должен покрываться сплошным слоем горячей битумной мастики толщиной 2 мм.

2.26 По уложенной гидроизоляции для защиты сравнительно мягкого покрытия от механических повреждений должен быть нанесен защитный слой из цементно-песчаного раствора марки М 100. Защитный слой должен укладываться лишь на очищенное гидроизоляционное покрытие по сетке после отвердения предыдущего слоя. Кроме того, в качестве защитного слоя могут быть использованы кирпичная прижимная стенка либо стенка из железобетонных плиток.

2.27 В местах сопряжения с трубопроводами или футлярами в виде отрезка трубы для пропуска коммуникаций гидроизоляцию следует устраивать из рулонных материалов, наклеиваемых оплавлением покровного слоя пламенем газовоздушных пропановых горелок или на горячей битумной мастике.

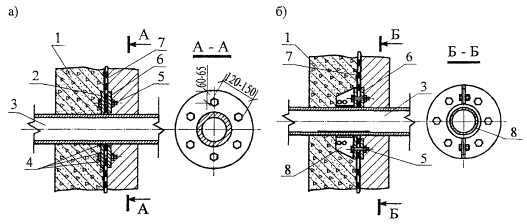
2.28 До устройства гидроизоляционного покрытия к проходящим через него металлическим трубам в плоскости бетонного основания должен быть приварен водонепроницаемым швом фланец шириной не менее 120 мм с приваренными к нему заранее таким же швом болтами, обращенными резьбой в сторону покрытия, как показано на рисунке 6а. Диаметр болтов (по соображениям коррозии) должен быть не менее 16 мм.

2.29 Перед наклейкой гидроизоляции сварные швы должны быть проверены на водонепроницаемость, а металлические части, в том числе болты и гайки, покрыты битумным лаком.

2.30 В местах сопряжения конструкция гидроизоляции должна усиливаться двумя-тремя слоями рулонного материала.

2.31 Гидроизоляция, должна быть водонепроницаемой и плотно запрессованной кольцевой накладкой, прибалчиваемой к фланцу. Запрессовывающие фланец и накладка должны иметь толщину не менее 10 мм и быть хорошо пригнанными и ровными. Кольцевая накладка должна быть таких же размеров, как и фланец, с отверстиями, расположенными напротив болтов фланца.

2.32 Сопряжение гидроизоляционного покрытия с чугунными трубопроводами должно осуществляться так же, как и со стальными, но вместо приваренного к трубе фланца на нее должен надеваться хомут с фланцем, как видно из рисунка 6б. Под хомутом с фланцем должен быть проложен замкнутый слой гидростеклоизола для герметизации зазора.

2.33 При пропуске через гидроизоляцию горячих труб они должны размещаться в кожухе из металлических труб. Пространство между кожухом и трубопроводом должно быть заполнено теплоизоляционным материалом и загерметизировано по специальному проекту.

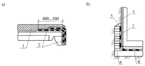
2.34 Сопряжения гидроизоляционного покрытия с закладными деталями усиливают: проклеивают армирующей тканью, заливают горячей мастикой. Примыкания разных по типу гидроизоляционных покрытий в углах сооружений также усиливают прокладками из металлических листов, сеток или тканей и заливают мастиками, как показано на рисунках 7 и 8. Деформационные швы тщательно уплотняют герметиками.

а - стальной трубопровод; б - чугунный трубопровод;

1 - стена подвала; 2 - фланец приварной; 3 - труба; 4 - водонепроницаемый сварной шов; 5 - болт; 6 - фланец накидной; 7 - гидроизоляция; 8 - хомут; 9 - прижимная стенка

Рисунок 6 - Сопряжение гидроизоляции с трубопроводом

а - сопряжение оклеечной изоляции с окрасочной; б - сопряжение оклеечной изоляции со штукатурной; в - сопряжение оклеечной изоляции с металлической;

1 - оклеечная изоляция; 2 - окрасочная изоляция; 3 - деревянная рейка; 4 - деревянная пробка; 5 - штукатурная изоляция; 6 - металлическая изоляция; 7 - анкерный болт; 8 - стеклоткань

Рисунок 7 - Сопряжения гидроизоляции на вертикальных поверхностях

а - сопряжение оклеечной гидроизоляции с асфальтовой; б - сопряжение оклеечной гидроизоляции с цементно-песчаной;

1 - асфальтовая изоляция; 2 - оклеечная изоляция; 3 - цементно-песчаная изоляция; 4 - кирпичная кладка; 5 - цементный раствор; 6 - цементная стяжка

Рисунок 8 - Сопряжения гидроизоляции на пересечениях горизонтальных поверхностей с вертикальными

Сопряжения гидроизоляции одного вида с гидроизоляцией другого вида осуществляется одним из следующих способов:

- для сопряжения окрасочной гидроизоляции с оклеечной все слои оклеечной гидроизоляции наклеивают на окрасочную на полосе шириной не менее 0,5 м и дополнительно наносят окрасочную гидроизоляцию на место сопряжения;

- для сопряжения асфальтовой гидроизоляции с оклеечной последнюю перекрывают асфальтовой гидроизоляцией на полосе шириной 0,3 - 0,4 м.

2.35 При наружной рулонной гидроизоляции подземной части сооружений концы полотнищ наклеивают на временную стенку высотой 1,2 - 1,5 м, установленную по периметру сооружения до возведения наружных стен сооружения, или на края временной бетонной подготовки, выступающие за периметр наружных стен на 0,5 - 0,6 м. После возведения наружных стен указанные временные устройства разбирают, а изоляцию наносят на наружные стены.

2.36 Оклеечную гидроизоляцию, выполняемую при температуре воздуха выше 25 °С, в процессе работ защищают от непосредственного воздействия источника тепла.

2.37 В зимнее время изоляционные работы с применением горячих органических вяжущих (битумов и дегтей) разрешается выполнять на открытом воздухе при температуре не ниже минус 20 °С.

3 ТРЕБОВАНИЯ К КАЧЕСТВУ И ПРИЕМКЕ РАБОТ

3.1 При производстве работ по устройству гидроизоляции вертикальных поверхностей подземной части зданий и сооружений необходимо вести строгий контроль качества применяемых материалов, соблюдения технологии выполнения работ и ухода за законченными покрытиями.

3.2 Контроль качества работ осуществляют на всех стадиях технологической цепи, начиная от разработки проекта и кончая его реализацией на объекте на основе ППР и технологических карт. Контролируемые параметры и средства контроля приведены в таблице 1.

Таблица 1 - Контролируемые параметры и средства контроля

№ п/п

Контролируемые параметры

Величина допустимых отклонений

Порядок контроля

Метод контроля

1

2

3

4

5

1

Отклонения поверхности основания под оклеечную гидроизоляцию на вертикальной поверхности

±10 мм

Измерительный, технический осмотр, не менее 5 измерений на каждые 70 - 100 м2 поверхности или на участке меньшей площади в местах, определяемых визуальным осмотром

Двухметровая рейка, металлическая линейка по ГОСТ 427-75*

2

Число неровностей (плавного очертания протяженностью не более 150 мм) на площади поверхности основания 4 м2

Не более 2

визуальный осмотр

 

3

Толщина грунтовки, мм:

 

Измерительный, технический осмотр, не менее 5 измерений на каждые 70 - 100 м2 поверхности или на участке меньшей площади в местах, определяемых визуальным осмотром

Толщиномер типа Н4

- при огрунтовке отвердевшей стяжки - 0,3

5 %

- при огрунтовке стяжек в течении 4 ч после нанесения раствора - 0,6

10 %

4

Влажность основания:

+0,5 %

Измерительный, технический осмотр, не менее 5 измерений равномерно на каждые 50 - 70 м2 основания, регистрационный

Влагомер ВКСМ-12М или подобного типа

5

Величина нахлеста полотнищ рулонных материалов

-10 мм

Измерительный технический осмотр, не менее 5 измерений на каждые 70 - 100 м2 поверхности или на участке меньшей площади в местах, определяемых визуальным осмотром

Металлическая линейка по ГОСТ 427-75* или рулетка по ГОСТ 7502-98

6

Качество поверхности гидроизоляции: наличие пузырей, вздутий, воздушных мешков, разрывов, вмятин, проколов, губчатого строения, потеков, наплывов, трещин

-

Визуальный, измерительный

Лупа типа «Мир»

7

Прочность сцепления с основанием и между собой гидроизоляционного ковра из рулонных материалов по сплошной мастичной клеящей прослойке эмульсионных составов с основанием

-

Измерительный, 5 измерений на 120 - 150 м2 поверхности покрытия, простукивание, акт приемки

Адгезиметр АМЦ 2-20

Приемке подлежат законченные элементы слоя гидроизоляции, выполненные в соответствии с проектом. Приемка каждого слоя гидроизоляции производится до устройства последующих работ.

3.3 Производственный контроль качества оклеечной гидроизоляции вертикальных поверхностей подземной части должен включать входной контроль рабочей документации, конструкций, изделий, материалов и оборудования, операционный контроль отдельных строительных процессов или производственных операций и приемочный контроль выполненных работ.

3.4 При входном контроле рабочей документации должна производиться проверка ее комплектности и достаточности содержащейся в ней технической информации для производства работ.

При входном контроле изделий и материалов, составляющих гидроизоляционное покрытие вертикальных поверхностей подвального помещения, следует проверять внешним осмотром их соответствие требованиям стандартов или других нормативных документов и рабочей документации, а также наличие и содержание паспортов, сертификатов и других сопроводительных документов.

3.5 Гидроизол, применяемый для гидроизоляции вертикальных бетонных и железобетонных поверхностей, должен отвечать требованиям ГОСТ 7415-86*, ГОСТ 30547-97 и техническим условиям. Качественные показатели гидроизола должны соответствовать требованиям, указанным в таблице 2.

Материалы после истечения установленного срока хранения перед применением подлежат контрольной проверке в строительной лаборатории.

Таблица 2 - Качественные показатели гидроизола

Наименование показателя

Норма для гидроизола марки ГИ-Г

1. Отношение массы пропиточного битума к массе абсолютно сухой асбестовой бумаги, не менее

0,56

2. Разрывная нагрузка при растяжении в продольном направлении, Н (кгс), не менее

350 (35)

3. Водопоглощение через 24 ч. %, не более

6

4. Разрывная нагрузка при растяжении водонасыщенной в течение 24 ч полоски гидроизола в продольном направлении, Н (кгс), не менее

270 (27)

5. Водонепроницаемость под давлением 0,05 МПа (0,5 атм), мин, не менее

15

6. Разрывная нагрузка при растяжении водонепроницаемой в течение 24 ч полоски гидроизола

30

7. Гибкость при температуре (18 ± 2) °С по числу двойных перегибов на 180° до появления сквозных трещин при температуре 291 К (18 °С) при изгибании по полуокружности стержня диаметром, мм

20

8. Температура хрупкости по Фраасу пропиточного битума, К (°С), не выше

258 (-15)

9. Температура размягчения пропиточного битума по методу «Кольцо и шар», К (°С)

320 - 328 (47 - 55)

Асбестовая основа гидроизола должна быть равномерно пропитана по всей толщине полотна. В надрыве гидроизол должен быть черным или черным с коричневым оттенком без светлых прослоек непропитанной основы и посторонних включений.

Поверхность гидроизола должна быть матовой и не должна иметь неровностей и бугорков высотой более 1 мм. Допускаются на поверхности гидроизола отдельные блестящие битумные пятна, посыпанные мелким песком, предотвращающим слипание полотна в рулоне. Величина зерен мелкозернистого кварцевого песка для посыпки гидроизола не должна превышать 0,63 мм.

Полотно гидроизола не должно иметь дыр, разрывов, складок. На кромках (краях) полотна гидроизола не допускается в одном рулоне более двух надрывов длиной 10 - 30 мм, надрывы длиной свыше 30 мм не допускаются, а надрывы длиной до 10 мм не нормируются.

Гидроизол гидроизоляционный марки ГИ-Г может быть аттестован по высшей категории качества. Гидроизол высшей категории качества должен отвечать дополнительным требованиям, указанным в ГОСТ 7415-86*:

- отношение массы пропиточного битума к массе абсолютно сухой асбестовой бумаги не должно быть менее 0,6;

- разрывная нагрузка гидроизола при растяжении в продольном направлении не должна быть менее 370 Н (37 кгс);

- разрывная нагрузка при растяжении водонасыщенной (в течение 24 ч) полоски гидроизола в продольном направлении не должна быть менее 290 Н (29,0 кгс);

- гидроизол должен быть водонепроницаемым в течение не менее 25 минут под давлением 0,05 МПа (0,5 атм);

- в партии гидроизола высшей категории качества не должно быть составных рулонов и рулонов со склеенной асбестовой бумагой.

Каждый рулон гидроизола должен быть обернут по всей ширине бумагой, масса 1 м2 которой должна быть не менее 120 г, или другой бумагой аналогичного качества.

Допускается применение других упаковочных материалов, обеспечивающих сохранность гидроизола при транспортировании и хранении.

Маркировка рулонов гидроизола должна производиться по ГОСТ 30547-97*. На этикетке должны быть указаны:

- наименование предприятия-изготовителя или его товарный знак;

- наименование материала и номер нормативного документа на конкретный вид материала;

- номер партии (или другое обозначение партии, принятое на заводе-изготовителе) и дата изготовления.

3.6 Каждая партия клеящих мастик снабжена инструкцией по применению и документом, в котором должно быть указано:

- наименование организации, в подчинении которой находится предприятие-изготовитель;

- наименование и адрес предприятия-изготовителя или его товарный знак;

- наименование материала;

- номер партии и дата изготовления;

- масса «нетто» упакованного места;

- результаты физико-механических испытаний;

- обозначение ГОСТ, ТУ.

Документ должен быть подписан лицом, ответственным за технический контроль предприятия-изготовителя.

3.7 Результаты входного контроля должны быть занесены в «Журнал входного учета и контроля качества получаемых деталей, материалов, конструкций и оборудования».

3.8 При операционном контроле надлежит проверять соответствие выполнения основных производственных операций по гидроизоляции требованиям, установленным строительными нормами и правилами, проектом конструкции гидроизоляции и другими нормативными документами.

Состав производственного контроля качества производства оклеечной гидроизоляции приведен в таблице 3.


Таблица 3 - Состав производственного контроля качества

Вид контроля (стадии)

Входной контроль

Операционный контроль

Приемочный контроль

Контролируемые операции

Качество применяемых материалов

Влажность основания

Ровность основания

Соответствие марок применяемых материалов проекту

Наличие и комплектность проекта производства работ

Наличие деформационных швов в основании

Обеспыливание основания

Покрытие основания грунтовкой

Наклейка дополнительных слоев в деформационных швах

Качество поверхности

Величина и качество нахлеста полотнищ рулонных материалов

Прочность сцепления

Качество поверхности

Прочность сцепления

Нахлест полотнищ рулонных материалов

Качество установки дополнительной изоляции в деформационных швах

Объем контроля

Сплошной и выборочный

Сплошной

Сплошной

Метод контроля

Инструментальный

Визуальный

Визуальный

Инструментальный и визуальный

Инструментальный и технический осмотр

Освидетельствование скрытых работ

 

Акт приемки

 

 

Акт на скрытые работы

Операции, контролируемые строительной лабораторией

+

+

 

 

+

 

+

 


3.9 При операционном контроле подготовленной под грунтовку поверхности подлежит проверке:

- степень ее отвердения, отсутствие отслоений, раковин и трещин, сцепление выравнивающего слоя с бетоном - осмотром и простукиванием;

- ровность - наложением на поверхность рейки в различных направлениях с замером линейкой просветов;

- правильность устройства закруглений внутренних и внешних углов в местах сопряжения поверхностей - наложением шаблона;

- чистоту и сухость поверхности - по отсутствию мусора, просачивания воды, мокрых пятен.

Сухость поверхности следует контролировать пробной наклейкой в разных местах кусков рулонного материала площадью около 1 м2 с последующим их отрывом после остывания мастики. Поверхность считается сухой, если рулонный материал нельзя оторвать без его разрыва.

3.10 При операционном контроле наклейки отдельных слоев гидроизоляции подлежат проверке:

- непрерывность слоя и правильность соединений полотнищ в стыках;

- отсутствие дефектов: воздушных и водяных пузырей, отслоений, складок, проколов, трещин, острых перегибов, переломов, оползаний, механических повреждений, а также просачивания воды - путем осмотра и простукивания изоляции легким деревянным молотком;

- правильность защиты концов гидроизоляционного покрытия, оставленных для наращивания;

- прочность приклейки рулонного материала в гидроизоляции.

Прочность приклейки гидроизола проверяют пробным отрывом у края. Приклейка считается прочной, если при отрыве разорвется материал или разрушится мастика.

3.11 Обнаруженные в гидроизоляции дефекты необходимо устранить.

Все места взятия проб из подготовленного под гидроизоляцию элемента (сооружения) или из готового покрытия необходимо тщательно заделать и перекрыть дополнительно. Особого внимания требуют различные швы, стыки, сопряжения как на гидроизолируемой поверхности, так и в гидроизоляционном покрытии.

3.12 После устранения всех дефектов необходимо составить акт на скрытые работы, разрешающий выполнять последующие работы по закрытию гидроизоляции другими конструктивными элементами. Составление актов освидетельствования скрытых работ в случаях, когда последующие работы должны начинаться после длительного перерыва, следует осуществлять непосредственно перед производством последующих работ.

3.13 Результаты операционного контроля должны быть зарегистрированы в журнале производства работ по устройству оклеечной гидроизоляции.

3.14 При приемочном контроле проверяют качество устройства гидроизоляции вертикальных поверхностей. Результаты производственного контроля качества работ должны заноситься в журнал производства работ.

3.15 Требования к качеству работ:

- места проколов и надрезов в гидроизоляционном слое должны быть тщательно заделаны;

- пузыри, вздутия и т.п. в гидроизоляционном слое не допускаются;

- отклонения гидроизоляции по толщине от проектной величины допускаются не более 10 %.

4 ТРЕБОВАНИЯ БЕЗОПАСНОСТИ И ОХРАНЫ ТРУДА, ЭКОЛОГИЧЕСКОЙ И ПОЖАРНОЙ БЕЗОПАСНОСТИ

4.1 Все вновь поступающие на стройку рабочие должны проходить как вводный инструктаж, так и первичный инструктаж на рабочем месте по безопасности и охране труда по работе с механизмами, инструментами и материалами. Инструктаж на рабочем месте проводит производитель работ или мастер с записью результатов инструктажа в «Журнале регистрации инструктажа на рабочем месте». Прошедшие вводный инструктаж заносятся в «Журнал регистрации вводного инструктажа по охране труда».

4.2 К устройству гидроизоляционных работ допускаются лица не моложе 18 лет, имеющие профессиональные навыки, прошедшие медицинское освидетельствование и признанные годными, получившие знания по безопасным методам и приемам труда согласно ГОСТ 12.0.004-90 «ССБТ. Организация обучения безопасности труда. Общие положения», сдавшие экзамены квалификационной комиссии в установленном порядке и получившие соответствующее удостоверение, а также имеющие квалификационную группу по электробезопасности (не ниже II для лиц, допускаемых к управлению оборудованием с электроприводом, и лиц, допускаемых к управлению ручными электрическими машинами).

4.3 В целях предупреждения и своевременного выявления профессиональных заболеваний или отравлений рабочие должны проходить предварительный и периодические медицинские осмотры.

4.4 Гидроизолировщики должны:

- быть обучены безопасным и прогрессивным приемам выполнения соответствующих операций технологического цикла;

- иметь наряд-допуск на производство этих работ, а до их начала быть проинструктированы по безопасности труда на рабочем месте;

- допускаться к работе с гидроизолом, который при температуре 433 - 453 К (160 - 180 °С) из битума выделяет тяжелые углеводороды и окись углерода, только после специального обучения и инструктажа о свойствах материалов и мерах пожарной безопасности.

4.5 Оборудование для гидроизоляции пола должно быть инвентарным и находиться в исправном состоянии.

4.6 Работы по нанесению грунтовочного состава и горячей битумной мастики должны проводиться только при использовании средств индивидуальной защиты кожных покровов.

4.7 При устройстве гидроизоляции наружной стены подземной части надлежит соблюдать следующие правила безопасности и охраны труда:

а) подогревание битумных составов производится в электрических бачках; запрещается применять приборы с открытым огнем;

б) напряжение подводящей электросети должно быть не более 42 В;

в) металлические бачки, предназначенные для подачи и перемещения горячего битума на рабочих местах, должны иметь форму усеченного конуса, обращенного широкой частью вниз, с плотно закрывающимися крышками и запорными устройствами;

г) рабочие, занятые на приготовлении горячей битумной мастики и ее нанесении на поверхность, обеспечиваются защитными очками, респираторами, резиновыми сапогами и защитной спецодеждой;

д) рабочие, занятые на переноске и применении разогретого битума, должны завязывать тесемкой концы рукавов поверх рукавиц, а концы брюк - поверх сапог.

4.8 Рабочие, выполняющие гидроизоляционные работы, обязаны знать:

- опасные и вредные для организма производственные факторы выполняемых работ;

- вредные вещества и компоненты используемых материалов и характер их воздействия на организм человека;

- правила личной гигиены;

- инструкции по технологии производства гидроизоляционных работ, содержанию рабочего места, по безопасности и охране труда, производственной санитарии, противопожарной безопасности;

- правила оказания первой медицинской помощи.

4.9 Для предупреждения пожаров необходимо строго соблюдать требования противопожарной безопасности согласно ППБ 01-03 «Правила пожарной безопасности в Российской Федерации» и регулярно проводить инструктаж работающих.

В случае загорания гидроизола или битума следует применять пенный огнетушитель, кошму, асбестовое полотно или специальные порошки. Битум категорически запрещается тушить водой.

4.10 В местах производства гидроизоляционных работ с применением битумных мастик запрещается:

- пользоваться открытым огнем;

- курить;

- производить работы, связанные с искрообразованием;

- пользоваться искрообразующим инструментом.

4.11 Для курения должны быть отведены специальные места, оборудованные урнами, бочками с водой, ящиками с песком.

4.12 Отходы необходимо до окончания работ удалять с объекта.

4.13 Порожнюю тару из-под легковоспламеняющихся жидкостей, мастик следует хранить отдельно от других материалов на специально отведенной площадке, удаленной от места работы не менее чем на 30 м.

4.14 Запас материалов на рабочем месте не должен превышать сменной потребности.

4.15 В складских помещениях с легковоспламеняющимися материалами нельзя пользоваться спичками, фонарями «летучая мышь» и тому подобными средствами.

Складские помещения для хранения гидроизоляционных материалов должны быть пожаробезопасными, сухими, хорошо проветриваемыми или вентилируемыми, достаточно освещенными, оснащенными противопожарным инвентарем, снабженными внутри и снаружи надписями «Огнеопасно».

4.16 Все электротехнические установки по окончании работ необходимо выключать, а кабели и провода обесточивать.

4.17 Места производства работ должны быть обеспечены первичными средствами пожаротушения - огнетушителями, бочками с водой, ящиками с песком, ломами, топорами, лопатами, баграми, ведрами.

4.18 Каждый рабочий должен знать свои обязанности при возникновении пожара и его тушении, уметь пользоваться средствами пожаротушения, быстро оповещать пожарную команду, пользуясь средствами связи.

4.19 Для соблюдения экологических норм необходимо предусмотреть емкость для воды, предназначенную для промывки инструмента и механизмов.

4.20 При устройстве гидроизоляции вертикальных бетонных и железобетонных поверхностей подземной части зданий и сооружений с применением гидроизола руководствоваться требованиями:

- СНиП 12-03-2001 «Безопасность труда в строительстве. Часть 1. Общие требования»;

- СНиП 12-04-2002 «Безопасность труда в строительстве. Часть 2. Строительное производство»;

- ГОСТ 12.0.004-90 «Организация обучения безопасности труда. Общие положения»;

- ГОСТ 12.3.009-76* «Работы погрузочно-разгрузочные. Общие требования безопасности».

- ПОТ РМ-016-2001 «Межотраслевые правила по охране труда (правила безопасности) при эксплуатации электроустановок», М., 2001 г.;

- ППБ 01-03 «Правила пожарной безопасности в Российской Федерации», МЧС России, М., 2003 г.;

- СП 12-135-2003 «Безопасность труда в строительстве. Отраслевые типовые инструкции по охране труда»;

- «Рекомендаций по организации работы службы охраны труда в организации».

5 ПОТРЕБНОСТЬ В МАТЕРИАЛЬНО-ТЕХНИЧЕСКИХ РЕСУРСАХ

5.1 Потребность в оборудовании, инструментах и приспособлениях приведена в таблице 4.

Таблица 4 - Ведомость потребности в оборудовании, инструментах и приспособлениях

№ п/п

Наименование

Марка, ГОСТ

Техническая характеристика

Назначение

Количество на звено, шт.

1

2

3

4

5

6

1

Машина для удаления воды с поверхности основания

СО-106А

Производительность, л/мин

20

Для удаления влаги с изолируемой поверхности

1

2

Машина для очистки и перемотки рулонных материалов

СО-98

Скорость подачи материалов, м/с

0,7

Для очистки и выравнивания рулонных материалов

1

3

Машина для нанесения битумных мастик

СО-122А

Производительность, м3

0,9

Транспортировка, поддерживание температуры, нанесение мастик

1

4

Пистолет-краскораспылитель

СО-72

Производительность, м2

600

Огрунтовка изолируемой поверхности

1

Масса, кг

1,3

5

Компрессор

СО-7А

Производительность, м3

28 - 30

Продувка изолируемой поверхности, нанесение грунтовки

1

Мощность, кВт

4

Масса, кг

140

6

Рейка трехметровая и линейка

ГОСТ 427-75*

 

 

Для проверки ровности поверхности

1

7

Термос

ТБ-1

Емкость, м3

2

Транспортировка горячих битумных мастик

1

Масса с битумом, кг

3450

8

Бачок для битумной мастики

ТУ 550-1-138-81

Вместимость бачка, л

28

Переноска горячего битума

2

Масса бачка, кг

8,6

9

Ковш для разливки мастики

КМ-2,5 ТУ 22-686-73

Вместимость, л

2,5

Разливка мастики

3

Масса, кг

1,9

10

Гребок для разравнивания мастики

КМ-2,5 ТУ 22-686-73

Длина, мм

1940

Разравнивание мастики

3

Ширина резиновой вставки, мм

300

Масса, кг

1,0

11

Щетка волосяная полотерная

 

Длина с ручкой, мм

1800

Нанесение битумных мастик и грунтовок

1

Ширина корпуса, мм

80

Масса, кг

0,6

12

Устройство для раскатки и прикатки рулонных материалов

СО-108А

Производительность, м2

400

Раскатка и прикатка рулонных материалов при оклеечной гидроизоляции

1

Масса, кг

40

13

Термометр технический

ГОСТ 28498-90

 

Измерение температуры битума

2

14

Толщинометр

Н4

 

Измерение толщины грунтовки

1

15

Влагомер

ВКСМ-12М

 

Измерение влажности основания

1

16

Адгезиметр

АМЦ2-20

 

Для измерения прочности сцепления с основанием и между собой слоев гидроизоляции

1

17

Рулетка в закрытом корпусе

РЗ-20

 

 

 

ГОСТ 7502-98

18

Тележка

 

 

Для перевозки рулонных материалов и мастик

1

19

Тележка с термосом

 

 

Для перевозки горячего битума

2

20

Каски строительные

ГОСТ 12.4.087-84

 

Для защиты головы работающих

7

21

Очки защитные

 

 

Для защиты глаз

7

22

Комбинезон

ГОСТ 12.4.100-80*

 

Для защиты работающих

7

23

Респиратор

ГОСТ 17269-71*

 

Для защиты органов дыхания

7

22

Сапоги резиновые

ГОСТ 12.4.072-79*

 

Для защиты ног работающих

7

24

Рукавицы

Тип Г

 

Для защиты рук работающих

7

ГОСТ 12.4.010-75*

6 ТЕХНИКО-ЭКОНОМИЧЕСКИЕ ПОКАЗАТЕЛИ

6.1 В качестве единицы измерения для составления калькуляции затрат труда и машинного времени и календарного плана производства работ принято 100 м2 гидроизоляционного покрытия вертикальных бетонных и железобетонных поверхностей.

6.2 Затраты труда и машинного времени на устройство оклеечной гидроизоляции вертикальных поверхностей с использованием гидроизола подсчитаны по «Единым нормам и расценкам на строительные, монтажные и ремонтно-строительные работы», введенным в действие в 1987 г., и представлены в таблице 5.

6.3 Продолжительность работ на устройство гидроизоляции вертикальных поверхностей определяется календарным планом работ, представленным в таблице 6.

Таблица 5 - Калькуляция затрат труда на устройство вертикальной гидроизоляции стен с применением гидроизола

Измеритель конечной продукции - 100 м2 поверхности

№ п/п

Обоснование (ЕНиР и др. нормы)

Наименование технологических процессов

Ед. изм.

Объем работ

Нормы времени

Затраты труда

рабочих, чел.-ч

машиниста, чел.-ч, (работа машин, маш.-ч.)

рабочих, чел.-ч.

машинистов, чел.-ч (работа машин, маш.-ч)

1

2

3

4

5

6

7

8

9

1

Е 11-74е

Очистка поверхности от пыли, грязи, наплывов раствора электрощетками

100 м2

1

0,78

-

0,78

-

2

Е 8-1-5 Табл. 2 № 1б

Штукатурное выравнивание отдельных мест вертикальных бетонных поверхностей

100 м2

0,3

55,0

-

16,5

-

3

Е 8-1-5 Табл. 2 № 3б

Штукатурное выравнивание мест прохода труб в вертикальных стенах

100 мест

0,1

9,4

-

0,94

-

4

Е 8-11 № 73 (применительно)

Установка колец из проволоки для крепления изоляции

100 колец

1

4,4

-

4,4

-

5

Е 11-40 Табл. 1 № 6а

Оклейка вертикальной поверхности трехслойным гидроизоляционным ковром на горячем битуме

1-й слой

100 м2

1

19,0

-

19,0

-

6

Е 11-40 Табл. 1 № 6а К = 0,9

2-й слой

19,0

17,1

7

Е 11-40 Табл. 1 № 6а К = 0,9

3-й слой

19,0

17,1

8

Е 8-1-1 Табл. 3 № 1а

Крепление штукатурной сетки с устройством защитной цементной стяжки толщиной 3 см по гидроизоляционному слою

м2

100

0,49

-

49

-

10

Е 1-22 № 1а

Погрузка гидроизола и сетки

т

0,606

0,53

-

0,32

-

11

Е 1-22 № 1б

Подача гидроизола и сетки

100 т

0,006

0,76

0,38 (0,38)

0,005

0,003 (0,003)

12

Е 1-6 № 17а, б

Разгрузка гидроизола и сетки

т

0,606

0,44

-

0,27

-

13

Е 1-6 № 7а, б

Разгрузка раствора с очисткой самосвалов от материалов

100 м3

0,033

8,2

-

0,27

-

 

Е 1-6-54 № 7а, б

Подача раствора в ящиках

м3

3,28

1,4

0,7 (0,7)

4,59

2,3 (2,3)

15

 

Неучтенные работы

%

10

-

-

13,02

-

 

 

ИТОГО:

 

 

 

 

143,28

2,53 (2,53)

6.4 Технико-экономические показатели приведены ниже:

Затраты труда по гидроизоляции

100 м2 вертикальных поверхностей, чел.-ч                               143,28

1 м2 вертикальных поверхностей, чел.-ч                                   1,43

выработка на одного рабочего в смену, м                                 2,37

продолжительность работ, ч                                                      33

Таблица 6 - Календарный план выполнения работ по устройству гидроизоляции вертикальных поверхностей из рулонного материала гидроизола

Измеритель конечной продукции - 100 м2 поверхности

7 ПЕРЕЧЕНЬ НОРМАТИВНО-ТЕХНИЧЕСКОЙ ЛИТЕРАТУРЫ

1 СНиП 3.01.01-85* Организация строительного производства;

2 СНиП 3.04.01-87 Изоляционные и отделочные покрытия;

3 СНиП 3.04.03-85 Защита строительных конструкций и сооружений от коррозии;

4 СНиП 12-03-2001 Безопасность труда в строительстве. Часть 1. Общие требования;

5 СНиП 12-04-2002 Безопасность труда в строительстве. Часть 2. Строительное производство;

6 ГОСТ 12.0.004-90 ССБТ. Организация обучения безопасности труда. Общие положения;

7 ГОСТ 12.3.009-76* ССБТ. Работы погрузочно-разгрузочные. Общие требования безопасности;

8 ГОСТ 12.4.011-89 ССБТ. Средства защиты работающих. Общие требования и классификация;

9 ГОСТ 12.4.041-2001 ССБТ. Средства индивидуальной защиты органов дыхания фильтрующие. Общие технические требования;

10 ГОСТ 7415-86* Гидроизол. Технические условия; ГОСТ 30547-97* Материалы рулонные кровельные и гидроизоляционные. Общие технические условия;

11 ГОСТ 9548-74* Битумы нефтяные кровельные. Технические условия;

12 ГОСТ 30547-97* Материалы рулонные кровельные и гидроизоляционные. Общие технические условия;

13 ППБ 01-03 Правила пожарной безопасности в Российской Федерации;

14 СП 12-135-2003 Безопасность труда в строительстве. Отраслевые типовые инструкции по охране труда, Госстрой России. М., 2003 г.;

15 Справочник молодого теплоизолировщика и гидроизолировщика. М., Высшая школа, 1988 г.

16 Справочное пособие по строительному производству. М., Стройиздат, 1989 г.

17 Рекомендации по устройству гидроизоляции АО «ЦНИИпромзданий» 1998.

 




ГОСТЫ, СТРОИТЕЛЬНЫЕ и ТЕХНИЧЕСКИЕ НОРМАТИВЫ.
Некоммерческая онлайн система, содержащая все Российские Госты, национальные Стандарты и нормативы.
В Системе содержится более 150000 файлов нормативно-технической документации, действующей на территории РФ.
Система предназначена для широкого круга инженерно-технических специалистов.

Рейтинг@Mail.ru Яндекс цитирования

Copyright © www.gostrf.com, 2008 - 2026