Крупнейшая бесплатная информационно-справочная система онлайн доступа к полному собранию технических нормативно-правовых актов РФ. Огромная база технических нормативов (более 150 тысяч документов) и полное собрание национальных стандартов, аутентичное официальной базе Госстандарта. GOSTRF.com - это более 1 Терабайта бесплатной технической информации для всех пользователей интернета. Все электронные копии представленных здесь документов могут распространяться без каких-либо ограничений. Поощряется распространение информации с этого сайта на любых других ресурсах. Каждый человек имеет право на неограниченный доступ к этим документам! Каждый человек имеет право на знание требований, изложенных в данных нормативно-правовых актах!

  


 

Общество с ограниченной ответственностью

Научно-производственное объединение ТЕРМЭК

ООО «НПО ТЕРМЭК»

Открытое Акционерное общество
Центральный научно-исследовательский и проектно-экспериментальный
институт промышленных зданий и сооружений

ОАО ЦНИИПРОМЗДАНИЙ

РЕКОМЕНДАЦИИ
по применению и расчету газо-воздушных систем
лучистого отопления

Москва - 2002

Рекомендации разработаны ООО «НПО ТЕРМЭК» и ОАО ЦНИИпромзданий.

Творческий коллектив: к.т.н. Наумов А.Л. (руководитель работы), к.т.н. Булычева О.П., к.т.н. Климовицкий М.С., к.т.н. Шилькрот Е.О., инж. Алексеева И.Ю.

При разработке рекомендаций использованы результаты исследований «НПО ТЕРМЭК», ОАО ЦНИИпромзданий, НИИ медицины труда РАМН.

СОДЕРЖАНИЕ

УСЛОВНЫЕ ОБОЗНАЧЕНИЯ

А, В, Н-                      - длина, ширина и высота помещения, м;

hизл                             - высота подвески излучателей, м;

dтр                             - диаметр теплозлучающих труб, м;

F                                - площадь, м2;

V                                - скорость, м/с;

G                               - расход воздуха, газообразного теплоносителя, кг/с;

Р                                - давление, Па;

t                                 - температура воздуха, °С;

t                                 - температура поверхности, °С;

l                                - коэффициент теплопроводности, Вт/м °С;

К                                - коэффициент теплопередачи, Вт/(м2×°С);

a                                - коэффициент теплоотдачи, Вт/(м2×°С);

Q                                - тепловая мощность, теплопотери, тепловыделения, кВт, Вт;

r                                - плотность, кг/м3;

Кр                              - кратность воздухообмена, 1/час;

С                                - поправочный коэффициент для расчета теплопотерь;

Индексы

в                     - воздух помещения;

вент              - вентиляционный;

вз                   - верхняя зона;

вн                   - внутренний;

г                     - газообразный теплоноситель;

год                 - годовой;

и                     - инфильтрация;

изл                 - излучатели;

л                     - лучистый

н                     - наружный воздух;

нз                   - нижняя зона;

ок                   - окна;

пл                   - пол;

пт                  - потолок;

cm                  - стены;

тр                  - трубы;

ф                    - фонарь;

час                 - часовой.

ВВЕДЕНИЕ

Настоящие рекомендации предназначены для проектирования систем газовоздушного лучистого отопления с теплоизлучающими трубами (ГВЛО) во вновь строящихся и реконструируемых помещениях производственных (сборочных, механических, ремонтных цехов, складов, депо, гаражей, ангаров) и общественных (рынки, спортивные залы, вокзалы, перроны и т.п.) зданий.

Обогрев рабочей, обслуживаемой, зоны осуществляется преимущественно тепловым излучением с поверхности теплоизлучающих труб, устанавливаемых в верхней зоне помещения.

Применение ГВЛО обеспечивает: повышение равномерности распределения температуры воздуха в объеме помещения; малую подвижность воздуха в помещении; отсутствие неприятного «дутья», сокращение переноса пыли и вредных выделений; бесшумность работы; повышенную надежность (незамерзаемость теплоносителя).

ГВЛО в большинстве случаев позволяет поддерживать требуемые условия микроклимата при пониженной в среднем на 2 ¸ 4 °С температуре внутреннего воздуха по сравнению с нормируемой [1 - 3] и позволяет сократить расход тепловой энергии на нагрев приточного воздуха в вентилируемых помещениях.

Система лучистого отопления автономна и легко регулируема, не требует прокладки тепловых сетей и ввода в эксплуатацию (1,5 - 2 мес.).

Уменьшение расхода тепловой энергии при использовании ГВЛО, по сравнению с традиционными системами, может достигать 30 ¸ 40 %, в том числе за счет сокращения теплопотерь здания и эффективного регулирования режимов работы системы.

ГВЛО имеет ограничения по области применения из условий обеспечения пожарной безопасности.

Рекомендации позволяют рассчитать тепловую нагрузку на систему газовоздушного лучистого отопления, определять площадь поверхности и диаметр теплоизлучающих труб, выбрать схему их расположения в помещении, определить расход газа и среднегодовое потребление теплоты и газа.

Рекомендации могут быть использованы для расчета систем лучистого отопления с автономными теплогенераторами на жидком топливе, а также (при обосновании) для систем, использующих продукты сгорания от технологических установок.

Расчет ГВЛО связан с проведением трудоемких вычислений показателей воздушно-теплового режима отапливаемого помещения.

В настоящих рекомендациях использованы простые формулы, графики и номограммы, полученные в результате обобщения данных численного моделирования воздушно-теплового режима помещений с ГВЛО.

1. ОБЩИЕ ПОЛОЖЕНИЯ

1.1. Рекомендации предназначены для проектирования систем газо-воздушного лучистого отопления во вновь строящихся и реконструируемых помещениях производственных и общественных зданий высотой 6 - 40 м, расположенных в I - IV климатических районах России.

1.2. ГВЛО следует применять в помещениях взрывопожарных категорий В2, В3, В4, Д и Н, кроме зданий VIa и V степени огнестойкости.

1.3. ГВЛО может использоваться совместно с другими видами отопления, системой вентиляции. В случае для определения расходов теплоты на нагрев приточного воздуха температуру в помещении следует принимать в соответствии с п. 3.15.

1.4. Теплоносителем в системе отопления является смесь воздуха и продуктов сгорания с температурой до 450 °С.

2. КОНСТРУКТИВНЫЕ РЕШЕНИЕ СИСТЕМЫ ОТОПЛЕНИЯ

2.1. Газо-воздушная система лучистого отопления состоит из контура излучателей, подсоединенного к одному (или двум) теплогенераторам. Принципиальные схемы системы отопления приведены на рис. 1. Нагретая смесь воздуха и продуктов сгорания перемещаются по контуру циркуляционным вентилятором.

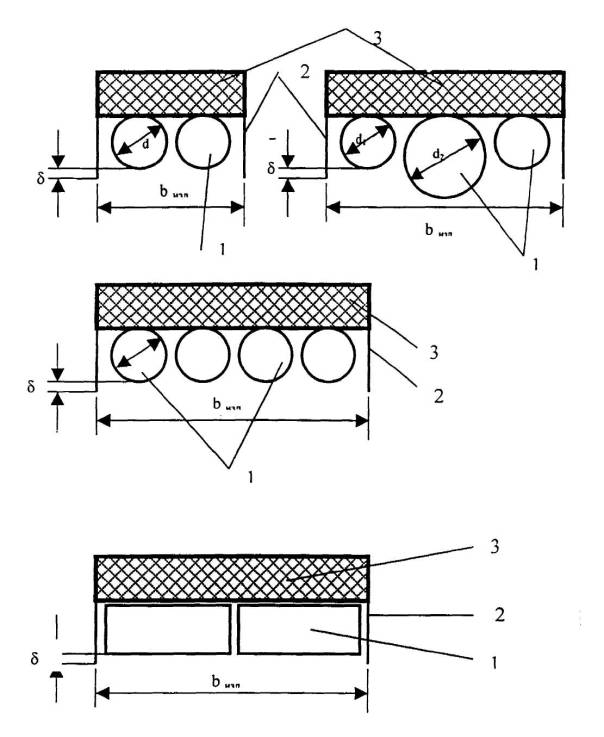
2.2. Отопительным прибором в системе отопления является излучатель, состоящий из теплоизлучающих труб, боковых экранов и тепловой изоляции. Конструкции излучателей представлены на рис. 2.

2.3. Рекомендуемые параметры конструкций излучателей:

- диаметр теплоизлучающих труб: dтр = 250, 315, 400, 500, 600 мм;

- число труб в излучателе: nтр = 2 ¸ 4;

- толщина боковых стальных экранов 0,5 ¸ 0,7 мм;

- толщина стенки теплоизлучающих труб 0,5 ¸ 1,0 мм;

- толщина теплоизоляционного слоя 100 мм; lти = 0,045 ¸ 0,055 Вт/м×°С.

Доля лучистой составляющей теплоотдачи излучателей y » 0,6. Теплоотдающие поверхности труб покрываются температуростойкой краской со степенью черноты не менее 0,9.

Свес боковых экранов d (рис. 2) должен составлять 0,1 ширины горизонтальной проекции излучателя.

ГПИ «Сантехпроект» по техническому заданию ЦНИИпромзданий разработал рабочие чертежи излучателей для систем лучистого отопления [5].

2.4. Возможные схемы размещения излучателей в помещении и схемы движения теплоносителя в излучающих трубах, позволяющих обеспечить равномерный или с заданной неравномерностью, обогрев рабочей (обслуживаемой) зоны, показаны на рис. 1.

Схема (а) с параллельным движением теплоносителя рекомендуется для помещений, имеющих внутреннюю перегородку, вдоль которой размещается обратная ветвь системы.

Схема (б) обеспечивает равномерную теплоотдачу всего контура и рекомендуется как наиболее общая для однопролетных зданий.

Если для компенсации теплопотерь помещения требуется установка 2-х теплогенераторов, их целесообразно включать в общий контур по схеме (в). При этом, в ходе сезонного регулирования один из теплогенераторов может быть отключен полностью, что позволит обеспечить экономию электроэнергии на привод вентиляторов.

Рис. 1. Принципиальные схемы газовоздушной системы лучистого отопления

1 - теплогенератор, 2 - теплоизлучатели, 3 - циркуляционный вентилятор, 4 - газогорелочный блок

Примечание: стрелками показано направление движения теплоносителя в трубах

Рис. 2. Конструкции излучателей

1 - теплоизлучающие трубы; 2 - боковые экраны; 3 - тепловая изоляция

Схему (в) рекомендуется использовать, если аэродинамическое сопротивление контура в расчетном режиме превышает располагаемой давление одного циркуляционного вентилятора.

Движение теплоносителя в теплоизлучающих трубах может быть параллельным или встречным.

Схему (г), с количеством параллельных ветвей более 2-х, целесообразно использовать в многопролетных цехах; при этом подающие ветви размещаются по периметру наружных стен, обратные линии - в середине пролетов.

Количество ветвей в системе определяется расчетом, в зависимости от требуемой площади теплоотдающей поверхности (см. раздел 3).

Для обеспечения равномерного распределения лучистого теплового потока по площади цеха расстояние между ветвями в центральной части помещения следует принимать в соответствии с условием:

l £ 0,9(hизл - 1)                                                                 (1)

В пристенной зоне расстояние между двумя крайними лентами излучателей и крайней лентой излучателей и наружной стеной должно быть уменьшено вдвое (рис. 3).

Для протяженных зданий с фиксированной рабочей зоной излучатели могут размещаться в одну линию, непосредственно над рабочей зоной (схема б).

При выборе схем и трассировке ветвей следует учитывать наличие источников и стоков тепла вблизи рабочих зон (тепловыделяющего оборудования, ворот, окон).

2.5. Выбор конструкции излучателя и числа теплоизлучающих труб в нем производится, исходя из требуемой поверхности теплоотдачи (раздел 3), конструктивных возможностей их размещения и эстетических соображений. При этом следует руководствоваться данными таблицы 1.

Таблица 1

Площадь теплоотдающей поверхности, м2 на 1 п. м. излучателя

Рекомендуемый типоразмер теплоизлучателя

До 0,8

2-х трубный d = 3 15; с прямоугольными трубами - 250´500

0,8 ¸ 1,0

2-х трубный d = 400; с прямоугольными трубами - 315´600

1,0 ¸ 1,2

4-х трубный d = 250;

2-х трубный d = 500

1,2 ¸ 1,5

3-х трубный d1 = 315; d2 = 500;

4-х трубный d = 315;

2-х трубный d = 630

Рис. 3. Схема расположения излучателей в помещении

1 - излучатели; 2 - рабочая площадка

2.6. Излучатели устанавливаются в помещении горизонтально под покрытием.

Крепление излучателей осуществляется к фермам или к покрытию с помощью подвесок, скользящих опор. Способ крепления принимается в зависимости от конкретной конструкции ферм и покрытия.*

* При этом выполняется проверка конструкций ферм и покрытия на дополнительную весовую нагрузку от системы отопления.

Излучатели располагаются на одном уровне на высоте не менее 5 м от поверхности пола или рабочей площадки (рис. 3). При наличии мостовых кранов и кранбалок излучатели должны устанавливаться выше их уровни или снаружи.

2.7. Теплогенераторы могут размещаться внутри обслуживаемого помещения. Они могут устанавливаться на полу помещений, чердачных этажах, на эстакадах, на кровле здания и т.п. При размещении теплогенераторов должны соблюдаться правила установки, обслуживания и эксплуатации газового оборудования.

2.8. Для компенсации теплового удлинения теплоизлучающих труб следует предусматривать такие крепления излучателей к конструкциям ферм или покрытия, которые не препятствуют горизонтальным смещениям вследствие теплового удлинения труб.

2.9. В системах газовоздушного лучистого отопления применяются теплогенераторы ТГЛ-0,5 мощностью 500 кВт, разработанные ВНПО «Союзпромгаз» по техническому заданию Главмособлстроя и ЦНИИпромзданий. Технические характеристики тепло генератора ТГЛ-0,5 приведены в таблице 2. Предусмотрена разработка теплогенераторов тепловой мощностью 1 и 2 МВт.

Таблица 2

Технические характеристики тепло генератора ТГЛ-0,5

№№ п/п

Наименование технической характеристики

Единица измерения

Значение

1

2

3

4

1.

Тепловая мощность, передаваемая в систему отопления

кВт

70 ¸ 575

2.

Коэффициент полезного действия, не менее

 

0,92

3.

Расход газа

м3

7,5 ¸ 60

4.

Давление газа перед горелкой, не более

кПа

50

5.

Расход дутьевого воздуха

м3

145 ¸ 1100

6.

Давление дутьевого воздуха перед горелкой, не более

кПа

2,0

7.

Температура теплоносителя

°С

Определяется расчетом, но не более 450 °С

8.

Номинальная производительность по теплоносителю при потерях давления в сети 2000 Па в нормальных условиях

кг/ч

15000

9.

Потребляемая электрическая мощность, не более

кВт

10

 

Габаритные размеры: длина

м

2,0

10.

ширина

м

1,25

 

высота

м

2,5

11.

Масса

кг

1000

12.

Занимаемая площадь с учетом зоны обслуживания

м2

15

3. РАСЧЕТ СИСТЕМЫ ОТОПЛЕНИЯ

3.1. Расчет включает: определение тепловой нагрузки на систему лучистого отопления; определение площади тепло излучающей поверхности; выбор конструкции излучателей; определение расхода и перепада температур теплоносителя; аэродинамический расчет сети теплоизлучающих труб; определение расчетного расхода газа и среднегодового потребления теплоты и газа.

3.2. Основные тепло потери здания Q, Вт, и расхода теплоты на нагревание ин-фильтрующегося воздуха Qи, Вт, определяются в соответствии с [5]. Расчетная температура внутреннего воздуха помещения принимается в соответствии с [1 - 3].

3.3. Расчетная тепловая нагрузка на систему лучистого отопления определяется по формуле:

QS = C(Q + Qи - Qвн)                                                             (2)

где Qвн - тепловыделения от людей и оборудования (включая теплопоступления от вспомогательных, например, дежурных систем отопления), Вт;

В величину Qвн включается часть тепловой нагрузки системы вентиляции.

Q*вент = 0,28Gвент(tпр - tв)                                                        (3)

* Величина Qвент при условии tпр < tв может быть отрицательной. В этом случае она вычитается из Qвн.

где Qвент - расход вентиляционного воздуха, кг/ч;

tпр - температура приточного воздуха.

В формуле (2) поправочный коэффициент «С» учитывает возможное снижение температуры внутреннего воздуха в рабочей (обслуживаемой) зоне и ее распределение по высоте помещения при лучистом отоплении. Значение коэффициента «С» определяется по графику на рис. 4 в зависимости от комплексных показателей Р и М.

Показатель Р, 1/ч, определяется по формуле:

                                                       (4)

где Кр - кратность инфильтрационного воздухообмена, 1/ч;

Рис. 4. Определение поправочного коэффициента для расчета тепло потерь

M = (B/h)Квз/Кн; P = Kp - 3Qвн[A´B´H(tв - tн)]

А, В, Н - соответственно длина, ширина и высота отапливаемого здания (при отсутствии внутренних перегородок) или отапливаемого помещения, отделенного перегородкой от остальной части здания, м;

tн - расчетная наружная температура, °С.

Показатель М определяется по формуле:

                                                                  (5)

где: Квз, Кнз - средневзвешенные по площадям отдельных элементов наружных ограждений коэффициенты теплопередачи для зон помещения, расположенных соответственно выше и ниже уровня подвески излучателей, Вт/м2×°С*

* При определении Кнз в число наружных ограждений не включается пол.

                                         (6)

                                       (7)

где Кпт, Кф, Кок, Квор, Кст.вз, Кст.из - коэффициенты теплопередачи, соответственно конструкций потолка, зенитных фонарей, окон, ворот, стен верхней и нижней зон помещения, Вт/м2×°С;

Fnm, Fф, Fок, Fст.вз, Fст.нз - соответствующие площади ограждений, м2.

3.4. При Qвн ³ 0,2(Q + Qu) следует определить тепловую нагрузку на систему лучистого отопления в дежурном режиме QSдеж по формуле (2).

3.5. Определяется тепловая нагрузка на излучатели:

Qизл = QS/b                                                              (8)

где b - коэффициент, учитывающий поступление тепла от подводящих магистралей.

При теплоизолированных магистралях [Rиз = 0,8 ¸ 1,2 м2×°С/Вт] следует принимать b = 1,03.

Максимальная теплоотдача излучателей при соблюдении II-го условия теплового комфорта [2]:

Qmax = aл( - tв)0,25×А×В                                                     (9)

где  - температура поверхности труб, максимально допустимая по II условию теплового комфорта при размещении излучателей на 15 % площади покрытия, °С (определяется по графику на рис. 5);

aл - коэффициент лучистой теплоотдачи системы, Вт/м2×°С (определяется по левой ветви номограммы на рис. 7 при .

Проводится сравнение величин Qmax и Qизл. Должно выполняться условие:

Qизл £ 1,05Qmax                                                             (10)

В случае, если это условие не выполняется, тепловая мощность системы лучистого отопления снижается и одновременно предусматриваются дополнительные теплопоступления в помещение за счет одного из следующих мероприятий:

- увеличение температуры приточного воздуха в системе вентиляции с соответствующими ограничениями [6];

- устройство вспомогательной системы отопления (отопительно-рециркуляционные агрегаты, местные нагревательные приборы) или увеличение ее теплопроизводительности.

Величина дополнительных теплопоступлений:

Qдоп = (Qизл - Qmax)1,03                                                     (11)

Для дальнейших расчетов в случае невыполнения условия (10) принимается, что Qизл = Qmax.

3.6. При QS ³ QSдеж площадь теплоизлучающей поверхности:

                                                        (12)

где tтр - средняя температура поверхности труб, определяемая по графику на рис. 6

в зависимости от соотношения Qизл = Qmax, но не более  = 180 °С;

aл - определяется по графику на рис. 7 при tтр.

3.7. При QS ³ Qтрдоп площадь излучающей поверхности:

                                                         (13)

где aл - определяется по графику на рис. 7 при  = 180 °С.

3.8. Выбирается схема размещения излучателей в соответствии с требуемым количеством теплогенераторов и рекомендациями п. 2.4. Определяется требуемая поверхность теплоотдачи 1 п.м. излучателя:

                                                          (14)

где SL - суммарная длина излучателей по выбранной схеме, м.

Конструкция излучателя принимается в соответствии с данными таблицы 1 с учетом возможности их размещения.

3.9. Для системы, подключенной к каждому теплогенератору, определение средней температуры tг и скорости движения теплоносителя Vг проводится по номограмме на рис. 7, исходя из значения aл, по п. 3.6 или 3.7, и следующей формуле:

                                                       (15)

где Gmp - расход теплоносителя по каждой из параллельно расположенных труб в излучателе, кг/ч;

rг - плотность теплоносителя, кг/м3, при

                                                             (16)

Рис. 5. Зависимость максимально допустимой температуры поверхности излучателей от В/hизл при Fтр = 0,15Fnx

Рис. 6. Определение расчетной температуры поверхности труб


Рис. 7. Номограмма для расчета и выбора режима работы газовоздушного лучистого отопления


Расчет ведется итерационным методом. Рекомендуется в первом приближении принимать rг = 0,7 кг/м3.

При задании Gтр следует учесть, что в расчетном режиме циркуляционный вентилятор перемещает нагретый воздух, температура которого определяется расчетом в п. 3.10.

По техническим условиям для вентилятора максимальная температура перемещаемой среды (в обратной магистрали) не должна превышать 200 °С. Поэтому Gтр в первом приближении определяется по формуле:

                                                            (17)

где G - производительность циркуляционного вентилятора в нормальных условиях (таблица 2), кг/ч.

3.10. Определяется перепад температуры теплоносителя для каждого теплогенератора:

                                                            (18)

где Qтг - тепловая нагрузка на 1 теплогенератор в расчетном режиме, Вт;

cг - теплоемкость теплоносителя при tг, Дж/кг×°С.

Минимальная температура теплоносителя в системе:

                                                                  (19)

Определяем среднюю температуру и скорость движения теплоносителя. При  > 200 °С необходимо уменьшить расчетную температуру поверхности труб и повторить расчет, начиная с п. 3.6 или п. 3.7. При отличающейся в меньшую сторону от 200 °С больше, чем на 10 °С, следует определить новое значение Gmp по формуле:

                                                        (20)

и повторить расчет, начиная с п. 3.9.

3.11. Проводится аэродинамический расчет системы теплоизлучающих труб для каждого теплогенератора. При этом фактически располагаемое давление вентилятора определяется по формуле:

                                                           (21)

где Р - располагаемое давление циркуляционного вентилятора (таблица 2).

При превышении аэродинамических потерь в системе над фактическим располагаемым давлением вентилятора необходимо перейти к большему размеру теплоизлучателя и сделать перерасчет, начиная с п. 3.9.

3.12. Максимальный часовой расход газа:

                                                         (22)

где Qp = max(QS; QSдеж);

hтг - КПД теплогенератор (таблица 2);

Qнр - удельная теплота сгорания газа, кДж/м3.

3.13. Среднегодовой расход теплоты на отопление:

  (23)

где n - продолжительность отопительного периода, сутки;

d - сумма нерабочих дней в течение отопительного периода (допускается принимать d = 2/7n);

т - число часов работы в сутки;

tн.ср - средняя за отопительный период температура наружного воздуха, °С.

3.14. Среднегодовой расход газа:

                                                  (24)

3.15. При совмещении системы газовоздушного лучистого отопления с другими системами отопления и вентиляции тепловая нагрузка на последние определяется при температуре воздуха в рабочей зоне, определяемой по формуле:

tр.з = tв + Dt                                                              (25)

где Dt - определяется по графику на рис. 8 в зависимости от комплексного показателя Р.

Рис. 8. Определение снижения температуры воздуха в рабочей зоне при работе системы лучистого отопления

4. ПРИМЕР РАСЧЕТА

Расчет выполняется для механосборочного цеха машиностроительного завода. Размеры помещения 102´24´13 м, район строительства - Московская область. Расчетная наружная температура -26 °С. Средняя за отопительный период температура наружного воздуха -3,6 °С. Продолжительность отопительного периода 213 суток. Режим работы - двухсменный. Внутренние тепловыделения от оборудования Qвн = 24200 Вт. Кратность инфильтрационного воздухообмена 0,2 1/ч. Расчетная температура воздуха в помещении для средней категории тяжести труда П-б, tв = 16 °С. Теплопотери помещения (с учетом затрат тепловой энергии на нагрев инфильтрационного воздуха) по СНиП 2.04.05-86: Q + Qи = 515250 Вт. Средневзвешенные коэффициенты теплопередачи Кнз = 1,286 Вт/м2×°С; Кнз = 2,151 Вт/м2×°С. Высота подвески излучателей hизл = 10 м.

Определяем комплексные показатели Р и М.

По графику на рис. 4 определяется поправочный коэффициент с = 0,916.

Тепловая нагрузка на систему лучистого отопления:

QS = C(Q + Qи - Qвн) = 0,916(515250 -242000) = 250300 Вт

Учитывая значительную величину технологических тепловыделений, следует провести расчет системы в режиме дежурного отопления. В этом случае tвдеж = 5 °C, Qвн = 0.

Р = Кр = 0,2 1/ч

По графику на рис. 4 с = 1,058.

QSдеж = 1,058 × 380300 = 402400 Вт.

Qизл = Q/b = 250300/1,03 = 243010 Вт.

По графику на рис. 5 средняя температура поверхности труб по П условию теплового комфорта  = 124 °С при В/hизл = 24/10 = 2,4. По графику на рис. 7 aл = 8,5 Вт/м2×°С.

Максимальная теплоотдача излучателей:

Qmax = aл( - tв)×0,25×А×В = 8,5(124 - 16)×0,25×102×24 = 561820 Вт

Так как QS < QSдеж площадь теплоизлучающей поверхности определяется по формуле (13). По графику на рис. 7 при tтр = 180 °С

aл = 10,9 Вт/м2×°С.

Принимаем разводку излучателей в виде замкнутого контура теплоизлучающих труб длиной 180 м, подсоединенных к одному теплогенератору ТГЛ-0,5, со встречным движением теплоносителя.

Требуемая поверхность теплоотдачи 1 п.м. излучателя:

По данным таблицы 1 принимаем 2-х трубный излучатель, диаметр труб 315 мм.

Gmp = 0,62×G/nтр = 0,62×15000 / 2 = 4650 кг/ч.

В первом приближении при rг = 0,7 кг/м3:

По номограмме на рис. 7 при aл = 10,9 Вт/м2×°С, tг = 295 °С.

По номограмме tг = 283 °С:

rг = 0,635 кг/м3; Vг = 26,1 м/с

По номограмме tг = 287 °С.

Окончательно принимаем tг = 287 °С; Vг = 26,2 м/с.

Перепад температуры теплоносителя:

Минимальная температура теплоносителя в системе:

что больше минимально допустимой 200 °С. потому уменьшаем расчетную температуру поверхности труб до 150 °С. По графику на рис. 7 aл = 10,9 Вт/м2×°С

Принимаем 2-х трубный излучатель, диаметр труб 400 мм.

По номограмме tг = 282 °С.

rг = 0,636 кг/м3; Vг = 16,2 м/с.

По номограмме tг = 275 °С.

rг = 0,644 кг/м3; Vг = 16,0 м/с.

По номограмме tг = 277 °С.

Окончательно принимаем tг = 276 °С; Vг = 16,0 м/с.

Пересчет Gmp не требуется.

Проводится аэродинамический расчет системы. Фактическое располагаемое давление вентилятора:

Общие потери давления в сети ориентировочно можно определить по формуле:

P = 1,5RгSL                                                              (26)

где 1,5 - коэффициент, учитывающий потери давления на местные сопротивления;

Rг - потери давления на трение на расчетном участке сети с учетом температуры Теплоносителя, Па/п.м.

                                                       (27)

где R - потери давления на трение на расчетном участке сети для стандартного воздуха, Па/п.м.

При dmp = 400 мм и Vг = 16,0 м/с; R = 6,0 Па/п.м.

Р = 1,5 × 3,75 × 180 = 1012 Па< 1236 Па

Принятый типоразмер излучателя проходит по аэродинамическому расчету.

Максимальный часовой расход газа:

Среднегодовой расход теплоты на отопление:

Среднегодовой расход газа:

Температура воздуха в рабочей зоне:

tp.з. = tв - Dt = 16 - 2,8 = 18,8 °С.

Схема расположения системы лучистого отопления представлена на рис. 9.

ЛИТЕРАТУРА

1. ГОСТ 12.1.005-76. Воздух рабочей зоны.

2. СанПиН 2.2.4.548-96. Гигиенические требования к микроклимату производственных помещений.

3. ГОСТ 30494-96. Здания жилые и общественные. Параметры микроклимата.

4. Подвесные теплоизлучающие панели. Выпуск 0 - Технические характеристики и данные для подбора. Выпуск 1-1 - Газовоздушные теплоизлучатели (рабочие чертежи). - М., ГПИ Сантехпроект, 1988.

5. СНиП 2.04.05-91*. Отопление, вентиляция и кондиционирование.

6. Справочник проектировщика. Внутренние санитарно-технические устройства. Вентиляция и кондиционирование воздуха. - М.: Стройиздат, 1992.

Рис. 9. Схема расположения теплоизлучателей (к примеру расчета)

 




ГОСТЫ, СТРОИТЕЛЬНЫЕ и ТЕХНИЧЕСКИЕ НОРМАТИВЫ.
Некоммерческая онлайн система, содержащая все Российские Госты, национальные Стандарты и нормативы.
В Системе содержится более 150000 файлов нормативно-технической документации, действующей на территории РФ.
Система предназначена для широкого круга инженерно-технических специалистов.

Рейтинг@Mail.ru Яндекс цитирования

Copyright © www.gostrf.com, 2008 - 2026