Крупнейшая бесплатная информационно-справочная система онлайн доступа к полному собранию технических нормативно-правовых актов РФ. Огромная база технических нормативов (более 150 тысяч документов) и полное собрание национальных стандартов, аутентичное официальной базе Госстандарта. GOSTRF.com - это более 1 Терабайта бесплатной технической информации для всех пользователей интернета. Все электронные копии представленных здесь документов могут распространяться без каких-либо ограничений. Поощряется распространение информации с этого сайта на любых других ресурсах. Каждый человек имеет право на неограниченный доступ к этим документам! Каждый человек имеет право на знание требований, изложенных в данных нормативно-правовых актах!

  


 

Министерство жилищно-коммунального хозяйства РСФСР

Ленинградский научно-исследовательский институт
ордена Трудового Красного Знамени
Академии коммунального хозяйства
им. К.Д. Памфилова

ТИПОВАЯ ТЕХНОЛОГИЧЕСКАЯ КАРТА № 8

ОЧИСТКА ОТ ЗАГРЯЗНЕНИЙ облицованных
ФАСАДОВ ЗДАНИЙ

Ленинград

1974 г.

Технологическая карта № 8

Очистка от загрязнений облицованных фасадов зданий

ЛНИИ АКХ 1974 г.

 

Разработана лабораторией строительных конструкций и материалов

Утверждена

«14» сентября 1973 г.

Приказ МЖКХ РСФСР № 365

Срок введения

1 января 1974 г.

I. Область применения

1.1. Настоящая технологическая карта предназначена для работников жилищных и ремонтно-строительных организаций как руководство по организации и выполнению работ по очистке от загрязнений фасадов зданий, облицованных естественным камнем (гранитом, мрамором, песчаником, известняком) и искусственными материалами (кирпич красный, силикатный, лицевой, терразит, керамические и бетонные плиты) и ремонту облицовки при проведении текущего ремонта жилых домов, находящихся в эксплуатации.

1.2. В карте дано описание схем очистки, основных средств механизации для производства работ по очистке фасадов, приемов труда рабочих, основных правил техники безопасности.

1.3. Привязка типовой технологической карты к местным условиям проведения текущего ремонта выполняется путем уточнения состава и объемов ремонтных работ, потребности в материальных ресурсах и составления калькуляции трудовых затрат на фактический объем работ по нормам, приведенным в технологической карте с учетом соответствующих примечаний.

II. Организация и технология ремонтного процесса

А. Условия и подготовка процесса

2.1. Для поддержания в чистоте фасадов, облицованных кирпичем, керамикой, естественным камнем и бетонными плитами рекомендуется производить периодическую очистку фасадов от загрязнений с одновременным ремонтом облицовки.

Необходимость производства работ по очистке облицованных фасадов устанавливается комиссией при осенних осмотрах жилищного фонда.

2.2. До начала работ по очистке фасадов должен быть произведен ремонт кровли над карнизами водосточных труб, покрытий, парапетов, наружных оконных переплетов и дверей.

2.3. Для производства работ по очистке и ремонту облицованных фасадов применяются шарнирные двухсекционные вышки Ш2-СВ-14 и Ш2-СВ-18, телескопические вышки ВИ-23, а также механизированные люльки конструкции треста «Фасадремстрой», самоподъемные люльки конструкции Мосжилуправления и конструкции ДСК-2 Главленинградстроя (рис. 5 - 10).

2.4. Для страховки рабочих при падении подвесных люлек, а также для закрепления на страховочном тросе работающих с люльки служат ловители (рис. 11, 12).

Б. Технология выполнения ремонтных работ

2.5. Для удаления загрязнений с облицованных фасадов рекомендуются следующие способы очистки:

промывка водой;

пескоструйная очистка;

гидропескоструйная очистка.

2.6. Способы очистки облицованных фасадов приведены в табл. 1.

Таблица 1

№№ пп

Вид отделки

Способы очистки фасадов

при положительных температурах

При отрицательных температурах

промывка водой

пескоструйный

гидропескоструйный

пескоструйный

1

Гранит неполированный

-

+

+

+

2

Гранит полированный

+

-

-

-

3

Мрамор полированный или неполированный

+

-

-

-

4

Песчаник

-

-

+

+

5

Известняк

-

-

+

+

6

Кирпич (красный силикатный, лицевой)

-

-

+

-

7

Керамические плиты:

 

 

 

 

 

глазурованныех)

-

-

-

-

 

неглазурованные

-

-

+

-

8

Бетонные плиты

-

+

+

+

9

Терразит (терразитовая штукатурка, плиты):

 

 

 

 

 

нешлифованная

-

+

+

+

 

шлифованная

+

-

-

-

х) Промывка 5 - 10 %-ным раствором соляной кислоты или сольвентом.

2.7. Промывка фасадов водой и гидропескоструйная очистка производятся при температуре воздуха не ниже +10 °С, пескоструйная очистка - круглогодично (при положительной и отрицательной температурах).

а) Промывка фасадов водой

2.8. Промывку водой производят из шланга, подключенного к домовому водопроводу. Для промывки верхних этажей (начиная с третьего) рекомендуется подавать воду под давлением 2 - 3 атм.

С этой целью между водопроводом и насосом устанавливается бак. Из водопровода вода поступает в этот бак, а из него насосом подается на фасад.

При использовании вышек Ш2-СВ-14 и Ш2-СВ-18 насос и бак монтируются на ходовой части этих вышек.

При использовании телескопических автовышек насос и бак можно установить непосредственно в кузове автомашины.

Промывка производится до полного удаления загрязнения.

2.9. При невозможности удаления загрязнений на отдельных участках они промываются водой с одновременным протиранием волосяными щетками или швабрами. Для протирания поверхности фасада можно использовать также щетинные щетки конструкции ЛНИИ АКХ (рис. 13).

2.10. Шланг для воды должен быть укреплен на площадке вышки так, чтобы длина свободного конца шланга составляла примерно 2 м.

2.11. При наличии приямков (заглубления), а также окон, расположенных ниже уровня тротуара, необходимо защитить их от попадания воды, стекающей с фасада, путем установки специальных защитных козырьков.

б) Пескоструйная очистка

2.12. При пескоструйной очистке загрязненный слой снимают с поверхности фасада под воздействием сухой песчаной струи, подаваемой из пескоструйного аппарата. Для очистки применяется сухой песок с влажностью не более 2 %, просеянный через сито с размерами отверстий 1´1 - 1,2´1,2 мм.

2.13. Схема пескоструйной очистки приводится на рис. 15.

2.14. Сжатый воздух из компрессора по шлангу поступает в пескоструйный аппарат, где, смешиваясь с песком, подает его в сопло (рис. 16), а затем на очищаемую поверхность.

2.15. Для предупреждения повреждения облицовки (отделки) рабочее давление на манометре компрессора не должно превышать 4 атм, а при очистке нижних этажей (с первого до третьего этажа включительно) - 3 атм.

2.16. В процессе работы наконечники сопла разрабатываются песком и через 1,5 - 2 часа работы диаметры отверстий увеличиваются почти вдвое, вследствие чего падает давление в магистрали и снижается производительность труда, поэтому необходимо своевременно заменять изношенные сменные наконечники новыми.

2.17. После пескоструйной обработки пыль и песок удаляются обдуванием поверхности сжатым воздухом.

в) Гидропескоструйная очистка фасадов

2.18. Очистка загрязненного фасада производится струей песка, смешанной со струей воды.

Для очистки применяется сухой кварцевый песок, просеянный через сито с отверстиями не более 1,0´1,0 мм.

2.19. Схема гидропескоструйной очистки приводится на рис. 17.

Для гидропескоструйной очистки рекомендуется использовать гидросопло с приспособлением конструкции ЛНИИ АКХ (рис. 14).

2.20. Перед началом работ головки приспособления навинчиваются на штуцер сопла; при этом необходимо обратить внимание на наличие и правильное положение прокладки; резиновые шланги присоединяются к головкам и закрепляются мягкой проволокой; шланг для подачи воды от домового водопровода присоединяется к штуцеру для подвода воды; проверяется надежность присоединения шланга для подачи сухого песка к штуцеру.

Сжатым воздухом сухой песок из пескоструйного аппарата по шлангу подается к соплу и выбрасывается в виде струи через сменные наконечники; количество песка в струе регулируется рукояткой на пескоструйном аппарате. При открывании напорного крана вода из домового водопровода по шлангу подается в головки, откуда через отверстия распылителей выбрасывается наружу и смачивает песок, по выходе последнего из отверстий сменных наконечников. Подача воды регулируется запорным краном с таким расчетом, чтобы сухой песок смачивался водой полностью и обеспечивалась необходимая ударная сила песка.

2.21. Давление воздуха на компрессоре должно быть 3,5 - 4,0 атм, а давление воды в сети не менее 0,5 атм.

2.22. Шланги для подачи песка и воды должны быть закреплены на рабочей площадке вышки таким образом, чтобы их свободные концы составляли не более 3 м.

2.23. Для удаления остатка песка с поверхности фасада, после гидропескоструйной обработки, очищенная поверхность промывается водой; при этом прекращается подача песка, а кран, регулирующий подачу воды, открывается полностью.

2.24. При наличии на фасаде балконов участки, расположенные над ними, очищают на высоту до 2 м с площадок балконов.

2.25. Для предохранения оконных стекол от повреждения песком они должны быть защищены щитами.

г) Ремонт облицовки из керамических плиток

2.26. После очистки облицованных фасадов производят мелкий ремонт облицовки из керамических плиток.

2.27. Слабо держащиеся керамические плитки, а также цементный раствор, которым они были прикреплены к стене, должны быть удалены, при этом следует проверить прочность крепления плиток, расположенных вблизи отпавших, путем простукивания облицовки. Разбитые плитки должны быть заменены новыми.

2.28. Тыльная сторона плиток должна быть тщательно очищена от строго раствора.

2.29. Поверхность под снятыми плитками должна быть насечена, очищена от пыли, грязи и смочена водой.

2.30. Для крепления керамических плиток рекомендуется применять цементно-песчаный раствор состава 1:3 (цемент : песок по объему).

2.31. Раствор наносят на тыльную сторону плитки и прижимают ее к стене.

2.32. Во избежание отклеивания плиток из-за усадки раствора, горизонтальные швы между ними не заполняются раствором, а в них вставляются деревянные клинья. После полной усадки раствора клинья выбиваются и швы заполняются раствором, после чего производится расшивка швов.

2.33. Для приклеивания керамических плиток рекомендуется также полимерцементная (ПЦ) мастика.

Состав полимерцементной мастики в в.ч.

Эмульсия ПВА (50 %-ная пластифицированная)     - 0,2

Портландцемент марки «400»                                    - 1

Песок                                              - 5

Вода                                                                             - до требуемой консистенции.

При применении сухой цементно-песчаной смеси к 100 весовым частям смеси добавляется 15 %-ный раствор поливинилацетатной эмульсии (в пересчете на сухое вещество) до получения удобонаносимой консистенции.

2.34. Мастика готовится непосредственно на месте производства работ или в специальных колерных мастерских вручную или в растворомешалке.

В отмеренное количество поливинилацетатной эмульсии при перемешивании вливается вода. Затем в смесь эмульсии и воды добавляются при непрерывном перемешивании отмеренное количество цемента и песка или сухой цементно-песчаной смеси. Перемешивание продолжается 5 минут, после чего мастика считается готовой к употреблению.

Жизнеспособность готовой мастики 4 часа. Разбавление мастики водой не допускается.

2.35. Перед нанесением мастики поверхности, подлежащие облицовке, должны быть огрунтованы 7 %-ным раствором поливинилацетатной эмульсии. Мастику наносят толщиной не менее 2 мм на тыльную сторону плитки металлическим шпателем. Плитки прикладываются к поверхности стены и плотно притираются так, чтобы под плиткой не оставалось воздушных пузырей.

2.36. Швы между плитками оставляют незаполненными, чтобы влага могла свободно испаряться. Через 24 часа они заполняются цементно-песчаным раствором состава 1:3 (цемент : песок по объему), при этом толщина не должна превышать 3 мм.

2.37. Поверхность плит и плиток, после их установки, должна быть очищена от остатка раствора.

2.38. Ремонт фасадов, облицованных естественным камнем (гранит, мрамор, песчаник, известняк) и бетонными плитами, производится специализированными организациями.

В. Контроль качества

2.39. При приемке очищенных и отремонтированных фасадов необходимо обратить внимание на следующее:

- не должно быть загрязненных участков, а также остатков песка на поверхности фасада (при гидропескоструйной и пескоструйной очистке);

- не должно быть отставших или разрушенных плиток;

- на облицованных поверхностях не должно быть следов раствора, высолов, жировых и ржавых пятен, а также заметных участков с поврежденным глянцем.

2.40. Оценка качества очищенного фасада производится визуально.

2.41. Для более объективной оценки рекомендуется «серая шкала», предложенная ЛНИИ АКХ (рис. 21).

2.42. По этой шкале оценка степени очистки производится по десятибальной системе.

В табл. 2 приводятся №№ шкалы в зависимости от соотношения серого и белого цветов.

Таблица 2

№ шкалы

Содержание краски в %

Светлость тона в %

белой

серой

1

100

-

80

2

90

10

70

3

80

20

64

4

75

25

60

5

70

30

56

6

55

45

46

7

50

50

40

8

30

70

30

9

10

90

27

10

-

100

25

Определение степени загрязнения фасадов по серой шкале ЦНИИ АКХ производится путем сравнения загрязненной и незагрязненной поверхности фасада с бланками шкалы. Степень загрязнения определяется для каждого этажа как средняя величина трех измерений.

Фасад подлежит очистке в том случае, когда степень его загрязненности превышает № 6 - 7 шкалы.

2.43. При работе со шкалой необходимо следить, чтобы фасад не освещался солнечными лучами, так как при этом искажается абсолютный показатель светлоты.

Г. Техника безопасности

2.44. Все работы по очистке облицованных фасадов зданий от загрязнений производятся в соответствии со СНиП III-А.11-70 «Техника безопасности в строительстве»; а также «Правилами техники безопасности при текущем и капитальном ремонте жилых и общественных зданий», утвержденными Президиумом ЦК профсоюза рабочих местной промышленности и коммунально-бытовых предприятий от 10 декабря 1969 г., протокол № 43 в МКХ РСФСР - 7.1.70 г.

2.45. Воспрещается допускать рабочих к работам на фасадах без предварительного инструктажа их по технике безопасности.

2.46. Ежедневно, перед началом работ необходимо проверить исправность подъемных приспособлений и оборудования и устранить неисправности.

2.47. При проведении на фасадах работ должна быть ограждена опасная зона, куда допуск людей и транспортных средств воспрещается.

2.48. При работе на фасадах, около которых расположены воздушные электрические сети, необходимо проявлять особую осторожность. Категорически воспрещается дотрагиваться до проводов или растяжек. Необходимо следить за тем, чтобы инструменты и части оборудования не соприкасались с проводами и растяжками.

2.49. При работе с автовышки посадка рабочих в корзину автовышки, а также загрузка материалами и инструментами производится при опущенной корзине.

2.50. Для подъема и спуска люлек при помощи лебедок следует применять гибкие стальные канаты, диаметры которых определяются расчетом с запасом прочности не менее шестикратного.

2.51. При опускании люльки на барабанах должно оставаться не менее, чем по два витка грузовых канатов. Во время работы люльки необходимо систематически следить за тем, чтобы грузовые канаты наматывались равномерно на барабаны и не соскакивали с них.

2.52. Один раз в два месяца люлька должна проходить тщательный осмотр в мастерских со вскрытием редуктора и муфты лебедки и проверкой трущихся деталей.

2.53. По окончании работы на объекте грузовые канаты должны быть намотаны на барабаны лебедки, страховые канаты и питающий кабель, свернуты в бухты и уложены в люльку. Загрязненные узлы лебедки должны быть очищены, а открытые детали, которые могут корродировать при длительном хранении, покрывают слоем защитной смазки.

2.54. Запрещаются подъем и спуск рабочих на люльке без помощи лебедки. При подъеме или опускании люльки не разрешается касаться барабанов лебедки, канатов и блоков, вставать на ограждения люльки. Рабочие должны применять пояса со страховыми канатами.

Корзина автовышки, а также настилы двухярусной вышки и люльки должны регулярно очищаться от строительного мусора и грязи.

2.55. До пуска в ход пескоструйного аппарата необходимо проверить прочность шлангов и их соединений, прочность их крепления к перилам корзины автовышки или к выдвижной вышке.

2.56. Во время работы пескоструйного аппарата запрещается прочищать засорившееся сопло.

2.57. При гидропескоструйной и пескоструйной очистке фасадов не допускается превышать на пескоструйном аппарате давление, установленное инспекцией Госгортехнадзора.

2.56. Рабочие-сопловщики, работающие на пескоструйных аппаратах, должны проходить медосмотр один раз в месяц.

2.59. При промывке фасадов водой рабочие должны быть снабжены комбинезонами из плотной ткани, резиновыми сапогами и перчатками. При гидропескоструйной очистке работающий у сопла, кроме того, должен быть снабжен очками со сменными стеклами из триплекса и респиратором, а при пескоструйной очистке - защитным шлемом (рис. 18).

Работа без этих защитных приспособлений воспрещается.

III. Методы и приемы труда рабочих

3.1. Состав звена по очистке облицованных фасадов зависит от способа очистки (см. табл. 3).

Таблица 3

Способ очистки

Специальность

Разряд

Количество рабочих

Промывка водой

Рабочий по промывке

IV

2

Пескоструйная очистка

Пескоструйщик

IV

1

 

Пескоструйщик

III

1

Гидропескоструйная очистка

Пескоструйщик

IV

1

 

Подсобный рабочий

II

1

Примечания:

1. Механик-водитель и компрессорщик в состав звена ЖЭКа или ремонтнотроительного треста не входят и не предусматриваются нормами.

2. Ремонт облицовки производится облицовщиком-плиточником IV разряда.

3.2. При промывке фасадов водой оба рабочих выполняют одну и ту же операцию по промывке участков на смежных захватках; механик-водитель обслуживает вышку.

3.3. Промывка производится отдельными захватками; при периодическом опускании вышки (люльки) работы начинаются с верхних этажей и продолжаются вниз.

3.4. Ширина вертикальных захваток принимается от 2 до 4 м, в зависимости от размеров рабочей площадки подъемного устройства.

3.5. При пескоструйной и гидропескоструйной очистке пескоструйщик IV разряда производит непосредственную очистку фасада.

При гидропескоструйной очистке подсобный рабочий обеспечивает пескоструйный аппарат сухим просеянным песком, регулирует подачу песка, а также обеспечивает подачу воды к соплу.

При пескоструйной очистке пескоструйщик III разряда обеспечивает пескоструйный аппарат сухим просеянным песком, регулирует подачу песка и заменяет пескоструйщика IV разряда во время его отдыха.

Компрессорщик следит за работой компрессора и обеспечивает подачу сжатого воздуха в пескоструйный аппарат, механик-водитель обслуживает вышку.

3.6. При очистке гладких поверхностей фасада сопло перемещается в вертикальном направлении, а при обработке горизонтальных архитектурных деталейяг, карнизов, рустов) - в горизонтальном.

3.7. Работы по гидропескоструйной очистке производятся снизу вверх отдельными захватками при постепенном подъеме вышкиюльки).

3.8. После окончания гидропескоструйной очистки верхнего этажа производят промывку очищенных участков водой при движении рабочей площадки вышкиюльки) вниз.

А. Последовательность и приемы выполнения основных рабочих операций.

Таблица 4

№№ пп

Способ очистки

Описание и иллюстрация

1

2

3

1

Промывка водой с применением щетинной щетки конструкции ЛНИИ АКХ

Рабочий по промывке, удерживая руками щетку, в которую из домового водопровода поступает вода, передвигает ее в процессе очистки в вертикальном и горизонтальном направлениях, чем обеспечивается равномерность промывки (рис. 1).

После протирания щеткой фасад обмывается водой из шланга, укрепленного на рабочей площадке вышки.

2

Пескоструйная очистка

Рабочий-пескоструйщик производит очистку облицовки песком при помощи специального сопла, направляя его под углом 45 - 60° на расстоянии 0,5 - 0,7 м от очищаемой поверхности (рис. 2).

После окончания пескоструйной очистки песок и пыль удаляются сжатым воздухом от компрессора.

3

Гидропескоструйная очистка

Рабочий-пескоструйщик производит очистку фасада песком с водой при помощи специального сопла, направляя его под углом 45 - 50° на расстоянии 0,6 - 0,8 м от очищаемой поверхности (рис. 3).

Выключив подачу песка, направляя сопло под тем же углом, рабочий пескоструйщик открывает полностью кран подачи воды и производит промывку очищенных участков фасада (рис. 4).

4

Приклеивание керамических плиток

На тыльную сторону плитки металлическим шпателем плиточник-облицовщик наносит раствор и прижимает ее к стене.

Е. Калькуляция трудовых затрат на очистку облицовочных фасадов

Таблица 5

№№ пп

Шифр норм

Наименование работ

Единица измер.

Объем работ

Норма времени в чел.-час на единицу измерения

Затраты труда на весь объем работ в чел.-час

Расценка на единицу измерения в руб.-коп.

Стоимость затрат труда на весь объем работ в руб.-коп.

1

2

3

4

5

6

7

8

9

1

Нормы и расц. на ремонтно-стр. раб., не охваченные ЕНиР изд. 1961 г. см. прил. расчет

Очистка поверхности гладких фасадов при помощи пескоструйного аппарата с заполнением аппарата песком, установкой инвентарных щитов в оконные проемы для защиты остекления

100 м2 очищаемой поверхности

100

9

9

5-31

5-31

2

- ² -

То же, фасадов, отделанных рустами или под шубу

100 м2 очищаемой поверхности

100

10,5

10,5

6-19

6-19

3

Ведомственные нормы и расценки

Сб. В-49 § 105 1971 г.

Гидропескоструйная очистка поверхности фасадов гладких и отделанных под шубу или рустами с заполнением аппарата песком, с просеиванием его, с очисткой фасадов смесью песка и воды и промывкой фасадов водой

- ² -

100

4

4

2-24

2-24

4

ВНиР 1971 г. прим. § 105 с К = 0,75

4´0,75 = 3

2-24´0,75 = 1-68.

Промывка фасада водой. Первая промывка фасада водой с протиркой шваброй.

 

 

 

 

 

 

 

Н. вр. соотв. мест. норме

Упр. мех. ЛЖУ от 10.IV.72 г.

Вторая промывка фасада водой.

При промывке водой без протирки шваброй Н. вр. и расценку умножать на 0,6.

- ² -

100

3

3

1-68

1-68

Примечания:

1. Обслуживание компрессора указанными нормами времени и расценками не предусмотрено и должно оплачиваться отдельно.

2. При работе с люлек Н. вр. и расценку умножать на 1,2. Указанные коэффициент следует применять только на объем работ, выполненный с люлек.

3. Нормами и расценками данной калькуляции учтена подноска материалов и относка материалов и мусора после ремонта на расстояние до 30 м. Перенесение на расстояние сверх 30 м следует нормировать по сборнику 1 ЕНиР 1969 г «Внутрипостроечные транспортные работы».

4. При работе с люлек ее вертикальная передвижка учтена и дополнительной оплате не подлежит. Установку люльки и ее передвижку по горизонтали на длину люльки следует нормировать по § 8-32 ЕНиР 1969 г.

Переноску люльки по горизонтали сверх ее длины следует нормировать по разновидности 11 § 1-14 ЕНиР 1969 г.

Расчет Н. вр. и Расц. на очистку поверхности фасадов песком при помощи пескоструйного аппарата без использования отработанного песка

Выписка из сборника «Нормы и расценки на ремонтно-строительные работы, не охваченные ЕНиР» изд. 1961 г. утверждены приказом по Министерству коммунального хозяйства РСФСР от 4 августа 1961 г. § 50.

Очистка поверхности фасада песком при помощи пескоструйного аппарата без использования отработанного песка.

Состав работы

1. Заполнение аппарата песком с просеиванием его.

2. Очистка поверхности фасада при помощи пескоструйного аппарата.

Норма времени и расценка на 100 кв. м

Состав звена

Вид поверхности

Н. вр.

Расц.

4 разр. - 1

Гладкая

9

3-86

1

2 разр. - 1

Отделанная рустами или под шубу

10,5

4-50

2

Примечание: Нормами и расценками обслуживание компрессора не предусмотрено и должно оплачиваться отдельно.

Ввиду отсутствия этого вида работ в сборнике В-49 ВНиР для включения в калькуляцию трудовых затрат к технологической карте на пескоструйную очистку фасадов без использования отработанного песка, ЛНИИ АКХ приняв нормы § 50 вышеуказанного сборника с учетом повышения норм выработки на ремонтно-строительные работы в соответствии с постановлением Центрального Комитета КПСС, Совета Министров СССР и ВЦСПС от 29 декабря 1968 года № 1045 «О повышении заработной платы среднеоплачиваемых категорий работников, занятых в строительстве и на ремонтно-строительных работах», а также учтены дополнения и изменения к ЕНиР, вып. 2. Вносятся следующие исправления в § 50:

Состав звена: 4 разряд - 1 и 3 разряд - 1.

Расценка № 1:

4,5 ´ 0-62,5 + 4,5 ´ 0-55,5 = 2-81 + 2-50 = 5-31

Расценка № 2:

5,25 ´ 0-62,5 + 5,25 ´ 0-55,5 = 3-28 + 2-91 = 6-19.

IV. Материально-технические ресурсы

А. Материалы

Норма расхода материалов

Таблица 6

№№ пп

Основание к принятым расходам

Наименование работ

Объем работ

Наименование материалов и расход

песок, м3

вода, м3

1

2

3

4

5

6

1

Сборник производственных норм расхода строительных материалов на рем. стр. работы (к ЕНиР - 69 г.),

утвержд. Зам. Министра МЖКХ РСФСР приказ № 388 от 24.VIII.1971 г.

Сборник § 230 привязка к ЕНиР § 20-1-116

Пескоструйная очистка фасада

100 м2 фасада

0,254

-

2

«Временные технические указания по очистке загрязненных фасадов, облицованных естественным камнем и искусственными материалами», академия коммунального хозяйства им. К.Д. Памфилова, 1958 г.

Гидропескоструйная очистка фасада

- ² -

0,15

0,6

Промывка фасада водой

- ² -

-

0,7

Применяемые материалы

Таблица 7

№№ пп

Наименование материла

ГОСТ, ОСТ, ТУ

1

2

3

1

Песок

ГОСТ 8736-67

2

Портландцемент

ГОСТ 10178-62

3

Эмульсия поливинилацетатная 50 %-ная пластифицированная

ГОСТ 10002-62

4

Керамические плитки фасадные

ГОСТ 6664-59

Б. Средства механизации, инструменты и приспособления для очистки от облицованных фасадов и ремонта облицовки

Таблица 8

№№

пп

Наименование и краткое описание

Назначение

Техническая характеристика

Иллюстрац.

1

2

3

4

5

1

Шарнирная двухсекционная вышка Ш2-СВ-14.

Вышка состоит из четырех основных частей: самоходного пневмоколесного шасси, поворотной части, подъемных устройств и электрооборудования.

Вышка транспортируется на автомашине ЗИЛ-150 с прицепом, имеет самостоятельный механизм для ее передвижения на строительной площадке при обслуживании фасадных работ. В рабочем положении вышка фиксируется при помощи четырех выносных опор.

Подъем секций мачты, поворот и передвижение подъемника осуществляется от индивидуальных электродвигателей через соответствующие механические передачи.

Для очистки фасадов от загрязнений и выборочных ремонтных работ на фасадах зданий.

Наибольшая высота подъема в м - 13,8.

Наибольший вылет в м - 9.

Грузоподъемность люльки в кг - 200.

Наибольший угол поворота в град:

вокруг оси - 540

нижней секции - 87

верхней секции - 145.

Мощность электродвигателей в квт - 15,2

Рабочая скорость передвижения (самоходом) в км/ч - 1

Общий вес в т - 6.

рис. 5

2

Шарнирная двухсекционная вышка Ш2-СВ-18.

Вышка установлена на самоходном прицепе, который может передвигаться на участке со скоростью 1 км/час.

Механизмы подъема выполнены в виде винтовых домкратов с индивидуальным приводом от электродвигателя.

При стоянке вышки можно осуществлять работы в радиусе до 16 м.

Возможность управления из вышки позволяет обходить выступающие части фасадов зданий, балконы, провода.

Для очистки фасадов от загрязнений и выборочных ремонтных работ на фасадах зданий

Максимальная высота до пола вышки в м - 16,2.

Максимальный вылет опор в м - 9.

Грузоподъемность в кг - 150.

Время перевода в рабочее положение в мин - 15.

Габаритные размеры в м:

длина - 9,5

ширина - 2,8

высота - 3,2

Рабочий вес в т -7.

рис. 6

3

Телескопическая вышка ВИ-23.

Вышка смонтирована на автомобиле ЗИЛ-157.

Привод от двигателя осуществляется через раздаточную коробку автомобиля, коробку отбора мощности, карданный вал и раздаточную коробку лебедки.

Телескопическая часть устанавливается на кронштейн, закрепленный на раме автомобиля и при транспортировке укладывается на специальную подставку. Телескоп состоит из пяти раздвигающихся стальных труб. На конце последней трубы укреплена монтажная площадка - корзина. Все трубы раздвигаются одновременно и с одинаковой скоростью. Управление вышкой осуществляется из кабины автомобиля.

Для промывки загрязненных фасадов водой и выборочных ремонтных работ на фасадах зданий.

Наибольшая высота подъема (с учетом роста рабочего) в м - 23.

Грузоподъемность корзины в кг - 200.

Скорость подъема вышки при 1300 оборотах двигателя в м/мин - 7,5.

Скорость опускания в м/мин - 8.

Скорость передвижения вышки до 40 км/час.

Наибольший вес груза, перевозимого в кузове в кг - 500.

Габаритные размеры в транспортном положении в м:

длина - 8,35

ширина - 2,35

высота - 3,72.

Габаритные размеры в рабочем положении в м:

длина - 7,15

ширина с выдвинутым домкратом - 3,2.

Высота до пола площадки в м:

максимальная - 21,65

минимальная - 6,34

Вес вышки в кг:

с автомобилем - 8950

без автомобиля - 3000.

рис. 7

4

Люлька электрифицированная конструкции Ленинградского треста «Фасадремстрой». Люлька оборудована механическим приводом, установленным на специальной тележке.

Люлька состоит из подвесной части, рамы с тележкой, на которой установлен механизм подъема, консольных балок, двух грузовых и одного страховочного канатов.

Основными частями механизма подъема люльки являются электродвигатель, два тормоза, редуктор, два грузовых и один страховой барабаны лебедки.

Электрооборудование люльки размещается на ее тележке, а управление люлькой может производиться как с платформы самой люльки, так и с тележки.

Люлька снабжена ограничителями высоты подъема. Люлька подвешивается к консольным балкам, укрепленным на крышах ремонтируемых зданий.

Для перевозки люльки с объекта на объект подвесная часть опускается на тележку, которая перевозится на автомобиле с прицепом.

Для очистки фасадов от загрязнений и выборочных ремонтных работ на фасадах зданий.

Грузоподъемность в кг - 250.

Высота подъема в м - 30.

Скорость подъема в м/сек - 0,1.

Электродвигатель мощностью в кВт - 0,8.

Габаритные размеры подвесной части в м:

длина - 5

ширина - 0,8.

Вес люльки в кг - 280.

рис. 8

5

Люлька самоподъемная конструкции Мосжилуправления.

Люлька подвешивается на двух металлических канатах.

Подъем и опускание производится двумя ручными лебедками.

Каркас люльки изготовлен из полосовой стали, настил деревянный, ограждение трубчатое.

Лебедки имеют зубчатые передачи и безопасные рукоятки с храповыми собачками.

Для облегчения перемещения вдоль фасадов зданий люльки оборудуются роликами или колесами диам. 100 - 150 мм.

Для очистки фасадов от загрязнений и выборочных ремонтных работ на фасадах зданий.

Грузоподъемность в кг - 250.

Высота подъема в м - 30.

Скорость подъема в м/мин - 1,5 - 2.

Усилие на рукоятке лебедки в кг - 7.

Вес лебедки в кг - 250.

Габаритные размеры в мм:

длина - 4000

ширина - 1020

высота - 1450.

рис. 9

6

Люлька самоподъемная двухместная конструкции ДСК-2 Главленинградстроя.

Электродвигатель и двухбарабанная лебедка смонтированы под настилом люльки.

Люлька снабжена ловителем и конечным выключателем.

Передвижение люльки по земле осуществляется с помощью 4-х колес.

Металлоконструкция люльки сварная из труб.

Для очистки фасадов от загрязнений и выборочных ремонтных работ на фасадах зданий.

Грузоподъемность люльки в кг - 250.

Высота подъема в м - 30.

Скорость подъема в м/мин - 6,3 - 8.

Лебедка двухбарабанная, в мм:

диаметр барабана - 159

длина барабана - 200.

Диаметр грузового каната в мм - 7,6.

Количество грузовых канатов - 2.

Канатоемкость барабана при двухслойной навивке в м - 62.

Род тока: переменный, трехфазный.

Напряжение в В - 220/380.

Мощность электродвигателя в кВт - 1,1.

Габаритные размеры в мм:

длина - 3396

ширина - 967

высота - 2500

Вес в кг - 390.

рис. 10

7

Ловитель для страховки рабочих. Предложение Г.С. Петрова, А.Б. Гуслякова.

Приспособление состоит из следующих деталей: страховочного троса диаметром 8 мм и длиной, зависящей от высоты здания и расстояния до места крепления к конструкциям, корпусабоймы из листовой стали толщиной 8 мм с пружиной из стальной проволоки диаметром 2,5 мм, рукояти-рычага с отверстием диаметром 16 мм для карабина монтажного пояса на одном конце и эксцентриковым кулачком, имеющим притупленную насечку на рабочей плоскости на другом.

Ловитель устанавливается на тросе и фиксируется под тяжестью рукояти и прижимной пружины эксцентриковым выступом к тыльной поверхности корпуса. При рывке рукояти вниз трос у корпуса изгибается под углом 90° и зажимается эксцентриком тем сильнее, чем сильнее рывок или давление ручки вниз.

Для страховки рабочих при падении подвесных люлек.

 

рис. 11

8

Ловитель для закрепления на страховочном тросе работающих с подвесной люльки.

Предложение Е.А. Сиревича.

Рядом с люлькой натягивается стальной страховочный трос диаметром 9 мм.

На один конец троса, надежно закрепленного вверху на здании, надеваются ловители по количеству рабочих, второй конец закрепляется внизу за якорь. Зацепившись карабином предохранительного пояса за рычаг ловителя, работающий может свободно передвигаться на рабочем месте, при этом ловитель перемещается за ним по тросу. В случае падения рычаг под действием веса упавшего прижимает трос к стенкам корпуса ловителя, падение прекращается и рабочий подхватывается страховочным тросом.

Для закрепления на страховочном тросе работающих с подвесной люльки.

 

рис. 12

9

Щетинная щетка для промывки фасадов зданий.

Щетка в оправе крепится к рукоятке, внутри которой помещена латунная трубка, через которую по шлангу из домового водопровода подается вода.

Для промывки и очистки загрязненных фасадов зданий.

 

рис. 13

10

Гидросопло с приспособлением ЛНИИ АКХ.

Гидросопло имеет патрубок из газовой трубы диаметром 25 мм, на нижнем конце которого находится штуцер для присоединения материального шланга, по которому подается песок. В верхней части патрубка с помощью электросварки приварены два наконечника (рожка) из газовой трубы диаметром 19 мм с установленными на них соплами.

Насадка сопла с помощью распылителя плотно прижата к резиновой уплотнительной шайбе, находящейся на конце штуцера. По конической поверхности распылителя высверлены отверстия для выбрасывания струи воды при работе гидросопла.

Для гидропескоструйной очистки загрязненных фасадов зданий.

 

рис. 14

11

Сопло для пескоструйной очистки.

Конструкция сопла сварная из водопроводных труб.

Для удержания сопла в рабочем положении служит штуцер, изготовленный из газовой трубы диаметром 25 мм, на одном конце которого высверлены канавки для закрепления резинового шланга диаметром 32 мм, а на другом - нарезана резьба для навинчивания накидной гайки, удерживающей насадку (сопло) с щелевидным отверстием прямоугольного сечения. Эта насадка изготовляется из инструментальной стали с последующей закалкой.

Для пескоструйной очистки загрязненных фасадов.

 

рис. 16

12

Защитный шлем пескоструйщика типа МИОТ-49.

Шлем состоит из алюминиевого каркаса. Воздух поступает в шлем через ниппель по воздухопроводному шлангу, на конце которого имеется наконечник с крючком для прикрепления к поясу рабочего. На этот наконечник надевается конец резинового воздушного шланга, подающего воздух от воздухосборника компрессора. Регулирование количества поступающего в шлем воздух для дыхания производится самим рабочим с помощью специального крана в распределителе.

Для защиты головы, глаз, дыхательных путей рабочего от вредного воздействия на них пыли, песка и мелких осколков, счищаемых песчаной струей с поверхности фасада.

Вес шлема около 1 кг.

Количество подаваемого под шлем воздуха в л/мин - 200.

рис. 18

13

Шпатель стальной типа ШСД

Для нанесения и разравнивания раствора, а также отдельных операций при ремонте керамических плиток.

ГОСТ 10778-64

 

14

Бучарда

Для насечки штукатурки, получения шероховатой поверхности.

-

рис. 19

15

Молоток для насечки поверхности

- ² -

-

рис. 20

16

Кисть-макловица КМА-2

Для смачивания поверхности.

ГОСТ 10-597-70

 

Рис. 1. Промывка фасада водой с применением щетинной щетки конструкции ЛНИИ АКХ.

Рис. 2. Пескоструйная очистка фасада.

Рис. 3. Гидропескоструйная очистка фасада.

Рис. 4. Промывка водой очищенных участков фасада после гидропескоструйной очистки.

Рис. 5. Шарнирная двухсекционная вышка

1 - ходовая часть, 2 - поворотная часть, 3 - выносные опоры, 4 - подъемное устройство, 5 - нижняя секция мачты, 6 - верхняя секция мачты, 7 - люлька, 8 - пульт управления

Рис. 6. Шарнирная двухсекционная вышка Ш2СВ-18

1 - ходовая часть, 2 - поворотная часть, 3 - выносные опоры, 4 - подъемное устройство, 5 - нижняя секция мачты, 6 - верхняя секция мачты, 7 - люлька

Рис. 7. Телескопическая вышка ВИ-23 на автомобиле ЗИЛ-157.

1 - рабочая кабина вышки, 2 - телескопическая часть вышки, 3 - лебедка, 4 - опорный домкрат, 5 - кронштейны, 6 - кузов автомобиля

Рис. 8. Самоподъемная электрифицированная люлька Фасадремстроя-1

1 - консольные балки, 2 - подъемные блоки, 3 - люлька, 4 - грузовые канаты, 5 - страховой канат, 6 - тормоза, 7 - редуктор, 8 - рама платформы перевозной тележки, 9 - электродвигатель, 10 - грузовые барабаны лебедки, 11 - страховой барабан лебедки

Рис. 9. Люлька самоподъемная конструкции Мосжилуправления

Рис. 10. Люлька самоподъемная двухместная конструкции ДСК-2 Главленинградстроя

1 - металлоконструкции люльки; 2 - электрооборудование; 3 - упор отключающий; 4 - ловитель; 5 - лебедка

Рис. 11. Ловитель для страховки рабочих при падении подвесных люлек. Предложение Г.С. Петрова, А.Б. Гуслякова

1 - страховочный трос Æ 8 мм; 2 - корпус обоймы; 3 - пружина; 4 – рукоять рычага; 5 - отверстие Æ 16 мм; 6 - эксцентриковый кулачок.

Рис. 12. Ловитель для закрепления на страховочном тросе работающих с подвесной люльки. Предложение Е.А. Сиревича.

1 - рычаг; 2 - карабин; 3 - ловитель; 4 - страховочный трос.

Рис. 13. Щетка для промывки фасадов зданий.

1 - щетка, 2 - шланг Æ 8 l = 120 мм, 3 - оправа, 4 - рукоятка, 5 - хомутик, 6 - болт М6´30, 7 - трубка, 8 - кран запорный, 9 - шланг Æ 9.

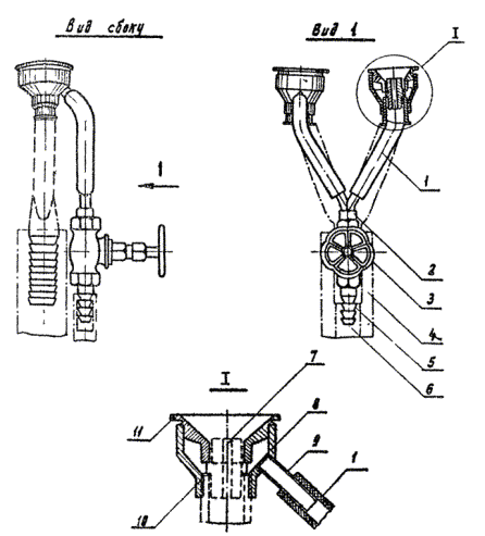
Рис. 14. Приспособление для гидропескоструйной очистки фасадов зданий

1 - резиновый шланг; 2 - тройник; 3 - кран запорный; 4 - шланг для песка; 5 - штуцер для подвода воды; 6 - шланг для подвода воды; 7 - сменный наконечник; 8 - корпус водяной рубашки; 9 - трубка; 10 - прокладка; 11 - распылитель

Рис. 15. Схема гидропескоструйной очистки

1 - компрессор, 2 - шланг диаметром 25 мм, 3 - пескоструйный аппарат, 4 - шланг диаметром 32 мм, 5 - сопло, 6 - обрабатываемая поверхность.

Рис. 16. Сопло для пескоструйной очистки

1 - штуцер сопла, 2 - накидная гайка, 3 - сопло

Рис. 17. Схема гидропескоструйной очистки

1 - компрессор, 2 - шланг диаметром 25 мм, 3 - шланг диаметром 15 мм, 4 - пескоструйный аппарат, 5 - бак с водой, 6 - шланг диаметром 32 мм, 7 - шланг диаметром 16 мм, 8 - сопла, 9 - обрабатываемая поверхность.

Рис. 18. Защитный шлем пескоструйщика конструкции МИОТ.

1 - каркас, 2 - головная часть шлема, 3 - пелерина, 4 - рамка со смотровым стеклом; 5 - рамка, 6 - скоба, 7 - наплечный ремень, 8 - воздухораспределитель, 9 - воздушный шланг, 10 - штуцер воздушного шланга, 11 - поясной крючок.

Рис. 19. Бучарда

1 - клин; 2 - ручка (древесина твердой породы, проолифлена, отшлифована и покрыта лаком); 3 - корпус (на 1/6 длины термически обработан HRC = 46 ¸ 52, оксидирован).

Рис. 20. Молоток для насечки поверхностей

1 - корпус (сталь У8 на 1/5 длины термически обработан до твердости HRC = 49 ¸ 56, оксидирован); 2 - клин; 3 - ручка (береза, проолифлена отшлифована и покрыта лаком).

Рис. 21. Серая шкала ЛНИИ АКХ.

СОДЕРЖАНИЕ

 

 




ГОСТЫ, СТРОИТЕЛЬНЫЕ и ТЕХНИЧЕСКИЕ НОРМАТИВЫ.
Некоммерческая онлайн система, содержащая все Российские Госты, национальные Стандарты и нормативы.
В Системе содержится более 150000 файлов нормативно-технической документации, действующей на территории РФ.
Система предназначена для широкого круга инженерно-технических специалистов.

Рейтинг@Mail.ru Яндекс цитирования

Copyright © www.gostrf.com, 2008 - 2026