Крупнейшая бесплатная информационно-справочная система онлайн доступа к полному собранию технических нормативно-правовых актов РФ. Огромная база технических нормативов (более 150 тысяч документов) и полное собрание национальных стандартов, аутентичное официальной базе Госстандарта. GOSTRF.com - это более 1 Терабайта бесплатной технической информации для всех пользователей интернета. Все электронные копии представленных здесь документов могут распространяться без каких-либо ограничений. Поощряется распространение информации с этого сайта на любых других ресурсах. Каждый человек имеет право на неограниченный доступ к этим документам! Каждый человек имеет право на знание требований, изложенных в данных нормативно-правовых актах!

  


 

Министерство жилищно-коммунального хозяйства РСФСР

Ленинградский научно-исследовательский институт
ордена Трудового Красного Знамени
Академии коммунального хозяйства
им. К.Д. Памфилова

ТИПОВАЯ ТЕХНОЛОГИЧЕСКАЯ КАРТА № 7

ОЧИСТКА ОТ ЗАГРЯЗНЕНИЙ ФАСАДОВ ЗДАНИЙ, ОКРАШЕННЫХ ПЕРХЛОРВИНИЛОВЫМИ КРАСКАМИ

Ленинград

1974

Технологическая карта № 7

Очистка от загрязнений фасадов зданий, окрашенных перхлорвиниловыми красками

ЛНИИ АКХ 1974 г.

 

Разработана лабораторией строительных конструкций и материалов

Утверждена

Приказ МЖКХ РСФСР № 365

«14» сентября 1973 г.

Срок введения

1 января 1974 г.

I. Область применения

1.1. Настоящая технологическая карта предназначена для работников жилищных и ремонтно-строительных организаций как руководство по организации и выполнению работ по очистке от загрязнений фасадов зданий, окрашенных перхлорвиниловыми красками, с последующим ремонтом поврежденных участков при проведении текущего ремонта жилых домов, находящихся в эксплуатации.

1.2. В карте дано описание схем очистки, основных средств механизации для производства работ по очистке фасадов, приемов труда рабочих, основных правил техники безопасности.

1.3. Привязка типовой технологической карты к местным условиям проведения текущего ремонта выполняется путем уточнения состава и объемов ремонтных работ, потребности в материальных ресурсах и составления калькуляции трудовых затрат на фактический объем работ по нормам, приведенным в технологической карте с учетом соответствующих примечаний.

II. Организация и технология ремонтного процесса

А. Условия и подготовка процесса

2.1. Для повышения срока службы зданий, окрашенных перхлорвиниловыми красками, и улучшения их внешнего вида необходимо не реже одного раза в три года в летние месяцы производить очистку фасадов от загрязнений с одновременным ремонтом разрушенных участков.

2.2. С целью правильной организации работ и лучшего использования средств механизации очистку фасадов рекомендуется производить на магистралях (по улицам, кварталам).

2.3. Очистка и промывка фасадов допускается при температуре воздуха не ниже +10 °С.

2.4. Для производства работ по очистке и ремонту фасадов применяются шарнирные двухсекционные вышки Ш2-СВ-14 и Ш2-СВ-18, телескопические вышки ВИ-23, а также механизированные люльки конструкции треста «Фасадремстрой», самоподъемные люльки конструкции Мосжилуправления и конструкции ДСК-2 Главленинградстроя (рис. 4 - 9).

2.5. Для страховки рабочих при падении подвесных люлек, а также для закрепления на страховочном тросе работающих с люльки служат ловители (рис. 10, 11).

2.6. До начала работ по очистке фасадов должен быть произведен ремонт кровли над карнизами, водосточных труб, покрытий парапетов, наружных оконных переплетов и дверей.

Б. Технология выполнения ремонтных работ

2.7. Счистку фасадов от загрязнений рекомендуется производить следующими способами:

чистой водой;

водой с песком (гидропескоструйная очистка) при сильном загрязнении фасада, когда промывка водой не достигает нужного эффекта (например, когда здания расположены вблизи от промышленных предприятий, когда фасад не промывался в течение длительного времени и др.).

а) Промывка фасадов водой

2.8. Промывку водой производят из шланга, подключенного к домовому водопроводу. Для промывки верхних этажей (начиная с третьего) рекомендуется подавать воду под давлением 2 - 3 атм.

С этой целью между водопроводом и насосом устанавливается бак. Из водопровода вода поступает в этот бак, а из него насосом подается на фасад.

При использовании вышек Ш2-СВ-14 и Ш2-СВ-18 насос и бак монтируются на ходовой части этих вышек.

При использовании телескопических автовышек насос и бак можно установить непосредственно в кузове автомашины.

Промывка производится до полного удаления загрязнения.

2.9. При невозможности удаления загрязнений на отдельных участках они промываются водой с одновременным протиранием волосяными щетками или швабрами.

Для протирания поверхности фасада можно использовать также щетинные щетки конструкции ЛНИИ АКХ (рис. 12).

2.10. Шланг для воды должен быть укреплен на площадке вышкиюльки) так, чтобы длина свободного конца шланга составляла примерно 2 м.

2.11. При наличии приямковаглублений), а также окон, расположенных ниже уровня тротуара, необходимо защищать их от попадания воды, стекающей с фасада, путем установки специальных защитных козырьков.

б) Гидропескоструйная очистка фасадов

2.12. Гидропескоструйная очистка загрязненного фасада производится струей песка, смешанной со струей воды. Для очистки применяется сухой кварцевый песок, просеянный через сито с размерами отверстий не более 1,0´1,0 мм.

2.13. Схема гидропескоструйной очистки приведена на рис. 14.

2.14. Для гидропескоструйной очистки рекомендуется использовать гидросопло с приспособлением конструкции ЛНИИ АКХ (рис. 13).

Перед началом работ головки приспособления навинчиваются на штуцер сопла; при этом необходимо обратить внимание на наличие и правильное положение прокладки; резиновые шланги присоединяются к головкам и закрепляются мягкой проволокой; шланг для подачи воды от домового водопровода присоединяется к штуцеру для подвода воды; проверяется надежность присоединения шланга для подачи сухого песка к штуцеру.

Сжатым воздухом сухой песок из пескоструйного аппарата по шлангу подается к соплу и выбрасывается в виде струи через сменные наконечники; количество песка в струе регулируется рукояткой на пескоструйном аппарате. При открывании напорного крана вода из домового водопровода по шлангу подается в головки, откуда через отверстия распылителей выбрасывается наружу и смачивает песок по выходе последнего из отверстий сменных наконечников. Подача воды регулируется запорным краном с таким расчетом, чтобы сухой песок смачивался водой полностью и обеспечивалась необходимая ударная сила песка.

2.15. Давление воздуха на компрессоре должно быть 3,5 - 4,0 атм, а давление воды в сети не менее 0,5 атм.

2.16. Шланги для подачи песка и воды должны быть закреплены на рабочей площадке вышки (люльки) таким образом, чтобы их свободные концы составляли не более 3 м.

2.17. Для удаления остатка песка с поверхности фасада, после гидропескоструйной обработки, очищенная поверхность промывается водой, при этом прекращается подача песка, а кран, регулирующий подачу воды, открывается полностью.

2.18. При наличии на фасаде балконов или других выступающих частей участки, расположенные над балконами, очищают на высоту до 3 м с площадок балконов.

2.19. Для предохранения оконных стекол от повреждения песком они должны быть защищены щитами.

в) Ремонт поврежденных участков

2.20. После очистки от загрязнений фасадов зданий производится ремонт поврежденных участков. При мелких повреждениях гладкой штукатурки площадью до 0,5 м2 раствор можно наносить в один слой на очищенную и смоченную поверхность стены. Если площадь поврежденной штукатурки больше, раствор следует наносить в 3 слоя: набрызг, грунт и накрывочный слой (Способ нанесения см. технологическую карту 1).

2.21. При наличии на фасаде отдельных глубоких трещин в штукатурке необходимо их расшить на глубину не менее 2 см, промыть водой, заполнить раствором и затереть заподлицо с поверхностью штукатурки.

2.22. Участки новой штукатурки выравниваются шпаклевкой, а затем окрашиваются перхлорвиниловой краской под цвет фасада. Технология окраски фасадов перхлорвиниловыми красками приводится в технологической карте 5.

В. Контроль качества

2.23. При приемке очищенных и отремонтированных фасадов необходимо обратить внимание на следующее:

- не должно быть загрязненных участков, а также остатков песка на поверхности фасада (при гидропескоструйной очистке);

- не должно быть неотремонтированных поврежденных участков;

- цвет вновь окрашенных участков не должен резко отличаться от цвета очищенного фасада.

2.24. Оценка качества очищенного фасада производится визуально.

2.25. Для более объективной оценки рекомендуется «серая шкала», предложенная ЛНИИ АКХ (рис. 15).

По этой шкале оценка степени очистки производится по десятибальной системе.

В таблице 1 приводятся № шкалы в зависимости от соотношения серого и белого цветов.

Таблица 1

№ шкалы

Содержание краски в %

Светлость тона в %

белой

серой

1

100

-

80

2

90

10

70

3

80

20

64

4

75

25

60

5

70

30

56

6

55

45

46

7

50

50

40

8

30

70

30

9

10

90

27

10

-

100

25

Для определения степени очистки шкала прикладывается к поверхности фасада на трех-пяти участках каждого этажа. Фасад считается чистым, если светлота очищенной поверхности соответствует №№ 1 - 5 шкалы.

Степень очистки фасадов, окрашенных в светлые тона, после удаления загрязнения не должна быть выше № 3 шкалы.

2.26. Качество очистки фасадов, окрашенных в цельные колера, не содержащих белого цвета (темнокоричневый, темнокрасный, темносиний, темнозеленый) определяется визуально по внешнему осмотру.

2.27. При работе со шкалой, необходимо следить, чтобы фасад не освещался солнечными лучами, так как при этом искажается абсолютный показатель светлости.

Г. Техника безопасности

2.28. Все работы по очистке фасадов от загрязнений, ранее окрашенных перхлорвиниловыми красками, производятся в соответствии со СНиП III-А.11-62 «Техника безопасности в строительстве», а также «Правилами техники безопасности при текущем и капитальном ремонте жилых и общественных зданий», утвержденными Президиумом ЦК профсоюза рабочих местной промышленности и коммунально-бытовых предприятий от 10 декабря 1969 г., протокол № 43 и МКХ РСФСР - 7.1.1970 г.

2.29. Воспрещается допускать рабочих к работе на фасадах без предварительного инструктажа их по технике безопасности. Инструктаж рабочих должен быть обмечен в специальном журнале с их распиской.

2.30. Ежедневно, перед началом работ необходимо проверить исправность подъемных приспособлений и оборудования и устранить неисправности.

2.31. При проведении на фасадах работ должна быть ограждена опасная зона, куда допуск людей и транспортных средств воспрещается.

2.32. При работе на фасадах, около которых расположены воздушные электрические сети, необходимо следить за тем, чтобы инструменты и части оборудования не соприкасались с проводами и растяжками.

2.33. При работе с автовышки посадка рабочих в корзину автовышки, а также загрузка материалами и инструментами производится при опущенной корзине.

2.34. При ширине тротуара меньшей, чем наибольшая ширина колеи колес автовышки, для выравнивания уровня колес вдоль поребрика укладываются деревянные щиты, из которых располагаются колеса автовышки.

При расположении колес автовышки на наклонной поверхности необходимо для торможения колес подложить под них деревянные клинья.

2.35. Для подъема и спуска люлек при помощи лебедок следует применять гибкие стальные канаты, диаметры которых определяются расчетом с запасом прочности не менее шестикратного.

2.36. При опускании люльки на барабанах должно оставаться не менее, чем по два витка грузовых канатов. Во время работы люльки необходимо систематически следить за тем, чтобы грузовые канаты наматывались равномерно на барабаны и не соскакивали с них.

2.37. Один раз в два месяца люлька должна проходить тщательный осмотр в мастерских со вскрытием редуктора и муфты лебедки и проверкой трущихся деталей.

2.38. По окончании работы на объекте грузовые канаты должны быть намотаны на барабаны лебедки, страховые канаты и питающий кабель свернуты в бухты и уложены в люльку. Загрязненные узлы лебедки должны быть очищены, а открытые детали, которые могут корродировать при длительном хранении, покрывают слоем защитной смазки.

2.39. Запрещается подъем и спуск рабочих на люльке без помощи лебедки. При подъеме или опускании люльки не разрешается касаться барабанов лебедки, канатов и блоков, вставать на ограждения люльки. Рабочие должны применять пояса со страховыми канатами.

2.40. Корзина автовышки, а также настилы двухярусной вышки и люльки должны регулярно очищаться от строительного мусора и грязи.

2.41. До пуска в ход пескоструйного аппарата необходимо проверить прочность шлангов и их соединений, прочность их крепления к перилам корзины автовышки или к выдвижной вышке.

2.42. Во время работы пескоструйного аппарата запрещается прочищать засорившееся сопло.

2.48. При гидропескоструйной очистке фасадов не допускается превышать на пескоструйном аппарате давление, установленное инспекцией Госгортехнадзора.

2.44. Рабочие-сопловщики, работающие на пескоструйных аппаратах, должны проходить медосмотр один раз в месяц.

2.45. При промывке фасадов водой рабочий должен быть снабжен комбинезоном из плотной ткани, резиновыми сапогами и перчатками. При гидропескоструйной очистке работающий у сопла, кроме того, должен быть снабжен очками со сменными стеклами из триплекса для защиты глаз от частиц песка. Работа без этих защитных приспособлений воспрещается.

2.46. При работе с перхлорвиниловыми красками необходимо соблюдать следующие правила противопожарной безопасности:

- необходимо хранить краски в банках или бидонах с герметически закрывающимися крышками;

- в качестве растворителей при разжижении красок и шпаклевок может быть применен только сольвент, толуол для этой цели применять категорически воспрещается;

- на складах хранения красок, а также при окрасочных работах, категорически запрещается курить, применять открытый огонь и производить работы, связанные с искрообразованием;

- складские помещения должны быть снабжены огнетушителями и ящиками с песком, а рабочие должны быть проинструктированы, как пользоваться ими;

- во избежание кожных заболеваний следует перед работой смазывать руки вазелином или глицерином;

- перед едой и по окончании работы руки должны быть тщательно вымыты. Краска смывается тряпкой, смоченной сольвентом или ксилолом; после этого руки моются теплой водой с мылом;

- маляры во время работы должны быть снабжены защитными очками и респираторами.

III. Методы и приемы труда рабочих

3.1. Состав звена по очистке фасадов зависит от способа очистки и приводится в таблице 2.

Таблица 2

Способ очистки

Специальность

Разряд

Количество рабочих

Промывка водой

Рабочий по промывке

IV

2

Гидропескоструйная очистка

Пескоструйщик

IV

1

 

Подсобный рабочий

II

1

Примечания:

1. Механик-водитель и компрессорщик в состав звена ЖЭКа или ремонтнотроительного треста не входят и не предусматриваются нормами.

2. Ремонт поврежденных участков производится штукатуром-маляром IV разряда.

3.2. При промывке фасадов водой оба рабочих выполняют одну и ту же операцию по промывке участков на смежных захватках; механик-водитель обслуживает вышку. Промывка производится сверху вниз отдельными захватками.

3.3. Ширина вертикальных захваток принимается от 2 до 4 м в зависимости от размеров рабочей площадки подъемного устройства.

3.4. При гидропескоструйной очистке пескоструйщик производит непосредственную очистку фасада; подсобный рабочий обеспечивает пескоструйный аппарат сухим просеянным песком, регулирует подачу песка, а также регулирует подачу воды к соплу; компрессорщик следит за работой компрессора и регулирует подачу сжатого воздуха в пескоструйный аппарат; механик-водитель обслуживает вышку.

3.5. При очистке гладких поверхностей фасада сопло перемещается в вертикальном направлении, а при обработке горизонтальных архитектурных деталейяг, карнизов, рустов) - в горизонтальном.

3.6. Работы по гидропескоструйной очистке производятся снизу вверх отдельными захватками при постепенном подъеме вышкиюльки).

3.7. После окончания гидропескоструйной очистки верхнего этажа производят промывку очищенных участков водой при движении рабочей площадки вышкиюльки) вниз.

А. Последовательность и приемы выполнения основных рабочих операций.

Таблица 3

№№ пп

Способ очистки

Описание и иллюстрация

1

2

3

1

Промывка водой с применением щетинной щетки конструкции ЛНИИ АКХ

Рабочий по промывке, удерживая руками щетку, в которую из домового водопровода поступает вода, передвигает ее в процессе очистки в вертикальном и горизонтальном направлениях, чем обеспечивается равномерность промывки (рис. 1).

После протирания щеткой фасад обмывается водой из шланга, укрепленного на рабочей площадке вышки.

2

Гидропескоструйная очистка

Рабочий-пескоструйщик производит очистку фасада песком с водой при помощи специального сопла, направляя его под углом 45 - 60° на расстоянии 0,6 - 0,8 м от очищаемой поверхности (рис. 2).

Выключив подачу песка, направляя сопло под тем же углом, рабочий пескоструйщик открывает полностью кран подачи воды и производит промывку очищенных участков фасада (рис. 3).

Примечание: Описание приемов труда по ремонту штукатурки и окраске перхлорвиниловыми красками приведены в технологической карте 5.

Е. Калькуляция трудовых затрат на очистку от загрязнений фасадов, окрашенных перхлорвиниловыми красками

Таблица 4

№№ пп

Шифр норм

Наименование работ

Единица измер.

Объем работ

Норма времени в чел.-час на единицу измерений

Затраты труда на весь объем работ в чел.-час

Расценка на единицу измерения в руб.-коп.

Стоимость затрат труда на весь объем работ в руб.-коп.

1

2

3

4

5

6

7

8

9

1

Ведомственные нормы и расценки

Сб. В-49 § 105 1971 г.

Гидропескоструйная очистка поверхности фасадов гладких и отделанных под «шубу» или рустами с заполнением аппарата песком, с просеиванием его, с очисткой фасадов смесью песка и воды и промывкой фасадов водой

100 м2 очищенной поверхности

100

4

4

2-24

2-24

2

ВНиР-71 г. прим. § 105 с К = 0,75

4´0,75 = 3

2-24´0,75 = 1,68.

Норма времени соответствует местной норме Упр. мех. ЛЖУ от 10.IV.72 г.

Промывка фасада водой. Первая промывка фасада водой с протиркой шваброй. Вторая промывка фасада водой. При промывке водой без протирки шваброй Н. времени и расценку умножать на 0,6.

- ² -

100

3

3

1-68

1-68

Примечания:

1. Обслуживание компрессора указанными нормами времени и расценками не предусмотрено и должно оплачиваться отдельно.

2. При работе с люлек Н. времени и расценку умножать на 1,2. Указанные коэффициенты следует применять только на объем работ, выполненный с люлек.

3. Нормами и расценками данной калькуляции учтена подноска материалов и относка материалов и мусора после ремонта на расстояние до 30 м. Перенесение на расстояние сверх 30 м следует нормировать по сборнику 1 ЕНиР 1969 г «Внутрипостроечные транспортные работы».

IV. Материально-технические ресурсы

А. Материалы

Норма расхода материалов

Таблица 5

№№ пп

Основание к принятым расходам

Наименование работ

Объем работ

Наименование материалов и расход

песок, м3

вода, м3

1

2

3

4

5

6

1

«Руководство по очистке и текущему ремонту фасадов зданий, окрашенных перхлорвиниловыми красками». ЛНИИ АКХ им. К.Д. Памфилова, 1957 г.

Гидропескоструйная очистка фасада

100 м2 фасада

0,3

0,5

Промывка фасада водой

- ² -

-

1-1,2

Применяемые материалы

Таблица 6

№№ пп

Наименование материла

ГОСТ, ОСТ, ТУ

1

2

3

1

Песок

ГОСТ 8736-67

2

Известь строительная

ГОСТ 9179-70

3

Портландцемент

ГОСТ 10178-62

4

Лак перхлорвиниловый ХВ-148

МРТУ 6-10-868-69

5

Шпаклевка перхлорвиниловая для фасадов ХВ-0018

МРТУ 6-10-872-69

6

Краски перхлорвиниловые фасадные XВ-161

МРТУ 6-10-908-70

Б. Средства механизации, инструменты и приспособления для очистки от загрязнений фасадов зданий, ранее окрашенных перхлорвиниловыми красками

Таблица 7

№№

пп

Наименование и краткое описание

Назначение

Техническая характеристика

Иллюстрац.

1

2

3

4

6

1

Шарнирная двухсекционная вышка Ш2-СВ-14.

Вышка состоит из четырех основных частей: самоходного пневмоколесного шасси, поворотной части, подъемных устройств и электрооборудования. Вышка транспортируется на автомашине ЗИЛ-150 с прицепом, имеет самостоятельный механизм для ее передвижения на строительной площадке при обслуживании фасадных работ. В рабочем положении вышка фиксируется при помощи четырех выносных опор.

Подъем секций мачты, поворот и передвижение подъемника осуществляется от индивидуальных электродвигателей через соответствующие механические передачи.

Для очистки фасадов от загрязнений и выборочных ремонтных работ на фасадах зданий.

Наибольшая высота подъема в м - 13,8.

Наибольший вылет в м - 9.

Грузоподъемность люльки в кг - 200.

Наибольший угол поворота в град:

вокруг оси - 540

нижней секции - 87

верхней секции - 145.

Мощность электродвигателей в квт - 15,2

Рабочая скорость передвижения (самоходом) в км/ч - 1

Общий вес в т - 6

рис. 4

2

Шарнирная двухсекционная вышка Ш2-СВ-18.

Вышка установлена на самоходном прицепе, который может передвигаться на участке со скоростью 1 км/час.

Механизмы подъема выполнены в виде винтовых домкратов с индивидуальным приводом от электродвигателя. При стационарной стоянке вышки можно осуществлять работы в радиусе до 16 м.

Возможность управления из вышки позволяет обходить выступающие части фасадов зданий, балконы, провода.

Для очистки фасадов от загрязнений и выборочных ремонтных работ на фасадах зданий

Максимальная высота до пола вышки в м - 16,2.

Максимальный вылет опор в м - 9.

Грузоподъемность в кг - 150

Время перевода в рабочее положение в мин - 15

Габаритные размеры в м:

длина - 9,5

ширина - 2,8

высота - 3,2

Рабочий вес в т - 7

рис. 5

3

Телескопическая вышка ВИ-23.

Вышка смонтирована на автомобиле ЗИЛ-157.

Привод от двигателя осуществляется через раздаточную коробку автомобиля, коробку отбора мощности, карданный вал и раздаточную коробку лебедки.

Телескопическая часть устанавливается на кронштейн, закрепленный на раме автомобиля и при транспортировке укладывается на специальную подставку. Телескоп состоит из пяти раз двигающихся стальных труб. На конце последней трубы укреплена монтажная площадка - корзина. Все трубы раздвигаются одновременно и с одинаковой скоростью.

Управление вышкой осуществляется из кабины автомобиля.

Для промывки загрязненных фасадов водой и выборочных ремонтных работ на фасадах зданий.

Наибольшая высота подъема (с учетом роста рабочего) в м - 23.

Грузоподъемность корзины в кг - 200.

Скорость подъема вышки при 1300 оборотах двигателя в м/мин - 7,5.

Скорость опускания в м/мин - 8.

Скорость передвижения вышки до 40 км/час.

Наибольший вес груза, перевозимого в кузове в кг - 500.

Габаритные размеры в транспортном положении в м:

длина - 8,35

ширина - 2,35

высота - 3,72.

Габаритные размеры в рабочем положении в м:

длина - 7,15

ширина с выдвинутым домкратом - 3,2.

Высота до пола площадки в м:

максимальная - 21,65

минимальная - 6,34

Вес вышки в кг:

с автомобилем - 8950,

без автомобиля - 3000.

рис. 6

4

Люлька электрифицированная конструкции Ленинградского треста «Фасадремстрой». Люлька оборудована механическим приводом, установленным на специальной тележке.

Люлька состоит из подвесной части, рамы с тележкой, на которой установлен механизм подъема, консольных балок, двух грузовых и одного страховочного канатов.

Основными частями механизма подъема люльки являются электродвигатель, два тормоза, редуктор, два грузовых и один страховой барабаны лебедки.

Электрооборудование люльки размещается на ее тележке, а управление люлькой может производиться как с платформы самой люльки, так и с тележки.

Люлька снабжена ограничителями высоты подъема. Люлька подвешивается к консольным балкам, укрепленным на крышах ремонтируемых зданий.

Для перевозки люльки с объекта на объект подвесная часть опускается на тележку, которая перевозится на автомобиле с прицепом.

Для очистки фасадов от загрязнений и выборочных ремонтных работ на фасадах зданий.

Грузоподъемность в кг - 250.

Высота подъема в м - 30.

Скорость подъема в м/сек - 0,1.

Электродвигатель мощностью в кВт - 1,8.

Габаритные размеры подвесной части в м:

длина - 5

ширина - 0,8.

Вес люльки в кг - 280.

рис. 7

5

Люлька самоподъемная конструкции Мосжилуправления.

Люлька подвешивается на двух металлических канатах.

Подъем и опускание производится двумя ручными лебедками.

Каркас люльки изготовлен из полосовой стали, настил деревянный, ограждение трубчатое.

Лебедки имеют зубчатые передачи и безопасные рукоятки с храповыми собачками.

Для облегчения перемещения вдоль фасадов зданий люльки оборудуются роликами или колесами диам. 100 - 150 мм.

Для очистки фасадов от загрязнений и выборочных ремонтных работ на фасадах зданий.

Грузоподъемность в кг - 250.

Высота подъема в м - 30.

Скорость подъема в м/мин - 1,5 - 2.

Усилие на рукоятке лебедки в кг - 7.

Габаритные размеры в мм:

длина - 4000

ширина - 1020

высота - 1450.

рис. 8

6

Люлька самоподъемная двухместная конструкции ДСК-2 Главленинградстроя.

Электродвигатель и двухбарабанная лебедка смонтированы под настилом люльки.

Люлька снабжена ловителем и конечным выключателем.

Передвижение люльки по земле осуществляется с помощью 4-х колес.

Маталлоконструкция люльки сварная из труб.

Для очистки фасадов от загрязнений и выборочных ремонтных работ на фасадах зданий.

Грузоподъемность люльки в кг - 250.

Высота подъема в м - 30.

Скорость подъема в м/мин - 6,3 - 8.

Лебедка двухбарабанная, в мм:

диаметр барабана - 159

длина барабана - 200

Диаметр грузового каната в мм - 7,6.

Количество грузовых канатов - 2.

Канатоемкость барабана при двухслойной канавке в м - 62.

Род тока: переменный, трехфазный.

Напряжение в В - 220/380.

Мощность электродвигателя в кВт - 1,1.

Габаритные размеры в мм:

длина - 3396

ширина - 967

высота - 2500

Вес в кг - 390

рис. 9

7

Ловитель для страховки рабочих. Предложение Г.С. Петрова, А.Б. Гуслякова.

Приспособление состоит из следующих деталей: страховочного троса диаметром 8 мм и длиной, зависящей от высоты здания и расстояния до места крепления к конструкциям, корпусабоймы из листовой стали толщиной 8 мм с пружиной из стальной проволоки диаметром 2,5 мм, рукояти-рычага с отверстием диаметром 16 мм для карабина монтажного пояса - на одном конце и эксцентриковым кулачком, имеющим притупленную насечку на рабочей плоскости на другом.

Ловитель устанавливается на тросе и фиксируется под тяжестью рукояти и прижимной пружины эксцентриковым выступом к тыльной поверхности корпуса. При рывке рукояти вниз трос у корпуса изгибается под углом 90° и зажимается эксцентриком тем сильнее, чем сильнее рывок или давление ручки вниз.

Для страховки рабочих при падении подвесных люлек.

 

рис. 10

8

Ловитель для закрепления на страховочном тросе работающих с подвесной люльки.

Предложение Е.А. Сиревича.

Рядом с люлькой натягивается стальной страховочный трос диаметром 9 мм. На один конец троса, надежно закрепленного вверху на здании, надеваются ловители по количеству рабочих, второй конец закрепляется внизу за якорь.

Зацепившись карабином предохранительного пояса за рычаг ловителя, работающий может свободно передвигаться на рабочем месте, при этом ловитель перемещается за ним по тросу.

В случае падения рычаг под действием веса упавшего прижимает трос к стенкам корпуса ловителя, падение прекращается и рабочий подхватывается страховочным тросом.

Для закрепления на страховочном тросе работающих с подвесной люльки.

 

рис. 11

9

Щетинная щетка для промывки фасадов зданий.

Щетка в оправе крепится к рукоятке, внутри которой помещена латунная трубка, через которую по шлангу из домового водопровода подается вода.

Для промывки и очистки загрязненных фасадов зданий.

 

рис. 12

10

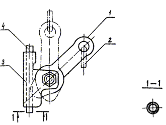
Гидросопло с приспособлением ЛНИИ АКХ. Гидросопло имеет патрубок из газовой трубы диаметром 25 мм, на нижнем конце которого находится штуцер для присоединения материального шланга, по которому подается песок. В верхней части патрубка с помощью электросварки приварены два наконечника (рожка) из газовой трубы диаметром 19 мм с установленными на них соплами. Насадка сопла с помощью распылителя плотно прижата к резиновой уплотнительной шайбе, находящейся на конце штуцера. По конической поверхности распылителя высверлены отверстия для выбрасывания струи воды при работе гидросопла.

Для гидропескоструйной очистки загрязненных фасадов зданий.

 

рис. 13

Примечание. Инструменты и механизмы для ремонта поврежденных участков приводятся в технологической карте № 5.

Рис. 1. Промывка фасада водой с применением щетинной щетки конструкции ЛНИИ АКХ.

Рис. 2. Гидропескоструйная очистка фасада.

Рис. 3. Промывка водой очищенных участков после гидропескоструйной очистки.

Рис. 4. Шарнирная двухсекционная вышка

1 - ходовая часть, 2 - поворотная часть, 3 - выносные опоры, 4 - подъемное устройство, 5 - нижняя секция мачты, 6 - верхняя секция мачты, 7 - люлька, 8 - пульт управления

Рис. 5. Шарнирная двухсекционная вышка Ш2СВ-18

1 - ходовая часть, 2 - поворотная часть, 3 - выносные опоры, 4 - подъемное устройство, 5 - нижняя секция мачты, 6 - верхняя секция мачты, 7 - люлька

Рис. 6. Телескопическая вышка ВИ-23 на автомобиле ЗИЛ-157.

1 - рабочая кабина вышки, 2 - телескопическая часть вышки, 3 - лебедка, 4 - опорный домкрат, 5 - кронштейны, 6 - кузов автомобиля

Рис. 7. Самоподъемная электрифицированная люлька Фасадремстроя-1

1 - консольные балки, 2 - подъемные блоки, 3 - люлька, 4 - грузовые канаты, 5 - страховой канат, 6 - тормоза, 7 - редуктор, 8 - рама платформы перевозной тележки, 9 - электродвигатель, 10 - грузовые барабаны лебедки, 11 - страховой барабан лебедки

Рис. 8. Люлька самоподъемная конструкции Мосжилуправления

Рис. 9. Люлька самоподъемная двухместная конструкции ДСК-2 Главленинградстроя

1 - металлоконструкции люльки; 2 - электрооборудование; 3 - упор отключающий; 4 - ловитель; 5 - лебедка

Рис. 10. Ловитель для страховки рабочих при падении провесных люлек. Предложение Г.С. Петрова, А.Б. Гуслякова

1 - страховочный трос Æ 8 мм; 2 - корпус обоймы; 3 - пружина; 4 - рукоять рычага; 5 - отверстие Æ 16 мм; 6 - эксцентриковый кулачок.

Рис. 11. Ловитель для закрепления на страховочном тросе работающих с подвесной люльки. Предложение Е.А. Сиревича.

1 - рычаг; 2 - карабин; 3 - ловитель; 4 - страховочный трос.

Рис. 12. Щетка для промывки фасадов зданий.

1 - щетка, 2 - шланг Æ 8 l = 120 мм, 3 - оправа, 4 - рукоятка, 5 - хомутик, 6 - болт М6´30, 7 - трубка, 8 - кран запорный, 9 - шланг Æ 9.

Рис. 13. Приспособление для гидропескоструйной очистки фасадов зданий

1 - резиновый шланг; 2 - тройник; 3 - кран запорный; 4 - шланг для песка; 5 - штуцер для подвода воды; 6 - шланг для подвода воды; 7 - сменный наконечник; 8 - корпус водяной рубашки; 9 - трубка; 10 - прокладка; 11 - распылитель

Рис. 14. Схема гидропескоструйной очистки

1 - компрессор, 2 - шланг диаметром 25 мм, 3 - шланг диаметром 15 мм, 4 - пескоструйный аппарат, 5 - бак с водой, 6 - шланг диаметром 32 мм, 7 - шланг диаметром 16 мм, 8 - сопла, 9 - обрабатываемая поверхность.

Рис. 15. Серая шкала ЛНИИ АКХ.

СОДЕРЖАНИЕ

 

 




ГОСТЫ, СТРОИТЕЛЬНЫЕ и ТЕХНИЧЕСКИЕ НОРМАТИВЫ.
Некоммерческая онлайн система, содержащая все Российские Госты, национальные Стандарты и нормативы.
В Системе содержится более 150000 файлов нормативно-технической документации, действующей на территории РФ.
Система предназначена для широкого круга инженерно-технических специалистов.

Рейтинг@Mail.ru Яндекс цитирования

Copyright © www.gostrf.com, 2008 - 2026