Крупнейшая бесплатная информационно-справочная система онлайн доступа к полному собранию технических нормативно-правовых актов РФ. Огромная база технических нормативов (более 150 тысяч документов) и полное собрание национальных стандартов, аутентичное официальной базе Госстандарта. GOSTRF.com - это более 1 Терабайта бесплатной технической информации для всех пользователей интернета. Все электронные копии представленных здесь документов могут распространяться без каких-либо ограничений. Поощряется распространение информации с этого сайта на любых других ресурсах. Каждый человек имеет право на неограниченный доступ к этим документам! Каждый человек имеет право на знание требований, изложенных в данных нормативно-правовых актах!

  


 

Госстрой СССР

Центральный научно-исследовательский
и проектно-экспериментальный институт
промышленных зданий и сооружений
(ЦНИИ
промзданий)

РЕКОМЕНДАЦИИ
ПО ПРОЕКТИРОВАНИЮ И РАСЧЕТУ СИСТЕМ
ОБОГРЕВА ПОЛОВ ОТКРЫТЫХ ПЛОЩАДОК

Москва - 1985

Рекомендованы к изданию Главстройпроектом Госстроя СССР.

Предназначены для проектирования и расчета систем обогрева полов открытых площадок нефтехимических (НХЗ) и нефтеперерабатывающих (НПЗ) заводов и содержат конструктивные решения обогреваемых полов, требования к их устройству, к размещению и прокладке нагревательных трубопроводов, а также зависимости для определения тепловых нагрузок на системы обогрева, их теплотехнического и гидравлического расчета.

Для инженерно-технических работников и проектировщиков.

Рекомендации составлены ЦНИИпромзданий (кандидаты техн. наук Л.П. Ананикян, В.В. Пономарева, Г.К. Саранчина, Е.О. Шилькрот) совместно с Ростовским Промстройниипроектом.

Замечания и предложения, а также сведения об использовании Рекомендаций просим направлять по адресу: 127238, Москва, Дмитровское ш., 46, ЦНИИпромзданий, лаборатория отопления и вентиляции.

УСЛОВНЫЕ ОБОЗНАЧЕНИЯ

b - ширина площадки, м;

d - толщина слоя, м;

S - шаг между трубами, м;

l - длина прямого участка змеевика, м;

h - глубина заложения труб, м;

j - интенсивность процесса, м/ч (м3× ч)

F - площадь, м2;

f - площадь живого сечения, м2;

u - скорость ветра, м/с;

w - скорость жидкости, м/с;

G - расход, кг/ч;

Dh - потери давления в сети, кПа (м вод. ст.);

H - располагаемое давление, кПа (м вод. ст.);

t - температура, °С;

t - время процесса, ч;

q - удельный тепловой поток (удельная тепловая нагрузка), Вт/м2 [ккал/(м2 × ч)];

Q - общая тепловая нагрузка, Вт (ккал/ч);

r - плотность, кг/м3;

l - коэффициент теплопроводности, Вт/м × °С [ккал/(м × ч × °С)];

a - коэффициент температуропроводности, м2/ч;

c - удельная теплоемкость, кДж/(кг × °С) [ккал/(кг × °С)];

r - удельная теплота, Вт × ч/кг [ккал/кг];

R - термическое сопротивление м2 × °С/Вт [м2 × ч × °С/ккал];

n - количество, шт.;

A - коэффициент неравномерности распределения.

ИНДЕКСЫ

в - вода

с - снег

пл - плавление

исп - испарение

н - наружная

к - конвективная составляющая

л - лучистая составляющая

п - пол

о.п. - обогреваемый пол

min - минимальное значение

под - подающая

обр - обратная

опт - оптимальная

ст - стальные

пэ - полиэтиленовые

тр - требуемое

тн - теплоноситель

у - участок

 

 

1. ОБЩИЕ ПОЛОЖЕНИЯ

1.1. Настоящие рекомендации предназначены для проектирования обогреваемых полов открытых промышленных площадок. Рекомендации не распространяются на проектирование обогреваемых полов, устраиваемых на вечномерзлых грунтах.

1.2. Обогреваемые полы должны устраиваться в тех районах, где продолжительность периода с отрицательной среднесуточной температурой наружного воздуха больше 0 [1].

1.3. Обогреваемые полы открытых промышленных площадок должны обеспечивать: плавление снега, попадающего на площадку при снегопадах и метелях, за продолжительность снегопада (tc); предотвращать обледенение площадок и высушивать площадки за заданное время (24 - tc £ tисп £ 120 ч.).

1.4. Обогреваемые открытые (с боковых сторон) площадки должны иметь, как правило, вертикальные ограждения (с необходимыми проемами для проветривания).

1.5. Обогрев пола осуществляется системой стальных или полиэтиленовых трубопроводов, замоноличенных в бетонном слое с определенным шагом. Рекомендуемые трубы - стальные - ГОСТ 3262-75, полиэтиленовые - ПВП (высокой прочности) - ГОСТ 18599-83.

В системах обогрева не допускается применение электросварных труб со спиральным швом.

1.6. Теплоносителем в системах обогрева является нагретая вода или антифриз. Целесообразно использовать вторичные тепловые ресурсы: горячую воду промтеплофикационных контуров, работающих на паре пароспутников технологических трубопроводов, мятом паре от насосов, технологическом конденсате и т.д. В случае их отсутствия используется горячая вода тепловой сети ТЭЦ.

1.7. При применении стальных труб начальная температура теплоносителя может соответствовать параметрам сети промтеплофикационных контуров. Требуемая минимальная температура теплоносителя определяется расчетом (см. разд. 4).

В случае применения полиэтиленовых труб начальная температура теплоносителя не должна превышать 70 °С.

1.8. Системы обогрева полов должны быть круглогодично заполнены теплоносителем и работать постоянно в период отрицательных температур наружного воздуха.

1.9. Для предупреждения замораживания системы обогрева возможно применение антифриза (например, препарат НОЖ-2: смесь хлористого кальция - 27 %, ингибитор коррозии - натриевая соль сульфанилформальдегидного полиэлектрика - 3 % и химически очищенная вода - 70 %). Температура замерзания антифриза минус 47 °С, кипения 100 °С. Удельная теплоемкость 3,6 Кдж/кг × °С [0,865 ккал/(кг × °С)]. Он пожаро- и взрывобезопасен и нетоксичен, коррозионным действием на металлы не обладает.

Предельно допустимая концентрация НОЖ-2 для слива в канализацию не выше 30 %. Препарат разработан Ташкентским автомобильно-дорожным институтом Минвуза УзССР (700047, г. Ташкент, ул. К. Маркса, 32). Выпуск препарата намечен в Производственном объединении «Пигмент» (г. Тамбов). На использование препарата имеется предварительное разрешение НИИ гигиены труда и профзаболеваний АМН СССР.

Применение в качестве антифриза раствора воды с этиленгликолем или нитритом натрия следует согласовывать с органами Минздрава СССР для конкретных условий в связи с вредным воздействием их на организм человека.

2. ТРЕБОВАНИЯ К ОБОГРЕВАЕМЫМ ПОЛАМ И ИХ КОНСТРУКТИВНЫЕ РЕШЕНИЯ

2.1. Полы открытых площадок следует устраивать на утрамбованных непромерзающих грунтах, исключающих возможность деформации пола.

2.2. Выбор конструктивного решения пола, а также системы обогрева должен проводиться с учетом конкретных условий строительства, механических и химических воздействий на полы, температуры теплоносителя и технико-экономической целесообразности.

2.3. Рекомендуются конструктивные решения обогреваемых полов, разработанные Гипрокаучуком, Госниихлорпроектом, ЦНИИпромзданий и Ростовским Промстройниипроектом (рис. 1 - 3).

2.4. Конструкции полов, представленные на рис. 1, рекомендуется применять при отсутствии попадания на полы кислот и их растворов. При температуре теплоносителя не выше 70 °С основной слой, в который замоноличены нагревательные трубопроводы, выполняется из обычного бетона марки М 300. При температуре теплоносителя выше 70 °С рекомендуется жаростойкий бетон прочностью не менее 2 кПа (200 кгс/м2). При применении стальных труб бетон не должен содержать хлоридов.

2.5. Конструкции полов, представленные на рис. 2, рекомендуются при воздействии кислотных и кислотощелочных сред. Трубы размещаются в термостойком бетоне, связующим которого является жидкое стекло с уплотняющей добавкой. Такой бетон устойчив к трещинообразованию во всем диапазоне рабочих температур теплоносителя, а также не проницаем для кислот, малопроницаем для воды, морозостоек. Непроницаемость и сохранение высокой щелочности в бетоне исключает химическую коррозию металлических труб отопления.

Рис. 1. Конструкции обогреваемых полов при отсутствии кислотных воздействий

а - покрытие пола монолитное; б - из плит; 1 - покрытие пола из бетона на портландцементе; 2 - прослойка из цементно-песчаного раствора; 3 - гидроизоляция; 4 - бетон в два слоя при 70 °С (рекомендуется жаростойкий); 5 - трубы отопления; 6 - теплоизоляция; 7 - гидроизоляция от грунтовых вод; 8 - подстилающий слой (по расчету); 9 - щебень, втрамбованный в грунт; 10 - грунт основания

Для конструкции на рис. 2б, не проницаемой для жидкостей, специальный гидроизоляционный слой от сточных и атмосферных вод, проникающих сверху, отсутствует.

2.6. Конструкция полов, представленная на рис. 3, рекомендуется при жидкостных воздействиях слабой агрессивности и температуре теплоносителя не выше 70 °С. Конструкция состоит из покрытия, слоя с замоноличенными нагревательными элементами и подстилающего слоя. Основной слой с замоноличенными нагревательными элементами выполняется из бетона марки по водонепроницаемости В-6, плотностью 2400 кг/м3. Для защиты от коррозии рекомендуемая толщина слоя под трубами не менее 40 мм. Подстилающий слой выполняется из конструктивного керамзитобетона марки М 200. Гидроизоляция от капиллярного поднятия грунтовых, а также промышленных сточных вод представляет собой слой щебня с пропиткой битумом до насыщения.

Рис. 2. Конструкции обогреваемых химически стойких полов

а - при переменных кислотно-щелочных воздействиях; б - кислотных воздействиях и отсутствии щелочей; 1 - покрытие пола из кислотоупорных плит; 2 - заполнение швов эпоксидным компаундом; 3 - прослойка из кислотоупорного раствора с уплотняющей добавкой; 4 - бетон на жидком стекле с уплотняющей добавкой; 5 - стяжка цементно-песчаная; 6 - гидроизоляция; 7 - трубы отопления; 8 - теплоизоляция; 9 - гидроизоляция от грунтовых вод; 10 - подстилающий слой (по расчету); 11 - щебень, втрамбованный в грунт; 12 - грунт основания

2.7. Толщину покрытий и подстилающего слоя полов вышеперечисленных конструкций следует назначать в зависимости от действующих на пол механических нагрузок согласно прил. 1 [2]. Размеры слоев проверяются и уточняются теплотехническим расчетом системы в зависимости от требуемой тепловой нагрузки (см. разд. 4).

2.8. При расположении подстилающего слоя в зоне опасного капиллярного поднятия грунтовых вод и для любой из вышеперечисленных конструкций следует применять гидроизоляцию от грунтовых вод из рулонных гидроизоляционных материалов на соответствующих мастиках.

Высоту опасного капиллярного поднятия грунтовых вод следует принимать от горизонта грунтовых вод: 0,3 м - от крупного песка; 0,5 м - для песка средней крупности и мелкого; 1,5 м - для песка пылеватого; 2 м - для суглинка, пылеватых суглинка и супеси и глины.

2.9. Проектирование деталей полов следует проводить в соответствии с [2].

Рис. 3. Конструкция обогреваемого пола при умеренных механических нагрузках и жидкостных воздействиях слабой агрессивности

1а - мозаичное или цементно-песчаное покрытие пола; 1б - керамическая плитка; 2 - слой бетона повышенной плотности В-6; 3 - нагревательные элементы (змеевики); 4 - подстилающий слой из конструктивного керамзитобетона; 5 - гидроизоляция; 6 - уплотненный грунт

2.10. Продукты гидросмыва полов и конденсат, подтекающий из спусков от технологических паропроводов, устраиваемых в противопожарных целях, так же, как и вода, образовавшаяся от плавления снега, должны максимально удаляться через трапы по уклону пола, составляющему не менее 0,005.

3. РАЗМЕЩЕНИЕ НАГРЕВАТЕЛЬНЫХ ТРУБОПРОВОДОВ И ПОДГОТОВКА К БЕТОНИРОВАНИЮ

3.1. Нагревательные трубопроводы в толще пола должны размещаться, как правило, в виде змеевиков по бифилярной схеме (рис. 4).

3.2. Расстояние между трубами S (шаг) в змеевике определяется расчетом. В змеевиках из стальных труб (по техническим условиям изготовления змеевиков) шаг составляет 8 - 10 диаметров (S/d = 8 ... 10); для полиэтиленовых труб он должен быть не менее 0,2 м [3]. Предпочтительный диаметр труб в стальных змеевиках 32 мм, полиэтиленовых - 25 мм. Допускается применение труб диаметром 20 - 57 мм. Змеевики укладываются горизонтально.

Прокладку магистральных трубопроводов, их изоляцию, размещение запорной арматуры, спускных и воздуховыпускных устройств необходимо осуществлять в соответствии с положениями [4].

Рис. 4. Схемы размещения трубопроводов

а - бифилярная из двух змеевиков; б - то же, из одного

3.3. Минимальная длина трубы в одном змеевике определяется расчетом при условии, что скорость движения теплоносителя составит не менее 0,25 м/с.

3.4. Максимальная длина трубы в одном змеевике определяется следующими условиями:

для полиэтиленовых труб - длиной поставляемых труб в бухте (l = 100 м);

для стальных труб - расчетом в зависимости от тепловой нагрузки и оптимальной скорости движения теплоносителя в змеевиках (0,25 м/с < w £ 0,8 м/с).

3.5. Максимальная длина прямых участков змеевиков ограничивается расстоянием между температурными швами пола площадки, для полиэтиленовых труб во избежание устройства специальных компенсирующих камер размер l1 не должен превышать 2 м.

3.6. Стальные трубы в змеевики соединяются сваркой. Стальные трубопроводы должны иметь антикоррозийную защиту (покрытие термостойким лаком).

3.7. Укладка полиэтиленовых труб проводится в соответствии с инструкцией [3]. Соединение полиэтиленовых труб в толще пола не допускается. Соединение полиэтиленовых змеевиков с магистральными трубопроводами необходимо выполнять вне массива пола (на высоте 0,8 - 1,2 м).

Изгибание полиэтиленовых труб в змеевики в холодном состоянии производится по шаблону с фиксацией ветвей в расчетном положении на металлической сетке, замоноличенной в пол вместе с трубами. Фиксирование труб рекомендуется производить мягкой проволокой диаметром 1,5 - 2 мм так, чтобы поверхность труб не была пережата. Трубы изгибаются без заполнения. При S ³ 200 мм рекомендуется применять элементы лирообразной формы. В местах изгибов недопустимо наличие гофр, изломов, овальности свыше 12 %.

После монтажа змеевика в торце входного патрубка необходимо ставить заглушки.

3.8. Перед бетонированием стальные трубы змеевика следует тщательно очищать от загрязнения и жировых пятен, продувать струей сжатого воздуха давлением 300 - 600 кПа (3 - 6 атм), а полиэтиленовые - 600 кПа (6 атм) [5].

4. РАСЧЕТ СИСТЕМ ОБОГРЕВА ПОЛОВ ОТКРЫТЫХ ПЛОЩАДОК

Общие положения

4.1. Расчет систем обогрева заключается в определении:

расчетных параметров климата, устанавливающих значения температуры наружного воздуха соответствующей условиям максимального снегопада, в зависимости от района расположения и вида площадки;

расчетной температуры поверхности пола, обеспечивающей таяние снега за время снегопада, предотвращающей замерзание талой воды и обеспечивающей ее испарение за заданное время;

расчетной тепловой нагрузки на систему;

термического сопротивления конструкции пола, глубины заложения и шага раскладки труб (теплотехнический расчет);

расхода теплоносителя, длины змеевиков и гидравлического сопротивления системы (гидравлический расчет).

4.2. Для расчета систем обогрева полов следует принимать следующие значения физических параметров снега и воды:

rc = 170 кг/м3; rв = 1000 кг/м3; Сс = 2,3 кДж/(кг × °С) [0,55 ккал/(кг × °С)]; Cв = 4,19 кДж/(кг × °С) [1 ккал/(кг × °С)]; lc = 0,151 Вт/(м × °С) [0,13 ккал/(м × ч × °С)]; lв = 0,6 Вт/(м × °С) [0,5148 ккал/(м × ч × °С)]; ас = 1,4 × 10-3 м2/ч; ав = 0,515 × 10-3 м2/ч; rпл = 92,5 Вт × ч/кг (79,5 ккал/кг); rисп = 694 Вт × ч/кг (595 ккал/кг).

Определение расчетных параметров климата в районе расположения площадки

4.3. Исходными данными для расчета являются: размеры площадки (в´l´h, м), наличие и размеры вертикальных ограждений, отметки и размеры проемов (данные по типовым размерам уровней расположения проемов, вертикальных ограждений представлены в прил. 2); интенсивность, продолжительность и повторяемость снегопадов (jс, м/ч, tc, ч, nc/мес); температура и скорость наружного воздуха при снегопадах (tн, °С, u, м/с), их повторяемость по месяцам в год (nt и nu).

Для районов расположения основных НХЗ и НПЗ данные представлены в прил. 4 [6].

4.4. В ходе расчета определяются: а) слой снега, отложившийся на площадке при снегопаде

                                                       (1)

где Кс - коэффициент интенсивности попадания снега на площадку при снегопаде, принимается по табл. 6 прил. 3;

б) слой снега, отложившийся на площадке при метели за время снегопада

                                                (2)

где Кот - коэффициент, учитывающий отложения снега у препятствий при метели, принимается по табл. 7 прил. 3;

в) расчетный слой снега на площадке

                                                          (3)

г) расчетный слой воды, образовавшийся на площадке при таянии снега

                                                          (4)

Расчетный слой воды dв £ 0,015 м. Если dв > 0,015 м, при проектировании системы следует обратить внимание на обеспечение уклона пола к трапам (не менее 0,005) для максимального стока воды через них;

д) коэффициент наиболее вероятных значений параметров климата [tн, °С, u, м/с,] при снегопаде

                                     (5)

е) расчетный коэффициент наиболее вероятных значений параметров климата

                                                         (6)

ж) по Красч выбирается расчетный месяц, по которому принимается расчетная температура наружного воздуха при снегопадах.

Для площадок основных НХЗ и НПЗ расчетные параметры климата приведены в табл. 1.

Определение расчетной температуры поверхности пола

4.5. Исходными данными для расчета являются: расчетный слой снега (воды) на площадке dс (в), м; расчетная температура наружного воздуха tн, °С; время снегопада (испарения) tс(исп), ч. 24 - tс £ tисп < 120 ч.

Предпочтительным временем испарения следует считать tисп = 24 ч.

4.6. В ходе расчета определяются:

а) температура поверхности пола, обеспечивающая таяние снега за время снегопада

                                     (7)

Для принятых значений физических параметров снега и воды

                                                      (8)

Номограмма для определения tпл представлена на рис. 5.

б) температура поверхности пола, предотвращающая замерзание воды

                                                   (9)

                                                           (10)

где aн - коэффициент теплообмена поверхности пола, равный 24,5 Вт/м2 × °С [21 ккал/(м2 × ч × °С)].

Номограмма для определения tmin представлена на рис. 6.

Рис. 5. Номограмма для определения tпл, °С

Рис. 6. Номограмма для определения tmin, °С.

в) температура поверхности пола, обеспечивающая испарение воды за заданное время

                           (11)

                                          (12)

Таблица 1. Расчетные параметры климата по наиболее вероятному значению для площадок основных НХЗ и НПЗ

Район расположения завода

Расчетные параметры климата

tн, °С

tс, ч

dс, м, при впл, м

6

12

18

Горький

-12

3,8

 0,138/0,053

0,069/0,0258

0,043/0,016

Куйбышев

-8

6,26

   0,1785/0,0698

   0,0892/0,0349

     0,0595/0,0232

Кириши

-10

16,25

0,314/0,121

0,157/0,06

0,105/0,04

Москва

-8

8

0,112/0,437

   0,056/0,0218

     0,037/0,0146

Омск

-18

10,5

0,142/0,053

0,071/0,026

    0,047/0,017

Пермь

-13

6,25

   0,1585/0,0626

    0,0792/0,0313

       0,0528/0,0208

Рязань

-11

8

  0,123/0,0477

    0,0615/0,0238

      0,041/0,0159

Тобольск

-8

12,25

  0,2105/0,081

0,105/0,04

    0,07/0,027

Уфа

-14

6,25

  0,1995/0,077

     0,0997/0,038

       0,0665/0,025

Ярославль

-12

8

0,16/0,061

0,08/0,031

     0,053/0,02

Примечание. Перед чертой - для площадок без вертикальных ограждений, за чертой - с вертикальными ограждениями при максимальном попадании снега.

Рис. 7. Номограмма для определения комплекса

Номограммы для определения tисп представлены на рис. 6 и 7.

г) расчетная температура поверхности пола tп, °С, принимается наибольшей из величин tпл, tmin, tисп;

д) если температура пола задана и превышает tmin, определяется время, необходимое для испарения воды:

                                                   (13)

                                                (14)

Оно должно удовлетворять условию п. 4.5. В противном случае температура пола недостаточна для принятых исходных данных.

Для площадок основных заводов расчетные значения dв, tmin, tпл, tисп при tисп = 24 ч представлены в табл. 2 и 3.

Определение тепловой нагрузки на систему

4.7. Исходными данными для определения тепловой нагрузки являются: расчетная температура поверхности пола tп, °С; расчетный слой воды dв, м.

4.8. В ходе расчета определяются:

а) удельная тепловая нагрузка на систему qоп, Вт/м2 [ккал/(м2 × ч)]

                                 (15)

                                                          (16)

где К1 - коэффициент, учитывающий потери тепла в грунт, К1 = 1,1; К2 - коэффициент запаса, К2 = 1,15.

Рис. 8. Номограмма для определения удельной тепловой нагрузки на систему обогрева qоп

Значения qоп при tисп = 24 ч для площадок основных заводов представлены в табл. 4. Номограмма для определения qоп дана на рис. 8.

б) общая тепловая нагрузка на систему Qоп, Вт(ккал/ч)

                                                            (17)

Таблица 2. Требуемая расчетная минимальная температура поверхности пола tпл, °С, для площадок основных НХЗ и НПЗ, расчет по формуле (8)

Район завода

, °С

tпл, °С, при впл, м

6

12

18

Горький

12

2,4/0,47

1,8/0,234

1,67/0,156

Куйбышев

8

2,2/0,43

1,77/0,213

1,65/0,142

Кириши

10

2,71/0,51

2,2/0,255

1,96/0,169

Москва

8

0,8/0,14

0,7/0,07

0,65/0,047

Омск

18

1,2/0,167

0,97/0,08

0,85/0,053

Пермь

13

1,9/0,413

1,7/0,206

1,69/0,138

Рязань

11

1,0/0,254

0,77/0,127

0,73/0,084

Тобольск

8

1,64/0,305

1,1/0,152

0,88/0,101

Уфа

14

3,1/0,61

2,2/0,3

1,98/0,2

Ярославль

12

1,65/0,32

1,1/0,109

0,92/0,159

Примечания: 1. Перед чертой - для площадок без вертикальных ограждений, за чертой - с вертикальными ограждениями при максимальном попадании снега.

2. Расчетный слой снега принят по табл. 1.

Теплотехнический расчет системы

4.9. Исходными данными для теплотехнического расчета системы являются: средняя температура теплоносителя tтн, °С, равная tтн = (tпод + tобр)/2, °С; расчетная и минимальная температура поверхности пола tп и tmin, °С; удельная тепловая нагрузка на обогреваемый пол qоп, Вт/м2 [ккал/(м2 × ч)]; коэффициент теплообмена aн, Вт/(м2 × °С) [ккал (м2 × ч × °С)].

4.10. В ходе расчета определяются следующие величины:

Таблица 3. Расчетная температура поверхности пола tисп, °С, при tисп = 24 ч

Район завода

Расчетный слой воды dв, м1), при впл

Расчетный месяц

, °С

tп, °C, по формуле (11)

Условие незамерзания воды, tmin, °С, по формуле (9)

6 м

12 м

18 м

при впл

6 м

12 м

18 м

6 м

12 м

18 м

1

2

3

4

5

6

7

8

9

10

11

12

Горький

0,01172)

0,009

0,0117

0,0045

0,008

0,003

1

12

9,1

9,1

5,5

5,7

5,7

3,9

6,4

2,7

1,7

4,35

2,2

1,45

Куйбышев

0,0152)

0,012

0,015

0,006

0,01

0,004

XII

8

10,4

10,4

5,7

4,8

4,8

4

7,5

2,8

1,7

3,8

1,9

1,3

Кириши

0,01322)

0,01

0,013

0,01

0,01

0,007

1

10

9,7

9,7

6,5

5,3

5,3

4

6,5

6,5

4

4

4

2,8

Москва

0,0153)

0,007

0,009

0,0035

0,006

0,0023

1

10

11,6

5,6

3,3

5,9

3,6

2,4

4

1,7

1

2,8

1,4

0,9

Омск

0,0122)

0,008

0,012

0,004

0,008

0,0026

II

18

12,9

12,9

7,75

9,3

9,3

6,2

7,75

3,5

2,2

6,2

3,1

2

Пермь

0,01352)

0,01

0,0135

0,005

0,009

0,003

ХII

13

11,6

11,6

6,7

6,9

6,9

4,7

7,7

3,2

1,8

5,2

2,6

1,53

Рязань

0,012)

0,008

0,01

0,004

0,007

0,0026

1

II

6,9

6,9

3,6

4,4

4,4

3,1

5

2,2

1,3

3,5

1,8

1,14

Тобольск

0,0154)

0,013

0,015

0,0065

0,009

0,004

XI

8

10,4

10,4

4,9

4,8

4,8

2,9

8,4

3,2

1,7

4,2

2,1

1,3

Уфа

0,0154)

0,013

0,015

0,0065

0,009

0,004

1

14

14,2

14,2

7,1

8,5

8,5

5,1

11,8

4,8

2,7

7,4

3,7

2,3

Ярославль

0,01352)

0,01

0,0135

0,005

0,009

0,003

1

12

11,2

11,2

6,4

6,6

6,6

4,4

7,35

3

1,7

4,85

2,4

1,46

Примечания: 1 - над чертой - для площадок без вертикальных ограждений, под чертой - для площадок с вертикальными ограждениями; 2 - при стоке 50 %; 3 - при стоке 20 %; 4 - при стоке 56 - 58 %.

Таблица 4. Удельная тепловая нагрузка на обогреваемый пол открытых площадок основных НХЗ и НПЗ при tисп = 24 ч, расчет по формуле (16)

Район завода

qоп, Вт/м2 [ккал/(м2 × ч)]

впл = 6 м

впл = 12 м

впл = 18 м

Горький

660/605 [570/520]

660/510 [570/440]

580/475 [500/410]

Куйбышев

590/530 [510/455]

590/395 [510/340]

483/360 [415/310]

Кириши

638/550 [540/475]

590/550 [510/475]

550/473 [475/415]

Москва

650/486 [560/420]

530/413 [455/355]

466/365 [400/315]

Омск

915/810 [790/700]

915/740 [790/635]

825/720 [710/620]

Пермь

725/650 [625/560]

725/545 [625/470]

632/510 [545/440]

Рязань

580/530 [500/455]

580/425 [500/365]

435/425 [375/365]

Тобольск

590/545 [510/470]

590/418 [510/360]

460/360 [400/310]

Уфа

800/765 [690/660]

800/625 [690/540]

670/570 [575/490]

Ярославль

700/620 [605/535]

700/505 [605/435]

600/482 [520/415]

Примечание. Перед чертой - для площадок без вертикальных ограждений, за чертой - для площадок с вертикальными ограждениями.

а) Требуемое термическое сопротивление пола до оси труб Rтр, (м2 × °С)/Вт [(м2 × ч × °С)/ккал]:

                                                       (18)

Если полученное значение Rтр < 0,086 (м2 × °С)/Вт [0,1 (м2 × ч × °С)/ккал] следует использовать теплоноситель большей температуры. Если значение Rтр задано - следует проверить достаточность температуры теплоносителя на обеспечение tп, т.е. выполнение условия:

                                                              (19)

Если оно не выполняется, следует изменить Rтр или принять теплоноситель большей температуры.

Рис. 9. Теплоотдача 1 м2 пола в зависимости от термического сопротивления при эталонных параметрах

(tн = -30 °С,tтн = 65 °С, S = 180 мм, d = 20 мм)

б) Выбирается конструкция пола, материал и толщины его слоев. Как правило, в конструктивных решениях толщина покрытия d1, м, не задана. Она определяется по формуле

                                    (20)

Толщина покрытия должна быть не менее требуемой по прочностным показателям. По принятой конструкции пола определяется глубина заложения труб - слой пола над осью труб (размер в м).

Рис. 10. Коэффициенты К1 - К4, учитывающие влияние на теплоотдачу пола tн, tтн, S, d/S при d/S = 0,1 ... 0,125

в) Задаются диаметром труб. Предпочтительным является диаметр d = 32 мм, допустимым - 20 - 57 мм.

г) Поправочный коэффициент

                                                     (21)

где qэг - теплоотдача «эталонного» пола, определяется по графику рис. 9 в зависимости от расчетного или заданного значения Rтр; К1; К2; К4; К5 - коэффициенты, учитывающие изменение теплоотдачи пола соответственно в зависимости от температуры наружного воздуха, средней температуры теплоносителя, диаметра труб и глубины заложения.

Коэффициенты К1; К2; К4 определяются по графикам рис. 10, К5 - рис. 11.

д) Шаг раскладки труб S в зависимости от значения коэффициента К3 определяется по графику рис. 10.

е) Определяется неравномерность распределения температуры на поверхности пола по формуле

                                                        (22)

где А1 - А6 - коэффициенты, соответственно учитывающие влияние на неравномерность распределения температуры на поверхности пола температуры наружного воздуха, температуры теплоносителя, термического сопротивления пола, глубины заложения, диаметра и шага раскладки труб. Значения коэффициентов А1 - А5 определяются по графикам рис. 12, А6 - рис. 13.

ж) Величина неравномерности распределения температуры на поверхности пола должна удовлетворять условию

                                                               (23)

Если условие выполняется, расчет закончен. Если не выполняется, следует обратным ходом от Атреб, удовлетворяющего условию (23), определить необходимое изменение какого-либо из исходных данных, входящих в расчет.

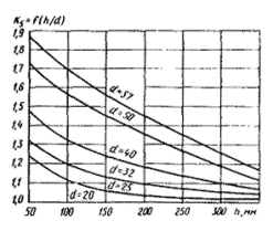
Рис. 11. Коэффициент К5, учитывающий влияние на теплоотдачу пола величины h/d

Рис. 12. Коэффициенты А1 - А5, учитывающие влияние на распределение температуры по поверхности пола tн, tтн, Rтр, S, d/S

Гидравлический расчет системы обогрева

4.11. Исходными данными для расчета являются: тепловая нагрузка на систему qоп, Вт/м2 [ккал/(м2 × ч)], площадь обогрева Fп, м2; температура теплоносителя в подающей и обратной магистралях tпод и tобр, °С; скорость теплоносителя в змеевике w, м/с, или располагаемый перепад давлений в системе Dh, кПа (м вод. ст.).

Рис. 13. Коэффициент А6, учитывающий влияние на распределение температуры по поверхности пола величины h/d

4.12. В ходе расчета определяются:

а) Расход теплоносителя на системы обогрева

                                                     (24)

где К - коэффициент, учитывающий разницу в коэффициентах теплопередачи стальных и полиэтиленовых змеевиков; для стальных К = 1, для полиэтиленовых К = 1,05.

Если теплоноситель - горячая вода и Dt = tпод - tобр = 20 °С, для стальных змеевиков

                                                         (25)

для полиэтиленовых

Gпэ = 0,0525qопFп.                                                       (26)

б) При заданном располагаемом перепаде давлений в системе Dh - оптимальная скорость теплоносителя в змеевиках Wопт, м/с

                                          (27)

Если Dh задано в м. вод. ст., то А = 0,09386, с2/кг2, тогда

                                                  (28)

Рис. 14. Оптимальная скорость движения Wопт горячей воды в змеевиках при Dh = 100 кПа (10 м вод. ст.) в зависимости от удельной тепловой нагрузки на систему qоп

При Dh = 100 кПа (10 м вод. ст.), d = 32 мм, Wопт, м/с, определяется по формуле

или по графику рис. 14;

в) Расход теплоносителя на систему обогрева при заданной скорости его в змеевике [или рассчитанной по формулам (27 ... 29 )]

                                                   (30)

Если теплоноситель - горячая вода, а диаметр стальных змеевиков dст = 32 мм

                                                       (31)

при диаметре полиэтиленовых труб dпэ = 25 мм

                                                     (32)

г) Количество систем обогрева n, сист., при стальных змеевиках

                                                           (33)

Полиэтиленовые змеевики изготовляются из труб, поставляемых бухтами длиной по 100 м. Поэтому площадь пола, обогреваемого одной системой, ограничена. При lпэ £ 98 м, Sпэ = 240 мм, Fупэ < 24 м2 и

                                                (34)

д) Площадь участка пола, обогреваемая одной системой, Fу, м2 при стальных змеевиках

                                                          (35)

Рис. 15. Номограмма для определения площади пола, обслуживаемой одной системой обогрева Fуст, м2, и требуемой длины стального змеевика lст, м, в зависимости от величины Wопт/qоп

можно определить по графику рис. 15. Площадь одного участка при стальных змеевиках должна быть не менее 36 м2; при полиэтиленовых

                                                           (36)

lпэ < 100 м,

S = 240 мм,

Fупэ < 24 м2.

е) Длина змеевика lст, м, для одной системы при стальных змеевиках

lст = Fуст/S,                                                             (37)

при S = 280 мм lст можно определить по графику рис. 15. При полиэтиленовых змеевиках lпэ £ 98 м (не более длины змеевика в бухте).

ж) Потери давления в системе Dh, кПа (м. вод. ст.), при стальных змеевиках

                                                         (38)

где А - удельное сопротивление труб, с2/кг2, определяется по табл. 30.6 п. 30.4 [7] или

                                        (39)

Для рассмотренных условий (горячая вода в стальных змеевиках d = 32 мм при S = 280 мм):

               (40)

при полиэтиленовых змеевиках [7]

                   (41)

где G, кг/ч, d, мм,

                        (42)

з) Величина потерь давления в системе Dh, кПа, (м вод. ст.) должна удовлетворять условию:

                                                         (43)

где DНрасп - располагаемый напор, кПа (м вод. ст.).

В случае, если условие (43) не выполняется, следует уменьшить длину змеевиков, т.е. увеличить скорость теплоносителя или диаметр труб.

Располагаемый напор от ТЭЦ или промтеплофикационных контуров, как правило, DНрасп ³ 120 кПа (12 м вод. ст.)

Приложение 1

ПРИМЕРЫ РАСЧЕТА

Пример 1. Определить расчетные параметры климата для открытой площадки насосной г. Тобольска, размеры в плане 6´24 м, высота 6 м, с боковых сторон укрыта ветроотбойными щитами высотой 2,5 м с проемами для проветривания: нижний на отметке 0,3 м высотой 0,3 м, верхний на отметке 3,1 м высотой 3,3 м.

Исходные данные для расчета взяты из прил. 2 - 4 и представлены в табл. 5.

Порядок расчета:

Определяются следующие величины:

1. Слой снега, отложившийся на площадке при снегопадах, , м, по формуле (1)

Кс - определен по п. б табл. 1 прил. 3.

2. Слой снега, отложившийся на площадке при метели , м, по формуле (2)

Кот - в табл. 2 прил. 3 в графе «общие метели», Кот = 0,023.

3. Расчетный слой снега dс, м, отложившийся на площадке за время снегопада, по формуле (3)

dс = 0,049 + 0,017 = 0,066 м.

4. Выбор наиболее вероятных параметров климата для г. Тобольска осуществлен по максимальному значению К - коэффициента климата, полученного для каждого месяца с октября по апрель расчетом по формулам (5) и (6). Расчеты коэффициента К представлены в прил. 4. Для г. Тобольска - расчетный месяц года - ноябрь (XI). Температура наружного воздуха по наиболее вероятному значению при снегопадах tн = -8 °С.

Пример 2. Для данных примера 1 определить: удельное количество теплоты, необходимой для обеспечения плавления снега, попадающего на открытую площадку насосной, и испарения оставшейся после слива через травы воды за время tисп = 24 - tсн.

Исходными данными для расчета являются: расчетный слой снега на площадке dс = 0,066 м; время плавления снега tпл = 12,25 ч; расчетная температура наружного воздуха tн = -8 °С; время испарения воды tисп = 24 - tс = 11,75 ч.

Определяются следующие величины:

1. Слой воды, образовавшийся на площадке при плавлении снега, dв, м, по формуле (4):

dв = 0,066 × 170/1000 = 0,011 м < 0,015 м.

Расчет ведется на полное испарение воды.

2. Температура поверхности пола tп, °С, необходимая для обеспечения плавления снега и полного испарения образовавшейся воды за tисп = 11,75 ч по формуле (12):

3. Удельная тепловая нагрузка на обогреваемый пол по формуле (16) qоп = 0,85 × 9,8/0,011 = 755 Вт/м2 [650 ккал/(м2 × ч)].

Пример 3. Для данных примера 2 вместо заданного времени испарения задана средняя температура поверхности пола. Определить достаточность заданной температуры по условию незамерзания воды в процессе испарения и время испарения.

Исходными данными для расчета являются: расчетный слой воды на площадке dв = 0,01 м; расчетная температура наружного воздуха tн = -8 °С; температура поверхности пола tп = 5 °С; коэффициент теплообмена aн = 23,9 Вт/м2 × °С [21 ккал/(м2 × ч × °С)].

Определяются следующие величины:

1. Проверяется условие незамерзания воды в процессе испарения по формуле (10)

tmin > 40,6 × 0,011 × 8 = 3,6 °С.

Таблица 5. Исходные гидрометеоданные для г. Тобольска

Параметр

Гидрометеоданные для г. Тобольска

Максимальная интенсивность снегопада jc, м/ч

0,01

Продолжительность снегопада tс, ч

12,25

 

X

XI

ХII

I

II

III

IV

общ.

Повторяемость снегопадов n, с/мес

-

6

2

1

2

1

-

13

Сопутствующая снегопаду температура наружного воздуха,  °C

 

-8

-16

-20

-13

-11

 

 

и ее повторяемость nt

 

46

8

8

8

22

 

92

Скорость ветра u, м/с

0 - 2

3 - 4

5 - 6

7 - 8

9 - 10

11 - 12

15 - 16

Средняя

и ее повторяемость nu

15

8

69

8

-

-

-

5,5

Интенсивность метели jм, м3× ч

0,36

Повторяемость метелей различных типов, nx

общие

низовые

поземок

всего

м/зиму

50

31

19

100

 

 

 

 

 

Средняя ежемесячная температура наружного воздуха

X

XI

XII

I

II

III

IV

tср мес, °С

0,8

-9,3

-16,4

-18,5

-16,1

-9,2

1,3

Заданная температура пола 5 °С, что > 3,6 °С, следовательно условие (10) выполняется.

2. Время, необходимое для процесса испарения, tисп, ч, формуле (14).

tисп = (297,5 × 103 × 0,0112)/(0,51 × 5 - 21 × 0,011 × 8) = 51 ч.

Время испарения не превышает максимально допустимое, т.е. выполняется условие по п. 4.5.

3. Удельная тепловая нагрузка на обогреваемый пол по формуле (16):

qоп = 0,85×/0,011 = 385 Вт/м2 [330 ккал/(м2/ч)].

Пример 4. Для условий примеров 2 и 3 определить требуемое термическое сопротивление, конструкцию пола, глубину заложения, диаметр и шаг раскладки труб, а также проверить достаточность температуры теплоносителя (tтн = 65 °С) и допустимую неравномерность распределения температуры на поверхности пола.

Исходными данными для расчета являются: средняя температура теплоносителя tтн, равная tтн1 = 65 °С, tтн2 = 80 °С; средняя и минимальная температура поверхности пола:

[расчет по формулам (10) и (12) или по номограммам рис. 6.7]

удельная тепловая нагрузка на обогреваемый пол qоп, Вт/м2 [ккал/(м2 × ч)]; qоп1 = 755 Вт/м2 [650 ккал/(м2 × ч)]; qоп2 = 385 Вт/м2 [330 ккал/(м2 × ч)]; коэффициент теплообмена aн = 23,5 Вт/м2 × °С [21 ккал/(м2 × ч × °С)].

Определяются следующие величины:

1. Требуемое термическое сопротивление пола Rтр, (м2 × °С)/Вт [(м2 × ч × °С)/ккал], по формуле (18):

пример 2: Rтр1 = (65 - 9,8)/(650 × 1,163) = 0,073 (м2 × °С)/Вт [0,085 (м2 × ч × °С)/ккал]; 0,085 < 0,1.

Для примера 2 температура теплоносителя tтн1 = 65 °С недостаточна. Принимается теплоноситель с температурой tтн1 = 80 °С.

С температурой tтн1 = 80 °С:

Rтр1 = (80 - 9,8)/(650 × 1,163) = 0,093 (м2 × °С)/вт [0,108 (м2 × ч × °С)/ккал]

пример 3: Rтр2 = 65 - 5/330 × 1,163 = 0,152 (м2 × °С)/Вт [0,18 (м2 × ч × °С)/ккал].

2. Принимается конструкция пола согласно рис. 3. Толщина покрытия пола определяется из формулы (20):

(d1)1 = 0,8(0,108 - 1/21 - 0,075/1,6) = 0,0011 м;

(d1)2 = 0,08(0,18 - 1/21 - 0,075/1,6) = 0,096 м.

Глубина заложения труб (до оси трубопроводов) h, м, равна:

h1 = (d1)1 + d2/2 = 0,001 + 0,075 = 0,076 м = 76 мм;

h2 = (d1)2 + d2/2 = 0,096 + 0,075 = 0,171 м = 171 мм.

3. Принимаем к укладке трубы диаметром 32 мм.

4. Определяется теплоотдачу «эталонного» пола по графику рис. 9: qэт1 = 880 Вт/м2 [760 ккал/(м2 × ч)]; qэт2 = 580 Вт/м2 [500 ккал/(м2 × ч)].

5. Определяются поправочные коэффициенты К1, К2, К4, К5 на изменение теплоотдачи qэт пола при отступлении от «эталонных» условий:

К1 = 0,78 при tн = -8 °С; (К2)1 = 1 при tтн = 65 °С; (К2)2 = 1,15 при tтн = 80 °С; К4 = 1,05 при d = 32 мм; 5)1 = 1,26 при d = 32 мм, h1 = 76 мм; (К5)2 = 1,1 при d = 32 мм, h2 = 171 мм.

6. Определяются значение К3 и шаг раскладки труб по графику рис. 10 и формуле (21) для данных примера 2 (tтн2 = 80 °С, h1 = 81 мм):

3)1 = 650/(760 × 0,78 × 1,15 × 1,05 × 1,26) = 0,89; S = 250 мм.

Для данных примера 3 (tтн1 = 65 °С, h2 = 171 мм):

3)2 = 330/(500 × 0,78 × 1 × 1,05 × 1,1) = 0,735; S = 340 мм.

7. Определяется неравномерность распределения температуры на поверхности пола по графикам рис. 12, 13 и формуле (22): А1 = 0,75 при tн = -8 °С; (А2)1 = 1,29 при tн = 80 °С и (А2)2 = 1,2 при tн = 65 °С; (А3)1 = 1,82 при Rтр1 = 0,093 (м2 × °С)/Вт [0,108 (м2 × ч × °С)/ккал]; (А3)2 = 1,45 при Rтр2 = 0,155 (м2 × °С)/Вт [0,18 (м2 × ч × °С)/ккал]; (А4)1 = 1,5 при S = 250 мм; (А4)2 = 3 при S = 340 мм; А5 = 0,95 при d = 32 мм; (А6)1 = 0,81 при h1 = 76 мм; (А6)2 = 0,93 при h = 171 мм.

Для примера 2: (А)1 = 0,75 × 1,29 × 1,82 × 1,5 × 0,95 × 0,81 = 2,03;

для примера 3: (А)2 = 0,75 × 1,2 × 1,45 × 3 × 0,95 × 0,93 = 3,45

8. Проверяется условие (23) (А < Атр):

для примера 2: (Атр)1 = 9,8/3,6 = 2,7; 2,03 < 2,7.

Условие (23) выполнено, расчет окончен. Для примера 3: (Атр)2 = 5/3,6 = 1,38; 3,45 < 1,38.

Условие (23) не выполнено. Температура на поверхности пола недостаточна, требуется уменьшить шаг раскладки труб.

9. Для примера 3 максимально изменяется шаг раскладки труб. Минимальный шаг раскладки труб диаметром d = 32 мм стальных змеевиков равен S = 250 мм. При (S)2 = 250 мм (А4)2 = 1,5. Тогда (А)2 = 3,45/3 × 1,5 = 1,73.

10. По формуле (21) определяется удельная тепловая нагрузка на систему при (К3)2 = 0,90 (S = 250 мм)

qоп2 = кqэт = 1,163 × 0,78 × 1,0 × 0,90 × 1,05 × 1,1 × 500 = 525 Вт/м2 [450 ккал/(м2 × ч)].

11. Из формулы (16) определяется необходимая температура поверхности пола tп, °С:

tп = 525 × 0,011/1,163 × 0,73 = 6,75 °С

12. Определяется коэффициент (Атр)2 по формуле (23):

тр)2 = 6,75/3,6 = 1,87.

13. Проверяется условие (23): 1,73 < 1,87

Условие (23) выполнено, расчет закончен.

Пример 5. Для условий примера 4 задан шаг раскладки труб S = 280 мм вместо температуры поверхности пола. Необходимо определить требуемое термическое сопротивление пола Rтр12 × °С)/Вт [(м2 × ч × °С)/ккал], а также среднюю и минимальную температуру поверхности пола tп и tmin.

Исходные данные: удельная тепловая нагрузка на обогреваемый пол qоп = 755 Вт/м2 [(650 ккал/(м2 × ч)]; коэффициенты К1 = 0,78 (при tн = -8 °С); К2 = 1,15 (при tтн = 80 °С); К4 = 1,04 (при d = 32 мм); К5 = 1,1 (при d = 32 мм, h = 171 мм).

Определяются следующие величины:

1. Коэффициент К3 по графику на рис. 10

К3 = 0,82 при S = 280 мм

2. Теплоотдача «эталонного» пола, qэт ккал/м2 ч, по формуле (21):

qэт = 755/0,78 × 1,15 × 0,82 × 1,04 × 1,1 = 910 Вт/м2 [780 ккал/(м2 × ч)]

3. Требуемое термическое сопротивление Rтр пола, м2 × °С/Вт [(м2 × ч × °С)/ккал] по графику рис. 8:

Rтр = 0,089 (м2 × °С)/Вт [0,104 (м2 × ч × °С)/ккал].

4. Средняя температура поверхности пола по формуле (18): tп = 80 - 650 × 0,104 = 13,5 °С.

5. Коэффициенты А1 - А6 по графикам рис. 12 и 13, и А по формуле (22): А1 = 0,75 (при tн = -8 °С);

А2 = 1,29 (при tтн = 80 °С); А3 = 1,78 (при Rтр = 0,104 м2 × ч × °С/ккал); А4 = 1,9 (при S = 280 мм); А5 = 0,95 (при d = 32 мм); А6 = 0,81 (при S = 76 мм); А = 0,75 × 1,29 × 1,78 × 1,9 × 0,95 × 0,81 = 2,54

6. Минимальная температура на поверхности пола по формуле (23): tmin = 13,5/2,64 = 5,1 °С > 3,6 °С.

Условие незамерзания воды в процессе испарения выполнено.

Пример 6. Для условий примера 4 определить расход воды на систему при площади насосной Fп = 5520 м2, количестве обогреваемых участков и длину змеевиков.

Исходными данными для расчета являются: тепловая нагрузка на обогреваемый пол, qоп = 755 Вт/м2 [650 ккал/(м2 × ч)]; площадь обогрева Fп = 5520 м2; температура теплоносителя в подающей и обратной магистралях tпод = 90 °С, tобр = 70 °С; располагаемый перепад давления в системе - 120 кПа (12 м вод. ст.).

Определяются следующие величины:

1. Расчетный расход воды G, кг/ч, по формуле (25):

G = 0,05 × 650 × 5520 = 179,4 × 103 кг/ч.

2. Оптимальная скорость воды в змеевике Wопт, м/с, по графику рис. 14 при qоп = 755 Вт/м2 [650 ккал/(м2 × ч)] и Dh = 10 м вод. ст.

Wопт = 0,8 м/с.

3. Расход воды в системе Gу, кг/ч, при Wопт = 0,8 м/с, d = 32 мм по формуле (31)

Gy = 2,9 × 103 × 0,8 = 2,33 × 103 кг/ч.

4. Количество систем обогрева n, сист., при стальных змеевиках по формуле (33):

n = (179,4 × 103)/(2,33 × 103) = 78 сист.

5. Площадь участка пола, обогреваемого одной системой, Fу, м2, по формуле (35) или по графику рис. 15: Fу = 5520/78 = 71 м2.

Принимаем участки, размером 12´6 м2, тогда Fу = 72 м2, n = 77 шт., Wопт = 0,81 м/с, Dh = 105 кПа (10,5 м вод. ст.).

6. Длина змеевика l, м, для одной системы по формуле (37) при S = 280 мм или по графику рис. 15.

l = 72/0,28 = 257 м.

7. Потери давления в змеевике Dh, кПа (м вод. ст.) по формуле (40): Dh = 1,3 × 105 × 0,813/650 = 105 кПа (10,5 м вод. ст.).

8. Проверяем условие (43) при DHрасп = 12 м вод. ст.

10,5 м вод. ст. < 12 м вод. ст.

Условие выполняется, расчет закончен.

Приложение 2

Уровни расположения и размеры проемов и вертикальных ограждений на площадках различных типов

Тип площадок

Нижний бортик, м

Нижний проем, м

Вертикальное ограждение, м

Верхний проем, м

Без ограждений

   0,2 - 0,3

-

-

По всей высоте

С вертикальными ограждениями

а) 0,2 - 0,3

0,3

2,5

3,3

б) 0,2 - 0,3

0,3 - 0,5

1,4

2,7 - 3,3

в) 0,2 - 0,3

1

2,2 - 4,0

0,6

г) 0,2 - 0,3

0,6 - 1,8

1; 2,2

1,8

Приложение 3

Значения понижающих коэффициентов при определении расчетного слоя снега, откладывающегося на площадках при снегопаде и метели

Таблица 6. Коэффициент интенсивности попадания снегопада на площадку различных типов

Тип площадки

кс

впл = 6 м

впл = 12 м

впл = 18 м

Без ограждений

1

0,5

0,33

С вертикальными ограждениями

а) 0,33

0,17

0,11

       б) 0,3 - 0,4

0,15 - 0,2

0,1 - 0,13

          в) 0,07 - 0,1

0,04 - 0,05

0,02 - 0,04

Таблица 7. Коэффициент снегозадержания у препятствий при метелях различных типов Кот = 1 - (Кбор + 0,5Коб + Кво)

Тип площадки

Поземки

Низовые метели

Общие метели

Кбор

Коб

Кво

Кот

Кбор

Коб

Кво

Кот

Кбор

Коб

Кво

Кот

Без ограждений

0,985

0,009

-

0,011

0,95

0,016

-

0,042

0,856

0,046

-

0,12

С вертикальными ограждениями

0,985

0,009

0,096

0,005

0,95

0,016

0,033

0,01

0,856

0,046

0,098

0,023


Приложение 4

Повторяемость снегопадов, температуры наружного воздуха и скорости ветра при снегопадах

Район завода

Снегопад

Метель

Повторяемость по месяцам

интенсивность jc, м/ч

время, tс, ч

интенсивность jм, м3/мч

XI

ХП

1

n,

,

,

tср. мес, °С

KXI

n,

,

,

tср. мес, °С

KXII

n,

,

,

tср. мес, °С

KI

1

2

3

4

5

6

7

8

9

10

11

12

13

14

15

16

17

18

19

Горький

0,027

3,8

0,5

-

-

5,1

-3,2

-

6

-8

5,1

-9,2

0,033

4

-12

4,3

-12

0,054

57

7

57

14

13,2

Кириши

0,014

16,25

0,27

2

-2

5,5

-2,3

0,033

3

-5

6,5

-7

0,036

4

-10

4,3

-9,7

0,038

15

61

8

61

8

15,3

Куйбышев

0,022

6,25

0,33

7

-4

5,4

-4,1

0,08

10

-10

5,4

-10,7

0,152

7

-14

4,2

-13,8

0,0134

34

44

12

44

6

15,8

Москва

0,012

8

0,1

-

-

4,9

-2,2

-

6

-8

4,9

-7,6

0,171

4

-10

4,2

-10,2

0,029

51

8

51

17

13,5

Омск

0,01

10,5

0,2

4

-5

5,1

-8,9

0,01

2

-17

5,1

-16,5

0,08

-

-

4,5

-19,2

-

23

57

6

57

14,2

Пермь

0,022

6,25

0,17

7

-5

6,2

-6,6

0,048

10

-10

5,2

-12,9

0,07

7

-14

3,9

-15,1

0,032

18

61

19

61

14

14,6

Рязань

0,012

8

0,17

-

-

7,3

-2,6

-

5

-7

7,3

-8,2

0,025

6

-12

3,7

-11,1

0,099

55

8

55

34

20,2

Тобольск

0,01

12,25

0,36

6

-6

6,3

-9,3

0,124

2

-16

5,5

-16,4

0,014

1

-20

6,3

-18,5

0,006

16

65

8

69

8

13,7

Уфа

0,022

6,25

0,5

7

-3

5,5

-5,9

0,009

10

-11

5,5

-11,2

0,034

7

-16

5,5

-14,6

0,035

25

70

11

70

19

14,3

Ярославль

0,012

8

0,4

2

3

5,5

-3,2

0,028

5

-9

5,5

-8,9

0,05

6

-14

5,5

-11,6

0,04

21

53

16

53

13

15,9

Продолжение прил. 4

Район завода

Повторяемость по месяцам

II

III

Годовая

К расч.

n, с/мес

tср. мес

KII

n

tср. мес

KIII

, с/год

, 1/год

, 1/год

Расчетный мес.

Горький

4

-11

5,1

-11,6

0,043

3

-5

5,1

-5,6

0,048

17

86

57

0,054 - I

15

57

21

57

Кириши

2

-9

5,5

-9,4

0,018

3

-3

5,5

-5

0,012

15

62

61

0,038 - I

8

61

23

61

Куйбышев

4

-12

5,4

-13

0,018

6

-6

5,4

-6,8

0,04

36

86

44

0,152 - ХII

13

44

18

44

Москва

4

-8

4,9

-6,6

0,048

3

-4

4,9

-4,7

0,08

17

100

51

0,171 - ХII

17

51

37

51

Омск

4

-18

5,1

-17,8

0,03

1

-10

5,1

-11,8

0,022

17

94

57

0,08 - ХII

12

57

30

57

Пермь

4

-13

5,2

-13,4

0,008

6

-7

5,2

-7,2

0,07

35

100

62

0,07 - ХII

6

61

41

61

Рязань

2

-9

7,3

-10,4

0,01

3

-5

7,3

-7,3

0,08

19

100

55

0,099 - I

8

55

25

55

Тобольск

2

-13

5,5

-16,1

0,012

1

-11

5,5

-9,2

0,02

13

92

65

0,124 - XI

8

69

22

69

Уфа

4

-8

5,5

-13,7

0,03

6

-8

5,5

-7,4

0,03

36

96

70

0,035 - I

15

70

19

70

Ярославль

2

-12

5,5

-11,5

0,016

3

-5

5,5

-6,2

0,009

19

84

53

0,05 - ХII

13

53

4

53


Список литературы

1. СНиП 2.01.01-82. Строительная климатология и геофизика. М.: Стройиздат, 1983.

2. СНиП II.В-8-71. Полы. Нормы проектирования. М.: Стройиздат, 1971.

3. Инструкция по применению полиэтиленовых труб в системах панельного отопления. ВНИИГС, Минмонтажспецстроя СССР, Л., 1979.

4. Справочник по теплоснабжению и вентиляции. Киев, Госстройиздат, 1959, 620 с.

5. Инструкция по проектированию опускных колодцев в тиксотропной рубашке. СН 476-75. М.: Стройиздат, 1976.

6. Михель В.М., Руднева А.В., Липовская В.И. Переносы снега при метелях и снегопадах на территории СССР. Л.: Гидрометеоиздат, 1969, 215 с.

7. Павлов А.В. Теплообмен промерзающих и протаивающих грунтов с атмосферой. М.: Наука, 1965, 250 с.

8. Справочник проектировщика. Под ред. И.Г. Староверова, ч. 1. М.: Стройиздат, 1977. 500 с.

СОДЕРЖАНИЕ

1. Общие положения. 2

2. Требования к обогреваемым полам и их конструктивные решения. 3

3. Размещение нагревательных трубопроводов и подготовка к бетонированию.. 6

4. Расчет систем обогрева полов открытых площадок. 7

Общие положения. 7

Определение расчетных параметров климата в районе расположения площадки. 7

Определение расчетной температуры поверхности пола. 8

Определение тепловой нагрузки на систему. 10

Теплотехнический расчет системы.. 11

Гидравлический расчет системы обогрева. 15

Приложение 1. Примеры расчета. 18

Приложение 2. Уровни расположения и размеры проемов и вертикальных ограждений на площадках различных типов. 23

Приложение 3. Значения понижающих коэффициентов при определении расчетного слоя снега, откладывающегося на площадках при снегопаде и метели. 23

Приложение 4. Повторяемость снегопадов, температуры наружного воздуха и скорости ветра при снегопадах. 24

Список литературы.. 26

 

 




ГОСТЫ, СТРОИТЕЛЬНЫЕ и ТЕХНИЧЕСКИЕ НОРМАТИВЫ.
Некоммерческая онлайн система, содержащая все Российские Госты, национальные Стандарты и нормативы.
В Системе содержится более 150000 файлов нормативно-технической документации, действующей на территории РФ.
Система предназначена для широкого круга инженерно-технических специалистов.

Рейтинг@Mail.ru Яндекс цитирования

Copyright © www.gostrf.com, 2008 - 2026