| |
ГОССТРОЙ СССР
Центральный
научно-исследовательский и
проектно-экспериментальный институт
промышленных зданий и сооружений
(ЦНИИпромзданий)
РЕКОМЕНДАЦИИ
ПО РАСЧЕТУ
БЕТОННЫХ ПОДСТИЛАЮЩИХ СЛОЕВ
ПОЛОВ ПРОИЗВОДСТВЕННЫХ ЗДАНИЙ С УЧЕТОМ
ЭКОНОМИЧЕСКОЙ ОТВЕТСТВЕННОСТИ
Москва
- 1987
Рекомендованы
к изданию секцией НТС ЦНИИпромзданий Госстроя СССР.
Излагается
методика расчета прочности бетонных подстилающих слоев с учетом уровня
надежности, устанавливаемого в зависимости от назначения помещения. Приводятся
расчетные сопротивления бетона с соответствующими значениями показателей
надежности подстилающего слоя пола и вероятностью его отказа. Описываются
правила расчета бетонных подстилающих слоев при нагрузках различного вида.
В
1981 г. Госстроем СССР введены «Правила учета степени ответственности зданий и
сооружений при проектировании конструкций». Согласно этим правилам все
сооружения по степени их ответственности разделяются на 3 группы, а все
бетонные и железобетонные конструкции для каждого сооружения рассчитываются на
прочность по одним и тем же расчетным сопротивлениям арматуры и бетона,
определенным с учетом коэффициента надежности для данного сооружения. В
развитие этого положения целесообразно осуществить дифференцированный подход к
надежности элементов и конструкций одного и того же сооружения в зависимости от
их функционального назначения и степени ответственности. В первую очередь это
относится к конструкциям с экономической ответственностью, в которых достижение
предельного состояния по прочности арматуры и бетона не приводит к аварийным
ситуациям или к серьезным нарушениям технологического процесса. Расчет таких
конструкций проводится по заданному уровню надежности, определенному исходя из
минимума приведенной стоимости, включающей первоначальную стоимость
конструкции, затраты на ее поддержание в эксплуатационном состоянии, а также
стоимость ущерба от возможных нарушений технологии. Такой подход наиболее
эффективен для полов производственных зданий, которые можно рассчитывать с
заданным уровнем надежности, определенным в зависимости от условий
эксплуатации. Исследования ЦНИИпромзданий показали, что принятый в настоящее
время уровень надежности проектируемых подстилающих слоев представляется
излишне высоким и в ряде случаев даже превышает уровень надежности типовых
несущих конструкций повышенной ответственности. Переход к расчету бетонных
подстилающих слоев с учетом требуемого уровня надежности позволит в
значительном числе случаев уменьшить толщину пола на 20 - 30 %.
Использование
Рекомендаций в практике проектирования позволит снизить стоимость 1 м2
пола на 1,2 - 2 руб. при сокращении трудозатрат на 0,2 - 0,3 чел.-ч и экономии
8 кг цемента.
Рекомендации
разработаны в ЦНИИпромзданий Госстроя СССР лабораторией полов (канд. техн. наук
С.А. Шиманович) и отделом автоматизации проектирования (канд. техн. наук Н.Я.
Сапожников) на основе «Рекомендаций по расчету полов с подстилающим слоем и по
конструкциям металлических плит для полов производственных помещений» (СНиП
II-В.8-71 «Полы. Нормы проектирования». - М.: Стройиздат, 1972).
Предложения
и замечания по содержанию настоящих Рекомендаций направлять в лабораторию полов
ЦНИИпромзданий по адресу: 127238, Москва, Дмитровское шоссе, 46.
1.
ОБЩАЯ ЧАСТЬ
1.1.
Настоящие Рекомендации применяются при проектировании сплошных бетонных
подстилающих слоев полов промышленных зданий из тяжелого бетона на грунте и на
теплоизоляционном слое из сыпучих материалов, уложенных на плитах перекрытий, в
тех случаях, когда по условиям эксплуатации не требуется гидроизоляция пола.
1.2. При
учете экономической ответственности при проектировании следует иметь в виду,
что выход какого-либо участка пола из строя (отказ пола) носит вероятностный
характер, не создает угрозы человеческой жизни, а допустимость затрат, связанных с устранением его
последствий, может быть оценена экономически.
1.3. При
расчете подстилающих слоев с учетом экономической ответственности
первоначальная экономия от устройства пола должна быть не меньше суммы затрат
на необходимый ремонт и на восстановление ущерба от нарушений технологии,
возникшего в случае возможного отказа пола.
1.4. При
расчете с учетом экономической ответственности полы промышленных зданий условно
разделяются на следующие группы:
I - полы, на которые не устанавливается
стационарное технологическое оборудование (для технологического оборудования
устраиваются специальные фундаменты, а полы воспринимают нагрузки при движении
людей и от воздействия транспортных средств, складируемых материалов);
II - полы, на которые устанавливается
стационарное оборудование, эксплуатация которого не связана с особыми
требованиями к деформациям основания (возникновение остаточных деформаций или
трещин в подстилающем слое пола не приводит к нарушению нормальной эксплуатации
стационарного оборудования, а при необходимости ремонта пола допускается
временное перемещение этого оборудования на другой участок);
III - полы, на которые устанавливаются
станки, насосы и другое не связанное в единые комплексные линии оборудование с
особыми требованиями к основанию;
IV - полы, на которые устанавливаются:
автоматизированные линии, гибкие системы и т.д.
Определение группы пола промышленных зданий
производится ведущей проектной организацией данного объекта.
Таблица
1
|
Класс бетона
(марка бетона)
|
Модуль упругости, МПа
|
Расчетные сопротивления растяжению Rst, МПа
|
Рекомендуемая
группа пола (см. п. 1.4)
|
|
на статические нагрузки
|
на динамические, многократно повторяющиеся
нагрузки
|
|
В15 (М200)
|
24000
|
1,30
|
0,975
|
I
|
|
|
|
1,2
|
0,9
|
II
|
|
|
|
1,05
|
0,8
|
III
|
|
|
|
0,69*
|
0,52*
|
IV
|
|
В22,5 (М300)
|
29000
|
1,65
|
1,25
|
I
|
|
|
|
1,5
|
1,13
|
II
|
|
|
|
1,35
|
1,0
|
III
|
|
|
|
0,90*
|
0,675*
|
IV
|
|
В30 (М400)
|
33000
|
1,95
|
1,46
|
I
|
|
|
|
1,8
|
1,35
|
II
|
|
|
|
1,6
|
1,2
|
III
|
|
|
|
1,1*
|
0,825*
|
IV
|
* Указанные значения расчетных сопротивлений бетона
соответствуют величинам, приведенным в СНиП 2.03.01-84 «Бетонные и
железобетонные конструкции».
1.5.
Расчетные характеристики бетонов, применяемых для подстилающих слоев полов,
приведены в табл. 1, а характеристики их надежности - в прил. 1.
1.6.
Значения коэффициента постели Ко грунтов основания и теплоизоляционных засыпок
на перекрытиях приведены в табл. 2.
Таблица
2
|
Грунт и засыпка
|
Содержание
зерен, по массе, крупнее
|
Коэффициент
постели Ко, Н/см3, при расположении грунта основания
|
|
выше
зоны опасного капиллярного поднятия грунтовых вод1)
|
в
зоне опасного капиллярного поднятия грунтовых вод
|
|
1
|
2
|
3
|
4
|
|
Песок крупный и гравелистый
|
0,5
мм, более 50 %
|
85
|
80
|
|
Песок средней крупности
|
0,25
мм, более 50 %
|
70
|
65
|
|
Песок мелкий
|
0,1
мм, более 75 %
|
60
|
45
|
|
Супесь
|
0,05
мм, более 50 %
|
40
|
30
|
|
Песок пылеватый
|
0,1
мм, менее 75 %
|
50
|
35
|
|
Суглинок, глина
|
0,05 мм, более 40 %
|
65
|
45
|
|
Супесь, суглинок и глина пылеватые
|
0,05 мм, менее 40 %
|
75
|
55
|
|
Засыпка с применением шлака из
высококалорийных углей (донецких, кузнецких, карагандинских)
|
2 мм, более 80 %
|
70
|
-
|
|
Засыпка с применением шлака из бурых
углей (подмосковных, черемховских)
|
2
мм, более 70 %
|
60
|
-
|
1)
Высоту опасного капиллярного поднятия грунтовых вод надлежит принимать от
горизонта грунтовых вод, м:
0,3 -
для крупного песка;
0,5 -
для песка средней крупности и мелкого;
1,5 -
для песка пылеватого;
2 - для
суглинка, пылеватых суглинка и супеси, глины.
1.7. При
расчете следует учитывать нагрузки на пол, приведенные в прил. 7 СНиП II-В.8-71
«Полы. Нормы проектирования».
На
схеме нагрузок в плане должна быть указана их наибольшая величина, размеры и
форма следов опирания на пол и наименьшие расстояния между этими следами.
Собственный
вес пола, а также нагрузки, равномерно распределенные по всей площади, при
расчете не учитывают.
1.8. В
зависимости от формы и величины площади следа опирания различают следующие
нагрузки.
а)
Простого вида - равномерно распределенные по площади следа, расположенного в
плане так, что наименьшее расстояние от центра следа одной нагрузки до следа
другой нагрузки превышает 6l,
где l
- характеристика гибкости плиты бетонного подстилающего слоя (см. п. 2.3).
При
подстилающем слое на грунте основания:
след
в виде круга радиусом rр
£
6l
(в том числе от колес безрельсовых транспортных средств);
след
в виде прямоугольника длиной aр
и шириной вр при aр ³
вр;
след,
ограниченный с одной стороны прямой и имеющий размеры, при которых квадрат со
стороной aр
= 12,2l
вписывается в этот след, в этом случае расчет ведут на нагрузку, равномерно
распределенную по условному квадратному следу со стороной aр
= 12,2l;
след,
ограниченный с двух сторон параллельными прямыми и имеющий размеры, при которых
прямоугольник длиной aр
= 12,2l
и шириной вр < 12,2l вписывается в этот след, в этом случае
расчет ведут на нагрузку, равномерно распределенную по условному прямоугольному
следу длиной aр
= 12,2l
и шириной вр.
При
подстилающем слое на теплоизоляционном слое из сыпучих материалов, уложенных по
плите перекрытия:
след
в виде прямоугольника с отношением сторон от 1 до 1,5, равновеликий следу в
виде круга радиусом rр
£
2l;
след
в виде прямоугольника длиной aр
£
0,6l,
шириной вр < aр;
след
в виде круга радиусом rр
< 2l
(в том числе от колес безрельсовых транспортных средств).
б)
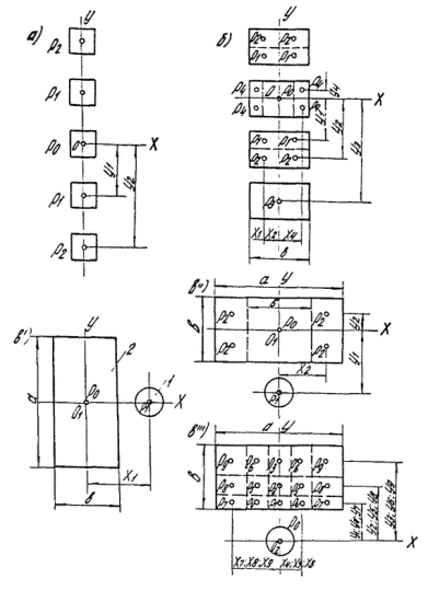
Сложного вида (рис. 1 и 2) - при подстилающем слое на грунте основания:
равномерно
распределенные по площади следа, отличающегося по величине площади или по форме
следа от указанных в подпункте «а»;

Рис. 1. Схемы расположения в
плане нагрузок сложного вида, расчетного центра О, осей координат и разделения
следов нагрузок на элементарные площадки
а - нечётное количество одинаковых
нагрузок, расположенных в один ряд; б - то же, при четном количестве нагрузок в
£ 4,4l; (в; ; ) - нагрузки разной величины с различными площадями следов; 1
- след колеса транспортного средства; 2 - след станка, агрегата

Рис. 2. Схемы расположения в
плане равномерно распределенных нагрузок сложного вида, расчётного центра О,
осей координат и разделения следов нагрузок на элементарные площадки
а, в - нагрузки, равномерно
распределенные по длине параллельных следов (от подкладок под тяжелые предметы,
от штабелей цилиндрических валов и др.) при в £ 4,4l; a > в; б; ; г - то же, при в > 4,4l
неравномерно
распределенные по площади следа;
расположенные
так, что наименьшее расстояния от центра следа одной нагрузки до следа другой
нагрузки менее 6l.
Примечание. Определение aр; вр; rр приведено в п. 1.9.
1.9. Для
нагрузок простого вида расчетные размеры следа определяются по формулам:
(1)
(2)
(3)
где
а и в - длина и ширина прямоугольного следа на поверхности покрытия,
см; при опирании предметов на пол по образующей цилиндрической поверхности или
ребром след условно принимают прямоугольным, у которого в = 0,1l; h1
- толщина слоев пола, расположенных выше подстилающего слоя, см; r - радиус круга, равновеликого площади
следа опирания на поверхности покрытия, см; при прямоугольном следе
(4)
для
следа колес безрельсовых транспортных средств r = Д/2. Д, см, принимают по
табл. 3
настоящих Рекомендаций; при опирании предметов на пол углом след условно
принимают круглым, у которого r
= 0,1l,
см.
Если
бетонный подстилающий слой используется в качестве покрытия, то принимают aр
= а; вр = в; rр
= r.
1.10.
Расчетную нагрузку Рр, кН, от колеса транспортных средств определяют
по формуле Рр = КР, где
Р - нагрузка на колесо, кН; К - коэффициент, учитывающий влияние нагрузки от
других колес, для транспортных средств с двумя осями К = 1,2, с тремя и
четырьмя осями К = 1,8.
1.11.
Проектирование и устройство подстилающих слоев в полах производственных зданий
выполняются в соответствии с требованиями СНиП II-В.8-71 «Полы. Нормы
проектирования» и СНиП III-В.14-72 «Полы. Правила производства и приемки
работ».
Таблица
3
Расчетные
характеристики транспортных средств
|
Марки транспортных средств
|
Количество
осей, шт.
|
Нагрузка
на колесо Р, тс (кН)
|
Площадь
следа колеса F,
см2
|
Удельное давление на пол P = P/F, кгс/см2 (МПа)
|
Диаметр круга следа колеса D = , см2
|
|
1
|
2
|
3
|
4
|
5
|
6
|
|
Автомобили:
|
|
|
|
|
|
|
ГАЗ-51А
ГАЗ-52-03
|
2
|
2,0 (20)
|
500
|
4 (40)
|
25
|
|
ГАЗ-53Ф
ГАЗ-53
|
2
|
2,25 (22,5)
|
640
|
3,5 (35)
|
28,5
|
|
ЗИЛ-585
|
2
|
2,72 (27,2)
|
650
|
4,2 (42)
|
29
|
|
Урал-377
|
3
|
2,75 (27,5)
|
640
|
4,3 (43)
|
28,5
|
|
ГАЗ-93А
|
2
|
2,85 (28,5)
|
710
|
4 (40)
|
30
|
|
ГАЗ-53А
|
2
|
2,80 (28,0)
|
580
|
4,8 (48)
|
27
|
|
ЗИЛ-164
|
2
|
3,08 (30,8)
|
720
|
4,3 (43)
|
30
|
|
ЗИЛ-ММЗ-585
|
2
|
2,85 (28,5)
|
570
|
5 (50)
|
2,7
|
|
ЗИЛ-164А
|
2
|
3,1 (31)
|
620
|
5 (50)
|
28
|
|
ЗИЛ-ММЗ-555
|
2
|
3,25 (32,5)
|
540
|
6 (60)
|
26
|
|
ЗИЛ-130
|
2
|
3,50 (35,0)
|
600
|
5,8 (58)
|
28
|
|
МАЗ-205
|
2
|
4,20 (42,0)
|
700
|
6 (60)
|
30
|
|
ЯАЗ-210
|
3
|
4,50 (45,0)
|
750
|
6 (60)
|
31
|
|
КрАЗ-219Б
|
3
|
4,70 (47)
|
780
|
6 (60)
|
31,5
|
|
МАЗ-503
|
2
|
4,70 (47,0)
|
780
|
6 (60)
|
31,5
|
|
МАЗ-500
|
2
|
5,0 (50,0)
|
830
|
6 (60)
|
33
|
|
МАЗ-200
|
|
КрАЗ-221
|
3
|
8,10 (81,0)
|
1590
|
5,1 (51)
|
45
|
|
Автопогрузчики:
|
|
|
|
|
|
|
4000;
4043М
|
2
|
3,64 (36,4)
|
490
|
7,4 (74)
|
25
|
|
4003;
4045М
|
2
|
5,12 (51,2)
|
850
|
6
(60)
|
33
|
|
Электрокары:
|
|
|
|
|
|
|
ЭК-1,5
|
2
|
0,62 (6,25)
|
42
|
15 (150)
|
7,3
|
|
ЭК-2
|
2
|
0,67 (6,75)
|
56
|
15,7 (157)
|
8,3
|
|
ТС
|
2
|
1,20 (12,0)
|
78
|
15,3 (153)
|
10
|
|
Трайлер Т-101
|
3
|
6,44 (64,4)
|
1073
|
6 (60)
|
37
|
2.
РАСЧЕТ ПРОЧНОСТИ ПОЛА
2.1.
Расчет прочности пола с бетонным подстилающим слоем производят на изгиб.
При
нескольких нагрузках простого или сложного вида расчет ведут на каждую из них в
отдельности.
2.2.
Напряжение растяжения при изгибе sр, МПа,
в плите бетонного подстилающего слоя определяют по формуле
(6)
Толщину
h,
см, бетонного подстилающего слоя определяют из расчета на прочность по формуле
(7)
В
формулах (6)
и (7):
Мр - расчетный изгибающий момент, Н ×
см, отнесенный к одному сантиметру ширины сечения плиты, определяемый при
нагрузках простого вида по формулам (8), (10) и (11) при нагрузках сложного вида
по формуле (12);
Rвt - принимают согласно п. 1.5 для
соответствующей группы пола.
Толщина
подстилающего слоя в производственных помещениях должна быть не менее 100 мм
(см. СНиП II-В.8-71).
2.3.
Расчетный изгибающий момент Мр в плите бетонного подстилающего слоя,
расположенного на грунте основания, при действии на пол нагрузки простого вида,
равномерно распределенной по площади следа в виде прямоугольника (см. п. 1.8), определяют по формуле
Мр
= К1Рр, (8)
где Рр -
расчетная нагрузка на всю площадь следа, кН, принимаемая по п. 1.7; для
следа, условно принятого прямоугольным (см. пп. 1.8 и 1.9) Рр равняется нагрузке на
площади этого условного следа; К1 - коэффициент, принимаемый по
табл. 4
в зависимости от отношений ар/l = a; вр/l = b; где ар
и вр - расчетные длина и ширина прямоугольного следа (ар
³
вр), см, определяемые по п. 1.9; l - характеристика
гибкости плиты бетонного подстилающего слоя, см, принимаемая по табл. 5 или
определяемая по формуле
(9)
где Еб -
модуль упругости бетона, МПа, принимаемый по табл. 1; h - толщина бетонного подстилающего слоя,
см; К0 - коэффициент постели грунта основания, Н/см3,
принимаемый по табл. 2.
2.4.
Расчетный изгибающий момент Мр в плите бетонного подстилающего слоя,
расположенного на грунте основания, при действии на пол нагрузки простого вида,
равномерно распределенной по площади следа в виде круга (см. п. 1.8), определяют по формуле
(10)
где К3
- коэффициент, принимаемый по табл. 6, в зависимости от отношения rр/l = r; rр
- определяется по п. 1.9; Рр и l - определяются по п. 2.3.
2.5.
Расчетный изгибающий момент Мр в плите бетонного
подстилающего слоя, расположенного на слое грунта или сыпучего материала
толщиной , см, уложенного по жесткому основанию (например, на
теплоизоляционной засыпке, уложенной по железобетонному перекрытию), при
действии на пол нагрузки простого вида (см. п. 1.8) определяют по формуле
Мр = К2Рр, (11)
где К2
- коэффициент, принимаемый по табл. 7 в зависимости от отношений rр/l = r и /l,
rр
- определяется по п. 1.9; Рр и l - по п. 2.3.
2.6.
Расчет плиты бетонного подстилающего слоя на изгиб при нагрузках простого вида
производят следующим образом. Вначале устанавливают Рp, Ко
и соответственно ар, вр или rр и , принимают бетон класса В22,5 (марки М300), ориентировочно
задаются значением h = 10
см, находят l и соответственно a,
b или r и /l, определяют К1, К2
или К3, Мр и вычисляют sр.
Таблица
4
|
a
|
Значения К1 при b
|
|
0,1
|
0,2
|
0,4
|
0,6
|
0,8
|
|
0,1
|
140,0
|
-
|
-
|
-
|
|
|
0,2
|
135,7
|
132,5
|
-
|
-
|
-
|
|
0,4
|
127,1
|
123,9
|
118,3
|
-
|
-
|
|
0,6
|
119,3
|
116,2
|
110,8
|
105,9
|
-
|
|
0,8
|
112,2
|
109,3
|
103,9
|
99,2
|
95,0
|
|
1,0
|
105,7
|
102,9
|
97,7
|
93,1
|
89,0
|
|
1,2
|
99,7
|
97,0
|
91,9
|
87,5
|
83,5
|
|
1,4
|
94,3
|
91,6
|
86,7
|
82,4
|
78,5
|
|
1,8
|
89,4
|
86,8
|
82,0
|
77,8
|
74,0
|
|
1,8
|
84,8
|
82,3
|
77,6
|
73,5
|
69,9
|
|
2,0
|
80,6
|
78,1
|
73,5
|
69,5
|
66,0
|
|
2,2
|
76,7
|
74,3
|
69,8
|
65,9
|
62,5
|
|
2,4
|
73,1
|
70,7
|
66,4
|
62,6
|
59,3
|
|
2,6
|
69,7
|
67,4
|
63,2
|
59,6
|
56,3
|
|
2,8
|
66,6
|
64,4
|
60,3
|
56,8
|
53,5
|
|
3,0
|
63,7
|
61,5
|
57,6
|
54,1
|
50,9
|
|
3,2
|
61,0
|
58,9
|
55,1
|
51,6
|
48,5
|
|
3,4
|
58,5
|
56,4
|
52,7
|
49,3
|
46,3
|
|
3,6
|
56,1
|
54,1
|
50,5
|
47,2
|
44,3
|
|
3,8
|
53,9
|
51,9
|
48,4
|
45,3
|
42,4
|
|
4,0
|
51,9
|
50,0
|
46,4
|
43,5
|
40,7
|
|
4,2
|
49,9
|
48,1
|
44,8
|
41,7
|
39,0
|
|
4,4
|
48,0
|
46,3
|
43,1
|
40,1
|
37,4
|
|
4,6
|
46,3
|
44,6
|
41,5
|
38,6
|
36,0
|
|
4,8
|
44,7
|
43,0
|
40,0
|
37,2
|
34,7
|
|
5,0
|
43,2
|
41,5
|
38,6
|
35,9
|
33,5
|
|
5,2
|
41,8
|
40,2
|
37,3
|
34,7
|
32,3
|
|
5,4
|
40,4
|
38,9
|
36,1
|
33,5
|
31,1
|
|
5,6
|
39,1
|
37,6
|
34,9
|
32,4
|
30,1
|
|
5,8
|
37,9
|
36,4
|
33,8
|
31,3
|
29,1
|
|
6,0
|
36,7
|
35,3
|
32,7
|
30,3
|
28,1
|
|
6,5
|
34,0
|
32,7
|
30,2
|
28,0
|
26,0
|
|
7,0
|
31,7
|
30,5
|
28,2
|
26,1
|
24,1
|
|
7,5
|
29,7
|
28,5
|
26,4
|
24,4
|
22,5
|
|
8,0
|
27,8
|
26,7
|
24,7
|
22,9
|
21,1
|
|
9,0
|
24,7
|
23,7
|
21,9
|
20,3
|
18,77
|
|
10,0
|
22,2
|
21,3
|
19,73
|
18,27
|
16,88
|
|
11,0
|
20,2
|
19,39
|
17,94
|
16,59
|
15,33
|
|
12,2
|
18,18
|
17,48
|
16,16
|
14,95
|
13,88
|
Продолжение табл. 4
|
a
|
Значения К1 при b
|
|
1,0
|
1,2
|
1,4
|
1,6
|
1,8
|
|
1,0
|
85,4
|
-
|
-
|
-
|
-
|
|
1,2
|
80,0
|
76,9
|
-
|
-
|
-
|
|
1,4
|
75,2
|
72,1
|
69,3
|
-
|
-
|
|
1,6
|
70,7
|
67,7
|
64,9
|
62,3
|
-
|
|
1,8
|
66,6
|
63,7
|
60,9
|
58,4
|
56,1
|
|
2,0
|
62,9
|
60,0
|
57,3
|
54,9
|
52,6
|
|
2,2
|
59,4
|
56,6
|
54,0
|
51,6
|
49,3
|
|
2,4
|
56,2
|
53,5
|
50,9
|
48,5
|
46,3
|
|
2,6
|
53,3
|
50,6
|
48,1
|
45,7
|
43,5
|
|
2,8
|
50,6
|
47,9
|
45,4
|
43,2
|
41,0
|
|
3,0
|
48,1
|
45,4
|
43,0
|
40,8
|
38,7
|
|
3,2
|
45,7
|
43,2
|
40,8
|
38,6
|
36,6
|
|
3,4
|
43,6
|
41,1
|
38,8
|
36,6
|
34,6
|
|
3,6
|
41,6
|
39,1
|
36,9
|
34,8
|
32,8
|
|
3,8
|
39,8
|
37,3
|
35,1
|
33,1
|
31,2
|
|
4,0
|
38,1
|
35,7
|
33,5
|
31,5
|
29,7
|
|
4,2
|
36,5
|
34,2
|
32,1
|
30,1
|
28,3
|
|
4,4
|
35,0
|
32,7
|
30,7
|
28,8
|
27,0
|
|
4,6
|
33,6
|
31,4
|
29,4
|
27,5
|
25,7
|
|
4,8
|
32,4
|
30,2
|
28,2
|
26,3
|
24,5
|
|
5,0
|
31,2
|
29,0
|
27,0
|
25,2
|
23,5
|
|
5,2
|
30,0
|
27,9
|
25,9
|
24,1
|
22,5
|
|
5,4
|
28,9
|
26,9
|
24,9
|
23,1
|
21,5
|
|
5,6
|
27,9
|
25,9
|
24,0
|
22,2
|
20,6
|
|
5,8
|
26,9
|
24,9
|
23,1
|
21,4
|
19,82
|
|
6,0
|
26,0
|
24,1
|
22,3
|
20,6
|
19,08
|
|
6,5
|
24,0
|
22,1
|
20,4
|
18,89
|
17,43
|
|
7,0
|
22,3
|
20,5
|
18,89
|
17,40
|
16,02
|
|
7,5
|
20,8
|
19,15
|
17,60
|
16,16
|
14,84
|
|
8,0
|
19,5
|
17,95
|
16,49
|
15,14
|
13,87
|
|
9,0
|
17,31
|
15,93
|
14,65
|
13,43
|
12,29
|
|
10,0
|
15,56
|
14,32
|
13,15
|
12,07
|
11,05
|
|
11,0
|
14,13
|
13,01
|
11,95
|
10,95
|
10,03
|
|
12,2
|
12,73
|
11,72
|
10,76
|
9,87
|
9,04
|
Продолжение табл. 4
|
a
|
Значения К1 при b
|
|
2,0
|
2,2
|
2,4
|
2,6
|
2,8
|
|
2,0
|
50,4
|
-
|
-
|
-
|
-
|
|
2,2
|
47,2
|
45,2
|
-
|
-
|
-
|
|
2,4
|
44,3
|
42,3
|
40,4
|
-
|
-
|
|
2,6
|
41,5
|
39,6
|
37,8
|
36,1
|
-
|
|
2,8
|
39,0
|
37,1
|
35,4
|
33,8
|
32,2
|
|
3,0
|
36,7
|
34,9
|
33,2
|
31,6
|
30,0
|
|
3,2
|
34,7
|
32,9
|
31,2
|
29,6
|
28,0
|
|
3,4
|
32,8
|
31,0
|
29,4
|
27,8
|
26,3
|
|
3,6
|
31,0
|
29,2
|
27,5
|
26,1
|
24,7
|
|
3,8
|
29,4
|
27,6
|
26,0
|
24,5
|
23,2
|
|
4,0
|
27,9
|
26,1
|
24,5
|
23,1
|
21,8
|
|
4,2
|
26,5
|
24,8
|
23,3
|
21,9
|
20,6
|
|
4,4
|
25,2
|
23,6
|
22,1
|
20,7
|
19,47
|
|
4,6
|
24,0
|
22,4
|
21,0
|
19,64
|
18,43
|
|
4,8
|
22,9
|
21,4
|
19,96
|
18,65
|
17,46
|
|
5,0
|
21,9
|
20,4
|
19,00
|
17,73
|
16,57
|
|
5,2
|
20,9
|
19,43
|
18,11
|
16,88
|
15,75
|
|
5,4
|
19,96
|
18,57
|
17,28
|
16,09
|
15,0
|
|
5,6
|
19,13
|
17,78
|
16,51
|
15,36
|
14,3
|
|
5,8
|
18,37
|
17,04
|
15,81
|
14,69
|
13,66
|
|
6,0
|
17,67
|
16,36
|
15,16
|
14,07
|
13,08
|
|
6,5
|
16,08
|
14,85
|
13,72
|
12,71
|
11,8
|
|
7,0
|
14,75
|
13,59
|
12,53
|
11,59
|
10,75
|
|
7,5
|
13,63
|
12,54
|
11,55
|
10,66
|
9,88
|
|
8,0
|
12,71
|
11,66
|
10,72
|
9,89
|
9,15
|
|
9,0
|
11,24
|
10,29
|
9,43
|
8,68
|
8,02
|
|
10,0
|
10,09
|
9,22
|
8,44
|
7,76
|
7,15
|
|
11,0
|
9,17
|
8,37
|
7,66
|
7,04
|
6,49
|
|
12,2
|
8,26
|
7,54
|
6,91
|
6,34
|
5,84
|
Продолжение табл. 4
|
a
|
Значения К1 при b
|
|
3,0
|
3,2
|
3,4
|
3,6
|
3,8
|
|
3,0
|
28,5
|
-
|
-
|
-
|
-
|
|
3,2
|
26,6
|
25,2
|
-
|
-
|
-
|
|
3,4
|
24,9
|
23,5
|
22,1
|
-
|
-
|
|
3,6
|
23,3
|
21,9
|
20,7
|
19,47
|
-
|
|
3,8
|
21,9
|
20,6
|
19,43
|
18,23
|
17,07
|
|
4,0
|
20,6
|
19,38
|
18,21
|
17,08
|
15,98
|
|
4,2
|
19,4
|
18,22
|
17,1
|
16,03
|
15,0
|
|
4,4
|
18,29
|
17,16
|
16,09
|
15,08
|
14,11
|
|
4,6
|
17,28
|
16,19
|
15,17
|
14,22
|
13,31
|
|
4,8
|
16,35
|
15,31
|
14,34
|
13,44
|
12,59
|
|
5,0
|
15,5
|
14,51
|
13,59
|
12,74
|
11,94
|
|
5,2
|
14,72
|
13,78
|
12,91
|
12,1
|
11,35
|
|
5,4
|
14,0
|
13,1
|
12,28
|
11,52
|
10,82
|
|
5,6
|
13,34
|
12,48
|
11,7
|
10,99
|
10,34
|
|
5,8
|
12,74
|
11,92
|
11,18
|
10,5
|
9,89
|
|
6,0
|
12,19
|
11,4
|
10,70
|
10,06
|
9,48
|
|
6,5
|
10,99
|
10,28
|
9,65
|
9,08
|
8,58
|
|
7,0
|
10,01
|
9,35
|
8,78
|
8,27
|
7,83
|
|
7,5
|
9,19
|
8,58
|
8,06
|
7,6
|
7,2
|
|
8,0
|
8,50
|
7,94
|
7,45
|
7,03
|
6,67
|
|
9,0
|
7,44
|
6,94
|
6,52
|
6,15
|
5,83
|
|
10,0
|
6,63
|
6,18
|
5,8
|
5,48
|
5,21
|
|
11,0
|
6,01
|
5,59
|
5,25
|
4,95
|
4,7
|
|
12,2
|
5,4
|
5,03
|
4,72
|
4,46
|
4,23
|
Продолжение табл. 4
|
a
|
Значения К1 при b
|
|
4,0
|
4,2
|
4,4
|
4,6
|
4,8
|
|
4,0
|
14,91
|
-
|
-
|
-
|
-
|
|
4,2
|
13,99
|
13,0
|
-
|
-
|
-
|
|
4,4
|
13,18
|
12,25
|
11,31
|
-
|
-
|
|
4,6
|
12,45
|
11,60
|
10,76
|
9,89
|
-
|
|
4,8
|
11,79
|
11,02
|
10,28
|
9,52
|
8,72
|
|
5,0
|
11,2
|
10,50
|
9,84
|
9,16
|
8,38
|
|
5,2
|
10,67
|
10,03
|
9,43
|
8,82
|
8,06
|
|
5,4
|
10,19
|
9,6
|
9,05
|
8,5
|
7,76
|
|
5,6
|
9,75
|
9,2
|
8,70
|
8,19
|
7,47
|
|
5,8
|
9,34
|
8,83
|
8,37
|
7,9
|
7,2
|
|
6,0
|
8,96
|
8,49
|
8,06
|
7,62
|
6,94
|
|
6,5
|
8,13
|
7,73
|
7,36
|
6,99
|
6,36
|
|
7,0
|
7,44
|
7,08
|
6,77
|
6,45
|
5,85
|
|
7,5
|
6,85
|
6,54
|
6,25
|
5,97
|
5,42
|
|
8,0
|
6,35
|
6,07
|
5,81
|
5,56
|
5,05
|
|
9,0
|
5,56
|
5,32
|
5,09
|
4,88
|
4,41
|
|
10,0
|
4,97
|
4,75
|
4,55
|
4,35
|
3,93
|
|
11,0
|
4,48
|
4,29
|
4,12
|
3,93
|
3,55
|
|
12,2
|
4,03
|
3,36
|
3,7
|
3,53
|
3,19
|
Продолжение табл. 4
|
a
|
Значения К1 при b
|
|
5
|
5,2
|
5,4
|
5,6
|
5,8
|
|
5,0
|
7,73
|
-
|
-
|
-
|
-
|
|
5,2
|
7,43
|
6,91
|
-
|
-
|
-
|
|
5,4
|
7,14
|
6,64
|
6,23
|
-
|
-
|
|
5,6
|
6,87
|
6,38
|
5,98
|
5,65
|
-
|
|
5,8
|
6,62
|
6,15
|
5,76
|
5,43
|
5,15
|
|
6,0
|
6,38
|
5,93
|
5,55
|
5,23
|
4,96
|
|
6,5
|
5,84
|
5,41
|
5,07
|
4,77
|
4,53
|
|
7,0
|
5,37
|
4,98
|
4,65
|
4,38
|
4,17
|
|
7,5
|
4,96
|
4,59
|
4,29
|
4,06
|
3,88
|
|
8,0
|
4,62
|
4,26
|
3,99
|
3,8
|
3,65
|
|
9,0
|
4,04
|
3,75
|
3,53
|
3,39
|
3,26
|
|
10,0
|
3,6
|
3,35
|
3,18
|
3,06
|
2,94
|
|
11,0
|
3,25
|
3,03
|
2,89
|
2,77
|
2,67
|
|
12,2
|
2,92
|
2,73
|
2,61
|
2,51
|
2,41
|
Продолжение табл. 4
|
a
|
Значения К1 при b
|
|
6
|
6,5
|
7
|
7,5
|
8
|
|
6,0
|
4,73
|
-
|
-
|
-
|
-
|
|
6,5
|
4,32
|
3,92
|
-
|
-
|
-
|
|
7,0
|
3,99
|
3,63
|
3,33
|
-
|
-
|
|
7,5
|
3,73
|
3,4
|
3,12
|
2,91
|
-
|
|
8,0
|
3,51
|
3,2
|
2,94
|
2,74
|
2,57
|
|
9,0
|
3,14
|
2,86
|
2,64
|
2,46
|
2,37
|
|
10,0
|
2,83
|
2,58
|
2,38
|
2,22
|
2,09
|
|
11,0
|
2,57
|
2,34
|
2,17
|
2,02
|
1,897
|
|
12,2
|
2,32
|
2,11
|
1,956
|
1,825
|
1,711
|
Продолжение табл. 4
|
a
|
Значения К1 при b
|
|
9
|
10
|
11
|
12,2
|
|
9,0
|
2,05
|
-
|
-
|
-
|
|
10,0
|
1,853
|
1,668
|
-
|
-
|
|
11,0
|
1,687
|
1,518
|
1,38
|
-
|
|
12,2
|
1,521
|
1,368
|
1,244
|
1,122
|
Таблица 5
|
Класс (марка)
бетона
|
h, см
|
Значение l, см, при К0, Н/см3
|
|
30
|
35
|
40
|
45
|
50
|
55
|
60
|
65
|
70
|
75
|
80
|
85
|
|
1
|
2
|
3
|
4
|
5
|
6
|
7
|
8
|
9
|
10
|
11
|
12
|
13
|
14
|
|
В 15 (М 200)
|
10
|
51,2
|
49,2
|
47,6
|
46,2
|
45,0
|
44,0
|
43,0
|
42,2
|
41,3
|
40,7
|
40,0
|
39,4
|
|
В 22,5 (М 300)
|
10
|
53,6
|
51,6
|
49,9
|
48,5
|
47,2
|
46,1
|
45,1
|
44,2
|
43,4
|
42,7
|
42,0
|
41,4
|
|
11
|
57,6
|
55,5
|
53,6
|
52,1
|
50,7
|
49,5
|
48,6
|
47,5
|
46,6
|
45,8
|
45,1
|
44,1
|
|
12
|
61,3
|
58,4
|
57,2
|
55,6
|
54,3
|
52,9
|
51,7
|
50,7
|
49,6
|
48,9
|
48,1
|
47,4
|
|
13
|
65,2
|
62,9
|
60,8
|
59,0
|
57,5
|
56,1
|
54,9
|
53,8
|
52,8
|
52,0
|
51,1
|
50,3
|
|
14
|
69,03
|
66,4
|
64,2
|
62,4
|
60,8
|
59,3
|
58,1
|
56,9
|
55,9
|
55,0
|
54,0
|
53,2
|
|
15
|
72,8
|
70,0
|
67,7
|
65,7
|
63,9
|
62,4
|
61,1
|
59,9
|
58,8
|
57,8
|
56,9
|
56,0
|
|
16
|
76,3
|
73,4
|
71,0
|
69,0
|
67,2
|
65,6
|
64,2
|
62,9
|
61,7
|
60,7
|
59,7
|
58,8
|
|
17
|
81,7
|
76,8
|
74,3
|
72,2
|
70,3
|
68,6
|
67,1
|
65,9
|
64,7
|
63,5
|
62,5
|
61,5
|
|
18
|
83,4
|
80,2
|
77,6
|
75,3
|
73,3
|
71,6
|
70,1
|
68,7
|
67,4
|
66,3
|
65,2
|
64,2
|
|
19
|
86,8
|
83,5
|
80,7
|
78,5
|
76,4
|
74,6
|
73,0
|
71,5
|
70,2
|
69,0
|
67,9
|
67,0
|
|
20
|
90,2
|
86,8
|
84,0
|
81,5
|
79,4
|
77,6
|
75,9
|
74,3
|
73,0
|
71,7
|
70,6
|
69,6
|
|
21
|
93,6
|
90,0
|
87,1
|
84,6
|
82,3
|
80,5
|
78,7
|
77,2
|
75,6
|
74.4
|
73,3
|
72,1
|
|
22
|
96,9
|
93,3
|
90,1
|
87,6
|
85,3
|
82,3
|
81,5
|
79,9
|
78,4
|
77,0
|
75,9
|
75,7
|
|
23
|
100,2
|
96,4
|
93,4
|
90,5
|
88,2
|
86,1
|
84,3
|
82,6
|
81,1
|
79,7
|
78,4
|
77,2
|
|
24
|
103,4
|
99,5
|
96,3
|
93,4
|
91,0
|
88,9
|
87,0
|
85,3
|
83,7
|
82,3
|
80,9
|
79,7
|
|
25
|
106,7
|
102,6
|
99,3
|
96,4
|
93,9
|
91,7
|
89,6
|
87,9
|
86,3
|
84,8
|
83,5
|
82,2
|
|
26
|
109,8
|
105,7
|
102,2
|
99,3
|
96,7
|
94,4
|
92,4
|
90,5
|
88,9
|
87,3
|
86,0
|
84,7
|
|
27
|
113,0
|
108,7
|
105,1
|
102,0
|
99,4
|
97,1
|
95,0
|
93,1
|
91,4
|
89,9
|
88,4
|
87,1
|
|
28
|
116,1
|
111,7
|
108,1
|
104,9
|
102,2
|
99,8
|
97,6
|
95,7
|
93,9
|
92,3
|
90,9
|
89,5
|
|
29
|
119,2
|
114,7
|
110,9
|
107,7
|
104,9
|
102,4
|
100,2
|
98,3
|
96,5
|
94,8
|
93,3
|
91,9
|
|
30
|
122,3
|
117,7
|
113,8
|
110,5
|
107,6
|
105,1
|
102,8
|
100,8
|
98,9
|
97,2
|
95,7
|
94,3
|
|
В 30 (М 400)
|
10
|
55,4
|
53,3
|
51,6
|
50,1
|
48,8
|
47,6
|
43,6
|
45,7
|
44,8
|
44,1
|
43,3
|
42,7
|
|
11
|
59,5
|
57,3
|
55,4
|
53,8
|
52,4
|
51,1
|
50,0
|
49,1
|
48,2
|
47,3
|
46,6
|
45,9
|
|
12
|
63,5
|
61,1
|
59,1
|
57,4
|
55,9
|
54,6
|
53,4
|
52,4
|
51,4
|
50,5
|
49,7
|
49,0
|
|
13
|
67,5
|
64,9
|
62,8
|
61,0
|
59,4
|
58,0
|
56,7
|
55,6
|
54,6
|
53,6
|
52,8
|
52,0
|
|
14
|
71,3
|
63,6
|
66,4
|
64,4
|
62,8
|
61,3
|
60,0
|
58,8
|
57,7
|
56,7
|
55,8
|
55,0
|
|
15
|
75,1
|
72,3
|
69,9
|
67,9
|
66,1
|
64,5
|
63,2
|
61,9
|
60,8
|
59,7
|
58,8
|
57,9
|
|
16
|
78,9
|
75,8
|
73,3
|
71,2
|
69,4
|
67,7
|
66,3
|
65,0
|
63,8
|
62,7
|
61,7
|
60,8
|
|
17
|
82,5
|
79,4
|
76,8
|
74,5
|
72,6
|
70,9
|
69,4
|
68,0
|
66,7
|
65,6
|
64,6
|
63,6
|
|
18
|
86,1
|
82,8
|
80,1
|
77,8
|
75,8
|
74,0
|
72,4
|
71,0
|
69,7
|
68,5
|
67,4
|
68,4
|
|
19
|
89,7
|
86,3
|
83,5
|
81,0
|
78,9
|
77,1
|
75,4
|
73,9
|
72,5
|
71,3
|
70,2
|
69,1
|
|
20
|
93,2
|
89,7
|
86,7
|
84,2
|
82,0
|
80,1
|
78,4
|
76,8
|
75,4
|
74,1
|
72,9
|
71,8
|
|
21
|
96,6
|
93,0
|
89,9
|
87,3
|
85,1
|
83,1
|
81,3
|
79,7
|
78,2
|
76,9
|
75,6
|
74,5
|
|
22
|
100,1
|
96,3
|
93,1
|
90,4
|
88,1
|
86,0
|
84,2
|
82,5
|
81,0
|
79,6
|
78,3
|
77,1
|
|
23
|
103,5
|
99,6
|
96,3
|
93,5
|
91,1
|
88,9
|
87,0
|
85,3
|
83,7
|
82,3
|
81,0
|
79,8
|
|
24
|
106,8
|
102,8
|
99,4
|
96,5
|
94,0
|
91,8
|
89,8
|
88,1
|
86,4
|
85,0
|
83,6
|
82,3
|
|
25
|
110,2
|
106,0
|
102,5
|
99,5
|
96,9
|
94,7
|
92,6
|
90,8
|
89,1
|
87,6
|
86,2
|
84,9
|
|
26
|
113,4
|
109,2
|
105,6
|
102,5
|
99,8
|
97,5
|
95,4
|
93,5
|
91,8
|
90,2
|
88,7
|
87,4
|
|
27
|
116,7
|
112,3
|
108,6
|
105,4
|
102,7
|
100,3
|
98,1
|
96,2
|
94,4
|
92,8
|
91,3
|
89,9
|
|
28
|
119,9
|
115,4
|
111,6
|
108,4
|
105,4
|
103,1
|
100,8
|
98,9
|
97,0
|
95,4
|
93,8
|
92,4
|
|
29
|
123,1
|
118,5
|
114,6
|
111,3
|
108,4
|
105,8
|
103,4
|
101,5
|
99,6
|
97,9
|
96,3
|
94,9
|
|
30
|
126,3
|
121,5
|
117,5
|
114,1
|
111,1
|
108,5
|
106,2
|
104,1
|
102,2
|
100,4
|
98,8
|
97,3
|
Таблица
6
|
Значения коэффициента К3
|
|
r
|
К3
|
r
|
К3
|
r
|
К3
|
r
|
К3
|
|
0,02
|
145,9
|
0,42
|
97,9
|
2,1
|
17,88
|
4,1
|
2,92
|
|
0,04
|
142,9
|
0,44
|
96,0
|
2,2
|
15,95
|
4,2
|
2,78
|
|
0,06
|
139,9
|
0,46
|
94,2
|
2,3
|
14,13
|
4,3
|
2,65
|
|
0,08
|
137,1
|
0,48
|
92,4
|
2,4
|
12,5
|
4,4
|
2,53
|
|
0,1
|
134,3
|
0,5
|
90,7
|
2,5
|
11,05
|
4,5
|
2,43
|
|
0,12
|
131,6
|
0,6
|
82,6
|
2,6
|
9,73
|
4,6
|
2,34
|
|
0,14
|
128,9
|
0,7
|
75,2
|
2,7
|
8,55
|
4,7
|
2,25
|
|
0,16
|
126,3
|
0,8
|
68,6
|
2,8
|
7,56
|
4,8
|
2,16
|
|
0,18
|
123,8
|
0,9
|
62,5
|
2,9
|
6,74
|
4,9
|
2,08
|
|
0,2
|
121,3
|
1,0
|
56,9
|
3,0
|
6,08
|
5,0
|
2,0
|
|
0,22
|
118,9
|
1,1
|
51,7
|
3,1
|
5,52
|
5,1
|
1,925
|
|
0,24
|
116,6
|
1,2
|
47,0
|
3,2
|
5,05
|
5,2
|
1,855
|
|
0,26
|
114,3
|
1,3
|
42,6
|
3,3
|
4,65
|
5,3
|
1,79
|
|
0,28
|
112,1
|
1,4
|
38,6
|
3,4
|
4,31
|
4,5
|
1,729
|
|
0,3
|
109,9
|
1,5
|
34,8
|
3,5
|
4,02
|
5,5
|
1,671
|
|
0,32
|
107,8
|
1,6
|
31,4
|
3,6
|
3,77
|
5,6
|
1,616
|
|
0,34
|
105,7
|
1,7
|
28,2
|
3,7
|
3,56
|
5,7
|
1,563
|
|
0,36
|
103,7
|
1,8
|
25,3
|
3,8
|
3,38
|
5,8
|
1,511
|
|
0,38
|
101,7
|
1,9
|
22,6
|
3,9
|
3,21
|
5,9
|
1,46
|
|
0,4
|
99,8
|
2,0
|
20,2
|
4,0
|
3,06
|
6,0
|
1,41
|
Таблица
7
|
r
|
Значения К2 при 
|
|
0,1
|
0,2
|
0,4
|
0,6
|
0,8
|
1
|
2
|
|
0,1
|
99
|
107
|
115
|
119
|
122
|
124
|
130
|
|
0,2
|
82
|
90
|
99
|
105
|
108
|
111
|
117
|
|
0,3
|
67
|
76
|
86
|
92
|
96
|
99
|
106
|
|
0,4
|
55
|
65
|
75
|
81
|
85
|
88
|
95
|
|
0,5
|
45
|
55
|
65
|
71
|
75
|
78
|
85
|
|
0,6
|
36
|
46
|
56
|
62
|
66
|
69
|
77
|
|
0,7
|
29
|
38
|
48
|
54
|
58
|
62
|
69
|
|
0,8
|
23
|
32
|
42
|
47
|
51
|
55
|
63
|
|
0,9
|
19
|
27
|
36
|
41
|
45
|
49
|
57
|
|
1,0
|
15
|
23
|
31
|
36
|
40
|
43
|
51
|
|
1,1
|
12
|
19
|
27
|
32
|
35
|
38
|
46
|
|
1,2
|
9
|
15
|
23
|
28
|
31
|
34
|
41
|
|
1,3
|
-
|
12
|
19
|
24
|
27
|
30
|
36
|
|
1,4
|
-
|
10
|
16
|
20
|
23
|
26
|
32
|
|
1,5
|
-
|
-
|
13
|
17
|
20
|
22
|
28
|
|
1,6
|
-
|
-
|
11
|
14
|
17
|
19
|
25
|
|
1,7
|
-
|
-
|
-
|
12
|
14
|
16
|
22
|
|
1,8
|
-
|
-
|
-
|
10
|
12
|
14
|
19
|
|
1,9
|
-
|
-
|
-
|
-
|
10
|
12
|
17
|
|
2,0
|
-
|
-
|
-
|
-
|
9
|
10
|
15
|
Таблица
8
|

|
Значения коэффициента К4 при 
|
|
0
|
0,05
|
0,1
|
0,15
|
0,2
|
|
0
|
-
|
255,8
|
191,7
|
154,4
|
128,0
|
|
0,05
|
322,1
|
257,0
|
194,6
|
156,2
|
129,1
|
|
0,1
|
257,7
|
234,2
|
192,7
|
157,8
|
131,0
|
|
0,15
|
220,2
|
208,8
|
183,1
|
155,5
|
131,4
|
|
0,2
|
193,8
|
187,1
|
170,4
|
149,8
|
129,5
|
|
0,25
|
173,4
|
169,0
|
157,6
|
142,1
|
125,5
|
|
0,3
|
156,7
|
153,7
|
145,5
|
133,6
|
120,2
|
|
0,35
|
142,8
|
140,6
|
134,4
|
125,2
|
114,3
|
|
0,4
|
130,8
|
129,1
|
124,3
|
117,1
|
108,2
|
|
0,45
|
120,4
|
119,0
|
115,2
|
109,4
|
102,0
|
|
0,5
|
111,1
|
110,0
|
106,9
|
102,1
|
96,0
|
|
0,55
|
102,8
|
101,9
|
99,4
|
95,4
|
90,2
|
|
0,6
|
95,3
|
94,6
|
92,5
|
89,1
|
84,7
|
|
0,65
|
88,6
|
88,0
|
86,2
|
88,3
|
79,5
|
|
0,7
|
82,4
|
81,9
|
80,4
|
77,9
|
74,6
|
|
0,75
|
76,7
|
76,3
|
75,0
|
72,9
|
70,0
|
|
0,8
|
71,6
|
71,2
|
70,0
|
68,2
|
65,7
|
|
0,9
|
62,3
|
62,0
|
61,1
|
59,7
|
57,8
|
|
1,0
|
54,3
|
54,1
|
53,4
|
52,3
|
50,8
|
|
1,1
|
47,4
|
47,2
|
46,7
|
45,8
|
44,6
|
|
1,2
|
41,5
|
41,3
|
40,8
|
40,1
|
39,1
|
|
1,3
|
36,2
|
36,1
|
35,7
|
35,1
|
34,3
|
|
1,4
|
31,6
|
31,5
|
31,2
|
30,7
|
30,1
|
|
1,3
|
27,6
|
27,5
|
27,2
|
26,8
|
26,3
|
Продолжение табл. 8
|

|
Значения коэффициента К4 при 
|
|
0,25
|
0,3
|
0,35
|
0,4
|
0,45
|
|
0
|
107,8
|
91,6
|
78,0
|
66,5
|
56,6
|
|
0,05
|
108,6
|
92,1
|
78,4
|
66,8
|
56,8
|
|
0,1
|
110,2
|
93,4
|
79,5
|
67,7
|
57,5
|
|
0,15
|
111,4
|
94,7
|
80,7
|
68,8
|
58,5
|
|
0,2
|
111,2
|
95,3
|
81,6
|
69,8
|
59,6
|
|
0,25
|
109,5
|
94,9
|
82,0
|
70,5
|
60,4
|
|
0,3
|
106,6
|
93,5
|
81,5
|
70,6
|
60,8
|
|
0,35
|
102,7
|
91,2
|
80,3
|
70,2
|
60,9
|
|
0,4
|
98,4
|
88,3
|
78,5
|
69,2
|
60,5
|
|
0,45
|
93,7
|
84,9
|
76,2
|
67,7
|
59,6
|
|
0,5
|
88,9
|
81,3
|
73,6
|
65,9
|
58,4
|
|
0,55
|
84,2
|
77,6
|
70,7
|
63,7
|
56,9
|
|
0,6
|
79,5
|
73,7
|
67,6
|
61,4
|
55,2
|
|
0,65
|
75,0
|
70,0
|
64,5
|
58,9
|
53,3
|
|
0,7
|
70,7
|
66,3
|
61,4
|
56,4
|
51,3
|
|
0,75
|
66,6
|
62,7
|
58,4
|
53,9
|
49,3
|
|
0,8
|
62,7
|
59,2
|
55,4
|
51,3
|
47,1
|
|
0,9
|
55,4
|
52,7
|
49,6
|
46,3
|
42,8
|
|
1,0
|
48,9
|
46,7
|
44,2
|
41,5
|
38,7
|
|
1,1
|
43,1
|
41,3
|
39,3
|
37,1
|
34,7
|
|
1,2
|
37,9
|
36,4
|
34,8
|
33,0
|
31,0
|
|
1,3
|
33,3
|
32,1
|
30,7
|
29,2
|
27,8
|
|
1,4
|
29,2
|
28,2
|
27,1
|
25,8
|
24,4
|
|
1,5
|
25,6
|
24,7
|
23,8
|
22,7
|
21,5
|
Продолжение табл. 8
|

|
Значения коэффициента К4 при 
|
|
0,5
|
0,55
|
0,6
|
0,65
|
0,7
|
|
0
|
47,8
|
40,2
|
33,4
|
27,3
|
21,8
|
|
0,05
|
48,1
|
40,4
|
33,5
|
-
|
-
|
|
0,1
|
48,7
|
40,9
|
34,0
|
27,8
|
22,3
|
|
0,15
|
49,5
|
41,6
|
34,6
|
-
|
-
|
|
0,2
|
50,5
|
42,5
|
35,5
|
29,2
|
23,6
|
|
0,25
|
51,4
|
43,4
|
36,3
|
-
|
-
|
|
0,3
|
52,0
|
44,2
|
37,1
|
30,8
|
25,2
|
|
0,35
|
52,4
|
44,7
|
37,8
|
-
|
-
|
|
0,40
|
52,4
|
45,0
|
38,3
|
32,1
|
26,5
|
|
0,45
|
52,0
|
45,0
|
38,5
|
-
|
-
|
|
0,5
|
51,3
|
44,7
|
38,5
|
32,7
|
27,4
|
|
0,55
|
50,4
|
44,1
|
38,2
|
-
|
-
|
|
0,6
|
49,2
|
43,4
|
37,8
|
32,6
|
27,7
|
|
0,65
|
47,8
|
42,4
|
37,2
|
-
|
-
|
|
0,7
|
46,2
|
41,2
|
36,4
|
31,7
|
27,3
|
|
0,75
|
44,6
|
39,9
|
35,4
|
-
|
-
|
|
0,8
|
42,8
|
38,6
|
34,4
|
30,3
|
26,4
|
|
0,9
|
39,2
|
35,6
|
32,0
|
28,5
|
25,1
|
|
1
|
35,7
|
32,6
|
29,6
|
26,5
|
23,5
|
|
1,1
|
32,2
|
29,6
|
27,0
|
24,4
|
21,8
|
|
1,2
|
28,9
|
26,7
|
24,5
|
22,3
|
20,0
|
|
1,3
|
25,8
|
24,0
|
22,1
|
20,1
|
18,19
|
|
1,4
|
22,9
|
21,4
|
19,75
|
18,1
|
16,42
|
|
1,5
|
20,3
|
18,96
|
17,57
|
16,14
|
14,69
|
Продолжение табл. 8
|

|
Значения коэффициента К4 при 
|
|
0,75
|
0,8
|
0,85
|
0,9
|
0,95
|
|
0
|
16,95
|
12,55
|
8,59
|
5,02
|
1,80
|
|
0,1
|
17,38
|
12,95
|
8,95
|
5,34
|
2,09
|
|
0,2
|
18,53
|
14,0
|
9,92
|
6,24
|
2,93
|
|
0,3
|
20,0
|
15,43
|
11,27
|
7,52
|
4,14
|
|
0,4
|
21,5
|
16,88
|
12,71
|
8,93
|
5,51
|
|
0,5
|
22,5
|
18,08
|
14,0
|
10,25
|
6,86
|
|
0,6
|
23,1
|
18,85
|
14,94
|
11,33
|
8,03
|
|
0,7
|
23,1
|
19,16
|
15,5
|
12,09
|
8,94
|
|
0,8
|
22,6
|
19,03
|
15,66
|
12,49
|
9,53
|
|
0,9
|
21,7
|
18,52
|
15,46
|
12,55
|
9,81
|
|
1,0
|
20,0
|
17,71
|
14,96
|
12,32
|
9,82
|
|
1,1
|
19,21
|
16,69
|
14,24
|
11,88
|
9,61
|
|
1,2
|
17,75
|
15,94
|
13,37
|
11,27
|
9,23
|
|
1,3
|
16,24
|
14,31
|
12,40
|
10,34
|
8,72
|
|
1,4
|
14,73
|
13,04
|
11,37
|
9,73
|
8,11
|
|
1,5
|
13,23
|
11,76
|
10,31
|
8,86
|
7,44
|
Продолжение табл. 8
|

|
Значения коэффициента К4 при 
|
|
1,0
|
1,05
|
1,1
|
1,15
|
1,2
|
|
0
|
-1,1
|
-3,71
|
-6,07
|
-8,19
|
-10,07
|
|
0,1
|
-0,83
|
-3,46
|
-5,84
|
-7,97
|
-9,86
|
|
0,2
|
-0,07
|
-2,75
|
-5,16
|
-7,33
|
-9,27
|
|
0,3
|
1,08
|
-1,66
|
-4,13
|
-6,35
|
-8,35
|
|
0,4
|
2,42
|
-0,37
|
-2,89
|
-5,16
|
-7,2
|
|
0,5
|
3,78
|
0,98
|
-1,56
|
-3,86
|
-5,94
|
|
0,6
|
5,01
|
2,25
|
-0,28
|
-2,58
|
-4,67
|
|
0,7
|
6,02
|
3,34
|
0,87
|
-1,4
|
-3,46
|
|
0,8
|
6,77
|
4,21
|
1,84
|
-0,34
|
-2,36
|
|
0,9
|
7,24
|
4,83
|
2,59
|
0,51
|
-1,41
|
|
1,0
|
7,46
|
5,23
|
3,13
|
1,17
|
-0,64
|
|
1,1
|
7,46
|
5,42
|
3,48
|
1,66
|
-0,04
|
|
1,2
|
7,29
|
5,43
|
3,65
|
1,98
|
0,41
|
|
1,3
|
6,98
|
5,29
|
3,68
|
2,15
|
0,71
|
|
1,4
|
6,55
|
5,04
|
3,6
|
2,22
|
0,89
|
|
1,5
|
6,05
|
4,71
|
3,43
|
2,18
|
0,98
|
Продолжение табл. 8
|

|
Значения коэффициента К4 при 
|
|
0
|
0,1
|
0,2
|
0,3
|
0,4
|
|
1,5
|
27,6
|
27,2
|
26,3
|
24,7
|
22,7
|
|
1,6
|
24,0
|
23,7
|
22,9
|
21,6
|
19,92
|
|
1,7
|
20,8
|
20,6
|
19,94
|
18,85
|
17,45
|
|
1,8
|
18,06
|
17,87
|
17,3
|
16,38
|
15,17
|
|
1,9
|
15,64
|
15,46
|
14,98
|
14,20
|
13,17
|
|
2,0
|
13,47
|
13,33
|
12,93
|
12,27
|
11,39
|
|
2,1
|
11,57
|
11,45
|
11,11
|
10,56
|
9,81
|
|
2,2
|
9,91
|
9,81
|
9,52
|
9,05
|
8,41
|
|
2,3
|
8,45
|
8,37
|
8,12
|
7,71
|
7,17
|
|
2,4
|
7,17
|
7,10
|
6,89
|
6,54
|
6,08
|
|
2,5
|
6,05
|
5,99
|
5,81
|
5,51
|
5,12
|
|
2,6
|
5,07
|
5,02
|
4,87
|
4,61
|
4,27
|
|
2,7
|
4,22
|
4,18
|
4,05
|
3,82
|
3,53
|
|
2,8
|
3,48
|
3,44
|
3,33
|
3,14
|
2,89
|
|
2,9
|
2,83
|
2,8
|
2,71
|
2,55
|
2,34
|
|
3,0
|
2,28
|
2,25
|
2,17
|
2,04
|
1,86
|
|
3,2
|
1,4
|
1,38
|
1,33
|
1,23
|
1,1
|
|
3,4
|
0,77
|
0,76
|
0,72
|
0,65
|
0,56
|
|
3,6
|
0,33
|
0,32
|
0,29
|
0,25
|
0,19
|
|
3,8
|
0,03
|
0,03
|
0,01
|
-0,02
|
-0,07
|
|
4,0
|
-0,16
|
-0,16
|
-0,18
|
-0,21
|
-0,24
|
|
4,5
|
-0,36
|
-0,36
|
-0,36
|
-0,37
|
-0,39
|
|
5,0
|
-0,31
|
-0,31
|
-0,32
|
-0,32
|
-0,33
|
|
5,5
|
-0,21
|
-0,21
|
-0,21
|
-0,21
|
-0,21
|
|
6,0
|
-0,13
|
-0,13
|
-0,13
|
-0,12
|
-0,12
|
Продолжение табл. 8
|

|
Значения коэффициента К4 при 
|
|
0,5
|
0,6
|
0,65
|
0,7
|
|
1,5
|
20,3
|
17,57
|
16,14
|
14,69
|
|
1,6
|
17,87
|
15,56
|
14,33
|
13,08
|
|
1,7
|
15,67
|
13,7
|
12,66
|
11,58
|
|
1,8
|
13,69
|
12,01
|
11,12
|
10,19
|
|
1,9
|
11,91
|
10,47
|
9,71
|
8,91
|
|
2,0
|
10,31
|
9,08
|
8,42
|
7,74
|
|
2,1
|
8,89
|
7,83
|
7,26
|
6,67
|
|
2,2
|
7,68
|
6,72
|
6,22
|
5,71
|
|
2,3
|
6,51
|
5,73
|
-
|
-
|
|
2,4
|
5,51
|
4,84
|
-
|
-
|
|
2,5
|
4,63
|
4,05
|
-
|
-
|
|
2,6
|
3,85
|
3,36
|
-
|
-
|
|
2,7
|
3,17
|
2,75
|
-
|
-
|
|
2,8
|
2,58
|
2,22
|
-
|
-
|
|
2,9
|
2,07
|
1,70
|
-
|
-
|
|
3,0
|
1,63
|
1,36
|
-
|
-
|
|
3,2
|
0,94
|
0,74
|
-
|
-
|
|
3,4
|
0,44
|
0,3
|
-
|
-
|
|
3,6
|
0,1
|
-0,01
|
-
|
-
|
|
3,8
|
-0,13
|
-0,21
|
-
|
-
|
|
4,0
|
-0,28
|
-0,33
|
-
|
-
|
|
4,5
|
-0,4
|
-0,41
|
-
|
-
|
|
5,0
|
-0,33
|
-0,33
|
-
|
-
|
|
5,5
|
-0,21
|
-0,21
|
-
|
-
|
|
6,0
|
-0,12
|
-0,12
|
-
|
-
|
Продолжение табл. 8
|

|
Значения коэффициента К4 при 
|
|
0,75
|
0,8
|
0,85
|
0,9
|
0,95
|
|
1,5
|
13,23
|
11,76
|
10,31
|
8,86
|
7,44
|
|
1,6
|
11,81
|
10,53
|
9,26
|
7,99
|
6,75
|
|
1,7
|
10,48
|
9,37
|
8,26
|
7,15
|
6,07
|
|
1,8
|
9,24
|
8,28
|
7,32
|
6,35
|
5,4
|
|
1,9
|
8,09
|
7,26
|
6,42
|
5,58
|
4,74
|
|
2,0
|
7,03
|
6,31
|
5,58
|
4,85
|
4,11
|
|
2,1
|
6,05
|
5,44
|
4,81
|
4,17
|
3,53
|
|
2,2
|
5,19
|
4,65
|
4,1
|
3,55
|
2,99
|
|
2,3
|
-
|
3,94
|
-
|
-
|
-
|
|
2,4
|
-
|
3,3
|
-
|
-
|
-
|
|
2,5
|
-
|
2,73
|
-
|
-
|
-
|
|
2,6
|
-
|
2,22
|
-
|
-
|
-
|
|
2,7
|
-
|
1,78
|
-
|
-
|
-
|
|
2,8
|
-
|
1,39
|
-
|
-
|
-
|
|
2,9
|
-
|
1,05
|
-
|
-
|
-
|
|
3,0
|
-
|
0,75
|
-
|
-
|
-
|
|
3,2
|
-
|
0,3
|
-
|
-
|
-
|
|
3,4
|
-
|
-0,02
|
-
|
-
|
-
|
|
3,6
|
-
|
-0,24
|
-
|
-
|
-
|
|
3,8
|
-
|
-0,37
|
-
|
-
|
-
|
|
4,0
|
-
|
-0,43
|
-
|
-
|
-
|
|
4,2
|
-
|
-0,45
|
-
|
-
|
-
|
|
4,4
|
-
|
-0,45
|
-
|
-
|
-
|
|
4,6
|
-
|
-0,43
|
-
|
-
|
-
|
|
4,8
|
-
|
-0,39
|
-
|
-
|
-
|
|
5,0
|
-
|
-0,33
|
-
|
-
|
-
|
|
5,5
|
-
|
-0,21
|
-
|
-
|
-
|
|
6,0
|
-
|
0,12
|
-
|
-
|
-
|
Продолжение табл. 8
|

|
Значения коэффициента К4 при 
|
|
1,0
|
1,05
|
1,1
|
1,15
|
1,2
|
|
1,5
|
6,05
|
4,71
|
3,43
|
2,18
|
0,98
|
|
1,6
|
5,53
|
4,34
|
3,19
|
2,08
|
1,0
|
|
1,7
|
5,0
|
3,94
|
2,9
|
1,9
|
0,95
|
|
1,8
|
4,45
|
3,51
|
2,59
|
1,7
|
0,86
|
|
1,9
|
3,9
|
3,08
|
2,27
|
1,49
|
0,74
|
|
2,0
|
3,38
|
2,66
|
1,95
|
1,26
|
0,59
|
|
2,1
|
2,89
|
2,26
|
1,63
|
1,02
|
0,43
|
|
2,2
|
2,43
|
1,88
|
1,33
|
0,8
|
0,28
|
|
2,3
|
2,01
|
-
|
-
|
-
|
0,13
|
|
2,4
|
1,63
|
-
|
-
|
-
|
-0,02
|
|
2,5
|
1,29
|
-
|
-
|
-
|
-0,15
|
|
2,6
|
0,98
|
-
|
-
|
-
|
-0,28
|
|
2,7
|
0,7
|
-
|
-
|
-
|
-0,39
|
|
2,8
|
0,46
|
-
|
-
|
-
|
-0,48
|
|
2,9
|
0,25
|
-
|
-
|
-
|
-0,56
|
|
3,0
|
0,07
|
-
|
-
|
-
|
-0,62
|
|
3,2
|
-0,21
|
-
|
-
|
-
|
-0,71
|
|
3,4
|
-0,39
|
-
|
-
|
-
|
-0,75
|
|
3,6
|
-0,49
|
-
|
-
|
-
|
-0,76
|
|
3,8
|
-0,55
|
-
|
-
|
-
|
-0,74
|
|
4,0
|
-0,57
|
-
|
-
|
-
|
-0,7
|
|
4,2
|
-0,56
|
-
|
-
|
-
|
-0,64
|
|
4,4
|
-0,52
|
-
|
-
|
-
|
-0,57
|
|
4,6
|
-0,47
|
-
|
-
|
-
|
-0,5
|
|
4,8
|
-0,4
|
-
|
-
|
-
|
-0,43
|
|
5,0
|
-0,34
|
-
|
-
|
-
|
-0,35
|
|
5,5
|
-0,21
|
-
|
-
|
-
|
-0,2
|
|
6,0
|
-0,11
|
-
|
-
|
-
|
-0,11
|
Продолжение табл. 8
|

|
Значения коэффициента К4 при 
|
|
1,2
|
1,3
|
1,4
|
1,5
|
1,6
|
|
0
|
-10,07
|
-13,26
|
-15,78
|
-17,72
|
-19,15
|
|
0,1
|
-9,86
|
-13,08
|
-15,62
|
-17,57
|
-19,01
|
|
0,2
|
-9,27
|
-12,55
|
-15,15
|
-17,14
|
-18,63
|
|
0,3
|
-8,35
|
-11,73
|
-14,41
|
-16,46
|
-18,02
|
|
0,4
|
-7,2
|
-10,69
|
-13,45
|
-15,59
|
-17,21
|
|
0,5
|
-5,94
|
-9,51
|
-12,34
|
-14,55
|
-16,24
|
|
0,6
|
-4,67
|
-8,26
|
-11,14
|
-13,41
|
-15,17
|
|
0,7
|
-3,46
|
-7,02
|
-9,92
|
-12,24
|
-14,05
|
|
0,8
|
-2,36
|
-5,85
|
-8,73
|
-11,08
|
-12,91
|
|
0,9
|
-1,41
|
-4,80
|
-7,62
|
-9,95
|
-11,77
|
|
1,0
|
-0,64
|
-3,88
|
-6,61
|
-8,87
|
-10,68
|
|
1,1
|
-0,04
|
-3,1
|
-5,71
|
-7,87
|
-9,66
|
|
1,2
|
0,41
|
-2,45
|
-4,91
|
-6,97
|
-8,71
|
|
1,3
|
0,71
|
-1,93
|
-4,22
|
-6,18
|
-7,84
|
|
1,4
|
0,89
|
-1,52
|
-3,65
|
-5,49
|
-7,06
|
|
1,5
|
0,98
|
-1,22
|
-3,18
|
-4,89
|
-6,36
|
|
1,6
|
1,0
|
-1,0
|
-2,79
|
-4,37
|
-5,73
|
|
1,7
|
0,95
|
-0,85
|
-2,48
|
-3,93
|
-5,18
|
|
1,8
|
0,86
|
-0,76
|
-2,23
|
-3,55
|
-4,7
|
|
1,9
|
0,74
|
-0,72
|
-2,04
|
-3,23
|
-4,27
|
|
2,0
|
0,59
|
-0,7
|
-1,88
|
-2,96
|
-3,9
|
|
2,1
|
0,43
|
-0,71
|
-1,75
|
-2,72
|
-3,58
|
|
2,2
|
0,28
|
-0,72
|
-1,66
|
-2,52
|
-3,29
|
|
2,3
|
0,13
|
-
|
-1,58
|
-
|
-3,03
|
|
2,4
|
-0,02
|
-
|
-1,53
|
-
|
-2,81
|
|
2,5
|
-0,15
|
-
|
-1,49
|
-
|
-2,62
|
|
2,6
|
-0,28
|
-
|
-1,45
|
-
|
-2,44
|
|
2,7
|
-0,39
|
-
|
-1,41
|
-
|
-2,28
|
|
2,8
|
-0,48
|
-
|
-1,37
|
-
|
-2,13
|
|
2,9
|
-0,56
|
-
|
-1,33
|
-
|
-1,99
|
|
3,0
|
-0,62
|
-
|
-1,28
|
-
|
-1,86
|
|
3,2
|
-0,71
|
-
|
-1,21
|
-
|
-1,63
|
|
3,4
|
-0,75
|
-
|
-1,12
|
-
|
-1,43
|
|
3,6
|
-0,76
|
-
|
-1,02
|
-
|
-1,24
|
|
3,8
|
-0,74
|
-
|
-0,92
|
-
|
-1,08
|
|
4,0
|
-0,7
|
-
|
-0,82
|
-
|
-0,93
|
|
4,2
|
-0,64
|
-
|
-0,72
|
-
|
-0,79
|
|
4,4
|
-0,57
|
-
|
-0,62
|
-
|
-0,66
|
|
4,6
|
-0,5
|
-
|
-0,53
|
-
|
-0,54
|
|
4,8
|
-0,43
|
-
|
-0,44
|
-
|
-0,43
|
|
5,0
|
-0,35
|
-
|
-0,35
|
-
|
-0,34
|
|
5,5
|
-0,2
|
-
|
-0,19
|
-
|
-0,18
|
|
6,0
|
-0,11
|
-
|
-0,10
|
-
|
-0,08
|
Продолжение табл. 8
|

|
Значения коэффициента К4 при 
|
|
1,7
|
1,8
|
2,0
|
2,2
|
2,4
|
|
0
|
-20,15
|
-20,78
|
-21,18
|
-20,72
|
-19,67
|
|
0,1
|
-20,03
|
-20,67
|
-
|
-
|
-
|
|
0,2
|
-19,68
|
-20,35
|
-20,83
|
-20,43
|
-19,43
|
|
0,3
|
-19,12
|
-19,85
|
-
|
-
|
-
|
|
0,4
|
-18,38
|
-19,17
|
-19,84
|
-19,61
|
-18,74
|
|
0,5
|
-17,49
|
-18,35
|
-
|
-
|
-
|
|
0,6
|
-16,5
|
-17,42
|
-18,35
|
-18,35
|
-17,67
|
|
0,7
|
-15,44
|
-16,42
|
-
|
-
|
-
|
|
0,8
|
-14,34
|
-15,37
|
-16,54
|
-16,77
|
-16,31
|
|
0,9
|
-13,22
|
-14,29
|
-
|
-
|
-
|
|
1,0
|
-12,12
|
-13,23
|
-14,58
|
-15,02
|
-14,77
|
|
1,1
|
-11,08
|
-12,2
|
-
|
-
|
-
|
|
1,2
|
-10,11
|
-11,21
|
-12,64
|
-13,22
|
-13,15
|
|
1,3
|
-9,2
|
-10,27
|
-
|
-
|
-
|
|
1,4
|
-8,38
|
-9,39
|
-10,82
|
-11,48
|
-11,54
|
|
1,5
|
-7,57
|
-8,58
|
-
|
-
|
-
|
|
1,6
|
-6,88
|
-7,83
|
-9,16
|
-9,85
|
-10,01
|
|
1,7
|
-6,26
|
-7,14
|
-
|
-
|
-
|
|
1,8
|
-5,7
|
-6,52
|
-7,71
|
-8,38
|
-8,6
|
|
1,9
|
-5,2
|
-5,96
|
|
-
|
-
|
|
2,0
|
-4,74
|
-5,45
|
-6,49
|
-7,09
|
-7,33
|
|
2,1
|
-4,33
|
-4,98
|
-
|
-
|
-
|
|
2,2
|
-3,97
|
-4,56
|
-5,45
|
-5,97
|
-6,2
|
|
2,3
|
-
|
-4,18
|
-
|
-
|
-
|
|
2,4
|
-
|
-3,83
|
-4,57
|
-5,0
|
-5,21
|
|
2,5
|
-
|
-3,52
|
-
|
-
|
-
|
|
2,6
|
-
|
-3,24
|
-3,83
|
-4,18
|
-4,35
|
|
2,7
|
-
|
-2,99
|
-
|
-
|
-
|
|
2,8
|
-
|
-2,76
|
-3,21
|
-3,49
|
-3,62
|
|
2,9
|
-
|
-2,54
|
-
|
-
|
-
|
|
3,0
|
-
|
-2,34
|
-2,69
|
-2,9
|
-2,99
|
|
3,2
|
-
|
-1,99
|
-2,25
|
-2,4
|
-2,46
|
|
3,4
|
-
|
-1,68
|
-1,87
|
-1,98
|
-2,01
|
|
3,6
|
-
|
-1,42
|
-1,55
|
-1,62
|
-1,64
|
|
3,8
|
-
|
-1,19
|
-1,28
|
-1,32
|
-1,33
|
|
4,0
|
-
|
-1,0
|
-1,05
|
-1,07
|
-1,06
|
|
4,2
|
-
|
-0,83
|
-
|
-
|
-
|
|
4,4
|
-
|
-0,68
|
-
|
-
|
-
|
|
4,5
|
-
|
-0,61
|
-0,61
|
-0,6
|
-0,57
|
|
4,6
|
-
|
-0,55
|
-
|
-
|
-
|
|
4,8
|
-
|
-0,43
|
-
|
-
|
-
|
|
5,0
|
-
|
-0,33
|
-0,32
|
-0,3
|
-0,27
|
|
5,5
|
-
|
-0,17
|
-0,15
|
-0,13
|
-0,11
|
|
6,0
|
-
|
-0,07
|
-0,05
|
-0,04
|
-0,03
|
Продолжение табл. 8
|

|
Значения коэффициента К4 при 
|
|
2,6
|
2,8
|
3,0
|
3,2
|
3,4
|
|
0
|
-18,21
|
-16,51
|
-14,71
|
-12,9
|
-11,15
|
|
0,2
|
-18,01
|
-16,35
|
-14,57
|
-12,79
|
-11,06
|
|
0,4
|
-17,43
|
-15,87
|
-14,17
|
-12,46
|
-10,79
|
|
0,6
|
-16,53
|
-15,11
|
-13,54
|
-11,94
|
-10,36
|
|
0,8
|
-15,37
|
-14,13
|
-12,72
|
-11,26
|
-9,8
|
|
1,0
|
-14,04
|
-12,99
|
-11,76
|
-10,45
|
-9,12
|
|
1,2
|
-12,61
|
-11,75
|
-10,71
|
-9,56
|
-8,37
|
|
1,4
|
-11,16
|
-10,48
|
-9,62
|
-8,62
|
-7,57
|
|
1,6
|
-9,76
|
-9,24
|
-8,52
|
-7,67
|
-6,75
|
|
1,8
|
-8,45
|
-8,94
|
-7,45
|
-6,74
|
-5,95
|
|
2,0
|
-7,24
|
-6,93
|
-6,44
|
-5,85
|
-5,18
|
|
2,2
|
-6,15
|
-5,91
|
-5,51
|
-5,02
|
-4,45
|
|
2,4
|
-5,19
|
-4,99
|
-4,67
|
-4,25
|
-3,78
|
|
2,6
|
-4,35
|
-4,18
|
-3,92
|
-3,57
|
-3,17
|
|
2,8
|
-3,62
|
-3,48
|
-3,26
|
-2,97
|
-2,64
|
|
3,0
|
-2,98
|
-2,87
|
-2,68
|
-2,45
|
-2,17
|
|
3,2
|
-2,44
|
-2,34
|
-2,18
|
-1,99
|
-1,75
|
|
3,4
|
-1,98
|
-1,89
|
-1,76
|
-1,59
|
-1,4
|
|
3,6
|
-1,6
|
-1,52
|
-1,4
|
-1,25
|
-1,09
|
|
3,8
|
-1,28
|
-1,21
|
-1,1
|
-0,98
|
-0,84
|
|
4,0
|
-1,01
|
-0,94
|
-0,85
|
-0,75
|
-0,63
|
|
4,5
|
-0,53
|
-0,47
|
-0,4
|
-0,33
|
-0,27
|
|
5,0
|
-0,24
|
-0,2
|
-0,15
|
-0,11
|
-0,07
|
|
5,5
|
-0,09
|
-0,06
|
-0,03
|
-
|
-
|
|
6,0
|
-0,01
|
0,01
|
0,02
|
0,03
|
0,04
|
Продолжение табл. 8
|

|
Значения коэффициента К4 при 
|
|
3,6
|
3,8
|
4,0
|
4,2
|
4,4
|
|
0
|
-9,5
|
-7,96
|
-6,58
|
-5,3
|
-4,21
|
|
0,2
|
-9,42
|
-7,9
|
-6,5
|
-5,26
|
-4,18
|
|
0,4
|
-9,2
|
-7,72
|
-6,35
|
-5,14
|
-4,09
|
|
0,6
|
-8,85
|
-7,43
|
-6,12
|
-4,96
|
-3,94
|
|
0,8
|
-8,39
|
-7,05
|
-5,81
|
-4,71
|
-3,74
|
|
1,0
|
-7,83
|
-6,59
|
-5,44
|
-4,41
|
-3,5
|
|
1,2
|
-7,2
|
-6,07
|
-5,02
|
-4,07
|
-3,23
|
|
1,4
|
-6,52
|
-5,51
|
-4,56
|
-3,7
|
-2,94
|
|
1,6
|
-5,83
|
-4,98
|
-4,09
|
-3,32
|
-2,63
|
|
1,8
|
-5,15
|
-4,36
|
-3,62
|
-2,94
|
-2,32
|
|
2,0
|
-4,49
|
-3,81
|
-3,16
|
-2,56
|
-2,02
|
|
2,2
|
-3,86
|
-3,28
|
-2,72
|
-2,19
|
-1,72
|
|
2,4
|
-3,28
|
-2,78
|
-2,3
|
-1,85
|
-1,44
|
|
2,6
|
-2,75
|
-2,33
|
-1,92
|
-1,54
|
-1,18
|
|
2,8
|
-2,28
|
-1,93
|
-1,58
|
-1,26
|
-0,95
|
|
3,0
|
-1,87
|
-1,57
|
-1,28
|
-1,01
|
-0,75
|
|
3,2
|
-1,51
|
-1,25
|
-1,01
|
-0,78
|
-0,57
|
|
3,4
|
-1,19
|
-0,98
|
-0,78
|
-0,59
|
-0,41
|
|
3,6
|
-0,92
|
-0,75
|
-0,58
|
-0,43
|
-0,28
|
|
3,8
|
-0,7
|
-0,56
|
-0,42
|
-0,29
|
-0,17
|
|
4,0
|
-0,52
|
-0,4
|
-0,29
|
-0,18
|
-0,09
|
|
4,5
|
-0,2
|
-0,13
|
-0,06
|
0
|
0,05
|
|
5,0
|
-0,03
|
0,01
|
0,05
|
0,07
|
0,08
|
|
6,0
|
0,05
|
0,06
|
0,06
|
0,06
|
0,06
|
Продолжение табл. 8
|

|
Значения коэффициента К4 при 
|
|
4,6
|
4,8
|
5,0
|
5,2
|
5,4
|
|
0
|
-3,27
|
-2,48
|
-1,81
|
-1,27
|
-0,83
|
|
0,2
|
-3,25
|
-2,46
|
-1,8
|
-1,26
|
-0,82
|
|
0,4
|
-3,18
|
-2,4
|
-1,76
|
-1,22
|
-0,79
|
|
0,6
|
-3,06
|
-2,31
|
-1,69
|
-1,17
|
-0,75
|
|
0,8
|
-2,9
|
-2,19
|
-1,6
|
-1,1
|
-0,7
|
|
1,0
|
-2,71
|
-2,04
|
-1,49
|
-1,02
|
-0,64
|
|
1,2
|
-2,5
|
-1,87
|
-1,36
|
-0,92
|
-0,57
|
|
1,4
|
-2,27
|
-1,69
|
-1,22
|
-0,82
|
-0,49
|
|
1,6
|
-2,03
|
-1,5
|
-1,07
|
-0,71
|
-0,41
|
|
1,8
|
-1,78
|
-1,31
|
-0,92
|
-0,59
|
-0,33
|
|
2,0
|
-1,53
|
-1,12
|
-0,77
|
-0,48
|
-0,24
|
|
2,2
|
-1,29
|
-0,93
|
-0,63
|
-0,37
|
-0,16
|
|
2,4
|
-1,07
|
-0,76
|
-0,50
|
-0,27
|
-0,09
|
|
2,6
|
-0,87
|
-0,6
|
-0,37
|
-0,18
|
-0,02
|
|
2,8
|
-0,69
|
-0,46
|
-0,26
|
-0,1
|
0,03
|
|
3,0
|
-0,52
|
-0,32
|
-0,16
|
-0,03
|
0,07
|
|
3,2
|
-0,38
|
-0,21
|
-0,08
|
0,03
|
0,11
|
|
3,4
|
-0,25
|
-0,12
|
-0,02
|
0,07
|
0,13
|
|
3,6
|
-0,15
|
-0,05
|
0,04
|
0,1
|
0,15
|
|
3,8
|
-0,07
|
0,01
|
0,08
|
0,12
|
0,16
|
|
4,0
|
-0,01
|
0,05
|
0,1
|
0,13
|
0,16
|
|
4,5
|
0,08
|
0,12
|
0,13
|
0,14
|
0,14
|
|
5,0
|
0,09
|
0,10
|
0,11
|
0,11
|
0,1
|
|
6,0
|
0,06
|
0,06
|
0,05
|
0,04
|
0,04
|
Продолжение табл. 8
|

|
Значения коэффициента К4 при 
|
|
5,4
|
5,6
|
5,8
|
6,0
|
6,5
|
7,0
|
8,0
|
|
0
|
-0,83
|
-0,48
|
-0,2
|
0
|
0,24
|
0,25
|
0,1
|
|
0,2
|
-0,82
|
-0,47
|
-0,2
|
0
|
0,24
|
0,25
|
0,1
|
|
0,4
|
-0,79
|
-0,45
|
-0,19
|
0,01
|
0,24
|
0,25
|
0,1
|
|
0,6
|
-0,75
|
-0,42
|
-0,17
|
0,02
|
0,24
|
0,25
|
0,1
|
|
0,8
|
-0,70
|
-0,38
|
-0,14
|
0,04
|
0,25
|
0,24
|
0,09
|
|
1,0
|
-0,64
|
-0,34
|
-0,11
|
0,06
|
0,25
|
0,23
|
0,09
|
|
1,5
|
-0,45
|
-0,2
|
-0,02
|
0,12
|
0,25
|
0,22
|
0,08
|
|
2,0
|
-0,24
|
-0,05
|
0,08
|
0,16
|
0,24
|
0,19
|
0,06
|
|
2,5
|
-0,05
|
0,07
|
0,15
|
0,19
|
0,22
|
0,17
|
0,05
|
|
3,0
|
0,07
|
0,14
|
0,19
|
0,2
|
0,19
|
0,14
|
0,04
|
|
3,3
|
0,14
|
0,17
|
0,18
|
0,18
|
0,15
|
0,1
|
-
|
|
4,0
|
0,16
|
0,16
|
0,15
|
0,15
|
0,11
|
0,07
|
-
|
|
5,0
|
0,1
|
0,09
|
0,08
|
0,07
|
0,05
|
-
|
-
|
|
6,0
|
0,04
|
0,03
|
0,02
|
0,02
|
-
|
-
|
-
|
Если
полученное значение sр равно или на 1
- 5 % меньше Rвt, то ориентировочно
принятое значение h
= 10 см принимают за окончательное, в противном случае расчет повторяют.
При
повторном расчете надо учитывать следующее:
а)
если при ранее произведенном расчете получилось sр
> Rвt, то задаются большим
значением h;
б)
если при предварительно принятом h = 10 см по расчету получилось sр
< Rвt для бетона класса
В22,5 (марки М300), то, сохраняя h = 10 см, повторным расчетом устанавливают более
низкий класс (марку) бетона.
2.7. При
нагрузках сложного вида (см. п. 1.8)
расчетный изгибающий момент в плите бетонного подстилающего слоя,
расположенного на грунте основания, определяют как сумму моментов от отдельных
нагрузок по формуле
(12)
где М0 -
изгибающий момент в расчетном центре от нагрузки простого вида, равномерно
распределенной по следу, центр тяжести которого совпадает с расчетным центром;
при следе в виде круга М0 определяют по формуле (10), а
при следе в виде квадрата или прямоугольника, длинная сторона a которого расположена параллельно оси ОУ
(рис. 1,
в, 2, а) - по формуле (8); Мi - изгибающий момент в
расчетном центре от сосредоточенной нагрузки Рi, приложенной в центре
тяжести элементарной площадки; определяют по формуле
Мi = КчРi, (13)
где Рi, кН - определяется по
п. 2.14;
Кч - коэффициент, принимаемый по табл. 8 в
зависимости от отношений и , в которых xi и Уi - координаты точки
приложения нагрузки Рi, определяемые по схеме расположения нагрузок
(рис. 1
и 2)
в соответствии с пп. 2.13 и 2.14.
2.8. Для
определения расчетного изгибающего момента при нагрузках сложного вида
вычерчивают схему расположения следов опирания нагрузок на пол, расчетного центра
О, осей координат и схему разделения следов нагрузок на элементарные площадки с
указанием на каждой из них центра тяжести приложения нагрузки (рис. 1 и 2).
Нагрузки, места приложения которых на полу могут изменяться, следует
располагать по возможности ближе к расчетному центру.
2.9.
Расположение расчетного центра О выбирают из условия получения наибольшего
значения изгибающего момента от заданных нагрузок. Для нагрузок, равномерно
распределенных по следу, приведенных на рис. 1 и 2, расположение и количество расчетных
центров следует принимать по табл. 9.
2.10. В
расчетном центре располагают начало прямоугольных координат и размещают ось ОУ
так, чтобы центры тяжести элементарных площадок (см. п. 2.11), на которые разделены площади одного или
нескольких следов опирания, расположились возможно ближе к этой оси.
В
тех случаях, когда недостаточно ясно, какое следует установить направление оси
ОУ, изгибающий момент определяют вначале для одного направления оси, а затем
для другого, перпендикулярного первому направлению (рис. 1), и из
полученных изгибающих моментов принимают наибольший.
2.11.
Следы опирания нагрузок разделяют на элементарные площадки простой геометрической
формы (квадрат, прямоугольник, круг). Размеры элементарных площадок
устанавливают равными 0,3 - 0,5 расстояния от их центра тяжести до расчетного
центра. Такой же величины следует принимать длину элементарных площадок следов
опирания предметов ребром или по образующей цилиндрической поверхности (рис. 2).
Одинаковые
элементарные площадки следует располагать симметрично относительно осей
координат или во всяком случае относительно одной из них.
Следы
нагрузок размерами менее 0,5l
и след колеса безрельсового транспорта на элементарные площадки не разделяют.
Таблица
9
|
Характеристика
нагрузок
|
Рисунок
|
Расчетные центры
|
|
количество
|
расположение
- в центре тяжести следа
|
|
1
|
2
|
3
|
4
|
|
Нечетное
количество одинаковых нагрузок, расположенных в одном ряду
|
1, а
|
1
|
Средней
нагрузки
|
|
То же, четное
количество нагрузок
|
1, б
|
1
|
Одной из двух
средних нагрузок
|
|
Различные по
площади следа опирания
|
1, в
|
2
|
Каждой
отдельной нагрузки
|
|
Нагрузки с
удлиненными следами, расположенными в зоне загружения шириной в £ 4,4l, длиной а > в
|
2, а, в
|
1
|
Нагрузки,
ближайшей к центру тяжести зоны загружения
|
|
Нагрузки с
удлиненными следами, расположенными параллельно оси ОУ в зоне загружения
шириной в > 4,4l, длиной а
> в
|
2, , 
|
2 - 3
|
Каждой
отдельной нагрузки, кроме крайних
|
|
То же,
перпендикулярно оси ОУ
|
2, г
|
1
|
Средней
нагрузки на расстоянии L, от края ее
следа (см. табл. 10)
|
Таблица
10
Значение
L
в зависимости от в (по рис. 2, г)
|
в, см
|
4,4l
|
4,5l
|
4,6l
|
4,8l
|
5l
|
5,5l
|
6l
|
6,5l
|
7l и более
|
|
L, см
|
2,2l
|
1,84l
|
1,67l
|
1,52l
|
1,4l
|
1,26l
|
1,18l
|
1,13l
|
1,1l
|
2.12. С
расчетным центром совмещают центр тяжести элементарной площадки, по форме и
размерам соответствующей нагрузке простого вида со следами круглой (рис. 1, ), или квадратной (рис. 1, а,
б, ) формы, а также прямоугольной формы (рис. 1, , 2, а, б), если ось ОУ располагается параллельно длинной
стороне прямоугольника; при расположении длинной стороны прямоугольника
перпендикулярно оси ОУ длину этой стороны прямоугольника следует принимать не
более 0,6l (рис.
2, в, г) и определять для него радиус
равновеликого круга r, rр (см. п. 1.9).
Для
элементарной площадки определяют нагрузку, равную Р0, кН,
передаваемую на эту площадку.
2.13.
Нагрузку, приходящуюся на каждую элементарную площадку, расположенную вне
расчетного центра, заменяют эквивалентной сосредоточенной нагрузкой Р с точкой приложения в центре тяжести
элементарной площадки.
Значение
Рi,
кН, определяют по формуле
(14)
где fi - площадь
элементарной площадки, см2; F - вся площадь следа нагрузки, см2;
Рр - расчетная нагрузка на всю площадь следа, кН.
2.14. Для всех
элементарных площадок определяют координаты Хi и Уi точек
приложения Рi
относительно осей ОХ и ОУ и вычисляют приведенные координаты этих точек и .
Нагрузки
и элементарные площадки с приведенными координатами точек приложения Рi; > 8 или > 6 в расчете не
учитывают.
2.15.
Расчет плиты бетонного подстилающего слоя на изгиб при нагрузках сложного вида
производят следующим образом. Вначале устанавливают Ко,
принимают бетон класса В22,5 (марки М300), ориентировочно задаются значением h = 10
см и находят l. Для
каждой схемы нагрузок, каждого расчетного центра и направления осей координат определяют P0; Рi; M0; Xi; Yi; ; ; Mi; ; Mp и по формуле (6)
вычисляют sp.
Если
наибольшее из полученных значений sp равно или на 1 - 5 %
меньше Rвt, то ориентировочно принятое
значение h
= 10 см принимают за окончательное. В противном случае расчет повторяют.
Повторный расчет производится только по схеме загружения, по которой получен
наибольший момент Мp.
При повторном расчете следует выполнять указания, приведенные в п. 2.6.
Приложение 1
|
Класс бетона (марка бетона)
|
Расчетное
сопротивление растяжению, МПа
|
Показатель надежности расчетных сопротивлений
|
Вероятность отказа подстилающего слоя, %
|
|
на
статические нагрузки
|
на
динамические многократно повторяющиеся нагрузки
|
|
В15
(М200)
|
1,3
|
0,975
|
2,05
|
2,02
|
|
|
1,2
|
0,9
|
2,47
|
0,68
|
|
|
1,05
|
0,8
|
3,08
|
0,11
|
|
|
0,69*
|
0,52*
|
4,56
|
0,0026
|
|
В22,5
(М300)
|
1,65
|
1,25
|
2,09
|
1,83
|
|
|
1,5
|
1,13
|
2,58
|
0,5
|
|
|
1,35
|
1,0
|
3,06
|
0,12
|
|
|
0,9*
|
0,675*
|
4,5
|
0,0034
|
|
В30
(М400)
|
1,95
|
1,46
|
2,06
|
1,97
|
|
|
1,8
|
1,35
|
2,47
|
0,68
|
|
|
1,6
|
1,2
|
3,01
|
0,14
|
|
|
1,1*
|
0,825*
|
4,4
|
0,0054
|
|
Примечания: 1. Показатель надежности
расчетных сопротивлений - нормированное отклонение расчетного сопротивления от
среднего значения прочности (в предположении нормального распределения
прочности бетона).
2. Вероятность отказа - вероятность того, что прочность
бетона на растяжение окажется меньше расчетного сопротивления Rвt
(в предположении нормального распределения прочности бетона).
|
* См. табл. 1.
СОДЕРЖАНИЕ
|
|