Крупнейшая бесплатная информационно-справочная система онлайн доступа к полному собранию технических нормативно-правовых актов РФ. Огромная база технических нормативов (более 150 тысяч документов) и полное собрание национальных стандартов, аутентичное официальной базе Госстандарта. GOSTRF.com - это более 1 Терабайта бесплатной технической информации для всех пользователей интернета. Все электронные копии представленных здесь документов могут распространяться без каких-либо ограничений. Поощряется распространение информации с этого сайта на любых других ресурсах. Каждый человек имеет право на неограниченный доступ к этим документам! Каждый человек имеет право на знание требований, изложенных в данных нормативно-правовых актах!

  


 

МИНИСТЕРСТВО СТРОИТЕЛЬСТВА СССР

ТРЕСТ ОРГТЕХСТРОЙ ПРОИЗВОДСТВЕННОГО СТРОИТЕЛЬНО-МОНТАЖНОГО
ОБЪЕДИНЕНИЯ
КАЛИНИНГРАДСТРОЙ

ТИПОВАЯ ТЕХНОЛОГИЧЕСКАЯ КАРТА

УСТРОЙСТВО ПОРИЗОВАННЫХ ПОДГОТОВОК
И СТЯЖЕК В ПОЛАХ ЖИЛЫХ, ОБЩЕСТВЕННЫХ
И ВСПОМОГАТЕЛЬНЫХ ЗДАНИЙ

ТТК 66 34-82

ЯРОСЛАВЛЬ 1982

ТИПОВАЯ ТЕХНОЛОГИЧЕСКАЯ КАРТА

УДК 69.025.222

ТТК 66 34 - 82

Устройство поризованных подготовок и стяжек в полах жилых, общественных и вспомогательных зданий

1. ОБЛАСТЬ ПРИМЕНЕНИЯ

1.1. Типовая технологическая карта разработана на устройство монолитных оснований и стяжек из поризованного раствора под полы различной конструкции в зданиях различного назначения с условно принятой поверхностью пола площадью 100 м2.

Поризованные растворные смеси могут быть приготовлены из отдельных компонентов: вяжущее, заполнитель, вода, добавки - или с использованием готовых цементно-песчаных смесей, воды и добавок.

1.2. В состав работ, рассматриваемых картой, входят:

приемка раствора с автосамосвала с зачисткой кузова;

подача раствора с помощью растворонасоса мощностью 6 м3к месту приготовления состава, в бункер;

механическая подача в растворомешалку, дозировка составляющих, приготовление алюминиевой суспензии;

перемешивание в растворомешалке, выгрузка в накопительный бункер;

подача к месту укладки при помощи растворонасоса и устройство основания из поризованного раствора.

1.3. Работы допускается выполнять в летний и зимний период.

Типы покрытий и их назначение даны в приложении к карте.

Разработана

Трестом Оргтехстрой производственного строительно-монтажного объединения Калининградстрой

17 июня 1979г.

Утверждена Минстроем СССР

2 октября 1981 г.

Срок введения в действие

1 июля 1982 г.

1.4. При привязке типовой технологической карты к конкретному объекту и условиям строительства уточняют разбивку на захватки, а также объемы работ, калькуляцию трудовых затрат, средства механизации.

2. ОРГАНИЗАЦИЯ И ТЕХНОЛОГИЯ СТРОИТЕЛЬНОГО ПРОЦЕССА

2.1. До устройства стяжек должны быть выполнены следующие работы:

установлены дверные и оконные блоки;

остеклены оконные блоки;

смонтированы перекрытия;

закончены штукатурные работы;

подготовлены поверхности под устройство стяжки.

На площадке строительства организуют складское хранение дозирующих добавок;

организуют узел приемки цементного раствора, приготовления смеси и подачи поризованного раствора к месту устройства стяжки устанавливают и заземляют механизмы, выносят отметки стяжки.

Работы по устройству поризованных подготовок и стяжек производить в соответствии с рабочими чертежами и проектом производства работ ПР).

В ППР работы по устройству поризованных подготовок и стяжек увязывают с потоком общестроительных работ, предусматривают условия подготовки рабочих мест, оборудование и инструмент.

Устанавливают порядок централизованной заготовки и хранения материалов, потребность в рабочей силе.

2.2. Цементно-песчаные растворы для приготовления поризованного раствора можно приготавливать непосредственно на строительной площадке или доставлять автосамосвалами (см. Схему организации труда по устройству поризованных подготовок и стяжек в полах жилых, общественных и вспомогательных зданий).

Приготовление поризованных растворов производить в растворомешалке периодического или непрерывного действия; дозирование материалов - весовым способом.

Разрешается объемное дозирование заполнителей, воды, цементно-песчаных смесей, алюминиевой суспензии, водного раствора сернокислого натрия при точности дозирования ±5 %.

Приготовление поризованных растворов производить в такой последовательности:

загрузка цементно-песчаного раствора в растворомешалку;

добавление водно-алюминиевой суспензии;

добавление раствора сернокислого натрия;

перемешивание всех компонентов;

выгрузка готового раствора в накопительный бункер.

Объемное соотношение добавок в цементно-песчаный раствор для получения поризованного раствора требуемой марки определять лабораторным способом.

2.2.1. Приготовление водно-алюминиевой суспензии производить в соответствии с СН 277-80 «Инструкция по изготовлению изделий из ячеистых бетонов» в установке СО-11.

Водно-алюминиевую суспензию применяют при следующем соотношении составляющих массовых частей:

Пудра ПАП-1........................................................................................................................ 1

Поверхностно-активное вещество (жидкое мыло) в пересчете на сухое вещество. 0,05

Вода..................................................................................................................................... 30

2.3. Укладку поризованного раствора производить в такой последовательности:

по железобетонному основанию под полы сделать «маяки» из раствора;

плиты основания перед укладкой раствора смочить водой, чтобы предотвратить отсос влаги из поризованного раствора;

неровности основания более 5 мм выровнять раствором. Возможно применение для этой цели мелкозернистых бетонов, состав которых аналогичен составу поризованных растворных смесей, но не содержит специальных добавок;

укладку смеси производить равномерным слоем по ровному основанию (допускаемые просветы при проверке двухметровой рейкой должны быть не более 5 мм) путем плавного перемещения резинотканевого шланга растворонасоса, начиная с наиболее удаленных участков помещений, толщина укладываемого слоя должна быть меньше проектной на величину вспучивания, определяемую лабораторным путем;

поверхность свежеуложенной растворной смеси тщательно выровнять деревянными или алюминиевыми полутерками длиной 120 - 150 см;

места примыкания свежеуложенной поризованной растворной смеси к стенам и перегородкам изолировать прокладками из рулонных материалов. Во время укладки и набора прочности в помещениях не допускать сквозняков. Поставку поризованного раствора осуществлять из расчета 1 м3 каждые 20 мин.

Не допускать перерывов в работе при устройстве элементов полов из поризованного раствора в пределах одного помещения. В отдельных случаях в помещениях большой площади допускать укладку раствора участками площадью 150 - 200 м2.

В период вспучивания и твердения поризованных растворов поверхности элементов пола защищать от переувлажнения, пересыхания и механических повреждений. Передвижение людей допускать при достижении раствором прочности не менее 2 кг/см2, т.е. через 3 - 4 суток после укладки при температуре от +15 до +20 °С.

2.4. В зимнее время приготовление, транспортировку и хранение поризованных растворов организовать так, чтобы раствор в момент укладки имел температуру не ниже +10 °С.

Температура в помещениях и агрегате должна быть не менее +15 °С.

Раствороводы, располагаемые на открытом воздухе и в неотапливаемых помещениях, утеплить.

Влажность основания должна быть не менее 5 %. Степень влажности определяется лабораторным путем.

Производство работ в зимнее время внутри помещения осуществлять при действующих системах центрального или местного отопления и наличии вентиляции. Отопление помещения производить с таким расчетом, чтобы во время производства работ и последующего выдерживания покрытия температура была не ниже +15 °С.

Применение горячей воды для ускорения прогрева основания или удаления наледи не допускается.

2.5. Работы по устройству поризованных подготовок и стяжек под полы производит специализированная бригада, состоящая из 8 штукатуров и 2 машинистов растворонасосов.

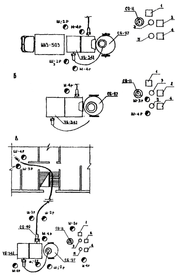
Схема организации труда по устройству поризованных подготовок и стяжек в полах жилых, общественных и вспомогательных зданий

А - приемка цементно-песчаного раствора с автотранспорта и подача в растворомешалку: штукатуры 2 разр. - 2; машинист 4 разр. - 1

Б - приготовление суспензии и перемешивании компонентов поризованного раствора в растворомешалке: штукатур 3 разр. - 1; штукатур 4 разр. - 1; машинист 4 разр. - 1

В - подача поризованного раствора к месту укладки. Устройство основания: машинисты 4 разр. - 2; штукатуры 3 разр. - 2; штукатуры 4 разра. - 2; штукатуры 2 разр. - 4

1 - емкость с алюминиевой пудрой ПАП-1

2 - емкость с мылом (порошком) ПАВ

3 - ведро для алюминиевой суспензии

4 - емкость с сернокислым натрием

5 - ведро для сернокислого натрия

- рабочий

2.6. График выполнения работ (при толщине подготовки 100 мм)

2.7. Калькуляция трудовых затрат (при толщине подготовки 100 мм)

Обоснование (ЕНиР 1979 г.)

Наименование работ

Ед. изм.

Объем работ

Норма времени на ед. изм., чел.-ч

Затраты труда на весь объем работ, чел.-ч

Расценка на ед. изм., руб.-коп.

Стоимость затрат труда на весь объем работ, руб.-коп.

§ 1-11, примеч. 4

Приемка раствора с автосамосвала с зачисткой кузова

т

11,55

0,048

0,55

0-02,1

0-24,3

§ 8-4, табл. 2, п. 4а

Подача раствора в растворомешалку с помощью растворонасоса

м3

7,7

1,23

9,47

0-63,2

4-87

§ 3-18, пп. 2а, 6а

Приготовление поризованного раствора с перемешиванием в растворомешалке, и выгрузкой в бункер

м3

7,7

0,36

2,772

0-19,6

1-51

§ 8-4, табл. 2, п. 4а

Подача раствора на рабочее место растворонасосом

м3

7,7

1,23

9,47

0-63,2

4-87

§ 19-30

Устройство подготовок и стяжек из поризованного раствора

100 м2

1,0

11,5

11,5

6-03

6-03

...

Итого............................................

 

 

 

33,76

 

17-52

2.8. Контроль качества элементов полов из поризованных растворов включает:

приемочный контроль материалов, операционный контроль всех производственных процессов: проверку качества цементно-песчаных смесей, водно-алюминиевой суспензии, водного раствора сернокислого натрия;

приемочный контроль качества готовой стяжки.

Операционный контроль включает в себя:

контроль выполнения установленной технологии, правильность хранения и дозирования материалов, порядок загрузки составляющих в смеситель, соблюдение правил устройства стяжек, условий твердения раствора;

контроль качества добавок, однородность водно-алюминиевой суспензии, плотность водного раствора сернокислого натрия;

контроль качества раствора: текучесть, объемная масса во вспученном состоянии, равномерность вспучивания раствора;

контроль качества затвердевшего поризованного раствора: объемная масса в сухом состоянии, марка, влажность.

Приемку законченных работ по устройству стяжек производить в соответствии с требованиями СНиП III-14-72 и ВСН 67-157-77 Минтяжстроя СССР.

Правильность дозирования компонентов контролируется ежесменно, для чего не реже одного раза в смену определяется фактическая объемная масса свежевспученного поризованного раствора. Если она превышает заданную более чем на 50 кг/м3, то необходимо произвести корректировку вводимых добавок алюминиевой пудры, сульфата натрия.

Ширина раскрытия усадочных трещин на поверхности стяжек из поризованного раствора не должна быть более 0,3 мм. В случае образования трещин их необходимо расширить и зашпаклевать раствором, приготовленным из цементно-песчаной смеси, затворенной поливинилацетатной эмульсией, разбавленной водой в соотношении 1:4.

Отклонение толщины элементов пола от проектной допускается не более 10 %.

Приемку стяжек производить путем оформления акта на скрытые работы после достижения раствором не менее 70 % проектной прочности.

Схема операционного контроля качества работ

Операции, подлежащие контролю

Контроль качества выполнения работ

производителем работ

мастером

Состав контроля

Способы контроля

Время контроля

Привлекаемые службы

 

Подготовительные работы

Выноска отметок пола, устройство маяков

Нивелиром, рейкой, у уровнем

До начала работ

Геодезическая

Подготовка материалов

Соответствие составов добавок и их качества проекту

Проверка паспортов

До начала работ

-

Приготовление поризованного раствора

Соотношение добавок, определение процента вспучивания

Лабораторным способом

Во время приготовления раствора

Строительная лаборатория

Устройство основания

Качество укладки поризованного раствора, разравнивание, отсутствие пропусков

Визуально, правилом и 2-метровой рейкой

Во время укладки раствора

-

2.9. При производстве работ по приготовлению поризованного раствора и устройству стяжек необходимо руководствоваться требованиями СНиП III-4-80 «Техника безопасности в строительстве», обратив особое внимание на следующие из них:

к работам по приготовлению и укладке поризованных растворов допускаются рабочие не моложе 18 лет, прошедшие медицинское освидетельствование, специальное обучение и инструктаж по технике безопасности, пожарной безопасности и промсанитарии;

на рабочем месте моториста должна быть инструкция по безопасным методам труда при приготовлении и транспортировке поризованной смеси;

пудра должна храниться только в герметически закрытой заводской упаковке (алюминиевой бочке);

суспензия ПАП должна приготавливаться в специальных помещениях, оборудованных приточно-вытяжной вентиляцией;

хранение в помещениях более одной бочки с ПАП не разрешается, запрещается также хранить пустую тару из-под алюминиевой пудры;

инструмент для открывания тары должен быть из бронзы, алюминия, дерева и других материалов, исключающих новообразование;

в помещениях для хранения пудры запрещается увлажнение стен и полов. Осевшая пыль убирается сухой ветошью, затем ветошь удаляется. Влажная уборка помещения производится в виде исключения с применением нейтральных моющих средств (этиленгликоль, стиральные порошки), перед уборкой из помещения удаляются бочки с алюминиевой пудрой, емкости с водно-алюминиевой суспензией, тара и другие емкости;

моторист и рабочие, занятые дозировкой и приготовлением добавок и смесей, должны быть одеты в брезентовые костюмы, резиновые сапоги, перчатки, защитные очки и респираторы;

при попадании поризованной смеси, раствора сернокислого натрия или водно-алюминиевой суспензии на открытые участки тела, одежду, обувь растворы и смесь следует немедленно смыть водой, а кожу после промывания смазать вазелиновым маслом;

места производства работ, связанные с применением пудры, должны быть оснащены противопожарным инвентарем. Не допускается производство сварочных работ. Электропроводка и осветительная арматура должны выполняться во взрывобезопасном исполнении.

3. ТЕХНИКО-ЭКОНОМИЧЕСКИЕ ПОКАЗАТЕЛИ

Затраты труда на весь объем работ, чел.-ч........................................................ 33,76

Затраты труда на 1 м2, чел.-ч.............................................................................. 0,3376

Затраты машино-часов на весь объем работ, машино-ч.................................. 7,23

Выработка на одного рабочего в час, м2............................................................ 2,96

Стоимость затрат труда, руб.-коп...................................................................... 17-52

4. МАТЕРИАЛЬНО-ТЕХНИЧЕСКИЕ РЕСУРСЫ

4.1. Потребность в основных материалах на 100 м2 стяжки (при толщине подготовки 100 мм)

Наименование

Марка

Ед.изм.

Количество

Цементно-песчаный раствор

 

м3

7,7

Алюминиевая пудра

ПАП-1

кг

2,5

Натрий сернокислый технический (водный 5 - 10 %-ный раствор)

 

кг

30,8

Поверхностно-активное вещество

ПАВ

кг

0,2

Примечания: 1. Марка цементно-песчаного раствора принимается в соответствии с типом покрытия по СНиП II-В.8-71.

2. Точное массовое соотношение добавок в цементно-песчаный раствор требуемой марки определять лабораторным способом.

4.2. Машины, оборудование, инструменты, инвентарь, приспособления и средства защиты

Наименование

Марка, ГОСТ, № чертежа

Кол-во

Техническая характеристика

Установка для приема и хранения раствора

УБ-342

1

 

Растворонасос

СО-49

2

Производительность 6 м3

Растворосмеситель

СБ-97

1

Объем 250 л

Суспенизатор

СО-11

1

 

Емкость для воды

ИОМТПС* Минстроя СССР, р.ч. № 321.00.00

1

Вместимость 8,5 л

Дозатор

ВДБ-250

1

 

Рулетка РС-1

ГОСТ 7502-69

1

 

Кельма

ГОСТ 9533-71

3

 

Уровень строительный

ГОСТ 9416-76

2

 

Лопата растворная ЛР

ГОСТ 3620-76

3

 

Молоток

ГОСТ 2310-70

2

 

Пила-ножовка

ТУ 25-06-642-70

2

 

Полутерок

ИОМТПС* Минстроя СССР, р.ч. 339.00.00.000

2

Длина 1,5 м

Рукава резиновые напорные Ø 38 мм

ГОСТ 10362-73

80 м

 

Перчатки резиновые технические

ГОСТ 20010-74

6 пар

 

Респиратор

РПГ-67

ГОСТ 12.4.004-74

4

 

Очки защитные закрытые

ЭП1-90

ГОСТ 12-4.013-75

4

 

* Ныне институт ПТИОМЭС.

Приложение

ТИП ПОКРЫТИЙ И ИХ НАЗНАЧЕНИЕ

№ детали

Тип покрытия по СНиП II-В.8-71

Схемы

Элементы пола

НА ГРУНТЕ

1

П-19

поливинилацетатное по стяжке

1 - покрытие;

2 - стяжка из поризованного раствора М75;

3 - подстилающий слой из бетона

2

П-67

из штучного паркета

1 - покрытие с прослойкой;

2 - стяжка из поризованного раствора М100;

3 - подстилающий слой из бетона

3

П-69

из мозаичного наборного паркета

1 - покрытие с прослойкой;

2 - стяжка из поризованного раствора М75;

3 - подстилающий слой из бетона

4

П-71

из линолеума

1 - покрытие с прослойкой;

2 - стяжка из поризованного раствора М75;

3 - подстилающий слой из бетона

5

П-72

из линолеума на синтетическом каучуке

6

П-73 из поливинилхлоридных плит

7

П-80

из кумароновых плит

8

П-71

из линолеума

1 - покрытие с прослойкой;

2 - прокладочный слой из ДВП;

3 - стяжка из поризованного раствора М50;

4 - подстилающий слой из бетона

9

П-72

из линолеума на синтетическом каучуке

10

П-73

из поливинилхлоридных плит

11

П-76

из линолеума

1 - покрытие с прослойкой;

2 - прокладочный слой из ДВП;

3 - стяжка из поризованного раствора М75;

4 - подстилающий слой из бетона

12

П-77

из линолеума на синтетическом каучуке

13

П-78

из поливинилхлоридных плит

14

П-80

из кумароновых плит

НА МЕЖДУЭТАЖНОМ ПЕРЕКРЫТИИ

15

П-19

поливинилацетатное по стяжке

1 - покрытие;

2 - стяжка из поризованного раствора М75 по водонепроницаемой бумаге - один слой;

3 - теплоизоляционный слой по проекту;

4 - железобетонная плита перекрытия

16

П-67

из штучного паркета

1 - покрытие с прослойкой;

2 - стяжка из поризованного раствора М150 по водонепроницаемой бумаге - один слой;

3 - теплоизоляционный слой по проекту;

4 - железобетонная плита перекрытия

17

П-69

из мозаичного наборного паркета

18

П-71

из линолеума

1 - покрытие с прослойкой;

2 - стяжка из поризованного раствора М75 по водонепроницаемой бумаге - один слой;

3 - теплоизоляционный слой по проекту;

4 - железобетонная плита перекрытия

19

П-72

из линолеума на синтетическом каучуке

20

П-78

из поливинилхлоридных плит

21

П-80

из кумароновых плит

22

П-71

из линолеума

1 - покрытие с прослойкой;

2- прокладочный слой из ДВП;

3 - стяжка из поризованного раствора М50;

4 - теплоизоляционный слой по проекту;

5 - железобетонная плита

23

П-72

из линолеума на синтетическом каучуке

24

П-73

из поливинилхлоридных плит

1 - покрытие с прослойкой;

2 - прокладочный слой из ДВП;

3 - стяжка из поризованного раствора М50;

4 - теплоизоляционный слой;

5 - железобетонная плита перекрытия

25

П-76

из линолеума

1 - покрытие с прослойкой;

2 - прокладочный слой из ДВП;

3 - стяжка из поризованного раствора М75;

4 - теплоизоляционный слой по проекту;

5 - железобетонная плита перекрытия

26

П-77

из линолеума на синтетическом каучуке

27

П-78

из поливинилхлоридных плит

28

П-80

из кумароновых

плит

29

П-18

поливинилацетатное мастичное

1 - покрытие;

2 - стяжка из цементно-песчаного раствора М150;

3 - слой из поризованного раствора М10;

4 - железобетонная плита перекрытия

30

П-19

поливинилацетатное мастичное

1 - покрытие;

2 - стяжка из поризованного раствора М75;

3 - слой из поризованного раствора М10;

4 - железобетонная плита перекрытия

31

П-41

из мозаичных плит

1 - покрытие с прослойкой;

2 - стяжка из цементно-песчаного раствора М150;

3 - слой из поризованного раствора М10;

4 - железобетонная плита

32

П-43

из керамической плитки

1 - покрытие с прослойкой;

2 - стяжка из цементно-песчаного раствора М150;

3 - слой из поризованного раствора М10;

4 - железобетонная плита перекрытия

33

П-44

из керамических или для мозаичных полов

1 - покрытие с прослойкой;

2 - стяжка из цементно-песчаного раствора М150;

3 - слой из поризованного раствора М10;

4 - железобетонная плита перекрытия

34

П-67

из штучного паркета

1 - покрытие с прослойкой;

2 - стяжка из поризованного раствора М150;

3 - слой из поризованного раствора М10;

4 - железобетонная плита перекрытия

35

П-69

из мозаичного наборного паркета

1 - покрытие;

2 - стяжка из цементно-песчаного раствора М75;

3 - слой из поризованного раствора М10;

4 - железобетонная плита

36

П-71

из линолеума

1 - покрытие с прослойкой;

2 - стяжка из поризованного раствора М75;

3 - слой из поризованного раствора М10;

4 - железобетонная плита перекрытия

37

П-72

из линолеума на синтетическом каучуке

38

П-73

из поливинилхлоридных плит

39

П-80

из кумароновых плит

40

П-71

из линолеума

1 - покрытие с прослойкой;

2 - прокладочный слой из ДВП;

3 - стяжка из поризованного раствора М150;

4 - слой из поризованного раствора М10;

5 - железобетонная плита перекрытия

41

П-72

из линолеума на синтетическом каучуке

42

П-73

из поливинилхлоридных плит

43

П-76

из линолеума

1 - покрытие с прослойкой;

2 - прокладочный слой из ДВП;

3 - стяжка из поризованного раствора М150;

4 - слой из поризованного раствора М10;

5 - железобетонная плита перекрытия

44

П-77

из линолеума на синтетическом каучуке

45

П-78

из поливинилхлоридных плит

46

П-80

из кумароновых плит

47

П-81

из линолеума

1 - покрытие с прослойкой;

2 - стяжка из цементно-песчаного раствора М150;

3 - слой из поризованного раствора М10;

4 - железобетонная плита перекрытия

48

П-82

из линолеума на синтетическом каучуке

49

П-83

из поливинилхлоридных плит

50

П-85

из кумароновых плит

51

П-19

поливинилацетатное мастичное

1 - покрытие;

2 - стяжка из поризованного раствора М75;

3 - железобетонная плита перекрытия

52

П-71

из линолеума

1 - покрытие с прослойкой;

2 - стяжка из поризованного раствора М75;

3 - железобетонная плита перекрытия

53

П-72

из линолеума на синтетическом каучуке

54

П-73

из поливинилхлоридных плит

55

П-80

из кумароновых плит

56

П-71

из линолеума

1- покрытие с прослойкой;

2 - прокладочный слой из ДВП;

3 - стяжка из поризованного раствора М75;

4 - железобетонная плита перекрытия

57

П-72

из линолеума на синтетическом каучуке

58

П-73

из поливинилхлоридных плит

59

П-76

из линолеума

1 - покрытие с прослойкой;

2 - прокладочный слой из ДВП;

3 - стяжка из поризованного раствора М75;

4 - железобетонная плита перекрытия

60

П-77

из линолеума на синтетическом каучуке

61

П-78

из поливинилхлоридных плит

62

П-80

из кумароновых плит

1 - покрытие с прослойкой;

2 - прокладочный слой из ДВП;

3 - стяжка из поризованного раствора М75;

4 - железобетонная плита перекрытия

Примечания: 1. Покрытия П-19, П-18 (поливинилацетатные, мастичные) не должны содержать карбамидных смол и ортофосфорных кислот.

2. Толщина покрытия П-41 из мозаичных плит должна быть 20 мм, а марка бетона или раствора для этого покрытия - не ниже 200.

3. При использовании поризованного раствора М10 в качестве теплоизоляционного слоя в полах над неотапливаемыми подвалами толщину стяжки из поризованного раствора следует принимать для деталей 16, 17, 25 - 28 - 30 мм, для деталей18 - 24 - 40 мм.

СОДЕРЖАНИЕ

 

 




ГОСТЫ, СТРОИТЕЛЬНЫЕ и ТЕХНИЧЕСКИЕ НОРМАТИВЫ.
Некоммерческая онлайн система, содержащая все Российские Госты, национальные Стандарты и нормативы.
В Системе содержится более 150000 файлов нормативно-технической документации, действующей на территории РФ.
Система предназначена для широкого круга инженерно-технических специалистов.

Рейтинг@Mail.ru Яндекс цитирования

Copyright © www.gostrf.com, 2008 - 2026