Крупнейшая бесплатная информационно-справочная система онлайн доступа к полному собранию технических нормативно-правовых актов РФ. Огромная база технических нормативов (более 150 тысяч документов) и полное собрание национальных стандартов, аутентичное официальной базе Госстандарта. GOSTRF.com - это более 1 Терабайта бесплатной технической информации для всех пользователей интернета. Все электронные копии представленных здесь документов могут распространяться без каких-либо ограничений. Поощряется распространение информации с этого сайта на любых других ресурсах. Каждый человек имеет право на неограниченный доступ к этим документам! Каждый человек имеет право на знание требований, изложенных в данных нормативно-правовых актах!

  


 

ПРОЕКТНЫЙ И НАУЧНО-ИССЛЕДОВАТЕЛЬСКИЙ ИНСТИТУТ

КРАСНОЯРСКИЙ ПРОМСТРОЙНИИПРОЕКТ
МИНТЯЖСТРОЯ СССР

РУКОВОДСТВО
ПО ПРОЕКТИРОВАНИЮ
И УСТРОЙСТВУ
ОБОГРЕВАЕМЫХ ПОЛОВ
ЖИЛЫХ
И ОБЩЕСТВЕННЫХ
ЗДАНИЙ,
СТРОЯЩИХСЯ
В СЕВЕРНОЙ
СТРОИТЕЛЬНО-КЛИМАТИЧЕСКОЙ
ЗОНЕ

МОСКВА 1988

Рекомендовано к изданию решением секций конструкций зданий ученого совета Красноярского Промстройниипроекта и Управлением инженерного оборудования Госгражданстроя.

Рассмотрены вопросы проектирования и устройства обогреваемых полов и систем обогрева цокольных перекрытий в жилых и общественных зданиях с проветриваемыми подпольями.

Для инженерно-технических работников проектных и строительных организаций.

Согласовано с ГУПО МВД СССР, Главным санитарно-эпидемиологическим управлением Минздрава РСФСР и МНИИГ им. Ф.Ф. Эрисмана.

ПРЕДИСЛОВИЕ

Руководство разработано к главам СНиП по строительной теплотехнике, по проектированию отопления, вентиляции и кондиционированию воздуха, по проектированию полов, а также отдельных видов жилых и общественных зданий в части требований к теплозащитным свойствам цокольных перекрытий и системам, обеспечивающим нормальный температурный режим полов первых этажей. Руководство содержит технические данные и рекомендации по проектированию и устройству обогреваемых полов и систем обогрева цокольных перекрытий жилых и общественных зданий с проветриваемыми подпольями в районах Северной строительно-климатической зоны.

Руководство разработано Красноярским Промстройниипроектом Минтяжстроя СССР на основании опыта многолетних исследований, разработки и внедрения обогреваемых полов цокольных перекрытий в жилых и общественных зданиях (инженеры И.К. Квач - схемы, материалы, изделия и оборудование, конструирование, методы и примеры расчета, устройство водяных, воздушных и электрических систем обогрева и общее редактирование Руководства; В.Н. Горбунов - определение конвективной составляющей коэффициента теплоотдачи полов и граней воздушных прослоек систем обогрева; канд. техн. наук Н.Д. Шкляров - схемы, материалы и изделия, конструирование и устройство цокольных перекрытий).

При составлении Руководства использованы материалы ЛенЗНИИЭП (канд. техн. наук Т.И. Янкина - схемы, материалы, изделия и оборудование, конструирование и устройство воздушных систем обогрева), НИИсантехники, ЦНИИпромзданий, ЦНИИЭП инженерного оборудования, ЦНИИЭП жилища и др.

Замечания и предложения просим направлять в Красноярский Промстройниипроект Минтяжстроя СССР по адресу: 660062, Красноярск, пр. Свободный, 75.

1. ОБЩИЕ ПОЛОЖЕНИЯ

1.1. Руководство распространяется на проектирование и устройство обогреваемых полов цокольных перекрытий во вновь строящихся и реконструируемых капитальных жилых и общественных зданиях с проветриваемыми подпольями без технических этажей в районах Северной строительно-климатической зоны.

1.2. Руководство разработано к главам СНиП по строительной теплотехнике, по проектированию отопления, вентиляции и кондиционирования воздуха, по проектированию полов, а также отдельных видов жилых и общественных зданий в части требований к теплозащитным свойствам цокольных перекрытий и системам, обеспечивающим нормальный температурный режим полов первых этажей.

1.3. Системы обогрева полов предназначены, как правило, для нормализации температурного режима полов первых этажей зданий, обеспечивающейся за счет теплового барьера в цокольном перекрытии, исключающего поток тепла из помещений в подполье.

Допускается участие систем обогрева в покрытии теплопотерь прочими наружными ограждениями (для водяных систем с замоноличенными трубами).

1.4. Обогрев полов следует предусматривать в помещениях с длительным пребыванием людей, имеющих обычное конвекционное отопление. В помещениях с панельно-лучистым потолочно-напольным отоплением специальные системы обогрева предусматривать не следует.

1.5. Системы обогрева должны обладать надежностью, исключающей необходимость дублирования их функций другими системами или средствами (назначение резерва мощности основных систем отопления, увеличение сопротивления теплопередаче цокольных перекрытий), на случай выхода систем обогрева из строя на продолжительное время. Повышение надежности систем обогрева достигается резервированием отдельных их элементов и применением автоматической защиты от выхода систем из строя в аварийных ситуациях.

1.6. При расчете мощности основной системы отопления учитывать потери тепла через цокольное перекрытие не рекомендуется.

1.7. Сопротивление теплопередаче части цокольного перекрытия от уровня нагревательных элементов систем обогрева к воздуху проветриваемого подполья должно назначаться на основании технико-экономических расчетов.

1.8. При определении площади продухов проветриваемых подполий для зданий, оснащенных системами обогрева, согласно требованиям главы СНиП по проектированию оснований и фундаментов на вечномерзлых грунтах, вместо расчетной температуры воздуха в помещениях следует принимать среднюю температуру на уровне заложения нагревательных элементов за отопительный период, а вместо сопротивления теплопередаче перекрытия над проветриваемым подпольем - сопротивление от уровня заложения нагревательных элементов к воздуху подполья.

1.9. Элементы систем обогрева и конструкции цокольных перекрытий должны обеспечивать выполнение соответствующих работ индустриальными методами.

2. СХЕМЫ СИСТЕМ ОБОГРЕВА И ЦОКОЛЬНЫХ ПЕРЕКРЫТИЙ

Общие сведения

2.1. Для обогрева полов первых этажей жилых и общественных зданий следует применять водяные, электрические и воздушные системы обогрева.

2.2. Выбор систем должен производиться при проектировании или привязке типовых проектов на основании технико-экономических расчетов. Экономическому сравнению вариантов систем обогрева должна предшествовать стадия оптимизации сопротивления теплопередаче от уровня заложения нагревательных элементов к воздуху подполья для каждого варианта. К применению следует принимать систему с наименьшими суммарными приведенными затратами: по системе, цокольному перекрытию и помещению для размещения специального оборудования (только для воздушных систем обогрева).

Водяные системы обогрева

2.3. Водяные системы рекомендуется предусматривать в населенных местах с крупными системами теплоснабжения (от ТЭЦ или районных котельных), обеспечивающими устойчивый тепловой и гидравлический режимы тепловых сетей. При проектировании и устройстве систем необходимо соблюдать рекомендации настоящего Руководства.

2.4. Водяные системы обогрева (рис. 1) рекомендуется выполнять из отдельных нагревательных устройств, включающих нагревательный элемент (змеевик), автоматику защиты нагревательного элемента от замерзания, отключающие устройства, обеспечивающие двустороннюю продувку змеевика. Нагревательные устройства должны иметь отдельное централизованное подключение к обратному трубопроводу тепловой сети в тепловом вводе в здание. Подключение нагревательных устройств к основной системе отопления не рекомендуется.

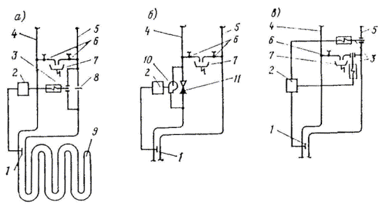
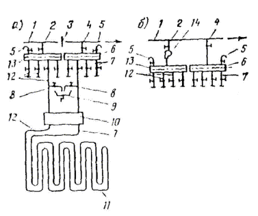
Рис. 1. Схемы водяных систем обогрева

а - с дроссельной шайбой; б - с циркуляционным насосом; 1 - обратный трубопровод тепловой сети; 2, 4 - подающий и обратный трубопроводы системы обогрева; 3 - дроссельная шайба; 5 - воздушники; 6, 13 - обратный и подающий распределительные коллекторы; 7, 12 - подающие и обратные трубопроводы нагревательных устройств; 8 - продувочные трубопроводы; 9 - раковина; 10 - автоматика безопасности; 11 - нагревательный элемент (бифилярный змеевик); 14 - циркуляционный насос

При необходимости обеспечения круглогодичного обогрева полов (например, в бассейнах) подключение систем должно предусматриваться к сети горячего водоснабжения.

2.6. Автоматика защиты нагревательного элемента от замерзания должна увеличивать расход теплоносителя при снижении его температуры на концевых участках змеевика до 20 °С.

2.6. Создание необходимого для работы системы обогрева гидравлического давления рекомендуется предусматривать за счет дроссельной шайбы, устанавливаемой на обратном трубопроводе тепловой сети между подающим и обратным трубопроводами системы (рис. 1, а). При недостаточном располагаемом давлении на вводе тепловой сети в здание в системе обогрева допускается применение циркуляционных насосов (рис. 1, б).

2.7. При наличии нескольких устройств в системе обогрева их подключение рекомендуется предусматривать через распределительные коллекторы.

2.8. Каждое нагревательное устройство системы должно решаться только по проточной схеме. Нагревательный элемент рекомендуется выполнять в виде бифилярного змеевика, обеспечивающего выравнивание температуры на поверхности пола.

2.9. Автоматикой регулирования оснащать водяные системы обогрева не рекомендуется.

Воздушные системы обогрева

2.10. При технико-экономической целесообразности воздушные системы обогрева рекомендуется предусматривать в районах с недефицитной электроэнергией и маломощными системами теплоснабжения.

2.11. Рекомендуется предусматривать рециркуляционные пли прямоточные системы обогрева. В рециркуляционных системах (рис. 2) воздух движется по замкнутому контуру, проходя последовательно калориферы, вентилятор, шумоглушители, систему раздающих воздуховодов, укладываемых под полом, воздушную прослойку или специальные каналы, систему сборных воздуховодов, шумоглушители.

Рис. 2. Схема воздушной рециркуляционной системы обогрева

1 - шумоглушители; 2 - калориферы, 3 - вентилятор; 4 - регулирующие заслонки; 5 - раздающие воздуховоды; 6 - сборные воздуховоды; 7 - сетки с движком; 8 - вентиляционная камера; 9 - подпольное пространство

2.12. Прямоточные системы (рис. 3) рекомендуется выполнять объединенными с воздушным отоплением, совмещенным с вентиляцией. В таких системах наружный воздух, пройдя обработку в приточной камере отопительно-вентиляционной системы, полностью или частично через систему раздающих воздуховодов, уложенных под обогреваемым полом, поступает в воздушную прослойку или специальные каналы цокольного перекрытия, откуда через систему сборных воздуховодов подается в помещения.

Рис. 3. Схема воздушной прямоточной системы обогрева, объединенной с воздушным отоплением, совмещенным с вентиляцией

1 - подача воздуха в вентилируемое помещение после подпольного пространства; 2 - то же, на отопление и вентиляцию помещений; 3 - поступление воздуха из приточной камеры; 4 - регулирующие заслонки; 5 - раздающие воздуховоды; 6 - сборные воздуховоды; 7 - сетки с движком; 8 - подпольное пространство

2.13. В зданиях или помещениях, в которых температура в верхней зоне достигает значительных величин (до 30 °С), допускается применение прямоточной системы обогрева полов, совмещенной с вытяжной вентиляцией (рис. 4). В таких системах воздух забирается из верхней зоны помещения и вентилятором через систему раздающих воздуховодов подается в воздушную прослойку или специальные каналы цокольного перекрытия, откуда через систему сборных воздуховодов выводится наружу. Для повышения эффективности подобных систем допускается предусматривать подогрев воздуха перед подачей его в воздушную прослойку либо каналы.

Рис. 4. Схема воздушной прямоточной системы обогрева, совмещенной с вытяжной вентиляцией

1 - выброс воздуха в атмосферу; 2 - вентилятор; 3 - забор воздуха из верхней зоны помещений; 4 - калорифер; 5 - регулирующие заслонки; 6 - раздающие воздуховоды; 7 - сборные воздуховоды; 8 - сетки с движком; 9 - подпольное пространство

2.14. Прямоточные системы обогрева могут быть рекомендованы к применению только на объектах экспериментального строительства с обязательным согласованием принятых решений с санитарно-эпидемиологическим надзором.

2.15. Оснащение воздушных систем обогрева автоматикой регулирования не рекомендуется.

Электрические системы обогрева

2.16. Электрические системы обогрева рекомендуется предусматривать в районах с недефицитной электроэнергией и в населенных местах с маломощными системами теплоснабжения.

2.17. Разрешение на использование электроэнергии для обогрела полов выдается энергоснабжающими организациями в установленном порядке на основании технико-экономических расчетов проектных организаций. При перспективном строительстве в крупных масштабах нагрузка систем обогрева должна учитываться в энергетических балансах соответствующих районов.

2.18. Электрические системы (рис. 5) следует комплектовать из отдельных нагревательных устройств, включающих нагревательный элемент, выполняемый из двухжильного кабеля или провода, автоматику регулирования и защиты нагревательного элемента от перегрева, аппаратуру защиты от перегрузок и коротких замыканий, экранирующую сетку (п. 2.22 настоящего Руководства), соединительные и питающие провода.

Рис. 5. Схемы электрических нагревательных устройств

а - без экранирующей сетки; б - с экранирующей сеткой; в - с блокировкой питания с напольными электроплитами; РЩ - распределительный щит (групповой щиток); Пр - предохранитель, устанавливаемый в распределительном щите; А - автоматический выключатель; ЩУ - щит управления с элементами автоматики регулирования и защиты и аппаратами управления; НЭ - нагревательный элемент из греющего кабеля; Э - экранирующая сетка; А′ - автоматический выключатель, устанавливаемый в щите управления; П - переключатель; ЭП - электроплита

2.19. Автоматика регулирования и защиты должна отключать нагревательный элемент при повышении температуры на уровне его заложения и при понижении температуры воздуха в помещении. В схемах управления нагревательными устройствами должен предусматриваться и ручной режим их работы.

2.20. В качестве датчика температуры на уровне заложения нагревательного элемента рекомендуется использовать одну из жил греющего кабеля.

2.21. Жилы кабеля должны приниматься одинакового сечения. Это позволяет при выходе из строя рабочей жилы использовать в качестве последней жилу, служащую датчиком температуры, и продолжать эксплуатацию нагревательного устройства в ручном режиме работы до момента, благоприятного для проведения соответствующих ремонтных работ (теплый период года и т.п.).

2.22. В помещениях, где возможно сильное увлажнение или повреждение полов (туалетах, душевых и т.п.), нагревательный элемент следует защищать заземляемой либо зануляемой экранирующей сеткой, предотвращающей вынос потенциала на поверхность пола (рис. 5, б).

2.23. По степени обеспечения надежности электроснабжения электрические системы обогрева рекомендуется относить к электроприемникам второй категории надежности.

2.24. В домах квартирного и гостиничного типов, а также в общежитиях квартирного типа питание нагревательных устройств систем обогрева рекомендуется предусматривать от самостоятельной сети с учетом энергии, расходуемой па обогрев, только на вводно-распределительном устройстве на дом в целом. Расчет за потребляемую электроэнергию в этом случае производится пропорционально жилой площади, занимаемой квартиросъемщиками.

2.25. В жилых домах с электрическим пищеприготовлением питание нагревательных устройств допускается блокировать с электроплитами (рис. 5, в). Учет энергии, расходуемой па обогрев, при такой схеме подключения производится квартирными счетчиками. При этом расчет за электроэнергию производится по расчетному ее расходу, распределяемому пропорционально жилой площади всех квартир дома, а из показаний счетчиков квартир первого этажа предварительно это количество электроэнергии вычитается (пропорционально площади квартир первого этажа).

2.26. В общежитиях и общественных зданиях питание нагревательных устройств рекомендуется предусматривать от распределительных щитов силовой или осветительной сети.

2.27. В общественных зданиях при соответствующем обосновании также допускается блокирование питания систем обогрева с электроприемниками соответствующей мощности и непродолжительным режимом работы. При этом удобство, оперативность пользования электроприемниками и надежность их питания не должны ухудшаться.

Цокольные перекрытия

2.28. Конструкция цокольного перекрытия должна состоять из следующих элементов (слоев), считая от нижней поверхности:

несущей конструкции, воспринимающей постоянные и временные нагрузки;

противоинфильтрационного слоя, препятствующего прониканию наружного воздуха в толщу цокольного перекрытия;

теплоизоляционного слоя, обеспечивающего требуемую теплозащиту цокольного перекрытия;

стяжки (основания под гидро- и пароизоляцию), устраиваемой по нежестким или пористым элементам перекрытия для создания плотного слоя, а также для выравнивания поверхности элементов пола или перекрытия, придания необходимого уклона, закрытия различных трубопроводов и создания воздушной прослойки;

гидро- и пароизоляции, препятствующей прониканию в утеплитель воды и пара;

элементов обогрева полов, служащих для обеспечения их нормального температурного режима;

гидроизоляции (только для электрических систем в помещениях с сильным увлажнением полов);

основания под полы (подстилающего слоя) - промежуточного слоя, связывающего покрытие пола с нижележащими элементами пола или перекрытия;

покрытия пола (чистого пола), непосредственно подвергающегося эксплуатационным воздействиям.

В конструкциях цокольных перекрытий может отсутствовать или совмещаться несколько элементов.

2.29. По способу изготовления и монтажа цокольные перекрытия бывают:

построечного изготовления с раздельной укладкой и монтажом конструктивных элементов, изготовляемых на заводе и на строительной площадке;

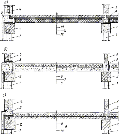
построечного изготовления из плит или панелей с раздельными функциями: нижней теплоизоляционной и верхней несущей, изготовляемых раздельно на заводе и монтируемых раздельно на строительной площадке (рис. 6, а);

заводского изготовления, совмещающие несущие и теплоизоляционные функции в одной конструкции и монтируемые на строительной площадке как одно целое.

Рис. 6. Принципиальные решения индустриальных конструкций цокольных перекрытий в крупнопанельных домах (элементы систем обогрева и покрытие пола условно не показаны)

а - из двух панелей заводской готовности, монтируемых раздельно на строительной площадке; б - из комплексных плит или панелей, изготовляемых в одной форме при соединении конструктивных слоев в одно целое в процессе формования и тепловой обработки; в - из комплексных панелей, собираемых на заводе на стенде в одно целое из двух панелей, и утеплители между ними; 1 - свая; 2 - ростверк; 3 - цокольный блок, 4 - наружная стеновая панель; 5 - внутренняя стеновая панель; 6 - легкий бетон; 7 - утеплитель; 8 - ребристая плита из легкого бетона; 9 - утеплитель; 10 - несущая железобетонная плита; 11 - воздушная прослойка; 12 - трехслойная панель с обшивками из листовых материалов и эффективными утеплителями

Последний тип цокольных перекрытий может изготовляться:

из однослойных плит или панелей;

из комплексных плит или панелей (двух- и трехслойных), изготовляемых в одной форме при соединении конструктивных слоев в одно целое в процессе формования и тепловой обработки (рис. 6, б);

из комплексных панелей (двух- и трехслойных), изготовляемых в разных формах при соединении конструктивных слоев в одно целое на стенде (электросваркой, болтами; рис. 6, в).

Перспективно цокольные перекрытия заводского изготовления и заводских условиях оснащать нагревательными элементами водяных и электрических систем обогрева (трубами, греющим кабелем) или каналами и воздушной прослойкой для воздушных систем.

3. МАТЕРИАЛЫ, ИЗДЕЛИЯ И ОБОРУДОВАНИЕ

Системы обогрева полов

3.1. Материалы, изделия и оборудование, применяемые для водяных и воздушных систем обогрева, должны удовлетворять требованиям главы СНиП по проектированию отопления, вентиляции и кондиционирования воздуха, а также требованиям государственных стандартов или технических условий на эти материалы, изделия и оборудование.

3.2. Для нагревательных элементов; подающих и обратных трубопроводов нагревательных устройств, распределительных коллекторов, подающих и обратных трубопроводов водяных систем обогрева следует, как правило, применять стальные обыкновенные трубы по ГОСТ 3262-75. При соответствующем обосновании для нагревательных элементов допускается применение бесшовных стальных труб по ГОСТ 8732-78 и ГОСТ 8734-75. Применение для этих целей труб из полиэтилена высокой плотности по ГОСТ 18599-73 может быть допущено только для объектов экспериментального строительства.

3.3. В воздушных системах следует, применять вентиляторы низкого давления общего назначения и многоходовые калориферы.

3.4. Для изготовления воздуховодов рекомендуется использовать листовую сталь и другие несгораемые материалы.

3.5. Материалы, изделия и аппаратура, применяемые для электрических систем обогрева, должны соответствовать требованиям государственных стандартов или технических условий, а также рекомендациям настоящего Руководства.

3.6. В качестве греющих кабелей рекомендуется использовать двухжильные провода марок ПТВЖ, ПТПЖ по ГОСТ 10254-75Е, АППВ, АППП, АППВС, АПППС по ГОСТ 6323-79. Допускается для этой цели применять одножильные провода марок ПОСХП, ПОСХВ, ПОСХВТ (ТУ 16.505.524-73), КНМСН (ТУ 16.505.564-75), ПВЖ, ППЖ по ГОСТ 10254-75Е, АПВ, АПП по ГОСТ 6323-79, комплектуя и укладывая их по два в одном ряду.

3.7. В качестве экранирующих сеток рекомендуется применять сварные сетки для армирования железобетонных конструкций типа 200/250/3/3 по ГОСТ 8478-81. Допускается изготовление сеток согласно п. 4.42 настоящего Руководства. При этом проволока во всех местах скрещивания должна быть сварена.

В отдельных случаях (п. 4.41 настоящего Руководства) для изготовления экранирующих сеток используется стальная упаковочная лента по ГОСТ 3560-73.

3.8. В качестве слоя, защищающего сгораемые материалы и изделия от теплового действия греющего кабеля при его укладке в сгораемые конструкции, следует применять асбестовый картон по ГОСТ 2850-80. Допускается применение для этих целей асбестовой бумаги, ткани или стеклохолста соответственно по ГОСТ 23779-79, ГОСТ 6102-78 и ТУ 21-01-384-70.

3.9. Для фиксации геометрии раскладки греющего кабеля, укладываемого в воздушной прослойке, следует применять полоски из паронита по ГОСТ 481-80 или из другого эластичного электроизоляционного материала, способного длительно выполнять свои функции при температуре не ниже 100 °С, а также специальные изделия согласно п. 5.31 настоящего Руководства, облегчающие и упрощающие выполнение монтажных работ.

3.10. Для соединения участков кабеля в нагревательном элементе, а также для соединения кабеля и питающего провода рекомендуются пластмассовые коробки. При использовании металлических коробок их следует изнутри защищать диэлектрическим материалом.

Цокольные перекрытия

3.11. Материалы, изделия и конструкции цокольных перекрытий должны соответствовать требованиям государственных стандартов, технических условий, нормативных документов и рекомендациям настоящего Руководства.

3.12. Несущую конструкцию цокольного перекрытия построечного изготовления следует выполнять из сборных плит или панелей заводского изготовления: многопустотных, ребристых, сплошных из железобетона и легких бетонов.

3.13. Однослойные плиты или панели, совмещающие несущие и теплоизоляционные функции, рекомендуется изготовлять из легких и ячеистых бетонов (керамзитобетона, пено- и газобетона, газозолобетона),

3.14. Для несущей части комплексных плит заводского изготовления рекомендуются материалы, указанные в п. 3.13 настоящего Руководства, а также железобетон.

3.15. Для несущей части цокольных перекрытий с раздельными функциями (нижней теплоизоляционной и верхней несущей), монтируемых раздельно на строительной площадке, рекомендуются конструкции, указанные в п. 3.12 настоящего Руководства, а также деревянные балки при условии их применения в соответствии с нормативными документами.

3.16. Стыки сборных плит рекомендуется герметизировать уплотняющими прокладками, нетвердеющими и вулканизирующимися мастиками.

3.17. Противоинфильтрационный слой следует устраивать в виде плотного фактурного наружного слоя в несущей плите или в виде воздухонепроницаемого слоя из листовых и рулонных материалов, укладываемых с проклейкой швов по несущей плите.

3.18. При выборе теплоизоляционных материалов необходимо учитывать возможность применения местных и привозных материалов на основе технико-экономических сравнений, а также прочностные и деформационные свойства под действием эксплуатационных нагрузок при расчетном температурном режиме обогреваемых полов.

3.19. В качестве утеплителей в комплексных плитах или панелях при условии их допущения соответствующими нормативными документами, санитарно-эпидемиологическим и пожарным надзорами рекомендуется применять:

при изготовлении в одной форме:

плиты жесткие минераловатные на синтетическом связующем по ГОСТ 9573-72;

плиты теплоизоляционные из пенопласта полистирольного по ГОСТ 15588-70;

пенополиуретан жесткий самозатухающий ППУ-3С по ТУ 6-05-221-353-75;

при изготовлении в разных формах:

вату минеральную по ГОСТ 4640-76;

плиты мягкие, полужесткие и жесткие минераловатные на синтетическом связующем по ГОСТ 9573-72;

маты минераловатные рулонированные на синтетическом связующем по ГОСТ 9573-72;

плиты теплоизоляционные из пенопласта полистирольного по ГОСТ 15588-70;

пенопласт заливочный марки ФРП-1 по ГОСТ 20916-75.

3.20. Нижнюю (теплоизоляционную) конструкцию в цокольных перекрытиях с раздельными функциями элементов рекомендуется выполнять в виде однослойных плит из ячеистых бетонов с плотным наружным фактурным слоем или из трехслойных плит с эффективными утеплителями. Для обшивок трехслойных теплоизоляционных панелей рекомендуется применять листы из металла или асбестоцемента.

3.21. Рекомендуется применять стяжки: сплошные из цементно-песчаного раствора, бетона, ксилолита; сборные из тяжелого и легкого бетона, бетона на гипсо-цементно-пуццолановом вяжущем и древесноволокнистых плит, если последние допущены к применению соответствующими нормативными документами.

3.22. Гидро- и пароизоляцию рекомендуется устраивать из рулонных и пленочных материалов: изола, гидроизола и рубероида па битумной мастике; толя и толь-кожи на дегтевой мастике.

3.23. Для замоноличивания нагревательных элементов (труб или кабеля) следует применять тяжелые бетоны с заполнителем крупностью не более 20 мм или цементно-песчаный раствор (последний только для кабеля). Марка бетона должна быть не ниже М 150. Для изготовления бетона применение шлакопортландцемента и магнезиального цемента не допускается. Инертные заполнители должны применяться нейтральными. Не допускается применять кислые заполнители, заполнители, содержащие морскую воду, морской песок, шлак, соли магния и электролиты. Вода, применяемая для затворения бетона, не должна вызывать коррозию труб. Запрещается применять химические ускорители или замедлители твердения бетона, увеличивающие его гигроскопичность, вызывающие коррозию или снижающие его долговечность.

3.24. При выборе материала подстилающего слоя следует руководствоваться прил. 2 главы СНиП по проектированию полов.

3.25. Покрытия пола следует устраивать: сплошными (бетонными, ксилолитовыми) и из штучных материалов (плит древесностружечных, досок).

4. ПРОЕКТИРОВАНИЕ СИСТЕМ ОБОГРЕВА И ЦОКОЛЬНЫХ ПЕРЕКРЫТИЙ

Конструирование

Водяные системы обогрева

4.1. Отдельные нагревательные элементы водяных систем обогрева рекомендуется выполнять из труб с условным проходом 15, 20 или 25 мм. Диаметры подающего и обратного трубопроводов и змеевиков нагревательных устройств должны приниматься одинаковыми.

4.2. Шаг раскладки труб змеевика h определяется расчетом и не должен быть менее восьми наружных их диаметров. Радиус изгиба труб, как правило, принимается равным половине шага их раскладки. Схема раскладки труб приведена на рис. 7.

Рис. 7. Схема раскладки труб

1 - контуры обогреваемой площадки пола; 2 - нагревательный элемент из труб

4.3. Змеевики систем обогрева следует замоноличивать в теплопроводные растворы или укладывают в воздушной прослойке. При выборе способа заложения должно учитываться следующее:

замоноличивание обеспечивает хорошие условия теплоотдачи, что ведет к сокращению расхода труб, но вместе с тем это решение менее технологично (по затратам труда и времени), связано с дополнительным расходом бетона и требует дополнительных мероприятий по предотвращению намокания утеплителя (при бетонировании); при замоноличивании также затруднен ремонт нагревательных элементов;

укладка труб в воздушной прослойке более технологична при монтаже и ремонтах и менее материалоемка, но требует увеличенного расхода труб.

Замоноличивание змеевиков прежде всего рекомендуется предусматривать в тех случаях, когда имеется возможность выполнения этой операции в заводских условиях при изготовлении плит и панелей.

Окончательное решение по способу заложения змеевиков должно приниматься проектной организацией на основании технико-экономических расчетов.

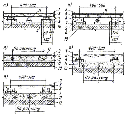
Рекомендуемые схемы заложения труб в цокольные перекрытия приведены на рис. 8.

Рис. 8. Схемы заложения труб

а, б - в воздушной прослойке; в - в замоноличивающем слое при замоноличивании в построечных условиях; г, д - то же, при замоноличивании в заводских условиях; 1 - покрытие дощатое из древесностружечных плит или из паркетных досок и щитов; 2 - все остальные покрытия; 3 - лага; 4 - деревянные подкладки шириной 100 - 150 мм; 5 - сборная бетонная стяжка; 6 - подкладки из кирпича, располагаемые по квадратной сетке со стороной квадрата 400 - 500 мм; 7 - прокладка; 8 - стяжка, замоноличивающая слой; 9 - гидроизоляционный слой; 10 - теплоизоляция из блоков или плит из легкого или ячеистого бетона и других материалов, не сжимающихся под расчетной нагрузкой; 11 - нагревательный элемент; 12 - цокольное перекрытие заводского изготовления

4.4. Термическое сопротивление слоев перекрытия, расположенных выше оси замоноличенных труб (рис. 8, в), принимается в пределах 0,1 - 0,25 м2 · ч · °С/ккал, исходя из следующего:

с уменьшением сопротивления увеличивается неравномерность температуры поверхности пола; разность между максимальной и минимальной температурами по шагу раскладки труб не должна превышать 2 °С;

с увеличением этого сопротивления при прочих равных условиях увеличиваются потерн тепла в подполье.

Системы обогрева с замоноличенными змеевиками (рис. 8, в) не обеспечивают указанную разность температур на поверхности пола при приемлемых толщинах слоев перекрытия, расположенных выше нагревательных элементов (или значениях их термических сопротивлений). В этих случаях поверхность пола рекомендуется рассчитывать как теплоотдающую, учитывая соответствующие теплопоступления в тепловых балансах помещений, или предусматривать другие схемы заложения элементов (рис. 8, а, б, г, д).

4.5. При укладке нагревательного элемента в воздушной прослойке (рис. 8, а, б) или при наличии воздушной прослойки между замоноличивающим слоем и покрытием пола (рис. 8, г, д) термическое сопротивление слоев, расположенных между прослойкой и помещением, принимается минимально возможным, так как воздушная прослойка выравнивает температуру поверхности пола.

4.6. При наличии возможностей замоноличивания змеевиков в панели или плиты в заводских условиях рекомендуется применять схемы заложения с воздушной прослойкой между замоноличивающим слоем и покрытием пола (рис. 8, г, д). Эти схемы сочетают преимущества укладки труб в воздушной прослойке (выравнивание температуры поверхности пола) и замоноличивания в теплопроводные слои (экономия труб за счет более интенсивной теплоотдачи).

4.7. Толщину замоноличивающего слоя или воздушной прослойки не рекомендуется принимать менее 60 мм. При пересечении змеевиками температурно-усадочных швов на них должны устраиваться компенсаторы.

4.8. При замоноличивании змеевиков в панели в заводских условиях в последних следует предусматривать монтажные окна.

4.9. Продувочные трубопроводы нагревательных устройств (см. рис. 1) рекомендуется выводить к раковине.

4.10. Живое сечение подающего и обратного распределительных коллекторов не рекомендуется принимать менее учетверенного суммарного сечения соответствующих подающих и обратных трубопроводов нагревательных устройств и в любом случае менее 100 мм.

4.11. В системах обогрева с насосной циркуляцией (см. рис. 1, б) рекомендуется предусматривать установку резервного насоса. При этом уровень звукового давления в помещениях с длительным пребыванием людей не должен превышать допустимого за счет размещения насосов в удалении от этих помещений и применения виброизоляторов и эластичных вставок.

4.12. Подающие и обратные трубопроводы нагревательных устройств рекомендуется размещать в подпольных каналах, как правило, вдоль внутренней продольной стены здания и предусматривать их тепловую изоляцию. При конструировании систем обогрева следует стремиться к минимальной протяженности этих трубопроводов.

4.13. Количество нагревательных устройств в системе должно быть по возможности меньше, однако площадь пола, обогреваемого одним устройством, не должна превышать 200 м2.

4.14. Автоматика защиты нагревательного элемента от замерзания в аварийных ситуациях должна обеспечивать увеличение скорости движения теплоносителя в змеевике не менее чем в два раза. Рекомендуемые схемы автоматического увеличения скорости теплоносителя приведены на рис. 9. Схема по рис. 9, а должна применяться во всех случаях, когда имеется необходимое располагаемое давление на вводе тепловой сети в здание. Выбор схем по рис. 9, б, в должен определяться экономическим расчетом.

Рис. 9. Технологические схемы автоматического увеличения скорости движения теплоносителя в аварийных ситуациях

а - за счет шунтирования дроссельной шайбы; б - за счет включения специального насоса; в - за счет включения односторонней продувки нагревательного элемента; 1 - датчик температуры; 2 - преобразователь и усилитель; 3 - соленоидный вентиль; 4, 5 - подающий и обратный трубопроводы нагревательных устройств; 6 - продувочные трубопроводы; 7 - раковина; 8 - дроссельная шайба; 9 - нагревательный элемент; 10 - насос; 11 - обратный клапан

4.15. При использовании схемы по рис. 9, в допускается сбросной вентиль на обратном трубопроводе нагревательного устройства не устанавливать (его функции выполняются соответствующими соленоидными вентилями в ручном режиме).

4.16. В качестве соленоидных вентилей могут использоваться вентили запорные с электромагнитным приводом и электромагнитной защелкой типов 15кч877брСВВ или 15кч892п(р)СВВ с условным проходом 25 мм.

4.17. При разработке схем автоматики рекомендуется уменьшать число аппаратов (в том числе датчиков температуры) с механическими контактами, заменяя их бесконтактными приборами (термисторами, тиристорами, симисторами, тиристорными пускателями) и общее число элементов.

4.18. В качестве датчиков температуры допускается использование манометрических электроконтактных терморегуляторов (например, ТПГ-100Сг). В этом случае следует предусматривать его работу только на одном пределе (без дифференциала).

4.19. Датчик температуры автоматики должен устанавливаться на конечном по движению теплоносителя участке змеевика в местах, где исключено тепловое влияние трубопроводов других систем. Термобаллоны манометрических электроконтактных термометров должны устанавливаться в специальной уширенной части змеевика и располагаться наклонно или горизонтально. Расположение змеевика относительно уширенной его части должно быть таким, чтобы в уширенной части не скапливался воздух.

4.20. К датчикам температуры должен предусматриваться свободный доступ.

4.21. Для пускового регулирования тепловой мощности нагревательных устройств на их подающем и обратном трубопроводах в пределах теплового пункта следует предусматривать установку гильз для термометров, а на распределительных коллекторах - манометров или дифманометра. Все приборы, аппаратура и оборудование, а также автоматика защиты должны размещаться в тепловом пункте в удобном для обслуживания месте.

4.22. Подающие и обратные трубопроводы нагревательных устройств в пределах теплового пункта, а также распределительные коллекторы должны быть теплоизолированы.

Воздушные системы обогрева

4.23. Воздушные системы обогрева следует оснащать резервным вентилятором. Оборудование воздушных систем (калориферы, вентиляторы, шумоглушители) должно размещаться в отдельном помещении (тепловой камере), по возможности удаленном от помещений с длительным пребыванием людей. Помещение изнутри следует отделывать звукопоглощающими материалами.

Компоновка оборудования должна обеспечивать удобство монтажа и эксплуатации систем. Вентиляторы должны устанавливаться на виброоснование и соединяться с калориферами и воздуховодами мягкими вставками.

Трубопроводы и воздуховоды в пределах тепловых камер должны быть теплоизолированы.

4.24. Для монтажной и эксплуатационной регулировок систем на подающем и обратном трубопроводах, питающих калориферную группу, должна предусматриваться установка показывающих манометров и гильз для термометров, а на подающем и обратном воздуховодах - гильз для термометров и лючков для замера напора, создаваемого вентилятором. Вместо манометров допускается установка дифманометра.

4.25. При применении воздушных систем обогрева конструкции цокольного перекрытия должны оснащаться воздушной прослойкой для размещения раздающих и сборных воздуховодов. Движение воздуха между раздающим и сборным воздуховодами должно предусматриваться по воздушной прослойке или по каналам многопустотных плит (рис. 10).

Рис. 10. Конструктивные решения цокольного перекрытия с воздушной системой обогрева пола

а, б - при движении воздуха в прослойке; в - то же, по каналам пустотных плит; 1 -линолеум на теплой основе; 2 - цементная стяжка; 3 - железобетонная плита; 4 - воздушная прослойка; 5 - минераловатные плиты; 6 - железобетонная плита; 7 - слой рубероида на битумной мастике; 8 - опора из керамзитобетона марки 50; 9 - железобетонные многопустотные плиты; 10 - керамзитобетонные панели - основание пола; 11 - кирпичные столбики сечением 250×250 мм

4.26. Раздающие и сборные воздуховоды рекомендуется располагать таким образом, чтобы обеспечивалось прямолинейное движение воздуха в прослойке.

4.27. В местах ответвлений на подающих и обратных воздуховодах следует предусматривать установку регулирующих заслонок и лючков для замера параметров воздушной среды. Покрытие пола в местах установки этих устройств должно предусматриваться съемным.

4.28. Длину пути воздуха в прослойке или каналах не рекомендуется предусматривать свыше 8 м.

4.29. Раздающие воздуховоды рекомендуется предусматривать с двусторонней раздачей и укладывать в подпольном пространстве вдоль продольной оси здания, а сборные - вдоль наружных продольных стен. Допускается раздающие и сборные воздуховоды проектировать как воздуховоды равномерной раздачи и всасывания с плавным изменением их ширины.

4.30. В качестве раздающих и сборных воздуховодов допускается использовать подпольные каналы, предназначенные для укладки в них разводящих магистралей систем отопления, холодного и горячего водоснабжения. В этом случае следует предусматривать оштукатуривание, затирку и окраску водоэмульсионной или другой несгораемой или не распространяющей горения краской за два раза стенок каналов, а движение воздуха предусматривать по каналам многопустотных плит (рис. 11).

Рис. 11. Воздушная система обогрева с использованием в качестве раздающих и сборных воздуховодов подпольных каналов для размещения трубопроводов холодного и горячего водоснабжения и системы отопления

1 - разводящие магистрали системы отопления; 2 - съемные щиты; 3 - сборные каналы-воздуховоды; 4 - покрытие пола; 5 - многопустотные железобетонные плиты; 6 - теплоизоляция; 7 - несущий железобетонный настил; 8 - стенки каналов; 9 - ростверк; 10 - сваи; 11 - цокольный блок; 12 - трубопроводы холодного и горячего водоснабжения; 13 - теплоизоляция каналов; 14 - раздающие каналы-воздуховоды; 15 - каналы многопустотных плит

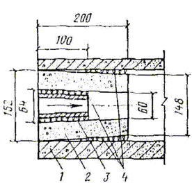
Для достижения необходимой равномерности воздухораспределения по каналам плит рекомендуется повышать гидравлическое сопротивление каналов (по отношению к сопротивлению раздающего и сборного воздуховодов) установкой в обоих их торцах бетонных пробок с отверстием диаметром 60 мм, в которые вставляются патрубки из стальных труб длиной 100 мм (рис. 12). Необходимый диаметр патрубков определяется расчетом. Все бетонные пробки и стальные патрубки рекомендуется устанавливать на пакле, смоченной в цементном растворе, или другим способом, обеспечивающим монолитность и герметичность заделки. Заделка должна производиться на строительной площадке до монтажа плит.

Рис. 12. Схема установки бетонных пробок и стальных патрубков в торцах многопустотной панели

1 - многопустотная панель; 2 - проходная бетонная пробка; 3 - стальной патрубок; 4 - пакля, смоченная в растворе

Это мероприятие рекомендуется сочетать с отключением каналов через одни установкой в обоих их торцах глухих бетонных пробок, по размерам и способу заделки аналогичных проходным (см. рис. 12).

Подающие и обратные воздуховоды, а также узлы их примыкания к раздающим и сборным каналам рекомендуется выполнять согласно «Временным рекомендациям по проектированию и устройству систем лучистого отопления с теплоносителем воздухом для промышленных и вспомогательных зданий» (ЦНИИпромзданий, М., 1978).

4.31. Раздающие и приемные отверстия на воздуховодах (при движении воздуха в прослойке) рекомендуется располагать с шагом не свыше 1 м и затягивать сеткой с движком. Покрытие пола в местах установки сеток должно предусматриваться съемным. Данное требование не распространяется на случаи, когда раздающие и сборные воздуховоды проектируются как воздуховоды равномерной раздачи и всасывания.

4.32. Высоту воздушной прослойки не рекомендуется принимать свыше 250 мм. При назначении высоты следует стремиться к ее уменьшению за счет:

увеличения количества систем в здании;

применения подающих и обратных, раздающих и сборных воздуховодов прямоугольного сечения с большей кратностью отношения большей и меньшей сторон, чем это регламентировано главой СНиП по проектированию отопления, вентиляции и кондиционирования воздуха;

уменьшения толщины утеплителя под воздуховодами до 10 % толщины на остальной части цокольного перекрытия.

Количество систем в здании должно приниматься на основании технико-экономических расчетов.

Электрические системы обогрева

4.33. Поверхность пола в пределах одного помещения, как правило, должна обогреваться одним нагревательным устройством. При площади пола в одном помещении свыше 100 м2 его обогрев рекомендуется предусматривать двумя пли большим количеством нагревательных устройств. При площади пола, обогреваемого одним нагревательным устройством, свыше 70 м2 рекомендуется применять кабели с алюминиевыми токопроводящими жилами.

4.34. Одним нагревательным устройством обогревать полы нескольких помещений не рекомендуется. При необходимости такое решение допускается, но для помещений не свыше трех. В жилых домах полы каждой квартиры, как правило, должны обогреваться одним устройством.

4.35. Греющий кабель следует укладывать в воздушной прослойке или замоноличивать в теплопроводные растворы. Выбор способа заложения рекомендуется производить в соответствии с п. 4.3 настоящего Руководства. Дополнительно следует учитывать, что при заложении кабеля в воздушной прослойке создаются более благоприятные условия для выноса тепла из зон с ухудшенными (в процессе эксплуатации) условиями теплоотвода (при укладке на пол ящиков, чемоданов и т.п.).

4.36. Толщину замоноличивающего слоя и воздушной прослойки не рекомендуется принимать менее 40 мм.

4.37. Рекомендуемые схемы заложения кабеля в цокольные перекрытия приведены на рис. 13. Принятая к исполнению схема должна соответствовать требованиям главы СНиП по проектированию полов.

4.38. Схему по рис. 13, а рекомендуется применять в основном в общественных зданиях, схемы по рис. 13, б, в - в жилых, схему по рис. 13, г - в деревянных домах. Если имеется возможность замоноличивать кабель в заводских условиях, следует, как правило, предусматривать схемы заложения по рис. 13, ж, з.

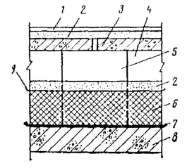
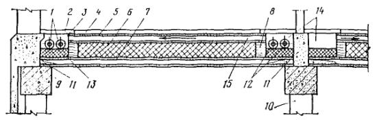
Рис. 13. Схемы заложения кабеля в цокольные перекрытия (вторая жила кабеля условно не показана)

а - замоноличивание в теплопроводный раствор; б - то же, но с воздушной прослойкой между замоноличивающим слоем и покрытием пола; в - укладка в воздушной прослойке перекрытия из несгораемых материалов; г - то же, из сгораемых материалов (дерева); д, е - укладка кабеля в конструкции, подверженные сильному увлажнению; ж, з - замоноличивание в теплопроводный раствор в заводских условиях; 1 - покрытие пола; 2 - цементно-песчаная прослойка; 3 - замоноличивающий слой; 4 - греющий кабель; 5 - теплоизоляция; 6 - гидропароизоляция; 7 - противоинфильтрационный слой; 8 - несущий железобетонный настил; 9 - лага; 10 - дощатый настил или фанера; 11 - воздушная прослойка (δ = 30 мм); 12 - замоноличивающий слой (δ = 30 мм); 13 - воздушная прослойка; 14 - асбестовый картон; 15 - экранирующая сетка из проволоки; 16 - то же, из упаковочной ленты; 17 - цокольное перекрытие заводского изготовления; 18 - подкладки из кирпича; 19 - сборная стяжка

4.39. Геометрию раскладки греющего кабеля в воздушной прослойке рекомендуется фиксировать полосками из паронита или другого электроизоляционного материала шириной 15 и толщиной 1 мм с использованием деревянных реек сечением 20×30 мм. Рейки должны защищаться от теплового воздействия кабеля листовым асбестом δ = 3 мм с обеспечением свесов по краям рейки не менее 5 мм (рис. 14). В деревянных домах кабель рекомендуется крепить непосредственно к защищенной деревянной основе (см. рис. 13, г, е).

Рис. 14. Крепление греющего кабеля, уложенного в воздушной прослойке

а - с основой для крепления; б - без основы для крепления; 1 - покрытие пола; 2 - лага; 3 - листовой асбест; 4 - гвозди; 5 - кабель с основой для крепления; 6 - деревянная рейка; 7 - полоска из паронита; 8 - кабель без основы для крепления

Крепление кабеля рекомендуется предусматривать с интервалом 10 h, где h - шаг раскладки кабеля, но не более 400 мм.

4.40. Воздушная прослойка в пределах площади, обогреваемой одним нагревательным устройством, должна представлять собой единый геометрический объем, для чего в лагах в шахматном порядке следует предусматривать устройство прорезей шириной 50 мм на всю высоту прослойки. Интервал между прорезями не должен быть более 2 м.

4.41. В помещениях, где возможно сильное увлажнение или повреждение полов (санузлах, кухнях, душевых и т.д.), следует предусматривать схему заложения по рис. 13, д (вместо схемы по рис. 13, а).

Если в такого рода помещениях предусмотрены схемы заложения по рис. 13, б - г, ж, з, экранирующую сетку рекомендуется выполнять из стальной упаковочной ленты и располагать только по лагам или подкладкам из кирпича (см. рис. 13, е).

4.42. Размер ячейки проволочной экранирующей сетки не должен превышать 500 мм, а диаметр стальной проволоки не должен быть менее 3 мм.

Ширина стальной ленты не должна быть менее 20, а толщина - 0,8 мм.

4.34. Экранирующие сетки из проволоки рекомендуется укладывать непосредственно на замоноличивающий слой (см. рис. 13, д). В пределах площади, где возможно сильное увлажнение или повреждение покрытия пола, сетки должны быть соединены между собой сваркой, а затем присоединены к контуру заземления здания или запулены нерабочим «нулем». Сверху сеток устраиваются стяжка, гидроизоляционный слой, прослойка (подстилающий слой) и покрытие пола.

4.44. Стальную ленту рекомендуется укладывать по лагам непрерывным змеевиком и крепить к ним гвоздевым забоем с шагом 1 м. Оба конца ленты должны быть соединены между собой и присоединены к контуру заземления или запулены нерабочим «нулем».

4.45. Электрическое сопротивление экранирующих сеток между присоединением их к заземляющему или зануляющему проводнику и наиболее удаленной точкой не должно превышать 2 % сопротивления соответствующего нагревательного элемента.

4.46. Термическое сопротивление слоев, расположенных выше оси замоноличенного кабеля, принимается в пределах от 0,05 до 0,20 м2 · ч · °С/ккал. При этом учитывается влияние следующих факторов:

с уменьшением сопротивления увеличивается неравномерность температур на поверхности пола; разность между максимальной и минимальной температурами по шагу раскладки не должна превышать 2 °С;

с увеличением этого сопротивления при прочих равных условиях увеличиваются теплопотери в подполье.

4.47. При укладке кабеля в воздушной прослойке или при наличии воздушной прослойки между замоноличивающим слоем и покрытием пола (рис. 13, б - г, е - з) термическое сопротивление слоев, расположенных между прослойкой и помещением, должно приниматься минимально возможным.

4.48. Укладку кабеля следует предусматривать в форме змеевика любой конфигурации с соблюдением следующих правил:

не допускается пересечение рядов кабеля в одной плоскости;

шаг раскладки кабеля не должен быть менее 10 Dк (для КНМСН 15 Dк), где Dк - диаметр кабеля, м;

расстояние от кабеля до металлических конструкций и электропроводок общего назначения не должно быть менее 50, а до незащищенных деревянных элементов (лаг) - 10 мм;

радиус закругления кабеля в местах его поворота рекомендуется принимать равным половине шага раскладки.

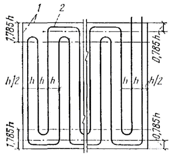
Рекомендуемая схема раскладки кабеля в построечных условиях приведена на рис. 15.

Рис. 15. Схема раскладки кабеля в построечных условиях (вторая жила кабеля и соответствующие клеммы условно не показаны)

1 - контуры обогреваемой площади пола; 2 - греющий кабель; 3 - клеммная коробка; 4 - питающая проводка

4.49. Отдельные рабочие жилы двух- и многожильных кабелей (исключая жилы, используемые в качестве датчика температуры) в нагревательных элементах должны соединяться параллельно. Последовательное их соединение не допускается.

4.50. Нагревательные элементы следует, как правило, собирать из цельного отрезка кабеля. Для выполнения этого условия в кабельных журналах должна указываться требуемая строительная длина кабеля. Если кабель укладывается в плиты или панели в заводских условиях, допускается нагревательный элемент размещать в нескольких плитах, но не свыше трех. В этом случае концы отрезков кабеля, укладываемые в пределах одной плиты или панели, должны быть выведены на клеммные коробки и надежно присоединены к клеммам. Монтаж коробок и электрических соединений кабеля с клеммами должен также производиться на заводе. В коробке следует предусматривать запас кабеля.

4.51. Рекомендуемые схемы раскладки кабеля в панелях и плитах в заводских условиях и коммутации нагревательных элементов в построечных условиях приведены на рис. 16. Схема с питанием нагревательного элемента через одну коробку (рис. 16, а) характеризуется большим количеством соединений греющего кабеля, особенно на прямом его участке, поэтому при необходимости (напряженный режим работы кабеля и т.п.) допускается этот участок выполнять из провода, проводимость которого не менее чем в два раза выше проводимости кабеля, или предусматривать схему с питанием нагревательного элемента через две коробки (рис. 16, б).

Рис. 16. Схемы раскладки кабеля в панелях и плитах в заводских условиях и коммутации нагревательных элементов в построечных условиях (вторая жила кабеля и соответствующие клеммы условно не показаны)

а - с питанием элемента через одну коробку; б - то же, через две коробки; 1 - плиты или панели с уложенным в заводских условиях кабелем; 2 - место установки внутренних стеновых панелей; 3 - прямые участки кабеля; 4 - участки кабеля, уложенные змеевиком; 5 - соединительная коробка с четырьмя клеммами; 6 - перемычки, коммутирующие нагревательный элемент; 7 - питающая проводка; 8 - соединительная коробка с двумя клеммами; 9 - место расположения каналов с разводящими магистралями систем отопления

4.52. Соединительные коробки, ограничивающие участки греющего кабеля, уложенные в пределах плит или панелей (поз. 5 и 8 рис. 16), в заводских условиях должны надежно крепиться к их арматуре и не выступать за их габариты.

4.53. Места установки коробок в панелях рекомендуется выбирать таким образом, чтобы в процессе эксплуатации систем обогрева обеспечивались свободный доступ к коробкам для периодического осмотра соединений и надежная их защита от повреждений и попадания влаги. Как правило, коробки должны располагаться у внутренней продольной стены здания (см. рис. 16) и обрамляться плинтусным обводом, перекрываемым съемной крышкой (рис. 17).

Рис. 17. Защита соединительных коробок от механических повреждений и попадания влаги (вторая жила кабеля и соответствующие клеммы условно не показаны)

1 - соединительные коробки; 2 - плинтусное обрамление; 3 - съемная крышка; 4 - зажимы наборные; 5 - греющий кабель; 6 - покрытие пола; 7 - комплексная плита цокольного перекрытия; 8 - цокольный блок

4.54. Коммутация нагревательного элемента из участков кабеля, уложенных в плиты, должна проводиться в построечных условиях перемычками из медного изолированного провода (поз. 6 рис. 16), защищаемого изоляционной трубкой, с обеспечением необходимого запаса.

4.55. Греющий кабель, перемычки и питающий провод в местах прохода через стенки соединительных коробок должны защищаться от повреждений диэлектрическими втулками.

4.56. В автоматике регулирования и защиты нагревательных элементов контроль температуры воздуха в помещении рекомендуется осуществлять полупроводниковым терморезистором, устанавливаемым снаружи щита управления (на одной из его стенок), с обеспечением защиты от повреждений.

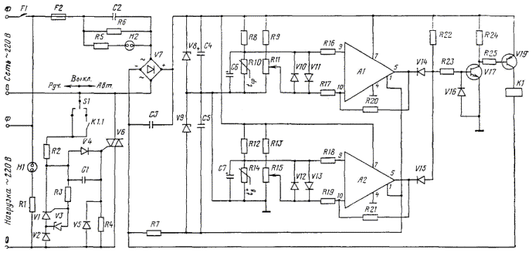
4.57. Автоматику регулирования и защиты рекомендуется выполнять преимущественно из бесконтактных элементов. Рекомендуемая схема автоматики регулирования и защиты приведена на рис. 18, а перечень ее элементов - в табл. 1.


Рис. 18. Принципиальная электрическая схема автоматики регулирования и защиты электрических нагревательных устройств


4.58. Питающие линии и групповые сети нагревательных устройств, сети заземления или зануления экранирующих сеток и автоматику регулирования и защиты следует конструировать, руководствуясь «Правилами устройства электроустановок» (ПУЭ), «Указаниями по проектированию электрооборудования жилых зданий» (СН 297-64), «Инструкцией по проектированию электрооборудования общественных зданий массового строительства» (СН 543-82), «Инструкцией по устройству сетей заземления и зануления в электроустановках» (СН 102-76), главами СНиП по производству и приемке работ по электрическим устройствам и системам автоматизации рекомендациями настоящего Руководства.

4.59. Питающие линии и каждое нагревательное устройство системы обогрева должны иметь отдельную защиту от перегрузок и коротких замыканий. Питающие линии рекомендуется выполнять по магистральной, а групповую сеть по радиальной схемам.

4.60. Автоматические выключатели, имеющие только электромагнитный расцепитель (отсечку), в системах обогрева полов применять не рекомендуется.

4.61. Номинальные токи плавких вставок предохранителей и расцепителей автоматических выключателей должны выбираться на основании формул, приведенных в СН 543-82. При этом необходимо учитывать следующее: пусковой ток нагревательных устройств в 1,5 раза превышает номинальный; коэффициенты α = 1, β = 1,5; при выборе аппаратов защиты питающих линий принимается, что половина питаемой нагрузки находится в пусковом режиме, а вторая - в режиме длительной работы с коэффициентами спроса, равными единице.

4.62. Длительно допустимые токовые нагрузки принятых к применению проводов и кабелей групповых сетей и питающих линий не должны быть меньше номинальных токов (или токов трогания) защищающих их аппаратов.

Таблица 1

Обозначение элементов

Наименование и марка элементов

Количество

 

Резисторы:

 

R1, R5, R6

МЛТ-0,5 - 300 кОм ± 5 %, ГОСТ 7113-77

3

R2

МЛТ-2 - 240 Ом ± 5 %, ГОСТ 7113-77

1

R3, R4, R22, R23

МЛТ-0,125 - 5,1 кОм ± 5 %, ГОСТ 7113-77

4

R7

МЛТ-1 - 50 Ом ± 5 %, ГОСТ 7113-77

1

R8

МЛТ-0,25 - 300 Ом ± 5 %, ГОСТ 7113-77

1

R9

МЛТ-0,25 - 2 кОм ± 5 %, ГОСТ 7113-77

1

R11

СПЗ-- 1 кОм ± 5 %, ГОСТ 11077-78

1

R12, R13

МЛТ-0,25 - 10 кОм ± 5 %, ГОСТ 7113-77

2

R15

СПЗ-1б - 4,7 кОм ± 5 %, ГОСТ 11077-78

1

R16 - R19

МЛТ-0,25 - 910 Ом ± 5 %, ГОСТ 7113-77

4

R20, R21

МЛТ-0,25 - 1 МОм ± 5 %, ГОСТ 7113-77

2

R24, R25

МЛТ-0,25 - 36 кОм ± 5 %, ГОСТ 7113-77

2

R10

Датчик температуры провода

1

R14

Терморезистор ММТ-1 - 1 кОм ± 20 %, ГОСТ 10688-75

1

V1

Тиристор КУ101А

2

V2, V4, V5, V10 - V16

Диод КД103А, ТУ 3.362.082

10

 

Стабилитроны:

 

V3

КС168А, ТУ 3.362.812

1

V8, V9

Д815Д, ГОСТ 17126-76

2

V6

Тиристор симметричный ТС-80

1

V7

Блок КЦ405Е, ТУ 0.336.006

1

 

Транзисторы:

 

V17

КТ315Е, ТУ ЖК3.365.200

1

V18

КТ361Д, ТУ ГК3.365.200

1

A1, A2

Микросхема К140УД, ТУ БКО.347.004

2

 

Конденсаторы:

 

С1

МБГО - 200 В - 1 мкФ ± 10 %, ТУ ОЖО.462.023

1

С2

МБГО - 400 В - 2 мкФ ± 10 %, ТУ ОЖО.462.023

1

С3

К50-6 - 50 В - 200 мкФ ± 10 %, ТУ ОЖО.464.031

1

С4, С5

К50-6 - 16 В - 500 мкФ ± 10 %, ТУ ОЖО.464.031

2

C6

К52-2 - 6 В - 1000 мкФ ± 10 %, ТУ ОЖО.464.109

1

C7

К53-1 - 6 В - 100 мкФ ± 10 %, ТУ ОЖО.464.023

1

K1

Реле РЭС10, PC 4.524.300

1

H1, H2

Лампа ТН-0,3

2

F1

Выключатель автоматический АЕ-1031 - 25 А

1

F2

Предохранитель ПК 1А, ГОСТ 5010-75

1

S1

Тумблер П2Т-6

1

4.63. Номинальные токи защитных аппаратов (плавких вставок предохранителей или тепловых расцепителей автоматических выключателей) питающих линий должны приниматься не менее чем на две ступени выше тока аппарата защиты нагревательного устройства с наибольшей номинальной мощностью, питаемого данной линией.

4.64. Электрическое соединение питающей проводки и греющего кабеля должно выполняться во вводной коробке с помощью клемм и зажимов. Коробку рекомендуется располагать заподлицо с чистым полом (при укладке кабеля в построечных условиях) у внутренних стен помещений. В коробках должен предусматриваться запас питающего провода и греющего кабеля. Защиту коробки от повреждений и попадания влаги рекомендуется предусматривать в соответствии с п. 4.53, а греющего кабеля и питающего провода - с п. 4.55 настоящего Руководства.

4.65. Электропроводки групповой сети системы обогрева должны быть, как правило, скрытыми, несменяемыми. Сменяемость проводки допускается предусматривать только за счет устройства специальных каналов в строительных конструкциях. При необходимости допускается открытая прокладка групповых сетей, при этом питающая проводка от вводной коробки на высоту 1,5 м должна защищаться от механических повреждений. Прокладку питающих линий также следует предусматривать скрытой, но с обеспечением возможности их замены без нарушения строительных конструкций (применением неметаллических труб, специальных каналов в строительных конструкциях).

4.66. Щит управления рекомендуется располагать на внутренних стенах, по возможности ближе к центру помещения, в удобном для обслуживания месте на высоте 1,5 м от пола. Если нагревательное устройство обогревает полы в нескольких помещениях, щит управления устанавливается в наиболее удобном для обслуживания помещении. Расстояние от щита управления до заземленных или запуленных элементов (трубопроводов, электроплит, раковин и т.п.) не должно быть менее 1 м.

Цокольные перекрытия

4.67. Несущую конструкцию цокольных перекрытий рекомендуется проектировать из сборных железобетонных плит. Расчет железобетонных конструктивных элементов следует производить согласно указаниям главы СНиП по проектированию бетонных и железобетонных конструкций. При применении легких и ячеистых бетонов целесообразно совмещение несущих и теплоизоляционных функций перекрытия. Расчет несущих конструкций из легких бетонов производится в соответствии с «Рекомендациями по проектированию конструкции из легких бетонов» (НИИЖБ, М., Стройиздат, 1970).

4.68. В проектах следует предусматривать надежную герметизацию стыков между плитами и панелями согласно «Указаниям по герметизации стыков при монтаже строительных конструкций» (СН 420-71) и п. 3.16 настоящего Руководства.

4.69. При проектировании противоинфильтрационного слоя расчетные значения сопротивлений воздухопроницанию отдельных слоев следует принимать согласно прил. 9 главы СНиП по строительной теплотехнике.

4.70. Типы стяжек, гидроизоляционных слоев и покрытий полов следует принимать согласно главе СНиП по проектированию полов. Тепловая активность полов должна приниматься в соответствии с назначением помещений согласно указаниям главы СНиП по строительной теплотехнике.

4.71. Изоляционный материал рекомендуется выбирать согласно пп. 3.18 и 3.19 настоящего Руководства. Гибкие теплоизоляционные материалы, через которые необходимо передать нагрузку от полов на несущую плиту, следует защищать от обжатия путем:

укладки лаг на столбики (деревянные или каменные), опирающиеся на несущую плиту перекрытия;

устройства полов по деревянным балкам, опирающимся на поперечные или продольные стены;

устройства дополнительной верхней несущей плиты раздельного пола, опирающейся на поперечные или продольные стены.

4.72. Расчетные величины теплотехнических характеристик теплоизоляционных и других строительных материалов и конструкций следует принимать согласно прил. 3 главы СНиП по строительной теплотехнике.

4.73. Выбор и применение трудносгораемых и сгораемых изоляционных материалов должны производиться согласно указаниям соответствующих нормативных документов.

4.74. Требуемая толщина утеплителя в цокольном перекрытии определяется расчетом, приведенным в настоящем Руководстве.

Расчет

Общие положения

4.75. Площади обогреваемого пола рекомендуется назначать по площадям соответствующих помещений, за исключением площадей, занимаемых подпольными каналами с трубопроводами систем отопления, холодного и горячего водоснабжения и канализации. Разводящие магистрали систем отопления, проходящие в каналах у наружных стен зданий, на которых установлены нагревательные приборы (поз. 2 рис. 19), должны быть заизолированы, а проходящие у наружных стен, на которых приборы не устанавливаются (поз. 3 рис. 19), рекомендуется изолировать только с нижней стороны.

Рис. 19. Схема расположения различных зон пола в угловых помещениях

1 - нагревательные приборы системы отопления; 2 - подпольный канал с разводящими магистралями у наружной стены, на которой установлены нагревательные приборы (в пределах помещения); 3 - то же, у наружной стены, на которой нагревательные приборы не установлены; 4 - расстояние, равное высоте помещения

4.76. Основными исходными данными для теплотехнического расчета цокольных перекрытий и систем обогрева являются расчетные средние температуры τсрпл и плотности тепловых потоков qпл у поверхности пола, которые рекомендуется определять по табл. 2 исходя из этажности зданий, зоны пола, расчетной температуры воздуха в помещениях tп, принимаемой по ГОСТ 12.1.005-76 или нормам по проектированию соответствующих зданий, и нормативного перепада температур воздуха в помещениях и поверхности пола Δtн, принимаемого согласно требованиям главы СНиП по строительной теплотехнике или норм по проектированию соответствующих зданий.

Таблица 2

Этажность зданий

Для зоны t в угловых помещениях (рис. 19)

Для остальных зон в угловых помещениях и на всей обогреваемой площади пола в средних помещениях

τсрпл, °С

qпл

τсрпл, °С

qпл, ккал/(м2 · ч), при Δtн, °С

-1

1

2

2,5

Одноэтажные

} tв + 1

37

} tв - Δtн

22

11

4

3

Многоэтажные

27

12

5

0

0

Примечания: 1. Значения Δtн = -1 °С и Δtн = 1 °С относятся соответственно к групповым и игральным-столовым детских яслей-садов (получены как разность температур воздуха и пола, регламентированных главой СНиП по проектированию детских яслей-садов).

2. Тепловые потоки с поверхности обогреваемого пола групповых помещений и игральных-столовых детских яслей-садов должны учитываться в тепловых балансах этих помещений при проектировании систем отопления.

4.77. При замоноличивании змеевиков в теплопроводные слои без воздушной прослойки между замоноличивающим слоем и покрытием пола (см. рис. 8, в) и использовании поверхности пола в качестве теплоотдающей (п. 4.4 настоящего Руководства) расчетную среднюю температуру поверхности пола τсрпл рекомендуется принимать равной максимально допустимой для соответствующей группы помещений (определяется согласно требованиям главы СНиП по проектированию отопления, вентиляции и кондиционирования воздуха или других нормативных документов), а расчетную среднюю плотность теплового потока qпл определять по формуле

qпл = αпл Δt,                                                           (1)

где αпл - средний коэффициент теплоотдачи поверхности пола, принимаемый в соответствии с п. 4.78 настоящего Руководства, ккал/(м2 · ч · °С); Δt - разность между расчетной средней температурой пола и воздуха, °С (Δt = τсрпл - tв).

4.78. Средний коэффициент теплоотдачи поверхности пола αпл рекомендуется вычислять из выражения

                         (2)

где τ0п - средняя температура облучаемых поверхностей, °С.

Среднюю температуру облучаемых поверхностей τ0п в общем случае рекомендуется определять по формуле

                                                       (3)

где Fi - площадь i-той облучаемой поверхности (стены, потолка, окна, нагревательного прибора и т.п.), м2; τi - температура i-той облучаемой поверхности, °С.

Температура облучаемых поверхностей внутренних ограждений принимается равной tв. Температура облучаемых внутренних поверхностей наружных ограждений определяется из выражения

τi = tв - (tв - tн) ni / (Roi αвi),                                               (4)

где tн - средняя температура самой холодной пятидневки, принимаемая согласно данным главы СНиП по строительной климатологии и геофизике, °С; ni - коэффициент, зависящий от положения наружной поверхности i-той ограждающей конструкции по отношению к наружному воздуху, принимаемый по табл. 3 главы СНиП по строительной теплотехнике; Roi - сопротивление теплопередаче i-той ограждающей конструкции, м2 · ч · °С/ккал; αвi - коэффициент теплоотдачи внутренней поверхности i-той ограждающей конструкции, принимаемый по табл. 4 главы СНиП по строительной теплотехнике, ккал/(м2 · ч · °С), для окон αвi = 9,1 ккал/(м2 · ч · °С).

Для средних помещений в многоэтажных зданиях τоп допускается принимать равной tв. В данном случае для упрощения ручного счета по определению αпл или qпл рекомендуется пользоваться номограммой рис. 20, принимая в качестве исходных величин tв и Δt.

Рис. 20. Номограмма для определения αпл и qпл или Δt′ и α′в при τ0пtв

4.79. Требуемое и расчетное сопротивления воздухопроницанию цокольного перекрытия следует определять согласно указаниям главы СНиП по строительной теплотехнике.

Водяные системы обогрева

4.80. Расчетные температуры теплоносителя в подающих и обратных трубопроводах водяных систем обогрева рекомендуется принимать соответственно 70 и 50 °С.

4.81. Расчет теплоотдачи трубопроводов нагревательных элементов надлежит производить по средней температуре их поверхности τтр, принимаемой равной средней температуре теплоносителя (τтр = 60 °С).

4.82. Теплотехнический расчет нагревательных элементов производится в следующем порядке (расчетная схема приведена на рис. 21):

а) выбираются характерные помещения, для которых расчетные температуры и тепловые потоки у поверхности пола (пп. 4.76 и 4.77 настоящего Руководства) одинаковы;

б) определяется необходимая средняя температура на уровне заложения нагревательных элементов tср по формуле

tср = τсрпл + Rв qпл,                                                           (5)

где Rв - сопротивление теплопередаче от уровня заложения нагревательного элемента к поверхности пола, м2 · ч · °С/ккал.

Рис. 21. Расчетные схемы цокольных перекрытий, оснащенных водяными и электрическими системами обогрева

a - для выбора характерных помещений с одинаковыми расчетными температурами и тепловыми потоками у поверхности пола; б - для определения необходимой средней температуры на уровне заложения нагревательных элементов

При qпл = 0                                            tср = τсрпл.                                                                 (6)

При замоноличивании нагревательных элементов

Rв = Rв.т,                                                                 (7)

где Rв.т - термическое сопротивление слоев цокольного перекрытия, расположенных выше осей замоноличенных труб, м2 · ч · °С/ккал.

Если между замоноличивающим слоем и покрытием пола имеется воздушная прослойка (см. рис. 8, г, д), ее сопротивление принимается по данным главы СНиП по строительной теплотехнике в зависимости от толщины прослойки и направления теплового потока и включается в Rв.т.

При укладке элементов в воздушной прослойке

Rв = Rв.т + 1 / αв,                                                       (8)

где α′в - коэффициент теплоотдачи верхней грани воздушной прослойки, ккал/(м2 · ч · °С).

Коэффициент теплоотдачи верхней грани воздушной прослойки αв при машинном счете (на ЭВМ) определяется методом итераций из системы уравнений:

                   

где Δt′ - перепад между средней температурой воздуха в прослойке и температурой верхней ее грани, °С.

При ручном счете αв и Δt′ определяют по номограмме рис. 20, заменяя в ней αпл на α′в и Δt на Δt′ и принимая в качестве исходных величин qпл и tв.

При укладке нагревательного элемента в воздушной прослойке среднюю температуру воздуха tср можно также определить по формуле

tср = τсрпл + Rв.т qпл + Δt′.                                              (11)

При укладке труб в воздушной прослойке оптимизация сопротивления теплопередаче от уровня заложения нагревательных элементов к воздуху подполья производится аналитическим, а при замоноличивании в теплопроводные слои - вариантным методом. Поэтому дальнейший расчет нагревательных элементов при обоих вариантах укладки труб выполняется различно.

При укладке труб в воздушной прослойке расчет нагревательных элементов продолжается в следующем порядке:

в) определяется экономически целесообразное сопротивление теплопередаче от уровня заложения нагревательных элементов к воздуху подполья Rэкн по формуле

                                                   (12)

где L, М, N - комплексы, определяемые по формулам:

L = 1,05 (tср - tср.о) n nо Z Cт lт 10-6;                                     (13)

M = (Eн + Hтр) Cтр k (tcp - tн) n / [αlтр (τтр - tcp)]                             (14)

(для металлических труб);

M = (Eн + Hтр) Cтр k (tcp - tн) n [1 / αlтр + ln(Dтр / Dвн) / (2 π λп)] / (τтр - tср)           (15)

(для полиэтиленовых труб);

N = (Eн + Hиз) Cиз λиз                                                    (16)

(для однородного изоляционного слоя);

N = (Eн + Hиз) Cиз Vиз + (Eн + Hк) Cк Vк                                  (17)

(для разнородного изоляционного слоя с элементами, защищающими изоляционный материал об обжатия).

В формулах (13) - (17):

1,05 - коэффициент, учитывающий потери тепла на инфильтрацию наружного воздуха; tср - средняя температура на уровне заложения нагревательных элементов за отопительный период, определяемая по формуле (18) настоящего Руководства, °С; tср.о - средняя температура наружного воздуха за отопительный период, принимаемая согласно данным главы СНиП по строительной климатологии и геофизике, °С; по - продолжительность отопительного периода, принимая согласно данным главы СНиП по строительной климатологии и геофизике, сут; Z - продолжительность работы системы обогрева в течение суток, принимаемая для водяных систем равной 24 ч; lт - коэффициент, учитывающий изменение стоимости тепла на перспективу, принимаемый согласно требованиям главы СНиП по строительной теплотехнике; Cт - приведенные затраты на производство и распределение тепловой энергии (стоимость тепла), руб/Гкал; Eн - нормативный коэффициент эффективности, принимаемый для районов Северной строительно-климатической зоны в соответствии с «Инструкцией по определению экономической эффективности капитальных вложений в строительстве» (СН 423-71) равным 0,08, год-1; Hтр, Hиз, Hк - общие нормы амортизационных отчислений, год-1, соответственно по трубопроводам, изоляции и элементам, защищающим изоляцию от обжатия (каркасу разнородного изоляционного слоя), принимаемые по Нормам амортизационных отчислений по основным фондам народного хозяйства СССР Госплана СССР; Стр, Сиз, Ск - удельные стоимости соответственно змеевикового нагревательного элемента, материалов изоляции и каркаса в деле, принимаемые по сметам на соответствующие виды работ для рассматриваемого района, с размерностями соответственно руб/м и руб/м3; k - коэффициент запаса по мощности систем обогрева, для водяных систем принимаемый равным 1,15; αlтр - коэффициент теплоотдачи поверхности труб, уложенных в воздушной прослойке, отнесенный к единице их длины, определяемый по формуле (19) настоящего Руководства, ккал/(м · ч · °С); Dтр, Dвн - наружный и внутренний диаметры трубопроводов, м; λп, λиз - коэффициенты теплопроводности соответственно полиэтилена и материала изоляции, ккал/(м · ч · °С); Vк, Vиз - объемы материала каркаса и изоляционного материала, необходимые для устройства разнородного изоляционного слоя с термическим сопротивлением, равные единице, ккал/(м · ч · °С), определяются соответственно по формулам (20) и (21) настоящего Руководства.

Средняя температура на уровне заложения нагревательных элементов за отопительный период tcp определяется по формуле

tср = tв + (tср - tв) (tв - tср.о) / (tв - tн).                                      (18)

Эта же температура принимается за основу при определении необходимой площади продухов в проветриваемом подполье согласно п. 1.8 настоящего Руководства.

В экономических расчетах стоимость тепла Cт допускается принимать по Прейскуранту № 09-01 «Тарифы на электрическую и тепловую энергию, отпускаемую энергосистемами и электростанциями Министерства энергетики и электрификации СССР».

Стоимость тепла для объектов, получающих тепловую энергию от собственных источников (в том числе в перспективе), рекомендуется определять расчетом.

Коэффициент теплоотдачи поверхности труб αlтр вычисляется по формуле

αlтр = 29,2 Dтр.                                                        (19)

Для водогазопроводных труб по ГОСТ 3262-75 с условным диаметром 15, 20 и 25 мм αlтр соответственно равен 0,622, 0,782 и 0,978 ккал/(м · ч · °С).

Объемы материала каркаса и изоляционного материала, необходимые для устройства разнородного изоляционного слоя с термическим сопротивлением, равным единице, Vк и Vиз, определяются по формулам:

                                            (20)

                                                              (21)

где  - относительная площадь (в сечении, перпендикулярном тепловому потоку), занимаемая материалом изоляции; Fиз, Fк - площади, занимаемые материалами изоляции и каркаса, м2; λк - коэффициент теплопроводности материала каркаса, ккал/(м · ч · °С);

г) определяется плотность теплового потока в подполье qн по формуле

qн = (tср - tн) n / Rэкн;                                                 (22)

д) определяются необходимая удельная мощность системы обогрева qтр и шаг раскладки труб h по формулам:

qтр = k (qпл + qн);                                                    (23)

h = αlтр (τтр - tср) / qтр;                                                  (24)

е) определяются минимальные удельные приведенные затраты по системе обогрева и изоляционному слою цокольного перекрытия Пmin по формуле

Пmin = Птр + Пт + Пиз,                                                (25)

где Птр, Пт, Пиз - удельные приведенные затраты соответственно по трубопроводам, расходу тепла и слою изоляции, руб/(м2 · год), определяемые по формулам:

Птр = M qтр / [k n (tср - tн)];                                           (26)

Пт = L / Rэкн;                                                        (27)

Пиз = N (Rэкн - R),                                                     (28)

здесь R - постоянная составляющая сопротивления теплопередаче от уровня заложения нагревательных элементов к воздуху подполья, м2 · ч · °С/ккал, определяемая по формуле

R = 1 / αн + Rк.с + 1 / αн,                                              (29)

где αн - коэффициент теплоотдачи нижней грани воздушной прослойки, определяемый из системы уравнений (30) и (31) или по номограмме рис. 22 настоящего Руководства, ккал/(м2 · ч · °С); Rк.с - термическое сопротивление конструктивных слоев (стяжек, прослоек), м2 · ч · °С/ккал; αн - коэффициент теплоотдачи для зимних условий наружной поверхности цокольного перекрытия, принимаемый согласно указаниям главы СНиП по строительной теплотехнике, ккал/(м2 · ч · °С).

Коэффициент теплоотдачи нижней грани воздушной прослойки α′н при машинном счете определяется методом итераций из системы уравнений:

                 

где Δt - перепад между средней температурой tср и температурой нижней грани прослойки, °С.

При ручном счете αн определяют по номограмме рис. 22, принимая в качестве исходных данных qн и tв;

Рис. 22. Номограмма для определения α′н

ж) определяется толщина слоя утеплителя δиз по формулам:

для однородного изоляционного слоя

δиз = (Rэкн - R) λиз;                                                       (32)

для разнородного изоляционного слоя

                                      (33)

При замоноличивании труб в теплопроводные слои расчет нагревательных элементов продолжается в следующем порядке:

з) принимается ряд значений сопротивлений теплопередаче от уровня заложения нагревательных элементов к воздуху подполья из интервала 1 - 5. Дальше расчет выполняется для каждого принятого сопротивления;

и) определяют плотность теплового потока в подполье qн по формуле (22), заменяя в ней Rэкн на Rн, и удельную мощность системы обогрева qтр - по формуле (23);

к) методом итераций определяется необходимый шаг раскладки труб h из формул:

для стальных труб

qтр = 2 π λт (τтр - tср) / {h ln[h / (π Dтр)]};                                       (34)

для полиэтиленовых труб

qтр = 2 π λт (τтр - tср) / [h {ln[h / (π Dтр)] + λт [ln(Dтр / Dвн)] / λп}],                 (35)

где λт - коэффициент теплопроводности замоноличивающего слоя, ккал/(м · ч · °С).

При ручном счете шаг раскладки стальных труб определяют по графикам рис. 23, принимая в качестве исходных данных значения Dтр и комплекса

2 π λт тр - tср) / qтр;                                                        (36)

Рис. 23. Графики для определения шага раскладки труб h при их замоноличивании и теплопроводном слое

л) проверяется разность температур поверхности пола по шагу раскладки труб Δτпл по формуле

Δτпл = qтр Rв y,                                                            (37)

где

                                                      (38)

В формуле (38)

x = 2 π λт Rв / h.                                                      (38а)

Для упрощения расчетов величину y рекомендуется определять по графику рис. 24.

Рис. 24. График для определения вспомогательной величины у

Если x ≥ 3 или если между замоноличивающим слоем и покрытием пола имеется воздушная прослойка (см. рис. 8, г, д), проверять Δτпл не следует.

Если при Rн = 1 м2 · ч · °С/ккал Δτпл окажется выше 2 °С, необходимо либо увеличить Rв, либо перейти к использованию поверхности пола в качестве теплоотдающей, либо, наконец, принять другие схемы заложения трубопроводов (см. рис. 8, г, д);

м) определяется необходимая длина трубопроводов, укладываемых на 1 м2, lтр по формуле

lтр = l / h;                                                              (39)

н) определяются приведенные затраты по устройству и эксплуатации трубопроводов нагревательных элементов Птр по формуле

Птр = (Eн + Hтр) Стр lтр;                                                  (40)

о) определяют приведенные затраты по разнородному или однородному слою изоляции цокольного перекрытия Пиз по формуле (28), заменяя в ней Rэкн на Rн и предварительно вычисляя постоянную составляющую сопротивления теплопередаче R по формуле (для замоноличенных труб)

R = Rк.с + 1 / αн;                                                          (41)

п) определяют удельные приведенные затраты по расходу тепла Пт по формуле (27), заменяя в ней Rэкн на Rн;

р) определяются суммарные приведенные затраты П по формуле (25);

с) строится график зависимости П = f(Rн) и по положению ее минимума определяются экономически целесообразное сопротивление теплопередаче от уровня заложения нагревательного элемента к воздуху подполья Rэкн и минимальные удельные приведенные затраты Пmin;

т) по формулам (22), (23), (34) - (38), используя найденное значение Rэкн, корректируют значения qн, qтр, h и Δτпл. Если хотя бы для одного предварительно принятого значения Rн, большего Rэкн, Δτпл2 °С, его при Rэкн не вычисляют;

у) по формуле (32) или (33) определяется толщина слоя утеплителя δиз;

ф) по аналогии с предыдущим производится теплотехнический расчет цокольного перекрытия и нагревательных элементов для помещений и зон, исходные данные для которых српл, qпл) отличаются от характерных для рассматриваемого здания (для которых расчет выполнен), с той лишь разницей, что для них толщина утеплителя уже известна (не производится оптимизация сопротивления теплопередаче).

4.83. Количество нагревательных устройств и площадь пола, обогреваемого каждым из них, рекомендуется принимать в соответствии с п. 4.13 настоящего Руководства, предусматривая, чтобы устройства имели примерно одинаковые тепловую мощность и длину нагревательных элементов.

4.84. Гидравлический расчет нагревательных элементов производится по общим правилам. Невязка потерь напора в элементах не должна превышать 10 %. Запас располагаемого давления в элементах рекомендуется принимать равным 10 %.

4.85. Скорость движения теплоносителя в нагревательных элементах не должна превышать величин, приведенных в главе СНиП по проектированию отопления, вентиляции и кондиционирования воздуха, и быть менее 0,25 м/с.

4.86. Расчет дроссельных шайб, подбор насосов и электродвигателей следует выполнять по общим правилам.

4.87. После разработки проекта системы должны быть определены приведенные затраты на систему в целом (для сравнения с другими системами). При этом дополнительно учитываются приведенные затраты на устройство слоев цокольного перекрытия, отсутствующих в других системах, подающих и обратных трубопроводов нагревательных устройств и системы в целом, распределительных коллекторов, элементов автоматики защиты и т.п., а также затраты на обслуживание. Затраты на ремонт в силу их незначительности и наличия у всех рассматриваемых в настоящем Руководстве систем обогрева допускается не учитывать.

Воздушные системы обогрева

4.88. Допустимую разность температур поверхности пола по ходу движения воздуха рекомендуется принимать равной 2 °С.

Рис. 25. Расчетная схема цокольных перекрытий, оснащенных воздушной системой обогрева

4.89. Теплотехнический расчет воздушной системы обогрева при движении воздуха в воздушной прослойке или по каналам плит перекрытий (см. рис. 11; расчет приводится только применительно к стандартным пустотным плитам толщиной 0,22 м с диаметром каналов 0,159 м и их средним шагом, равным 0,2 м) выполняется в следующем порядке (расчетная схема приведена на рис. 25):

а) выбираются характерные помещения, для которых расчетные средние температуры τсрпл и плотности тепловых потоков qпл у поверхности иола (см. табл. 2) одинаковы. Такими, как правило, являются средние помещения;

б) определяются минимальная τminпл, максимальная τmaxпл (по ходу движения воздуха) и средняя τсрпл температура поверхности пола по формулам:

τminпл = tв - Δtн;                                                        (42)

τmaxпл = τminпл + Δτпл;                                                    (43)

τсрпл = τminпл + Δτпл / 2,                                                   (44)

где Δτпл - допустимая разность температур поверхности пола по ходу движения воздуха, принимаемая в соответствии с п. 4.88 настоящего Руководства;

в) определяются минимальная qminпл, максимальная qmaxпл и средняя qсрпл плотности тепловых потоков от прослойки в помещение. Минимальная плотность теплового потока имеет место на конечных участках прослойки по ходу движения воздуха, и ее рекомендуется принимать равной расчетной средней плотности теплового потока, приведенной в табл. 2. Максимальная и средняя плотности тепловых потоков определяются по формулам:

qmaxпл = qminпл + Δqпл;                                                    (45)

qсрпл = qminпл + Δqпл / 2,                                                    (46)

где Δqпл - разность между максимальной и минимальной плотностями тепловых потоков qпл = qmaxпл - qminпл), принимаемая равной 10 ккал/(м2 · ч);

г) задаются рядом значений сопротивлений теплопередаче от нижней грани прослойки к воздуху подполья Rн из интервала 1 - 5. Для каждого значения Rн методом итераций или графически определяют коэффициент конвективной теплоотдачи граней воздушной прослойки αк из выражений:

при vγ Dэк0,038

αк = 0,724 (vγ)0,333 D-0,667эк;                                               (47)

при vγ Dэк > 0,038

αк = 2,97 (vγ)0,8 D-0,2эк,                                                  (48)

где vγ - весовая скорость воздуха, определяемая по формуле (51) настоящего Руководства; Dэк = 4 S / P - эквивалентный диаметр, м; S - поперечное сечение канала, м2; P - смоченный периметр канала, м.

Для воздушной прослойки большой ширины

Dэк = 2 δв.п.                                                            (49)

Для пустотных плит эквивалентный диаметр равен геометрическому диаметру канала, т.е.

Dэк = 0,159.                                                           (50)

Для упрощения ручного счета αк рекомендуется определять по графикам рис. 26 и 27 в зависимости от величин vγ и Dэк, предварительно определяемых по формулам (51), (49) или (50).

Рис. 26. Графики для определения коэффициента конвективной теплоотдачи αк граней прослойки при vγ0,5 кг/(м2 · с)

Рис. 27. Графики для определения коэффициента конвективной теплоотдачи αк граней прослойки при vγ ≤ 5,0 кг/(м2 · с)

Весовая скорость воздуха в прослойке или каналах плит vγ определяется по формуле

    (51)

где l - длина пути, проходимого воздухом в прослойке, или длина канала, м; αл - коэффициент лучистого теплообмена между гранями прослойки; при движении воздуха в прослойке его рекомендуется принимать равным 4,22, а при движении по каналам пустотных плит - 3,36, ккал/(м2 · ч · °С); Rв - термическое сопротивление слоев цокольного перекрытия, расположенных выше прослойки, м2 · ч · °С/ккал; Fв.п - живое сечение воздушной прослойки или каналов плит на полосе шириной 1 м, м2/м, принимаемое равным:

для воздушной прослойки - ее толщине δв.п, т.е.

Fв.п = δв.п;                                                         (52)

для всех включенных каналов плит или каналов, включенных через один, соответственно 0,0992 или 0,0496, т.е.

Fв.п = 0,0992;                                                       (53)

Fв.п = 0,0496.                                                      (53а)

При движении воздуха по каналам пустотных плит в величины Rв и Rн также включается сопротивление массива плит, равное для рассматриваемого их типа 0,0428 м2 · ч · °С/ккал, а значение αк, подставляемое в формулу (51), а также вычисленное по формуле (47) или (48) либо определенное по графикам рис. 26 и 27, умножается на 1,25 или 0,625 соответственно для всех включенных каналов или каналов, включенных через один (учитывается изменение αк для расчетной схемы прослойки с плоскими гранями);

д) для каждого значения Rн определяется необходимая температура воздуха на входе tп и выходе tо из прослойки по формулам:

   (54)

     (55)

При qminпл = qпл = 0 (средние помещения в многоэтажных зданиях при Δtн2 °С) формула (55) упрощается:

tо = αл minпл - tн) n / [R"н αк (n / R"н + αк + 2 αл)] + τminпл;                          (56)

е) определяется средняя температура воздуха в прослойке tср по формуле

tср = (tп + tо) / 2;                                                          (57)

ж) определяется общий коэффициент теплоотдачи нижней грани прослойки αн по формуле

                        (58)

з) вычисляется сопротивление теплопередаче от воздуха прослойки к воздуху подполья Rн по формуле

Rн = Rн + 1 / α′н;                                                       (59)

и) вычисляется плотность теплового потока в подполье qн по формуле (22), подставляя в нее вместо Rэкн, Rн;

к) определяется удельная мощность системы обогрева q по формуле

q = k (qсрпл + qн),                                                          (60)

где k - коэффициент запаса по мощности, принимаемый для воздушных систем равным 1,2;

л) определяют общую тепловую мощность системы Q и общий расход воздуха G, приближенно принимая, что вся площадь обогреваемого пола характеризуется одинаковым режимом:

Q = q F;                                                                 (61)

G = Q / [0,24 (tп - tо)],                                                    (62)

где F - общая площадь пола, обогреваемого одной системой, м2.

Назначают трассировку раздающих и сборных, подающих и обратных воздуховодов, подбирают вентиляционное оборудование;

м) определяют приведенные затраты по системе П для различных значений Rн, которые включают затраты по воздуховодам и вентиляционному оборудованию (с учетом резервного), по слою изоляции, по расходу тепла и электроэнергии, затрачиваемой на привод вентилятора. Затраты на ремонт и обслуживание учитывать не рекомендуется.

Приведенные затраты по воздуховодам и вентиляционному оборудованию определяются по соответствующим сметам, нормативному коэффициенту эффективности и нормам амортизационных отчислений.

Приведенные затраты по изоляционному слою определяются по формуле (28) с заменой в ней Rэкн на Rн. При этом величина R определяется по формуле (29) с использованием значения α′н, вычисленного по формуле (58). При движении воздуха по каналам пустотных плит в величину R включается также сопротивление массива плиты, равное 0,0428 м2 · ч · °С/ккал.

Затраты по израсходованной тепловой энергии определяют по формуле (27), заменяя в ней Rэкн предварительно скорректированным по формулам (58) и (59) Rн (вместо tн подставляется tср.о, а вместо tср - tср, вычисленное по формуле (18). При этом αк не изменяется, ввиду того что расход и скорости воздуха в системе в течение отопительного периода постоянны. При ручном счете корректировку Rн допускается не производить.

Средняя за отопительный период температура воздуха в прослойке tср, так же как и для водяных систем, принимается за основу при определении площади продухов в проветриваемом подполье.

Величину Z для общественных зданий при соответствующем обосновании допускается принимать равной 12 или 18 (с учетом нерабочих дней);

н) строят график зависимости суммарных приведенных затрат П от Rн. По минимуму затрат определяются Rэкн и Пmin;

о) по формулам (47) - (61) уточняются основные характеристики обогреваемого пола в характерных помещениях при Rн = Rэкн и вычисляется весовая скорость воздуха vγ по формуле

vγ = q l / [0,24 · 3600 Fв.п (tп - tо)];                                          (63)

п) по формуле (32) или (33) определяется необходимая толщина слоя изоляции δиз [величина R вычисляется по формуле (29)];

р) производят расчет для помещений и зон, температурные режимы в которых отличаются от наиболее характерных. При этом следует иметь в виду, что температура воздуха и толщина изоляционного слоя уже назначены и изменения режима можно добиться лишь за счет изменения расхода и скорости движения воздуха, определяющих интенсивность конвективного теплообмена в прослойке.

Необходимое значение коэффициента конвективной теплоотдачи αк определяется из выражения

                                                (64)

где

a = tп - τсрпл - qсрпл Rв;                                                     (65)

b = а (n / Rэкн + 2 αл) - qсрпл;                                                (66)

c = -qсрпл (n / Rэкн + αл) - αл (qсрпл Rв + τсрпл - tн) n / Rэкн.                            (67)

В формулах (65) - (67) значение tп принимается из предыдущего расчета, а τсрпл и qсрпл вычисляются по формулам (42) - (46) в зависимости от новых значений τminпл и qminпл, принимаемых по табл. 2.

Используя вычисленное значение αк, из формулы (47) либо (48), либо по графикам рис. 26 и 27 определяют необходимую весовую скорость воздуха vγ и далее расход G. При движении воздуха по каналам пустотных плит значение αк предварительно уменьшается в 1,25 либо в 0,625 раза соответственно для всех включенных каналов или для каналов, включенных через один.

Если a > 0, a vγ5 кГ/(м2 · с), определяют α′н по формуле (58), полагая в ней tср = tп и Rн = R"экн, а затем определяют Rэкн по формуле (59), заменяя в ней Rн на Rэкн, a qн - по формуле (22), полагая в ней tср = tп, q - по формуле (60) и, наконец, tо - по формуле

tо = tп - q l / (0,24 · 3600 Fв.п vγ).                                        (68)

Если a < 0 либо vγ > 5 кГ/(м2 · с), что иногда бывает при движении воздуха в каналах пустотных плит, весовой скоростью следует задаться в размере 3 - 5 кГ/(м2 · с), затем по формуле (48) или графикам рис. 27 определить αк, умножить его на 1,25 или 0,625 (соответственно для всех включенных каналов или при включении каналов через один), вычислить tср по формуле (54), заменяя в ней tп, τmaxпл и qmaxпл соответственно на tср, τсрпл и qсрпл, определить α′н и Rэкн по формулам (58) и (59), заменяя в них Rн на Rэкн, по формулам (22) и (60) последовательно определить qн и q и вычислить температуру воздуха на входе tп и выходе tо из прослойки по формулам:

tп = tср + q l / (2 · 0,24 · 3600 Fв.п vγ);                                          (69)

to = tcp - q l / (2 · 0,24 · 3600 Fв.п vγ).                                           (70)

Если определенная по формуле (69) tп не превышает вычисленную для характерных помещений более чем на 1 °С, пересчет системы обогрева в последних производить не следует. В противном случае следует взять за основу tп, необходимую для обогрева полов в нехарактерных помещениях, и определить измененную среднюю температуру воздуха в прослойке для характерных помещений по формуле

tср = tср.п + (tп - tп.п).                                                        (71)

где tср.п и tп.п - соответственно средняя температура и температура воздуха на входе в прослойку, взятые из предыдущего расчета обогрева пола в характерных помещениях, °С.

Затем определить измененное значение средней плотности теплового потока у пола qсрпл по формуле

   (72)

где τсрпл.п, qсрпл.п - соответственно средние значения температуры пола и плотности теплового потока из предыдущего расчета для характерных помещений; αпл - коэффициент теплоотдачи пола, принимаемый равным 7 ккал/(м2 · ч · °С).

В формуле (72) значение αк принимается также из предыдущего расчета характерных помещений (т.е. vγ не изменяется).

Вычисленное по формуле (72) значение qсрпл рекомендуется учитывать в тепловых балансах характерных помещений.

Определить измененную среднюю температуру пола τсрпл по формуле

τсрпл = τсрпл.п + (qсрпл - qсрпл.п) / αпл.                                       (73)

По формулам (68), (69), (22) и (60), так же как и для нехарактерных помещений (при a < 0 или vγ > 5), последовательно определить измененные значения αн, Rэкн, qн, q (для характерных помещений) и, наконец, по формуле (70) вычислить tо.

После завершения теплотехнического расчета системы обогрева уточняются общая мощность системы и необходимый расход воздуха с учетом характерных и нехарактерных помещений.

4.90. Гидравлический расчет подающих и обратных, раздающих и сборных воздуховодов производится по общим правилам. Скорость движения воздуха назначается от 5 до 8 м/с. Невязка потерь напора в отдельных ветвях воздуховодов не должна превышать 10 %. При расчете особое внимание следует уделять равномерному распределению воздуха в воздушной прослойке либо по каналам плит. Отклонение расчетных расходов от определенных теплотехническим расчетом не должно превышать ±5 %.

4.91. Потери напора при движении воздуха в воздушной прослойке допускается не учитывать.

4.92. Запас по напору, создаваемому вентилятором, и по тепловой мощности калориферов не рекомендуется принимать менее 15 %.

4.93. После разработки проекта воздушной системы обогрева следует определить приведенные затраты на систему в целом, в которые дополнительно (кроме воздуховодов, вентиляционного оборудования, слоя изоляции и расходов тепла и электроэнергии, учтенных при оптимизации Rн) включаются затраты по конструктивным слоям цокольного перекрытия, отсутствующим в других системах (в том числе по пустотным плитам при движении воздуха в их каналах), по наружным ограждающим конструкциям в пределах дополнительной высоты воздушной прослойки, по конструктивным элементам, передающим нагрузку от пола на нижележащие слои, по помещению, в котором размещено вентиляционное оборудование, и, наконец, затраты на обслуживание систем. Соответствующие виды затрат определяются по сметам, нормативному коэффициенту эффективности и нормам амортизационных отчислений. Затраты па ремонт для сравнительных экономических расчетов определять не рекомендуется.

Электрические системы обогрева

4.94. Температура токопроводящих жил греющих кабелей не должна превышать 70 °С - при полиэтиленовой и 60 °С - при поливинилхлоридной изоляции. При использовании жаростойких кабелей типа КНМСН расчетная температура на его оболочке из условий пожарной безопасности также не должна превышать 70 °С.

4.95. Напряжение питания нагревательных элементов следует принимать равным напряжению местной сети электроосвещения (220 или 127 В). Применение понижающих трансформаторов не рекомендуется.

4.96. Электротепловой расчет нагревательных элементов производится в следующем порядке (расчетная схема приведена на рис. 21):

а) выбираются площади, обогреваемые одним нагревательным устройством, определяется их общее количество и выбирается марка греющего кабеля. При этом следует руководствоваться рекомендациями пп. 4.33 и 4.34 настоящего Руководства, а также по возможности стремиться примерно к одинаковым площадям, обогреваемым устройствами, и их мощности;

б) определяются исходные данные для расчета и, согласно пп. 4.35 - 4.38, 4.46 и 4.47 настоящего Руководства, назначаются схема и глубина заложения кабеля;

в) определяются наиболее характерные исходные данные для расчета нагревательных элементов српл и qпл), и для них вычисляются необходимая средняя температура (в том числе средняя за отопительный период) на уровне заложения кабеля tср и tср и комплекс N. Расчет при этом выполняется по формулам (5) - (11), (16) - (18) и (20), (21);

г) определяется экономически целесообразное сопротивление теплопередаче от уровня заложения нагревательного элемента к воздуху подполья Rэкн по формуле

                                   (74)

где Сэ - приведенные затраты на производство и распределение электрической энергии (стоимость электроэнергии), коп/(кВт · ч).

В экономических расчетах допускается стоимость электроэнергии Сэ принимать по Прейскуранту № 09-01 «Тарифы на электрическую и тепловую энергию, отпускаемую Энергосистемами и электростанциями Министерства энергетики и электрификации СССР».

При использовании электроэнергии от собственных электростанций величину Сэ надлежит определять расчетом. При блокировании питания нагревательных элементов с электроплитами (см. рис. 5, в) стоимость электроэнергии рекомендуется учитывать только по топливной составляющей.

Величину Z, так же как и в воздушных системах для общественных зданий, при соответствующем обосновании допускается принимать равной 12 или 18 ч;

д) по формуле (22) определяется плотность теплового потока от уровня заложения нагревательных элементов в подполье qн;

е) вычисляются необходимые удельные и общие тепловые мощности нагревательных устройств qк и Qк по формулам:

qк = k (qпл + qн); Qк = qк Fк,                                                   (75)

где k - коэффициент запаса по мощности, для электрических систем принимаемый равным 1,1; Fк - площадь пола, обогреваемого одним нагревательным элементом, м2;

ж) определяется толщина изоляционного слоя δиз по формуле (32) или (33).

При заложении кабеля в воздушной прослойке постоянная составляющая сопротивления R определяется по формуле (29), а α′н - из формул (30) и (31) либо по номограмме рис. 22.

При замоноличивании кабеля R определяется по формуле (41);

з) определяется переменная часть удельных приведенных затрат для характерных помещений Пmin по формуле

                                   (76)

н) определяются необходимый шаг раскладки h и температура поверхности изоляции τк или токопроводящей жилы τпр кабеля:

при замоноличивании в теплопроводные слои - решением системы уравнений (методом итераций или графически):

                               

при укладке кабеля в воздушной прослойке - по формулам:

h = Fк Qк αl (A tср + C) / (0,86 U2 αl - A Q2к - B αl Q2к);                       (79)

τк = qк h / αl + tсp,                                                        (80)

где U - действующее значение напряжения, подаваемого на нагревательный элемент, В; A, B, C - основные характеристические коэффициенты греющих кабелей с размерностями соответственно Ом/(м · °С), Ом · ч/ккал и Ом/м, принимаемые по табл. 3; D = С / А, °С, принимается по табл. 3; Dк - внешний диаметр изоляции кабеля, принимаемый по соответствующим государственным стандартам или техническим условиям или по табл. 3, м; в качестве диаметра двухжильных плоских проводов принимается диаметр изоляции одной жилы; αl - коэффициент теплоотдачи поверхности изоляции кабеля, отнесенный к единице длины, ккал/(м · ч · °С), определяемый по формуле

αl = 0,2204 d0,375к + 0,196 dк,                                             (81)

где dк - внешний диаметр изоляции кабеля, см.

Таблица 3

Марка кабеля или провода

Dк, 103, м

A · 103, Ом/(м · °С)

В · 103, Ом · ч/ккал

С, Ом/м

F

αl, ккал/(м · ч · °С)

Специальные греющие провода и кабели

ПОСХП 1,1

2,3

0,6700

0,3020

0,1340

222,0

1,078

0,173

ПОСХВ 1,1

2,9

0,6700

0,7050

0,1340

250,0

1,205

0,195

ПОСХВТ 1,1

3,4

0,4140

0,4010

0,0827

440,0

1,205

0,212

КНМСН 0,785

5,0

0,9100

0,1160

0,2000

252,0

1,031

0,267

КНМСН 1,131

6,0

0,6800

0,0870

0,1500

376,0

1,038

0,297

Провода, допускаемые к использованию как греющие

ПВЖ 1×1,4

3,0

0,4140

0,3440

0,0827

416,0

1,166

0,200

ПВЖ 1,8

3,4

0,2510

0,1740

0,0503

726,0

1,147

0,212

ППЖ 1×1,4

3,0

0,4140

0,1950

0,0827

416,0

1,094

0,200

ППЖ 1,8

3,4

0,2510

0,0990

0,0503

726,0

1,083

0,212

ПТВЖ 2×0,6

2,0

2,2600

2,9600

0,4520

62,5

1,215

0,164

ПТВЖ 2×1,2

2,8

0,5650

0,5210

0,1130

292,0

1,177

0,192

ПТВЖ 2×1,8

3,6

0,2510

0,1900

0,0503

7550,0

1,167

0,220

ПТПЖ 2×0,6

2,0

2,2600

1,6800

0,4520

62,5

1,122

0,164

ПТПЖ 2×1,2

2,8

0,5650

0,2950

0,1130

2920,0

1,100

0,192

ПТПЖ 2×1,8

3,6

0,2510

0,1080

0,0503

7550,0

1,095

0,220

АППВ 2×2,5

3,4

0,0466

0,0324

0,0104

3910,0

1,147

0,212

ДПВ 1×2,5

3,4

0,0466

0,0324

0,0104

3910,0

1,147

0,212

АППП 2×2,5

3,4

0,0466

0,0184

0,0104

3910,0

1,083

0,212

АПП 1×2,5

3,4

0,0466

0,0184

0,0104

3910,0

1,083

0,212

Примечания: 1. Для проводов марок АППВ, АППП, АПВ и АПП D = 228 °С, для всех остальных D = 200 °C.

2. Для проводов марок АППВС и АПППС характеристики такие же, как для проводов марок АППВ и АППП.

При ручном счете αl рекомендуется определять по графику рис. 28. Для наиболее часто применяемых в системах обогрева кабелей значения αl приведены в табл. 3.

Рис. 28. График для определения коэффициента теплоотдачи αl поверхности изоляции кабеля

При ручном вычислении шага раскладки h и температуры токопроводящей жилы τпр замоноличенного кабеля допускается применение следующих упрощенных формул:

h = [2 π λт Fк Qк (A tср + C) + A Q2к b] / (1,72 π λт U2 - a A Q2к);                    (82)

τпр = qк (a h + b) / (2 π λт) + tсp,                                               (83)

где а и b - параметры линеаризованной зависимости (83), используемой вместо выражения (78), определяемые по формулам:

при значении h от 0,04 до 0,15 м

a = -2,535 - lnDк + 2 π λт B / A; b = -0,086;                                 (84)

при значении h от 0,15 до 0,25 м

a = -1,76 - lnDк + 2 π λг B / A; b = -0,1966.                                 (85)

При укладке кабеля в воздушной прослойке температура на поверхности изоляции может быть определена по номограмме рис. 29, если в качестве исходных данных принять следующие величины: U / Qк, E, F, tcp, D, где Е, F - дополнительные характеристические коэффициенты греющих кабелей, определяемые по формулам:

E = 0,86 αl / A;                                                           (86)

F = 1 + B αl A                                                             (87)

или по табл. 3.

Рис. 29. Номограмма для определения температуры поверхности изоляции кабеля τк при его заложении в воздушной прослойке

При определении τк по номограмме шаг раскладки кабеля h вычисляется по формуле

h = αl (τк - tср) / qк.                                                        (88)

Если τк или τпр оказались ниже допустимых (60 или 70 °С), а h больше минимально допустимого значения, расчет продолжают. В противном случае делают перерасчет.

Снижения значений τк или τпр можно достичь двумя путями: марку кабеля заменить маркой с меньшим коэффициентом C; разделить Fк и Qк на две части, оставив для каждой прежнее значение U (один нагревательный элемент заменить двумя).

Увеличить шаг раскладки можно заменой марки кабеля маркой с большим коэффициентом C или увеличением Fк, например, укладкой одного нагревательного элемента в двух смежных помещениях. В последнем случае, если в указанных помещениях различны температурные режимы полов (τсрпл или qпл) либо различны условия заложения кабеля (воздушная прослойка или замоноличивающий слой), в п. 4.96е определяются тепловые мощности частей нагревательного элемента, уложенных в пределах каждого из помещений Qк1, Qк2 по формулам:

Qк1 = qк1 Fк1; Qк2 = qк2 Fк2,                                       (89)

а затем определяется распределение падений напряжения на этих частях U1 и U2 по формулам:

U1 = U Qк1 / (Qк1 + Qк2); U2 = U Qк1 / (Qк1 + Qк2).                         (90)

Дальнейший расчет ведется для каждого помещения отдельно с использованием значений U1, qк1, Qк1, Fк1 и U2, qк2, Qк2, Fк2;

к) для замоноличенного кабеля без воздушной прослойки между замоноличивающим слоем и покрытием пола по формуле (37) проверяется разность температур поверхности пола по шагу раскладки Δτпл (с заменой qтр на qк). При ручном счете величина y определяется по графику рис. 24. Указанная разность не должна превышать 2 °С;

л) определяется необходимая длина кабеля в элементе или в его частях, уложенных в помещениях с различным температурным режимом полов, Lк по формуле

Lк = Fк / h;                                                           (91)

м) определяются расчетное электрическое сопротивление элемента или его частей rt и ток I по формулам:

rt = Lк (A τк + B Qк / Lк + C);                                           (92)

или

rt = Lк (A τпр + C);                                                     (93)

I = U / rt;                                                             (94)

н) вычисляется мощность, рассеиваемая элементом или его частями, по формуле

U2 / rt = Qк / 0,86.                                                     (95)

Равенство левой и правой частей уравнения (95) свидетельствует об отсутствии ошибок в электротепловом расчете нагревательных элементов. Отклонение правой и левой частей уравнения не допускается свыше 1 %.

С использованием величин Fк, h и Lк, согласно п. 4.48 настоящего Руководства, определяется геометрия раскладки кабеля.

4.97. Расчет питающих линий групповых сетей нагревательных устройств, а также заземления либо зануления экранирующих сеток следует производить в соответствии с «Правилами устройства электроустановок» (ПУЭ), «Указаниями по проектированию электрооборудования жилых зданий» (СН 297-64) и «Инструкцией по проектированию электрооборудования общественных зданий массового строительства» (СН 543-82).

4.98. Электрическую сеть, питающую нагревательные устройства систем обогрева, надлежит рассчитывать по нагреву током нагрузки и по потере напряжения. Допустимые потери напряжения должны определяться исходя из следующих данных:

снижение напряжения у наиболее удаленных нагревательных устройств в нормальном режиме работы не должно быть более 2,5 % расчетного напряжения устройств. Наибольшее напряжение на устройстве не должно превышать 105 % расчетного;

в аварийных режимах напряжение у удаленных нагревательных устройств не должно снижаться более чем на 10 % расчетного.

4.99. При расчете внутренних и наружных электросетей нагрузку нагревательных устройств систем обогрева следует принимать с коэффициентом одновременности, равным единице.

4.100. После окончания работ по проектированию системы обогрева следует определить приведенные затраты на систему в целом, в которые дополнительно (кроме затрат на электроэнергию и слой изоляции цокольного перекрытия) включаются затраты по конструктивным слоям цокольного перекрытия, отсутствующим в других системах, по нагревательным элементам, щитам управления, групповым сетям и питающим линиям, распределительным щитам и т.п.

Соответствующие виды затрат определяются по сметам, нормативному коэффициенту эффективности и нормам амортизационных отчислений. Затраты на ремонт и обслуживание систем для сравнительных экономических расчетов определять не рекомендуется в силу их незначительности.

5. УСТРОЙСТВО ЦОКОЛЬНЫХ ПЕРЕКРЫТИЙ И СИСТЕМ ОБОГРЕВА, ИСПЫТАНИЯ И ПРИЕМКА РАБОТ

5.1. При производстве работ по устройству цокольных перекрытий и систем обогрева полов должны выполняться требования глав СНиП по организации строительного производства и технике безопасности в строительстве и рекомендаций по обеспечению безопасности при производстве строительно-монтажных работ в условиях Северной строительно-климатической зоны страны (М., Стройиздат, 1976).

5.2. Производство и приемка работ по устройству элементов цокольных перекрытий (кроме систем обогрева) должны выполняться в соответствии с требованиями глав СНиП по производству и приемке работ по бетонным и железобетонным конструкциям, монолитным, бетонным и железобетонным конструкциям сборным, каменным конструкциям, деревянным конструкциям, кровлям, гидроизоляции, пароизоляции и теплоизоляции, полам.

5.3. При производстве и приемке работ по устройству элементов цокольных перекрытий следует иметь в виду, что наиболее важными из них, определяющими функциональные качества перекрытий (кроме несущих элементов), являются противоинфильтрационный слой, слой утеплителя, гидро- и пароизоляция и герметизация стыков между панелями. Поэтому соответствующие виды работ должны подвергаться входному, операционному и приемочному контролю и производиться, как правило, в присутствии производителя работ или мастера. Приемка этих работ должна оформляться актом их освидетельствования.

5.4. При производстве и приемке работ по устройству водяных систем обогрева следует руководствоваться главой СНиП по правилам производства и приемке работ по санитарно-техническому оборудованию зданий и сооружений.

5.5. При приемке строительной части здания под монтаж кроме соблюдения общих требований необходимо, чтобы поверхность стяжки, служащей основой для устройства водяной системы обогрева, была ровной, гладкой и свободной от строительного мусора. Неплоскостность поверхности свыше 5 мм не допускается.

5.6. Для индустриализации работ по монтажу змеевиков водяных систем обогрева на строительной площадке отдельные их транспортабельные заготовки рекомендуется изготовлять в центрально- заготовительных мастерских или на заводе. Рекомендуемые схемы заготовок для монтажа бифилярных змеевиков приведены на рис. 30. Смежные ряды заготовок соединяются на сварке отрезками уголков или труб, придающими заготовкам необходимую жесткость при перевозке и служащими впоследствии опорами змеевика. Допускается поставка на строительную площадку отдельных элементов заготовок (рис. 30), которые также предварительно должны быть связаны уголками или трубами. Количество сварных соединений при монтаже змеевика на строительной площадке при этом не увеличивается. Места крепления связывающих уголков и труб выбираются таким образом, чтобы обеспечивались требуемые расстояния между опорами змеевика. Отклонение между смежными рядами труб не должно превышать 2 мм.

Рис. 30. Схемы трубных заготовок и их элементов различной крупности для монтажа змеевиков

1 - расположение мест сварки на змеевике; 2 - трубные заготовки; 3 - элементы трубных заготовок

5.7. Соединение трубопроводов на сварке при заготовке и монтаже змеевиков следует производить в соответствии с требованиями государственных стандартов и главы СНиП по производству и приемке работ по санитарно-техническому оборудованию зданий и сооружений.

5.8. Элементы заготовок змеевиков на месте их изготовления должны подвергаться испытаниям гидравлическим или пневматическим давлением соответственно 10 или 1,5 кг/см2. Продолжительность испытания гидравлическим давлением принимается 2, а пневматическим - 0,5 мин. При этом падение давления по манометру не допускается. При пневматическом испытании элементов заготовок обнаружение дефектов должно производиться погружением их в ванну с водой.

5.9. После окончания испытания элементов гидравлическим давлением их следует освободить от воды продувкой воздухом.

5.10. Перед отправкой на стройплощадку концы элементов должны быть закрыты инвентарными заглушками, а заготовки промаркированы. Вместе с заготовками производителю работ должна быть передана монтажная схема системы обогрева.

5.11. Смонтированный нагревательный элемент, включая подающий и обратный трубопроводы (до закрытия каналов, в которых они расположены), следует подвергнуть гидравлическому испытанию давлением 10 кг/см2 в течение времени, достаточного для осмотра всего нагревательного элемента, но не менее 15 мин, при этом падение давления по манометру не допускается. Не подключенный к системе теплоснабжения по проектной схеме змеевик после гидравлических испытаний должен быть освобожден от воды продувкой воздухом. Воду следует удалить в канализацию. Выполненные работы оформляются актом освидетельствования нагревательного элемента, в котором указываются результаты гидравлического испытания и к которому прикладывается исполнительная документация на смонтированный элемент.

5.12. При укладке нагревательного элемента в воздушной прослойке после его испытания гидравлическим давлением змеевики и подающий и обратный трубопроводы должны быть окрашены масляной краской за два раза. Чистые полы следует устраивать с осторожностью, чтобы не повредить трубопроводы, исключить их смешение относительно проектного положения и не допустить замусоривания воздушной прослойки. Как правило, эта операция должна производиться в присутствии производителя работ. Разрыв между гидравлическим испытанием змеевика и устройством чистых полов не должен превышать 10 дней. В противном случае перед устройством чистых полов нагревательный элемент следует вновь осмотреть и подвергнуть гидравлическому испытанию.

После устройства чистых полов нагревательный элемент, подающий и обратный трубопроводы следует повторно испытать гидравлическим давлением 10 кг/см2 в течение 2 мин. Падение давления не допускается. Результаты испытания оформляются актом. После испытаний должны быть выполнены требования п. 5.11 настоящего Руководства.

5.13. При замоноличивании нагревательных элементов в построечных условиях непосредственно перед бетонированием их рекомендуется осмотреть и при необходимости очистить от ржавчины, окалины и жира. Протирка труб растворами кислот и щелочей во избежание коррозии категорически запрещается.

Допустимый разрыв между сроком гидравлических испытаний и бетонирования змеевика и мероприятия при его превышении следует принимать аналогично п. 5.12 настоящего Руководства.

При бетонировании нагревательный элемент должен находиться под пневматическим давлением не менее 2 кг/см2. Бетон рекомендуется укладывать в присутствии ответственного за монтаж с соблюдением соответствующих мер предосторожности против нарушения проектного положения трубопроводов.

После полного схватывания бетона (с устройством перекрытия пола или без него) нагревательный элемент следует испытать гидравлическим давлением 10 кг/см2 в течение 10 мин. Падение давления при этом не допускается. Испытания оформляются актом. Заполнение змеевика водой в холодный период года может быть допущено при температуре воздуха в помещении не ниже 15 °С, при этом температура воды должна составлять от 50 до 60 °С.

5.14. При замоноличивании участков нагревательных элементов в панели в заводских условиях гидравлические их испытания производятся до и после замоноличивания давлением 10 кг/см2 в течение 2 мин. Падение давления не допускается. После монтажа панелей, сборки нагревательного элемента из его участков, подающего и обратного трубопроводов, но до закрытия монтажных «окон» в панелях производится окончательное испытание элементов с выполнением рекомендаций п. 5.13 настоящего Руководства.

5.15. Тепловые испытания смонтированной водяной системы обогрева должны производиться не менее 7 ч только при подключении ее к действующей тепловой сети. В теплый период года температура пола на 2 - 3 °С должна быть выше температуры воздуха в помещениях (с учетом «срезки» графика регулирования отпуска тепла), а в холодный период - не более чем на Δtн ниже.

Правильность распределения теплоносителя по отдельным нагревательным элементам определяется по перепадам его температур.

Работоспособность автоматики защиты рекомендуется определять помещением датчика температуры в среду вначале с температурой 15, а затем 25 °С. При этом автоматика должна вначале включить, а затем отключить усиленную циркуляцию теплоносителя по змеевику.

5.16. Документация, предъявляемая при приемке водяных систем обогрева, должна содержать:

акты освидетельствования скрытых работ с приложенной к ним исполнительной документацией на устройство нагревательных элементов;

акты гидравлических испытаний;

акт теплового испытания системы обогрева.

5.17. При приемке водяной системы обогрева должны быть определены:

соответствие выполненных работ проекту и требованиям настоящего Руководства;

отсутствие течи в сварных стыках и резьбовых соединениях;

работоспособность автоматики зашиты;

равномерность обогрева полов;

относительная бесшумность работы насосов (если таковые в системе имеются).

5.18. В акте приемки водяной системы обогрева должны быть указаны:

результаты гидравлического испытания системы;

результаты теплового испытания системы;

результаты испытания автоматики защиты;

характеристики насосов, электродвигателей (если таковые имеются);

данные о качестве выполненных работ.

Приемка водяных систем обогрева в эксплуатацию без автоматики защиты змеевиков от замерзания не допускается.

5.19. Производство и приемка работ по устройству воздушных систем обогрева должны выполняться в соответствии с требованиями главы СНиП по производству и приемке работ по санитарно-техническому оборудованию зданий и сооружений.

5.20. Подающие и обратные, раздающие и сборные воздуховоды, располагаемые в пределах воздушной прослойки, должны монтироваться с особой тщательностью и быть герметичными.

5.21. Предпусковые испытания и регулировку систем с движением воздуха по раздающим и сборным воздуховодам и воздушной прослойке рекомендуется производить в два этапа: до и после устройства покрытия пола (закрытия воздушной прослойки). До устройства покрытия производится регулировка распределения потоков воздуха у выпускных и всасывающих отверстий раздающих и сборных воздуховодов и по отдельным ответвлениям воздуховодов, а также проверка степени их неплотности. Отклонения замеренных расходов не должны отличаться от проектных более чем на ±10 %. Подсосы и утечки воздуха не должны превышать 10 % производительности вентилятора. После выполнения этих работ производится тщательная очистка нижней грани воздушной прослойки (уборка мусора, обрезков металла, окалины и т.п.) и составляется акт освидетельствования скрытых работ.

Повторные испытания системы производятся после устройства покрытия пола. Они, как правило, совмещаются с тепловыми испытаниями. При тепловых испытаниях обращается особое внимание на равномерность температуры на поверхности пола. Критерием нормальной работы системы является достижение показателей, приведенных в п. 5.15 настоящего Руководства.

5.22. При использовании в качестве раздающих и сборных воздуховодов подпольных каналов с магистралями систем отопления, холодного и горячего водоснабжения предпусковые испытания и регулировка систем производятся в один прием после укладки пустотных плит и перекрытий каналов (см. рис. 11). Эти работы оформляются соответствующим актом.

5.23. После предпусковых испытаний и регулировки систем должен быть составлен приемочный акт с приложением к нему следующих документов:

комплекта рабочих чертежей с надписями, сделанными ответственными за проведение монтажных работ, о соответствии выполненных в натуре работ этим чертежам или внесенным в них изменениям;

актов освидетельствования скрытых работ и акта о результатах предпусковых испытаний н регулировки системы;

паспортов на вентиляторы и калориферы.

5.24. При приемке воздушных систем обогрева полов определяются:

соответствие выполненных работ проекту и настоящему Руководству (правильность изготовления и монтажа воздуховодов, установки вентиляторов и калориферов, выполнение работ по звукоизоляции вентиляционных агрегатов);

исправность воздуховодов, вентиляторов и калориферов.

5.25. Производство и приемка работ по устройству электрических систем обогрева должны выполняться в соответствии с требованиями глав СНиП по производству и приемке работ по электротехническим устройствам и системам автоматизации, «Инструкции по устройству сетей заземления и зануления в электроустановках» (СН 102-76) и рекомендациями настоящего Руководства.

5.26. Перед укладкой кабеля следует убедиться в соответствии марки кабеля и его длины в бухте (по бирке) проектным марке и длине, а также в отсутствии обрыва токопроводящих жил.

Если кабель из бухты уже расходовался и величина остатка его Lк неизвестна, ее рекомендуется определять замером сопротивления токопроводящей жилы мостом постоянного тока и последующим вычислением по формуле

Lк = rt / (A tв + C),                                                      (96)

где rt - сопротивление жилы в остатке бухты, Ом; tв - температура воздуха, при которой производился замер, °С.

Вычисленное значение Lк должно быть больше указанной в проекте длины кабеля в нагревательном элементе не менее чем на 5 %.

5.27. В построечных условиях кабель рекомендуется укладывать с помощью деревянных реек, располагаемых у противоположных сторон обогреваемой площади поперек рядов кабеля. На рейках должны быть вырезаны пазы или вбиты гвозди с шагом, равным шагу раскладки кабеля. Во избежание перекручивания и запутывания кабеля перед его укладкой бухту следует надеть на свободно вращающийся барабан.

5.28. Кабель укладывается змеевиком с пропуском петель в прорези реек или надеванием их на гвозди. При этом следует учитывать рекомендации п. 4.48 настоящего Руководства. Отклонение шага раскладки кабеля от расчетного не должно быть более 3 мм. После окончания укладки замеряется электрическое сопротивление токопроводящей жилы мостом постоянного тока. Отклонение замеренной величины сопротивления от величины, определяемой по формуле

rt = Lк (A tв + C),                                                       (97)

где Lк - расчетная длина кабеля в элементе, не должна превышать ±5 %.

В противном случае производится переукладка кабеля с изменением в ту или иную сторону шага его раскладки.

5.29. Кабель заливается раствором по секциям, образуемым укладкой дополнительных деревянных брусков поперек рядов кабеля, отстоящих один от другого на 1 - 1,5 м. После заливки одной секции эти бруски перекладываются на новое место и заливаются последующие секции.

После заливки всех секций крайние фиксирующие рейки снимаются и заливаются петли кабеля.

Чтобы не повредить изоляцию кабеля, эти операции выполняются осторожно и, как правило, в присутствии производителя работ.

После заливки кабеля раствором необходимо повторно замерить сопротивление его токопроводящих жил либо осуществить их «прозвонку», а затем замерить сопротивление изоляции кабеля мегометром при напряжении 1000 В (между токопроводящими жилами и между каждой жилой и землей). Сопротивление не должно быть менее 0,5 МОм.

После затвердевания раствора устанавливается клеммная коробка, концы кабеля выводятся на клеммы и крепятся «под винт».

5.30. При укладке кабеля в воздушной прослойке его фиксация (после размотки и проверки сопротивления жилы) производится деревянными рейками сечением 30×20 мм, подкладываемыми под кабель поперек его рядов. Кабель крепится в соответствии с рекомендациями п. 4.39 настоящего Руководства. Гвозди вбиваются либо в основу для крепления (если таковая имеется), либо с обеих сторон каждого ряда на расстоянии 5 мм от поверхности кабеля. После крепления рядов кабеля удаляются гвозди из крайних реек и хомутиками из паронита фиксируются его петли.

При укладке кабеля в воздушной прослойке на деревянную основу (см. рис. 13, г, е) рейки использовать не рекомендуется. После укладки слоя асбеста у противоположных сторон обогреваемой площади в деревянную основу вбивается ряд гвоздей с соответствующим шагом, раскладывается кабель, фиксируются его ряды полосками из паронита, крепящимися также непосредственно к деревянной основе, демонтируются гвозди и крепятся петли кабеля. Допуск на отклонение шага раскладки 3 мм.

5.31. В целях уменьшения трудоемкости работ по укладке греющего кабеля рекомендуется внепостроечное изготовление непрерывных лент или полос с уложенным кабелем (рис. 31). Для поворота ленты на 180° основа ленты перерезается в соответствующем месте (линия 5 на рис. 31, а, б) и петля кабеля разгибается в прямую линию. Если расстояние между смежными лентами должно быть увеличено (например, при укладке лент между лагами), основу следует разрезать по линиям 4 - 6 (рис. 31, а) и поворот ленты осуществлять с некоторым смещением основы по линиям 4 и 6 (рис. 31, в).

Рис. 31. Схемы непрерывных обогревательных лент и полос из греющего кабеля

а - непрерывная лента; б, в - варианты укладки ленты; г - обогревательная полоса; 1 - кабель; 2 - основа из диэлектрического эластичного материала; 3 - лага; 4 - 6 - линии разреза основы; 7 - пластины из пластмассы; 8 - канавка

При изготовлении лент длину прямых участков кабеля (до поворота), выступающих за основу, Δ рекомендуется принимать от 20 до 30 мм.

Укладка и поворот полос (рис. 31, г) осуществляются таким же образом.

В качестве основы лент могут быть использованы стеклохолст и другие электроизоляционные эластичные материалы. Кабель к основе рекомендуется крепить приклеиванием (например, клеем БМК-5К) или другим способом. Пластины для полос могут изготовляться из поливинилхлорида.

Диэлектрические пластины рекомендуется также использовать для фиксации геометрии раскладки кабеля (вместо деревянных реек) при его укладке обычным способом.

5.32. Замоноличивание кабеля в заводских условиях следует производить в соответствии с «Указаниями по выполнению электропроводок, замоноличиваемых в строительные конструкции при их изготовлении на заводах домостроительных комбинатов и стройиндустрии» (СН 333-65). Перед заливкой кабеля раствором особое внимание следует обращать на правильность фиксации и надежность крепления кабеля. Здесь также рационально использовать ленты и полосы с закрепленным кабелем. После укладки кабеля и после заливки его раствором производится замер электрического сопротивления жил в соответствии с пп. 5.28 и 5.29 настоящего Руководства.

5.33. Укладку кабеля в воздушной прослойке или в теплопроводные слои, в том числе в заводских условиях, следует оформлять актом освидетельствования скрытых работ, в котором указываются номер нагревательного элемента, длина кабеля, шаг его раскладки, сопротивление токопроводящих жил и температура, при: которой производился замер, отклонение сопротивления от предусмотренного проектом, сопротивление изоляции элемента, исполнительная документация на элемент.

5.34. Монтаж экранирующих сеток должен выполняться с учетом рекомендаций пп. 4.41 - 4.45 настоящего Руководства. После монтажа сеток мостом постоянного тока замеряется их сопротивление между точкой подключения к контуру заземления либо к зануляющему проводнику и наиболее удаленной от этого места точкой. Сопротивление не должно превышать 2 % сопротивления соответствующего нагревательного элемента. Замер сопротивления должен оформляться актом освидетельствования скрытых работ.

5.35. Тепловые испытания полностью смонтированных нагревательных устройств рекомендуется производить не менее 7 ч при расчетной температуре воздуха в помещениях. Температура поверхности пола должна быть равномерной (на ощупь). В теплый период года температура пола должна быть на 2 - 3 °С выше температуры воздуха в помещениях, а в холодный - не более чем на Δtн ниже.

5.36. Настройку автоматики регулирования и защиты следует производить таким образом, чтобы нагревательный элемент отключался при достижении им расчетной температуры (по жиле) и снижения температуры воздуха на 10 °С ниже расчетной. Расчетное сопротивление (при расчетной температуре) элемента rtp определяется по формуле

rtp = rt (A τпр + C) / (A tв + C),                                            (98)

где rt - замеренное сопротивление элемента после его укладки (п. 5.28 настоящего Руководства), Ом; τпр - расчетная температура жилы (по данным проекта), °С.

Настройку на отключение нагревательного элемента при достижении температуры его жилы предельной величины надлежит выполнять в такой последовательности.

Включают нагревательное устройство на автоматический режим управления и по показаниям амперметра и вольтметра периодически определяют сопротивление жилы. При достижении сопротивления расчетной величины настроечным винтом изменяют величину регулировочного сопротивления измерительной схемы до момента отключения нагревательного элемента. Данное положение регулировочного винта должно быть зафиксировано.

Настройка автоматики на отключение при снижении температуры воздуха в помещении производится в заводских условиях (на 10 °С).

5.37. Документация, предъявляемая при приемке электрических систем обогрева, должна включать:

комплект рабочих чертежей с надписями, сделанными ответственными за производство монтажных работ, о соответствии выполненных в натуре работ этим чертежам или внесенным в них изменениям;

акты освидетельствования скрытых работ;

акты теплового испытания нагревательных устройств системы обогрева;

акты индивидуального опробования автоматики регулирования и защиты.

5.38. В акте приемки электрической системы обогрева должны быть указаны: результаты испытаний нагревательных устройств, включая тепловые; данные о качестве выполненных работ.

Приемка электрических систем обогрева в эксплуатацию без автоматики регулирования и защиты нагревательного элемента от перегрева не допускается.

6. ПРИМЕРЫ ТЕПЛОТЕХНИЧЕСКОГО РАСЧЕТА СИСТЕМ ОБОГРЕВА ПОЛОВ

Пример 1. Водяная система с нагревательными элементами, уложенными в воздушной прослойке

Исходные данные: здание - жилое, многоэтажное с холодным подпольем, огражденным стенками (n = 0,9; αн = 15 ккал/(м2 · ч · °С); для характерных помещений tв = 20, Δtн = 2 °С);

влажностный режим в помещениях - нормальный, зона влажности района строительства - сухая (условия эксплуатации А);

климатологические данные района строительства: tн = -55; tср.о = -19,5 °С; nо = 254 сут;

стоимостные показатели элементов системы и цокольного перекрытия: Cиз = 60; Cк = 77 руб/м3; Cтр = 1,77 руб/м;

общие нормы амортизационных отчислений: Hтр = 0,048; Hиз = 0,03; Hи = 0,03;

стоимость тепловой энергии Cт = 15 руб/Гкал;

коэффициент, учитывающий изменение стоимости тепловой энергии на перспективу, lт = 1,3;

нагревательные элементы выполнены из обыкновенных водогазопроводных труб по ГОСТ 3262-75 с Dтр = 0,0268 м и уложены в воздушной прослойке;

средняя температура теплоносителя в трубах (поверхности труб) τтр = 60 °С;

продолжительность эксплуатации системы обогрева в течение суток Z = 24 ч;

коэффициент запаса по мощности k = 1,15;

конструкция цокольного перекрытия и теплофизические характеристики материалов отдельных конструктивных слоев приведены на рис. 32.

Рис. 32. Расчетная схема цокольного перекрытия, оснащенного водяной или электрической системой обогрева с нагревательными элементами, уложенными в воздушной прослойке

1 - дощатый настил [δ = 29 мм, λ = 0,12 ккал/(м · ч · °С)]; 2 - нагревательный элемент; 3 - стяжка из цементно-песчаного раствора [δ = 30 мм, λ = 0,65 ккал/(м · ч · °С)]; 4 - лага; 5 - кирпичные столбики 250×250 мм, устраиваемые по сетке с ячейкой 500×500 мм [δ - по расчету, λ = 0,6 ккал/(м · ч · °С)]; 6 - плиты жесткие минераловатные на синтетическом связующем [γ×200 кг/м3, δ - по расчету, λ = 0,065 ккал/(м · ч · °С)]; 7 - несущая железобетонная плита цокольного перекрытия [δ = 120 мм, λ = 1,65 ккал/(м · ч · °С)]

Расчет

1. В соответствии с п. 4.76 и данными табл. 2 настоящего Руководства для характерных помещений жилых зданий определяются расчетные средние температура τсрпл и плотность теплового потока qпл у поверхности пола:

tсрпл = tв - Δtн = 20 - 2 = 18 °C; qпл = 0; tср = tсрпл = 18 °С.

2. Вычисляется относительная площадь, занимаемая изоляцией,  исходя из следующих соображений:

площадь ячейки сетки, по которой устроены кирпичные столбики, 0,5 × 0,5 = 0,25 м2;

в эту площадь входят четыре четверти площади кирпичного столбика, т.е. Fк = 0,25 × 0,25 = 0,0625 м2;

площадь ячейки, занимаемая изоляцией, Fи3 = 0,25 - 0,0625 = 0,1875 м2;

относительная площадь, занимаемая изоляцией,  = Fиз / Fк = 0,1875 / 0,0625 = 3.

3. По формулам (20) и (21) определяются объемы каркаса (кирпичных столбиков) и изоляционного материала, необходимые для устройства разнородного изоляционного слоя с термическим сопротивлением, равным единице, Vк и Vиз:

4. Вычисляется коэффициент теплоотдачи поверхности труб αlтр по формуле (19):

αlтр = 29,2 Dтр = 29,2 · 0,0269 = 0,782 ккал/(м · ч · °С).

5. По формуле (18) определяется средняя за отопительный период температура на уровне заложения нагревательного элемента tср:

tср = tв + (tср - tв) (tв - tср.о) / (tв - tн) = 20 + (18 - 20) [20 (-19,5)] / [20 - (-55)] = 18,95 °С.

6. Вычисляются комплексы L, М, N по формулам соответственно (13), (14) и (17):

L = 1,05 (tcp - tcp.o) n nо Z Cт lт 10-6 = 1,05 [18,95 - (-19,5)] 0,9 · 254 · 24 · 15 · 1,3 · 10-6 = 4,32 руб · ч · °С/(ккал · год);

М = (Eн + Hтр) Cтр k (tср - tн) n / [αlтр (τтр - tcp)] = (0,08 + 0,048) 1,77 · 1,15 [18 - (-55)] 0,9 / [0,782 (60 - 18)] = 0,521 руб · ч · °С/(ккал · год);

N = (Eн + Hт) Cиз Vиз + (Eн + Hк) Cк Vк = (0,08 + 0,03) · 60 · 0,149 + (0,08 + 0,03) 77 · 0,0497 = 1,407 руб. · ккал/(м4 · ч · °С · год).

7. Определяется оптимальное сопротивление теплопередаче от уровня заложения нагревательных элементов к воздуху подполья Rэкн по формуле (12):

8. По формуле (22) определяется плотность теплового потока в подполье qн:

qн = (tср - tн) n / Rэкн = [18 - (-55)] 0,9 / 1,86 = 35,4 ккал/(м2 · ч).

9. По формулам (23) и (24) вычисляются удельная тепловая мощность системы обогрева qтр и шаг раскладки труб h:

qтр = k (qпл + qн) = 1,15 (0 + 35,4) = 40,7 ккал/(м2 · ч);

h = αlтр (τтр - tср) / qтр = 0,782 (60 - 18) / 40,7 = 0,807 м.

10. Определяются удельные приведенные затраты по трубопроводам Птр и расходу тепла Пт соответственно по формулам (26) и (27):

Птр = M qтр / [k n (tср - tн)] = 0,521 · 40,7 / {1,15 · 0,9 [18 - (-55)]} = 0,281 руб/(м2 · год);

Пт = L / Rэкн = 4,32 / 1,86 = 2,32 руб./(м2 · год).

11. По номограмме рис. 22 определяется коэффициент теплоотдачи нижней грани воздушной прослойки α′н по qн = 35,4 ккал/(м2 · ч) и tв = 20 °С. Находим αн = 5,0 ккал/(м2 · ч · °С).

При машинном счете α′н определяется из системы уравнений (30) и (31).

12. Вычисляется термическое сопротивление конструктивных слоев Rк.с. Из рис. 32 следует, что конструктивными слоями в нашем примере являются разнородный слой стяжки из цементно-песчаного раствора и кирпичных столбиков и несущая железобетонная плита. Термическое сопротивление разнородного слоя стяжки может быть определено по расчетной схеме с разрезанием слоя плоскостями, параллельными тепловому потоку, на участки, занимаемые столбиками и стяжкой. Тогда на основании формулы (6) главы СНиП по строительной теплотехнике сопротивление этого слоя будет равно:

Rст = (Fк + Fст) δст / (Fк λк + Fст λст) = (0,0625 + 0,1875) 0,03 / (0,0625 · 0,6 + 0,1875 · 0,65) = 0,0471 м2 · ч · °С/ккал.

Термическое сопротивление железобетонной плиты и конструктивных слоев:

Rп = δп / λп = 0,12 / 1,65 = 0,0727 м2 · ч · °С/ккал;

Rк.с = Rст + Rп = 0,0471 + 0,0727 = 0,1198 м2 · ч · °С/ккал.

13. Определяется постоянная составляющая сопротивления теплопередаче от уровня заложения нагревательных элементов к воздуху подполья R по формуле (29):

R = 1 / αн + Rк.с + 1 / αн = 1 / 5 + 0,1198 + 1 / 15 = 0,386 м2 · ч · °С/ккал.

14. Вычисляются удельные приведенные затраты по слою изоляции Пиз по формуле (28):

Пиз = N (Rэкн - R) = 1,407 (1,86 - 0,386) = 2,07 руб/(м2 · год).

15. Определяются суммарные приведенные затраты Пmin по формуле (25):

Пmin = Птр + Пт + Пиз = 0,281 + 2,32 + 2,07 = 4,671 руб/(м2 · год).

16. Вычисляется необходимая толщина разнородного изоляционного слоя δиз по формуле (33):

17. Производится теплотехнический расчет для нехарактерных помещений и зон. В качестве такой зоны примем площадь пола, примыкающую к торцовой наружной стене, на которой не установлены нагревательные приборы (для примера). Согласно данным табл. 2, для таких зон расчетные средние температура τсрпл и плотность теплового потока qпл составляют:

τсрпл = tв + 1 = 20 + 1 = 21 °С; qпл = 27 ккал/(м2 · ч).

18. Определяется термическое сопротивление покрытия пола (дощатого настила) Rвт:

Rвт = δд.н / λд.н = 0,029 / 0,12 = 0,242 м2 · ч · °С/ккал.

19. Используя значения tв = 20 °С и qпл = 27 ккал/(м2 · ч), по номограмме рис. 20 определяется αв. Находим αв = 8,42 ккал/(м2 · ч · °С).

При машинном счете αв определяется из системы уравнений (9) и (10).

20. По формуле (8) вычисляется сопротивление теплопередаче от уровня заложения нагревательных элементов к поверхности пола Rв:

Rв = Rвт + 1 / αв = 0,242 + 1 / 8,42 = 0,361 м2 · ч · °С/ккал.

21. Определяется средняя температура на уровне заложения нагревательного элемента tcp по формуле (5):

tср = τсрпл + Rв qпл = 21 + 0,361 · 27 = 30,74 °С.

22. Вычисляется плотность теплового потока в подполье qн по формуле (22). Для этого вначале корректируется значение Rэкн. Необходимость корректировки вызвана изменением значения α′н. Корректировка выполняется методом итераций.

Определяется сопротивление теплопередаче от нижней грани воздушной прослойки к воздуху подполья Rэкн по формуле

Rэкн = Rэкн - 1 / α′н = 1,86 - 1 / 5 = 1,66 м2 · ч · °С/ккал.

Ориентировочно принимается α′н в размере 5,1 ккал(м2 · ч · °С), тогда исправленное значение Rэкн составит:

Rэкн = Rэкн + 1 / α′н = 1,66 + 1 / 5,1 = 1,856 м2 · ч · °С/ккал.

Определяется приближенное значение плотности теплового потока в подполье qн по формуле (22):

qн = (tср - tн) n / Rэкн = [30,74 - (-55)] 0,9 / 1,856 = 41,6 ккал/(м2 · ч).

Используя вычисленное значение qн и tв = 20 °С, по номограмме рис. 22 определяется αн. Находим αн = 5,07 ккал/(м2 · ч · °С).

Ввиду малого отличия полученного значения αн от предварительного принятого (отличие меньше 5 %) пересчет не производится. Как видно из приведенного расчета, скорректированные значения αн, Rэкн, qн отличаются от уже определенных незначительно поэтому при ручном счете корректировку допускается не производить.

При машинном счете вначале задаются значением α′н, равным 5 ккал/(м2 · ч · °С), затем корректируются Rэкн и qн, из системы уравнений (30) и (31) определяется α′н и вновь вычисляются Rэкн и qн. Итерации прекращаются, если отклонение вычисленной qн от предыдущего ее значения не превышает 1 %.

23. Вычисляются удельная мощность системы qтр и шаг раскладки труб h по формулам (23) и (24):

qтр = k (qпл + qн) = 1,15 (27 + 41,6) = 78,9 ккал/(м2 · ч);

h = αlтр (τтр - tср) / qтр = 0,782 (60 - 30,74) / 78,9 = 0,292 м.

24. Назначаются площади, обогреваемые одним нагревательным элементов, и по вычисленному шагу раскладки труб с учетом рекомендаций, приведенных в разделах 1 - 4 настоящего Руководства, конструируются нагревательные устройства.

25. После разработки проекта в соответствии с п. 4.87 настоящего Руководства определяются приведенные затраты на систему в целом.

Пример 2. Водяная система с замоноличенными нагревательными элементами

Исходные данные принимаются такими же, как и в предыдущем примере, за исключением диаметра труб змеевиков Dтр, который равен 0,0213 м, способа заложения трубопроводов (замоноличивание) и конструкции цокольного перекрытия (рис. 33).

Рис. 33. Расчетная схема цокольного перекрытия, оснащенного водяной или электрической системой обогрева с замоноличенными нагревательными элементами

1 - покрытие пола и штучного паркета [δ = 19 мм, λ = 0,12 ккал/(м · ч · °С)]; 2 - стяжка из цементно-песчаного раствора [δ = 40 мм, λ = 0,65 ккал/(м · ч · °С)]; 3 - нагревательный элемент; 4 - слой бетона [δ = 60 мм, λ = 1 ккал/(м · ч · °С)]; 5 - гидроизоляционный слой; 6 - теплоизоляционный слой [δ - по расчету, λ = 0,1 ккал/(м · ч · °С)]; 7 - противоинфильтрационный слой; 8 - несущая железобетонная плита [δ = 120 мм, λ = 1,65 ккал/(м · ч · °С)]

Система обогрева рассчитывается на подачу максимально возможного количества тепла в помещение (пп. 4.4 и 4.77 настоящего Руководства) при допустимой средней температуре поверхности полах τсрпл, равной 26 °С.

Расчет

1. Определяется разность между температурами пола и воздуха в помещении Δt по формуле

Δt = τсрпл - tв = 26 - 20 = 6 °С.

2. По номограмме рис. 20, используя значения Δt = 6 и tв = 20 °С, находим:

αпл = 9,33 ккал/(м2 · ч · °С); qпл = 56 ккал/(м2 · ч).

3. Определяется термическое сопротивление слоев, расположенных выше нагревательных элементов, Rв:

сопротивление слоя штучного паркета

Rп = δп / λп = 0,019 / 0,12 = 0,158 м2 · ч · °С/ккал;

сопротивление слоя цементно-песчаного раствора

Rст = δст / λст = 0,04 / 0,65 = 0,062 м2 · ч · °С/ккал;

сопротивление половины замоноличивающего слоя бетона

Rб = δб / λб = 0,03 / 1,0 = 0,03 м2 · ч · °С/ккал;

общее сопротивление слоев Rв:

Rb = Rп + Rст + Rб = 0,158 + 0,062 + 0,03 = 0,25 м2 · ч · °С/ккал.

4. По формуле (5) определяется необходимая средняя температура на уровне заложения нагревательных элементов tср:

tср = τсрпл + Rв qпл = 26 + 0,25 · 56 = 40 °С.

5. Принимается ряд значений сопротивлений теплопередаче от уровня заложения нагревательных элементов к воздуху подполья Rн, а именно 1, 2, 3, 4 м2 · ч · °С/ккал.

6. Для каждого принятого значения сопротивления определяют плотности тепловых потоков в подполье qн по формуле (22), заменяя в ней Rэкн на Rн, и удельные мощности системы обогрева qтр по формуле (23):

при Rн = 1           qн = (tср - tн) n / Rн = [40 - (-55)] 0,9 / 1 = 85,5 ккал/(м2 · ч);

qтр = k (qпл + qн) = 1,15 (56 + 85,5) = 162,8 ккал/(м2 · ч);

при Rн = 2                                       qн = 42,75, qтр = 113,56;

при Rн = 3                                       qн = 28,5, qтр = 97,2;

при Rн = 4                                       qн = 21,37, qтр = 89,0.

7. По формуле (36) определяются величины комплекса 2 π λт (τтр - tср) / qтр и по графикам рис. 23 находятся необходимые шаги раскладки труб h. Получим:

при Rн = 1           2 π λт (τтр - tср) / qтр = 2 · 3,14 · 1 (60 - 40) / 162,8 = 0,772 м, h = 0,42 м;

при Rн = 2           2 π λт (τтр - tср) / qтр = 1,106, h = 0,53;

при Rн = 3           2 π λт (τтр - tср) / qтр = 1,29, h = 0,59;

при Rн = 4           2 π λт (τтр - tср) / qтр = 1,41, h = 0,63.

8. Проверяются разности температур поверхности пола по шагу раскладки труб Δτпл по формуле (38а), графику рис. 24 и формуле (37):

при Rн = 1           x = 2 π λт Rв / h = 2 · 3,14 · 1 · 0,25 / 0,42 = 3,74 > 3;

в соответствии с п. 4.82л настоящего Руководства Δτпл не проверяется;

при Rн = 2           x = 2,96 < 3, y = 0,0372, Δτпл = qтр Rв y = 113,6 · 0,25 · 0,0372 = 1,054 °С;

при Rн = 3           x = 2,66 < 3, y = 0,0526, Δτпл = 1,28;

при Rн = 4           x = 2,59 < 3, y = 0,0618, Δτпл = 1,43.

9. Определяются необходимые длины трубопроводов, укладываемых на 1 м2, lтр по формуле (39):

при Rн = 1           lтр = 1 / h = 1 / 0,42 = 2,38 м;

при Rн = 2           lтр = 1,89;

при Rн = 3           lтр = 1,60;

при Rн = 4           lтр = 1,59.

10. Определяются приведенные затраты по устройству и эксплуатации трубопроводов нагревательных элементов Птр по формуле (40):

при Rн = 1           Птр = (Eн + Hтр) Cтр lтр = (0,08 + 0,048) 1,77 · 2,38 = 0,538 руб/(м2 · год);

при Rн = 2           Птр = 0,428;

при Rн = 3           Птр = 0,382;

при Rн = 4           Птр = 0,36.

11. Вычисляется термическое сопротивление конструктивных слоев Rк.с: несущей железобетонной плиты и половины замоноличивающего слоя бетона (рис. 33). Находим:

сопротивление железобетонной плиты

Rп = δп / λп = 0,12 / 1,65 = 0,0727 м2 · ч · °С/ккал;

сопротивление половины замоноличивающего слоя бетона

Rб = δб / λб = 0,03 / 1,0 = 0,03 м2 · ч · °С/ккал;

сопротивление конструктивных слоев

Rк.с = Rп + Rб = 0,0727 + 0,03 = 0,103 м2 · ч · °С/ккал.

12. Определяется постоянная составляющая сопротивления R по формуле (41):

R = Rк.с + 1 / αн = 0,103 + 1 / 15 = 0,169 м2 · ч · °С/ккал.

13. Определяется комплекс N по формуле (16):

N = (Eн + Hиз) Cиз λиз = (0,08 + 0,03) 60 · 0,1 = 0,66 руб · ккал/(м4 · ч · °С · год).

14. Определяют приведенные затраты по слою изоляции цокольного перекрытия Пиз по формуле (28), заменяя в ней Rэкн на Rн:

при Rн = 1           Пиз = N (Rн - R) = 0,66 (1 - 0,169) = 0,548 руб/(м2 · год);

при Rн = 2           Пиз = 1,208;

при Rн = 3           Пиз = 1,868;

при Rн = 4           Пиз = 2,528.

15. Определяется средняя температура на уровне заложения нагревательных элементов за отопительный период tcp по формуле (18):

tср = tв + (tср - tв) (tв - tср.о) / (tв - tн) = 20 + (40 - 20) [20 - (-19,5)] / [20 - (-55)] = 30,52 °С.

16. Определяется комплекс L по формуле (13):

L = 1,05 (tсp - tср.о) n no Z Cт lт 10-6 = 1,05 [30,52 -(-19,5)] 0,9 · 254 · 24 · 15 · 1,3 · 10-6 = 5,62 руб · ч · °С/(ккал · год).

17. Определяют удельные приведенные затраты по расходу тепла Пт по формуле (27), заменяя в ней Rэкн на Rн:

при Rн = 1          Пт = L / Rн = 5,62 / 1 = 5,62 руб/(м2 · год);

при Rн = 2           Пт = 2,81;

при Rн = 3           Пт = 1,87;

при Rн = 4           Пт = 1,405.

18. Определяются суммарные приведенные затраты П по формуле (25):

при Rн =1            П = Птр + Пт + Пиз = 0,538 + 5,62 + 0,548 = 6,706 руб/(м2 · год);

при Rн = 2           П = 4,446;

при Rн = 3           П = 4,12;

при Rн = 4           П =4,293.

19. По полученным значениям приведенных затрат строится график (рис. 34), по которому определяются минимальные затраты Пmin и экономически целесообразное сопротивление теплопередаче Rэкн, при котором они достигаются. Находим: Пmin ≈ 4,1 руб/(м2 · год), Rэкн = 2,7 м2 · ч · °С/ккал.

Рис. 34. График зависимости П = f(Rн) для водяной системы с замоноличенными змеевиками

20. По формуле (22) определяется плотность теплового потока в подполье qн

qн = (tср - tн) n / Rэкн = [40 - (-55)] 0,9 / 2,7 = 31,7 ккал/(м2 · ч).

21. По формуле (23) определяется удельная тепловая мощность системы обогрева qтр:

qтр = k (qпл + qн) = 1,15 (56 + 31,7) = 101 ккал/(м2 · ч).

22. По формуле (36) определяется величина комплекса 2 π λт · (τтр - tср) / qтр и по графикам рис. 23 находится необходимый шаг раскладки труб h:

2 π λт (τтр - tср) / qтр = 2 · 3,14 · 1 (60 - 40) / 101 = 1,243 м; h = 0,575 м.

23. Так как при Rн = 3, т.е. большем Rэкн = 2,7, Δτпл < 2, то проверка Δτпл при Rэкн не производится (п. 4.82т настоящего Руководства).

24. Определяется толщина слоя утеплителя δиз по формуле (32):

δиз = (Rэкн - R) λиз = (2,7 - 0,169) 0,1 = 0,25 м.

25. Назначаются площади, обогреваемые одним нагревательным элементом, и по вычисленному шагу раскладки труб с учетом рекомендаций, приведенных в разделах 1 - 4 настоящего Руководства, выполняется конструирование нагревательных устройств.

26. После разработки проекта в соответствии с п. 4.87 настоящего Руководства определяются приведенные затраты на систему в целом.

Пример 3. Воздушная система с движением воздуха в прослойке

Исходные данные. Основные исходные данные те же, что и в примере 1.

Система обогрева с воздушной прослойкой: коэффициент запаса по мощности k = 1,2; длина пути движения воздуха по прослойке l = 6 м; высота прослойки δв.п = 0,2 м; продолжительность работы системы в течение суток Z = 24 ч;

конструкция цокольного перекрытия приведена на рис. 35.

Рис. 35. Расчетная схема цокольного перекрытия, оснащенного воздушной системой обогрева (с воздушной прослойкой)

1 - линолеум на теплой основе [δ = 5 мм, λ = 0,2 ккал/(м · ч · °С)]; 2 - стяжка из цементно-песчаного раствора [δ = 30 мм, λ = 0,65 ккал/(м · ч · °С]; 3 - железобетонные плиты 800×800 мм [δ = 50 мм, λ = 1,65 ккал/(м · ч · °С)]; 4 - воздушная прослойка (δ = 200 мм); 5 - кирпичные столбики 250×250 мм, устраиваемые по сетке с ячейкой 800×800 мм [δ - по расчету, λ = 0,6 ккал/(м · ч · °С)]; 6 - плиты жесткие минераловатные на синтетическом связующем [γ = 200 кг/м5, δ - по расчету, λ = 0,065 ккал/(м · ч · °С)]; 7 - противоинфильтрационный слой; 8 - несущая железобетонная плита цокольного перекрытия [δ = 120 мм, λ = 1,65 ккал/(м · ч · °С)]; 9 - гидроизоляционный слой

Расчет

1. Для характерных помещений принятого для расчета здания tв = 20, Δtн = 2 °С. По данным табл. 2, qпл = 0, qminпл = 0.

2. По формулам (42) - (44) определяются минимальная, максимальная (по ходу движения воздуха) и средняя температуры поверхности пола τminпл, τmaxпл и τсрпл:

τminпл = tв - Δtн = 20 - 2 = 18 °С;

τmaxпл = τminпл + Δτпл = 18 + 2 = 20 °С;

τсрпл = τminпл + Δτпл / 2 = 18 + 2 / 2 = 19 °С.

3. По формулам (45) и (46) определяются максимальный и средний тепловые потоки с поверхности пола qmaxпл и qсрпл:

qmaxпл = qminпл + Δqпл = 0 + 10 = 10 ккал/(м2 · ч);

qсрпл = qminпл + Δqпл / 2 = 0 + 10 / 2 = 5 ккал/(м2 · ч).

4. Определяется термическое сопротивление слоев, расположенных выше воздушной прослойки, Rв (рис. 35):

сопротивление слоя линолеума

Rл = δл / λл = 0,005 / 0,2 = 0,025 м2 · ч · °С/ккал;

сопротивление стяжки

Rст = δст / λст = 0,03 / 0,65 = 0,0462 м2 · ч · °С/ккал;

сопротивление железобетонных плит

Rп = δп / λп = 0,05 / 1,65 = 0,0303 м2 · ч · °С/ккал;

общее сопротивление слоев

Rв = Rл + Rст + Rп = 0,025 + 0,0462 + 0,0303 = 0,1 м2 · ч · °С/ккал.

5. По формулам (52) и (49) вычисляются живое сечение Fв.п и эквивалентный диаметр Dэк воздушной прослойки:

Fв.п = δв.п = 0,2 м2/м; Dэк = 2 δв.п = 2 · 0,2 = 0,4 м.

6. Принимается ряд значений сопротивлений теплопередаче от нижней грани прослойки к воздуху подполья Rн, а именно 1, 2, 3 и 4 м2 · ч · °С/ккал, и из уравнений (51) и (47) или (48) графическим методом для каждого значения Rн определяется коэффициент конвективной теплоотдачи граней прослойки αк. Для этого левая часть равенств (47) или (48) представляется в виде y = αк, а правая y = 0,724 (vγ)0,333 D-0,667эк или y = 2,97 (vγ)0,8 D-0,2эк. Первое уравнение - уравнение прямой, проходящей через начало координат, не зависящее от Rн. Для определения прямой достаточно одной точки: αк = 2 y = 2. Второе уравнение - уравнение кривой, зависящее от Rн. Для определения кривой вычисляется vγ по формуле (51), а затем определяется y(αк) по графикам рис. 26 или 27 для трех значений αк: 0,4, 1 и 2 ккал/(м2 · ч · °С). Находим:

при Rн = 1 и αк = 0,4

по графикам рис. 26

y(αк) = 0,77;

при Rн = 1 и αк = 1                          vγ = 0,277; y(αк) = 1,3;

при Rн = 1 и αк = 2                          vγ = 0,422; y(αк) = 1,79;

при R"н = 2 и αк = 0,4                       vγ = 0,0851; y(αк) = 0,58;

при Rн = 2 и αк = 1                          vγ = 0,167; y(αк) = 0,82;

при Rн = 2 и αк = 2                          vγ = 0,246; y(αк) = 1,18;

при Rн = 3 и αк = 0,4                       vγ = 0,0636; y(αк) = 0,52;

при Rн = 3 и αк = 1                          vγ = 0,123; y(αк) = 0,68;

при Rн = 3 и αк = 2                          vγ = 0,18; y(αк) = 0,91;

при Rн = 4 и αк = 0,4                       vγ = 0,0524; y(αк) = 0,5;

при Rн = 4 и αк = 1                          vγ = 0,1; y(αк) = 0,62;

при R"н = 4 и αк = 2                          vγ = 0,146; y(αк) = 0,76.

Графическое решение уравнений (48) и (51) представлено на рис. 36. Из рисунка следует, что при Rн = 1 αк = 1,67; при Rн = 2 αк = 0,74; при Rн = 3 αк = 0,59; при Rн = 4 αк = 0,55.

Рис. 36. Графическое решение системы уравнений (48) и (51)

7. Для каждого значения Rн по формулам (54) и (56) определяется необходимая температура воздуха на входе и выходе из прослойки tп и tо:

при Rн = 1

to = αлminпл - tн) n / [Rн αк (n / Rн + αк + 2 αл)] + τminпл = 4,22 [18 - (-55)] 0,9 / [1 · 1,67 (0,9 / 1 + 1,67 + 2 · 4,22)] + 18 = 33,06 °C;

при Rн = 2                                        tп = 48,85; to = 37,44;

при Rн = 3                                        tп = 47,77; to = 34,77;

при Rн = 4                                         tп = 45,1; to = 31,66.

8. По формуле (57) определяется средняя температура воздуха в прослойке tср:

при Rн = 1                     tср = (tп + to / 2) = (40,4 + 33,06) / 2 = 36,73 °С;

при R"н = 2                                                   tср = 43,14;

при R"н = 3                                                   tср = 41,27;

при R"н = 4                                                   tср = 38,38.

9. По формуле (58) вычисляется общий коэффициент теплоотдачи нижней грани прослойки αн

при Rн = 1

при R"н = 2 αн = 1,21; при Rн = 3 α′н = 0,92; Rн = 4 α′н = 0,816.

10. По формуле (59) определяется сопротивление теплопередаче от воздуха прослойки к воздуху подполья Rн:

при Rн = 1                     Rн = Rн + 1 / α′н = 1 + 1 / 2,71 = 1,37 м2 · ч · °С/ккал;

при R"н = 2                                                 Rн = 2,83;

при R"н = 3                                                 Rн = 4,085;

при Rн = 4                                                 Rн = 5,22.

11. Вычисляют плотности тепловых потоков в подполье qн по формуле (22), заменяя в ней Rэкн на Rн:

при Rн = 1               qн = (tср - tн) n / Rн = [36,73 - (-55)] 0,9 / 1,37 = 60,3 ккал/(м2 · ч);

при R"н = 2                                                 Rн = 31,24;

при R"н = 3                                                 Rн = 21,21;

при Rн = 4                                                 Rн = 16,1.

12. По формуле (60) определяются удельные мощности системы обогрева q:

при Rн = 1               q = k (qсрпл + qн) = 1,2 (5 + 60,3) = 78,36 ккал/(м2 · ч);

при Rн = 2                                                   q = 43,49;

при Rн = 3                                                   q = 31,45;

при Rн = 4                                                   q = 25,3.

13. По формулам (61) и (62) определяются общая мощность системы Q и расход воздуха G, назначается трассировка воздуховодов, осуществляется подбор их сечений, выполняется гидравлический расчет системы, подбирается вентиляционное оборудование и определяются приведенные затраты по воздуховодам, оборудованию и расходу электроэнергии на привод вентилятора.

Пусть для примера удельные приведенные затраты по воздуховодам, оборудованию и расходу электроэнергии составляют:

при Rн = 1                                          По = 3 руб/(м2 · год);

при R"н = 2                                                    По = 2;

при R"н = 3                                                    По = 1,5;

при Rн = 4                                                   По = 1,25.

14. Вычисляется термическое сопротивление конструктивных слоев Rк.с (в части цокольного перекрытия, расположенной ниже воздушной прослойки). В данном случае такими слоями будут однородный слой несущих железобетонных плит и разнородный слой стяжки и кирпичных столбиков:

сопротивление слоя несущих железобетонных плит

Rп = δп / λп = 0,12 / 1,65 = 0,0727 м2 · ч · °С/ккал;

сопротивление слоя стяжки и кирпичных столбиков определяется по расчетной схеме с разрезанием слоя плоскостями, параллельными тепловому потоку, на участки, занимаемые столбиками и стяжкой; в качестве расчетной площадки принимается одна ячейка с F = 0,8 × 0,8 = 0,64 м2; на основании формулы (6) главы СНиП по строительной теплотехнике сопротивление этого слоя будет равно:

Rст = (Fк + Fст) δст / (Fк λк + Fст λст) = (0,0625 + 0,5775) · 0,03 / (0,0625 · 0,6 + 0,5775 · 0,65) = 0,0465 м2 · ч · °С/ккал.

общее сопротивление слоев

Rк.с = Rп + Rст = 0,0727 + 0,0465 = 0,1192 м2 · ч · °С/ккал.

15. По формуле (29) определяются постоянные составляющие сопротивления теплопередаче от воздуха прослойки к воздуху подполья R:

при Rн = 1     R = 1 / αн + Rк.с + 1 / αн = 1 / 2,71 + 0,1192 + 1 / 15 = 0,555 м2 · ч · °С/ккал;

при R"н = 2                                                    R = 1,013;

при R"н = 3                                                    R = 1,27;

при Rн = 4                                                   R = 1,41.

16. Определяется относительная площадь, занимаемая материалом изоляции, :

17. По формулам (20) и (21) вычисляются объемы материала каркаса (кирпичных столбиков) и изоляционного материала, необходимые для создания слоя с термическим сопротивлением, равным единице, Vк и Vиз:

18. По формуле (17) определяется комплекс N:

N = (Eн + Hиз) Cиз Vиз + (Eн + Hк) Cк Vк = (0,08 + 0,03) 60 · 0,106 + (0,08 + 0,03) 77 · 0,01145 = 0,7966 руб · ккал/(м4 · ч · °С · год).

19. Вычисляют приведенные затраты по разнородному изоляционному слою Пиз по формуле (28), заменяя в ней Rэкн на Rн:

при Rн = 1            Пиз = N (Rэкн - R) = 0,7966 (1,37 - 0,555) = 0,648 руб/(м2 · год);

при R"н = 2                                                    Пиз = 1,445;

при R"н = 3                                                    Пиз = 2,24;

при Rн = 4                                                   Пиз = 3,04.

20. По формуле (18) определяются средние температуры воздуха в прослойке за отопительный период tcp:

при Rн = 1                tср = tв + (tср - tв) (tв - tср.о) / (tв - tн) = 20 + (36,73 - 20) [(20 - (-19,5)] / [20 - (-55)] = 28,8 °С;

при R"н = 2                                                    tср = 32,2;

при R"н = 3                                                    tср = 31,2;

при Rн = 4                                                   tср = 29,7.

21. По формуле (13) определяются комплексы L:

при Rн = 1                L = 1,05 (tср - tср.о) n nо Z Cт lт 10-6 = 1,05 [28,8 - (-19,5)] · 0,9 · 254 · 24 · 15 · 1,3 · 10-6 = 5,42 руб · ч · °С/(ккал · год);

при R"н = 2                                                      L = 5,8;

при R"н = 3                                                       L = 5,69;

при Rн = 4                                                      L = 5,52.

22. По формуле (58) корректируются значения αн (вместо tср подставляется tср, а вместо tв - tср.о):

при R"н = 1

при R"н = 2                                                    αн = 1,17;

при R"н = 3                                                    α′н = 0,889;

при Rн = 4                                                   α′н = 0,783.

23. По формуле (59) корректируются сопротивления теплопередачи от воздуха прослойки к воздуху подполья Rн:

при R"н = 1                   Rн = Rн + 1 / α′н = 1 + 1 / 2,64 = 1,38 м2 · ч · °С/ккал;

при R"н = 2                                                    Rн = 2,85;

при R"н = 3                                                    Rн = 4,12;

при Rн = 4                                                   Rн = 5,28.

Из полученных результатов видно, что откорректированные Rн незначительно отличаются от предыдущих их значений (не больше чем на 2 %), что дает право при ручном счете такую корректировку не производить (п. 4.89м настоящего Руководства).

24. Вычисляются удельные приведенные затраты по расходу тепла Пт по формуле (27), подставляя в нее Rн вместо Rэкн:

при R"н = 1                         Пт = L / Rн = 5,42 / 1,38 = 3,93 руб/(м2 · год);

при Rн = 2                                                   Пт = 2,03;

при R"н = 3                                                    Пт = 1,38;

при Rн = 4                                                   Пт = 1,05.

25. Определяются суммарные приведенные затраты П:

при Rн = 1                        П = Пс + Пиз + Пт = 3 + 0,648 + 3,93 = 7,58 руб/(м2 · год);

при Rн = 2                                                   Пт = 5,48;

при R"н = 3                                                    Пт = 5,12;

при Rн = 4                                                   Пт = 5,33.

26. По найденным значениям приведенных затрат строится график их зависимости от Rн (рис. 37). Из рисунка следует, что приведенные затраты достигают минимума при Rэкн = 2,8 м2 · ч · °С/ккал. При этом Пmin = 5,1 руб/(м2 · год).

Рис. 37. График зависимости П = f(Rн) для воздушной системы обогрева (с воздушной прослойкой)

27. Графическим методом решаются уравнения (51) и (47) или (48) и уточняется значение αк для вычисленного Rэкн = 2,8 м2 · ч · °С/ккал. Имеем:

при αк = 0,4

по графикам рис. 26 y(αк) = 0,53;

при αк = 1                                          vγ = 0,13; y(αк) = 0,71;

при αк = 2                                          vγ = 0,19; y(αк) = 0,97.

Графическое решение уравнений представлено на рис. 36. Из рисунка видно, что решением уравнений будет αк = 0,61 ккал/(м2 · ч · °С).

28. Уточняют необходимые температуры на входе tп и выходе tо из прослойки по формулам (54) и (56), заменяя в них Rн на Rэкн:

tо = αл minпл - tн) n / [R"экн αк (n / R"н + αк + 2 αл)] + τminпл = 4,22 [18 - (-55)] 0,9 / [2,8 · 0,61 (0,9 / 2,8 + 0,61 + 2 · 4,22)] + 18 = 35,31 °С.

29. По формуле (57) уточняется средняя температура воздуха в прослойке tср:

tср = (tп + tо) / 2 = (48,05 + 35,31) / 2 = 41,68 °C.

30. Вычисляют общий коэффициент теплоотдачи нижней грани прослойки α′н по формуле (58), заменяя в ней Rн на Rэкн:

31. Вычисляют сопротивление теплопередаче от воздуха прослойки к воздуху, подполья Rэкн по формуле (59), заменяя в ней Rн на Rэкн:

Rэкн = Rэкн + 1 / α′н = 2,8 + 1 / 0,962 = 3,84 м2 · ч · °С/ккал.

32. По формуле (22) определяется плотность теплового потока в подполье qн:

qн = (tср - tн) n / Rэкн = [41,68 - (-55)] 0,9 / 3,84 = 22,66 ккал/(м2 · ч).

33. По формуле (60) вычисляется удельная мощность системы обогрева q:

q = k (qсрпл + qн) = 1,2 (5 + 22,66) = 33,19 ккал/(м2 · ч).

34. По формуле (63) определяется весовая скорость воздуха в прослойке vγ:

vγ = q l / [0,24 · 3600 Fв.п (tп - tо)] = 33,19 · 6 / [0,24 · 3600 · 0,2 (48,05 - 35,31)] = 0,0904 кг/(м2 · с).

35. По формуле (29) вычисляется постоянная составляющая сопротивления R:

R = 1 / αн + Rк.с + 1 / αн = 1 / 0,962 + 0,1192 + 1 / 15 = 1,226 м2 · ч · °С/ккал.

36. По формуле (33) определяется толщина слоя утеплителя δиз:

37. Расчет обогрева полов в нехарактерных помещениях выполняется для зоны 1 (см. рис. 19) в угловых помещениях, в которых, , согласно табл. 2,

qпл = qminпл = 27 ккал/(м2 · ч), τminпл = tв + 1 = 20 + 1 = 21 °С.

Отсюда по формулам (44) и (46):

τсрпл = τminпл + Δτпл / 2 = 21 + 2 / 2 = 22 °С;

qсрпл = qminпл + Δqпл / 2 = 27 + 10 / 2 = 32 ккал/(м2 · ч).

38. По формулам (64) - (67) определяется необходимая величина коэффициента конвективной теплоотдачи граней прослойки αк:

a = tп - τсрпл - qсрпл Rв = 48,05 - 22 - 32 · 0,1 = 22,85 °С > 0;

b = а (n / Rэкн + 2 αл) - qсрпл = 22,85 (0,9 / 2,8 + 2 · 4,22) - 32 = 168 ккал/(м2 · ч);

c = -qсрпл (n / Rэкн + αл) - αл (qсрпл Rв + τсрпл - tн) n / Rэкн = -32 (0,9 / 2,8 +4,22) - 4,22 [32 · 0,1 + 22 - (-55)] 0,9 / 2,8 = 254,96 ккал2/(м4 · ч2 · °С);

39. По графикам рис. 26 определяется требуемое значение весовой скорости воздуха. Находим vγ = 0,265 кг/(м2 · с) < 5.

40. Определяют αн по формуле (58), полагая в ней tср = tн и Rн = Rэкн.

41. Определяют Rэкн по формуле (59), заменяя в ней Rн на Rэкн:

Rэкн = Rэкн + 1 / α′н = 2,8 + 1 / 1,16 = 3,66 м2 · ч · °С/ккал.

42. Вычисляют плотность теплового потока в подполье qн по формуле (22), полагая в ней tср = tп:

qн = (tп - tн) n / Rэкн = [48,05 - (-55)] 0,9 / 3,66 = 25,3 ккал/(м2 · ч).

43. Определяется удельная мощность системы обогрева пола q в нехарактерных помещениях по формуле (60):

q = k (qсрпл + qн) = 1,2 (32 + 25,3) = 68,8 ккал/(м2 · ч).

44. По формуле (68) определяется to:

to = tп - q l / (0,24 · 3600 Fв.п vγ) = 48,05 - 68,8 · 6 / (0,24 · 3600 · 0,2 · 0,265) = 42,54 °С.

45. По найденным в расчете характеристикам системы уточняются ее общая мощность и необходимый расход воздуха с учетом характерных и нехарактерных помещений, выполняется гидравлический расчет и подбирается оборудование.

После окончания работ по проектированию системы обогрева определяются приведенные затраты по системе в целом (п. 4.93 настоящего Руководства).

Пример 4. Воздушная система с движением воздуха по каналам пустотных плит

Исходные данные те же, что и в примере 3. Конструкция цокольного перекрытия приведена на рис. 38.

Рис. 38. Расчетная схема цокольного перекрытия, оснащенного воздушной системой обогрева (с каналами)

1 - линолеум на теплой основе [δ = 5 мм, λ = 0,2 ккал/(м · ч · °С)]; 2 - стяжка из цементно-песчаного раствора [δ = 30 мм, λ = 0,65 ккал/(м · ч · °С)]; 3 - многопустотная железобетонная плита (δ = 220 мм, Dэк = 0,159 м, шаг пустот 0,2 м); 4 - стяжка из цементно-песчаного раствора [δ = 30 мм, λ = 0,65 ккал/(м · ч · °С)]; 5 - гидроизоляционный слой; 6 - плиты жесткие минераловатные на синтетическом связующем [γ = 200 кг3, δ - по расчету, λ = 0,065 ккал/(м · ч · °С)]; 7 - противоинфильтрационный слой; 8 - несущая железобетонная плита цокольного перекрытия [δ = 120 мм, λ = 1,65 ккал/(м · ч · °С)]

Расчет

1. Из примера 3 для характерных помещений известны:

τminпл = 18; τmaxпл = 20; τсрпл = 19 °С; qminпл = 0; qmaxпл = 10; qсрпл = 5 ккал/(м2 · ч).

2. Определяется термическое сопротивление слоев, расположенных выше воздушной прослойки, R"в:

сопротивление слоя линолеума

Rл = δл / λл = 0,005 / 0,2 = 0,025 м2 · ч · °С/ккал;

сопротивление стяжки

Rст = δст / λст = 0,03 / 0,65 = 0,0462 м2 · ч · °С/ккал;

термическое сопротивление массива плиты (п. 4.89г настоящего Руководства)

Rм = 0,0428 м2 · ч · °С/ккал;

общее сопротивление слоев

R"в = Rл + Rст + Rм = 0,025 + 0,0462 + 0,0428 = 0,114 м2 · ч · °С/ккал.

3. Расчет выполним в двух вариантах: с включением всех каналов и при включении каналов через один. Тогда в соответствии с формулами (53) и (53а) живое сечение каналов на полосе шириной 1 м для первого варианта составит Fв.п = 0,0992 м2/м, а для второго - Fв.п = 0,0496 м2/м. Эквивалентный диаметр каналов для обоих вариантов в соответствии с формулой (50) будет равен Dэк = 0,159 м.

4. Принимается ряд значений сопротивлений теплопередаче от нижней грани прослойки к воздуху подполья Rн, a именно 2, 3, 4 и 5 м2 · ч · °С/ккал, и из уравнений (51) и (47) или (48), как и в примере 3, графически для каждого значения Rн определяется коэффициент конвективной теплоотдачи граней прослойки αк. Для определения кривых вычисляются vγ по выражению (51), а затем определяется yк) по графикам рис. 26 или 27 при трех значениях αк: для первого варианта - 1, 2 и 3; для второго - 2, 4 и 6.

В соответствии с п. 4.89г настоящего Руководства для первого варианта величина αк, подставляемая в формулу (51), должна быть предварительно умножена на 1,25, а для второго - 0,625.

Для первого варианта при Rн = 2 и αк = 1 имеем:

по графикам рис. 26, 27

у(αк) = 1,93 ккал/(м2 · ч · °С).

Для второго варианта при Rн = 2 и αк = 2

по графикам рис. 26 и 27

у(αк) = 3,38 ккал/(м2 · ч · °С).

Дальнейшие расчеты по определению αк для обоих вариантов сведены в табл. 4.

Таблица 4

Rн, м2 · ч · °С/ккал

Первый вариант

Второй вариант

αк, ккал/(м2 · ч · °С)

vγ, кг/(м2 · с)

y(αк), ккал/(м2 · ч · °С)

αк, ккал/(м2 · ч · °С)

vγ, кг/(м2 · с)

y(αк), ккал/(м2 · ч · °С)

2

1

0,371

1,93

2

0,741

3,38

2

0,526

2,57

4

1,053

4,47

3

0,616

2,9

6

1,232

5,61

3

1

0,274

1,62

2

0,549

2,65

2

0,385

2,00

4

0,769

3,48

3

0,447

2,25

6

0,895

3,92

4

1

0,223

1,50

2

0,446

2,25

2

0,311

1,70

4

0,621

2,93

3

0,360

1,88

6

0,720

3,30

5

1

0,191

1,23

2

0,382

2,00

2

0,265

1,58

4

0,550

2,60

3

0,307

1,70

6

0,613

2,90

Графические решения уравнений (51) и (47) или (48) для обоих вариантов представлены соответственно на рис. 39 и 40. Из рисунков следует, что для Rн, равных 2, 3, 4 и 5, значения αк для первого и второго вариантов соответственно равны: 2,9 и 4,75; 2 и 3,2; 1,6 и 2,45; 1,53 и 2.

Рис. 39. Графическое решение системы уравнений (51), (47) или (48) для всех включенных каналов

Рис. 40. Графическое решение системы уравнений (51), (47) или (48) при включении каналов через один

Полученные значения αк характеризуют интенсивность теплообмена в каналах плит. При переходе к расчетной схеме с плоскими гранями прослойки (эта схема лежит в основе последующих расчетных зависимостей) их необходимо умножить для первого варианта на 1,25, а для второго - на 0,625 (п. 4.89г настоящего Руководства). После выполнения этой операции для Rн, равных 2, 3, 4 и 5, значения αк для первого и второго вариантов соответственно будут: 3,6 и 3,0; 2,5 и 2,05; 1,92 и 1,55; 1,91 и 1,23.

Дальнейшие расчеты по обоим вариантам аналогичны расчетам, приведенным в примере 3, поэтому они сведены в табл. 5. Номера операций, приведенные в табл. 5, соответствуют номерам примера 3.

Таблица 5

Номер операций из примера 3

Условное обозначение определяемой величины

Единица измерения

Номер формулы

Результат для варианта

1 при Rн

2 при Rн

2

3

4

5

2

3

4

5

Характерные помещения

7

tп

°С

(54)

26,02

26,96

27,76

27,12

27,15

28,34

29,41

30,52

 

tо

»

(56)

20,85

21,10

21,25

20,63

21,62

21,96

22,20

22,42

8

tср

»

(57)

23,44

24,03

24,50

23,88

24,38

25,15

25,81

26,46

9

α′н

ккал/(м2 · ч · °С)

(58)

4,96

3,47

2,63

2,52

4,24

2,91

2,16

1,67

10

Rн

м2 · ч · °С/ккал

(59)

2,20

3,29

4,38

5,40

2,24

3,34

4,46

5,60

11

qн

ккал/(м2 · ч)

(22) с заменой Rэкн на Rн

32,07

21,63

16,34

13,15

31,95

21,57

16,29

13,09

12

q

ккал/(м2 · ч)

(60)

44,48

31,96

25,60

21,78

44,34

31,89

25,56

21,71

13

Пс

руб/(м2 · год)

Принято условно

2

1,5

1,25

1,15

2

1,5

1,25

1,15

14

Rк.с

м2 · ч · °С/ккал

Определено как сумма сопротивлений несущих плит, стяжки и массива плиты (0,0428)

0,1615

0,1615

0,1616

0,1615

0,1615

0,1615

0,1615

0,1615

15 - 171

R

»

(29)

0,430

0,516

0,608

0,626

0,464

0,572

0,691

0,828

18

N

руб · ккал/(м4 · ч · °С · год)

(16)

0,429

0,429

0,429

0,429

0,429

0,429

0,429

0,429

19

Пиз

руб/(м2 · год)

(28) с заменой Rэкн на Rн

0,760

1,289

1,618

2,047

0,760

1,189

1,618

2,047

20

tср

°С

(18)

21,81

22,12

22,37

22,04

22,31

22,71

23,06

23,41

21 - 232

L

руб · ч · °С/(ккал · год)

(13)

4,63

4,67

4,70

4,67

4,69

4,74

4,77

4,81

24

Пт

руб/(м2 · год)

(27) с заменой Rэкн на Rн

2,097

1,413

1,066

0,858

2,088

1,408

1,063

0,853

25 - 33, 353

П

»

-

4,86

4,10

3,93

4,06

4,85

4,10

3,93

4,05

34

vγ

кг/(м2 · с)

(63)

-

-

0,278

-

-

-

0,497

-

36

δиз

м

(32)

-

-

0,245

-

-

-

0,245

-

Нехарактерные помещения

37

τсрпл

°С

(42) - (44)

-

-

22

-

-

-

22

-

 

qсрпл

ккал/(м2 · ч)

(45), (46)

-

-

32

-

-

-

32

-

38

a

°С

(65)

-

-

2,11 > 0

-

-

-

3,76 > 0

-

 

b

ккал/(м2 · ч)

(66)

-

-

-17,35

-

-

-

-5,9

-

 

c

ккал2/(м4 · ч2 · °С)

(67)

-

-

-175,8

-

-

-

-175,8

-

 

αк

ккал/(м2 · ч · °С)

(64)

-

-

14,2 (11,35)4

-

-

-

7,64 (12,2)4

-

39

vγ

кг/(м2 · с)

Из формулы (48) или по графикам рис. 27

-

-

3,35 < 5

-

-

-

3,65 < 5

-

40

αн

ккал/(м2 · ч · °С)

(58) с заменой tср на tп и R"н на Rэкн

-

-

12,675

-

-

-

6,515

-

41

Rэкн

м2 · ч · °С/ккал

(59) с заменой R"н на Rэкн

-

-

4,08

-

-

-

4,154

-

42

qн

ккал/(м2 · ч)

(22) с заменой tср на tп

-

-

18,25

-

-

-

18,3

-

43

q

»

(60)

-

-

60,3

-

-

-

60,4

-

44, 456

tо

°С

(70)

-

-

26,5

-

-

-

28,23

-

1 Величины , Vк и Vиз не вычисляются, так как слой тепловой изоляции однороден (см. рис. 38).

2 Корректировка величин α′н и Rн не производится (п. 4.89м настоящего Руководства).

3 Из проведенных расчетов видно, что учтенная часть приведенных затрат для обоих вариантов практически одинакова, поэтому для отыскания R"экн строится один график (рис. 41). Из рисунка следует, что Rэкн4 м2 · ч · °С/ккал и Пmin = 3,93 руб/(м2 · год), поэтому для обоих вариантов к дальнейшему расчету принимаются данные, полученные для Rн = 4 м2 · ч · °С/ккал.

Рис. 41. График зависимости П = f(Rн) для воздушной системы обогрева (с каналами)

4 В скобках приведены значения αк в каналах пустотных плит, полученные делением αк в прослойке для первого варианта на 1,25, а для второго - на 0,625 (п. 4.89р настоящего Руководства).

5 В формулу подставляются значения αк в прослойке, равные 14,2 и 7,64 соответственно для первого и второго вариантов.

6 Выполняются операции п. 45 примера 3.

Пример 5. Электрическая система с кабелем, уложенным в воздушной прослойке

Исходные данные. Общие исходные данные те же, что и в примере 1 (см. рис. 32). Коэффициент запаса по мощности электрической системы обогрева k = 1,1; стоимость электрической энергии Cэ = 4 коп/(кВт · ч), напряжение питания U = 220 В.

Расчет

1. Как и в примере 1, для характерных помещений имеем:

τсрпл = 18; tср = 18; tср = 18,95 °С; qпл = 0.

2. По формуле (74) вычисляют экономически целесообразное сопротивление теплопередаче от уровня заложения нагревательных элементов к воздуху подполья Rэкн, используя определенное в примере 1 (п. 6) N = 1,407 руб · ккал/(м4 · ч · °С · год):

3. По формуле (22) определяется плотность теплового потока в подполье qн:

qн = (tср - tн) n / Rэкн = [18 - (-55)] 0,9 / 2,71 = 24,24 ккал/(м2 · ч).

4. По формуле (75) вычисляются необходимые удельная qк и общая Qк тепловые мощности нагревательного устройства:

qк = k (qпл + qн) = 1,1 (0 + 24,24) = 26,7 ккал/(м2 · ч).

Примем площадь пола, обогреваемую одним нагревательным устройством, равной 60 м2 (полезная площадь квартиры). Тогда Qк = qк Fк = 26,7 · 60 = 1600 ккал/ч или 1,86 кВт.

5. По номограмме рис. 22 определяют величину α′н, используя значения tв = 20 °С и qн = 24,24 ккал/(м2 · ч). Находим α′н = 4,92 ккал/(м2 · ч · °С).

6. По формуле (29) вычисляют постоянную составляющую сопротивления теплопередаче R, используя определенное в примере 1 (п. 12) значение

Rк.с = 0,1198 м2 · ч · °С/ккал;

R = 1 / α′н + Rк.с + 1 / αн = 1 / 4,92 + 0,1198 + 1 / 15 = 0,389 м2 · ч · °С/ккал.

При машинном счете α′н определяется из системы уравнений (30) и (31).

7. По формуле (33) определяют толщину разнородного слоя изоляции δиз, используя из примера 1 (п. 2) значение :

8. Определяется переменная составляющая удельных приведенных затрат для характерных помещений Пmin по формуле (76):

9. Примем греющий провод ПОСХВТ 1×1,4 (ТУ 16.505.524-73), который в соответствии с табл. 3 имеет следующие характеристики: Dк = 3,4 · 10-3 м; A = 0,414 · 10-3 Ом/(м · °С); B = 0,401 · 10-3 Ом · ч/ккал; C = 0,0827 Ом/м; E = 440 [ккал/(В · ч)]2; F = l,205; αl = 0,212 ккал/(м · ч · °С); D = 200 °С.

Для определения температуры поверхности изоляции провода τк вычисляется величина

U / Qк = 220 / 1600 = 0,1375 В · ч/ккал.

По номограмме рис. 29 находим τк = 48,7 °С < 70.

10. Вычисляется необходимый шаг раскладки провода h по формуле (88):

h = αl (τк - tср) / qк = 0,212 (48,7 - 18) / 26,7 = 0,244 м > 10 Dк.

11. Определяется необходимая длина провода Lк по формуле (91):

Lк = Fк / h = 60 / 0,244 = 246 м.

12. По формуле (92) вычисляется расчетное электрическое сопротивление элемента rt:

rt = Lк (A τк + B Qк / Lк + C) = 246 (0,414 · 10-3 · 48,7 + 0,401 · 10-3 · 1600 / 246 + 0,0827) = 26 Ом.

13. По формуле (94) определяется расчетный ток в проводе I:

I = U / rt = 220 / 26 = 8,47 А.

14. По формуле (95) производится проверка правильности выполненного расчета:

U2 / rt = 2202 / 26 = 1860 Вт; Qк / 0,86 = 1600 / 0,86 = 1860 Вт.

Расчет выполнен верно.

При машинном счете шаг раскладки h и температура поверхности изоляции провода τк вычисляются по формулам (79) и (80):

h = Fк Qк αl (A tср + C) / (0,86 U2 αl - A Q2к - B αl Q2к) = 60 · 1600 · 0,212 (0,414 · 10-3 · 18 + 0,0827) / (0,86 · 2202 · 0,212 - 0,414 · 10-3 · 16002 - 0,401 · 10-3 · 0,212 · 16002) = 0,244 м;

τк = qк h / αl + tсp = 26,7 · 0,244 / 0,212 + 18 = 48,7 °С.

Из проведенного расчета видно, что формулы (79) и (80) относительно просты и ими можно пользоваться и при ручном счете. В этом случае номограмму рис. 29 следует использовать для ориентировочных расчетов.

15. Используя известные значения Fк, Lк и h, конструируют нагревательный элемент.

16. Рассчитаем нагревательный элемент, обогревающий участки пола с различными температурными режимами. Пусть одним нагревательным элементом обогреваются площадь пола, примыкающего к торцовой наружной стене здания, на которой не установлены нагревательные приборы (зона 1 на рис. 19), и часть площади пола характерных помещений. Величины этих площадей соответственно составляют Fк1 = 15 и Fк2 = 20 м2. В соответствии с табл. 2 расчетные средние температура и плотность теплового потока для зоны 1 составляют:

τсрпл = tв + 1 = 20 + 1 = 21 °С; qпл = 27 ккал/(м2 · ч).

17. Ввиду полной аналогии с примером 1 (пп. 18 - 21) средняя температура на уровне заложения нагревательного элемента в рассматриваемой зоне будет равна: tср = 30,74 °С.

18. Так как сопротивление теплопередаче от уровня заложения нагревательного элемента к воздуху подполья сравнительно велико Rэкн > 2 м2 · ч · °С/ккал, корректировка его для нехарактерных помещений не производится.

19. Определяется плотность теплового потока в подполье qн1 по формуле (22):

qн1 = (tср1 - tн) n / Rэкн = [30,74 - (-55)] 0,9 / 2,71 = 28,5 ккал/(м2 · ч).

20. По формулам (75) и (89) вычисляются необходимые мощности частей нагревательного элемента, уложенных в каждой зоне qк1, Qк1, Qк2:

qк1 = k (qпл1 + qн1) = 1,1 (27 + 28,5) = 61 ккал/(м2 · ч);

Qк1 = qк1 Fк1 = 61 · 15 = 915 ккал/ч;

Qк2 = qк2 Fк2 = 26,7 · 20 = 534 ккал/ч.

21. По формулам (90) вычисляется распределение падений напряжения между частями нагревательного элемента U1 и U2:

U1 = U Qк1 / (Qк1 + Qк2) = 220 · 915 / (915 + 534) = 139 В;

U2 = U Qк2 / (Qк1 + Qк2) = 220 · 534 / (915 + 534) = 81 В.

22. Для обеих частей нагревательного элемента определяются h и τк по формулам (79) и (80):

h1 = Fк1 Qк1 αl (A tср1 + C) / (0,86 U21 αl - A Q2к2 - B αl Q2к1) = 15 · 915 · 0,212 (0,414 · 10-3 · 30,74 + 0,0827) / (0,86 · 1392 · 0,212 - 0,414 · 10-3 · 9152 - 0,401 · 10-3 · 0,212 · 9152) = 0,09 м > 10 Dк;

h2 = 0,194 > 10 Dк;

τк1 = qк1 h1 / αl + tсp1 = 61 · 0,09 / 0,212 + 30,74 = 56,4 °С < 70;

τк2 = 42,4 < 70.

23. Определяются необходимые длины провода на обоих участках пола Lк1, Lк2 по формуле (91) и общая длина Lк:

Lк1 = Fк1 / h1 = 15 / 0,09 = 167 м; Lк2 = 103;

Lк = Lк1 + Lк2 = 167 + 103 = 270 м.

24. Вычисляются электрические сопротивления участков провода rt1, rt2 по формуле (92) и общее сопротивление нагревательного элемента rt:

rt1 = Lк1 (A τк1 + B Qк1 / Lк1 + C) = 167 (0,414 · 10-3 · 56,4 + 0,401 · 10-3 · 915 / 167 + 0,0827) = 18,1 Ом; rt2 = 10,55;

rt = rt1 + rt2 = 18,1 + 10,55 = 28,65 Ом.

25. По формуле (94) определяется необходимый ток в проводе I:

I1 = U1 / rt1 = 139 / 18,1 = 7,68 А;

I2 = U2 / rt2 = 81 / 10,55 = 7,68 А;

I = U / rt = 220 / 28,65 = 7,68 А.

Равенство вычисленных величин токов свидетельствует о правильности выполненного расчета.

26. По формуле (95) производится дополнительная проверка правильности выполненного расчета:

U21 / rt1 = 1392 / 18,1 = 1066 Вт; Qк1 / 0,86 = 915 / 0,86 = 1065 Вт;

U22 / rt2 = 812 / 10,55 = 622 Вт; Qк2 / 0,86 = 354 / 0,86 = 621 Вт;

U2 / rt = 2202 / 28,65 = 1684 Вт; (Qк1 + Qк2) / 0,86 = (915 + 354) / 0,86 = 1685 Вт.

Расчет выполнен верно.

27. Используя известные значения Fк1, Fк2, Lк1, Lк2, h1 и h2 конструируют нагревательный элемент.

После окончания работ по проектированию электрической системы обогрева определяются приведенные затраты на систему в целом (п. 4.100 настоящего Руководства).

Пример 6. Электрическая система с замоноличенным кабелем

Исходные данные. Общие исходные данные те же, что и в примерах 2 (см. рис. 33) и 5.

Расчет

1. Как и в предыдущем примере, для характерных помещений:

τсрпл = 18; tср = 18; tcp = 18,95 °С; qпл = 0.

2. По формуле (74) вычисляют экономически целесообразное сопротивление теплопередаче от уровня заложения нагревательных элементов к воздуху подполья Rэкн, используя из примера 2 (п. 13) N = 0,66 руб · ккал/(м4 · ч · °С · год):

3. По формуле (22) определяется плотность теплового потока в подполье qн:

qн = (tср - tн) n / Rэкн = [18 - (-55)] 0,9 / 3,95 = 16,6 ккал/(м2 · ч).

4. По формуле (75) вычисляется необходимая удельная тепловая мощность нагревательного устройства qк:

qк = k (qпл + qн) = 1,1 (0 + 16,6) = 18,25 ккал/(м2 · ч).

Примем площадь пола, обогреваемого одним нагревательным элементом, равной 60 м2. Тогда Qк = qк Fк = 18,25 · 60 = 1096 ккал/ч, или 1,275 кВт.

5. По формуле (32) определяют необходимую толщину слоя утеплителя δиз, используя из примера 2 (п. 12) значение R = 0,169 м2 · ч · °С/ккал:

δиз = (Rэкн - R) λиз = (3,95 - 0,169) 0,1 = 0,378 м.

6. Определяется переменная составляющая удельных приведенных затрат для характерных помещений Пmin по формуле (76):

7. Примем греющий провод ПОСХВ 1×1,1 (ТУ 16.505.524-73) со следующими характеристиками (см. табл. 3): Dк = 2,9 · 10-3 м;

A = 0,67 · 10-3 Ом/(м · °С); B = 0,705 Ом · ч/ккал; C = 0,134 Ом/м и D = 200 °С.

8. Графическим решением системы уравнений (77) и (78) определяются температура токопроводящей жилы τпр и шаг раскладки провода h. Первое уравнение - уравнение прямой, для ее определения достаточно двух точек. Получим: при h = 0,2 м

τпр = 0,86 U2 h / (A Fк Qк) - D = 0,86 · 2202 · 0,2 / (0,67 · 10-3 · 60 · 1096) - 200 = -11,2°С;

h = 0,25 τпр = 36.

Второе уравнение - уравнение кривой. Для ее определения вычисляется τпр для трех значений h: 0,2, 0,23 и 0,25 м. Находим:

при h = 0,2

τпр = qк h {ln[h / (π Dк)] / (2 π λт) + B / А} + tcp = 18,25 · 0,2 {ln[0,2 / (3,14 · 2,9 · 10-3)] / (2 · 3,14 · 1) + 0,705 / 0,67} + 18 = 23,63 °C;

при h = 0,23                                              τпр = 24,5;

при h = 0,25                                              τпр = 25,19.

Графическое решение системы уравнений (77) и (78) приведено на рис. 42. Из рисунка видно, что решением системы являются: h = 0,238 м > 10 Dк; τпр = 24,75 °С < 60.

Рис. 42. Графическое решение системы уравнений (77) и (78)

Для примера вычислим эти же величины по приближенным формулам (82) и (83). При 0,15 < h < 0,25 параметр a определяется по формуле (85):

a = -1,76 - ln Dк + 2 π λт B / A = -1,76 - ln (2,9 · 10-3) + 2 · 3,14 · 1 · 0,705 / 0,67 = 10,67;

b = -0,1966 м.

Подставляя эти значения параметров в формулы (82) и (83), получим:

h = [2 π λт Fк Qк (A tср + C) + A Q2к b] / (1,72 π λт U2 - a A Q2к) = [2 · 3,14 · 1 · 60 · 1096 (0,67 · 10-3 · 18 + 0,134) + 0,67 · 10-3 · 10962 · (-0,1966)] / (1,72 · 3,14 · 1 · 2202 - 10,67 · 0,67 · 10-3 · 10962) = 0,238 м;

τпр = qк (a h + b) / (2 π λт) + tсp = 18,25 (10,67 · 0,238 - 0,1966) / (2 · 3,14 · 1) + 18 = 24,8 °С.

9. Проверяют разность температур поверхности пола по шагу раскладки кабеля Δτпл по формуле (37), заменяя в ней qтр на qк и используя полученное в примере 2 (п. 3) Rв = 0,25 м2 · ч · °С/ккал. Для этого вначале по формуле (38а) определяется величина x, затем по графику рис. 24 - величина y и, наконец, Δτпл:

x = 2 π λт Rв / h = 2 · 3,14 · 1 · 0,25 / 0,238 = 6,6 > 3.

В соответствии с рекомендациями п. 4.82л настоящего Руководства Δτпл не проверяется.

Из полученного результата видно, что для электрических систем обогрева с замоноличенным кабелем Δτпл < 2 °С при более низких значениях Rв, чем для водяных систем. Значение Rв = 0,25 м2 · ч · °С/ккал принято здесь только для примера в целях его упрощения. В соответствии с п. 4.46 настоящего Руководства его следует принимать из интервала 0,05 - 0,2 м2 · ч · °С/ккал.

10. Определяется необходимая длина провода в элементе Lк по формуле (91):

Lк = Fк / h = 60 / 0,238 = 252 м.

11. Определяются расчетное электрическое сопротивление нагревательного элемента rt и ток I по формулам (93) и (94):

rt = Lк (A τпр + C) = 252 (0,67 · 10-3 · 24,75 + 0,134) = 38 Ом;

I = U / rt = 220 / 38 = 5,8 А.

12. Вычисляется мощность, рассеиваемая элементом, по формуле (95):

U2 / rt = 2202 / 38 = 1275 Вт; Qк / 0,86 = 1996 / 0,86 = 1275 Вт.

Расчет выполнен верно.

С использованием величин Fк, h и Lк, согласно п. 4.48 настоящего Руководства, определяется геометрия раскладки кабеля.

После окончания работ по проектированию электрической системы обогрева определяются приведенные затраты на систему в целом (п. 4.100 настоящего Руководства).

СОДЕРЖАНИЕ

Предисловие. 1

1. Общие положения. 2

2. Схемы систем обогрева и цокольных перекрытий. 2

Общие сведения. 2

Водяные системы обогрева. 3

Воздушные системы обогрева. 4

Электрические системы обогрева. 6

Цокольные перекрытия. 7

3. Материалы, изделия и оборудование. 9

Системы обогрева полов. 9

Цокольные перекрытия. 9

4. Проектирование систем обогрева и цокольных перекрытий. 11

Конструирование. 11

Водяные системы обогрева. 11

Воздушные системы обогрева. 15

Электрические системы обогрева. 17

Цокольные перекрытия. 25

Расчет. 26

Общие положения. 26

Водяные системы обогрева. 29

Воздушные системы обогрева. 36

Электрические системы обогрева. 43

5. Устройство цокольных перекрытий и систем обогрева, испытания и приемка работ. 49

6. Примеры теплотехнического расчета систем обогрева полов. 56

Пример 1. Водяная система с нагревательными элементами, уложенными в воздушной прослойке. 56

Пример 2. Водяная система с замоноличенными нагревательными элементами. 59

Пример 3. Воздушная система с движением воздуха в прослойке. 63

Пример 4. Воздушная система с движением воздуха по каналам пустотных плит. 71

Пример 5. Электрическая система с кабелем, уложенным в воздушной прослойке. 76

Пример 6. Электрическая система с замоноличенным кабелем.. 79

 

 




ГОСТЫ, СТРОИТЕЛЬНЫЕ и ТЕХНИЧЕСКИЕ НОРМАТИВЫ.
Некоммерческая онлайн система, содержащая все Российские Госты, национальные Стандарты и нормативы.
В Системе содержится более 150000 файлов нормативно-технической документации, действующей на территории РФ.
Система предназначена для широкого круга инженерно-технических специалистов.

Рейтинг@Mail.ru Яндекс цитирования

Copyright © www.gostrf.com, 2008 - 2026