Государственное санитарно-эпидемиологическое нормирование
Российской Федерации
4.3. МЕТОДЫ КОНТРОЛЯ.
ФИЗИЧЕСКИЕ ФАКТОРЫ
Определение уровней электромагнитного
поля, создаваемого излучающими
техническими средствами телевидения,
ЧМ радиовещания и базовых станций
сухопутной подвижной радиосвязи
Методические указания
МУК 4.3.1677-03
Минздрав России
Москва 2003
1.
Разработаны сотрудниками Самарского отраслевого научно-исследовательского
института радио Министерства Российской Федерации по связи и информатизации
(А.Л. Бузовым, С.Н. Елисеевым, Л.С. Казанским, Ю.И. Кольчугиным, В.А.
Романовым, М.Ю. Сподобаевым, Д.В. Филипповым, В.В. Юдиным).
2. Представлены
Минсвязи России (письмо № ДРТС-2/988 от 02.12.02). Одобрены комиссией по
государственному санитарно-эпидемиологическому нормированию при Минздраве
России.
3. Утверждены и
введены в действие Главным государственным санитарным врачом Российской
Федерации от 29.06.03.
4. Введены
взамен МУК 4.3.045-96 и МУК
4.3.046-96
(в части базовых станций).
Содержание
|
|
УТВЕРЖДАЮ
|
|
|
Главный
государственный санитарный врач Российской Федерации, Первый заместитель
Министра здравоохранения Российской Федерации Г.
|
|
|
Г. Онищенко
|
|
|
29
июня 2003 г
|
|
|
Дата
введения: с момента утверждения
|
4.3. МЕТОДЫ КОНТРОЛЯ.
ФИЗИЧЕСКИЕ ФАКТОРЫ
Определение уровней электромагнитного поля,
создаваемого излучающими техническими средствами
телевидения, ЧМ радиовещания и базовых станций
сухопутной подвижной радиосвязи
|
Методические указания
МУК 4.3.1677-03
|
Методические
указания предназначены для применения специалистами центров государственного
санитарно-эпидемиологического надзора, инженерно-техническими работниками,
проектными организациями, операторами связи в целях обеспечения
санитарно-эпидемиологического надзора за источниками излучения.
Методические указания устанавливают методики
определения (расчета и измерений) уровней электромагнитного поля (ЭМП),
излучаемого техническими средствами телевидения, ЧМ радиовещания и базовых
станций сухопутной подвижной радиосвязи в диапазоне 27-2400 МГц в местах их
размещения.
Документ введен взамен МУК 4.3.04-96 и МУК
4.3.046-96 (в части базовых станций). Отличается от прежних документов тем,
что содержит методику расчета уровней ЭМП для произвольных расстояний от
антенн, включая ближнюю зону, с учетом подстилающей поверхности и влияния
различных металлоконструкций.
Методические
указания не распространяются на средства связи, содержащие апертурные антенны.
Определение
уровней ЭМП проводится с целью прогнозирования и определения состояния
электромагнитной обстановки в местах размещения излучающих объектов
телевидения, ЧМ вещания и базовых станций сухопутной подвижной радиосвязи.
Расчетное
прогнозирование проводится:
- при проектировании
передающего радиотехнического объекта (ПРТО);
- при изменении
условий размещения, характеристик или режимов работы технических средств
действующего ПРТО (изменение расположения антенн, высот их установки,
направлений излучения, мощности излучения, схемы антенно-фидерного тракта,
застройки прилегающих территорий и т. п.):
- в случае
отсутствия материалов расчетного прогнозирования электромагнитной обстановки
ПРТО;
- при сдаче
ПРТО в эксплуатацию (при внесении изменений в проект относительно его первоначального
варианта, для которого осуществлялось расчетное прогнозирование).
Измерения
проводятся:
- при сдаче
ПРТО в эксплуатацию;
- в порядке
плановых контрольных измерений не реже одного раза в три года (в зависимости от
результатов динамического наблюдения периодичность проведения измерений уровней
ЭМП может быть сокращена по решению соответствующего центра Госсанэпиднадзора,
но не чаще, чем один раз в год);
- при изменении
условий размещения, характеристик или режимов работы технических средств действующего
ПРТО;
- после
проведения защитных мероприятий, направленных на снижение уровней ЭМП.
В методике
расчетного прогнозирования определены следующие способы расчета уровней ЭМП:
-
непосредственно по току в проводниках антенны (предварительно рассчитанному);
- по диаграмме
направленности (ДН) антенны, которая определяется по распределению тока в
проводниках антенны;
- по паспортным
ДН антенны.
Для тех
случаев, когда антенна представляет собой антенную решетку, в качестве
элементов которой используются излучатели неизвестной конструкции с известными
ДН, предусмотрена возможность расчета ДН такой решетки.
Расчет уровней
ЭПМ непосредственно по току выполняется для относительно малых расстояний от
антенны (в ближней и промежуточной зонах), расчет по ДН - для относительно
больших расстояний (в дальней зоне). Паспортные ДН используются при отсутствии
сведений о конструкции антенны.
Распределение
тока по проводникам антенны находятся решением электродинамической задачи
методом интегрального уравнения. При этом антенна представляется в виде системы
определенным образом расположенных и ориентированных в пространстве
проводников.
В методике
расчета уровней ЭПМ предусмотрены:
- возможность
учета подстилающей поверхности на основе двухлучевой модели распространения
радиоволн в предположении, что подстилающая поверхность не влияет на
распределение тока в проводниках антенны;
- возможность
учета влияния металлоконструкций на основе определения тока, наведенного на них
полем антенны.
Исходными данными для учета ЭПМ служат геометрические
параметры антенны в виде набора координат концов проводников, геометрические и
электрофизические параметры подстилающей поверхности, технические
характеристики радиопередающих средств.
В прилож. 3
приведена информация о рекомендуемом программном обеспечении, включающем в себя
расчет уровней ЭПМ по изложенным в методических указаниях методикам для
указанных технических средств.
Методика
измерений основана на принципах заложенных в расчетный прогноз и ориентирована
на использование существующих измерительных приборов, обеспечивающих
достаточную точность контроля уровней ЭПМ.
Расчет уровней
ЭПМ непосредственно по току антенны выполняется в два этапа: сначала
рассчитывается распределение тока в проводниках антенны, затем - уровни ЭМП.
Расчет распределения тока выполняется на основе решения соответствующей электродинамической
задачи методом интегрального уравнения в тонкопроволочном приближении. При этом
реальная конструкция антенны представляется в виде системы электрически тонких
цилиндрических проводников. Решение интегрального уравнения выполняется методом
коллокации при кусочно-синусоидальном базисе. Расчет уровней ЭМП выполняется
непосредственно по найденному распределению тока с учетом наличия апертурных
искажений и реактивных полей.
Расчет уровней
ЭМП по рассчитанной ДН выполняется в три этапа: сначала рассчитывается
распределение тока в проводниках антенны, затем - ДН и коэффициент
направленного действия (КНД), на завершающем этапе по найденным ДН и КНД
рассчитываются уровни ЭМП. Распределение тока в проводниках определяется так
же, как и при расчете уровней ЭМП непосредственно по току антенны.
Расчет уровней
ЭМП по паспортным ДН выполняется в один этап. При этом считается, что излучение
(с заданной направленностью, определяемой паспортными ДН) происходит из точки,
принимаемой за фазовый центр антенны.
При дальнейшем
изложении, если нет специальных оговорок, единицы измерения всех величин даны в
системе СИ.
Расчет
распределения тока в проводниках антенны выполняется в следующей
последовательности:
- построение
электродинамической модели антенны;
- расчет
элементов матрицы системы линейных алгебраических уравнений (СЛАУ) -
алгебраического аналога исходного интегрального уравнения;
- решение СЛАУ
и определение коэффициентов разложения искомой функции распределения тока
(токовая функция) по заданному базису.
Построение
электродинамической модели
Реальная
конструкция представляется в виде системы электрически тонких прямолинейных
цилиндрических проводников. Радиус проводников при этом не должен превышать
0,01λ, (здесь и далее λ -длина волны). Проводники
большего радиуса представляются в виде проволочных цилиндров. Сплошные
металлические поверхности представляются в виде проволочных сеток. Проводники,
оси которых являются гладкими кривыми, представляются в виде ломаных.
Вводится
пространственный контур L, образованный
совокупностью осей проводников. Определяется положительное направление обхода
контура L (оно же положительное направление для тока), и
вводится криволинейная координата l, отсчитываемая вдоль него.
Для определения
кусочно-синусоидальных базисных функций каждый прямолинейный проводник
разбивается на электрически короткие частично пересекающиеся отрезки -
сегменты. Каждый k-сегмент определяется тремя точками: начальной
, средней lk и конечной
(в соответствии с
выбранным положительным направлением). При этом начальная точка k-го
сегмента (если он не первый на данном проводнике) совпадает со средней точкой (k-1)-го,
конечная (если он не последний на данном проводнике) - со средней точкой (k+1)-го:
,
. Если k-й сегмент является
первым (последним) на данном проводнике, то его начальная (конечная) точка
совпадает с началом (концом) проводника.
Точкам,
определяющим некоторый k-й сегмент,
сопоставляются 3 радиус-вектора
,
,
(начальная, средняя и
конечная точка, соответственно), а также радиус-вектор точки коллокации
- точки на
поверхности проводника, ближайшей к точке 
Прямолинейные
проводники разбиваются на сегменты равномерно. При этом длину сегмента следует
выбирать из условия:
, где (2.1)
a - радиус проводника.
При увеличении длины сегмента относительно указанных
пределов возрастает погрешность аппроксимации, при уменьшении ухудшается
обусловленность СЛАУ, в результате чего вычислительный алгоритм может оказаться
неустойчивым.
Для описания разветвлений проводников вводятся
дополнительные сегменты. При этом средняя точка дополнительного сегмента
совпадает с крайними точками соединяющихся проводников, а начальная и конечная
- со средними точками крайних (ближайших) сегментов на данных проводниках. При
этом во избежание появления линейно зависимых уравнений СЛАУ необходимо
соблюдение следующих правил:
- число компланарных проводников, соединяющихся в
одной точке, должно быть не более 3 (вводятся 2 дополнительных сегмента);
- число некомпланарных проводников,
соединяющихся в одной точке, должно быть не более 4 (вводятся 3 дополнительных
сегмента).
При необходимости описания электрического
соединения большего числа проводников, следует точки электрических контактов
разнести в пространстве на электрически малое расстояние, что несущественно для
электрических характеристик антенны.
При моделировании сплошной поверхности
проволочной сеткой дополнительные сегменты в узлах сетки не вводятся.
Зазоры активных вибраторов (к которым подводятся
питающие напряжения) также описываются сегментами. При этом средняя точ-ка сегмента
совпадает со средней точкой зазора, а начальная и конечная - со средними
точками крайних (ближайших) сегментов на примыкающих к зазору проводниках
(плечах вибратора).
Расчет матрицы СЛАУ
Матрица СЛАУ (расширенная) содержит квадратную
матрицу N×N (N - общее число сегментов в модели)
с элементами Kik
(i, k=1, 2, …N) и N-мерный столбец свободных членов Ei(i=1, 2, …N). Здесь i - номер строки матрицы
(номер точки коллокации), k
- номер столбца матрицы (номер сегмента).
Элемент квадратной матрицы Kik численно
равен взятой с обратным знаком тангенциальной составляющей электрического поля,
создаваемого k-м
сегментом с единичным током в средней точке i-го сегмента. Величина Kik определяется как сумма двух составляющих:
,где (2.2)
- составляющая,
соответствующая излучению отрезка 
- составляющая, соответствующая
излучению отрезка 
Составляющие
и
рассчитываются по
формуле:

,
;
- z-орт в цилиндрической
системе, связанной с i
- м сегментом;
- z-орт в цилиндрической
системе, связанной с отрезком
(знак «-») или
(знак «+» k-го сегмента;
- r-орт
в цилиндрической системе, связанный с отрезком
(знак «-») или
(знак «+») k-го сегмента;
- аппликата i-й точки коллокации в
цилиндрической системе, связанной с отрезком
(знак «-») или
(знак «+» k-го сегмента;
,
- значения функции
Грина для различных пар точек;
- расстояния
между i-й точкой
коллокации и крайними (начальной и конечной) точками k-го сегмента;
- расстояние
между i-й точкой
коллокации и средней точкой k-го
сегмента;
β=2π/λ - волновое число.
Свободные члены СЛАУ Ei определяются следующим
образом. Если i - я точка коллокации соответствует сегменту,
расположенному на проводнике, то Ei=0. Если i - я точка коллокации соответствует сегменту, расположенному
в зазоре активного вибратора, то в качестве Ei берется нормированная
величина входного напряжения. При этом, если антенна содержит один вибратор, то
нормированное входное напряжение полагается равным единице. Если же антенна
содержит два или более вибраторов (антенная решетка), для одного из вибраторов
нормированное входное напряжение полагается равным единице, а остальные входные
напряжения нормируются к фактической величине входного напряжения данного
вибратора.
Решение СЛАУ рекомендуется выполнять методом
оптимального исключения.
СЛАУ записывается следующим образом:
,i=1,
2,…N (2.4)
В
результате решения СЛАУ определяются коэффициенты разложения искомой токовой
функции I1, I2, ….IN Численно данные коэффициенты равны
токам в средних точках соответствующих сегментов при выбранной нормировке
входных напряжений (токов).
Для
выбора способа расчета уровней ЭМП вводятся дополнительные критерии.
При
R < Rгр уровень ЭМП
необходимо рассчитывать непосредственно но току антенны, а при R > Rгр по ДН, рассчитанной по току антенны или
паспортным ДН, где:
, где (2.5)
R - расстояние от
геометрического центра антенны до точки наблюдения (в которой определяется
уровень ЭМП);
Dтах - максимальный
размер антенны.
Если
сведения об устройстве (конструкции) антенны отсутствуют (т. е. не
представляется возможным построить электродинамическую модель и рассчитать ток
антенны), но известны ее паспортные ДН, расчет уровней ЭМП выполняется по
паспортным ДН. При этом, если R < Rгр полученные
значения напряженности поля (электрического и магнитного) необходимо умножить
на поправочный коэффициент р, график которого в зависимости от параметра
приведен на рис. 1.

Критерием
необходимости учета влияния металлоконструкций служит выполнение неравенства:
, где (2.6)
RM - расстояние от
точки наблюдения до ближайшей к ней точки на металлоконструкции.
D׀׀ - максимальный размер
металлоконструкции, измеренный по вертикали при вертикальной поляризации и по
горизонтали при горизонтальной поляризации;
D┴- максимальный
размер металлоконструкции, измеренный по горизонтали при вертикальной
поляризации и по вертикали при горизонтальной поляризации;
- коэффициенты, значения которых определяются по графикам на
рис. 2.

Влияние
подстилающей поверхности не учитывается в следующих случаях:
- точка наблюдения расположена ниже уровня подстилающей
поверхности (здесь имеются в виду поверхности ограниченных размеров, например,
крыши зданий);
-
высота центра антенны и высота точки наблюдения относительно подстилающей
поверхности в 10 и более раз превышает расстояние между центром антенны и точкой
наблюдения.
Излучаемая
мощность P определяется
следующим образом.
Для
антенно-фидерных устройств ЧМ вещания и базовых станций сухопутной подвижной
радиосвязи величина P определяется по
формуле:
, где (2.7)
Рном
- номинальная мощность передатчика;
- КПД фидера;
α
- погонное ослабление в фидере, дБ/м;
Lф - длина фидера;
Кс
- коэффициент стоячей волны напряжения на входе антенны.
Для
антенно-фидерных устройств телевидения диапазона УВЧ излучаемая мощность определяется
также по формуле (2.7), но при
этом Pном определяется по
формуле: Рнаы = 0327Pиз+Pзв, где Риз и Pзв - номинальные
мощности передатчиков изображения и звукового сопровождения, соответственно.
Для
антенно-фидерных устройств телевидения диапазона ОВЧ расчет уровней ЭМП
выполняется на двух частотах - на частоте несущей изображения и на частоте
несущей звукового сопровождения (телевизионная станция рассматривается как два
независимых передатчика). В обоих случаях излучаемая мощность определяется по формуле (2.7), при этом Рном
для частоты несущей изображения определяется по формуле Рном=0,327
Риз, а для частоты несущей звукового сопровождения величина Рном
берется равной Рзв
При отсутствии
влияющих металлоконструкций и подстилающей поверхности расчет уровней ЭМП
выполняется следующим образом.
Вектор
напряженности электрического поля
в точке наблюдения с радиус-вектором
определяется по формуле:
, где (2.8)
- поле, создаваемое
антенной в свободном пространстве;
- орты основной
декартовой системы координат;
- коэффициенты, которые определяются так же, как и элементы
матрицы СЛАУ Кik, с той лишь разницей,
что вместо точки коллокации берется точка наблюдения
, а вместо орта
, берутся орты
при вычислении
соответственно.
Декартовы
составляющие вектора напряженности электрического поля определяются по
формулам:
,
,
(2.9)
Среднее
квадратичное (эффективное) значение напряженности электрического поля Е определяется
по формуле:
, где (2.10)
qр - безразмерный
ренормировочный коэффициент, позволяющий получить значения поля,
соответствующие фактической мощности излучения (с учетом поглощения в среде под
подстилающей поверхностью).
Ренормировочный
коэффициент qр рассчитывается
по формуле:
, где (2.11)
, 
P - фактическая
мощность, излучаемая антенной;
-орт контура L;
- функция продольного распределения электрического поля на поверхностях
проводников антенны.
Значения
входящей в (2.11) функции
рассчитываются
по формуле (2.8), где в
качестве точки
берется точка на
поверхности проводника, ближайшая к точке на оси проводника с координатой l.
При
необходимости определения плотности потока энергии сначала определяются
декартовы составляющие вектора напряженности магнитного поля по формулам:
Hx=i(wm0)-1(¶Eg/¶z-¶Ez/¶g), где (2.12)
Hy=i(wm0)-1(¶Ez/¶x-¶Ex/¶z), где (2.13)
Hz=i(wm0)-1(¶Ex/¶y-¶Ey/¶x), где (2.14)
Частные производные по координатам в формулах
(2.12) - (2.14) находятся численно на основе конечно-разностной аппроксимации. При
этом конечные приращения по координатам должны быть значительно меньше длины
волны.
Плотность
потока энергии П, мкВт/см2 определяется по формуле:
(2.15)
При
наличии влияющих металлоконструкций и (или) подстилающей поверхности расчет уровней
ЭМП отличается только в части определения вектора напряженности электрического
поля.
При
наличии только влияющих металлоконструкций вектор напряженности
электрического поля в точке наблюдения
определяется
по формуле:
, где (2.16)
- поле, создаваемое
антенной в присутствии металлоконструкций;
- поле, создаваемое
антенной в свободном пространстве (рассчитывается по формуле (2.8));
- поле, создаваемое
токами, наведенными полем антенны на металлоконструкциях (при отсутствии
подстилающей поверхности).
Поле
рассчитывается по
току в проводниках металлоконструкций аналогично полю
, создаваемому антенной в свободном пространстве. Ток
в проводниках металлоконструкций рассчитывается аналогично тому, как
рассчитывается ток антенны (с представлением металлоконструкций в виде системы тонких
проводников, разбиением их на короткие сегменты и т. д., - см. п.
2.2), с той лишь разницей, что теперь иначе определяются свободные члены Ei СЛАУ (2.4). В данном случае в качестве
каждого i-го свободного
члена берется проекция вектора напряженности электрического поля антенны
на положительное
направление проводника металлоконструкции в i-й точке коллокации. При этом поле
рассчитывается
по формуле (2.8), где в
качестве точки
берется 1-я
точка коллокации (на проводнике металлоконструкции).
При
наличии только подстилающей поверхности вектор напряженности
электрического поля в точке наблюдения
определяется
по формуле:
, где (2.17)
- поле, создаваемое
антенной в присутствии подстилающей поверхности;
- поле, создаваемое
антенной в свободном пространстве (рассчитывается по формуле (2.8));
- поле,
возникающее из-за наличия подстилающей поверхности (поле, рассеянное
подстилающей поверхностью).
Поле
определяется по
формуле:
, где (2.18)
ω - круговая
частота, рад/с;
ε0 = 8,854 10-12
Ф/м - электрическая постоянная;
- поляризационный орт для k-го сегмента;
множитель, учитывающий направленность k-го сегмента;
- орт, указывающий
направление из средней точки зеркального изображения k-го сегмента относительно
плоскости подстилающей поверхности в точку наблюдения;
- радиус-векторы
соответственно начала, средней точки и конца зеркального изображения k-го сегмента относительно
плоскости подстилающей поверхности (при замене некоторой точки ее зеркальным изображением
абсцисса и ордината точки сохраняются, аппликата z заменяется на аппликату
где
zП - аппликата
подстилающей поверхности);
Гk - коэффициент отражения Френеля от
подстилающей поверхности для k-го сегмента.
Для
антенн вертикальной поляризации в качестве поляризационного орта
берется
единичный вектор, перпендикулярный вектору
и лежащий в
вертикальной плоскости таким образом, что его аппликата всегда отрицательна. Для
антенн горизонтальной поляризации в качестве поляризационного орта
берется единичный
вектор, перпендикулярный вектору
и лежащий в
горизонтальной плоскости таким образом, что его направление соответствует обходу
начала координат против часовой стрелки.
Для
антенн вертикальной поляризации коэффициент отражения Гk определяется по
формулам:
, (2.19)
,
, где (2.20)
μ,
ε- соответственно магнитная и диэлектрическая относительные
проницаемости среды под подстилающей поверхностью;
μ0= 1,25 7-10-6
Г/м - магнитная постоянная;
σ - удельная
проводимость среды под подстилающей поверхностью;
- орт оси аппликат
базовой системы координат (единичный вектор, направленный вертикально вверх, т.
е. перпендикулярно по отношению к подстилающей поверхности).
Для
антенн горизонтальной поляризации коэффициент отражения Гk определяется по
формуле:
, где (2.21)
W и Q определяются по формулам (2.20). При наличии как влияющих
металлоконструкций, так и подстилающей поверхности вектор напряженности
электрического поля в точке наблюдения
определяется
по формуле:
, где(2.22)
- поле,
создаваемое антенной в присутствии металлоконструкций и подстилающей
поверхности;
- поле, создаваемое
антенной в присутствии подстилающей поверхности (рассчитывается по формуле (2.17));
поле, создаваемое токами, наведенными полем антенны
на металлоконструкциях в присутствии подстилающей поверхности.
Поле
определяется в
основном аналогично тому, как определяется поле
(от тока
металлоконструкций при отсутствии подстилающей поверхности). Разница состоит в том,
что теперь учитывается влияние подстилающей поверхности как при расчете поля,
создаваемого током металлоконструкций, так и при определении значений поля
антенны в точках коллокации на проводниках металлоконструкций. Влияние
подстилающей поверхности учитывается так же, как при расчете поля
- по формуле (2.17)-(2.21).
При
отсутствии влияющих металлоконструкций и подстилающей поверхности расчет
уровней ЭМП выполняется следующим образом.
Сначала
по предварительно найденному току антенны рассчитывается ненормированная ДН как
комплекснозначная функция обеих угловых сферических координат. Затем по ней
определяются нормированные ДН в вертикальной и горизонтальной плоскостях, после
чего рассчитываются уровни ЭМП.
Ненормированная
ДН определяется по формуле:
, где (2.23)
θ,
φ – угловые сферические координаты (угол, отсчитываемый от
вертикали, и азимут, соответственно) в сферической системе, начало которой
совмещено с геометрическим центром антенны;
- орт направления
излучения.
Ненормированная
ДН в горизонтальной плоскости
определяется путем расчетов по формуле (2.23) при θ=π/2.
Ненормированная ДН в вертикальной плоскости
определяется путем
расчетов по формуле (2.23)
при азимуте, соответствующем максимуму ДН
Нормировка
ДН осуществляется путем деления значений ненормированных ДН на максимум ДН
.
Вектор
напряженности электрического поля определяется по формуле:
, где (2.24)
- поляризационный
орт (принимается равным соответствующим сферическим ортам - для антенн
вертикальной поляризации
, для антенн горизонтальной поляризации
);
P - излучаемая
мощность;
D - коэффициент
направленного действия при θ =90° и азимуте, соответствующем
максимуму ДН
;
K = 1,15 ... 1,3-множитель
ослабления;
нормированные ДН в вертикальной и горизонтальной
плоскостях, соответственно;
R - расстояние от
геометрического центра антенны до точки наблюдения.
Углы
θ и φ в формуле
(2.24) соответствуют направлению из геометрического центра антенны в точку
наблюдения.
КНД
рассчитывается по формуле:
(2.25)
Среднее
квадратичное (эффективное) значение напряженности электрического поля Е определяется
по формуле:
(2.26)
Плотность
потока энергии (ППЭ) П определяется по формуле:
, мкВт/см2 (2.27)
При
наличии влияющих металлоконструкций и (или) подстилающей поверхности расчет уровней ЭМП
отличается только в части определения вектора напряженности электрического
поля.
При
наличии только влияющих металлоконструкций вектор напряженности
электрического поля рассчитывается по формуле (2.16), где
определяется формуле
(2.24), а
определяется
так же, как и в п.
2.3.2 - по току в проводниках металлоконструкций с той лишь разницей, что
при расчете данного тока поле в точках коллокации (на проводниках
металлоконструкций) определяется по формуле (2.24) (с последующим определением проекции
вектора на положительное направление проводника металлоконструкции).
При
наличии только подстилающей поверхности вектор напряженности
электрического поля рассчитывается по формуле (2.17), где
определяется
по формуле (2.24), а
- по формуле:
, (2.28)
где
- поляризационный
орт, определяемый так же, как и в формуле
(2.24), но для зеркального изображения антенны относительно подстилающей
поверхности;
- угловые
сферические координаты точки наблюдения для зеркального изображения антенны (в
сферической системе, начало которой совмещено с геометрическим центром
зеркального изображения);
- расстояние от
геометрического центра зеркального изображения антенны до точки наблюдения;
Г - коэффициент
отражения Френеля для антенны в целом.
Коэффициент
отражения антенн вертикальной и горизонтальной поляризации определяется
соответственно по формулам:
, где (2.29)
W и Q определяются по формулам (2.20);
- орт оси аппликат
базовой системы координат;
- орт указывающий
направление из геометрического центра зеркального изображения антенны в точку
наблюдения.
При
наличии как влияющих металлоконструкций, так и подстилающей поверхности вектор
напряженности электрического поля определяется по формуле (2.22), где:
1)
определяется
аналогично тому, как это делается в случае наличия только подстилающей
поверхности - по формуле (2.17),
где
определяется по формуле (2.24), а
- по формуле (2.28);
2)
определяется
аналогично тому, как определяется эта величина в п.
2.3.2 - по
току в проводниках металлоконструкций с той лишь разницей, что поле в точках
коллокации на проводниках металлоконструкций определяется (с последующим
определением проекции вектора на положительное направление проводника
металлоконструкции) с учетом подстилающей поверхности так же, как это делается при
определении
.
Расчет
уровней ЭМП выполняется в основном так же, как в п.
2.3.3. Разница состоит в следующем:
1)
вместо ДН в вертикальной и горизонтальной плоскостях, рассчитанных по току
антенны, используются нормированные амплитудные паспортные ДН в
вертикальной и горизонтальной плоскостях -
и
соответственно; если
паспортные ДН не нормированы и даны в относительных единицах («в разах»), их
нормировка выполняется аналогично тому, как это делается в п.
2.3.3; если паспортные ДН даны в дБ (ДН вертикальной и горизонтальной
плоскостях-
и
, соответственно), то ДН
и
определяются по
формулам:
, где (2.30)
- максимальное
значение ДН 
2)
сферические координаты точки наблюдения (углы θ, φ
расстояние R) определяются не
относительно геометрического центра антенны (как в п.
2.3.3), а относительно точки, принимаемой за фазовый центр антенны (т.
е. сферические координаты определяются в сферической системе, начало которой
совмещено с указанной точкой); аналогичным образом определяются сферические
координаты для зеркального изображения антенны - в сферической системе, начало
которой совмещено с зеркальным изображением точки, принимаемой за фазовый центр
антенны;
3)
КНД также определяется по паспортным данным:
-
если задан КНД (D) в относительных
единицах, то в расчетах непосредственно используется заданное значение;
-
если задан КНД в дБ (D(дБ)), то в расчетах
используется КНД в относительных единицах, определяемый по формуле
(формула пересчета из
дБ в относительные единицы);
-
если задан коэффициент усиления (КУ) относительно изотропного излучателя, то
КНД принимается равным КУ (при необходимости с последующим пересчетом из дБ в
относительные единицы по вышеуказанной формуле);
-
если задан КУ относительно полуволнового вибратора в относительных единицах, то
используемое в расчетах значение КНД определяется как произведение заданного
значения КУ и коэффициента 1,64;
-
если задан КУ относительно полуволнового вибратора в дБ, то сначала
определяется КНД в дБ как величина, на 2,15 дБ превышающая КУ, а затем
выполняется пересчет КНД из дБ в относительные единицы по вышеуказанной
формуле.
Ниже
приводятся данные для определения положения точки, принимаемой за фазовый
центр, для основных типов антенн.
В
качестве точки, принимаемой за фазовый центр коллинеарной антенны, берется
точка, лежащая на вертикальной оси антенны на одинаковом удалении от нижнего и
верхнего ее концов.
Положение
точки, принимаемой за фазовый центр панельной антенны, определяется по рис. 3. Положение точки, принимаемой за
фазовый центр антенны типа Уда-Яги («волновой канал»), определяется по рис. 4. На этих рисунках ΔFH - ширина ДН (главного лепестка) по уровню
-3 дБ (уровень 0,707 для нормированной ДН в относительных единицах) в H-плоскости. Ширина ДН определяется в градусах. В качестве H-плоскости берется горизонтальная плоскость для антенн
вертикальной поляризации и вертикальная плоскость для антенн горизонтальной
поляризации.
Точка,
принимаемая за фазовый центр логопериодической антенны, находится на ее
продольной оси. Положение данной точки определяется смещением h по направлению максимального излучения,
так же как и для антенны Уда-Яги, - см. рис.
4. Величина h рассчитывается
по формуле:
, где (2.31)
;
L - длина
логопериодической антенны (вдоль продольной оси);
- соответственно
нижняя и верхняя граничные частоты рабочего диапазона логопериодической
антенны;
f- частота, для которой определяется
положение фазового центра
Следует
отметить, что при расчете уровней ЭМП без учета влияния металлоконструкций и
подстилающей поверхности находить положение точки, принимаемой за фазовый центр
не требуется. В этом случае, как и в п.
2.3.3 положение антенны можно характеризовать положением ее геометрического
центра.


Расчет
уровней ЭМП выполняется в основном так же, как в п.
2.3.3. Разница состоит в том, что иначе определяется ненормированная ДН как
функция обеих угловых сферических координат
которая в п.
2.3.3 рассчитывается по формуле
(2.23).
В
данном случае ДН
определяются следующим образом.
Каждый
k-й излучатель
характеризуется следующими параметрами:
-
координатами точки, принимаемой за фазовый центр,
(соответственно абсцисса, ордината и аппликата в базовой
декартовой системе координат);
-
ориентационным азимутом
- углом поворота
излучателя по азимуту относительно нулевого азимута в базовой системе
(направление нулевого азимута указывается осью абсцисс);
- паспортными
ДН в вертикальной и горизонтальной плоскостях -
и
, соответственно;
ДН должны быть определены в относительных единицах и нормированы - так же, как
в п.
2.3.4;
-
комплексной амплитудой нормированного входного напряжения Uk нормированные
входные напряжения излучателей определяются следующим образом: для одного из
излучателей нормированное входное напряжение полагается равным единице, а
остальные входные напряжения нормируются к фактической величине входного
напряжения данного излучателя.
ДН
рассчитывается по формуле:
(2.32)
Далее расчет ненормированных ДН в вертикальной и
горизонтальной плоскостях, нормировка ДН и расчет уровней ЭМП выполняются в
полном соответствии с п.
2.3.3.
Следует
отметить, что при использовании формулы
(2.32) необходимо выполнение следующих условий:
- все излучатели, образующие антенную решетку,
должны представлять собой антенны одного типа поляризации (либо вертикальной,
либо горизонтальной);
-
при построении антенной решетки излучатели могут поворачиваться только по
азимуту (вокруг вертикальной оси).
При
подготовке к проведению измерений проводятся следующие работы:
-
согласование с заинтересованными предприятиями и организациями цели, времени и
условий проведения измерений;
-
рекогносцировка района проведения измерений;
-
выбор трасс (маршрутов) и площадок измерений;
-
организация связи для обеспечения взаимодействия между персоналом станции и
группой измерений;
-
обеспечение измерений дальности до точки измерений;
-
определение необходимости использования средств индивидуальной защиты;
-
подготовка необходимой измерительной аппаратуры.
Число
трасс определяется рельефом прилегающей местности и целью измерений. При
установлении границ санитарно-защитной зоны (СЗЗ) выбирается несколько трасс,
определяемых по конфигурации теоретических границ СЗЗ и прилегающей селитебной
территории. При текущем санитарном надзоре, когда характеристики ПРТО и условия
его эксплуатации остаются неизменными, измерения могут проводиться по одной
характерной трассе или по границе СЗЗ.
При
выборе трасс учитывается характер прилегающей местности (рельеф, растительный
покров, застройка и пр.), в соответствии с которым район, прилегающий к ПРТО,
разбивается на секторы. В каждом секторе выбирается радиальная относительно
ПРТО трасса.
К
трассе предъявляются требования:
-
трасса должна быть открытой, а площадки, на которых намечается проведение
измерений, должны иметь прямую видимость на антенну излучающего средства и не
иметь в радиусе до 5 метров переотражающих конструкций. Если это требование
невыполнимо и на измерительной площадке находятся переотражающие конструкции,
то измерительную антенну следует располагать на расстоянии не менее 0,5 метра
от этих конструкций.
-
вдоль трассы, в пределах главного лепестка ДН, не должно быть переизлучателей
(металлических конструкций и сооружений, линий электропередачи и т. п.), а
также затеняющих препятствий;
-
наклон трассы должен быть минимальным по сравнению с наклоном всех возможных
трасс в данном секторе;
- трасса
должна быть доступной для пешего передвижения или для автотранспорта;
-
протяженность трассы определяется на
основе расчетного удаления границ СЗЗ и зон ограничения застройки, причем
измерения рекомендуется проводить в точках, близких к границе зоны, как внутри
зоны, так и вне ее.
На
каждой площадке необходимо проводить не менее трех независимых измерений. За
результат принимается среднее арифметическое значение этих измерений.
Для
измерения расстояний могут использоваться теодолит, мерная лента, план (карта)
местности и другие доступные средства, обеспечивающие достаточную точность.
Для
средств телевизионного вещания измерения должны проводиться как на несущей
частоте изображения, так и несущей частоте звукового сопровождения.
По
результатам измерений составляется протокол. Протоколы измерений уровней ЭМП
являются сведениями, подлежащими включению в санитарно-эпидемиологическое
заключение на ПРТО.
При
одновременной работе источников электромагнитного излучения радиочастотного
диапазона (ЭМИ РЧ), излучающих в диапазонах частот с разными гигиеническими
нормативами, измерения должны проводиться раздельно в каждом диапазоне частот.
Аппаратура,
используемая для измерений уровней ЭМП, должна быть исправной и иметь
действующее свидетельство о государственной поверке. Перечень рекомендуемых
приборов приведен в прилож.
2.
Подготовка
аппаратуры к измерениям и сам процесс измерений проводятся в соответствии с
инструкцией по эксплуатации применяемых приборов. При этом необходимо учитывать
тот факт, что измерения могут проводиться, как в ближней, так и дальней зоне
передающего радиотехнического средства. Критерием определения границы между
ближней и дальней зонами является соотношение (2.5) п.
2.3.1.
Измерение уровней ЭМП в дальней зоне селективными и широкополосными
приборами с антеннами направленного приема
Измерительная антенна прибора ориентируется в
пространстве в соответствии с поляризацией измеряемого сигнала. Измерения
проводятся в центре площадки на высоте от 0,5 до 2 м от уровня подстилающей поверхности
(земли). В этих пределах отыскивается высота, при которой значение измеряемой
величины (показание прибора) наибольшее. На этой высоте, плавно поворачивая
измерительную антенну в плоскости поляризации измеряемого сигнала, вновь
добиваются максимального показания прибора.
Измерение уровней ЭМП в дальней зоне широкополосными приборами с
антеннами ненаправленного приема
Измерения
проводятся на высоте от 0,5 до 2 м от уровня подстилающей поверхности (земли). В
этих пределах высот производится ориентация измерительной антенны на максимум
приёма. Максимум приёма соответствует максимальному показанию измерительного
прибора.
Измерение уровней ЭМП в ближней зоне селективными и
широкополосными приборами с антеннами направленного приема
В
ближней зоне необходимо проводить измерение трёх составляющих вектора
напряженности электрического поля каждой антенны ПРТО Ех, Еу,
Еz: путем
соответствующей ориентации измерительной антенны. Значение модуля вектора
напряженности поля рассчитывается по формуле:

Измерение уровней ЭМП в ближней зоне
широкополосными приборами с антеннами ненаправленного приема
Широкополосные
приборы с антеннами ненаправленного приема измеряют сразу модуль вектора напряженности
поля, поэтому достаточно провести ориентацию измерительной антенны на максимум
приема. Максимум приема соответствует максимальному показанию индикатора
измерительного прибора.
В
данном диапазоне частот производится измерение среднего квадратичного
(эффективного) значения напряженности электрического поля.
Измерения
должны проводиться селективными приборами (селективными микровольтметрами,
измерительными приемниками, анализаторами спектра) с антеннами направленного
приема или широкополосными измерителями напряженности поля.
В
случае применения селективных или широкополосных приборов с антеннами
направленного приема необходимо руководствоваться положениями п. 3.3.1 об измерениях уровней
ЭМП в ближней и дальней зонах.
При
измерении широкополосными приборами должно быть предусмотрено последовательное
включение технических средств ПРТО одного частотного диапазона (27-30 МГц) и
отключение - другого (30-48,4 МГц), работающих в данном направлении или
оказывающих влияние на суммарное значение напряженности поля в данной точке, и
наоборот.
В
данном диапазоне частот производится измерение среднего квадратичного
(эффективного) значения напряженности электрического поля. Измерения
напряжённости поля технических средств телевидения и ЧМ-вещания должны
проводиться только селективными приборами (селективными микровольтметрами,
измерительными приемниками, анализаторами спектра) с антеннами направленного
приема. Измерение напряженности поля каждого технического средства телевидения
должно проводиться в режиме измерения эффективных значений на несущих частотах
каналов изображения и звукового сопровождения.
Измерения
селективными приборами с антеннами направленного приема проводятся в
соответствии с положениями п.
3.3.1.
Измерения
напряженности поля других технических средств указанного диапазона могут проводиться,
как селективными приборами с антеннами направленного приема, так и
широкополосными приборами с любым типом антенн. При этом следует учесть, что
измерения широкополосными приборами должны проводиться при выключенных
технических средствах телевидения и ЧМ-вещания.
В
данном диапазоне частот производится измерение плотности потока энергии ППЭ
ЭМП. Измерения проводятся широкополосными измерителями ППЭ или селективными
измерителями напряженности поля.
В
ближней зоне измерения проводятся только широкополосными измерителями ППЭ в
соответствии с положением п.
3.3.1. В дальней зоне измерения проводятся, как широкополосными
измерителями ППЭ, так и селективными приборами с антеннами направленного
приема. Измерения проводятся в соответствии с положениями п. 3.3.1.
Значение
напряженности электрического поля, измеренное селективным прибором в дальней
зоне, пересчитывается в ППЭ по формуле:
мкВт/см2 (3.2)
E - значение
напряжённости электрического поля в В/м.
В
случае использования селективного прибора с измерительными рупорными антеннами,
необходимо руководствоваться следующими правилами. Произвести ориентацию
рупорной антенны в направлении максимума излучения. Поворачивая рупорную
антенну вдоль своей оси добиться максимального показания уровня измеряемого
сигнала по шкале (экрану) измерительного прибора. Затем показания прибора нужно
пересчитать в микроватты. Окончательное значение ППЭ, мкВт/см2
получается из формулы 3.3:
где (3.3)
Р
- показания измерительного прибора, мкВт;
Kз - затухание,
вносимое переходными волноводными устройствами рупорной антенны и соединительным
коаксиальным кабелем, в разах;
S - эффективная поверхность рупорной
антенны, см
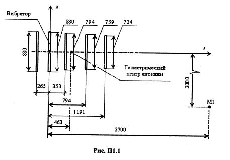
Пример 1
Исходные данные. Техническое средство - 5-ти элементная антенна
Уда-Яги («волновой канал»). Геометрические размеры антенны и ее положение в
пространстве (в базовой декартовой системе координат) показаны на рис. П1.1
(здесь и на рисунках, приводимых далее, линейные размеры даны в мм). Диаметры
проводников равны 9 мм. Мощность, излучаемая антенной, 100 Вт; частота 170 МГц
(длина волны λ=1,765 м). Требуется рассчитать уровень ЭМП,
создаваемого антенной в точке М1 с координатами: х = 2,7 м, у =
0, z = -3 м.
Учитывать влияние металлоконструкций и подстилающей поверхности не требуется.

Выполнение
расчетов
1)
В данном диапазоне частот, согласно действующим нормам, нормируется
напряженность электрического поля Е, В/м. Поэтому уровень ЭМП
характеризуется величиной Е, которую и требуется рассчитать.
2)
В соответствии с п. 2.3.1.
устанавливается, как выполнять расчет - непосредственно по току антенны или по
ее ДН. По формуле (2.5) имеем Rгр= 4,892 м (в
данном случае D = 1,662 м - расстояние между
нижней точкой крайнего левого проводника и верхней точкой крайнего правого
проводника). Расстояние от геометрического центра антенны до точки М1 равно
3,742 м, т. е. оно меньше Rгр. Поэтому расчет
уровней ЭМП выполняется непосредственно по току антенны.
3)
По методике, изложенной в п. 2.2, выполняется
расчет тока антенны. При этом (на этапе построения электродинамической модели)
вводится следующее число сегментов на проводниках: на крайнем левом - 39; на
вибраторе - 40 (с учетом двух сегментов в зазоре); на проводниках справа от
вибратора (последовательно слева направо) -35, 33, 32. Длины сегментов
удовлетворяют неравенству (2.1).
4)
По методике, изложенной в п.
2.3.2, рассчитывается напряженность электрического поля в точке М1. По формулам (2.8), (2.9) определяются компоненты
вектора
:

По формуле (2.11) определяется
ренормировочный коэффициент:
= 225,3. По формуле (2.10) окончательно находится напряженность
электрического поля при фактической излучаемой мощности: Е= 11,2 В/м.
Пример 2
Исходные данные. Техническое средство - антенна,
аналогичная рассмотренной в примере 1
(в смысле размеров и расположения в пространстве), при той же мощности
излучения и частоте. Требуется рассчитать уровень ЭМП, создаваемого антенной в
точке М1 с координатами: х = 2,7м, y= 0, z = -3м (та же
точка, что и в примере 1). При этом
необходимо учесть влияние металлоконструкции, представляющей собой вертикально
ориентированный круглоцилиндрический проводник (см. рис. П1.2). Диаметр металлоконструкции 100 мм;
координаты нижнего ее конца х = 3 м, у = 0, z = -5 м; координаты верхнего конца х
= 3 м, у = 0, z =-1 м. Учитывать
влияние подстилающей поверхности не требуется.
Выполнение расчетов
1)
В данном диапазоне частот, согласно действующим нормам, нормируется
напряженность электрического поля Е, В/м. Поэтому уровень ЭМП
характеризуется величиной Е, которую и требуется рассчитать.
2)
Поскольку расстояние до точки наблюдения (точка М1) и максимальный размер
антенны D соотносятся так
же, как и в примере 1, расчет Е выполняется
непосредственно по току антенны.
3)
Расчет тока антенны выполняется аналогично тому, как это сделано в примере 1.
4)
Расчет напряженности электрического поля выполняется по методике, изложенной в п.
2.3.2. При расчете тока, наведенного на металлоконструкции на последней
вводится 181 сегмент. Расчетные компоненты вектора
:

Напряженность
электрического поля при фактической излучаемой мощности Е = 19,3
В/м (ренормировочный коэффициент
- тот же, что и в примере 1).

Пример 3
Исходные данные. Техническое средство - антенна,
аналогичная рассмотренной в примере 1,
при той же мощности излучения и частоте. Требуется рассчитать уровень ЭМП, создаваемого
антенной в точке М1 с координатами: х = 2,7 м, у = 0, z = -3 м (та же точка, что и в примере 1). При этом необходимо учесть влияние
подстилающей поверхности, расположенной в плоскости z =-5 м (см. рис. П1.3). Параметры среды под подстилающей
поверхностью: относительная магнитная проницаемость μ = 1;
относительная диэлектрическая проницаемость ε = 15; удельная
проводимость σ = 0,015 Ом/м. Учитывать влияние металлоконструкций
не требуется.

Выполнение расчетов
1)
В данном диапазоне частот, согласно действующим нормам, нормируется
напряженность электрического поля Е, В/м. Поэтому уровень ЭМП
характеризуется величиной Е, которую и требуется рассчитать.
2)
Поскольку расстояние до точки наблюдения (точка М1) и максимальный размер
антенны D соотносятся так
же, как и в примере 1, расчет Е выполняется
непосредственно по току антенны.
3)
Расчет тока антенны выполняется аналогично тому, как это сделано в примере 1.
4)
Расчет напряженности электрического поля выполняется по методике, изложенной в п.
2.3.2. Составляющая поля
возникающее из-за
наличия подстилающей поверхности, определяется по формуле (2.18), результирующий вектор
- по формуле
(2.17). Расчетные компоненты вектора
:

Напряженность
электрического поля при фактической излучаемой мощности Е = 9,1 В/м.
Пример
4
Исходные данные. Техническое средство - антенна,
аналогичная рассмотренной в примере 1,
при той же мощности излучения и частоте. Требуется рассчитать уровень ЭМП,
создаваемого антенной в точке М1 с координатами: х = 2,7 м, у =
0, z = -3 м (та же
точка, что и в примере 1). При этом
необходимо учесть влияние металлоконструкции и подстилающей поверхности.
Параметры металлоконструкции - те же, что в примере
2, параметры подстилающей поверхности - те же, что в примере 3.
Выполнение расчетов
1)
В данном диапазоне частот, согласно действующим нормам, нормируется напряженность
электрического поля Е, В/м. Поэтому уровень ЭМП характеризуется
величиной Е, которую и требуется рассчитать.
2)
Поскольку расстояние до точки наблюдения (точка М1) и максимальный размер
антенны D соотносятся так
же, как и в примере 1, расчет Е выполняется
непосредственно по току антенны.
3)
Расчет тока антенны выполняется аналогично тому, как это сделано в примере 1.
4)
Расчет напряженности электрического поля выполняется по методике, изложенной в п.
2.3.2. Вектор
рассчитывается
по формуле (2.22). Расчетные
компоненты вектора
:

Напряженность
электрического поля при фактической излучаемой мощности Е = 62,1 В/м.
Пример 5
Исходные
данные. Техническое средство - антенна, аналогичная рассмотренной в примере 1, при той же мощности излучения
и частоте. Требуется рассчитать уровень ЭМП, создаваемого антенной в точке М1 с
координатами: х = 10 м, у = 5 м, z = -3 м (см. рис.
П1.4). Учитывать влияние металлоконструкций и подстилающей поверхности не
требуется.
Выполнение расчетов
1)
В данном диапазоне частот, согласно действующим нормам, нормируется напряженность
электрического поля Е, В/м. Поэтому уровень ЭМП характеризуется
величиной Е, которую и требуется рассчитать.
В
соответствии с п. 2.3.1. устанавливается,
как выполнять расчет - непосредственно по току антенны или по ее ДН. По формуле (2.5) имеем Rгр = 4,892 м (как и в
примере 1). Расстояние от геометрического
центра антенны до точки М1 равно 9,998 м, т. е. оно превышает Rгр. Поэтому расчет Е
выполняется по ДН антенны. При этом ДН определяется по току антенны.
2)
Расчет тока антенны выполняется аналогично тому, как это сделано в примере 1.
3)
Расчет напряженности электрического поля выполняется по методике, изложенной в п.
2.3.3. Угловые сферические координаты точки наблюдения М1: θ =
107°; φ = 28° (см. рис.
П1.4). Расстояние от геометрического центра антенны до точки наблюдения М1 R = 11,178 м. Ненормированная ДН определяется по формуле (2.23),
вектор Е - по
формуле (2.24). Расчетная
нормированная ДН в вертикальной плоскости приведена на рис. П1.5(а), расчетная
нормированная ДН в горизонтальной плоскости - на рис. П1.5(б); там же штриховыми линиями показаны направления
на точку наблюдения М1. Значения нормированных ДН в направлении на точку М1:
FВ(107°) = 0,85; FГ(28°) = 0,81.
Расчетный КНД антенны (формула
(2.25)) D = 11,3. Напряженность
электрического поля в точке наблюдения М1 (формуле (2.24), (2.26)) Е = 13,0 В/м.
Пример 6
Исходные данные. Техническое средство - антенна,
аналогичная рассмотренной в примере 1,
при той же мощности излучения и частоте. Требуется рассчитать уровень ЭМП,
создаваемого антенной в точке М1 с координатами: х = 10 м, у = 5,
z = -3 м (та же точка, что и примере 5). При этом необходимо учесть
влияние подстилающей поверхности, расположенной в плоскости х = -5 м
(см. рис. П1.6). Параметры среды
под подстилающей поверхностью - те же, что и в примере 3. Учитывать влияние металлоконструкций не
требуется.
Выполнение расчетов
1)
В данном диапазоне частот, согласно действующим нормам, нормируется напряженность
электрического поля Е, В/м. Поэтому уровень ЭМП характеризуется
величиной Е, которую и требуется рассчитать.
2)
Поскольку расстояние до точки наблюдения и максимальный размер антенны D соотносятся так же, как и в примере 5, расчет Е выполняется
непосредственно по ДН антенны, которая, в свою очередь, определяется по току
антенны.
3)
Расчет тока и ДН антенны выполняется аналогично тому, как это сделано в примере 5.
4)
Расчет напряженности электрического поля выполняется по методике, изложенной в п.
2.3.3. Вектор напряженности электрического поля определяется по формуле (2.17), где первое
слагаемое рассчитывается так же, как и вектор Е в примере 5, а второе слагаемое (составляющая поля
возникающая из-за
наличия подстилающей поверхности) - по формуле (2.28). Угловые сферические координаты точки
наблюдения М1 для зеркального изображения антенны: θ(з)=
73°; φ(з) = 28°. Расстояние от геометрического
центра зеркального изображения антенны до точки М1 R(з) = 12,843 м. Значения нормированных ДН в
направлении на точку М1 для зеркального изображения антенны: FB(73°) =
0,85; FГ (28°) = 0,81.
Напряженность электрического поля в точке наблюдения М1 Е = 14,95 В/м.



Пример
7
Исходные данные. Техническое средство - антенна Уда-Яги,
заданная своими паспортными ДН. Паспортная ДН в вертикальной плоскости
приведена на рис. П1.7(а),
паспортная ДН в горизонтальной плоскости - на рис. П1.7(б). Антенна расположена так, что ее
геометрический центр совмещен с началом координат, и ориентирована максимумом излучения
по направлению оси абсцисс (ориентация - такая же как в примерах 1-6).
Задан КНД антенны в относительных единицах: D = 27,1. Мощность излучения равна 100 Вт, частота - 900 МГц.
Максимальный линейный размер антенны 1160 мм. Требуется рассчитать уровень ЭМП,
создаваемого антенной в точке М1 с координатами: х = 5 м, у = 0, z = -3 м. Учитывать влияние металлоконструкций и
подстилающей поверхности не требуется.
Выполнение расчетов
1)
Поскольку в данном диапазоне частот, согласно действующим нормам, нормируется
плотность потока энергии П, мкВт/см , необходимо ее рассчитать.
В
соответствии с п. 2.3.1.
устанавливается необходимость введения поправочного коэффициента р, определяемого
по графику, приведенному на рис. 1.
По формуле (2.5) имеем Rгр = 12,622 м. При
этом расстояние от геометрического центра антенны до точки М1 равно 5,831 м, т.
е. оно не превышает Rгр Поэтому
необходимо ввести поправочный коэффициент. С учетом того, что α =
1,7, имеем (по графику на рис. 1) р
= 1,05.
2)
Расчет напряженности электрического поля выполняется по методике, изложенной в п.
2.3.4. Поскольку влияние металлоконструкций и подстилающей поверхности
учитывать не требуется, нет необходимости определять фазовый центр антенны, и
можно считать, что она представляет собой точечный излучатель, расположенный в
геометрическом центре антенны (т. е. в начале координат). Угловые сферические
координаты точки наблюдения М1: θ = 121°; φ = 0°.
Расстояние от геометрического центра антенны до точки М1 R = 5,831 м. Значения нормированных ДН в
направлении на точку
. Напряженность электрического поля в точке наблюдения М1 Е
= 2,96 В/м (с учетом поправочного коэффициента р - 1,05). По формуле (2.27) определяем ППЭ:
П = 2,32 мкВт/см2 .
3)
По формуле (2.27) имеем: П
- 2,32 мкВт/см2.

|
Тип
|
Наименование
|
Рабочий диапазон частот
|
Погрешность
|
|
ESN
|
Измерительный приемник
|
от 9 кГц до 1000 МГц
|
1,0 дБ
|
|
SMV-8
|
Селективный микровольтметр
|
от 30 кГц до 1000 МГц
|
1,0 дБ
|
|
НР8563Е
|
Анализатор спектра
|
от 9 кГц до 26,5 ГГц
|
2,0 дБ
|
|
С4-60
|
Анализатор спектра
|
от 10 МГц до 39,6 ГГц
|
2,0 дБ
|
|
С4-85
|
Анализатор спектра
|
от 100 Гц до 39,6 ГГц
|
2,0 дБ
|
|
ОРТ
|
Антенна дипольная
|
от 0,15 МГц до 30 МГц
|
2,0 дБ
|
|
DР1
|
Антенна дипольная
|
от 26 МГц до 300 МГц
|
2,0 дБ
|
|
DР3
|
Антенна дипольная
|
от 300 МГц до 1000 МГц
|
2,0 дБ
|
|
П6-31
|
Рупорная антенна
|
от 0,3 ГГц до 2,0 ГГц
|
± 16 %
|
|
НР11966Е
|
Рупорная антенна
|
от 1 до 18 ГГц
|
1,5 дБ
|
|
НZ-11
|
Комплект измерительных антенн
|
от 100 кГц до 2 ГГц
|
1,5 дБ
|
|
NFМ-1
|
Измеритель ближнего поля
|
от 60 кГц до 350 МГц
|
± 20 %
|
|
П3-22
|
Измеритель ближнего поля
|
от 0,01 до 300 МГц
|
± 2,5дБ
|
|
П3-15/16/17
|
Измерители напряженности поля
|
от 1,0 МГц до 300 МГц
|
± 3,0 дБ
|
|
ИПМ-101
|
Измеритель ближнего поля
|
от 0,03 до 1200 МГц
|
+ 20 - 40 %
|
|
ЕМR-20/30
|
Измерители напряженности поля
|
от 0,1 до 3000 МГц
|
+ 3,0 дБ
|
|
П3-18/19/20
|
Измерители плотности потока энергии
|
от 0,3 до 39,65 ГГц
|
±3,0 дБ
|
|
П3-30
|
Измерители плотности потока энергии
|
от 0,3 до 40 ГГц
|
±2,5 дБ
|
Могут
быть использованы также другие приборы с аналогичными характеристиками,
приведенными в данной таблице.
Программная реализация приведенных в настоящих
методических указаниях методик расчета уровней электромагнитного поля,
создаваемого антенно-фидерными устройствами телевидения, ЧМ вещания и базовыми
станциями сухопутной подвижной радиосвязи в местах размещения средств и
объектов ОВЧ и УВЧ диапазонов, осуществлена в Программном комплексе анализа
электромагнитной обстановки (ПК АЭМО версия 3.0.3), разработанном специалистами
ФГУП СОНИИР совместно с ЗАО «СМАРТС»
За
более подробной информацией о возможностях данного программного комплекса
обращаться по адресу: 443011, г. Самара, ул. Советской Армии, 217, т. (8462)
16-18-26, факс (8462) 16-15-11, Е-mail: mspd@soniir.samara.ru, fdv@soniir.samara.ru
ДН
- диаграмма направленности
ЗОЗ
- зона ограничения застройки
ПДУ
- предельно допустимый уровень
ППЭ
- плотность потока энергии
ПРТО
- передающий радиотехнический объект
СЗЗ
- санитарно-защитная зона
ЭМП
- электромагнитное поле