Крупнейшая бесплатная информационно-справочная система онлайн доступа к полному собранию технических нормативно-правовых актов РФ. Огромная база технических нормативов (более 150 тысяч документов) и полное собрание национальных стандартов, аутентичное официальной базе Госстандарта. GOSTRF.com - это более 1 Терабайта бесплатной технической информации для всех пользователей интернета. Все электронные копии представленных здесь документов могут распространяться без каких-либо ограничений. Поощряется распространение информации с этого сайта на любых других ресурсах. Каждый человек имеет право на неограниченный доступ к этим документам! Каждый человек имеет право на знание требований, изложенных в данных нормативно-правовых актах!

  


 

ВСЕСОЮЗНЫЙ НАУЧНО-ИССЛЕДОВАТЕЛЬСКИЙ ИНСТИТУТ

ТРАНСПОРТНОГО СТРОИТЕЛЬСТВА

 

МЕТОДИЧЕСКИЕ РЕКОМЕНДАЦИИ

ПО ГИДРАВЛИЧЕСКОМУ РАСЧЕТУ

МЕТАЛЛИЧЕСКИХ ГОФРИРОВАННЫХ ТРУБ

 

Москва 1979

СОДЕРЖАНИЕ

ПРЕДИСЛОВИЕ

1. ОБЩЕ ПОЛОЖЕНИЯ

2. ОПРЕДЕЛЕНИЕ ПРОПУСКНОЙ СПОСОБНОСТИ ТРУБ

"Длинные" и "короткие" Трубы. Учет влияния нижнего бьефа

Режимы протекания потока

Безнапорные и полунапорные трубы

Напорные и частично-напорные трубы

Глубины и скорости потока на выходе из труб

Особенности расчета многоочковых и многоярусных труб

3. РАСЧЕТ НИЖНЕГО БЬЕФА ТРУБ В РАВНИННЫХ УСЛОВИЯХ

Типы выходных русел

Выходные русла с укреплениями из каменной наброски

Выходные русла с укреплениями из каменной наброски и бетонных блоков

4. ОСОБЕННОСТИ РАСЧЕТА РАЗМЫВА И НАЗНАЧЕНИЯ РАЗМЕРА УКРЕПЛЕНИЙ ЗА КОСОГОРНЫМИ ТРУБАМИ

Основные положения

Укладка труб с уклоном лога при укреплениях из крупных бетонных блоков

Отвод воды по укреплённому откосу насыпи и берме

Отвод воды на берму и откос насыпи, отсыпанной из камня

Сброс потока в лотки, уложенные на откосе насыпи

Приложение ПРИМЕРЫ РАСЧЕТОВ

Примеры назначения отверстий и определения пропускной способности круглых гофрированных труб.

Примеры расчета нижних бьефов труб.

 

ПРЕДИСЛОВИЕ

Широкое распространение в практике транспортного строительства металлических гофрированных труб, обладающих существенно большей шероховатостью, чем технически гладкие, вызвало необходимость выполнения ряда расчетов, учитывающих особенности их гидравлической работы: возможность работы гофрированных труб с любыми типами оголовков в напорном или частично-напорном режимах, ограничение (по условиям прочности конструкции) предельного уклона укладки труб (lпр=0,05), целесообразность применения многоярусных труб и др.

Настоящие Методические рекомендации предназначены для определения пропускной способности одноочковых и многоочковых металлических гофрированных труб и расчета их нижних бьефов.

Методические рекомендации рассмотрены и одобрены Ленгипротрансмостом, Мосгипротрансом и Союздорпроектом и рекомендованы Главтранспроектом для использования в проектной практике при выполнении гидравлических расчетов металлических гофрированных водопропускных труб на железных и автомобильных дорогах.

Методические рекомендации разработаны на основе экспериментальных и теоретических исследований в лаборатории мостовой гидравлики и гидрологии отделения изысканий и проектирования, железных дорог ЦНИИСа канд. техн. наук Г.Я. Волченковым при участии канд. техн. наук В.И. Алтунина (МГМИ) и инженеров Н.Б. Невской (ЦНИИС) и А.А. Александрова. (Мосгипротранс) под общим руководством канд. техн. наук В.В.Невского.

Зам. директора института                           И.Б.СОКОЛОВ

Руководитель отделения изысканий и

проектирования железных дорог                  A.M.КОЗЛОВ

1. ОБЩЕ ПОЛОЖЕНИЯ

1.1. Согласно настоящим методический рекомендациям рассчитываются металлические гофрированные трубы с наиболее распространенным в отечественной практике типом гофра 130 ×32 мм. С некоторым приближением могут выполняться также расчеты труб с другими типами гофров.

1.2. В работе даются рекомендации по выполнению гидравлических расчетов, характерных для гофрированных труб. Гидравлические расчеты, общие для всех типов водопропускных труб, в ней не приводятся, а излагается лишь последовательность таких расчетов, и в необходимых случаях даются ссылки на источник, где можно найти отсутствующие в настоящих Методических рекомендациях виды расчетов.

1.3. Гофрированные трубы отличаются от "гладких" в гидравлическом отношений существенно большими критическими уклонами, величина которых при безнапорном режиме достигает 0,02-0,03. Для обеспечения максимальной водопропускной способности уклоны гофрированных труб должны быть не меньше указанных значений и в крайнем случае не меньше 0,01.

В каждом конкретном случае предварительно устанавливается критический уклон сооружения iк. Учитывая критический уклон сооружения и уклон местности, назначают уклон трубы iт с соблюдением условия

iтiк

(1)

В случае несоблюдения условия (1) пропускная способность трубы понижается, причем при iт≥0,01 этим можно пренебречь, при iт<0,01 реальная пропускная способность сооружения должна устанавливаться в соответствии с "Руководством по гидравлическим расчетам малых искусственных сооружений" (М., Транспорт, 1974), а с некоторым приближением - настоящими методическими рекомендациями.

1.4. Пропускная способность труб согласно данным Методическим рекомендациям определяется исходя из условий входа равнинного типа, при котором перед сооружением образуется емкость, характеризующаяся подпертой глубиной. При этом поток поступает в трубу в спокойном состоянии.

Вход указанного типа имеют все водопропускные трубы без подходных быстротоков, подводящих поток к сооружению в бурном состоянии.

Для труб, имеющих на входе быстротоки, проверяют возможность входа потока в трубу в бурном состоянии. Порядок расчета приводится в "руководстве по гидравлическим расчетам малых искусственник сооружений".

Если в результате расчета окажется, что имеет место вход равнинного типа, то гидравлические расчеты производят согласно настоящим Методический рекомендациям, как для равнинных труб. В противном случае грубы по условиям входа являются косогорными и их гидравлические расчеты производят в соответствии с требованиями "Руководства по гидравлическим расчетам малых искусственных сооружений".

1.5. Настоящими Методическими рекомендациями предусматривается выполнение гидравлических расчетов в двух вариантах: при наличии гладкого лотка и при его отсутствии.

1.6. Рекомендации даются для гофрированных труб без оголовков со срезом перпендикулярно оси трубы, с оголовком, срезанным параллельно откосу, с оголовком тине "капюшон" и раструбным с углом раструбности d=20° (рис. 1).

2. ОПРЕДЕЛЕНИЕ ПРОПУСКНОЙ СПОСОБНОСТИ ТРУБ

"Длинные" и "короткие" Трубы. Учет влияния нижнего бьефа

2.1. Трубы, на пропускную способность которых при безнапорном и полунапорном режимах оказывает влияние их длина, называют "длинными" в гидравлическом отношении. У "коротких" это влияние отсутствует.

2.2. "Короткими" считаются трубы, для которых соблюдается условие

iтiк

Рис. 1. Типы оголовков труб:

а - трубе без оголовка со срезом перпендикулярно оси грубы; б - то же со срезом параллельно откосу; в - оголовок типа "капюшон"; г - раструбный оголовок

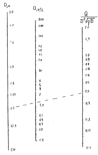
2,3. Критический уклон для наиболее распространенных отверстий труб с гладкими лотками диаметром 1,5 или 2,0 м определяют по графику рис. 2 в функции параметра расхода

 

где Q-

расход в сооружении;

D-

диаметр трубы;

g-

ускорение силы тяжести.

Для остальных отверстий критический уклон вычисляют по формуле

(2)

где iк(гр) и Dгp соответственно критический уклон и диаметр трубы, представленной на рис. 2. Это может быть D=1,5 или 2,0 м.

Рис. 2. График для определения критического уклона iк для круглых гофрированных, труб с гладкими лотками (nгв=0 0,022):

1 - D=1,5 м; 2 - D=2,0 м

При iт<iк c некоторым приближением "короткими" можно считать трубы при соблюдении, критерия относительной длины

где lт - Длина трубы.

2.4. Приводимые ниже в настоящей главе зависимости для определения пропускной способности труб при безнапорном и полунапорном режимах относятся к "коротким" трубам.

2.5. Глубины на входе и подпертые глубины перед "длинными" трубами определяют по формулам, полученным из аналогичных зависимостей для гладких труб, приведенных в ''Руководстве по гидравлическим расчетам малых искусственных сооружений", с введением в них корректива для учета повышенной шероховатости гофрированных труб:

(3,а)

(3,б)

соответственно относительная глубина на входе и относительная подпертая глубина для "коротких" труб;

n=0,015 и nгофр-

коэффициенты шероховатости соответственно для гладких и гофрированных труб.

2.6, При значительной бытовой глубине водотока происходит затопление труб со стороны нижнего бьефа, что также снижает их пропускную способность.

С некоторым приближением можно считать, что критерии затопления труб со стороны нижнего бьефа, полученные для гладких труб, сохраняются и для гофрированных, т.е. незатопленными будут трубы при соблюдении условий

hнб≥1,25hк  и  hнб≥1,1hт

(4)

где hнб-

глубина в нижнем бьефе над низшей точкой дна трубы в выходном сечении;

hк-

критическая глубина в трубе;

hт-

высота трубы.

Критическую глубину в круглых трубах определяют по графику (рис. 3).

Более точно учет затопления производится согласно "Руководству по гидравлическим расчетам малых искусственных сооружений".

Рис. 3. График для определения критической глубины в круглых трубах

Режимы протекания потока

2.7. Рассчитывают следующие режимы работы гофрированных труб:

безнапорный, когда входное сечение не затоплено и на всем протяжении трубы поток имеет свободную поверхность (рис. 4,а);

полунапорный, когда входное сечение трубы затоплено, т.е. на входе труба работает полным сечением, а на остальном протяжении поток имеет свободную поверхность (см. рис. 4,б);

частично-напорный режим, когда входное сечение трубы затоплено и на какой-то части, примыкающей к входу, труба работает полным сечением (см. рис. 4,в);

напорный режим, когда труба на воем своем протяжении работает полным сечением (см. рис. 4,г).

2.8. Безнапорный режим протекания в трубах сохраняется до полного затопления входного сечения, что характеризуется условием

 

где h вх -

глубина на входе в трубу;

D-

диаметр входного сечения, считая по впадинам гофра (наименьший диаметр)

Рис. 4. Режимы протекания потока в трубе:

а - безнапорный; б - полунапорный; в - частично-напорный; г - напорный;

hвх, hвых, hс - соответственно глубины на входе в трубу, на выходе из нее и сжатая

2.9. Возможность существования безнапорного режима и заполнение трубы на входе в "короткие" трубы определяют по графику (рис. 5), на котором приведена зависимость относительной глубины потока на входе в трубу  от параметра расхода  Этот же график позволяет по заданному заполнения установить соответствующую ему величину расхода.

Рис. 5. График для определения глубины потока на входе в трубу при различных типах оголовков:

1 - оголовок типа "капюшон"; 2 - труба без оголовка с вертикальным срезом; 3 - раструбный оголовок (d=20°); 4 - оголовок со срезом параллельно откосу насыпи.

Рис. 6. Номограмма для определения безразмерного параметра расхода для круглых труб

Параметр расхода может быть определен по номограмме (рис .6).

2.10. При  и  в трубе возникает напорный режим протекания потока.

2.11. При  и  в трубе с оголовками всех типов возможен полунапорный или частично-напорный режим. В этом случае режим протекания определяют в такой последовательности:

1. Вычисляют подпертую глубину перед трубой H при полунапорном режиме (см. п. 2.16).

2. Находят относительную граничную подпертую глубину потока , соответствующую верхней границе полунапорного режима (началу возникновения частично-напорного режима), по формуле

(5)

относительная граничная подпертая глубина для труб без гладких лотков, определяемая по графику (рис. 7) в зависимости от относительной длины трубы  и ее уклона iт;

Kδ-

коэффициент увеличения относительной граничной подпертой глубины в трубах с гладкими лотками, который вычисляется по формуле

(6)

здесь δ-

доля, занимаемая гофрированной поверхностью в поперечном сечении трубы (вся поверхность за вычетом части ее, занимаемой гладким лотком, отнесенная ко всей поверхности);

m-

показатель степени.

При 0,01≤iт≤0,05

 

(7)

Рис. 7. График для определения относительной граничной подпертой глубины  для гофрированной трубы без гладкого лотка при разных ее уклонах

Коэффициент Kδ можно также определить по графику (рис. 8).

3. Сравнивают относительную подпертую глубину  с относительной граничной подпертой глубиной  и устанавливают режимы протекания потока:

при  полунапорный

при  частично-напорный.

Рис. 8. График для определения коэффициента Kδ

2.12. В трубах с оголовками типа "капюшон" при  и  возникает полунапорный режим, при  и  - частично-напорный.

2.13. После установления режима проникания выполняют расчеты пропускной способности труб, в результате которых устанавливают;

а) по расходу в сооружении - заполнении на входе; подпертую глубину перед трубой, по которой назначают возвышение бровки полотна; скорость на выходе для назначения типа укрепления;

б) по заданной подпертой глубине - расход в сооружении.

Безнапорные и полунапорные трубы

2.14. Подпертую глубину перед безнапорными трубами определяют по формуле

(8)

где m-

коэффициент расхода, определяемый по табл. 1 в зависимости от типа входного оголовка;

bk-

средняя ширина потока при критической глубине, определяемая по табл. 2.

Таблица 1

Тип оголовка

Коэффициент расхода m

Без оголовка (вертикальный срез)

0,33

Срезанный параллельно откосу

0,33

"Капюшон"

0,33

Раструбный (d=20°)

0,365

2.15. При несовершенном сжатии потока на входе в трубу (ширина по подпертому уровню высоких вод ПУВВ перед входом в трубу менее шести ее отверстий) коэффициент расхода определяют по формуле

(9)

где mтабл.

значение коэффициента, расхода по табл. 1;

Ω-

площадь поперечного сечений Потока в подводящем русле;

ωп-

площадь поперечного сеченая трубы до отмотки подпертого уровня.

2.16. Подпертую глубину перед гофрированными трубами при полунапорном режиме определяют по формуле

(10)

где ωсоор-

площадь поперечного сечения трубы;

μп и εп-

площадь поперечного сечений Потока в подводящем русле;

ωп-

соответственно коэффициент расхода и коэффициент сжатия в определяющем сечении при полунапорном режиме, вычисляемые по табл. 3

Таблица 2

bk при диаметрах груб D, м

1,0

1,25

1,5

2,0

3,0

5,0

0,02

0,49

0,49

0,61

0,73

0,98

1,47

2,45

0,03

0,52

0,52

0,65

0,78

1,04

1,56

2,60

0,04

0,57

0,57

0,71

0,85

1,14

1,71

2,85

0,05

0,59

0,59

0,73

0,88

1,18

1,77

2,95

0,06

0,62

0,62

0,78

0,93

1,24

1,86

3,10

0,07

0,63

0,63

0,78

0,94

1,26

1,89

3,15

0,08

0,64

0,64

0,80

0,96

1,28

1,92

3,20

0,09

0,66

0,66

0,82

0,99

1,32

1,98

3,30

0,10

0,67

0,67

0,83

1,00

1,34

2,01

3,35

0,12

0,69

0,69

0,86

1,03

1,38

2,07

3,45

0,14

0,72

0,72

0,90

1,08

1,44

2,16

3,60

0,16

0,74

0,74

0,92

1,10

1,47

2,20

3,68

0,18

0,76

0,76

0,94

1,13

1,51

2,26

3,78

0,20

0,77

0,77

0,96

1,15

1,34

2,31

3,85

0,25

0,79

0,79

0,99

1,18

1,58

2,37

3,95

0,30

0,81

0,81

1,01

1,21

1,62

2,43

4,05

0,35

0,32

0,32

1,02

1,23

1,64

2,46

4,10

0,40

0,83

0,83

1,03

1,24

1,66

2,49

4,15

0,45

0,84

0,84

1,04

1,25

1,67

2,50

4,18

0,50

0,84

0,84

1,05

1,26

1,68

2,52

4,20

0,55

0,84

0,84

1,05

1,26

1,68

2,52

4,20

0,60

0,84

0,34

1,05

1,26

1,68

2,52

4,20

0,65

0,84

0,84

1,05

1,26

1,68

2,52

4,20

0,70

0,83

0,83

1,03

1,24

1,66

2,49

4,15

Таблица 3

Тип оголовка

μп

εп

ζвх

Без оголовка (о вертикальным срезом)

0,56

0,63

0,70

Срезанный параллельно откосу насыпи

0,52

0,53

1,10

"Капюшон"

0,55

0,64

1,10

Раструбный (d=20°)

0,65

0,64

0,35

Напорные и частично-напорные трубы

2.17. Подпертую глубину перед гофрированными трубами при напорном режиме определят по формуле

(11)

где ηн-

коэффициент, учитывающий характер распределения давления в определяющем сечении при напорном режиме, принимаемый равным ηн=0,5;

μн-

коэффициент расхода при напорном режиме, определяемый по формуле

(12)

здесь ζвх-

коэффициент сопротивления на вход, принимаемый по табл. 3;

ζвых-

коэффициент сопротивления на выход;

λ-

коэффициент гидравлических сопротивлений по длине, определяемый по формуле

(13)

гидравлический радиус при полном заполнении трубы.

Коэффициент шероховатости nгофр для труб с принятым в нашей стране гофром при отсутствии в трубе покрытия (гладкого лотка) составляет около 0,03, при наличии лотка, покрывающего 1/4-1/3 внутренней поверхности трубы, - 0,025.

В общем случае при гладком лотке, покрывающем любую часть поперечного сечения трубы, коэффициент шероховатости можно определить по формуле

(14)

где и хгофр-

части поперечного сечения трубы, покрытые соответственно гладким лотком и гофрированной поверхностью;

и nгофр-

коэффициенты шероховатости соответственно для гладкого лотка (n=0,015) и гофрированной поверхности (nгофр=0,03).

При распространенном в практике типе поперечного сечения гофрированной трубы с гладким лотком на 1/3 части периметра сечения коэффициент расхода μн можно определить по графику (рис. 9).

При затоплении входа вместо  в формулу (11) подставляют глубину воды в нижнем бьефе.

Рис. 9. График для определения коэффициента расхода μн гофрированных труб с гладким лотком на 1/3 периметра поперечного сечения трубы

2.18. Подпертую глубину перед трубами при частично-напорном режиме определяют по формуле (11), принимая ηн по графику (рис. 10) в зависимости от параметра расхода. При этом в качестве расчетной длины трубы принимают

(15)

где l0-

расстояние от конца трубы до створа, где труба работает полным сечением; l0 определяют по параметру расхода  с помощью графика (рис. 11)

Рис. 10. График зависимости

2.19. Проверяют возможность сохранения частично-напорного режима.

В трубах с оголовками всех типов, кроме типа "капюшон", частично-напорный режим сохраняется при соблюдении условия Н≥1,4D. В противном случае труба "разряжается", и в ней возникает полунапорный режим. При этом подпертую глубину определяют по формуле (10);

Рис. 11. График для определения l0

В трубах с оголовком типа "капюшон" возможен переход частично-напорного режима в его особую форму. Для установления возможности и сохранения частично-напорного режима в этом случае подпертую глубину H сравнивают c H', вычисляемой по формуле

(16)

При Н>Н' частично-напорный режим сохраняется, и дальнейшего пересчета подпертой глубины H, определяемой по формуле (11), не требуется.

При Н<H' наблюдается особая форма частично-напорного режима, и в качестве искомой подпертой глубины принимают H'.

2.20. Для определения расчетной подпертой глубины перед трубами с оголовками всех типов, кроме типа "капюшон", сравнивают подпертую глубину Н с граничной Нг, определяемой по формуле (5). При H>Hг в качестве расчетной глубины принимают Н, при H<Hг - глубину Нг. Для труб с оголовками типа "капюшон" сравнивают подпертую глубину, принятую в п. 2.19 для дальнейших расчетов, с подпертой глубиной H" , определяемой по формуле (16) при

При H>Н" в качестве расчетной глубины принимают H, при Н<H" - глубину H".

2.21. Для безоголовочных труб с гладкими лотками, расположенными на 1/3 (или 1/4) периметра поперечного сечения сооружения, в целях упрощения вычислений рекомендуется пользоваться графиками, приведенными на рис. 12 и 13. На графиках зависимости Н=f(Q) при частично-напорном и напорном режимах соответствуют уклону iт=0,01λ. При иных уклонах в значения Н для указанных режимов вводятся поправки по формуле

(17)

Подпертая глубина в этом случае равна

(18)

где Hграф-

подпертая глубина, определяемая по графикам (см. рис. 12 и 13).

В зависимости Н=f(Q) даны на графиках для разных длин и отверстий труб. Они пересечены кривыми, соответствующими различным уклонам труб. Точки пересечения их соответствуют минимальным значениям расхода и подпертой глубины H, при которых труба, уложенная с данным уклоном, работает в частично-напорном режиме. При меньших значениях Q и Н в трубе имеет место безнапорный или полунапорный режим протекания, при которых пропускная способность труб не зависит от их уклона.

На указанных графиках зависимости Н=f(Q) для полунапорного режима выше кривой iт=0,01 (пояснения см. ниже) изображены пунктиром.

Рис. 12. Зависимости Н=f(Q) для трубы D=1,5 м при iт=0,01

Рис. 13. Зависимости Н=f(Q) для трубы D=2,0 м при iт=0,01

Порядок пользования графиком следующий.

На графике, соответствующем принятому отверстию трубы, находят кривую Н=f(Q) для заданной длины трубы lт. На этой кривой по величине расхода находят подпертую глубину H.

Интерполируя кривые, пересекающие зависимости Н=f(Q), находят уклон для кривой, проходящей через точку, соответствующую заданному расходу (подпертой глубине Н).

Сравнивая фактический уклон трубы с уклоном указанной кривой iг, устанавливают возможность возникновения частично-напорного (или напорного) режима в трубе.

При iт<iг в трубе возникает частично-напорный (напорный) режим, при iт>iг - полунапорный.

При частично-напорном (напорном) режиме в полученное по графику значение Нграф вводят поправку ΔН согласно формуле (17).

Сравнивая установленное значение Н с 1,4D, определяют возможность существования частично-напорного режима.

При H1,4D частично-напорный режим сохраняется, и полученное значение Н принимается к дальнейшему расчету. При Н<1,4D возникает полунапорный режим, и H определяют по зависимости Н=f(Q) для данного режима трубы заданной длины.

В качестве расчетной подпертой глубины перед трубами, работающими в частично-напорном режиме, принимают большее из значений H и Hг.

Hг на графиках (см. рис. 12 и 13) определяют следующим образом:

находят точку пересечения зависимости Н=f(Q) для трубы заданной длины с линией заданного уклона (при отсутствии на графике линии соответствующего уклона ее положение определяют интерполяцией);

через полученную точку проводят линию, параллельную оси ординат, и доводят ее до пересечения с пунктирной линией для трубы заданной длины; ордината этой точки и будет искомой граничной глубиной Нг.

При полунапорном режиме подпертую глубину определяют непосредственно по зависимости Н=f(Q) для данного режима (на графиках, она изображена пунктиром).

Глубины и скорости потока на выходе из труб

2.22. Глубины потока на выходе из гофрированных труб hвых (в том числе и с гладкими лотками) при 0,01≤iт0,05 и параметрах расхода  определяют по следующим формулам, (при iт,%):

при

(19)

при

(20)

при  труба на выходе заполнена, и глубины в выходном сечении равны диаметру трубы, т.е. hвых=D.

Для упрощения расчетов можно пользоваться графиком (рис. 14).

2.23. Скорости потока на выходе из труб Vвых определяют из выражения (при iт,%):

(21)

или по графику (рис. 15).

При скорости потока на выходе из труб определяют по формуле

(22)

Особенности расчета многоочковых и многоярусных труб

2.24. Пропускную способность гофрированных многоочковых и многоярусных труб при условии их раздвижки на величину не менее 0,25D определяют как сумму отдельно работающих одноочковых труб.

Рис.14. График для определения глубин потока на выходе из труб при разных уклонах

Рис. 15. График для определения скоростей потока на выходе из труб при разных уклонах.

2.25. Расчет многоочковых труб аналогичен расчету одноочковых, при этом расход каждой трубы принимают равный , где nт - число труб.

2.26. Многоярусные трубы целесообразно устраивать без оголовка. Расчет многоярусных труб (рис. 16) начинают с определения подпертой глубины перед трубой в предположении, что весь расход приходит через трубы нижнего яруса. Для этого весь расход делят на число труб нижнего яруса и производят расчет отдельной трубы согласно рекомендациям для одноочковых труб, изложенный выше. Установив подпертую глубину перед трубой, ее сравнивают с расстоянием между лотками труб первого и второго ярусов. Если она меньше указанного расстояния, второй ярус не работает, и расчет на атом заканчивают, принимая в качестве искомой полученную подпертую глубину:

В противном случае расчет продолжают, для чего строят зависимости Н=f(Q) в такой последовательности.

1. Задают ряд расходов в трубах верхнего яруса и для каждого из них определяют подпертые глубины, пользуясь рекомендациями для одноочковых труб. При этом расход отдельной трубы определяют путем делений общего расхода на число труб nт.

2. Устанавливают подпертые уровни перед многоярусной трубой при пропуске каждого из заданных расходов путем прибавления к отметке лотка труб верхнего яруса соответствующих подпертых глубин.

3. Определяют подпертые глубины перед трубами всех нижерасположенных ярусов, вычитая из отметок подпертых уровней для каждого из заданных расходов, пропускаемых трубами верхнего яруса, отметки их лотков.

4. Устанавливают режимы протекания в трубах каждого из ярусов, определяя относительные подпертые глубины перед ними  при пропуске заданных расходов в трубах верхнего яруса и сравнивая их с относительными граничными напорами, которые вычисляются согласно рекомендациям для одноочковых труб.

При в трубах данного яруса возникает полунапорный режим, при  - частично-напорный или напорный.

Рис.16. Схема многоярусной трубы

5. Для полунапорного режима  определяют расходы, пропускаемые трубой соответствующего яруса по формуле (10).

При  определяют расходы труб каждого яруса по формуле (11) при ηн=0,75 и находят параметры расхода  (nт - число труб в данном ярусе).

При  режим напорный и расход должен быть пересчитан по формуле (10) при ηн=0,5

При  по графику (см. рис. 10) определяют ηн и вновь вычисляют расход по формуле (7) с подученный значением ηн. Если он отличается от исходного на более чем на 3%, расчет заканчивают, в противном случае расчет продолжают до указанной точности.

6. Проверяют возможность сохранения частично-напорного режима согласно рекомендациям п. 2.19.

7. Определяют расчетные подпертые глубины перед трубами в соответствии с рекомендациями п. 2.20.

8. Определяют расходы всех труб данного яруса по формуле

(23)

где Qn - расход отдельной трубы данного яруса.

9. Для каждого из расходов, пропускаемых верхним ярусом, определяют полный расход многоярусной трубы путем сложения расходов всех ярусов при соответствующем подпертом уровне.

По указанным данным строятся зависимости Н=f(Q) для труб каждого из ярусов и всей трубы в целом, причем подпертые глубины для труб всех ярусов считают от отметки лотков труб данного яруса.

10. По зависимости Н=f(Q) для многоярусной трубы находят по известному расходу подпертую глубину перед трубой, а затем скорости на выходе из труб. К расчету принимают скорости на выходе из труб нижнего яруса.

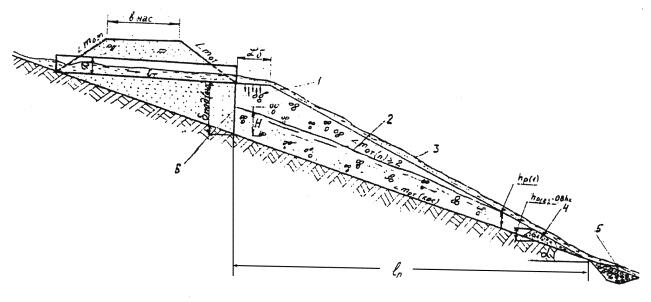
3. РАСЧЕТ НИЖНЕГО БЬЕФА ТРУБ В РАВНИННЫХ УСЛОВИЯХ

Типы выходных русел

3.1. Согласно рекомендациям, изложенным в настоящей главе, рассчитывают нижние бьефы труб, уложенных с уклонами iт≤0,03.

3.2. Расчет нижнего бьефа труб заключается в определении скоростей потока на укреплении, выборе типов выходных русел, под которыми понимается комплекс устройств, находящихся за выходными оголовками, определении глубин размыва за укреплениями и назначении их размеров.

3.3. Рекомендуются выходные русла следующих типов:

для районов расположенных вне зоны вечной мерзлоты, укрепления из бетонных плит или небольших блоков, завершаемые предохранительным откосом с каменной рисбермой согласно типовому проекту укреплений (инв.№ 937); обязательным условием для применения укреплений данного типа является устойчивость основания, поэтому их можно назвать недеформируемыми;

для районов вечной мерзлоты - укрепления из каменной наброски, используемые для скоростей потока на выходе из труб до 3,5 м/с, и укрепления, сочетающие наброску с бетонными блоками, для скоростей от 3,5 м/с до 5,5 м/с; укрепление этого типа сохраняет свои защитные свойства даже при деформации основания и его можно назвать деформируемым.

3.4. В настоящей главе изложены рекомендации по расчету нижних бьефов труб, выходные русла которых имеют укрепления из каменной наброски или каменной наброски и не связанных между собой бетонных блоков. Расчет нижних бьефов гофрированных труб при недеформируемых укреплениях (плитных блочных или в виде каменного мощения) в равнинных условиях не отличается от расчета труб других типов, и его выполняют в соответствии с рекомендациями "Руководства по гидравлическим расчетам малых искусственных сооружений". Размеры укреплений принимают по "Типовому проекту укреплений русел и откосов насыпей у водопропускных труб" (инв.№ 937), 1972.

Выходные русла с укреплениями из каменной наброски

3.5. При расчете выходных русел с укреплениями из каменной наброски исходят из конструкции, приведенной на рис. 17.

Рис.17. Схема выходных русел с укреплением из каменной наброски

Длину укрепления из наброски принимают равной £min=(1,5÷2)Dэ, где  - эквивалентный диаметр грубы.

Толщину укрепления назначают δ=75÷80 см, исходя из глубины заложения трех слоев камня размером d=25÷30 см. В конце укрепления устраивается рисберма из камней тех же размеров, что и укрепление.

Глубину размыва, глубину заложения рисбермы hук, объем камня в ней Wk и ширину укрепления определяют расчетом.

3.6. Расчет глубины разрыва за трубами выполняют в такой последовательности.

1. Определяют предельную глубину размыва в грунте, слагающем русло:

(24)

где δм-

масштабный коэффициент, значения которого приведены в табл. 4.

Таблица 4

Dэ, м

δм

Dэ, м

δм

1,0

0,85

3,0

0,79

1,25

0,83

4,0

0,77

1,50

0,82

5,0

0,76

2,0

0,81

6,0

0,75

 

ψ-

коэффициент, учитывающий тип заделки; для укреплений из каменной неброски ψ=0,6, для сочетания ее с блоками ψ=1,0;

 м3/с - эталонный расход;

b-

отверстие сооружения; для круглых одноочковых труб принимается равным диаметру сооружения, для многоочковых - сумме отверстий очков, для многоярусных труб - сумме отверстии труб нижнего яруса;

bр-

ширина сечения в конце выходного оголовка;

d-

расчетный диаметр частиц грунта;

Dэ-

эквивалентный диаметр; для одноочковой трубы ;Dэ=D, т.е. диаметру трубы; для многоочковых и многоярусных труб

(25)

здесь nт(1)nт(2)… nт(n),D1, D2…Dn-

соответственно число труб и диаметр их от первого до n-го яруса

Расчетный диаметр частиц d (в мм) вычисляется по формулам:

для несвязного грунта

(26)

где di-

средний диаметр частиц отдельной фракции;

Pi-

весовая доля фракции, %;

для связного грунта

(27)

где Ср-

расчетное оцепление грунта, тс/м2, определяемое по данным анализа грунтов.

2. Определяют максимальную глубину размыва (в м) в грунте русла по формуле

(28)

где η-

доля предельной глубины размыва за данное время; с некоторым приближением для несвязных грунтов можно принять η=0,6, для связных - η=0,75.

3. Определяют максимальную глубину размыва (в м) в руслах с каменной наброской

(29)

где dн-

средний диаметр частиц каменной наброски:

-

объем каменной наброски на единицу ширины укрепления, м3/м;

А-

коэффициент; в выходных руслах с каменной наброской А=0,5; при наличии бетонных блоков А=0,13.

При определении объема наброски в рисберме  следует исходить из условия, что глубина размыва Δhmax(н) равна глубине заложения рисбермы, обрушение рисбермы происходит с откосом 1:2, а низовой откос имеет крутизну 1:1,5. При этом если глубина заложения рисбермы hук, в форме поперечного сечения треугольная, то . Глубину заложения рисбермы находят из уравнения

(30)

где  и

3.7. Расчет размеров укреплений в плане выполняют следующим образом:

длину укрепления назначают £=(1,5÷2,0)Dэ;

ширину укрепления у подошвы насыпи принимают равной ширине оголовка на выходе с запасом 1,5 м в каждую сторону;

ширину укрепления в остальной его части определяют, учитывая ширину растекания (на всей длине укрепления, кроме концевой части) и ширину воронки размыва (в концевой части укрепления).

Ширину растекания (в м) вычислят по формуле

(31)

где x-

расстояние от конца оголовка до рассматриваемого створа;

(32)

Минимальную ширину укрепления (в м) в конце его определяют по формуле

(33)

где K-

коэффициент, определяемый по графику (рис.18).

Рис. 18. График для определения коэффициента K

Выходные русла с укреплениями из каменной наброски и бетонных блоков

3.8. Укрепления этого типа (рис. 19) состоят из не связанных между собой блоков размером 1,0×1,0×0,4 м, расположенных на ширине растекания потока и каменной наброски, укладываемой в водоворотной зоне и концевой части.

Размеры блоков, приведенных к шару, определяют по формуле

(34)

где dн-

диаметр элемента, приведенного к шару, м.

Укрепление из бетонных блоков устраивают однослойным. Исключение составляет лишь концевая часть, где число рядов блоков по вертикали определяется глубиной размыва. Блоки укладывают на каменную наброску, глубина заложения которой на всей ширине укрепления равна 75-80 см (соответствует толщине трех слоев наброски).

Концевой часть укрепления выполняется в виде вертикальной стенки, состоящей в плане из одного ряда бетонных блоков. Число рядов блоков по вертикали зависит от глубины вероятного размыва. Суммарная высота блоков не должна быть меньше этой глубины.

Рис. 19. Схема выходных русел с укреплением из бетонных блоков:

1 - каменная рисберма; 2 - каменная наброска (dн=25÷30 см); 3 - бетонные блоки.

За стенкой сооружается рисберма трапецеидальной формы глубиной hукhmax(н).

Расчет размыва в выходных руслах этого типа можно выполнять в соответствии с рекомендациями, изложенными в п. 3.6, введя в них некоторые коррективы. В формуле (29) коэффициент А=0,13, в формуле (30) коэффициент , а коэффициент M принимается тот же, что и при расчете выходных русел с укреплениями из одной наброски.

В соответствии с изложенными рекомендациями были определены размеры укреплений в выходных руслах указанных типов. В табл. 5 приведены основные размеры укреплений из каменной наброски и соответствующие им предельные значения расчетных Qр и наибольших Qmax расходов при скорости течения на выходе из труб Vвых≤3,5 м/с. В табл. 6 приведены размеры укреплений из бетонных блоков каменной наброски при Vвых≤5,5 м/с.

Таблица 5

Отверстие

Расход, м3

длина укрепления, м

Ширина укрепления, м

Глубина заложения концевой части укрепления hук, м

D, м

число очков

Qp

Qmax

£

l

B1

Bmin

1,5

1

1,5

-

2,25

2,80

4,5

6,0

0,80

1,8

-

2,80

6,7

0,80

2,2

-

2,80

6,9

0,80

-

3,0

2,80

7,8

0,80

-

3,7

2,80

8,3

0,80

2

2,6

-

3,2

2,80

6,0

8,2

0,80

3,6

-

2,80

8,8

0,80

4,4

-

2,80

9,0

0,80

-

6,0

2,80

9,9

0,80

-

7,4

2,80

10,3

0,80

3

3,9

-

3,9

2,80

7,5

9,9

0,80

5,4

-

2,80

10,2

0,80

6,6

-

2,80

11,1

0,80

-

9,0

2,80

11,5

0,80

-

11,1

3,00

12,1

0,85

2,0

1

2,7

-

3,0

2,80

5,0

8,5

0,80

4,5

-

2,80

9,5

0,80

-

6,0

3,00

10,6

0,85

-

7,5

3,30

11,2

0,95

2

5,4

-

4,2

2,80

7,0

11,3

0,80

9,0

-

2,80

12,4

0,80

-

12,0

3,30

13,6

0,95

-

15,0

3,70

14,2

1,05

3

8,1

-

5,2

2,80

9,0

13,4

0,80

13,5

-

3,00

14,8

0,85

-

18,0

3,70

15,8

1,05

-

22,5

4,00

16,5

1,15

3,0

1

3,5

-

4,5

2,80

6,0

11,5

0,80

6,7

-

2,80

12,4

0,80

-

10,0

3,00

13,5

0,85

-

16,9

3,70

16,0

1,05

2

7,0

-

6,3

2,80

9,0

15,8

0,80

12,4

-

2,80

16,3

0,80

-

20,0

3,15

17,8

0,90

-

33,8

4,00

20,0

1,15

3

10,5

-

7,8

2,80

12,0

18,4

0,80

20,1

-

3,00

20,1

0,65

-

30,0

3,50

20,9

1,00

-

50,7

4,75

24,1

1,35

Таблица 6

Отверстие

Расход, м3

Размеры укрепления в плане, м

Концевая часть укрепления

Объем камня в рисберме на 1 м ширины укрепления , м3

D, м

число очков

длина, м

ширина

Глубина заложения укрепления, м

число рядов блоков

B1

Bmin

1,5

1

3,0

3,0

5,0

9,0

0,80

2

1,12

4,0

3,0

5,0

10,0

0,80

2

1,12

5,0

3,0

5,0

11,0

0,80

2

1,12

6,0

3,0

5,0

11,0

0,80

2

1,12

2

6,0

3,0

8,0

10,0

0,80

2

1,12

8,0

3,0

8,0

14,0

0,80

2

1,12

10,0

3,0

8,0

12,0

0,80

2

1,12

12,0

3,0

8,0

13,0

0,80

2

1,12

3

9,0

4,0

10,5

14,0

0,80

2

1,12

12,0

4,0

10,5

15,0

0,80

2

1,12

15,0

4,0

10,5

15,0

0,80

2

1,12

18,0

4,0

10,5

16,0

0,80

2

1,12

2,0

1

4,0

3,0

5,0

10,0

1,20

2

1,12

6,0

3,0

5,0

12,0

1,20

2

1,12

8,0

3,0

5,0

12,0

1,20

2

1,12

10,0

3,0

5,0

14,0

1,20

2

2,52

12,0

3,0

5,0

15,0

1,20

3

2,52

2

8,0

4,0

8,5

14,0

1,20

2

1,12

12,0

4,0

8,5

16,0

1,20

2

1,12

16,0

4,0

8,5

17,0

1,20

2

2,52

20,0

4,0

8,5

18,0

1,20

3

2,52

24,0

4,0

8,5

19,0

1,20

3

2,52

3

12,0

5,0

12,0

19,0

1,60

2

1,12

18,0

5,0

12,0

22,0

1,60

2

1,12

24,0

5,0

12,0

24,0

1,60

3

2,52

30,0

5,0

12,0

26,0

1,60

4

4,48

36,0

5,0

12,0

28,0

1,60

4

4,45

4. ОСОБЕННОСТИ РАСЧЕТА РАЗМЫВА И НАЗНАЧЕНИЯ РАЗМЕРА УКРЕПЛЕНИЙ ЗА КОСОГОРНЫМИ ТРУБАМИ

Основные положения

4.1. Возможны следующие принципиальные варианты укладки гофрированных труб на косогорах.

1. Укладка гофрированных труб с уклоном лога. Этот вариант возможен при уклонах местности i≤0,05 (предельный уклон укладки гофрированных труб по условиям прочности). В зависимости от применяемых типов укреплений возможны два подварианта:

трубы с типовыми конструкциями укреплений для недеформируемых оснований;

трубы с укреплениями из специальных блоков (предложение Мосгипротранса) - для деформируемых оснований.

2. Укладка труб непосредственно в теле насыпи на насыпной грунт (трубы на подсыпке). Этот вариант имеет подварианты, отличающиеся условиями сброса потока в нижний бьеф:

сброс потока непосредственно на откос насыпи (рис. 20 а, б), при этом насыпь может сыть из камня или иметь укрепленные откосы;

сброс потока по лоткам, уложенным на откосе; для этой цели могут быть использованы элементы металлических гофрированных труб (см. рис. 20,в);

консольный сброс (см. рис. 20,г); поток сбрасывается по лотку, уложенному на специальных опорах, за пределы подошвы насыпи на расстояние, при котором возникающий размыв не угрожает устойчивости сооружения.

3. Шахтный сброс (рис. 21), при котором на входе в трубу устраивается вертикальная шахта, сопрягающаяся с трубой, заглубленной в лог.

4.2. Каждый из указанных вариантов может отличаться условиями входа.

Рис. 20. Типы укладки гофрированных косогорных труб на насыпной грунт в теле насыпи;

1 - укрепленный откос; 2 - рисберма; 3 - каменная отсыпка; 4 - лоток: 5 - консольный сброс; 6 - воронка размыва

Конструкции входа в косогорные гофрированные трубы не имеют принципиальных отличий от железобетонных и бетонных труб, и их гидравлические расчеты выполняют в соответствии с "Типовым проектом унифицированных косогорных водопропускных труб" (инв.№ 538) и "Руководством по гидравлическим расчетам малых искусственных сооружений".

Рис. 21. Гофрированная косогорная труба с шахтным сбросом:

1 - шахтный сброс; 2 - рисберма

4.3. В настоящих Методических рекомендациях приводится методы расчета  нижних бьефов труб, уложенных на подсыпке в теле насыпи при сбросе воды непосредственно на подсыпку или специальные лотки, расположенные на откосе, а также методы расчета нижних бьефов труб, уложенных непосредственно в логе при укреплениях из крупных блоков.

Расчет  нижних  бьефов косогорных сооружений, уложенных непосредственно в логе при применяемых в настоящее время конструкциях выходных русел, а также при сбросе воды консольными или шахтными сбросами, производят в соответствии с "Руководством по гидравлическим расчетам малых искусственных сооружении".

4.4. В качестве лотков целесообразно использовать элементы гофрированных труб ближайшего большого диаметра по отношению к отверстию водопропускной трубы.

Лоток укладывается непосредственно за выходным сечением трубы. Берма в насыпи при лотковом сопряжении не устраивается.

4.5. Расчет нижних бьефов труб, уложенных на подсыпке, производится в зависимости от условий отвода воды с откоса применительно к соответствующему типу отвода.

Укладка труб с уклоном лога при укреплениях из крупных бетонных блоков

4.6. Выходные русла этого типа применяют при деформируемых основаниях. Они имеют две конструктивные разновидности:

с укреплением боковых отколов котлована, в котором укладывается укрепление (рис. 22); без их укрепления (рис. 23).

4.7. Размеры выходных русел данного типа определяют согласно "Руководству по гидравлическим расчетам малых искусственных сооружений" (гл. VI), учитывай некоторые особенности (см. рис, 22 и 23):

длина укрепления принимается равной £=0 (наклонная часть укрепления считается как предохранительный откос);

коэффициент ψ=1,0 (имеется предохранительный откос);

максимальная глубина размыва и соответствующая ей минимальная ширина укрепления определяются в створе, проходящем через конец блоков;

слой камня в рисберме принимается равными δрсб=0,7Δh1,

где Δh1- расстояние по вертикали от подошвы укрепления до точки пересечения откосов рисбермы и косогора (см. рис. 22 и 23);

ширина рисбермы по дну равна Δhmax(н);

часть плоскости откоса за пределами ширины растекания укрепляется каменной наброской.

Рис. 22. Схема выходных русел из бетонных блоков и каменной наброски на косогорах при укреплении откосов котлована

Рис. 23. Схема выходных русел из бетонных блоков и каменной наброски на косогорах без укрепления откосов котлована

Отвод воды по укреплённому откосу насыпи и берме

4.8. Назначают коэффициент заложения низового откоса mот. По условиям устойчивости откоса с учетом воздействия на него потока целесообразно принимать mот=2

4.9. Определяют глубины и скорости потока на выходе из трубы согласно рекомендациям пп. 2.22 и 2.25.

4.10. Определяют минимальный размер бермы вдоль потока по формуле, полученной из уравнения свободного падения тела:

(35)

где 1,2-

коэффициент запаса.

4.11. По скорости V=1,3Vвых (учитывается увеличение скорости на берме за счет растекания) определяют тип укрепления согласно "Руководству по гидравлическим расчетам малых искусственных сооружений" (табл. П-6, стр.28).

4.12. Определяют ширину растекания потока на берме по формуле (эта ширина сохраняется и на откосе насыпи)

(36)

где Враст -

ширине растекания потока в створе, проекция расстояния которого от выхода из трубы равна x;

£δ-

размер бермы вдоль потока.

4.13. Определяют среднюю глубину потока на откосе у подошвы насыпи из уравнения Шези, считая (в запас), что на откосе установятся равномерный режим течения, и заменяя истинное поперечное сечение потока равновеликим прямоугольником:

(37)

где n-

коэффициент шероховатости, принимаемый для бетонных укреплений равным 0,015.

4.14. Находят среднюю скорость потока у подошвы откоса

(38)

4.15. По скоростям у подошвы насыпи Vпд определяют тип укрепления откоса бермы (насыпи) и укрепления, расположенного у подошвы насыпи, согласно "Руководству по гидравлическим расчетам малых искусственных сооружений'' (табл. П-6, стр. 28).

4.16. Назначают тип выходного русла, определяют глубину размыва и размеры укреплений за подошвой насыпи: для недеформируемых русел согласно ''руководству по гидравлическим расчетам малых искусственных сооружений" (гл. VI), для деформируемых русел - согласно рекомендациям настоящей главы. При этом для учета запаса расчетный расход увеличивается на 30%. Для недеформируемых русел при расчете размыва по формуле (24) принимают ψ=1, а длину укрепления - равной длине откоса и бермы.

Отвод воды на берму и откос насыпи, отсыпанной из камня

4.17. Определяют скорости потока на выходе из трубы Vвых согласно рекомендациям п. 2.23.

4.18. Устанавливают минимальный средний диаметр частиц наброски dн, из которой может быть отсыпана низовая часть насыпи, по формулам:

для однородных частиц

 

(39)

для горной массы

 

(40)

где dmax-

диаметр наиболее крупных частиц, которых в наброске более 5%;

dн-

средний диаметр частиц наброски.

4.19. Определяют минимальный размер бермы вдоль потока, при которой поток, вытекающий из трубы, не попадает непосредственно на откос, по формуле (35).

4.20. Вычисляют ширину растекания потока на берме по формуле (36) с введением в нее понижающего коэффициента 0,6, учитывающего особенности работы каменной наброски по сравнению с бетонным укреплением. На откосе эта ширина растекания сохраняется.

4.21. Назначают протяженность участка насыпи, отсыпанного из камня, - ширину фильтрующей части подсыпки. В первой приближении ее принимают равной bср=Bраст.

Далее каменная подсыпка рассматривается как фильтрующая насыпь (переливаемая или не переливаемая). Расчет ее производится согласно ''Руководству по гидравлическим расчетам малых искусственных сооружений" (гл. VII).

4.22. Определяют нормальную глубину фильтрационного потока, предполагая, что весь расход профильтруют через подсыпку, по формуле

(41)

где mот(кос)-

коэффициент заложения откоса косогора;

Kф-

коэффициент фильтрации, м/с.

Для однородной наброски Кф определяется по табл. 7.

Таблица 7

Средний диаметр камней dн, приведенных к шару, см

Kф для наброски из камней, м/с

круглых

промежуточных

остроугольных

При их пористости

0,40

0,45

0,50

5

0,15

0,17

0,19

10

0,23

0,26

0,29

15

0,30

0,33

0,37

20

0,35

0,39

0,43

25

0,39

0,44

0,49

30

0,43

0,48

0,53

35

0,46

0,52

0,58

40

0,50

0,56

0,62

45

0,53

0,60

0,66

50

0,56

0,63

0,70

Для неоднородной наброски коэффициент фильтрации определяется согласно "Руководству по расчету туроулентной фильтрации в каменно-набросных гидросооружениях" (М., "Энергия", 1975) по формуле

(42)

где Kф(одн)-

коэффициент фильтрации для однородной наброски, имеющей средний диаметр частиц фракции dн, равный эквивалентному диаметру частиц неоднородной наброски;

nодн и nнеодн-

пористость соответственно однородной и неоднородной наброски.

Средний диаметр частиц наброски dн определяется по формуле

 

где dн(i)-

средний диаметр частиц отдельной фракции;

Pi-

весовая доля фракции.

Пористость неоднородной наброски определяют опытным путем, заливая поры водой. Толщина исследуемого слоя должна быть не менее 5dmax.

Для грубых приближений можно считать, что в неоднородной наброске, имеющей небольшой процент мелких частиц (5-7%), коэффициент фильтрации по сравнению с однородной наброской уменьшается на 25-30%,

4.23. Определяют глубину фильтрационного потока H в створе конца трубы (рис. 24) из уравнения

(43)

где lп-

проекция расстояния от конца трубы до точки пересечения откосов отсыпки и косогора, в случае отсутствия подтопления со стороны нижнего, бьефа (см. рис. 24) или до створа, проходящего через урез воды в нижнем бьефе, при подтоплении;

f(ξ) и f(ξδ)-

функции относительных глубин соответственно в створе конца трубы  и конца подсыпки , определяемые при прямоугольном сечении наброски по табл. 8; иные формы сечений приводят к прямоугольным.

Рис. 24. Расчетная схема нижнего бьефа гофрированной трубы, уложенной на подсыпке:

1 - фильтрующий поток; 2 - поверхность воды для случая, когда весь расход фильтрует через подсыпку; 3 - то же, когда часть расхода сливается по откосу отсыпки; 4 - обратный фильтр; 5 - рисберма; 6 - экран

При отсутствии подтопления со стороны нижнего бьефа (hнδ=0) уравнение имеет вид

(44)

Таблица 8

f ()

f ()

f ()

0,00

0,0000

0,69

0,1579

0,900

0,5722

0,05

0,0000

0,70

0,1673

0,905

0,5942

0,10

0,0000

0,71

0,1772

0,910

0,6175

0,15

0,0011

0,72

0,1876

0,915

0,6442

0,20

0,0027

0,73

0,1988

0,920

0,6690

0,25

0,0051

0,74

0,2105

0,925

0,6976

0,30

0,0095

0,75

0,2230

0,930

0,7284

0,35

0,0151

0,76

0,2362

0,935

0,7617

0,40

0,0236

0,77

0,2503

0,940

0,7980

0,45

0,0347

0,78

0,2654

0,945

0,8378

0,50

0,0493

0,79

0,2814

0,850

0,8818

0,55

0,0684

0,30

0,2986

0,955

0,9307

0,60

0,0931

0,81

0,3470

0,960

0,9859

0,61

0,0989

0,82

0,3368

0,965

1,0489

0,62

0,1050

0,83

0,3581

0,970

1,1223

0,63

0,1114

0,84

0,3812

0,975

1,2097

0,64

0,1182

0,85

0,4062

0,980

1,3176

0,65

0,1253

0,86

0,4333

0,985

1,4573

0,66

0,1323

0,87

0,4631

0,990

1,6566

0,67

0,1407

0,88

0,4958

0,995

1,9995

0,68

0,1491

0,89

0,5319

1,000

4.24. Определяют устойчивость низового откоса подсыпки из условия

£<£пр, 

(45)

где £-

разность бьефов;

£пр-

предельная ревность уровней бьефов, при превышении которой нарушается устойчивость низового откоса подсыпки.

£ и £пр определяют по формулам

(46)

(47)

где φн-

угол естественного откоса каменной наброски, равный 35-36°

tgφ=0,695÷0,725;

β-

угол наклона низового откоса к горизонту.

При соблюдении условия (45) расчет заканчивают, в противном случае уполаживают откос и вновь производят проверку условия (45) и так продолжают до его удовлетворения.

4.25. Проверяют устойчивость основания насыпи против ламинарной фильтрации. Для этого сравнивают глубину Н с предельной глубиной Hпр, обеспечивающей устойчивость против ламинарной фильтрации

(48)

где δ-

коэффициент, определяемый по табл. 9;

При H<Hпр устойчивость против ламинарной фильтрации обеспечена, в противном случае или увеличивают ширину фильтрующей прослойки bф и повторяют расчет, или устраивают в основании обратный фильтр.

4.26. Сравнивают глубину потока Н с толщиной подсыпки в сечении, проходящем через конец лотка трубы на выходе δпод(вых).

При H≤δпод(вых) весь поток профильтрует внутрь подсыпки, при Hпод(вых) часть расхода попадет на откос подсыпки.

Таблица 9

Грунты основания

δ для оснований

Не защищенных обратным фильтром

защищенных обратным фильтром

Илистые

12

8

Мелкопесчаные

9-10

6

Средне - и крупно песчаные

8

5-4

Лёссовидные

8-7

4-3,5

Гравелистые

7

4-3,5

Суглинистые

7-5

3,5-3

Галечниковые

6

3

Торф

7-12

8-5

4.27. Для случая Hпод(вых) устанавливают, не выходит ли поток на откос подсыпки. Для этого делят расстояние lп на 4-5 равных частей и в конце каждой из них (считая от конца подсыпки) определяют глубину потока hп по уравнению (43) или (44), подставляя вместо lп расстояния li от конца подсыпки (уравнение 44) и от уреза воды в нижнем бьефе (уравнение 43) до рассматриваемых створов. Затем в каждом из сечений устанавливают толщину подсыпки δпод(i). При однообразном уклоне косогора для этой цели можно воспользоваться формулой

(49)

При этом возможны два случая:

Аδпод(i)hi-

весь поток фильтрует через подсыпку (безнапорная фильтрующая подсыпка);

Бδпод(i)<hi-

часть потока выходит на поверхность откоса (напорная фильтрующая подсыпка).

Случай A (δпод(i)hi)

1.28. Находят расчетную, глубину фильтрующего потока, определяющую максимальные скорости турбулентной фильтрации:

а) при отсутствии подтопления со стороны нижнего бьефа

(50)

где  =2,5-

коэффициент кинетической энергии;

P-

пористость наброски;

εз=0,9

коэффициент, учитывающий образование в порах каменной наброски застоя воды;

б) при наличии подтопления

hр=hнδ,

 

где hнδ-

глубина в нижнем бьефе в конце подсыпки.

4.29. определяют максимальную скорость турбулентной фильтрации

(51)

4.30. Сравнивают Vм с допускаемыми скоростями для грунтов основания насыпи Vдоп.

При VмVдоп устойчивость основания от турбулентной фильтрации обеспечивается, в противном случае - нет.

Для достижения устойчивости делают выровку грунта и заменяют его грунтом с Vдоп. ≥Vм. Толщина выровки должна обеспечить возможность укладки не менее трех слоев частиц грунта, но не менее 8-10 см.

4.31. Устраивают обратный фильтр у подошвы подсыпки высотой не менее hр

Случай Б (δпод (i)<hi)

4.32. Устанавливают расстояние от конца подошвы до места выклинивания потока на откос:

(52)

4.33. Определяют толщину фильтрующей подсыпки, равную глубине фильтрационного потока, в месте выклинивания потока на откос:

(53)

4.34. Делят расстояние lгр на 3-4 равные части и в конце каждого сечения подсыпки (считая от конца ее) определяют фильтрационный расход:

(54)

где δпод(i)-

толщина подсыпки в рассматриваемом створе;

Q-

полный расход сооружения.

4.35. Определяют средние скорости турбулентной фильтрации:

(55)

4.36. Определяют максимальную скорость турбулентной фильтрации:

(56)

4.37. Сравнивают Vм с допускаемыми скоростями для грунтов основания подсыпки.

При VмVдоп устойчивость основания подсыпки от турбулентной фильтрации обеспечивается, в противном случае - нет.

Для обеспечения устойчивости требуется произвести вырезку грунта и заменить его грунтом с Vдоп. ≥ Vм. Толщина вырезки должна быть не менее трех слоев частиц грунта, но не менее 8-10 см.

4.38. Устанавливают расход потока Q2i, протекающего на откосе подсыпки в различных сечениях на участке от места выклинивания потока до конца подсыпки:

(57)

4.39. Определяют глубину потока на откосе подсыпки из уравнения Шези при  (как для быстроточного режима):

(58)

где mот(под)-

коэффициент заложения низового откоса подсыпки;

n-

коэффициент шероховатости откоса.

При n=0,05 (для камня)

(59)

4.40, Вычисляют скорость потока на откосе:

(60)

4.41. Проверяют устойчивость камней наброски на откосе:

для однородной наброски

(61)

для горной массы

(62)

При несоблюдении этих условий крупность камня на поверхности откоса увеличивают (укладывается не менее трех слоев).

4.42. Назначают конструктивно обратный фильтр у подошвы откоса высотой 0,5 м и шириной понизу 1 м.

Последующий расчет является общим для случаев А и Б.

4.43. Назначают у подошвы откоса укрепление из каменной наброски, размеры которого определяют в соответствии с Рекомендациями, изложенными в гл. 3, учитывая следующие особенности.

При определении глубины размыва по формуле (24) расход принимают равным расходу в сооружении Qсоор, длину укрепления - равной сумме длин откоса подсыпки, укрепления у ее подошвы и ширины бермы.

Ширину воронки размыва вычисляют по формуле

(63)

где Bmin-

определяют по формуле (33), принимая длину укрепления равной сумме ширины бермы и длины укрепления, у подошвы откоса.

Сравнивая B'min с Враст устанавливают ширину укрепления по большей из них величине.

Сброс потока в лотки, уложенные на откосе насыпи

4.44. Определяют глубину и скорость потока на выходе из трубы по графикам (см. рис. 14 и 15)

4.45. Назначают высоту стенок лотка (считая от дна по оси его):

(64)

где 0,35-

величина возвышения стенок лотка над уровнем воды в нем.

4.46. Определяют проекцию расстояния от выхода из трубы до сечения падения струй в лотке:

(65)

где mот-

коэффициент заложения низового откоса насыпи.

Разность отметок лотка в сечениях падения струй и выхода из трубы равна

4.47. Определяют полную энергию потока в сечении падения струй согласно "Руководству по гидравлическим расчетам малых искусственных сооружений"

(66)

4.48. Находят подбором из приведенного ниже уравнения глубину потока в сечении падения струй, принимая ее равной сжатой глубине

(67)

где ωс-

площадь потока в сжатом сечении;

φ-

коэффициент скорости, определяемый по табл. 10.

Таблица 10

0,15

0,20

0,30

0,40

0,50

0,60

0,70

0,80

0,90

φ

0,75

0,80

0,85

0,87

0,89

0,91

0,92

0,93

0,94

Для этого задаются относительной сжатой глубиной  и определяют площадь живого сечения потока в лотке кругового очертания по формуле, справедливой при

(68)

4.49. Устанавливают глубину потока в конце лотка у подошвы откоса из уравнения неравномерного движения (метод В.И.Черномского)

(69)

где l-

расстояние между сечениями со сжатой глубиной hс и у подошвы откоса hпд, имеющими соответственно площади живого сечения потока ωс и ωпд;

средний уклон трения между сечениями;

 

ωсрCсрRср-

соответственно средние для участка площадь сечения потока, коэффициент Шези и гидравлический радиус; их можно определить как полусуммы соответствующих величин в рассматриваемых сечениях.

Коэффициент Шези для быстроточного режима (имеет место в лотке) определяют по формуле

(70)

При n=0,025 (для гофрированных элементов трубы с гладким лотком) C=40.

Гидравлический радиус R определяют по формуле, справедливой при

(71)

Расчет ведут следующим образом:

а) Задаются глубиной у подошвы откоса hпд и вычисляют относительную глубину . Для нее находят по формулам (68), (70) и (71) ωпд, С, Rпд.

Затем по значению  находят ωс, С, Rс.

б) Вычисляют  и

в) Вычисляют  и

г) По формуле (69) определяют расстояние l между сечениями с глубинами hc и hпд.

д) Сравнивают полученное. расстояние l с расстоянием от сжатого сечения до подошвы откоса (считая по откосу) lc-пд, определяемым по формуле

(72)

где P-

разность отметок лотка в месте падения струй и у подошвы откоса.

е) Если l  то hпд изменяют до тех пор, пока l= . Полученное при этом значение hпд будет искомым.

4.50. Вычисляют относительную глубину у подошвы откоса  и по ее значению площадь поперечного сечения потока в конце лотка (у подошвы откоса) по формуле (68).

Приближенно при  можно принять глубину потока в лотке у подошвы откоса равной нормальной глубине и определять ее по формуле

(73)

Затем по  находят согласно формуле (68) площадь поперечного сечения потока ωпд. Скорость на выходе из лотка в этом случае будет несколько завышенной.

4.51. Вычисляют скорость потока на выходе из лотка (у подошвы откоса)

(74)

4.52. Подбирают по скорости Vпд тип укрепления у подошвы откоса. Для этого находят тип укрепления, для которого соблюдается условие VпдVдоп.

4.53. В соответствии с изложенными выше рекомендациями определяют глубину размыва и размеры укрепления в зависимости от принятых типов укреплений, учитывая следующие особенности.

1. В формуле (24) для определения предельной глубины принимают:

b=D; bр=Dл, где Dл - диаметр круговых элементов лотка;

Dэ и Qк - находят по диаметру трубы;

£≥3D - соответствует длине укрепления у подошвы откоса.

В формулу (24) вводят коэффициент Kнр, учитывающий неравномерность распределения удельных расходов в лотке, определяемый по формуле, справедливой при ПQ≤0,6, mот≥1,5:

(75)

параметр расхода в трубе диаметра D.

2. При применении ребра в конце укрепления длиной 4,6D и сечением 0,1D×0,1D, расположенного симметрично относительно оси лотка, в выражение для определения предельной глубины размыва* вводят коэффициент Kрδ, учитывающий пониженную кинетичность потока в конце лотка:

(76)

где Vвых(л)-

скорость на выходе из лотка.

Формула (70) справедлива при условии

Формула для определения предельной глубины размыва в выходных руслах с ребром приобретает вид

(77)

При  принимают .

3. Максимальную глубину размыва определяют по формулам:

в выходных руслах без гасителя

(78)

выходных руслах с ребром

(79)

4. Ширину укрепления в конце его вычисляют по формуле (33), в которую подставляют Δhmax, т.е. коэффициенты Kнр и Kрδ не учитываются.

*См. "Руководство по гидравлическим расчетам малых искусственных сооружений", стр.18.

Приложение ПРИМЕРЫ РАСЧЕТОВ

Примеры назначения отверстий и определения пропускной способности круглых гофрированных труб.

Пример 1. Гофрированная труба без оголовков (с вертикальным срезом) расположена на железной дороге. Высота насыпи Ннас=3,5 м, ширина поверху bнас=6,5 м, крутизна откосов 1:1,5. Уклон лотка трубы соответствует уклону лога и равен iт=0,03. Гладкий лоток расположен на 1/3 периметра поперечного сечения трубы.

Расходы притока с бассейна Qp=2,4 м3/с, Qmax=4,0 м3/с.

Сток снеговой - аккумуляция не учитывается.

Требуется подобрать отверстие трубы и определить подпертые глубины, а также глубины и скоростей на выходе из нее.

Решение.

1. Определяем длину трубы lт=6,5+(3×3,5)=17 м.

2. Находим отверстие трубы.

Согласно " Инструкции по проектированию и строительству металлических гофрированных водопропускных труб" (ВСН 176-78) гофрированные трубы на железных дорогах должны пропускать расчетные и наибольшие расходы при безнапорном режиме и иметь при этом заполнение на входе при пропуске расчетного расхода  при пропуске наибольшего расхода .

По графику рис. 5 настоящих Методических рекомендаций находим для трубы без оголовка с вертикальным срезом (кривая 2) параметры расхода, соответствующие указанным выше заполнениям:

при  

при  

Зная параметры расхода, находим по заданным расходам минимальные диаметры трубы по формуле

При Qр=2,4 м3

При Qmax=4,0 м3

Принимаем к расчету большее ближайшее типовое отверстие D=2,0 м.

3. Устанавливаем, будет ли труба "длинной" или "короткой" в гидравлическом отношении.

Сравниваем уклон трубы iт с критическим iк.

Находим iк по графику (см. рис. 2) для трубы D=2,0 м:

При Qр       ПQp=0,265      iк=0,015<iт=0,03;

При Qmax    ПQmax=0,347   iк=0,016<iт=0,03.

Следовательно, труба "короткая".

Проверка по критерию относительной длины не требуется.

4. Определяем подпертые глубины перед трубой по формуле (8) для безнапорного режима

Предварительно находим коэффициент расхода для трубы без оголовка по табл. 1 (m=0,33) и bк по табл. 2 настоящих методических рекомендаций.

Для расчетного расхода Qр=2,4м3

 


Для наибольшего расхода Qmax=4,0 м3

5. Находим возвышение бровки полотна над подпертым уровнем Δбп

При высоте насыпи Ннас=3,5 м

Δбп(р)=3,5-1,11=2,39 м > 1,0

Δбп(max)=3,5-1,46=2,04 м > 1,0

Требования технических условий выдержаны.

6.Определяем глубины и скорости на выходе из трубы соответственно, по графикам рис. 14 и 15 при iт=0,03.

При Qр=2,4 м3   ПQр=0,135;     ;         

hвых(р)=0,21∙2=0,42 м;      

При Qmax=4,0 м3            ПQmax=0,23;    ;  hвых(max)=0,335∙2=0,67;                      

Пример 2. Гофрированная труба расположена на автомобильной дороге. Гладкий лоток расположен на 1/3 периметра поперечного сечения трубы. Высота насыпи 4,0 м, ширина поверху bнас=12 м, крутизна откосов 1:1,5, уклон лотка трубы iт=0,02. Расчетный расход притока с бассейна Qр=8,0 м3/с, сток снеговой - аккумуляция не учитывается.

Требуется подобрать отверстие трубы и определить подпертые глубины, а также глубины и скорости на выходе из нее.

Решение

1. Определяем длину трубы lт=12+(3×4)=24м.

2. Задаемся минимально принятым в практике проектирования отверстием гофрированной трубы D=1,5 м.

3. Устанавливаем, будет ли труба "длинной" или "короткой" в гидравлическом отношении.

а) Сравниваем уклон трубы; iт c критическим iк. Предварительно определяем параметр расхода по номограмме (см. рис. 6). При Q=8,0 м3/с он равен ПQ=0,94.

По графику рис. 2 для D=1,5 м и ПQ=0,94 находим iк=0,0475. Таким образом, iт=0,02<iк=0,0475.

Требуется проверка по критерию относительной длины.

б) Производим проверку по критерию относительной длины:  Следовательно, труба "короткая".

4. Определяем подпертые глубины перед трубой согласно рекомендациям гл. 2.

а) Устанавливаем режим протекания потока. Для этого определяем вначале относительную глубину на входе, в трубу  по графику (см. рис. 5). Для трубы без оголовка (кривая 2) при ПQ=0,94<1,35 находим . Следовательно, в трубе возможны полунапорный или частично-напорный режимы.

Для установления режима протекания в этом случае определяем подтёртую глубину перед трубой H при полунапорном режиме по формуле (10) для ''коротких" труб

Предварительно находим коэффициент расхода μп и коэффициент сжатия εп в определяющем сечении при полунапорном режиме по табл. 3: μп=0,56 и εп=0,63.

Следовательно, относительная подпертая глубина

Затем находим относительную граничную подпертую глубину потока  по формуле (5)

Для этого определяем коэффициент Kδ по графику (см. рис. 8) при δ=0,67:

Kδ=1,26.

Далее находим относительную граничную подпертую глубину для труб без гладких лотков по графику (см. рис. 7) в зависимости от относительной длины трубы  и ее уклона iт=0,02

Откуда

Сравнивая относительную подпертую глубину  с , устанавливаем режим протекания . Режим частично-напорный, так как ПQ=0,94<1,35.

б) Находим подпертую глубину при частично-напорном режиме из формулы (11).

Так как , то изменять длину не требуется и в расчет вводится полная длина её lт.

Расчет начинаем с определения по графику (см. рис. 9) при lт=24 м μн=0,60 и по графику (см. рис. 10) при ПQ=0,94 ηн=0,75.

Подпертая глубина

5. Определяем возвышение бровки полотна над подпертым уровнем.

При высоте насыпи Ннас=4,0 м              Δбп=4,0-3,56=0,44<0,5 м.

Требования Технических условий не выдерживаются.

Увеличиваем отверстие трубы до D=2,0 м и повторяем расчеты, начиная с п. 3.

6.Устанавливаем, будет ли труба "длинной" или "короткой" в гидравлическом отношении.

а) Сравниваем уклон трубы iт с критическим iк.

Предварительно определяем параметр расхода по номограмме (см. рис. 6).

При Q=8,0 м3/с имеем ПQ=0,45.

По графику рис. 2 для D=2,0 м и ПQ=0,45 находим iк=0,0175.

Таким образом, iт=0,02>iк=0,0175 - труба "короткая".

Проверка по критерию относительной длины не требуется

7. Определяем потертые глубины перед трубой согласно требованиям гл. 2.

Устанавливаем режим протекания потока.

Для этого определяем вначале относительную глубину на входе в трубу  по графику (см. рис. 5).

Для трубы без оголовка (кривая 2) при ПQ=0,45<1,35 находим  - в трубе возможны полунапорный или частично-напорный режимы.

Для установления режима протекания определяем подпертую глубину перед трубой H. При полунапорном режиме из формулы (10) при тех же коэффициентах μп и εп, что и при расчете трубы D=1,5 м.

Следовательно, относительная подпертая глубина

Затем находим относительную граничную подпертую глубину потока по формуле (5) при δ=0,67 и Kδ=1,26.

Для этого сначала находим относительную граничную подпертую глубину для труб без гладких лотков по графику (см. рис. 7) в зависимости от относительной длины трубы  и ее уклона iт=0,02 (2%)


Откуда

Сравнивая относительную подпертую глубину  с величиной , устанавливаем режим протекания

 - режим полунапорный.

Принимаем к расчету H=2,31 м.

8. Определяем возвышение бровки над подпертым уровнем. При высоте насыпи Hнас=4,0 м Δбп=4,00-2,31 м =1,69 > 1,0 м. Следовательно требования технических условий выдержаны.

9. Определяем глубины и скорости на выходе, из трубы соответственно по графикам (см. рис.14 и 15) при iт=0,02.

При Q=8,0 м3     ПQ=0,45;

          hвых=0,49∙2=0,98 м;

         

Пример 3. Двухъярусная гофрированная труба без оголовков с гладкими лотками на 1/3 ширины поперечного сечения расположена на железной дороге.

Первый ярус состоит из трёх труб D=2,0 м, второй из двух труб D=1,5 м. Сток снеговой. Расходы притока с бассейна, Qр=40 м3/с; Qmax=55,0 м3/с. Высота насыпи 10 м, ширина поверху bнас=6,5 м.

Уклоны труб iт=0,01. Остальные данные приведены на рис.1 приложения.

Требуется определить подпертый уровень перед двухъярусной трубой, скорости на выходе и подобрать тип укрепления.

Решение. Так как сток снеговой, то аккумуляцию воды перед сооружением не учитываем и принимаем расходы притока в качестве расходов в сооружении. Расчет ведем согласно рекомендациям гл. 2.

Предварительно определяем длину труб обоих ярусов: длина труб первого яруса lт(1)=6,5+8×10=36,5 м, второго яруса lт(2)=6,5+3×7,5=29 м.

Далее устанавливаем, работают ли трубы второго яруса. Для этого определяем расход, пропускаемый трубами первого яруса при уровне, соответствующем, отметке лотка на входе в трубы второго яруса.

Согласно данным, приведенным на рис.1, подпертая глубина перед трубами первого яруса в том случае будет равна разности отметок лотков второго (£л(2)) и первого ярусов (£л(1)):

H1=£л(2)-£л(1)=101,73-99,23=2,5 м.

Рис. 1. Схема многоярусной трубы (размеры в метрах)

Определяем расход, пропускаемый трубами первого яруса при Н1=2,5 м, предполагай полунапорный режим протекания.

По формуле (10) находим

где nт - число груб в ярусе; в первом ярусе nт=3.

Коэффициенты μп и εп берем по табл. 3 настоящих Методических рекомендаций для трубы без оголовка с вертикальным срезом (μп=0,56 и εп=0,63)

Полученный расход меньше расчетного и наибольшего расходов трубы. Следовательно, работают трубы обоих ярусов.

Дальнейший расчет выполняем в табличной форме (табл. 1). Сущность расчета заключается в следующем. Задаемся расходами второго яруса и по ним находим расходы первого яруса и всей трубы. Затем строим зависимость Н=f(Q) и по заданным Qр и Qmax находим соответствующие им Нр и Hmax.

Таблица 1

№ п/п

Элементы расчета

Расходы каждой трубы второго яруса Q, м3

1,0

3,0

5,0

 

Второй ярус

 

 

 

1

Диаметр труб D2, м

1,5

1,5

1,5

2

Параметр расхода

0,115

0,345

0,578

3

Уклон трубы iт

0,01

0,01

0,01

4

Критический уклон iк по графику (см. рис. 2)

0,016

0,018

0,024

5

Длина трубы lт, м

29

29

29

6

Относительная длина трубы

19,3

19,3

19,3

7

Труба "короткая" или "длинная"

"Короткая", так как

"Короткая"

"Короткая"

8

Относительная глубина на входе в трубу  (см. рис. 5)

0,43

0,87

1

9

Режим протекания

Безнапорный

Безнапорный

Полунапорный или частично-напорный

10

Подпертая глубина Н2(б), м, при безнапорном режиме - формула (8)

0,76

1,42

-

11

Подпертая глубина Н2(п) при полунапорном режиме - формула (10)

-

-

2,23

12

Относительная подпертая глубина при полунапорном режиме

-

-

1,56

13

Граничная подпертая глубина для гофрированных труб без гладкого лотка  - см. рис. 7

-

-

1,26

14

Коэффициент Kδ, учитывающий влияние гладких лотков - см. рис. 8

-

-

1,20

15

Граничная подпертая глубина для труб с гладкими лотками

-

-

1,48

16

Режим протекания

Безнапорный

Безнапорный

ПQ=0,578<1,35

Частично-напорный

17

Длина концевого участка трубы, на которой имеется отрыв потока от верха трубы l0,м - см. рис. 11

-

-

6

18

Расчетная длина трубы, м

-

-

23

19

Коэффициент расхода при напорном или частично-напорном режимах - см. рис. 9

-

-

0,60

20

iтlт

-

-

0,23

21

Коэффициент ηн - см. рис. 10

-

-

0,97

22

Подпертой глубина при частично-напорном режиме H2(чн), м - формула 11

-

-

2,36

 

Относительная подпертая глубина

-

-

подпертая глубина сохраняется

23

Отметка лотка на входе в трубу

101,73

101,73

101,73

24

Отмотка подпертого уровня ПУВВ, £2

102,49

103,15

104,09

 

Трубы первого яруса

 

 

 

25

Отметка лотка на входе в трубу £1(л), м

99,23

99,23

99,23

26

Подпертая глубина Н1=£2-£1(л), м

33,26

3,92

4,86

27

Относительная подпертая глубина

1,63

1,96

2,43

28

Длине трубы lт(1), м

36,5

36,5

36,5

29

Относительная длина трубы

18,25

18,25

18,25

30

 - см. рис. 7

1,26

1,26

1,26

31

Kδ - см. рис. 8

1,2

1,2

1,2

32

1,51

1,51

1,51

33

Режим протекания

1,63>1,51

Частично-напорный

1,96>1,51

Частично-напорный

2,43>1,51

Частично-напорный

34

Μн (1) - см. рис. 9

0,59

0,59

0,59

35

iтlт

0,36

0,36

0,36

36

Q1 (1) - формула (11) при ηн(1)=0,75

12

13,7

15,5

37

0,68

0,78

0,08

38

l0 (1) - см. рис. 11 при ПQ (1)

4,2

2,5

1,2

39

Расчетная длина трубы

32,3

34

35,3

40

μн(2) - см. рис. 9 в функции l'т

0,60

0,60

0,59

41

ηн(2) - см. рис. 10 при ПQ(1)

0,92

0,85

0,79

42

iтlт

0,32

0,34

0,35

43

Q1(2) - формула (11) при ηн(2) и μн(2)

11

13,2

15,3

44

Отклонение

8,3>3

1,5<3

1,3<3

45

0,62

-

-

46

l0(2) - см. рис. 11 при ПQ(2)

6,5

-

-

47

30

-

-

48

μн(3) - см. рис. 9

0,61

-

-

49

ηн(3) - см. рис. 10 при ПQ(2)

0,97

-

-

50

iт·l'т(2)

0,30

-

-

51

Q1(3) - формула (11) при μн(3)

10,8

-

-

52

Отклонение

1,8<3

-

-

53

Принятые расходы каждой трубы первого яруса

11

13,7

15,5

54

Расход всех труб первого яруса Q1, м3

33

41,1

46,5

55

Расход всех труб второго яруса Q2, м3

2

6

10

56

Расход многоярусной трубы, м3

35

47,1

56,5

Для существенного ускорения расчета многоярусных труб, состоящих из гофрированных труб D=1,5 и D=2,0 м, можно пользоваться графиками рис. 12 и 13.

Порядок расчета следующий.

Определяют по графикам (см. рис.  12 и 13) расход многоярусной трубы при подпертой глубине, соответствующей отметке лотка труб второго яруса.

При Н=2,50 м (см. рис. 1 приложения) находим по графику (см. рис. 13) для D1=2,0 м Q1=8,7 м3/с и ∑Q1=3·8,7=26,1 м/с. Этот расход меньше Qр=40 м/с и Qmax=55 м3/c. Следовательно, трубы второго яруса работают.

Далее расчет аналогичен приведенному выше и отличается от него тем, что выполняется полностью по графикам. Расчет производят в табличной форме (табл. 2).

Разница в расходах, определяемых по графикам и формулам, получается небольшая (не более 3%).

Искомые подпертые глубины (уровни) определяем путем построения зависимости Q=f(H) для многоярусной трубы (рис. 2 приложения).

На рис. 2  для Qp=40,0 м/с находим Hр=3,54 м и ПУВВр=99,23+3,54=102,77 м.

Таблица 2

№ п/п

Элементы расчета

Расходы каждой трубы второго яруса Q, м3

1,0

3,0

5,0

 

Второй ярус

 

 

 

1

Диаметр трубы D2, м

1,5

1,5

1,5

2

Длина трубы lт(2), м

29,0

29,0

29,0

3

Н2, м - см. рис. 12

0,76

1,42

2,33

4

Отметка лотка на входе в трубы второго яруса £2(л)

101,73

101,73

101,73

5

Отметка подпертого уровня ПУВВ=£2(л)+H2, м

102,49

103,15

104,06

 

Первый ярус

 

 

 

6

Отметка лотка на входе в трубу

99,23

99,23

99,23

7

Подпертая глубина Н1=ПУВВ-£1(л)

3,26

3,92

4,85

8

Расход Q1 - см. рис. 12

11,1

13,3

15,7

9

Расход всех труб первого яруса ∑Q1=3Q1

33,3

39,9

47,1

10

Расход всех труб второго яруса ∑Q2=2Q2

2,0

6,0

10,0

11

Расход двухъярусной трубы Q=∑Q=3Q1+2Q2

35,3

45,9

57,1

12

Разница в расходах, при расчете по графикам по сравнению с расчетом по формуле

0,8

2,6

1,0

Рис.2. Графическое определение пропускной способности многоярусной трубы:

1-∑Q1=f(H), трубы первого яруса;

2-∑Q=f(H), многоярусная труба

Для Qmax=55,0 м/с Hmax=4,64 м и ПУВВmax=99,23+4,64=103,87 м.

Определяем скорости потока на выходе из труб первого яруса, по которому устанавливаем тип укрепления на выходе.

Предварительно находим по графику (см. рис. 2 приложения) расходы труб первого яруса при установленных подпертых глубинах

Ор(1)=36,0 м3/с; ∑Qmax(1)=45,5 м/с

Затем по графику (см. рис. 15) определяем:

При  и iт=0,01

При

Согласно Техническим условиям допускаемые скорости при пропуске Qmax увеличивают на 35% или фактические скорости уменьшают на эту же величину.

Поэтому V'вых(max)=6,15:1,35=4,58 м/с.

Принимаем к расчету Vвых(р)=5,7 м/с > V'вых(max)=4,58 м/с.

По скорости Vвых(р)=5,7 м/с подбираем по табл. П-6 "Руководства по гидравлическим расчетам малых искусственных сооружений" тип укрепления - монолитное укрепление из бетона марки 140.

Примеры расчета нижних бьефов труб.

Пример 1. Гофрированная труба без оголовков с гладким лотком на 1/3 периметра поперечного сечения D=1,5 м расположена на автомобильной дороге. Уклон лотка трубы iт=0,01. Расчетный расход в сооружении Qр=3,0 м3/с. Основание неустойчивое: возможны пучение грунта, просадки.

Требуется определить глубину размыва и размеры укреплений в нижнем бьефе.

Решение. Так как основание сооружения не устойчиво, то укрепление может быть лишь из каменной наброски или ее сочетания с блоками. Расчет ведем в такой последовательности.

1. Увеличиваем расчетный расход на 30% для учета возможной ошибки в расходе:

1,3Qр=1,3×3,0=3,9 м3

2. Определяем скорости потока на выходе из сооружения при пропуске 1,3Qр. Для этого предварительно вычисляем параметр расхода

и по графику (см. рис. 15) находим

Скорость потока на выходе будет равна

Так как 3,5 м/с<Vвых=4,3 м/с<5,5 м/с, то возможно приманить лишь укрепление из каменной наброски и бетонных блоков.

3. Назначаем длину укрепления

£=1,5Dэ=1,5∙1,5=2,25

Принимаем £=3 м.

4. Определяем эталонный расход

5. Определяем масштабный коэффициент δм по табл. 4 - δм=0,82.

6. Принимаем ψ=0,6 - предохранительный откос отсутствует.

7. Определяем предельную глубину размыва по формуле (24), которая при D=Dэ имеет вид

Принимаем средний диаметр частиц грунта d=0,5 мм, тогда

8. Определяем максимальную глубину размыва по формуле (28) при η=0,6

Δhmax=ηΔhпр=0,6∙2,77=1,66 м.

9. Определяем глубину размыва в руслах с каменной наброской и блоками, соответствующую глубине заложения концевой части (рисбермы) по формуле (30)

Вычисляем коэффициенты M и N:

Определяем подбором глубину размыва, равную глубине заложения рисбермами hук из уравнения:

Принимаем, что концевая часть состоит из двух рядов блоков (по вертикали), т.е. hук=0,80 м.

10. Определяем удельный объем камня в рисберме

11. Вычисляем размеры укрепления в плане: длина укрепления £=3,0 м; ширина укрепления в конце оголовка B1.

Принимая форму укрепления из блоков (за исключением концевой части) прямоугольной, находим ширину укрепления у оголовка B1 по ширине растекания в конце укрепления Bраст по формуле (31).

Предварительно определяем по формуле (32) показатель степени

При диаметре трубы D=1,5 м и обеспечении запаса в размере укрепления по 1,0 м с каждой стороны трубы имеем ширину укрепления у оголовка В1=3,5 м=Bраст.

Исходя из размере блоков в плене (1,0×1,0 м) принимаем ширину укрепления В1=4,0 м.

Ширину укрепления в конце его по условиям размыва, определяем по формуле (33),

Предварительно по  и  с помощью графика (см. рис. 18) находим коэффициент K=0,68. Откуда  Bmin=9 м.

Полученные размеры укреплений приведены на рис. 3 приложения.

Пример 2. Гофрированная косогорная труба расположена на железной дороге. Отверстие грубы D=1,5 м, Уклон лога iл=0,25 (соответствует заложению откосов косогора mот(кос)=4). Высота насыпи по оси трубы Ннас=5,0 м. Ширина поверху 6,5 м, верховой откос крутизной 1:1,5. Расходы в сооружении Qр=2,3 м3/с, Qmax=3,0 м3/с. Подтопление со стороны нижнего бьефа отсутствует. В основании насыпи залегают пески среднезернистые со средним диаметром d=0,50 мм,

Требуется назначить тип выходных русел указанной косогорной трубы и произвести соответствующие гидравлические расчеты.

Решение. Так как труба расположена на крутом косогоре, то укладываем ее в теле насыпи на подсыпке (рис. 4 приложения). Уклон трубы назначаем равным iт=0,01. Откосы и берму насыпи отсыпаем из камня. Низовой откос отсыпки назначаем mот(под)=2 (на рис. 4 приложения этот откос показан пунктиром).

Расчет выполняем в соответствии с рекомендациями гл. 4 применительно к рассматриваемому случаю.

Предварительно увеличиваем расчетный расход на 30% для учета возможной ошибки и обеспечении необходимого запаса:

1,3Qр=1,3∙2,3=3,0 м3/с=Qmax=3,0 м3

Расчет ведем на расход Qmax=3,0 м3/с.

Рис. 3. Размеры выходных русел из блоков и каменной наброски (в метрах)

Рис. 4. Нижний бьеф косогорной гофрированной трубы при сбросе потока на каменную подсыпку:

1 - экран;2 - фильтрующий поток; 3 - обратный фильтр высотой δф=0,5 м; 4 - рисберма; 5 - укрепление из каменной наброски

Порядок расчета следующий.

1. Определяем глубины и скорости лотка на выходе из трубы по графикам (см. рис. 14 и 15).

Предварительно находим параметр расхода

Далее по ПQ и iт=0,01 находим  и

2. Устанавливаем по формуле (39) средний диаметр наброски, считая ее однородной

Принимаем dн=35 см.

Отсыпаем на берме и откосе три слоя камня крупностью dн=35 см, остальную часть - из горной массы (средний диаметр частиц dн=25 см) с содержанием мелких частиц 5-7%.

3. Определяем по формуле (35) минимальный размер бермы вдоль потока, при которой поток, вытекающий из трубы, не попадает непосредственно на откос

Принимаем с запасом £δ=3,0 м.

4.. Определяем ширину растекания потока на берме по формуле (36) с введением в нее понижающего коэффициента 0,6, учитывающего особенности каменной наброски по сравнению с бетонным укреплением

где x=£δ=3,0 м, а

Откуда

5. Назначаем длину участка насыпи, отсыпанной из камня, т.е. ширину фильтрующей прослойки bф

Принимаем bф=Bраст=10 м.

Далее ведем расчет фильтрующей подсыпки как фильтрующей насыпи.

6. Определяем по формуле (41) нормальную глубину фильтрационного потока, предполагая, что весь расход профильтрует через подсыпку.

Предварительно находим коэффициент фильтрации для горной массы Kф(г) со средней крупностью камней dн=25 см. Расчет можно произвести по формуле (42), но из-за отсутствия данных о пористости горной массы приближенно (согласно п. 4.22 настоящих методических рекомендаций) находим по табл. 7 коэффициент фильтрации для однородной наброски и уменьшаем его на 25%

Тогда

7. Определяем глубину фильтрационного потока Н в створе, проходящем через конец трубы, из уравнения (44) - подтопление снизу отсутствует. Для этого предварительно находим проекцию расстояния от конца трубы до точки пересечения откосов отсыпки и косогора (см. рис. 4 приложения) - lп=23,4 м.

Затем вычисляем

Согласно табл. 8. по f(ξ)=4,02 находим  и H=h0=1,50 м.

8. Определяем устойчивость низового откоса подсыпки из условия (45).

Предварительно определяем разность отметок бьефов по формуле (45).

Вычисляем £пр по формуле (47) при крутизне откоса подсыпки 1:2 (tgβ=0,5) и dн=0,35 м

Следовательно, откос неустойчив и требуется сделать его положе.

Принимаем тот(под)=2,25 (tgβ=0,444) и по рис. 4 приложения находим lп=28,9 и (откос 1:2,25 изображен сплошной линией).

Тогда имеем

При этом

Следовательно, устойчивость низового откоса обеспечена.

9. Проверяем устойчивость основания насыпи от ламинарной фильтрации. Для этого определяем Нпр по формуле (48), причем входящий в нее коэффициент находим по табл.9.

Для среднезернистых песков, не защищенных обратным фильтром, δ=8. Откуда

H=1,50 м<Нпр=3,72 м. Следовательно, устойчивость основания насыпи против ламинарной фильтрации обеспечена.

10. Сравниваем глубину потока Н с толщиной подсыпки δпод(вых) в сечении, проходящем через конец лотка трубы на выходе. На рис. 4 приложения δпод(вых)=4,2 м>Н=1,50 м. Итак, весь поток, выходящий из трубы, профильтровывает через подсыпку.

11. Устанавливаем, не выходит ли поток в каком-либо из сечений подсыпки на поверхность. Для этого делим расстояние lп=28,9 м на пять равных частей  и в конце каждой из них (считая от конца подсыпки) определяем глубину потока hi из уравнения (44). Затем в каждом из сечений устанавливаем толщину подсыпки δпод(i), для чего можно воспользоваться формулой (49).

Сравнивая hi с δпод(i), устанавливаем, выйдет ли поток на откос. Это случится при hiпод(i).

Расчет выполняем в табличной форме (табл. 3).

Таблица 3

Номер участка

Проекция расстояния от конца подсыпки до данного створа

l, м

ξ

(по табл. 8)

hih0, м

δпод(i)

(по рис. 4 приложения)

δпод(i)-hi

Вид потока

1

5,80

1,0

0,96

1,43

1,13

<0

Поверхн. поток

2

11,60

2,0

1,00

1,48

2,25

>0

Фильтрационный поток

3

17,40

3,0

1,00

1,50

3,38

>0

То же

4

23,10

3,98

1,00

1,50

4,48

>0

-"-

5

28,90

4,98

1,00

1,50

4,20

>0

-"-

Анализ результатов расчета показывает, что фильтрационный поток на части откоса выходит на поверхность.

Нанеся глубины фильтрационного потока не чертеж (см. рис. 4 приложения), устанавливаем, что поток выклинивается на откос на втором участке.

Устанавливаем расстояние от конца подсыпки до места выклинивания потока по формуле (52)

12. Определяем толщину подсыпки в этом сечении, равную глубине потока, по формуле (49)

Выше этого сеченая имеется лишь фильтрационный поток (безнапорная фильтрующая подсыпка), ниже его часть потока выходит на откос (напорная фильтрующая подсыпка).

13. Определяем фильтрующие расходы в различных створах напорной фильтрующей подсыпки. Для этого делим расстояние от конца подсыпки до сечения, где поток выклинивается на поверхность откоса на три части длиной  каждая и в конце каждого сечения подсыпки (считая от конца ее) определяем фильтрационный расход по формуле (54) при глубине потока hпод. Эту глубину можно вычислить по формуле (49).

Расчет производим в табличной форме (табл. 4).

Таблица 4

Номер участка

Расстояние от конца подсыпки до заданного сечения l, м.

hi=δпод, м,

по формуле (49)

Фильтрационный расход

Подошва откоса

0

0

0

1

2,37

0,46

1,0

2

4,74

0,92

2,0

3

7,1

1,37

3,0

14. Определяем средние скорости турбулентной фильтрации по формуле (55)

15. Находим максимальную скорость турбулентной фильтрации по формуле (56)

Пористость горной массы Р=0,40 либо принимаем по табл. 7 для камня той же крупности, что и однородный камень, но для круглых частиц, либо уменьшаем Kф(доп)=0,49 на 25%.

16. Сравниваем Vм с допускаемыми скоростями для среднезернистых песков. Для этого находим Vдоп=0,35 м/с по табл. П-6 "Руководства по гидравлическим расчетам малых искусственных сооружений": Vм=1,4 м/с>Vдоп=0,35 м/с. Следовательно, устойчивость основания подсыпки от турбулентной фильтрации не обеспечена.

Вырезаем грунт основания и заменяем его материалом, допускаемая скорость которого больше или равна Vм.

По табл. П-6 "Руководства по гидравлическим расчетам малых искусственных сооружений" находим, что этому условию удовлетворяет галька (или щебень) с частицами крупностью 1,5-2,0 см.

Укладываем ее не менее трех слоев, поэтому вырезку надо делать на глубину 8-10 см (для условий БАМ этот материал можно уложить в основание насыпи без вырезки естественного грунта).

17. Определяем расходы потока, протекающего по откосу подсыпки в каждом из створов Q2=Q-Q1, а также глубины и скорости течения на откосе по формулам (59) и (60).

Затем сравниваем полученные скорости с допускаемыми для камня по формуле (61) и устанавливаем устойчивость его. Расчет ведем в табличной форме (табл. 5) для тех же сечений, что и в п. 12, принимая установленную ранее крупность камня на откосе dн=0,35 м.

Таблица 5

Номер участка

Расстояние от конца подсыпки, м

Q2=Q-Q1

м3

hотк, м,

по формуле (59)

Vотк, м/с,

по формуле (60)

Vдоп(отк), м/с,

по формуле (61)

Подошва откоса

0

3,0

0,081

0,8

3,75

4,0

1

2,37

2,0

0,061

0,6

3,32

4,0

2

4,74

1,0

0,04

0,4

2,5

4,0

3

7,1

0

0

0

0

4,0

Анализ результатов расчета показывает, что устойчивость камня dн=0,35 м на откосе обеспечена.

18. Назначаем у подошвы укрепление из каменной наброски, размеры которого определяем в соответствии с рекомендациями, изложенными в гл. 3 (тип укрепления см. на рис. 17).

а) Назначаем длину укрепления на наброски у подошвы £'=1,5D=1,5×1,5=2,25 м.

б) Определяем расчетную длину укрепления, которая складывается из ширины бермы £б, длины откоса подсыпки  и длины укрепления у подошвы откоса £':

в) Определяем предельную глубину размыва в грунте лога по формуле (24).

Предварительно находим величины, входящие в эту формулу:

δм=0,82 (по табл.4 настоящих методических рекомендаций);

ψ=0,6;

b=bр=1,5 м;

d=0,50 мм=0,0005 м;

г) Определяем максимальную глубину размыва


д) Определяем коэффициенты М и N в уравнении (30):

в) Составляем уравнение

Решая его подбором, находим hук=0,46 м.

Так как укрепление из каменной наброски должно быть трехслойным, а диаметр камня верхнего слоя dн=35 см, то назначаем его состоящем из трех слоев: верхний слой dн равен 35 см, а остальные два по 20 см. Общая толщина укрепления в концевой части составляет

hук=0,20×2+0,35=0,75 см.

ж) Определяем ширину воронки размыва по формуле (33). Предварительно походим коэффициент K по графику (рис.18).

При  и  

Тогда

з) Определяем ширину воронки размыва у подошвы по формуле (63)

Принимаем ширину укрепления В=10 м.

В конце укрепления устраиваем каменную рисберму треугольной формы глубиной 75 см с откосами: верховым 1:2 и низовым 1:1,5.

Для дополнительной гарантии от выноса мелких частиц и из-под основания насыпи устраиваем у ее подошвы обратный фильтр на высоту 0,5 м.

Основные размеры выходного русла заданной трубы, полученные в результате расчета, приведены на рис.4 приложения.

 




ГОСТЫ, СТРОИТЕЛЬНЫЕ и ТЕХНИЧЕСКИЕ НОРМАТИВЫ.
Некоммерческая онлайн система, содержащая все Российские Госты, национальные Стандарты и нормативы.
В Системе содержится более 150000 файлов нормативно-технической документации, действующей на территории РФ.
Система предназначена для широкого круга инженерно-технических специалистов.

Рейтинг@Mail.ru Яндекс цитирования

Copyright © www.gostrf.com, 2008 - 2026