Крупнейшая бесплатная информационно-справочная система онлайн доступа к полному собранию технических нормативно-правовых актов РФ. Огромная база технических нормативов (более 150 тысяч документов) и полное собрание национальных стандартов, аутентичное официальной базе Госстандарта. GOSTRF.com - это более 1 Терабайта бесплатной технической информации для всех пользователей интернета. Все электронные копии представленных здесь документов могут распространяться без каких-либо ограничений. Поощряется распространение информации с этого сайта на любых других ресурсах. Каждый человек имеет право на неограниченный доступ к этим документам! Каждый человек имеет право на знание требований, изложенных в данных нормативно-правовых актах!

  


 

МИНИСТЕРСТВО РОССИЙСКОЙ ФЕДЕРАЦИИ ПО ДЕЛАМ ГРАЖДАНСКОЙ ОБОРОНЫ, ЧРЕЗВЫЧАЙНЫМ СИТУАЦИЯМ И ЛИКВИДАЦИИ ПОСЛЕДСТВИЙ СТИХИЙНЫХ БЕДСТВИЙ

 

ГОСУДАРСТВЕННАЯ ПРОТИВОПОЖАРНАЯ СЛУЖБА
ФЕДЕРАЛЬНОЕ ГОСУДАРСТВЕННОЕ УЧРЕЖДЕНИЕ «ВСЕРОССИЙСКИЙ ОРДЕНА "ЗНАК ПОЧЕТА" НАУЧНО-ИССЛЕДОВАТЕЛЬСКИЙ ИНСТИТУТ ПРОТИВОПОЖАРНОЙ ОБОРОНЫ

 

ИДЕНТИФИКАЦИЯ ТВЕРДЫХ ВЕЩЕСТВ, МАТЕРИАЛОВ И СРЕДСТВ ОГНЕЗАЩИТЫ ПРИ ИСПЫТАНИЯХ НА ПОЖАРНУЮ ОПАСНОСТЬ

Инструкциия

 

МОСКВА 2004

 

Идентификация твердых веществ, материалов и средств огнезащиты при испытаниях на пожарную опасность: Инструкция.

Изложены правила, порядок выбора критериев, по которым проводится идентификация с использованием методов термического анализа (ТГА, ДТА, ДСК). Представлены положения методического плана, используемые при выборе оптимальных параметров проведения испытаний в целях получения достоверных характеристик для последующей идентификации. Приведен порядок расчета статистических критериев, которые позволяют идентифицировать вещества, материалы и средства огнезащиты на основании сравнения дисперсий и средних значений выбранных характеристик термоаналитических кривых.

Инструкция предназначена для испытательных лабораторий, занимающихся контролем качества и проводящих испытания продукции в целях последующей сертификации. Применение Инструкции рекомендовано в лабораториях, аккредитованных в Системе сертификации в области пожарной безопасности в Российской Федерации и проводящих испытания материалов, веществ и средств огнезащиты.

Инструкция разработана ГУГПС МЧС России и ФГУ ВНИИПО МЧС России (ИЛ. Болодьян, Н.В. Смирнов, С.Н. Булага, Ю.К. Нагановский, Е.Д. Михайлова, М.В. Лезова, Н.Г. Дудеров).

Утверждена ФГУ ВНИИПО МЧС России 15 мая 2003 г.

Согласована ГУГПС МЧС России (письмо от 17.02.2004 г. № 18/13/410)

ОГЛАВЛЕНИЕ

1. ОБЩИЕ ПОЛОЖЕНИЯ

1.1. Настоящая Инструкция распространяется на вещества, материалы и средства огнезащиты, подлежащие испытаниям на пожарную опасность или огнезащитную эффективность и/или сертификации в области пожарной безопасности.

1.2. Инструкция устанавливает порядок, правила и методы идентификации твердых веществ и материалов и средств огнезащиты.

1.3. Инструкция предназначена для сотрудников (работников) испытательных лабораторий (центров), проводящих испытания на пожарную опасность, и органов по сертификации, аккредитованных в Системе сертификации в области пожарной безопасности в Российской Федерации.

1.4. Цель идентификации, и соответственно на стоящей Инструкции, выявление и подтверждение подлинности конкретной продукции, а также соответствия ее определенным требованиям.

1.5. Применение настоящей Инструкции рекомендовано при испытаниях, сертификации и инспекционном контроле продукции, изготавливаемой предприятиями, юридическими и физическими лицами независимо от форм собственности и ведомственной подчиненности, а также ввозимой в Российскую Федерацию продукции, произведенной за рубежом.

1.6. В настоящей Инструкции используются термины, приведенные в разд. 3 и соответствующих документах разд. 2.

2. НОРМАТИВНЫЕ ССЫЛКИ И СПЕЦИАЛЬНАЯ ЛИТЕРАТУРА

2.1. В настоящей Инструкции использованы и рекомендуются к применению следующие нормативные документы.

1. ИСО 9004-1:1994 Управление качеством и элементы системы качества.

2. ГОСТ Р 1.0-92 ГСС. Основные положения.

3. ГОСТ Р 51293-99 Идентификация продукции. Общие положения.

4. Положение о Системе сертификации в области пожарной безопасности в Российской Федерации.

5. Порядок проведения сертификации продукции в Системе сертификации в области пожарной безопасности в Российской Федерации.

6. ГОСТ 29127-91 (ИСО 7111-87) Пластмассы. Термогравиметрический анализ полимеров. Метод сканирования по температуре.

7. ГОСТ 21553-76 Пластмассы. Методы определения температуры плавления.

8. ГОСТ 18276.0-88 Покрытия и изделия ковровые машинного способа производства. Метод отбора проб.

9. ГОСТ 9980.2-86 Материалы лакокрасочные. От бор проб для испытаний.

10. Способы и средства огнезащиты древесины: Руководство. - М.: ВНИИПО, 1999.

11. НПБ 232-96 Порядок осуществления контроля за соблюдением требований нормативных документов на средства огнезащиты (разработка, применение и эксплуатация).

12. ГОСТ Р ИСО 5725-1-2002 Точность (правильность и прецизионность) методов и результатов измерений.

13. ГОСТ 8.315-97 ГСИ. Стандартные образцы со става и свойств веществ и материалов. Основные положения.

14. МИ 2247-93 ГСИ. Метрология. Основные тер мины и определения.

15. ГОСТ 12.1.019-79 Электробезопасность. Общие требования.

16. ГОСТ 12.3.019-80 Испытания и измерения электрические. Общие требования безопасности.

17. ГОСТ Р 50571.1-93 Электроустановки зданий. Основные положения.

18. ГОСТ 12.1.005-88 Общие санитарно-гигиенические требования к воздуху рабочей зоны.

2.2. Специальная литература

1. Пилоян Г.О. Введение в теорию термического анализа. М.: Наука, 1964. 232 с.9

2. Уэндландт У. Термические методы анализа. М.: Мир, 1978. - 526 с.

3. Шестак Я. Теория термического анализа. М.: Мир, 1987. - 456 с.

4. Топор Н.Д., Огородова Л.П., Мельчакова Л.В. Термический анализ минералов и неорганических соединений. - М.: МГУ, 1987. - 188 с.

5. Барановский В.М., Задорина Е.Н., Крутилин В.М. Современные методы исследования полимерных материалов: Исследование полимерных материалов методами термического анализа: Уч. пособие; Под ред. Е.Н. Задориной. - М.: Изд-во МАИ, 1993. - 68 с.

6. Хеммингер И., Хене Г. Калориметрия. Теория и практика. - М.: Химия, 1990. - 176 с.

7. Митропольский А.К. Техника статистических вычислений. - М.: Наука, 1971.

8. Дерфелъ К. Статистика в аналитической химии. М.: Мир, 1994.

9. Захарова Э.А., Марьянов Б.М., Чащина О.В. Обработка результатов химического анализа: Уч. пособие. Томск: Изд-во ТГУ, 1984. - 80 с.

10. Чарыков А.К. Математическая обработка результатов химического анализа: Уч. пособие. Л.: Изд-во Ленингр. ун-та, 1977. 120 с.

11. Статистические методы в инженерных исследованиях (лабораторный практикум): Уч. пособие / В.П. Бородюк, Л.П. Вощинин, A3. Иванов и др.; Под ред. Г.К. Круга. М.: Высш. школа, 1983. 216 с.

12. Налимов В.В. Применение математической статистики при анализе вещества. М.: Физматгиз, 1960.

3. ТЕРМИНЫ И ОПРЕДЕЛЕНИЯ

Образец - исследуемое вещество независимо от того, является оно чистым или состоит из смеси нескольких.

Термогравиметрия (ТГ) - метод термического анализа, при котором регистрируется изменение массы образца в зависимости от температуры или времени при нагревании в заданной среде с регулируемой скоростью.

Термогравиметрия по производной - метод, позволяющий получить первую (ДТГ) или вторую (ДДТГ) производную термогравиметрической кривой по времени или температуре.

Дифференциально-термический анализ (ДТА) - метод, позволяющий регистрировать разность температур () исследуемого вещества и эталона в зависимости от температуры или времени.

Дифференциально-сканирующая калориметрия (ДСК) - метод, позволяющий регистрировать энергию (), необходимую для выравнивания температур исследуемого вещества и эталона в зависимости от температуры или времени.

Экстраполированная точка начала или окончания процесса точка пересечения касательной, проведенной в точке наибольшего наклона с экстраполированной базовой линией.

Температура начала разложения - по ГОСТ 29127-91 .

Значимые характеристики (критерии идентификации) - характеристики термоаналитических (ТА) кривых, по которым устанавливается идентичность материалов, веществ и средств огнезащиты.

Качественные характеристики - характеристики ТА-кривых, которые дополняют информацию о процессе разложения.

Нормативный документ (НД) - документ, содержащий правила, общие принципы, характеристики, касающиеся определенных видов деятельности или их результатов, и доступный для широкого круга потребителей (пользователей), например ТУ, ГОСТ, инструкция, специальная литература и др.

4. ОБЪЕКТЫ, МЕТОДЫ И ПОРЯДОК ПРОВЕДЕНИЯ ИДЕНТИФИКАЦИИ

4.1. Объект идентификации - образцы материалов, веществ и средств огнезащиты.

4.2. Объект, впервые прошедший термоаналитические испытания, для которого получены идентификационные характеристики, называется идентификатором (принятое опорное значение).

4.3 .Идентификация проводится с использованием:

- визуального метода;

- нормативной документации;

- измерительного метода.

4.4. Идентификация по нормативной документации

4.4.1. Идентификация проводится на основании представленных сопроводительных документов.

4.4.2. Сопроводительная документация должна содержать сведения, которые приведены в п.13 нормативного документа [5], указанного в п. 2.1 настоящей Инструкции.

4.5. Идентификация с использованием визуального метода

4.5.1. Визуальный метод - метод, который основан на восприятии внешнего вида и/или цвета объекта с помощью зрения.

4.5.2. Внешний вид является комплексным показателем, который включает форму, цвет (окраску), состояние поверхности, целостность и определяется визуально.

4.6. В качестве измерительного используются методы термического анализа.

4.6.1. Получение идентификационных характеристик и идентификация проводятся с использованием следующих методов термического анализа:

- термогравиметрического (ТГ);

- термогравиметрического по производной (ДТГ);

- дифференциально-термического (ДТА);

- дифференциально-сканирующей калориметрии (ДСК).

4.6.2. При этом могут использоваться следующие приборы:

- модульные, в которых каждый метод сосредоточен в одном приборе;

- совмещенные, в которых отдельные методы совмещены в одном приборе (приборы типа дериватографа)

- с ручной обработкой термоаналитических кривых

- автоматизированные, имеющие соответствующее программное обеспечение по управлению и обработке.

4.7. Идентификация с применением методов термического анализа проводится в два этапа.

4.7.1. Первый этап - получение идентификационных термоаналитических характеристик при проведении испытаний с использованием статистических методов обработки и получением средних величин и дисперсий.

4.7.2. Второй этап - собственно идентификация, т.е. установление идентичности (тождественности) испытываемого объекта с идентификатором, на основании сравнения дисперсий и средних величин значимых характеристик термического анализа, с использованием статистических критериев: Фишера (F) и t -критерия.

5. ХАРАКТЕРИСТИКИ ДЛЯ ИДЕНТИФИКАЦИИ

5.1. Все термоаналитические характеристики, полученные в результате испытаний, разделяют на значимые и качественные.

5.2. Значимые термоаналитические характеристики

5.2.1. Температуры (°С) фиксированных потерь массы - 5, 10, 20, 30, 50 % (для материалов с потерей массы, не превышающей 10 %, фиксируются температуры при 1, 2, 3, 5 %) - определяются по ТГ-кривым.

5.2.2. Потери массы (%) при фиксированных значениях температур, например 100, 200, 300 °С и т.д. - определяются по ТГ-кривым.

5.2.3 Температуры (°С) максимумов скорости потери массы - определяются по ДТГ-кривым.

5.2.4. Скорости потери массы (%/мин) или амплитуда максимумов - определяются по ДТГ-кривым.

5.2.5. Коксовый остаток (%) - определяется по окончании процесса пиролиза в инертной атмосфере или при фиксированной температуре по ТГ-кривым.

5.2.6. Зольный остаток (%) - определяется по окончании процесса термоокисления при фиксированной температуре по ТГ-кривым.

5.2.7. Температуры (°С) плавления и их тепловые эффекты (Дж/г) - определяются по ДСК-кривым.

5.3. Качественные термоаналитические характеристики

5.3.1. Интервалы температур (°С), внутри которых происходят процессы деструкции по ТГ- и ДТГ-кривым, или тепловых эффектов по ДСК-кривым.

5.3.2. Экстраполированные температуры (°С) начала и окончания протекания термоаналитических эффектов.

5.3.3. Тепловые эффекты в абсолютных единицах (Дж/г) по ДСК-кривым или в относительных единицах (°С·мин/мг) по ДТА-кривым.

6. ОБРАЗЦЫ И ПОДГОТОВКА ПРОБ ДЛЯ ПРОВЕДЕНИЯ ИСПЫТАНИЙ

6.1. Образцы для проведения испытаний отбираются экспертом согласно п. 12 "Порядка проведения сертификации продукции в Системе сертификации в области пожарной безопасности в Российской Федерации", а также соответствующим стандартам или техническим условиям, в которых обязательной нормой является по рядок отбора образцов для испытаний (например, позиции 8, 9 п. 2.1).

6.2. Приготовление навесок из образцов непосредственно для испытаний проводится с учетом физических свойств материалов: теплопроводности, теплоемкости, плотности упаковки частиц образца, размеров включенных частиц и т.п.

Если образец представляет собой гетерогенную смесь разнородных материалов, где компоненты распределены во всем объеме случайно, то приготовление навески для испытаний производят, исходя из опыта сохранения представительности, которая в процессе получения идентификационных характеристик оценивается статистически по нескольким испытаниям.

6.3. При приготовлении навески образца указанных выше материалов проводят усреднение пробы, т.е. зернистость и объем ее уменьшают размельчением и после дующим делением общего объема пробы на части.

6.4. Для материалов, состоящих из нескольких частей, например, ковровых покрытий или многослойных материалов, используют метод стратификации, т.е. раз деление продуктов на однородные части и последующее испытание каждой с проведением повторных съемок.

6.5. Масса, форма и размер навески образцов для испытаний выбираются в зависимости от типа используемого прибора, при этом указанные характеристики образцов фиксируются в протоколе в обязательном порядке.

Рекомендуемые характеристики навесок для некоторых видов материалов:

- однородные композиционные материалы и огнезащитные составы - масса 1...40 мг, толщина 0,2...2 мм, форма-пластина, диск, кольцо;

- ворс ковровых покрытий, нити, волокна - масса 1...30 мг, при этом рекомендуется использование специальных капсул и других приспособлений для удерживания навесок образцов от расползания;

- вспучивающиеся огнезащитные покрытия - в форме диска (пластины, кольца) толщиной 0,5... 1 мм и массой 3...10 мг, при этом необходимо учитывать и не допускать явление "убегания" образца из тигельного пространства во время испытаний;

- древесина сосны, обработанная пропиточным составом, - слой с поверхности толщиной 0,5... 1 мм, форма-пластина, диск.

6.6. Перед испытаниями навески образцов следует кондиционировать при температуре (23 ± 2) °С и относи тельной влажности (60 ± 10) % в течение не менее 3 ч.

7. ПОДГОТОВКА К ИСПЫТАНИЯМ И ИХ ПРОВЕДЕНИЕ

7.1. Перед испытаниями проводят калибровку прибора на стандартных эталонных материалах, прилагаемых к данному типу приборов, и последующую метрологическую аттестацию.

7.1.1. Рекомендуемые стандартные эталонные образцы - оксалат кальция (СаС2О42О), бензойная кислота, нитрат калия, металлы (индий, олово, свинец, цинк) должны иметь требуемые характеристики и сопроводительные документы (ГОСТ, ТУ, срок хранения, степень чистоты).

7.1.2. Погрешность и точность результатов калибровки не должны превышать указанные в соответствующей инструкции для конкретного типа прибора.

7.2. Перед испытаниями тщательно изучают возможные источники систематических погрешностей и учитывают их влияние (например, дрейф базисной линии).

7.2.1. Для этого проводят предварительные испытания и определяют оптимальные условия испытаний - скорость нагревания, массу и форму навески с учетом приведенных выше рекомендаций. При этом в параллельных испытаниях необходимо соблюдать факторы, влияющие на характер термоаналитических кривых.

7.2.2. Газ (атмосферу) для проведения съемок выбирают, исходя из условия достижения максимальной сходимости (повторяемости) результатов испытаний гомогенных полимерных материалов, разлагающихся в один этап, например, органическое стекло, полиэтилен и т.п.

7.2.3. Сложные для идентификации объекты, такие, как вспучивающиеся огнезащитные краски, образцы чешуйчатой структуры и др., резко меняющие в процессе нагревания свои размеры, рекомендуется испытывать в инертной атмосфере. Требования к газу по ГОСТ 29127.

7.3. Количество проводимых испытаний и используемые методы термического анализа определяются с учетом положений, указанных в пп. 6, 7. Рекомендуемое количество параллельных испытаний п = 3...5, но не менее трех.

Примечание: В особых случаях допускается проведение двух параллельных съемок. Особым случаем считают многократные испытания одних и тех же или однотипных образцов, для которых методически определены форма, масса навески, степени погрешностей, зависящие от структуры образца и других параметров проведения съемок.

7.4.Рекомендуемые основные условия проведения испытаний:

- скорость нагревания 10, 20 °С/мин;

- атмосфера азот с расходом 50... 100 мл/мин до температуры 500...850 °С, далее воздух;

- начальная температура 25...30 °С или окружающая;

- конечная температура по окончании процесса деструкции.

Примечание: Для получения качественных идентификационных характеристик допускается проведение испытаний в атмосфере воздуха.

8. ОБРАБОТКА РЕЗУЛЬТАТОВ ИСПЫТАНИЙ

8.1. В результате термоаналитических испытаний, которые проводят с учетом положений пп. 6, 7, получают соответствующие графические зависимости, связанные с изменением массы (ТГ-кривые), скорости потери массы (ДТГ-кривая, производная ТГ-кривой по времени), а также сигналов, с изменением энергии (ДТА- или ДСК-кривые) от времени или температуры.

8.2. Графические зависимости обрабатываются по схемам, приведенным на рис. 1-5 (см. прил. 1). При этом характеристики потери массы при фиксированных температурах (пп. 5.2.2, 5.2.4, 5.2.5) рекомендуется приводить к безразмерному виду с использованием степени превращения , которая изменяется в пределах  (пример представлен на рис. 6 прил. 1), и скорости превращения .

8.2.1. Для приборов с ручной обработкой расчет  проводится по формуле

(1)

где - начальная масса образца и массы остатков в момент t и после завершения термодеструкции соответственно.

8.2.2. Для полностью автоматизированных приборов обработка по пп. 8.2 и 8.2.1. проводится с использованием соответствующего программного обеспечения.

8.2.3. В результате обработки графических зависимостей для каждой нормированной точки и нескольких параллельных испытаний определяют:

- среднее арифметическое () каждой точки из п раз проделанных параллельных определений  по формуле

(2)

где  величина значимой характеристики термического анализа;

-отклонение d от среднего арифметического для каждого определения по формуле

 

(3)

- квадраты их отклонений  по формуле

 

(4)

- вычисляют среднеквадратическое отклонение повторяемости (сходимости) единичного измерения (СКП) S единичного измерения для каждой точки по формуле

(5)

8.2.4. Результаты обработки заносят в протокол испытаний, в котором указывают дату и время испытаний, информацию о материале, заказчике (производителе) и другие сведения согласно п. 10.2.

9. ИДЕНТИФИКАЦИЯ

9.1.Критерий идентификации - значимая характеристика термоаналитической кривой, определенная по п. 8 настоящей Инструкции.

9.2.Идентификация двух испытанных объектов (идентификатора и поступившего повторно на испытания объекта) проводится на основании сравнения следующих критериев идентификации:

- количества ДТГ или w максимумов на соответствующих кривых;

- всех значимых характеристик, определенных по п. 8.

9.2. Для этого повторно поступивший материал проходит испытания и обработку результатов согласно пунктам пп 5-8 настоящей Инструкции.

9.3 Результаты испытаний сравниваются с аналогичными результатами, полученными для идентификатора.

9.4. Сравнение результатов проводится по следующей схеме:

9.4.1. Вычисляются дисперсии  (СКП)2 для каждой значимой точки по формуле

.

(6)

9.4.2. Выясняется причастность сравниваемых дисперсий одной и той же генеральной совокупности (проверка нуль-гипотезы, т.е. ) на основании сравнения критериев Фишера (F -критерий) экспериментального Fэксп и теоретического Fmeop с использованием следующего неравенства

(7)

где - дисперсии нормированных точек идентификатора и идентифицируемого (повторно поступившего на испытания) материала; при этом в числитель всегда ставится большая дисперсия,

т.е.

- выбирается по табл.1 или 2 в зависимости от уровня значимости  и числа степеней свободы  и (для числителя и  для знаменателя); Р - доверительная вероятность (рекомендуется принимать равной 0,95, табл.1).

Примечание. При проведении указанных выше расчетов рекомендуется использовать специальную литературу п. 2.2

Таблица 1

F -критерий в зависимости от числа степеней свободы  и  (при вероятности 0,95)

1

161

200

216

225

230

239

2

8,51

19,0

19,16

19,25

19,3

19,37

3

10,13

9,55

9,28

9,12

9,01

8,94

4

7,71

6,94

6,59

6,39

6,26

6,16

5

6,61

5,79

5,41

5,19

5,05

4,95

6

5,99

5,14

4,76

4,53

4,39

4,28

Таблица 2

F -критерий в зависимости от числа степеней свободы  и  (при вероятности 0,99)

1

4052

4999

5403

5625

5764

5981

2

98,49

99,0

99,17

99,25

99,3

99,33

3

34,12

30,81

29,46

28,71

28,24

27,91

4

21,20

18,0

16,69

15,98

15,52

15,21

5

16,26

13,27

12,06

11,39

10,97

10,67

6

13,74

10,92

9,78

9,15

8,75

8,47

9.5. Если для каждой значимой характеристики неравенство (7) выполняется, то нуль-гипотеза подтверждается. В этом случае случайные ошибки обеих серий испытаний близки по величине и не вызваны влиянием со става материалов на ошибку проведенных испытаний. В противном случае () делается вывод о том, что материалы не идентичны, проводятся уточняющие расчеты или дополнительные испытания, для выявления причин обнаруженных отклонений.

9.6. В случае выполнения неравенства (7) для каждой значимой характеристики проводится сравнение двух средних с помощью t -критериев () в следующем порядке:

- для каждой значимой точки определяется усредненная дисперсия по формуле

(8)

где - количество испытаний идентификатора

- количество испытаний сравниваемого материала;

- вычисляется по формуле

(9)

9.6.1. Если найденное значение  по абсолютной величине окажется меньше :

(10)

где определяется по табл.3 при заданных уровне значимости и числе степеней свободы объединенной выборки , то нуль-гипотеза принимается и сравнение средних для каждой нормированной характеристики не имеет значимого расхождения.

Таблица 3

t -критерий в зависимости от вероятности Р и числа степеней свободы

0,90

0,95

0,98

0,99

2

2,92

4,30

6,97

9,93

3

2,35

3,18

4,54

5,84

4

2,13

2,78

3,75

4,60

5

2,01

2,57

3,37

4,03

6

1,94

2,45

3,14

3,71

7

1,89

2,36

3,0

3,50

8

1,86

2,31

2,90

3,36

9

1,83

2,26

2,82

3,25

9.6.2. Если при соответствующих значениях и  (табл.3) найденное значение  по абсолютной величине окажется больше , то нуль-гипотеза отвергается и значения средних для каждой термоаналитической характеристики имеет значимое расхождение. Проводится проверка расхождения при уровне значимости () 0,02 или 0,01. Выясняются причины полученных расхождений.

9.7. Сравниваемые образцы материалов считаются идентичными по результатам термического анализа на основании следующих заключений:

- совпадение количества основных (значимых) ДТГ или  максимумов;

- значимые термоаналитические характеристики удовлетворяют неравенствам (7) и (10) (пп. 9.4-9.6).

10. СОСТАВЛЕНИЕ ОТЧЕТА. ВЫВОДЫ

10.1 На основании проведенных испытаний составляется протокол с указанием соответствующих требований ГОСТ 29127 и п. 14.4. "Порядка проведения сертификации продукции в Системе сертификации в области пожарной безопасности в Российской Федерации" как для материала идентификатора, так и для вновь посту пившего на испытания.

10.2. Протокол испытаний должен содержать:

1) параметры проведения съемки, которые включают:

- вид используемого прибора;

- тип устройства для измерения температуры;

- массу образца;

- форму и размер образца;

- скорость нагревания;

- используемый газ и скорость потока;

- тип тигля и дополнительного контейнера для образца;

- для автоматизированных приборов скорость съема информации;

2) информацию об образце материала (ГОСТ, ТУ и т.п.);

3) номер аттестата на термоаналитическое оборудование и дату его действия;

4) результаты расчетов характеристик по пп. 5.4, 5.5.

10.3. Образцы протоколов испытаний для идентификатора с указанием рассчитанных средних значений идентификационных характеристик потери и скорости потери массы, температур или их безразмерных аналогов степени и скорости превращения, температур максимумов скоростей превращения, соответствующих расчетных значений СКП, дисперсий (СКП)2 , а также характерных термоаналитических кривых приведены в прил. 2.

10.4. Отчет о проведении идентификации, выполненной по п. 9, должен содержать результаты и выводы по всем методам идентификации (пп. 4.4 - 4.6).

10.4.1. При положительном результате испытаний в выводах указывается, что материалы являются идентичными.

10.4.2. При отрицательном результате испытаний и невыполнении п. 9.6.1 в отчете указываются соответствующие выводы, по результатам которых органом по сертификации проводятся корректирующие мероприятия согласно п.18 "Порядка проведения сертификации продукции в Системе сертификации в области пожарной безопасности в Российской Федерации".

10.5. Отчет заверяется подписями исполнителей и руководителя предприятия, выполнившего работу по идентификации.

11. ТРЕБОВАНИЯ БЕЗОПАСНОСТИ

11.1. Рабочее место оператора должно удовлетворять требованиям электробезопасности по ГОСТ 12.1.019-79, ГОСТ 12.3.019-80, ГОСТ Р 50571.1-93.

11.2. Помещение, где эксплуатируются приборы термического анализа, должно соответствовать санитарно-гигиеническим требованиям по ГОСТ 12.1.005-88.

ПРИЛОЖЕНИЕ 1

Рис. 1. Схема определения характерных значений потерь массы при фиксированных значениях температур (в координатах потеря массы - время): 1 - ТГ-кривая (потеря массы); 2 - температура; 3 - характерные точки ТГ-кривой; 4 - потеря массы при 300 и 400 °С

Рис. 2. Схема определения характерных температур при фиксированных значениях потери массы (в координатах потеря массы - время): 1 - ТГ-кривая (потеря массы); 2 - температура; 3 - характерные точки ТГ-кривой; 4 - температуры потери 10 и 50 % массы

Рис. 3. Схема определения экстраполированных температур по ТГ (1) и ДТГ (2)-кривым (в координатах сигнал - температура): 3 - экстраполированная температура начала процесса по ТГ-кривой; 4 - экстраполированные температуры начала и окончания процесса по ДТГ-кривой; 5 - экстраполированная температура максимума по ДТГ-кривой; 6 - амплитуда скорости потери массы по ДТГ-кривой

Рис. 4. Схема определения характеристик плавления по ДСК-кривой (в координатах сигнал - температура): 1 - температура плавления (Тпл); 2 - тепловой эффект плавления (DНпл); 3 - экстраполированная температура начала плавления

Рис. 5. Схема определения коксового и зольного остатков по термогравиметрической кривой (в координатах сигнал - температура): 1 - ТГ-кривая; 2 - ДТГ-кривая; 3 - коксовый остаток при 750 °С; 4 - зольный остаток при 900 °С

Рис. 6. Схема определения идентификационных характеристик  и при фиксированной температуре Т = 500 °С: 1 - по термогравиметрической кривой ; 2 - по кривой степени превращения

ПРИЛОЖЕНИЕ 2
Рекомендуемое

ПРОТОКОЛ № 1 от ___________________

результатов термического анализа материалов

1. Адрес заказчика ___________________________________________________________

2. Наименование материала ____________________________________________________

3. Дата поступления образца на испытания ______________________________________

4. Дата проведения испытаний _________________________________________________

5. Аппаратура термического анализа _____________________________________________

6. Аттестат №____, действителен до «_____»__________________________________200__

7. Условия проведения испытаний: табл.1.

Таблица 1

Условия испытаний

Используемый модуль

Термопара

 

Тигель

 

Масса образца., мг

 

Форма образца

 

Атмосфера

 

Расход газа, мл/мин

 

Скорость нагрева, °С/мин

 

Конечная температура нагрева, °С

 

8. Результаты испытаний: табл.2, рис. 1

Таблица 2

Потеря массы (, %) при температуре, °С

Коксовый остаток, %, при Т, оС

Зольный остаток, %, при Т, °С

 

 

 

СКП

 

 

 

 

 

 

Температура (°С) потери массы

 

 

 

 

СКП

 

 

 

 

 

 

 

 

Характеристика максимумов ДТГ-пиков в температурном интервале (температура максимума максимальная скорость потери массы )

Интервал, °С

 

 

СКП / СКП

 

(СКП)2/(СКП)2

 

Исполнитель ________________________________________(ФИО)

Нач. сектора ________________________________________(ФИО)

ПРОТОКОЛ № 2 от___________________

результатов термического анализа материалов

1. Адрес заказчика ____________________________________________________________

2. Наименование материала ____________________________________________________

3. Дата поступления образца на испытания ______________________________________

4. Дата проведения испытаний _________________________________________________

5. Аппаратура термического анализа _____________________________________________

6. Аттестат №____, действителен до «_____»__________________________________200__

7. Условия проведения испытаний: табл.1.

Таблица 1

Условия испытаний

Используемый модуль

Термопара

 

Тигель

 

Масса образца, мг

 

Форма образца

 

Атмосфера

 

Расход газа, мл/мин

 

Скорость нагрева, °С/мин

 

Конечная температура нагрева, °С

 

8. Результаты испытаний: табл.2, рис. 2

Таблица 2

Степень превращения со при температуре (°С)

 

100

200

300

400

500

750

900

 

 

 

 

 

 

 

СКП

 

 

 

 

 

 

 

(СКП)2

 

 

 

 

 

 

 

Температура (°С) степени превращения

 

 

 

 

 

 

СКП

 

 

 

 

 

 

(СКП)2

 

 

 

 

 

 

Характеристика максимумов скорости превращения

 

СКП

 

(СКП)2

 

 

СКП

 

(СКП)2

 

Исполнитель ________________________________________(ФИО)

Нач. сектора ________________________________________(ФИО)

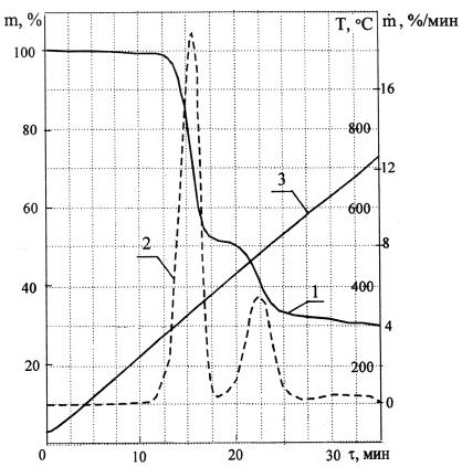
Рис. 1 . Характерные термоаналитические кривые образца материала (в координатах сигнал - время): 1 - ТГ-кривая (потеря массы); 2 - ДТГ-кривая (скорость потери массы); 3 - температура (атмосфера - азот, скорость нагревания - 20 °С/мин)

Рис. 2. Характерные термоаналитические кривые образца материала (в координатах сигнал - температура): 1 - степень превращения ; 2 - скорость превращения ; (атмосфера - азот до 750 °С, далее - воздух, скорость нагревания - 20 °С/мин)

 




ГОСТЫ, СТРОИТЕЛЬНЫЕ и ТЕХНИЧЕСКИЕ НОРМАТИВЫ.
Некоммерческая онлайн система, содержащая все Российские Госты, национальные Стандарты и нормативы.
В Системе содержится более 150000 файлов нормативно-технической документации, действующей на территории РФ.
Система предназначена для широкого круга инженерно-технических специалистов.

Рейтинг@Mail.ru Яндекс цитирования

Copyright © www.gostrf.com, 2008 - 2026