Крупнейшая бесплатная информационно-справочная система онлайн доступа к полному собранию технических нормативно-правовых актов РФ. Огромная база технических нормативов (более 150 тысяч документов) и полное собрание национальных стандартов, аутентичное официальной базе Госстандарта. GOSTRF.com - это более 1 Терабайта бесплатной технической информации для всех пользователей интернета. Все электронные копии представленных здесь документов могут распространяться без каких-либо ограничений. Поощряется распространение информации с этого сайта на любых других ресурсах. Каждый человек имеет право на неограниченный доступ к этим документам! Каждый человек имеет право на знание требований, изложенных в данных нормативно-правовых актах!

  


 

ГОСУДАРСТВЕННЫЙ ВСЕСОЮЗНЫЙ ДОРОЖНЫЙ НАУЧНО-ИССЛЕДОВАТЕЛЬСКИЙ ИНСТИТУТ

СОЮЗДОРНИИ

МЕТОДИЧЕСКИЕ РЕКОМЕНДАЦИИ

ПО ОПРЕДЕЛЕНИЮ

ЭКОНОМИЧЕСКИ РАЦИОНАЛЬНОЙ, ОБЛАСТИ

ИСПОЛЬЗОВАНИЯ ОТХОДОВ ТЭС И ГРЭС

В ДОРОЖНОМ СТРОИТЕЛЬСТВЕ

 

Утверждены замдиректора Союздорнии

канд. техн. наук Б.С.Марышевым

Одобрены Главным техническим управлением

(письмо №377-10/11 от 30 сентября 1985г.)

 

 

 

 

Москва 1987

 

Даны рекомендации по определению рациональных расстояний перевозки отходов ТЭС и ГРЭС при строительстве автомобильных дорог в зависимости от конструкции дорожной одежды, состава дорожных смесей в базовом и новом вариантах строительства, отпускных цен материалов, расстояний перевозки и вида используемого транспорта.

Разработаны номограммы по определению экономически целесообразных расстояний перевозки отходов ТЭС и ГРЭС, автомобильным и железнодорожным транспортом в зависимости от вышеперечисленных факторов.

СОДЕРЖАНИЕ

ПРЕДИСЛОВИЕ

1. ОБЩИЕ ПОЛОЖЕНИЯ

2. ОПРЕДЕЛЕНИЕ ЭКОНОМИЧЕСКИ РАЦИОНАЛЬНОЙ ОБЛАСТИ ИСПОЛЬЗОВАНИЯ ОТХОДОВ ТЭС И ГРЭС В ДОРОЖНОМ СТРОИТЕЛЬСТВЕ

3. ОПРЕДЕЛЕНИЕ ЭКОНОМИЧЕСКИ РАЦИОНАЛЬНЫХ ОБЛАСТЕЙ ИСПОЛЬЗОВАНИЯ ОТХОДОВ ТЭС И ГРЭС В ДОРОЖНОМ СТРОИТЕЛЬСТВЕ С ПОМОЩЬЮ НОМОГРАММ

ПРИЛОЖЕНИЕ 1

НОМОГРАММЫ ДЛЯ ОПРЕДЕЛЕНИЯ ПРЕДЕЛЬНО ДОПУСТИМОГО РАССТОЯНИЯ ТРАНСПОРТИРОВАНИЯ ОТХОДОВ ТЭС И ГРЭС

ПРИЛОЖЕНИЕ 2

НОМОГРАММА ДЛЯ ОПРЕДЕЛЕНИЯ РАЦИОНАЛЬНЫХ ОБЛАСТЕЙ ИСПОЛЬЗОВАНИЯ ОТХОДОВ ТЭС И ГРЭС В ДОРОЖНОМ СТРОИТЕЛЬСТВЕ

ПРИЛОЖЕНИЕ 3

ОПРЕДЕЛЕНИЕ ЭКОНОМИЧЕСКИ РАЦИОНАЛЬНЫХ РАССТОЯНИЙ ПЕРЕВОЗКИ ОТХОДОВ ТЭС И ГРЭС ПРИ ИЗМЕНЕНИИ СОСТАВА ИСПОЛЬЗУЕМЫХ МНОГОКОМПОНЕНТНЫХ ДОРОЖНЫХ СМЕСЕЙ ИЛИ ПРИ ИЗМЕНЕНИИ КОНСТРУКЦИИ ДОРОЖНОЙ ОДЕЖДЫ

ПРИЛОЖЕНИЕ 4

ОПРЕДЕЛЕНИЕ ЭКОНОМИЧЕСКИ ЦЕЛЕСООБРАЗНОГО РАССТОЯНИЯ ПЕРЕВОЗКИ ЗОЛОШЛАКОВОЙ СМЕСИ ПРИ СТРОИТЕЛЬСТВЕ АВТОМОБИЛЬНОЙ ДОРОГИ

ПРИЛОЖЕНИЕ 5

ОПРЕДЕЛЕНИЕ ЭКОНОМИЧЕСКИ ЦЕЛЕСООБРАЗНОГО РАССТОЯНИЯ ПЕРЕВОЗКИ ЗОЛОШЛАКОВОЙ СМЕСИ ПРИ СТРОИТЕЛЬСТВЕ АВТОМОБИЛЬНОЙ ДОРОГИ 1 КАТЕГОРИИ

ПРИЛОЖЕНИЕ 6

РАСЧЕТ ЭКОНОМИЧЕСКОЙ ЭФФЕКТИВНОСТИ ЗАМЕНЫ ЦЕМЕНТА СУХОЙ ЗОЛОЙ КАНСКО-АЧИНСКИХ УГЛЕЙ

 

Предисловие

Повышение эффективности дорожного строительства в значительной степени связано с использованием новых материалов. Образующиеся в результате сжигания твердого топлива отходы ТЭС и ГРЭС обладают свойствами, позволяющими эффективно их применять при устройстве дорожной одежды и земляного полотна, автомобильных дорог. В настоящее время накоплен достаточный опыт, позволяющий сформулировать требования к физико-механическим свойствам отходов ТЭС и ГРЭС и установить составы соответствующих смесей для дорожного строительства. Стимулом к использованию таких отходов служат низкая их стоимость и возможность уменьшить неблагоприятное воздействие золоотвалов на окружающую среду.

Руководящими материалами, определяющими техническую возможность использования отходов ТЭС и ГРЭС в дорожном строительстве, являются “Технические указания по использованию зол уноса и золошлаковых смесей от сжигания различных видов твердого топлива для сооружения земляного полотна и устройства дорожных оснований и покрытий автомобильных дорог” ВСН 185-75 (М., 1976), “Методические рекомендации по использованию золошлаковых смесей ТЭС для устройства укрепленных оснований и морозозащитных слоев дорожных одежд” (Союздорнии. М., 1977) и “Методические рекомендации по технологии применения в асфальтобетоне отвальных золошлаковых смесей теплоэлектростанций” (Союздорнии. М., 1978).

Для широкого применения в дорожном строительстве указанных отходов необходима методика, позволяющая определять экономически целесообразные расстояния перевозки отходов ТЭС и ГРЭС (зол уноса и золошлаков) в зависимости от отпускной цены, физико-механических свойств и потребности в них, а также в традиционно используемом (базовом) материале при сооружении конструктивных элементов автомобильной дороги.

Созданию такой методики и посвящена настоящая работа. Методической базой при этом послужила «Инструкция по определению экономической эффективности использования в строительстве новой техники, изобретений и рационализаторских предложений» СН 509-78.

“Методические рекомендации по определению рациональной области использования отходов ТЭС и ГРЭС в дорожном строительстве” разработал канд. техн. наук В.А.Хлебников. Они предназначены для проектных и строительных организаций.

Замечания и пожелания по настоящей работе просьба направлять по адресу: 143900, Московская обл., г. Балашиха-6, Союздорнии.

1. Общие положениЯ

1.1. Отходы ТЭС и ГРЭС - это продукты сгорания в котлоагрегатах ТЭС и ГРЭС различных видов твердого топлива (бурого и каменного углей, торфа, горючих сланцев). Отходы ТЭС и ГРЭС подразделяются на золу уноса и золошлаки.

1.2. Зола уноса представляет собой тонкодисперсный порошок, образующийся из минеральной части твердого топлива и осаждаемый золоулавливающими устройствами из дымовых газов. Зола уноса - наиболее ценный отход, так как в качестве строительного материала обладает вяжущими свойствами.

1.3. Золошлаковая смесь (смесь тонкодисперсной золы и зернистого шлака) образуется при гидроудалении продуктов сгорания из котлоагрегатов и вяжущими свойствами не обладает.

1.4. Золошлаковые смеси в дорожном строительстве можно использовать в качестве:

материала для сооружения насыпей земляного полотна;

малоактивной гидравлической добавки в сочетании с цементом при укреплении грунтов на дорогах III-IV категорий;

материала для сооружения морозозащитного слоя дорожных одежд;

материала для замены минерального порошка и одновременно для частичной или полной замены песка в асфальтобетоне.

1.5. Золы уноса в дорожном строительстве рекомендуется использовать при устройстве укрепленных дорожных оснований и покрытий в качестве активного компонента смешанного вяжущего в сочетании с цементом или известью или в качестве самостоятельного медленнотвердеющего вяжущего. При этом можно укреплять как различные несцементированные обломочные и супесчаные грунты, так и отходы дробления каменных материалов.

1.6. Техническую целесообразность использования золы уноса и золошлаковых смесей устанавливают с учетом их качества и требований к конструктивным элементам автомобильной дороги, при строительстве которых предполагается применять отходы ТЭС и ГРЭС.

1.7. Применение отходов ТЭС и ГРЭС в дорожном строительстве не требует специального технологического оборудования или проведения специальных производственных операций.

1.8. Использование золошлаков обусловливает проведение дополнительных мероприятий по охране окружающей среды при разработке золоотвалов и в процессе дорожного строительства, если золошлаки в результате транспортирования теряют первоначальную влажность, высыхают и пылят.

1.9. Использование зол уноса в дорожном строительстве не требует проведения дополнительных мероприятий по охране окружающей среды по сравнению с применением традиционных материалов (цемента, извести).

2. Определение экономически рациональной области использования отходов ТЭС и ГРЭС в дорожном строительстве

2.1. Область рационального использования отходов ТЭС и ГРЭС в дорожном строительстве определяется расстояниями их перевозки от ТЭС (ГРЭС) до мест укладки в автомобильную дорогу, при которых может быть получен максимальный экономический эффект в народном хозяйстве в случае замены традиционных материалов указанными отходами.

2.2. В качестве базового варианта принимается строительство соответствующего конструктивного элемента (земляного полотна, основания, покрытия) автомобильной дороги с использованием традиционных материалов, предусмотренных проектом строительства на тот случай, если в районе строительства автомобильной дороги не окажется допускаемых к использованию по техническим условиям отходов ТЭС и ГРЭС.

2.3. Условием, определяющим экономически целесообразные расстояния использования отходов ТЭС и ГРЭС в дорожном строительстве (без учета экологического фактора) можно считать равенство приведенных затрат на сооружение единицы длины конструктивного элемента автомобильной дороги при использовании традиционного и нового материалов.

2.4. Поскольку в базовом и новом вариантах строительства технологические процессы и оборудование одинаковы, то при расчете приведенных затрат достаточно учитывать только те составляющие, которыми рассматриваемые варианты могут отличаться, а именно:

отпускные цены на базовый и новый материалы;

содержание базового и нового материалов в единице длины сооружаемого конструктивного элемента;

затраты на перевозку рассматриваемых материалов на различающихся участках транспортных схем;

капитальные вложения в используемый транспорт;

дополнительные затраты ЗБ при использовании отходов ТЭС и ГРЭС в дорожном строительстве.

2.5. В наиболее общем случае область рационального использования отходов ТЭС и ГРЭС в дорожном строительстве можно определить по формуле*)

 

(1)

*) В формуле (1) и далее индексы  и  обозначают параметры, относящиеся соответственно к базовому и новому вариантам использования материалов.

где

 - стоимость (франко-предприятие-поставщик) материалов, используемых при строительстве единицы длины конструктивного элемента автомобильной дороги по базовому и новому вариантам соответственно;

 - затраты на перевозку материалов от предприятия-поставщика до места укладки при строительстве единицы длины конструктивного элемента дороги с использованием базового и нового материалов соответственно;

Ен - нормативный коэффициент эффективности капитальных вложений, Ен = 0,15;

 - капитальные вложения в автомобильный транспорт, занятый на перевозке материалов для строительства единицы длины базовой и новой конструкций дорожной одежды соответственно;

LГ- длина проектируемого на год участка автомобильной дороги при строительстве ее с использованием отходов ТЭС и ГРЭС.

При таком расчете учитывают затраты только на те материалы, содержанием которых отличаются базовый и новый варианты сооружаемого конструктивного элемента.

2.6. Если пренебречь разностью капитальных вложений в автомобильный транспорт и возможными дополнительными приведенными затратами ЗБ, то область рационального использования отходов ТЭС и ГРЭС увеличится, но не более чем на 5%. Выражение (1) в таком случае упростится и примет вид

 

 

                                                                                                                  (2)

2.7. Если для сооружения рассматриваемого слоя конструктивного элемента автомобильной дороги в базовом и новом вариантах строительства применяют материал только одного вида (например, грунт земляного полотна заменяют золошлаками), то область рационального использования отходов ТЭС и ГРЭС определится выражением

                                       (3)

где

 - стоимость 1 т базового материала (франко-место укладки);

 - стоимость 1 т нового материала (франко-место укладки),

 - стоимость (франко-предприятие-поставщик) 1 т материала в базовом и новом вариантах;

 - стоимость перевозки 1 т материала автомобильным транспортом в базовом и новом вариантах на расстояния  и соответственно;

 - стоимость перевозки 1 т материала железнодорожным транспортом в базовом и новом вариантах на расстояния  и  соответственно.

Расчетные соотношения для определения экономически целесообразного расстояния транспортирования отходов ТЭС и ГРЭС для наиболее общего и некоторых частных случаев их применения в дорожном строительстве приведены в прил. 3.

2.8. Предельное расстояние ,  транспортирования отходов ТЭС и ГРЭС, при котором будет получен положительный экономический эффект, для рассматриваемого случая можно определить из формулы (3) с помощью выражения

                                       (4)

где

e - отношение масс используемых материалов в единице длины конструктивного элемента в базовом и новом вариантах соответственно:

                                                                                                   (5)

Номограммы для определения предельно допустимого расстояния транспортирования отходов ТЭС и ГРЭС для рассматриваемого случая представлены в прил. 1 к настоящим “Методическим рекомендациям”.

2.9. Стоимость перевозки грузов для строительства необходимо определять, используя “Сборник сметных цен на перевозки грузов для строительства” главы СНиП IV.4-82.

2.10. Калькуляция железнодорожных перевозок включает вид груза; вид отправки; номер тарифной схемы; весовую норму загрузки вагонов; расстояние транспортирования; тариф (общий, исключительный); скидки; надбавки.

2.11. Калькуляция речных перевозок включает вид груза; вид отправки; номер тарифной схемы; расстояние перевозки; тариф (общий, исключительный); повышение тарифа.

2.12. Калькуляция автомобильных перевозок включает класс груза; расстояние перевозки; тариф (общий, исключительный); поясной коэффициент; надбавки.

2.13. Оптовые цены (франко-погрузочное устройство ТЭС) золошлаковой смеси утверждены постановлением № 4 Госкомцен СССР от 3 января 1984 г. и составляют 35 коп. за 1 т, а золы уноса - постановлением № 915 от 30 ноября 1982 г. - на срок до 1 января 1988 г, и составляют для I, II, III, IV, V пояса 0,70; 0,90; 1,0; 1,1; 1,2 руб. за 1 т соответственно.

3. Определение экономически рациональных областей использования отходов ТЭС и ГРЭС в дороЖном строительстве с помощью номограмм

3.1. Основным расчетным соотношением для построения номограмм при перевозке базового и нового материалов по различающимся участкам транспортных схем как железнодорожным, так и автомобильным транспортом является выражение

                  (6)

3.2. Номограммы для определения рациональных областей использования отходов ТЭС и ГРЭС в наиболее общем случае перевозки базового и нового материалов представлены в прил. 2, а, б. Здесь III квадрант (позиция “а”) образован осями, определяющими расстояния перевозки базового материала по железной дороге  и автомобильным транспортом . Применительно к конкретным расстояниям транспортирования базового материала согласно существующей системе оплаты на перевозку грузов для строительства во II и IV квадрантах определяются стоимости перевозки 1 т базового материала по железной дороге и автомобильным транспортом соответственно. В 1 квадранте стоимости перевозки 1 т базового материала по железной дороге и автомобильным транспортом суммируются. К полученным суммам прибавляется отпускная цена базового материала (квадрант 1,а) и делается поправка (квадрант IV,а) на изменение содержания базового и нового материалов в единице длины конструктивного элемента (дорожной одежды, земляного полотна) автомобильной дороги.

Определенная таким образом стоимость базового материала должна соответствовать сумме отпускной цены и затрат на перевозку эквивалентного количества нового материала (отходов ТЭС).

В прил. 2, б показано, что из установленной ранее эквивалентной стоимости базового материала следует вычесть (в III квадранте) отпускную пену нового материала (отходов ТЭС). Полученная величина (отложенная на горизонтальной оси во II квадранте) соответствует суммарным затратам на перевозку нового материала по железной дороге и автомобильным транспортом.

Одинаковым суммарным транспортным затратам соответствует множество соотношений между расстояниями возки материалов по железной дороге и автомобильным транспортом. В I квадранте представлены кривые, определяющие такие соотношения между расстояниями перевозки нового материала по железной дороге и автомобильным транспортом, при которых, суммарные транспортные затраты являются постоянными и равными 2; 3; 4; 5; 6; 7; 8; 9; 10; 11 руб. за 1 т.

3.3. Для конкретного значения суммарной стоимости перевозки 1 т отходов ТЭС и ГРЭС экономически рациональная область их использования определится (см. прил. 2, б) множеством соотношений между расстояниями возки отходов автомобильным и железнодорожным транспортом, расположенным ниже кривой, соответствующей стоимости транспортных расходов.

3.4. Если базовый и новый материалы перевозят по одинаковым участкам транспортных схем железнодорожным или автомобильным транспортом, то в правой и левой частях выражения (4) исключают члены, определяющие соответствующие затраты. Рациональные области использования отходов ТЭС и ГРЭС в таком случае определяются предельно допустимыми соотношениями между расстояниями возки базового и нового материалов только одним видом транспорта.

Номограммы для определения рациональных областей использования отходов ТЭС и ГРЭС при перевозках их только железнодорожным и автомобильным транспортом представлены на рис. 1, 2 прил. 1.

3.5. Номограммы для определения предельно допустимого соотношения между расстояниями транспортирования базового и нового материалов каким-либо одним видом транспорта (см. рис. 1,  2 прил. 1) строят в прямоугольной системе координат, в I квадранте которой по осям абсцисс и ординат откладывают расстояния перевозки базового и нового материалов автомобильным транспортом (по железной дороге). Во II и IV квадрантах строят графики изменения стоимости перевозки 1 т груза в зависимости от расстояния их транспортирования. В III квадранте проводят прямые, с помощью которых, к величинам затрат на транспортирование нового материала из II квадранта  прибавляется его отпускная цена.

Аналогично в IIIa, квадранте проводят прямые, с помощью которых к транспортным затратам при перевозке базового материала прибавляется его отпускная цена.

В IIIa, квадранте пучок штриховых линий позволяет привести базовый и новый материалы в сопоставимый вид по содержанию в единице длины конструктивного элемента сооружаемой автомобильной дороги. Граница области рационального использования отходов ТЭС и ГРЭС определится, когда приведенные в сопоставимый вид суммы отпускных цен базового и нового материалов и затрат на их перевозку совпадут (см. рис. 1, 2 прил. 1).

Порядок действий при этом следующий. На горизонтальной оси I квадранта фиксируют расстояние возки базового материала автомобильным транспортом. По содержанию IV квадранта определяют затраты на перевозку автомобильным транспортом 1 т базового материала. В IIIa квадранте к величине транспортных затрат прибавляют отпускную цену базового материала и делают поправку на отношение содержания базового и нового материалов в единице длины сооружаемого конструктивного элемента дороги. Из определенной стоимости эквивалентного количества нового материала в III квадранте вычитают его отпускную цену. Величину соответствующих транспортных затрат определяют на горизонтальной оси II квадранта, а по изображенной зависимости во II квадранте на его вертикальной оси максимально допустимое расстояние транспортирования нового материала.

3.6. Границы области рационального использования отходов ТЭС и ГРЭС, определенные в виде ступенчатых линий на рис. 1, 2 в дальнейшем на рис. 3, 4 прил. 1 заменены гладкими кривыми, огибающими ступенчатые линии в сторону, уменьшения области рационального использования отходов ТЭС и ГРЭС. В таком случае принятое ранее расширение допустимой области использования отходов ТЭС и ГРЭС практически компенсируется указанным ее уменьшением.

3.7. Определенные в соответствии с положениями настоящей методики по представленным номограммам границы области рационального использования отходов ТЭС и ГРЭС в дорожном строительстве имеют относительную погрешность значений менее 5%.

3.8. При строительстве автомобильной дороги в регионе, где поясной коэффициент на перевозку грузов автомобильным транспортом отличается от единицы, область рационального использования отходов ТЭС и ГРЭС, определенная в соответствии с рис. 1 - 5 прил. 1, должна быть откорректирована пропорционально фактическому значению поясного коэффициента.

3.9. При перевозке базового или нового материала речным транспортом вместо железнодорожного методика определения рациональной области использования отходов ТЭС и ГРЭС не изменится, однако зависимости стоимости перевозки 1 т материалов от расстояния транспортирования по железной дороге должны быть заменены на всех номограммах зависимостями стоимости перевозки 1 т материалов от расстояния возки речным транспортом.

3.10. Примеры определения экономически целесообразных расстояний перевозки отходов ТЭС и ГРЭС при строительстве автомобильных дорог приведены в приложениях 4, 5 к настоящим Методическим рекомендациям, а при заданных расстояниях перевозки отходов ТЭС и ГРЭС расчет экономического эффекта - в прил. 6.

Приложение 1

Номограммы для определения
предельно допустимого расстояния транспортирования
отходов ТЭС и ГРЭС

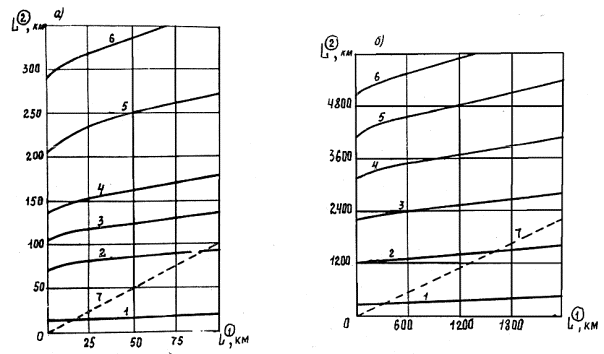
Рис. 1. Номограмма для определения предельного экономически целесообразного расстояния транспортирования отходов ТЭС и ГРЭС автомобильным транспортом в зависимости от расстояния перевозки заменяемого материала: 1-6 - использование золошлаков при e=1 и различной стоимости 1 т заменяемого материала  (1 - 1 руб., 2 - 2 руб., 3 - 3 руб., 4 - 4 руб., 5 - 5 руб., 6 - 6 pyб.); 7 - использование золы уноса вместо цемента при e=0,5.

Рис .2. Номограмма для определения предельного экономически целесообразного расстояния транспортирования отходов ТЭС и ГРЭС железнодорожным транспортом в зависимости от расстояния перевозки цемента: 1-6 - использование золошлаков при e=1 и различной стоимости 1 т заменяемого материала   (1 - 1 руб., 2 - 2руб., 3 - 3руб., 4 - 4 руб., 5 - 5 руб., 6 – 6 руб.,) 7 - использование золы уноса вместо цемента при e=0,5.

Рис. 3. Зависимость предельного экономически целесообразного расстояния транспортирования золы уноса автомобильным (а) и железнодорожным (б) транспортом от расстояния перевозки заменяемого ею цемента при различной величине относительного расхода рассматриваемых материалов e(e=Vцем/Vзол): 1 - 0,1; 2 - 0,2; 3 - 0,25; 4 - 0,3; 5 - 0,4; 6 - 0,5 ; 7 - линия равных расстояний перевозки цемента и золы уноса.

Рис. 4. Зависимость предельного экономически целесообразного расстояния транспортирования золошлака автомобильным (а) и железнодорожным (б) транспортом от расстояния перевозки заменяемого материала при различной его стоимости   (франко-погрузочное средство): 1 - 1 руб., 2 - 2 руб., 3 – 3 руб., 4 – 4 руб., 5 – 5 руб., 6 – 6 руб. за 1 т; 7 - линия равных расстояний перевозки золошлака и заменяемого материала  (отпускная цена золошлака 0,35 руб. за 1 т, относительный расход заменяемого материала по сравнению с золошлаком e=0,8).

Приложение 2

Номограмма для определения
рациональных областей использования отходов
ТЭС и ГРЭС
в дорожном строительстве

Приложение 3

Определение экономически рациональных расстояний
перевозки отходов ТЭС и ГРЭС при изменении состава используемых многокомпонентных дорожных смесей или при изменении конструкции
дорожной одежды

В наиболее общем случае необходимо определить все виды затрат в базовом и новом вариантах на строительстве рассматриваемого конструктивного элемента автомобильной дороги.

Стоимость материалов (франко-предприятие-поставщик), расходуемых при строительстве единицы длины конструктивного элемента автомобильной дороги, следует определять по формуле

                                                                           (1)

где

N - количество слоев в сооружаемом конструктивном элементе автомобильной дороги;

Mi - количество видов материалов, находящихся в i-м слое сооружаемого конструктивного элемента автомобильной вороги,

b, hi - ширина и толщина i-го слоя сооружаемого конструктивного элемента дороги,

ri - плотность i -го слоя сооружаемого конструктивного элемента дороги,

gij - доля массы материала i-го вида в i-м слое сооружаемого конструктивного элемента дороги,

Sij - отпускная цена, устанавливаемая промышленностью за 1 т материала jo вида, находящегося в i-м слое сооружаемого конструктивного элемента дороги.

Затраты на транспортирование материалов от предприятий-поставщиков до места укладки в сооружаемый конструктивный элемент автомобильной дороги в наиболее общем виде можно определить по выражению

                                                 (2)

где

 - расстояние, на которое материал j-го вида перевозят для использования в i-м слое сооружаемого конструктивного элемента автомобильным и железнодорожным (речным) транспортом соответственно.

Разность капитальных вложений в автомобильный транспорт, используемый на перевозке традиционных и новых материалов, следует определять по формуле

                 (3)

где

КА - балансовая стоимость одного автотранспортного средства, занятого на перевозке рассматриваемых материалов;

V - средняя скорость передвижения автомобиля-самосвала, перевозящего материал для строительства, км/ч;

Е - грузоподъемность автомобиля-самосвала, т;

ТГ - продолжительность работы автомобиля-самосвала в году, ч.

В наиболее общем виде условие применимости отходов ТЭС и ГРЭС в дорожном строительстве с учетом соотношений (1)-(3) можно записать так:

                          (4)

Если пренебречь разностью капитальных вложений в автомобильный транспорт и возможными дополнительными приведенными затратами зБ, область рационального использования отходов ТЭС и ГРЭС увеличится, но не более чем на 5%. Выражение (4) в таком случае упростится и примет вид

                             (5)

В частном случае, когда отходы ТЭС и ТРЭС применяют только в одном слое сооружаемого конструктивного элемента, выражение (5) примет вид (поскольку i=1):

.                                                   (6)

В случае, когда отходы ТЭС и ГРЭС применяют только в одном слое сооружаемого конструктивного элемента и конструкции других слоев не меняются, а состав рассматриваемого слоя в базовом и новом вариантах состоит из двух компонентов (например, смесь песка и цемента заменяют смесью песка и золы уноса или золошлака и золы уноса), область рационального использования отходов ТЭС и ГРЭС определяют из выражения (6) по формуле

    (7)

где

Sцем, Sзол - отпускная цена 1 т цемента и золы уноса соответственно;

 - отпускная цена 1 т песка или золошлака в базовом и новом вариантах соответственно;

 - доли песка и цемента  в единице массы базовой смеси, ;

 - доли золы уноса и песка (золошлака) в единице массы внедряемой смеси, ;

 - затраты на перевозку 1 т песка и цемента в базовом варианте строительства автомобильным транспортом;

 - то же, по железной дороге;

 - затраты на перевозку 1 т золы уноса автомобильным и железнодорожным транспортом соответственно в новом варианте строительства;

 - затраты на перевозку 1 т песка (золошлака) автомобильным и железнодорожным транспортом соответственно в новом варианте строительства;

 - расстояние перевозки песка автомобильным и железнодорожным (речным) транспортом соответственно в базовом варианте;

 - расстояние перевозки песка (золошлака) автомобильным и железнодорожным (речным) транспортом соответственно в новом варианте;

 - расстояние перевозки соответственно автомобильным и железнодорожным транспортом цемента;

 - то же, золы уноса.

В расчетах принимают, что расстояния перевозки, отпускная цена и затраты на транспортирование 1 т цемента одинаковы в базовом и новом вариантах строительства. Если в новом варианте цемент заменяют золой уноса, то отпускная цена и затраты на транспортирование 1 т песка остаются такими же, что и в базовом варианте строительства, т.е.

.

Если в двухкомпонентной смеси полностью заменяют цемент золой уноса, а содержание песка в смеси меняется, то предельное экономически целесообразное расстояние транспортирования  золы уноса определяют, используя выражение (7) по формуле

                  (8)

где

 - отношение масс базового и нового материалов в единице длины сооружаемого конструктивного элемента дороги;

                                                                                          (9)

Если пренебречь вторым слагаемым в правой части выражения (8), то это приведет к уменьшению области рационального использования золы уноса не более чем, на 8%.

Учитывая, что пренебрежение изменением капитальных вложений в автомобильный транспорт (см. выше) приводит к увеличению области рационального использования золы уноса до 5%, можно заключить, что итоговая погрешность от двух указанных допущений не превысит 3%.

Предельное экономически целесообразное расстояние транспортирования отходов ТЭС и ГРЭС  в таком случае определяют из выражения

.  (10)

Номограммы по определению предельных расстояний транспортирования золы уноса для рассматриваемого варианта ее внедрения представлены на рис. 1 прил. 1 настоящих Методических рекомендаций .

Если в базовой двухкомпонентной смеси цемент заменяют золой уноса, а песок - золошлаком (поставщик отходов один), то предельное экономически целесообразное расстояние транспортирования отходов ТЭС и ГРЭС  определяют из выражения (7) с учетом того, что  , по формуле

            (11)

Если применение отходов ТЭС или ГРЭС в каком-либо слое сооружаемого конструктивного элемента не приводит к изменению конструкций других слоев и при этом двухкомпонентная базовая смесь заменяется новой трехкомпонентной смесью, то может возникнуть несколько частных случаев.

А. Базовая конструкция слоя состоит из смеси цемента и песка, а новая - из смеси песка, цемента и золы уноса. Область рационального использования золы уноса в таком случае определяют по формуле

      (12)

При этом принимают, что в базовом и новом вариантах строительства предприятие-поставщик цемента не меняется (то же для песка). Следовательно,

Кроме того, очевидно,

Предельное экономически целесообразное расстояние транспортирования золы уноса определится, тогда как

  (13)

Б. Базовая конструкция слоя состоит из смеси цемента и песка, новая - из смеси песка, золошлака и золы уноса. Область рационального использования отходов ТЭС и ГРЭС в таком случае определяют по формуле

    (14)

где

 - доля золошлаков в единице массы внедряемой смеси;

 - стоимость 1 т золошлаков франко-место укладки;

Sшл - отпускная цена 1 т золошлаков;

 - стоимость перевозки 1 т золошлаков автомобильным и железнодорожным транспортом соответственно на расстояния .

Если поставщик золы уноса и золошлаков один, то расстояние их перевозки всеми видами транспорта и затраты на перевозку 1 т материала одинаковы, т.е.

.

Тогда предельное экономически целесообразное расстояние транспортирования отходов ТЭС и ГРЭС определяют из выражения (14), как

     (15)

При изменении количества компонентов в базовой и внедряемой смесях или изменении конструкции прочих слоев сооружаемого конструктивного элемента предельное экономически целесообразное расстояние транспортирования отходов ТЭС и ГРЭС следует, определять аналогично изложенному.

Приложение 4

Определение экономически целесообразного расстояния
перевозки золошлаковой смеси
при строительстве автомобильной дороги

Исходные данные

Золошлаковую смесь ТЭЦ использовали при строительстве укрепленного основания автомобильной дороги 1 категории. Укрепленное основание толщиной 18 см устраивали обычно из смеси песка и портландцемента. Содержание портландцемента в цементогрунтовой смеси составляло 12%, т.е. .

В новом варианте при использовании отходов основание толщиной 24 см сооружали из золошлака, укрепленного 9% портландцемента  ().

Конструкции прочих слоев дорожной одежды при этом не изменялись.

Экономический эффект от применения отходов ТЭЦ обусловлен заменой песка более дешевыми золошлаками и уменьшением расхода портландцемента.

Отпускная цена портландцемента Sцем=20 руб. за 1 т. Поставки осуществляются по железной дороге на расстояние . В соответствии с прейскурантом стоимость перевозки 1 т цемента на указанное расстояние в специализированном вагоне-цементовозе . Песок, используемый в базовом варианте строительства, перевозят речным транспортом на расстояние . Соответствующая стоимость перевозки 1 т песка . Отпускные цены 1 т песка и золошлаков Sпес=0,9 руб. (1,35 руб. за 1 м3) и Sшл=0,35 руб. соответственно.

Расстояние перевозки цемента автомобильным транспортом складывается из расстояния от железнодорожной станции до смесительной установки LА цем=10 км и расстояния Lх от смесительной установки до места укладки на трассе цементогрунта, в состав которого входит цемент.

Расстояние, на которое перевозят в базовом варианте песок от речной пристани до смесительной установки, LA пес=15 км. Расстояние перевозки золошлаков от ТЭЦ до смесительной установки LA шл= 20 км.

Решение задачи

Для определения предельного экономически целесообразного расстояния перевозки золошлаков следует руководствоваться п.2.3 настоящих Методических рекомендаций. Выражение (7) прил. 3 с учетом содержания задачи перепишется как

  (1)

Золошлаки по железной дороге не перевозят (). Портландцемент в базовом и новом вариантах строительства поставляют с одного предприятия, поэтому стоимость 1 т цемента франко-место укладки в обоих вариантах одинакова, т.е.

.               (2)

Выражение для определения предельного экономически целесообразного расстояния транспортирования золошлаков определится из (1) при замене неравенства строгим равенством. С учетом ранее сделанных замечаний выражение (2) можно представить как

.                                                                (3)

где

a=h1 / h2.

Полученное выражение с учетом , определяющих стоимости 1 т соответствующих материалов франко-место укладки, приобретет вид

  (4)

Выделив в последнем выражении члены, не зависящие от области применения золошлаков, перенесем их в правую часть записанного выражения:

.       (5)

Обозначим выражение в правой части уравнения (5) символом В и вычислим его величину в соответствии со значением исходных данных (a=h1/h2=18 /24=0,75):

В =0,91×0,35–(0,75×0,l2–0,09) × (20+0,75)–0,75×0,88×(0,9+0,49) = –0,5989.

Расстояния перевозки автомобильным транспортом:

цемента:

,

песка

,                                                                              (6)

золошлаков

.

Неизвестным является предельное экономически целесообразное расстояние Lх перевозки материалов от смесительной установки до места укладки на трассе.

Затраты на перевозку используемых материалов автомобильным транспортом с учетом соотношения (6) с достаточной точностью определятся как

   (7)

Подставив полученные соотношения в левую часть выражения (5), перепишем его как

.                                                        (8)

Решая полученное уравнение относительно величины СА(LХ), имеем

.             (9)

С учетом того, что  и  это выражение приобретет вид

.                                                    (10)

В соответствии с известными значениями величин LА шл =20 км, LА цем = 10 км, LА пес = 15 км стоимости перевозки 1 т соответствующих материалов определятся как CА(LА цем)=0,88 руб., CА(LА пес)= 1,13 руб., CА(LА шл) = 1,34 руб.

После подстановки численных значений всех составляющих в правую часть выражения (10) имеем

откуда СА(LX)= 0,5012 руб.

Полученной стоимости перевозки 1 т груза автомобильным транспортом соответствует расстояние транспортирования LX= 4 км.

Этот результат хорошо согласуется с практикой строительства. Золошлаки с ТЭЦ использовали только при строительстве транспортной развязки автомобильной дороги.

Незначительное экономически целесообразное расстояние перевозки золошлаков с ТЭЦ для рассматриваемого варианта строительства обусловлено тем, что уменьшение содержания цемента в единице массы внедряемой смеси полностью компенсируется увеличением толщины слоя основания, сооружаемого с использованием золошлаков. В итоге содержание цемента в единице длины укрепленного основания в базовом и новом вариантах строительства одинаково. Экономически целесообразная область использования золошлаков в таком случае определяется разницей в стоимости (франко-место укладки) песка и золошлака.

Приложение 5

Определение экономически целесообразного расстояния
перевозки золошлаковой смеси
при строительстве автомобильной дороги 1 категории

Исходные данные

Золошлаковую смесь для устройства нижнего слоя основания автомобильной дороги 1 категории поставляли с ТЭЦ.

Укладываемая смесь содержала 30% золошлаков и 70% песка, т.е. . Золошлаками в смеси с песком заменяли песчано-гравийную смесь (ПГС). Конструкция дорожной одежды при использовании отходов ТЭС не изменялась. Расположение поставщиков указанных материалов относительно трассы строящейся автомобильной дороги показано на рисунке настоящего приложения. Толщины нижнего слоя основания, построенного из базового и нового материалов, одинаковы. Строящийся участок автомобильной дороги начинается на берегу Волги, откуда берется добываемый гидронамывом песок. На расстоянии Lпp = 30 км от указанного места находится пристань, с которой ранее поступала ПГС. На расстоянии Lт= 22 км от начала участка имеется ответвление к ТЭС.

Схема расположения предприятий-поставщиков песка, золошлака и ПГС относительно трассы строящейся автомобильной дороги

Расстояние от золоотвала ТЭС до въезда на трассу составляет L0 = 13 км. Отпускная цена ПГС Sпгс=3 руб. за 1 м3, песка Sпес=2,26 руб. за 1 м3 (1,5 руб. за 1 т), золошлака Sшл=0,3 руб. за 1 т.

Решение задачи

Для решения задачи следует обратиться к п.2.3 настоящих Методических рекомендаций . В базовом варианте слой основания сооружали из материала, который можно рассматривать как однокомпонентный. В таком случае выражение (3) прил. 4 перепишется при a=h1/h2, , как

,                        (1)

где

 - стоимость (франко-место укладки) 1 т песчано-гравийной смеси;

 - стоимость перевозки 1 т песчано-гравийной смеси автомобильным транспортом;

 - доля массы песчано-гравийной смеси в слое основания; .

Перепишем это выражение с учетом стоимости 1 т используемых материалов франко-место укладки:

.  (2)

Предельное экономически целесообразное расстояние транспортирования золошлаков определится из выражения (2) после замены неравенства строгим равенством. Выделим в левой части выражения (2) члены, зависящие от расстояния перевозки материалов, т.е.

.  (3)

Область рационального использования золошлаков с ТЭС будет зависеть от длины LХ нижнего слоя основания, построенного от берега Волги. В таком случае расстояние перевозки песчано-гравийной смеси от пристани до места укладки определится как LА ПГС=LПР+LХ. Расстояние перевозки песка LA ПЕС=LХ. Расстояние перевозки золошлаков с ТЭС на правое плечо сооружаемого участка автомобильной дороги (т.е. при LX>LТ)

.

С достаточной точностью можно записать:

;

,                                                                    (4)

.

Подставляя соотношения (4) в выражение (3) и выделяя в левой части член СА(LХ), получим уравнение для определения предельной длины основания, строящегося с использованием золошлаков:

.                                             (5)

В соответствии с расценками на перевозку грузов для строительства СА(LПР=30)=1,66 руб.; СА(L0=13)=1,03 руб.; СА(LТ=22)=1,46 руб.

Поставляя в выражение (5) численные значения параметров в правой части, получаем

.

Длина участка основания, сооружаемого с использованием золошлаков ТЭС, при указанных условиях строительства практически не ограничена. Это во многом обусловлено тем, что в соответствии с расположением предприятий-поставщиков песка, золошлаков и ПГС расстояние перевозки золошлаков всегда менее расстояния перевозки ПГС.

Приложение 6

Расчет экономической эффективности
замены цемента сухой золой Канско-Ачинских углей

Годовой экономический эффект от применения нового материала определяется по формуле

Э = (З1–З2                                                                                             (1)

где

З1, З2 - приведенные затраты на строительство 1 км укрепленного основания автомобильной дороги с использованием базового и нового материалов соответственно;

А - годовой объем строительства укрепленного основания с использованием золы уноса.

Поскольку при применении золы уноса вместо цемента не используют новое или дополнительное технологическое оборудование, при расчете экономического эффекта целесообразно учитывать только те статьи затрат, которыми базовый и новый варианты строительства отличаются, а именно:

отпускную цену используемых материалов, установленную промышленностью;

состав смеси, из которой строится укрепленное основание;

расстояние перевозки материалов по железной дороге (расстояние перевозки материалов автомобильным транспортом от железнодорожной станции до смесительной установки и места укладки на трассе в обоих вариантах принято одинаковым).

В связи с вышеизложенным, экономический эффект, получаемый при замене цемента золой уноса, можно рассчитать по формуле

,            (2)

где b - ширина укрепленного основания, м; b=7,5 м;

L -  длина построенного укрепленного основания, м; L=1000 м;

r - плотность смеси, кг/м3; r=1,7 т /м3;

h - толщина укрепленного основания, м; h=0,15 м;

 - доля песка в массе смеси при использовании цемента и золы уноса соответственно; ;

 - доля цемента в массе базовой смеси;  ;

 - доля золы уноса в массе новой смеси;  ;

 - стоимость 1 т песка обще строительного назначения в III поясе РСФСР; ;

 – сумма отпускной цены 1 т цемента общестроительного назначения (Sцем=18,7 руб.) и затрат на перевозку цемента по железной дороге на расстояние Lж цем;

 - сумма отпускной цены 1 т золы уноса (Sзол=0,7 руб.) и затрат на перевозку золы уноса по железной дороге на расстояние Lж зол.

Среднее расстояние перевозки по железной дороге цемента и золы уноса для рассматриваемого региона принято 1000 км. Затраты на перевозку 1 т цемента и золы уноса на указанное расстояние Сж(1000)=2,58 руб. При этом

Экономический эффект от замены цемента золой уноса составит на 1 км

Э =7,5×1000×1,7×0,15[l× (0,88–0,75)+0,12×21,29–0,25×3,29]=3561,65 руб.

При строительстве укрепленного основания длиной 500 км с использованием золы уноса экономический эффект составит за один год

ЭГ =3561,65×500=1780,8 тыс.руб.

Количество сэкономленного цемента  Ц определится по формуле

.                                                                                     (3)

Использование золы уноса позволит сэкономить на 1 км укрепленного основания цемента

Ц1=0,12×7,5×1000×0,l5×1,7=229,5 т.

За 1 год экономия цемента составит

Ц21×500=229,5×500=114,75 тыс. т.

 




ГОСТЫ, СТРОИТЕЛЬНЫЕ и ТЕХНИЧЕСКИЕ НОРМАТИВЫ.
Некоммерческая онлайн система, содержащая все Российские Госты, национальные Стандарты и нормативы.
В Системе содержится более 150000 файлов нормативно-технической документации, действующей на территории РФ.
Система предназначена для широкого круга инженерно-технических специалистов.

Рейтинг@Mail.ru Яндекс цитирования

Copyright © www.gostrf.com, 2008 - 2026