|
|
|
Закрытое акционерное общество Научно-производственная фирма Центральное конструкторское бюро арматуростроения ЗАО "НПФ ЦКБА" РУКОВОДЯЩИЙ ДОКУМЕНТ МЕТОДИЧЕСКИЕ УКАЗАНИЯ ПО РАСЧЕТУ КОЛИЧЕСТВЕННЫХ ХАРАКТЕРИСТИК ТЕПЛООБМЕНА ДЛЯ ЗАДВИЖЕК РД 26-07-38-2001
Дата введения «01 » октября 2001 г. Содержание1. ОБЛАСТЬ ПРИМЕНЕНИЯНастоящий руководящий документ распространяется на задвижки, предназначенные для установки в системах атомных электростанций, опытных и исследовательских ядерных реакторах, в системах и установках химических, нефтехимических и других производств с максимальным рабочим давлением до 20 МПа (200 кгс/см2) и с температурой рабочей среды до 873К (600°С) и устанавливает порядок определения количественных характеристик теплообмена для задвижек DN от 100 до 800 мм включительно, для сред: пар, вода, воздух, азот, гелий, нефтепродукты. УСЛОВНЫЕ ОБОЗНАЧЕНИЯb - характерный геометрический размер (высота или диаметр), м; τ - время, с; t - температура, °С; Т - температура, К; tc - температура поверхности, ºС; tж - температура жидкости, газа, °С; jJ - избыточная температура, ºС; V - объём, м3, или обьёмный расход, м3/с; w - скорость, м/с; g - ускорение силы тяжести, м/с2; β - температурный коэффициент объёмного расширения, 1/°C, 1/К; ν - коэффициент кинематической вязкости, м2/с; λ - коэффициент теплопроводности, Вт/м·ºС; а - коэффициент температуропроводности, м2/с; С- коэффициент излучения, Вт/м2·К4; ε - степень черноты; bП - скорость изменения температуры рабочей среды в проточной части задвижки, К/с; bГ - скорость изменения температуры рабочей среды в зоне горловины задвижки, К/с; αП - коэффициент теплоотдачи в проточной части задвижки, Вт/м2·К; α1- коэффициент теплоотдачи в зоне горловины задвижки, Вт/м2·К; α2 - коэффициент теплоотдачи под крышкой в зоне горловины задвижки, Вт/м2·К; αi - коэффициент теплоотдачи на наружной поверхности, Вт/м2·К; αЛ- коэффициент теплоотдачи излучением, Вт/м2·К; αк- коэффициент теплоотдачи конвекцией, Вт/м2·К; αТ - коэффициент теплоотдачи с торцевой поверхности арматуры,Вт/м2·К; КРИТЕРИИ ПОДОБИЯRe = w·β/ν - критерий Рейнольдса; Рr = μ·ср /λ= ν/a - критерии Прандтля; Nu = α·β/λ - критерий Нуссельта; Gr=g·β·Δt·b3/J - критерий Грасгофа 2. НОРМАТИВНЫЕ ССЫЛКИВ настоящем руководящем документе использованы ссылки на следующие руководящие документы и стандарты: РД 302-07-122-89 «Методика расчёта температурных полей арматуры для сред с температурой 873 К (600°С)»; СТП 07.81-634-96 «Методические указания по проведению теплового расчета задвижек для АЭС»; РД 26-07-25-97 «Методика расчёта температурных полей трубопроводной арматуры»; РД 26-07-31-99 «Методические указания по расчету количественных характеристик теплообмена в арматуре клапанного типа»; Общие технические требования «Арматура для оборудования и трубопроводов АЭС» (ОТТ-87). 3.ОБЩИЕ ПОЛОЖЕНИЯ3.1. Расчёт количественных характеристик теплообмена (коэффициент теплоотдачи на внутренних и наружных поверхностях арматуры и скорости изменения температуры рабочей среды) производится с целью определения исходных данных для теплового расчета, выполняемого по программе на ПЭВМ в соответствии с РД 26-07-25-97. 3.2. Рассчитываются следующие количественные характеристики: а) коэффициент теплоотдачи в проточной части арматуры (на входе) для заданной скорости движения рабочей среды по формулам теплообмена для определённых режимов течения и типа рабочей среды; б) коэффициенты теплоотдачи (локальные) по внутренней поверхности зоны горловины; в) коэффициенты теплоотдачи с наружных поверхностей при различных условиях эксплуатации, в том числе нормальных условиях эксплуатации (НУЭ), нарушении нормальных условий эксплуатации (ННУЭ). г) расчёт скорости изменения температуры рабочей среды в зоне горловины по заданной скорости изменения температуры рабочей среды в проточной части арматуры. 3.3. Расчёт количественных характеристик теплообмена выполняется при наличии всех исходных данных, приведённых в разделе 4. Расчету предшествует составление расчётной тепловой модели. 4. ИСХОДНЫЕ ДАННЫЕ4.1 Для проведения расчета количественных характеристик теплообмена необходимы следующие данные: а) температурное поле арматуры на начальный момент времени τ = 0, К; б) закон изменения температуры рабочей и окружающей сред; в) Тн-температура рабочей среды на начальный момент времени τ = 0, К; г) Тк -температура рабочей среды на конец нестационарного режима, К; д) b -скорость изменения температуры рабочей среды в проточной части К/с; е) ta -температура окружающей среды, К; ж) геометрические размеры расчётного изделия, м; и) марки материалов деталей; к) расход рабочей среды м3/час; л) l- коэффициент теплопроводности материалов деталей, вт/м К; м) ν- кинематическая вязкость сред (рабочей и окружающей), м2/с. 5. РЕКОМЕНДАЦИИ ПО ПРОВЕДЕНИЮ РАСЧЕТА КОЛИЧЕСТВЕННЫХ ХАРАКТЕРИСТИК ТЕПЛООБМЕНА ДЛЯ ЗАДВИЖЕК5.1. Выбор начальных условий расчёта.5.1.1. При проведении теплового расчёта за начальные условия следует принять температурное поле на начальный момент времени τ = 0. Если на момент времени τ = 0 температура рабочей среды равна температуре окружающей среды, то температурное поле задвижки на начальный момент времени принимается одинаковым во всех точках и равным температуре окружающей среды. Если на момент времени τ = 0 температура рабочей среды не равна температуре окружающей среды, то начальное температурное поле задвижки принимается по расчёту соответствующего стационарного распределения температур. 5.2. Расчёт коэффициента теплоотдачи от рабочей среды к внутренней поверхности проточной частиРасчёт коэффициента теплоотдачи от рабочей среды к внутренней поверхности проточной части задвижки (на входе) производится по формуле:
где l - коэффициент теплопроводности рабочей среды, Вт/м·К; d - диаметр входного патрубка, м; Nu - критерий Нуссельта, определяемый в зависимости от характера рабочей среды и режима её течения по соответствующим формулам. 5.2.1. Формулы для жидких сред при различных режимах течения в трубах [1, 2]: а) ламинарный режим течения, когда 1/d >10; Reж>10
где Nuж = aПd/lж ; Reж = w·d/ν; Prж=νжаж ; Prс = νс /aс; ν - коэффициент кинематической вязкости рабочей среды, м2/с; Рrж, Рrc - критерий Прандтля для жидкости и стенки соответственно; 1 - характерный геометрический размер - длина участка, м; w- скорость движения рабочей среды (жидкости), м/с; а - коэффициент температуропроводности рабочей среды (жидкости) , м2/с; a, ν, Pr, - выбираются по справочной литературе. Индексы "ж" и "с" означают, что физические свойства выбираются по средней температуре жидкости и стенки соответственно. За определяющую температуру принимать среднюю температуру жидкости tж (рабочей среды). б) турбулентный режим течения, когда 1/d >50; Reж=1·104...5·106
5.2.2. Формулы для газообразных сред при различных характерах течения в трубах: а) ламинарный режим течения
б) турбулентный режим течения
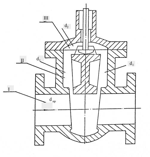
5.3. Расчёт коэффициента теплоотдачи от рабочей среды к внутренней поверхности горловиныРасчёт коэффициента теплоотдачи в горловине задвижки производится по формуле: aГ = K1´aП где К1 - поправочный коэффициент для проточной части и различных участков горловины (рисунок 1). Выбор поправочного коэффициента производится по таблице 1 в зависимости от параметров режима, используемой рабочей среды. Значения К1 были определены по результатам расчётно-экспериментальных исследований количественных характеристик теплообмена для задвижек. Приведены в приложении А. Значения поправочного коэффициент К1 для проточной части и зон горловины задвижки Таблица 1
|
|||||||||||||||||||||||||||||||||||||||||||||||||||||||||||||||||||||||||||||||||||||||||||||||||||||||||||||||||||||||||||||||||||||||||||||||||||||||||||||||||||||||||||||||||||||||||||||||||||||||||||||||||||||||||||||||||||||||||||||||||||||||||||||||||||||||||||||||||||||||||
|
aл =[Coε(Тi /100)4 - (Ta/100)4]:(Ti-Ta) |
(8) |
где Ti = tw + 273 - абсолютная температура изделия или его ступени (части), К;
Та = tа + 273 - абсолютная температура окружающей среды, К;
t a - температура окружающей среды, °С;
tw- средняя температура изделия или ступени, °С. Определяется как 1/2 суммы температур рабочей и окружающей сред (по экспериментальным или расчётным аналогам);
с - 5,77 Вт/м2К - коэффициент лучеиспускания абсолютно чёрного тела;
e - степень черноты излучающего тела.
5.4.1.3. Коэффициент теплоотдачи конвекцией aĸ рассчитывается по формулам:
|
aкi =Nui lв /di |
|
|
Nui=c(Cr Pr)n |
|
|
Gr=b·g·bi3·J /ν2 |
|
|
J = tw - ta - избыточная температура, К |
(12) |
где bi -характерный или определяющий размер (высота или диаметр), м;
g = 9,8 м/с2 - ускорение силы тяжести;
b = 1/ta+273 - коэффициент объёмного расширения воздуха, 1/град.
5.4.1.4. Коэффициенты "с" и "n" в формуле (10) являются функцией Gr·Pr и выбираются в зависимости от численного значения этого аргумента и положения арматуры. Их значения приведены в таблице 2.
|
Значения комплекса Gr·Pr |
Козффицненты |
Примечания |
|
|
с |
n |
||
|
5-102<Gr·Pr<2·107 |
0,50 |
0,25 |
При горизонтальном расположении арматуры. Режим ламинарный, характерный размер - диаметр. |
|
5 102<Gr·Pr<2·107 |
0,76 |
0,25 |
При вертикальном расположении арматуры. Режим ламинарный, характерный размер - высота. |
|
2-!07<Gr·Pr<1·1013 |
0,15 |
0,33 |
При вертикальном расположении арматуры. Режим турбулентный, характерный размер - высота. |
5.4.1.5. Значения физических параметров, входящих в формулы (9), (10), (11) выбираются по температуре окружающей среды tа, из справочной литературы [1, 2, 5... 8].
5.4.1.6. Для ступеней с характерным размером теплообменной поверхности "b" от 10 до 200 мм коэффициент aк, можно брать из графиков на рисунках 2, 3, 4, 5, 6. При вертикальном расположении арматуры «b» - это высота ступени или изделия; при горизонтальном - диаметр.
5.4.1.7. Коэффициент теплоотдачи с торцевой поверхности арматуры определяется так же, как и ai (7). Полученное по формуле (9) значение коэффициента теплоотдачи конвекцией необходимо увеличить на 30%, если теплоотдающая поверхность обращена кверху, и уменьшить на 30%, если вниз. В качестве определяющего размера для коэффициента теплоотдачи с торцевой поверхности aT берётся наружный диаметр торцевой части изделия.
5.4.2. Расчет коэффициентов теплоотдачи с наружных поверхностей задвижки в условиях аварии (АР). Возможны 2 варианта теплоотдачи:
5.4.2.1. Теплоотдача при турбулентном режиме, когда скорость движения паровоздушной смеси (окружающая среда) равна ω £ 20 м/с, рассчитывается по зависимостям:
Рис. 2. Зависимость αк от ν при температуре воздуха ta для комплекса Gr·Pr от 5·102 до 2·107; с = 0,76; n = 0,25 (при вертикальном расположении конструкции).
Рис. 3. Зависимость aк от n при температуре воздуха ta =50ºС для комплекса Gr·Pr от 5·102 до 2·107; с = 0,76; n = 0,25 (при вертикальном расположении конструкции).
Рис. 4. Зависимость aк от n при температуре воздуха ta = 20ºС для комплекса Gr·Pr от 5·102 до 2·107; с = 0,5; n = 0,25 (при горизонтальном расположении конструкции).
Рис.5. Зависимость aк от n при температуре воздуха ta =50ºС для комплекса Gr·Pr от 5·102 до 2·107; с = 0,5; n = 0,25 (при горизонтальном расположении конструкции)
.
Рис. 6. Зависимость aк от n при температуре воздуха ta =20ºС для комплекса Gr·Pr от 2·107 до 1·1013; с = 0,15; n = 0,33 (при вертикальном расположении конструкции).
|
Nu = 0,28·Reж0,6 ·Prж0,36 ·(Prж/Prс)0,25 |
(13) |
где (Prж/Prс)0,25- множитель, представляющий собой поправку, учитывающую зависимость физических свойств рабочей среды от температуры;
Re, Pr -рассчитываются аналогично указаний раздела 5.2. За определяющую температуру tж принимается заданная температура окружающей среды, а определяющий размер Н - высота изделия.
Индексы "ж" и "с" означают, что физические свойства рабочей среды (ν, Pr, λ,) выбираются по средней температуре рабочей среды Тж и температуры внутренней поверхности стенки Тс.
5.4.2.2. Теплоотдача при естественной конвекции при температуре окружающей среды (паровоздушной смеси) 100< ta < 180°С производится по зависимостям раздела 4 и 5; коэффициент теплоотдачи конвекцией при tа = 100°C и ta = 180ºC может быть определён из графиков на рисунках 7, 8.
Расчет производится по формуле:
|
bГ = K2´ bП |
(15) |
где bП - скорость изменения температуры рабочей среды в проточной части (на входе) арматуры, К/с . Задается в техническом задании на проведение теплового расчёта;
К2 - поправочный коэффициент для различных зон проточной части и горловины. Выбор поправочного коэффициента К2 производится по таблице 3 в зависимости от скорости изменения температуры рабочей среды в проточной части задвижки и вида среды.
Тепловая модель задвижки составляется согласно выбранному методу расчёта. При использовании метода конечных разностей соблюдать рекомендации, содержащиеся в РД 26-07-25-97 "Методика расчёта температурных полей трубопроводной арматуры". Тепловые модели двух типов задвижек (для газа и жидкости) представлены на рисунках 9 и 10.
Значения поправочного коэффициента К2 для проточной части и зон горловины задвижки
|
Определяющие параметры |
Зона проточной части |
Зона горловины |
Зона горловины(под крышкой) |
|
Рабочая среда - жидкость. Заданная скорость изменения температуры рабочей среды в проточной части задвижки 150 £ bП £ 300°С/ч 10 £ bП £ 100°C/c |
1,0 1,0 |
1,0 1,0 |
1,0 1,0 |
|
Рабочая среда - газ. Заданная скорость изменения температуры рабочей среды в проточной части задвижки 150 £ bП £ 300°С/ч 10 £ bП £ l00°C/c |
1,0 1,0 |
0,5 1,0 |
0,5 1,0 |
Рис.7. Зависимость коэффициента теплоотдачи aк с наружных поверхностей арматуры при свободно-конвективном теплообмене с окружающей средой (паром) от избыточной температуры ν. Температура окружающей среды ta = 100ºC.
Рис. 8. Зависимость коэффициента теплоотдачи aк с наружных поверхностей арматуры при свободно-конвективном теплообмене с окружающей средой (паром) от избыточной температуры n. Температура окружающей среды ta = 180ºC.

Рис. 9. Тепловая модель задвижки Л13189-200 (Рабочая среда - жидкость)

Рис. 10. Тепловая модель задвижки Л13149-200 (Рабочая среда - газ)
|
Первый заместитель генерального директора ЗАО «НПФ ЦКБА» |
Ю.И. Тарасьев |
|
Заместитель генерального директора- Главный конструктор ЗАО «НПФ ЦКБА» |
В.В. Ширяев |
|
Начальник отдела стандартизации 121 |
Г.И. Севастьянихин |
|
Начальник лаборатории 154 |
В.В.Никитин |
|
Начальник сектора |
Г.И.Сергевнина |
|
Ведущий инженер-исследователь |
Н.С.Косых |
|
Инженер-исследователь 1 категории |
М.А.Платонова |
В результате экспериментально-расчётных работ по исследованию теплового состояния задвижек, в том числе и количественных характеристик теплообмена, были получены значения коэффициента теплоотдачи по периметру задвижки [СТП 07.81-634-96]. Значения коэффициентов теплоотдачи представлены на рисунке А.1 и в таблице А.1.
В работе [3,4] исследовалось изменение скорости разогрева рабочей среды в проточной части задвижки bпр и в горловине задвижки bГ (график на рисунке А.2). Были предложены соотношения К2 = 0,2...0,5.
Очевидно, что выполнение тепловых расчетов задвижек с заданием тринадцати значений коэффициентов теплоотдачи в горловине aг по рисунку A.1 крайне трудоёмко и часто нецелесообразно.
Практика выполнения тепловых расчётов трубопроводной арматуры, в том числе и задвижек, показала возможность унифицировать ранее полученные значения К1 и К2.
В таблице А.2 и A.3 представлены результаты тепловых расчётов задвижек Л13189-200 (рисунок 9) и Л13149-250 (рисунок 10). Расчёты выполнены методом конечных разностей с заданием различных коэффициентов местной теплоотдачи aг, и скоростей разогрева bГ в пределах максимального и минимального значений, рекомендованных в работах [СТП 07.81-634-96; 3,4]. Условия и параметры тепловых режимов представлены в таблицах А.2 и А.З.
Для задвижки по чертежу Л13189-200, предназначенной для жидкой рабочей среды, и для задвижки по чертежу Л13149-250, предназначенной для газа, были выполнены расчёты в девяти тепловых режимах.
За критерий в оценке влияния изменения принимаемых количественных характеристик теплообмена К1 и К2 на температурное поле задвижек были выбраны значения максимальных перепадов температур во фланцевом соединении: D t4-2 -радиальный перепад, D t1-.3 - осевой перепад, D tст - перепад по стенке горловины.
На основании выполненных тепловых расчётов и данных таблиц А.2 и А.З можно сделать следующие выводы:

Рис. А.1 Схема определения коэффициентов теплоотдачи
|
Местные коэффициенты теплоотдачи |
a1 |
a2 |
a3 |
a4 |
a5 |
a6 |
a7 |
a8 |
a9 |
a10 |
a11 |
a12 |
a13 |
|
К1 |
1,0 |
0,7 |
0,2 |
0,3-0,4 |
0,4-0,5 |
0,3 |
1,2 - 1,4 |
0,3 |
0,4 |
0,5 |
0,15-0,2 |
1,5-2 |
|
1. Для задвижек, предназначенных для газа, в пределах изменения скорости разогрева 150 £ bпр £ 300ºС/ч и значения коэффициента теплоотдачи в проточной части a < 3500 вт/м2 ºС принимать одинаковые значения К1=0,5 в горловине (зона цилиндрической образующей) и под крышкой (таблица 1 и рисунок 1).
2. Для задвижек, предназначенных для газа, в пределах изменения скорости разогрева. 10 £ bпр£ 100° С/с и значения коэффициента теплоотдачи aпр < 3500 вт/м2 °С принимать К1=1,4 в горловине (зона цилиндрической образующей) и К1= 0,5 -под крышкой (таблица 1).
3. Для задвижек, предназначенных для жидкой рабочей среды, независимо от скорости разогрева рабочей среды (75 £ bпр£ 300° С/ч) при aпр > 3500 вт/м2 °С, принимать К1 = 0,5 по всей горловине (таблица 1).
4. Для задвижек, предназначенных для жидкой рабочей среды, в пределах изменения скорости разогрева 150 £ bпр£ 300°С/ч и скорости 10 £ bпр £ 100ºC/c принимать К2=1 (таблица 3) по всей зоне горловины.
5. Для задвижек, предназначенных для газа, при малых скоростях разогрева рабочей среды (в пределах 150 £ bпр£ З00ºС/ч) принимать в горловине К2 = 0,5 (график на рисунке А.З).
6. Для задвижек, предназначенных для газа, при скоростях разогрева рабочей среды в пределах 10 £ bпр£ 100°С/с принимать в горловине К2 = 1,0 (график на рисунке А.4).
7. Для задвижек, имеющих изоляцию корпуса (до бугельной стойки), значения количественных показателей теплообмена К1 и К2 в горловине принимать равным K1 = 1,0 и K2 = 1,0 независимо от скорости разогрева и значения коэффициента теплоотдачи в проточной части

Рис. А.2. Изменение температуры рабочей среды в проточной части tж.п. и горловине tж.г. макета клиновой задвижки DN300 в режиме горячего термоудара 240ºС®10ºС.
Значения максимальных перепадов температур во фланцевом соединении задвижки Л 13189-200 и по стенке горловины в зависимости от значений количественных характеристик теплообмена К1 и К2
|
№ чертежа |
№ теплового режима |
Параметры теплового режима |
Значения перепадов температур,ºС |
Сравнение режимов по значениям D t1-.3; D t4-2; ,D tст |
||
|
Dt4-2 |
Dt1-3 |
Dtcт |
||||
|
Л13189-200 |
1 |
Нагрев воды от 40 до 600ºС bпр = bГ = 150°С/ч; αпр = 420 вт/м2 °С ; αГ= 210 вт/м2 °С; К1 = 0,5; К2 =1,0 |
46,6 |
7,5 |
9,2 |
Сравнение режимов 1 и 2 по значению К1 при К2 = const погрешность: D t 4-2 = 9% D t 1-.3 =0% D tст = 3% |
|
-"- |
2 |
Нагрев от 40 до 300ºС bпр = bГ = 150°С/ч; αпр = 16000 вт/м2 °С ; αГ = 22000 вт/м2 °С; К1 = 1,4; К2 =1,0 |
51,4 |
7,5 |
8,9 |
|
|
-"- |
3 |
Нагрев от 40 до 300ºС bГ= 75°С/ч; αпр = 16000 вт/м2 °С ; αГ = 22000 вт/м2 °С; К1 = 1,4; К2 =0,5 |
42,1 |
5,7 |
7,0 |
Сравнение режимов 2 и 3 по значению К2 :при К1 = const погрешность: D t 4-2= 18% D t 1-3 = 20% D tcт = 6% |
|
Изоляция до бугельной стойки |
4 |
Нагрев от 40 до 300ºС bпр = bГ = 150°С/ч; αпр = 16000 вт/м2 °С ; αГ = 22000 вт/м2 °С; К1 = 1,4; К2 =1,0 |
29,0 |
6,1 |
4,2 |
|
|
-"- |
5 |
Нагрев газа от 40 до 300ºС bпр = bг = 150°С/ч; αпр = 16000 вт/м2 °С ; αГ =8000 вт/м2 °С; К1 = 0,5; К2 =1,0 |
29,0 |
6,3 |
4,2 |
Сравнение режимов 4 и 5 по значению К1 :при К2 = const погрешность: D t 4-2,D t 1-3 и D tcт = 0 |
|
Л13189-200 |
6 |
Нагрев от 40 до 300°С bпр = bг = 52°С/с; aпр = 16000 вт/м2 °С αГ = 22000 вт/м2 ºС К1 = 1,4; К2 = 1,0 |
139,6 |
16,4 |
169,3 |
|
|
-"- |
7 |
Нагрев от 40 до 300ºС bпр = bг = 52°С/c; αпр = 16000 вт/м2 °С ; αГ = 8000 вт/м2 °С; К1 = 0,5; К2 =1,0 |
107,4 |
14,8 |
157,6 |
Сравнение режимов 4 и 7 по значению К1 :при К2 = const погрешность: D t 4-2=20% D t 1-3 =9% D tcт = 6% |
|
-"- |
8 |
Нагрев от 40 до 300°С bГ .= 26°С/с bпр.= 52°С/с aпр = 16000 вт/м2 °С αГ = 22000 вт/м2 ºС К1 = 1,4; К2 = 0,5 |
139,6 |
16,4 |
165,8 |
Сравнение режимов 6, 8и 9 по значению К2 :при К1 = const погрешность: D t 4-2= 0% D t 1-3 = 0% D tcт = 7% |
|
-"- |
9 |
Нагрев от 40 до 300°С bГ .= 10°С/с aпр = 16000 вт/м2 °С К1 = 1,4; К2 = 0,2 |
139,6 |
16,4 |
156,2 |
|
Значения максимальных перепадов температур во фланцевом соединении задвижки Л13149-250 и по стенке горловины в зависимости от количественных характеристик теплообмена
|
№ чертежа |
№ теплового режима |
Параметры теплового режима |
Значения перепадов температур, ºС |
Сравнение режимов по значениям D t1-.3; D t 4-2;,D tст |
||
|
Dt4-2 |
Dt1-3 |
Dtcт |
||||
|
Л13189--250 |
1 |
Нагрев газа от 45 до 600ºС b = 150°С/ч; αпр = 420 вт/м2 °С ; αГ = 210 вт/м2 °С; К1 = 0,5; К2 =1,0 |
68,3 |
13,2 |
11,7 |
Сравнение режимов 1 и 2 по значению К1 при К2 = const погрешность: D t4-2 = 14% D t1-.3 =15% D tст = 5% |
|
-"- |
2 |
Нагрев от 45 до 600ºС bпр = bГ = 150°С/ч; αпр = 420 вт/м2 °С ; αГ = 600 вт/м2 °С; К1 = 1,4; К2 =1,0 |
80,1 |
14,0 |
11,0 |
|
|
-"- |
3 |
Нагрев от 45 до 600ºС bпр = 150°С/ч; bГ = 75°С/с; αпр = 420 вт/м2 °С ; αГ = 600 вт/м2 °С; К1 = 1,4; К2 =0,5 |
68,1 |
12,3 |
9,7 |
Сравнение режимов 2 и 3 по значению К2 :при К1 = const погрешность: D t4-2= 14% D t1-3 = 12% D tcт = 11% |
|
-"- |
4 |
Нагрев от 45 до 600ºС bпр = bГ = 50°С/c; αпр = 420 вт/м2 °С ; αГ = 600 вт/м2 °С; К1 = 0,5; К2 =1,0 |
123,6 |
18,9 |
61,8 |
|
|
-"- |
5 |
Нагрев газа от 45 до 600ºС bпр = bГ = 50°С/ч; αпр = 420 вт/м2 °С ; αГ = 600 вт/м2 °С; К1 = 1,4; К2 =1,0 |
193,4 |
23,7 |
138,7 |
Сравнение режимов 4 и 5 по значению К1 :при К2 = const погрешность: D t4-2= 35% D t1-3 = 20% D tcт = 55% |
|
-"- |
6 |
Нагрев от 45 до 600°С bпр.= 50°С/с bГ = 25°С/с aпр = 420 вт/м2 °С aг = 600 вт/м2 ºС К1 = 1,4; К2 = 0,5 |
123,6 |
18,9 |
60,5 |
Сравнение режимов 5 и 6 по значению К2 :при К1 = const погрешность: D t4-2= 36% D t1-3 = 20% D tcт = 56% |
|
-"- |
7 |
Нагрев от 45 до 600ºС bпр = bГ = 50°С/c; αпр = 420 вт/м2 °С ; αГ = 210 вт/м2 °С; К1 = 0,5; К1 =1,4 - под крышкой К2 =1,0 |
128,5 |
2,8 |
61,9 |
Сравнение режимов 4 и 7 по значению К1 :при К2 = const погрешность: D t4-2=3% D t1-3 =85% D tcт = 0,1% |
|
-"- |
8 |
Нагрев от 45 до 600°С bпр.= 50°С/с bГ = 10°С/с aпр = 420 вт/м2 °С αГ = 600 вт/м2 ºС К1 = 1,4; К2 = 0,2 |
!23,9 |
18,9 |
58,8 |
|
|
-"- |
9 |
Нагрев от 45 до 600°С bпр.= 50°С/с bГ = 40°С/с aпр = 420 вт/м2 °С αГ = 600 вт/м2 ºС К1 = 1,4; К2 = 0,8 |
!24,0 |
18,9 |
18,9 |
|

Рис. А.3. Изменение максимальных перепадов температур D t1-3 , D t4-2 во фланцевом соединении и по стенке горловины D tст. задвижки Л131189-200 в режимах по табл. 5.

Рис. А.4. Изменение максимальных перепадов температур D t1-3 , D t4-2 во фланцевом соединении и по стенке горловины D tст. задвижки Л1349-250 в режимах по табл. А.3.
1. М.А. Михеев. Основы теплопередачи. М., Энергия. 1977.
2. В.П. Исаченко и др. Теплопередача. М., Энергоиздат. 1981.
3. Исследование теплового состояния и разработка методики расчёта запорных задвижек Ду от 100 до 800мм для АЭС. Отчёт о НИР, В.И. Лебедевич, № Р01850020304, УДК621.646.5.001.24:536.3, Ленинград, 1988.
4. Исследование и расчет теплонапряжённого состояния трубопроводной арматуры в нестационарных режимах. Сборник научных трудов, ЦКБА, Ленинград,1987.
5. И.Б. Варгафтик. Справочник по теплофизическим свойствам газов и жидкостей. М., Наука. 1972.
6. B.C. Чиркин. Теплофизические свойства материалов ядерной техники. М. Атомиздат. 1968.
7. ВТИ им. Дзержинского. Министерство энергетики и электрификации СССР. Физические свойства сталей и сплавов, применяемых в энергетике. М.-Л., Энергия. 1967.
8. Д.Ф. Гуревич, В.В. Ширяев, И.Х. Пайкин. Арматура атомных электростанций. М., Энергоиздат. 1982.
|
Изме-нение |
Номера листов (страниц) |
№ документа |
Подпись |
Дата |
Срок введения докум. |
|||
|
Изменённых |
Заменённых |
Новых |
Аннулирован- ных |
|||||
|
|
|
|
|
|
|
|
|
|
|
ГОСТЫ, СТРОИТЕЛЬНЫЕ и ТЕХНИЧЕСКИЕ НОРМАТИВЫ. Некоммерческая онлайн система, содержащая все Российские Госты, национальные Стандарты и нормативы. В Системе содержится более 150000 файлов нормативно-технической документации, действующей на территории РФ. Система предназначена для широкого круга инженерно-технических специалистов. Copyright © www.gostrf.com, 2008 - 2026 |