|
|
|
Типовые технологические карты на производство отдельных видов работ
Раздел 06 Типовые технологические карты на теплоизоляционные работы 6.01.01.27 ТЕПЛОИЗОЛЯЦИЯ СТЫКОВ ОКОННЫХ И ДВЕРНЫХ БЛОКОВ НАРУЖНЫХ СТЕН МЕТОДОМ НАПЫЛЕНИЯ ПЕНОПОЛИУРЕТАНОМ В КРУПНОПАНЕЛЬНЫХ ДОМАХ Москва 1989
СОДЕРЖАНИЕ
6.01.01.27-00П3 Пояснительная записка
|
|||||||||||||||||||||||||||||||||||||||||||||||||||||||||||||||||||||||||||||||||||||||||||||||||||||||||||||||||||||||||||||||||||||||||||||||||||||||||||||||||||||||||||||||||||||||||||||||||||||||||||||||||||||||||||||||||||||||||||||||||||||||||||||||||||||||||||||||||||||||||||||||||||||||||||||||||||||||||||||||||||||||||||||||||||||||||||||||||||||||||||||||||||||||||||||||||||||||||||||||||||||||||||||||||||||||||||||||||||||||||||||||||||||||||||||||||||||||||||||||||||||||||||||||||||||||||||||||||||||||||||||||||||
|
Операции, подлежащие контролю |
состав |
способы |
.время |
привлекаемая служба |
|
|
производителем работ |
мастером |
||||
|
- |
Подготовка поверхности напыления для нанесения пенополиуретана |
Очистка поверхности сжатым воздухом, заделка трещин, отколотых и осыпающихся мест, установка оконного блока с выверкой и закреплением его |
Визуально |
До начала напыления пенополиуретаном |
- |
|
- |
Подготовка исходных компонентов для напыления |
Проверка соответствия компонентов "А" и "Б" требованиям ГОСТ и ТУ и паспортным данным |
Визуально, термометром, отбором проб |
То же |
Строительная лаборатория |
|
- |
Подготовка установки "Пена-9" |
Проверка работы аппаратуры прокачка шлангов, удаление воздуха из систем, очистка емкостей |
Визуально |
-"- |
То же |
|
- |
Напыление стыков пенополиуретаном |
Контроль за выполнением работ по напылению. Контроль за соблюдением схемы технологического процесса выполнения работ |
То же |
В период нанесения пенополиуретана |
-"- |
|
Приемка готового напыленного стыка |
|
Оценка качества работ по напылению |
-"- |
После выполнения работ |
-"- |
Примечание. Если работы возглавляет один руководитель (прораб или мастер), то он выполняет все контрольные функции по схеме
Схема пооперационного контроля качества работ
|
Операции, подлежащие контролю |
Состав |
Способы |
Время |
Привлекаемая служба |
|
|
производителем работ |
мастером |
||||
|
- |
Подготовка поверхности напыления для нанесения пенополиуретана |
Очистка поверхности сжатым воздухом |
Визуально |
До начала напыления пенополиуретаном |
- |
|
- |
Подготовка исходных компонентов для напыления |
Проверка соответствия компонентов "А" и "Б" требованиям ГОСТ и ТУ и паспортным данным |
То же |
До начала напыления пенополиуретаном |
Строительная лаборатория |
|
- |
Подготовка установки "Пена-12" |
Проверка работы аппаратуры, прокачка шлангов, удаление воздуха из систем, очистка емкостей |
-"- |
До начала напыления пенополиуретаном |
То же |
|
- |
Напыление |
Контроль за выполнением работ по напылению, контроль за соблюдением схемы технологического процесса выполнения работ |
То же |
В период нанесения пенополиуретана |
-"- |
|
Приемка готового напыленного стыка |
|
Оценка качества работ по напылению |
-"- |
После выполнения работ |
-"- |
Примечание. Если работы возглавляет один руководитель (прораб или мастер), то он выполняет все контрольные функции по схеме.
2.14.7. Запрещается использовать бензол и этилированный бензин в качестве растворителей.
2.14.8. Запрещается производить работы при неработающей вентиляции.
2.14.9. В зоне работы установки должны быть вывешены инструкции по технике безопасности и правилам эксплуатации, предупредительные надписи, знаки, плакаты.
2.14.10. Необходимо своевременно выдавать молоко в количестве 0,5 литра в день согласно Постановлению Госкомитета Совмина СССР по вопросам труда и заработной платы и ВЦСПС от 13 ноября 1969 года, № 446/11-21.
2.14.11. Рабочим, занятым приготовлением компонентов, а также аппаратчикам, работающим с пистолетом-распылителем, предоставляют дополнительный отпуск продолжительностью 12 рабочих дней.
2.14.12. Требования к применению средств защиты.
Аппаратчик должен применять индивидуальные средства защиты органов дыхания (противогазы марки А с аэрозольным фильтром, респираторы РУ-60 М и др.), средства защиты кожи рук (резиновые перчатки, защитные пасты и мази ИЭР-1, крем силиконовый, паста "Биологические перчатки" и др.), очки.
При попадании полиизоционата "Д" на кожные покровы его удаляют мягкой ветошью, кожу промывают спиртом, затем несколько раз водой с мылом и смазывают мазью.
При попадании полиизоционата "Д" в глаза необходимо сразу же обильно промывать их водой или 1-3%-ным раствором хлористого натрия (физиологическим раствором) и срочно обратиться к врачу.
2.14.13. Аппаратчик, производящий операцию разогрева полиизоционата "Д", должен быть одет в спецодежду. Пробка (затычка) бочки должна находиться наверху и быть приоткрыта для выхода газов. При этом необходимо принять меры, чтобы в процессе разогревания полиизоционата "Д" в него не попала влага, для чего пробка (почти открытая) должна быть защищена от проникновения влаги.
Нагревание полиизоционата "Д" должно проводиться с предосторожностью и под надзором ответственного лица.
Категорически запрещается разогревать компонент "А" открытым пламенем (паяльные лампы, костер и т.п.) во избежание образования большого количества газов, обладающих сильными токсическими свойствами.
При нанесении пенополиуретана на напыляемую поверхность аппаратчик должен работать в индивидуальных средствах защиты (очках, шлеме, рукавицах).
Компонент "А" относится к 3-му классу опасности из-за содержания трихлорпропилфосфата.
При работе с компонентом "А" необходимо избегать вдыхания паров, попадания его на кожу и в глаза.
Оборудование и коммуникации, по которым передается компонент, должны быть герметичными.
Производственные помещения оборудуются приточно-вытяжной вентиляцией с 12-кратным часовым обменом воздуха от мест возможного выделения вредных веществ. При попадании компонента "А" на кожу необходимо промыть загрязненный участок теплой водой с мылом, затем обратиться к врачу. При отравлении парами необходимо вынести пострадавшего на свежий воздух и оказать квалифицированную помощь. При загорании пламя можно тушить всеми имеющимися средствами пожаротушения.
2.15. Противопожарные требования.
2.15.1. Противопожарная профилактика является самым эффективным противопожарным мероприятием. Она сводится к строгому соблюдению противопожарного режима на данном предприятии.
2.15.2. В целях пожарной безопасности рабочий должен выполнять следующие требования:
- курить только в специально отведенных местах, обеспеченных средствами пожаротушения;
- не разводить костры, не сжигать мусор и отходы;
- горючие отходы убирать ежедневно после работы с рабочих мест в специально отведенные места на расстояние не ближе 50 м от зданий и складов;
- в случае возникновения пожара предупредить людей об опасности и принять участие в тушении огня (гасить пламя песком, брезентом, огнетушителем);
- не загромождать доступы и проходы к противопожарному инвентарю;
- не высовываться в оконный проем, не выходящий на лоджию или балкон, находясь на средствах подмащивания без предохранительных поясов.
(на 100 м)
|
3.1. |
Для заводских условий: Затраты труда, чел-день |
1,107 |
|
Выработка на одного рабочего в смену, м (утепленного шва) |
90 |
|
|
Стоимость затрат труда, руб-коп |
7-42 |
|
|
Стоимость теплоизоляции 1 м шва |
1-08 |
|
|
3.2. |
Для построечных условий: |
|
|
Затраты труда, чел-день |
1,876 |
|
|
Выработка на одного рабочего в смену, м (утепленного шва) |
54 |
|
|
Стоимость затрат труда, руб-коп |
12-56 |
|
|
Стоимость теплоизоляции I м шва |
1-66 |
Потребность в основных материалах и полуфабрикатах
|
Наименование |
Марка, ГОСТ, ТУ |
Единица измерения |
Количество на 1 м шва |
|
Компонент "А" |
А-35СНП ТУ6-05-221-815-85 |
кг |
0,2 |
|
Компонент "Б" |
Полиизоционат ТУ-113-03-029-6-34 |
кг |
0,2 |
Потребность в машинах, оборудовании, инструменте, инвентаре и приспособлениях в заводских условиях
|
Наименование |
Марка ГОСТ, ОСТ, ТУ, № чертежа |
Количество |
Техническая характеристика |
|
Установка для нанесения пенополиуретана |
Пена-9 |
1 |
30 м3/ч |
|
Компрессор |
С07А |
1 |
|
|
Топор плотничный |
А-2, ГОСТ 18578-73* |
1 |
|
|
Молоток |
ГОСТ 11042-83 |
1 |
|
|
Ножовка |
1 |
Потребность в машинах, оборудовании, инструменте, инвентаре и приспособлениях в построечных условиях
|
Наименование |
Марка, ГОСТ, ОСТ, ТУ, № чертежа |
Количество |
Техническая характеристика |
|
Установка для нанесения пенополиуретана |
Пена-12 |
1 |
|
|
Компрессор |
СО7А |
1 |
|
|
Пояс предохранительный |
ГОСТ 12.4.089-80 |
1 |
|
|
Столик-подмости |
Гипросельстрой |
1 |
РАСЧЕТ
к калькуляции затрат труда на устройство теплоизоляции в заводских условиях
Расчет № 1
Норма времени и расценки на очистку 100 п.м. поверхности от пыли при помощи компрессора С07А.
Состав звена: аппаратчик 6-го разряда - 1;
аппаратчик 5-го разряда - 1.
Норма времени: - 1,36 чел.-ч (получена опытным путем нормативно-исследовательской станцией).
Средняя часовая ставка звена:
(80,7 + 70,5) : 2 × 1,08 = 81,6 коп.
Расценка 1,36 × 81,6 = 1 руб.10,9 коп.
Расчет № 2
Нормы времени и расценки на подготовку системы к работе (для утепления 100 п.м. зазора).
Состав звена: аппаратчик 6-го разряда - 1;
аппаратчик 5-го разряда - 1;
Норма времени: - 0,91 чел-ч (получена опытным путем нормативно-исследовательской станцией).
Средняя часовая ставка звена:
(80,7 + 70,5) : 2 × 1,08 = 81,6 коп.
Расценка 0,91 × 81,6 = 74,2 коп.
Расчет № 3
Нормы времени и расценки на напыление зазоров пенополиуретаном при помощи установки "Пена-9".
Состав звена: аппаратчик 6-го разряда - 1;
аппаратчик 5-го разряда - 1;
Норма времени: 6,37 чел-ч (получена опытным путем нормативно-исследовательской станцией)
Средняя часовая ставка звена: ( 80,7 + 70,5 ) : 2 × 1,08 = 81,6 коп.
Расценка 6,37 × 81,6 = 5 руб. 19,7 коп.
Расчет № 4
Нормы времени и расценки на обслуживание установки.
Состав звена: аппаратчик 6-го разряда - 1;
аппаратчик 5-го разряда - 1;
Норма времени: 0,46 чел-ч (получена опытным путем нормативно исследовательской станцией)
Средняя часовая ставка звена:
(80,7 + 70,5) : 2 × 1,08 = 81,6 коп.
Расценка 0,46 × 81,6 = 37,5 коп.
Во всех расчетах принята часовая ставка аппаратчиков 6-го разряда - 80,7 коп; 5-го разряда - 70,5 коп.
РАСЧЕТ
к калькуляции затрат труда по устройству теплоизоляции в построечных условиях
Расчет № 1
Нормы времени и расценки 100 п.м. поверхности от пыли при помощи компрессора С07А.
Состав звена: аппаратчик 6-го разряда - 1;
аппаратчик 5-го разряда - 1;
Норма времени: 2,28 чел.-ч (получена опытным путем нормативно-исследовательской станцией)
Средняя часовая ставка звена
( 80,7 + 70,5) : 2 × 1,08 - 81,6 коп.
Расценка 2,28 × 81,6 = 1 руб. 86 коп.
Расчет № 2
Нормы времени и расценки на подготовку системы к работе (для утепления 100 п.м. зазора).
Состав звена: аппаратчик 6-го разряда - 1;
аппаратчик 5-го разряда - 1;
Норма времени: 1,52 чел.-ч (получена опытным путем нормативно-исследовательской станцией)
Средняя часовая ставка звена:
80,7 + 70,5) : 2 × 1,08 = 81,6 коп.
Расценка 1,52 × 81,6 = 1 руб. 24 коп.
Расчет № 3
Нормы времени и расценки на напыление зазоров пенополиуретаном при помощи установки "Пена-12".
Состав звена: аппаратчик 6-го разряда - 1;
аппаратчик 5-го разряда - 1;
Норма времени: 10,84 чел-ч (получена опытным путем нормативно-исследовательской станцией)
Средняя часовая ставка звена:
(80,7 + 70,5) : 2 × 1,08 = 81,6 коп.
Расценка 10,84 × 81,6 = 8 руб.84,5 коп.
Расчет № 4
Нормы времени и расценки на обслуживание установки.
Состав звена: аппаратчик 6-го разряда - 1;
аппаратчик 5-го разряда - 1;
Норма времени: 0,76 чел-ч. (получена опытным путем нормативно-исследовательской станцией)
Средняя часовая ставка звена:
(80,7 + 70,5) : 2 × 1,08 = 81,6 коп.
Расценка 0,76 × 81,6 = 62,0 коп.
Во всех расчетах принята часовая ставка аппаратчиков
6-го разряда - 80,7 коп, 5-го разряда - 70,5 коп.
|
Обоснование ЕНиР и др. |
Работы |
Единица измерения |
Объем работ |
Норма времени на единицу измерения, чел-ч. |
Затраты груда на весь объем работ, чел.-день |
Расценка на единицу измерения, руб.-коп. |
Стоимость затрат труда на весь объем работ, руб.-коп. |
|
Расчет № I |
Очистка поверхности от мусора и пыли сжатым воздухом |
100 м |
1 |
1,36 |
0,165 |
1-10,9 |
1-10,9 |
|
Расчет № 2 |
Подготовка системы к работе |
100 м |
1 |
0,91 |
0,110 |
0-74,2 |
0-74,2 |
|
Расчет № 3 |
Напыление зазоров пенополиуретаном при помощи установки "Пена-9" |
100 м |
1 |
6,37 |
0,776 |
5-19,7 |
5-19,7 |
|
Расчет № 4 |
Обслуживание установки |
100 м |
1 |
0,46 |
0,056 |
0-37,5 |
0-37,5 |
|
Итого: |
|
|
1,107 |
|
7-42,3 |
||
|
Обоснование ЕНиР и др. |
Работы |
Единица измерения |
Объем работ |
Норма времени на единицу измерений, чел.-ч . |
Затраты труда на весь объем работ, чел-день |
Расценка на единицу измерения, руб.-коп. |
Стоимость затрат труда на весь объем работ, руб.-коп. |
|
Расчет № I |
Очистка поверхности от мусора и пыли сжатым воздухом |
100 м |
1 |
2,28 |
0,278 |
1-86,0 |
1-86,0 |
|
Расчет № 2 |
Подготовка системы к работе |
100 м |
1 |
1,52 |
0,185 |
1-24,0 |
1-24,0 |
|
Расчет № 3 |
Напыление зазоров пенополиуретаном при помощи установки "Пена-12" |
100 м |
1 |
10,84 |
1,321 |
8-84,5 |
8-84,5 |
|
Расчет № 4 |
Обслуживание установки |
100 м |
1 |
0,76 |
0,092 |
0-62,0 |
0-62,0 |
|
Итого |
- |
- |
- |
1,876 |
- |
12-56,5 |
|
|
Работы- |
Единица измерения |
Объем работ |
Затраты труда |
Состав (звена) и используемые машины |
Рабочие дни |
||||||
|
на единицу измерения, чел-ч |
на весь объем работ, чел.-день |
I |
2 |
3 |
4 |
5 |
|
||||
|
Очистка поверхности от мусора и пыли сжатым воздухом |
100 п.м. |
10,0 |
13,6 |
1,65 |
Аппаратчики: 6 разряда-1, 5 разряда-1, компрессор С07А |
__ |
|
|
|
|
|
|
Подготовка системы к работе |
100 п.м. |
10,0 |
9,1 |
1,1 |
Аппаратчики: 6 разряда-1, 5 разряда-1, установка "Пена-9" |
|
|
|
|
|
|
|
Заполнение зазоров пенополиуретаном при помощи установки "Пена-9" |
100 п.м. |
10,0 |
6,37 |
7,76 |
Аппаратчики: 6 разряда-1, 5 разряда-1, установка "Пена-9", компрессор С07А |
|
_ |
__ |
__ |
__ |
__ |
|
Обслуживание установки |
100 п.м. |
10,0 |
4,6 |
0,5 |
Аппаратчики: 6 разряда-1, 5 разряда-1, установка "Пена-9" компрессор С07А |
--- |
--- |
--- |
--- |
--- |
--- |
|
Работы |
Единица измерения |
Объем работ |
Затраты труда |
Состав бригады (звена) и используемые машины |
Рабочие дни |
|
||||||||||
|
на единицу измерения чел-ч |
на весь объем работ, чел.-день |
1 |
2 |
3 |
4 |
5 |
6 |
7 |
8 |
9 |
10 |
|
||||
|
Очистка поверхности от мусора и пыли сжатым воздухом |
100 п.м. |
10 |
22,8 |
2,78 |
Аппаратчики: 6 разряда-1, 5 разряда-1, компрессор-С07А |
__ |
|
|
|
|
|
|
|
|
|
|
|
Подготовка системы к работе |
100 п.м. |
10 |
15,2 |
1,85 |
Аппаратчики: 6 разряда-1, 5 разряда-1, установка "Пена-12" |
|
__ |
|
|
|
|
|
|
|
|
|
|
Заполнение зазоров пенополиуретаном при помощи установки "Пена-12" |
100 п.м. |
10 |
108,4 |
13,21 |
Аппаратчики: 6 разряда-1, 5 разряда-1, установка-"Пена-12", компрессор-С07А |
|
|
_ |
__ |
__ |
__ |
__ |
__ |
__ |
|
|
|
Обслуживание установки |
100 п.м. |
10 |
7,6 |
0,92 |
Аппаратчики: 6 разряда-1, 5 разряда-1, установка-"Пена-12", компрессор-С07А |
_ |
_ |
_ |
_ |
_ |
_ |
_ |
_ |
_ |
|
|

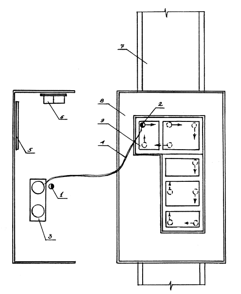
1 - рабочее место 1; 2 - рабочее место 2; 3 - установка "Пена-9"; 4 - шланги; 5 - стенд с мероприятиями по безопасному производству работ; 6 - противопожарный щит; 7 - конвейерная линия; 8 - стеновая панель; 9-оконный блок

1-компрессор СО-7А; 2-установка "Пена-12", 3-столик-подмости; 4-рабочее место-1; 5-рабочее место-2


1 - вспененный пенополиуретан;
2 - оконный блок (разрез);
3 – нащельник
|
|
Руководителям строительно-монтажных и проектных организаций, оргтехстроев, домостроительных комбинатов, заводов железобетонных изделий и других предприятий стройиндустрии, директорам строительно-учебных заведений |
Типовые технологические карты на производство отдельных видов работ являются неотъемлемой частью проектов производства работ, используются в качестве основы при их разработке или входят в них как самостоятельные части.
Типовые технологические карты включают текстовую документацию (область применения, организация и технология строительного процесса, календарный график выполнения работ, калькуляция затрат труда, потребность в основных конструкциях, машинах, оборудовании, инструменте, инвентаре, приспособлениях, технико-экономические показатели), схемы движения оборудования, раскладки конструкций и изделий на строительной площадке, монтажа и демонтажа вспомогательных конструкций, узлы крепления вспомогательных конструкций и приспособлений.
Типовые технологические карты способствуют повышению производительности труда строителей, сокращению сроков и повышению качества строительства.
КРОВЕЛЬНЫЕ И ИЗОЛЯЦИОННЫЕ РАБОТЫ
|
Обозначение (инвентарный номер) |
Наименование |
Организация-разработчик. Дата введения в действие |
|
05.01.10 5.01.10.01/83 (63505) |
Устройство основания из цементно-песчаного раствора (при подаче раствора краном) |
Промстройпроект Госстроя СССР. 01.05.83 г. |
|
05.01.11 5.01.11.01/83 (63504) |
Устройство основания из литого асфальта |
То же |
|
05.01.12 5.01.12.01/83 (6351I) |
Наклейка трех-четырехслойного рулонного ковра на холодной битумной мастике |
Промстройпроект Госстроя СССР. 01.05.83 г. |
|
05.01.13 5.01.13.01/83 (63512) |
Наклейка трех-четырехслойного рулонного ковра на горячей битумной мастике |
То же |
|
05.01.14 5.01.14.01/83 (63513) |
Покрытие парапетов, обделка примыканий и деформационных швов |
-"- |
|
05.01.15 5.01.15.01/83 (63514) |
Нанесение защитного слоя |
-"- |
|
05.01.16.01/84 (63564) |
Устройство стыков комплексных плит |
То же, 01.03.84 г. |
|
05.01.17.01 (63565) |
Устройство кровли трехпролетного промышленного здания размерами в плане 72x144 м (с уклоном до 2,5%) |
То же |
|
05.02.01 5.02.01.01/83 (63515) |
Очистка плит покрытия от мусора и пыли |
То же, 01.05.83 г. |
|
05.02.02 5.02.02.01/83 (63516) |
Сушка влажных оснований кровли с уклоном 2,5 - менее 10% |
То же |
|
05.02.03 5.02.03.01/83 (63517) |
Огрунтовка плит покрытия и выравнивание слоя |
-"- |
|
05.02.04 5.02.04.01/83 (63516) |
Нанесение окрасочной пароизоляции |
-"- |
|
05.02.05 5.02.05.01/83 (63519) |
Заклейка однослойного пароизоляционного ковра |
-"- |
|
05.02.05.07 (63577) |
Устройство кровель из асбестоцементных волнистых листов унифицированного профиля по железобетонным прогонам в неотапливаемых промышленных зданиях |
Хабаровскпромпроект Минвостокстроя. 01.09.84 г. |
|
05.02.06 5.02.06.01/83 (63520) |
Укладка теплоизоляционного слоя из неорганических материалов |
Промстройпроект Госстроя СССР. 01.05.83 г. |
|
05.02.07 5.02.07.01/83 (63521) |
Укладка теплоизоляционного слоя из сыпучих материалов |
То же |
|
05.02.08 5.02.08.01/83 (63522) |
Устройство основания из цементно-песчаного раствора |
-"- |
|
05.02.09 5.02.09.01/83 (63523) |
Наклейка трехслойного рулонного ковра на горячей битумной мастике |
-"- |
|
05.02.10.01 (63566) |
Покрытие парапетов, обделка примыканий и деформационных швов |
То же, 01.03.84 г. |
|
05.02.11.01 (63567) |
Устройство кровли трехпролетного промышленного здания размерами в плане 72x144 м (с уклоном 2,5 -менее - 10%) |
То же |
|
05.02.12,01 (63568) |
Устройство кровли трехпролетного промышленного здания размерами в плане 72x144 м с фонарями (с уклоном 2,5 - менее 10% |
-"- |
|
05.02.13.01 (63569) |
Устройство кровли двухпролетного промышленного здания размерами в плане 60x144 м (с уклоном 2,5 -менее 10%) |
-"- |
|
05.03.02 5.0I.05.01 (63535) |
Огрунтовка оснований |
Приднепроворгтехстрой Минтяжстроя УССР. 01.07.79 г. |
|
05.03.03 5.01.05.02 (63536) |
Устройство окрасочной пароизоляции холодными мастиками |
То же |
|
05.03.04 5.01.05.03 (63537) |
Устройство окрасочной пароизоляции горячими мастиками |
Приднепроворгтехстрой Минтяжстроя УССР. 01.07.79 г. |
|
05.04.01 5.02.01.03/85 (63580) |
Укладка профилированного настила по стальным прогонам |
Оргтехстрой Главюжуралстроя Минтяжстроя СССР. 15.02.86 г. |
|
05.04.02 5.01.05.23 (63539) |
Устройство оклеечной пароизоляции на холодных мастиках по профилированному настилу |
То же, 20.04.74 г. |
|
05.04.04 5.01.05.25/85 (63582) |
Устройство защитного гравийного слоя на горячей битумной мастике толщиной 20 мм по мягкой кровле |
То же, 15.02.86 г. |
|
05.05.01 5.0I.05.23a (63542) |
Устройство рулонной кровли на холодной битумно-кукерсольной мастике |
Оргтехстрой Главсредуралстроя 30.11.73 г. |
|
05.05.02 5.01.05.47 (63543) |
Устройство мастичных неармированных кровель с уклоном 2,5 - 15% |
Оргтехстрой Минтяжстроя СССР. 07.12.71 г. |
|
05.06.03 06.5.02.02.02 (63553) |
Монтаж кровель из асбестоцементных волнистых листов усиленного профиля по железобетонным прогонам неотапливаемых промышленных зданий |
Оргтехстрой Главдальстроя 11.09.73 г. |
|
05.06.04 06.5.02.02.03 (63554) |
Монтаж кровель из асбестоцементных волнистых листов усиленного профиля по стальным прогонам неотапливаемых промышленных зданий |
То же |
|
05.06.05 06.5.01.05.49 (63555) |
Устройство сборных железобетонных безрулонных кровель |
Оргтехстрой Главкузбасстроя Минтяжстроя СССР. 10.12.75 г. |
|
05.07.01 5.01.05.22 (63545) |
Сборка и навеска водосточных труб |
Львоворгтехстрой Минпромстроя УССР. 1974 г. |
|
ГОСТЫ, СТРОИТЕЛЬНЫЕ и ТЕХНИЧЕСКИЕ НОРМАТИВЫ. Некоммерческая онлайн система, содержащая все Российские Госты, национальные Стандарты и нормативы. В Системе содержится более 150000 файлов нормативно-технической документации, действующей на территории РФ. Система предназначена для широкого круга инженерно-технических специалистов. Copyright © www.gostrf.com, 2008 - 2026 |