Крупнейшая бесплатная информационно-справочная система онлайн доступа к полному собранию технических нормативно-правовых актов РФ. Огромная база технических нормативов (более 150 тысяч документов) и полное собрание национальных стандартов, аутентичное официальной базе Госстандарта. GOSTRF.com - это более 1 Терабайта бесплатной технической информации для всех пользователей интернета. Все электронные копии представленных здесь документов могут распространяться без каких-либо ограничений. Поощряется распространение информации с этого сайта на любых других ресурсах. Каждый человек имеет право на неограниченный доступ к этим документам! Каждый человек имеет право на знание требований, изложенных в данных нормативно-правовых актах!

  


 

ОРДЕНА ЛЕНИНА ГЛАВМОССТРОЙ при МОСГОРИСПОЛКОМЕ

ТРЕСТ МОСОРГСТРОЙ

 

ТИПОВАЯ ТЕХНОЛОГИЧЕСКАЯ КАРТА НА УСТРОЙСТВО ПОДВЕСНЫХ ПОТОЛКОВ ИЗ ГИПСОВЫХ ДЕКОРАТИВНЫХ ПЛИТ

Москва - 1980

 

СОДЕРЖАНИЕ

 

Типовая технологическая карта разработана отделом проектирования и технологии отделочных работ треста Мосоргстрой (М.С. Стесин, А.Н. Стригина.) и согласована с Управлением отделочных работ (В.И. Малин).

Срок внедрения - 1 сентября 1980 года.

1. ОБЛАСТЬ ПРИМЕНЕНИЯ

С целью дальнейшего повышения производительности труда в отделочных работам и сокращения объемов трудоемких видов работ (например, мокрой штукатурки) на объектах культурно-бытового и общественного назначения применяются для устройства потолков гипсовые декоративные плиты.

Настоящая технологическая карта разработана на устройство потолков из гипсовых декоративных плит (ГРП-П).

2. ТЕХНИКО-ЭКОНОМИЧЕСКИЕ ПОКАЗАТЕЛИ

Выработка на 1 чел.-дн., м2                                - 6,04

Затраты труда на 1 м2, чел.-час.-           - 1,32

3. ОРГАНИЗАЦИЯ И ТЕХНОЛОГИЯ СТРОИТЕЛЬНОГО ПРОЦЕССА

3.1. К моменту начала работ по устройству потолков из гипсовых декоративных плит должны быть закопчены строительно-монтажные работы, а такие отделочные работы, связанные с мокрыми процессами.

3.2. Устройство потолков из гипсовых плит должно производиться в помещениях, где относительная влажность не превышает 70%.

3.3. При выполнении работ по устройству потолков из гипсовых плит выполняются следующие технологические процессы:

- вынесение отметок для установки опорного уголка;

- нарезка уголка с разметкой;

- установка уголка с креплением;

- вынесение отметок для установки гипсовых плит;

- сортировка плит; устранение мелких дефектов:

- установка креплений на плиты;

- установка подвесок;

- прирезка плит с подгонкой;

- вырезка отверстий в плитах;

- установка плит;

- выверка установленных плит.

3.4. Гипсовые плиты и все элементы, необходимые при устройстве потолка, должны храниться в помещениях, защищенных от проникновения влаги и снега, а транспортироваться на строительный объект с завода-изготовителя в специальной заводской упаковке; сбрасывать ящики с плитами при выгрузке запрещается.

3.5. Работы по устройству потолка из гипсовых плит выполняют звенья монтажников, состоящие из двух человек.

3.6. Все работы, связанные с устройством потолка на высоте, должны выполняться с инвентарных сборно-разборных передвижных подмостей.

3.7. Вынесение отметок на стены выполняют при помощи водяного уровня, нарезку уголка - при помощи пилы-ножовки; крепление уголка к стене осуществляется дюбелями пристрелкой монтажным пистолетом; сортировку плит выполняют при помощи металлического угольника, установку креплений на гипсовые плиты – на столе для раскроя плит; установку подвесок и плит - с инвентарных подмостей.

3.8. Готовый потолок должен соответствовать проекту, перепады высот между смежными плитами не должны быть более 1 мм; на поверхности потолка не допускаются околы кромок и углов плит. Отклонение швов между рядами плит от прямого направления не должно превышать 10 мм на 10 м длины ряда.

4. ОРГАНИЗАЦИЯ И МЕТОДЫ ТРУДА РАБОЧИХ

4.1. Работы по устройству потолков из гипсовых декоративных плит выполняют звенья монтажников по два человека в каждом звене, которые объединены в бригаду из 7 человек. Седьмой член бригады работает на подсобных работах. Пристрелку уголка выполняет один из членов бригады, работающий в одном из звеньев.

4.2. Выполнение рабочих операций звеньями и разряды рабочих принимать по табл.1.

Таблица 1

Профессия, разряд

Кол- во, чел.

Выполнение операций

Звено:

2

 

монтажник V разряда

1

Вынесение отметок для установки уголка

монтажник IV разряда

1

Нарезка уголка

Вынесение отметок для установки плит

Натягивание шнура

Сортировка плит, устранение мелких дефектов

Установка креплений на плиты

Установка подвесок

Прирезка плит с подгонкой

Вырезка отверстий а плитах

Установка плит

Выверка установленных плит

Подсобный рабочий II разряда

1

Подносит уголок, плиты, подает плиты монтажникам, находящимся на подмостях

4.3. Последовательность выполнения основных операций должна соответствовать табл. 2

Таблица 2

№ п/п

Наименование процесса

Последовательность рабочих операций

1

Установка опорного уголка

Вынесение отметок для установки опорного уголка. Разметка в нарезка опорного уголка, установка опорного уголка.

2.

Подготовка гипсовых плат

Вынесение отметок для установки плит. Натягивание шнура. Сортировка плит. Установка укреплений на плиты.

3

Установка плит 1

Установка подвесок. Прирезка и подгонка плит Вырезка отверстий в плитах. Установка плит. Выверка установленных плит.

4.4. Методы в приемы труда.

1 Вынесение отметок. Стоя на подмостях, монтажники производят вынесение отметок установки опорного уголка на стены при помощи водяного уровня (рис. 1).

2. Нарезка уголка. Определяют необходимый размер уголка с помощью складного метра и по этим замерам нарезают его при помощи пилы-ножовки (рис. 2).

3. Установка уголка. Монтажники устанавливают уголок по периметру стен и колонн, временно его закрепляют специальными подкосами

Затем закрепляют уголок пристрелкой дюбелями при помощи монтажно-поршневого пистолета ПЦ-52-1 (рис. 3 и 4).

4. Вынесение отметок чистого потолка - см. п.1.

5. Натягивание шнура. Для каждого ряда плит по всей длине помещения монтажники натягивают шнур. Крепление концов шнура производят за полки опорного уголка, установленного по периметру помещения. Натянутый шнур должен соответствовать уровню низа подвесного потолка.

8. Сортировка плит. Производят сортировку плит по размерам на столе для раскроя плит при помощи металлической линейки. Прямоугольность плит проверяют металлическим угольником. Затем проверяют соответствие прорезей в плитах толщине и длине закладных деталей (рис. 5),

7. Установка креплений на плиты. В готовые прорези, находящиеся с двух сторон одного угла плиты, устанавливают закладные детали П-1. Металлическую скобу П-2 заводят за загнутые концы деталей П-1 и соединяют их между собой (рис. 6).

8. Установка подвесок. Монтажники, стоя на подмостях, одевают один конец пластины на стержень подвески, затем прислонив подвеску к направляющей, одевают второй конец пластины на стержень так, чтобы направляющая прошла между согнутой пластиной и стержнем (рис. 7).

9. Прирезка плит с подгонкой. При необходимости монтажники обрезают гипсовые плиты до требуемого размера ножовкой, следя за тем, чтобы не повредить кромки и лицевой поверхности плиты.

10. Вырезка отверстий в плитах. В местах выходов электропроводки вырезают отверстия при помощи коловорота.

11. Установка гипсовых плит. Первую гипсовую плиту устанавливают так, чтобы один из углов плиты опирался на опорный уголок, а свободный угол плиты - тот, где установлено крепление, подвешивают на двух подвесках. Вторую плиту опирают двумя сторонами на полку ранее уложенной плиты и уголок, а свободный угол подвешивают на подвесках и т.д. укладывают первый ряд плит. В последующих рядах плиты опирают двумя сторонами на полки ранее уложенных плит, а свободный угол плиты подвешивают на подвесках.

12. Выверка установленных плит. Каждую установленную плиту выверяют при помощи водяного уровня на горизонтальность и соответствие отметкам чистого потолка. Положение плиты по вертикали регулируют пружинной пластиной подвески П-1 (рис. 3).

4.5. График производства работ звена по устройству потолков из гипсовых плит составлен на работы в объеме 150 м2 потолков. Организация рабочих мест звена - см. на рис. 9, 10.

4.6. До начала работ по устройству подвесных потолков из гипсовых декоративных плит ответственный за их производство обязан обеспечить проведение инструктажа рабочих и выдачу необходимого инструмента в средств индивидуальной защиты. При выполнении работ необходимо соблюдать правила техники безопасности, изложенные в СНиП III-А.11-70 "Техника безопасности о строительстве", в "Правилах пожарной безопасности при производстве строительно-монтажных работ" и в "Инструкции по эксплуатации в технике безопасности для оператора, работающего с монтажно-поршневым пистолетом ПЦ-52-1 на строительных объектах Главмосстроя" (изд. 1976 г.). Особое внимание следует обратить на следующее:

- к работе с пистолетом допускаются лица не моложе 20 лет, имеющие квалификацию не ниже IV разряда, проработавшие на монтажных работах не менее двух лет, прошедшие медицинское освидетельствование, обученные в Учебном комбинате Главмосстроя по специальной программе безопасным способам производства работ, сдавшие экзамены и получившие удостоверение оператора;

Рис. 1. Вынесение отметок

Рис. 2. Нарезка уголка

 

Рис 3.Пристрелка опорного уголка

Рис. 4. Подкос для поддерживания уголка на время крепления, его к стене: 1 - уголок 25×25; 2 -шуруп 40×40; 3 - штырь опорный;4 - брусок

 

Рис.5. Сортировка гипсовых плит

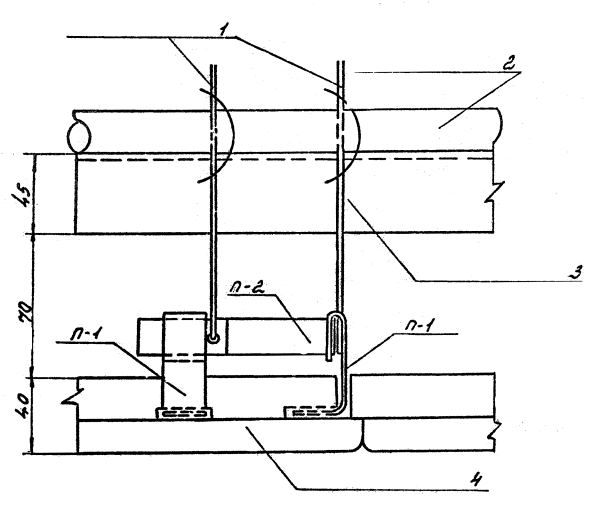
Рис. 6. Схема установка гипсовых плит: 1 - подвеска; 2 - направляющая; 3 - несущий уголок 45×5; 4 - гипсовая плита

Рис. 7. Установка подвески

Рис. 8. Выверка установленных плит

Рис. 9. Организация рабочего места звена монтажников при подготовке гипсовых плат:

1 - подмости; 2 - ящик с платами; 1 - монтажник V разряда (устанавливает и выверяет плиты); II - монтажник IV разряда (устанавливает и выверяет плиты); III - подсобный разряда (подает плиты монтажникам)

Рис. 10. Организация рабочего места звена монтажников при установке плит: 1 - подмости; 2 – стол для раскроя плит; 3 - ящик с инструментами; 4 - ящик с отсортированными и подготовленными плитами

I - монтажник V разряда (производит сортировку плит; II - монтажник IV разряда (устанавливает крепления, на плиту)

 


ГРАФИК ПРОИЗВОДСТВА РАБОТ

Наименование работ

Единица измерения

исполнители

Трудозатраты, чел.-ч.

Часы работы

1. Выноска отметок

450

звено №.1

зв.№.2

зв.№.3

2

2  Нарезка уголка с разметкой

150

зв. №.1

зв.№.2

зв.№.3

1

3. Установка уголка с креплением

450

зв. №.1

зв.№.2

зв.№.3

3

4. Вынесение отметок и натягивания шнура

150

зв. №.1

зв.№.2

зв.№.3

14

5. Сортировка плит

150

зв. №.1

зв.№.2

зв.№.3

45

6. Установка креплений на плиты

150

зв. №.1

зв.№.2

зв.№.3

20

7. Установка подвесок

450

зв. №.1

зв.№.2

зв.№.3

12

8. Прирезка плит с подгонкой

150

зв. №.1

зв.№.2

зв.№.3

15

9. Установка и выверка плит

450

зв. №.1

зв.№.2

зв.№.3

117

 


- удостоверение действительно в организации и на предприятиях Главмосстроя при условии ежегодной проверки знаний правил техники безопасности при работе с пистолетом и отметки об этом в удостоверении;

- приступая к работе по забивке дюбелей, оператор должен вместе с мастером или прорабом ознакомиться с конкретным расположением мест пристрелки, осмотреть строительные конструкции здания, в которые должны забиваться дюбели, обратив особое внимание на материал конструкции (кирпич, бетон, шлакобетон);

- оформить наряд-заказ на работу с пистолетом и получить инструктаж на рабочем месте; начинать работать по пристрелке, получив разрешение мастера или прораба;

- до начала работ по забивке дюбелей необходимо наладить противошумные наушника ВЦНИИОТ-2М, защитные очки, спецодежду, каску и перчатки; проверить, произведена ли мастером или прорабом разметка мест забивки дюбелей; убедиться в том, что мастер или прораб приняли все меры, обеспечивающие безопасность работ. Забивать дюбели на высоте разрешается только с инвентарных подмостей. Производство работ в помещениях, смежных с теми, в которых забивают дюбели, запрещается.

4.7. Трудозатраты звена монтажников (2 человека) на 100 м потолков

Таблица 3

Наименование работ и исполнители

Норма времени в чел.-час.

Выноска отметок для установки опорного уголка

1,2

Нарезка уголка

0,19

Установка уголка

1,7

Разметка потолка с вынесением отметок для разметки каждого ряда плит

6,7

Натягивание шнура

2,3

Сортировка плит

8,9

Прирезка плит с подгонкой

5,3

Вырезка отверстий в плитах

4.3

Установка подвесок

11,3

Установка скоб

12,6

Установка плит

66,0

Выверка установленных плит

12,0

ВСЕГО:

132,49

Выработка на 1 чел.-день м потолка    - 6,04 м2

в т.ч. на подготовительных работах      - 23,8 м2

на установку гипсовых плит                  - 8,08 м2

5. МАТЕРИАЛЬНО-ТЕХНИЧЕСКИЕ РЕСУРСЫ

5.1. Комплект инвентаря, механизированного в ручного инструмента на бригаду.

Таблица 4

Наименование

Нормативный документ, организация калькодержатель

Кол-во на бригаду, шт.

Монтажный пистолет ПЦ-52-1

Тульский оружейный з-д

1

Уровень водяной

ТУ 22-11-760-72

3

Метр складной деревянный

ОСТ 149-71 Латвийской ССР

6

Ножовка по металлу

ГОСТ 17270-71

3

Столик для раскроя гипсовых плит

трест Мосоргстрой

3

Универсальные сборно-разборные подмости х/

Управление механизации отделочных работ

6

Вышка Тура

-"-

6

Угольник металлический 500 x 200

ТУ 22-2783-73

3

Молоток плотничный типа МПЛ

 Очки защитные

ГОСТ 11042-72

3

Коловорот с трещеткой и набором сверл

3

Шнур разметочный в корпусе

 

Подкос для поддерживания опорного уголка

трест Мосоргстрой

9

Пассатижи

ГОСТ 17438-72

3

Отвертка слесарно-монтажная

ГОСТ 17199-71

3

Ножовка по дереву

ТУ 14-1-302-72

3

х/ - Бригада оснащается подмостями в зависимости от высоты помещения.

Материалы и требования к ним

5.2. Гипсовые декоративные плиты изготовляются Красногорским заводом термоизоляционный и гипсовых изделий из гипсового вяжущего с заполнителями или без них и могут армироваться оцинкованным железом, стекловолокном, стеклосеткой и др. Для придания плитам гидрофобных свойств их лицевая поверхность может обрабатываться водоотталкивающими составами. Декоративные гипсовые плиты выпускаются размером 600×600×15-20-25 и более; отклонения от размеров не должны превышать по длине .и ширине 1,5 мм, по толщине от 1 до 3 мм. Плиты должны быть правильной прямоугольной формы и с тыльной стороны могут иметь для облегчения несквозные пустоты различной формы. Лицевая поверхность плит должна быть гладкой, без внешних дефектов.

По внешнему виду плиты должны соответствовать следующим требованиям:

- местные повреждения (околы) граней лицевой стороны плиты допускаются длиной и шириной не более 5 мм, глубиной не более 3 мм и не более трех на ребро;

- раковины на лицевой стороне допускаются глубиной не более 3 мм и в поперечине не более 6 мм;

- наплывы на лицевой стороне допускаются высотой не более 3 мм; трещины не допускаются;

- отклонения граней плиты от прямого угла не должны превышать 3 мм на 1 м;

- толщина защитного слоя арматуры должна быть не менее 3 мм;

Плита должна выдерживать разрушительную нагрузку, равную 4-кратной массе плиты в сухом состоянии.

Масса 1 м2 плиты при влажности 5% должна быть не более:

при толщине плиты        15 мм             - 12 кг

                                          20 мм             - 18 кг

                                          25 мм             - 25 кг

Допускаемая влажность должна быть не более 5%.

Поставляются гипсовые платы с комплектом крепежных деталей и без них.

Размеры плит и величину повреждений раковин и наплывов проверяют по ГОСТ 427-56. "Линейки измерительные металлические". Отклонения граней от прямого угла проверяют по ГОСТ 10920-69 "Угольники стальные" угольником.

Готовые плиты укладываются на ребро в контейнеры, в картонные или деревянные ящики с прокладками из картона или эластичных материалов. На каждое упаковочное место должна быть наклеена этикетка с паспортными данными.

Плиты, установленные на ребро, хранятся на стеллажах в закрытых сухих помещениях. Транспортировка плит осуществляется любым видом транспорта, при этом плиты должны быть защищены от влаги.

5.3. Крепежные детали П-1, применяемые при монтаже подвесных потолков, должны иметь антикоррозийное покрытие.

 




ГОСТЫ, СТРОИТЕЛЬНЫЕ и ТЕХНИЧЕСКИЕ НОРМАТИВЫ.
Некоммерческая онлайн система, содержащая все Российские Госты, национальные Стандарты и нормативы.
В Системе содержится более 150000 файлов нормативно-технической документации, действующей на территории РФ.
Система предназначена для широкого круга инженерно-технических специалистов.

Рейтинг@Mail.ru Яндекс цитирования

Copyright © www.gostrf.com, 2008 - 2026