Крупнейшая бесплатная информационно-справочная система онлайн доступа к полному собранию технических нормативно-правовых актов РФ. Огромная база технических нормативов (более 150 тысяч документов) и полное собрание национальных стандартов, аутентичное официальной базе Госстандарта. GOSTRF.com - это более 1 Терабайта бесплатной технической информации для всех пользователей интернета. Все электронные копии представленных здесь документов могут распространяться без каких-либо ограничений. Поощряется распространение информации с этого сайта на любых других ресурсах. Каждый человек имеет право на неограниченный доступ к этим документам! Каждый человек имеет право на знание требований, изложенных в данных нормативно-правовых актах!

  


 

научно-исследовательский институт
строительного производства госстроя усср

ТЕХНОЛОГИЧЕСКАЯ КАРТА
НА ОТДЕЛКУ НАРУЖНЫХ СТЕНОВЫХ ПАНЕЛЕЙ И ДЕТАЛЕЙ ФАСАДОВ ЗДАНИЙ МЕЛКОЗЕРНИСТЫМИ ДЕКОРАТИВНЫМИ МАТЕРИАЛАМИ МЕТОДОМ НАПЫЛЕНИЯ ПО КЛЕЯЩЕЙ ОСНОВЕ В ПОСТРОЕЧНЫХ УСЛОВИЯХ

Одобрены Ученым советом НИИСП Госстроя УССР

Протокол от 13.01.83 № 1

КИЕВ НИИСП 1983

Содержание

Даны основные положения по технологии отделки поверхности наружных стеновых панелей мелкозернистыми материалами методом напыления по клеящей основе в построечных условиях; приведены данные о материалах и требования к ним; подобраны механизмы, необходимые для приготовления и нанесения грунтовочных, клеящих растворов и крошки; даны рекомендации по подготовке поверхности под отделку.

Карту разработали с учетом Руководства по разработке типовых карт в строительстве /ЦНИИОМТП Госстроя СССР, 1976/, инженеры А.И. Баглай, П.А. Малышев, Т.П. Гутниченко /отдел отделочных и герметизационных работ ПКБ НИИСП Госстроя УССР/, В.А. Боронило /сектор заводской отделки НИИСП Госстроя УССР/, канд. техн. наук Л.М. Ярошевский /лаборатория отделочных работ Днепропетровского филиала НИИСП Госстроя УССР/, инж. Г.К. Соколовский (НИИСП)

Для строительных организаций, занимающихся отделочными работами в условиях стройплощадок.

1. ОБЛАСТЬ ПРИМЕНЕНИЯ

1.1. Настоящая технологическая карта распространяется на отделку стеновых панелей и деталей фасадов зданий мелкозернистыми декоративными материалами методом напыления по клеящей основе в построечных условиях.

1.2. В состав работ, рассматриваемых картой, входят:

подготовка поверхности панелей и деталей фасадов зданий под отделку;

приготовление клеящих растворов;

приготовление грунтовочных растворов;

смачивание водой и огрунтовка поверхности;

нанесение грунтовочного раствора;

нанесение клеящего раствора и мелкозернистого декоративного материала.

1.3. Работы выполняются в летний период при температуре окружающего воздуха от +5 до +40 °С.

1.4. При привязке технологической карты к конкретному объекту и условиям строительства уточняется состав работ, калькуляция трудозатрат, средства механизации с учетом максимального использования наличного парка отделочных и подъемных механизмов.

2. ОРГАНИЗАЦИЯ И ТЕХНОЛОГИЯ ПРОЦЕССА ОТДЕЛКИ НАРУЖНЫХ СТЕНОВЫХ ПАНЕЛЕЙ И ДЕТАЛЕЙ ФАСАДОВ ЗДАНИЙ

2.1. До начала процесса отделки должны быть выполнены следующие работы:

устройство кровли;

установка подоконных сливов;

устройство отмосток;

устройство полов на лоджиях;

герметизация стыков панелей;

заготовка необходимого количества материалов;

установка люлек;

подготовка поверхности наружных стеновых панелей и деталей фасадов зданий под отделку.

2.2. Заготовка материалов производится на весь объект одной партией. Применение материалов /песка, цемента, шлака, дробленых материалов/ разных партий и соответственно с различными характеристиками вызывает изменение оттенков и цвета отделочного слоя.

2.3. Материалы, применяемые для отделки, должны удовлетворять требованиям соответствующих стандартов. Контроль качества поступающих материалов и их испытание должны осуществляться лабораториями строительных организаций.

2.4. Цементы для приготовления декоративных растворов должны удовлетворять требованиям следующих стандартов: ГОСТ 965-78, ГОСТ 15825-70, ГОСТ 10178-76.

2.5. В кварцевом песке допускается содержание водорастворимых сернокислых соединений не более 2 %.

2.6. Мелкозернистым наполнителем в клеящих растворах является природный молотый мел с удельным весом от 2,5·10-5 до 2,9·10-5 Н/м3.

2.7. Для приготовления полимерцементных растворов рекомендуется применять пластифицированную грубодисперсную гомополимерную поливинилацетатную дисперсию и латекс синтетический СКС-65 ГП марки Б.

Транспортирование и хранение поливинилацетатной дисперсии и латекса синтетического допускается при температуре от +5 до +40 °С.

При отрицательной температуре латекс и дисперсия теряют свои связующие свойства и для работы не пригодны.

Срок хранения поливинилацетатной дисперсии - не более 6 месяцев, стабилизированного латекса - не более трех месяцев.

Тара для хранения поливинилацетатной дисперсии и синтетического латекса может быть из любого материала с полиэтиленовым вкладышем и обязательно герметически закрытой.

2.8. Для приготовления раствора состава 1 /табл. 1/ используют доменный молотый шлак с удельной поверхностью 35000±2000 м2/кг. Можно использовать доменный гранулированный шлак /ГOCT 3476-74, предварительно измельчив его в шаровой мельнице до удельной поверхности 35000±2000 м2/кг.

2.9. Модуль жидкого калиевого стекла должен быть не ниже 2,7, плотность - 1,410+3 кг/м3.

2.10. Гидрат окиси калия получают в жидком /37 %-ный раствор/ или твердом виде.

Хранить гидрат окиси калия рекомендуется в полиэтиленовой или металлической /неоцинкованной/ таре, герметически закрытой.

Жидкий гидрат окиси калия вступает в реакцию с углекислым газом, имеющимся в воздухе, образует поташ, в результате чего концентрация основного вещества снижается.

Твердый гидрат окиси калия интенсивно поглощает влагу и углекислый газ из окружающего воздуха и на его поверхности образуется слой карбоната калия, толщина этого слоя зависит от времени контакта щелочи с воздухом и концентрации углекислого газа в воздухе, это явление необходимо учитывать при приготовлении растворов из сухого гидрата окиси калия.

2.11. В клеящие растворы рекомендуется вводить только светощелочестойкие пигменты: пигментную окись хрома /ГОСТ 2912-79/; железный сурик /ГОСТ 8135-74, изм. 1/; сухой ультрамарин /ОСТ 6-10-104-77/; природную мумию /ОСТ 6-10-396-76/; сухую охру /ОСТ 6-10-430-80/; зеленый фталоцианиновый пигмент /ТУ 6-14-408-76/; голубой фталоцианиновый пигмент /ГОСТ 6220-76/.

2.12. В качестве мелкозернистых декоративных материалов рекомендуется использовать крошку, получаемую из естественных и искусственных материалов /гранит, базальт, мрамор плотных пород, стекло/ путем дробления и рассева по фракциям 0,31 … 0,80; 0,80 ... 1,40; 1,40 … 2,80 мм.

2.13. Цветная стеклянная крошка должна удовлетворять требованиям ТУ 21 УССР 618-71 /для крошки, выпускаемой Запорожским стекольным заводом/, ТУ 400-1-496-74 /для крошки, выпускаемой Главмоспромстройматериалами/.

Декоративный щебень из природного камня должен удовлетворять требованиям ГОСТ 22856-77, базальтовая крошка из природного камня - ТУ 21 УССР 213-79E.

2.14. Декоративные крошки различных цветов и фракций должны храниться раздельно на крытых складах, в контейнерах или мешках.

2.15. Перед отделкой рабочие подают на каждый этаж расчетное количество мелкозернистого декоративного материала при помощи грузового подъемника.

2.16. При подготовке поверхности наружных стеновых панелей и деталей фасадов зданий под отделку необходимо удалить цементный раствор, применяемый для заливки швов, ржавчину маслообразные вещества, атмосферную пыль, высолы извести /см. приложение/.

2.17. Работы по подготовке поверхности наружных стеновых панелей и деталей фасадов зданий и нанесение на эту поверхность декоративных мелкозернистых материалов методом напыления по клеящей основе производятся с самоподъемных люлек ТП-11 /ЛЭ-100-300/ звеном в следующем, составе, чел.:

Штукатур 4-го разр.                                      1

" 3-го разр.                                                     1

" 2-го разр.                                                     1

Машинист компрессора                               1

При выполнении работ по ремонту бетонной поверхности рекомендуется:

раствор приготавливать из тех же материалов и с тем же водоцементным соотношением, что и для первоначального бетона;

участки, требующие ремонта, предварительно хорошо смачивать; при этом учитывать, что на бетонной поверхности панелей или деталей фасадов зданий, возраст которых меньше четырех недель, дополнительное увлажнение может вызвать изменение основной окраски бетона.

2.18. Составы растворов, рекомендуемых для применения в качестве клеящей основы, приведены в табл. 1.

Таблица 1

Составы клеящих растворов, массовые части

Компоненты

Состав

1

2

3

Калиевое жидкое стекло /ТУ 6-18-204-74, изм. 1/

0,50

-

-

Молотый мел /ГОСТ 12085-73/

1,00

-

1

Кварцевый песок /ГОСТ 8136-77/

0,80

3,0

1

Доменный молотый шлак /ТУ 21 УССР 209-79/

0,63

-

-

Белый портландцемент /ГОСТ 965-78/

-

1,0

1

Гидрат окиси калия /ГОСТ 9285-78/

0,40

-

-

Поливинилацетатная дисперсия

-

0,5

-

Синтетический латекс СКС-65 ГП марки Б /ТУ 38 103-111-76/

-

-

-

Питьевая вода /ГОСТ 2874-73/

-

До рабочей консистенции

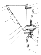
2.19. Приготовление клеящих растворов, грунтовки производит штукатур 2-го разряда на посту приготовления растворов /рис. 1/ и подает грузовым подъемником на необходимую высоту.

Рис. 1. Схема поста приготовления грунтовых и клеящих растворов:

1 - шкаф инструментальный; 2 - емкость для воды /для мытья инструмента/; 3 - вибросито; 4 - емкость для грунтовки; 5 - растворосмеситель; 6 - водопроводный кран; 7 - емкость для мела; 8 - емкость для песка; 9 - емкость для цемента /шлака/; 10 - емкость для гидрата окиси калия; 11 - краскотерка; 12 - емкость для клеящего раствора

2.20. Для приготовления раствора состава 1 сначала тщательно перемешиваются жидкое стекло с гидратом окиси калия, затем добавляются поочередно мел, шлак, песок. Все компоненты тщательно перемешиваются в течение 2-4 мин. Готовый раствор пропускается через краскотерку. Жизнеспособность готового раствора  - 1-1,5 ч.

2.21. Приготовление полимерцементных растворов /составы 2 и 3/ производится следующим образом:

в смеситель загружаются сухие компоненты /мел, цемент, песок/ и перемешиваются в течение 5 мин.;

в отдельной емкости смешиваются латекс или поливинилацетатная дисперсия с необходимым количеством воды до однородной консистенции, прибавляется жидкое стекло, а затем вводится в смеситель, где находится однородная цементно-песчаная смесь. Перемешивание производится в течение 2-3 мин.

В летнее время года в состав полимерцементных растворов вводится молочная сыворотка 15 %-ной консистенции 5 % от воды затворения.

2.22. Клеящие растворы должны корректироваться в лабораторных условиях с учетом вида отделываемой поверхности, ее плотности, водопоглощения и условий производства работ.

2.23. Контроль подвижности клеящих растворов производится при помощи латунного или медного кольца диаметром 60 мм и высотой 18 мм; стекла размером 200×200 мм, листа бумаги размером 200×200 мм с нанесенными концентрическими окружностями.

Кольцо устанавливается на стекло, под которое должен быть положен лист бумаги с концентрическими окружностями. Кольцо и стекло смачиваются водой при помощи мягкой ткани. Испытываемый раствор заливается на всю высоту кольца, затем его поднимают вертикально и смесь расплывается в виде лепешки. По диаметру лепешки определяется подвижность клеевых растворов, которая должна быть в пределах 11,5-12,5 см.

2.24. Приготовление грунтовочных растворов производится, в смесителе СБ-43Б путем разведения готового клеящего раствора любого состава пятью частями воды,

2.25. Отделку наружных поверхностей зданий необходимо начинать с верхнего этажа. Отделываемая поверхность фасада здания разбивается на захватки, размер которых зависит от типа применяемых люлек, рельефа поверхности. Поверхность фасада, равная захватке, ограничивается рустами, которые прорезаются по свеженанесенному декоративному покрытию.

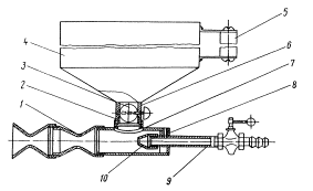
Грунтовочный раствор наносится на отделываемую поверхность панелей и деталей фасадов зданий при помощи пистолета-распылителя конструкции ПКБ НИИСП Госстроя, УССР /рис. 2/. Расход грунтовочного раствора - 0,2-0,1 кг на 1 м2. Участки, сильно поглощающие воду, грунтуются два раза.

Рис. 2. Пистолет-распылитель:

1 - корпус; 2 - гайка; 3 - емкость для клеящего раствора; 4 - ручка; 5 - рычаг; 6 - петля; 7 - штуцер; 8 - жиклер; 9 - трубка; 10 - вставка; 11 - распылитель; 12 - сопло; 13 - шток; 14 - пружина; 15 - корпус клапана; 16 - рычаг; 17 - рукоятка

После исчезновения "водяного зеркала" на поверхность панелей и деталей фасадов зданий пистолетом-распылителем наносится клеящий раствор толщиной, равной половине диаметра применяемой крошки.

При нанесении клеящего раствора необходимо сохранить постоянное расстояние /50-60 см/ от головки распылителя до отделываемой поверхности, а факел материала должен быть перпендикулярен отделываемой поверхности.

Пистолет-распылитель перемещается таким образом, чтобы вновь наносимая полоса клеящего раствора была параллельна ранее нанесенной полосе.

2.26. На свеженанесенный клеящий раствор наносится мелкозернистый материал при помощи крошкомета /рис. 3/.

Рис. 3. Устройство для нанесения крошки /крошкомет/:

1 - сопло; 2 - муфта; 3 - заслонка; 4 - бачок; 5 - ручка; 6 - штуцер; 7 - патрубок: 8 - направляющая втулка; 9 - труба; 10 - распылитель

Перерыв между нанесением клеящего раствора и мелкозернистого материала должен быть не более 30-40 с. Плотность нанесенного мелкозернистого материала должна составлять 70-75 %.

Расстояние между отделываемой поверхностью и крошкометом устанавливается в зависимости от вида материала, его крупности и давления воздуха в сети /250-300 мм/. "Отскок" крошки собирается и используется повторно.

2.27. Работы по отделке поверхности наружных стеновых панелей и деталей фасадов зданий выполняются звеном штукатуров /1-4-го разряда, 1-3-го разряда, 1-2-го разряда/.

2.28. График выполнения работ приведен в табл. 2.

2.29. Калькуляция трудозатрат приведена в табл. 3.

2.30. Операционный контроль качества работ по отделке поверхности панелей и деталей фасадов зданий выполняется в соответствии с требованием главы СНиП по правилам производства и приемки работ /табл. 4/.

2.31. При производстве работ необходимо соблюдать правила по технике безопасности, приведенное в главе СНиП по технике безопасности в строительстве.

3. ТЕХНИКО-ЭКОНОМИЧЕСКИЕ ПОКАЗАТЕЛИ ОТДЕЛКИ 100 м2 ПОВЕРХНОСТИ МЕЛКОЗЕРНИСТЫМИ МАТЕРИАЛАМИ МЕТОДОМ НАПЫЛЕНИЯ

Затраты труда, чел.-ч                                                                             30,17

Затраты маш.-смен                                                                                3,25

Выработка на одного рабочего в смену, м2                                         23,20

Стоимость трудозатрат, руб.                                                                 18,10

Стоимость маш.-смен., руб.                                                                  21,10

Стоимость материалов при применении в качестве клеящей основы, руб.:

состава 1                                                                                          76,00

состава 2                                                                                          88,90

состава 3                                                                                          104,00

Стоимость отделочных работ при применении, руб.:

состава 1                                                                                          115,20

состава 2                                                                                          143,20

состава 3                                                                                          128,10

График выполнения работ

Таблица 2

Таблица 3

Калькуляция трудозатрат

Обозначение

Работы

Нормы. времени на 100 м2, чел.-ч

Стоимость затрат труда на 100 м2, руб.

Подготовка поверхности

Местные нормы и расценки на строительные, монтажные и ремонтно-строительных работы, Киев, Будiвельник, 1981, М/8-215

Очистка поверхности

1,70

2,00

Подмазка отдельных мест

6,93

1,00

Приготовление грунтовочного и клеящего составов

ЕНиР, § 3-18, п. 2

Приготовление клеящего состава

1,55

0,85

Местные нормы и расценки на строительные, ремонтно-строительные работы, Киев, Будiвельник, 1981, М/8-23

Приготовление грунтовочного состава

0,03

0,11

Отделка поверхности

Сборник типовых норм и расценок на строительные, монтажные и ремонтно-строительные работы, М., 1979, Т-8-26

Нанесение грунтовочного состава, разбивка поверхности на захватки

6,46

2,44

Нанесение клеящего состава

7,75

4,96

Нанесение мелкозернистого материала, снятие изоляционной ленты

9,90

5,48

Погрузочно-разгрузочные работы

Честные нормы и расценки на строительные, монтажные и ремонтно-строительные работы, Киев, Будiвельник, 1981, М/8-76

Перемещение люлек по горизонтали

1,01

0,56

Погрузка на подъемник, подъем, разгрузка емкостей с грунтовочным и клеящим составами

0,94

0,70

Итого

 

30,17

18,10

Таблица 4

Операционный контроль качества работ

Операция, подлежащая контролю

Контроль качества выполненных работ

производителем работ

мастером

Состав работ

Способ контроля

Время контроля

Привлекаемая служба

Подготовительные работы

-

Удаление масляных пятен, исправление дефектов поверхности

Визуально

До начала работ по приготовлению и нанесению клеящего раствора

"

Приготовление клеящих растворов

-

Определение подвижности клеящих растворов

При помощи медного кольца, стекла, столика /согласно пп. 2.23 настоящей карты/

После приготовления клеящего раствора

Строительная лаборатория

Нанесение клеящего раствора

-

Определение толщины нанесенного слоя клеящего раствора

Визуально

После нанесения клеящего раствора

то же

Нанесение мелкозернистого материала

-

Определение плотности нанесенного материала

Визуально, сравнением с эталоном

После нанесения мелкозернистого материала

"

4. МАТЕРИАЛЬНО-ТЕХНИЧЕСКИЕ РЕСУРСЫ

4.1. Характеристики основных материалов, необходимых для отделки поверхностей наружных стеновых панелей и деталей фасадов зданий, приведены в табл. 5.

Таблица 5

Основные материалы, необходимые для отделки поверхностей наружных стеновых панелей и деталей фасадов зданий

Наименование

Тип, характеристика

Марка

Количество на 100 м2 поверхности при толщине слоя, мм

1,0

1,5

2,0

Состав 1

 

 

 

 

 

Жидкое калиевое стекло /ТУ 18-204-74/, т

.Модуль 2,7-2,0; ρ = 1,4×103 кг/м3

-

0,024

0,035

0,048

Молотый мел /ГОСТ 12085-73/, т

Белила по BaSO4 - не менее 76 %

-

0,042

0,064

0,054

Гидрат окиси калия. /ГОСТ 9285-78/, т

37 %-ный раствор

-

0,018

0,025

0,030

Гранулированный тонкомолотый шлак /ТУ 21 УССР 209-79/, т

Sуд = 35000 ±2000 м/кг2

-

0,028

0,082

0,056

Кварцевый песок /ГОСТ 22551-77/, т

Содержание водорастворимых сернокислых соединений не должно превышать 2 %

-

0,34

0,052

0,58

Состав 2

 

 

 

 

 

Белый портландцемент /ГОСТ 965-78/, т

БЦ-1

400

0,026

0,032

0,052

Кварцевый песок /ГОСТ 22551-77/, т

Содержание водорастворимых сернокислых соединений не должно превышать 2%

-

0,078

0,117

0,156

Пластифицированная гомополимерная поливинилацетатная дисперсия, т

-

ДБ 45/40

ДБ 47/70

ДБ 48/40М

ДБ 43/

0,015

0,022

0,030

Питьевая вода /ГОСТ 2874-73/, м3

Не должна содержать катионов, имеющих заряд +2 и выше

-

0,026

0,038

0,052

Состав 3

 

 

 

 

 

Белый портландцемент /ГОСТ 965-78/, т

БЗ-1

400

0,028

0,044

0,056

Синтетический латекс /ТУ 38-103-III-76/, т

СКС-65 ГП

"Б"

0,014

0,021

0,028

Жидкое калиевое стекло /ТУ 6-18-204-74/, т

Модуль - 2,7-3,0, ρ = 1,4×103 кг/м3

-

0,001

0,0015

0,002

Молотый мел /ГОСТ 12085-73/, т

Белила по ВаSO4. не менее 76 %; γ = 12,5-2,9/10-5 кг/м3

-

0,028

0,044

0,056

Кварцевый песок /ГОСТ 22551-77/, т

Содержание водорастворимых сое; нений не должно превышать 2 %

-

0,028

0,044

0,056

Питьевая вода, /ГОСТ 2874-73/, м3

-

-

0,026

0,038

0,052

Декоративный мелкозернистый материал. Отделочная стеклянная крошка, /ТУ 21 (УССР 618-71/, т

Крупность зерен 3-5 мм

-

0,24

0,24

0,24

Пигменты

 

 

 

 

 

Цинковые сухие белила /ГОСТ 202-76/, т

-

БЦ-1

3,8

5,7

7,7

Железный сурик /ГОСТ 8135-74/, т

-

Г

3,8

5,7

7,7

Сухая охра /ТУ 6-10-430-80/, т

-

0-1

5,1

7,7

10,7

Техническая окись хрома /ГОСТ 2912-79E/

-

ОХП-1

2,6

3,9

5,2

4.2. Перечень машин, оборудования, инвентаря, приспособлений и их характеристики приведены в табл. 6.

Таблица 6

Машины, оборудование, инструмент, инвентарь и приспособления, применяемые для отделки поверхностей панелей и деталей фасадов зданий

Наименование

Тип

Марка

Количество

Техническая характеристика

Оборудование, инструмент, инвентарь поста приготовления грунтовочных и клеящих растворов

Растворосмеситель, шт.

Передвижной, турбулентный

СС-46

/СЕ-43Б/

1

Производительность - 2,6 м3/ч, т = 210 кг

Вибросито /ГОСТ 11999-76/, шт.

-

СО-3А

1

Производительность - 600 кг/ч, т = 9,5 кг

Емкость для клеящего состава, шт.

 

-

2

V = 0,49 м3

Металлический ящик, шт.

-

-

1

V = 0,40 м3

2

V =0,50 м3

1

V = 0,30 м3

Дозировочная кружка, шт.

-

-

1

-

Столик, шт.

-

-

1

-

Кольцо для определения подвижности раствора, шт.

-

 

2

Материал - медь, латунь Ø = 60 мм, Н = 18 мм

Респиратор /ТУ 95-7039-73/, шт.

"Лепесток"

ШБ-1

2

-

Рукавицы /ГОСТ 12.4.038-78/, пар

-

-

2

-

Брезентовый костюм /ГОСТ 12.4.038-78/, шт.

-

-

2

-

Кожаные ботинки /ГОСТ 5782-75/, пар

-

-

2

-

Оборудование, инструмент, инвентарь поста отделки

Стальной шпатель для расшивки трещин /ГОСТ 10778-76/, шт.

-

-

2

-

Шпатель для подмазки• трещин /ГОСТ 10778-76/, шт.

-

-

2

-

Емкость для крошки, шт.

-

-

1

-

Инструментальный шкаф, шт.

Разработка ПКБ НИИСП Госстроя УССР, черт. 473.00.00.000

1

-

Ковш для штукатурных работ ГОСТ 7945-73/, шт.

-

К-06

1

-

К-1

1

Резинотканевый шланг, м

-

-

20

-

Экраны, для защиты оконных и дверных проемов, шт.

-

-

10

Фанерные, обтянутые полиэтиленовой пленкой

Пистолет-распылитель, шт.

Разработка ПКБ НИИСП Госстроя УССР, черт. 417.00.00.000

1

-

Крошкомет, шт.

Разработка ПКБ НИИСП Госстроя УССР, черт. 422.00.00.000

1

-

Совок для заполнения крошкомета крошкой, шт.

-

-

1

-

Защитные закрытые очки, /ГОСТ 12.4.003-74/, пар

-

-

2

-

Респиратор /ТУ 90-7039-73/, шт.

"Лепесток"

ШБ-1

2

-

Резиновые перчатки /ТУ 38-106-140-78/, пар

-

-

2

-

Рукавицы /ГОСТ 12.4.010-73/, пар

 

-

2

-

Кожаные рабочие ботинки /ГОСТ 5782-75/, пар

-

-

2

-

Брезентовый костюм /ГОСТ 12.4.038-78/, шт.

-

-

2

-

Каска с двухслойным подшлемником, /ТУ 89/22-8-8-2-72/, шт.

-

-

2

-

4.3. Потребность в эксплуатационных материалах приводится в табл. 7.

Таблица 7

Эксплуатационные материалы

Наименование

Норма на 1 ч работы машины

Количество на принятый объем работ

Электроэнергия, кВт

1,5

0,6

Сжатый воздух, р = 0,25 МПа, м3

120,0

600,0

Питьевая вода, м3

0,2

1,2

ПРИЛОЖЕНИЕ

Удаление загрязнений и пятен

Загрязняющий материал

Средства очистки

Примечание

Жир, масла

Пасты, в состав которых входят адсорбенты /глины, керамзитовый, перлитовый песок/ и растворяющие вещества /бензин, бензол/ моющие средства с аммиаком

Особенно при органическом жире

Мыльная вода и щетка

Особенно при твердом жире

Асфальт, битумы

Растворители /хлорированные углеводородные соединения/, комбинированные с адсорбентами /глина, жженая магнезия/

Коржи сначала удаляют механическим путем

Ржавчина

Восстановление гипосульфитом

Многократная обработка

Атмосферная грязь

Струя теплой воды под давлением с добавлением мыла и дополнительной очисткой щеткой

 

Высолы извести

Очистка скребком и щетками, растворение кислотой, смыв водой

Кислота приносит вред цементному камню

 

 




ГОСТЫ, СТРОИТЕЛЬНЫЕ и ТЕХНИЧЕСКИЕ НОРМАТИВЫ.
Некоммерческая онлайн система, содержащая все Российские Госты, национальные Стандарты и нормативы.
В Системе содержится более 150000 файлов нормативно-технической документации, действующей на территории РФ.
Система предназначена для широкого круга инженерно-технических специалистов.

Рейтинг@Mail.ru Яндекс цитирования

Copyright © www.gostrf.com, 2008 - 2026