Крупнейшая бесплатная информационно-справочная система онлайн доступа к полному собранию технических нормативно-правовых актов РФ. Огромная база технических нормативов (более 150 тысяч документов) и полное собрание национальных стандартов, аутентичное официальной базе Госстандарта. GOSTRF.com - это более 1 Терабайта бесплатной технической информации для всех пользователей интернета. Все электронные копии представленных здесь документов могут распространяться без каких-либо ограничений. Поощряется распространение информации с этого сайта на любых других ресурсах. Каждый человек имеет право на неограниченный доступ к этим документам! Каждый человек имеет право на знание требований, изложенных в данных нормативно-правовых актах!

  


 

82

 

ОТРАСЛЕВОЙ СТАНДАРТ

ТРОЙНИКИ РАВНОПРОХОДНЫЕ С ОБЖАТИЕМ для трубопроводов ТЭС

Конструкция и размеры

ОСТ 108.104.04-82

Введен впервые

Указанием Министерства энергетического машиностроения от 04.06.82 № ВВ-002/4628

срок введения с 01.01.85

до 01.01.96

(Измененная редакция. Изм. № 1)

(Измененная редакция. Изм. № 3)

(Измененная редакция. Изм. № 4)

Проверен в 1983 г.

Отметка введена дополнительно. Изм. № 1

Несоблюдение стандарта преследуется по закону

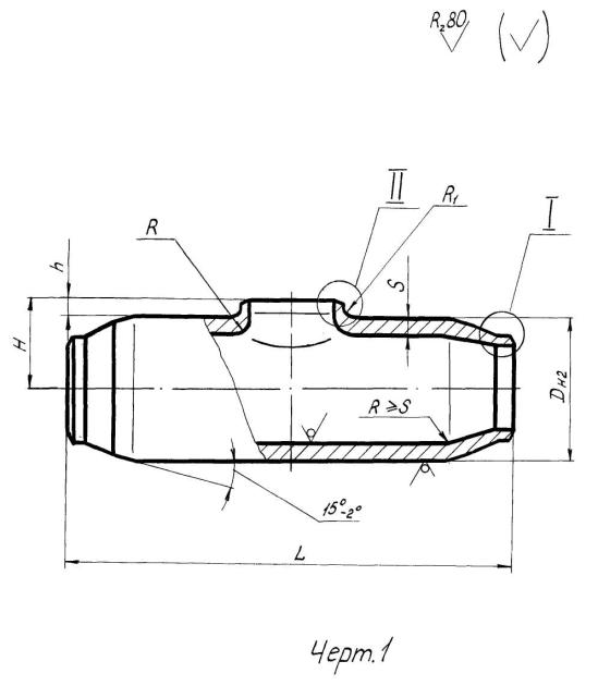
1. Настоящий стандарт распространяется на тройники равнопроходные с вытянутой горловиной и обжатыми концами для трубопроводов тепловых электростанций с абсолютным давлением и температурой среды:

Р=3,92 МПа                                                 (40 кгс/см2),               t=440°C;

Р=7,45 МПа                                                 (76 кгс/см2),               t=I45°C;

Р=4,31 МПа                                                 (44 кгс/см2),               t=340°C;

Р=3,92 МПа                                                 (40 кгс/см2),               t=200°C.

(Измененная редакция. Изм. № 3)

2. Конструкция и размеры тройников должны соответствовать указанным на черт. 1÷5 и в таблице.

3. Материал тройников - сталь 20 по ТУ 14-3-460-75.

4. Размер прямого участка - рекомендуемый и уточняется технологическим процессом изготовителя. Допускается изготовление подкатанной части без прямых участков.

5. Размеры высот Н и h, радиусов R и R1 и толщины стенки  - могут быть изменены при соблюдении условий прочности по усмотрению изготовителя.

6. Остальные технические требования по ОСТ 24.125.60-89.

(Измененная редакция. Изм. № 3)

(Измененная редакция. Изм. № 4)

 

 



Размеры в мм

Испол­нение

Черт. для

Услов­ный проход Dy

Присое­динение трубы

DH

dP

L

H*

h

S

SK

R

R1

Масса, кг

I

II

Наруж­ный диаметр

Толщина стенки

Номин.

Пред. откл.

Номин.

Пред. откл.

Номин.

Пред. откл.

Номин.

Пред. откл.

Пред. откл. ±5

не менее

не более

не менее

 

01

2

4

80

89

6

89

+2

-1

91

+2

133

77

+0,46

450

±5

84

18

13

5,4

5,4

15

9

18,3

02

3

5

100

108

8

108

+2

-1

109

+2

159

93

+0,54

700

±5

103

23

13

5,4

5,8

25

9

33,2

03

2

4

100

108

6

108

+2

-1

109

+2

159

97

+0,54

700

±5

103

23

13

4,6

4,7

25

9

33,2

04

2

4

80

89

4

89

+2

-1

91

+2

133

81

+0,54

450

±5

84

18

13

3,6

4,0

15

9

18,3

05

2

4

100

108

4,5

108

+2

-1

109

+2

159

100

+0,54

700

±5

103

23

13

2,7

3,4

25

9

33,2

(Измененная редакция. Изм. № 2)

(Измененная редакция. Изм. № 3)

(Измененная редакция. Изм. № 4)

 


* Размер для справок

Пример условного обозначения тройника равнопроходного с условным проходом Dy 100 мм исполнения 03:

тройник равнопроходный 100 03 ОСТ 108.104.03-82

Пример маркировки: 03 ОСТ 108.104.04-82

ЛИСТ РЕГИСТРАЦИИ ИЗМЕНЕНИЙ

Изм.

Номера листов (страниц)

Номер документа

Подпись

Дата

Срок введения изменения

измененных

замененных

новых

аннулированных

 

 

 

 

 

 

 

 

 

 

 

 

 

 

 

 

 

 

 

 

 

 

 

 

 

 

 

 

 

 

 

 

 

 

 

 

 

 

 

 

 

 

 

 

 

 

 

 

 

 

 

 

 

 

 

 

 

 

 

 

 

 

 

 

 

 

 

 

 

 

 

 

 

 

 




ГОСТЫ, СТРОИТЕЛЬНЫЕ и ТЕХНИЧЕСКИЕ НОРМАТИВЫ.
Некоммерческая онлайн система, содержащая все Российские Госты, национальные Стандарты и нормативы.
В Системе содержится более 150000 файлов нормативно-технической документации, действующей на территории РФ.
Система предназначена для широкого круга инженерно-технических специалистов.

Рейтинг@Mail.ru Яндекс цитирования

Copyright © www.gostrf.com, 2008 - 2026