Крупнейшая бесплатная информационно-справочная система онлайн доступа к полному собранию технических нормативно-правовых актов РФ. Огромная база технических нормативов (более 150 тысяч документов) и полное собрание национальных стандартов, аутентичное официальной базе Госстандарта. GOSTRF.com - это более 1 Терабайта бесплатной технической информации для всех пользователей интернета. Все электронные копии представленных здесь документов могут распространяться без каких-либо ограничений. Поощряется распространение информации с этого сайта на любых других ресурсах. Каждый человек имеет право на неограниченный доступ к этим документам! Каждый человек имеет право на знание требований, изложенных в данных нормативно-правовых актах!

  


 

НАУЧНО-ИССЛЕДОВАТЕЛЬСКИЙ ИНСТИТУТ СТРОИТЕЛЬНЫХ КОНСТРУКЦИЙ (НИИСК) ГОССТРОЯ СССР

 

РУКОВОДСТВО
ПО ПРОЕКТИРОВАНИЮ И УСТРОЙСТВУ ЗАГЛУБЛЕННЫХ ИНЖЕНЕРНЫХ СООРУЖЕНИЙ

 

Москва Стройиздат 1986

Содержит основные сведения по конструктивным решениям и расчету противооползневых сооружений, устройству и натурным испытаниям буронабивных свай, а также рекомендации по определению оползневого давления и обеспечения устойчивости сооружений на оползнях.

Для инженерно-технических работников проектных, проектно-издательских и строительных организаций.

Разработано канд. техн. наук Н.С. Метелюком, инж. В.Г. Абросимовой (разделы 1, 2, 4, 8, 9, 10, 12), инж. В.В. Карачевой, канд. техн. наук А.П. Ли (разделы 1, 3, 5, 6, 7), инженерами С.С. Шевандиным, Л.Г. Крюровым (раздел 11).

Ответственный редактор Н.С. Метелюк.

СОДЕРЖАНИЕ

1. ОБЩИЕ ПОЛОЖЕНИЯ

2. КОНСТРУКЦИИ ЗАГЛУБЛЕННЫХ ИНЖЕНЕРНЫХ СООРУЖЕНИЙ

3. ИНЖЕНЕРНО-ГЕОЛОГИЧЕСКИЕ ИЗЫСКАНИЯ

4. ОСНОВНЫЕ УКАЗАНИЯ ПО ПРОЕКТИРОВАНИЮ И РАСЧЕТУ

5. РАСЧЕТ УСТОЙЧИВОСТИ ОПОЛЗНЕВЫХ СКЛОНОВ И МЕТОДЫ ОПРЕДЕЛЕНИЯ ОПОЛЗНЕВОГО ДАВЛЕНИЯ НА ЗАГЛУБЛЕННЫЕ СООРУЖЕНИЯ

6. РАСЧЕТ УСТОЙЧИВОСТИ ЗАГЛУБЛЕННЫХ СООРУЖЕНИЙ НА ОПОЛЗНЯХ

7. ОБЕСПЕЧЕНИЕ УСТОЙЧИВОСТИ ГОРНЫХ СКЛОНОВ

8. РАСЧЕТ ПОДПОРНЫХ СООРУЖЕНИЙ ПО ПРЕДЕЛЬНЫМ СОСТОЯНИЯМ

9. РАСЧЕТ СТВОЛА БУРОНАБИВНЫХ СВАЙ ПО ПРОЧНОСТИ

а. Прочность сечений, нормальных к продольной оси элемента

б. Прочность сечений, наклонных к продольной оси элемента, на действие поперечной силы

в. Прочность сечений, наклонных к продольной оси элемента, на действие изгибающего момента

10. ТРЕЩИНОСТОЙКОСТЬ И ЖЕСТКОСТЬ БУРОНАБИВНЫХ СВАЙ ПРИ ИЗГИБЕ

а. Образование трещин, нормальных и наклонных к продольной оси элемента

б. Жесткость и ширина раскрытия трещин изгибаемых буронабивных свай. Жесткость буронабивных свай на участках с трещинами в растянутой зоне

в. Расчет по раскрытию трещин, нормальных к продольной оси элемента

г. Расчет по раскрытию трещин, наклонных к продольной оси элемента

11. УСТРОЙСТВО ЗАГЛУБЛЕННЫХ ИНЖЕНЕРНЫХ СООРУЖЕНИЙ

а. Устройство буронабивных свай сухим способом

б. Устройство буронабивных свай мокрым способом

12. НАТУРНЫЕ ИСПЫТАНИЯ БУРОНАБИВНЫХ СВАЙ

а. Испытание свай на горизонтальную нагрузку

б. Испытание свай на совместное действие вертикальных вдавливающих и горизонтальных усилий

 

1. ОБЩИЕ ПОЛОЖЕНИЯ

1.1. Настоящее руководство разработано к главам СНиП II-17-77 и СНиП II-21-75, с учетом «Указаний по проектированию, устройству и приемке фундаментов из буронабивных свай» (РСН 263-74), «Рекомендаций по проектированию буронабивных свай при действии на них горизонтальной нагрузки», «Рекомендаций по проектированию и устройству фундаментов из буронабивных свай на подрабатываемых территориях» и распространяется на проектирование и устройство подпорных стен и удерживающих противооползневых сооружений из буронабивных свай.

1.2. При проектировании подпорных сооружений из буронабивных свай кроме настоящего документа следует руководствоваться СНиП II-6-74, СНиП 2.02.01-83, СНиП 2.03.01-84.

1.3. К удерживающим противооползневым сооружениям из буронабивных свай относятся: сооружения, воспринимающие оползневое давление смещающих или способных сместиться грунтовых масс и обеспечивающие устойчивость всего оползневого массива или его части, расположенные выше удерживающего сооружения; сооружения, работающие в условиях обтекания их грунтом (отдельные глубокие опоры).

Примечание. Во всех перечисленных случаях возможно применение анкеров.

1.4. Буронабивные сваи подпорных сооружений следует, как правило, изготовлять без уширения пяты с сосредоточенным армированием (концентрацией продольной рабочей арматуры в зонах наибольших сжимающих и растягивающих усилий поперечных сечений свай) и с неравномерным армированием по длине ствола - частично оборванными продольными стержнями арматурных каркасов в соответствии с эпюрами изгибающих моментов.

1.5. При проектировании подпорных стен и удерживающих противооползневых сооружений необходимо обеспечить их надежность в соответствии с классом сооружения.

Примечание. Класс подпорного сооружения определяется по классу сооружений, находящихся в зоне перемещения грунта.

1.6. Проекты строительства противооползневых сооружений и связанные с ними мероприятия должны разрабатываться, как правило, в профилактических целях с учетом необходимости обеспечения долговременной устойчивости склонов (откосов) и соблюдения требований по охране окружающей природной среды. При этом долговременная устойчивость склонов (откосов) должна достигаться выбором наиболее экономического комплекса противооползневых защитных сооружений и мероприятий.

1.7. При проектировании комплексов противооползневых защитных сооружений и мероприятий необходимо учитывать деформации склона (откоса) по механизму смещения (тип оползня) и размеров оползневого участка по простиранию и глубине его распространения.

1.8. Механизм смещения оползневой массы, размеры оползневого тела и причины оползнепроявления должны быть определены на основании инженерно-геологических, гидрогеологических и гидрологических исследований оползневого района. При этом должны быть выявлены и оценены факторы, вызывающие эти процессы и факторы, противодействующие им, а также степень их влияния на устойчивость склонов (откосов). На основании этих материалов составляется сводная инженерно-геологическая документация, которая служит исходным материалом при расчетах оползневого давления и разработке противооползневых мероприятий.

1.9. К противооползневым мероприятиям, наиболее часто применяемым в инженерной практике, относятся:

а) регулирование поверхностного стока воды на оползневом участке и прилегающих к ним территориях;

б) перепланировка поверхности оползня до устойчивого состояния;

в) регулирование подземного стока воды;

г) возведение удерживающих сооружений на пути движения оползня;

д) закрепление грунтов поверхностного слоя в зоне контакта оползневого тела с подстилающей поверхностью.

Перечисленные противооползневые мероприятия могут быть применены либо раздельно, либо комплексно в зависимости от инженерно-геологических и гидрогеологических условий участка.

1.10 Расчет устойчивости удерживающих противооползневых сооружений следует производить на воздействие действительного оползневого давления, действующего на его отдельные части или в целом на сооружение.

1.11. Наиболее реальная величина оползневого давления на каждый элемент заглубленного сооружения может быть получена по плану изолинейного поля оползневого давления, построенного на основе решения объемной задачи (см. разд. 5).

1.12. Оценку устойчивости оползневых склонов и искусственных откосов следует производить исходя из наиболее неблагоприятных условий, возможных для данного участка, с учетом возможных сил фильтрационного давления напорных вод, сейсмических сил землетрясения и длительной прочности вязких грунтов.

2. КОНСТРУКЦИИ ЗАГЛУБЛЕННЫХ ИНЖЕНЕРНЫХ СООРУЖЕНИЙ

2.1. Конструктивные схемы заглубленных инженерных сооружений выбирают в зависимости от назначения проектируемого сооружения, характера и величины действующих нагрузок, гидрогеологических и инженерно-геологических условий района строительства, планировочного решения местности и других факторов.

2.2. Конфигурация сооружения в плане определяется его назначением.

2.3. Глубина заложения буронабивных свай в грунте назначается в зависимости от действующих нагрузок и принятой конструкции сооружения.

2.4. Заглубленные инженерные сооружения в зависимости от размещения свай в плане могут быть:

а) однорядными - при сравнительно небольших величинах давления грунта на сооружение;

б) двухрядными - при больших величинах давления грунта и необходимости не преграждать фильтрационный поток (если возможно устройство однорядного сооружения, но при этом образуется фильтрационная завеса, что нежелательно, следует устраивать двухрядное сооружение, которое не должно значительно повышать уровень грунтовых вод);

в) в виде кустов - под устои или отдельные опоры;

г) трехрядными - при доказанности расчетом их целесообразности.

Примечание. Применение сооружений с размещением свай в плане более чем в три ряда не рекомендуется.

Различные виды заглубленных инженерных сооружений с использованием буронабивных свай приведены на рис. 1-16.

2.5. Сечение несущих конструкций сооружений определяют расчетом. При этом следует отдавать предпочтение буронабивным сваям большого диаметра, так как они, как правило, позволяют сократить расход материалов по сравнению с применением буронабивных свай меньшего диаметра.

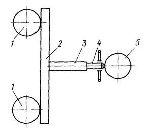
Рис.1. Однорядные подпорные стенки с буронабивными сваями, объединенными ростверком

1 - объединяющий ростверк; 2 - железобетонная забирка; 3 - свая; 4 - железобетонная забирка

Рис.2. Подпорные стенки, возводимые на однорядных буронабивных сваях, объединенных ростверком

1 - монолитная железобетонная забирка; 2 - сваи; 3 - засыпка; 4 - ростверк

Рис.3. Подпорные стенки, возводимые на двухрядных буронабивных сваях, объединенных ростверком

1 - монолитная железобетонная забирка; 2 - объединяющий ростверк; 3 - сваи; 4 - анкер; 5 - анкерная свая

Рис.4. Однорядное свайное заграждение из буронабивных свай, объединенных ростверком

1 - объединяющий ростверк; 2 - свайный ряд; 3 - сваи

Рис.5. Однорядные подпорные стенки с буронабивными сваями с ростверком и анкерами

1 - железобетонная забирка; 2 - сваи; 3 - анкер

Рис.6. Однорядные подпорные стенки с буронабивными сваями с ростверками и анкерами

1 - объединяющий ростверк; 2 - железобетонная забирка; 3 - свайный ряд; 4 - сваи; 5 - горизонтальный анкер; 6 - анкерные элементы; 7 - анкерующие элементы

Рис.7. Свайное заграждение из однорядных набивных свай и систем грунтонабивных свай

1 - буронабивные сваи; 2 - грунтонабивные сваи

Рис.8. Двухрядное свайное заграждение, объединенное общим ростверком в виде фермы

1 - ростверк в виде фермы; 2 - сваи

Рис.9. Двухъярусное свайное заграждение из двухрядных буронабивных свай, объединенных ростверками и анкерами

1 - сваи; 2 - анкер; 3 - объединяющий ростверк

Рис.10. Двухъярусное свайное заграждение без анкеров

1 - объединяющий ростверк; 2 - сваи; 3 - линия скольжения

Рис.11. Подпорные стенки из трехрядных буронабивных свай, объединенных ростверком

1 - объединяющий ростверк; 2 - сваи

Рис.12. Подпорные стенки из двухрядных свай, объединенных ростверком и анкерными сваями

1 - объединяющий ростверк; 2 - анкер; 3 - сваи; 4 - анкерная свая

Рис.13. Удерживающие противооползневые сооружения из буронабивных свай с арочным заполнением между ними

1 - объединяющий ростверк; 2 - буронабивные сваи; 3 - железобетонный ростверк; 4 - грунтобетонные сваи

Рис.14. Удерживающие противооползневые сооружения из отдельных свайных полей

1 - фигурные ростверки; 2 - сваи; 3 - объединяющий ростверк

Рис.15. Удерживающие противооползневые сооружения из отдельных свайных полей

1 - объединяющий ростверк; 2 - сваи

Рис.16. Удерживающие противооползневые сооружения из системы подпорных стен, объединенных анкерами

1 - монолитная железобетонная забирка; 2 - анкер; 3 - анкерная свая; 4 - подпорная стенка; 5 - объединяющий ростверк; 6 - противооползневое удерживающее сооружение; 7 - сваи; 8 - линия скольжения; 9 - сваи

2.6. Армировать сваи следует:

а) в продольном направлении сталью класса А-III (возможно применение стали класса A-II);

б) в поперечном - сталью класса BA-I.

2.7. В буронабивных сваях заглубленных сооружений следует применять равномерно распределенное, сосредоточенное симметричное и несимметричное армирование с частично оборванными арматурными каркасами (рис. 17, 18) в соответствии с эпюрами изгибающих моментов.

2.8. В остальной части армирование, а также бетон заглубленных инженерных сооружений следует принимать в соответствии с главой СНиП «Бетонные и железобетонные конструкции».

Рис.17. Буронабивные сваи с равномерно распределенным армированием

а - применяемые виды; б - с оборванным арматурным каркасом; в - с оборванными арматурными стержнями

Рис.18. Буронабивные сваи с сосредоточенным несимметричным армированием

а - с арматурным каркасом по всей длине сваи; б - с оборванным арматурным каркасом; в - с частично оборванным арматурным каркасом

2.9. Анкеры для заглубленных инженерных сооружений следует предусматривать с целью обеспечения их устойчивости, уменьшения величин изгибающих моментов, перерезывающих сил и деформаций.

2.10. Анкеры бывают постоянными и временными. Постоянные анкеры предназначены для работы в период строительства и эксплуатации сооружений, а временные - только в период устройства сооружения.

2.11. Вид анкеров (вертикальные, наклонные, буровые, забивные и т.д.) следует назначать на основании технико-экономического сравнения различных вариантов исходя из инженерно-геологических условий площадки строительства, условий производства работы, обеспеченности подрядной строительной организации необходимыми механизмами и оборудованием.

2.12. Анкеры следует располагать за пределами возможной призмы обрушения грунта (для подпорных стен) либо в несмещающемся массиве грунта (для противооползневых сооружений).

2.13. Буровые анкеры можно применять в различных грунтовых условиях, в том числе в грунтах с твердыми включениями.

Инъекционные анкеры следует применять в песчаных грунтах, а с разбуриваемым уширением - в глинистых. Анкеры цилиндрические и с камуфлетным уширением можно устраивать в песчаных и глинистых грунтах.

2.14. Несущая способность анкера по грунту обеспечивается закрепленным грунтовым массивом в рабочей зоне, длина которой 4-6 м.

Для закрепления грунта в нижнюю часть скважины подается под давлением цементный раствор. Рабочую зону отделяют от верхней части анкера пробкой для создания избыточного давления и предотвращения утечки раствора.

2.15. Анкеры с уширением разделяются на имеющие уширитель, входящий в конструкцию анкера, и анкеры с разбуриваемым уширением. Первые анкеры применяются преимущественно в песчаных грунтах, а вторые - только в глинистых и скальных.

2.16. Конструкция постоянных анкеров должна обеспечивать надежность их работы во время строительства и эксплуатации сооружения.

2.17. Анкерные тяги могут изготовляться из стержневой, проволочной, прядевой и канатной арматуры.

2.18. Буронабивные сваи подпорных сооружений следует, как правило, объединять ростверками.

2.19. В зависимости от характера сопряжения свай с ростверком их разделяют на следующие:

жесткие - при защемлении свай в ростверке;

податливые - при шарнирном сопряжении свай с ростверком.

2.20. Конструкция сопряжения свай с ростверком выбирается в зависимости от характера и величин действующих нагрузок, количества рядов свай в направлении действия нагрузок (при одном ряде свай в направлении действия нагрузки конструкция сопряжения свай с ростверком практически не оказывает влияния на работу подпорного сооружения). Для уменьшения усилий в сваях и горизонтальных смещений подпорных сооружений рекомендуется применять жесткое сопряжение свай с ростверком.

3. ИНЖЕНЕРНО-ГЕОЛОГИЧЕСКИЕ ИЗЫСКАНИЯ

3.1. Заглубленные инженерные сооружения из буронабивных свай должны проектироваться на основании тщательно проведенных комплексных топографических, инженерно-геологических и гидрогеологических изысканий, а также исследований физико-механических свойств грунтов площадки строительства согласно рабочей программе в объеме, предусмотренном СНиП II-9-78 “Инженерные, изыскания для строительства. Основные положения”, СНиП II-17-77 “Свайные фундаменты”, и настоящему разделу Руководства.

3.2. Инженерно-геологические изыскания, проводимые для определения величин оползневого давления, должны быть выполнены с учетом особенностей, связанных с получением достоверных данных по геологическому строению оползневого склона, по гидрогеологическому условию оползневого участка, по физико-механическим свойствам грунтов подстилающей толщи и оползневого тела в их естественном состоянии.

3.3. В комплекс инженерных изысканий, проводимых на оползневых участках для обоснования проектных решений по противооползневым мероприятиям, входят:

а) топогеодезические изыскания, в результате выполнения которых должно быть создано высотно-плановое съемочное обоснование, получены топографические планы оползневого участка в масштабах от 1:1000 до 1:500, на основе которых должны быть вынесены в натуру все запроектированные разведочные выработки, точки геологических и геофизических опробований и точки стационарных наблюдательных станций;

б) инженерно-геологические изыскания, включающие в себя инженерно-геологическую рекогносцировку, инженерно-геологическую съемку, инженерно-геологическую разведку и инженерно-геологическое опробование.

В результате выполнения инженерно-геологических изысканий на оползневых участках должны быть получены материалы, позволяющие с заданной точностью установить контур оползневого тела как по глубине залегания, так и по площади его распространения, литологические разрезы и состав грунтов оползневого тела и подстилающей толщи, а также их прочностные и деформативные характеристики;

в) гидрогеологические изыскания, проводимые на оползневых участках с целью получения данных об уровнях грунтовых вод, гидравлическом градиенте, коэффициенте фильтрации, направлений движения подземных вод, режиме подземных вод и скорости фильтрации.

3.4. Важнейшими материалами, получаемыми в результате проведения инженерно-геологических изысканий на оползневых участках, являются план подстилающей поверхности оползня (план поверхности скольжения оползня) и расчетные значения физико-механических свойств грунтов. Эти материалы являются исходными на основе которых выполняются все последующие расчеты по оценке устойчивости оползневых склонов и по определению оползневого давления на заглубленные сооружения.

Точность определения оползневого давления в каждой точке оползневого массива прежде всего зависит от точности построения плана поверхности скольжения оползня. Для получения величины оползневого давления с точностью до 0,1 т поверхность скольжения оползня должна быть получена с одинаковой точностью топографической поверхности оползневого участка, полученной крупномасштабной топографической съемкой (1:500; 1:1000).

3.5. Необходимое количество разведочных выработок, обеспечивающее построение поверхности скольжения оползня, по точности одинаковой с топографическим планом дневной поверхности оползневого участка, можно предрассчитать по формуле, связывающей ошибку определения отметки по горизонталям топографического плана с точностью определения высотной отметки пикетных точек при съемке в зависимости от уклона местности, масштаба съемки и густоты пикетных точек:

(1)

где т0 - ошибка определения высотной отметки точки по топоплану, принимаемая равной ±0,15h0; m - средняя квадратическая ошибка отметки пикетной точки при топографической съемке; N - знаменатель численного масштаба топографического плана; i - средний уклон местности; h0 - принятая высота сечения горизонталей на плане; L - расстояния между пикетными точками; а, b, c - коэффициенты, значения которых при предварительных расчетах рекомендуется принимать равными: a=0,07; b=0,01; с=0,00008.

Для обеспечения построения поверхности скольжения, равной точности топоплана местности, расстояние между разведочными выработками на оползневом участке должно быть равным расстоянию L между пикетными точками на топографическом плане.

Такое расстояние можно предрассчитать из уравнения (1), решив его относительно L и заменив м на мс - среднюю квадратическую ошибку определения высотной отметки точки пересечения поверхности скольжения с разведочной выработкой, которая, согласно теории ошибок, равна

(2)

где mг - средняя квадратическая ошибка определения глубины разведочных выработок.

Таким образом, расстояние между разведочными выработками на оползневом участке можно определить, если будет известно среднее значение уклона поверхности скольжения оползня.

Значение уклона поверхности скольжения в отдельных точках непосредственно измеряется в местах вскрытия ее шурфами или дудками. Если поверхность скольжения подсечена только скважинами, то для определения уклона в ряде точек можно использовать результаты геодезических наблюдений за смещением оползня, которые проводятся на оползневом участке до начала проектирования сети разведочных выработок. Получив по результатам геодезических наблюдений значения горизонтального и вертикального смещений ряда реперов на оползневом теле, величину уклона в этих точках определяют по формуле

iH/d,

(3)

где ΔH - величина изменения высотного положения рабочего репера между сериями геодезического наблюдения; d - величина горизонтального смешения этого же репера за этот же период.

При значительных колебаниях средних уклонов поверхности скольжения оползневой участок следует разделить на части, в пределах которых значения уклонов поверхности скольжения колеблются в небольших пределах.

Расположение разведочных выработок следует проектировать для каждой такой части отдельно.

Наиболее рациональным следует считать проведение инженерно-геологических изысканий на оползневых участках методом постепенного сгущения сети разведочных выработок.

Для этого сначала выполняют проходку в редкой сети опорных выработок в виде шурфов, дудок и скважин колонкового бурения с отбором проб грунта, а затем сгущают сеть выработок более высокопроизводительным способом.

К числу таких способов можно отнести методы статического зондирования оползневого массива установками С-832, с помощью которых можно фиксировать поверхность скольжения оползня в сети точек, запроектированных изложенным способом.

3.6. Значения сдвиговых характеристик φ и С, используемых при оценке устойчивости оползневых склонов, должны быть, как правило, определены по результатам натурных сдвиговых испытаний, проведенных в зоне контакта оползня с подстилающей толщей или по материалам съемки обрушенных участков.

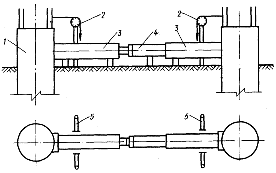
3.7. Наиболее эффективным методом натурных испытаний грунтов следует считать срез блоков-целиков, оконтуренных в забоях и в стенах шурфов с помощью трех щелей (рис. 19). Срез таких блоков производится с помощью гидравлических домкратов по наклонной фиксированной плоскости.

Рис.19. Схема натурных сдвиговых испытаний грунтов

Проведя на одном и том же месте два таких испытания три различных значениях углов падения плоскости среза, можно определить расчетные значения сдвиговых характеристик грунта, по формулам:

(4)

где Q1 и Q2 - значения срезающего усилия, создаваемого домкратом в момент среза блока-целика при 1-м и 2-м испытаниях; F1 и F2 - площади поверхности среза при 1-ми 2-м испытаниях; α1=δ1-β1; α2=δ2-β2; (рис. 20); β1, и β2 - углы падения плоскости среза при 1-м и 2-м испытаниях, измеряемые с помощью угломера; δ1 и δ2 - углы падения плоскости торцовой щели, куда закладывается домкрат.

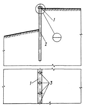
3.8. Очень точные значения сдвиговых характеристик грунтов по поверхности смещения оползня получают по методу обратных расчетов. Для этого, используя материалы топографической съемки обрушенных участков оползневого района, строят разрезы по наиболее характерным сечениям участка. На этих разрезах наносят контур оползневого участка до его обрушения и после обрушения (рис. 21), а затем разбивают их вертикальными линиями на отдельные отсеки и по каждому сечению составляют по два уравнения предельного равновесия.

Предельное равновесие призмы до обрушения запишется в виде

Σhi·γ·li·sinβi=Σhi·γli·cosβi·tgφ+CΣli

(5)

а после обрушения уравнение равновесия примет вид

Σh'i·γ·li·sinβ'i=Σh'i·γli·cosβ'i·tgφ

(6)

где hi и h'i - вертикальные мощности отсеков до и после обрушения призмы; βi и β'i - углы падения линий скольжения в отсеках до и после обрушения призмы; li - длина линий скольжения в отсеках.

Рис.20. Схема к определению сдвиговых характеристик грунтов по натурным испытаниям

1 - домкрат

Рис.21. Схема к определению сдвиговых характеристик грунтов по съемке обрушений

1 - контур откоса до обрушения; 2 - контур откоса после обрушения; 3 - поверхность скольжения оползня

Значения сдвиговых характеристик по поверхности обрушения определяются по формулам:

(7)

3.9. При расчетах устойчивости заглубленных сооружений на оползнях в качестве расчетных значений могут быть использованы сдвиговые характеристики грунтов оползневой массы, определяемые лабораторными испытаниями образцов грунта на срез. Согласно существующим ГОСТам, такие испытания проводятся на приборах одно- или двухплоскостного среза. Проведя многократные испытания при разных значениях вертикального напряжения на образец, для каждой литологической разности грунтов значения сдвиговых характеристик определяют по формулам:

(8)

где σi - значения вертикальных напряжений, создаваемых на образец при каждом испытании; τi - значения касательных (горизонтальных) напряжений, возникающих при срезе образцов; n - число испытаний.

3.10. В случаях когда оползневая масса в зоне сдвига представлена водонасыщенными глинистыми грунтами, при расчетах устойчивости такого склона необходимо учитывать длительную прочность глинистых грунтов, под которой понимается сопротивляемость грунтов разрушению под воздействием длительной нагрузки.

Длительная прочность глинистых грунтов в большинстве случаев обусловлена характером возникновения и изменения во времени избыточного давления в поровой воде водонасыщенного грунта и ползучестью скелета водонасыщенного и неводонасыщенного грунтов.

Сопротивление глинистого грунта сдвигу в неконсолидированном состоянии на момент времени t после приложения нагрузки Р, можно представить в виде

(9)

где φ' и С' - угол внутреннего трения и сцепление грунтов, соответствующие условию полного уплотнения под заданной нагрузкой Р; U - поровое давление, возникающее в образце грунта на момент времени t.

Величину и характер изменения во времени порового давления U исключительно трудно определить, так как при всех равных условиях они зависят от размеров образца или массива.

При определении длительной прочности глинистых грунтов, задачу можно значительно упростить, если в формуле (9) поровое давление заменить другими показателями, функционально связанными с ним.

Величина полного давления на образец грунта может быть представлена выражением

(10)

где Рск - эффективное давление, воспринимаемое скелетом грунта.

Подставив значение Р из (10) в (9), получим

(11)

Таким образом, представляется возможность длительную прочность глинистых грунтов выразить только в зависимости от эффективного давления Рск.

3.11. Величину эффективного давления Рск, соответствующую данной влажности W и времени t, рекомендуется определять по формуле

(12)

где Pz - бытовое давление на глубине z; H - половина мощности уплотняемого слоя при двустороннем дренировании; N - некоторое безразмерное число, определяемое выражением:

(13)

Cy - коэффициент консолидации, определяемый по формуле

(14)

где Kф - коэффициент фильтрации грунтов; εср - средний, для рассматриваемого состояния грунта, коэффициент пористости; а - коэффициент сжимаемости грунта, отвечающий рассматриваемому напряженному состоянию; ρв - плотность воды; t - время испытания.

3.12. Если в лабораторных условиях промоделировать процесс сдвиговой деформации, описываемый выражением (11), то можно получить сдвиговые характеристики грунтов φ' и С', соответствующие различной длительности испытания. Длительные испытания глинистых грунтов можно проводить одним из следующих методов:

1. Параллельные испытания серий образцов-близнецов при различных значениях постоянного сдвигающего напряжения (метод испытания образцов на ползучесть).

2. Испытания образцов-близнецов при различных скоростях приложения нагрузок.

По первому методу испытания проводятся в следующем порядке:

а) из монолита грунта данной плотности-влажности изготовляют несколько пар образцов, а затем испытанием пары образцов по методике ГОСТ 12248-78 определяют стандартное значение сопротивления сдвигу τст;

б) проводят испытания на ползучесть несколько пар образцов, изготовленных из того же монолита.

Каждая пара испытываемых образцов нагружается вертикальными нагрузками, равными Рск, вычисленными по формуле (12) и постоянными, но для каждой пары разными по величине сдвигающими нагрузками, составляющими некоторую долю от τст (40, 50, 60, 70, 80, 90, 95 %);

в) по результатам испытаний образцов строят семейство кривых ползучести (рис. 22) и определяют время от момента приложения нагрузки до момента разрушения образцов. При этом за момент разрушения образца принимается время, при котором деформация из стадии установившейся ползучести переходит в стадию прогрессирующего течения;

Рис.22. График испытаний грунтов на ползучесть

τ, τ3 - кривые прогрессирующей ползучести; τ2 - кривая установившейся ползучести; τ1 - кривая неустановившейся затухающей ползучести

г) используя кривые ползучести (см. рис. 22), строят кривую длительной прочности (длительного сопротивления сдвигу), с помощью которой (рис. 23) определяют значение τпр соответствующее длительной прочности грунта, т.е. значение сопротивления сдвигу, не зависящего от длительности испытания грунтов;

д) подставив полученное значение τпр в уравнение (11), можно определить φ' и С', соответствующее длительной прочности грунтов.

По второму методу испытания выполняются следующим образом:

а) так же как и в первом методе, определяют стандартное значение сопротивления сдвигу τст путем испытания пары образцов, отобранных из монолита;

б) изготавливают 4-5 образцов из того же монолита, каждый из которых испытывается на срез при уплотняющей нагрузке Pz (Pz для каждого образца назначается разной) и возрастающими равными ступенями через равные интервалы времени сдвигающими нагрузками τсд. Интервалы приложения ступеней сдвигающих нагрузок для разных образцов изменяют от 5 до нескольких дней;

в) из каждого испытания определяют длительность испытания при данной скорости и сопротивление сдвигу по формуле (11). По полученным данным строят кривые длительной прочности (рис. 24);

Рис.23. Кривая длительного сопротивления сдвигу (длительной прочности; по первому методу)

Рис.24. Кривые длительной прочности грунта (по второму методу)

Рис.25. График зависимости сдвигающих напряжений от вертикальной нагрузки

г) трансформируя семейство кривых τсд-t в семейство кривых τсд-Pz, получают диаграмму сдвига (рис. 25) для любого значения действия сдвигающей нагрузки. С помощью такой диаграммы графически определяют значения φ' и С', соответствующие данному времени t

4. ОСНОВНЫЕ УКАЗАНИЯ ПО ПРОЕКТИРОВАНИЮ И РАСЧЕТУ

4.1. Проект заглубленного сооружения разрабатывается после статического расчета и проектирования всех конструкций и элементов на основе результатов инженерно-геологических изысканий и задания на проектирование.

4.2. Проект заглубленных инженерных сооружений должен содержать:

а) инженерно-геологические данные строительной площадки - топоплан участка, до начала и после окончания строительства, план разведочных скважин и геологических разрезов по ним, основные характеристики грунтов всех напластований (см. раздел 2);

б) план сооружения и вертикальные разрезы по нему с указанием грунтов основания, необходимых размеров и отметок;

в) рабочие чертежи конструкций всех типов свай и ростверков с указанием расчетных и нормативных схем нагрузок в виде суммарных значений сосредоточенных и распределенных значений вертикальных и горизонтальных сил и изгибающих моментов;

г) расчетные схемы сооружения;

д) расход и требования к материалам конструкций;

е) проект организации строительства (ПОС), в котором должен быть указан порядок производства работ;

ж) проект производства работ (ППР), в составе которого должны быть:

- технологические карты со схемами устройства сооружений, ведомостями потребного оборудования, механизмов и приспособлений, последовательностью рабочих процессов и продолжительностью их выполнения, численностью и квалификационным составом бригады;

- строительный генеральный план объекта или комплекса объектов;

- решения по выполнению мероприятий подготовительного периода;

- указания по технике безопасности на каждом этапе;

- ведомости объемов работ и материалов;

- схемы пооперационного контроля качества работ;

- графики поточной организации строительства сооружения или комплекса сооружений;

и) проект организованного отвода атмосферных осадков с территории объекта на периоды строительства и эксплуатации;

к) расчетно-пояснительную записку с технико-экономическим обоснованием выбора конструкций и технологии производства работ (записка заказчику не передается, а хранится в архиве организации, составившей ее).

Примечания: 1. Указанные в п.4.2 элементы проекта заглубленного сооружения можно совмещать.

2. На плане свай должны быть указаны их номера и направление действия горизонтальной нагрузки.

3. Проект производства работ (см. п.4.2 "ж") и расчетно-пояснительную записку по выбору технологии производства работ (см. п.4.2 "к") выполняется производственной организацией, ведущей строительство.

4.3. Рекомендуется следующий порядок проектирования заглубленных сооружений:

а) по результатам инженерно-геологических изысканий на площадке строительства определяется пласт (пласты) грунта, воспринимающий нагрузку, и назначаются отметки заложения пят свай;

б) определяются расчетные и нормативные нагрузки, действующие на сооружение;

в) выбирается диаметр свай и ориентировочно назначаются размеры ростверков;

г) назначаются параметры свай (марки бетона и армирование) и определяются их трещиностойкость и прочность;

д) производится расчет сооружения по предельным состояниям первой и второй (в случае необходимости) групп;

е) составляется расчетно-пояснительная записка (см. п. 4.2 «к»);

ж) разрабатывается проект заглубленного сооружения (п.4.2).

4.4. Расчетную величину горизонтального коэффициента постели (коэффициент постели Сz) следует определять по приложению к СНиП II-17-77.

4.5. При выборе диаметра, способа (сосредоточенное симметричное или несимметричное армирование) и процента армирования свай необходимо исходить из действующих нагрузок, конструкции сооружения и гидрогеологических условий.

4.6. Защитный слой бетона для продольной арматуры должен составлять не менее 50 мм.

4.7. Длина буронабивных свай выбирается в зависимости от геологических условий площадки строительства проектируемого сооружения. Глубину заделки свай ниже высоты подпорной стенки или ниже действия оползневого давления назначают применительно к схеме опор глубокого заложения.

4.8. При проектировании подпорных стен и удерживающих противооползневых сооружений необходимо обеспечить надежность закрепления оползающего грунта.

4.9. Подпорные сооружения следует рассчитывать по предельным состояниям первой и второй групп.

4.10. Подпорные сооружения следует рассчитывать на максимальное давление грунта, которое может возникнуть при его эксплуатации.

4.11. В случае наличия или возможности попадания в грунт, окружающий сооружение, агрессивных вод следует предусматривать мероприятия в соответствии с требованиями СНиП 2.03.11-85 «Защита строительных конструкций от коррозии».

4.12. В конструкциях подпорных сооружений I и II класса капитальности следует предусматривать установку реперов для последующих измерений их деформаций.

4.13. Для железобетонных конструкций подпорных сооружений следует принять горячекатаную арматуру классов: A-I - для хомутов, поперечной и монтажной арматуры; А-II и А-III - для продольной и поперечной арматуры Марка бетона по прочности на сжатие принимается не ниже М 200.

4.14. Буронабивные сваи подпорных сооружений следует, как правило, объединять ростверком.

4.15. Сечение и армирование ростверка определяется конструктивными требованиями и расчетом в соответствии со СНиП 2.03.01-84.

4.16. Расстояние от края ростверка до грани сваи (с учетом ее допустимого возможного отклонения) должно быть не менее 5 см, а заделка сваи в ростверк - не менее 10 см.

4.17. Длина заделки арматуры сваи в ростверк определяется расчетом (при жестком сопряжении), зависит от конструкции сопряжения сваи с ростверком и должна составлять не менее:

25 см - при шарнирном сопряжении; 25d см - при жестком сопряжении, где d - диаметр заделываемой арматуры.

4.18. Конструкция сопряжения сваи с ростверком выбирается в зависимости от характера и величин действующих нагрузок, количества рядов свай в направлении действия нагрузки (при одном ряде свай конструкция сопряжения свай с ростверком практически не оказывает влияния на работу подпорного сооружения).

С целью уменьшения усилий в сваях и деформаций подпорных сооружений рекомендуется применять жесткое сопряжение ростверка со сваями.

4.19. Прочность подпорных сооружений должна удовлетворять условиям:

ММр;

(15)

QQр,

(16)

где М и Q - соответственно момент и поперечная сила, действующие в рассматриваемом сечении; Mp и Qp соответственно момент и поперечная сила, воспринимаемые рассматриваемым сечением и определяемые для свай - по разделу 4 настоящего руководства; для ростверка - по СНиП 2.03.01-84.

4.20. Расчет железобетонных конструкций подпорных сооружений по трещиностойкости и ширине раскрытия трещин можно не производить в случае отсутствия воздействия на них агрессивной среды.

4.21. Расчет заанкерных подпорных сооружений следует производить с учетом смещения анкеров, учитывая деформационные свойства грунта основания и грунта, находящегося за сооружением.

4.22. Случайные (не поддающиеся учету) деформации анкеров за счет зазоров в узлах сочленения и опирания следует ликвидировать монтажным усилием, которое должно контролироваться.

4.23. Для металлоконструкций постоянных анкеров должна быть предусмотрена антикоррозионная защита.

4.24. Антикоррозионная защита должна быть предусмотрена также для металлических прутков временных анкеров, когда минимальный диаметр составляет менее 8 мм.

Антикоррозионная защита должна быть стойкой к веществам, растворенным в воде, бактериям, блуждающим токам, а также к механическим воздействиям, возникающим при транспортировке и установке анкеров; Она должна быть достаточно эластичной, чтобы деформироваться с анкерной пятой в процессе натяжения и эксплуатации анкера.

4.25. При наличии грунтовых вод в местах установки шкеров в сооружение следует предусматривать уплотняющие устройства в устьях скважин (отверстия в стенах), препятствующие проникновению воды за сооружение.

5. РАСЧЕТ УСТОЙЧИВОСТИ ОПОЛЗНЕВЫХ СКЛОНОВ И МЕТОДЫ ОПРЕДЕЛЕНИЯ ОПОЛЗНЕВОГО ДАВЛЕНИЯ НА ЗАГЛУБЛЕННЫЕ СООРУЖЕНИЯ

5.1. Многие методы расчета, применяемые в настоящее время в практике инженерных расчетов устойчивости горных склонов, страдают недостаточным теоретическим обоснованием по части правильного учета многообразных факторов, влияющих на развитие оползневого процесса, или недостаточной математической строгостью в принятых расчетных схемах. К числу таких можно относить все методы, в которых предельное равновесие откоса проверяется относительно круглоцилиндрической или шаровой поверхности, построенной в массиве откоса различными геометрическими приемами без учета напряженно-деформационного состояния приоткосной зоны.

5.2. Предварительная оценка устойчивости горных склонов может быть выполнена методами решения плоской задачи Шахунянца при наличии фиксированных поверхностей скольжения, положение которых в массиве откоса предопределено геологическим строением и методом построения равноустойчивых откосов по безразмерным координатам В. В. Соколовского, который можно применять в случаях отсутствия в массиве откоса фиксированных поверхностей скольжения.

5.3. Расчет устойчивости оползневого склона по методу Шахунянца выполняется в следующей последовательности:

а) по материалам топографической съемки и инженер по геологическим изысканиям, проведенным на оползневом участке, строят разрезы по линиям разведочных выработок. На разрезы наносят профили поверхности земли и линий скольжения оползня (рис. 26);

б) разбивают разрез оползневого тела вертикальными линиями на отдельные отсеки так, чтобы линии скольжения в пределах каждого отсека имели неизменный уклон;

в) для каждого отсека определяют его вес и значение оползневого давления по формулам:

(17)

(18)

где Рi - вес i-го отсека; Ei и Ei-1 - значения оползневого давления соответственно в i-том и вышележащем отсеках; hi - средняя вертикальная мощность i-го отсека; βi и βi-1 - углы падения линии скольжения соответственно в i-том и вышележащем отсеках; φ и С - угол внутреннего трения и сцепление грунтов по поверхности скольжения оползня.

Рис.26. Схема к расчету оползневого давления по методу Шахунянца:

1 - профиль поверхности земли; 2 - профиль поверхности скольжения

г) по каждому разрезу строят эпюру оползневого давления (рис. 27), на которой четко разграничиваются участки устойчивого и неустойчивого состояния оползневого склона. С помощью этих эпюр представляется возможность производить общую оценку устойчивости склона по каждому разрезу и определять численные значения оползневого давления в каждой точке разреза с учетом реактивных сил соседних отсеков.

5.4. Расчет устойчивости методом построения равноустойчивых откосов по безразмерным координатам В. В. Соколовского выполняется в следующей последовательности:

а) по материалам топографической съемки и инженерно-геологических изысканий строят вертикальные разрезы по наиболее характерным сечениям оползневого участка. На разрезах наносятся фактический профиль поверхности земли по данному сечению и геологическое строение массива;

Рис.27. Эпюра оползневого давления по методу Шахунянца

б) задавшись значением" коэффициента запаса устойчивости (для предельного случая пу=1), вычисляют расчетные значения физико-механических свойств грунтов в пределах расчетной глубины по формулам:

(19)

где φp, Ср, γp - расчетные значения угла внутреннего трения, сцепления и объемного веса грунтов; γср - среднее значение объемного веса грунтов по расчетному сечению; f=tgφ - коэффициент внутреннего трения грунтов;

в) задавшись плоской прямоугольной системой координат и направив координатные оси так, как показано на рис. 28, вычисляют значения безразмерных абсцисс для точек, заранее намеченных на откосе, по формулам:

для точки, расположенной на нижней бровке откоса (точка 1), безразмерная абсцисса вычисляется по формуле

(20)

а для остальных точек на откосе соответственно

(21)

где X1, X2,…Хп - размерные абсциссы точек, значения которых для точки 1 вычисляются по формуле

(22)

а для остальных точек

(23)

(24)

где Hn - высотная отметка точки, расположенной на верхней бровке откоса; H1 - то же, для точки, расположенной на нижней бровке откоса; n - количество точек, намеченных на откосе;

Рис.28. Схема построения равноустойчивых откосов по безразмерным координатам В. В. Соколовского

г) из таблиц безразмерных координат выписывают значения безразмерных ординат, соответствующие вычисленным значениям безразмерных абсцисс точек и расчетному значению φр.

По этим данным вычисляют значения размерных ординат всех точек равноустойчивого откоса, по формулам:

(25)

где Y'1, Y'2,…Y'n, - безразмерные ординаты точек, выписанные из таблиц безразмерных координат;

д) производится построение равноустойчивого откоса. Для этого через точку 1 проводят вертикально ось X и на ней по размерным абсциссам строят проекции точек 1, 2, 3,…, n, на ось X, а затем от них проводят перпендикуляры, на которых откладывают соответствующие размерные ординаты точек. Соединив концы перпендикуляров плавной линией, получают контур равноустойчивого откоса, вдоль которого все точки имеют одинаковый (заданный) запас устойчивости.

Если построить по изложенной методике равноустойчивый откос, обладающий запасом устойчивости nу=1, то такой контур называется предельным.

Сравнивая предельный контур откоса с фактическим, можно сделать точную оценку устойчивости существующего склона.

5.5. Для оползневых склонов, сложенных разнородными грунтами различной мощности, залегающими горизонтально или падающими в обратную сторону откоса, также возможно применение вышеизложенной методики построения равноустойчивых откосов, так как по геологическим условиям ни одна прослойка или контактная поверхность между слоями не может служить поверхностью скольжения.

В расчетной схеме многослойного откоса построение равноустойчивых откосов выполняется раздельно по каждым слоям с использованием прочностных характеристик грунтов каждого слоя и с учетом глубины залегания слоя.

По этой схеме расчетно-графические операции выполняются в следующей последовательности:

а) для каждого слоя грунтов, выделенных в пределах расчетного разреза склона, вычисляют расчетные значения физико-механических свойств с учетом заданного запаса устойчивости по формулам:

(26)

где h - вертикальная мощность каждого слоя;

б) проведя ось X через самую нижнюю точку откоса (точка А на рис. 29), строят равноустойчивый откос этого слоя по методике, изложенной в п.5.4, используя прочностные характеристики грунтов этого слоя;

в) перемещают ось X параллельно самой себе до пересечения с точкой В, которая расположена на поверхности, разделяющей нижний и вышележащий слои, а затем строят равноустойчивый контур откоса этого слоя по методике, изложенной в п. 5.4;

г) описанным приемом производится построение равно-устойчивых откосов всех остальных вышележащих слоев, перемещая каждый раз ось X до пересечения с граничной точкой между слоями и используя каждый раз прочностные характеристики грунтов расчетного слоя.

5.6. Для получения численного значения оползневого давления в отдельных точках оползневого массива наиболее пригодными следует считать объемные методы расчета, основанные на геометризации оползневого массива.

Для случая, когда в массиве оползневого склона имеется естественная поверхность скольжения оползня, расчет выполняется в следующей последовательности:

а) по материалам топографической съемки и инженерно-геологических изысканий, проведенных на оползневом склоне, составляют топографический план дневной поверхности оползневого участка масштаба 1:500, план поверхности скольжения оползня того же масштаба и определяются расчетные значения физико-механических свойств грунтов, соответствующие их естественному состоянию на момент исследования в зоне сдвига оползня;

Рис.29. Схема построения равноустойчивого откоса при многослойном напластовании грунтов

Рис. 30. Топографический план оползневого участка

Рис.31. Изолинии поверхности скольжения оползня

б) совместив по координатным сеткам топоплан дневной поверхности с планом поверхности скольжения оползня (рис. 30, 31), выполняют графическое вычитание этих поверхностей методом, изложенным в курсе геометрии недр. В результате этого получают новый план топографического порядка, на котором изолинии соединяют точки с одинаковыми вертикальными мощностями оползневого тела. Этот план называется планом изомощности оползня (рис. 32);

Рис.32. Изолинии изомощности оползня

в) графическим дифференцированием поверхности скольжения оползня получают еще один план топографического порядка, на котором изолинии соединяют точки с одинаковыми уклонами поверхности скольжения (рис. 33). Этот план называется планом изоуклонов поверхности скольжения оползня;

Рис.33. План изоуклонов поверхности скольжения оползня

г) разбивают оползневое тело на ряд элементарных квадратных призм с таким расчетом, чтобы поверхность скольжения в пределах каждой призмы сохраняла неизменный скат (на планах изомощности и изоуклонов проекции элементарных призм изображены в виде сети квадратов);

д) по плану изомощности определяют численные значения вертикальной мощности оползня h в центре каждого квадрата, а по плану изоуклонов определяют значения углов падения β поверхности скольжения в каждом квадрате;

е) по численным значениям углов падения поверхности скольжения β, вертикальной мощности оползня h, объемного веса грунтов γ, площади основания элементарных призм S и сдвиговых характеристик грунтов φ и С в зоне сдвига, оползня, для каждой элементарной призмы вычисляют значения сдвигающих и удерживающих сил по формулам (рис. 34):

(27)

(28)

ж) для каждой элементарной призмы определяют численные значения оползневого давления, как разность между сдвигающими и удерживающими силами, по формуле

(29)

з) определяют общий запас устойчивости оползневого склона по формуле

(30)

Рис.34. Схема к расчету оползневого давления в элементарных призмах

В формуле (30) оползневые давления со знаком плюс обозначают активные силы, а со знаком минус - пассивные силы;

и) вычисляют численные значения оползневого давления для всех элементарных призм с учетом реактивных сил соседних призм.

Согласно схеме на рис. 35, эти величины могут быть определены по формулам:

для призм, расположенных в самом верхнем ряду с нагорной стороны

(31)

а для всех остальных призм

(32)

где ΔTi - значение полного оползневого давления в i призме; ΔTi-1 - то же, в соседней (вышележащей) призме; βi - угол падения поверхности скольжения в i-й призме; βi-1 - то же, в соседней (вышележащей) призме;

к) выписывают значения оползневого давления у центров соответствующих квадратов и, приняв их как числовые отметки, на плане строят изолинии, соединяющие точки с одинаковыми полными оползневыми давлениями (рис. 36).

Рис.35. Схема к расчету оползневого давления с учетом реактивных сил соседних призм

Рис.36. План силового поля оползневого склона

Этот план называется изолинейным планом силового поля оползневого склона, который позволяет легко и просто определять значения действительного оползневого давления в любой точке или по любому сечению этого поля.

5.7. Для случая, когда в массиве оползневого склона отсутствует фиксированная естественная поверхность скольжения оползня, расчет устойчивости склона и определение оползневого давления в нем можно производить методом, аналогичным предыдущему, если будет определено положение поверхности скольжения в массиве оползневого склона. Задача в этом случае решается следующим образом:

а) по материалам топографической съемки и инженерно-геологических изысканий строится топоплан оползневого участка и определяются расчетные значения физико-механических свойств (φ, С, γ) грунтов оползневого массива;

б) на топоплане оползневого участка намечают ряд профильных сечений, располагаемых в наиболее характерных местах рельефа (рис. 37), и по каждому намеченному сечению методами, изложенными в п. 5.4 или в 5.5, строят предельные контуры равноустойчивых откосов с запасом устойчивости пу=1;

в) на предельных контурах равноустойчивых откосов (рис. 38) намечают ряд точек, для которых определяют их высотные отметки (с помощью высотной сетки) и величины заложения этих точек от начала координат. По величинам заложений намеченные на предельных контурах точки переносятся на план и около них подписываются их высотные отметки;

г) после нанесения на план всех точек, намеченных на предельных контурах откосов по всем сечениям, на основе высотных отметок этих точек строят горизонтали предельной поверхности откоса, которая и принимается за поверхность скольжения оползня (рис. 37);

д) имея топографический план дневной поверхности оползневого участка, план поверхности скольжения оползня и физико-механические свойства грунтов, можно выполнить оценку устойчивости склона и построить изолинейный план силового поля оползневого давления по методике, изложенной в п. 5.6.

5.8. Объемные методы, описанные в пп. 5.6 и 5.7, предназначены для тех случаев, когда в массиве горного склона отсутствует фильтрационное давление напорных вод. Если же по результатам гидрогеологических изысканий установлено наличие фильтрационного давления в оползневом массиве, то при расчетах устойчивости такого склона следует обязательно учитывать их влияние.

В каждой точке водонасыщенного грунтового массива направление фильтрационного давления можно принимать параллельным касательной к депрессионной поверхности и приложенным к середине глубины фильтрационного потока.

Рис.37. План предельной поверхности оползня в изотропной среде

Рис.38. Построение предельных контуров В.В. Соколовского (ny=1)

1 - профиль топоповерхности; 2 - предельный устойчивый профиль откоса (по В.В. Соколовскому)

При такой схеме силовых воздействий фильтрационного давления на оползневой склон учет этого давления на устойчивость склона можно выполнить следующим образом:

а) по результатам топографических, инженерно-геологических и гидрогеологических изысканий, проведенных на оползневом участке, составляют топографический план дневной поверхности (рис. 30), план поверхности скольжения оползня (рис. 31) и план депрессионной поверхности уровня грунтовых вод (рис. 39);

б) методом графического вычитания поверхностей топографического порядка получают план изомощности всего оползневого тела (рис. 32) (из дневной поверхности вычитается поверхность скольжения оползня) и план изомощности затопленной части оползневого тела (рис. 40) (из депрессионной поверхности уровня грунтовых вод вычитается поверхность скольжения Оползня);

в) так же как и в предыдущих объемных методах, оползневое тело разбивают на ряд элементарных призм, которые изображены на плане изомощности всего ползневого тела (рис. 32) и на плане изомощности затопленной части оползневого тела (см. рис. 40) сетью квадратов;

Рис.39. Изолинии депрессионной поверхности уровня грунтовых вод

г) по плану поверхности скольжения оползня определяют значения углов падения поверхности скольжения в каждом квадрате по формуле

(33)

а по плану депрессионной поверхности уровня грунтовых вод определяют значения гидравлического градиента в центре каждого квадрата:

(34)

где h0 - высота сечения изолиний на плане (рис. 31, 39); l - заложение между соседними изолиниями на плане (рис. 31); l' - заложение между соседними изолиниями на плане (рис. 39); α - угол наклона депрессионной поверхности в центре квадратов;

д) для каждой элементарной призмы определяют значения полного веса призмы Р и взвешивающего давления воды Рв, по формулам:

(35)

(36)

где hi - вертикальная (полная) мощность оползня в i-й призме, определяемая по плану изомощности (рис. 32); hвi - вертикальная мощность затопленной части оползневого тела, определяемая по плану изомощности затопленной части оползневого тела (см. рис. 40); S - площадь основания элементарной призмы; γw - объемный вес воды; γ - объемный вес грунтов оползневой массы; п' - объем пустот в единице объема грунтовой массы оползня; ε - коэффициент пористости грунта оползневой массы;

е) вычисляют значения фильтрационного давления действующего на каждую элементарную призму, по формуле

(37)

ж) с учетом фильтрационного давления напорных вод и взвешивающих сил грунтовых вод вычисляют значения сдвигающих и удерживающих сил для каждой элементарной призмы, по формулам (рис. 41):

(38)

(39)

и) определяют общий запас устойчивости склона по формуле

(40)

Рис.40. Изомощности затопленной части оползневого тела

к) для каждой элементарной призмы вычисляют значения полного оползневого давления с учетом фильтрационного давления напорных вод и реактивных сил соседних призм по формулам:

для призм самого верхнего ряда с нагорной стороны

(41)

а для остальных призм

(42)

л) на новый план, где нанесены центры каждого квадрата элементарных призм, около каждого центра выписывают численные значения полного оползневого давления, соответствующего этим квадратам, и, приняв их как числовые отметки, на плане строят изолинии равных оползневых давлений. Этот план (рис. 42) представляет собой объемное изображение силового поля оползневого давления, подобного изображенному на рис. 36. С помощью этого плана можно легко определить численные значения оползневого давления с учетом фильтрационного давления напорных вод, взвешивающих сил грунтовых вод и реактивных сил соседних призм для любой точки или сечения оползневого поля.

5.9. Расчет устойчивости искусственных откосов можно производить на основе решения плоской задачи.

Для искусственных откосов, сложенных слоями разнородных грунтов, падающих в сторону откоса и имеющих пологое или наклонное залегание, устойчивая поверхность откоса может быть задана круче наслоения грунтов.

Рис.41. Схемы к расчету оползневого давления с учетом фильтрационного давления напорных вод

Рис.42. План силового поля оползневого давления с учетом фильтрационного давления напорных вод

В этом случае значение устойчивого угла откоса определяется по формуле (рис. 43):

(43)

где α - устойчивый угол откоса; β - угол падения грунтовых слоев; φ' и C' - угол внутреннего трения и сцепление грунтов по контактной поверхности между слоями грунтов; H - вертикальная высота откоса; γ - объемный вес грунтов.

5.10. Для тех же грунтовых условий, но когда подрезка грунтовых слоев недопустима, поверхности откоса следует придать наклон одинаковый с поверхностями наслоения грунтов.

Для этого случая наиболее пригодна формула (рис. 44):

(44)

где φ' - угол внутреннего трения грунтов по контактной поверхности; φ и С - угол внутреннего трения и сцепление грунтов в крест наслоения грунтов.

Рис.43. Схема расчета устойчивости откосов с подрезанными слоями по методу А.П. Ли

1 - контакты наслоения породы

Рис.44. Схема к расчету устойчивости откоса по методу Г. Л. Фисенко

6. РАСЧЕТ УСТОЙЧИВОСТИ ЗАГЛУБЛЕННЫХ СООРУЖЕНИЙ НА ОПОЛЗНЯХ

6.1. Заглубленные сооружения, возводимые на оползневых склонах, предназначаются для стабилизации оползневых подвижек или для предохранения от разрушения инженерных сооружений, возведенных на них, в условиях обтекания их оползнем.

В настоящее время наиболее распространенными видами заглубленных сооружений, предназначенными для удержания оползневых склонов, являются свайные заграждения и удерживающие стены на свайных фундаментах. Эффективность этих сооружений определяется прежде всего их устойчивостью и прочностью при воздействии на них сил оползневого давления.

6.2. Для некоторых инженерных сооружений (наземные трубопроводы на свайных опорах, эстакады и др.) возможно сохранение их безаварийного эксплуатационного состояния и в условиях непрекращающихся оползневых подвижек, если свайные опоры или колонны обтекаются оползнем при сохранении их устойчивости.

Обтекание оползнем заглубленных сооружений возможно только при определенных условиях, зависящих от состояния грунтовой массы оползня.

6.3. Если заглубленные сооружения рассматривать как препятствия на пути движения оползневой массы, то следует ожидать, что со стороны наползания оползня у заглубленного сооружения образуется уплотненная зона из наползающего грунта. Дальнейшее движение оползневой массы вызовет образование поверхностей скольжения в уплотненной зоне.

Согласно теории предельного равновесия связно-сыпучей среды сдвиговые деформации в области предельно напряженной среды всегда происходят по двум семействам поверхностей скольжения, располагающихся симметрично относительно направления главного напряжения и пересекающихся между собой под углом

(45)

Рис.45. Схема обтекания оползнем одиночной свайной опоры

Следовательно, в каждом поперечном сечении свайной опоры или колонны, обтекаемых оползнем, призма обтекания может быть представлена в виде трехгранника (рис. 45), опирающегося своим основанием на сваю, а боковые грани его пересекаются под углом θ. Если на боковые грани такой призмы приложена сила оползневого давления, интенсивностью ΔТ, то условие предельного равновесия на этих гранях может быть записано в виде

(46)

где d - длина основания призмы обтекания, равная диаметру поперечного сечения при круглой его форме или длине стороны при квадратной форме поперечного сечения заглубленной конструкции.

6.4. Прогноз возможности обтекания оползнем заглубленных свайных опор или колонн можно производить по следующей схеме:

а) обтекание возможно, если

(47)

б) обтекание не возможно, если

(48)

6.5. Если свайную опору или колонну в пределах их заглубленной части считать абсолютно жесткой, а прочность их на срез от действия оползневого давления обеспеченной, то устойчивость таких конструкций в условиях обтекания их оползнем будет определяться только величиной заглубления их в подстилающий оползень неподвижный грунт. При этом за безопасную величину заглубления следует принимать ту, которая обеспечивает предельное равновесие этих конструкций при действии на них опрокидывающих сил.

6.6. Расчетную величину заглубления в неподвижный подстилающий грунт свайной опоры или колонны можно определить из решения кубического уравнения вида:

(49)

где h - расчетная величина заглубления свайной опоры в неподвижный подстилающий грунт оползня (рис. 46); h1 - вертикальная мощность оползневого тела в точке установки свайной опоры или колонны (определяется по плану изомощности оползня); RT - равнодействующая оползневого давления на сваю, определяемая по формуле

(50)

ΔT' - интенсивность воспринимаемой части оползневого давления на сваю, определяемая по формуле

(51)

ΔT - величина оползневого давления в точке установки сваи, определяемая по плану силового поля оползневого давления; d - диаметр поперечного сечения сваи; a1 - коэффициент, определяемый по формуле

(52)

a2 - коэффициент, определяемый по формуле

(53)

Pmax - реактивная сила уплотнения грунтов на границе между оползневым телом и подстилающим грунтом (рис. 46,а), определяемая по формуле

(54)

E0 - модуль общей деформации грунтов подстилающей толщи; м0 - коэффициент относительной компрессионной деформации грунтов подстилающей толщи; lу - величина относительной деформации грунтов на границе между оползневым телом и подстилающей толщей, значение которой можно определить по формуле

(55)

γкр - критическая плотность грунтов подстилающей толщи.

6.7. Значение критической плотности грунтов рекомендуется определять либо по результатам лабораторных испытаний грунтов на приборе многоплоскостного сдвига при различных значениях уплотняющей нагрузки, либо через критические пористости грунтов по формуле

(56)

где γy - удельный вес грунтов; tgα - коэффициент, характеризующий наклон кривой; εкр=f(lnσ) к оси абсцисс; σ - уплотняющее давление, соответствующее данному напряженному состоянию грунтов; εкp.1 - критическая пористость грунта при уплотняющем давлении, равном σ1.

Рис.46. Схема к расчету величины заглубления свайных опор в неподвижный подстилающий оползень грунт

6.8. Свайные заграждения, предназначенные для полного удержания оползневого смещения, должны удовлетворять двум условиям:

1) каждая свая заградительного ряда должна сопротивляться опрокидывающей силе оползневого давления;

2) расстояние между соседними сваями в ряду должно быть принято таким, чтобы исключить просачивание оползневой массы между ними.

6.9. В зависимости от физико-механического состояния грунтов оползневой массы свайные заграждения на оползнях могут быть однорядными и многорядными.

6.10. Расчет величин заглубления каждой сваи в заградительном ряду выполняется по методике, изложенной в п. 6.6 настоящего Руководства.

6.11. Расстояние между сваями в свайном заграждении должно быть рассчитано так, чтобы удерживающие силы, возникающие у каждой уплотненной зоны АВСД (рис. 47), превосходили суммарную силу оползневого Давления, действующего на каждую сваю.

Из рис. 47 следует, что для предельного случая можно записать

(57)

где ΔT1 - величина оползневого давления, приходящаяся на единицу площади в области АВСД (рис. 47); S1 - площадь активной зоны оползня между соседними сваями в ряду, значение которой, согласно рис. 47, может быть определено по формуле:

(58)

l1 - расстояние между соседними сваями в ряду; d - диаметр поперечного сечения сваи; θ=90°-φ.

Подставив значение S1 из (58) в (57) и решив равенство относительно искомой величины l1, получим

(59)

Рис.47. К расчету расстояния между сваями при однорядном свайном заграждении

Рис.48. Схема расчета многорядного свайного заграждения

6.12. При многорядном свайном заграждении сваи в плане должны быть размещены в шахматном порядке (рис. 48). Расчет расстояния между сваями можно производить и в этом случае по формуле (59), но значение оползневого давления, воспринимаемого сваями последующих рядов, должно быть определено как разность между суммарной силой оползневого давления между сваями 1-го ряда и удерживающими силами, возникающими у каждой сваи предыдущих рядов.

Так, например, значение оползневого давления между сваями 2-го ряда может быть определено по формуле

(60)

где ΔТ2 - величина оползневого давления, приходящегося на единицу площади в активной зоне 2-го ряда свайного заграждения; S2 - площадь активной зоны оползня между соседними сваями 2-го ряда заграждения.

6.13. Применение свайного заграждения в качестве сооружения для полной стабилизации оползневой подвижки возможно не во всех случаях.

Если оползневая масса представлена рыхлыми отложениями текучей консистенции, то удержать такую массу свайными заграждениями не представляется возможным. Для этих случаев более эффективными окажутся возведение удерживающих сооружений в виде свайно-панельных стен.

6.14. Конструкция рекомендуемой свайно-панельной удерживающей стены состоит из железобетонных панельных стен и упорных свайных стоек (рис. 49).

Панельные стены, заглубленные до поверхности скольжения оползня, воспринимают на себя давление наползающей оползневой массы, а свайные стойки предохраняют панельные стены от опрокидывания.

6.15. Расчет устойчивости такой конструкция удерживающих стен на оползнях включает в себя определение устойчивости упорных свайных стоек, определение прочности панельных плит на изгиб и определение вертикальной высоты панельной стены, исключающей переползание оползневой массы через нее.

В соответствии с этим расчет устойчивости удерживающей панельной стены на оползнях выполняется в следующей последовательности:

а) на плане силового поля оползневого давления проектируют ось удерживающей стены и строят эпюру оползневого давления по этому сечению (рис. 50);

б) подбираются типоразмеры панельных плит и конструкции свайных стоек, соответствующие установленным значениям оползневого давления и вертикальным мощностям оползневого тела;

Рис. 49. Схема конструкции свайно-панельной удерживающей стены

1 - панельные плиты; 2 - опорная свая

Рис.50. Эпюра оползневого давления на свайно-панельную удерживающую стену

Рис.51. Схема к определению количества упорных стоек на свайно-панельной стене

1 - контур оползня; 2 - панельная стена; 3 - упорные сваи; 4 - ось трубопровода

Рис.52. Схема к определению величины оползневого давления, воспринимаемого каждой упорной стойкой

в) определяют необходимое количество упорных свайных стоек на запроектированном участке удерживающей стены и места их установки. Если предусмотреть установку упорных стоек в местах стыковки панельных плит, то количество упорных стоек в удерживающей стене можно определить по формуле (рис. 51):

(61)

где L - общая длина для удерживающей стены в плане; l - длина панельной плиты:

г) по эпюре оползневого давления определяют величину оползневого давления, воспринимаемого каждой упорной стойкой, по формуле (рис. 52):

(62)

где ΔTi - величина оползневого давления в точке установки i-й стойки; ΔTi-1 - то же, в точке установки предыдущей стойки; ΔTi+1 - то же, в точке установки последующей свайной стойки;

д) по методике, изложенной в п. 6.6, определяют численное значение расчетной величины заглубления свайных стоек в неподвижный подстилающий грунт оползня, обеспечивающей предохранение удерживающей стены от опрокидывания;

е) определяют вертикальную высоту панельной стены, исключающую возможность переползания ее оползнем сверху (рис. 53), по формуле

(63)

где h2 - вертикальная мощность оползневого тела в сечении ЕД (рис. 53); β - угол падения поверхности скольжения оползня в точке установки свайной стойки; ΔТ - величина оползневого давления в сечении ЕД, определяемая по плану силового поля оползневого давления; θ=90°-φ; φ и С - угол внутреннего трения и сцепление грунтов оползневой массы.

Рис.53. К расчету вертикальной высоты удерживающей панельной стены на оползнях

1 - поверхность оползня после стабилизации; 2 - исходное положение поверхности оползня; 3 - поверхность скольжения оползня

7. ОБЕСПЕЧЕНИЕ УСТОЙЧИВОСТИ ГОРНЫХ СКЛОНОВ

7.1. Защита инженерных сооружений, подвергаемых разрушению в результате оползневых подвижек, мероприятиями, описанными в предыдущем разделе, всегда сопряжено с большими затратами времени и средств, поэтому перед началом строительства инженерных сооружений в оползневых районах следует считать целесообразным производить предварительную инженерную подготовку территорий.

7.2. Одним из эффективных методов инженерной подготовки оползнеопасных участков под застройку является перепланировка поверхности оползневого склона до устойчивого состояния и проведение мероприятий по ограждению оползневого участка от притока поверхностных и грунтовых вод.

7.3. Суть метода вертикальной планировки поверхности оползня до устойчивого состояния состоит в том, что на оползневых участках производится перепланировка существующей поверхности до устойчивой путем перемещения грунтовой массы из зоны активного оползневого давления в зону пассивного сопротивления, т.е. в зоне активного оползневого давления искусственно уменьшается мощность оползневого тела путем срезки грунтов, а в пассивной зоне увеличивают его мощность путем насыпки грунта.

7.4. Для составления проекта вертикальной планировки предлагаемым нами методом необходимо, иметь следующие исходные материалы:

а) крупномасштабный топографический план (1:500, 1:1000), на котором должны быть нанесены контур оползня, проектируемые инженерные сооружения и разведочные выработки;

б) план поверхности скольжения оползня, полученный в результате инженерных изысканий;

в) физико-механические характеристики грунтов (φ, С, γ), соответствующие естественным условиям в зоне сдвига оползня (в зоне контакта оползневого тела с подстилающей поверхностью).

7.5. Графоаналитические операции при проектировании вертикальной планировки поверхности оползня до устойчивого состояния выполняются в следующей последовательности:

а) разбивают оползневое тело на ряд элементарных квадратных призм. На плане поверхности скольжения оползня (рис. 54) они изображены в виде сети квадратов, покрывающих весь оползневой контур;

б) в каждой призме определяют значения углов падения поверхности скольжения по формуле

(64)

где h0 - высота сечения горизонталей на плане поверхности скольжения оползня; d - заложение между горизонталями;

в) для каждой элементарной призмы вычисляют проектные значения вертикальной мощности оползня, обеспечивающей в. каждой призме заданный запас устойчивости. Учитывая, что в каждой призме запас устойчивости определяется как отношение удерживающей силы к сдвигающей силе, а удерживающие и сдвигающие силы, создаваемые весом призмы, могут быть определены по формулам:

(65)

запас устойчивости каждой призмы можно представить выражением

(66)

где h - вертикальная мощность оползня в элементарной призме; S - площадь основания элементарной призмы; β - угол падения поверхности скольжения в элементарной призме.

Если в формуле (66) задаться значением запаса устойчивости пу, то, решив ее относительно h, можно найти значение проектной мощности оползня, обеспечивающей заданный запас устойчивости, по формуле

(67)

где γ - объемный вес грунтов оползневой массы в элементарной призме; φ' и С' - угол внутреннего трения и сцепление грунтов по поверхности скольжения оползня;

г) вычисленные значения проектных мощностей оползня выписывают в центре каждого квадрата, изображающих на плане основания каждой элементарной призмы, и, приняв их как числовые отметки, на плане строят изолинии равных проектных мощностей оползня, который называется планом проектной изомощности оползня (рис. 54);

Рис. 54, Изолиния поверхности скольжения

 - (1) и проектной мощности  - (2) оползневого участка

д) методами, известными из курса горной геометрии, выполняют графическое сложение поверхности, проектной изомощности и поверхности скольжения оползня. В результате этого получают новую поверхность топографического порядка, которая изображает устойчивую проектную поверхность оползневого тела с заданным запасом устойчивости пу (рис. 55);

Рис. 55. Горизонтали топоповерхности и изолинии проектной поверхности оползня

-1 - горизонтали топоповерхности; -2 - изолинии проектной поверхности

е) составляют проект вертикальной планировки существующей поверхности оползня под устойчивую проектную. Для этого, совместив по координатным сеткам планы проектной и существующей поверхности оползневого тела, производят графическое вычитание этих поверхностей. В результате этого получают новую поверхность топографического порядка, изображающую план изолиний равных рабочих отметок. Этот план и является проектом вертикальной планировки существующей поверхности оползня под устойчивую проектную поверхность (рис. 56).

Рис.56. Изолинии рабочих отметок при вертикальной планировке поверхности оползня под устойчивую проектную поверхность

7.6. Для проведения вертикальной планировки поверхности оползня, согласно составленному проекту, необходимо выполнить следующие работы:

а) составляют разбивочный чертеж для выноса центров квадратов элементарных призм с плана в натуру;

б) методами, известными из курса инженерной геодезии, выносят и закрепляют колышками центры квадратов элементарных призм;

в) по плану изолиний рабочих отметок (см. рис. 56) определяют численные значения рабочих отметок с соответствующими им знаками и выписывают их на колышках, закрепленных в центрах квадратов элементарных призм;

г) по рабочим отметкам, выписанным на колышках, производится перепланировка поверхности оползня. Новая поверхность, полученная в результате этого, будет равноустойчивой во всех точках с заданным запасом устойчивости.

7.7. Вышеописанный метод вертикальной планировки поверхности оползня до-устойчивого состояния применим для тех случаев, когда головная часть оползня примыкает непосредственно к вершине горного склона и поэтому исключается возможность подрезки склона при срезке грунтов в активной зоне оползня.

7.8. В тех случаях, когда оползневой участок захватывает среднюю или нижнюю часть горного склона, перемещение грунтов из активной зоны оползня в пассивную обязательно вызовет подрезку горного склона в головной части оползня, где, как правило, приурочивается активная зона оползня. Подрезка горного склона неизбежно вызовет развитие нового оползневого процесса на подрезанном склоне.

Следовательно, в этих случаях перепланировка поверхности оползня до устойчивого состояния должна быть запроектирована так, чтобы исключить срезку грунтов в головной части активной зоны оползня. Этого можно добиться, если увеличить оползневое давление в пассивной зоне на величину, обеспечивающую компенсацию избытка активного давления путем насыпки грунта только в пассивной зоне, оставив нетронутой поверхность оползня в активной зоне.

7.9. Проектирование вертикальной планировки поверхности оползня до устойчивого состояния в этом случае выполняется следующим образом:

а) на плане изомощности оползня, полученном методом, описанным в п. 5.6 «б» (см. рис. 32), разбивают сеть квадратов, покрывающих весь оползневой контур и представляющие собой горизонтальные проекции элементарных призм, на которые разбито все оползневое тело;

б) по плану поверхности скольжения оползня (см. рис. 31) определяют численные значения углов падения поверхности скольжения β в каждом квадрате элементарных призм, а по плану изомощности оползня (см. рис. 32) определяют значения вертикальной мощности оползня h в центре каждого квадрата элементарных призм. Методика определения этих величин описана в п. 5.6 «д»;

в) для каждой элементарной призмы вычисляют значения приведенного оползневого давления без учета, реактивных сил соседних призм по формуле

(68)

г) выписав в центре каждого квадрата вычисленные значения ΔТ и приняв их как числовые отметки, строят план изолинии равных оползневых давлений (рис 57). На этом плане четко выделяются зоны активного и пассивного оползневого давлений, которые разделяются изолиниями с нулевым значением оползневого давления;

д) определяют общий запас устойчивости оползневого склона по формуле

(69)

е) задавшись значением запаса устойчивости склона, определяют проектное значение суммы пассивного оползневого давления, обеспечивающего заданный запас устойчивости всего оползневого склона.

(70)

где (+ΔTi) - силы оползневого давления, создаваемые элементарными призмами активной зоны; n'y - устойчивое проектное значение запаса устойчивости оползневого склона;

ж) определяют сумму дополнительного оползневого давления, которое необходимо создать в пассивной зоне оползня, по формуле

(71)

(-ΔTi) - силы оползневого давления, создаваемые элементарными призмами пассивной зоны;

з) проектное значение оползневого давления в каждой призме пассивной зоны определяется по формуле

(72)

где ΔTД.i - дополнительное значение оползневого давления на каждую призму пассивной зоны, значение которого при равномерном распределении насыпки на всю пассивную зону можно определить по формуле

(73)

m - количество элементарных призм в пассивной зоне оползня;

Рис.57. Оконтуривание зон пассивного оползневого давления на оползневом участке

и) на основании формулы (68) можно написать, что

(74)

где hпр - проектное значение вертикальной мощности оползня в центре каждого квадрата элементарной призмы в пассивной зоне оползня, обеспечивающее заданный запас устойчивости.

Тогда для каждого центра элементарной призмы в пассивной зоне оползня можно написать

(75)

к) выписав в центре каждого квадрата пассивной зоны оползня вычисленные значения hпр и приняв их как числовые отметки, на плане строят изолинии равных проектных мощностей оползня в пределах пассивной зоны (рис. 58). Этот график является планом устойчивой изомощности оползня в пассивной зоне;

л) выполнив графическое сложение поверхности проектной изомощности с поверхностью скольжения оползня, получают устойчивую поверхность оползневого участка (рис. 59), а произведя графическое вычитание из проектной поверхности существующую топоповерхность оползня, получают план изолиний рабочих отметок, который и является проектом вертикальной планировки пассивной зоны оползня (рис. 60).

7.10. Длительная устойчивость горного склона, перепланированного до устойчивого состояния на момент исследования, может быть сохранена только при условии сохранения неизменным горногеологических и гидрогеологических условий на оползневом участке.

7.11. Из числа факторов, определяющих устойчивое состояние горного склона, ведущее место отводится возможному изменению водонасыщенности грунтов оползневой массы и подстилающей толщи, поэтому одним из важнейших профилактических мер по предупреждению развития оползней считаются мероприятия по ограждению оползневого участка от притока поверхностных вод из окружающей местности, отвод поверхностных вод с самого оползневого участка и понижение уровня грунтовых вод на оползневом участке на такую величину, при которой обеспечивалась бы заданная устойчивость оползневого склона.

7.12. В инженерной практике мероприятия по ограждению оползневых участков от притока ливневых вод и паводков из окружающей местности и отвод поверхностного стока из оползневого участка обычно осуществляется системой нагорных и водоотводных канав. При этом водоограждающая и водоотводная система на оползневом участке должна быть запроектирована и устроена так, чтобы обеспечить полный перехват поверхностного стока воды из окружающей местности и отвод этих вод и поверхностных вод с самого оползневого участка за пределы оползневого района.

Рис.58. План устойчивых проектных мощностей оползня в пассивной зоне

Рис.59. План устойчивой проектной поверхности оползня

Рис.60. План изолиний рабочих отметок в пассивной зоне

7.13. Камеральное трассирование водоограждающих и водоотводных систем выполняется на основе крупномасштабного топографического плана оползневого участка и прилегающей местности с учетом следующих требований:

а) водосборные площади, тяготеющие к оползневому участку и на самом оползневом участке, должны быть оконтурены на основе топогеодезических материалов, достоверно отражающих рельеф местности на момент исследования. Важнейшей задачей при этом является точное построение на топопланах систем водораздельных и водосливных линий методами, известными из курса инженерной геодезии;

б) расчет максимального притока ливневых вод и воды снеготаяния с бассейнов, тяготеющих к запроектированным нагорным и водоотводным канавам, следует производить с обязательным учетом возможной инфильтрации этих вод в грунтовое основание;

в) камеральное трассирование систем нагорных и водоотводных канав следует производить с учетом минимальных затрат на их возведение и максимальной эффективности эксплуатации этих систем. Для этого необходимо стремиться к тому, чтобы эти канавы были расположены по возможности по линиям водосливов при двустороннем притоке поверхностного стока, а при одностороннем притоке их следует располагать по линиям, перпендикулярным к направлениям наибольших скатов водосборной площади по наикратчайшей трассе;

г) расчет поперечного сечения канав следует производить исходя из условий полного обеспечения расхода воды поверхностного стока с учетом продольного уклона дна канав на каждом участке трассы. Для этого трассу запроектированной канавы следует разбить на отдельные участки с одинаковыми продольными уклонами и дальнейший гидравлический расчет производить раздельно на каждом участке;

д) в тех случаях, когда оползневой участок расположен у подножия или в средней части горного склона, трассу основной нагорной канавы следует расположить с нагорной стороны оползневого участка вдоль его верхней границы по линиям расчетного уклона. Трассу водоотводных канав в этом случае следует располагать вдоль боковых границ оползня за его пределом на расстоянии 7-10 м с расчетом сброса воды в места, где исключается подпитка оползневого участка или образование новых оползней в результате подпитки водой;

е) в тех случаях, когда оползень развит на вершинной части горного склона, а водосборные бассейны прилегают к боковым границам оползня, нагорные канавы должны быть запроектированы вдоль боковых границ оползня по линиям водослива или при их отсутствии по линиям наибольших скатов за пределами оползневого контура;

ж) водоотвод поверхностного стока из самого оползневого участка целесообразнее всего осуществить системой водоотводных лотков, располагаемых по водосливным линиям, образованным на оползневом участке в результате эрозионных процессов или естественной формой рельефа;

з) расчет притока воды поверхностного стока на каждый участок трассы нагорных канав рекомендуется производить по формуле

(76)

где F - площадь водосбора, тяготеющая к данному участку трассы; Q - приток воды из данной водосборной площади; hc - толщина слоя стекающей воды; h0 - толщина слоя выпавших осадков; λс - коэффициент паводкового стока, значение которого определяется по формуле

(77)

и) формула (76) позволяет определять максимально возможный приток воды для данного участка трассы по известным значениям максимальных осадков h0 и коэффициента λс;

к) значения максимальных осадок для данного района устанавливаются по материалам многолетней метеосводки;

л) площадь живого сечения канав в конце каждого участка трассы можно определять по формуле

(78)

где Q - объем притока воды в канаву из данного участка, определяемый по формуле (76); ω - живое сечение канавы; Vc - скорость потока воды в канаве;

м) при равномерном движении жидкости в канаве скорость течения определяется по формуле

(79)

где i - продольный уклон дна канавы; R - гидравлический радиус, значение которого для гидравлически наивыгоднейшего трапецеидального сечения можно принять равным R=5h'к; h'к - глубина затопленной части канавы; СШ - коэффициент Шези, определяемый по формуле

(80)

(81)

nШ - коэффициент шероховатости, значение которого в зависимости от типа облицовки и ее состояния можно определить по табл. 1;

н) после определения живого сечения канав можно запроектировать и поперечное сечение канавы.

Таблица 1

Коэффициент гидравлической шероховатости.

№ п.п.

Характер поверхности русла

Состояние поверхности

очень хорошее

хорошее

обычное

плохое

1

Канавы одернованные:

 

 

 

 

а) с земляным дном

0,028

0,030

0,033

0,035

б) с мощеным дном

0,025

0,030

0,035

0,040

2

Канавы с замощенным контуром, мощенные обычным булыжным камнем, одиночное или двойное

-

0,020

0,022

0,027

3

Канавы, замощенные рваным камнем

-

0,027

0,030

0,035

4

Канавы, замощенные крупным камнем

0,017

0,022

0,023

0,030

5

Бутовая кладка, грубая бетонировка

0,017

0,020

0,025

0,030

6

Грубая бутовая кладка

0,020

0,025

0,027

0,030

7

Шероховатая бетонная поверхность (бетонная плита)

-

0,014

0,016

0,018

8

Гладкая бетонная поверхность (бетонные плиты, кладка из тесового камня)

0,012

0,014

0,015

0,016

9

Земляные канавы правильной формы в плотном лессе

-

0,017

0,018

-

10

То же, в лессе или гравии с илистой пленкой

0,017

0,020

0,020

0,025

Для этого, задавшись значениями ширины дна канавы b и коэффициентом откоса т и используя формулу площади трапецеидального сечения, можно определить значение глубины затопленной части (рис. 61) канавы.

Из рис. 61 имеем

(82)

откуда

(83)

где ω - площадь живого сечения канавы, вычисляемая по формуле (78); h'к - глубина затопленной части канавы;

Рис.61. К определению поперечного сечения канав

о) полная глубина канавы должна быть больше затопленной на величину запаса hз, т.е.

(84)

Численное значение hз должно быть принято не менее 0,2-0,3 м. Следовательно, полная глубина канавы должна быть равна

(85)

п) площади живого сечения канавы ω в начале и в конце участка трассы могут быть не одинаковыми, так как расчетный приток поверхностного стока в них будет разным.

В целях экономии строительных работ площади живого сечения в начале участка одинакового уклона можно принимать наполовину меньше, чем в конце участка, т. е. живое сечение канавы в начале каждого участка вычислять по формуле

(86)

р) каждый последующий участок трассы канав следует запроектировать так, чтобы продольный уклон последующего участка был больше предыдущего. Если такая возможность по условиям местности исключается, то сопряжение уклонов должно быть произведено со сдвижкой на величину, определяемую по формуле

(87)

где h1 - глубина канавы в конце предыдущего участка; h2 - глубина канавы в начале последующего участка; ii - продольный уклон предыдущего участка.

Такая сдвижка обеспечит расчетную глубину h2 в точке сопряжения уклонов (рис. 62);

с) во избежание размывов дно и откосы нагорных и водоотводных канав, должны быть соответствующим образом закреплены. Типы крепления на каждом участке должны быть выбраны исходя из расчетных скоростей течения воды и глубины потока. В табл. 2 приведены рекомендуемые типы канав в зависимости от скорости и глубины потока;

Рис.62. Схема определения сопряжения уклонов

Таблица 2

Допустимые средние скорости течения для искусственно укрепленных канав

№ .

п.п.

Типы укреплений

Средняя глубина потока, м

0,4

1

2

3

Средние скорости течения, м/с

1

2

3

4

5

6

1

Одерновка плашмя (на плотном основании)

0,9

1,2

1,3

1,4

2

Одерновка "в стенку"

1,5

1,8

2

2,2

3

Одиночное мощение на мху (слой мха не менее 5 см) из булыжника размером, см:

 

 

 

 

75

2

2,5

3

3,5

20

2,5

3

3,5

4

25

3

3,5

4

4,5

4

Одиночное мощение на щебне (слой не менее 10 см) из рваного камня размером, см:

 

 

 

 

15

2,5

3

3,5

4

20

3

3,5

4

4,5

26

3,5

4

4,5

5

5

Двойное мощение из рваного камня на щебне. Нижний спой из камней 15 см, верхний -20 см

3,5

4.5

5

5,5

6

Бутовая кладка из камня известковых пород (с пределом прочности не менее 10 МПа)

3

3,5

4

4,5

7

Бутовая кладка из камня крепких пород (с пределом прочности не менее 30 МПа)

6,5

8

10

12

8

Бетонная одежда, марка бетона

 

 

 

 

170

6

8

9

10

140

6

7

8

9

110

5

6

7

7

9

Бетонные лотки с гладкой поверхностью, марка бетона:

 

 

 

 

170

13

16

19

20

140

12

14

16

18

110

10

12

13

15

т) в целях исключения заиливания русел нагорных и водоотводных канав их трассу следует запроектировать с учетом минимального уклона, обеспечивающего минимально допустимую скорость течения, исключающую заиливание русел. Значение этой скорости можно определить по формуле

(88)

где h - глубина потока; α - коэффициент, зависящий от крупности фракций наносов (α=0,34-0,71 при крупности фракции от 0,1 до 1 мм).

Во всех случаях минимальный уклон дна нагорных и водоотводных канав должен быть менее 0,002.

7.14. Мероприятия по водоотводу с оползневого участка проводятся с целью предотвращения размывов поверхностного слоя и сокращения инфильтрации атмосферных осадков в оползневой массив.

Эти мероприятия обеспечиваются системой водоотводных канав, устраиваемых на самом оползневом участке. Систему этих канав разделяют на следующие группы:

1) каптажно-отводные, предназначенные для сбора и отвода воды, накапливаемой в различных микропонижениях рельефа оползневого участка и каптажей в местах выхода подземных источников;

2) водосборные, предназначенные для сбора и отвода атмосферных осадков;

3) осушительные - для дренирования верхнего слоя грунтов оползня;

4) водосбросные - для пропуска собранных вод по оползневому участку.

7.15. Для проектирования всех перечисленных групп дренажной системы необходимо располагать подробным топографическим планом оползневого участка с высотой сечения горизонталей не более 0,5 м и реально отражающим рельеф оползневого участка на момент проектирования.

7.16. Каптажно-отводные канавы должны быть запроектированы с таким расчетом, чтобы исключить размыв поверхностного слоя грунта (по линиям допустимых уклонов) и в то же время по кратчайшему направлению к месту сброса воды.

7.17. Водосборные канавы должны быть запроектированы так, чтобы они проходили по возможности перпендикулярно направлению поверхностного стока и с учетом сброса этих вод в водосбросные канавы, которые в зависимости от характера рельефа могут быть расположены или внутри контура оползня, или за пределом оползневого участка.

Проектирование водосборных канав на оползневом участке должно быть строго увязано с рельефом местности оползневого участка.

Каптажно-отводные и водосборные канавы обычно устраиваются без искусственных укреплений дна и откосов и без гидравлических расчетов.

7.18. Водосбросные канавы на оползне трассируются с таким расчетом, чтобы обеспечить кратчайшие пути стекания воды из каптажно-отводных и водосборных систем. Трассу таких канав наиболее целесообразно проложить по линиям тальвегов, если они имеются на данном участке.

Сечения водосбросных канав определяют вышеизложенными гидравлическими расчетами. Крепление этих канав следует предусмотреть с учетом их деформации при оползневых подвижках, поэтому принято считать, что для этих типов канав наиболее пригодны железобетонные лотки из отдельных звеньев, допускающих некоторые продольные перемещения.

7.19. Глубинное дренирование оползневых участков проводится для перехвата подземных вод, подступающих к оползневому участку и понижения уровня подземных (грунтовых) вод на самом оползневом участке.

Эти мероприятия направлены на ликвидацию гидродинамического давления (фильтрационного давления) напорных вод, которые значительно снижают устойчивость склона.

7.20. Для глубинного дренирования на практике обычно применяются следующие виды дренажных сооружений:

1) головные дренажи гравитационного типа для перехвата подземного потока, направленного к оползню;

2) дренажи гравитационного и вентиляционного типа для понижения уровня грунтовых вод на оползневом участке;

3) каптажные устройства.

7.21. Гравитационные дренажи состоят из следующих основных элементов:

а) коллектор, обеспечивающий сбор и отвод воды;

б) дренажная обсыпка, обладающая более высоким коэффициентом фильтрации, чем грунты водоносного слоя;

в) устройства, обеспечивающие свободный выпуск воды из дренажа на поверхность и в неподтопленный резервуар.

7.22. Вентиляционные дренажи применяются для осушения тяжелых глинистых грунтов оползня с очень малым коэффициентом фильтрации, когда гравитационные дренажи не обеспечивают осушения грунтов из-за их малой водоотдачи.

Вентиляционные дренажи обычно применяются в комбинации с гравитационными и состоят из перфорированных труб, закладываемых в среднюю часть дренажного заполнителя. Эти трубы на вытяжных стояках снабжаются дефлекторами, обеспечивающими непрерывный ток воздуха, и за счет этого производится осушение грунтов в оползневом массиве. Движение воздуха в вентиляционном дренаже осуществляется путем естественной циркуляции между областями с различными температурой и давлением. Чем больше эта разность, тем интенсивнее осушается грунт.

Разность давления будет тем выше, чем больше разность отметок лотка дрены на выпуске и дефлектора вытяжной трубы, поэтому вентиляционные дренажи наиболее целесообразно применять на крутых склонах, располагая их по направлению смещения оползня.

7.23. Каптажные устройства представляют собой колодцы, снабженные обратными фильтрами (рис. 63). Эти колодцы устраиваются из перфорированных бетонных или железобетонных звеньев. Каптажные колодцы предназначены для сбора и отвода грунтовых вод из одиночных родниковых источников, выходящих на поверхность оползневого тела.

7.24. В тех случаях, когда на оползневом участке имеет место выход водоносного слоя, выдержанного в пределах оползня во фронтальном направлении, для перехвата и отвода воды, вытекающей из этого слоя, устраиваются каптажи, состоящие из наслонного обратного фильтра, укладываемого на всю мощность водоносного слоя (рис. 64) в сочетании с утепленным водоотводным лотком либо подземным коллектором.

Рис. 63. Схема устройства каптажей в виде колодца

1 - сбросная канава; 2 - железобетонное кольцо; 3 - обратный фильтр

Рис.64. Схема устройства каптажей в виде наслонного обратного фильтра

1 - наслонный обратный фильтр; 2 - плитные покрытия; 3 - уровень грунтовых вод; 4 - водоупор; 5 - водоотводный лоток

7.25. Головные дренажи гравитационного типа должны обеспечить перехват подземного потока, направленного к оползню. Обычно их располагают за пределами оползневого тела и устраивают в виде:

а) горизонтальных трубчатых дренажей-преградителей;

б) дренажных галерей;

в) вертикальных дренажей;

г) комбинированных дренажей.

7.26. Применение дренажных галерей для, перехвата подземных потоков на оползневых участках малоэффективно из-за их высокой стоимости, сложности их эксплуатации и поддержания, поэтому в качестве наиболее эффективных рекомендуются горизонтальные трубчатые дренажи или комбинация их с вертикальными дренажами.

7.27. При проектировании горизонтальных трубчатых дренажей необходимо руководствоваться следующими основными положениями:

а) горизонтальные трубчатые дренажи обычно укладываются в открытые траншеи на глубину залегания водоупорного слоя;

б) трасса головного трубчатого дренажа должна проходить за пределами оползневого контура на расстоянии не менее 20-25 м;

в) трубы для дренажей применяются керамические, бетонные, асбестоцементные и из пористого бетона в зависимости от агрессивных свойств подземных вод;

г) минимальная допустимая скорость течения в дренажных трубах, предохраняющая их от заиливания, принимается 0,2-1 м/с. В зависимости от этого и назначаются продольные уклоны трубчатых дрен при их трассировании;

д) дренажные трубы должны быть снабжены круглыми или щелевидными отверстиями (перфорированы) для поступления в них воды;

е) после укладки труб в траншеи последние засыпаются на всю мощность хорошо фильтрующим материалом (песок, гравий, щебень). При большом коэффициенте фильтрации водоносных грунтов с низовой стороны траншей устраивается экран из жирной глины;

ж) для обеспечения нормальной работы горизонтального трубчатого дренажа по его трассе устраиваются смотровые, поворотные и перепадные колодцы. Колодцы намечают на всех поворотах трассы, в точках перелома продольного профиля дрены и на прямолинейных участках не реже чем через 50 м. Колодцы могут быть сооружены из железобетонных звеньев круглой или квадратной формы диаметром не менее 1м;

Рис. 65. Оголовки дрен портального типа

1 - трубчатая дрена; 2 - термоизоляция; 3 - бетонный лоток; 4 - бетонная стенка

з) для выпуска воды из дрены на поверхность или в водоотводную канаву устраиваются специальные оголовки портального типа (рис. 65) из бетона или каменной кладки.

7.28. Для определения параметров труб необходимо выполнить гидравлические расчеты в следующей последовательности:

а) определяют приток воды к дренажному сооружению на погонную единицу его длины. Для случая притока воды по наклонному пласту эта величина вычисляется по формуле

(89)

где Kф - коэффициент фильтрации водоносного грунта; d - ширина щели дренажной канавы, или диаметр дренажной трубы; α - угол падения поверхности водоупора.

С другой стороны, это значение q можно определить по средней скорости фильтрации воды для данного вертикального сечения, по формуле

(90)

где J - гидравлический градиент (уклон пласта); H - мощность водоносного слоя;

б) приравняв правые части (89) и (90) и решив равенство относительно d, получим диаметр дренажной трубы

(91)

в) определяют суммарный приток воды в дренажное сооружение

(92)

где l - длина дренажного сооружения;

г) определяют суммарный расход воды в выходном сечении трубчатого дренажа

(93)

где mт - коэффициент, учитывающий возможность постепенного заиливания трубы.

Следовательно, диаметр трубы, обеспечивающий полное поглощение притока воды, можно определить по формуле

(94)

д) количество отверстий в перфорированной трубе определяется исходя из скорости втекания воды из грунта в отверстия трубы по формуле

(95)

где Fотв - площадь одного отверстия; Vвт - скорость втекания виды в отверстия трубы, определяемая из соотношения:

(96)

здесь Vдоп - допустимая скорость втекания воды в трубу исключающая заиливание трубы, величина которой определяется по формуле:

(97)

(K' - коэффициент фильтрации дренажной обсыпки на контакте с трубой).

7.29. Для дренирования одного или нескольких водоносных горизонтов, залегающих на больших глубинах, целесообразно применение вертикального дренажа в виде буровых скважин или шахтных колодцев.

При проектировании дренажных сооружений этого типа следует руководствоваться следующими положениями:

1) вертикальные дренажные выработки делятся на совершенные, доведенные до водоупора, и несовершенные, не доходящие по глубине до водоупора. При дренировании оползневых участков следует использовать преимущественно совершенные выработки;

2) по схеме дренирования вертикальные дренажные выработки делятся на водоотдающие и водопоглощающие. К водоотдающим относятся выработки, из которых откачивается вода на поверхность тем или иным способом, а к водопоглощающим относят выработки, через которые пропускается вода из верхнего водоносного горизонта в нижележащие водопоглощающие слои.

Для дренирования оползневых участков наиболее часто применимы водоотдающие дренажные выработки. Применение водопоглощающих дренажных выработок на оползневых участках возможно только в тех случаях, когда ниже водоупорного слоя, подстилающего оползневое тело, залегает слой пород с хорошей водопроницаемостью и при отсутствии напорных вод в них. В этих случаях всегда следует предусмотреть дренирование оползневого участка водопоглощающими выработками, эксплуатация которых значительно экономичнее, чем водоотдающих;

3) вертикальные дренажные выработки, предназначенные для подземного потока, проектируются в виде фильтрационной завесы, направленной в крест направления движения потока. Выработки в завесе располагаются либо в один ряд, либо в два ряда в шахматном порядке. Расстояния между выработками определяются гидравлическими расчетами;

4) вертикальные дренажные выработки обычно на всю мощность водоносного слоя оборудуются фильтрами. Материалы фильтра должны быть подобраны из расчета непрерывного обеспечения фильтрации воды через них и должны быть грунтонепроницаемыми;

5) устья вертикальных дренажных выработок должны быть оборудованы бетонными или железобетонными колодцами с закрывающимися крышками;

6) гидравлические расчеты по определению параметров фильтрационных завес выполняются в следующем порядке:

а) определяют дебит одиночного колодца, по формулам:

для водоотдающих колодцев

(98)

для водопоглощающих колодцев

(99)

где H - вертикальная мощность водоносного слоя в данной точке (рис. 66); r0 - радиус колодца; h0 - глубина воды в колодце, определяемая по формуле:

(100)

здесь R - радиус влияния колодца, значение которого, по формуле Победоносцева, представляется в следующем виде:

(101)

ε - коэффициент пористости грунтов;

Рис. 66. Схема к определению дебита воды одиночного колодца

1 - депрессионная кривая; 2 - водоупор

б) исходя из условий, что дебит и расстояния между дренажными выработками фильтрационной завесы будут одинаковыми, можно определить расчетное расстояние между выработками из решения уравнения

(102)

где R - радиус влияния дренажной выработки, принимаемый за расстояния между выработками; h - глубина воды в колодце (рис. 66);

7) откачка воды из вертикальных дренажных выработок производится либо самотеком, либо с помощью специальных устройств в виде насосных установок различного типа.

Самотечный отвод воды из дренажных колодцев можно осуществить с помощью водоотводных штолен или скважин с забивными фильтрами. В случае самоизлияния воды из колодцев (артезианские колодцы) отвод воды из дренажных колодцев можно осуществить по водоотводным канавам или лоткам, проложенным на поверхности оползневого участка. В случае наличия на оползневых склонах нескольких водоносных горизонтов, разделенных водоупорными пластами, наиболее рациональными считаются комбинированные дренажи, представляющие собой сочетание горизонтальных и вертикальных дренажей, объединенных в одну систему.

7.30. Противооползневые комбинированные дренажи состоят из следующих элементов:

а) дренажных или водоотводных штолен или скважин;

б) вертикальных скважин «сквозных фильтров» или шахтных колодцев;

в) забивных фильтров.

7.31. Дренажные системы для водопонижения оползневого участка чаще всего применяются в виде системы гравитационного и вентиляционного типа, а также каптажных устройств.

Основные требования предъявляемые к этим системам:

а) гравитационное дренирование при водопонижении оползневых участков рекомендуется применять в грунтах с хорошей водоотдачей. Если оползневый массив представлен глинистым грунтом или тяжелыми суглинками с малой водопроницаемостью, то следует применять вентиляционное дренирование или их сочетание;

б) гравитационные дренажные системы устраиваются в виде трубчатых дренажей траншейного типа и горизонтальных или наклонных дренажных скважин. Выбор типа дренажных устройств на оползне производится из наиболее возможного понижения уровня грунтовых вод с минимальным количеством дренажей;

в) в целях предохранения от разрушения при оползневых подвижках дренажные устройства гравитационного и вентиляционного типа следует располагать вдоль направления перемещения оползня;

г) расстояния между дренажами следует принимать из расчета обеспечения снижения уровня грунтовых вод до заданной глубины, величина которой может быть определена из выражения

(103)

где 2l - расстояние между дренами; hmax - превышение максимальной отметки кривой депрессии над отметкой дна дрены; Kф - коэффициент фильтрации; q - двусторонний приток воды на 1 м дрены, численное значение которого можно определить по формуле

(104)

где Н - мощность водоносного слоя над дреной; h0 - высота слоя воды в дрене при установившемся режиме; Jcp - средний уклон кривой депрессии;

д) при проектировании дренажей вентиляционного типа прежде всего необходимо опытным путем определить размеры зоны влияния каждого. Затем осушаемый участок делится на отдельные продольные полосы с размерами зоны влияния каждого дренажа. Количество необходимых дрен на осушаемом участке определяется по формуле

(105)

где fy - площадь полосы зоны влияния одной дрены; Fy - суммарная площадь осушаемого участка.

7.32. С целью уменьшения инфильтрации атмосферных осадков в оползневый массив и предотвращения образования на поверхности оползневого участка промоин, рытвин и оврагов, в которых обычно накапливается вода поверхностного стока и тем самым способствует проникновению воды поверхностного стока в оползневый массив, снижая устойчивость склона, необходимо проводить специальные мероприятия, из числа которых наиболее эффективны следующие:

1) планировка и утрамбовка поверхности оползневого участка с целью обеспечения максимального стока воды из данного участка в водосборные системы, устроенные на оползневом участке. Наибольший эффект этими мероприятиями можно достигнуть, если они будут выполнены совместно и в увязке с вертикальной планировкой поверхности оползня до устойчивого состояния;

2) укрепление поверхностного слоя оползневого участка с целью уменьшения инфильтрации воды поверхностного стока и предохранения поверхностного слоя грунта от эрозионных процессов.

Эти мероприятия могут быть выполнены следующими способами:

а) дренированием поверхности оползневого участка после его планировки;

б) травосеянием в сочетании с насаждением кустарников;

в) битумизацией, нефтеванием и гудронированием поверхностного слоя оползневого участка;

г) уплотнением поверхностного слоя оползня втрамбовыванием в него смеси глины, песка, шлака или щебенки;

3) агролесомелиорация оползневых участков с целью предохранения поверхностного слоя от размывов и образования оврагов в период затяжных ливневых дождей и паводков.

При выполнении этих мероприятий необходимо прежде всего предусмотреть меры по сохранению существующей древесно-кустарниковой растительности на оползневом склоне и за его пределами. В местах, где в ходе строительных работ лесокустарниковый покров уничтожен, необходимо производить их искусственное насаждение с соблюдением необходимых условий их сохранения.

На пологих оползневых склонах с крутизной ската до 15º лесонасаждение рекомендуется производить параллельными, взаимопересекающимися под прямым углом рядами.

На крутых оползневых склонах посадку деревьев обычно рекомендуется производить в шахматном порядке. Такая схема посадки деревьев обеспечивает уменьшение скорости стока воды в период ливней и паводков и тем самым предотвращает размыв поверхностного слоя грунта.

8. РАСЧЕТ ПОДПОРНЫХ СООРУЖЕНИЙ ПО ПРЕДЕЛЬНЫМ СОСТОЯНИЯМ

8.1. Расчет подпорных сооружений по предельным состояниям первой группы (по прочности и устойчивости) следует производить на действие расчетных нагрузок и воздействий.

8.2. Расчет по прочности конструкций подпорных сооружений следует производить согласно разделам 3 и 4 настоящего Руководства в соответствии с действующими в них усилиями. При этом следует использовать характеристики материалов и грунтов для предельных состояний первой группы.

8.3. Определение усилий в сваях (рис. 67) следует производить по формуле.

(106)

где Мi - момент в свае в i-й точке; М0 - момент в месте сопряжения сваи с ростверком (действует при жестком соединении сваи с ростверком); Q0 - горизонтальное усилие в ростверке; x - расстояние от усилия Q0 до i-й точки; Mд - момент в i-й точке от активного (оползневого) давления грунта; Му - момент от усилий, расположенных выше точки k, в i-й точке от реактивных давлений грунта.

8.4. Момент в i-й точке можно также вычислить по формуле

(107)

где Mi - то же, что и в формуле (106); yi+1, yi, yi-1 - горизонтальное смещение точки, расположенной соответственно на величину а выше точки i, в точке i и на величину а ниже точки i; Bi - жесткость сваи в точке i; а - величина участков, на которые разбита свая.

8.5. Расчет ведем следующим образом:

а) задаемся размерами сооружения, маркой бетона и армированием;

б) определяем трещиностойкость буронабивных свай и их жесткость при М=Мт;

в) составляем уравнения, вычитая правые части выражений (106) и (107) друг из друга;

г) недостающие уравнения, необходимые для отыскания неизвестных, получаем из общих условий статики;

Рис. 67. Подпорное сооружение из буронабивных свай

а - схема подпорного сооружения и действующие на него нагрузки; б - расчетная схема свай, непосредственно воспринимающих давление грунта; в - расчетная схема свай, воспринимающих давление грунта через горизонтальное усилие и изгибающий момент в ростверке; г - схема расчетной эпюры реактивных давлений грунта на сваю

д) решаем уравнения;

е) находим действующие в сваях моменты и по ним определяемые действительные жесткости;

ж) находим новые значения горизонтальных коэффициентов постели из условий:

(108)

(109)

В выражениях (108) и (109) приняты следующие обозначения:

yni - перемещение iточки определенное при последнем расчете; y0=1 см; Qni - поперечное усилие, действующее на iучастке; Q0 - поперечное усилие, вызывающее перемещение i-то участка вдоль оси Y на 1 см; kгni - горизонтальный коэффициент постели io участка;

з) подставляем найденные жесткости и значения горизонтальных коэффициентов постели в уравнения и вновь решаем их;

и) расчет ведем до тех пор, пока не выполнится условие

(110)

где Мn - момент в любой iточке найденный при последнем расчете; Мn-1 то же, при предыдущем расчете.

8.6. Устойчивость сооружения считается обеспеченной, если соблюдаются условия:

(111)

(112)

где у0 - перемещение в уровне поверхности грунта, создающего реактивные усилия; d - диаметр сваи; h - глубина заделки сваи в грунт, создающий реактивные усилия.

8.7. Расчет подпорных сооружений по предельным состояниям второй группы (по трещиностойкости, ширине раскрытия трещин и деформациям) следует производить на действие нормативных нагрузок и воздействий.

8.8. Расчет по предельным состояниям второй группы конструкций подпорных сооружений следует производить, согласно разделам 4 и 9 настоящего Руководства, в соответствии с действующими в них усилиями. При этом следует использовать характеристики материалов и грунтов для предельных состояний второй группы.

9. РАСЧЕТ СТВОЛА БУРОНАБИВНЫХ СВАЙ ПО ПРОЧНОСТИ

а. Прочность сечений, нормальных к продольной оси элемента

9.1. Определение предельных усилий в сечении, нормальном к продольной оси сваи, производится исходя из следующих предпосылок:

- сопротивление бетона растяжению равно нулю;

- направление в бетоне сжатой зоны распределено равномерно и численно равно Rпр;

- растягивающие и сжимающие напряжения в продольной арматуре численно равны соответственно Ra и Raс.

9.2. Расчет должен производиться из условия (15). Величину Мp определяем по формуле

(113)

где Rпр - расчетная призменная прочность бетона для предельных состояний первой группы; S'б, Sa, S'a - статические моменты соответственно площадей сжатой зоны бетона, растянутой и сжатой арматуры относительно нулевой линии; Ra, Rac - расчетное сопротивление соответственно растяжению и сжатию арматуры для предельных состояний первой группы.

Величину S'б определяем по формуле

(114)

где r - радиус поперечного сечения сваи; ρ - половина меньшего угла (ρ - в радианах), образуемого двумя радиусами, проведенными из центра сечения к двум крайним точкам сжатой зоны сечения (рис.68).

Величины Sа и S'a определяем по формулам:

(115)

(116)

В формулах (115) и (116) приняты следующие обозначения:

fai, f'ai - площади соответственно растянутых и сжатых арматурных стержней; yаi; y'аi - кратчайшие расстояния от соответствующих растянутых и сжатых арматурных стержней до нулевой линии.

Рис.68. Схема усилий и эпюр напряжений в сечении, нормальном к продольной оси элемента, при расчете ствола буронабивной сваи по прочности

9.3. Площадь сжатой зоны сечения Fб определяется в зависимости от вида армирования:

а) для свай с сосредоточенным несимметричным (рис. 69,б) и равномерно распределенным (рис. 69,а) армированием

(117)

б) для свай с сосредоточенным симметричным (рис. 69,в) армированием

(118)

Примечание. Площадь сжатой зоны бетона определена по формулам (117) и (118) и не должна превышать половины площади поперечного сечения элемента, т.е. величины .

Рис. 69. Схема к определению площади сжатой зоны поперечного сечения ствола сваи

9.4. Расчет ведем следующим образом:

а) задаемся величинами r, Rnp, арматурой Fa и F'a и ее расположением;

б) в зависимости от вида армирования определяем величину Fб из выражений (111) или (118);

в) определяем значение функции (2ρ-sin) по формуле

(119)

г) по найденному значению функции (2ρ-sin), определяем значение угла ρ и значение функции , входящей в выражение (114)

д) определяем высоту сжатой зоны бетона х по формуле

(120)

и проверяем, правильно ли мы отнесли арматуру к Fа и F'a В случае ошибки расчет следует повторить;

е) найдя величины уаi и у'аi, определяем величины Sa и S'a и проверяем соблюдается ли условие (113).

б. Прочность сечений, наклонных к продольной оси элемента, на действие поперечной силы

9.5.При расчете элементов на действие поперечной силы должно соблюдаться условие

(121)

где F'б - площадь бетона, находящегося в пределах высоты.

9.6. Расчет на действие поперечной силы не производится, если соблюдается условие

(122)

где Q - поперечная сила, действующая в наклонном сечении, от суммы внешних нагрузок, расположенных по одну сторону от рассматриваемого сечения.

9.7. При несоблюдении условия (122) расчет буронабивных свай производится из условия

(123)

где ΣRaxFx - сумма поперечных усилий, воспринимаемая хомутами; Qб - поперечное усилие, воспринимаемое бетоном.

В формуле (123) приняты следующие обозначения:

Rax - расчетное сопротивление арматуры хомутов для предельных состояний первой группы на действие поперечной силы; Fx - двойная площадь сечения хомута, пересекаемого наклонной трещиной.

Величину Qб определяем по формуле

(124)

где С - длина проекции наклонного сечения на продольную ось элемента.

в. Прочность сечений, наклонных к продольной оси элемента, на действие изгибающего момента

9.8. Расчет сечений, наклонных к продольной оси элемента, на действие изгибающего момента следует производить по СНиП 2.03.01-84.

10. ТРЕЩИНОСТОЙКОСТЬ И ЖЕСТКОСТЬ БУРОНАБИВНЫХ СВАЙ ПРИ ИЗГИБЕ

а. Образование трещин, нормальных и наклонных к продольной оси элемента

10.1. Усилие, воспринимаемое сечением, нормальным к продольной оси элемента, определяется исходя из следующих положений:

- сечения после деформаций остаются плоскими;

- напряжения в бетоне сжатой зоны определяются с учетом упругопластических деформаций;

- эпюра напряжений в сжатой зоне треугольна;

- напряжения в бетоне растянутой зоны распределены равномерно и численно равны RpII;

- напряжения в арматуре равны алгебраической сумме напряжений, вызванных усадкой и ползучестью бетона, и напряжению, отвечающему приращению деформаций окружающего бетона;

- эпюра напряжений в сжатой и растянутой арматуре изменяется по линейному закону.

10.2. Расчет по образованию трещин производится из условия

(125)

где М - изгибающий момент, действующий в рассматриваемом сечении; МT - момент, воспринимаемый сечением, нормальным к продольной оси элемента, при образовании трещин и определяемый по формуле

(126)

где Sб.о и Sб.р - статические моменты соответственно сжатой и растянутой зон бетона относительно нулевой линии; n=Ea/Eб (Ea - модуль упругости арматуры, Eб - начальный модуль упругости бетона); S'aо, Sао - статические моменты площадей соответственно сжатой А' и растянутой А арматуры относительно нулевой линии.

Величины, входящие в выражение (126), определяются по формулам:

а) при хv:

(127)

(128)

(129)

(130)

при хr:

(131)

(132)

(133)

(134)

В формулах (127)-(134) приняты следующие обозначения:

σб - наибольшее напряжение в сжатой зоне сечения; ρ - половина меньшего угла (ρ в радианах), образуемого двумя радиусами, проведенными из центра сечения к двум крайним точкам сжатой зоны сечения (рис. 70); RpII -расчетное сопротивление бетона осевому растяжению для предельных состояний второй группы; v - коэффициент, характеризующий упругопластическое состояние бетона сжатой зоны и равный: 0,45 - при кратковременном действии нагрузки, 0,15 - при длительном действии нагрузки; r - радиус поперечного сечения элемента; ni=Eai/Eб (a'i; и аi - кратчайшие расстояния от центра тяжести соответствующего сжатого и растянутого арматурного стержня до плоскостей, перпендикулярных плоскости изгиба, и проходящих соответственно через наиболее сжатое и наиболее растянутое волокно сечения).

Примечание. В наиболее распространенном случае - применение арматуры одного класса в сжатой и растянутой зонах сечения - величину пi можно выносить за знак интегральной суммы.

Рис. 70. Схема усилий и эпюр напряжений в сечении, нормальном к продольной оси изгибаемой буронабивной сваи, при расчете ее по образованию трещин и определению жесткости до образования трещин

10.3. Для определения положения нулевой линии и величины, используем два уравнения равновесия:

(135)

(136)

В уравнениях (135) и (136) приняты следующие обозначения:

Nб.о и Nб.р - равнодействующие усилий в бетоне соответственно в сжатой и растянутой зонах сечения; N'a ; Na - равнодействующие усилий соответственно в сжатой и растянутой арматуре; Sб.р; ; ; Sб.р - величины те же, что и в формуле (126).

Величины, входящие в уравнение (135), определяем по формулам:

а) при хr

(137)

(138)

(139)

(140)

б) при xr

(141)

(142)

(143)

(144)

10.4. Расчет ведется методом последовательных приближений и выполняется следующим образом:

а) задаемся углом ρ (при х<r его величина обычно сопоставляет не менее 1,3 рад), считая что х<r;

б) из уравнения (135) вычисляем значение σб по формуле

(145)

так как величина σб входит в числитель и знаменатель правой части выражения (145) [см, формулы (137), (139), (140)], то они сокращаются;

в) по заданному значению угла ρ и найденной величине σб определяем значение уравнения (136);

г) если значение уравнения (136) не равно нулю, то задаемся следующим большим значением угла ρ и вновь производим вычисления до тех пор, пока уравнение (136) не будет равно нулю;

Примечание. Если при значении ρ=1,570796 уравнение (136) не равно нулю, то у нас х>r. В этом случае расчет ведем в такой же последовательности, но значения σб определяют из формул (141)-(144), а значение угла ρ, начиная с величины 1,570796, постепенно уменьшая до выполнения условия (136).

Определив при помощи уравнений (135) и (136) значение угла ρ и величины σб, по формуле (136) находят величину МТ и проверяют, соблюдается ли условие (125).

10.5 Расчет по образованию трещин, наклонных к продольной оси элемента, следует вести по СНиП 2.03.01-84.

б. Жесткость и ширина раскрытия трещин изгибаемых буронабивных свай. Жесткость буронабивных свай на участках с трещинами в растянутой зоне

10.6. Жесткость изгибающих буронабивных свай определяется из условий, изложенных в п. 10.1 настоящего Руководства.

10.7. Жесткость буронабивных свай на участках, где образуются нормальные к продольной оси трещины, определяется по формуле

(146)

где В - жесткость сваи в рассматриваемом сечении; Мk и Мд моменты соответственно от кратковременного и длительного действия постоянных и длительных нагрузок; Bk и Bд - жесткость сваи в рассматриваемом сечении от действия соответственно кратковременного и от длительного действия постоянных и длительных нагрузок; М - полный момент (момент от действия всех нагрузок), действующий в рассматриваемом сечении.

Величины Bk и Bд определяем по формулам:

(147)

(148)

В формулах (147) и (148) приняты следующие обозначения:

ψа - коэффициент, учитывающий работу растянутого бетона на участке с трещинами и определяемый по п. 4.29 СНиП 2.03.01-84; ψб - коэффициент, учитывающий неравномерность распределения деформаций крайнего сжатого волокна бетона на участке с трещинами и равный 0,9. Остальные обозначения те же, что и в разделе 10а настоящего руководства.

Примечание. В формуле (147) знак "минус" ставится при хr, знак "плюс" - при хr

10.8. Для определения положения нулевой линии и величины используются три уравнения равновесия: (135), (136) и

(149)

Схемы усилий и эпюры напряжений показаны на рис. 71. Величины, входящие в уравнения (135), (136) и (149), определяются по формулам:

а) при хr:

(150)

(151)

б) при xr

(152)

(153)

Остальные величины, входящие в уравнения (135), (136) и (149), определяются согласно разделу 9.8 настоящего Руководства.

Рис.71. Схема усилий и эпюр напряжений в сечении, нормальном к продольной оси изгибаемой буронабивной сваи, при определении ее жесткости после раскрытия трещин и определения величины их раскрытия

в. Расчет по раскрытию трещин, нормальных к продольной оси элемента

10.9. Ширина раскрытия трещин, нормальных к продольной оси элемента, определяется по формуле (138) СНиП II-21-75 с введением в ее правую часть коэффициента Kб, учитывающего условия бетонирования и равного Kб=l - при бетонировании «сухим способом»; Kб=2 - при бетонировании с применением глинистого раствора.

Величина σа в этом случае определяется для наиболее растянутого арматурного стержня при помощи формул (140) или (144) в предположении, что в них величина fai равна нулю.

г. Расчет по раскрытию трещин, наклонных к продольной оси элемента

10.10. Ширина раскрытия трещин, наклонных к продольной оси элемента, определяется по формуле (146) СНиП II-21-75. Причем в нашем случае:

(154)

(155)

В формулах (154) и (155) приняты следующие обозначения:

d - диаметр сваи; F'б - площадь бетона, находящегося в пределах высоты:

остальные обозначения те же, что и СНиП 2.03.01-84.

11. УСТРОЙСТВО ЗАГЛУБЛЕННЫХ ИНЖЕНЕРНЫХ СООРУЖЕНИЙ

а. Устройство буронабивных свай сухим способом

11.1. Буронабивные сваи в связных сухих и маловлажных грунтах устраивают следующим способом: буровой агрегат, снабженный рабочим органом, действующим по принципу вращательного бурения (шнековая колонна или ковшовый бур), разбуривает скважину необходимых диаметра и глубины.

Устье скважины от возможного обрушения защищают металлическим патрубком. Бурение выполняют с периодической выдачей грунта на поверхность в отвал или грунт грузят в автотранспорт.

В необходимых случаях, после того, как забой скважины достигнет проектной отметки, в нижней части или по длине скважины разбуривают полость. По окончании бурения скважину освидетельствуют.

Затем в скважину устанавливают арматурный каркас, после чего бетонируют скважину.

Бетонирование осуществляют методом вертикально перемещающейся трубы (ВПТ), Применяемые бетонолитные трубы, как правило, секционные, со стыками различных конструкций и телескопические.

Бетонную смесь в приемную воронку бетонолитной трубы подают непосредственно из автобетоносмесителя или специального приемного бункера, приготовляют ее на месте либо доставляют централизованно.

По мере бетонирования бетонолитная труба извлекается из скважины.

Бетонную смесь в скважине можно уплотнять с помощью вибраторов, укрепленных на приемной воронке бетонолитной трубы.

По окончании бетонирования скважины голову сваи формуют в специальном инвентарном кондукторе.

По этой технологии приготовляют буронабивные сваи диаметром от 400 до 1200 мм и длиной до 30 м.

Бурение скважины диаметром 400-1200 мм производится навесным оборудованием СО-2, НБО-1 (СО-1200), СО-1200/2000 на базе кранов-экскаваторов Э-10011, Э-1252 или МКГ-25 станками вращательного шнекового бурения УГБХ-150, БТС-2 или любыми другими установками, позволяющими бурить скважины диаметром не менее 400 мм до глубины, предусмотренной проектом.

При установке и центровке бурового станка смещения в плане и отклонения вертикальной оси штанги от проектного положения оси сваи не допускаются.

Бетонирование осуществляется подачей бетонной смеси через воронку (бункер) с бетонолитной трубой наружным диаметром, на 25-30 мм меньшим диаметра скважины (для бетонных свай) или внутреннего диаметра арматурного каркаса (для железобетонных свай), но не менее 273 мм.

Длина бетонолитной трубы назначается такой, чтобы зазор между нижним концом трубы и забоем скважины перед началом бетонирования был в пределах 20-50 см.

Для бетонирования применяется бетонная смесь марки не ниже 200 с осадкой конуса 14-16 см.

Для бетонирования неармированных свай диаметром 600 мм и больше с подачей бетонной смеси через бетонолитную трубу допускается применение бетонной смеси пластичной консистенции с осадкой конуса 8-10 см при обязательном уплотнении бетона в головной части глубинным электровибратором (вибробулавой или виброиглой). Крупность гравия для изготовления бетонных свай должна быть не более 40 мм, а щебня 30 мм. Прочность гравия или щебня должна быть не менее 80 МПа.

Бетонирование буронабивных свай должно производиться без перерывов.

Технологическая схема устройства буронабивных свай сухим способом показана на рис. 72.

б. Устройство буронабивных свай мокрым способом

11.2. Технология изготовления буронабивных свай с креплением стенок скважин от обрушения избыточным давлением воды или глинистого раствора применяется при работе в неустойчивых обводненных грунтах.

Бурение скважин осуществляется вращательным способом, однако при проходке скальных включений и прослоек могут быть использованы сменные рабочие органы ударного типа (грейферы и долота).

Стенки скважины в этом случае удерживают от обрушения глинистым раствором или избыточным давлением столба воды в скважине. Этому же способствует и образование на стенках скважины глинистой корки.

Рис.72. Схема устройства буронабивных свай с уширенной пятой сухим способом

а - шнековое бурение диаметром 400-600 мм; б - устройство уширенной полости при помощи расширителя; в - установка кондуктора инвентарной опалубки и арматурного каркаса; г - опускание воронки с бетонолитной трубой; д - заполнение скважины бетонной смесью марок 200-300 с осадкой конуса 10-12 см; е - извлечение бетонолитной трубы и формирование головы сваи;

1 - стреловой кран; 2 - навесное буровое оборудование СО-2; 3 - буровая скважина; 4 - расширитель; 5 - кондуктор-опалубка; 6 - арматурный каркас; 7 - воронка бетонолитной трубы (бункер); 8 - вибробадья; 9 - уширенная пята

Рис. 73. Технологическая схема устройства буронабивных свай в неустойчивых грунтах

а - бурение скважины желонкой; б - посадка обсадной трубы; в - бурение скважины до проектной отметки; г - зачистка дна скважины и откачивание пульпы; д - установка арматурного каркаса; е - заполнение скважины бетоном;

1 - буровая установка УКС-22; 2 - желонка; 3 - вибратор ВП-80; 4 - обсадная труба; 5 - глубинный насос; 6 - арматурный каркас; 7 - бетонолитная труба с вибробункером

Рис. 74. Технологическая схема устройства буронабивных свай в неустойчивых грунтах с применением буровой установки СО-1000/1200

а - бурение скважины; б - устройство уширенной полости при помощи расширителя под защитой глинистого раствора; в - установка арматурного каркаса; г - установка бетонолитной трубы и бетонирование уширенной полости и ствола методом ВПТ; д - установка инвентарной опалубки и бетонирование оголовка сваи;

1 - стреловой кран МКГ-25; 2 - буровой кондуктор; 3 - буровой рабочий орган; 4 - буровой цилиндр; 5 - автосамосвал; 6 - емкость для глинистого раствора; 7 - расширитель; 8 - арматурный каркас; 9 - бункер с бетонолитной трубой; 10 - автобетоносмеситель; 11 - инвентарная опалубка; 12 - ствол буронабивной сваи; 13 - уширенная пята

После производства буровых работ и зачистки забоя в скважину устанавливают арматурный каркас и методом ВПТ бетонируют литыми бетонными смесями с осадкой конуса 16-20 см. При бетонировании под воду применяют секционные бетонолитные трубы с быстроразъемными стыками.

Способ бетонирования и формования головы сваи не отличается от способа бетонирования свай в сухих грунтах.

Минимальный диаметр бурения скважины, который может быть принят по технологическим условиям устройства бетонных набивных свай, бетонируемых подводным способом, равен 390-400 мм, железобетонных - 500 мм.

Максимальный диаметр бурения скважин установками УРБ-ЗАМ и УГБХ-130 - 800 мм, при ударно-канатном и вращательно-всасывающем бурении - 1200 мм, СО-1200 - до 1500 мм. Диаметр разбуриваемых уширений 1200, 1400, 1600, 1800 и 2000 мм.

Состав глинистого раствора задается проектом и подбирается строительной лабораторией в зависимости от характеристики прорезаемых грунтов и применяемой глины.

Уровень глинистого раствора в скважине независимо от способа бурения должен превышать уровень грунтовых вод не менее чем на 1 м при наличии обсадной трубы, а при отсутствии не должен быть ниже устья скважины.

Состав бетонной смеси должен обеспечивать получение прочного и долговечного бетона заданной марки и удовлетворять требованиям действующих ГОСТов на гидротехнический бетон.

Прочность бетона при подборе его состава назначается на 10% выше принятой проектом.

Марка бетона для подводного бетонирования допускается не ниже 300 при расходе цемента не менее 400 кг на 1 м3 бетона.

Технологическая схема устройства буронабивных свай в неустойчивых грунтах показана на рис. 73, 74.

12. НАТУРНЫЕ ИСПЫТАНИЯ БУРОНАБИВНЫХ СВАЙ

12.1. Буронабивные сваи, применяемые в фундаментах удерживающих сооружений, чаще всего подвержены совместным воздействиям вертикальной и горизонтальной нагрузки, а буронабивные сваи, устраиваемые на оползневых участках в качестве упорных стоек для удерживающих стен или в свайных заграждениях, подвергаются сдвигающим нагрузкам (чаще всего под углом к оси сваи) без вертикальной вдавливающей нагрузки. С учетом этого натурные испытания буронабивных свай следует проводить в одних случаях только на действие горизонтальной нагрузки, в других - на совместное действие вертикальных вдавливающих и горизонтальных усилий.

а. Испытание свай на горизонтальную нагрузку

12.2. Загрузка испытываемой сваи производится при помощи одного или нескольких домкратов, упорного устройства и опорной конструкции.

12.3. При испытании одной сваи опорой для создания горизонтальной нагрузки может служить любая конструкция (например, ростверк), расположенная в непосредственной близости (рис. 75).

12.4. При испытании двух свай загрузочное устройство (домкрат и упорные балки) располагаются между ними. Сваи служат опорами для загрузочного устройства и испытываются одновременно (рис. 76). Расстояние между сваями в этом случае должно составлять не менее 4d или 2D (d - наружный диаметр сваи; D - диаметр уширения).

12.5. При испытаниях трех и более свай упором может быть опора, расположенная в геометрическом центре куста. При достаточном наличии оборудования все сваи испытываются одновременно (рис. 77). В этом случае сваи можно испытывать также попарно, а оставшуюся (при нечетном количестве) сваю испытать с помощью опорного устройства, образованного из двух испытанных свай и балки (рис. 78).

Рис. 75. Схема испытания одной сваи на горизонтальную нагрузку

1 - испытываемая свая; 2 - гидродомкрат; 3 - прогибомеры; 4 - распорная балка; 5 - балка для крепления прогибомеров

12.6. При низком ростверке, а также при наличии нескольких свай в направлении действия горизонтальных и моментных нагрузок рекомендуется испытывать сван одновременно с ростверком, конструкция которого принимается по проекту, а ширина - равной шагу свай в ряду, перпендикулярном действию нагрузки.

Рис. 76. Схема одновременного испытания двух свай

1 - испытываемая свая; 2 - прогибомеры; 3 - распорные балки; 4 - гидродомкрат; 5 - балки для крепления прогибомеров

Рис. 77. Схема одновременного испытания четырех свай

1 - испытываемые сваи; 2 - гидродомкрат; 3 - опорный узел

Рис. 78. Схема испытания сваи с упором в две соседние

1 - упорные сваи; 2 - упорная балка; 3 - распорная балка; 4 - гидродомкрат; 5 - испытываемая свая

12.7. Минимальное расстояние между осями одиночных опытных свай, испытываемых на действие горизонтальных сил, должно быть не менее расстояния между осями свай в ростверке.

12.8. Упорное устройство для испытания свай состоит из центрирующей прокладки, устанавливаемой у головы сваи, и распорной балки. Следует обязательно расчетом проверять их прочность.

12.9. Прогибомеры крепятся к уголку, расположенному перпендикулярно направлению действия нагрузки. Уголок крепится к двум стойкам, забитым в грунт со стороны действия нагрузки вне зоны деформации, т.е. не менее чем в 20-30 см от плоскостей, параллельных действию нагрузки и проходящих по касательным к наружной поверхности свай.

12.10. Нити прогибомеров располагаются параллельно направлению действия нагрузки в одном уровне на плоскости, перпендикулярной действию нагрузки, на одинаковом расстоянии от вертикальной плоскости, проходящей через линию действия нагрузки.

12.11. Оптические квадранты устанавливаются на гладкую горизонтальную пластинку, жестко укрепленную в голове сваи.

12.12. Нивелир устанавливается на голову сваи. Ось его фиксируется в горизонтальное положение в направлении действия нагрузки. На расстоянии 5-7 м от нивелира устанавливается вертикальная рейка, на которой отмечается положение оси нивелира до и после приложения нагрузки. По измеренным перемещениям оси нивелира по рейке и расстоянию от нивелира до рейки определяется тангенс угла наклона головы сваи, а по нему - и сам угол наклона.

12.13. Статические испытания свай на горизонтальную нагрузку предполагают установление зависимости горизонтальных перемещений и углов поворота головы сваи от действия нагрузки, возрастающей постепенно, ступенями.

12.14. Величина ступеней нагрузок устанавливается программой полевых испытаний в размере 1/10 предполагаемой предельной нагрузки на сваю.

12.15. Интервалы между отсчетами на каждой ступени нагрузки принимаются согласно ГОСТ 5686-78.

12.16. Горизонтальное перемещение головы сваи при заданной ступени нагрузки считается стабилизированным, если его приращение составляет не более 0,1 мм при расположении сваи (до глубины ее заделки) в песках - за последний час, в глинистых грунтах - за последние 2 ч.

12.17. Испытание свай на горизонтальную нагрузку рекомендуется проводить двумя способами:

1) после стабилизации перемещений на каждой ступени нагрузки переходят сразу к следующей ступени. В конце загружения производят полную разгрузку (рис. 79,а);

2) после стабилизации перемещений на каждой ступени нагрузки производят частичную разгрузку на одну ступень до предшествующей ступени. Установив величину остаточной и упругой деформации, нагрузку увеличивают на две ступени сразу, т.е. до величины очередной ступени. В конце загружения производят полную разгрузку (рис. 79,в).

Примечание. Полная разгрузка производится ступенями, равными одной или двум ступеням нагрузки.

12.18. При испытании на действие горизонтальной нагрузки свай, допустимые деформации которых превышают 10 мм, а также при необходимости определения величины перемещения головы сваи при заданной нагрузке загружение рекомендуется производить большими ступенями с разгрузкой после каждой ступени до нуля (рис. 79,б).

Рис. 79. Графики зависимости горизонтального перемещения сваи от вида нагрузки.

а - при равномерно возрастающей нагрузке; б - то же, с полной разгрузкой каждой ступени; в - при равномерно возрастающей нагрузке с частичной разгрузкой после каждой ступени.

б. Испытание свай на совместное действие вертикальных вдавливающих и горизонтальных усилий

12.19. При ожидаемых горизонтальных перемещениях сваи от действия постоянной нагрузки более 10 мм и действии на нее вертикальной вдавливающей нагрузки испытания следует проводить на совместное действие вертикальной и горизонтальной нагрузок.

12.20. Вертикальную и горизонтальную нагрузки следует прикладывать одновременно монотонно возрастающими ступенями, равными 1/10 расчетной вертикальной и горизонтальной нагрузки на сваю.

12.21. Испытание свай на совместное действие вертикальной и горизонтальной нагрузок можно проводить двумя способами:

1) двумя или более домкратами, создающими раздельно горизонтальные и вертикальные нагрузки;

2) одним домкратом, располагаемым под изменяющимся углом к голове сваи так, чтобы горизонтальная и вертикальная составляющие усилия, передаваемого домкратом, были равными ступенями нагрузки.

12.22. При испытании одним домкратом нагрузку на голову сваи следует передавать через катковый шарнир, надежно прикрепленный к голове сваи. Ось действия нагрузки должна быть перпендикулярна продольной оси каткового шарнира и проходить через нее. Линия действия нагрузки должна делить шарнир на две равные части. Продольная ось шарнира должна лежать в одной вертикальной плоскости с осью симметрии поперечного сечения сваи. Пластина, через которую передается усилие на голову сваи, должна располагаться симметрично относительно продольной оси шарнира и направления действия нагрузки.

12.23. Нити прогибомеров следует крепить к двум штырям так, как это предусмотрено п. 12.9 настоящего Руководства.

12.24. Оптические квадранты или нивелир устанавливают как предусмотрено пп. 12.11 и 12.12.

12.25. Испытания следует вести до достижения сваей предельного сопротивления на действие вертикальной или горизонтальной нагрузки.

 




ГОСТЫ, СТРОИТЕЛЬНЫЕ и ТЕХНИЧЕСКИЕ НОРМАТИВЫ.
Некоммерческая онлайн система, содержащая все Российские Госты, национальные Стандарты и нормативы.
В Системе содержится более 150000 файлов нормативно-технической документации, действующей на территории РФ.
Система предназначена для широкого круга инженерно-технических специалистов.

Рейтинг@Mail.ru Яндекс цитирования

Copyright © www.gostrf.com, 2008 - 2026