|
|
МИНИСТЕРСТВО СЕЛЬСКОГО ХОЗЯЙСТВА И ПРОДОВОЛЬСТВИЯ РОССИЙСКОЙ ФЕДЕРАЦИИДепартамент мелиорации земель и сельскохозяйственного водоснабженияНаучно-исследовательский институт пи сельскохозяйственному использованию сточных вид (НИИССВ) «Прогресс»
ПОСОБИЕ К ВНТП 01-98 «Оросительные системы с использованием сточных вод и животноводческих стоков»
Москва 1998Разработано Научно-исследовательским институтом по сельскохозяйственному использованию сточных вод (НИИССВ) «Прогресс» Министерства сельского хозяйства и продовольствия Российской Федерации В разработке Пособия к ВНТП приняли участие: - Институт медицинской паразитологии и тропической медицины им. Е.И. Марциновского (ИМП и ТМ); - Научно-исследовательский институт экологии человека и гигиены окружающей среды им. А.Н. Сысина (НИИЭГОС); - Всероссийский научно-исследовательский институт гельминтологии им. К.И. Скрябина (ВИГИС); - Всероссийский институт удобрений и агропочвоведения им. Д.Н. Прянишникова (ВИУА); - Московский государственный университет природопользования (МГУП); - ГП СНЦ "Госэкомелиовод"; - Всероссийский научно-исследовательский институт ветеринарной санитарии, гигиены и экологии (ВНИИветсанитарии); - ТОО "ИНВЕКОПроект"; - ГНЦ "СевНИИГиМ"; - НПЦ "ИНГЕОДИН"; - ВСЕГИНГЕО. Пособие подготовили: НИИССВ «Прогресс» - к.т.н. Л.П. Овцов, к.т.н. Л.А. Музыченко, к.с-х.н. Н.А. Ковалева, к.с-х.н. Л.Е. Кутепов, к.с-х.н. В.Т. Додолина, к.э.н. Р.М. Юсупов, к.т.н. А.Б. Юн, к.с-х.н. Е.И. Жирков, к.х.н. Э.Е. Элик, к.т.н. В.В. Ивлев, к.с-х.н. С.И. Мишин, В.А. Поленина, С.Н. Перепелкин, В.З. Сытин, Н.В. Михалев, В.А. Никитин, Н.И. Мордвинцева; ИМП и ТМ - член-кор. РАМН, д.м.н. Н.А. Романенко; НИИЭГОС - д.м.н. Н.В. Русаков; ВИГИС - д.в.н., проф.. А.А. Черепанов; ВИУА - д.с.-х.н., проф. Г.Е. Мерзлая; МГУП - член-кор. РАСХН, д.т.н., проф. И.П. Айдарин, д.т.н., проф. А.И. Голованов, к.т.н., с.н.с. В.X. Хачатурян; ГП СНЦ «Госэкомелиовод» - Д.А. Никольская, А.Н. Кржижановский, И.С. Тырсин, Э.П. Гуськов, Е.И. Кармыш, И.А. Игнатов, А.Л. Половец; ВНИИветсанитарии - д.б.н. В.Д. Баранников; ТОО «ИНВЕКОПроект» - Е.П. Казначеев; ГНЦ«СевНИИГиМ» - к.т.н. Я.З. Шевелев, к.т.н. О.Ю. Кошевой; ВолжНИИГиМ - д.т.н., проф. Д.П. Гостищев. СОДЕРЖАНИЕВВЕДЕНИЕНастоящее издание представляет собой пособие к Ведомственным нормам технологического проектирования 01-98 «Оросительные системы с использованием сточных вод и животноводческих стоков» (в дальнейшем - ВНТП), утвержденным Министерством сельского хозяйства и продовольствия Российской Федерации и согласованным в Государственном комитете санитарно-эпидемиологического надзора РФ, Государственном комитете РФ по жилищной и строительной политике и Главгосэкспертизе. Пособие разработано на основе действующих в Российской Федерации строительных норм, правил и государственных стандартов, с учетом современных требований природоохранного законодательства, в соответствии с новыми экономическими условиями и структурой управления. В Пособии отражены современные методики и методические подходы, касающиеся вопросов технологического проектирования оросительных систем с использованием сточных вод и животноводческих стоков. В Пособие также включены справочные и информационные материалы по различным аспектам сельскохозяйственного использования сточных вод и животноводческих стоков. Особое внимание уделяется вопросам охраны окружаю щей среды как целостного природного комплекса. Пособие предназначено работникам проектных организаций, экологических служб, органов санитарного государственного надзора, органов охраны рыбных запасов и водных ресурсов, мелиоративных и других организаций, занимающихся вопросами использования сточных вод и животноводческих стоков в сельском хозяйстве. 1. ОБЩИЕ ПОЛОЖЕНИЯВНТП устанавливает общие положения, цели, задачи и требования проектирования вновь строящихся и реконструируемых оросительных систем с использованием подготовленных бытовых, промышленных, смешанных сточных вод и животноводческих стоков, а также экологические критерии и ограничения в соответствии с природоохранным законодательством Российской Федерации. ВНТП применяется на территории Российской Федерации: - органами государственного надзора; - предприятиями, проектными, эксплуатационными и другими организациями независимо от форм собственности и принадлежности; - гражданами, занимающимися индивидуальной трудовой деятельностью; - общественными и иными организациями, включая совместные предприятия с участием зарубежных партнеров; - зарубежными физическими или юридическими лицами, занимающимися вопросами очистки и использования сточных вод и животноводческих стоков, а также охраны природной среды от загрязнения. На существующих системах и сооружениях с использованием сточных вод и животноводческих стоков, запроектированных и построенных в соответствии с ранее действующими нормативными документами, положения и требования ВНТП применяются в случае, когда дальнейшая их эксплуатация приводит к риску безопасности жизни и здоровья людей, а также загрязнения окружающей природной среды. Юридические и физические лица несут ответственность за нарушение обязательных требований и правильность применения положений ВНТП согласно законодательству Российской Федерации. Оросительные системы с использованием сточных вод и животноводческих стоков (ОССВ) предназначены для почвенной очистки, доочистки и обезвреживания сточных вод и животноводческих стоков при орошении и удобрении сельскохозяйственных и лесных угодий. Использование сточных вод и животноводческих стоков на орошение и удобрение является природоохранным и ресурсосберегающим мероприятием, обеспечивающим повышение продуктивности земель и экономию удобрений. Возможность и целесообразность строительства ОССВ устанавливается на стадии обоснования инвестиций на основании анализа социально-экономических и природных условий; экологической обстановки; долго срочных прогнозов изменения природной среды в результате антропогенного воздействия; инженерных технико-экономических расчетов, бассейновых и территориальных схем охраны и рационального использования природных ресурсов. ОССВ могут проектироваться как самостоятельный гидромелиоративный объект или в комплексе с сооружениями очистки (искусственной или естественной), подготовки и использования сточных вод и животноводческих стоков. На действующих оросительных системах с природной водой допускается применение очищенных и подготовленных сточных вод и животноводческих стоков принадлежащем обосновании и согласовании с органами Государственного надзора, при строгом соблюдении требований ВНТП. Состав сооружений ОССВ регламентируется СНиП 2.06.03-85 «Мелиоративные системы и сооружения». Дополнительно в состав сооружений могут «ходить следующие объекты: - сооружения по предварительной подготовке сточных вод (биологические пруды, отстойники, регулирующие емкости для усреднения расхода и химического состава сточных вод и др.); - накопители очищенных сточных вод, аккумулирующие емкости поверхностных и подземных вод, требуемых для разбавления очищенных сточных вод и подготовленных животноводческих стоков и обеспечения расчетного ре жима орошения; - резервные территории, резервные площадки, буферные площадки и другие сооружения для гарантированного приема и очистки сточных вод в периоды неблагоприятные для орошения; - буферные пруды, ботанические площадки и другие биоинженерные сооружения для приема и доочистки поверхностных и дренажных вод и подачи их в оборотную систему на повторное использование или сброса в водоемы; - система сооружений и оборудования для осуществления эксплуатационного контроля (мониторинга) эффективности работы ОССВ и состояния окружающей природной среды в зоне ее действия. Для утилизации животноводческих стоков помимо оросительных систем могут применяться скользящие поля запахивания и (или) скользящие поля запахивания и компостирования. Для очистки и доочистки сточных вод, поверхностного и дренажного стока могут применяться поля поверхностного стока (методом полива по склону). Порядок разработки, согласования, утверждения и состав проектной документации; исходные данные для проектирования по составу, объему, режиму отведения очищенных сточных вод и подготовленных животноводческих стоков определяются СНиП 11-01-95 «Инструкция о порядке разработки, согласования, утверждения и составе проектной документации на строительство предприятий, зданий и сооружений», а также требованиями и положениями ведомственных документов и нормативов. При этом используются отраслевые нормы технологического проектирования и водоотведения, опыт аналогичных объектов, фактические данные конкретных действующих объектов. Дополнительно могут проводиться проектно-изыскательские работы с привлечением специализированных организаций. Оценка земельного фонда проводится на основе ин формации о состоянии почвенного покрова, гидрогеологических, гидрохимических, гидрологических и др. характеристик территории, а также долгосрочного (не менее 20 лет) прогноза изменения почвенного покрова в результате строительства и эксплуатации оросительной системы. Состав, объемы почвенно-мелиоративных изысканий и работ определяются «Почвенными изысканиями для мелиоративного строительства», М., 1985 и Пособием к СНиП 2.06.03-85 «Почвенно-мелиоративное обоснование проектов мелиоративного строительства». Проект ОССВ должен согласовываться с органами по регулированию использования и охраны вод, охраны рыбных запасов, административными и сельскохозяйственными органами, центрами санитарно-эпидемиологического надзора, территориальными геологическими организациями, государственной ветеринарной службой, землепользователями и землевладельцами, органами охраны природы и другими органами государственного надзора и контроля в установленном порядке. 2. ТРЕБОВАНИЯ К ПОДГОТОВКЕ И ИСПОЛЬЗОВАНИЮ СТОЧНЫХ ВОД И ЖИВОТНОВОДЧЕСКИХ СТОКОВ2.1. Общие требованияНа ОССВ используются сточные воды и животноводческие стоки, удовлетворяющие требованиям к их химическому и механическому составу, санитарно-гигиеническим и ветеринарным показателям. Использование на орошение животноводческих стоков допускается только после предварительной подготовки по отделению механических примесей, гарантирования и дегельминтизации. Не допускается: - совместное использование животноводческих стоков с городскими и бытовыми сточными водами населенных пунктов; - использование на ОССВ сточных вод отдельно стоящих предприятий по обработке сырья животного происхождения, мясокомбинатов, лечебно-профилактических учреждений, биофабрик (по производству вакцин, сывороток), предприятий по производству пестицидов, содержащих радионуклиды и гальваностоки; - круглогодовое использование животноводческих сто ков; - круглогодовое орошение сточными водами па суглинистых почвах среднего и тяжелого механического со става, в зонах глубокого (свыше 1,5 м) сезонного промерзания, а также в зонах вечной мерзлоты. Совместное использование на орошение животноводческих стоков и очищенных сточных вод предприятий пищевой промышленности (по производству сахара, крахмалопаточных продуктов, спирта, дрожжей и др.) допускается при согласовании с органами санэпиднадзора. Орошение очищенными сточными водами и подготовленными животноводческими стоками в различных природных зонах назначается строго в соответствии с показателями мелиоративных режимов этих зон, приведенными в табл.2.1. Таблица 2.1Основные критерии мелиоративного режима по природным зонам (по И.П. Айдарову)
Примечание. R- радиационный баланс деятельной поверхности почвы, ккал/см2 в год; a(Ос + Ор) - количество тепла, необходимое для испарения осадков и оросительной воды, ккал/см2 год; НВ - наименьшая влагоемкость почвы. 2.2. Требования к химическому составу сточных вод и животноводческих стоковОценку химического состава очищенных сточных вод и подготовленных животноводческих стоков для орошения и удобрения следует проводить по активности ионов водорода (рН); концентрации токсичных солей; содержанию одно- и двухвалентных катионов; содержания, основных биогенных элементов (азот, фосфор, калий), микроэлементов, тяжелых металлов, органических веществ. При этом необходимо учитывать почвенно-климатические условия (коэффициент влагообеспеченности, емкость почвенного поглощающего комплекса, запасы гумуса, засоление и осолонцевание почв и др.); режим орошения: гидрогеологические и гидрогеохимические условия (автоморфные, гидроморфные условия, проницаемость грунтов, минерализация грунтовых вод и др.); биологические особенности выращиваемых культур и способы использования урожая. Основные показатели состава вод и методы химических анализов приведены в табл.2.2 Таблица 2.2Методы определения химических веществ сточных вод и животноводческих стоков
Водородный показатель (рН) сточных вод и животноводческих стоков должен находиться в пределах 6,0-8,5 в зависимости от рН почвы (ГОСТ 17.4.3.05-85). Поступление растворенных солей со сточными водами не должно приводить к критическому содержанию водно-растворимых солей в почве при годовом засолении 0,1%, при сезонном засолении 0,25%. Пригодность воды для орошения во всех зонах определяется по суммарному содержанию токсичных солей условием
где С - суммарное содержание токсичных солей без учета сульфата кальция и солей, содержащих ионы К+, NH4+ и РС43-, мг-экв/л; НВ50 - наименьшая влагоемкость почвы слоя 0 - 50 см, мм; М - среднемноголетняя средневзвешенная по севообороту оросительная норма, мм; К2000 = 2000 - коэффициент, учитывающий НВ50 тяжелосуглинистых почв (200 мм) и допустимую концентрацию суммы токсичных солей 10 мг-экв/л (0,7 г/л) в аридных условиях, мм·мг-экв/л; Р - среднемноголетние годовые осадки, используемые растениями, мм. Для предотвращения процесса осолонцевания соотношение катионов в поливной воде должно соответствовать следующему требованию
где Na, Ca, Mg - содержание катионов натрия, кальция и магния в поливной воде, мг-экв/л; λ - коэффициент, равный 0,5 для карбонатных и 1 для некарбонатных почв; К200 = 200 - коэффициент, учитывающий HB50 тяжелосуглинистых почв (200 мм), мм·мг-экв/л. Соотношение катионов Mg:Ca в поливной воде должно быть менее 1,0. Пример оценки солевого состава поливных вод Исходные данные 1. Солевой состав смеси (1:5) сточных вод Авдеевского коксохимического завода и городских сточных вод после биологической очистки.
Примечание. А1к - щелочность, обусловленная анионами органических кислот. 2. НВ50 -тяжелосуглинистых черноземных карбонатных почв в слое 0 - 50 см равна 202 мм. 3. Р = 308 мм. 4. М = 303 мм. Гипотетический состав солей, мг-экв/л
* - токсичные соли. Сумма токсичных солей составляет 15,6 мг-экв/л (1 г/л). Гипотетический состав солей определяют, объединяя катионы и анионы по мере роста их активности. Начинать следует с MgNH4PO4, т.к. эта соль обладает слабой растворимостью в воде. Пригодность по суммарному содержанию токсичных солей определяется по условию (2.1):
т.е. удовлетворяет требуемому условию. Оценка пригодности оросительной воды по опасности осолонцевания почвы выполняется по условию (2.2):
Заключение: по солевому составу вода пригодна для орошения. Пример предварительной оценки возможности использования воды на орошение в аридной зоне Предварительная оценка пригодности поды для орошения засоленных почв аридной зоны проводится по номограмме зависимости содержания солей в почвенном растворе при предельной полевой влагоемкости (ППВ) от минерализации оросительной воды, интенсивности промывного режима орошения и солеустойчивости сельскохозяйственных культур (рис.2,1). Например, при минерализации оросительной воды 1,28 г/л и промывном режиме 5% можно возделывать без снижения урожайности только солеустойчивые культуры, порог солеустойчивости которых превышает концентрацию С = 9,6 г/л почвенного раствора, при ППВ (или при электрической проводимости вытяжки из насыщенной почвенной пасты равной 6). При промывном режиме орошения 20% и той же минерализации оросительной воды можно возделывать и среднесолеустойчивые культуры.
Рис.2.1. Зависимость между средней величиной засоления корнеобитаемого слоя (насыщенной пасты), минерализацией оросительной воды и интенсивностью промывного режима орошения: d, См/м - электрическая проводимость вытяжки из насыщенной почвенной пасты; С - почвенный раствор.
Рис.2.2. Оценка возможности орошения очищенными сточными водами в гидроморфных условиях:
Предельная минерализация оросительных вод в гидроморфных условиях определяется в зависимости от гранулометрического состава почв, интенсивности промывного режима орошения (в долях, от суммарного испарения Е) и минерализации грунтовых вод по номограммам, приведенным на рис.2.2. Для почв тяжелого механического состава при уровне грунтовых вод около 3 м применение для орошения вод с общей минерализацией 0,5 г/л возможно при критической минерализации грунтовых вол меньше или равной 2...2,5 г/л. Увеличение минерализации грунтовых вод до 4 г/л требует снижения минерализации оросительной воды до 0,3 г/л. Увеличение интенсивности промывного режима с 0,1 до 0,15 Е практически не меняет соотношение минерализации оросительных и грунтовых вод. Для почв среднего механического состава и при уровне грунтовых вод около 3 м соотношение предельной минерализации и соответствующей критической минерализации грунтовых вод (Сп=Сг) при промывном режиме 0,2 Е составляет 0,3-0,8, 0,5-6 и 1-3 г/л; при промывном режиме 0,25 Е - 0,3-9, 0,5-7 и 1-4 г/л. Для почв легкого механического состава с ППК = 5 мг-экв на 100 г при уровне грунтовых вод 3 м соотношение предельной минерализации и соответствующей критической минерализации грунтовых вод (СП=СГ) при промывном режиме 0,3 Е составляет 0,3-22, 0,5-14, 1-11 и 1,5-7 г/л. При орошении по дефициту водопотребления допустимая концентрация азота, фосфора и калия в поливной воде определяется по формуле
где Cn,p,k - допустимая концентрация элементов в поливной воде, мг/л; В - средневзвешенная по севообороту величина выноса урожаем азота, фосфора или калия, кг/га; k - коэффициент, учитывающий усвоение элементов питания урожаем: на почвах с низкой обеспеченностью - для азота 0,5, фосфора и калия 0,8; со средней обеспеченностью для азота 0,6, фосфора и калия 0,85; с высокой обеспеченностью - для азота 0,8, фосфора и калия 0,9. Вынос биогенных веществ из почвы планируемым урожаем, сроки поливов и внесения удобрений принимаются по данным зональных и областных сельскохозяйственных и агрохимических учреждений. Ориентировочный вынос урожаем азота, фосфора и калия для условий Нечерноземной зоны приведен в табл.2.3. Таблица 2.3Ориентировочный вынос азота, фосфора и калия урожаен основных сельскохозяйственных культур (для Нечерноземной зоны)
Примечание. Вынос биогенных веществ из почвы планируемым урожаем уточняется по данным зональных и областных научно-исследовательских организаций, проектных институтов, агрохимлабораторий и др. При удобрительных поливах концентрация общего азота в стоках не должна превышать, мг/л: для кукурузы, подсолнечника, сорго 2000; многолетних трав первого года 1000, второго и последующих лет использования 1500; для зерновых культур 1300. При удобрительных поливах при совместном использовании других источников воды для орошения оценка солевого состава проводится по условиям (2.1) и (2.2) по средневзвешенной концентрации солей и суммарной годовой норме поливных вод. Сточные воды и животноводческие стоки, содержащие микроэлементы, в том числе тяжелые металлы, в количествах, не превышающих ПДК для воды хозяйственно-питьевого назначения, могут использоваться для орошения без ограничений. Допустимая концентрация тяжелых металлов в поливной воде устанавливается по формуле
где: Сдоп - допустимая концентрация тяжелого металла в поливной воде, мг/л; ПДК - предельно допустимая концентрация тяжелого металла для воды хозяйственно-питьевого водопользования (табл.2.4), мг/л. Допустимая концентрация органических веществ в подготовленных животноводческих стоках и очищенных сточных водах определяется на основе исследований в полевых опытах с учетом степени их воздействия на микробиологическую активность почвы, а также на рост, развитие и качество орошаемых культур (ГОСТ 17.4.3.05-85). При использовании очищенных сточных вод и подготовленных животноводческих стоков на орошение сельскохозяйственных угодий величина биологической потребности кислорода (БПК) не лимитируется. Таблица 2.4Предельно-допустимые концентрации (ПДК) тяжелых металлов и микроэлементов в воде хозяйственно-питьевого водопользования
Для предварительного определения допустимого суммарного содержания токсичных, в том числе и органических, веществ проводится биотестирование на проращивание семян сельскохозяйственных культур. Тест на проращивание семян Для эксперимента 30 или 50 штук семян белой горчицы* (sinapis alba) укладывают равномерно на фильтровальную бумагу в чашки Петри диаметром 10 см. (Сводный доклад стран-членов СЭВ по теме 7.03.05 - Будапешт, 1975). Перед использованием чашки Петри необходимо стерилизовать в автоклаве при 2 атм в течение 10 мин. или в кипящей воде 30 мин. В каждую чашку Петри наливают по 5 мл исследуемой и чистой (контрольной) воды. Повторность 4-8-кратная. Уровень жидкости в чашках должен быть чуть ниже поверхности семян. Чашки покрывают и помещают в термостат при температуре 20°С. При отсутствии термостата эксперимент возможен в комнатных условиях, но тогда из-за колебаний температуры затрудняется сопоставление результатов, получаемых в разное время. Эксперимент заканчивается через 72 час. Измеряют длину проросших корней, исключая пять наименьших значений. Если семена в исследуемой воде вообще не проросли или же длина их корней по сравнению с контрольными семенами меньше 70%, то данная вода не пригодна для орошения. Порог 70% обосновывается тем, что почва благодаря сорбционной способности будет снижать тормозящие свойства исследуемой воды. При длине корней в опыте свыше 120% от контроля предполагается, что иода содержит стимулирующие вещества. Количество, размеры взвешенных частиц и механических включений, содержащихся в очищенных сточных подах и подготовленных животноводческих стоках, должны соответствовать техническим требованиям насосов, трубопроводов и поливной техники. Содержание взвешенных веществ в подготовленных животноводческих стоках комплексов КРС должно быть не более 4%, свинокомплексов - не более 2%. Также в них не должны содержаться твердые и длинноволокнистые включения размером более 10 мм, а при применении дождевальных машин с гидроприводом - более 2 мм. При использовании центробежных насосов типа «Д» для транспортировки подготовленных стоков твердые включения должны быть размером не более 5 мм. *Тест на проращивание можно провести с семенами других растений 2.3. Санитарно-гигиенические и ВЕТЕРИНАРНЫЕ ТРЕБОВАНИЯСанитарно-гигиеническая и ветеринарно-санитарная оценка качества сточных вод, используемых для орошения, проводится по микробиологическим и паразитологическим показателям, приведенным ниже. Допустимое содержание в 1 дм3:
В случае несоответствия качества сточных вод этим показателям, или при потенциальной контаминации сточных вод возбудителями инвазионных болезнен в целях профилактики заражения животных возбудителями паразитарных болезней следует растительную массу переработать в виде сенажа, силоса, травяной муки и концентратов, а затем использовать в корм животным. Для обеспечения допустимых параметров сточные воды городов и крупных населенных пунктов перед орошением должны подвергаться биологической очистке в искусственных или естественных условиях согласно СанПиН 2.1.7.573-96 «Гигиенические требования к использованию сточных вод и их осадков для орошения и удобрения» и СНиП 2.04.03-85 «Канализация. Наружные сети и сооружения», а также «Рекомендациям но устройству биологических оксидационных контактных, стабилизационных (БОКС) прудов для небольших населенных пунктов», М., 1987. При суточном объеме сточных вод до 10000 м, а в III и IV климатических районах страны* до 50000 м и отсутствии сооружений искусственной биологической очистки допускается подготовка их на сооружениях механической очистки с последующей доочисткой в биологических прудах или в системе прудов-накопителей. Сточные воды предприятий пищевой промышленности (заводов по производству сахара, дрожжей, по переработке овощей, фруктов, молока) допускается использовать для орошения и разбавления животноводческих стоков после прохождения сооружений механической очистки. Животноводческие стоки допускается использовать на орошение после дегельминтизации в системе подготовки, шестисуточного гарантирования при условии, если за указанный период на комплексе не будет зарегистрировано инфекционных заболеваний животных. При возникновении инфекционных заболеваний животных на комплексе стоки должны быть обеззаражены в соответствии с требованиями ОНТП 17-86, затем использованы по принятой технологии. При выращивании на ОССВ кормовых культур необходимо соблюдение соответствующих требований по обеспечению качества кормовой продукции. Содержание нитратов в кормах не должно превышать максимально допустимый уровень (МДУ), утвержденный Главветуправлением СССР 26.03.91 и приведенный в табл.2.5. Таблица 2.5Максимально допустимый уровень содержания нитратов и нитритов в кормах для сельскохозяйственных животных, мг/кг сырого продукта
*Климатические районы страны по СНиП 2.08.01-89 «Жилые здания».2.4. Водоохранные требованияПоверхностный сток и дренажные воды, поступающие в водные объекты с ОССВ, должны соответствовать требованиям СанПиН 4630-88 «Правила охраны поверхностных вод от загрязнения», устанавливающим предельно допустимые концентрации вредных веществ в воде объектов хозяйственно-питьевого и рыбохозяйственного назначения. Между границей ОССВ и водными объектами должна предусматриваться водоохранная зона, ширина которой устанавливается в соответствии с «Положением о водоохранных зонах водных объектов и их прибрежных защитных полосах», утвержденным Постановлением Правительства РФ от 26.11.96 г. № 1404. В водоохранной зоне от уреза меженного уровня йоды следует выделять прибрежные водоохранные полосы, ширина которых принимается для рек длиной до 50 км - не менее 20 м; от 50 до 100 км - около 50 м; от 100 до 300 км - около 100 м. Прибрежная полоса в водоохранной зоне для фиксации берега и задержания смываемых почвогрунтов засаживается в русловой полосе водоустойчивыми породами кустарников и деревьев, в прирусловой части засевается многолетними травами. Прямой сброс сточных вод и животноводческих стоков из навозохранилищ, накопителей и с территорий ОССВ и животноводческих комплексов в водоемы и водотоки не допускается. 3. ВЫБОР ЗЕМЕЛЬНЫХ УГОДИЙВыбор земельных угодий для устройства ОССВ проводится согласно СНиП 2.06.03-85, СанПиН 2.1.7.573-96, ВНТП, а также в соответствии с общепринятыми в мелиорации требованиями к рельефу и глубине залегания грунтовых вод. При выборе площадей под сооружения по подготовке сточных вод (прудов-накопителей, биологических прудов, регулирующих емкостей и др.) необходимо учитывать требования СНиП 2.04.03-85. При выборе участков для орошения сточными водами и животноводческими стоками необходимо учитывать условия защищенности подземных вод, наличие на рассматриваемой территории действующих и проектируемых водозаборов подземных и поверхностных вод, перспективы развития канализации населенных пунктов или промышленных объектов; намечаемую технологическую схему использования сточных вод, необходимый состав основных сооружений, выращиваемые культуры; зоны рекреации и санитарной охраны водных объектов, населенных мест, промышленных предприятий, автомобильных дорог, наличие особо охраняемых природных территорий. Строительство ОССВ не допускается: - на территории первого и второго поясов зоны санитарной охраны водоисточников централизованного хозяйственно-питьевого водоснабжения и источников минеральных вод; - на территориях, расположенных в пределах области питания действующих и проектируемых водозаборов, эксплуатирующих незащищенные водоносные горизонты, залегающие близко от поверхности; - на территории с выходом на поверхность трещиноватых и карстующих пород, а также песчаных гравийно-галечных отложений, не перекрытых водоупорным слоем; - в пределах округа санитарной охраны курортов; - в границах водоохранных и санитарных зон поверхностных водных объектов; - на территории с сильно расчлененным рельефом, сильной каменистостью и завалуненностью, выходами плотных слабовыветрилых пород; на почвах с близким подстилающим слоем (в пределах первого полуметра) третичных засоленных глин, а также сильно засоленных и солонцеватых почвах. Границу второго и третьего поясов зоны санитарной охраны подземного источника водоснабжения (водозаборных скважин) и границу ОССВ определяют с учетом требований СНиП 2.04.03-85. Между внешними границами земельных участков ОССВ и населенными пунктами, производственными зданиями, транспортными магистралями необходимо предусматривать санитарно-защитные зоны в соответствии с санитарными правилами и нормами (табл.3.1). Величина санитарно-защитных зон ОССВ и сооружений, расположенных на ней (накопители, биологические пруды, регулирующие водоемы и т.д.), уточняется расчетами с учетом фоновых концентраций вредных веществ в атмосфере. При этом содержание загрязняющих веществ не должно превышать предельно допустимых концентраций в воздухе или ориентировочного безопасного уровня воздействия (ОБУВ), установленных Минздравом РФ (список ПДК загрязняющих веществ в атмосферном воздухе населенных мест № 3086-84 и дополнений к нему; список ОБУВ № 4414-87 и дополнений к нему). При этом учитывается эффект суммации веществ согласно ОНД-86. Таблица 3.1.Ширина санитарно-защитной зоны при различных способах полива, м
Размер санитарно-защитной зоны уточняется расчетами рассеивания загрязняющих веществ (с применением ЭВМ по программам, утвержденным в установленном порядке) в соответствии с п.8.6 «Методики расчета концентраций в атмосферном воздухе вредных веществ, содержащихся в выбросах предприятий», М.: Госкомгидромет, 1987 и ОНД-86. ПДК вредных веществ в атмосферном воздухе приведены в табл.3.2. Таблица 3.2Предельно-допустимые концентрации вредных веществ в воздухе
ОССВ необходимо размещать на земельных угодьях с естественной геологической защищенностью подземных вод от инфильтрационного загрязнения основными ингредиентами сточных вод и животноводческих стоков при соблюдении проектных норм их нагрузки на единицу орошаемой площади. Критерии защищенности подземных вод регламентированы СНиП 2.04.02-84 «Водоснабжение. Наружные сети и сооружения». Прогнозную оценку и картирование естественной защищенности подземных вод от загрязнения сточными водами и животноводческими стоками следует выполнять согласно «Положению об охране подземных вод» Мингео СССР, 1985 г. и действующим региональным методикам, разработанным ВСЕГИНГЕО, ВНИИГиМ, МГУП и др. Потребная площадь ОССВ определяется по расчетному годовому объему использования сточных под и средневзвешенной по севообороту оросительной норме, которая назначается: при устройстве накопителя многолетнего регулирования по средней оросительной норме за ретроспективный ряд в пределах 20 лет (при 50% обеспеченности); при устройстве сезонного накопителя по норме расчетного среднесухого года (75% обеспеченности). На стадии предпроектных проработок ориентировочную потребную площадь F (га) для использования животноводческих стоков допускается определять по формуле
где Q - годовой объем животноводческих стоков, м3; М - средневзвешенная норма внесения стоков, м3/га. При наличии достаточной площади ирригационного фонда и водных ресурсов, пригодных для орошения и гарантирующих расчетный объем водопотребления, при соответствующем технико-экономическом обосновании допускается увеличение расчетной площади ОССВ с целью удовлетворения 50-75 % потребности растений в удобрениях за счет внесения животноводческих стоков, остальное - за счет внесения минеральных удобрений Ориентировочные показатели для предпроектных разработок приведены в табл.3.3 (химический состав животноводческих стоков действующих комплексов) и в табл.3.4 (ориентировочные площади для использования животноводческих стоков при различных дозах внесения азота, фосфора, калия). Таблица 3.3Химический состав животноводческих стоков действующих комплексов*
*В таблице приведен усредненный химический состав животноводческих стоков 9 свиноводческих комплексов и 15 комплексов КРС. Таблица 3.4Ориентировочные площади (га) для использования животноводческих стоков при различных дозах внесения азота, фосфора, калия (на кормовых севооборотах)
*Без учета потерь биогенных элементов при хранении. **С учетом потерь биогенных элементов при 6-ти месячном хранении в накопителях. 4. ПОДБОР СЕЛЬСКОХОЗЯЙСТВЕННЫХ КУЛЬТУР И ОСОБЕННОСТИ ИХ ВЫРАЩИВАНИЯПри подборе сельскохозяйственных культур, технологии их выращивания и использования следует руководствоваться требованиями зональных систем орошаемого земледелия и рекомендациями региональных сельскохозяйственных научно-исследовательских учреждений с учетом конкретных направлений сельскохозяйственного производства, вида животноводческого комплекса, требований ВНТП. Сельскохозяйственные культуры на ОССВ имеют решающее экологическое значение. Величина и качество урожая являются показателями состояния плодородия почв и эффективности почвенной очистки поливных вод. В связи с этим на ОССВ следует выращивать сельскохозяйственные культуры, которые характеризуются: - высоким водопотреблением и выносом биогенных веществ с урожаем для обеспечения высокой степени очистки и доочистки сточных вод и животноводческих стоков; - способностью обеспечивать стабильный высокий урожай биомассы; - возможностью применения максимальной механизации работ по уходу и уборке урожая. В соответствии с санитарно-гигиеническими и ветеринарными требованиями на ОССВ разрешается выращивать технические культуры, зерновые на фураж, кормовые (кроме корнеплодов на кормовые цели), древесно-кустарниковые. Выращивание плодовых кустарниковых культур согласовывается с местными службами государственного комитета по санитарно-эпидемиологическому надзору с учетом санитарного качества сточных вод и санитарно-эпидемиологического состояния конкретного объекта. Перечень основных сельскохозяйственных культур, выращиваемых на ОССВ Кормовые культуры 1.Многолетние травы. Основу травостоя составляют злаковые травы: кострец безостый, тимофеевка луговая, мятлик луговой, ежа сборная, овсяница луговая и тростниковидная, двухкисточник тростниковидный. Из бобовых трав - люцерна синяя, клевер красный, клевер белый, лядвенец рогатый, донник белый и др. Состав травосмесей подбирается с учетом типа почвы, применяемого режима орошениями способа использования урожая. 2. Однолетние травы, посеянные как в чистом виде, так и в смеси со злаковыми: вико-овсяная смесь, горохово-овсяная смесь, райграсс однолетний, рапс, сорго, суданская трава, амарант и др. 3. Силосные культуры. Зеленая масса однолетних и многолетних трав, кукуруза, подсолнечник, кормовая капуста. 4. Зерновые и зернобобовые: ячмень, овес, пшеница, кукуруза, горох, вика, соя. Технические культуры Хлопок, конопля, хмель. Древесно-кустарпиковые культуры Районированные сорта древесно-кустарниковых пород, предназначенные для создания лесополос, питомников, плантаций для интенсивного производства прута, древесины. Культуры сидератов Люпин однолетний, сераделла, редька масличная (хорошая фито-санитарная культура). При организации интенсивных кормовых севооборотов рекомендуется применять промежуточные, пожнивные и уплотненные посевы. Примерные схемы кормовых севооборотов приведены в табл.4.1. Таблица 4.1Примерные схемы кормовых севооборотов*
*См. Справочник «Интенсивные технологии производства кормов», М.: Агропромиздат, 1991. При использовании животноводческих стоков комплексов и ферм крупного рогатого скота в структуре посевных площадей кормовых севооборотов ведущей культурой должны быть многолетние, особенно злаковые травы, как основной источник для получения грубых кормов, сена, сенажа, силоса, травяной муки. При подборе видов и компонентов травосмесей следует учитывать сбалансированность кормов по основным элементам питания и обеспечение равномерного в течение вегетации выхода зеленой массы. Для обеспечения кормами комплексов по выращиванию и откорму свиней рекомендуется использовать в севооборотах зерновые на фураж. При этом площадь OCСВ увеличивается на 30-40% в связи с низким выносом зерновыми биогенных элементов. На землях, орошаемых сточными водами, следует выращивать культуры, которые характеризуются положительной реакцией на вневегетационные, в том числе и зимние поливы при круглогодовом орошении; устойчивостью по отношению к временному затоплению при поверхностных поливах. Видовой и сортовой состав многолетних трав подбирается с учетом районирования, реакции их на вневегетационные поливы при круглогодовом орошении, типа почв, хозяйственного использования или товарного производства семян. Длительность использования травостоя многолетних злаковых трав рекомендуется в 6-7 лет. Характеристика отдельных многолетних трав, отзывчивых на орошение сточными водами в условиях Нечерноземной зоныДля создания высокопродуктивных травостоев подбирают виды и сорта многолетних трав с учетом их районирования, отзывчивости на полипы сточными водами, влагоустойчивости при повышенной влажности почвы и затоплении, реакции на вневегетационные поливы, а также типа почв и рельефа участка. Важно учитывать целевое назначение использования травостоя: многоукосное использование, семена, пастбище и др. Ниже приведена характеристика основных многолетних трав, составляющих травостои, орошаемые сточными водами. Кострец безостый прекрасно реагирует на полив сточными водами, при этом увеличивается облиственность и количество вегетативных побегов. В фазе цветения достигает высоты 140-150 см. Является ведущей перспективной культурой на полях круглогодового орошения. Может выдерживать длительное весеннее затопление, на легких почвах выдерживает большие оросительные нормы до 6000-7000 м3/га. Хорошо переносит вневегетационные, в том числе и зимние поливы сточными водами. Содержание в травостое - длительное (более 10 лет). Пригоден к многоукосному использованию. Тимофеевка луговая хорошо отзывается на орошение сточными водами, выносит зимние поливы. При круглогодовом орошении сточными водами достигает высокой продуктивности (до 100 ц/га сухого вещества), в травостое удерживается свыше 7 лет. Мятлик луговой. При орошении сточными водами повышается интенсивность отрастания. Хорошо выносит вневегетационные, в том числе и зимние поливы. В травостое держится длительное время, однако по продуктивности зеленой массы уступает другим злаковым травам. Лисохвост луговой отзывчив на полив сточными водами, устойчив при зимнем поливе. Отличается более ранним отрастанием, в травосмеси удерживается свыше 6-7 лет. Овсяница луговая хорошо реагирует на вегетационные полипы сточными водами. Зимние поливы переносит хуже, продуктивность при этом ниже, чем у тимофеевки луговой, костреца безостого, лисохвоста лугового. Полевица белая хорошо реагирует на вегетационные поливы. Зимние поливы сточной водой переносит хуже. Двухкисточник тростниковидный выдерживает длительное затопление. Отличается быстрым ростом и дает ранний зеленый корм, затем быстро грубеет. При орошении сточными водами резко увеличивает урожай, хорошо переносит зимние поливы. Целесообразно высевать на затопленных местах, на резервных площадках, где преобладают высокие оросительные нормы. Клевер белый - важнейшее бобовое пастбищное растение, дает высококачественный корм, хорошо отрастает после стравливания, устойчив к вытаптыванию. Очень хорошо отзывается на орошение сточными водами, переносит зимние поливы. При круглогодовом орошении и сенокосно-пастбищном использовании сохраняется в травостое более 10 лет. Выносит затопление, зимостоек. Лядвенец рогатый имеет высокие кормовые качества, отличается отавностыо и считается ценным пастбищным и сенокосным растением. Выносит недлительное затопление до 10 дней. Хорошо реагирует на вегетационное орошение сточными водами. При укосном использовании зеленой массы в травосмеси рекомендуется включать больше быстрорастущих верховых злаков: кострец безостый, тимофеевку луговую, лисохвост луговой, овсяницу луговую, ежу сборную, а из бобовых - люцерну. Высокую продуктивность дают и посевы трав в чистом виде таких, как кострец безостый, ежа сборная, двухкисточник тростниковидный, овсяница тростниковидная и др. Проектную урожайность сельскохозяйственных культур определяют: - методом программирования урожаев; - по рекомендациям зональных научно-исследовательских организаций; - по местному опыту орошаемого земледелия, при этом урожай культур на ОССВ должен быть на 16-20% больше средней урожайности (за последние 5 лет) на орошаемых природной водой землях региона. Использование сточных вод и животноводческих стоков для орошения древесно-кустарниковых культур может предусматриваться для: - создания полезащитных лесных полос и противоэрозионных насаждений; - ускоренного выращивания сырья для целлюлозно-бумажной промышленности; - создания питомников по выращиванию древесно-кустарникового и плодово-ягодного посадочного материала; - создания плантаций по выращиванию ивы в качестве сырья для плетения корзин и мебели; - создания плантаций для выращивания новогодних елей. Технология создания древесно-кустарниковых насаждений, а также питомников аналогична технологии лесоразведения и садоводства в районах орошаемого земледелия. Характеристика древесно-кустарниковых пород, выращиваемых при орошении сточными водами и животноводческими стокамиПри подборе древесных пород учитывают их способность переносить избыточное увлажнение и временное затопление, солеустойчивость, целевую направленность создаваемых категорий лесных насаждений в конкретных почвенно-климатических и экономических условиях, долговечность, быстроту роста, техническую ценность. Ниже приведена характеристика древесно-кустарниковых пород, рекомендуемых для выращивания при орошении сточными водами в условиях Нечерноземной зоны. Сосна обыкновенная - быстрорастущее, долговечное и светолюбивое дерево с пластичной корневой системой. Морозо- и засухоустойчива, слабодымо- и газоустойчива. Произрастает как на каменистых почвах и сухих песках, так и сфагновых болотах. Переносит незначительное засоление почвы. Хорошо переносит вневегетационные, в том числе зимние, поливы сточными водами. Ежегодный прирост и среднем при орошении на 60% выше, чем без орошения. Лиственница обыкновенная - быстрорастущее долговечное и светолюбивое дерево с мощной корневой системой. Морозо- и засухоустойчива. К плодородию почвы средне требовательна, переносит избыточное увлажнение. При орошении сточными водами ежегодный прирост на 30-40% выше, чем без орошения. Устойчива к зимним поливам. Береза бородавчатая - быстрорастущее, светолюбивое дерево с поверхностно-развитой корневой системой. Морозо- и засухоустойчива. К плодородию почв нетребовательна, выносит их незначительное засоление. При орошении сточными водами наиболее активно растет в первое десятилетие. Тополь бальзамический - быстрорастущее морозоустойчивое и светолюбивое дерево. К плодородию и влажности почвы малотребователен, но лучше произрастает на богатых и влажных почвах. Хорошо выносит сухость воздуха, почвенное засоление и временное затопление сточными водами как в летний, так и в зимний периоды. При орошении сточными водами ежегодный прирост в 1,7 раза выше по сравнению с неорошаемыми насаждениями. Может рекомендоваться для создания быстрорастущих лесных насаждений во всех районах Нечерноземной зоны России. Ива ломкая (верба) - светолюбивое, морозоустойчивое и быстрорастущее дерево. Малотребовательна к плодородию почвы, переносит сухость воздуха и длительное затопление. При орошении сточными водами прирост по высоте на 30% выше по сравнению с неорошаемыми ивовыми насаждениями. Может рекомендоваться для облесения неудобных, низко плодородных земель, балок, оврагов, а также создания резервных и защитных лесных зон во всех районах Нечерноземной зоны РФ. Рябина обыкновенная - крупный быстрорастущий теневыносливый и морозоустойчивый кустарник или небольшое дерево. К почвам малотребовательна, выносит их засоление, а также как заболачивание, гак и сухость. При орошении сточными йодами ежегодный прирост на 77% выше по сравнению с неорошаемыми насаждениями. Обильное плодоношение при орошении сточными водами в возрасте 7-8 лет. Может рекомендоваться в качестве подлеска при создании различных категорий древесных насаждений. Ель обыкновенная - наиболее быстрорастущая порода из других елей. Морозоустойчива, но чувствительна к поздним весенним заморозкам. Предпочитает богатые питательными веществами суглинистые почвы и может произрастать на супесчаных почвах. Неустойчива к задымлению и вредным газам. На супесчаных дерново-подзолистых почвах, в обеспеченные осадками годы, одинаково успешно произрастает как при орошении сточными водами, так и без орошения. Может рекомендоваться для создания плантаций новогодних елей. Липа мелколистная - долговечное, быстрорастущее, теневыносливое, засухо- и холодоустойчивое дерево. Требовательна к плодородию почв, не выносит бедных и сухих песков, значительной засоленности почв и длительного затопления. При орошении сточными водами ежегодный прирост на 50-60% выше, чем без орошения. Может успешно выращиваться в качестве посадочного материала для озеленительных работ. Вяз обыкновенный (гладкий) - долговечное, быстрорастущее, теневыносливое, морозо- и засухоустойчивое дерево. К плодородию почв нетребователен, выносит значительное засоление. Наиболее отзывчив на орошение сточными водами: ежегодный прирост по высоте более чем в 2,5 раза выше, чем без орошения. В виду быстрого развития плотнооблиственной шаровидной кроны и красивой осенней окраски листьев может рекомендоваться для озеленения, создания защитных санитарных зон. Клен остролистый - быстрорастущее и теневыносливое дерево. Требователен к плодородию почв и не выносит их засоления. Страдает от суровых морозов, однако при орошении сточными водами быстро восстанавливается за счет поросли от пня. На орошении сточными водами весьма отзывчив: ежегодный прирост почти и 2,8 раза выше, чем на участках без орошения. Может рекомендоваться в качестве сопутствующей породы при защитном лесоразведении и южных и западных районах Нечерноземной зоны. На засоленных почвах (плотный остаток не более 1,2%) при близком залегании минерализованных фунтовых вод (до 12 г/л) для создания лесных насаждений используют солеустойчивые древесные породы: вяз приземистый, ясень зеленый, тополь Баховена и Болле, лох узколистый, тамариск и др. Древесные породы, дающие много корневых отпрысков - акация белая, тополь (белый, серый) - не вводят в ряды, примыкающие к каналам. Лесные защитные насаждения на полях орошения создают в основном из древесных пород. Кустарники высаживают в опушечные ряды на участках, где полосы проходят по границе полей орошения, а также вдоль магистральных каналов, на буферных площадках и в качестве берегоукрепительных насаждений. 5. ТЕХНОЛОГИЧЕСКИЕ РАСЧЕТЫ СИСТЕМЫ ПОДГОТОВКИ ЖИВОТНОВОДЧЕСКИХ СТОКОВ5.1. Расчет выхода навозных стоков и их влажностиНавозные стоки состоят из экскрементов животных, технологической воды, остатков кормов и посторонних включений. Суточный выход Qcут навозных стоков определяется по формуле
где Qэ - общее количество экскрементов (кал и моча), м3/сут; Qтв - суточный объем воды, добавляемой в систему навозоудаления с учетом мытья кормушек, полов, промывки навозосборных каналов, коллекторов, подтекания водопроводных кранов и автопоилок, м3/сут; Qвн - расход воды на удаление навоза, м /сут; Qвкл - объем механических включений, поступающих в систему навозоудаления, м3/сут; Qсв - суточное количество воды на дополнительное разбавление навоза сточными водами, образующимися в доильных залах молочных, кормоцехах и других объектах комплексов, м3/сут. Масса экскрементов, получаемая на комплексах или фермах промышленного типа, зависит от количества животных, их вида, возраста и рациона кормления. Среднесуточный выход экскрементов от различных половозрастных групп приведен в табл.5.1. Общее количество экскрементов от различных половозрастных групп (кг) рассчитывается по формуле
где Ai - количество животных в соответствующей половозрастной группе, ai - количество экскрементов в сутки от одной головы соответствующей группы животных, кг/сут; i = 1…n, n - количество половозрастных групп. Таблица 5.1Средний выход экскрементов от животных различных половозрастных групп
Составляющую Qтв (л/сут) определяют по формуле
где bi - расход воды в сутки на голову по половозрастным группам, л/сут (табл.5.2); i = 1,...,n. Таблица 5.2Расход воды на производственные нужды в зависимости от вида животных и способа удаления навоза в расчете на одну голову в сутки
Для ориентировочных расчетов среднесуточный выход мочи и кала крупного рогатого скота принимается 8% от их живой массы, свиней - 5%. Расход воды на удаление навоза при гидросмыве Qвн определяется по фактическому использованию, для ориентировочных расчетов на голову можно принять 15 л/сут. Qbkл принимается для навоза КРС 1-7%, для свиного навоза 0,2-1% от общего объема экскрементов, технологической воды и воды, используемой при гидросмыве. Ориентировочный суточный выход свиного навоза при различных системах удаления приведен в табл.5.3. Влажность навозных стоков Wн поступающих с комплекса и фермы, определяется формулой
где Wэcp - средняя влажность экскрементов, %; Qвобщ - общий суточный объем воды, поступающий в систему навозоудаления, м3/сут.
где Wi - влажность экскрементов животных различных половозрастных групп (см.табл.5.1), %; i = 1,...,n. Содержание абсолютно сухого вещества в навозных стоках составляет
Зависимость влажности навозных стоков от количества воды, добавляемой к 1 литру экскрементов, приведена ниже
Таблица 5.3Суточный выход свиного навоза при различных системах удаления
Объемная масса экскрементов свиней составляет 1050-1070 кг/м3, крупного рогатого скота 1010 кг/м3; В практике расчетов объемная масса навозных стоков принимается равной 1000 кг/м3. Количество органических соединений Сов в навозных стоках составляет 85% от сухого вещества, т.е.
где Сн - массовая доля сухого вещества в навозе, % к натуральному веществу. Величины ХПК, БПК5 и БПК20 определяются зависимостями, полученными опытным путем:
5.2. Определение химического состава навозных стоковХимический состав навозных стоков определяется составом экскрементов животных и зависит в основном от кормового рациона, качества кормов, степени их усвояемости и разбавления навоза водой. Среднее содержание сухого вещества и биогенных элементов в экскрементах животных на голову в сутки приведена в табл.5.4. Примерный химический состав экскрементов в процентах к натуральному веществу, т.е. к объему экскрементов животных, приведен в табл.5.5. Количество биогенных веществ в навозе каждого вида животных определяется по формуле
где Бi - количество биогенного вещества (азота, фосфора или калия) от одного животного половозрастной группы (см.табл.5.4), г/сут; i = 1,...,n. Концентрация биогенных элементов определяется делением количества азота, фосфора или калия на суточный выход навозных стоков. Таблица 5.4Среднее содержание сухого вещества и биогенных элементов в экскрементах животных на голову в сутки, г*
Таблица 5.5Процентное содержание воды и веществ в экскрементах
Разбавление экскрементов водой вызывает изменение массовой доли биогенных элементов пропорционально количеству добавленной воды. Массовая доля каждого элемента (азота, фосфора или калия) определяется формулой
где Бн, Бэ - массовая доля биогенного элемента, соответственно, в навозе и экскрементах, % к натуральному веществу; Сн, Сэ, - массовая доля сухого вещества соответственно в навозе и экскрементах, % к натуральному веществу. *По данным ВИЖ и Гипронисельхоза. 5.3. Расчет системы разделения навозных стоков на фракцииПри разделении навозных стоков на фракции сухие и биогенные вещества, содержащиеся в навозе, перераспределяются, в результате чего образуются две субстанции, отличающиеся физико-механическими и химическими свойствами. По физико-химическим свойствам твердая фракция подобна подстилочному навозу (на опилках), а жидкая - воде. Согласно методике И.И. Лукьяненкова при разделении навоза на фракции без использования коагулянтов твердую фракцию образуют твердые частицы навоза, на 65-70% состоящие из воды. Вода в состав твердых частиц входит в виде раствора минеральных и органических соединений, поэтому сухое вещество твердой фракции включает как сухое вещество структурных элементов твердой фракции, так и сухое вещество водных растворов, входящих в состав твердой фракции. Работа установок и отстойников для разделения навоза на жидкую и твердую фракции характеризуется производительностью (скоростью оседания взвешенных веществ или фильтрования), эффектом осветления суспензии и влажностью твердой фракции (осадка). Эффект осветления J показывает, на сколько снизилось содержание взвешенных (твердых) веществ в навозных стоках после обработки на данной установке и определяется в % к содержанию их в исходной массе
где Мн, Мж - содержание взвешенных веществ соответственно в навозе и жидкой фракции, г/л или кг/м3. Эффект осветления зависит от исходной влажности жидкого навоза и может приниматься по табл.5.6. Разделение на фракции рассматривается как механический процесс, при котором отсутствуют потери вещества (за исключением незначительной части аммонийного азота), поэтому выход жидкой и твердой фракции (осадка) при разделении навоза известной влажности определяется по формулам, приведенным ниже,
где Qн, Ож, Qo - масса соответственно исходных навозных стоков, жидкой и твердой фракции, кг или т; Сн Сж, Со - относительное содержание сухого вещества соответственно в навозе, жидкой и твердой фракции, %. Со принимается по табл.5.6; Сж определяется следующим образом:
Таблица 5.6Эффект осветления и влажность составляющих френч навоза для различных разделительных установок
Если разделение выполняется на нескольких последовательно работающих установках, например, разделение навоза на виброгрохоте, осветление жидкой фракции в отстойнике, обезвоживание осадка из отстойника на фильтр-прессе, то описанную выше методику используют для расчета процесса только на первой ступени, т.е. на виброгрохоте. Все остальные ступени процесса рассчитываются по нижеследующей методике. Масса твердой фракции осадка, полученная на аппарате, определяется по формуле
где Qj - масса исходного материала, поступающего на разделительную установку, кг или т; Сд - относительное содержание сухого вещества в дисперсионной среде, обрабатываемого материала, %; j - номер ступени. Относительное содержание сухого вещества в дисперсионной среде для всех ступеней разделения навоза рассчитывается по формулам Сд = 0,27 Сн - для свиного навоза, Сд = 0,40 Сн - для навоза КРС, где Сн - относительное содержание сухого вещества в навозе, поступающем на первую ступень разделения, %. После того, как масса твердой фракции осадка, полученной на разделительной установке, определена, пахидят массу жидкой фракции
затем определяют относительное содержание сухого вещества в жидкой фракции по формуле
Общий выход твердой и жидкой фракции получают суммированием тех объемов фракций, которые выходят из разделительных установок и уже в них не обрабатываются. 5.4. Расчет концентрации биогенных элементов фракции навозных стоков после разделенияПри разделении навоза на фракции биогенные элементы переходят как в твердую, так и в жидкую фракции. Азот общий с учетом потерь при разделении распределяется по фракциям в следующем соотношении для свиного навоза -
где Nн, No, Nж - относительное содержание общего азота соответственно в навозе, твердой и жидкой фракции, %. Фосфор распределяется по фракциям прямо пропорционально содержанию в них сухого вещества, а калий - прямо пропорционально содержанию влаги: где индексы 0,Ж соответствуют относительному содержанию биогенного элемента (фосфора, калия) соответственно в твердой или жидкой фракции навоза, %; Сож - относительное содержание сухого вещества в твердой пли жидкой фракции, %. 5.5. Пример технологического расчета системы подготовкл навозных стоковРасчет проведен для комплекса по выращиванию и откорму 54 тыс. свиней с гидравлической системе)! удаления навоза, среднегодовым содержанием 3150 супоросных маток, 620 свиноматок с поросятами, 11 тыс. 300 поросят-отъемышей и 21 тыс. 240 поросят на откорме. Линия разделения на фракции включает дуговое сито. вертикальный отстойник и бункер-дозатор. Количество экскрементов определяется по табл.5.1 и формуле (5.2) и составит Qэ = 3150·9,4 + 620·15,3 + 11300·2,4 + 21240·5,1 = 174540 кг/сут = 175 м3/сут. Расход технологической воды определяется по табл.5.2 и формуле (5.3) и составит QTH = 3150·17 + 620·27+ 11300·3 +21240·6= 23 1630 л/сут = 232 м3/сут. Расход воды на удаление навоза при гидросмыве составит Qвн =(3150 + 620 + 11300 + 21240) 15 = 544650 л/сут = 545 м3/сут. Qвкл = 0,01 • (175+232+545) = 10 м3/сут. Влажность навозных стоков определяется по табл.5.1 и формулам (5.4) и (5.5). Wэср = (90,9 + 90,1 + 86 +87)/4 = 88,5 %, QBo6ui = 232 + 545 + 10 = 787 м3/сут, QcyT =175 + 787 = 962 м3/сут, Wн = 97,9 %. Содержание-абсолютно сухого вещества определяется по формуле (5.6) и составит Ра.с.в. = 20,2 т/сут. Относительное содержание абсолютно сухого вещества составит Сн = 100 - WH = 2,l %. Концентрация биогенных веществ в навозных стоках определяется по табл.5.4. Nн = (46,5·3150+24·620+8,33·11300 + 42·21240)/962 = 1193 мг/л = 0,1193%, Рн = (17.52·3150+22,8·620+4,74·11300 + 23,07·21240)/962 = 637 мг/л = 0,0637%, Кн = (28,37·3150+10·620+4,1·11300 + 14,4·21240)/962 = 465 мг/л = 0,0465%. Исходные данные для расчета линии разделения навозных стоков на фракции: дуговое сито - эффект разделении суспензии J = 45% при влажности твердой фракции 88 %, Cо1 = 12%; вертикальный отстойник - эффект осветления J = 80% при влажности осадка 94 %, Со2 = 6%; шестимесячное выдерживание жидкой фракции в накопителях - эффект осветления J = 70% при влажности осадка 92 %. 1. Расчет первого агрегата линии разделения - дугового сита. Концентрация сухого вещества жидкой фракции составит Сж1= (1 - 0,0073-45)2,1 = 1,41 %. Объем жидкой фракции по формуле (5.13) составит
Объем твердой фракции по формуле (5.13) составит
2. Расчет второго агрегата - вертикальный отстойник жидкой фракции с дугового сита. Относительное содержание сухого вещества в дисперсной среде обрабатываемого навоза составит Сд = 0,27·2,1 = 0,57 %. Объем осадка в отстойнике по формуле (5.16) составит (Q1 = 899 м3/сут)
Объем жидкой фракции из отстойника по формуле (5.17) равен Qж2 = 899 –111 = 788 м3/сут. Содержание сухого вещества в жидкой фракции по формуле (5.18) составит Сж2 = (899·1,41 - 111·6)/788 = 0,76%. 3. Расчет обезвоживания осадка из вертикального отстойника на дуговом сите (Q2 = 111 м3/сут).
Qж3 = 111 - 24 = 87 м3/сут. Сж3 = (111·6 - 24·12)/87 = 4,34 %. 4. В качестве окончательных объемов переработки навозных стоков на линии разделения на твердую и жидкую фракции с дугового сита после переработки исходного навоза и осадка из отстойника будем иметь Qo4 = Qo1 + Qo3 = 63 + 24 = 87 т/сут, Qж4 = Qж2+ Qo3 = 788 + 87 = 875 м3 /сут.
5. Расчет объема осадка в навозонакопителях жидкой фракции стоков при 6-ти месячном выдерживании с эффектом осветления 70% и влажностью осадка 92%. Сж5 = (1 - 0,0073·70)·1,12 = 0,55 %. Qo5 = 875 (1,12-0,55)/(8-0,55) = 67 м3 /сут. Концентрации биогенных веществ в жидкой фракции стоков, используемых на поливы, определяются по формулам (5.20), (5.23) и (5.24) соответственно для азота, фосфора и калия. |
|||||||||||||||||||||||||||||||||||||||||||||||||||||||||||||||||||||||||||||||||||||||||||||||||||||||||||||||||||||||||||||||||||||||||||||||||||||||||||||||||||||||||||||||||||||||||||||||||||||||||||||||||||||||||||||||||||||||||||||||||||||||||||||||||||||||||||||||||||||||||||||||||||||||||||||||||||||||||||||||||||||||||||||||||||||||||||||||||||||||||||||||||||||||||||||||||||||||||||||||||||||||||||||||||||||||||||||||||||||||||||||||||||||||||||||||||||||||||||||||||||||||||||||||||||||||||||||||||||||||||||||||||||||||||||||||||||||||||||||||||||||||||||||||||||||||||||||||||||||||||||||||||||||||||||||||||||||||||||||||||||||||||||||||||||||||||||||||||||||||||||||||||||||||||||||||||||||||||||||||||||||||||||||||||||||||||||||||||||||||||||||||||||||||||||||||||||||||||||||||||||||||||||||||||||||||||||||||||||||||||||||||||||||||||||||||||||||||||||||||||||||||||||||||||||||||||||||||||||||||||||||||||||||||||||||||||||||||||||||||||||||||||||||||||||||||||||||||||||||||
|
|
(6.1) |
где С - содержание в поливной воде биогенных элементов, мг/л (В, k - см. формулу (2.3)). Расчет допустимой концентрации биогенных элементов приведен в п.2.2.
Расчет ведется по каждому биогенному элементу. За допустимую годовую норму принимается минимальное значение из полученных величин с учетом коэффициента потерь аммиачного азота в процессе полива (при дождевании - 0,85, при поверхностном способе полива - 0,95).
Пример расчета годовой нормы внесения стоков КРС для комплексов на 5000 голов приведен в табл.6.1.
Концентрация биогенных элементов корректируется с учетом их потерь при хранении животноводческих стоков. Потери биогенных элементов при шестимесячном выдерживании в накопителях принимаются: общего азота 15-30%, фосфора 5-15%, калия 5-10% (большие значения принимаются для аридной зоны, меньшие для зон с более влажным климатом).
Обеспеченность почв элементами питания нормируется по содержанию их подвижных форм и принимается по картограммам агрохимических обследований или по данным почвенных изысканий.
Режим орошения разрабатывается с учетом оптимальных сроков полива и разовых норм дробного внесения биогенных веществ с поливной водой, приуроченных к основным фазам развития растений, с учетом применяемой техники полива, т.е. 40-50% оросительной нормы весной в начале вегетации и 2 раза по 25-30% в летнее время.
При назначении сроков полива следует учитывать карантинный период между последним поливом и уборкой урожая. В зависимости от зоны расположения ОССВ карантинный срок должен быть для:
- аридной зоны (пустыни, полупустыни) не менее 8 сут;
- субаридной (степная, лесостепная) не менее 10 сут;
- гумидной (лесолуговая зона) не менее 14 сут.
|
Данные для расчета |
Культура севооборота и номера полей |
||||
|
Однолетние травы с подсевом многолетних трав |
Многолетние травы |
Кукуруза |
|||
|
1,2 |
3 |
4,5 |
6,7 |
8 |
|
|
Планируемый урожай, ц/га |
190 |
250 |
450 |
400 |
400 |
|
Вынос планируемым урожаем кг/га |
|
|
|
|
|
|
N |
53,2 |
100 |
180 |
160 |
160 |
|
Р |
24,7 |
25 |
45 |
40 |
80 |
|
К |
66,5 |
125 |
225 |
200 |
200 |
|
Норма внесения в почву, кг/га |
|
|
|
|
|
|
N |
150,4 |
282,8 |
509 |
452 |
452 |
|
P |
65 3 |
66 1 |
119 |
105,8 |
218 8 |
|
К |
100 |
187,9 |
338,3 |
300,7 |
300,7 |
|
Норма внесения стоков, м3/га |
|
|
|
|
|
|
N |
75 9 |
142,8 |
257 |
228,3 |
228,3 |
|
Р К |
52,8 49,4 |
53,5 92,8 |
96,3 167 |
85,6 148,5 |
171,3 148,5 |
|
Фактическая норма внесения, кг/га |
|
|
|
|
|
|
N |
97,8 |
105,9 |
190,7 |
169,5 |
294 |
|
Р К |
61 100 |
66,1 108,3 |
119 195 |
105,8 173,3 |
183 300,7 |
|
Норма внесения минеральны) удобрений, кг/га |
|
|
|
|
|
|
N P |
52,5 7,3 |
171,9 - |
252 - |
282,5 - |
158 28,6 |
|
К |
- |
79,4 |
143,3 |
127,4 |
- |
Средневзвешенная оросительная норма -
![]()
Ориентировочная площадь утилизации -
![]()
Примечание. 1. Годовой объем стоков W = 69,2 тыс.м3; содержание NPK, кг/м3: CN = 1,98, СР = 1,235, Ск = 1,0258. 2. Данные в рамках - принятая норма внесения животноводческих стоков.
Карантинный срок уточняется в каждом конкретном случае с учетом степени подготовки сточных вод и животноводческих стоков, типа возделываемых культур, способа использования урожая и должен быть согласован с местными центрами санитарно-эпидемиологической службы и государственной службой ветеринарного надзора.
В районах, неблагополучных по тениаринхозу среди населения и финнозу среди крупного рогатого скота, взращиваемые травы должны перерабатываться на травяную (витаминную) муку или закладываться на сенаж с использованием кормов не ранее чем через 3 месяца.
Дефицит водопотребления растений на ОССВ восполняется за счет проведения орошения из дополнительных водоисточников.
Степень разбавления стоков определяется соотношением нормы увлажнительного полива и разовой нормы внесения стоков. При одновременном поливе нескольких сельскохозяйственных культур степень разбавления принимается по наименьшей из рассчитанных по отдельным культурам. Недололив остальных культур восполняется впоследствии дополнительными или плановыми поливами.
В целях совмещения удобрительных и увлажнительных поливов допускается изменение сроков удобрительных поливов на 5-7 дней при благоприятной предполивной влажности почвы.
В зонах избыточного увлажнения при использовании животноводческих стоков на дренированных землях рекомендуется проектировать водооборотные системы.
Поверхностный и дренажный стоки (возвратные воды) таких систем аккумулируются в накопителях и затем используются на орошение в засушливое время для разбавления сточных вод или на хозяйственные нужды.
Избыток возвратных вод следует направлять:
- на орошение дополнительных резервных площадей за пределами водосборной территории, включенной в систему водооборота;
- на доочистку в сооружениях естественной биологической очистки воды (пруды, биоплато и т.д.);
- на сброс в водоисточник при качестве воды, отвечающем экологическим требованиям.
Площадь резервных полей определяется объемами возвратных вод с ОССВ, остающихся в накопителях не использованными к концу вегетационного периода.
Объем накопителя возвратных вод рассчитывается на аккумулирование стока в поливной период с учетом водозабора из него на орошение основных и резервных площадей. За расчетный принимается влажный год с 5%-ной обеспеченностью.
Разбавление животноводческих стоков и сточных вод с высокой концентрацией биогенных элементов оросительной водой должно производиться в узлах смешивания. Выбор конструкции узла смешивания определяется в зависимости от расчетных параметров оросительной сети, степени разбавления стоков, рельефа территории орошаемого участка, взаимного плана - высотного расположения накопителя стоков, мелиоративной насосной станции, места смешивания.
На оросительных системах с использованием животноводческих стоков узлы смешивания устраиваются:
- в напорном трубопроводе мелиоративной насосной станции с применением эжектора;
- в напорном трубопроводе мелиоративной насосной станции с подачей стоков и оросительной воды отдельными насосами;
- во всасывающем трубопроводе мелиоративной насосной станции;
- в специальной смесительной камере.
Смесительную камеру рекомендуется размещать на повышенном участке местности для установки насосов станции подачи смеси под залив и максимального удаления ее дна от уровня грунтовых вод. Камеру устраивают 2-3-х секционной в виде открытого резервуара прямоугольной формы сборно-монолитной или монолитной железобетонной конструкции. Минимальный объем камеры принимается из расчета максимальной производительности насосной станции в течение одного часа. При устройстве камеры в насыпи предусматриваются противофильтрационные устройства. Глубина камеры должна быть не более 3...4 м. Для равномерного перемешивания стоков с водой в камере следует устраивать направляющие стенки, выпускные трубы полы и стоков заводить в камеру сверху и заканчивать у днища, применять перфорированные трубы, укладываемые по дну смесителя. Оптимальное перемешивание и предотвращение заиления камеры достигается подачей стоков к месту всасывания насосных агрегатов станции подачи смеси. Для обеспечения нормальной работы всасывающей линии следует обустроить бетонированный приямок. Днище камеры выполняется с уклоном не менее 0,03 к приямку.
Следует предусматривать периодическое опорожнение и промывку камеры, удаление осадка из нее самотечным, гидромеханическим (с помощью погружных насосов) или механизированным путем. Самотечное удаление осадка надлежит осуществлять под гидростатическим напором не менее 1,2 м.
Эжектирование стоков проводится при следующих условиях:
- коэффициент эжекции a (степень разбавления стоков водой) не должен быть меньше 0,1 (1:10);
- минимальный расход при поливе стоками не должен быть меньше половины расчетного расхода оросительной сети;
- если за эжектором не требуется напор более 60 м.
Эжекторы следует применять на низконапорных оросительных системах и при реконструкции существующих систем с природной водой для их многоцелевого применения (утилизации стоков).
При размещении мелиоративной насосной станции рядом с накопителем смешивание стоков с водой возможно производить во всасывающих водоводах с помощью сифона и эжектора.
Узел смешивания в этом случае проектируется следующим образом:
- подача стоков из накопителя к месту смешивания осуществляется сифонами (донный забор стоков из-за опасности заиления трубопроводов исключается), глубина накопителя не должна превышать 4,5 м;
- накопитель выполняется в насыпи или в полунасыпи - полувыемке, а резервуар поливной воды в выемке, минимальный уровень стоков должен превышать максимальный уровень воды не менее чем на 1 м;
- всасывающий конец сифона оборудуется шарнирным или гибким трубопроводом с фильтром для возможности копирования уровня стоков, а другая концевая часть сифона вводится во всасывающий трубопровод непосредственно в воду;
- для зарядки сифона с помощью эжектора и промывки фильтров к нему подводится рабочая жидкость, подаваемая из напорного трубопровода насосной станции или оросительной сети;
- количество сифонов должно соответствовать числу основных насосных агрегатов;
- узел смешивания оборудуется приборами, которые при запуске насосного агрегата автоматически запускают соответствующий ему сифон.
При использовании сифонов рекомендуется интервальная подача стоков и воды в оросительную сеть, когда сифон подает стоки импульсами определенной продолжительности.
Для импульсного ввода сифоны дополнительно оборудуются клапанами срыва вакуума или другими устройствами, периодически прекращающими подачу стоков, и программатором, который управляет этими клапанами согласно заданной программе.
Программа задается оператором в начале смены установкой на таймерах времени ввода стоков (импульс) tнс и паузы между импульсами (полив водой) tнв; значения импульсов tнс и tнв приведены в табл.6.2.
При создании импульсов срывов вакуума перерыв между импульсами стоков (tнв) включает в себя время на зарядку сифона t3 , определяемое по формуле
|
|
(6.2) |
где Lc и dc - длина и диаметр сифона, м;
Vстp - скорость вылета струи рабочей жидкости из сопла эжектора, м/с;
h - толщина кольца воздуха, увлекаемого струей в эжекторе, м; h = 0,003...0,004;
d0 - диаметр сопла эжектора, м.
На таймере устанавливают время tив1 = - t3, причем t3 не должно превышать 4 мин.
|
Норма полива, м3/га |
Концентрация общего азота в стоках накопителя, % |
||||||
|
0,06 |
0,08 |
0,10 |
0,12 |
0,15 |
0,18 |
0,20 |
|
|
200 |
- |
- |
- |
- |
- |
6/16 |
6/12 |
|
250 |
- |
- |
- |
- |
6/14 |
6/8 |
6/6 |
|
300 |
- |
- |
- |
6/16 |
6/8 |
6/6 |
6/4 |
|
350 |
- |
- |
6/18 |
6/10 |
6/6 |
8/6 |
10/6 |
|
400 |
- |
6/24 |
6/12 |
8/10 |
8/6 |
10/6 |
14/6 |
|
450 |
- |
6/16 |
8/10 |
10/10 |
12/8 |
14/8 |
18/8 |
|
500 |
|
8/14 |
10/10 |
10/8 |
14/8 |
18/8 |
18/6 |
|
550 |
6/20 |
8/10 |
10/8 |
10/6 |
16/8 |
18/6 |
20/6 |
|
600 |
6/16 |
8/8 |
10/8 |
12/6 |
16/6 |
20/6 |
22/6 |
|
650 |
6/12 |
10/10 |
10/6 |
14/6 |
18/6 |
20/6 |
22/6 |
|
700 |
6/10 |
10/8 |
10/6 |
18/8 |
20/6 |
22/6 |
22/6 |
|
800 |
8/10 |
10/6 |
14/6 |
18/8 |
20/6 |
- |
- |
Основные параметры сифона определяются по следующим формулам:
|
|
(6.3) |
|
h вак.доп.>h вак.max=Z max +ζобщVc2/2g |
(6.4) |
|
|
(6.5) |
где: Vc, Qc1 - соответственно скорость и расход стоков в одном сифоне м/с и м3/с (см. табл. 6.4);
Qc - расход стоков сифонами узла, м', (см. табл. 6.3);
N - число сифонов, шт.;
ΔН - минимальная разница уровнях воды и стоков, м;
ζф ,ζкол, ζвых,- коэффициенты местного сопротивления фильтра, изгибов трубопровода и ввода стоков во всасывающий трубопровод;
λ - коэффициент линейного трения трубопровода сифона;
hвак.доп, - допустимое значение вакуума при использовании сифонов, м (<7...8);
hвак.maх- максимальное значишь вакуума высшей точке сифона, м;
Zmiu - расстояние между высшей точкой сифона и минимальным уровнем стоков в накопителе или воды в резервуаре, м;
ζобш - суммарный коэффициент сопротивления линии фильтра до наивысшей точки сифона.
|
dc, мм |
Qc1, л/с |
|
|
min |
max |
|
|
150 200 250 300 |
30 55 95 140 |
50 70 120 180 |
|
Тип комплекса, поголовье, тыс.гол |
Общий расход сифонного узла, л/с |
|
1. Откорм свиней |
|
|
12 |
50 |
|
27 |
90 |
|
54 |
220 |
|
108 |
430 |
|
2. Крупный рогатый скот |
|
|
нетели |
|
|
3 |
70 |
|
6 |
120 |
|
производство говядины |
|
|
3 |
90 |
|
5 |
150 |
|
10 |
230 |
|
20 |
500 |
|
молочные коровы |
|
|
1,2 |
90 |
|
1,8 |
100 |
|
2,0 |
130 |
Объем прудов-накопителей сточных вод следует рассчитывать на основании баланса поступления и потребления сточных вод на орошение с учетом испарения, а также возможного поступления паводковых и ливневых вод.
Расчетный срок для определения объема накопителей многолетнего регулирования должен составлять не менее 20 лет с рассмотрением баланса стоков в каждом году.
Объем сезонного накопителя определяется условиями внутригодового регулирования работы оросительной системы по расчетному среднесухому году (75%-ной обеспеченности).
Накопители следует проектировать двух-четырехсекционными.
Для предупреждения фильтрации сточных вод из прудов-накопителей и регулирующих емкостей предусматриваются противофильтрационные мероприятия. Накопители животноводческих стоков следует проектировать в соответствии с ОНТП 17-86. Объем накопителя рассчитывается из условия аккумулирования стоков во внеполивной период за 6-8 месяцев.
Типичные технологические схемы подготовки и использования сточных вод и животноводческих стоков для орошения приведены на рис.6.1-6.6.

Рис.6.1. Использование на орошение сточных вод городов и малых
населенных пунктов.
Сплошной линией показана схема круглогодового использования сточных
вод; пунктирной - схема с использованием сточных вод
только в вегетационный период.

Рис.6.2. Использование на орошение сточных вод
предприятий пищевой промышленности.
Сплошной
линией показана схема круглогодового поступления и использования сточных вод;
пунктирной – схема с сезонным поступлением и (или) использованием сточных вод.
.
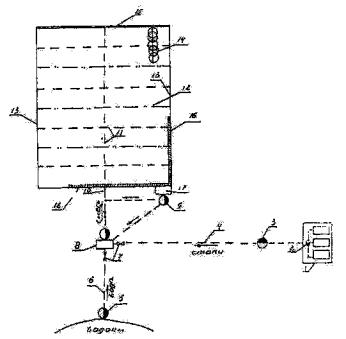
Рис. 6.3. Схема оросительной системы с круглогодовым
использованием сточных вод НИИССВ «Прогресс»:
1 -
насосные станции подачи сточных вод; 2 - напорные трубопроводы сточных вод; 3 -
закрытые оросительные сети; 4 - каналы и открытые коллекторы; 5 - закрытая дренажная
сеть; 6 - БОКС-пруды; 7 - отстойники; 8 - гидранты; 9 – резервная площадка с
поливам по чекам; 10 -регулирующая емкость дренажных вод; 11 - насосная станция
перекачки дренажных вод; 12 - транспортирующий трубопровод дренажных вод; 13 -
ботаническая площадка (биоплато); 14 – накопитель дренажного стока; 15 -граница
массива орошения.
.
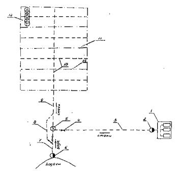
Рис. 6.4. Технологическая схема
оросительной системы с использованием сточных вод высокой удобрительной
ценности и животноводческих стоков:
1 - накопитель сточных вод; 2 - насосная станция сточных
вод; 3 - напорный трубопровод сточных вод; 4 - насосная станция чистой воды; 5
- узел смешивания сточных вод с водой (смеситель, приемный резервуар насосной
станции, всасывающий трубопровод); 6 - мелиоративная насосная станция; 7 -
обводной трубопровод; 8 - задвижка; 9 - оросительная сеть; 10 - поля орошения

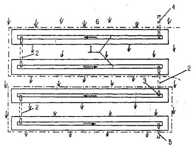
Рис. 6.5. Технологическая схема с повторным
использованием поверхностного и дренажного стока:
1 -
прифермское (полевое) навозохранилище; 2 - фекальная насосная станция; 3 -
насосная станция животноводческих стоков ; 4 -трубопровод подачи стоков; 5 -
насосная станция природной воды; 6 - напорный трубопровод природной воды; 7
-задвижка; 8 - смесительная камера; 9 - насосная станция подачи сбросных вод
(поверхностного и дренажного стока); 10 - напорный трубопровод смеси; 11 -
оросительная сеть; 12 - граница полей севооборота; 13 - закрытий дренажный
коллектор; 14 - дождевальная установка; 15- нагорный канал; 16 – сбросной канал
(коллектор); 17 – накопитель сбросных вод.
.
Рис. 6.6. Технологическая схема при подаче
животноводческих стоков в оросительную сеть через эжектор:
1 - накопитель стоков; 2 - насосная станция; 3 - напорный
трубопровод; 4 - задвижка; 5 - эжектор; 6 - насосная станция природной воды; 7
- трубопровод воды; 8 -обводной трубопровод природной воды; 9 - напорный
трубопровод смеси; 10 - оросительная сеть; 11 - массив орошения; 12 -
дождевальная установка; 13 - граница полей севооборота.
Проектирование техники полива и оросительной сети должно осуществляться в соответствии с СНиП 2.06.03-85 «Мелиоративные системы и сооружения», ВНТП, санитарно-гигиеническими и природоохранными требованиями.
При выборе способов и техники полива необходимо учитывать принятую технологическую схему использования сточных вод, рельеф, почвенные и гидрогеологические условия участков, содержание и размер взвешенных веществ в сточных водах, регламентируемые техническими условиями поливной и дождевальной техники.
При использовании сточных вод следует применять дождевание, поверхностный полив (по бороздам, полисам, затоплением чеков) и внутрипочвенное орошение.
При круглогодовом орошении и на резервных площадках применяются поверхностные способы орошения:
- по проточным бороздам для пропашных культур;
- по "засеваемым" бороздам и полосам для культур сплошного сева, в том числе многолетних трав;
- затоплением чеков.
При соответствующем технико-экономическом и экологическом обосновании на системах круглогодового орошения возможно проведение комбинированных поливов дождеванием в вегетационный период, поверхностным способом во вневегетационный период.
Внесение животноводческих стоков и сточных вод пищевой промышленности с высоким содержанием биогенных элементов рекомендуется осуществлять специальными дождевальными машинами и установками, а также поливом при вспашке. При их использовании в разбавленном виде в аридной зоне допускается применение техники полива по бороздам.
Применение в проектах перспективных машин и аппаратов должно быть согласовано с заказчиком и органами, утверждающими проектно-сметную документацию.
Элементы техники полива при поливе пропашных культур очищенными сточными водами и подготовленными животноводческими стоками по бороздам рассчитываются так же, как и при поливе природной водой.
Элементы техники полива затоплением чеков аналогичны таковым же на системах с природными водами. Валики чеков следует выполнять высотой 0,5 м с пологими откосами (1:6-1:10), доступными для прохождения сельскохозяйственной техники.
При поверхностных способах полива сбросные воды должны собираться и направляться на повторное орошение или для доочистки на буферные площадки, в биопруды и другие сооружения. Для сокращения объемов сбросной воды при поливе по бороздам рекомендуется проводить поливы переменной струей или дискретные поливы.
Расположение внутрихозяйственной оросительной сети и гидрантов не имеет принципиальных отличий от их расположения на оросительных системах с использованием природной воды.
Оросительная сеть должна быть закрытой, стационарной, тупиковой. Допускается транспортирование животноводческих стоков и сточных вод открытыми каналами в бетонной облицовке или лотках при поверхностных способах полива на водооборотных системах (с повторным использованием сбросных вод на орошение).Временная сеть допускается для полива резервных территорий и небольших систем площадью до 100 га.
При орошении дождеванием проектирование закрытой оросительной сети и сооружений на ней выполняется с учетом положений пособий «Проектирование внутрихозяйственной оросительной сети для дождевальных машин "Фрегат", "Волжанка", "Днепр"», «Применение гидротехнической трубопроводной арматуры на внутрихозяйственной оросительной сети» и технических характеристик применяемой поливной техники (см. табл. 7.1.).
Расстояние между гидрантами на оросительных трубопроводах при орошении животноводческими стоками с помощью широкозахватных дождевальных машин принимается для ДКН-80 равным 27 м, ДМУ-Асс "Фрегат" двойной длине машины, ДП-30С - 50...80 м. При поливах животноводческими стоками влажностью менее 99% для дальнеструйных машин и аппаратов следует учитывать сокращение радиуса полива до 10% от минимального.
Системы с применением дождевальных машин и аппаратов следует размещать по отношению к жилой застройке с подветренной стороны господствующего направления ветра в вегетационный период.
При круглогодовом орошении глубину заложения трубопроводов следует принимать не менее 0,9 м и уточнять теплотехническими расчетами, методика проведения которых представлена ниже.
|
Показатели |
Короткоструйный ДДА-100МА |
Среднеструйные |
||
|
ДКШ-64 "Волжанка" |
ДКН-80 |
ДФС-120 "Днепр" |
||
|
Количество модификаций |
1 |
6 |
3 |
5 |
|
Привод машин |
от трактора |
механический |
механический |
электрический |
|
Принцип водораспределения |
в движении фронтально |
позиционно-фронтальный |
позиционно-фронтальный |
позиционно-фронтальный |
|
Расход, л/с |
130 |
24-64 |
60-91,2 |
92-120 |
|
Давление на гидранте, МПа |
канал |
0,36-0,42 |
0,47-0,55 |
0,45-0,50 |
|
Средняя интенсивность дождя, мм/мин |
2,4 |
0,27 |
0,34 |
0,30 |
|
Ширина захвата, м |
120 |
300-800 |
400-600 |
352-460 |
|
Расстояние между гидрантами или длина бьефа в канале, м |
100-500 |
18 |
27 |
54 |
|
Допустимый общий уклон поля (по длине машины), % |
0,3 |
2 |
2 |
2 |
|
Взвешенные вещества поливной воды: |
|
|
|
|
|
допустимый размер, мм |
1 |
1 |
10 |
1,5 |
|
допустимая концентрация, г/л |
5 |
5 |
20 |
5 |
|
Площадь полива на позиции (гоне), га |
1,2-6,0 |
0,5-1,4 |
1,1-1,6 |
1,9-2,5 |
|
Производительность за час чистой работы |
1,6 |
0,3-0,8 |
0,7-1,1 |
1,1-1,4 |
|
при поливе нормой 300 м /га |
|
|
|
|
|
Количество машин на 1 оператора |
1 |
2 |
2 |
2-4 |
|
Коэффициент готовности |
0,94 |
0,956 |
0,96 |
0,956 |
|
Допустимая скорость ветра, м/с |
5 |
5 |
5 |
5 |
Продолжение табл.7.1
|
Показатели |
Среднеструйные |
Дальнеструиныые |
||
|
ДМУ "Фрегат" |
ДМУ-Асс "Фрегат" |
ДДН-70 |
ДДН-100С |
|
|
Количество модификаций |
22 |
5 |
3 |
3 |
|
Привод машин |
гидравлический |
гидравлический |
от трактора |
от трактора |
|
Принцип водораспределения |
в движении по кругу |
в движении по кругу |
позиционно по кругу (сектору) |
позиционно по кругу (сектору) |
|
Расход, л/с |
50-90 |
30-58 |
37-65 |
85-115 |
|
Давление на гидранте, МПа |
0,46-0,65 |
0,48-0,57 |
0,05 |
0,05 |
|
Средняя интенсивность дождя, мм/мин |
0,19-0,30 |
0,33 |
0,4 |
0,36-0,70 |
|
Ширина захвата, м |
211-582 |
314-447 |
100 |
100-120 |
|
Расстояние между гидрантами |
- |
- |
120 |
100-120 |
|
или длина бьефа в канале, м |
|
|
|
|
|
Допустимый общий уклон поля (по длине машины), % |
3-5 |
2,4-3,5 |
2 (при заборе из трубопровода ) |
2 |
|
Взвешенные вещества поливной воды: |
|
|
9 |
10 |
|
допустимый размер, мм |
1 |
2,5 |
10 |
10 |
|
допустимая концентрация, г/л |
5 |
10 |
20 |
20 |
|
Площадь полива на позиции (гоне), га |
16-111 |
29,8-61,2 |
0,9 |
1,4-1,8 |
|
Производительность за час чистой работы |
1,-1.2 |
0,4-0,7 |
0,78 |
1,2 |
|
при поливе нормой 300 м3/га |
|
|
|
|
|
Количество машин на 1 оператора |
3-4 |
4 |
1 |
1 |
|
Коэффициент готовности |
0,96 |
0,96 |
0,99 |
0.968 |
|
Допустимая скорость ветра, м/с |
5 |
3 |
3 |
3 |
При проектировании оросительной системы с круглогодовым режимом работы для обеспечения сохранности трубчатой сети в зимний период необходимо проводить теплотехнические расчеты для определения глубины заложения труб.
1. По начальной температуре сточных вод на канализационной насосной станции определяют конечную их температуру в конце трубопровода по формуле
Тк=(Тн-Тгр)еφ + Тгр,
где Тк - температура сточных вод в конце трубопровода, °С;
Тн - температура сточных вод в канализационной насосной станции (в начале магистрального трубопровода), °С;
Тгр - температура грунта на уровне оси трубопровода в естественных условиях, °С;
![]()
L - протяженность трубопровода, м;
q - расход воды, л/ч;
R - полное термическое сопротивление теплопередаче, м ч °С/ккал.

где D, d - наружный и внутренний диаметры трубопровода, м;
λгр, λгр - коэффициенты теплопроводности трубы и грунта, ккал/(м ч °С);
Н - глубина заложения трубопровода, м.
На Европейской части РФ глубина заложения трубчатой сети на ЗПО принимается обычно равной 0,9-1,1 м. Если при данной глубине заложения трубчатой сети конечная температура сточных вод получается отрицательной (при расчете по вышеуказанной формуле), то необходимо увеличить глубину заложения труб.
2. При обеспечении безопасности трубопроводов в период прекращения движения сточных вод время допустимой их остановки рассчитывается по формуле Аронова-Новикова
![]()
где Tдоп - время остановки движения сточных под, ч;
К = 1,1 коэффициент, учитывающий охлаждение талого грунта до начала замерзания почвенной влаги;
n - объемная влажность грунта, %;
Dтал - диаметр талика, м;
![]()
здесь λм - коэффициент теплопроводности мерзлого грунта, ккал/(м ч °С);
Тг - температура грунта, °С;
λт коэффициент теплопроводности талого грунта, ккал/(м н °С);
Ттр - температура поверхности трубопровода, °С;
m = 1,5 - коэффициент, учитывающий неравномерность промерзания талика.
При периодической подаче сточных вод в оросительную сеть период прекращения подачи воды в трубопроводы не должен превышать допустимое время остановки движения воды Тдоп.
При орошении в зимний период следует предусматривать утепление гидрантов и их опорожнение от воды после прекращения полива, а в пучинистых грунтах предусматривать противопучинистые мероприятия.
Расчет трубопроводов оросительной сети, включая прочностные и гидравлические параметры, проводится аналогично расчетам трубопроводов для подачи природной воды.
Трубопроводы закрытой оросительной сети могут проектироваться из железобетонных, асбестоцементных, пластмассовых, чугунных, алюминиевых и стальных труб. В случае необходимости в проектах следует предусматривать защитные покрытия асбестоцементных труб в зависимости от степени агрессивности среды (по данным ВНИИПроектасбестцемент). Защиту стальных и железобетонных труб от коррозии, вызываемой блуждающими токами и воздействием хлор-иона почвы, следует проектировать в соответствии с ГОСТ 2.602-89.
Допускается применять стальные электросварные трубы при надлежащем обосновании (ГОСТ 10704-76 и ГОСТ 3396-74) с усиленной внешней изоляцией и дополнительным внутренним антикоррозионным покрытием.
Не допускается применение на ОССВ железобетонных труб со стальным сердечником марок "РТНС", "РТНГ", "ТГС" при концентрации сульфат-ионов в сточных водах и животноводческих стоках более 300 мг/л и хлор-ионов более 500 мг/л; асбестоцементных труб - при рН 5,5 и ниже, бикарбонатной щелочности менее 0,35 мг-экв/л, содержании СО2 более 25 мг/л, ионов магния более 2000 мг/л, сульфат-ионов более 1600 мг/л.
Для проведения поверхностных поливов следует применять поливные трубопроводы, в частности гибкие поливные трубопроводы в виде капроновых шлангов длиной до 120 м, диаметром 200...300 мм и поливными отверстиями (клапанами) через 700 мм. Для механизации раскладки и сборки гибких трубопроводов предусматриваются передвижные агрегаты типа ППА с намоточным устройством.
В проектах следует предусматривать возможность опорожнения оросительной сети через двухкамерные опоражнивающие колодцы. Сточная вода из колодцев должна направляться на буферные или резервные площадки и в регулирующие емкости самотеком или механической откачкой. Уклон трубопроводов самотечного выпуска должен быть не менее 0,002.
На оросительной сети следует предусматривать устройства для внесения минеральных удобрений с поливной водой - гидроподкормщики.
Внутрипочвенное орошение (ВПО) - способ полива, при котором с помощью устраиваемой в почве закрытые сети трубчатых или кротовых увлажнителей подготовленные сточные воды и животноводческие стоки подаются в корнеобитаемый слой и под действием капиллярных сил распределяются в нем.
Система ВПО с использованием подготовленных сточных вод и животноводческих стоков позволяет достигнуть высокой степени их почвенной очистки и доочистки, полностью исключить контакт с ними человека, животных и наземной части растений, сократить санитарно-защитные зоны (по сравнению с дождеванием), регулировать водно-воздушный и пищевой режим почвы, повышать урожайность сельскохозяйственных культур.
Особенно эффективно устройство ВПО для использования сточных вод небольших населенных пунктов предприятий.
Проектирование систем ВПО должно выполняться соответствии с требованиями СНиП 2.06.03-85 и методических указаний «Проектирование систем внутрипочвенного орошения с использованием природной воды, подготовленных сточных вод животноводческих комплексов, городов, населенных пунктов, промышленных предприятий», М., 1989.
Под строительство систем ВПО следует отводить территории с незаселенными и несолонцеватыми почвам; имеющими легкий, средний и тяжелый механический состав, со скоростью капиллярного поднятия не менее 0,5 мм/мин. Строительство систем ВПО рекомендуется при глубине залегания грунтовых вод не менее 2,5 м от поверхности земли. При этом следует составлять прогнозы водно-солевого режима территории и при необходимости предусматривать соответствующие природоохранные и гидромелиоративные мероприятия. Рельеф участка должен быть спокойным с общим уклоном не более 0,01. При сложном микрорельефе следует предусматривать планировку участка под топографическую поверхность или под наклонную плоскость. При благоприятном рельефе местности планировка производится выборочно.
Для систем ВПО с полиэтиленовыми увлажнителями размер твердых частиц не должен превышать 1 мм, а мутность сточных вод не более 0,04 г/л. Для систем ВПО с кротовыми увлажнителями (в дальнейшем КВПО) количество взвешенных частиц должно составлять 0,6-1,0 г/л, а их размер не превышать 2 мм.
Поливным участком является орошаемая площадь, подвешенная к одному оросителю (до 6,25 га). Несколько поливных участков образуют модульный участок (15-20 га), несколько модульных участков составляют поле севооборота (рис.7.1).
Оросительную сеть следует проектировать тупиковой. Допускается применение кольцевой сети при должном технико-экономическом обосновании. Оросительные трубопроводы следует проектировать с допустимыми уклонами ±0,001-0,005 (оптимальный 0,001). Длина оросительного трубопровода составляет не более 250 м. Увлажнительная сеть должна выполняться из гладких полиэтиленовых труб диаметром 20-40 мм. Оптимальный уклон по длине увлажнителей составляет 0,001-0,004.
При поливе многолетних культур перфорацию увлажнителей следует защищать от забивки корнями растений фильтром из стеклоткани, капроновой ткани, полиэтиленовой пленкой или их комбинаций.
Для опорожнения и промывки увлажнительной сети следует проектировать водосборно-сборную (промывную) сеть, которая выполняется из асбестоцементных или полиэтиленовых труб диаметром не менее 100 мм, с глубиной заложения их в почву не менее 0,5 м. Водосборно-сборные трубопроводы необходимо оборудовать колодцами ("сухой" и "мокрый"). Откачка сточных и промывных вод из "мокрого колодца" осуществляется с помощью дождевальных машин и распределяется на участке.

Рис. 7.1. Схема модульного участка
внутрипочвенного орошения площадью 45 га.
Условные
обозначения: 1 - водозаборное сооружение; 2 - насосная станция; 3
-распределительный трубопровод 1 порядка; 4 -распределительный колодец; 5 -
распределительный трубопровод II порядка; 6 -
оросительный трубопровод; 7 -увлажнители полиэтиленовые; 8 -
водосборно-сбросной .трубопровод; 9 - колодец-регулятор; 10 - колодец с
диафрагменным регулятором модуля; 11 - сбросной колодец; 12
- граница поливного участка; 13 - граница поливного модуля; 14 - дороги полевые
и эксплуатационные; 15 - лесополосы; 16 - модульный участок; (1) – (10) -номера
поливных участков площадью 4,5 га.
Системы КВПО могут использоваться, если в подготовленных сточных водах размер твердых частиц не превышает 3,0 мм, количество взвешенных веществ - 1 г/л.
Система КВПО имеет модульные участки площадью 80-144 га (рис.7.2), которые состоят из 38-40 поливных участков площадью 2-3 га. В пределах модуля можно одновременно поливать 3-4 участка.

Рис. 7.2. Схема модульного участка
кротово-внутрипочвенного орошения.
Условные
обозначения: 1 - напорный трубопровод; 2 - головной колодец; 3 - распределитель
высшего порядка; 4 -колодец переключения; 5 - распределитель низшего порядка; 6
- колодец с регулятором уровня; 7 - контрольно-вентиляционный стояк; 8 -
оросительный трубопровод с пористой засыпкой; 9 - кротовые увлажнители; 10 -
пьезометры; 11 - номер поливного участка; 12 -граница модульного участка; 13 -
граница-поливного участка; 14 - дороги полевые; 15 - блок модульного участка;
16 - промывные колодцы; (1) – (10) - номера поливных
участков.
Поливная сеть состоит из оросительных трубопроводов с пористой засыпкой в кротовых увлажнителях. Ороситель укладывается в траншею, облицованную по периметру полиэтиленовой пленкой.
Оросительный трубопровод следует изготавливать на асбестоцементных или полиэтиленовых труб. В верхней части труб устраиваются водовыпуски в виде круглых отверстий. Расстояние между ними должно соответствовать половине расстояния между кротовыми увлажнителями.
Оросительные трубопроводы прокладывают на глубине 0,65 м (до верха трубы) от поверхности почвы. Оптимальные уклоны составляют 0,0001- 0,0004, допустимые – 0 - 0,001.
Расстояние между соседними концами оросителей 2-3 м. На этом участке нарезают кротовые увлажнители на глубине 0,5-0.65 м и с расстоянием между ними 0,5 м. Увлажнители служат для разгрузки концевых частей оросителей.
Сопряжение оросительного трубопровода с кротовыми увлажнителями осуществляется через пористую засыпку (рис.7.3). В качестве пористой засыпки следует использовать щебень, гравий или керамзит размером фракции 3-5 см. Мощность слоя пористой засыпки над оросительным трубопроводом не должна превышать 0,25-0,30 м. Расход пористой засыпки зависит от принятого по гидравлическому расчету диаметра оросительного трубопровода и ширины открытой траншеи и составляет не менее 0,05-0,12 м3 на 1 м оросительного трубопровода.
Для гашения напора и предотвращения выклинивания сточных вод на поверхность почвы необходимо:
- водовыпуски оросительных трубопроводов прикрывать колпачками;
- сверху пористой засыпки устраивать слой дресвы (щебень, гравий или керамзит размером фракций 0,6-2,0 см) мощностью 5-7 см;
- под оросительный трубопровод и по периметру пористой засыпки и дресвы укладывать слой полиэтиленовой пленки;
- сверху полиэтиленовую пленку засыпать растительным слоем мощностью 0,3 м, плотность которого должна доводиться до естественной.

Рис. 7.3. Поперечный разрез
траншеи с оросительным трубопроводом и пористой засыпкой.
Условные
обозначения: 1 - почвенная засыпка; 2 -полиэтиленовая пленка ABCD; 3 - дресва; 4 - кротовый
увлажнитель; 5 - пористая засыпка; 6 - колпачок водовыпуска; 7 - оросительный
трубопровод; 8 - фунтовая забивка пазух (глина). Размеры даны в см.

Рис. 7.4. Схема
расположения оросительной сети и кротовых увлажнителей при неблагоприятных
уклонах.
Условные
обозначения: 1 - распределительный трубопровод; 2 - колодец переключения; 3 -
колодец с регулятором уровня; 4 - ось оросительного трубопровода; 5 - кротовые
увлажнители.
Нарезка кротовых увлажнителей производится одновременно с их закреплением диаметром крепителя на глубине 0,4-0,5 м. Расстояние между кротовыми увлажнителями определяется из условия смыкания контуров увлажнения и в зависимости от способа нарезки увлажнителей может составлять 0,8-1,2 м. Оптимальными уклонами нарезки кротовых увлажнителей диаметром 80 мм являются 0,003-0,006, допустимыми уклонами 0,001-0,02.
При неблагоприятных уклонах ось оросительного трубопровода с пористой засыпкой в плане может быть ломаной. В этом случае угол поворота не должен превышать 30° (рис.7.4).
Для закрепления кротовых увлажнителей используется полимерный крепитель (раствор полимера с водой). Для приготовления крепителя следует использовать полимеры препарат К-9 или полиакриламид. Расход крепителя зависит от фактической влажности почвы. Расход полимерного крепителя на закрепление кротовых увлажнителей длиной 1,0 м составляет при влажности 50-80% НВ 1,0-1,5 л; при влажности 80-95% НВ 0,3-1,5 л.
Концентрация раствора полимера при устройстве кротовых увлажнителей на тяжелосуглинистых и глинистых почвах представлена ниже.
|
Полимер |
Исходная влажность полуметрового слоя почвы, % НВ |
||
|
50-65 |
65-80 |
80-90 |
|
|
Полиакриламид К-9 |
1,5-2,0 5,0-6,0 |
1,0-1,5 4,0-5,0 |
1,0-1,5 3,0-4,0 |
Для промывки и опорожнения распределительной сети в ее конце на каждом блоке модуля располагают промывной колодец. Сточные вод из промывных колодцев следует использовать в пределах системы КВГЮ без сброса за пределы полей орошения при помощи дождевальной техники ДДН-70, ДЦН-100, ДДН-10С, ДД-30, ДД-50, ДД-80.
Полив при вспашке применяется для внесения животноводческих стоков и сточных вод с высокой концентрацией биогенных элементов при отсутствии или дефиците воды на разбавление стоков, под линиями электропередачи, на участках сложной конфигурации. Расчет элементов техники и норм полива при вспашке следует выполнять в соответствии с «Рекомендациями по технологии полива при вспашке навозными стоками и сточными водами», М., 1987 г.
По составу сооружений, методам проектирования и строительства и по технологии внесения влаги и биогенных веществ в почву системы с поливом при вспашке следует относить к мелиоративным системам для удобрительных поливов и утилизации сточных вод.
Специализированная мелиоративная система для полива при вспашке состоит из накопителя сточных вод, насосной станции, транспортирующей и распределительной сети с арматурой, поливного участка и выводных борозд. Полив при вспашке осуществляется гусеничным трактором с навесным плугом. Полив при вспашке - способ внесения поливной жидкости в почву одновременно с пахотой. Сущность способа полива при вспашке заключается в том, что при пересечении выводной борозды плугом поливная жидкость направляется автоматически в плужную борозду. При последующем проходе плуга она запахивается и процесс повторяется. На рис.7.5 представлены технологические схемы полива при вспашке: а) полив при вспашке навстречу потоку жидкости в плужной борозде; б) полив при вспашке по направлению потока; в) внесение поливной жидкости из одной или нескольких выводных борозд па загоне пахоты.
Данный способ целесообразно применять для запахивания активного ила сточных вод (при искусственной биологической очистке) и неразделенных сточных вод предприятий пищевой промышленности (крахмало-паточных, гидролизных, сахарных и других).
Полив при вспашке обеспечивает надежность и равномерность распределения биогенных веществ по поливному участку и позволяет утилизировать жидкость с большим содержанием взвешенных веществ (до 60 г/л) и влажностью более 92%, а также запахивать ее в почву на глубину до 30 см. При этом не загрязняются сельскохозяйственные растения и создается санитарно-защитная зона как и при внутрипочвенном способе полива.
Полив при вспашке можно применять на различных типах почв, а также на дренированных землях. Технология данного способа полива позволяет вносить животноводческие стоки на участках с пересеченным рельефом и уклоном до 0,04, непригодных для других способов полива.
Полив осуществляется в агротехнические сроки проведения предпосевной, зяблевой, паровой и другой пахоты.
Гидранты и водовыпуски на распределительной сети устраиваются по командным точкам поливного участка.

Рис. 7.5. Технологические схемы полива при вспашке.
Условные обозначения: 1 -
оросительная сеть с водовыпуском; 2 - выводная борозда с указанием направления
тока; 3 - граница загона пахоты; 4 -направление пахоты; 5 - направление
холостого хода трактора.
Расчетную годовую удобрительную норму животноводческих стоков вносят, как правило, за один прием. В связи с увеличением потерь биогенных веществ в зимний период норму осеннего удобрительного полива можно увеличить на 20-50% в зависимости от фильтрационных свойств почвы и величины атмосферных осадков в вегетационный период. Под многолетние травы (при перезаложении) допускается вносить двух-трех годовую норму осадка сточных вод за один прием.
Для полива при вспашке рекомендуется применять севооборот с составом сельскохозяйственных культур, которые позволяют проводить полив данным способом в течение всего теплого периода года. Сроки полива назначаются по мере освобождения полей от сельскохозяйственных культур.
Поля севооборота разбиваются на загоны пахоты в зависимости от конфигурации поля, рельефа местности, почвенных условий. На каждом загоне применяется соответствующая схема нарезки выводных борозд. Пахота, а следовательно, и нарезка плужной борозды выполняется в направлении основного уклона. На участках с уклоном выше 0,02 пахота проводится под углом к основному уклону. Длина загона пахоты может составлять 300-500 м и более в зависимости от изменения уклона участка. Длина выходных борозд рекомендуется 80-100 м. Ширина загона пахоты принимается равной одной или двум длинам выводных борозд в зависимости от схемы полива. Загоны, обслуживаемые одним распределительным трубопроводом, определяют площадь и конфигурацию поливных участков на поле севооборота. Для предотвращения случайных сбросов по уклону в нижней части загона перед поливом пропахивается защитная полоса шириной от 1 до 10 м в зависимости от уклона местности.
Дренаж следует проектировать согласно СНиП 2.06.03-85, ВСН 33-2.2.03-86 и требованиям санитарных норм к качественному составу отводимого дренажного стока. Специфика работы дренажа на ОССВ изложена ниже.
В изысканиях при проектировании осушительной сети на ОССВ должны учитываться следующие факторы:
- условия водного питания (ОССВ не рекомендуется устраивать в местах с напорным грунтовым питанием и периодически затопляемых поймах рек);
- основные водно-физические характеристики почвогрунтов (мощность, гранулометрический состав; коэффициенты фильтрации и водоотдачи пахотного и подпахотного слоев);
- пучинистые свойства грунтов и распределение их по площади (в случае заложения дренажа в зону устойчивого промерзания);
- агрохимические показатели (реакция почвенного раствора и плотность почв, содержание общего гумуса, содержание водорастворимых токсичных солей, тяжелых металлов и других загрязняющих веществ в пахотном слое);
- нормы орошения сельскохозяйственных культур и нормы осушения.
Необходимость устройства дренажа в зонах недостаточного увлажнения устанавливается прогнозом водно-солевого режима почв ОССВ и прилегающей территории в существующих и проектируемых условиях с учетом оросительных норм и химического состава сточных вод и животноводческих стоков, биологических особенностей сельскохозяйственных культур, требований охраны окружающей среды. В прогнозных расчетах количество азотистых соединений, фильтрующихся через зону аэрации, следует принимать в размере 5-10% от годовой нормы внесения с поливными водами.
Для зон избыточного и недостаточного увлажнения осушительные системы на ОССВ проектируются из расчета отведения избыточной влаги в годы 10%-ной обеспеченности осадками.
Гидравлические расчеты каналов проводятся в соответствии с СНиП 2.06.03-85, расчетные гидрогеологические характеристики водоприемников дренажной сети определяются в соответствии с СНиП 2.01.14-85 и СНиП 2.06.04-82. Параметры закрытой дренажной сети рассчитывают по формулам неустановившейся фильтрации с учетом критических условий (например, затопление поверхности ОССВ).
Основными расчетными периодами являются весеннее половодье и летне-осенние паводки, вызываемые атмосферными осадками. Глубина почвенно-грунтовых вод (нормы осушения), которая должна быть достигнута к концу расчетного периода, принимается по табл.8.1.
Интенсивность сработки уровня поверхности грунтовых вод (УПГВ) между соседними дренами определяется по табл.8.2.
При наличии поверхностного стока с территории вышерасположенного водосбора по границам участка дренированной системы устраивают нагорные каналы. В случае поступления на ОССВ грунтового потока с внешнего водосбора в местах с наименьшей мощностью водоносного пласта устраивают ловчие каналы или дрены с хорошо проницаемой траншейной засыпкой.
|
Параметры |
Земельные угодья и сельскохозяйственные культуры |
||
|
Пашня, яровые и озимые зерновые |
Пастбище, многолетние травы |
Сенокос, многолетние травы |
|
|
Норма осушения почвогрунтов, см: |
|
|
|
|
глина и тяжелый суглинок |
30 |
30 |
30 |
|
средний и легкий суглинок |
40 |
40 |
40 |
|
Супесь |
35 |
35 |
35 |
|
Песок |
30 |
30 |
30 |
|
низинный торфяник |
50 |
50 |
40 |
|
Продолжительность осушения, сут |
3-5 |
5-7 |
7-10 |
|
Обеспеченность, % |
10 |
10 |
10 |
|
Сельскохозяйственное использование земель |
Продолжительность стояния УПГВ, сут. |
Скорость снижения УПГВ, см/сут. |
||
|
в пахотном слое |
в корнеобитаемом слое |
в пахотном слое |
в корнеобитаемом слое |
|
|
Кормовые севообороты Сенокосы |
1,5 3 |
5 7 |
20
|
10
|
Для повышения степени очистки сточных вод и животноводческих стоков глубина заложения дренажных труб должна быть не менее 0,9 м. Не допускается прямой сброс поливной воды в открытые каналы, например, путем создания уклона поверхности к каналу, выпуска борозд в него и т.д. При проектировании дренажных систем на ОССВ необходимо предусматривать:
- отвод воды из колодцев и камер, находящихся на оросительной системе;
- исключение пересечений в плане оросительных трубопроводов;
- размещение смотровых колодцев вне поливных участков (по границе полей, у дорог и т.п.).
На системах круглогодового орошения следует предусматривать закладку регулирующей дренажной сети ниже глубины промерзания грунтов.
Размещение дренажной сети в зоне промерзания, пускается при следующих условиях:
- устройстве засыпки из песчано-гравийной смеси с коэффициентом фильтрации в талом состоянии не мене 30 м/сут. на всем протяжении дрен и коллекторов с доведением ее до подошвы пахотного слоя;
- применении преимущественно пластмассового дренажа;
- устройстве обсыпки гидрантов, колец смотровых и регулирующих колодцев слоем 50 см от поверхности почвы во избежание их деформации под действием сил пучения
Дренаж в любой по обеспеченности глубины промерзания год должен гарантировать сработку надмерзлотных вод к моменту первого полива.
При большой глубине промерзания и соответствующем экономическом обосновании дрены можно закладывать в зону промерзаний при устройстве фильтрующей засыпки и соблюдении мероприятий по предотвращению образования ледяных пробок.
В случае заложения дренажа в зону устойчивого промерзания необходимо определять пучинистые свойства грунтов и учитывать при проектировании их распределение по площади.
1. Закладывать дрены в зону промерзания не рекомендуется в неоднородных по степени пучнистости грунтах, когда сильно пучинистые грунты составляют не менее 20% по площади,
2. Наиболее целесообразно применение осушительных систем, состоящих из одиночных полиэтиленовых дрен с засыпкой из песчано-гравийной смеси или другого фильтрующего материала, доводимого до подошвы пахотного слоя.
Засыпка дренажных траншей должна иметь необходимую величину коэффициента фильтрации в мерзлом состоянии, при котором она не будет лимитировать отвод избыточной воды из корнеобитаемого слоя после его оттаивания. При этом должно соблюдаться условие
![]()
где: Км - коэффициент фильтрации засыпки в мерзлом состоянии, м/сут;
Ко - коэффициент фильтрации пахотного слоя в талом состоянии,
hn - мощность пахотного слоями, м; b - ширина траншеи, м.
Коэффициент фильтрации засыпки из песчаных и песчано-гравелистых грунтов рекомендуется определять по одной из формул:
а) при известном гранулометрическом составе грунта в мерзлом состоянии

б) при известной величине коэффициента фильтрации засыпки в талом состоянии
;
где η- коэффициент разнозернистости грунта;
n - пористость;
i - объемная льдистость;
γ - коэффициент кинематической вязкости, принимаемый равным 0,0179 см2/с;
d17 - диаметр частиц грунта 17-процентной обеспеченности, определяется по кривой гранулометрического состава засыпки, см.
Для определения объемной льдистости засыпки из несвязанных грунтов может использоваться следующая зависимость
![]()
где μ - коэффициент водоотдачи.
В отсутствие данных о коэффициенте водоотдачи при К0 ³ 15 м/сут. его величина определяется по формуле
![]()
где h - высота слоя фильтрующегося материала над дреной.
Способ осушения и вид дренажа на ОССВ назначается в зависимости от степени окультуренности участка.
При строительстве ОССВ на слабоокультуренных почвах (мощность слоя менее 15 см, содержание гумуса 1,5-2%, коэффициент фильтрации верхнего слоя менее 0,5 м/сут) следует предусматривать агромелиоративные мероприятия и выборочный закрытый дренаж. Агромелиоративные мероприятия на ОССВ не должны ускорять поверхностный сток.
На среднеокультуренных почвах (содержание гумуса 2-3%, коэффициент фильтрации 0,5-1,0 м/сут) следует проектировать закрытые осушительные системы из трубчатого дренажа в сочетании с мероприятиями, ускоряющими внутрипочвенный сток.
В неустойчивых для кротования грунтах с числом пластичности более 7 рекомендуется устройство двухъярусного дренажа с бесполостными дренами верхнего яруса. Трубчатые дрены нижнего яруса закладываются на расстоянии 20-40 см друг от друга. Бесполостные дрены верхнего яруса устраиваются перпендикулярно дренам нижнего яруса, через 3-7 м, с максимальной глубиной заложения в устье 0,5 м по уклону местности с засыпкой хорошо фильтрующим материалом. Заложение дрен следует предусматривать ниже предельно допустимого уровня грунтовых вод и на глубину не менее 0,3 м.
Хорошо окультуренные почвы (мощность пахотного слоя более 25 см, содержание гумуса 3,5-5% и коэффициентом фильтрации более 1 м/сут) рекомендуется осушать систематическим трубчатым двухъярусным и комбинированным дренажом.
Конструкция комбинированного и двухъярусного дренажа и их расчет приведены ниже.
Для улучшения свойств почвогрунтов тяжелого механического состава или слабоокультуренных почв и создания благоприятного водно-воздушного, теплового и биохимического режима, обеспечивающего очистку сточных вод в корнеобитаемом слое почвы, необходимо проводить глубокое рыхление, кротование и щелевание с внесением химических мелиорантов. Все агромелиоративные мероприятия предусматриваются как на обычных осушаемых землях, так и на фоне орошения.
Дренажные трубы для устройства закрытой регулирующей сети и конструктивные элементы принимаются с учетом требований СНиП 2.06.03-85.
Комбинированный дренаж состоит из закрытых собирателей (ЗС) трубчатого дренажа и кротовин, нарезанных под углом к линиям дрен с уклоном не более 0,01 (рис.8.1).
.
Рис.8.1.
Комбинированный дренаж.
Расстояние между закрытыми собирателями 20-30 м; расстояние между
кротовинами 1,2-2,0 м; глубина заложения кротовин 0,4-0,5 м; ширина траншеи
0,25 м (ЭТЦ-2011), 0,16 м (МД-12); средняя высота слоя засыпки траншеи 0,6 м.
Условные обозначения: 1 -закрытые собиратели, 2 - кротовины, 3 - засыпка
фильтрующим материалом, 4 - пахотный горизонт.
Расстояние между закрытыми собирателями при комбинированном дренаже Е определяется из системы уравнений

где dk2,1 – диаметр кротовин, м;
F(η) - функция, зависящая от относительной глубины η , значения которой приведены в м в табл.8.3;
nk < -шероховатость стенок кротовины, принимаемая равной 0,08-0,012;
q' - удельная приточность к кротовине, м2/с;
k - коэффициент фильтрации засыпки закрытых собирателей, м/сут.
По заданным значениям dk2,1 , nk, q', k и ηо = 1,0 строятся графики зависимости величины Е от η, точка пересечения которых дает искомые значения.
Учитывая, что срок службы кротовин не превышает 2-3-х лет на землях, осушенных комбинированным дренажем, необходимо вводить в технологию сельскохозяйственного производства операции по их возобновлению (табл.8.4).
Двухъярусный дренаж представляет собой сочетание материального дренажа, уложенного на двух уровнях. Его устройство рекомендуется в неустойчивых для кротования грунтах с числом пластичности ³ 7.
Нижний ярус (НЯ) выполняется в виде трубчатого дренажа с фильтрующей засыпкой, верхний ярус (ВЯ) - в виде бесполостного дренажа, т.е. траншей, заполненных фильтрующим материалом (рис.8.2).
Расстояние между дренами нижнего яруса определяется по формуле
,
где К3 - коэффициент фильтрации заполнителя дрен, см/с;
hдр и b' - соответственно высота и ширина бесполостной дрены, см;
q' - приточность на один погонный метр длины, см2/с.
|
η |
F(h) |
h |
F(h) |
h |
F(h) |
|
0,00 |
0,0 |
0,25 |
0,009208 |
0,70 |
0,1744 |
|
0,05 |
0,0000023 |
0,40 |
0,0934 |
0,75 |
1,5526 |
|
0,10 |
0,0000827 |
0,45 |
0,1635 |
0,80 |
1,9940 |
|
0,15 |
0,000676 |
0,50 |
0,2673 |
0,85 |
2,4927 |
|
0,20 |
0,002967 |
0,55 |
0,4130 |
1,00 |
4,1529 |
|
Масса воздушно-сухого остатка в воде после просеивания |
Морфологическая характеристика остатка |
Срок службы кротовин |
|
10-20 |
Хорошо сохранившиеся крупные суглинистые и глинистые агрегаты |
Хорошо сохраняются 3-4 года |
|
4-10 |
Крупные и мелкие суглинистые агрегаты |
Сохраняются 2-3 года, в отдельных случаях 1-2 года |
|
4 |
Мелкие суглинистые и глинистые агрегаты |
Срок действия и одного года |
|
1 |
Мелкие суглинистые и глинистые агрегаты, орт штейны, зерна кварца |
Кротовины заплывают спустя 2-3 месяца после устройства |
К3 определяется по формуле:

где h - коэффициент разнозернистости материала;
n - пористость заполнителей;
γ - коэффициент кинематической вязкости воды, см2/с;
d60 и d10 - диаметры частиц грунта 60-ти и 10-ти процентной обеспеченности соответственно, см. В случае применения в качестве заполнителя щебня и отсутствия данных, значения пористости можно принять: при округленной форме частиц 0,35-0,45, при угловатой 0,45-0,50. Наиболее оптимальная крупность частиц щебня или гравия характеризуется величиной d17 =2 см.

Рис.8.2. Двухъярусные
осушительные системы.
а) в плане: I - дрены НЯ соединяются с коллектором, II - одиночные дрены НЯ; б) вертикальный разрез по
А-А; в) горизонтальный разрез по Б-Б: 11 - вариант со сплошной
засыпкой траншеи НЯ, 21 - вариант с засыпкой траншеи НЯ в
местах сопряжения с дренами ВЯ.
Условные обозначения: 1 - дрены ВЯ, 2
- дрены НЯ, 3 -узлы сопряжения дрен ВЯ и НЯ, 4 - пахотный слон, 5 -заполнитель
дрен ВЯ, 6 - засыпка траншеи НЯ.
Ширина траншеи нижнего яруса находится в пределах от 0,1 до 0,5 м, минимальный уклон составляет 0,002. Засыпку дрен рекомендуется выполнять из того же материала, что и бесполостные дрены. Для экономии фильтрующего материала при устройстве закрытых собирателей целесообразна замена сплошной фильтрующей засыпки на узлы сопряжения дрен ВЯ с нижним ярусом. Конструкция узлов сопряжения представлена на рис.8.2.
При строительстве бесполостного дренажа заполнитель дренажных траншей (щелей) должен быть защищен сверху рулонным ЗФМ для предотвращения просыпания внутрь заполнителя дрены, засыпаемого в траншею (щель) грунта.
Состав инженерно-технических и природоохранных мероприятий определяется результатами прогнозной опенки воздействия орошения сточными водами и животноводческими стоками на все компоненты окружающей среды - воздух, почву, поверхностные и подземные воды, сельскохозяйственную продукцию и животных.
Необходимость устройства на ОССВ сооружений по предотвращению отрицательного влияния на водоприемники сброса поверхностного и дренажного стока определяется прогнозными расчетами их объемов и качества в соответствии с требованиями «Правил охраны поверхностных вод».
Расчет объемов паводкового и ливневого поверхностного стока проводится по «Методике расчета характеристик ливневого и паводкового стока различной обеспеченности с малых водосборов». Могут использоваться и другие методики, принятые в конкретных регионах, а также данные, полученные на системах-аналогах. Объем дренажного стока определяется, согласно СНиП 2.06.03-85.
Качество поверхностного и дренажного стока определяется прогнозными расчетами выноса веществ с ОССВ в соответствии с Пособием к СНиП 2.06.03-85 «Определение расчетных концентраций минеральных, органических веществ и пестицидов в дренажном и поверхностном стоке с мелиорируемых земель» и ВСН 33-2.2.03-86. В расчетах коэффициент, характеризующий остаточное количество подвижных форм минерального азота от нормы внесения органических удобрений, следует изменить с 0,002 NO2 на 0,05 NO2 для дренажного стока и на 0,03 NO2 для поверхностного. На полях, занятых многолетними травами, вышеуказанный коэффициент при расчетах поверхностного стока не меняется.
Если основные расчетные параметры качества воды ливневого или паводкового поверхностного и дренажного стока показали их непригодность для сброса в водоприемник, необходимо обеспечить сбор, аккумулирование в накопителях и доочистку загрязненного стока на сооружениях почвенно-биологической очистки (буферных площадках, биологических прудах, ботанических площадках, биоплато с высшими водными растениями, системе полива по склону, полях фильтрации).
Для перехвата поверхностного стока и направления его в накопители или на доочистку используются валики, которые устанавливаются:
- по нижней границе полей с поверхностными способами полива;
- на дренированных системах - по нижней границе только тех участков массива, где прогнозируется загрязнение поверхностного стока;
- на дренированных системах с открытой проводящей сетью - вдоль каналов по нижней границе полей севооборота.
Параметры водоудерживающих валиков определяются рельефом местности и расчетным объемом стока. Возможно совмещение эксплуатационных дорог с оградительными валиками.
Если орошение сточными водами осуществляется только в вегетационный период, то при соответствующем обосновании прогнозными расчетами возможно отведение весеннего стока с массива орошения в водоприемник. Концентрацию загрязняющих веществ в сбросных водах весеннего половодья определяют для устьевых частей транспортирующих каналов, впадающих непосредственно в водоприемник, на спаде весеннего половодья при расходах 10%-ной обеспеченности.
Объем накопителя поверхностного и дренажного стока определяется водохозяйственными расчетами с учетом объема весеннего половодья, объема загрязняющего стока, количества осадков, распределения ливневого стока по месяцам. Расчет проводится по месяцам 5, 50, 75%-ной обеспеченности.
Накопители надлежит устраивать в пониженных участках рельефа в виде копани или овражно-балочного типа, которые создаются путем перегораживания плотиной. Облицовка накопителей дренажного и поверхностного стока, а также устройство противофильтрационного экрана обосновываются технико-экономическими расчетами.
Накопители могут быть изолированными для сбора только поверхностного или только дренажного стока и совмещенными, когда весь поверхностный и дренажный сток аккумулируется в одном сооружении.
Накопители могут быть транзитного и нетранзитного типа. В нетранзитном накопителе собираются загрязненные воды, в которых концентрация загрязняющих веществ выше их предельно допустимых величин для сброса в водоемы. При этом учитывается хозяйственное значение водоема. Кондиционные воды сбрасываются в водоприемник, минуя накопитель. Объем нетранзитных накопителей определяется количеством поверхностного или дренажного стока на год расчетной обеспеченности.
Накопители транзитного типа больших объемов должны сооружаться при регулировании местного стока и использовании его в качестве источника для разбавления сточных вод, промывки системы и обеспечения полива сельскохозяйственных культур в маловодные годы, а также при значительной удаленности его от оросительной системы. Необходимость строительства такого накопителя должна обосновываться технико-экономическими расчетами.
Совмещенные и транзитные накопители должны оборудоваться регулирующими и сбросными сооружениями, общепринятыми в мелиорации на обычном орошении.
При эксплуатации накопителей следует предусматривать мероприятия по предупреждению выплода комаров.
Для водооборотных систем объем аккумулированной воды во время вегетационных поливов при низкой водообеспеченности превышает потребности в орошении. Избыток воды может сбрасываться в водоприемник в весенний период.
Возможные объемы сработки рассчитываются по формуле
Qcбp.р% = Qр% (ПДК - Ср%) / (Снак.р% - ПДК),
где Qcбp.р% - максимальный возможный расход сброса в год Р% обеспеченности, м3/с;
Qp% - расход в водоприемнике Р% обеспеченности, м3/с;
ПДК - предельно-допустимая концентрация в водоприемнике лимитирующего ингредиента, мг/л;
Ср%) - концентрация лимитирующего ингредиента в водоприемнике, мг/л;
Снак.р% - концентрация лимитирующего ингредиента в накопителе, мг/л. Расчет ведется по ряду лет, но не более 25. за отрезки времени, не превышающие декаду.
Буферные площадки предназначены для задержания и доочистки поверхностного стока с территории земледельческих полей орошения. Размещают площадки по низовым краям поливных участков полей севооборота. Если это невозможно по местным условиям, то предусматривается система каналов и валиков, обеспечивающая coop и подачу стока с каждого обособленного гидрологического участка массива орошения на нижерасположенные буферные площадки или пруды-накопители поверхностного стока. В зависимости от уклона поверхности и допустимой глубины наполнения буферные площадки устраиваются одноярусными при уклонах от 0,005 до 0,01, многоярусными при уклонах более 0,01 или в виде прудов-ложбин при уклонах не менее 0,008. Максимальная глубина наполнения буферных площадок не должна превышать 0,6-0,8 м для зоны избыточного увлажнения и 0,7-1,2 м для зон достаточного увлажнения. Продолжительность затопления должна соответствовать срокам выдерживания затопления выращиваемыми культурами в зависимости от периодов вегетации.
Объем буферных площадок должен рассчитываться на 2-х часовое отстаивание паводкового весеннего стока 5%-ной обеспеченности.
Буферные площадки и валики не предусматриваются, если весь поверхностный сток будет поступать по водоотводящей сети в пруды-накопители стока или на резервные территории.
Сбросные воды с орошаемых участков для очистки можно направлять на участки оросительной сети с поливом по склону. Устройство оросительной сети на участках с уклонами от 0,02 до 0,08 так же следует осуществлять поливом по склону. Поверхность таких участков должна быть спланирована и засеяна многолетними влаголюбивыми злаковыми травами.
Поливные нормы принимаются от 2000 до 5000 м /га в сутки для зон с достаточным увлажнением и до 10000 м /га в сутки для аридной зоны. Технологию доочистки стоков поливом по склону следует проектировать согласно «Временным рекомендациям по очистке сточных вод методом полива по склону, засеянному многолетними травами», М.: НПО «Прогресс», 1986.
Очистка дренажного и поверхностного стока по влажные годы, когда ограничено использование воды на орошение, может осуществляться на биологических сооружениях. Эти сооружения используют способность высших водных растений (ВВР) и водорослей как биофильтров разлагать и усваивать органические и минеральные соединения. К ним относятся: русловые и инфильтрационные биоплато, каскады каналов-биопрудов, каскады интенсивно дренируемых площадок.
Биоплато - гидротехническое сооружение, использующее естественные свойства высшей водной растительности, бактериальных поселений зарослей, планктоновых водорослей, способных разлагать, поглощать и преобразовывать органические и неорганические загрязнители (соли тяжелых металлов, пестициды), обеспечивая доочистку воды.
Различают русловое и инфильтрационное биоплато.
1. Русловое биоплато представляет собой водоток или участок водотока, на котором создается определенный гидравлический режим, благоприятный для жизнедеятельности ВВР.
Для доочистки поверхностного и дренажного стока в водосборных и сборных каналах с расходом до 1 м3/с ВВР засаживают чередующимися полосами 5-10 м по ширине водотока, создавая барьер поступающим загрязнителям. На водоемах (буферных площадках, прудах-фильтрах, накопителях поверхностного и дренажного стока) ВВР высевают вдоль береговой зоны.
Очистка обеспечивается при следующих условиях:
- концентрация фосфора, который является лимитируемым показателем, не должна превышать 50 мг/л;
- площадь, занимаемая ВВР, должна быть не менее 60%
- акватории каналов и водоемов; ■
- скорость течения потока в каналах должна быть не более 0,3 м/с.
Требуемая глубина воды в биоплато и плотность посадки ВВР представлены в табл. 10.1.
|
Растение |
Плотность посадки, шт/м2 |
Глубина воды, м |
|
Камыш озерный |
7-9 |
1,0-1,2 |
|
Рогоз узколистный |
6-7 |
1,5-2,5 |
|
Рогоз широколистный |
4-6 |
1,5-2,5 |
|
Тростник обыкновенный |
- |
0,8-1,2 |
|
Сусак зонтичный |
15-20 |
0,5-1,2 |
|
Осока водяная |
5-6 |
до 0,8 |
|
Манник водный |
30-40 |
до 0,8 |
|
Элодея канадская |
0,25-0,5* |
- |
|
Роголистник темно-зеленый |
2,0-2,5* |
- |
|
Ряска маленькая |
0,5-0,7* |
- |
*Плотность посадки дана в кг/м3.
При глубине воды в сооружениях от 0,8 до 1,2 м рекомендуется высаживать тростник, роголистник темно-зеленый и элодею канадскую, при глубине 1,5-2,5 м - рогоз узколистный. Вдоль берегов и откосов сооружений, а также в мелководной зоне водоема необходимо высаживать тростник, камыш, сусак, манник водный, рогоз широколистный, осоку.
В каналах и водоприемниках с расходом воды более 1 м3/с рекомендуется устройство участка биоплато с помощью подпорного сооружения. Оно должно обеспечивать постоянную глубину воды 1,0-1,5 м и скорость потока 0,1-0,3 м/с в меженный вегетационный период. Пропуск паводка осуществляется через подпорное сооружение.
Длина биоплато определяется по формуле
,
где L- длина биоплато, км;
V - скорость воды на биоплато, м/с;
fБПК - коэффициент очистительной способности биоплато, г О2/(м3 с);
С0БПК, СLбпк - концентрация органического вещества по БПК на входе и выходе биоплато соответственно, г О2/л. Коэффициент fБПК для загрязненного дренажного и поверхностного стока с БПК более 15 г О2/л равен 7,1×10-4, с БПК менее 15 г О2/л - 1,9×10-4.
II. Инфильтрационное биоплато (биоинженерное сооружение) - водоохранное сооружение с фильтрующим основанием и посадками ВВР (рис. 10.1). Движение жидкости в этих сооружениях обеспечивает очистку в горизонтальной плоскости через заросли растений, а в вертикальной через корнеобитаемый, насыщенный микрофлорой слой грунтов.
Инфильтрационные биоплато на оросительных системах с использованием сточных вод могут быть выполнены в виде локализованных в естественном рельефе или специально обвалованных площадок с фильтрующим основанием и трубчатым дренажем. Поверхностью биоплато является искусственно созданный ландшафт с древесно-кустарниковой и высшей водной растительностью, которая занимает 10% акватории сооружения.

Рис. 10.1.
Принципиальная технологическая схема очистки поверхностного и дренажного стока
в инфильтрационном биоплато:
I - зона горизонтального движения воды (очистка в
водной толще); II - зона инфильтрации (очистка в фильтрующей толще
грунтов); 1 - трубопровод подачи загрязненной воды в биоплато; 2 - высшие
водные растения; 3 - фильтрующее основание; 4 - дренаж; 5 -сбросной
трубопровод; 6 - дамба обваловывания; i - уклон поверхности дна
Площадь биоплато зависит от концентрации загрязняющих веществ, оставшихся в поверхностном или дренажном стоке, и определяется по формуле, предложенном В.Г. Магомедовым,
S = Q Тк.опт./Н,
где S - площадь биоплато, м ;
Н - высота столба воды в сон оружении, м (обычно 0,2-1,5, но не менее 0,1);
Q - расход воды, поступающей на доочистку, м3/сут;
Тк.опт - оптимальное время контакта потока с ВВР, при котором достигается требуемое снижение концентрации загрязняющих веществ, сут;
Тк.опт = α1Тk1 + α2Тk2 + ... + αnТkn,
здесь α1, α2,..., αn - доли относительного содержания загрязнителей, превышающих ПДК;
![]()
Т1, Т2,..., Ткn - оптимальное время контакта потока с каждым загрязнителем, сут. Ориентировочно Тк. может быть определено по рис. 10.2.
Расчет биоплато можно выполнять на персональном компьютере по специальной программе, разработанной АО «Омскводпроект».
Мощность фильтрующего основания принимается 1,0-1,2 м в зависимости от глубины проникновения корневой системы растений в грунт. В качестве фильтрующего материала могут использоваться гравий, щебень, песок, песчано-суглинистые грунты с коэффициентом фильтрации не менее 0,1 м/сут. Толщина илистого слоя, укладываемого на фильтрующее основание, должна быть не менее 0,1 м для распределения в ней корней растений. Трубчатый дренаж должен укладываться в грунт основания биоплато так, чтобы верх обратного фильтра дренажной засыпки был на одном уровне с поверхностью основания. В случае укладки на основание биоплато слоя подготовки, верх обратного фильтра должен быть ниже поверхности подготовки.
Длина зоны инфильтрации, т.е. биоплато, в пределах которой часть стока профильтруется через грунт в дренажную сеть, определяется по формуле
,
где Lф - длина зоны инфильтрации, м;
Q - расход воды у водовыпуска, м3/сут;
В - ширина биоплато вблизи водовыпуска, м;
k - средний по площади биоплато коэффициент фильтрации грунта, м/сут.
Дренажная сеть в основании биоплощадок проектируется перпендикулярно потоку воды.

Рис. 10.2. Интегральные кривые удельной очистительной способности ВВР
инфильтрационного биоплато.
1 -
нитраты; 2 - нитриты; 3 - аммоний; 4 - органические вещества по ХПК; 5 -
сульфаты; DС - требуемое снижение
концентрации загрязняющего вещества, %; Тк. - оптимальное
время контакта потока с загрязнителем, сут.
Каскад каналов-биопрудов (рис. 10.3) предназначен для доочистки загрязненного поверхностного и дренажного стока и включает следующие конструктивны элементы:
- секции каналов-биопрудов трапецеидального поперечного сечения для культивации высшей водной растительности;
- водопропускные трубы с устьевыми сооружениями и оголовками, обеспечивающие последовательную подачу очищаемых вод из одной секции в другую;
- трубопроводы подачи загрязненных вод и сброса очищенных вод;
- эксплуатационные дороги для перемещения механизмов и техники.
Полезный объем каналов-биопрудов WK определяется по необходимой продолжительности пребывания подаваемых на очистку вод
Wk=tpQcт
где tp - необходимая продолжительность пребывания в каскаде среднесуточного расхода, сут;
Qcт - среднесуточный расход, м'/сут.
Необходимая продолжительность пребывания ьоды t: в каскаде каналов-биопрудов определяется по формуле
![]()
где kli - коэффициент скорости самоочищения но i-му загрязняющему веществу, сут-1 (ориентировочные значения в зависимости от температуры очищаемых вод приведены в табл.10.2);
k2 - коэффициент объемного использования(для секций каналов-биопрудов с соотношением длины к ширине 20:1 и более равен 0,8; при отношении 1:1-3:1 равен 0,35; для промежуточных значений определяется интерполяцией);
ciвx - концентрация i-гo загрязняющего вещества в подаваемой на очистку воде, мг/л;
cic6р, - концентрация i-гo загрязняющего вещества в очищенных водах, мг/л.

Рис. 10.3. Каскад каналов-биопрудов
для доочистки загрязненного поверхностного и дренажного стока.
Условные обозначения: 1 - секции
каналов-биопрудов; 2 -водопроводные трубы; 3 - устья водовыпускных труб; 4
-трубопровод подачи загрязненных вод; 5 - водовыпуск очищенных вод; 6 -
эксплуатационные дороги.
|
Загрязняющее вещество |
Температура воды, ºС |
|||
|
1-5 |
5-10 |
10-15 |
>15 |
|
|
Органическое вещество по БПК5 |
0,06 |
0,11 |
0,12 |
0,12 |
|
NH4 |
0,05 |
0,12 |
0,16 |
0,18 |
|
Рmin |
0,03 |
0,07 |
0,09 |
0,10 |
В качестве окончательного значения необходимой продолжительности пребывания воды в каскаде каналов-биопрудов принимается наибольшее из определенных по зависимости
tp=max{tБПК5, tNH4, tmin }
Общая площадь зеркала воды F3 в каналах-биопрудах определяется по органической нагрузке и должна быть не менее
![]()
где са - равновесная концентрация кислорода в воде, мг О2/л;
сБПКвх, сБПКсбр - значения БПК5 в подаваемых на очистку и сбрасываемых водах, мг О2/л;
ссбр - концентрация кислорода, которую необходимо поддерживать в сбрасываемых водах, мг О2/л;
Га - атмосферная аэрация, мг/(м2сут), при дефиците кислорода равном 1 принимается в среднем 3500.
Рабочая глубина секций каналов-биопрудов принимается от 0,5 до 1,0 м в зависимости от вида культивируемой водной растительности. Ширина секций по дну должна быть не менее 1,0 м с учетом возможности использования землеройной и эксплуатационной техники для очистки от отложений наилка.
Надводные откосы каналов-биопрудов и межканальные дороги следует засаживать влаголюбивыми многолетними травами, выдерживающими длительные сроки затопления и подтопления: канареечником тростниковидным, овсяницей тростниковидной, райграсом и т.п.
Дно и постоянно затопленные части откосов каналов-биопрудов должны засаживаться высшей водной растительностью, преимущественно рогозом узколистным, тростником, элодеей канадской, ряской. Посадка рогоза и камыша осуществляется корневищами с одной-двумя растущими почками, плотность посадки 1-2 шт. на 1 м2, элодеи канадской - черенками, плотность посадки 0,25-0,5 кг/м2.
При посадке водной растительности необходимо соблюдать ярусный принцип ее расположения: в первых секциях высаживаются рогоз и тростник, обладающие наиболее высокой поглотительной способностью, в средних - элодея канадская, обеспечивающая значительную фотосинтетическую аэрацию, в последних - растения-индикаторы, произрастающие только в чистой воде.
При заилении отдельных секций более 10-15 см необходима очистка каналов от отложений наилка, которая осуществляется экскаватором Э-304 с ремонтным ковшом. Для уменьшения выноса взвешенных веществ и сохранения устойчивого биоценоза очистку рекомендуется осуществлять пунктирно, т.е. первый год чистить каналы с четными номерами, а на следующий год - с нечетными номерами.
Каскад интенсивно дренируемых площадок (рис. 10.4) предназначен для доочистки загрязненного поверхностного и дренажного стока и включает следующие конструктивные элементы:
- подводящий трубопровод или канал для подачи сточных вод от пруда-накопителя на головное сооружение;
- головное сооружение, обеспечивающее равномерное распределение подаваемой на очистку воды, выполненное в виде перфорированного трубопровода или железобетонного лотка с водосливом;
- секции канала с креплением головных сооружений в виде наброски щебня, бетонных плит и т.п.;
- грунтовый биофильтр, состоящий из корнеобитаемого слоя, являющегося субстратом для корневой системы растений, и песчаный фильтр;
- дренажная система, предназначенная для отвода йоды с заданной гидравлической нагрузкой, которая может быть выполнена в виде трубчатых и бесполостных дрен;
- перемычка, разделяющая сооружения на отдельные секции;
- водосбросной канал (лоток) для сбора очищенной воды и отвода ее в пруд-накопитель очищенных вод или водоприемник;
- водосборная труба, предназначенная для сброса воды из канала при гидравлических нагрузках, превышающих водоотводящую способность дренажной системы;
- эксплаутационная дорога для перемещения механизмов и техники
.
Рис. 10.4. Каскад
интенсивно дренируемых площадок для доочистки загрязненного поверхностного и
дренажного стока.
Условные обозначения: 1 -
трубопровод; 2 - накопитель; 3 - секции сооружения; 4 - секции канала; 5 -
грунтовый биофильтр; 6 - песчаный фильтр; 7 - дренажная система; 8 - перемычка;
9 - водосборный лоток; 10 -водосборная труба; 11 - эксплуатационная дорога.
Для устройства сооружений данного тына пригодны участки с уклонами поверхности 0,04-0,08 на почвах тяжелого, среднего и легкого механического состава и с близким залеганием водоупора. В других гидрогеологических условиях требуется осуществление мероприятий по предотвращению загрязнения грунтовых вод.
Режим подачи загрязненных вод на сооружение прерывистый, полив в течение 2-7 сут, перерыв 2-7 сут и зависимости от толщины и стабильности фильтрационных свойств биофильтра.
Длительность периода эффективной работы сооружений в течение года определяется продолжительностью периода со среднесуточными температурами более 5-7 ºС.
Расчетные сезонные нагрузки на сооружение (их предельные значения) в условиях Северо-Запада России составляют, кг/га:
по общему азоту - до 1400;
по общему фосфору - до 310;
органическая по БПК5 - до 1900.
Расчетная сезонная гидравлическая нагрузка составляет 60000 м3/га.
Расчетный расход Qг (в м3/сут) по сезонной гидравлической нагрузке определяется по формуле
![]()
где F - суммарная площадь всех площадок сооружения, га;
qг - гидравлическая нагрузка, м3/га;
Т - суммарная продолжительность поливов в течение сезона, сут.
Расчетный расход QN,P,БПК. (в м3/сут) по сезонным органическим и биогенным нагрузкам определяется по формуле
![]()
где mN,P,БПК - нагрузка, кг/га;
CN,P,БПК - концентрация азота, фосфора и значение БПК5 в поступающих на доочистку загрязненных водах, г/м3 .
В качестве окончательного расхода Qp подаваемых на очистку сточных вод принимается наименьший
Qp = min{Qг, QN, QP, QБПK}.
Годовой объем (в м3) очищаемых на сооружении сточных вод определяется по формуле
W = QPT.
Длина отдельных секций сооружения принимается от 10 до 40 м с уклоном поверхности не менее 0,005.
Ширина секций зависит от конструкций грунтового биофильтра и технологии уборки многолетних трав. При использовании для скашивания и уборки зеленой массы трав косилок-подборщиков ширина секций по верху принимается равной двойной ширине захвата косилки.
Конструкция грунтового биофильтра рекомендуется двух типов:
- однослойный биофильтр, состоящий из корнеобитаемого слоя толщиной не менее 0,25 м, из местных гумусированных структурных почвогрунтов пахотных горизонтов;
- двухслойный биофильтр, состоящий из корнеобитаемого слоя толщиной не менее 0,15-0,20 м, из местных гумусированных структурных почвогрунтов и песчаного фильтра толщиной 0,2-0,4 м с коэффициентом фильтрации более 1 м/сут.
Для защиты грунтовых вод от загрязнения на участках с легкими и средними по механическому составу почвогрунтами устраиваются ловчие и ограждающие каналы и дрены по контуру сооружения (при залегании водоупора на глубине менее 1,5-2,0 м).
Расчетные фильтрационные схемы грунтового биофильтра приведены на рис. 10.5.

Рис. 10.5. Расчетные
фильтрационные схемы грунтового биофильтра дренируемых площадок.
Условные обозначения: 1 - тело
грунтового биофильтра; 2 - корнеобитаемый слой биофильтра; 3 - фильтрующий слой
биофильтра; 4 - водоупор; 5 - дрены; б - лонная ограждающая дрена; 7 - канал.
Схема 1. Однородный по фильтрационным свойствам грунтовый биофильтр, совершенные дрены, уложенные на водоупорные подстилающие грунты или водонепроницаемый экран. Расстояние между дренами определяется по формуле Киркхема путем подбора из системы уравнений

■
где q - удельный приток на единицу длины дрен, м /сут;
Qр - расчетный расход подаваемых на очистку сточных вод, м3/сут;
L - расстояние между дренами, м;
lД - длина дренированной части площадки, м;
В - ширина площадки, м;
к -расчетный коэффициент фильтрации однородного грунтового биофильтра, м/сут;
h - толщина грунтового биофильтра, м;
d - диаметр дрены, м.
Схема 2. Двухслойный по фильтрационным свойствам грунтовый биофильтр, совершенные дрены, уложенные на водоупорные подстилающие грунты или водонепроницаемый экран. Коэффициенты фильтрации верхнего корнеобитаемого kп и нижнего фильтрующего kф слоев связаны соотношением
![]()
■
где hф - толщина нижнего фильтрующего слоя, м.
Расстояние между дренами определяется по формуле
![]()
где l = Qp /(Вlд) - интенсивность подачи загрязненных вод, м/сут.
Схема 3. Однородный по фильтрационным свойствам биофильтр, несовершенные (висячие) дрены. Расстояние между дренами определяется по формуле Киркхема путем подбора из системы уравнений

где b - расстояние от оси дрены до водоупора, м.
При одинаковой конструкции грунтового биофильтра число последовательных секций п (в шт.) в первом приближении можно рассчитать по формуле
![]()
где Сiсбр - концентрация i-гo ингредиента в составе очищенных вод, мг/л;
Сiст - концентрация i-гo ингредиента в составе сточных вод, мг/л;
К - коэффициент степени очистки, зависящий от конструкции грунтового биофильтра, K = 0,6-0,8.
Число параллельных линий N (в шт.) рассчитывается по формуле
![]()
где W - ежегодный объем подаваемых на очистку загрязненных вод, м ;
Ккор - коэффициент фильтрации корне-обитаемого слоя грунтового биофильтра при длительном увлажнении, м/сут;
В - ширина секции, м;
L - длина секции, м;
tп, - суммарная продолжительность периодов подачи сточных вод, сут.
Расчетный расход Q (в м3/сут) сточных вод, подаваемых на одну нитку сооружения, определяется по формуле
![]()
При соблюдении указанных выше условий эффективность очистки должна быть не менее, % : 80-85 по БПК5; 92-99 по аммиачному азоту; 74-99 по минеральному фосфору.
Укос и уборка многолетних трав с поверхности площадок должны осуществляется 2-3 раза в течение сезона, ориентировочно в июне, августе, октябре или июле и октябре. Зеленую массу многолетних трав рекомендуется использовать для компостирования или производства травяной муки. Скармливание свежей травы животным не допускается.
На ОССВ должны предусматриваться инженерно-технические мероприятия по охране подземных вод от загрязнения. Необходимость проведения этих мероприятий устанавливается на основе гидрогеологических прогнозов, которые определяют зону влияния ОССВ на естественный уроненный и химический режимы подземных вод. Прогнозные расчеты рекомендуется проводить по методикам ВСЕГИНГЕО, ВНИИГиМ и МГУП.
Основой для проведения прогнозных расчетов являются материалы изысканий, которые должны обеспечивать:
- составление водного и солевого баланса территории;
- оценку основных режимообразующих и режимоизменяющих факторов;
- гидрогеодинамическое и гидрогеохимическое районирование территории;
- получение основных параметров геофильтрации и миграции подземных вод;
- выбор соответствующих прогнозных моделей.
Прогнозные модели должны обеспечивать комплексное решение поставленных задач на стадии проектирования и эксплуатации и удовлетворять необходимой точности расчета уровня и химического состава подземных вод.
Прогнозирование влияния орошения сточными водами и животноводческими стоками на подземные воды предусматривает следующие этапы:
- разработка задания;
- ретроспективный анализ техногенных и природных условий территории;
- анализ прогнозного фона (естественного и техногенного);
- выбор метода прогнозирования;
- ретроспективная тарификация метода прогнозирования;
- разработка прогнозных вариантов изменения естественного и техногенного прогнозного фона;
- выбор окончательного варианта прогноза.
Прогноз гидрогеодинамических условий, являясь частью гидрогеологического прогноза, должен установить динамику грунтовых вод на территории ОССВ и прилегающих территориях. Основой для его составления является величина инфильтрационного питания грунтовых вод (величина водообмена почвенных и грунтовых вод), которая определяется экспериментально или рассчитывается.
На основе прогноза динамики грунтовых вод устанавливаются:
- возможность подъема грунтовых вод;
- необходимость устройства систематического или перехватывающего дренажа;
- изменение режима работы водозаборных сооружений;
- возможность подтопления прилегающих территорий.
Прогнозные расчеты выполняются на основе аналитических или численных методов. Динамика водообмена почвенных и грунтовых вод рассчитывается методом математического моделирования влагопереноса в зоне полного и неполного насыщения.
Для выполнения прогнозных расчетов проводится схематизация гидрогеологических, почвенно-мелиоративных и техногенных условии, устанавливающих расчетные геофильтрационные схемы, начальные и граничные условия.
В случае подъема грунтовых вод сверх допустимых значений необходимо предусматривать устройство дренажа. Дренаж может быть систематическим или перехватывающим. Параметры дренажа устанавливаются гидрогеодинамическими расчетами, его эффективность и конструктивные особенности - технико-экономическими расчетами.
Прогноз гидрогеохимических условий территории ОССВ выполняется для решения следующих вопросов:
- оценка качества подземных вод под орошаемыми землями;
- оценка качества грунтовых вод под сосредоточенными источниками загрязнения (смесительная камера, накопители, регулирующие емкости);
- оценка качества воды в водозаборных сооружениях в зоне влияния оросительной системы;
- создание сети наблюдательных точек и режимных наблюдательных скважин.
Основой для составления гидрогеохимического прогноза являются данные прогноза гидрогеодинамических условий, устанавливающие закономерности движения подземных вод и водообмена почвенных и подземных вод.
В сточных водах в зависимости от их специфики могут присутствовать минеральные и токсичные вещества, тяжелые металлы, микроорганизмы и другие компоненты, являющиеся загрязнителями грунтовых вод. Главными загрязняющими компонентами животноводческих стоков являются азотистые соединения, и прежде всего, нитраты. Загрязнители - фосфор и калий - при внесении в почву задерживаются в верхней части зоны аэрации и практически не достигают уровня грунтовых вод.
Прогноз гидрогеохимических условий выполняется следующими методами:
- методом баланса химических элементов и соединений;
- методом расчета по линиям тока грунтовых вод (поршневое вытеснение);
- методом расчета по аналитическим зависимостям;
- численными методами на основе моделей миграции (с различной степенью детализации химического состава подземных вод и обменных реакций с почвенным поглощающим комплексом);
- методом аналогий.
Для выполнения прогнозных расчетов проводится схематизация и районирование территории по содержанию химических элементов и соединений в подземных подах (включая воды зоны аэрации и грунтовые воды), устанавливаются расчетные схемы, начальные и граничные условия.
Для математического моделирования необходимо проведение специальных изысканий и исследований по определению параметров миграции и трансформации химических соединений. Здесь могут быть использованы данные объектов-аналогов, результаты режимных наблюдений, опытно-производственные исследования (опытные поливы) и специальные опытно-миграционные работы.
Если по результатам гидрогеохимического прогноза возникает угроза загрязнения, следует предусмотреть инженерно-технические и организационно-хозяйственные мероприятия для предотвращения проникновения загрязняющих веществ в подземные воды и водозаборные сооружения. К их числу относятся:
- корректировка поливных и оросительных норм с целью сокращения инфильтрационного питания подземных вод;
- разбавление сточных вод и животноводческих стоков для снижения концентрации загрязняющих веществ;
- применение более совершенных технологических карт возделывания сельскохозяйственных культур;
- устройство дренажей различного типа.
Для населенных пунктов, расположенных ниже по грунтовому потоку от массива орошения, где прогнозируется возможное загрязнение подземных вод, следует предусматривать организацию централизованного хозяйственно-питьевого водоснабжения из источников, расположенных вне зоны влияния ОССВ. Для населенных пунктов, расположенных вблизи ОССВ, при прогнозировании их подтопления вследствие орошения следует предусматривать инженерную защиту.
Для контроля за уровенным режимом и качеством. грунтовых вод следует предусматривать устройство сети гидрорежимных скважин. Число скважин и их местоположение должны быть увязаны с региональной сетью режимных гидрогеологических скважин. При этом следует учитывать особенности гидрогеологических и геоморфологических условий, расположение дренажной сети и потенциальных источников загрязнения. Наблюдательные скважины размещаются в виде распределенных по площади точек или створами. Створы назначают в направлении от области питания в область разгрузки и потенциально подтопляемых территорий.
Схема размещения наблюдательных скважин должна согласовываться с территориальными геологическими организациями (в случае передачи на баланс). Наблюдательные скважины необходимо размещать так, чтобы они наиболее полно отражали различные гидрогеологические условия не только на самой орошаемой территории, но и на прилегающих к ней площадях.
При размещении сети наблюдательных скважин необходимо придерживаться следующих требований:
при наименьшем количестве скважин иметь полную характеристику гидрогеологических условий.
расположение скважин должно соответствовать степени сложности геолого-гидрогеологических и геоморфологических условий и характеру направленности исследования.
сеть наблюдательных пунктов размещают обычно по створам, пересекающим основные геоморфологические элементы в характерных направлениях.
Основные створы, проходящие по середине орошаемого массива, необходимо продолжить за пределы поливаемой площадки, как выше (50-100 м), так и ниже по направлению движения грунтовых вод до дренирующего водоема.
Одиночные точки или короткие (в две-три скважины) створы располагаются в понижениях рельефа, где могут скапливаться сточные воды при орошении, а также вблизи открытых оросительных каналов, смесителей, накопителей поверхностного и дренажного стока.
На створе, направленном к населенному пункту или к участкам водозаборных сооружений, находящихся в полосе между орошаемым массивом и указанными пунктами, обязательно оборудуется наблюдательная скважина или группа скважин в зависимости от гидрогеологического разреза данного участка.
Конструкция наблюдательных скважин зависит от их назначения и литологического состава водоносных пород (рис.11.1). Фильтры устанавливаются в верхней части водоносного горизонта с заглублением верха не более 0,5-1,0 м от зеркала воды. Длину перфорированной части грунтфильтра следует брать равной 0,5-0,7 м. На поверхности земли вокруг скважин должна быть устроена присыпка высотой 15-25 см для исключения затрубного просачивания сточных вод в грунтовые.

Рис. 11.1. Оборудование скважин для взятия проб воды па химический анализ
при неоднородном строении пластов.
Условные обозначения: 1 - фильтр; 2 - засыпка
иыработан-ного пространства извлеченным грунтом; 3 - глинистый замок; 4 -
обсадные трубы; 5 - наблюдательная труба диаметром 3"; 6 - гравийная
засыпка; 7 - отстойник; 8 -супесь; 9 - песок крупнозернистый; 10 - суглинок; 11
- песок глинистый.
Методика, разработанная во ВНИИГиМ и МГУП, предназначена для решения следующих задач:
- прогноз водного режима земель и инфильтрационного питания грунтовых вод при заданном режиме орошения;
- расчет режима орошения земель при тех или иных ограничениях;
- прогноз миграции азотных соединений в почвах, грунтах и подземных водах;
- прогноз минерализации и качества дренажных вод.
Прогнозные расчеты водного режима выполняются на основе уравнения влагопереноса
![]()
где Q - влажность;
t - время, сут;
х - вертикальная координата, м;
k(Q) - коэффициент влагопроводности, м/сут;
Н - напор, м; Н = Р(Q) - х;
Р(Q) - капиллярное давление, м;
е - отбор воды корневой системой растений, сут-1.
Подробная методика расчетов приведена в работе «Методика расчета водно-солевого режима орошаемых земель», ВНИИГиМ, 1984. Уравнение решается при соответствующих начальных и граничных условиях. Граничные условия моделируют режим и способ орошения. Величина транспирации рассчитывается в зависимости от климатических условий и вида сельскохозяйственной культуры. Параметры влагопереноса k(Q) и Р(Q) определяются на основе полевых и лабораторных экспериментов или принимаются по аппроксимационным зависимостям.
На основании решения уравнения влагопереноса определяются скорости фильтрации воды в зоне аэрации и инфильтрационное питание грунтовых вод. Прогноз динамики подземных вод может быть выполнен методами математического моделирования или по аналитическим зависимостям. Методика подобных прогнозов изложена в пособии «Гидрогеологические прогнозы. Пособие к ВСН 33-2.1.05-85», ВНИИГиМ, ВО «Союзводпроект», 1987.
Прогноз водного режима и миграции азотных соединений выполняется на основе системы уравнений,
;
![]()
![]()
![]()
![]()
![]()
S1 = kgc1
![]()
где V - скорость влагопереноса;
q - содержание NН4+ в поровом растворе;
с2 - содержание NО3- в поровом растворе;
сор - содержание органического азота;
cg - содержание азота в газообразной фазе;
S1 - содержание NH4+ в обменном комплексе почвы;
q1 и q2 - интенсивность отбора NH4+ и NО3- из порового раствора корнями растений;
ki (i = 1,...,5) - коэффициент скорости трансформации форм азота;
kс - коэффициент распределения обменного азота.
Данная система уравнений предполагает, что формы азота состоят из NH4+ и NО3- в поровом растворе, обменного NH4+ органического N и денитрификационного азота N2 + N2O. Трансформация азота предполагается в виде следующих процессов: инфильтрация NH4+в NО3-, иммобилизация NО3- в органический азот, минерализация органического азота в NH4+, иммобилизация NH4+ в органический азот, денитрификация NО3- в N2 + N2O, ионный обмен NH4+ в поровом растворе и обменном комплексе.
Процессы нитрификации, т.е. превращение аммония в нитрит, а нитрита в нитрат, связаны в одношаговый процесс превращения аммония в нитрат, т.к. в большинстве окислительных реакций нитриты достаточно быстро окисляются в нитраты. Далее предполагается общий пул всего минерализуемого органического азота без различия его форм.
Коэффициенты трансформации определяются по зависимости
ki = ki φi,
в которой коэффициент ki задается в виде исходных данных, а функция φi зависит от влажности почвы.
Отбор растворенных NH4+ и NO3- корнями растений рассчитывается по формуле Михаэлиса-Ментена. Параметры миграции и трансформации определяются на основе обработки экспериментальных данных.
Как следует из системы уравнений, при соответствующей постановке граничных условий, моделирующих режим орошения, по осадкам, оттоку грунтовых вод могут быть рассчитаны скорость и объемы миграции соединений и их отток в естественные водоприемники, дренажи и водозаборные сооружения.
Расчет загрязнения атмосферы выбросами любого источника выполняются по ОНД-86 с использованием ЭВМ.
Максимальное значение приземной концентрации вредного вещества при выбросе из единичного точечного источника при неблагоприятных метеорологических условиях на расстоянии Хм (м) от источника определяется по формуле
![]()
где См - максимальная приземная концентрация вредного вещества, мг/м3;
А - коэффициент, зависящий от температурной стратификации атмосферы (140 для Московской, Тульской, Рязанской, Владимирской, Калужской, Ивановской областей; 160 для территорий севернее 52° ст.; 180 для территорий от 50° до 52° ст.; 200 для территорий южнее 50° ст.);
М - масса вредного вещества, выбрасываемого в атмосферу, г/с;
F - коэффициент оседания вредных веществ в атмосферном воздухе (1 для газообразных веществ и мелкодисперсных аэрозолей);
m, n - коэффициенты, учитывающие условия выхода газо-воздушной смеси из устья источника выброса;
η - коэффициент, учитывающий влияние рельефа местности (1 для ровной и слабопересеченной местности);
Н - высота источника выбросов над уровнем земли, м (для площадных источников при расчетах принимается 2 м);
ΔТ - разность температур выбрасываемой газо-воздушной смеси и окружающего атмосферного воздуха, °С;
V1 - расход газо-воздушной смеси, м3/с.
Перед проведением расчетов на ЭВМ ПДВ мелиоративной системы, использующей сточные воды, определяется масса вредного вещества М, выбрасываемого в атмосферу, расчетными или инструментальными методами. Значение коэффициента А выбирается для конкретного района России. Участок орошения сточными водами представляется площадным источником, определяются его координаты и координаты ближайшей жилой зоны.
Границы санитарно-защитной зоны (СЗЗ) мелиоративной системы, использующей сточные воды, определяются результатами расчетов рассеивания вредных веществ в атмосфере. Определение размеров СЗЗ с учетом розы ветров выполняется согласно ОНД-86 для вредного вещества, дающего наибольший вклад в загрязнение атмосферного воздуха, по формуле
![]()
где L - расчетный размер СЗЗ, м;
L0 - расчетный размер участка местности в данном направлении, где концентрация вредного вещества равна 1,0 долей ПДК, м;
Р - среднегодовая повторяемость направления ветров, рассматриваемого румба, %;
Р0 - повторяемость направления ветров, одного румба при круговой розе ветров, %.
СЗЗ наносится на карту М 1:2000 вокруг мелиоративной системы с обозначением ближайшего жилья, коллективных садов, зон отдыха и спорта. В случае, когда жилая зона находится в пределах рассчитанной СЗЗ, выброс данного вредного вещества устанавливается как временно согласованный выброс (ВСВ).
Пример расчета
Для расчетов может использоваться компьютерная программа «Эколог», разработанная Главной геофизической обсерваторией им. А.И. Воейкова (г. С.-Петербург). Программа рекомендована для обоснования предельно допустимых выбросов (ПДВ) или временно согласованных выбросов (ВСВ). В ней рассчитывается рассеивание от любого количества источников выбросов, расположенных в пределах рассматриваемой территории (мелиоративная система, автостоянка, гараж, животноводческая ферма, котельная, машинный двор и т.д.). Исходные данные для расчетов на ЭВМ включают метеорологическую характеристику района расположения объекта, характеристику вредных веществ и параметры источников выбросов.
Рассмотрим мелиоративную систему с использованием животноводческих стоков КРС, расположенную в Ногинском районе Московской области.
|
Наименование характеристики |
Величина |
|
Коэффициент, зависящий от стратификации атмосферы, А |
140 |
|
Коэффициент рельефа местности в городе |
1 |
|
Средняя максимальная температура наружного воздуха наиболее жаркого месяца года, Т, 5°С |
+24 |
|
Средняя температура наружного воздуха наиболее холодного | месяца (для котельных, работающих по отопительному графику), Т, 5 °С |
-12 |
|
Среднегодовая роза ветров,.% |
6 |
|
С СВ |
|
|
В ЮВ |
10 17 |
|
Ю |
17 |
|
ЮЗ |
|
|
З |
15 |
|
СЗ |
13 |
|
Скорость ветра (U ) (по средним многолетним данным), повторяемость которой составляет 5%, м/с |
5 |
Характеристика вредных веществ
|
Код вещества |
Наименование |
ПДК, мг/м3 |
Коэффициент оседания F |
|
202 |
Аммиак |
0,2 |
1 |
|
292 |
Сероводород |
0,008 |
1 |
|
319 |
Метилмеркаптан |
0,000009 |
1 |
|
19 |
Группа суммации - 202+292 |
|
|
Для расчета массы выброса вредных веществ принята концентрация аммиачного азота в животноводческих стоках С = 0,7 г/л, а потери при орошении К = 0,2. Для орошения используются дождевальные машины ДКН-80 с расходом q = 91,2 л/с, площадью захвата 1,62 га. Выброс аммиака составит .
М = q С К = 91,2 0,7 · 0,2 = 12,77 г/с.
Выбросы сероводорода и метилмеркаптана составляют соответственно 1,8 и 0,05 % от выбросов аммиака, т.е. 0,23 и 0,0064 г/с.
|
Параметры источника |
|
|
№ источника |
001 |
|
Наименование |
Площадной, тип - 3 |
|
Координаты средней линии, м |
Х1 = 0, X2=280, Y1 = Y2=29 |
|
Ширина, м |
58 |
|
Коэффициент рельефа местности |
1 |
|
Скорость выхода газо-воздушной смеси, м/с |
0,5 |
|
Высота, м |
2 |
|
Температура, °С |
20 |
|
Количество вредных веществ |
3 |
|
Коды веществ |
202, 292, 319 |
|
Выброс, г/с |
12,77; 0,23; 0,0064 |
|
Ширина, м Длина, м Координаты центра симметрии, м Координаты середины противоположных сторон
Шаг расчетной сетки, м
|
2000 2000 X = 140, Y = 29 X1= -860, X2=1140 Y1 = Y2 = 29 250 × 250 |
Анализируемые точки выбираются в жилой зоне. Их координаты вносятся в программу. Расчеты могут выполняться по нескольким вариантам, учитывающим особенности рассеивания веществ в летний и зимний периоды.
В качестве расчетного года принимается наиболее ранний из всех рассматриваемых вариантов календарный год, предшествующий эксплуатации полей орошения. Приведение разновременных затрат и результатов всех лет к расчетному году осуществляется путем умножения их величины за каждый год на коэффициент приведения.
Коэффициент приведения разновременных затрат к расчетному году рассчитывается по формуле
![]()
где Ен - норматив приведения разновременных затрат и результатов численно равный нормативу эффективности капитальных вложений (Ен = 0,1);
tp - расчетный год;
t -год, затраты и результаты которого приводятся к расчетному году.
Значения коэффициента at приводятся ниже.
|
Число лет предшествующих расчетному |
αt |
Число лет следующих за расчетным |
αt |
Число лет следующих за расчетным |
αt |
|
10 |
2,5937 |
1 |
0,9091 |
12 |
0,3186 |
|
9 |
2,3579 |
2 |
0,8254 |
13 |
0,2927 |
|
8 |
2,1436 |
3 |
0,7513 |
14 |
0,2633 |
|
7 |
1,9487 |
4 |
0,6830 |
15 |
0,2394 |
|
6 |
1,7716 |
5 |
0,6209 |
20 |
0,1487 |
|
5 |
1,6105 |
6 |
0,5645 |
25 |
0,0923 |
|
4 |
1,4641 |
7 |
0,5132 |
30 |
0,0573 |
|
3 |
1,3310 |
8 |
0,4665 |
40 |
0,0221 |
|
2 |
1,2100 |
9 |
0,4241 |
50 |
0,0085 |
|
1 |
0,7000 |
10 |
0,3855 |
|
|
|
0 |
1,0000 |
11 |
0,3505 |
|
|
Коэффициент реновации рассчитывается по формуле
![]()
где tcл - срок службы средств и орудий труда долговременного применения и приведен ниже для различных значений tcл.
|
tcл |
КР |
tcл |
Кр |
|
1 |
1,0000 |
11 |
0,0540 |
|
2 |
0,4762 |
12 |
0,0468 |
|
3 |
0,3021 |
13 |
0,0400 |
|
4 |
0,2155 |
14 |
0,0357 |
|
5 |
0,1638 |
15 |
0,0315 |
|
6 |
0,1296 |
20 |
0,0175 |
|
7 |
0,1054 |
25 |
0,0102 |
|
8 |
0,0874 |
30 |
0,0961 |
|
9 |
0,0736 |
40 |
0,0023 |
|
10 |
0,0627 |
50 |
0,0009 |
Стоимостная оценка результатов за расчетный период Рт проводится следующим образом
![]()
где Pt - стоимостная оценка результатов в t-ом году расчетного период;
n и N - начальный конечный годы расчетного периода.
В качестве начального года расчетного периода принимается год начала финансирования работ по осуществлению мероприятий устройства полей орошения, включая проведение научных исследований. Конечный год расчетного периода определяется моментом завершения функционирования полей орошения, т.е. нормативным сроком службы мелиоративной сети и сооружений.
I. Общие положения
1. Предприятие ____________, именуемое в дальнейшем "Вододатель", в лице президента __________(директора), действующего на основании Устава предприятия, с одной стороны, и предприятие ______________, именуемое в дальнейшем "Водопотребитель", в лице президента (директора) _________, действующего на основании Устава предприятия, с другой стороны, заключили настоящий договор об использовании сточных вод на орошение сельскохозяйственных культур.
2. В случае изменения технологии основного производства Вододателя или Водопотребителя, и отказа в связи с этим от технологии орошения сточными водами, партнеры должны не позже чем за один год предупредить все заинтересованные стороны.
II. Обязательства Вододателя
1. Организовать систематическую подачу сточных вод, отвечающих по количеству и качеству нормам, принятым по согласованию или в проекте, в количестве _____тыс.куб.м в сутки согласно графику, утвержденному "__"____19_г. обеими сторонами.
2. Не допустить (исключить) подачу сточной воды на поля орошения, не отвечающей по количеству и качеству нормам, принятым по согласованию или в проекте. За превышение объемов загрязняющих веществ оплата производится согласно действующим на данный момент инструктивно-методическим указаниям Минприроды РФ.
В случае нанесения экологического ущерба и (или) гибели посевов, а также снижения качества сельхозпродукции по вине Вододателя убытки Водопотребителя, возмещаются по взаимной договоренности или в судебном порядке.
3. Эксплуатировать за свой счет канализационную систему на территории предприятия и сооружения по предварительной подготовке сточных вод (механическая очистка, отстойники, регулирующие емкости, насосные станции и магистральные трубопроводы подачи стопных вод) до оросительной системы или точки водовыдела (Водопотребителю).
4. Об изменении условий (объемов, качества, сроков) подачи сточных вод Вододатель уведомляет Водопотребителя не позднее, чем за один месяц. При уменьшении объема подачи сточных вод в период действия договора Вододатель либо сам подает на поля чистую воду в недостающем объеме согласно графику поливов, либо оплачивает эти работы.
5. Оплачивать все специфические виды работ и услуг, производимые Водопотребителем или по его требованию, связанные с использованием сточных вод на орошение.
6. Вододатель ежемесячно оплачивает Водопотребителю расходы по счетам за прием, подготовку и распределение сточных вод из расчета _________ за один куб. м.
III. Обязательства Водопотребителя
1. Принимать и распределять на полях орошения в соответствии с проектом или по согласованию сторон сточные воды Вододателя в количестве_______ куб. м в год, согласно графику, утвержденному "__"_________ 19__года обеими сторонами и правилам санитарно-технической и ирригационно-мелиоративной эксплуатации полей орошения.
2. При подаче сточной воды, не отвечающей по количеству, качеству и срокам, принятым по согласованию или в проекте, Водопотребителъ имеет право прекратить ее прием, известив об этом Вододателя.
3. Вести работу по эксплуатации оросительной системы со всеми сооружениями, находящимися на ней от точки водовыдела сточной воды Вододателя, включая:
- поддержание в порядке оросительной и коллекторно-дренажной сети и сооружений;
- ведение соответствующего севооборота;
- выделение необходимой сельскохозяйственной и мелиоративной техники, оборудования, инвентаря, материалов и т.д.;
- обеспечение производственным персоналом (поливальщики, ремонтники, трактористы, машинисты, операторы и другие необходимые специалисты);
- организацию в необходимые сроки сбора, переработки и реализации сельхозпродукции, получаемой на полях орошения.
4. Организовать мониторинг окружающей среды в зоне размещения полей орошения.
5. Водопотребитель ежемесячно предъявляет счета на оплату Вододателю за прием, подготовку и распределение сточной воды на полях орошения.
Все разногласия, возникающие в процессе выполнения обязательств по настоящему договору, решаются в административном или судебном порядке.
Срок действия договора устанавливается с «___» _______19__г. по « _______» 19__ г.
К настоящему договору прилагаются:
1. График сроков и объёма подачи сточных вод.
2. …………………………………………………..
3. .…………………………………………………
|
Вододатель ________________ ________________ «___»_________19__ |
Водопотребитель _________________ _________________ «__» _______19___ |
|
ГОСТЫ, СТРОИТЕЛЬНЫЕ и ТЕХНИЧЕСКИЕ НОРМАТИВЫ. Некоммерческая онлайн система, содержащая все Российские Госты, национальные Стандарты и нормативы. В Системе содержится более 150000 файлов нормативно-технической документации, действующей на территории РФ. Система предназначена для широкого круга инженерно-технических специалистов. Copyright © www.gostrf.com, 2008 - 2026 |