Крупнейшая бесплатная информационно-справочная система онлайн доступа к полному собранию технических нормативно-правовых актов РФ. Огромная база технических нормативов (более 150 тысяч документов) и полное собрание национальных стандартов, аутентичное официальной базе Госстандарта. GOSTRF.com - это более 1 Терабайта бесплатной технической информации для всех пользователей интернета. Все электронные копии представленных здесь документов могут распространяться без каких-либо ограничений. Поощряется распространение информации с этого сайта на любых других ресурсах. Каждый человек имеет право на неограниченный доступ к этим документам! Каждый человек имеет право на знание требований, изложенных в данных нормативно-правовых актах!

  


 

ФЕДЕРАЛЬНОЕ АГЕНТСТВО ПО ТЕХНИЧЕСКОМУ РЕГУЛИРОВАНИЮ И МЕТРОЛОГИИ

НАЦИОНАЛЬНЫЙ СТАНДАРТ РОССИЙСКОЙ ФЕДЕРАЦИИ

ГОСТ Р
5250
3-2005

 

ЖАЛЮЗИ-РОЛЛЕТЫ

Методы испытаний на устойчивость к взлому и пулестойкость

 

Москва

Стандартинформ

2006

 

СОДЕРЖАНИЕ

Предисловие

Цели и принципы стандартизации в Российской Федерации установлены Федеральным законом от 27 декабря 2002 г. № 184-ФЗ «О техническом регулировании», а правила применения национальных стандартов Российской Федерации - ГОСТ Р 1.0-2004 «Стандартизация в Российской Федерации. Основные положения»

Сведения о стандарте

1. РАЗРАБОТАН Некоммерческим партнерством «Ржевский научно-исследовательский испытательный сертификационный центр» (НП РНИИСЦ)

2. ВНЕСЕН Техническим комитетом по стандартизации ТК 391 «Средства физической защиты и материалы для их изготовления» (ПК 1 «Организационно-методические основы стандартизации и подтверждения соответствия средств физической защиты и материалов для их изготовления»)

3. УТВЕРЖДЕН И ВВЕДЕН В ДЕЙСТВИЕ Приказом Федерального агентства по техническому регулированию и метрологии от 30 декабря 2005 г. № 546-ст

4. Настоящий стандарт разработан с учетом основных нормативных положений немецких стандартов DIN ЕN 949, DIN V ЕNV 1627, DIN V ЕNV 1628, DIN V ЕNV 1629, DIN V ЕNV 1630, DIN 18073 и белорусского стандарта СТБ 51.2.03-2000

5. ВВЕДЕН ВПЕРВЫЕ

Информация об изменениях к настоящему стандарту публикуется в ежегодно издаваемом информационном указателе «Национальные стандарты», а текст изменений и поправок - в ежемесячно издаваемых информационных указателях «Национальные стандарты». В случае пересмотра (замены) или отмены настоящего стандарта соответствующее уведомление будет опубликовано в ежемесячно издаваемом информационном указателе «Национальные стандарты». Соответствующая информация, уведомление и тексты размещаются также в информационной системе общего пользования - на официальном сайте национального органа Российской Федерации по стандартизации в сети Интернет.

НАЦИОНАЛЬНЫЙ СТАНДАРТ РОССИЙСКОЙ ФЕДЕРАЦИИ

ЖАЛЮЗИ-РОЛЛЕТЫ

Методы испытаний на устойчивость к взлому и пулестойкость

Venetian blind-rollets.
Methods of testing for resistance to burglary and bullet-proofing

Дата введения - 2006-09-01

1. Область применения

Настоящий стандарт распространяется на вновь разрабатываемые и модернизируемые жалюзи-роллеты по ГОСТ Р 52502.

Настоящий стандарт не распространяется на защитные жалюзи по ГОСТ Р 51222; конструкции: противопожарные; ограждения открытых территорий; предназначенные для объектов военного и (или) оборонного значения, а также для специальных промышленных производств.

2. Нормативные ссылки

В настоящем стандарте использованы ссылки на следующие стандарты:

ГОСТ Р 1.12-2004 Стандартизация в Российской Федерации. Термины и определения

ГОСТ Р 50862-96 Сейфы, сейфовые комнаты и хранилища ценностей. Требования и методы испытаний на устойчивость к взлому и огнестойкость

ГОСТ Р 51110-97 Средства защитные банковские. Общие технические требования

ГОСТ Р 51112-97 Средства защитные банковские. Требования по пулестойкости и методы испытаний

ГОСТ Р 51113-97 Средства защитные банковские. Требования по устойчивости к взлому и методы испытаний

ГОСТ Р 51221-98 Средства защитные банковские. Термины и определения

ГОСТ Р 51222-98 Средства защитные банковские. Жалюзи. Общие технические условия

ГОСТ Р 52502-2005 Жалюзи-роллеты. Общие технические условия

ГОСТ 16504-81 Система государственных испытаний продукции. Испытания и контроль качества продукции. Основные термины и определения

Примечание - При пользовании настоящим стандартом целесообразно проверить действие ссылочных стандартов в информационной системе общего пользования - на официальном сайте национального органа Российской Федерации по стандартизации в сети Интернет или по ежегодно издаваемому информационному указателю «Национальные стандарты», который опубликован по состоянию на 1 января текущего года, и по соответствующим ежемесячно издаваемым информационным указателям, опубликованным в текущем году. Если ссылочный документ заменен (изменен), то при пользовании настоящим стандартом следует руководствоваться замененным (измененным) документом. Если ссылочный документ отменен без замены, то положение, в котором дана ссылка на него, применяется в части, не затрагивающей эту ссылку.

3. Термины и определения

В настоящем стандарте применены термины по ГОСТ Р 1.12, ГОСТ Р 51221, а также следующие термины с соответствующими определениями:

3.1 вал: Часть жалюзи-роллеты, на которую наматывается (сматывается) полотно.

3.2 взлом жалюзи-роллеты: Совокупность действий с целью нарушения целостности жалюзи-роллеты и достижения полного доступа в защищаемое помещение.

3.3 ударная нагрузка: Нагрузка, создаваемая массой движущегося тела, обладающего определенной кинетической энергией.

3.4 жалюзи-роллета: Механическое или электромеханическое устройство, содержащее свертывающееся полотно, состоящее из подвижно скрепленных между собой пластин, которое перемещается в направляющих шинах и наматывается на вал в процессе открывания (закрывания), и предназначенное для закрывания проема.

3.5 засов: Элемент, устанавливаемый на концевой профиль и фиксирующий полотно жалюзи-роллеты в закрытом положении.

3.6 концевой профиль: Последний (нижний) профиль полотна жалюзи-роллеты.

3.7 короб: Часть жалюзи-роллеты, в которой размещаются намотанное полотно и вал.

3.8 направляющая шина: Закрепленная в проеме часть жалюзи-роллеты, предназначенная для перемещения по ней торцов полотна.

3.9 начальный профиль: Первый (верхний) профиль полотна жалюзи-роллеты.

3.10 полотно: Сформированная из профилей часть жалюзи-роллеты, закрывающая проем в стене.

3.11 полный доступ жалюзи-роллеты: Результат взлома, обеспечивающий проникновение в защищаемое помещение и характеризующийся образованием отверстия, через которое может проходить один из шаблонов полного доступа (по ГОСТ Р 50862) или подъем полотна на высоту не менее 300 мм.

3.12 привод: Часть жалюзи-роллеты, предназначенная для подъема (опускания) полотна.

3.13 профиль: Часть жалюзи-роллеты в форме полос любой конфигурации, из которых формируется полотно.

3.14 пулестойкость жалюзи-роллеты: Свойство жалюзи-роллеты противостоять сквозному пробитию пулями и отсутствие при этом опасных для человека вторичных поражающих элементов.

3.15 ригель: Деталь, соединяющая полотно жалюзи-роллеты с валом и блокирующая полотно в опущенном состоянии.

3.16 статическая нагрузка: Нагрузка определенной величины, воздействующая на заданную зону жалюзи-роллеты в течение определенного времени.

3.17 заданная зона приложения нагрузки: Ограниченное место испытуемого образца, на которое воздействует испытательная нагрузка.

3.18 устойчивость жалюзи-роллеты к взлому: Способность жалюзи-роллеты противостоять достижению полного доступа при воздействии на нее статической, ударной нагрузки (или) приложения инструмента.

3.19 устройство нагружения: Устройство, с помощью которого на испытуемый образец воздействует статическая или ударная нагрузка.

3.20 часть жалюзи-роллеты: Составные конструкции и их соединения, обеспечивающие работоспособность жалюзи-роллеты и выполнение заданных требований.

3.21 элемент жалюзи-роллеты: Детали, обеспечивающие сборку частей и жалюзи-роллеты в целом.

4. Методы контроля защитных свойств

4.1 Общие положения

4.1.1 Жалюзи-роллеты должны быть представлены на испытания с комплектом конструкторских документов, сертификатами и (или) паспортами на применяемые материалы и комплектующие элементы.

4.1.2 Жалюзи-роллеты должны быть отобраны на испытания в соответствии с требованиями, установленными в технических условиях на изделие конкретного вида.

4.1.3 Жалюзи-роллеты должны быть идентифицированы на соответствие конструкторским документам изготовителя.

4.1.4 Целью испытаний является установление класса жалюзи-роллет на устойчивость к взлому или пулестойкость в соответствии с требованиями ГОСТ Р 52502.

4.1.5 Перед испытаниями должны быть определены наиболее уязвимые места в конструкции жалюзи-роллет.

4.1.6 Испытания жалюзи-роллет проводят по программе, разработанной в соответствии с требованиями ГОСТ 16504 и конструкторских документов на изделие конкретного вида. Программа должна быть утверждена в установленном порядке.

4.1.7 Если специальные требования к проведению испытаний жалюзи-роллет отсутствуют, то испытания проводят при температуре окружающего воздуха от 5°С до 30°С; атмосферное давление и влажность воздуха при этом не регламентируют. Перед началом испытаний образец должен находиться в заданных климатических условиях не менее 2 ч.

4.1.8 При испытании жалюзи-роллеты одного типоразмера контролю подвергают образец, соответствующий выпускаемому и реализуемому изготовителем.

4.1.9 Результаты испытаний действительны для жалюзи-роллет данной конструкции с отклонениями их габаритных размеров по ширине плюс 10 %, минус 30 %.

4.1.10 Допускается использовать для испытаний образцы жалюзи-роллет высотой полотна не менее 1000 мм.

4.1.11 Число жалюзи-роллет, представляемых для испытаний, должно быть установлено в программе испытаний, но во всех случаях оно должно составлять:

не менее одного образца - для жалюзи-роллет класса защиты по устойчивости к взлому Р1 по ГОСТ Р 52502;

не менее двух образцов - для жалюзи-роллет классов защиты по устойчивости к взлому Р2-Р8 по ГОСТ Р 52502. Для определения пулестойкости допускается использовать образцы, прошедшие испытания на устойчивость к взлому.

4.1.12 Испытания жалюзи-роллет проводят на специальном испытательном стенде (приложения А, Б, В, Г, Д, Е). Конструкция испытательного стенда должна быть жесткой и массивной, исключающей его деформацию в процессе проведения испытаний, и обеспечивать возможность:

- жесткого крепления к нему жалюзи-роллеты;

- установки и использования испытательного оборудования и применения инструмента, обеспечивающих необходимые характеристики и условия воздействия на жалюзи-роллету.

4.1.13 Средства измерения, используемые при проведении испытаний, должны быть поверены, а оборудование (инструмент) должно быть аттестовано в установленном порядке.

Погрешность измерения времени секундомером не должна превышать 1 с за 10 мин отсчета.

Погрешность измерения статической нагрузки динамометром не должна превышать 0,1 %.

Погрешность весов, используемых для определения массы ударного груза, не должна превышать 0,1 кг.

4.2 Метод испытаний на устойчивость к взлому

По устойчивости к взлому (с учетом требований ГОСТ Р 51110 и ГОСТ Р 51113) жалюзи-роллеты подразделяют на восемь классов защиты согласно таблице 1. Каждый класс защиты характеризует уровень защитных свойств жалюзи-роллет при применении специального испытательного оборудования и(или) инструмента.

Таблица 1

Классы устойчивости к взлому

Класс устойчивости к взлому

Характер воздействия

статической нагрузкой (± 0,1 %)

ударной нагрузкой (± 1 %)

с использованием инструмента

F, кН

F1, кН

F2 - F3, кН

J, дж

J1, Дж

СВ, ЕС

Р1

1,0

-

-

150

-

-

Р2

-

3,0

1,5

-

240

6

РЗ

-

4,0

2,0

-

360

10

Р4

-

6,0

3,0

-

-

15

Р5

-

7,0

3,5

-

-

30

Р6

-

8,0

4,0

-

-

50

Р7

-

9,0

5,0

-

-

80

Р8

-

10,0

6,0

-

-

120

F - нагрузка для выдавливания полотна из обеих направляющих шин;

F1 - нагрузка для выдавливания полотна из одной направляющей шины;

F2 - нагрузка для выдавливания центральных и нижнего профилей из направляющих шин;

Fз - нагрузка для поднятия полотна вверх;

J, J1 - энергия удара;

Св - значение сопротивления взлому (по ГОСТ Р 51221);

Ес - единица сопротивления.

Примечания 1 Для жалюзи-роллет классов защиты Р2 и РЗ испытания проводят с ограничением по применяемому инструменту. 2 Жалюзи-роллеты классов защиты Р4-Р8 по показателю Св, характеризующему устойчивость к взлому при использовании инструмента, полностью соответствуют требованиям к жалюзи по ГОСТ Р 51222 для классов защиты НО-III соответственно.

[ГОСТ Р 52502-2005, подпункт 5.1.1.2]

4.2.1Средства испытаний и вспомогательные устройства

При испытании жалюзи-роллет применяют устройства для статической и ударной нагрузок и инструмент по ГОСТ Р 50862.

4.2.1.1 Устройство для статической нагрузки состоит из механического или гидравлического домкрата с динамометром. Домкрат должен обеспечивать плавное увеличение нагрузки до требуемого значения в течение 1 мин с последующим поддержанием этой нагрузки в течение 1 мин. Динамометр должен обеспечивать измерение нагрузки с точностью до 0,1 кН.

4.2.1.2 Ударную нагрузку осуществляют грузом, представляющим собой круглый мешок диаметром (350 ± 10) мм из кожи или брезента, наполненный сухим песком. Общая масса ударного груза должна составлять (30 ± 0,3) кг.

4.2.1.3 Инструменты, принадлежности и вспомогательные средства при испытаниях на устойчивость к взлому выбирают в соответствии с требованиями ГОСТ Р 50862.

Для классов защиты Р2 и Р3 используют только инструмент категорий А групп 1, 2, 3, 4, 5 (масса головки не более 0,2 кг, длина не более 400 мм), Т, М, N.

Жалюзи-роллеты классов защиты Р4-Р8 испытывают с использованием инструмента по ГОСТ Р 50862 без ограничений.

4.2.1.4 Для измерения полного доступа используют один из трех испытательных шаблонов по ГОСТ Р 50862.

4.2.2 Порядок подготовки к испытаниям

Подготовка к испытаниям предусматривает составление программы испытаний, подготовку средств испытаний и измерений, закрепление изделия, разметку мест испытаний и фотографирование изделия.

4.2.2.1 Жалюзи-роллеты, прошедшие отбор и идентификацию, должны быть жестко закреплены на испытательном стенде.

Крепление следует осуществлять таким образом, чтобы при воздействии на жалюзи-роллету испытательного оборудования (инструмента) исключалось перемещение направляющих шин относительно испытательного стенда. Детали крепления жалюзи-роллеты к испытательному стенду не следует размещать на той части направляющих шин, по которой перемещается полотно, препятствуя его перемещению.

4.2.2.2 На закрепленной жалюзи-роллете размечают предполагаемые наиболее уязвимые места (4.1.5), предусмотренные программой испытаний, для непосредственного воздействия оборудованием (инструментом) и фотографируют (при необходимости) ее с лицевой и тыльной сторон.

4.2.3 Порядок проведения испытаний

Испытания жалюзи-роллет на взлом проводят в следующей последовательности:

- испытание статической нагрузкой;

- испытание ударной нагрузкой;

- испытание с использованием инструмента.

4.2.3.1 Испытание на взлом статической нагрузкой

При испытании статической нагрузкой жалюзи-роллету крепят к испытательному стенду с внутренней стороны проема, при этом нагружение начинают с приложения к испытуемой точке жалюзи-роллеты усилия предварительного поджатия значением 0,2 кН ± 1 %.

Нагрузка в точке приложения должна возрастать линейно от 0,2 кН до требуемого значения в течение (60 ± 5) с с последующим поддержанием ее в течение 60+5 с.

Передачу усилия от домкрата на полотно жалюзи-роллеты осуществляют через плоскую или фигурную стальную прижимную пластину.

Схема стенда для испытания статической нагрузкой приведена в приложении А, виды и размеры прижимных пластин - в соответствии с приложением Б, схемы приложения статических нагрузок F, F1, F2 и F3 приведены в приложении В.

Нагрузку F прикладывают один раз к середине полотна жалюзи-роллеты.

Нагрузку F1 на профили в направлении выдавливания их из направляющих шин прикладывают по одному разу в двух местах полотна жалюзи-роллеты: в середине полотна и внизу полотна (концевой профиль) на расстоянии 10 мм от шины.

Нагрузку F2 на середину концевого профиля и в центр полотна жалюзи-роллеты, в направлении выдавливания профилей из направляющих шин, прикладывают по одному разу.

Нагрузку F3 на нижний торец полотна жалюзи-роллеты (концевой профиль) в направлении открывания жалюзи-роллеты прикладывают по одному разу слева и справа на расстоянии 10 мм от направляющей шины и один раз в середине.

После снятия нагрузки (нагрузок) проводят осмотр целостности жалюзи-роллеты и проверяют ее работоспособность путем однократного поднятия и опускания полотна. В случае получения повреждений полотна (образование отверстия в полотне, расхождение профилей и т. п.) или выхода его из направляющих шин проводят проверку возможности образования при дополнительном воздействии вручную (без использования инструмента) такого отверстия, через которое пройдет один из шаблонов полного доступа.

4.2.3.2 Испытание на взлом ударной нагрузкой

При испытании ударной нагрузкой жалюзи-роллету крепят к испытательному стенду с внутренней стороны проема. Схема стенда для испытания ударной нагрузкой приведена в приложении Г, схема приложения ударных нагрузок - в приложении Д.

Значения ударных нагрузок с энергиями ударов (150 ± 1,5), (240 ±2,4), (360 ± 3,6) Дж достигаются за счет изменения высоты падения ударного груза (500, 800, 1200 мм) при длине маятникового подвеса 1500 мм.

Форма ударного груза перед каждым ударом должна быть скорректирована.

Удар с энергией J наносят в центр полотна один раз.

Удары с энергией J1 наносят по одному разу в трех местах полотна жалюзи-роллеты: нижний левый угол, середина и верхний правый угол. При ударах по углам центр воздействия ударного груза должен отстоять от нижнего (верхнего) края полотна и от направляющей шины на (200 ±10) мм, а при ударе в середину - находиться в центре полотна по высоте и ширине.

После нанесения удара (ударов) проводят осмотр целостности жалюзи-роллеты и проверяют ее работоспособность путем однократного поднятия и опускания полотна. В случае получения повреждений полотна (образование отверстия в полотне, расхождение профилей и т. п.) или выхода его из направляющих шин проводят проверку возможности образования при дополнительном воздействии вручную (без использования инструмента) такого отверстия, через которое пройдет один из шаблонов полного доступа.

4.2.3.3 Испытание на взлом с использованием инструмента

Перед испытаниями жалюзи-роллету жестко крепят к испытательному стенду с наружной стороны проема. Схема крепления жалюзи-роллет к испытательному стенду приведена в приложении Е.

Испытания жалюзи-роллет на устойчивость к взлому проводят по ГОСТ Р 50862, в том числе с учетом ограничений по инструменту, приведенных в 4.2.1.3.

При испытании должны быть предусмотрены следующие обязательные виды достижения полного доступа:

-через полотно жалюзи-роллеты;

-воздействием на направляющие шины и полотно жалюзи-роллеты;

-воздействием на запирающий механизм (замок, засов) и привод жалюзи-роллеты.

4.3 Метод испытаний на пулестойкость

По пулестойкости жалюзи-роллеты подразделяют на пять классов защиты согласно таблице 2.

Таблица 2

Классы защиты по пулестойкости

Класс защиты

Вид оружия

Наименование и индекс патрона

Характеристика пули

Дистанция обстрела,

м

Тип сердечника

Масса, г

Скорость,

м/с

1

Пистолет Макарова (ПМ)

9-мм пистолетный патрон 57-Н-181С с пулей Пст

Стальной

5,9

305-325

5

Револьвер типа «Наган»

7,62-мм револьверный патрон 57-Н-122 с пулей Р

Свинцовый

6,8

275-295

5

2

Пистолет специальный     малокалиберный ПСМ

5,45-мм пистолетный патрон 7Н7 с пулей Пст

Стальной

2,5

310-335

5

Пистолет Токарева

7,62-мм пистолетный патрон 57-Н-134С с пулей Пст

Стальной

5,5

415-445

5

Охотничье ружье 12-го калибра

18,5-мм охотничий патрон

Свинцовый

35,0

390-410

5

3

Автомат АК-74

5,45-мм патрон 7Н6 с пулей ПС

Стальной нетермоупрочненный

3,4

890-910

5-10

Автомат АКМ

7,62-мм патрон 57-Н-231 с пулей ПС

Стальной нетермоупрочненный

7,9

710-740

5-10

4

Автомат АК-74

5,45-мм патрон 7Н10 с пулей ПП

Стальной термоупрочненный

3,6

890-910

5-10

[ГОСТ Р 52502-2005, подпункт 5.1.1.3]

При испытаниях жалюзи-роллет на пулестойкость средства испытаний и вспомогательные устройства, порядок подготовки к испытаниям, порядок проведения испытаний используют согласно ГОСТ Р 51112.

В программе испытаний отражают результаты анализа по установлению наиболее слабых зон жалюзи-роллет, которые должны быть подвергнуты обстрелу.

5. Правила обработки и оценки результатов испытаний

5.1 Обработку результатов испытаний сводят к систематизации полученных данных и проведению (при необходимости) расчетов. Примеры определения класса устойчивости к взлому и класса защиты по пулестойкости приведены в приложении Ж.

5.2 Значение сопротивления взлому Св, Ес, с применением инструмента по ГОСТ Р 50862 рассчитывают путем умножения времени приложения инструмента к образцу на коэффициент используемого инструмента наивысшей категории и прибавления к этому произведению суммы базисных значений используемых инструментов и сменных деталей

СВ = Σ ТР КИ.макс + Σ БИ

где Тр - время приложения инструмента к образцу, мин;

ΣТР - сумма времен приложения всех инструментов к образцу (с учетом времени на замену сменных деталей), мин;

КИ.макс - коэффициент используемого инструмента наивысшей категории, Ес/мин;

Би - базисное значение инструмента, Ес;

ΣБи - сумма базисных значений инструментов и сменных деталей, Ес.

Полученное при расчете значение Св округляют до целого числа.

5.3 Жалюзи-роллеты считают выдержавшими испытания на устойчивость к взлому, если после воздействий (таблица 1 и 4.2.1.3):

-не будет осуществлен полный доступ и жалюзи-роллеты сохранят функцию назначения (работоспособность) - для класса защиты Р1;

- в результате статической и ударной нагрузок не будет достигнут полный доступ в защищаемое помещение и (или) значение сопротивления взлому (Св) будет соответствовать приведенным в таблице 1 - для классов защиты Р2-Р8.

5.4 Жалюзи-роллеты считают выдержавшими испытания на пулестойкость, если после воздействия не установлено пробития защитной композиции и при этом отсутствовали вторичные поражающие элементы. Среднюю скорость пули рассчитывают как среднеарифметическое значение скоростей пуль в группе зачетных выстрелов.

5.5 Соответствие жалюзи-роллет классу защиты устанавливают по минимальному значению контролируемых параметров (F, F1 F2, F3, J, J1, Св) и показателю пулестойкости, полученным в результате испытаний.

5.6 Соответствие жалюзи-роллет классам защиты по устойчивости к взлому и (или) пулестойкости определяют путем сравнения полученных результатов с требованиями нормативных и технических документов.

6 Правила оформления результатов испытаний

6.1 При испытаниях жалюзи-роллет ведется журнал, в котором фиксируют:

- тип (модель) испытуемого образца и его описание;

- описание способа закрепления жалюзи-роллет на испытательном стенде;

- используемое оборудование (инструмент), его характеристики, время его приложения к образцу;

- описание (вид) образца после испытаний.

6.2 После обработки и оценки результатов испытаний составляют протокол, в котором должны быть отражены следующие сведения:

- наименование предприятия-изготовителя, адрес;

- модель (тип), назначение испытуемого образца;

- дата получения образца;

- процедура отбора образца;

- регистрационный номер (а) производителя и испытательной организации;

- дата проведения испытаний;

- место проведения испытаний;

- нормативные и технические документы (стандарт, конструкторские документы и др.);

- методика испытаний (наименование методики, обозначение стандарта, номера и пункты разделов, по которым проводились испытания);

- измерительная аппаратура (наименование, тип, срок действия проверки);

- особые условия испытаний;

- результаты испытаний (результаты измерений и наблюдений);

- результаты оценок с указанием соответствия или несоответствия продукции требованиям нормативных и технических документов.

6.3 Протокол испытаний жалюзи-роллет составляют в двух экземплярах. Один экземпляр представляют заказчику с соблюдением условий конфиденциальности, второй экземпляр оставляют в испытательной организации на тех же условиях.

6.4 Исправления и дополнения в протоколе оформляют только в виде отдельного документа: «Дополнение к протоколу испытаний».

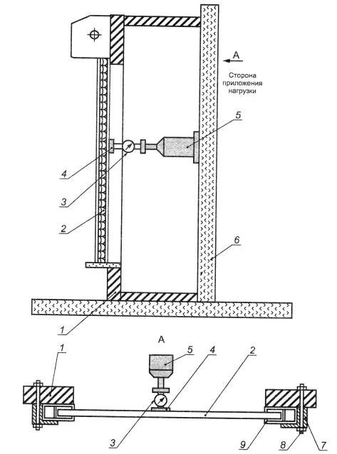
Приложение А
(рекомендуемое)

Схема стенда для испытания статической нагрузкой

 

1 - испытательный стенд; 2- полотно жалюзи-роллеты; 3 - динамометр; 4 - прижимная пластина; 5 - домкрат; 6 - стена; 7 - прижим направляющей шины; 8 - крепеж; 9 - направляющая шина

Рисунок А. 1

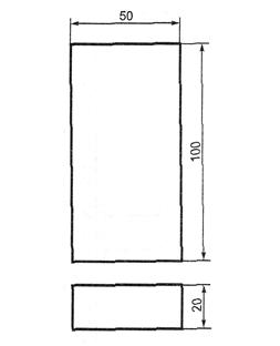
Приложение Б
(обязательное)

Виды и размеры прижимных пластин

(допуск на изготовление пластин ± 1 %)

Рисунок Б.1 - Плоская стальная прижимная пластина

Рисунок Б.2 - Фигурная прижимная пластина

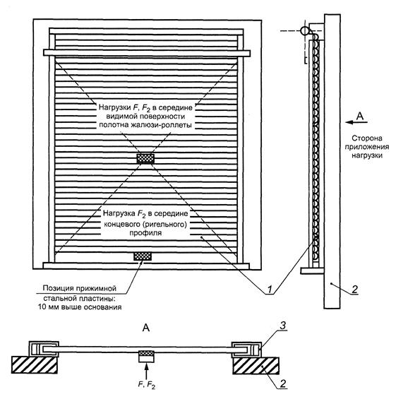
Приложение В
(справочное)

Схемы приложения статических нагрузок

1- жалюзи-роллета; 2 испытательный стенд; 3-направляющая шина

Рисунок В.1 – схема приложения статических нагрузок F, F2

1 - жалюзи-роллета; 2 - испытательный стенд; 3 - направляющая шина; 4 - прижимная пластина

Рисунок В.2 - Схема приложения статической нагрузки

 

1 - направляющая шина; 2 - концевой профиль; 3 - испытательный стенд; 4 - прижимная пластина

Рисунок В.3 - Схема приложения статической нагрузки F3

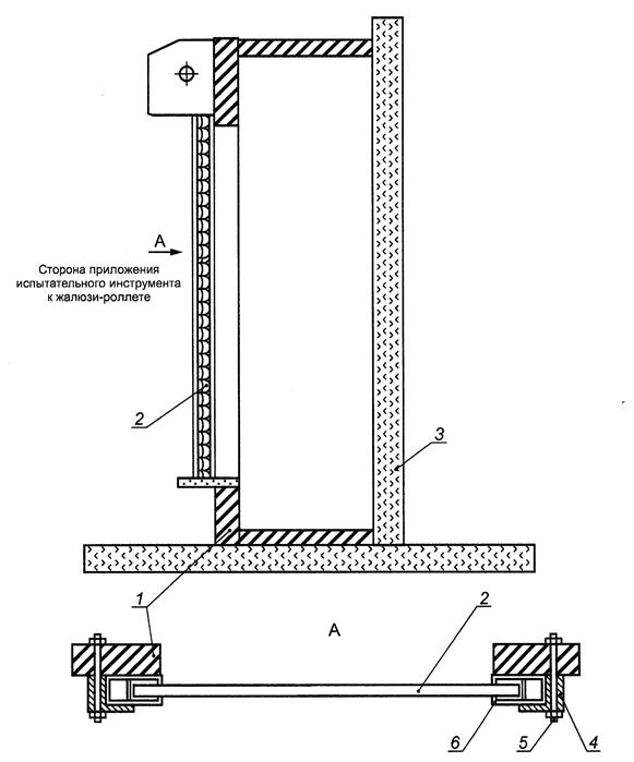
Приложение Г
(рекомендуемое)

Схема стенда для испытания ударной нагрузкой

1 - жалюзи-роллета; 2 - ударный груз; 3 - маятниковый подвес; 4 - стена; 5 - испытательный стенд; h – высота падения ударного груза

Рисунок Г. 1

Приложение Д
(справочное)

Схема приложения ударных нагрузок

1 - ударный груз; 2 - испытательный стенд; 3 - жалюзи-роллета; 4 - направляющая шина

Рисунок Д. 1

 

Приложение Е
(рекомендуемое)

Схема крепления жалюзи-роллеты к испытательному стенду при проведении испытания с использованием инструмента

 

1 - испытательный стенд; 2 - полотно жалюзи-роллеты; 3 - стена; 4 - прижим направляющей шины; 5 - крепеж; 6 - направляющая шина

Рисунок Е.1

Приложение Ж
(справочное)

Примеры определения класса устойчивости к взлому и класса защиты по пулестойкости

Пример Ж.1 Определение класса защиты жалюзи-роллеты по устойчивости к взлому

Ж.1.1 Исходные данные

Оценить устойчивость к взлому жалюзи-роллеты АR/37 с ручным приводом на соответствие требованиям ГОСТ Р 52502 для класса защиты Р1.

Защитное полотно жалюзи-роллеты выполнено из горизонтально расположенных взаимно сцепленных фигурных профилей из алюминия толщиной 1,0 мм. Размер полотна по высоте составляет 2,0 м, по ширине - 1,5 м. Полотно перемещается по двум направляющим шинам, выполненным из алюминия со стенками толщиной 0,75 мм.

Защитное полотно наматывается на барабан при помощи ручного привода.

Ж.1.2 Условия и результаты испытаний

Испытания проводились по ГОСТ Р 52502 путем приложения статической и ударной нагрузок.

Результаты испытаний приведены в таблице Ж. 1.

Таблица Ж.1

Результаты испытаний при статической и ударной нагрузках

Очередность испытаний

Вид испытаний

Максимальные нагрузки, при которых жалюзи-роллета сохранила свои защитные свойства и функцию назначения

Состояние образца после испытаний

1

Статическая нагрузка

F; кн

1,0

После снятия нагрузки образовалась вмятина на профиле в месте приложения нагрузки. Жалюзи-роллета работоспособна и сохранила свою целостность

2

Ударная нагрузка J, Дж

150

В центре полотна образовался прогиб профилей. Жалюзи-роллета работоспособна и сохранила свою целостность

Ж.1.3 Вывод

Жалюзи-роллета АР1/37 по устойчивости к взлому удовлетворяет требованиям ГОСТ Р 52502 для класса защиты Р1.

Пример Ж.2 Определение класса защиты жалюзи-роллеты по устойчивости к взлому

Ж.2.1 Исходные данные

Оценить устойчивость к взлому жалюзи-роллеты АЕR55/S с электроприводом на соответствие требованиям ГОСТ Р 52502 для класса защиты Р4.

Полотно жалюзи-роллеты выполнено из горизонтально расположенных взаимно сцепленных экструдированных алюминиевых профилей со стенками толщиной 2,5 мм. Размер полотна по высоте составляет 2,0 м, по ширине- 1,5 м. Полотно перемещается по двум направляющим шинам, выполненным из экструдированных алюминиевых профилей со стенками толщиной 2,0 мм.

Защитное полотно наматывается на барабан при помощи электропривода.

Ж.2.2 Условия и результаты испытаний

Испытания проводились по ГОСТ Р 52502 путем приложения статической нагрузки и инструмента.

Результаты испытаний приведены в таблицах Ж.2.1 и Ж.2.2.

Таблица Ж.2.1

Результаты испытаний при статической нагрузке

Очередность испытаний

Испытание со статической нагрузкой

Максимальные нагрузки, при которых жалюзи-роллета сохранила свои защитные свойства и функцию назначения

Состояние образца после испытаний

1

F1, кН

6,0

После снятия нагрузки образовались вмятина на профиле в месте приложения нагрузки и незначительный отгиб направляющей шины. Жалюзи-роллета работоспособна и сохранила свою целостность

2

F2, кН

3,0

После снятия нагрузки образовалась вмятина на профиле в месте приложения нагрузки. Жалюзи-роллета работоспособна и сохранила свою целостность

3

F3, КН

3,0

Полотно не поднято. В местах приложения нагрузки образовались незначительные вмятины. Жалюзи-роллета сохранила свою целостность

Таким образом, жалюзи-роллета выдержала испытание статической нагрузкой.

Таблица Ж.2.2

Результаты испытаний с применением инструмента

Очередность испытаний

Наименование операции

Наименование применяемого инструмента (принадлежности)

Коэффициент инструмента, Ес, не менее

Базисное значение инструмента, Ес, не менее

Время приложения инструмента (число ударов)

Состояние образца после применения инструментов

1

Достижение полного доступа через полотно

Ручная дрель

5

0

0,2 мин

Получено отверстие размером 320x350 мм. Полный доступ достигнут

Сверло из быстрорежущей стали

5

1

Электролобзик

5

7

1,4 мин

Ножовочное полотно

5

1

2

Достижение полного доступа при воздействии на направляющие шины

Кувалда с головкой массой 3 кг, длина рукоятки 800 мм

7,5

7

36 ударов (1,2 мин)

Получено отверстие размером 315x345 мм. Полный доступ достигнут

3

Достижение полного доступа при воздействии на запирающее устройство (ручные ригеля)

Ручная дрель

5

0

0,75 мин

Полотно жалюзи-роллеты поднято на высоту 500 мм. Полный доступ достигнут

Сверло из быстрорежущей стали

5

1

Молоток с головкой массой 1,5 кг, длина рукоятки 400 мм

5

5

66 ударов (1,1 мин)

Молоток с головкой массой 1,5 кг, длина рукоятки 400 мм и пробойник

5

1

14 ударов (0,35 мин)

Расчет значений сопротивления взлому:

Св = 5 . (0,2 + 1,4) + 9 = 17 Ес - через полотно жалюзи-роллеты;

Св = 7,5 . 1,2 + 7 = 16 Ес - при воздействии на направляющие шины;

Св = 5 . (0,75 + 1,1+ 0,35) + 7 = 18 Ес - при воздействии на запирающее устройство.

Таким образом, при испытании с использованием инструментов минимальное значение сопротивления взлому составляет 16 Ес.

Ж.2.3 Вывод

Жалюзи-роллета АЕR55/S с электроприводом по устойчивости к взлому соответствует требованиям ГОСТ Р 52502 для класса защиты Р4,

Пример Ж.З Определение класса пулестойкости жалюзи-роллеты

Ж.3.1 Исходные данные

Оценить пулестойкость металлической оконной жалюзи-роллеты АЕО 82/1,25 с электроприводом на соответствие требованиям ГОСТ Р 51112 для класса защиты 2.

Защитное полотно жалюзи-роллеты выполнено из горизонтально расположенных взаимно сцепленных плоских профилей из титанового сплава марки ВТ 14 толщиной 1,25 мм. Размер полотна по высоте составляет 1,5 м, по ширине - 1,0 м. Полотно перемещается по двум направляющим шинам, выполненным из стали марки Ст. 3 со стенками толщиной 3,0 мм. Крепление направляющих шин к кирпичной стене осуществлено при помощи металлических (Ст. 3) дюбелей диаметром 4 мм.

Защитное полотно наматывается при помощи электропривода на барабан, закрытый коробом из стали марки Ст. 3 со стенками толщиной 3,0 мм.

Ж.3.2 Условия испытаний

Испытания проводились по ГОСТ Р 51112 обстрелом из 7,62-мм пистолета ТТ и 5,45-мм пистолета ПСМ с расстояния 5,0 м патронами с пулей Пcт с определением скорости пули при каждом выстреле. Из каждого пистолета произведено по десять зачетных выстрелов, из которых по четыре выстрела произведено по полотну, по два выстрела - по коробу, направляющим шинам и месту сцепления профилей.

Ж.3.3 Результаты испытаний

В процессе испытаний скорость пуль находилась в пределах 418-424 м/с - для пистолета ТТ и 312-319 м/с - для пистолета ПСМ, что соответствует требованиям ГОСТ Р 51112.

Осмотр жалюзи-роллеты проводился после каждого выстрела, при этом сквозных пробитий не установлено, вторичные поражающие элементы отсутствовали.

Ж.3.4 Вывод

Жалюзи-роллета АЕG 82/1,25 с электроприводом по пулестойкости соответствует требованиям ГОСТ Р 51112 для класса защиты 2.

Ключевые слова: жалюзи-роллета, защитные свойства, классы защиты, методы испытаний, средства испытаний, вспомогательные устройства, статическая нагрузка, ударная нагрузка, испытание с применением инструментов, устойчивость к взлому, пулестойкость

 




ГОСТЫ, СТРОИТЕЛЬНЫЕ и ТЕХНИЧЕСКИЕ НОРМАТИВЫ.
Некоммерческая онлайн система, содержащая все Российские Госты, национальные Стандарты и нормативы.
В Системе содержится более 150000 файлов нормативно-технической документации, действующей на территории РФ.
Система предназначена для широкого круга инженерно-технических специалистов.

Рейтинг@Mail.ru Яндекс цитирования

Copyright © www.gostrf.com, 2008 - 2026