|
|
Отборное устройство Технические условия ТУ 4218-008-51216464-01
Дата введения 01. 10.2001 г.
Главный специалист ООО «НОРМА-РТМ» Чудинов М.А. СОДЕРЖАНИЕ Настоящие технические условия разработаны взамен ТУ 4218-004-17416124-97. Настоящие технические условия распространяются на отборные устройства для приборов измерения давления (разрежения), вакуума, состава вещества, именуемые в дальнейшем - отборные устройства. Отборные устройства предназначены для установки на них приборов и подключения к ним соответствующих импульсных линий систем автоматизации технологических процессов (см. СНиП 3.05.07). Отборные устройства устанавливают на технологических трубопроводах и аппаратах. Отборные устройства рассчитаны на давление до 40 МПа. Максимальная температура измеряемой среды - до 550 °С. Отборные устройства могут эксплуатироваться в различных климатических зонах. Соответствующее климатическое исполнение и стойкость к промышленной атмосфере обеспечивается нанесением защитных и теплоизоляционных покрытий после монтажа (сварки с технологическим трубопроводом или аппаратом) по схеме защиты технологического трубопровода или аппарата. Схема обозначения отборных устройств
Примеры записи отборных устройств в спецификацию оборудования, изделий и материалов (рабочая документация СА) и в спецификации других изделий: 1. Отборного устройства для установки прибора «по месту» с трехходовым краном на давление до 1,6 МПа с температурой среды до 70°С на горизонтальном трубопроводе -Устройство отборное 1,6-70-ст20-МП-(ВИЛН491712 002-01) ТУ 4218-008-51216464-01; 2. Отборного устройства для установки манометра, на вертикальном трубопроводе из углеродистой стали, на Ру 16 МПа, при температуре измеряемой среды до 70 °С - Устройство отборное 016-70-ст20-МУ-(ОБ22.044.015.08) ТУ 4218-008-51216464-01; 3. Отборного устройства для подключения импульсной линии, из нержавеющей стали, на Ру 16 МПа, при температуре измеряемой среды до 200 °С - Устройство отборное 16-200-Х18Н10Т-Л-(К321215-020-02) ТУ 4218-008-51216464-01; 4. Отборного устройства для подключения импульсной линии внутренним диаметром 25мм с циклоном при температуре среды до 550°С, для кирпичной кладки толщиной 550 мм - Устройство отборное 0,01-550-12X1МФ -Л-(5), DN25LI=547 мм ТУ 4218-008-51216464-01; 5. Отборного устройства для подключения импульсной линии на вентиляционном трубопроводе - Устройство отборное 0,01-200-Ст20-(2), G1/2" ТУ 4218-008-51216464-01; 6 Штуцера для укрепления отверстий - Штуцер 025-200-ст20,Ш 10x25 ТУ 4218-008-51216464-01. 1. Технические требования1.1. Общие требования1.1.1. Отборные устройства должны соответствовать требованиям настоящих технических условий и комплекта документации 13.000000Сб. 1.2. Основные параметры и размеры1.2.1. Типы отборных устройств, коды ОКП приведены в таблице 1. Технические характеристики клапанов, использованных в отборных устройствах, приведены в справочном приложении Д. 1.2.2. Отборные устройства рассчитаны на рабочее давление и температуру среды в соответствии с показателями, приведенными в обозначении отборного устройства, согласно схеме обозначений, приведенной в общей части. Таблица 1Состав отборных устройств
Таблица 2Вспомогательные изделия
1.3 Характеристики1.3.1. Детали отборных устройств должны изготавливаться из материалов, указанных в конструкторской документации; 1.3.2 Материалы, запорная арматура и другие комплектующие изделия должны соответствовать действующим стандартам и техническим условиям на них и иметь сертификаты качества предприятий-изготовителей. 1.3.3. Покрытие должно обеспечить сохраняемость изделия во время его транспортирования и хранения до выполнения монтажа. 1.3.4. Резьбы должны соответствовать чертежу, быть чистыми, не иметь заусенцев, рванин, ниток с неполной или сорванной резьбой. Шероховатость поверхностей должна соответствовать конструкторской документации. Чистота уплотняющих поверхностей не хуже 2,5 мкм. 1.3.5. Поверхность деталей не должна иметь следов расслоения, волосовин, закатов, следов коррозии. 1.3.6. Сварные швы не должны иметь подрезов, раковин непроваров. 1.3.7. Отборные устройства в упаковке для транспортирования должны выдерживать воздействие температуры и влажности окружающего воздуха по условиям хранения 8 (ОЖЗ) ГОСТ 15150. 1.3.8. Отборные устройства должны обеспечивать прочность и плотность при давлении среды согласно параметров, указанных в обозначении. 1.3.9. Отборные устройства должны выдерживать при транспортировании воздействие на них механических факторов внешней среды, соответствующее группе исполнения №2 по ГОСТ 12297. 1.4. Комплектность1.4.1. В комплект поставки отборных устройств входят: отборное устройство; паспорт на партию изделий каждого типа упакованных в ящик. 1.5. Маркировка1.5.1. На отборном устройстве крепится бирка, в которой должно быть указано: тип изделия; товарный знак завода-изготовителя. 1.5.2. В паспорте на изделие должны быть приведены следующие сведения: тип изделия; товарный знак завода-изготовителя; марка стали детали, привариваемой к трубопроводу, аппарату; рабочее давление; рабочая температура измеряемой среды; год выпуска; отметка ОТК о приемке изделия. 1.6. Упаковка1.6.1. Упаковка отборных устройств должна соответствовать ГОСТ 23170. Упаковку производить в ящик типа IV по ГОСТ 5959 из ДВП по ГОСТ 4598. 1.6.2. При больших размерах отгружаемых партий ящики с изделиями должны быть помещены в транспортную тару по ГОСТ 10198. Масса тары или ящика не должна превышать 2000 кг. Необходимость применения транспортной тары согласовывается с потребителем отборных устройств. 1.6.3. Внутренняя поверхность транспортной тары должна быть выстлана битумизированной бумагой по ГОСТ 515. 1.6.4. Транспортная маркировка грузовых ящиков должна содержать основные, дополнительные информационные надписи в соответствии с требованиями раздела 1 ГОСТ 14192. Маркировку наносить на одну из боковых сторон, краской по трафарету. Если изделие транспортируется в ящиках типа IV из ДВП без транспортной тары, то транспортная маркировка должна быть нанесена на бирку, закрепляемую на боковой стороне ящика. 2. Требования безопасности2.1. При монтаже и эксплуатации отборных устройств необходимо соблюдать требования, предъявляемые к монтажу и эксплуатации импульсных трубопроводов и действующих в месте установки отборного устройства инструкций по охране труда, техники безопасности и пожарной безопасности. 2.2. Подтягивать резьбовые или фланцевые соединения под давлением запрещается. 2.3. Сброс давления перед снятием манометра (установка манометра на "нуль") в отборных устройствах МП, МУ с клапаном ОБ22.044.015.08 или другими клапанами, имеющими в своем составе соединение с муфтой для установки манометра, производить при закрытом клапане, для чего необходимо отвернуть муфту на пол-оборота, придерживая вторым ключом корпус клапана или соединения. Ключ на муфте установить таким образом, чтобы зев ключа перекрыл боковое отверстие в средней части муфты. При выполнении этой операции в отборных устройствах с трехходовым клапаном следить, чтобы продувочное отверстие было направлено в сторону от оператора или других людей. 3. Правила приемки3.1. Для проверки соответствия отборных устройств требованиям настоящих технических условий предприятие-изготовитель обязано производить приемо-сдаточные, периодические и типовые испытания. 3.2. Периодическим и типовым испытаниям должны подвергаться отборные устройства, прошедшие приемо-сдаточные испытания и принятые техническим контролем предприятия. 3.3. Приемо-сдаточные испытания готовых отборных устройств должны производиться изготовителем в объеме, установленном настоящими техническими условиями. 3.4. Приемо-сдаточным испытаниям на соответствие требованиям пунктов 1.3.1, 1.3.2, 1.3.4, 1.3.5, 1.3.6, 1.4, 1.5, 1.6 подвергаются 100% изделий, по п.п. 1.3.3, 1.3.4 в части допусков на размеры резьбы, п.1.3.8 испытаниям подвергается 20 % изделий от партии. 3.5. Периодические испытания готовых отборных устройств проводятся предприятием-изготовителем не реже одного раза в три года с целью установления качества готовых изделий требованиям настоящих технических условий. Для испытаний отбирают ящик изделий, прошедших приемо-сдаточные испытания и сданных на склад готовой продукции и подвергают испытаниям на дорожную тряску в соответствии с требованиями п. 1.3.9 3.6. Типовые испытания изделий проводят при изменении конструкции, материалов или технологии производства. Программу типовых испытаний и количество отборных устройств, подвергаемых типовым испытаниям, устанавливает завод-изготовитель в зависимости от характера и объема изменений. 3.7. Результаты приемо-сдаточных испытаний отражаются в паспорте в разделе "Свидетельство о приемке". 3.8. Результаты периодических и типовых испытаний оформляются протоколами и актами установленной формы. 4. Методы контроля 4.1. Проверку на соответствие отборных устройств требованиям пунктов 1.3.1, 1.3.2, 1.3.5, 1.3.6 и подразделов 1.4, 1.5, 1.6 проводить методом внешнего осмотра, сличением с конструкторской документацией. 4.2. Проверку качества резьбы производить внешним осмотром сравнением с эталоном и наворачиванием калибров. 4.2. Проверку на соответствие требованиям п.п. 1.3.1 и 1.3.2 проводить по сертификатам и паспортам предприятий-изготовителей. 4.3. Проверку качества покрытий по требованию п. 1.3.3 производить визуально. 4.4. Испытание отборных устройств на прочность и плотность по требованию 1.3.8 производить путем выдержки их под пробным давлением в соответствии с ГОСТ 356 в течение 5 мин. Результаты испытания считаются удовлетворительными, если во время испытаний не произойдет падение давления, изменение формы и размеров деталей, не обнаружатся течи и запотевания. 4.5. Испытания отборных устройств на соответствие требованиям пунктов 1.3.3, 1.3.7 в части воздействия тепла и влаги во время хранения и транспортирования гарантируются конструкцией изделия и испытаниям не подвергаются. 4.6. Испытание на воздействие дорожной тряски в соответствии с п. 1.3.6 проводить на стенде дорожной тряски, либо провозом изделий в упаковке на автомашине по проселочным и грунтовым дорогам со скоростью 20-40 км/час на участке не менее 100-200 км. 4.7. Отборные устройства считаются выдержавшими испытания, если во время и после испытаний они соответствуют требованиям настоящих технических условий, а после испытаний в соответствии с пунктом 4.6 не было обнаружено внешним осмотром нарушения целостности деталей, антикоррозионных покрытий, повреждения тары и упаковки, а также ослабления резьбовых соединений. Не было обнаружено испытанием в соответствии с пунктом 4.4 настоящих технических условий нарушения плотности и прочности изделия. 5. Транспортирование и хранение5.1 Транспортирование может производиться любым видом транспорта при условии обеспечения сохранности груза и в соответствии с действующими правилами на транспорте.5.2Условия транспортирования упакованных отборных устройств в части воздействия климатических факторов должны соответствовать условиям 8 (ОЖ3) по ГОСТ 15150. 5.3. Хранение отборных устройств должно соответствовать условиям хранения 6 (ОЖ2) по ГОСТ 15150. 6. Указания по монтажу и эксплуатации6.1. При установке отборного устройства на трубопроводе или аппарате с использованием сварки необходимо соблюдать ГОСТ 16037 и требования СНиП 3.05.05, а для оборудования и трубопроводов, подконтрольных Госгортехнадзору РФ, требования норм и правил, действующих в этом ведомстве. Установление необходимости укрепления отверстия в технологическом трубопроводе и выбор средств для укрепления отверстия производится в соответствии с РМ4-266, калькодержатель ГПКИ "Проектмонтажавтоматика". При установке отборного устройства также должно быть проверено соответствие материала прокладок параметрам измеряемой среды и, при необходимости, должны быть применены прокладки из соответствующего материала. 6.2. После монтажа отборное устройство должно быть окрашено совместно с технологическим трубопроводом, аппаратом, соответственно условиям эксплуатации трубопровода (аппарата). 6.3. При переборках соединений с уплотнительными кольцами для труб диаметром 14 мм значение крутящего момента должно быть не более 15 кг·м. При отсутствии контроля усилия подтяжку накидной гайки после наворачивания до упора "от руки" производить на угол 90-120°. 6.4. При установке прибора на муфте с правой и левой резьбой необходимо следить, чтобы прокладка находилась в средней части муфты. Для этого достаточно навернуть муфту на клапан (штуцер с левой резьбой, обозначено проточкой) на пол-оборота, придерживая муфту навернуть на пол-оборота прибор (подключаемое устройство). Затем, вращая муфту и предохраняя от вращения прибор, затянуть соединение. Усилие затяжки муфты определяется материалом прокладки. 6.5. Необходимо соблюдать требования безопасности согласно требований раздела 2. 6.6. Средний срок службы по условиям коррозионности среды определяется формулой:
где - С1 величина допустимого коррозионного износа; h1 - скорость коррозии металла внутренней стенки трубы; h2 - скорость коррозии металла наружной стенки трубы; Величина допустимого коррозионного износа рассчитывается потребителем как разница между толщиной стенки деталей трубопровода в отборном устройстве и расчетной толщиной стенки трубопровода для условий применения отборного устройства. 7. Гарантии изготовителя7.1. Изготовитель гарантирует соответствие отборных устройств требованиям настоящих технических условий при соблюдении условий транспортирования, хранения, монтажа и эксплуатации. 7.2. Гарантийный срок эксплуатации отборных устройств 18 месяцев со дня ввода в эксплуатацию, при условии, что глубина коррозионного износа не превысит показатель, приведенный в таблице 1, но не более 24 месяцев со дня получения потребителем. Приложение А
|
||||||||||||||||||||||||||||||||||||||||||||||||||||||||||||||||||||||||||||||||||||||||||||||||||||||||||||||||||||||||||||||||||||||||||||||||||||||||||||||||||||||||||||||||||||||||||||||||||||||||||||||||||||||||||||||||||||||||||||||||||||||||||||||||||||||||||||||||||||||||||||||||||||||||||||||||||||||||||||||||||||||||||||||||||||||||||||||||||||||||||||||||||||||||||||||||||||||||||||||||||||||||||||||||||||||||||||||||||||||||||||||||||||||||||||||||||||||||||||||||||||||||||||||||||||||||||||||||||||||||||||||||||||||||||||||||||||||||||||||||||||||||||||||||||||||||||||||||||||||||||||||||||||||||||||||||||||||||||||||||||||||||||||||||||||||||||||||||||||||||||||||||||||||||||||||||||||||||||||||||||||||||||||||||||||||||||||||||||||||||||||||||||||||||||||||||||||||||||||||||||||||||||||||||||||||||||||||||||||||||||||
|
Обозначение стандарта |
Наименование стандарта |
|
Давления условные, пробные, рабочие. Ряды |
|
|
Бумага упаковочная, битумированная и дегтевая. Технические условия |
|
|
Плиты древесноволокнистые. Технические условия. |
|
|
ГОСТ 5959-80 |
Ящики из листовых древесных материалов неразборные для грузов массой до 200 кг. Общие технические условия |
|
ГОСТ 9544-75 |
Арматура трубопроводная. Нормы герметичности. |
|
ГОСТ 10198-78 |
Ящики дощатые для грузов массой свыше 500 кг до 2000 кг. Общие технические условия. |
|
ГОСТ 12997-84 |
Изделия ГСП. Общие технические условия |
|
ГОСТ 14192-77 |
Маркировка грузов |
|
Машины, приборы и другие технические изделия. Исполнения для различных климатических районов. Категории, условия эксплуатации, хранения и транспортирования в части воздействия климатических факторов внешней среды |
|
|
Упаковка изделий машиностроения. Общие требования. |
|
|
ГОСТ 16037-88 |
Соединения сварные стальных трубопроводов. Основные типы, конструктивные элементы и размеры |
|
Технологическое оборудование и технологические трубопроводы |
|
№ п.п |
Наименование |
Характеристика |
|
1 |
Манометр, |
класс точности 1.5 |
|
2 |
Штангенциркули ТТЩ-1 ТТТТТ-7 ШЦ-3 ГОСТ 166-80 |
Цена деления 0,1 мм, пределы измерения 0-125 мм, 0-200 мм, 0-400 мм |
|
3 |
Весы настольные ГОСТ 29329-92 |
|
|
4 |
Пробка проходная ГОСТ 18923 |
|
|
|
Пробка непроходная ГОСТ 18923 |
|
|
|
Кольцо проходное ГОСТ 18930 |
|
|
|
Кольцо непроходное ГОСТ 18930 |
|
|
5 |
Стенд имитации транспортирования "СИТ" |
По документации, прилагаемой к стенду |
Примечание. Все применяемые средства измерений и испытаний должны иметь свидетельства, клейма, отметки в паспортах или аттестатах о проведении проверки. Допускается применение другого оборудования с аналогичными характеристиками.
1Эталон чистоты обработки уплотнительных поверхностей Ra=3,2 мкм.
2 Эталон шероховатости резьбы Ra=3,2 мкм.
1. Отборные устройства для установки приборов по месту
1а. Отборные устройства с трехходовым краном для подключения контрольного манометра
|
|
|
|
а) Отборное устройство прямое для температуры до 70 °С, включительно |
б) Отборное устройство угловое для температуры до 70 °С, включительно.
|
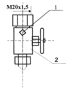
1 - труба
цельнотянутая
2 - клапан 11Б38бк;
Отбор давления местного прибора с трехходовым
клапаном
Рис.1
|
|
|
|
*- размеры для справок **- необходимость установки штуцера определяется по РМ4-266-93
|
|
в) отборное устройство прямое при температуре измеряемой среды свыше 70°С |
г) отборное устройство угловое при температуре измеряемой среды свыше 70°С |
1 -труба
цельнотянутая 14x2, ст20;
2- клапан 11Б38бк;
Отборное устройство с трехходовым клапаном
Рис.1
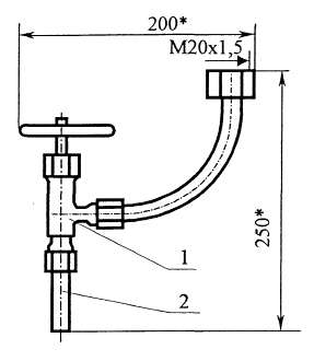
1б. Отборные устройства со стяжной муфтой и отверстием для стравливания давления
Остальное смотри рис.1
1- стяжная муфта с правой и левой резьбой (позволяет ориентировать манометр в требуемой плоскости и сбрасывать давление для контроля положения нулевой точки манометра на шкале);
2 - клапан
Отборное устройство со стяжной муфтой и отверстием для
стравливания давления
Рис.2

Остальное смотри рис.1
1- клапан для
стравливания давления
2 - клапан
Отборное
устройство с клапаном для стравливания давления
Рис.3

|
а) |
б) |
1- стяжная муфта с правой и левой резьбой (позволяет ориентировать манометр в требуемой плоскости и сбрасывать давление для контроля положения нулевой точки манометра на шкале);
2 - клапан;
3 - тройник.
4 - труба цельнотянутая 22x4
а) для горизонтальных трубопроводов;
б) для вертикальных трубопроводов
Отборное устройство с клапаном для циркуляции вязких продуктов или отбора проб
Рис.4
* - размеры для справок

1 - клапан;
2 - труба цельнотянутая низкоуглеродистая 14x2
Отборное устройство для местного манометра на аммиачных установках
Рис.5
*- размеры для справок
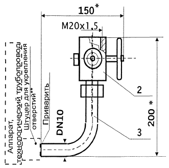
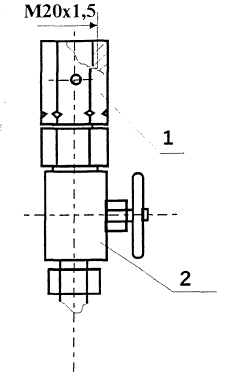
2 Отборные устройства для подключения импульсных линии.
|
|
|
|
1-бобышка БПХ2-М20х1,5-50-ХХХХХХУХЛ по ТУ4218-17416124-001-96, DN11 2- клапан муфтовый |
1 - труба цельнотянутая холоднокатаная 14x2 из ст20 или 12Х18Н10Т (соответственно материалу корпуса клапана; 2 -клапан |
|
Отборное устройство с клапаном муфтовым для трубопроводов без тепловой изоляции Рис.6 |
Отборное устройство для трубопроводов с тепловой изоляцией Рис.7 |
*- размеры для справок
**- необходимость установки штуцера определяется по РМ4-266-93

1 - труба цельнотянутая холоднокатаная 14x2 из стали 12Х18Н10Т;
2 - клапан 15нж67бк5(П3.2286-015-13)
Отборное устройство с клапаном на сварке без резьбовых соединений
Рис. 8

1 - соединение НСН14хМ20
2 - клапан;
3 -труба цельнотянутая низкоуглеродистая 14x2
Отборное устройство для аммиачных холодильных установок
Рис.9

1 - бобышка БПХ2-М20х1,5-50-ХХХХХХУХЛ по ТУ4218-17416124-001-96, DN11;
2 - пробка П-М20х1,5 ТУ36-1144-83;
3- прокладка медная ПМ7х18 ТУ 36-1103-83
Отборное устройство без запорной арматуры.
Рис.10
*- размеры для справок
**- необходимость установки штуцера определяется по РМ4-266-931-пробка П-М20х1,5 ТУ36-1144-83;

1 - пробка П-М20х1,5 ТУ 36-1144-83
2 - прокладка медная ПМ7х18 ТУ 36-1103-83
3 - футорка G l/2"-M20x1,5,
4 - прокладка из паронита ПП21х32-2 шт.,
5 - контргайка G 1/2"
Отборное устройство на тонкостенном вентиляционном воздуховоде.
Рис.11
Установка отборного устройства по рис. 11 производится до сборки вентиляционного трубопровода около фланца. В случае необходимости установки отборного устройства на собранном трубопроводе, его устанавливают на пластину, которую закрепляют на трубопроводе с использованием винтов-саморезов.

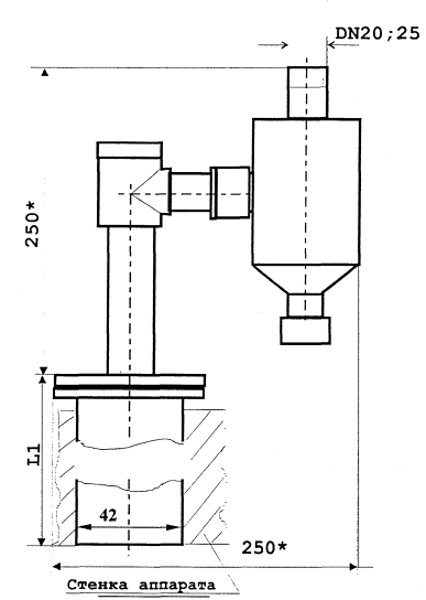
Отборное устройство для запыленных газов с тонкостенной оболочкой аппарата и небольшими колебаниями давления.
Рис.12

Отборное устройство для запыленных газов с толстостенной оболочкой аппарата и небольшими колебаниями давления
Рис.13
*- размеры для справок

Отборное устройство для запыленных газов с толстостенной оболочкой аппарата и большими колебаниями давления
Рис.14
*- размеры для справок
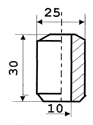
3. Вспомогательные изделия

Штуцер для укрепления отверстий в трубопроводе
Рис.15
(рекомендации по её применению приведены в РМ4-266-93)

Соединение со стяжной муфтой для установки манометра на муфтовом клапане
Рис.16
|
Обозначение |
d |
|
025-200-ст20, C-HM20x1,5-BG-1/2" |
G 1/2" |
|
025-200-ст20, C-HM20x1,5-BM20x1,5 |
M20x1,5 |

Рис.17 Футорка
|
Обозначение |
d |
|
040-200-ст20, C-HM12x1,5-BG-1/2" |
G 1/2" |
|
040-200-ст20, C-HM12x1,5-BM20x1,5 |
M20x1,5 |
|
Тип запорного клапана, (№ чертежа) |
Завод-изготовитель, |
Расчетное давление при 20°С, МПа |
Рабочая температура измеряемой среды, °С |
Материал сальникового устройства |
Материал, соприкасающийся с измеряемой средой |
Рекомендуемый состав сред |
Класс герметичности по ГОСТ 9544-93 |
|
11Б38бк1 (ВИЛН491712 002-01) |
ПАЗ |
1,6 |
225 |
- |
Латунь ЛЦ40Сд |
Вода, нефтепродукты, пар |
|
|
11с38п (П3.39113-00) (Шаровый кран) |
ПАЗ |
16 |
-40+100 |
|
|
Природный газ |
|
|
14сб4нж ВВД (Р13 26-00-00) |
АРМЗ |
16 |
-40+250 |
Асбестовый шнур прорезиненный и пропитанный марки АПРПС |
Ст30, клапан и седло - коррозионно-стойкая сталь. |
Жидкие и газообразные среды, нейтральные к материалам основных деталей |
А |
|
14с64нж ВВД (Р1327-00-00) |
АРМЗ |
16 |
-40+250 |
||||
|
15с67бк1(КЗ 21215-015-01) |
КЗТА |
16 |
-60+200 |
|
|
Нейтральные жидкости, газы и вода, неагрессивные нефтяные продукты |
А |
|
15лс67п(КПЭ 5x400) |
КЗТА |
40 |
-60+200 |
|
|
Вода, минерализованная вода, нефтеводяные смеси и эмульсии |
|
|
15нж67бк1(КЗ 21215-020-02) |
КЗТА |
16 |
-60+200 |
Фторопласт 4 |
Нерж. сталь |
Жидкие и газообразные среды, нейтральные к материалам основных деталей |
|
|
15нж54бк5(ГВ.2286-015-13) |
ПАЗ |
16 |
300 |
|
12X18Н9Т |
|
|
|
15нж67бк1(КЗ 21215-006-02) |
КЗТА |
16 |
-60+200 |
Фторопласт 4 |
Нерж. сталь |
А |
|
|
15с13бк (Р7972-00-00) |
АРМЗ |
2,5 |
-40+150 |
Асбестовый шнур прорезиненный и пропитанный марки АПРПС |
Ст30, клапан и седло - коррозионно-стойкая сталь. |
Жидкий и газообразный аммиак |
С |
|
15с13бк1 (К324028.006) |
КЗТА |
|
|
Фторопласт 4 |
Ст20, Ст35, 20X13 |
В |
|
|
15с45бк1(ОБ 22.044.015.00.05) |
ОБ22 |
16 |
+200 |
Прографиченный паронит с промасливанием |
Ст30-3-б, 40X13 |
Жидкости и газы нейтральные к материалу основных деталей |
А |
|
15с67бк1(КЗ 21215-006-01) |
КЗТА |
16 |
-60+200 |
Фторопласт 4 |
Углеродистая сталь |
Нейтральные жидкости и газы, вода, неагрессивные нефтяные продукты |
А |
|
ПЗ 22038-006 |
КАЗ |
16 |
200 |
Набивка марки АПС |
Ст30 |
Жидкости и газы, нейтральные к материалу основных деталей |
|
|
ПЗ 22038-015 |
КАЗ |
16 |
230 |
|
Ст30 |
Жидкость и газ, нейтральные к основным деталям |
|
Адреса заводов изготовителей трубопроводной арматуры:
АРМЗ - Ангарский ремонтно-механический завод, 665830, Иркутская обл. г. Ангарск, тел 57-53-17 факс (3951) 57-71-51. Телетайп 325116 ЭХО
КАЗ - Конотопский Арматурный завод. Украина, 245780, Сумская обл., г. Конотоп, ул. Выровская, 60, тел/факс(05447) 4-32-01, телетайп 174746 ЛОТОС
КЗТА - Курганский завод трубопроводной арматуры, 640027, Курган, ул. Химмашевская, 18, тел (35222) 7-06-21, факс 7-06-23
ОБ22 - Учреждение ОБ 21/2, 242004, Брянск, ул. Котовского, 39, тел.3-02-03
ПАЗ - ОАО Пензенский Арматурный завод 440007, г. Пенза, ул. Транспортная 1, (8412) 5-52-421, 5-552-090, факс 5-52-400, 5-52-490.
|
Лист регистрации изменений |
|||||||||
|
Изм |
Номера листов (страниц) |
Всего листов (страниц) в документе |
№ документа |
Входящий № сопроводительного док. и дата |
Подпись |
Дата |
|||
|
Измененных |
Замененных |
Новых |
Аннулированных |
||||||
|
|
|
|
|
|
|
|
|
|
|
|
КАТАЛОЖНЫЫЙ ЛИСТ ПРОДУКЦИИ |
||
|
Код ЦСМ |
01 |
200 |
|
Группа КГС |
02 |
Г18 |
|
Регистрационный номер |
|
033786 |
|
Код ОКП |
11 |
421891 |
|
Наименование и обозначение продукции |
12 |
Отборное устройство |
|
Обозначение нормативного или технического документа |
14 |
ТУ 4218-008-51216464-01 |
|
Наименование нормативного или технического документа |
15 |
Отборное устройство |
|
Код предприятия- изготовителя по ОКПО, штриховой код |
16 |
01394509 |
|
Наименование предприятия- изготовителя |
17 |
ОАО «Люберецкий завод Монтажавтоматика» |
|
Адрес предприятия- изготовителя |
18 |
140000, г. Люберцы, Моск. обл., ул. Котельническая, д.22 |
|
Телефон |
19 |
503-84-88 |
|
Телефакс |
20 |
|
|
Телетайп |
22 |
206-721 Щит |
|
Наименование держателя подлинника ТУ |
23 |
ООО "Норма-РТМ" |
|
Адрес держателя подлинника |
24 |
123298, Москва, ул.3-я Хорошевская, д.2 |
|
Дата начала выпуска продукции |
25 |
1 августа 2001 г. |
|
Дата введения в действие нормативного документа |
26 |
1 августа 2001 г. |
|
Номер сертификата соответствия |
27 |
|
30. Характеристики продукции
Отборные устройства предназначены для установки на них приборов и подключения к ним соответствующих импульсных линий систем автоматизации технологических процессов (см. СНиП 3.05.07). Отборные устройства устанавливают на технологических трубопроводах и аппаратах.
Отборные устройства рассчитаны на давление до 40 МПа.
Максимальная температура измеряемой среды - до 550 °С.
Отборные устройства могут эксплуатироваться в различных климатических зонах.
|
ГОСТЫ, СТРОИТЕЛЬНЫЕ и ТЕХНИЧЕСКИЕ НОРМАТИВЫ. Некоммерческая онлайн система, содержащая все Российские Госты, национальные Стандарты и нормативы. В Системе содержится более 150000 файлов нормативно-технической документации, действующей на территории РФ. Система предназначена для широкого круга инженерно-технических специалистов. Copyright © www.gostrf.com, 2008 - 2026 |