Крупнейшая бесплатная информационно-справочная система онлайн доступа к полному собранию технических нормативно-правовых актов РФ. Огромная база технических нормативов (более 150 тысяч документов) и полное собрание национальных стандартов, аутентичное официальной базе Госстандарта. GOSTRF.com - это более 1 Терабайта бесплатной технической информации для всех пользователей интернета. Все электронные копии представленных здесь документов могут распространяться без каких-либо ограничений. Поощряется распространение информации с этого сайта на любых других ресурсах. Каждый человек имеет право на неограниченный доступ к этим документам! Каждый человек имеет право на знание требований, изложенных в данных нормативно-правовых актах!

  


 

ОТРАСЛЕВОЙ СТАНДАРТ

ТРОЙНИКИ ШТАМПОВАННЫЕ
РАВНОПРОХОДНЫЕ С ОБЖАТИЕМ ДЛЯ ПАРОПРОВОДОВ ТЭС
Конструкция и размеры

ОСТ 108.104.15-82

Введен впервые

Указанием Министерства энергетического машиностроения от 04.06.82 № ВВ-002/4628 срок действия с 01.01.85 до 01.01.96

Проверен в 1983 г.

(Измененная редакция, Изм. № 1, Изм. № 3, Изм. № 4).

Несоблюдение стандарта преследуется по закону

1. Настоящий стандарт распространяется на тройники равнопроходные штампованные с вытянутой горловиной и обжатыми концами для паропроводов тепловых электростанций с номинальным давлением и температурой пара :

Р = 13,73 МПа (140 кгс/см2), t = 560°C;

Р = 13,73 МПа (140 кгс/см2), t = 545°С;

Р = 13,73 МПа (140 кгс/см2), t = 515°C;

Р = 4,02 МПа ( 41 кгс/см2), t = 545°С.

(Измененная редакция, Изм. № 3)

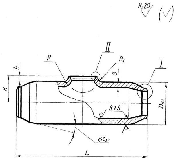
2. Конструкция, размеры и материал тройников должны соответствовать указанным на черт.1¸3 и в таблице.

3. Размеры прямых участков - рекомендуемые и уточняются технологическим процессом изготовителя. Допускается изготовление подкатанной части без прямых участков.

4. Размеры высот Н и h, радиусов R и R1 и толщины стенки Sk1 - могут быть изменены при соблюдении условий прочности по усмотрению изготовителя.

5. Предельные отклонения по наружному диаметру Dн2 не должны превышать плюс 1,25% и минус 2%.

6. Остальные технические требования по ОСТ 24.125.60-89.

(Измененная редакция, Изм. № 3, Изм. № 4)

7. Исполнение, указанное в скобках, применять по согласованию с предприятием-изготовителем

(Измененная редакция, Изм. № 2)

7. Размер S1 обеспечивается технологией изготовления.

(Измененная редакция, Изм. № 4)

Черт.1

Черт. 2

(Измененная редакция, Изм. № 2)

Черт. 3

(Измененная редакция, Изм. № 2)

 


Размеры в мм

Исполнение

Черт.

Условный проход Dу

Присоединяемые трубы

Dн

Dн1

Dн2

dр

L

Н*

h, пред. откл. +5

S

не менее

S1

не менее

Sk

Sk1

R

R1

Материал (марка, ТУ)

Масса, кг

Наружный диаметр и толщина стенки

Номин.

Пред. откл.

Номин.

Пред. откл.

Номин.

Пред. откл.

Пред. откл. ±5

не менее

не более

Пред. откл. ±5

Р = 13,73 МПа (140 кгс/см2), t = 560°C

01

3

150

219

32

219

+3

-1

219

+ 3

320

156

+0,63

1000

205

45

70

42

28,0

28,5

120

45

Сталь 15Х1М1Ф ТУ 14-3-420-75

447,0

Р = 13,73 МПа (140 кгс/см2), t = 545°С

02**

3

175

219

28

219

+3

-1

219

+ 3

340

164

+0,63

1000

220

50

70

42

24,0

24,5

120

45

Сталь 15Х1М1Ф ТУ 14-3-420-75

447,0

Р = 13,73 МПа (140 кгс/см2), t = 515°C

(03)

3

100

133

14

133

+3

-1

136

+ 2

205

106

+0,54

550

142

40

30

17

11,5

12,0

60

25

Сталь 12Х1МФ ТУ 14-3-460-75

87,5

Р = 4,02 МПа ( 41 кгс/см2), t = 545°С

04

2

100

108

6

108

+2

-1

112

+ 2

150

97

+0,54

550

95

20

20

12

4,6

5,0

50

25

Сталь 12Х1МФ ТУ 14-3-460-75

40,6

* Размеры для справок

** для исполнения 02 пред. откл. на размер "h" ± 5.

(Измененная редакция, Изм. № 2, Изм. № 3, Изм. № 4).


Пример условного обозначения тройника равнопроходного с условным проходом Dу 175 мм исполнения 02:

ТРОЙНИК РАВНОПРОХОДНЫЙ 175 02 ОСТ 108.104.15-82

Пример маркировки : 02 ОСТ 108.104.15-82 Марка завода

ЛИСТ РЕГИСТРАЦИИ ИЗМЕНЕНИЙ

Изм.

Номера листов (страниц)

Номер документа

Подпись

Дата

Срок введения изменения

измененных

замененных

новых

аннулированных

 

 

 

 

 

 

 

 

 

 

 




ГОСТЫ, СТРОИТЕЛЬНЫЕ и ТЕХНИЧЕСКИЕ НОРМАТИВЫ.
Некоммерческая онлайн система, содержащая все Российские Госты, национальные Стандарты и нормативы.
В Системе содержится более 150000 файлов нормативно-технической документации, действующей на территории РФ.
Система предназначена для широкого круга инженерно-технических специалистов.

Рейтинг@Mail.ru Яндекс цитирования

Copyright © www.gostrf.com, 2008 - 2026