Крупнейшая бесплатная информационно-справочная система онлайн доступа к полному собранию технических нормативно-правовых актов РФ. Огромная база технических нормативов (более 150 тысяч документов) и полное собрание национальных стандартов, аутентичное официальной базе Госстандарта. GOSTRF.com - это более 1 Терабайта бесплатной технической информации для всех пользователей интернета. Все электронные копии представленных здесь документов могут распространяться без каких-либо ограничений. Поощряется распространение информации с этого сайта на любых других ресурсах. Каждый человек имеет право на неограниченный доступ к этим документам! Каждый человек имеет право на знание требований, изложенных в данных нормативно-правовых актах!

  


 

ОТРАСЛЕВОЙ СТАНДАРТ

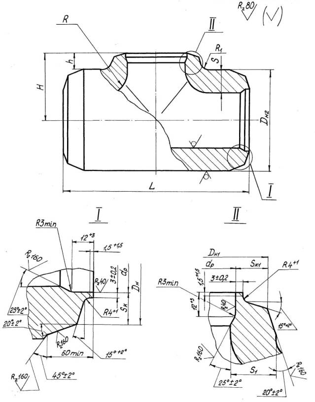
ТРОЙНИКИ ШТАМПОВАННЫЕ РАВНОПРОХОДНЫЕ ДЛЯ ПАРОПРОВОДОВ ТЭС

Конструкция и размеры

ОСТ 108.104.18-82

Взамен:

ОСТ 24.104.27-72,

ОСТ 24.104.29-72

Указанием Министерства энергетического машиностроения от 04.06.82 № ВВ-002/4628 срок действия установлен с 01.01.85 до 01.01.96.

Проверен в 1983 г

(Измененная редакция, Изм. № 1, Изм. № 3, Изм. № 4).

Несоблюдение стандарта преследуется по закону

1. Настоящий стандарт распространяется на равнопроходные штампованные тройники с вытянутой горловиной для паропроводов тепловых электростанций с абсолютным давлением Р = 9,81 МПа (100 кгс/см2) и температурой пара t = 540°С.

(Измененная редакция, Изм. № 3).

2. Конструкция, размеры и материал тройников должны соответствовать указанным на чертеже и в таблице.

3. Размеры высот Н и h , радиусов R и R1 и толщины стенки Sk1 могут быть изменены при соблюдении условий прочности по усмотрению изготовителя.

4. Предельные отклонения по наружному диаметру DH2 не должны превышать плюс 1,25% и минус 2%.

5. Остальные технические требования по ОСТ 24.125.60-89.

(Измененная редакция, Изм. № 3, Изм. № 4).

6. Размер S1 обеспечивается технологией изготовления.

(Измененная редакция, Изм. № 4).


Размеры в мм

Исполн.

Условный проход Dу

Присоединяемые трубы

Dн

Dн1

Dн2

dр

L

Н*

h, пред. откл. ±5

S

не менее

S1

не менее

Sk

Sk1

R

R1

Материал (марка, ТУ)

Масса, кг

Наружный диаметр и толщина стенки

Номин.

Пред. откл.

Номин.

Пред. откл.

Номин.

Пред. откл.

Пред. откл. ±5

не менее

не более

Пред. откл. ±5

01

125

159

13

161

±1,2

163

+2

185

134

+0,63

±5

123

30

32

19

10,8

11,2

60

25

сталь 12Х1МФ ТУ 14-3-460-75

59,2

02

150

194

16

196

198

225

163

148

35

36

21

13,5

13,8

70

30

сталь 15Х1М1Ф ТУ 14-3-460-75

105,0

03

175

219

18

222

221

+3

245

184

+0,72

+0,81

158

35

15,0

15,5

04

225

273

22

276

277

320

230

210

50

50

29

18,2

18,5

100

45

243,0

05

250

325

26

328

±2,0

330

380

275

 

250

60

60

36

21,8

22,4

135

55

379,0

* Размеры для справок

(Измененная редакция, Изм. № 2, Изм. № 3, Изм. № 4).

Пример условного обозначения тройника штампованного равнопроходного с условным проходом Dу 225 мм исполнения 04:

ТРОЙНИК РАВНОПРОХОДНЫЙ 225 04 ОСТ 108.104.18-82

Пример маркировки: 04 ОСТ 108.104.18-82  Марка завода


ЛИСТ РЕГИСТРАЦИИ ИЗМЕНЕНИЙ

Изм.

Номера листов (страниц)

Номер документа

Подпись

Дата

Срок введения изменения

измененных

замененных

новых

аннулированных

 

 

 

 

 

 

 

 

 

 

 




ГОСТЫ, СТРОИТЕЛЬНЫЕ и ТЕХНИЧЕСКИЕ НОРМАТИВЫ.
Некоммерческая онлайн система, содержащая все Российские Госты, национальные Стандарты и нормативы.
В Системе содержится более 150000 файлов нормативно-технической документации, действующей на территории РФ.
Система предназначена для широкого круга инженерно-технических специалистов.

Рейтинг@Mail.ru Яндекс цитирования

Copyright © www.gostrf.com, 2008 - 2026