Крупнейшая бесплатная информационно-справочная система онлайн доступа к полному собранию технических нормативно-правовых актов РФ. Огромная база технических нормативов (более 150 тысяч документов) и полное собрание национальных стандартов, аутентичное официальной базе Госстандарта. GOSTRF.com - это более 1 Терабайта бесплатной технической информации для всех пользователей интернета. Все электронные копии представленных здесь документов могут распространяться без каких-либо ограничений. Поощряется распространение информации с этого сайта на любых других ресурсах. Каждый человек имеет право на неограниченный доступ к этим документам! Каждый человек имеет право на знание требований, изложенных в данных нормативно-правовых актах!

  


 

ОТРАСЛЕВОЙ СТАНДАРТ

ШТУЦЕР С ПАРОВОЙ РУБАШКОЙ ДЛЯ ПАРОПРОВОДОВ ТЕПЛОВЫХ ЭЛЕКТРОСТАНЦИЙ

Конструкция, размеры и технические требования

ОСТ 108.104.43-79

Взамен

ОСТ 24.104.43-74

 

Указанием Министерства энергетического машиностроения от 11.10.79 № ЮК-002/7586 срок действия установлен с 01.07.80 до 01.07.90

Проверен в 1985 году

(Измененная редакция, Изм. № 1).

Несоблюдение стандарта преследуется по закону

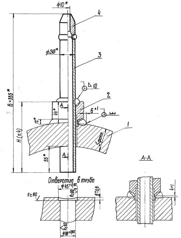
1. Настоящий стандарт распространяется на штуцер с паровой рубашкой, устанавливаемый на паропроводах свежего пара и промежуточного перегрева с внутренним диаметром 100 мм и более для отбора пара давлением от 2,16 МПа (22 кгс/см2) до 25,01 МПа (255 кгс/см2), температурой не более 545°С и давлением 13,73 МПа (140 кгс/см2), температурой не более 560°С в импульсные линии, подведенные к контрольно-измерительным приборам и приборам регулирования.

2. Конструкция и размеры штуцера с паровой рубашкой должны соответствовать указанным на чертеже.

Пример условного обозначения штуцера с паровой рубашкой:

ШТУЦЕР ОСТ 108.104.43-79

3. Масса штуцера - 2кг.

4. Монтажную сборку и сварку бобышки с патрубком следует выполнять до сварки штуцера с трубопроводом. Установочный размер Н в зависимости от фактической толщины стенки паропровода рассчитывается по формуле Н = Sфакт + 100, где Sфакт - толщина трубы, мм.

5. При соблюдении габаритного размера "Б" и присоединительных размеров перехода допускается изготавливать патрубок с подкаткой конца взамен перехода.

6. Для труб с толщиной стенки Sфакт ≤ 10 мм отверстие диаметром 45 мм выполнять напроход.

7. Сварка деталей штуцера производится при монтаже электродами типа Э-09Х1МФ по ГОСТ 9467-75.

8. Остальные технические требования по ОСТ 108.030.129-79.

 

1 - труба; 2 - бобышка по ОСТ 108.462.32-79; 3 - патрубок по ОСТ 108.320.25-79; 4 - переход по 01ОСТ 108.318.18-82

(Измененная редакция, Изм. № 1).

 

 




ГОСТЫ, СТРОИТЕЛЬНЫЕ и ТЕХНИЧЕСКИЕ НОРМАТИВЫ.
Некоммерческая онлайн система, содержащая все Российские Госты, национальные Стандарты и нормативы.
В Системе содержится более 150000 файлов нормативно-технической документации, действующей на территории РФ.
Система предназначена для широкого круга инженерно-технических специалистов.

Рейтинг@Mail.ru Яндекс цитирования

Copyright © www.gostrf.com, 2008 - 2026