|
|
|
МИНИСТЕРСТВО РОССИЙСКОЙ ФЕДЕРАЦИИ ПО СВЯЗИ И ИНФОРМАТИЗАЦИИ
РУКОВОДЯЩИЙ ДОКУМЕНТ ОТРАСЛИ
СТАНЦИИ ТЕЛЕФОННЫЕ АВТОМАТИЧЕСКИЕ ЦИФРОВЫЕ МЕЖДУГОРОДНЫЕ ДЛЯ ПРИМЕНЕНИЯ НА ВЗАИМОУВЯЗАННОЙ СЕТИ СВЯЗИ РОССИЙСКОЙ ФЕДЕРАЦИИ
Общие технические требования
РД 45.158-2000
ЦНТИ «Информсвязь» Москва 2002 СОДЕРЖАНИЕПредисловие1 РАЗРАБОТАН Центральным научно-исследовательским институтом связи (ЦНИИС) ВНЕСЕН Управлением электросвязи Минсвязи России 2 УТВЕРЖДЕН Минсвязи России 3 ВВЕДЕН В ДЕЙСТВИЕ приказом Минсвязи России от 27.06.2002 г. N67 4 ВВЕДЕН ВЗАМЕН «Типовых технических требований на цифровые автоматические междугородные телефонные станции (АМТС) и узлы автоматической коммутации (УАК)», утвержденных Министерством связи Российской Федерации 06.07.94г. 1 Область примененияНастоящий руководящий документ отрасли распространяется на аппаратные средства и программное обеспечение цифровых междугородных телефонных станций с функциями ОКС 7, ЦСИС, СОРМ, SSP\IP и с интерфейсом первого уровня СЦИ, предназначенных для организации исходящих и входящих соединений на междугородной и зоновых телефонных сетях общего пользования. 2 Нормативные ссылкиВ настоящем руководящем документе использованы ссылки на следующие нормативные документы: ГОСТ 12.1.002-84 - ССБТ. Электрические поля промышленной частоты. Допустимые уровни напряженности и требования к проведению контроля на рабочих местах ГОСТ 12.1.003-83 - ССБТ. Шум. Общие требования безопасности ГОСТ 12.1.030-81 - ССБТ. Электробезопасность. Защитное заземление, зануление ГОСТ 12.2.007.0-75 - ССБТ. Изделия электротехнические. Общие требования безопасности ГОСТ 12.4.026-76 - ССБТ. Цвета сигнальные и знаки безопасности ГОСТ 21130-75 - Изделия электротехнические. Зажимы заземляющие и знаки заземления. Конструкция и размеры ГОСТ 29.05.006-85 - Система стандартов эргономических требований и эргономического обеспечения. Трубки электронно-лучевые приемные. Общие эргономические требования ГОСТ 5237-83 - Аппаратура электросвязи. Напряжения питания и методы измерений ГОСТ 29037-91 - Совместимость технических средств электромагнитная. Сертификационные испытания. Общие положения ГОСТ 29073-91 - Совместимость технических средств измерения, контроля и управления промышленными процессами электромагнитная. Устойчивость к электромагнитным помехам. Общие положения ГОСТ 29156-91 - Совместимость технических средств электромагнитная. Устойчивость к наносекундным импульсным помехам, Технические требования и методы испытаний ГОСТ 29191-91 - Совместимость технических средств электромагнитная. Устойчивость к электростатическим разрядам. Технические требования и методы испытаний ГОСТ Р 50008-92 - Совместимость технических средств электромагнитная. Устойчивость к радиочастотным электромагнитным полям в полосе 26-1000 МГц. Технические требования и методы испытаний Нормы 8-95 - Общесоюзные нормы допускаемых индустриальных радиопомех. Электроустройства, эксплуатируемые вне жилых домов и не связанные с их электрическими сетями. Предприятия (объекты) на выделенных территориях или в отдельных помещениях. Допускаемые величины. Методы испытаний. Нормы 9-93 - Радиопомехи индустриальные. Аппаратура проводной связи. Нормы и методы испытаний 3 Обозначения и сокращения3.1 В настоящем документе используются следующие обозначения и сокращения:
4. Технические требования4.1 Требования к емкости и производительности станции4.1.1 Должно обеспечиваться построение АМТС различной емкости, включая емкость 60000 каналов и линий. 4.1.2 Производительность управляющих устройств АМТС должна обеспечивать обслуживание телефонной нагрузки до 0,8 Эрл на один канал. 4.1.3 Управляющий комплекс АМТС должен обеспечивать обработку нагрузки не менее 30000 Эрл и не менее 690000 вызовов в ЧНН при емкости АМТС 60000 каналов и линий. 4.1.4 Коэффициент использования процессора в нормальных условиях (в отсутствии перегрузок и неисправностей) не должен превышать 0,85. 4.2 Требования к основным функциям АМТС4.2.1 АМТС должна выполнять следующие основные функции: - установление исходящих и входящих соединений для передачи информационных сообщений; - прием и анализ сигнальной информации и выдачу сигнальной информации; - выбор направлений при установлении соединений; - защиту телефонных разговоров от мешающего воздействия эффекта электрического эха; - определение категории и номера вызывающего абонента (АОН); - учет данных для начисления платы; - сбор и обработку данных по трафику и качеству обслуживания; - установление входящих, исходящих соединений от/к абонентам служебной АТС. 4.2.2 АМТС должна обеспечивать следующие виды коммутации: - коммутацию каналов на скорости 64 кбит/сек; - полупостоянную коммутацию каналов на скорости 64 кбит/с. 4.2.3 АМТС должна обеспечивать предоставление: - исходящих и входящих автоматических и полуавтоматических международных, междугородных и внутризоновых соединений; - выход к центрам коммутаций подвижной связи (ЦКП); - соединений с заказными, справочными и иформационно-справочными междугородными и международными службами, организованными на АМТС; - входящих и исходящих соединений от телефониста служб АМТС к аналогичным службам АМТС, комбинированных АМТС/АТС, УАК, МЦК и МНТС сети ТФОП; - входящих и исходящих соединений между абонентами служебных АТС сети ТФОП. 4.2.4 К АМТС могут быть подключены следующие типы каналов и линий (рисунок 4.1): - цифровые и аналоговые междугородные телефонные каналы для связи с другими АМТС, комбинированными АМТС/АТС, УАК, МЦК (МНТС), ОТС, ВТПС, ЦКДАРМТ; - цифровые и аналоговые заказно-соединительные линии (ЗСЛ) и соединительные линии междугородные (СЛМ) для связи со станциями и узлами местных телефонных сетей зоны; - цифровые соединительные линии к автоматизированным рабочим местам телефонистов (АРМТ); - цифровые соединительные линии к служебной АТС, при условии, что оборудование служебной АТС не совмещено с АМТС; - цифровые абонентские линии для подключения абонентских установок подсистемы служебной связи АМТС (служебная АТС совмещена с АМТС). Примечание - Аналоговые каналы и линии могут подключаться к АМТС через АЦП или конверторы сигнализации. 4.2.5 АМТС должна обеспечивать возможность осуществления внутризоновой, междугородной и международной связи с пунктом назначения по прямым путям и путям последнего выбора (до 8-ми направлений). При отсутствии прямого направления выбирается путь последнего выбора (ППВ). Выбор маршрута установления соединения на АМТС должен осуществляться по анализу (от одного до семи знаков) принимаемой номерной информации. Количество направлений, включаемых в станцию, может быть до 256. 4.2.6 При установлении междугородных и международных соединений на большие расстояния (свыше 8000 км), а также при работе по каналам ССП, АМТС должны обеспечивать включение коммутируемых и некоммутируемых эхоподавляющих устройств в каналы связи, если время распространения сигналов по каналу в одном направлении превышает 24 мс. Решение о включении эхоподавляющих устройств должно приниматься либо в зависимости от кода пункта назначения и трассы прохождения вызова (для оконечных АМТС), либо на основе сигнала о включении эхоподавляющего устройства Сэ, передаваемого в составе сигналов управления по участкам сети. Требования по включению эхоподавляющих устройств изложены в Приложении Е. Рисунок 4.1 - Каналы и линии, включаемые в АМТСРД 4.2.7 При междугородной, международной и внутризоновой связи, а также для предоставления услуг интеллектуальной сети, должна обеспечиваться возможность определения категории и номера вызывающего абонента. Информация о категории и номере вызывающего абонента (KaNa) должна передаваться с АТС местной сети в ответ на запрос со стороны АМТС после занятия ЗСЛ в предответном состоянии. 4.2.8 АМТС должна выполнять функцию пункта сигнализации в сети сигнализации ОКС 7. 4.2.9 АМТС с помощью подсистемы пользователя ISDN (ISUP-R-2000) должна передавать все сообщения, относящиеся к основным и дополнительным услугам ЦСИС. АМТС должна предоставлять абонентам основные услуги ЦСИС в части доставки информации. К услугам доставки информации относятся: - 3,1 кГц аудио; - 64 кбит/с без ограничений; - речевая информация. При наличии в служебной АТС функций ЦСИС технические требования на эти функции приведены в приложении П. 4.2.10 Программное обеспечение АМТС должно поддерживать реализацию технических требований, приведенных в настоящем Руководящем Документе. 4.2.11 АМТС должна обеспечивать совместную работу со всеми существующими на телефонной сети общего пользования коммутационными станциями с помощью стандартных систем сигнализации. 4.3 Требования к системе обслуживания вызовов на АМТС4.3.1 Исходящие междугородные и внутризоновые вызовы обслуживаются по 4-м категориям приоритета. Вызовы I-Ш категории - приоритетные, вызовы IV категории - неприоритетные. Приоритетные вызовы обслуживаются по системе ограниченного ожидания освобождения каналов и линий, неприоритетные - по системе с отказами при занятости каналов или линий требуемого направления. 4.3.2 Приоритетность в обслуживании вызовов на АМТС определяется на основе анализа категории оконечного устройства вызывающего абонента (Ка), получаемой от станции местной сети или категории вызова (Кв), получаемой в пакете информации от междугородной сети. 4.3.3 Категория оконечного абонентского устройства вызывающего абонента (Ка) определяется с помощью аппаратуры АОН, которой оборудуются городские, сельские и учрежденческо-производственные станции. 4.3.4 По информации о категории абонента Ка, либо по информации, получаемой от рабочего места телефонистки, формируется категория вызова Кв, которая определяет приоритетность при обслуживании и вид соединения (автоматическое или полуавтоматическое) и передается по каналам междугородной сети в виде следующих значений: Кв = 1 - вызов автоматический I категории приоритета; Кв = 2 - вызов полуавтоматический I категории приоритета; Кв = 3 - вызов автоматический II категории приоритета; Кв = 4 - вызов полуавтоматический II категории приоритета; Кв = 11 - вызов автоматический III категории приоритета; Кв = 12 - вызов полуавтоматический III категории приоритета; Кв = 13 - вызов автоматический IV категории приоритета; Кв = 14 - вызов полуавтоматический IV категории приоритета; 4.3.5 Категория приоритета формируется на АМТС либо на основе категории оконечного устройства вызывающего абонента (Ка) или рабочего места телефонистки, либо на основе категории вызова (Кв), поступающих по ЗСЛ или каналам. 4.3.6 Вызовы на междугородной и внутризоновых телефонных сетях обслуживаются с разным качеством в зависимости от категории приоритета. 4.3.6.1 Вызовы I категории приоритета имеют абсолютный приоритет в обслуживании и постановке на ожидание перед вызовами II, III категорий. В случае занятости всех каналов, вновь поступивший вызов I категории будет поставлен на ограниченное ожидание освобождения каналов. При занятости всех мест ожидания вызов I категории снимает с ожидания вызовы II и III категорий, начиная с вызовов низшей III категории. Снятый с ожидания вызов II или III категории получает отказ. Ожидающие вызовы I категории обслуживаются в первую очередь перед вызовами II и III категорий и в порядке поступления (первый пришел, первый обслужился), если в очереди несколько вызовов I категории. Таблица 4.1 - Формирование категории приоритета вызовов на АМТС
4.3.6.2 Вызовы II категории приоритета имеют относительный приоритет в обслуживании и абсолютный при постановке в очередь перед вызовами III категории. В случае занятости всех каналов в требуемом направлении, вновь поступивший вызов II категории ставится на ожидание. При занятости всех мест ожидания вызов II категории снимает с ожидания вызов III категории. Снятый с ожидания вызов Ш категории получает отказ. Вызовы II категории получают отказ в случае занятости всех каналов и всех мест ожидания вызовами I и II категорий. Освободившийся канал предоставляется вызовам II категории, если в очереди нет вызовов I категории. Ожидающие вызовы одноименных категорий обслуживаются в порядке их поступления. 4.4. Требования к системе нумерации4.4.1 Номерная информация, поступающая на АМТС по линиям ЗСЛ от абонентов АТСЭ, АТСКЭ, АТСК и АТСДШ, должна иметь следующий вид: - при зоновой связи: 2 abxxxxx Ka Na Кн (от АТСЭ, КЭ) Ка Na 2 abxxxxx (от АТСК, ДШ), где 2 - означает связь внутри зоны нумерации; abxxxxx - зоновый номер абонента; Ка - категория абонента (Приложение А.1, таблица А.10); Na - зоновый номер абонента A (abxxxxx); Кн - конец набора (Приложение А.1, таблица А.10). - при междугородной связи: ABC abxxxxx Ka Na Кн (от АТСЭ, КЭ); DEF X1.....Х7 Ка Na Кн; Ка Na ABC abxxxxx (от АТСК, ДШ); Ka Na DEF X1.....Х7, где ABC - код географической зоны нумерации; DEF - код негеографической зоны нумерации; X1.....Х7 - номер абонента или услуги негеографической зоны. Примечание - Междугородный номер (ABC abxxxxx или DEF X1.....Х7) содержит 10 знаков (3 знака кода ABC/DEF и 7 знаков номера абонента или услуги). В перспективе, на отдельных сетях допускается применение междугородного номера большей значности, но не больше 12 знаков (3 знака код ABC/DEF и номер абонента не более 9 знаков); - при международной связи; 10 Nmh Ka Na Кн (от АТСЭ, КЭ) Ка Na 10 Nmh (от АТСК, ДШ), где 10 - определяет выход на международную сеть (в перспективе «0»); Nmh- международный номер. Примечание - Международный номер (Nмн), согласно рекомендации Е.164 МСЭ-Т [1], может иметь до 15 знаков и состоит из кода страны (1-3 знака) и национального (значащего) номера - «Кс Nнац», либо кода страны для Глобальной службы (3 знака) и Глобального абонентского номера - «Кс Nгл», либо кода страны для Сетей (3 знака), кода идентификации Сети (1-4 знака) и абонентского номера - «Кс Ки Nаб» - к операторам междугородной заказно-справочной службы АМТС: (в настоящее время) 11-15 Ka Na Кн (от АТСЭ, КЭ); 18 Ka Na Kн, Ка Na 11-15 (от АТСК, ДШ); Ka Na 18; (в перспективе) 18X Ka Na Kн (от АТСЭ, КЭ); Ка Na 18Х (от АТСК, ДШ), где 11-15, 18 - номера междугородных служб; Х=1-5, 8 - номера междугородных служб; - к операторам международных служб АМТС: 19Х Ка Na Кн (от АТСЭ, КЭ); Ka Na 19X (от АТСК, ДШ), где 19 - индекс выхода на международную службу; X - определяет выход к соответствующим международным заказно-справочным службам: 1) X=l - французский язык; 2) Х=2 - английский язык; 3) Х=3 - немецкий язык, 4) Х=4 - русский язык; 5) Х=5 - испанский язык; 6) Х=8, Х=0 - при выходе к информационно-справочной службе. 4.4.2 Номерная информация, поступающая на АМТС от абонентов служебной АТС, должна иметь следующий вид: - к абонентам служебной АТС другой АМТС при зоновой связи: 2 OX1XXX; - к абонентам служебной АТС при междугородной связи: ABC 0X1XXX; - к абонентам своей служебной АТС: XXX; 0 - признак служебной АТС; X1=1-5 номер служебной АТС в зоне; XXX - номер абонента внутри служебной АТС. 4.4.3 Номерная информация, поступающая на АМТС по линиям ЗСЛ от абонентов сети «Искра», должна иметь следующий вид: - при междугородной связи от абонентов регионов к абонентам Московского региона: ABC KaX0X1XXX Na Кн (от АТСЭ, КЭ) Ка Na ABC X0X1XXX (от АТСК, ДШ), где - ABC- код зоны нумерации, (АВС=097, в перспективе АВС=997); Х0 - не равно Пм (префикс выхода на местную сеть), Пн - национальный префикс (Пн=8, в перспективе Пн=0); X1=1-0; - при междугородной связи к абонентам других регионов: ABC 0X1XXX Ka Na Кн (от АТСЭ, КЭ); Ка Na ABC 0X1XXX (от АТСК, ДШ), где ABC - код зоны нумерации региона сети ТФОП, в котором расположены станции сети «Искра»; X1 не равно 1-5, Пм, Пн (Пн=8, в перспективе Пн=0); - при зоновой связи между абонентами Московского региона: 2 X0X1XXX Ka Na Кн (от АТСЭ, КЭ); Ka Na 2 X0X1XXX (от АТСК, ДШ); - при зоновой связи между абонентами других регионов: Ка 2 0X1XXX Na Kн (от АТСЭ, КЭ); Ka Na 2 0X1XXX (от АТСК, ДШ); - к телефонисту сети «Искра»: Ка ABC 80 Na Кн (от АТСЭ, КЭ) Ка Na ABC 80 (от АТСК, ДШ), где ABC - код зоны нумерации расположения станции сети «Искра»; 80 - номер ВРМ сети «Искра». 4.4.4 Номерная информация, поступающая на АМТС от телефонистов междугородных служб: - при зоновой связи: Кв 2 abxxxxx Кн, где Кв - категория вызова (Приложения А, таблица А.9); - при междугородной связи: Кв ABCabxxxxx Кн, Кв DEFXi......Х7 Кн; - при международной связи: Кв 10 Nmh Kh; - к служебной АТС при междугородной связи: Кв АВС 0Х1ХХХ Кн; - к рабочим местам телефонистов международной службы МЦК или МНТС: (в настоящее время) Кв АВС19х Кн, (в перспективе ) Кв DEF ab 19х Кн, где ABC - временно назначенный код зоны нумерации для МЦК, МНТС, УАК; DEF=795 - единый код при подключении к вспомогательным рабочим местам телефонистов (ВРМ) международной службы МЦК, МНТС; ab - код конкретного МЦК, МНТС; - к ВРМ телефонистов междугородной службы АМТС: Кв АВС81 Кн; - к ВРМ телефонистов международной службы АМТС: Кв ABC 82 Кн; 4.4.5 Номерная информация, поступающая на АМТС по междугородным каналам: - при зоновой связи: Кв Сэ 2 abxxxxx Кн, где Сэ - сигнал управления эхозаградителями (Приложения А, таблица А.9); - при междугородной связи: Кв Сэ ABCabxxxxx Кн, Кв Сэ DEFabxxxxx Кн; -при международной связи (при наличии в зоне двух АМТС): Кв Сэ 10 Nmh Kh; - к абонентам служебной АТС при междугородной связи: Кв Сэ АBC 0Х1ХХX Кн; - к абонентам служебной АТС при зоновой связи: Kb Cэ 2 0X1XXX Kh; - к абонентам сети «Искра» Московского региона: Кв Сэ АВС X0X1ХХХ Кн, - к абонентам сети «Искра» других регионов: Kb Cэ ABC 0X1XXX Kh; - к ВРМ телефонистов междугородной службы АМТС: Кв Сэ АВС 81 Кн, где 81 - номер ВРМ телефониста междугородной службы АМТС; - к ВРМ телефонистов международной службы АМТС: Кв Сэ АВС 82 Кн, где 82 - номер ВРМ телефониста международной службы АМТС; - к ВРМ телефонистов сети «Искра»: Кв Сэ АВС 80 Кн, где 80 - номерВРМ телефониста сети «Искра». 4.4.6. Номерная информация, поступающая на АМТС от технического персонала объектов национальной сети для проверки междугородных каналов, должна иметь следующий вид: (в настоящее время) Кв Сэ ABC 89X Кн (в перспективе) Кв Сэ DEF 89X Кн, где АВС - код географической зоны нумерации расположения АМТС; DEF = 998 - единый код при проверке каналов к АМТС, УАК; 89Х - определяет тип ответного проверочного устройства. 4.4.7 Номерная информация, поступающая на АМТС от технического персонала для проверки заказно-соединительных линий, должна иметь следующий вид: - выход на тональные автоответчики АМТС: (в настоящее время) 16 Ka Na, 17 Ka Na (от АТСЭ, КЭ); Ka Na 16, Ka Na 17 (от АТСК, ДШ); (в перспективе) DEF 881, Ka Na (от АТСЭ, КЭ); Ка Na DEF 881 (от АТСК, ДШ); - выход на устройство, образующее цифровой шлейф на АМТС: (в перспективе) DEF 880 Ка Na Кн (от АТСЭ, КЭ) Ка Na DEF 880 (от АТСК, ДШ), где DEF = 998 - единый код при проверке заказно-соединительных линий к АМТС. 4.4.8 Номерная информация, передаваемая от АМТС по междугородным каналам национальной сети в сторону МЦК(МНТС)нац, УАК, АМТС, комбинированной АМТС/АТС, должна иметь следующий вид: - при зоновой связи (при наличии двух АМТС в одной зоне): Кв Сэ 2аbХХХХХКн; - при междугородной связи: Кв Сэ ABC abxxxxx Кн, Кв Сэ DEFX1.....Х7 Кн; - при международной связи: Кв Сэ 10 Nmh Kh; - к телефонисту международной службы МЦК(МНТС)нац.: (в настоящее время) Кв Сэ ABC 19X Кн, либо Кв Сэ 19Х Кн, либо (в перспективе) Кв Сэ DEF ab 19X Кн; - к ВРМ телефонистов междугородной службы АМТС центра субъекта Российской Федерации: Кв Сэ АВС 81 Кн; -к ВРМ телефонистов международной службы АМТС: Kb Сэ ABC 82 Кн; - к ВРМ телефонистов сети «Искра»: Кв Сэ ABC 80 Кн; - к абонентам служебной АТС объектов национальной сети: (в настоящее время) Кв Сэ ABC 0X1XXX Кн; - к абонентам служебной АТС другой АМТС своей зоны: Кв Сэ 2аbХХХХХ Кн; -к абонентам служебной АТС своей АМТС: XXX; - к техническому персоналу объектов национальной сети для проверки междугородных каналов: (в настоящее время) Кв Сэ ABC 89Х Кн, либо (в перспективе) Кв Сэ DEF 89X Кн, где DEF = 998 - единый код при проверке каналов к МЦК(МНТС); АМТС, УАК; 89Х - определяет тип ответного проверочного устройства; - к абонентам сети "Искра" Московского региона: Кв Сэ ABC X0X1XXX Кн, - к абонентам сети "Искра" других регионов: Кв Сэ ABC 0X1XXX Кн. 4.4.9 Номерная информация, передаваемая от АМТС по СЛМ, должна иметь следующий вид: при выходе к абоненту 5-ти, 6-ти или 7-значной местной нумерации: 1) ххххх (АТСдш, АТСК); 2) bххххх; 3) abxxxxx; 4) хххххКв (АТСЭ, АТСКЭ); 5) bхххххКв; 6) аbхххххКв. Примечание - При работе с станциями АМТС-5,6 (ARM, ARE) и АМТС КЭ «Кварц» сигналы управления эхозаградителями не передаются и не принимаются. 4.5 Требования к сигнализации4.5.1 На междугородной и внутризоновой сетях должны передаваться линейные сигналы, сигналы управления и информационные акустические сигналы. 4.5.2 Состав линейных сигналов, передаваемых по междугородным и внутризоновым каналам и линиям, приведен в Приложении А, таблица А.1. 4.5.2.1 Способы передачи линейных сигналов должны быть следующими: - по междугородным каналам: 1) двоичным кодом по общему каналу сигнализации (ОКС); 2) по двум выделенным сигнальным каналам ЦСП; 3) одночастотный на частоте 2600 Гц; - по заказно-соединительным линиям (ЗСЛ): 1) двоичным кодом по общему каналу сигнализации; 2) по двум выделенным сигнальным каналам в ЦСП; 3) одночастотный на частоте 2600 Гц; - по соединительным линиям междугородным (СЛМ): 1) двоичным кодом по общему каналу сигнализации; 2) по двум выделенным сигнальным каналам в ЦСП; 3) одночастотный на частоте 2600 Гц; 4.5.2.2 Передача линейных сигналов по междугородным и внутризоновым каналам и линиям должна обеспечиваться в соответствии с сигнальными кодами, приведенными в Приложении А, таблицы А.2 - А.8 и в Приложении М. 4.5.3 Состав сигналов управления, передаваемых по междугородным и внутризоновым каналам и линиям, приведен в Приложении А, таблицы А.9 - А.12. 4.5.3.1 Способы передачи сигналов управления должны быть следующими: - по междугородным каналам: 1) двоичным кодом по общему каналу сигнализации; 2) многочастотным кодом по методу "импульсный пакет" с использованием частот 700, 900, 1100, 1300, 1500 и 1700 Гц; - по заказно-соединительным линиям: 1) двоичным кодом по общему каналу сигнализации; 2) многочастотным кодом по методу "импульсный пакет" с использованием частот 700, 900, 1100,1300,1500 и 1700 Гц; 3) многочастотным кодом по методу "безинтервальный пакет" с использованием частот 700, 900, 1100, 1300, 1500 и 1700 Гц (передача категории и номера абонента А-информация АОН); 4) декадным кодом; - по соединительным линиям междугородным: 1) двоичным кодом по общему каналу сигнализации, 2) многочастотным кодом по методу "импульсный челнок" с использованием частот 700, 900, 1100, 1300, 1500 и 1700Гц; 3) декадным кодом. 4.5.4 Информационные акустические сигналы должны передаваться в виде зуммерных сигналов и фраз автоинформаторов. Состав акустических сигналов и фраз автоинформаторов и требования к их параметрам на междугородной и внутризоновой сетях приведены в Приложении В. 4.5.5 Требования к автоматическому определению категории и номера вызывающего абонента (АОН) приведены в Приложении И. 4.5.6 Приемо-передающее оборудование линейных и управляющих сигналов должно удовлетворять требованиям, изложенным в Приложении Б. 4.5.7 При междугородной и внутризоновой связи должно обеспечиваться разделение разговорного тракта для: - защиты приемников сигналов управления от разговорных токов абонентов (в прямом направлении); - предотвращения трансляции линейных сигналов через коммутационное оборудование (в обратном направлении); - защиты линии вызываемого абонента, занятого соединением, от подключения к ней вызывающего абонента; - обеспечения устойчивости связи до момента ответа вызываемого абонента. Обрыв разговорного тракта не должен нарушать передачу информационных (акустических) сигналов в сторону вызывающего абонента. Разделение разговорного тракта передачи должно обеспечиваться на время передачи линейных сигналов в разговорной полосе частот. 4.5.8 Для обеспечения прохождения акустических сигналов и фраз автоинформатора тракт приема для вызывающего абонента или телефониста должен переключаться после окончания обмена управляющей информацией с последующей (входящей) станцией. 4.5.9 Контрольные выдержки времени на АМТС при установлении соединений приведены в таблице А.13 Приложения А. 4.6 Требования к электрическим параметрам разговорных трактов4.6.1 Интерфейсы 4.6.1.1 Определение интерфейсов Интерфейс А является цифровым стыком, служащим для обеспечения соединения в направлении других станций на первичном иерархическом уровне плезиохронной цифровой иерархии ПЦИ. Интерфейс Z - аналоговый стык для абонентского доступа. Интерфейс STM1 является цифровым стыком, служащим для обеспечения соединения в направлении других станций на первом уровне СЦИ. Требования к интерфейсу STM1 приведены в Приложении Л. Примечание: стык STM1 является необязательным для АМТС и, в случае его наличия, рассматривается как дополнительная функция. Интерфейс VI - цифровой стык для абонентского доступа на базовой скорости (2B+D) для абонентов служебной АТС (дополнительные функции ЦСИС), требования к интерфейсу VI приведены в Приложение П. 4.6.1.2 Электрические характеристики интерфейса А 4.6.1.2.1 Общие параметры Скорость передачи: 2048 кбит/с Допуск +- 50×10 ехр(-6) Линейный код: HDB3 Шаблон импульса на интерфейсе приведен на рисунке 4.2. 4.6.3 Характеристики на выходе соединения следующие: - форма импульса - номинально прямоугольная - все импульсы должны соответствовать шаблону рисунке 4.2; - испытательное нагрузочное полное сопротивление - активная нагрузка 120 Ом; - номинальное амплитудное значение напряжения импульса - 3В; - номинальное амплитудное значение напряжения паузы (отсутствие импульса) - (0±0,3)В; - номинальная ширина импульса - 244 нс; - соотношение амплитуд положительного и отрицательного импульсов в центре периода импульсов - с 0,95 по 1,05; - соотношение ширины положительного и отрицательного импульсов к номинальной середине амплитуды - с 0,95 по 1,05; - максимальное фазовое дрожание на выходном порту - 0,05×488 нс. 4.6.4 Характеристики на входе соединения 4.6.4.1 Цифровой сигнал на входе соединения должен соответствовать параметрам рисунке 4.2 с учетом величин затухания соединительной линии от 0 до 6 дБ на частоте 1024 кГц. 4.6.4.2 Допуск на дрожание и дрейф фазы входного сигнала характеризует способность станции справиться с фазовыми отклонениями поступающих сигналов, не допуская проскальзываний или ошибок. Допуск на дрожание и дрейф фазы на входе А должен соответствовать рекомендациям МСЭ-Т серии Q. Примечание - V соответствует номинальному пиковому значению. Рисунок 4.2 - Шаблон импульса на интерфейсе А со скоростью 2048 кбит/с 4.6.4.3 Затухание несогласованности на входе соединения должно быть меньше значений, приведенных в таблице 4.2. Таблица 4.2 - Характеристики на входе соединения
4.6.4.4 Значение отношения полезного сигнала к интерференциальной помехе, воздействующей на входной сигнал, при котором отсутствуют искажения, должно быть 18 дБ. 4.6.5 Экран симметричной пары на передачу должен заземляться, в случае необходимости должна быть предусмотрена возможность заземления экрана симметричной пары на прием. 4.6.6 Электрические характеристики интерфейса Z 4.6.6.1 Номинальное значение станционного импеданса представляет собой комплексное сопротивление ZL, приведенное на рисунке 4.3, где для интерфейса Z - R1=150 Ом, R2=510 Ом, С=47 нФ.
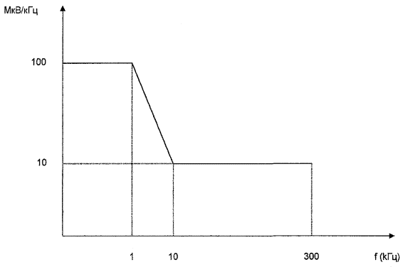
Рисунок 4.3 - Полное комплексное сопротивление ZL (испытательный контур) 4.6.6.2 Затухание несогласованности по отношению к испытательному контуру, равному ZL, должно быть для интерфейса Z: - не менее 14 дБ в диапазонах от 300 до 500 Гц и от 2000 до 3400 Гц; - не менее 18 дБ в диапазоне от 500 до 2000 Гц; 4.6.6.3 Затухание асимметрии относительно "земли" должно быть не менее 40 дБ в диапазоне частот от 300 до 600 Гц и не менее 46 дБ в диапазоне частот от 600 до 3400 Гц. 4.6.6.4 Номинальные значения относительных входных (Li) и выходных (Lo) уровней, измеренные на частоте 1020 Гц при нагрузке на полное комплексное сопротивление ZL, должны быть для стыка Z- Li=0 дБо, Lo=-7 дБо; Допускается увеличение номинального значения Lo до 0 дБо с шагом 1 дБо. Разница между номинальным и действительным относительным уровнем должна находиться в пределах: - входной относительный уровень: от минус 0,3 до 0,7 дБ; - выходной относительный уровень: от минус 0,7 до 0,3 дБ. 4.6.7 Характеристики интерфейса STM1 4.6.7.1 Характеристики интерфейса STM1 электрического 4.6.7.1.1 Общие характеристики: - скорость передачи 155520 Кбит\с; - допуск скорости передачи +\- 20×10-6; - код: двухуровневый код с инверсией посылок (CMI). 4.6.7.1.2 Параметры на выходных портах: - форма импульса - номинально прямоугольная и соответствующая маскам, представленным на рис 24\G.703 и 25\G.703 МСЭ-Т [3]; - пары в каждом направлении - одна коаксиальная пара; - измерительное нагрузочное сопротивление - 75 Ом, активное; - напряжение при размахе - 1+\-0,1 В. - время нарастания между 10% и 90% от измеренной стационарной амплитуды ≤2 нс, - допуск на временные соотношения переходов (относится к среднему значению для точек с 50% амплитуды отрицательных переходов) - отрицательные переходы: +\- 0,1 не; положительные переходы на границах единичных интервалов: +\- 0,5 не; положительные переходы в середине единичных интервалов: +\- 0,35 нc; - затухание отражения - ≥15 дБ в диапазоне частот 8-240 МГц; - максимальное фазовое дрожание (при размахе) на выходном порту - в соответствии с G.825 [20] 4.6.7.1.3 Параметры на входных портах Параметры на входных портах соответствуют параметрам на выходных портах с учетом изменений параметров, обусловленных характеристиками соединительной коаксиальной пары. Примечание - Затухание коаксиальной пары должно приблизительно соответствовать закону √f, а максимальное вносимое затухание должно составлять 12,7 дБ при частоте 78 МГц. 4.6.7.1.4 Параметры в точках переключения Глазковая диаграмма при максимальном и минимальном уровнях мощности представлена на рис. 26\G.703 МСЭ-Т [3]. 4.6.7.2 Характеристики интерфейса STM1 оптического должны соответствовать рекомендации МСЭ-Т G..957 [21]. 4.6.8 Характеристики тракта передачи полусоединений 4.6.8.1 Рабочее затухание передачи определяется как разность относительных уровней на входе и выходе соединения на частоте 1020 Гц. Показатели номинального значения затухания между интерфейсами должны быть: - между входом и выходом интерфейса Z - 7,0 дБ; - между входом Z и выходом интерфейса А - 0 дБ; - между входом А и выходом интерфейса Z - 7,0 дБ; - между входом и выходом интерфейса А - 0 дБ. Разность между номинальным и действующим рабочим затуханием полусоединения должна находиться в пределах от минус 0,3 до 0,7 дБ. 4.6.8.2 При подаче синусоидального сигнала с частотой 1020 Гц и уровнем минус 10 дБмО на вход любого двухпроводного аналогового интерфейса Z, или синусоидального цифрового сигнала с такими же параметрами на вход цифрового интерфейса типа А, рабочее затухание не должно изменяться более, чем на +/- 0,2 дБ в течение любого десятиминутного интервала времени. 4.6.8.3 При подаче синусоидального сигнала с частотой 1020 Гц и уровнем от минус 55 дБмО до плюс 3 дБмО на вход любого аналогового интерфейса, или же синусоидального цифрового сигнала с такими же параметрами на вход цифрового интерфейса любого соединения, изменения амплитудной характеристики данного соединения относительно входного уровня минус 10 дБмО должны находиться в диапазоне, приведенном на рисунке 4.4. 4.6.8.4 Отклонения рабочего затухания в полосе частот 0,3 - 3,4 кГц от затухания на частоте 1020 Гц при входном уровне минус 10 дБмО должны соответствовать для интерфейса Z - рисункам 4.5 и 4.6. 4.6.8.5 Групповое время прохождения должно соответствовать: - абсолютному групповому времени прохождения, которое состоит из минимального группового времени прохождения в диапазоне частот от 500 до 2800 Гц; - отклонению группового времени прохождения от его минимального значения в диапазоне от 500 Гц до 2500 Гц одного направления передачи, которое должно находиться между интерфейсами Z, А и A-Z в диапазонах, указанных на рисунке 4.7. Рисунок 4.4 - Амплитудная характеристика на входе/выходе соединения (полусоединений) Пределы для группового времени прохождения между интерфейсами даны в таблице 4.3. Таблица 4.3 - Пределы группового времени прохождения между интерфейсами
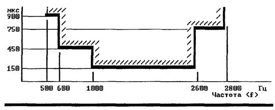
4.6.8.6 Защищенность от внятных переходных влияний включает в себя переходные влияния между разными полусоединениями: - от аналогового входа между различными полусоединениями на дальнем и ближнем конце. Синусоидальный сигнал с частотой 1020 Гц и уровнем 0 дБмО, поданный на аналоговый двухпроводный интерфейс одного полусоединения, не должен создавать переходную помеху на входе любого другого полусоединения с уровнем, превышающим минус 73 дБмО на ближнем конце и минус 70 дБмО на дальнем конце; Рисунок 4.5 - Пределы отклонения группового времени прохождения между интерфейсами Z, А и A-Z *В указанных частотных диапазонах приведены пределы, которые применяются при использовании максимальной протяженности внутристанционного кабеля. Рисунок 4,6 - Частотная зависимость отклонения рабочего затухания на входе полусоединения (интерфейс Z) - от цифрового входа между различными полусоединениями на дальнем и ближнем конце. Цифровой синусоидальный сигнал с частотой 1020 Гц и уровнем 0 дБмО, поданный на цифровой вход одного полусоединения, не должен создавать переходную помеху на выходе любого другого полусоединения с уровнем, превышающим минус 70 дБмО на ближнем конце и минус 73 дБмО на дальнем конце. * В указанных частотных диапазонах приведены пределы, которые применяются при использовании максимальной протяженности внутристанционного кабеля. Рисунок 4.7 - Частотная зависимость отклонения рабочего затухания на выходе полусоединения (интерфейс Z) 4.6.8.7 Отношение сигнала к суммарным искажениям на входе/выходе полусоединения при измерении синусоидальным сигналом с частотой 1020 Гц на аналоговом входе интерфейса Z, или синусоидальным цифровым сигналом с той же частотой на цифровом входе соединения (интерфейсы А) должно превышать пределы, указанные на рисунках 4.8 и 4.9 для интерфейса Z.
Рисунок 4.8 - Пределы суммарных искажений на входе соединения при Li=0 дБО интерфейса Z
Рисунок 4.9 - Пределы суммарных искажений на выходе соединения (Lo = -7 дБо интерфейса Z) 4.6.8.8 При подаче на аналоговый вход интерфейса Z любого синусоидального сигнала в диапазоне от 4,6 до 72 кГц с уровнем минус 25 дБмО уровень любой комбинационной частоты, возникающей на выходе соединения, должен быть по крайней мере на 25 дБ ниже уровня испытательного сигнала. В самых неблагоприятных условиях национальной сети на цифровом выходе интерфейса Z не должно возникать дополнительного шума более 100 пВт0п в полосе частот от 10 до 4000 Гц, вызванного присутствием внеполосных сигналов на входе соединения. 4.6.8.9 При подаче на цифровой вход полусоединения интерфейса Z цифрового синусоидального сигнала в диапазоне частот от 300 до 3400 Гц с номинальным уровнем 0 дБмО уровень внеполосных сигналов, измеренный селективно на аналоговом выходе полусоединения, должен быть менее минус 25 дБмО. 4.6.8.10 Балансное затухание дифсистемы при нагрузке аналогового входа интерфейса Z номинальным комплексным сопротивлением должно превышать пределы, приведенные на рисунке 4.10.
Рисунок 4.10 - Пределы балансного затухания дифсистемы 4.6.8.11 Устойчивость дифсистемы при холостом ходе и коротком замыкании в точке двухпроводного аналогового входа должна быть не менее 6 дБ для интерфейса Z в диапазоне частот от 200 до 3600 Гц. При изменении выходного относительного уровня Lo интерфейса Z допускается соответствующее уменьшение устойчивости, но не менее 0 дБ. 4.6.8.12 Уровни псофометрического шума не должны превышать следующих значений: - на аналоговом выходе полусоединения для интерфейса Z - минус 66,9 дБм0п; - на цифровом выходе полусоединения для интерфейса Z - минус 63,5 дБм0п. Число импульсов шума с максимальным уровнем минус 35 дБм0 должно быть не более пяти в течение любого пятиминутного интервала для соединения с интерфейсом Z. 4.6.8.13. Расчетная величина долговременного среднего коэффициента ошибок при одноразовом проключении соединения 64 кбит/с через станцию между цифровыми стыками должна быть не больше, чем 10ехр(-9). 4.7 Требования к организации предоставления услуг телефонной связи с помощью телефонистов4.7.1 Для обеспечения абонентам сети и клиентам переговорных пунктов областного центра, райцентров, населенных пунктов зоны возможности установления телефонных соединений и предоставления дополнительных услуг с помощью телефонистов в составе станции может предусматриваться подсистема автоматизированных рабочих мест телефонистов (АРМТ). 4.7.2 При отсутствии в составе АМТС подсистемы АРМТ возможно использование внешнего оборудования - аппаратно-программного комплекса с рабочими местами телефонистов (АПКРМТ) других производителей. При этом АПКРМТ должен отвечать техническим требованиям РД 45.016-2001 "Комплекс аппаратно-программный с рабочими местами телефонистов" от 15.03.2001 г.; иметь собственный сертификат соответствия. 4.7.3 В Приложении Ж даны эксплуатационно-технические требования к подсистеме АРМТ из состава станции, позволяющей обеспечить организацию коммутаторного цеха с рабочими местами телефонистов и требуемый эксплуатационный процесс при предоставлении услуг связи с помощью телефонистов. 4.8 Требования к функции учета данных для начисления платы4.8.1 Функция учета данных для начисления платы должна обеспечивать сбор и регистрацию исходных данных о состоявшихся внутризоновых, междугородных и международных соединениях для автоматического и полуавтоматического способа обслуживания при исходящей связи от абонентов станций местных сетей, входящих в зону обслуживания данной АМТС. 4.8.2 Функция учета данных для начисления платы должна обеспечивать регистрацию и хранение информации о пропущенном через АМТС трафике для взаиморасчетов операторов, участвующих в совместном предоставлении услуг связи, и статистики. 4.8.3 Функция учета данных для начисления платы должна обеспечивать вывод накопленной информации в АСР для последующей обработки данных. 4.8.4 Функция учета данных для начисления платы должна обеспечивать измерение продолжительности соединения, установленного через АМТС, и регистрацию в записи времени начала соединения и других параметров, необходимых для правильного начисления платы за состоявшееся соединение. 4.8.4.1 Погрешность при измерении продолжительности соединения не должна превышать ±2с с вероятностью 0,95. 4.8.4.2 Вероятность потери данных учета или ошибочной записи учета данных, приводящей к неправильному начислению платы, не должна превышать 1×10-4 (Рек. Q.543) [11]. 4.8.5 При наличии в АМТС аппаратно-программных средств, реализующих функции коммутации услуг интеллектуальной сети и интеллектуальной периферии (SSP/IP), функция учета данных для начисления платы должна обеспечивать учет данных для расчета операторов ИСС с пользователями и абонентами услуг за предоставление услуг ИСС, а также регистрацию и хранение информации о предоставленных услугах ИСС для взаиморасчетов операторов, участвующих в совместном предоставлении услуг ИСС. 4.8.6 Технические требования к функции учета данных для начисления платы приведены в Приложения Г. 4.9 Требования к синхронизации4.9.1 Система синхронизации АМТС должна обеспечивать работоспособность оборудования при получении сигналов синхронизации от ВЗГ и ПЭГ по системам передачи синхронной и плезиохронной цифровой иерархии, а также формировать сигналы, пригодные для синхронизации систем передачи синхронной цифровой иерархии. 4.9.2 Система синхронизации должна управляться сигналом синхронизации, выделяемым из одного, специально установленного информационного сигнала 2048 кбит/с, или получаемого из специального внешнего входа сигнала 2048 кГц по симметричному входу в соответствии с Рекомендацией МСЭ-Т G.703 [3]. Примечание - Система синхронизации должна иметь также входной интерфейс 5мГц или 10мГц. 4.9.3. Для системы синхронизации в соответствии с устанавливаемым приоритетом должны выделяться два внешних входных сигнала и не менее четырех информационных сигналов. Сигналы синхронизации, которые могут использоваться для синхронизации при любом конкретном включении должны контролироваться по частоте путем сравнения их частоты с частотой управляемого генератора в блоке сетевой синхронизации (БСС). 4.9.4 Параметры собственного генератора БСС, определяющие стабильность частоты выходных сигналов в автономном режиме, должны быть следующими: - скорость старения <2×10-10 отн.ед./в день; - точность установки номинала тактовой частоты <2×10-8 отн.ед. 4.9.5 Полоса захвата должна быть не менее 1×10-7 (Рекомендация МСЭ-Т G.812) [4]. 4.9.6 АМТС должны иметь выход сигналов синхронизации в виде сигнала 2048 кГц в соответствии с Рекомендацией МСЭ-Т G.703 [3]. Данные сигналы должны формироваться в БСС. 4.9.7 В режиме запоминания частоты эталонного генератора, при постоянной рабочей температуре, выдерживаемой с точностью (±1°К), максимальная ошибка временного интервала (МОВИ-МТШ), определение которой дано в Рекомендации МСЭ-Т G.810 [2], должна укладываться в пределы, указанные в таблице 4.4 (8.1 РекомендацииМСЭ-Т0.812[4] и стандарт 4.6.1 ETS 300-462-4 [5]). В этих же условиях девиация временного интервала (ДВИ-TDEV) должна укладываться в пределы, указанные в таблице 4.5 (8.1 Рекомендация МСЭ-Т G.812 [4] и 4.6.1 стандарт ETS 300-462-4 [5]). Таблица 4.4 - Пределы максимальной ошибки временного интервала
Таблица 4.5 - Значение девиации временного интервала
4.9.8 Джиттер выходного сигнала синхронизации 2048 кГц и информационного сигнала 2048 кбит/с в полосе 20 Гц - 100 кГц согласно 8.3.1 Рекомендации МСЭ-Т G.812 [4] и 3.6.3.1 стандарта ETS 300-462-4 [5] не должен превышать величины 0,05 единичного интервала при времени измерения в 60 с. 4.9.9 Допустимые пределы блужданий фазы входного сигнала синхронизации, при которых БСС остается в синхронном режиме работы, выраженные через МОВИ и ДВИ, приведены в таблицах 4.6 и 4.7 (9.1 Рекомендации МСЭ-Т G.8I2 [4] и 7.2 стандарта ETS 300-462-4 [5]). Допустимые блуждания фазы входного сигнала, откоррелированные в значениях синусоидальных блужданий фазы, приведены в таблице 4.8 (9.2 Рекомендации МСЭ-Т G.812 [4] и 3.7.2 стандарта ETS 300-462-4 [5]). Допустимый джиттер входного сигнала приведен в таблице 4.9 в соответствии с Рекомендацией МСЭ-Т G.812/9.2 [4]. Таблица 4.6 - Допустимые пределы блужданий фазы входного сигнала, выраженные через МОВИ
Таблица 4.7 - Допустимые пределы блужданий фазы входного сигнала, выраженные через ДВИ
Таблица 4.8 - Допустимые пределы блужданий фазы входного сигнала
Таблица 4.9 - Значения допустимого джиггера входного сигнала
4.9.10 Передаточная характеристика управляемого генератора БСС должна рассматриваться как фильтр нижних частот для значений разности фаз между действительной фазой входного сигнала и идеальной фазой эталона. Максимальная полоса такого фильтра не должна превышать 10 мГц. В полосе пропускания усиление не должно превышать 0,2 дБ (10 Рекомендации МСЭ-Т G.812 [4] и 3.8 стандарта ETS 300-462-4 [5]). Передаточная характеристика определяется также величиной шума на выходе, когда на входе значения ДВИ соответствуют данным таблицы 4.10. Таблица 4.10 - Значения ДВИ на входе
4.9.11 Передаточная характеристика во время переключения с одного входного эталонного синхросигнала на другой приведена в таблице 4.11 (11.1 Рекомендации МСЭ-Т&812[4]). Таблица 4.11- Значения передаточной характеристики
4.9.12 Долговременные фазовые изменения DX(S) в режиме удержания при постоянной температуре (11.2 Рекомендации G.812 [4] и 4.9.2 стандарта ETS 300-462-4 [5]) должны описываться следующим уравнением:
где - а=0,5 нс/с, b=2,3*10-6 нс/с, с=60 нс, a S - с. Это соответствует точности запоминания частоты ≤5-10-10 относительного уровня и суточного отклонения частоты ≤2×10-10. 4.9.13 Непрерывность фазы выходного сигнала при переключении на резервные комплекты оборудования из-за повреждений в основном комплекте, не должна превышать пределов, указанных в таблице 4.12 (11.4 Рекомендации G.812 [4] и 9.11 стандарта ЕСЭ 300-462-4 [5]). Таблица 4.12 - Значения непрерывности фазы выходного сигнала
4.10 Требования к цифровому интерфейсу станции4.10.1 Параметры интерфейса 2048 Кбит\с приведены в пункте 4.6.2. Требования к интерфейсу на скорости 155520 Кбит\с приведены в Приложении Т. 4.10.2 Структура цикла для потока 2048 Кбит\с 4.10.2.1 Число символов (разрядов) в канальном интервале должно быть равно 8 и нумероваться цифрами с 1 по 8 (Р1–Р8). 4.10.2.2 Число канальных интервалов в цикле должно быть равно 32 и нумероваться цифрами с 0 до 31 (КИ0–КИ31). 4.10.2.3 Число символов в цикле должно быть 256. 4.10.2.4 Частота повторения циклов должна быть 8000 Гц. 4.10.2.5 Канальные интервалы с 1 по 15 и с 17 по 31 должны быть предназначены для организации 30 каналов со скоростью передачи 64 кбит/с. 4.10.2.6 Канальный интервал КИ0 должен быть предназначен для передачи сигналов цикловой синхронизации, сигналов аварийной сигнализации, для определения коэффициента ошибок, для передачи сигналов технической эксплуатации и технического обслуживания. 4.10.2.7 Канальный интервал КИ16 должен быть предназначен главным образом для передачи информации сигнализации, комбинации сверхцикловой синхронизации и сигналов технической эксплуатации. 4.10.2.8 Местоположение циклового синхросигнала должно быть в разрядах Р2-Р8 в КИ0. 4.10.2.9 Вид циклового синхросигнала должен быть 0011011. 4.10.2.10 Цикловой синхросигнал должен передаваться через цикл. Приемные устройства цикловой и сверхцикловой синхронизации должны правильно работать при любом соотношении начала отсчета циклов в КИ0 и КИ16. Примечание - Отсчет в КИ0 не связан с отсчетом цикла в КИ16. 4.10.2.11 Символы разрядов Р2-Р8 канального интервала КИО в циклах, не содержащих цикловой синхросигнал, должны информировать о том, что: - в разряде Р2 всегда содержится "единица" ("1"); - Р3 используется для передачи сигнала извещения об авариях к удаленной аппаратуре ИКМ или к другой станции, при этом Р3=0 соответствует отсутствию аварии, Р3=1 - соответствует аварийному состоянию; - Р4-Р8 могут использоваться при связи внутри страны для передачи аварийной сигнализации, информации технической эксплуатации, информации для синхронизации сети и других целей. Примечания 1 В станции должен обеспечиваться доступ по вводу и выводу данных разрядов Р4 - Р8 канальных интервалов КИ0, не содержащих цикловой синхросигнал. 2 На цифровых трактах, пересекающих государственную границу и в случае, когда эти разряды не используются, символы разрядов Р4-Р8 должны иметь значение «1». 3 На национальных сетях, когда разряды Р4 и Р8 не используются, символы этих разрядов могут иметь любое постоянное значение, устанавливаемое, например, с помощью перемычек. 4.10.2.12 Должна быть предусмотрена возможность работы в двух режимах использования разрядного интервала Р1 канального интервала КИ0: без применения и с применением циклического кодирования сигнала (CRC-4) в соответствии с рекомендацией МСЭ-Т G.704 [6]. Примечания 1 Разряд Р1 (в случае, когда не используется циклическое кодирование) на сетях связи внутри каждой отдельной страны может иметь различное использование. 2 На цифровых трактах, пересекающих государственную границу, и в случае, если разряд Р1 не используется, символы этого разряда должны иметь значение "1". 3 На национальных сетях, когда разряд Р1 не используется, необходимо предусмотреть возможность заполнения этого разряда сигналами «0» или «1», например, с помощью перемычек. 4.10.2.13 При проведении операции контроля и диагностики оборудования с исключением соответствующего тракта из работы в направлении к другой станции или к аппаратуре ИКМ должен передаваться сигнал индикации аварии. 4.10.3 Цикловая синхронизация 4.10.3.1 Цикловая синхронизация должна считаться нарушенной, если обнаружено три ошибки подряд в цикловом синхросигнале или если три раза подряд в Р2 канального интервала КИ0 цикла, не содержащего, цикловой синхросигнал, присутствует значение "0". Примечание - При использовании циклического кодирования цикловая синхронизация должна считаться нарушенной также и при условии, если коэффициент ошибок в линии больше допустимого или если за время 8 мс не обнаружен сигнал синхронизации по сверхциклу. 4.10.3.2 Восстановление циклового синхросигнала должно иметь место после регистрации следующих сигналов в трех последовательных циклах: - наличие правильного циклового синхросигнала в цикле W; - отсутствие правильного циклового синхросигнала в следующем цикле W+1, при этом Р2 должен иметь значение "1"; - наличие правильного циклового синхросигнала в последующем цикле W+2. 4.10.3.3 Невыполнение перечисленных условий восстановления циклового синхросигнала, хотя бы по одному из указанных признаков, должно приводить к продолжению поиска состояния синхросигнала в цикле W+2. Примечание - Допускается использование других процедур синхронизации при условии, если они не вызывают ухудшения характеристик цикловой синхронизации. 4.10.4 Структура сверхцикла (для раздельной сигнализации в канальном интервале КИ16) 4.10.4.1 Число циклов в сверхцикле - 16. Нумерация циклов от 0 до 15 (Ц0 - Ц15). 4.10.4.2 Номинальная длительность сверхцикла - 2 мс. 4.10.4.3 Вид сверхциклового синхросигнала - 0000. Расположение сверхциклового синхросигнала - разряды с 1 по 4 канального интервала КИ16 цикла Ц0. 4.10.4.4 Разряд Р6 канального интервала КИ16 цикла Ц0 должен использоваться для обозначения потери сверхцикловой синхронизации (МСЭ-Т G704, табл.7) [6]. При этом авария передается единицей, отсутствие аварии - нулем. 4.10.4.5 В разрядах Р5, Р7 и Р8 КИ16 цикла Ц0 передаются единицы. 4.10.4.6 Каждый канальный интервал КИ16 в циклах с Ц1 по Ц15 используется для передачи информации сигнализации для двух речевых каналов. 4.10.4.7 Неиспользуемые разряды РЗ и Р7 должны заполняться нулями, а разряды Р4 и Р8 - единицами. 4.10.5 Требования по контролю 4.10.5.1 Непрерывным контролем должны обнаруживаться следующие неисправности: - отсутствие принимаемого сигнала 2048 кбит/с; - нарушение цикловой синхронизации; - нарушение сверхцикловой синхронизации; - повышенный коэффициент ошибок (более 10ехр(-3), либо более 10ехр(-4)/10ехр(-5) для цифровых сетей). Примечания 1 Обнаружение отсутствия принимаемого сигнала 2048 кбит/с путем непрерывного контроля требуется только в том случае, если это состояние не вызывает появления сигнала нарушения цикловой синхронизации. Если отсутствие принимаемого сигнала не обнаруживается непрерывным контролем, то контроль этого аварийного состояния должен осуществляться при диагностике. 2 Отсутствие принимаемого сигнала 2048 кбит/с должно обнаруживаться, если относительное количество импульсов помех не более 10. 3 Вероятность обнаружения состояния "повышенный коэффициент ошибок" при коэффициенте ошибок не менее 10ехр(-3) в течение 5 с должна быть более 0,95. 4 Вероятность обнаружения состояния "повышенный коэффициент ошибок" при коэффициенте ошибок менее10ехр(-4) за время 4-5 с должна быть менее 1×10ехр(-6). 5 Сигнал "повышенный коэффициент ошибок" должен сниматься, если коэффициент ошибок менее 10ехр(-4). Вероятность обнаружения этого состояния за 5 с должна быть более 0,95. 6 При коэффициенте ошибок более 10ехр(-З) вероятность ложного снятия сигнала "повышенный коэффициент ошибок" за время 4-5 с должна равняться почти нулю (временно до решения в МЭС-Т эта вероятность принимается менее 10ехр(-8). 4.10.5.2 Путем непрерывного контроля должны быть обнаружены в принимаемом ИКМ сигнале следующие аварийные сигналы: - сигнал извещения об аварии на удаленном конце (разряд Р3 канального интервала КИ0 цикла, не содержащего цикловой синхросигнал); - сигнал индикации аварии, представляющий собой непрерывную последовательность единиц во всех каналах, включая КИ0. Примечания 1 Аварийные сигналы должны обнаруживаться как при синхронном, так и плезиохронном режимах работы и коэффициенте ошибок не более 10ехр(-3) - для сигнала индикации аварии и не более 10ехр(-4) - для сигналов извещения об аварии на удаленном конце. 2 Вероятность обнаружения аварийных сигналов за время 5 с должна быть более 0,95. 4.10.5.3 Действия при обнаружении непрерывным контролем неисправностей или аварийных сигналов должны соответствовать Рекомендации G.732 МСЭ-Т [7]. 4.10.5.4 Должны быть предусмотрены технические средства обнаружения: - управляемых проскальзываний; - неуправляемых проскальзываний. Частость управляемых проскальзываний на интерфейсе станции должна соответствовать нормам, приведенным в Рекомендации G.822 МСЭ-Т [8]. Примечание - Данные об управляемых и неуправляемых проскальзываниях должны передаваться в систему технической эксплуатации для последующей обработки. 4.10.5.5 В результате обработки аварийных сообщений должны обнаруживаться, по крайней мере, следующие аварийные состояния: - повышенная частота проскальзываний; - авария по частоте проскальзываний; - авария по частости аварийных сообщений, принимаемых с удаленного конца; - авария по частоте нарушений цикловой синхронизации; - авария по частоте отсутствия принимаемого из линии сигнала; - авария по частоте появления сигнала индикации аварии; - авария по частоте превышения коэффициента ошибок; - авария по частоте сбоев в тактовых сигналах, поступающих от тактового генератора станции. 4.10.5.6 Должна обеспечиваться возможность изменения критериев обнаружения аварийных состояний и состава действий при их обнаружении. 4.10.5.7 Непрерывным контролем должны обнаруживаться следующие показатели в цифровом потоке (в соответствии с Рекомендацией G.821 МСЭ-Т [9]); - секунды, свободные от ошибок; - секунды с ошибками (по крайней мере с одним искаженным циклом); - секунды, сильно пораженные ошибками (BER=10exp(-3)); - недоступные секунды; - минуты низкого качества (BER=10exp(-6)). 4.10.6 Структура цикла и характеристики для цифрового потока на базовой скорости (2B+D) приведены в Приложении П (Дополнительные функции ЦСИС для служебной АТС). 4.11 Требовавши к централизованному управлению станцией4.11.1 АМТС должна обеспечивать взаимодействие с центром управления сетью в соответствии с рекомендациями МСЭ-Т серии Е и Q. 4.11.2 Для центра управления сетью АМТС должна обеспечивать доступ ко всем своим данным о работе. 4.11.3 Взаимодействие АМТС с центром управления должно осуществляться в реальном масштабе времени. 4.11.4 АМТС должна обеспечивать следующие функции безопасности при централизованном управлении сетью против нарушений правил доступа и недопущения несанкционированного доступа: - идентификация информации и аутентификация пользователя; - контроль доступа для каждого внешнего запроса; - регистрация изменения ресурсов станции в ходе обычных процедур эксплуатации и технического обслуживания. 4.11.5 АМТС должна поддерживать один из следующих типов интерфейсов: - стандартизованные интерфейсы класса Q.3. Профили нижних уровней протоколов CONS1-6, CLNS1-3 и профили верхних уровней приведены в приложении Л; - интерфейсы на базе протокола TCP/IP. Профили протокола приведены в приложении Л; - интерфейсы на базе протокола SNMP, профили которого приведены в приложении Л; - интерфейсы типа М (не стандартизованные), реализованные в управляемых сетевых элементах. 4.11.6 Для согласования нестандартизованных интерфейсов типа М с интерфейсами класса Q3 должны использоваться Q-адаптеры. 4.12 Требования к средствам технической эксплуатации4.12.1 Система технической эксплуатации АМТС должна выполнять задачи технического обслуживания, обеспечивающие бесперебойную работу оборудования, контроль взаимодействия АМТС с окружающей сетью и оценку качества обслуживания нагрузки. Система технической эксплуатации должна реализовываться с помощью программных и аппаратных средств АМТС, обеспечивать заданное качество обслуживания вызовов и выполнение требований по надежности. 4.12.2 К функциям технической эксплуатации относятся: - техническое обслуживание АМТС; - контроль нагрузки и качества обслуживания вызовов; - поддержка управления работой АМТС на сети и управления маршрутизацией; - поддержка взаимодействия с техническим персоналом АМТС. 4.12.3 Требования по техническому обслуживанию АМТС 4.12.3.1 Техническое обслуживание АМТС должно производиться децентрализованным способом - техперсоналом АМТС. централизованным способом - из Центра технической эксплуатации (ТГГЭ) или комбинированным способом. Техперсонал АМТС или ЦТЭ должен иметь возможность решать следующие основные задачи при техобслуживании оборудования: - техническое обслуживание оборудования; - техническое обслуживание каналов и линий, подключенных к АМТС; - техническое обслуживание программного обеспечения. Функции технического обслуживания должны выполняться автоматически в соответствии с программами и по командам технического персонала 4.12.3.2 Техническое обслуживание оборудования АМТС 4.12.3.2.1 Подсистема технического обслуживания оборудования АМТС должна выполнять задачи: - контроль работоспособности оборудования; - осуществление аварийной сигнализации; - восстановление работоспособности оборудования; - тестирование и диагностику оборудования. 4.12.3.2.2 Контроль работоспособности оборудования АМТС должен включать: - постоянный контроль; - периодический контроль (по расписанию и/или по команде техперсонала). 4.12.3.2.3 Устройства аварийной сигнализации АМТС должны собирать аварийные сигналы со всех функциональных блоков АМТС, систем передачи (по аварийной информации в цифровом потоке) и устройств ввода электропитания, обрабатывать их для получения аварийных сообщений и затем оповещать технический персонал АМТС об авариях путем вывода аварийных сообщений на принтер, монитор и/или системную панель аварийных сигналов. Аварийные сообщения должны быть разделены на категории по срочности восстановления: - критические аварии (неисправность, которая вызывает значительное ухудшение обслуживания и требует немедленного вмешательства); - серьезные аварии (серьезные неисправности на АМТС) требуют вмешательства в течение дня); - незначительные аварии (неисправности, которые не требуют немедленного вмешательства. Устраняются они в период наименьшей нагрузки). Аварийные сообщения и действия технического персонала по их устранению должны фиксироваться в файле истории станции на магнитном (или оптическом) носителе. 4.12.3.2.4 Подсистема технического обслуживания при восстановлении работоспособности АМТС должна управлять состояниями функциональных блоков или перезапусками блоков и предотвращать влияние неисправности на другие блоки оборудования. Обеспечение надежности должно быть реализовано путем резервирования групповых и управляющих блоков оборудования АМТС. Дублирование управляющего и группового оборудования АМТС должно давать возможность реконфигурации системы, при которой производится переключение на резервное оборудование и исключение из обслуживания неисправного оборудования. Восстановление работоспособности неисправного оборудования, после обнаружения и идентификации неисправности, должно производиться заменой съемных элементов оборудования с использованием ЗИП. После замены неисправного элемента оборудования должно проводиться тестирование восстановленного оборудования для определения его нормальной работы в составе АМТС. Для проведения восстановления должны быть доступны процедуры блокировки узлов оборудования. 4.12.3.2.5 Должна быть реализована возможность запуска процесса диагностики оборудования автоматически или вручную, до полного окончания или по фазам. Глубина автоматической диагностики неисправностей должна соответствовать следующему критерию: - с точностью до одной платы должны выявляться не менее 75% неисправностей; - с точностью до двух плат должны выявляться не менее 85% неисправностей; - с точностью до трех плат должны выявляться не менее 95% неисправностей; - для остальных случаев неисправностей может требоваться вмешательство технического персонала. 4.12.3.2.6 Техническое обслуживание АМТС должно производиться техническим персоналом АМТС. Подсистема технического обслуживания должна давать возможность техническому персоналу проводить по командам следующие процедуры: - запуск теста; - изменение параметров теста; - управление состоянием функционального блока; - реконфигурация блоков и системы; - контроль аварий; - перезапуск функционального блока; - вывод данных о состоянии блоков и подсистем. 4.12.3.2.7 Подсистема технического обслуживания АМТС должна давать возможность техническому персоналу: - устанавливать соединения для испытаний; - активизировать испытания и измерения; - принимать проверочные вызовы; - блокировать и разблокировать каналы; - получать оперативную информацию о состоянии каналов (автоматически и по запросу); - разъединять проверочные соединения. Технический персонал должен иметь возможность производить испытания и измерения при помощи программно-аппаратных средств АМТС и при помощи оборудования внешнего тестирования. 4.12.3.3 Техническое обслуживание каналов и линий 4.12.3.3.1 Техническое обслуживание каналов и линий, подключенных к АМТС, должно включать контроль качества передачи и измерение характеристик передачи на цифровых каналах и на смешанных (аналого-цифровых). 4.12.3.3.2 Исходящие и двусторонние пучки каналов и линий должны находиться под постоянным контролем. Если превышена заранее установленная пороговая величина недоступных междугородных каналов или линий в пучке, на системной аварийной панели должна включаться аварийная сигнализация и на видеомонитор технического обслуживания должно выводиться сообщение для соответствующего пучка каналов. Сведения о состоянии пучков каналов\линий и о недоступных каналах\линиях с указанием причины недоступности должны выводиться на печать по соответствующим командам технического персонала 4.12.3.3.3 В системе технического обслуживания АМТС должна быть реализована возможность задания техническим персоналом пороговых величин для контроля состояния каналов\линий и оборудования. 4.12.3.3.4 Для выявления каналов\линий с чрезвычайно короткой продолжительностью занятия вследствие плохого качества передачи или неудачного проключения речевого тракта по командам технического персонала должен осуществляться расчет средней продолжительности занятия на канал\линию для 50 вызовов и последующее сравнение рассчитанной продолжительности с пороговой величиной. Пороговая величина минимальной длительности занятия должна устанавливаться командами отдельно для каждого пучка входящих, исходящих и двусторонних каналов\линий. В случае нарушения пороговой величины на печать должно выводиться сообщение, содержащее информацию: - номер пучка каналов\линий; - тип канала\линии (входящий, исходящий, двусторонний или линия для передачи объявлений механическим голосом); - номер канала\линии; - идентификатор оборудования линейного окончания; - средняя продолжительность занятия. 4.12.3.3.5 Подсистема технического обслуживания каналов\линий должна позволять выявлять нарушение вызова (аномальное состояние в процессе обработки вызова, препятствующее установлению соединения) на входящих, исходящих и двусторонних каналах\линиях. Пороговая величина для максимально допустимого количества нарушений вызовов на одном междугородном канале или линии должна устанавливаться для каждого пучка и вводиться командой. В случае превышения пороговой величины на печатающее устройство должно выдаваться сообщение о канале\линии, на котором было зафиксировано превышение. С помощью команд должен осуществляться запрос на подробные описания нарушений вызовов для последующих занятий данного канала\линии. 4.12.3.3.6 Измерение характеристик передачи и тестирование сигнализации на аналого-цифровых каналах\линиях может производиться дополнительным автоматическим оборудованием для измерений типа АТМЕ (Приложение Н). 4.12.3.3.7 Для АМТС на цифровой сети должна быть реализована возможность измерения характеристик ошибок в цифровых каналах по следующим показателям (в соответствии с Рекомендацией G.821 МСЭ) [9]: - коэффициенту ошибок; - количеству секунд, пораженных ошибками; - количеству пораженных минут; - количеству недоступных секунд. 4.12.3.3.8 Программно-аппаратные средства АМТС должны фиксировать количество повторных синхронизации по сверхциклу и обнаруженных проскальзываний. 4.12.3.3.9 В оборудовании АМТС должен быть предусмотрена организация цифрового шлейфа по каналу 64 кбит\с и по тракту 2048 кбит\с. При этом канал\тракт передачи должен быть соединен с каналом\трактом приема 4.12.3.3.10 В АМТС на цифровой сети ЦСИО должен осуществляться непрерывный автоматический контроль ошибок по избыточному коду (процедура CRC-4) в соответствии с Рекомендацией G. 704 МСЭ-Т [6]. 4.12.3.4 Техническое обслуживание программного обеспечения 4.12.3.4.1 В программном обеспечении АМТС должны быть предусмотрены системные средства для локализации ошибок в программах (обнаружение, индикация и предотвращение распространения ошибок в системе) и для предотвращения несанкционированного вмешательства в работу станции. 4.12.3.4.2 Рестарты программного обеспечения должны производиться с сохранением статистических и тарификационных данных и, в основном, с сохранением установленных соединений. 4.12.3.2.3 Перезагрузки программного обеспечения АМТС должны производиться с сохранением статистических и тарификационных данных. 4.12.4 Контроль нагрузки и качества обслуживания вызовов 4.12.4.1 Контроль нагрузки включает получение информации о параметрах нагрузки и использования АМТС и включенных в него каналов\линиях, а также, информации о качестве обслуживания вызовов, 4.12.4.2 Подсистема наблюдения за нагрузкой АМТС должна обеспечивать возможность измерения нагрузки в соответствии с Рекомендацией Е.502 МСЭ-Т [10] для целей: - контроля качества обслуживания нагрузки; - управления АМТС на сети; - проведения эксплуатационных мероприятий; - планирования АМТС и прогнозирования нагрузки на сети. 4.12.4.3 Измерения нагрузки должны включать: - регистрацию данных, автоматически и по запросу технического персонала, в соответствующих счетчиках; - формирование отчетов, базирующихся на информации, извлеченной из счетчиков и содержащих данные по структуре потока вызовов, по нагрузке, по среднему времени занятия и данные по их сравнению с заданными пороговыми значениями. Измерения должны проводиться по определенным типам объектов и видам связи (приложение Д). 4.12.4.4 Подсистема наблюдения за нагрузкой АМТС должна обеспечивать возможность учета качества работы и оценки эксплуатационной надежности, для чего должна фиксироваться статистика от счетчиков числа ошибок по техническим причинам или из-за отсутствия ресурсов АМТС, что предусматривается Рекомендацией Q.543 МСЭ-Т [11] и включает информацию: - об ошибках в процессе установления соединений, включая сбросы вызовов из-за реконфигураций и аварийных ситуаций в оборудовании и программном обеспечении АМТС; - об ошибках в разговорном состоянии - сбросы и другие нарушения по различным причинам (сбои в синхронизации, аварийные ситуации в оборудовании). Эти данные должны накапливаться нарастающим итогом. Емкость счетчиков должна быть достаточна не менее, чем для трех месяцев работы. Вывод информации должен производиться по командам технического персонала. Необходимо, чтобы в распечатках ошибки были разделены по группам, относящимся к типам модулей оборудования, 4.12.4.5 Подсистема технического обслуживания должна обеспечивать автоматический ежемесячный статистический учет внештатных ситуаций на оборудовании и в программном обеспечении, в том числе: - плановые реконфигурации модулей; - вынужденные (аварийные) реконфигурации модулей; - неисправности и блокировки управляющих устройств; - блокировки модулей; - блокировки внутристанционных трактов ИКМ; - блокировки межстанционных трактов ИКМ с указанием причины блокировки; - блокировки групп линейных окончаний с указанием причины блокировки. Подобная: статистика должна предоставлять данные, необходимые для оценки эксплуатационной надежности АМТС. Данные должны выводиться по расписанию или по командам технического персонала и должны фиксироваться в файле истории станции на магнитном (или оптическом) носителе. 4.12.4.6 Подсистема наблюдения за сигнальной нагрузкой (ОКС 7) должна обеспечивать возможность учета объема и качества обслуживания сигнальной нагрузки в соответствии с Рекомендацией МСЭ-Т Q.752 [17]. 4.12.4.7 Периоды регистрации статистических данных должны определяться путем ввода времени начала и окончания периода регистрации (15-минутный период, получасовой, часовой период, сутки). Период регистрации должен быть кратным 15 минутам. 4.12.5 Поддержка управления работой АМТС на сети 4.12.5.1 Средства технической эксплуатации АМТС в части управления маршрутизацией должны реализовывать следующие основные задачи: - управление каналами и пучками каналов\линий (создание пучков каналов\линий, ввод новых каналов\линий, удаление каналов\линий из пучка); - управление анализом характеристик и параметров аналого-цифровых и цифровых каналов\линий; - наблюдение за исходящими маршрутами; - наблюдение за полупостоянными соединениями. Требования к средствам АМТС по управлению сетью приведены в 4.11. 4.12.6 Процедуры взаимодействия средств технической эксплуатации АМТС с техническим персоналом 4.12.6.1 Процедуры технической эксплуатации предназначены для осуществления эксплуатационных работ и работ по техническому обслуживанию техническим персоналом АМТС. 4.12.6.2 Взаимодействие технического персонала АМТС с оборудованием при выполнении функций технического обслуживания и эксплуатации должно осуществляться в соответствии с Рекомендацией МСЭ-Т Z.323 [13]. Подсистемой технического обслуживания АМТС должны быть обеспечены два режима взаимодействия "человек-машина": - диалог; - монолог, или внедиалоговый вывод. 4.12.6.3 В режиме диалога должен обеспечиваться синтаксический и семантический контроль вводимой информации. Внедиалоговый вывод должен осуществляться в двух случаях: - вывод в неинтерактивном режиме ответа на принятую к исполнению команду; - спонтанный вывод, например, при возникновении аварийной ситуации. 4.12.6.4 Подсистема технического обслуживания АМТС должна обеспечивать реализацию следующих диалоговых процедур: - ввод информации - непосредственный и выбором элемента меню; - входной контроль полномочий и оказание помощи пользователю; - закрепление за выводом информации определенных терминальных устройств; - запись информации по технической эксплуатации в память управляющего устройства и на внешние носители; - обеспечение доступа к результатам испытаний и измерений; - установка и чтение календаря; - формирование «Черного списка» (Приложение К). 4.12.6.5 Защита от использования команд без права доступа должна осуществляться посредством применения паролей и системы полномочий. Необходимо предусмотреть несколько видов паролей, различающихся приоритетом и позволяющих вводить определенные виды команд. 4.13 Требования к организации служебной связи4.13.1 Организация служебной телефонной связи должна обеспечиваться на станции с помощью подсистемы служебной связи. 4.13.2 Абонентам, чьи абонентские устройства подключены к подсистеме служебной связи, должна обеспечиваться внутренняя телефонная связь между ними и автоматическая междугородная телефонная связь по сети ТФОП с абонентами служебных АТС других станций междугородной сети. 4.13.3 Нумерация телефонов должна быть трех-четырехзначная. 4.13.4 Должна обеспечиваться возможность запрета выхода на междугородную телефонную сеть отдельной группе абонентов (по решению администрации). 4.13.5 Телефонные аппараты абонентов, подключаемые к подсистеме служебной связи, должны быть оборудовавши декадным и многочастотным набором номера. 4.13.6 Должна обеспечиваться возможность предоставления услуг ДВО абонентам подсистемы служебной связи (по решению администрации). 4.13.7 Требования к функциям ЦСИС, являющимся дополнительными для служебной АТС в составе АМТС, приведены в Приложении П. 4.13.8 Должен осуществляться запрет на подключение телефониста к служебному разговору (местному, междугородному) 4.14 Требования к электропитанию4.14.1 Комплекс оборудования АМТС должен быть рассчитан на питание от источника опорного напряжения минус 60 В постоянного тока или минус 48 В постоянного тока - ЭНУ с заземленным положительным полюсом. Оборудование опорного источника минус 60 В или минус 48 В не входит в комплект поставки АМТС. Допускаемые отклонения напряжения от номинального значения минус 60 В могут составлять минус 48,0 - минус 72,0 В. Всплески напряжения опорного источника могут достигать минус 84 В при длительности до 5 мс. Допускаемые отклонения от номинального значения минус 48 В могут составлять минус 42,0- минус 54,0 В, 4.14.2 В качестве резервного источника опорного напряжения должна применяться аккумуляторная батарея или дизельный генератор, обеспечивающие бесперебойность питания при перерывах в электроснабжении и отключении вьпрямительных устройств. Длительность аккумуляторного резерва батареи должна определяться в соответствии с нормами технологического проектирования, минимальный запас емкости аккумуляторной батареи 1 час. 4.14.3 Оборудование АМТС должно быть рассчитано на нормальную работу при следующих условиях: - электрические шумы, создаваемые источником опорного напряжения на интерфейсе станции, - не выше 2 мВ псофометрических; - эффективные значения пульсаций в полосе частот до 300 Гц - не более 250 мВ, в полосе частот от 300 Гц до 20 кГц - не более 15 мВ; - подключение оборудования не должно вызывать увеличение максимального уровня шума свыше указанной нормы. 4.14.4 Оборудование АМТС должно выдерживать воздействие одиночного импульса напряжения прямоугольной формы с амплитудой +/- 20% от номинального значения опорного напряжения в течение 5 мс. 4.14.5 Токораспределительная сеть и устройства защиты входят в комплект поставки АМТС и должны сохранять работоспособность станции при локальных коротких замыканиях на стативах и рядах с оборудованием. 4.14.6 В случае использования схем ЭПУ с отделенной от нагрузки аккумуляторной батареей и возможностью получения двух независимых выходов ЭПУ (в нормальном режиме работы) максимальная устойчивость функционирования должна обеспечиваться при подключении питающих линий к различным независимым выходам ЭПУ. 4.14.7 Все номиналы напряжения постоянного тока (кроме опорного напряжения) должны получаться путем преобразования опорного напряжения. 4.14.8 Преобразователи первичного постоянного напряжения во вторичное (источники вторичного электропитания - ИВЭ) изготавливаются в виде съемных устройств, устанавливаемых в стативах оборудования АМТС и соединяемых с питаемой аппаратурой разъемами с врубными контактами. Отвод тепла от ИВЭ должен осуществляться без применения принудительной стативной вентиляции. 4.14.9 Вопросы резервирования преобразователей напряжения должны решаться комплексно во взаимосвязи с резервированием питаемого оборудования. При отключении любого из преобразователей работа АМТС не должна нарушаться, 4.14.10 Источники питания должны иметь защиту от коротких замыканий на выходе и автоматически восстанавливать рабочий режим при устранении короткого замыкания. 4.14.11 Источники питания должны вырабатывать сигнал неисправности при пропадании напряжения на выходе. 4.14.12 На АМТС должна быть реализована система аварийной сигнализации для контроля и регистрации неисправностей в электропитающих устройствах и случаев перехода на питание оборудования от аккумуляторной батареи. 4.14.13 В источниках питания должна быть предусмотрена полная гальваническая развязка входа и выхода. 4.14.14 В источниках питания должна быть исключена возможность появления на выходе напряжения обратной полярности и исключена возможность появления напряжения более высокого номинала. 4.14.15 Среднее расчетное время наработки на отказ источника питания (преобразователя) должно быть не менее 105 ч. Среднее время устранения неисправностей устройств электропитания станции не должно превышать 0,5 ч (допускается при этом замена отказавшего блока или узла исправным). 4.14.16 Защитное заземление или зануление оборудования (подключение к нейтрали трехфазной системы), при котором применяется напряжение 380 В, должно обеспечивать защиту людей от поражения электрическим током при прикосновении к металлическим нетоковедущим частям, которые могут оказаться под напряжением в результате повреждения изоляции. 4.14.17 Устройства машинной периферии станции (устройство ввода/вывода, внешние запоминающие устройства) должны обеспечиваться питанием - напряжением переменного тока от гарантированного станционного источника опорного напряжения (путем преобразования постоянного тока в переменный). 4.15 Требования к надежности и качеству соединения4.15.1 Качество соединения 4.15.1.1 АМТС должна обеспечивать включение каналов и линий со средней нагрузкой до 0,8 Эрл, при этом потери не должны превышать 0,01 в ЧНН. 4.15.1.2 При связи абонентов со справочными и заказными службами (например, международная связь с помощью телефониста) соединения могут обслуживаться с ограниченным ожиданием освобождения телефонистов или автоинформационных устройств. 4.15.1.3 Выдержки времени при непроизводительном занятии приборов должны соответствовать таблице А.13 приложения А. Должна быть обеспечена возможность изменения длительности выдержек. 4.15.1.4 Расчет объема оборудования станции должен осуществляться с учетом значений потерь, приведенных в таблице 4.13. Таблица 4.13 - Значения потерь
4.15.1.5 Коэффициент ошибок для одного соединения внутри станции на скорости 64 кбит/с не должен превышать 10 ехр-9 (Рекомендация МСЭ-Т Q.544) [14]. 4.15.1.6 Цифровые станции должны обеспечивать показатели качества обслуживания в соответствии с Рекомендацией МСЭ-Т Q.543 [11]. Основные расчетные показатели для коммутационного соединения на скорости 64 Кбит/с: - вероятность преждевременного освобождения установленного соединения вследствие нарушения нормальной работы станции в любом минутном интервале не должна превышать Р<=2×10 ехр-5; - вероятность невозможности требуемого освобождения вследствие нарушения нормальной работы станции не должна превышать Р<=2×10 ехр-5; - вероятность неправильной обработки вызова, вслед за приемом правильного кода станцией, не должна превышать Р<=10 ехр-4; - вероятность отсутствия передачи тонального сигнала вслед за поступлением на станцию действительного адреса не должна превышать Р<=10 ехр-4; - время задержки прохождения информационных сигналов одного соединения в обе стороны через станцию при коммутации цифровых каналов, включающее в себя время выравнивания циклов, приведено в таблице 4.14 и должно удовлетворять требованиям рекомендации МСЭ-TQ.551 [15]. Таблица 4.14 - Время задержки прохождения информационных сигналов одного соединения
4.15.1.8 Времена задержек при установлении и разъединении соединения на станции не должны превышать значений, приведенных в рекомендации Q.543 МСЭ-Т 4.15.2 Показатели надежности 4.15.2.1 Наработка оборудования станции на отказ не должна быть менее 10000 ч. Критерием отказа станции является прерывание всех соединений на 10 с и более, а также, невозможность установления соединений на станции в течение 10 с и более, или потеря более 50 % пропускной способности станции длительностью более 10 с из-за неисправностей станции. 4.15.2.2 Время восстановления работоспособности (время активного ремонта) станции при обнаружении отказа не должно быть более 15 мин для отказов любого типа (кроме перерывов электропитания). Время, необходимое для включения модуля в работу, не должно превышать 5 мин. 4.15.2.3 Среднее время восстановления оборудования не должно превышать 30 мин, в том числе, время обнаружения неисправности -15 мин. Среднее время прибытия техперсонала на станцию при централизованном техобслуживании - не более двух часов. 4.15.2.4 Предполагаемый срок службы станции не менее 20 лет. 4.15.2.5 Доля времени, когда имеет место полная неготовность станции в результате отказа оборудования, не должна превышать 0,4 ч в год (5.4, Рекомендация Е 550, МСЭ-Т) [16]. 4.15.2.6 Собственная средняя суммарная продолжительность неисправного состояния для отдельного линейного окончания станции не должна превышать 0,5 ч в год (4.9, Рекомендация Q.541, МСЭ-Т) [12]. 4.15.2.7 Рестарты оборудования станции должны производиться с сохранением статистической и тарификационной информации, полупостоянных соединений, и, по большей части, с сохранением установленных соединений. 4.15.2.8 Трудоемкость эксплуатации и техобслуживания при централизованной техэксплуатации не должна превышать 0,15 чел/ч на эквивалентную линию в год. Трудоемкость эксплуатации и техобслуживания при децентрализованной техэксплуатации станции не должна превышать 0,4 чел/ч на эквивалентную линию в год. 4.15.2.9 Коэффициент ошибок при проведении контрольных вызовов, зависящий от исправности оборудования и программного обеспечения, не должен превышать 10 ехр-4 с доверительной вероятностью 0,9. 4.15.2.10 Среднее количество отказов оборудования АМТС (проектная надежность) Nmax не должно превышать величину, определяемую формулой (2):
где Ко - коэффициент, определяемый с учетом всех неисправностей, независимых от емкости станции: Ко=1, при числе установленных каналов и линий больше 2000; Ко=1+log(2000/Q1), при числе установленных каналов и линий от 1 до 2000; Q1 - количество аналоговых каналов и линий (каналы, ЗСЛ, СЛМ); Q2 - количество цифровых каналов и линий. Примечание - Отказы оборудования, вызванные неординарными событиями, такими, как попадание высокого напряжения или молнии, не включены в вышеприведенную формулу. 4.15.2.12 Станция должна находиться в эксплуатации 24 часа в сутки. 4.16 Требования к излучаемым радиопомехам4.16.1 Предельно допустимые величины радиопомех, излучаемых оборудованием АМТС, должны соответствовать требованиям нормативных документов - Нормы 8-95 и Нормы 9-93. 4.16.2 Напряженность поля радиопомех 4.16.2.1 Квазипиковое значение напряженности поля радиопомех от оборудования АМТС, эксплуатируемого вне жилых домов, на расстоянии R от корпуса оборудования не должно превышать значений, приведенных в таблице 4.15. Таблица 4.15 - Квазипиковое значение напряженности поля радиопомех от оборудования, эксплуатируемого вне жилых домов
4.16.2.2 Квазипиковое значение напряженности поля радиопомех от оборудования АМТС, эксплуатируемого в жилых помещениях, на расстоянии R от корпуса оборудования не должно превышать значений, указанных в таблице 4.16. Таблица 4.16 - Квазипиковое значение напряженности поля радиопомех от оборудования, эксплуатируемого в жилых помещениях
4.16.3 Несимметричное напряжение радиопомех 4.16.3.1 Несимметричное напряжение радиопомех на зажимах для подключения к сети электропитания оборудования АМТС, эксплуатируемого вне жилых домов, не должно превышать значений, указанных в таблице 4.17. 4.16.3.2 Несимметричное напряжение радиопомех на зажимах для подключения к сети электропитания оборудования АМТС, эксплуатируемого в жилых домах, не должно превышать значений, указанных в таблице 4.18. Таблица 4.17- Несимметричное напряжение радиопомех на зажимах для подключения к сети электропитания оборудования, эксплуатируемого вне жилых домов
Таблица 4.18- Несимметричное напряжение радиопомех на зажимах для подключения к сети электропитания оборудования, эксплуатируемого в жилых домах
4.16.3.3 В полосе частот от 0,15 до 0,5 МГц допускаемые значения напряжения радиопомех Uc в децибелах относительно 1 мкВ вычисляют по формулам (3), (4):
4.16.3.4 Общее несимметричное напряжение радиопомех на проводах и линиях связи, выходящих за границу оборудования АМТС, не должно превышать значений, приведенных в таблице 4.19. Таблица 4.19 - Общее несимметричное напряжение радиопомех
4.16.3.5 В полосе частот от 0,15 до 0,5 МГц допускаемые значения напряжения радиопомех Uл в децибелах относительно 1 мкВ вычисляют по формулам (5), (6), (7), (8): - для линий, незаходящих в жилые дома
- для линий, заходящих в жилые дома
4.17 Требования к оборудованию кросса4.17.1 Оборудование кросса должно обеспечивать: - ввод в станцию линейных кабелей; - включение станционных кабелей; - соединение цепей линейных и станционных кабелей с помощью кроссировочных проводов; - подключение абонентских комплектов; - осуществление транзитных соединений выделенных цепей (прямых проводов); - подключение к любой линии приборов ручного и автоматического действия для проведения измерений, проверки исправности и прохождения связи. 4.17.2 Конструктивно кроссовое оборудование должно включать в себя: - металлические несущие конструкции; - оконечные устройства для переключения линейных и станционных кабелей и кроссировочных проводов с диаметром металлической жилы 0,4 и 0,5 мм; - элементы или модули электрической защиты оборудования от опасных напряжений и токов, возникающих на линии. Конструкция кросса должна обеспечивать возможность установки элементов (модулей) электрической защиты различного функционального назначения (по току, по напряжению, по току и по напряжению) как выборочно, для отдельных линий, так и на полную емкость кросса. 4.17.3 Оборудование кросса должно обеспечивать оперативное отключение или переключение линейных кабелей в случае неисправности на линии. 4.17.4 Конструкция кроссового оборудования и модулей защиты должна обеспечивать возможность осуществления периодического контроля за работоспособностью элементной базы модулей защиты вручную. 4.17.5 Емкость модуля кросса должна быть кратна емкости модуля наращивания станционной емкости. Максимальная емкость колодки линейной стороны кросса не должна превышать 128 пар. 4.17.6 Металлоконструкция оборудования кросса должна быть секционная с возможностью наращивания. Максимальная высота металлоконструкции кросса должна быть не более трех метров (без учета кабельроста). 4.17.7 На линейной и станционной стороне кросса к одному контакту рамки подключения должно обеспечиваться подключение не менее двух жил. Беспаечное подключение медных жил кабелей и кроссировочных проводов осуществляется накруткой или зажимом посредством инструмента, поставляемого с кроссовым оборудованием. 4.17.8 Кабели со стороны линии могут прокладываться либо через нижнюю, либо через верхнюю часть кросса. 4.17.9 Сопротивление изоляции между любыми токоведущими частями оборудования кросса (контакт-контакт), а также между токоведущими частями и корпусом (контакт-корпус) должно быть не менее: - 1000 Мом при нормальных климатических условиях; - 200 МОм при повышенной температуре; - 20 МОм при повышенной влажности. Допускается погрешность измерения сопротивления изоляции не более +/-10%. 4.17.10 Электрическая изоляция оборудования кросса (при изъятых разрядниках) при нормальных климатических условиях (контакт-контакт), а также между токоведущими частями и корпусом (контакт-корпус) должна выдерживать без пробоя и поверхностного перекрытия в течение 1 мин напряжение переменного тока частотой 50 Гц не менее 2000 В. Допустимая погрешность установки испытательного напряжения не более +/-10%. 4.17.11 Переходное затухание между любыми четырехполюсниками кросса на участке "вход - выход", включая кроссировки, должно быть не менее: - 100 дБ в диапазоне 0,3 - 3,4 кГц; - 95 дБ до 192 кГц. 4.17.12 В состав оборудования кросса должны входить рабочие, разделительные, маркировочные и предохранительные штеккеры, определенное количество двухпроводных шнуров, а также комплект монтажных инструментов и приспособлений. 4.17.13 Сопротивление постоянному току контакта между болтом защитного заземления и любой точкой металлоконструкции кросса должно быть не более 0,1 Ом. Допускаемая погрешность не более +/- 10%. 4.17.14 Все металлические части кросса должны быть заземлены. Все колодки для подключения кабелей со стороны линии должны быть соединены с заземляющим кабелем. Схема заземлений внутри оборудования кросса должна исключать образование петель (замкнутых контуров). Внутри кросса предпочтительна система заземления по схеме "елочка". 4.17.15 Все изолирующие части несущих конструкций кросса должны быть сделаны из огнестойкой пластмассы. 4.17.16 Для обеспечения требований безопасности все токоведущие элементы, сообщающиеся с линейными цепями, должны исключать возможность прикосновения к ним технического персонала. 4.17.7 Производственная площадь, занимаемая оборудованием кросса (без учета проходов) из расчета на 10 000 двухпроводных линий не должна превышать 3 м2. Удельная нагрузка на перекрытия, оказываемая оборудованием кросса с учетом его полного заполнения, включая кабели и кроссировки, не должна превышать 750 кг/м2. 4.18 Требования по устойчивости к электрическим и магнитным воздействиям4.18.1 Электрические и магнитные воздействия по специфичности действия на оборудование АМТС можно разделить на следующие группы: - воздействие перенапряжений и избыточных токов; - электростатическое воздействие; - воздействие внешних электромагнитных излучений. Оборудование АМТС по устойчивости относится к группе 1.1, для которой существуют предельно допустимые значения по воздействию: - электромагнитных импульсов и ионизирующих излучений (ГОСТ 29037-91); - электромагнитных помех (ГОСТ 29037-91); - электростатических разрядов (ГОСТ 29191-91), - радиочастотных электромагнитных полей в полосе 26-1000 МГц (ГОСТ Р 50008-92); - наносекундных импульсных помех (ГОСТ 29156-91). 4.18.2 Предельно допустимые значения соответствуют нормам стандартов Международной электротехнической комиссии. В случае несовпадения норм отечественных и зарубежных документов в требования на устойчивость закладываются более жесткие нормы. 4.18.3 Требования по устойчивости к воздействию перенапряжений и избыточных токов 4.18.3.1 Оборудование АМТС должно быть построено таким образом, чтобы его схемотехнические решения, конструкция и элементная база обеспечивали устойчивость к внешним электрическим воздействиям по проводам линий и каналов, вызываемым грозовыми атмосферными явлениями, влиянием высоковольтных линий передачи, влиянием и непосредственным электрическим контактом с проводами низковольтной сети электропитания. 4.18.3.2 Оборудование АМТС без дополнительных средств защиты должно выдерживать импульсные перенапряжения амплитудой до 1000 В, а при установленных дополнительных средствах защиты до 4000 В. 4.18.3.3 Оборудование должно выдерживать воздействия напряжения амплитудой 300 В эфф., длительностью 200 мс и частотой заполнения 50 Гц. 4.18.3.4 Оборудование должно выдерживать воздействия напряжения амплитудой 220 В эфф., частотой 50 Гц в течение 15 мин. 4.18.3.5 Требования по устойчивости оборудования к внешним электрическим воздействиям и критерии приемки должны соответствовать параметрам Рекомендации МСЭ-Т К.20 [18]. 4.18.4 Критерии приемки Критериями приемки являются: - критерий А. Оборудование должно выдерживать воздействия перенапряжений без повреждений и нормально работать после испытания. В процессе испытания, непосредственно в момент воздействия опасного напряжения или тока, допускается сбой в нормальной работе (сбой в программе или срабатывание предохранителей и других защитных устройств, которые должны быть заменены или восстановлены перед восстановлением дальнейшей работы оборудования); - критерий В. В процессе испытаний не должна возникать опасность пожара. Любое возникшее повреждение или отказ должны быть ограничены минимальным числом комплектов линейных окончаний. 4.18.5 Воздействие электростатического разряда 4.18.5.1 В окружающей АМТС среде могут находиться заряды статического электричества, которые при соприкосновении со станционным оборудованием вызывают импульс тока в оборудовании. Материалы, применяемые на станции и влажность в помещении должны быть заданы с учетом того, что заряды могут достигать величины до 8 кВ. 4.18.5.2 Оборудование АМТС должно выдерживать воздействие электростатического разряда напряжением до 8 кВ. При этом не должен быть нарушен критерий В. 4.18.6 Воздействие наносекундных кондуктивных помех 4.18.6.1 Оборудование АМТС должно быть устойчиво к воздействию наносекундных импульсных кондуктивных помех (выброс перенапряжения) со временем нарастания 5 не и длительностью импульса 50 не по цепям интерфейсов и цепям питания постоянного тока. Уровни воздействия и критерии приемки приведены в таблице 4.20. Таблица 4.20 - Уровни воздействия и критерии приемки
4.18.6.2 Оборудование АМТС должно быть устойчиво к кратковременным переходным напряжениям, которые могут возникать в цепях питания постоянного тока и максимальные значения которых не превышают 250 В. 4.18.7 Воздействие электромагнитного поля 4.18.7.1 Поля радиочастот большой напряженности могут быть вызваны находящимися поблизости от АМТС радиотелефонами, радиовещательными и военными передатчиками, промышленными и медицинскими источниками мощности. Оборудование АМТС должно быть устойчиво к воздействию излученных радиочастотных электромагнитных помех в диапазоне 150 кГц-1000 МГц, параметры которых приведены в таблице 4.21. Таблица 4.21 - Параметры электрической и магнитной составляющих, излученных радиочастотных электромагнитных помех
4.18.7.2 Магнитные поля могут возникать под влиянием силовых проводов, трансформаторов, выпрямителей. В диапазоне частот 50 Гц-150 кГц оборудование должно выполнять требования критерия приемки А при напряженности ниже 30 А/м. В соответствии с критерием В оборудование должно соответствовать требованиям, приведенным в таблице 4.22. Таблица 4.22 - Требования устойчивости оборудования к магнитному полю
4.19 Требования по устойчивости оборудования к внешним климатическим и механическим воздействиям 4.19.1 Дестабилизирующие внешние неэлектрические воздействия по специфичности действия на оборудование АМТС можно разделить на следующие группы: - климатические воздействия (температура, атмосферное давление, влажность, ветер, солнечная радиация); - механические воздействия. 4.19.2 Оборудование АМТС по устойчивости относится к группе 1.1, для которой предельно допустимые значения внешних дестабилизирующих климатических и механических воздействий приведены в ГОСТ 25012. 4.19.3 Нормы международных стандартов совпадают с нормами ГОСТ 25012 в части: - ударопрочности при транспортировке (величины амплитуды удара); - предельно допустимой высокой температуры при транспортировке; - предельно допустимой высокой влажности при эксплуатации. В случае несовпадения норм отечественных и зарубежных документов в требования на устойчивость оборудования АМТС заложены более жесткие нормы. 4.19.4 Требования к устойчивости оборудования АМТС при хранении 4.19.4.1 Оборудование АМТС может храниться в течение длительного времени в месте, частично защищенном от атмосферных влияний. В течение этого времени оборудование не используется для эксплуатации. 4.19.4.2 Оборудование и ЗИП АМТС при хранении должно выдерживать климатические воздействия, предельно допустимые значения которых приведены в таблице 4.23. 4.19.4.3 В течение хранения должны исключаться конденсация и ледяные образования для устройств и запасных частей оборудования, упакованного производителем. 4.19.4.4 Оборудование АМТС, упакованное производителем, во время хранения должно выдерживать приведенные в таблице 4.24 механические воздействия. Таблица 4.23 - Значения климатических воздействий при хранении
Таблица 4.24 - Значения механических воздействий при хранении
4.19.5 Требования к устойчивости оборудования АМТС при транспортировке 4.19.5.1 Параметры климатических условий, которые должно выдерживать оборудование станции при транспортировке, приведены в таблице 4,25. 4.19.5.2 Указанные климатические условия могут воздействовать на внешнюю поверхность транспортных упаковок оборудования. Таблица 4.25 - Параметры климатических условий при транспортировке
4.19.5.3 Оборудование АМТС, упакованное производителем, должно выдерживать приведенные в таблице 4.26 механические воздействия во время транспортировки. Таблица 4.26 - Параметры механических воздействий во время транспортировки
4.19.6 Требования к устойчивости оборудования АМТС при эксплуатации Оборудование АМТС, установленное для постоянной эксплуатации в отапливаемых помещениях, защищенных от воздействия осадков, ветра и солнечного света, должно выдерживать без нарушения функционирования климатические и механические воздействия, приведенные в таблицах 4.27 и 4.28. Таблица 4.27 - Допустимые значения климатических условий при эксплуатации
Таблица 4.28 - Параметры механических воздействий для оборудования станции при эксплуатации
4.20 Требования по электробезопасности и охране труда4.20.1 Конструкция АМТС должна быть выполнена таким образом, чтобы защитить технический персонал станции от воздействий электрического тока и электрической искры. Требования к конструкции оборудования АМТС приведены в приложении П. 4.20.2 Конструкция АМТС должна исключать возможность попадания электрического напряжения на корпусные металлические части, ручки и рукоятки органов управления. Корпуса стативов должны быть заземлены. Защита технического персонала АМТС от поражения электрическим током должна осуществляться в соответствии с ГОСТ 12.2.007.0. Цепи электропитания должны быть снабжены соответствующими предохранителями. 4.20.3 Защитное заземление должно обеспечивать защиту обслуживающего персонала от поражения электрическим током при прикосновении к металлическим частям, которые могут оказаться под напряжением в результате повреждения изоляции. Защитное заземление должно представлять собой электрическое соединение металлических частей АМТС с "землей" (заземляющим устройством). Болт (клемма) для заземления должен быть размещен на стативе в безопасном и удобном для подключения заземляющего проводника месте. Возле болта должен быть помещен знак заземления. 4.20.4 Величина переходного сопротивления между заземляющим болтом и каждой доступной для прикосновения металлической частью оборудования АМТС, которая может оказаться под напряжением, не должна превышать 0,1 Ом. Погрешность измерения не должна превышать +/- 10% в соответствии с ГОСТ 12.1.030 и ГОСТ 21130. 4.20.5 Опасное напряжение на поверхностях, соединениях, частях и отверстиях аппаратуры, доступных прикосновению, не должно превышать значений, приведенных в ГОСТ 12.2.007.0. 4.20.6 Штепсельные розетки должны быть снабжены специальным контактом для присоединения заземляющего проводника, используемого только для заземления. Соединение между заземляющими контактами штепселя и розетки должно устанавливаться до того, как войдут в соприкосновение токоведущие контакты; порядок отключения штепселя из розетки должен быть обратным соединению. Заземленный контакт штепсельной розетки должен быть электрически соединен с ее корпусом, если этот корпус выполнен из металла. Каждый заземленный элемент оборудования АМТС должен быть присоединен к заземлению или к заземляющей магистрали посредством отдельного ответвления. Последовательное включение в заземляющий проводник нескольких заземляемых частей станции запрещается. 4.20.7 Наличие или возможность электрической опасности должны быть обозначены сигнальными цветами и обеспечены знаками безопасности. Знаки безопасности должны находиться в поле зрения людей, для которых они предназначены. Знаки безопасности должны быть расположены с таким расчетом, чтобы они были хорошо видны, не отвлекали внимания работающих и сами по себе не представляли опасности. Маркировка знаков, относящихся к технике безопасности, должна выполняться в соответствии с ГОСТ 12.2.007.0 и ГОСТ 12.4.026. 4.20.8 Уровень акустических шумов на рабочих местах технического персонала станции не должен превышать 65 дБ (в соответствии с ГОСТ 12.1.003). 4.20.9 Масса съемных элементов станции не должна превышать 15 кг. 4.20.10 Величина сопротивления изоляции в нормальных климатических условиях должна быть не менее 20 МОм в соответствии с ГОСТ 12.2.007.0. (При температуре окружающего воздуха 23°С, атмосферном давлении 750 мм рт.ст., относительной влажности 55%). 4.20.11 Покупные изделия, поставляемые Поставщиком в составе станции, должны иметь сертификаты безопасности и инструкции по безопасной эксплуатации данных изделий. 4.21 Требования к аппаратно-программным средствам, реализующим функции коммутации услуг интеллектуальной сети и интеллектуальной периферииПри наличии в АМТС аппаратно-программных средств, реализующих функции коммутации услуг интеллектуальной сети и интеллектуальной периферии, требования к ним изложены в Приложении С. 4.22 Требования к содержанию документацииСистема документации для АМТС должна включать следующие документы на русском языке: - общие технические документы: 1) Описание системы документации; 2) Общее описание АМТС; 3) Технические условия на АМТС данного типа; 4) Словарь сокращений, применяемых в документации; 5) Ведомость ЗИП для оборудования АМТС и перечень расходных материалов; 6) Сертификаты качества (соответствия) для оборудования, являющегося частью АМТС, но производимого другими фирмами (оборудование кросса, элекгропитающая установка и др.); -инструкции: 1) Инструкции по монтажу и установке оборудования; 2) Инструкции по эксплуатации АМТС; 3) Инструкции по техническому обслуживанию оборудования АМТС; 4) Справочник по аварийной сигнализации; 5) Справочник директив (команд) и сообщений; 6) Инструкция по действиям технического персонала АМТС при внештатных ситуациях и документы по перезапуску системы прикладных программ; - описание функционирования системы коммутации: 1) Описание подсистем АМТС; 2) Описание функциональных программ. Другая документация по АМТС должна поставляться либо на русском, либо на английском языке. 4.23 Требования по обеспечению оперативно-розыскных работТехнические требования по обеспечению оперативно-розыскных работ приведены в следующих документах: - «Технические требования к системе технических средств по обеспечению функций оперативно-розыскных мероприятий на электронных АТС» (приложение N4 к приказу Госкомсвязи России N70 от 20.04.99г.); - «Технические требования к каналам обмена информацией между системой технических средств по обеспечению функций оперативно-розыскных мероприятий и пунктом управления (приложение N5 к приказу Госкомсвязи России N 70 от 20.04.99г.). Приложение А (обязательное)
|
|||||||||||||||||||||||||||||||||||||||||||||||||||||||||||||||||||||||||||||||||||||||||||||||||||||||||||||||||||||||||||||||||||||||||||||||||||||||||||||||||||||||||||||||||||||||||||||||||||||||||||||||||||||||||||||||||||||||||||||||||||||||||||||||||||||||||||||||||||||||||||||||||||||||||||||||||||||||||||||||||||||||||||||||||||||||||||||||||||||||||||||||||||||||||||||||||||||||||||||||||||||||||||||||||||||||||||||||||||||||||||||||||||||||||||||||||||||||||||||||||||||||||||||||||||||||||||||||||||||||||||||||||||||||||||||||||||||||||||||||||||||||||||||||||||||||||||||||||||||||||||||||||||||||||||||||||||||||||||||||||||||||||||||||||||||||||||||||||||||||||||||||||||||||||||||||||||||||||||||||||||||||||||||||||||||||||||||||||||||||||||||||||||||||||||||||||||||||||||||||||||||||||||||||||||||||||||||||||||||||||||||||||||||||||||||||||||||||||||||||||||||||||||||||||||||||||||||||||||||||||||||||||||||||||||||||||||||||||||||||||||||||||||||||||||||||||||||||||||||||
|
Сигнал |
По каналам Междугородной сети |
По линиям внутризоновых сетей |
|
|
По СЛМ |
По ЗСЛ |
||
|
В прямом направлении |
|||
|
Занятие |
+ |
+ |
+ |
|
Автоматический вызов |
- |
+ |
- |
|
Повторный вызов |
+ |
+ |
- |
|
Разъединение |
+ |
+ |
+ |
|
Отбой вызывающего абонента |
- |
- |
+ |
|
В обратном направлении |
|||
|
Запрос АОН |
- |
- |
+ |
|
Снятие запроса АОН |
- |
- |
+ |
|
Абонент свободен |
+ |
+ |
- |
|
Ответ |
+ |
+ |
+ |
|
Отбой |
+ |
+ |
+ |
|
Занято |
+ |
+ |
+ |
|
Освобождение (подтверждение разъединен, в коде 2600 Гц) |
+ |
+ |
+ |
|
Блокировка |
+ |
+ |
+ |
|
Контроль исходного состояния |
+ |
+ |
+ |
|
Примечания 1 Сигнал ЗАПРОС АОН и СНЯТИЕ ЗАПРОСА АОН могут передаваться многократно (по ЗСЛ до 3 раз от АМТС). 2 Сигнал ОТБОЙ ВЫЗЫВАЮЩЕГО АБОНЕНТА передается при двусторонней системе отбоя. 3 Автоматический вызов не передается по одночастотным СЛМ. 4 Перед сигналом ОТВЕТ по СЛМ должен передаваться сигнал АБОНЕНТ СВОБОДЕН или ОТБОЙ. 5 Сигнал «Занято» по ЗСЛ не является обязательным. |
|||
|
№ |
Линейный сигнал |
Направление передачи |
Время распознавания, мс |
Примечание |
|||
|
Прямое |
Обратное |
||||||
|
1СК |
2СК |
1СК |
2СК |
||||
|
1. |
Контроль исходного состояния |
1 |
1 |
1/0 |
1 |
20-30 |
|
|
2. |
Занятие 1 этап |
1 |
1/0 |
0 |
1 |
20-30 |
Сигнал подтверждения занятия передается приблизительно через 20 мс после занятия |
|
|
2 этап (подтверждение) |
1 |
0 |
0/1 |
1 |
20-30 |
|
|
3. |
Абонент свободен, отбой вызванного абонента |
1 |
0 |
1 |
1/0 |
150-200 |
|
|
4. |
Вызов (повторный) |
1/0 |
0 |
1 |
0 |
150-200 |
|
|
5. |
Ответ |
X |
0 |
1 |
0/1 |
20-30 |
Сигнал ОТВЕТ принимается как во время посылки вызова, так и в интервале |
|
6. |
Абонентская линия или соединительные пути заняты |
1 |
0 |
1/0 |
1/0 |
150-200 |
Разновременность передачи по сигнальным каналам не более 4мс |
|
7. |
Разъединение на любом этапе соединения |
1 |
0/1 |
X |
X |
150-200 |
|
|
8. |
Блокировка |
1 |
1 |
0/1 |
1 |
20-30 |
|
|
Примечания 1) 0 - активное состояние канала, 2) 1 - пассивное состояние канала, 3) X - любое состояние канала. |
|||||||
|
Сигналы |
Конструкция сигналов |
Длительность, мс |
Время распознавания мс |
Примечание |
|
В ПРЯМОМ НАПРАВЛЕНИИ |
||||
|
Занятие |
Один импульс |
200±5 |
1100-150 |
|
|
Повторный вызов |
Серия импульсов |
|
100-150 |
(120 - 180) мс - время распознавания наличия следующего импульса в серии импульсов. |
|
Импульс |
200±5 |
|
||
|
Пауза |
100±5 |
20-30 120-180 |
||
|
Разъединение |
Непрерывный сигнал до получения сигнала освобождения, но не менее 550-850 мс |
- |
280-420 |
|
|
В ОБРАТНОМ НАПРАВЛЕНИИ |
||||
|
Абонент свободен и ответ |
Один Импульс или непрерывный сигнал до ответа |
Не менее 195 |
100-150 |
Окончание сигнала "Абонент свободен" соответствует сигналу Ответ. |
|
Отбой |
Серия импульсов |
|
100-150 |
|
|
Импульс |
200±5 |
|
|
|
|
Пауза |
100±5 |
20-30 120-180 |
|
|
|
Повторный ответ |
Прекращение сигнала ОТБОЙ |
- |
- |
|
|
Занято |
Два импульса |
|
100-150 |
Сигнал "занято" одной конструкции для всех видов занятости |
|
Импульс |
200±5 |
|
||
|
Пауза |
100±5 |
20-30 120-180 |
||
|
Освобождение |
Непрерывный сигнал до окончания сигнала "Разъединение |
- |
100-150 |
Распознается после выдачи сигнала "Разъединение" длительностью 550-850мс и более |
|
Блокировка |
Постоянная передача частоты до конца блокировки |
- |
100-150 |
Передача производится со снижением уровня на 3 дБ. |
|
Примечание 1 Если в течение выдержки времени 20-40 с после начала передачи сигнала РАЗЪЕДИНЕНИЕ не будет принят сигнал ОСВОБОЖДЕНИЕ, то передачу непрерывного сигнала РАЗЪЕДИНЕНИЕ следует прекратить и передавать сигнал РАЗЪЕДИНЕНИЕ импульсами длительностью 1000 мс с интервалами 5 мин, до получения сигнала ОСВОБОЖДЕНИЕ. 2 Один импульс сигнала "Абонент свободен - Ответ" длительностью 200+/-5 мс поступает с международной сети после ответа абонента, в других случаях сигнал "Абонент свободен" поступает в виде непрерывного импульса до ответа абонента, не менее 195 мс. |
||||
|
№ |
Линейный сигнал |
Направление передачи |
Время распознавания, мс |
Примечание |
|||
|
Прямое |
обратное. |
||||||
|
1СК |
2СК |
1СК |
2СК |
||||
|
1 |
2 |
3 |
4 |
5 |
6 |
7 |
8 |
|
1. |
Контроль исходного состояния |
1 |
1 |
1/0 |
1 |
20-30 |
|
|
2. |
Занятие 1 этап |
1 |
1/0 |
0 |
1 |
20-30 |
Время распознавания 1 этапа включает подготовку к приему декадного набора номера |
|
2 этап (подтверждение) |
1 |
0 |
0/1 |
1 |
20-30 |
2 этап - сразу после распознавания 1-го этапа |
|
|
3. |
Номер вызываемого абонента (декадный код) |
1/0/1 |
0 |
1 |
1 |
20-30 или 10-20 для импульса и интервала (но исходным данным); 150-200 -для определения окончания серии |
|
|
4. |
Ответ (запрос АОН) |
1 |
0 |
1 |
1/0 |
20-30 |
|
|
5, |
Снятие запроса АОН |
1 |
0 |
1 |
0/1 |
20-30 |
|
|
6. |
Отбой вызываемого абонента |
X |
0 |
1/0 |
0 |
150-200 |
|
|
7. |
Отбой вызывающего абонента после ответа |
1/0 |
0 |
1 |
0 |
150-200 |
Используется в сетях с двух сторонней системой отбоя |
|
8. |
Абонентская линия или соединительные пути заняты |
1 |
0 |
1/0 |
1/0 |
150-200 |
Разновременность передачи по сигнальным каналам не более 4мс |
|
9. |
Разъединение на любом этапе соединения |
1 |
0/1 |
X |
X |
150-200 |
|
|
10. |
Блокировка |
1 |
1 |
0/1 |
1 |
20-30 |
|
|
Примечание 1 0 - активное состояние канала. 2 1 - пассивное состояние канала. 3 X - любое состояние канала. |
|||||||
|
№ |
Линейный сигнал |
Направление передачи |
Время распознавания, мс |
Примечание |
|||
|
Прямое |
обратное. |
||||||
|
1СК |
2СК |
1СК |
2СК |
||||
|
1. |
Контроль исходного состояния |
1 |
1 |
1/0 |
1 |
20-30 |
|
|
2. |
Занятие 1 этап |
1 |
1/0 |
0 |
1 |
20-30 |
Время распознавания 1-го этапа включает подготовку к приему декадного набора номера |
|
2 этап (подтверждение) |
1 |
0 |
0/1 |
1 |
20-30 |
2 этап - сразу после распознавания 1-го этапа |
|
|
3. |
Номер вызываемого абонента (декадный код) |
1/0/1 |
0 |
1 |
1 |
20-30 или10-20 для импульса и интервала (по исходным данным); 150-200 для определения окончания серии |
|
|
4. |
Абонент свободен, отбой вызванного абонента |
1 |
0 |
1 |
1/0 |
150-200 |
|
|
5. |
Вызов (автоматический и повторный) |
1/0 |
0 |
1 |
0 |
150-200 |
|
|
6. |
Ответ |
X |
0 |
1 |
0/1 |
150-200 |
Сигнал ОТВЕТ принимается как во время посылки вызова, так и в интервале |
|
7. |
Занятость абонентской линии или соединительных путей |
1 |
0 |
1/0 |
1/0 |
150-200 |
Разновременность передачи по сигнал, каналам не более 4мс |
|
8. |
Разъединение на любом этапе соединения |
1 |
0/1 |
X |
X |
150-200 |
|
|
9. |
Блокировка |
1 |
1 |
0/1 |
1 |
20-30 |
|
|
Примечание 1 0 - активное состояние канала. 2 1 - пассивное состояние канала. 3 X - любое состояние канала. |
|||||||
|
Сигнал |
Конструкция сигнала |
Длительность сигнала, мс |
Время распознавания, мс |
|
Прямое направление |
|||
|
Занятие |
Один импульс |
200±5 |
100-150 |
|
Разъединение |
Непрерывный сигнал до поступления сигнала освобождения, но не менее 550-850мс |
- |
280-420 |
|
Обратное направление |
|||
|
Абонент свободен |
Зуммер "Контроль посылки вызова" -КПВ |
|
|
|
Ответ |
Один импульс |
200±5 |
100-150 |
|
Отбой |
Серия импульсов |
|
|
|
Импульс |
200±5 |
100-150 |
|
|
Пауза |
100±5 |
20-30* 120-180 |
|
|
Занято |
Зуммер "Занято" |
|
|
|
Освобождение |
Непрерывный сигнал до прекращения сигнала разъединения |
|
100-150 |
|
Блокировка |
Непрерывный сигнал до конца блокировки |
|
100-150 |
|
* Время распознавания наличия следующего импульса в серии импульсов Примечание - Если в течение выдержки времени 20-40 с после начала передачи сигнала "Разъединение" не будет принят сигнал "Освобождение", то передачу непрерывного сигнала "Разъединение" следует прекратить и передавать сигнал "Разъединение" импульсами длительностью 1000 мс с интервалом 5 минут до получения сигнала "Освобождение". |
|||
|
Сигнал |
Конструкция сигнала |
Длительность передачи сигнала, мс |
Время распознавания, мс |
|
1 |
2 |
3 |
4 |
|
Прямое направление |
|||
|
Занятие |
Один импульс |
200±5 |
100-150 |
|
Набор номера (декадный код) |
Серия импульсов |
|
|
|
|
Импульс 40-46 |
16-28 |
|
|
|
Пауза 31-103 (приV=7-13 имп/с) |
16-28 |
|
|
Разъединение |
Непрерывный сигнал до поступления сигнала освобождение, но не менее 550-850мс |
- |
280-420 |
|
Обратное направление |
|||
|
Запрос АОН, ответ |
Один импульс |
200±5 |
100-150 |
|
Снятие запроса АОН |
Два импульса |
Импульс 200±5 |
100-150 |
|
|
Пауза 100±5 |
20-30* 120-180 |
|
|
Занято |
Зуммер "Занято" |
|
|
|
Абонент свободен |
Зуммер "Контроль посылки вызова"-КПВ |
|
|
|
Отбой |
Серия импульсов |
Импульс 200±5 |
100-150 |
|
|
Пауза 100±5 |
20-30* 120-180 |
|
|
Освобождение |
Непрерывный сигнал до прекращения сигнала разъединения |
- |
100-150 |
|
Блокировка |
Непрерывный сигнал до конца блокировки |
- |
100-150 |
|
* Время распознавания наличия следующего импульса в серии импульсов. Примечания 1 Если в течение выдержки времени 20-40 с после начала передачи сигнала РАЗЪЕДИНЕНИЕ не будет принят сигнал ОСВОБОЖДЕНИЕ, то передачу непрерывного сигнала РАЗЪЕДИНЕНИЕ следует прекратить и передавать сигнал РАЗЪЕДИНЕНИЕ импульсами длительностью 1000 мс с интервалами 5 мин. До получения сигнала ОСВОБОЖДЕНИЕ. 2 Время распознавания межсерийного интервала не более 400 мс. 3 Длительность интервалов в декадной серии определяется скоростью принимаемых от АТС импульсов набора. |
|||
|
Сигнал |
Конструкция сигнала |
Длительность передачи сигнала, мс |
Время распознавания, мс |
|
ПРЯМОЕ НАПРАВЛЕНИЕ |
|||
|
Занятие |
Один импульс |
200±5 |
100-150 |
|
Набор номера (декадный код) |
Серия импульсов |
Импульс 50±3 |
20-30 |
|
|
Пауза 50±3 |
20-30 |
|
|
Повторный вызов |
Серия импульсов |
Импульс 200±5 |
100-150 |
|
|
|
Пауза 100±5 |
20-30* 120-180 |
|
Разъединение |
Непрерывный сигнал до поступления сигнала освобождения, но не менее 550-850мс |
- |
280-420 |
|
ОБРАТНОЕ НАПРАВЛЕНИЕ |
|||
|
Абонент свободен |
Непрерывный сигнал до ответа |
не менее 195 |
100-150 |
|
Ответ |
Прекращение сигнала "абонент свободен" |
- |
- |
|
Отбой |
Серия импульсов |
Импульс 200±5 |
100-150 |
|
|
Пауза 100±5 |
20-30* 120-180 |
|
|
Повторный ответ |
Прекращение сигнала "отбой" |
- |
- |
|
Занято |
Два импульса |
Импульс 200±5 |
100-150 |
|
|
Пауза 100±5 |
20-30* 120-180 |
|
|
Освобождение |
Непрерывный сигнал до прекращения сигнала разъединения |
- |
100-150 |
|
Блокировка |
Непрерывный сигнал до конца блокировки |
- |
100-150 |
|
* Время распознавания наличия следующего импульса в серии импульсов Примечания 1 Если в течение выдержки времени 20-40 с после начала передачи сигнала РАЗЪЕДИНЕНИЕ не будет принят сигнал ОСВОБОЖДЕНИЕ, то передачу непрерывного сигнала РАЗЪЕДИНЕНИЕ следует прекратить и передавать сигнал РАЗЪЕДИНЕНИЕ импульсами длительностью 1000 мс с интервалами 5 мин. до получения сигнала ОСВОБОЖДЕНИЕ. 2 Время распознавания межсерийного интервала не более 400 с. |
|||
|
Сигналы управления |
АМТС(УАК) КЭ,Э-АМТС(УАК) КЭ,Э |
АМТС(УАК)КЭ,Э-АМТС АРМ |
АМТС(УАК) КЭ,Э-МЦК Э |
|
1 |
2 |
3 |
4 |
|
А.
ПРЯМОЕ НАПРАВЛЕНИЕ |
|
|
|
|
1. Категория вызова(один знак) Кв: |
|
|
|
|
а)
автоматический вызов I категории |
+ |
— |
— |
|
б)
полуавтоматический вызов I категории |
+ |
— |
— |
|
в)
автоматический вызов II категории |
+ |
— |
— |
|
г)
полуавтоматический вызов II категории |
+ |
— |
— |
|
д)
автоматический вызов III категории |
+ |
+ |
+ |
|
е)
полуавтоматический вызов III категории |
+ |
+ |
+ |
|
ж)
автоматический вызов IV категории |
+ |
+ |
+ |
|
з)
полуавтоматический вызов IV категории |
+ |
+ |
+ |
|
2.
Сигналы включения эхозаградителей(ЭЗ) |
|
|
|
|
а)
передача данных, ЭЗ не включается |
+ |
— |
+ |
|
б)
телефонное сообщение, ЭЗ включить на исходящем и входящем концах |
+ |
— |
+ |
|
в)
телефонное сообщение, ЭЗ включить на входящем конце |
+ |
— |
+ |
|
г)
телефонное сообщение, ЭЗ не включать 8) |
+ |
— |
+ |
|
д)
телефонное сообщение, спутниковая связь включена |
+ |
— |
+ |
|
3.
Номер вызываемого абонента Б |
|
|
|
|
Номер абонента Б |
+ |
+ |
+ |
|
4.
Конец набора |
|
|
|
|
Сигнал"окончание
набора" |
+ |
+ |
+ |
|
Б. ОБРАТНОЕ НАПРАВЛЕНИЕ |
|
|
|
|
1.
До передачи информации в прямом направлении (один знак): "Запрос
информации" |
+ |
+ |
+ |
|
2.
После приема информации из предыдущей станции |
|
|
|
|
а)
номер принят правильно |
+ |
+ |
+ |
|
б)
номер принят неправильно |
+ |
+ |
+ |
|
Примечание - В случае (-) в таблице относительно сигналов эхозаградителя, сигнал ЭЗ не передается и не принимается. |
|||
|
Сигнал |
Номер частотной комбинации |
|
ПРЯМОЕ НАПРАВЛЕНИЕ |
|
|
1. Междугородный, международный или зоновый номер вызываемого абонента или номер службы АМТС |
0-9 |
|
2. Категория вызывающего абонента |
1-9 |
|
3. Зоновый номер вызывающего абонента |
0-9 |
|
4. Конец набора |
11 |
|
ОБРАТНОЕ НАПРАВЛЕНИЕ |
|
|
1. Запрос передачи информации |
2 |
|
2. Номер принят неправильно (повтор информации, принятой с искажением) |
6 |
|
3. Номер принят правильно |
11 |
|
4. Отсутствие частотной информации, повторить соединение (необязательный сигнал) |
15 |
|
Примечание - Передача информации "импульсным пакетом" должна иметь следующую последовательность Nб, Ka, Na, Kн. |
|
|
Сигнал |
Номер частотной комбинации |
|
ПРЯМОЕ НАПРАВЛЕНИЕ |
|
|
1. Категория вызывающего абонента |
1-9 |
|
2. Зоновый номер вызывающего абонента |
0-9 |
|
3. Служебные сигналы |
|
|
начало передачи |
13 |
|
повторение знака |
14 |
|
ОБРАТНОЕ НАПРАВЛЕНИЕ |
|
|
Линейный сигнал "Запрос АОН" в сочетании с одночастотным сигналом 500 Гц или без него |
— |
|
Примечание - Междугородный или зоновый номер вызываемого абонента передается декадным кодом |
|
|
Участок |
№ комбинац. |
Состав сигналов |
|
1 |
2 |
3 |
|
АМТС, АМТС/АТС АТСК, АТСЭ(КЭ) |
А. |
В прямом направлении |
|
1—0 |
Номер вызываемого абонента |
|
|
12 |
Подтверждение о получении обратных сигналов: 4, 5, 8,9,10 |
|
|
13 |
Запрос повторения сигнала, принятого с искажением |
|
|
11* |
Вызов автоматический приоритетный (III категория) |
|
|
14* |
Вызов автоматический без приоритета (IV категория) |
|
|
|
15* |
Вызов полуавтоматический |
|
|
Б. |
В обратном направлении |
|
|
1 |
Передать первую цифру частотным способом |
|
|
2 |
Передать следующую цифру частотным способом |
|
|
3 |
Повторить ранее переданную цифру частотным способом |
|
4** |
Окончание установления соединения |
|
|
5*** |
Абонент занят, недоступен |
|
|
6 |
Повторить информацию, принятую с искажением |
|
|
7 |
Отсутствие свободных соединительных путей |
|
|
8 |
Передать номер вызываемого абонента декадным способом, начиная с 1-ой цифры |
|
|
9 |
Передать номер вызываемого абонента декадным способом, начиная со следующей цифры |
|
|
10 |
Повторить предыдущую цифру и передать все последующие цифры декадным кодом |
|
|
11 |
Запрос информации о категории вызова (передается до окончания передачи номера) |
|
|
11 |
Запрос типа вызова (передается после окончания передачи номера) |
|
|
|
15 |
Отсутствие приема частотной информации |
|
АМТС-АТС д/ш |
А. |
В прямом направлении |
|
|
|
Номер вызываемого абонента (декадным способом) |
|
|
Б. |
В обратном направлении |
|
|
|
Нет сигналов |
|
* сигнал используется при связи от АМТСЭ,КЭ по СЛМ для определения категори и типа вызова и при связи по СЛ для определения категории вызова. ** сигнал передается при подключении к линии вызываемого абонента в случае е свободности (при автоматической связи) или занятости местным соединением (при полуавтоматической связи). *** сигнал передается во всех случаях невозможности подключения к абонентской линии. |
||
|
Контролируемые этапы |
Длительность контролируемого времени |
Действие после истечения контрольного времени |
|
1 |
2 |
3 |
|
1 От занятия ЗСЛ до приема Ka Na при использовании АОН |
6-8 с для АМТСЭ,КЭ |
Передача в сторону АТС зуммера ЗАНЯТО. Возможен линейный сигнал ЗАНЯТО. Регистрация повреждения. |
|
2 От момента выдачи сигнала ЗАПРОС АОН до начала поступления многочастотной информации |
1-2 с |
Передача линейного сигнала СНЯТИЕ ЗАПРОСА переход в предответное состояние. Через 0,6 - 1,2 с повтор ЗАПРОСА АОН (по ЗСЛ до 3-х раз от АМТС) |
|
3 От передачи зуммера ОТВЕТ СТАНЦИИ до приема первой цифры в декадном коде или между приемом двух цифр |
10-20 с |
Передача в сторону АТС зуммера ЗАНЯТО. Возможен линейный сигнал ЗАНЯТО. Регистрация повреждения |
|
4 От передачи последней цифры номера до приема линейного сигнала о состоянии абонента (или при отсутствии линейного сигнала состояния) |
а) На СЛМ внутризоновых сетей - 20-30 с б) на междугородной сети – 2-4 мин |
Передача на входящую станцию сигнала РАЗЪЕДИНЕНИЕ. Передача в сторону вызывающего абонента зуммера ЗАНЯТО, линейного сигнала ЗАНЯТО. Регистрация повреждения |
|
5 От приема сигнала АБОНЕНТ СВОБОДЕН до ответа |
1,5-2 мин |
Контроль на исходящей АМТС Передача на входящую станцию сигнала РАЗЪЕДИНЕНИЕ Передача по ЗСЛ в сторону вызывающего абонента зуммера ЗАНЯТО (возможен линейный сигнал ЗАНЯТО) |
|
6 При связи с помощью телефониста от отбоя вызываемого абонента до разъединения или повторного ответа (от приема линейного сигнала ЗАНЯТО до разъединения или ответа вызываемого абонента) |
2-4 мин |
Контроль на исходящей АМТС Передача на входящую станцию сигнала РАЗЪЕДИНЕНИЕ Передача в сторону коммутатора акустического сигнала ЗАНЯТО |
|
7 От передачи сигнала РАЗЪЕДИНЕНИЕ до приема сигнала ОСВОБОЖДЕНИЕ или перехода в исходное состояние |
На участках междугородной и внутризоновых сетей 20-40 с |
Прекращение сигнала РАЗЪЕДИНЕНИЕ Повторная выдача сигнала РАЗЪЕДИНЕНИЕ каждые 5 минут длительностью 1с |
|
8 При связи с помощью телефониста от передачи линейного сигнала ЗАНЯТО, ОТБОЙ до приема разъединения или ответа вызываемого абонента. |
2-4 мин |
Контроль на входящей стороне АМТС Разъединение установленного соединения к вызываемому абоненту Передача на исходящую станцию зуммера ЗАНЯТО |
|
9 При автоматической связи от передачи сигнала ЗАНЯТО, ОТБОЙ до приема сигнала РАЗЪЕДИНЕНИЕ |
10-20 с |
Контроль на входящей стороне каждой АМТС, участвующих в соединении Разъединение от исходящей стороны каждой АМТС в сторону вызываемого абонента Ожидание разъединения от исходящей станции Регистрация повреждения |
|
10 Передача информация методом «импульсный пакет» 10.1 От передачи сигнала ЗАНЯТИЕ до приема запроса (комбинация 2) |
На междугородной и внутризоновой сетях 10-20 с |
Контроль на исходящей АМТС разъединение первого соединения. Повторный выбор исходящего канала или линии регистрация повреждения |
|
10.2 От передачи сигнала «конец набора» (комбинация 11) до приема обратных сигналов (комбинации 11 или 6) |
На междугородной и внутризоновой сетях 10-20 с |
Контроль на входящей станции (АМТС). Выдача комбинации 6 (пакет принят неправильно). Повторное ожидание приема пакета. |
|
10.3 От передачи запроса (комбинация 2) до приема пакета информации |
5-10 с |
Регистрация повреждения. |
|
11 Передача сигналов методом «импульсный челнок». 11.1 В прямом направлении: От передачи цифры до приема запроса следующей цифры либо другого сообщения |
На СЛМ- 3,5-4с |
Контроль на исходящей станции Разъединение первого соединения Повторный выбор исходящего канала, линии и передача информации Регистрация повреждения Контроль на входящей станции |
|
11.2 В обратном направлении: |
|
Контроль на входящей станции Выдача комбинации 15 |
|
От передачи запроса до |
|
(отсутствие информации) |
|
Приема цифры или другого сообщения |
На СЛМ - 200-400 мс |
Регистрация повреждения |
|
12 Ограничение длительности тарифицируемого разговора |
С возможностью установления в интервалах по 10 мин |
Регистрация длительности, разъединение соединения. |
|
13 Длительность нетарифицируемого разговора |
10 -20 с, с возможностью установления интервала по 6 с |
Разговор не тарифицировать, регистрировать только в режиме «статистического дня». |
|
14 От передачи сигнала ЗАНЯТИЕ до приема ПОДТВЕРЖДЕНИЯ ЗАНЯТИЯ (при наличии сигнала в сигнальном коде) |
600-800 мс (при работе по каналам спутниковой связи 1800-2400 мс) |
Контроль на исходящей станции. Повторный выбор линии или передача вызывающему абоненту зуммера ЗАНЯТО, возможен линейный сигнал ЗАНЯТО. Поврежденная линия блокируется с сохранением передачи линейного сигнала «занятие» до приема обратного сигнала подтверждения. |
|
15 От передачи вызывающему абоненту зуммера ЗАНЯТО до РАЗЪЕДИНЕНИЯ (при групповом передатчике зуммера) |
15-30 с на участке АК-ТА |
Отключение источника тонального сигнала. Блокировка линии |
|
№№ п/п |
Наименование параметров |
Одночастотная система сигнализации |
|
|
УСЛОВИЯ ПЕРЕДАЧИ |
|
|
1 |
Сигнальная частота, Гц |
2600 ± 6 |
|
2 |
Уровень мощности сигнальной частоты, дБм0 |
-9,5 ± 1 |
|
3 |
Уровень остатков токов сигнальных частот, дБм0, не более |
-50 |
|
|
УСЛОВИЯ СРАБАТЫВАНИЯ ПРИЕМНИКА СИГНАЛОВ |
|
|
1 |
Сигнальная частота, Гц |
2600 ±15 |
|
2 |
Абсолютный уровень мощности сигнальной частоты на входе приемника, дБм |
-15*+ 4,0 |
|
3 |
Уровень шума с равномерным энергетическим спектром в полосе (0,3 - 3,4) кГц, дБмОп |
-35,0 |
|
|
УСЛОВИЯ НЕСРАБАТЫВАНИЯ ПРИЕМНИКА |
|
|
1 |
Сигнальная частота, Гц при уровне, дБ |
2600±100
и более |
|
2 |
Уровень мощности сигнальной частоты, дБ при сигнальной частоте, Гц |
-26,0 |
|
|
НЕКОТОРЫЕ ДРУГИЕ ПАРАМЕТРЫ |
|
|
1 |
Искажения длительности сигнала на выходе приемника, мс, не более |
±4,0 |
|
2 |
Время защиты от распознавания ложных линейных сигналов из-за разговорных токов, мс, |
100-150 |
|
3 |
Задержка отключения разговорного тракта приема с момента поступления частотного сигнала, мс |
50-75 |
|
4 |
Задержка вое становления разговорного тракта после распознавания снятия линейного сигнала, мс, не более |
20 |
|
5 |
Среднее количество ложных срабатываний за 10 часов работы от разговорных токов в полосе частот 0.3...3.4.кГп, не более |
1 |
|
Наименование параметров |
Параметры по междугородным каналам |
Параметры по ЗСЛ, СЛМ |
|
1 |
2 |
3 |
|
УСЛОВИЯ ПЕРЕДАЧИ |
|
|
|
1 Сигнальная частота |
700, 900, 1100, 1300, 1500, 1700 Гц |
700, 900, 1100, 1300, 1500, 1700 Гц |
|
2 Регистровый сигнальный код |
2 из 6 |
2 из 6 |
|
3 Клирфактор |
<5% |
<5% |
|
4 Отклонение сигнальной частоты от номинальной величины |
Å0,25% |
Å0,25% |
|
5 Уровень каждой сигнальной частоты |
- 7,3Å0,8 дБмо |
- 7,3Å0,8 дБмо |
|
6 Разница во времени поступления и снятия одной сигнальной частоты относительно другой, не более |
1,0 мс |
1,0 мс. |
|
7 Уровень остатков токов каждой сигнальной частоты: |
|
|
|
а) при передаче многочастотного сигнала |
≤-30 дБм0 |
≤-30 дБм0 |
|
б) при отсутствии передачи |
≤-50 дБм0 |
≤-50 дБм0 |
|
8 Длительность передаваемых частотных посылок и интервалов: |
|
|
|
8.1 При использовании метода "импульсный челнок" |
|
|
|
а) импульс |
— |
50Å3 мс |
|
6) интервал |
— |
50Å3 мс |
|
8.2 При использовании метода "безинтервальный пакет" импульс |
— |
40Å1 мс |
|
8.3 При использовании метода "импульсный пакет" Прямое направление |
|
|
|
а) импульс |
50Å3 мс |
50Å3 мс |
|
б) интервал |
50Å3 мс |
50Å3 мс |
|
Обратное направление импульс |
50Å3 мс |
50Å3 мс |
|
УСЛОВИЯ СРАБАТЫВАНИЯ МНОГОЧАСТОТНОГО ПРИЕМНИКА |
|
|
|
1 Отклонение каждой сигнальной частоты от ее номинального значения, не более |
Å15,0 Гц |
Å15,0 Гц |
|
2 Абсолютный уровень мощности многочастотного сигнала: |
|
|
|
Уплотненные линии |
-17,0+/-1,0 дБ |
|
|
Неуплотненные линии на частоте |
|
|
|
700 Гц |
|
-6,5...-27.4 дБ |
|
900 Гц |
- |
-6,5...-29.0 дБ |
|
1100 Гц |
|
-6,5...-31.0 дБ |
|
1300 Гц |
|
-6,5...-33.0 дБ |
|
1500 Гц |
|
-6,5...-35.0 дБ |
|
1700 Гц |
|
-6,5...-36.0 дБ |
|
3 Максимальная разница в уровнях двух сигнальных частот, не более |
5,0 дБ (между любыми частотами) |
|
|
при разнице частот 200 Гц |
|
6,0 дБ |
|
при разнице частот 400 Гц |
|
7,0 дБ |
|
при разнице частот 600 Гц |
|
8,0 дБ |
|
при разнице частот 800 Гц |
|
10,0 дБ |
|
при разнице частот 1000 Гц |
|
12,0 дБ |
|
4 Максимальные искажения группового времени распространения |
≤7,5 мс |
≤3,0мс |
|
5 Уровень шума с равно мерным энергетическим спектром в полосе частот 0,3-3,4 Гц, не более |
-35,0 дБмО |
-35,0 дБмО |
|
б Частоты, составляющие сигнал, одновременно активны в течение времени |
30 мс |
30 мс |
|
7 Длительность перерыва в сигнале, не вызывающая нарушения работы приемника |
5 мс |
8 мс |
|
УСЛОВИЯ НЕСРАБАТЫВАНИЯ ПРИЕМНИКА |
|
|
|
1 Отклонения сигнальной частоты от номинального значения, при абсолютном уровне мощности: |
65 Гц и более в соответствии с п.2 Условий срабатывания приемника |
65 Гц и более в соответствии с п.2 Условий срабатывания приемника |
|
2 Абсолютный уровень мощности каждой сигнальной частоты на входе |
на 13,0 дБ ниже минимального уровня |
на 13,0 дБ ниже минимального уровня |
|
3 Затухание отражения входного сопротивления приемника, не менее |
20 дБ |
20 дБ |
|
ДОПОЛНИТЕЛЬНЫЕ ПАРАМЕТРЫ |
|
|
|
1 Приемник не должен реагировать на сигналы продолжительностью менее |
16 мс |
20 мс |
|
2 Абсолютный уровень третьей мешающей частоты в полосе 300…3400Гц |
|
на 15,0 дБ ниже минимального уровня одной из сигнальных частот |
|
3 Абсолютный уровень помехи на частоте 3800 Гц или 3825 Гц |
|
-17,4 дБ |
|
Частота Номер Комбинации |
700 |
900 |
1100 |
1300 |
1500 |
1700 |
|
1 |
+ |
+ |
|
|
|
|
|
2 |
+ |
|
+ |
|
|
|
|
3 |
|
+ |
+ |
|
|
|
|
4 |
+ |
|
|
+ |
|
|
|
5 |
|
+ |
|
+ |
|
|
|
6 |
|
|
+ |
+ |
|
|
|
7 |
+ |
|
|
|
+ |
|
|
8 |
|
+ |
|
|
+ |
|
|
9 |
|
|
+ |
|
+ |
|
|
10 |
|
|
|
+ |
+ |
|
|
11 |
+ |
|
|
|
|
+ |
|
12 |
|
+ |
|
|
|
+ |
|
13 |
|
|
+ |
|
|
+ |
|
14 |
|
|
|
+ |
|
+ |
|
15 |
|
|
|
|
+ |
+ |
В.1 Для информирования абонентов о состоянии текущего соединения при внутризоновой, междугородной и международной связи должны передаваться следующие информационные акустические и вызывные сигналы:
- ответ станции;
- контроль посылки вызова;
- занято;
- занято при перегрузке;
- указательный сигнал;
- сигнал ожидания;
- фразы автоинформатора.
В.2 Функции и параметры акустических и вызывных сигналов и фразы автоинформатора
В.2.1 Акустические и вызывные сигналы:
- "Ответ станции" - информирует абонента о готовности станции к приему номера.
Непрерывный синусоидальный сигнал частотой (425Å3) Гц.
Номинальный уровень в точке с нулевым относительным уровнем минус 10 дБм, допустимые изменения уровня от минус 15 до минус 5 дБм;
- "Контроль посылки вызова" - информирует вызывающего абонента о свободности вызываемого абонента и посыпке ему вызывного сигнала.
Прерывистый синусоидальный сигнал частотой (425Å3)Гц:
- импульс - (1,0Å0,10) с;
- науза - (4,0Å0,4) с.
При внутризоновом и междугородном соединении передается с исходящей АМТС.
Первая посылка не менее (0,3Å0,03) с.
При международном соединении транслируется с международной сети.
Номинальный уровень в точке с нулевым относительным уровнем минус 10 дБм, допустимые изменения уровня от минус 15 дБм до минус 5 дБм;
- Сигнал "Занято" информирует абонента о занятости вызываемого абонента после набора номера или об отбое другого абонента после разговора, или при всех состояниях неуспешного занятия.
Прерывистый синусоидальный сигнал частотой (425Å3 )Гц:
- импульс - (0,35+/-0,05) с;
- пауза - (0,35+/-0,05) с.
Номинальный уровень в точке с нулевым относительным уровнем минус 10 дБм, допустимые изменения уровня от минус 15 до минус 5 дБм;
Сигнал "Занято при перегрузке" информирует абонента об отказе в обслуживании из-за отсутствия свободных соединительных путей и станционных приборов, а также об ошибках при заказе, проверке и отмене дополнительных услуг.
Прерывистый синусоидальный сигнал частотой (425Å3) Гц:
- импульс - (0,175+/-0,025) с,
- пауза - (0,175+/-0,025) с.
Номинальный уровень в точке с нулевым относительным уровнем минус 10 дБм, допустимые изменения уровня от минус 15 до минус 5 дБм.
"Указательный сигнал" - при междугородной связи передается в паузах между фразами автоинформатора "ждите".
Последовательная передача трех частот:
- f1 - (950Å5) Гц;
- f2 - (1400Å5) Гц;
- f3 - (1800Å5) Гц.
Частоты передаются в указанном порядке.
Длительность импульса каждой частоты (0,33Å0,07) с, пауза между f1 и f2, f2 и f3 не более 0,03 с.
Длительность интервала между посылками третьей и первой частотой (1,00Å0,25) с.
Разность уровней частот не должна быть более 3 дБ. Уровень сигнала от минус 15 до минус 5 дБм;
- Сигнал "Ожидание" информирует телефониста о занятости вызываемого абонента местным, междугородным и международным соединением. Прерывистый синусоидальный сигнал частотой (425Å3) Гц:
- импульс - (0,20+/-0,02) с;
- пауза - (5+/-0,5) с.
Сигнал "Ожидание" передается не более 30 сек.
Номинальный уровень в точке с нулевым относительным уровнем минус 10 дБм, допустимые изменения уровня от минус 15 до минус 5 дБм;
- Должна обеспечиваться возможность введения новых акустических сигналов по мере расширения перечня предоставляемых услуг.
В.2.2 Фразы автоинформатора
На внутризоновой и междугородной сетях могут передаваться следующие фразы автоинформатора:
- "НЕПРАВИЛЬНО НАБРАН НОМЕР" - в случае неправильного набора кода ABC или незадействованного кода;
- "ВЫЗЫВАЙТЕ ТЕЛЕФОНИСТА" - в случае набора кода городов, с которыми установлена только полуавтоматическая или ручная связь, при переводе отдельных направлений с автоматической связи на полуавтоматическую, либо при получении категории абонента, не имеющего права пользования автоматической междугородной связью.
- "ЖДИТЕ" - при постановке на ожидание канала или линии.
Перечень фраз автоинформатора может дополняться. Фразы автоинформатора при междугородной и внутризоновой связи не должны сопровождаться передачей линейного сигнала "ответ".
Г.1 Функции учета данных для начисления платы за внутризоновые, междугородные и международные соединения
Г.1.1 Общие требования
Г.1.1.1 Функция учета данных для начисления платы должна быть реализована на АМТС с помощью системы учета данных (СУД).
СУД должна обеспечивать выполнение следующих функций:
- подробный учет данных исходящих внутризоновых, междугородных, международных соединений;
- сбор информации для взаиморасчетов операторов, участвующих в совместном предоставлении услуг связи, и статистики;
- вывод информации в АСР;
- стык с внешними автоматизированными системами;
- контроль функционирования системы.
Г.1.1.2 СУД должна иметь возможность обеспечивать подробный учет данных о междугородных соединениях к узлам спецслужб.
Г.1.1.3 СУД должна иметь возможность учитывать данные о попытках вызовов, незавершившихся соединениями.
Г.1.1.4 СУД должна получать данные текущего времени (год, месяц, день, часы, минуты, секунды) от станционного календаря.
Г.1.2. Функция подробного учета данных исходящих внутризоновых, междугородных, международных соединений
Г.1.2.1 Подробный учет данных по каждому состоявшемуся соединению должен осуществляться путем сбора и регистрации подробных данных, обеспечивающих возможность определения стоимости соединений с учетом расстояния (тарифной зоны), его продолжительности, предоставляемых услуг, категорий абонентов и действующего вида тарифа в зависимости от времени начала соединения (суток и дней недели - выходных и праздничных дней).
Г.1.2.2 СУД должна измерять продолжительность соединения, установленного через АМТС.
Начало измерения продолжительности соединения должно происходить в СУД в момент приема индикации сигнала ответа.
Окончание измерения продолжительности соединения должно происходить в СУД в момент приема индикации сигнала разъединения.
Погрешность при измерении продолжительности соединения не должна превышать ±2с с вероятностью 0,95.
Примечание - Величина льготной нетарифицируемой продолжительности соединения может быть установлена оператором на АСР.
Г.1.2.3 Для каждого соединения может создаваться либо обычная одиночная запись, либо еще одна или несколько промежуточных записей. Промежуточная запись должна создаваться для соединений большой длительности.
Периодичность создания промежуточных записей устанавливается персоналом станции.
Г.1.2.4 Требования к формату подробных записей для автоматических соединений
Г.1.2.4.1 В зависимости от типа АМТС на сети могут применяться различные типы форматов подробных записей:
- с фиксированной длиной записи;
- с переменной длиной записи;
- формат на базе правил кодирования в нотации ASN.1 (Рекомендации МСЭ Х.208, Х.209, Х.680, Х.690, Q.825).
Г.1.2.4.2 Подробная запись для автоматических соединений должна содержать основные данные, необходимые для тарификации автоматических соединений, и некоторые дополнительные данные.
Г.1.2.4.2.1 Основные данные формата подробной записи должны содержать следующие параметры:
- категория* и номер вызывающего абонента А;
- номер вызываемого абонента Б;
- дата и время суток начала соединения;
- продолжительность соединения;
- услуги, предоставленные абоненту при автоматическом соединении (например, услуга доставки информации для абонентов ISDN).
*Категория абонента должна соответствовать категории АОН.
Г.1.2.4.2.2 Дополнительные данные могут содержать следующие параметры:
- индикатор записи (одиночная, промежуточная или заключительная запись);
- идентификация исходящих и входящих направлений, трактов и каналов;
- данные о состоянии соединения/вызова с указанием места и причины завершения соединения/вызова (например, состоявшееся соединение; отбой до ответа абонента; отказы на сети и т.д.);
- и другие параметры.
Г.1.2.4.3 Подробные записи для автоматических соединений должны накапливаться в файлах данных подробных записей для автоматических соединений на станционных накопителях.
Г.1.2.5 Требования к формату подробных записей для междугородных соединений, предоставляемых с помощью телефониста
Г.1.2.5.1 Формат подробной записи для междугородных соединений, предоставляемых с помощью телефониста, в зависимости от типа АМТС, может, быть различных типов и иметь фиксированную или переменную длину записи.
Г.1.2.5.2 Подробная запись должна содержать данные, необходимые для тарификации междугородных соединений и услуг, предоставляемых с помощью телефониста:
- номер вызывающего абонента А;
- номер вызываемого абонента Б;
- дата и время начала соединения;
- продолжительность соединения;
- перечень предоставленных дополнительных услуг;
- данные о состоянии соединения/вызова (например, состоявшийся/несостоявшийся вызов; причина отказа при аннулировании заказа/услуги);
- идентификационный (личный) номер оператора;
- номер абонента, оплачивающего услугу;
- идентификация исходящих и входящих направлений, трактов и каналов;
- данные, отображающие специфику предоставленной услуга (например, примечания, вводимые оператором).
Г.1.2.5.3 Подробные записи должны накапливаться на станционных накопителях в файлах данных подробных записей для междугородных соединений, предоставляемых с помощью телефониста.
Г.1.3 Функция вывода информации в АСР
Г.1.3.1 СУД должна обеспечивать возможность вывода информации в АСР в двух режимах:
- в режиме накопления файлов;
- в режиме оперативного вывода.
СУД должна обеспечивать возможность включения в группу оперативного вывода подробных записей данных для соединений, имеющих признак немедленного вывода, который создается в СУД в результате анализа определенных параметров, содержащихся в подробной записи и заранее установленных персоналом АМТС (например, категория абонента гостиницы, группа ЗСЛ и т.п.).
СУД должна обеспечивать возможность включения в группу вывода в режиме накопления файлов подробных записей данных для всех состоявшихся соединений, в том числе и записей соединений от абонентов гостиниц с признаком немедленного вывода.
Г.1.3.2 В режиме накопления файлов СУД должна обеспечивать вывод информации со станционных накопителей (жестких магнитных дисков) по каналу передачи данных в АСР либо по запросу от АСР, либо периодически с периодом, устанавливаемым эксплуатационным персоналом АМТС.
По мере заполнения буфера диска СУД должна обеспечивать выдачу обслуживающему персоналу предупреждающих сообщений трехуровневой срочности.
Параметры пороговых значений выдачи предупреждающих сообщений должны задаваться обслуживающим персоналом станции (например, 50% заполнения буфера, 70% и 80%),
Г.1.3.3 В режиме оперативного вывода СУД должна обеспечивать возможность вывода информации для немедленной обработки различными методами, например, одним из следующих:
Г.1.3.3.1 Создание в СУД отдельного файла записей данных для соединений с признаком немедленного вывода с небольшим периодом накопления, устанавливаемым персоналом АМТС (max 15 минут) и оперативной передачи этого файла в АСР для немедленной его тарификации по картотеке абонентов гостиниц.
Г.1.3.3.2 Вывод записей данных исходящих соединений гостиничных абонентов из СУД по линиям передачи данных через отдельный порт вывода в режиме реального времени: в АСР или во внешнюю систему обработки информации для тарификации абонентов гостиниц, не входящую в состав оборудования станции.
Г.1.4 Функция сбора информации для взаиморасчетов операторов, участвующих в совместном предоставлении услуг связи, и статистики
Г.1.4.1 Регистрация данных о пропущенном трафике, необходимых для взаиморасчетов, может осуществляться на АМТС одним из следующих способов:
- с помощью специальных счетчиков;
- путем накопления подробных записей данных о соединениях/вызовах.
Г.1.4.1.1 Первый способ накопления информации для взаиморасчетов и статистики обеспечивается с помощью специальных счетчиков, которые являются отдельными точками матрицы с конкретным индексом (классом учета), определяемым комбинациями следующих параметров:
- источником вызова;
- назначением вызова;
- исходящим маршрутом;
- типом трафика (внутризоновый, междугородный, международный);
- типом тарифа (дневной, ночной, льготный).
Для всех соединений, относящихся к одной и той же точке матрицы в соответствии с указанным индексом, счетчики должны накапливать следующие данные:
- суммарная продолжительность соединений;
- суммарное число соединений/попыток установления соединения.
Данные показаний счетчиков, накопленные за определенный период, должны формироваться в специальный файл показаний счетчиков о пропущенном трафике.
Г.1.4.1.2 Второй способ накопления информации для взаиморасчетов и статистики обеспечивается на АМТС путем создания подробных записей, накапливаемых в специальном файле данных подробных записей для взаиморасчетов, или с использованием данных для взаиморасчетов, включенных в файлы данных подробных записей автоматических и полуавтоматических соединений.
Подробная запись для взаиморасчетов и статистики должна содержать следующие параметры:
- номер и категория абонента А;
- номер абонента Б;
- дата и время начала соединения;
- продолжительность соединения;
- услуги, предоставленные абоненту при автоматическом соединении (например, услуга доставки информации для абонентов ISDN);
- услуги, предоставляемые при полуавтоматических соединениях;
- идентификация исходящих и входящих направлений, трактов и каналов;
- данные о состоянии соединения/вызова с указанием места и причины завершения соединения/вызова;
- время установления соединения;
- и другие параметры.
Г.1.5 Стык с внешними автоматизированными системами
Г.1.5.1 СУД в АМТС должна обеспечивать возможность взаимодействия с внешними автоматизированными системами, в частности, с АСР, ЦТЭ и системами управления.
Стык с этими системами должен осуществляться с помощью некоммутируемых или коммутируемых каналов связи с использованием одного или нескольких стандартных сетевых протоколов (Х.25, Frame Relay, TCP/IP и других) и открытых интерфейсов.
Наряду с передачей данных по каналам допускается использование для передачи информации во внешние автоматизированные системы протоколов локальных сетей (например, Ethernet, FDDI).
Примечание - В технических условиях на оборудование конкретных типов АМТС, должны указываться технические характеристики используемых интерфейсов и форматы записей.
Г.1.6 Обеспечение контроля функционирования системы
Г.1.6.1 СУД должна обеспечивать накопление и выдачу в ЦТЭ аварийной, диагностической и статистической информации о функционировании системы, а также информации о функционировании и сбоях процесса передачи информации на АСР.
Г.1.6.2 В СУД должна быть предусмотрена система защиты от несанкционированного доступа к информации.
Г.2 Функция учета данных для начисления платы за услуги ИСС
Г.2.1 Общие требования
Г.2.1.1 Функция учета данных для начисления платы за услуги ИСС должна быть реализована на АМТС с функциями SSP/TP (далее по тексту - SSP) посредством системы учета данных (СУД). СУД должна обеспечивать выполнение функций учета данных для расчета операторов ИСС с пользователями и абонентами услуг за предоставление первой очереди поддерживаемых услуг ИСС из набора CS1:
- Бесплатный вызов (FPH);
- Услуга за дополнительную плату (PRM);
- Телеголосование (VOT);
- Вызов по кредитной карте (РСС);
- Вызов по кредитной карте (ССС);
Вызов по расчетной карте (АСС).
Г.2.1.2 В зависимости от вида предоставляемой услуги интеллектуальной сети СУД должна обеспечивать функции учета данных для начисления платы за услуги ИСС при следующих способах расчета с пользователями/абонентами услуги:
- с последующей тарификацией в автоматизированной системе расчетов (АСР) (off-line charging - OFC) - создание записей о вызовах услуг ИСС в SSP и вывод информации о записях из СУД в АСР;
- с непосредственной тарификацией на SSP (on-line charging - ONC) -тарификация вызова услуги ИСС в реальном масштабе времени путем подсчета на SSP тарифных единиц, количество которых соответствует стоимости использованной услуги ИСС.
Г.2.1.3 Система учета данных SSP в зависимости от поддерживаемых услуг ИСС должна поддерживать взаимодействие с SCP по различным сценариям тарификации, определенных в документе [22]. Требования к функциям СУД в SSP для обеспечения различных сценариев тарификации приведены в Г.2.2.
Г.2.1.4 Система учета данных SSP должна обеспечивать выполнение следующих функций учета данных в соответствии со сценариями тарификации и принимаемыми от SCP управляющими операциями тарификации:
- функции определения данных (DETERMINATION - DET);
- функции генерации данных (GENERATION - GEN);
- функции регистрации данных (REGISTRATION - REG);
- функции вывода записей данных для дальнейшей обработки (OUTPUT - OUT).
Г.2.1.4.1 Функция DETERMINATION в SSP может обеспечивать возможность определения информации о тарифе (код тарифа, модулятор тарифа).
Г.2.1.4.2 Функция GENERATION в SSP должна обеспечивать следующие способы генерации данных для начисления платы за услуги ИСС:
- генерация данных для создания записи о вызове услуги ИСС (GEN OFC): сбор данных, полученных в результате обработки вызова, с включением параметров тарификации, полученных из операции тарификации от SCP;
- генерация данных об оплате вызова (GEN SIGN), передаваемых в сообщениях сигнализации ISUP-R по сети ТФОП;
- генерация тарифных единиц в режиме реального времени (GEN ONC) в соответствии с инструкцией и значениями параметров тарификации, полученными из операции тарификации от SCP.
Г.2.1.4.3 Функция REGISTRATION в SSP должна обеспечивать следующие возможности:
- регистрацию данных для создания подробной записи о вызове услуги ИСС;
- подсчет и регистрацию количества тарифных единиц за оплату вызова услуги ИСС;
- одновременное применение вышеуказанных возможностей.
Г.2.1.4.4 Функция OUTPUT в SSP должна обеспечивать накопление записей данных и вывод файлов записей данных о вызовах услуг ИСС, а также их передачу в АСР с помощью средств вывода, предусмотренных в АМТС.
Г.2.2 Функции СУД в SSP для обеспечения различных сценариев тарификации
Г.2.2.1 Сценарии взаимодействия SSP и SCP, принадлежащих одному оператору
Г.2.2.1.1 Сценарий INAP 2.3. Создание подробной записи на SSP (OFC)
При получении из SCP управляющей операции FCI, содержащей параметры тарификации (функция DET в SCP), СУД в SSP должна обеспечить выполнение функций GEN OFC, REG: после предоставления требуемой услуги и завершении соединения (по отбою любого участника соединения), создать подробную запись для услуги ИСС, содержащую данные обработки вызова (номера А, В, С; время начала соединения, продолжительность соединения и пр.) и данные параметров тарификации для конкретной услуги ИСС, принятые из SCP в операции FCI (идентификатор стороны, оплачивающей вызов, информация о тарифе, идентификатор логики услуги и пр. информация об абоненте услуги и профиле предоставляемой услуги).
Г.2.2.1.2 Сценарий INAP 3.2. Передача тарифной информации по сети сигнализации на ТФОП
При получении из SCP управляющей операции SCI, содержащей значение параметра индикатора оплаты, передаваемого в обратном направлении (BCI - Charge/No Charge), СУД в SSP должна обеспечить выполнение функции GEN SIGN: в сообщении АСМ или ANM ISUP-R, передаваемом в сторону вызывающей станции ТФОП по сети сигнализации, сформировать значение BCI, принятое из SCP.
Г.2.2.1.3 Сценарий INAP 4.2. Тарификация услуги ИСС на SSP (ONC) с созданием подробной записи (OFC)
Г.2.2.1.3.1 Тарификация услуги ИСС на SSP (ONC). При получении из SCP операции АС, содержащей инструкцию по управлению за тарификационным механизмом в SSP (Call Supervision), а также параметры тарификации (TRC и CRM), СУД в SSP должна обеспечивать выполнение функции GEN ONC и BEG:
- генерировать тарифные единицы в соответствии с величиной тарифа, указанной в параметрах тарификации (TRC и CRM);
- подсчитывать количество использованных единиц (used units) за оплату вызова услуги ИСС с момента ответа вызываемой стороны до момента отбоя одного из участников вызова;
- передавать после разъединения соединения в SCP операцию ACR, содержащую параметр количества использованных тарифных единиц оплаты (used units) за вызов услуги ИСС.
Г.2.2.1.3.2 Контроль истечения кредита. При получении из SCP операции АС, содержащей в инструкции параметр количества тарифных единиц, зарегистрированных на счету пользователя (units Granted) СУД в SSP должна:
- контролировать момент достижения количества использованных единиц оплаты (used units) до величины порога кредита (units Granted), после запуска механизма тарификации соединения (функции GEN ONC, REG);
- передать в SCP операцию ACR, содержащую параметр количества использованных единиц оплаты за вызов услуги ИСС, при достижении величины порога кредита (истечение кредита).
При истечении кредита SSP должен обеспечить посылку уведомления пользователю услуги и разъединить соединение.
Г.2.2.1.3.3 Возможность промежуточного контроля кредита при обслуживании вызовов большой продолжительности. При получении из SCP операции АС, содержащей в инструкции параметр промежуточного контроля вызова в виде заданного интервала времени в секундах (Heart Beat Time), СУД в SSP должна:
- контролировать время соединения на соответствие заданному интервалу времени и подсчитывать количество использованных тарифных единиц после запуска механизма тарификации;
- передать в SCP после истечения заданного интервала времени операцию ACR, содержащую индикацию промежуточного результата в виде количества использованных единиц оплаты за истекший период с параметром признака последовательности информации (Sequence Info), имеющим значение промежуточной (intermediate) индикации, и продолжить далее контролировать время соединения и подсчитывать тарифные единицы оплаты вызова услуги ИСС;
- передать в SCP при завершении соединения операцию ACR, содержащую индикацию окончательного результата с параметром признака индикации конца последовательности (final).
Г.2.2.1.3.4 Создание подробной записи на SSP (OFC). В сценарии INAP 4.2 СУД в SSP, кроме выполнения функции тарификации услуги ИСС на SSP (см. Г.2.2.1.3.1), должна с помощью операции FCI, принятой из SCP, обеспечить создание подробной записи данных о предоставляемой услуге ИСС (OFC).
Г.2.2.2 Сценарий взаимодействия SSP и SCP, принадлежащих разным операторам
Г.2.2.2.1 В случае принадлежности SSP и SCP разным операторам СУД в SSP должна обеспечивать функции, поддерживающие взаимодействие с SCP по традиционным сценариям INAP: 2.3, 3.2 и 4.2 (см. Г.2.2.1).
Кроме того, для услуг ИСС, требующих немедленной тарификации (например, РСС), СУД в SSP должна дополнительно обеспечить функции, поддерживающие сценарии тарификации INAP-R: INAP-R1, INAP-R2, INAP-R3, расширяющие возможности применения сценария INAP 4.2.
Г.2.2.2.2 Сценарий INAP-R1
Г.2.2.2.2.1 Тарификация услуги ИСС на SSP (ONC). Функции СУД в SSP для сценария INAP-R1 отличаются от функций СУД в SSP для сценария INAP 4.2 тем, что функция DET должна выполняться совместно на SSP и на SCP.
При получении из SCP операции АС, содержащей инструкцию по управлению тарификационным механизмом в SSP (Call Supervision) и неполный набор параметров тарификации, СУД в SSP должна обеспечивать выполнение функций DET (совместно с SCP),GEN ONC и REG:
- определять, по умолчанию, отсутствующий в операции параметр тарификации (код тарифа или модулятор тарифа);
- генерировать тарифные единицы в соответствии с величиной тарифа, определенной из анализа параметра TRC, полученного из SCP, и параметра CRM, определенного СУД в SSP;
- подсчитывать количество использованных тарифных единиц за оплату вызова услуги ИСС способом, аналогичным для сценария INAP 4.2 (Г.2.2.1.3.1).
Дальнейшее функционирование СУД в SSP для сценария INAP-R1 не должно отличаться от функционирования СУД в SSP для сценария INAP 4.2 (Г.2.2.1.3.1, Г.2.2.1.3.4).
Г.2.2.2.3 Сценарий INAP-R2
Г.2.2.2.3.1 Тарификация услуги ИСС на SSP (ONC). Функции СУД в SSP для сценария INAP-R2 отличаются от функций СУД в SSP для сценария INAP 4.2 тем, что функция DET должна выполняться полностью в СУД на SSP,
При получении из SCP операции АС, содержащей инструкцию по управлению тарификационным механизмом в SSP (Call Supervision) и не содержащей параметров тарификации (TRC и CRM), СУД в SSP должна обеспечивать выполнение функций DET, GEN ONC и REG.
- определять, по умолчанию, параметры тарификации (код тарифа, модулятор тарифа);
- генерировать тарифные единицы в соответствии с величиной тарифа, определенного СУД ИСС в SSP;
- подсчитывать количество использованных тарифных единиц за оплату вызова услуги ИСС способом, аналогичным для сценария INAP 4.2 (Г.2.2.1.3.1).
Дальнейшее функционирование СУД в SSP для сценария INAP-R2 не должно отличаться от функционирования СУД в SSP для сценария INAP 4.2 (Г.2.2.1.3.1-Г.2.2.1.3.4).
Г.2.2.4 Сценарий INAP-R3
Функции СУД в SSP при взаимодействии с SCP по сценарию INAP-R3 должны полностью соответствовать функциям СУД в SSP при взаимодействии с SCP по сценарию INAP 4.2.
Г.2.3 Требования к составу записи данных о вызове услуги ИСС
Состав записи данных о вызове услуги ИСС должен быть достаточен для определения стоимости предоставленной конкретной услуги ИСС в АСР и должен содержать:
Данные, относящиеся к установлению соединения:
- номера участников соединения - для определения тарифа по расстоянию; продолжительность соединения;
- время начала установления соединения - для определения действующего тарифа по времени суток и дней недели, рабочих, выходных и праздничных дней;
- данные об использованных в соединении основных и дополнительных услугах ТФОП и ISDN.
Данные, специфичные для различных услуг ИСС:
- идентификатор услуги (определяющий возможные позиции оплаты);
- сторона вызова, оплачивающая услугу;
- информация, специфичная для каждой услуги, и принимаемая в SSP в составе операций тарификации, передаваемых из SCP, например:
- величина дополнительной платы - для услуги PRM;
- расчетный счет абонента услуги - для конкретного абонента услуги;
- номер карты пользователя - для услуги РСС;
- номер кредитной карты - для услуг АСС и ССС;
- информация о тарифе: код тарифа, модулятор тарифа - для любой из услуг;
- дополнительная информация об абоненте услуги.
Д.1 Для АМТС с функциями ISDN в соответствии с Рекомендацией Е.502 [10] должен производиться учет показателей для следующих типов нагрузки:
4-11, 13-16, 18-22 - для телефонной нагрузки;
23-39 - для нагрузки ISDN.
Д.2 Показатели нагрузки и качества обслуживания вызовов по станции в целом должны учитывать:
- число входящих вызовов и процент потерь вызовов по станции, в целом;
- процент потерь вызовов вследствие технических неисправностей АМТС;
- процент потерь вызовов при обмене линейными и управляющими сигналами с последующими станциями;
- процент потерь вызовов при обмене линейными и управляющими сигналами с предыдущими станциями;
- процент потерь вызовов на входящих каналах из-за действий по управлению сетью.
Д.3 Показатели нагрузки и качества обслуживания для группового и управляющего оборудования станции должны быть следующими:
- средняя нагрузка на управляющие устройства (процессоры) станции по числу операций в единицу времени и в процентах от общей производительности;
- число действующих групповых приборов раздельно по типам;
- нагрузка (в часозанятиях) на групповых приборах раздельно по типам;
- процент заблокированных групповых приборов раздельно по типам;
- процент потерь вызовов из-за отсутствия свободных групповых приборов раздельно по типам и в целом по станции.
Д.4 Показатели нагрузки и качества обслуживания вызовов на входящих направлениях каналов (раздельно по входящим направлениям) должны быть следующими:
- нагрузка (в часозанятиях);
- число попыток занятий входящих каналов и линий;
- число занятий входящих каналов и линий;
- процент потерь входящих вызовов из-за технических неисправностей станции;
- процент потерь при обмене линейными и управляющими сигналами с предыдущими станциями;
- число и процент заблокированных входящих каналов и линий;
- число находящихся в эксплуатации входящих каналов и линий;
- средняя продолжительность занятия входящих каналов на один разговор.
Д.5 Показатели нагрузки и качества обслуживания вызовов на исходящих направлениях каналов (раздельно по исходящим направлениям) должны включать:
- нагрузку (в часозанятиях) каналов и линий;
- число занятий исходящих комплектов каналов и линий;
- процент потерь при обмене линейными и управляющими сигналами с последующими станциями;
- процент занятий исходящих комплектов, закончившихся получением сигнала "занято";
- процент занятий исходящих комплектов, закончившихся неответом абонента;
- процент занятий исходящих комплектов, закончившихся получением сигнала "ответ";
- процент коротких (нетарифицируемых) занятий;
- процент длительных (более 3 ч) занятий;
- процент потерь вызовов из-за отсутствия свободных исходящих каналов и линий;
- число и процент заблокированных каналов и линий;
- число находящихся в эксплуатации исходящих каналов и линий;
- число занятий каналов и линий в среднем на один "ответ"в ч.н.н.;
- число каналов и линий, незанимаемых длительное время (более 12-24 ч);
- средняя продолжительность одного занятия и средняя продолжительность занятия на один "ответ".
Д.6 Показатели качества обслуживания вызовов по кодам назначения должны включать (раздельно по кодам):
- число вызовов раздельно по междугородным кодам;
- процент вызовов, потерянных из-за отсутствия свободных каналов и линий на данной станции;
- число вызовов, закончившихся неответом абонента;
- число вызовов, закончившихся получением сигнала "занято";
- процент вызовов, закончившихся получением сигнала "ответ";
- число вызовов, в среднем, на одно соединение.
Д.7 Показатели качества обслуживания вызовов от приоритетных абонентов должны включать:
- число вызовов и процент потерь вызовов от приоритетных абонентов, обслуженных станцией;
- процент потерь вызовов от приоритетных абонентов из-за переполнения очереди ожидания и ожидания освобождения каналов (линий) свыше допустимого времени ожидания;
- число вызовов от приоритетных абонентов раздельно по направлениям исходящих каналов и линий;
- среднее время ожидания в секундах освобождения каналов и линий для любого вызова от приоритетных абонентов раздельно по направлениям, на которых принято ожидание.
Д.8 Показатели объема продукции должны включать:
- число входящих занятий;
- число исходящих занятий;
- число и процент занятий, закончившихся получением сигнала "ответ" в целом по станции.
Д.9 Показатели качества обслуживания вызовов должны определяться программным способом.
Д.10 Измерение сигнальной нагрузки и учет качества ее обслуживания должны производиться в соответствии с национальными спецификациями подсистем ОКС7 и рекомендацией МСЭ-Т Q.752 [17].
Д.11 Для АМТС, поддерживающей функции SSP/IP для ИСС, должны производиться измерения нагрузки вызовов ИСС в соответствии с рекомендацией Е.502 МСЭ-Т. Данные измерения должны включать:
- общие измерения нагрузки вызовов ИСС;
- измерения компонентов нагрузки вызовов ИСС;
- измерения нагрузки SSP-SRP;
- измерения нагрузки на автоинформаторах для SSP;
- измерение нагрузки вызовов ИСС по выбранным префиксам и номерам;
- составление подробных записей вызова для компонентов нагрузки вызовов ИСС;
- составление подробных записей вызова по выбранным префиксам и номерам для нагрузки вызовов ИСС.
Е.1 Общие положения
Е.1.1 Эхоподавляющие устройства (ЭП) предназначены для подавления электрического эха в телефонном канале при соединениях с большим временем распространения сигнала от абонента до абонента.
Е.1.2 Устройства эхоподавления могут применяться в виде составной части коммутационной станции или как отдельно исполненные устройства в двух вариантах:
- ЭП поставляются в виде отдельных устройств, имеющих собственный сертификат соответствия. Для этого варианта проверка технических параметров не производится;
- ЭП входят в состав коммутационной станции как одно из ее устройств.
Е.2 Область применения и функции эхоподавляющих устройств
Е.2.1 ЭП включается в каналы связи для обеспечения заданного качества передачи речевого сообщения и должны обеспечивать подавление электрического эха для соединений по каналам, где время распространения сигнала в одном направлении превышает 24 мс.
Е.2.2 Необходимость включения эхоподавляющих устройств определяется согласно рекомендациям МСЭ-Т G.114, G.122, G.131.
Е.2.3 Установленные в телефонных каналах эхоподавляющие устройства включаются в режиме «эхоподавления в N-ом канале» по сигналу коммутационной станции. Решение о необходимости активизации ЭП принимается на основе анализа кода ABC вызываемого абонента с учетом спутниковой составляющей тракта.
Е.2.4 Управление эхоподавляющими устройствами должно осуществляться в соответствии с рекомендациями МСЭ-Т Q.115. Функции управления включением/выключением ЭП должны поддерживаться техническими средствами коммутационной станции.
Е.2.5 Для управления ЭП при взаимодействии коммутационных станций должны формироваться и передаваться между ними сигналы управления эхоподавителями.
Е.2.6 ЭП, включаемые на линейной стороне АМТС, должны иметь входы управления и по ним обеспечивать поканальное управление.
Е.3 Требования по включению эхоподавляющих устройств на АМТС
Е.3.1 Включение эхоподавляющих устройств на АМТС должно производиться в соответствии с РД «Требования по установке эхоподавляющих устройств», утвержденным Минсвязи РФ 05.02.97г.
Е.3.2 При включении эхоподавляющих устройств, выполненных по схеме полукомплектов, необходимо включить по одному полукомплекту ЭП на каждой стороне соединения в местах, наиболее приближенных к месту отражения сигнала. Каждый полукомплект обеспечивает подавление электрического эха для абонента противоположной стороны соединения.
Е.3.3 При включении эхоподавляющих устройств, выполненных по полнофункциональной схеме (ЭП обеспечивает эхоподавление в обе стороны передачи), необходимо для одного соединения установить один комплект, который должен обеспечивать подавление электрического эха для обеих сторон соединения.
Е.3.4 Эхоподавляющие устройства могут включаться в телефонное соединение по индивидуальному способу или групповому способу. В соединениях, имеющих спутниковую составляющую, ЭП должен подключаться по индивидуальному способу.
При групповом способе подключения коммутационная станция по запросу о необходимости подавления эха подключает ЭП через коммутационное поле к нужному направлению.
Е.3.5 Включение/выключение эхоподавляющих устройств должно производиться по результатам обработки сигналов управления. Для управления ЭП при взаимодействии станций формируется и передается в составе пакета регистровых сигналов сигнал Сэ (управление эхозаградителями) от исходящей станции и должен быть принят на входящей станции. По значению Сэ должен быть передан соответствующий сигнал управления ЭП. Сигнал Сэ может иметь следующие значения (в десятичном коде):
«5» - передача данных (ЭП не включать);
«6» - телефонное сообщение - включать ЭП на исходящем и входящем концах;
«7» - телефонное сообщение - включить ЭП на входящем конце;
«8» - телефонное сообщение - ЭП не включать;
«9» - телефонное сообщение - в соединении есть канал через ИСЗ.
Е.3.6. ЭП должны обеспечивать поканальное управление по биту «с» КИ16 режимом «активизирован/нейтрализован». Рекомендуется использовать следующие значения бита «с» КИ16:
- ЭП нейтрализован - состояние «1»;
- ЭП активизирован (подавляется эхосигнал) - состояние «0».
Е.3.7 Коммутационные станции, не поддерживающие процедуру управления ЭП, должны обеспечить беспрепятственную передачу сигналов управления ЭП, передаваемых другими станциями.
Е.3.8 На время передачи межрегистровых сигналов управления установлением соединения эхоподавители должны быть нейтрализованы и транслировать сигналы без изменений.
Е.3.9 По сигналу «разъединение» коммутационная станция формирует управляющий сигнал, нейтрализующий эхоподавитель.
Е.4 Виды эхоподавляющих устройств, допустимых к применению на ВСС России
Е.4.1 Эхозаградители (ЭЗ) - эхоподавляющие устройства, использующие принцип внесения затухания в тракт эхосигнала.
Е.4.2 Эхокомпенсаторы (ЭК) - ЭП, где уменьшение эхосигнала достигается за счет алгебраического сложения/вычитания отраженного сигнала (эхо) и его копии.
Е.4.3. Эхоподавители комбинированного типа (ЭКЗ), использующие принципы заграждения и компенсации на разных этапах процесса эхоподавления.
Е.5 Общие требования для всех видов оборудования эхоподавления
Е.5.1 ЭП, включаемые в телефонный тракт, должны обеспечивать защиту телефонных разговоров от мешающего действия электрического эха на соединениях с временем распространения сигнала более 24 мс в одном направлении.
Е.5.2 Эхоподавляющие устройства, использующие различные способы борьбы с эхосигналом, должны быть совместимы между собой.
Е.5.3 Эхоподавляющие устройства должны удовлетворять требованиям ОСТ 45.97-97 и рекомендациям МСЭ-Т G.164, G.165, G.168 соответственно.
Е.5.4 ЭП должны поддерживать функции трансляции управляющих сигналов систем сигнализации 1VF, 2ВСК, ОКС7.
Е.5.5. Эхоподавляющие устройства всех типов должны иметь систему нейтрализации по тональному сигналу 2100 Гц для обеспечения работы устройств передачи данных.
Е.5.6. ЭП, предназначенные для работы в цифровых трактах, должны обеспечивать передачу/прием цифрового потока Е1. Структура цифровых циклов должна соответствовать рекомендациям МСЭ-Т G.704/2.3, G.704/5. Физические и электрические характеристики цифрового стыка должны соответствовать G.703/6, G.703/10.
Е.5.7 Параметры цифрового стыка
Е.5.7.1 Характеристики стыка должны соответствовать Рекомендации G.703, G.823.
Е.5.7.2 Номинальное значение входного и выходного сопротивлений 120 Ом.
Е.5.7.3 Скорость передачи 2048 кбит/с±50×10-6 .
Е.5.7.4 Форма импульса - по рис. 15/G.703.
Е.5.7.5 Номинальное пиковое напряжение посылки импульса 3±0,3 В.
Е.5.7.6 Номинальная длительность импульса 244 нс.
Е.5.7.7 Амплитуда дрожаний фазы выходного сигнала при синхронизации от внутреннего или внешнего генераторов не более 0,05 ЕИ (в диапазоне 20 Гц - 100 кГц).
Е.5.7.8 Амплитуда дрожаний фазы выходного сигнала при синхронизации от принимаемого ИКМ-сигнала - не более 0,1 ЕИ.
Е.5.7.9 Максимальная величина фазового дрожания входного импульса - по Рекомендации G.823/3.
Е.5.7.10 Источники синхронизации: внутренний генератор и до двух вводов синхронизации от внешнего генератора. Стык с целями внешней синхронизации - по Рекомендации G.703/10.
Е.5.7.11 Частота тактовых сигналов 2048 кГц±100 Гц.
Е.5.7.12 Форма и параметры импульсов - по маске импульса G.703/ рис.2.
Е.5.8 Номинальное значение относительных уровней сигнала в точках подключения ЭП к цифровому тракту должны быть минус 3,5 дБ в обоих трактах (прием/передача).
Е.6 Электрические параметры эхоподавляющих устройств
Е.6.1 Общие требования к электрическим параметрам
Е.6.1.1 Вносимое затухание на частоте 1020 Гц должно находиться в пределах 0±0,3 дБ при уровне испытательного тонального сигнала ниже 0 дБмО и не должно увеличиваться более чем на 0,2 дБ при увеличении сигнала от 0 до +5,0 дБмО.
Е.6.1.2 Суммарная мощность нелинейных искажений для синусоидального сигнала 1020 Гц на уровне 0 дБмО не должна превышать минус 34 дБмО.
Е.6.1.3 Отклонение величины затухания в режиме нейтрализации в полосе 300-3400 Гц должно быть в пределах от минус 0,2 дБ до плюс 0,3 дБ.
Е.6.1.4 Частотные искажения в полосе 300-3400 Гц от минус 0,2 до+0.3 дБ относительно вносимого затухания на частоте 1000 Гц,
Е.6.1.5 Уровень средневзвешенной псофометрической мощности шума не должен превышать минус 70 дБмО. Среднее значение невзвешенной мощности шума, вносимого эхозаградителями в полосе 300-3400 Гц не должно превышать минус 50 дБмО.
Е.6.1.6 Уровень мешающих сигналов, которые возникают от нелинейных процессов (включение, выключение) в соседних эхозаградителях и не вызывающий ложного срабатывания не должен быть более минус 65 дБмО.
Е.6.2 Электрические параметры эхозаградителей
Б.6.2.1. Номинальный уровень порога включения подавления минус 31 дБмО. Диапазон удержания режима подавления при температуре плюс 20°С находится в пределах от минус 33 дБмО до минус 29 дБмО. С учетом прочих влияющих факторов (амплитудно-частотная характеристика фильтров, колебаний питающих напряжений, включение кодеков) диапазон удержания режима подавления не должен выходить за пределы от минус 36 дБмО до минус 28 дБмО.
Е.6.2.2 Порог отключения режима подавления должен быть ниже уровня порога включения на 3 дБ.
Е.6.2.3 Время установления режима подавления эха не более 5 мс.
Е.6.2.4 Время отключения режима подавления эхосигнала не более 75 мс.
Е.6.2.5 Затухание, вносимое в тракт передачи в режиме блокировки более 50 дБ (G.164/табл.1).
Е.6.2.6. Величина затухания, вносимого в тракт приема при перебое, зависит от уровня в тракте приема в соответствии с рис. 7/G.164. Вносимое затухание при перебое должно иметь уровень 5-7 дБ при уровне сигнала в тракте приема минус 23 дБмО.
Е.6.2.7 Время включения режима полного перебоя 8-10 мс.
Е.6.2.8 Время отключения режима полного перебоя 48-66 мс.
Е.6.2.9 Защищенность эхозаградителя от ложного включения перебоя должна обеспечиваться при затухании эхотракта 4 дБ.
Е.6.2.10 Эхозаградитель должен выходить из состояния ложного перебоя, когда уровень передачи превышает уровень приема в тракте эхосигнала на величину более 3 ДБ.
Е.6.3. Требования к электрическим параметрам эхокомпенсаторов (ЭК)
Е.6.3.1 Уровень возвращенного эхосигнала в эхокомпевсаторе должен быть не более минус 65 дБмО при включенном нелинейном процессоре (ОСТ 45. 97-97, п.7.8.2).
Е.6.3.2 Уровень возвращенного эхосигнала в эхокомпенсаторе должен быть не более минус 48 дБмО при выключенном нелинейном процессоре (ОСТ 45.97-97, п.7.8.3).
Е.6.3.3 Уровень остаточного эхосигнала не должен увеличиваться более, чем на 10 дБ при переходе в режим молчания (ОСТ 45.97-97, п.7.8.8).
Е.6.3.4 Скорость схождения ЭК должна обеспечивать достижение величины эхосигнала не менее 27 дБ через 300 мс (ОСТ 45. 97-97, п.7.8.9).
Е.6.3.5. Параметры перебоя соответствуют п.п. Е.6.2.7...Е.6.2.9.
Е.7 Требования к системе контроля исправности, конструкции, электропитанию, устойчивости к воздействию внешних факторов
Е.7.1 Контроль исправности обеспечивает сигнализацию об аварии устройств электропитания, сигнализация о номере источника синхронизации, контроль превышения нормированного количества ошибок.
Е.7.2 Конструкция эхоподавляющих устройств должна обеспечивать совместимость с конструктивами стандартного оборудования и ремонтопригодность в соответствии с установленным временем ремонта.
Е.7.3 Требования к электропитанию, по устойчивости к воздействию внешних факторов, надежности, комплектации, безопасности выполняются в соответствии с РД 45.027-99 «Технические требования к эхозаградителям».
Ж.1. Подсистема автоматизированных рабочих мест телефонистов (АРМТ) должна обеспечивать возможность предоставления абонентам услуг телефонной связи с помощью телефонистов по заказной системе с исполнением заказа во время, обусловленное абонентом, или сразу по окончании приема заказа.
Ж.1.1 Аппаратно - программный комплекс подсистемы АРМТ может быть выполнен двумя способами в виде:
- внешнего аппаратно-программного комплекса с рабочими местами телефонистов в соответствии с РД 45.016-2001 "Комплекс аппаратно- программный с рабочими местами телефонистов";
- интегрированного в станцию аппаратно - программного комплекса с рабочими местами телефонистов.
Ж.1.2 Интегрированный в станцию аппаратно - программный комплекс с рабочими местами телефонистов состоит из:
- специализированного станционного модуля, который с одной стороны подключается в коммутационное поле станции, а с другой стороны по стандартному (2 ВСК, ОКС 7, PRI) или внутристанционному интерфейсу к рабочим местам телефонистов;
- рабочих мест телефонистов, состав которых приведен в Ж.8.
Ж.1.3 Программное обеспечение интегрированного в станцию аппаратно-программного комплекса с рабочими местами телефонистов распределено между станцией и рабочими местами телефонистов. В станции обычно осуществляется функция учета данных для начисления платы для вызовов, осуществленных с помощью телефонистов, сбор статистических данных для этих вызовов, коммутация вызовов от/к рабочим местам телефонистов. Программное обеспечение рабочих мест телефонистов обычно осуществляет функцию интерфейса телефониста с рабочим местом, содержит необходимые базы данных, используемые телефонистом, бланки принятых и отработанных заказов, административные функции.
Ж.2. Подсистема АРМТ должна обеспечивать перечисленные ниже возможности.
Ж.2.1 Прием и исполнение заказов на исходящие, входящие и транзитные телефонные соединения.
Ж.2.2 Предоставление дополнительных услуг телефонной связи в отдельности и в сочетании с соединением (разговором) между вызывающим и вызываемым абонентами или без соединения (разговора).
Ж.2.2.1 Дополнительные услуги, предоставляемые с соединением между абонентами:
- справка о номере телефона вызываемого абонента (по его адресу, фамилии или наименованию организации и должности вызываемого лица);
- вызов определенного лица (по фамилии, должности);
- уведомление телеграммой вызываемого лица о предстоящем разговоре с приглашением его на переговорный пункт (или к номеру телефона) в определенное время;
- уведомление с извещением, кто вызывает;
- предупреждение вызываемого лица о предстоящем соединении (разговоре) с указанием времени соединения (разговора), а в некоторых случаях, с сообщением вызываемому лицу фамилии вызывающего лица, темы разговора и последующей передачи ответа вызываемого лица вызывающему лицу;
- предоставление разговора с вызываемым лицом по одному из пяти номеров телефонов, указанных пользователем при сдаче заказа;
- оповещение абонентов об окончании заказанной продолжительности соединения (разговора);
- сообщение абоненту о продолжительности состоявшегося соединения (разговора) и стоимости исполненного заказа;
- конференц - связь с односторонним или двухсторонним соединениями;
- серия соединений (разговоров). Прием и предоставление вызывающему абоненту серии последовательных соединений (разговоров) с одним или разными населенными пунктами;
- оплата соединения (разговора) за счет вызываемого лица;
- оплата соединения (разговора) за счет третьего лица (организации) данной зоны;
- предоставление соединения (разговора) с вызываемым пунктом в заранее обусловленное время в течении заказанного периода;
- языковая помощь.
Ж.2.2.2 Услуги, предоставляемые без соединения (разговора):
- справка о номере телефона вызываемого абонента (по его адресу, фамилии или наименованию организации и должности вызываемого лица);
- телефонное сообщение. Передача телефонограммы вызываемому лицу или передача телефонограммы вызываемому лицу с последующей передачей ответа вызывающему лицу;
- циркулярное телефонное сообщение. Передача одной и той же телефонограммы нескольким вызываемым абонентам в одном или разных населенных пунктах;
- передача звукозаписи. Передача звукового письма от вызывающего абонента, записанного на магнитофоне (кассете) при приеме заказа;
- переадресовка. Изменение по просьбе вызываемого лица адреса переговорного пункта или номера телефона, к которым он приглашался ранее для входящего разговора по уведомлению;
- извещение вызываемого лица об отказе вызывающего лица от разговора с уведомлением;
- сообщение пользователю о стоимости за предполагаемое соединение (разговор) с учетом заказываемых дополнительных услуг;
- побудка - автоматический вызов в заказанное время, день недели (рабочие, выходные и праздничные);
- вызов - напоминание с передачей телефонистом заказанного сообщения;
- факс, передача данных.
Ж.2.2.3 Оплата услуг телефонной связи, предоставленных телефонистами, по отложенному платежу, по талонам, абонементам или сервисным телефонным картам.
Ж.2.3 Предоставление телефонистами услуг телефонной связи согласно приоритета обслуживания, определяемого категорией соединения и приоритетом, обозначенных телефонистом при приеме заказа, и с учетом заказанных услуг.
Ж.2.3.1 Категории соединений: "вне всякой очереди", государственные, служебные, парольные, обыкновенные.
Приоритеты вызовов - не менее 5.
Ж.2.3.2 Возможность предоставления соединения в требуемом направлении по паролю "Бедствие".
Ж.2.4 Получение информации по принятым заказам с возможностью коррекции требуемых параметров бланка заказа или аннулирования заказа.
Ж.2.5 Хранение и получение информации об отработанных (исполненных и аннулированных) заказах из оперативного архива (со сроком хранения - не менее 3-х часов).
Ж.2.6 Сбор и формирование данных для расчета с абонентами за предоставленные телефонистами соединения и дополнительные услуги, а также данных по аннулированным заказам.
Ж.2.7 Сбор и формирование данных для организации долговременного архива.
Ж.2.8 Расчет стоимости за услуги телефонной связи, предоставляемые телефонистами.
Ж.2.9 Создание базы данных, включающей необходимую информацию для обработки вызовов и организации информационно - справочной службы междугородной/международной телефонной связи.
Ж.2.10 Сбор оперативно-статистических данных по нагрузке и показателям работы телефонистов, выдачу их на печать и/или средства отображения.
Ж.2.11 Организация гибкой административной структуры коммутаторного цеха (служб и участков) с трехуровневой иерархией персонала и режимами работы:
- обработка вызова,
- административное управление,
- техническое обслуживание.
Ж.2.11.1 Предполагаемый состав служб и участков коммутаторного цеха:
- заказная служба с участком уведомления;
- междугородная (международная) служба;
- справочно-информационная служба;
- служба оперативного управления;
- служба производственного контроля;
- служба производственного обучения;
- бригадиры и начальник смены;
- участок долговременного архива.
Ж.2.11.2 Заказная служба должна выполнять следующие функции:
- прием заказов на исходящие разговоры и/или дополнительные услуги с заполнением электронного бланка;
- выдача информации по принятым и отработанным бланкам заказов на разговоры и/или дополнительные услуги.
Ж.2.11.3 На участке уведомления должна выполняться функция формирования информации для телеграфного сообщения вызываемому лицу с приглашением его на переговоры.
Ж.2.11.4 Междугородная (международная) служба должна обеспечивать:
- прием заказов на входящие и транзитные МТР с заполнением электронного бланка;
- установление исходящих, входящих и транзитных соединений.
Ж.2.11.5 Служба оперативного управления должна обеспечивать:
- создание, ввод и коррекцию файлов нормативной и справочной информации;
- создание, ввод и коррекцию файлов оперативных эксплуатационных и статистических показателей по коммутаторному цеху и переговорным пунктам.
Ж.2.11.6 Бригадир и начальник смены должны осуществлять:
- административное управление бригадой (цехом) по результатам анализа оперативных эксплуатационных и статистических показателей по бригаде (цеху), выдаваемых подсистемой;
- контроль за качеством работы телефонистов;
- помощь телефонистам в обработке вызова.
Ж.2.11.7 Служба производственного контроля должна осуществлять контроль за качеством работы телефонистов с возможностью закрытого контроля и записи разговора телефониста на магнитофон.
Ж.2.11.8 На участке долговременного архива должны осуществляться: поиск, просмотр, распечатка архивных бланков отработанных заказов на услуги телефонной связи, предоставленных телефонистами.
Срок хранения архивных бланков должен быть не менее 8 месяцев.
Ж.2.11.9 Справочно-информационная служба должна обеспечивать предоставление справочной информации абонентам зоны и телефонистам других зон с использованием базы данных подсистемы АРМТ.
Ж.2.11.10 Служба производственного обучения должна организовывать обучение телефонистов с использованием соответствующих программ подсистемы.
Ж.3. Программно-аппаратные средства подсистемы АРМТ должны обеспечивать выполнение следующих функций по обработке вызова (приему и оформлению заказа на предоставления услуг телефонной связи с последующим исполнением заказа).
Ж.3.1 Диалог персонала коммутаторного цеха с подсистемой на русском языке (кириллица и арабские цифры).
Ж.3.2 Прием и распределение вызовов, поступивших от абонентов зоны и телефонистов переговорных пунктов зоны, по определенным группам (бригадам) АРМТ на основе анализа следующих параметров:
- номера службы (для международной службы еще цифры языка), набранных вызывающим абонентом или телефонистом переговорного пункта;
- категории абонентского устройства, полученных от АОН АТС.
Ж.3.3 Прием и распределение вызовов с входящих междугородных телефонных каналов (автоматических и ручных) по определенным группам (бригадам) АРМТ.
Ж.3.4 Организация очередей входящих вызовов по службам.
Ж.3.5 Постановка входящего вызова на ожидание освобождения АРМТ с подачей вызывающему абоненту или телефонисту сигнала "контроль посылки вызова" или механического голоса ("ждите").
Ж.3.6 Оперативное закрепление АРМТ по группам и службам в соответствии с направлениями связи.
Ж.3.7 Организация очередей телефонистов в группах с целью равномерного распределения нагрузки.
Ж.3.8 Направление вызова из очереди на освободившееся АРМТ согласно принципу "первым пришел - первым обслужен".
Ж.3.9 Автоматическое перераспределение вызовов (или бланков заказов) на свободное АРМТ в случае неответа телефониста за контрольный период, задаваемый администрацией коммутаторного цеха.
Ж.3.10 Автоматическая блокировка АРМТ при неответе телефониста на поступление вызовов / бланков.
Ж.3.11 Вывод вызова (или бланка заказа) на АРМТ одним из способов:
- по команде телефониста;
- автоматически по освобождению АРМТ.
Способ должен задаваться администрацией коммутаторного цеха.
Ж.3.12 Выдача оповещения при поступлении входящего вызова на АРМТ:
- телефонисту посредством индикации на терминале и/или тональным сигналом в гарнитуре;
- телефонистам посредством зуммерного сигнала от прибора общего оповещения.
Ж.3.13 Формальный и логический контроль за действиями телефониста с информированием его (на русском языке) о допущенных ошибках и последующих действиях на любом этапе обработки вызова.
Ж.3.14 Автоматическое внесение в бланк заказа:
- личных номеров телефонистов, осуществлявших обработку вызова, коррекцию параметров бланка заказа и аннулирования заказа;
- даты и времени приема, обработки вызова, коррекции реквизитов заказа и аннулирования заказа;
- номера заказа.
Ж.3.15 Запись и отображение в бланке заказа информации о заказанных и предоставленных дополнительных услугах (п.2.2).
Ж.3.16 Проверка соответствия кодов вызываемых пунктов, обозначенных телефонистом, с наименованиями этих пунктов и преобразование наименования населенного пункта в код.
Ж.3.17 Получение телефонистом справочной информации из базы данных о:
- категории соединения и параметре приоритета вызова по номеру телефона вызывающего абонента, фамилии вызывающего абонента, паролю и номеру удостоверения с последующим вводом этих параметров в бланк заказа;
- номерах телефонов переговорных пунктов ТФОП;
- кодах междугородных / международных и внутризоновых;
- разнице во времени;
- номерах телефонов персонала служб предприятий связи ВСС РФ;
- наличии номера телефона вызывающего абонента в "черном списке".
Ж.3.18 Проверка телефонистом по справочной базе данных права абонента на ведение разговора:
- по паролю и категории (в том числе служебной);
- по талону, абонементу, сервисной телефонной карте.
Ж.3.19 Прием и оформление бланка заказа на предоставление услуг телефонной связи по заказной системе обслуживания в обусловленное абонентом время (текущий период, определенное время, последующие сутки) с учетом категории соединения, приоритета вызова, требуемого направления связи и заказанных дополнительных услуг.
Ж.3.20 Присвоение дополнительного номера заказа по команде телефониста.
Ж.3.21 Ввод и запись следующих данных при оформлении заказа:
- номер телефона вызывающего абонента;
- вызываемый номер телефона (до 18 знаков номера телефона и до пяти номеров телефонов);
- код и наименование вызываемого пункта;
- категория соединения;
- приоритет вызова;
- заказываемые дополнительные услуги (п.2.2);
- форма оплаты;
- номер телефона третьего абонента (при услуге оплата третьим лицом);
- пароль;
- срочность предоставления соединения (разговора/ дополнительных услуг);
- данные о талоне, абонементе, сервисной телефонной карте;
- наименование организаций или учреждения в вызываемом пункте;
- должность вызываемого лица;
- фамилия вызываемого лица;
- почтовый адрес вызываемого лица;
- фамилия вызывающего лица;
- текст сообщений для передачи вызываемому лицу;
- время предоставления соединения;
- пояснения, необходимые для обслуживания заказа или установления соединения;
- номер телефона абонента, оплачивающего предоставленные услуги телефонной связи.
Ж.3.21.1 При приеме заказа с переговорного пункта (дополнительно):
- номер переговорного пункта;
- номера телефонов переговорного пункта (до 5 телефонов);
- предварительно оплаченная продолжительность соединения;
- сумма предварительной оплаты заказа (аванс);
- номер заказа, присвоенный на переговорном пункте;
- время приема заказа от клиента;
- личный номер телефониста переговорного пункта.
Ж.3.21.2 При заказе из гостиницы дополнительные данные:
- название гостиницы;
- номер комнаты вызывающего абонента;
- номер телефона гостиницы;
- фамилия вызывающего абонента.
Ж.3.21.3 Фиксирование в бланке заказа номера телефона вызывающего (вызываемого) абонента после установления соединения с абонентским устройством вызывающего (вызываемого) абонента.
Ж.3.22 При превышении времени задержки в обслуживании заказов более установленного времени, заказы должны перераспределяться к выделенным АРМТ (группы переполнения и восстановления).
Ж.3.23 Организация очередей бланков заказов:
- принятых по направлениям, дню, времени исполнения с учетом категории соединения, приоритета вызова (задержанные заказы при заказной системе обслуживания);
- отправленных телефонистами на повторное обслуживание (отложенные заказы при немедленной или заказной системах обслуживания);
- принятых на входящие и транзитные соединения;
- отложенных телефонистами на короткое время до 15 мин при немедленной или заказной систем обслуживания;
- требующих повторного обслуживания после предоставления соединения.
Ж.3.24 Подготовка бланка заказа с услугой "уведомление" для отправки телеграммы; внесения дополнительной информации и служебных отметок для последующего исполнения.
Ж.3.25 Кратковременное отключение телефониста по его команде от входящего вызова или бланка заказа для обслуживания другого вызова или внутреннего (служебного) вызова.
Ж.3.26 Блокировка АРМТ от входящих вызовов:
- по команде телефониста ("Перерыв");
- от системы при неисправности АРМТ.
Ж.3.27 Подключение вызывающего абонента к автоинформатору по команде телефониста.
Ж.3.28 Перенаправление входящего вызова (или заполненного бланка) по команде телефониста к другой группе телефонистов (иди другому телефонисту).
Ж.3.29 Распределение бланков заказов из очередей по АРМТ междугородной службы.
Ж.3.30 Отправление бланка заказа по команде телефониста для повторного обслуживания с возможностью автоматической записи количества попыток и причины повторного обслуживания.
Ж.3.31 Возможность кратковременного отключения микрофона телефонистом во время обработки вызова.
Ж.3.32 Установление соединений телефонистом с обеспечением:
- автоматизированного набора номеров абонентских устройств вызывающего и вызываемого абонентов;
- раздельного разговора телефониста с абонентами;
- разговора телефониста одновременно с обоими абонентами (не более 1 минуты);
- соединения между абонентскими устройствами вызывающего и вызываемого абонентов;
- контроля телефонистом качества слышимости разговора (не более 5 секунд);
- повторной посыпки вызова после получения сигнала "отбоя";
- учета продолжительности соединения;
- разъединения соединений на любом этапе;
- освобождения АРМТ от установленного соединения (разговора) отправлением в систему или удержанием за данным АРМТ;
- подключения телефониста к удержанному разговору / соединению.
Ж.3.32.1 Автоматическое отключение телефониста при превышении времени контроля качества слышимости более 5 с.
Ж.3.32.2 Подача сообщения администратору (в виде распечатки) при превышении времени разговора телефониста с обоими абонентами более 1 минуты.
Ж.3.33 Выдача необходимых информационно-акустических сигналов на АРМТ телефониста и отображение на экране следующих состояний соединения:
- занятость (местная, междугородная);
- абонент свободен;
- ответ абонента;
- отбой абонента;
- разъединение при отбое вызывающего абонента (при входящем вызове от абонента);
- разъединение соединения телефонистом.
Ж.3.34 Начало учета продолжительности соединения после соединения между абонентскими устройствами вызывающего и вызываемого абонентов:
- по команде телефониста до истечения времени контроля качества слышимости (5 с),
- автоматически по истечении времени контроля качества слышимости.
Ж.3.35 Прекращение измерения продолжительности соединения:
- при отбое вызывающего или вызываемого абонентов;
- при вмешательстве телефониста в соединение;
- по истечении заданной (оплаченной) продолжительности соединения.
Ж.3.35.1 Учет продолжительности соединения после завершения вмешательства телефониста должен быть продолжен.
Ж.3.36 Освобождение АРМГ от установленного соединения по команде телефониста:
- отправлением соединения в систему для последующего автоматического обслуживания (без вывода информации о состоянии соединения);
- удержанием соединения за АРМТ с выводом на экран рабочего места информации о состоянии соединения.
Ж.3.37 Удержание за одним АРМТ не менее шести-восьми соединений или бланков заказов.
Ж.3.38 Подключение по команде телефониста к одному из удержанных соединений (бланков) без освобождения АРМТ от вызова или бланка, находящегося на обслуживании, с целью:
- контроля установленного соединения (не более 5 с);
- последующего обслуживания.
Ж.3.39 Автоматическое разъединение установленных соединений (из числа отправленных в систему):
- по истечении заданной продолжительности разговора (с подачей предупредительного сигнала разговаривающим абонентам);
- при отбое вызывающего абонента;
- при отбое вызываемого абонента.
Ж.3.40 Вывод на экран АРМТ с соответствующими сообщениями установленных соединений (из числа отправленных в систему):
- для сообщения абоненту об истечении предварительно заданной (оплаченной) продолжительности разговора за 30 с до истечения срока;
- для повторного контроля качества слышимости (через заданные промежутки времени);
- при продолжительности разговора более 30 минут;
- при получении сигнала "отбоя" от одного из абонентов до истечения предварительно заданной (оплаченной) продолжительности разговора.
В случае занятости всех АРМТ должно обеспечиваться сообщение на экране о необходимости подключения телефониста к установленному соединению.
Ж.3.41 Вывод на экран АРМТ с соответствующими сообщениями бланков исполненных заказов (соединения были отправлены в систему):
- для сообщения вызывающему абоненту о стоимости и продолжительности состоявшегося соединения (разговора) с учетом предоставленных услуг;
- для предоставления следующего соединения (разговора) из заказа с услугой "Серия разговоров";
- для сообщения администрации гостиницы о стоимости предоставленных услуг телефонной связи клиенту гостиницы;
- при продолжительности разговора менее 60 с.
В случае занятости всех АРМТ должно обеспечиваться сообщение на экране о необходимости подключения телефониста по вышеперечисленным причинам.
Ж.3.42 Аннулирование заказа телефонистом при обработке вызова с внесением в бланк причины аннулирования заказа и информации для последующей оплаты предоставленных услуг при обработке вызова.
Ж.3.43 Аннулирование принятого заказа при:
- отказе вызывающего абонента от заказа в момент соединения или до момента установления соединения;
- отказе вызывающего абонента от заказа из-за:
1) неответа вызываемого абонента;
2) отсутствия вызываемого лица;
3) несвоевременного предоставления соединения (при услуге "определенное время");
4) занятости вызываемого абонентского устройства;
- отказе вызываемого абонента от соединения;
- возникновении следующих причин:
1) нет такого адреса;
2) не такого номера телефона;
3) почта не доставила телеграмму (заказ с уведомлением);
4) повреждение станционного или линейного оборудования;
5) из-за невозможности наведения справки;
6) испорчен телефон;
7) неответ вызывающего абонента;
8) по истечении 24 часов.
Ж.3.44 Создание из отработанных (исполненных и аннулированных) бланков заказов оперативного архива (не менее 3-х часов) с возможностью доступа персонала,
Ж.3.45 Поиск требуемого бланка заказа (отработанного, задержанного или отложенного) по следующим реквизитам:
- номеру заказа;
- номеру телефона вызывающего абонента;
- номеру телефона вызывающего и номеру телефона вызываемого абонента;
- периоду времени.
Ж.3.46 Возможность по найденным бланкам с исполненными заказами:
- просмотра копии бланка заказа;
- определения стоимости предоставленных услуг телефонной связи по данному заказу;
- внесения поправок- дополнений по изменению продолжительности соединения и стоимости предоставленных услуг телефонной связи с сохранением первоначальных данных (только на рабочем месте бригадира);
- распечатки найденного бланка (по команде телефониста).
Ж.3.47 Запрет по отработанным бланкам на:
- аннулирование заказов;
- установление соединения между абонентскими устройствами по номерам телефонов, записанных в бланке;
- коррекцию следующих реквизитов бланка заказа:
1) номера телефона вызывающего абонента;
2) номера телефона вызываемого абонента;
3) категории соединения и приоритета вызова;
4) состава предоставленных услуг;
5) тарифицируемой продолжительности разговора.
Ж.3.48 Обеспечение по найденным бланкам с неисполненными заказами:
- подключения телефониста по его команде к бланку для обслуживания по данному заказу;
- коррекции телефонистом реквизитов бланков заказов.
Ж.3.49 Оформление заказа на предоставление услуг телефонной связи на "чистом" бланке без входящего вызова.
Ж.3.50 Распечатка бланка заказа по команде телефониста на любом этапе обработки вызова.
Ж.3.51 Запрет на подключение телефониста к установленному соединению с услугой "факс" или "передача данных".
Ж.3.52 Установление служебного (внутреннего) разговора на любом этапе обработки вызова.
Ж.3.53 Заполнение и коррекция реквизитов бланка заказа с использованием программируемых клавиш.
Ж.3.54 Начало учета продолжительности рабочего времени телефониста после идентификации, а окончание учета по команде телефониста.
Ж.3.55 Пересменка телефонистов без прерывания обработки вызова и с сохранением удержанных соединений.
Ж.3.56 Обеспечение трансляции на рабочее место телефониста при установлении соединения к абонентскому устройству (цифровой АТС), занятому местным, или междугородным, или международным соединением, сигналов:
- акустического "Ожидание" (не более 30 с);
- линейного и акустического "Занято" (по истечении 30 с и до разъединения со стороны телефониста);
- линейного "Отбой" или "Отбой - Ответ" (до истечения 30 с при освобождении абонентского устройства от местного, междугородного или международного вызова в пользу вызова, поступившего от телефониста).
Ж.4. Предполагаемый состав справочной информации подсистемы АРМТ
Ж.4.1 По междугородной телефонной связи.
Ж.4.1.1 Справочные данные по междугородной сети по каждому населенному пункту должен содержать:
- аббревиатуру названия города и области;
- название города и области;
- код зоны;
- название населенного пункта;
- внутризоновый код;
- номера телефонов городской справочной службы;
- номера телефонов начальников смен;
- номера телефонов технического персонала;
- тарифы за разговоры и дополнительные услуги (по категориям пользователей) с указанием диференцирования по часам суток и дням недели и срочности предоставления услуги;
- разницу во времени;
- льготное время;
- телефон для справок;
- отметку наличия исходящей автоматической связи.
Ж.4.1.2 Картотека отделений связи и переговорных пунктов должна содержать:
- аббревиатуру города (областного центра);
- название города (областного центра);
- название населенного пункта;
- номер почтового отделения связи с отметкой о наличии переговорного пункта;
- район обслуживания;
- номер телефона переговорного пункта;
- режимы работы переговорных пунктов с учетом разницы во времени;
- адреса переговорных пунктов и отделений связи;
- телеграфный код;
- режим работы переговорного пункта.
Ж.4.1.3 Картотека адресов и номеров телефонов абонентских участков должна содержать:
- название абонентского участка;
- номера АТС;
- адрес абонентского участка;
- номера телефонов абонентского участка.
Ж.4.1.4 Картотека АТС, абоненты которых должны набирать собственный номер при междугородной / международной связи, должна содержать:
- номер АТС;
- группы номеров телефонов.
Ж.4.1.5 Картотека приоритетных абонентов должна содержать по каждому приоритетному абоненту:
- пароль;
- название организации (предприятия);
- адрес предприятия;
- фамилию приоритетного абонента;
- номер телефона;
- перечень номеров удостоверений, дающих право на приоритетное обслуживание;
- список депутатского корпуса.
Ж.4.2 По международной телефонной связи.
Ж.4.2.1 Картотека кодов стран и городов должна содержать:
- аббревиатуру названия города, страны;
- название города и страны;
- номера телефонов справочной службы в стране, городах;
- номера телефонов технического персонала;
- номера телефонов администрации связи;
- тарифы за разговоры и дополнительные услуги (по категориям пользователей) с указанием диференцирования по часам суток и дням недели и срочности предоставления услуги;
- разницу во времени;
- льготное время,
Ж.4.3 Картотека талонов (абонементов). Картотека талонов должна содержать:
- номер талона;
- дату и место продажи;
- название вызываемого города;
- оплаченную продолжительность;
- сумму;
- личные номера телефонистов, передавших и принявших информацию по талону;
- дату предоставления соединения;
- продолжительность соединения,
- остаток суммы;
- служебные отметки.
Ж.4.4 Картотека телефонов гостиниц
Картотека телефонов гостиниц должна содержать:
- название гостиницы;
- номера телефонов;
- номера комнат или наименование службы.
Ж.4.5 Перечень дополнительных услуг.
Перечень дополнительных услуг должен содержать:
- аббревиатуру услуги (служебная отметка);
- название услуги;
- стоимость услуги.
Ж.4.6 Перечень аббревиатур для выполнения заказа.
Перечень аббревиатур может включать аббревиатуры по следующим реквизитам бланка:
- категории соединения;
- причина аннулирования заказа;
- тип оплаты;
- выполненные услуги;
- пароли.
Ж.4.7 Черный список.
Черный список, должен содержать:
- номер абонентского устройства;
- причину внесения в черный список.
Ж.5 Регистрация данных, связанных с приемом и обработкой вызовов (заказов)
Ж.5.1 На экране видеотерминала АРМТ должна отображаться минимальная информация для каждой фазы обслуживания вызова.
Телефонист должен иметь возможность запросить подробную информацию по бланку обслуживаемого заказа.
Ж.5.2 Для входящих вызовов, поступающих на АРМТ, должна генерироваться форма бланка заказа с внесением следующих данных:
- категории абонентского устройства;
- номера телефона вызывающего абонента (полученного от АОН АТС);
- времени приема вызова;
- личного номера телефониста, обслуживающего вызов;
- информация о поступлении вызова от телефониста при входящей связи;
- номер телефона прямого абонента, номер внутреннего телефона.
Ж.5.3 В данных о заказе должна содержаться подробная информация:
- о вызывающей стороне;
- о вызываемой стороне;
- о третьей стороне, оплачивающей предоставленные услуги телефонной связи (номер абонентского устройства третьего пользователя, номер расчетного счета и т.д.);
- текст;
- комментарии.
Ж.5.3.1 Данные о вызывающей стороне должны содержать:
- номер бланка заказа;
- номер телефона вызывающего абонента;
- номер телефона вызывающего телефониста;
- тип оплаты (отложенный платеж, в счет аванса, за наличный расчет, по личному счету, по талону, абонементу, сервисной телефонной карте, по кредитной карте, по договору );
- категорию соединения;
- пароль вызывающего абонента;
- приоритет вызова;
- тариф (обыкновенный, срочный);
- номер бланка заказа, заданный телефонистом;
- время приема заказа - время, когда телефонист в первый раз заполнял бланк заказа;
- категорию абонентского устройства вызывающего абонента;
- обозначение, что заказ на исходящее / входящее соединение (с услугами или без);
- обозначение, что заказ на услуги без соединения;
- код отказа от заказа (при аннулировании заказа);
- причину отказа от заказа;
- продолжительность разговора, заказанная вызывающим абонентом;
- время исполнения заказа, согласованное с абонентом;
- время последнего обслуживания заказа;
- личные номера телефонистов (два первых и четыре последних), принимавших участие в обработке вызова;
- систему обслуживания заказа (заказная или немедленная);
- заказ с услугой "серия";
- аванс, предварительно внесенный абонентом за заказ;
- перечень заказанных дополнительных услуг;
- фамилию вызывающего лица (не менее 40 знаков);
- номера телефонов кабин переговорного пункта;
- номер телефона телефониста переговорного пункта;
- номер заказа, присвоенный при приеме на переговорном пункте.
Ж.5.3.2 Данные о вызываемой стороне должны содержать:
- информацию о вызываемых абонентах при конференц-связи (разговор будет односторонний или двухсторонний, кто оплачивает МТР, кто является ведущим конференц-связи);
- номер телефона вызываемого абонента (от двух до пяти номеров);
- номер телефона вызываемого телефониста;
- тариф (обыкновенный, срочный);
- маршрутный код вызываемого населенного пункта;
- приоритет обслуживания;
- коды предоставленных дополнительных услуг;
- отметку об аннулировании заказа;
- время начала разговора (день, месяц, час, минута, сек);
- время окончания разговора (день, месяц, час, минута, сек);
- фактическую продолжительность разговора;
- тарифицируемую продолжительность разговора (округленную);
- время, когда разговор был продолжен после последнего вмешательства телефониста;
- фамилию (должность) вызываемого абонента (не менее 40 знаков);
- адрес вызываемого абонента (не менее 60 знаков);
- номера телефонов кабин переговорного пункта;
- номер телефона телефониста переговорного пункта;
- станционный номер оборудования исходящего комплекта.
Ж.5.3.3 Дополнительные данные по заказу должны содержать:
- номер телефона, с которого был сделан заказ;
- номер телефона абонента, оплачивающего соединение (при оплате вызываемым или третьим лицом);
- количество повторных обслуживании заказа;
- причины повторных обслуживании;
- данные лицевого счета, договора;
- количество подключений телефонистов к разговору (для контроля качества слышимости);
- суммарное время подключения телефонистов к соединению; общая продолжительность обработки вызова (заказа);
- номер рабочего места, на котором в последний раз состоялось обслуживание заказа;
- личный номер телефониста, производившего аннулирование заказа;
- личный номер телефониста, производившего коррекцию реквизитов заказа;
- личный номер телефониста, производившего прием заказа на переговорном пункте;
- номер переговорного пункта;
- общую вычисленную стоимость заказа (соединение с учетом предоставленных дополнительных услуг или без соединения только предоставленные услуги);
- разницу между суммой предварительной оплаты заказа и общей стоимостью выполненного заказа;
- общее количество поправок.
Ж.5.3.4 Текст и комментарии должны содержать:
- текст, который необходимо передать вызываемому абоненту (например, текст телефонограммы и т.д.) (не менее 120 знаков);
- пояснения и служебные отметки, необходимые при обслуживании вызова.
Ж.5.3.5 Поправки и дополнения (Ж.3.46), внесенные бригадиром при обработке вызова или по окончанию обработки вызова, должны содержать указание причин внесения поправок.
Ж.5.3.6 Информация о третьей стороне (не участвующей в соединении), должна содержать те же данные, что и о вызывающем абоненте.
Ж.5.3.7 При услуге "Конференц-связь" (более трех участников) должна содержаться информация о каждом участнике конференции с данными аналогичными, что и о вызываемом абоненте в обычном заказе.
Ж.5.3.8 Пояснение (комментарии) могут содержать служебные отметки, необходимые при обслуживании вызова.
Ж.6 Программно-аппаратные средства подсистемы АРМТ должны обеспечивать выполнение функций служебной (внутренней) телефонной связи персонала.
Ж.6.1 Организация служебной (внутренней) телефонной связи между рабочими местами по:
- личному номеру телефониста;
- номеру рабочего места.
Ж.6.2 Постановка служебного (внутреннего) телефонного вызова на ожидание при занятости телефониста до:
- ответа вызываемого телефониста;
- отбоя вызывающего телефониста.
Ж.6.3 Вывод на экран рабочего места телефониста информации о том, кто вызывает.
Ж.6.4 Вызов бригадира / телефониста для:
- передачи на вызываемое АРМТ копии экрана вызывающего АРМТ;
- параллельного подключения бригадира / телефониста к вызывающему АРМТ;
- передачи с вызывающего АРМТ на вызываемое АРМТ вызова / бланка для последующего обслуживания.
Ж.7 Программно-аппаратные средства подсистемы АРМТ должны обеспечивать выполнение следующих функций административного управления.
Ж.7.1 Организация административной структуры коммутаторного цеха со штатом, исполняющим функции:
- начальника цеха;
- начальника смены;
- бригадира;
- телефониста обслуживания нагрузки;
- инструктора;
- ученика;
- телефониста производственного контроля;
- оператора технического обслуживания.
Ж.7.2 Ведение списка штата с данными по каждому работнику:
- личный номер;
- фамилия;
- пароль;
- номер группы обслуживания (бригады), в которой телефонист может работать;
- должность работника (телефонист, бригадир, начальник смены или персонал по техническому обслуживанию);
- квалификация телефониста;
- номер для внутренней (служебной) телефонной связи.
Ж.7.3 Организация списков групп обслуживания (бригад) из находящихся в работе АРМТ с отображением состояния АРМТ (свободно, занято, заблокировано системой, заблокировано телефонистом от входящих вызовов).
Ж.7.4 Закрытый контроль за работой телефониста с отображением копии экрана контролируемого АРМТ и одновременным контролем разговора телефониста (с возможностью записи на магнитофон разговора контролируемого телефониста).
Ж.7.5 Передача текстового сообщения на экраны телефонистов от бригадира или начальника смены.
Ж.7.6 Создание, ввод и коррекция файлов нормативной и справочной информации.
Ж.7.7 Просмотр количества принятых бланков заказов по дню и времени исполнения.
Ж.7.8 Управление очередями групп обслуживания с учетом следующих данных:
- классов вызовов, закрепленных за группой обслуживания;
- количества вызовов, ожидающих в очередях к данной группе обслуживания (бригаде);
- среднего времени ожидания в очередях, группой обслуживания (бригадой).
Ж.7.9 Управление очередями бланков заказов с учетом следующих данных:
- количества бланков заказов в интервале времени;
- заданных интервалов времени;
- количества необслуженных бланков заказов (из предыдущего интервала времени);
- максимального времени ожидания в очереди на обслуживание.
Ж.7.10 Организация контроля за очередями вызовов и бланков заказов на рабочих местах бригадира и начальника смены.
Ж.7.11 Передача сигнала об "аварии" на рабочие места бригадиров и/или начальника смены для принятия оперативных решений при:
- превышении времени ожидания ответа телефонистов;
- превышении времени обслуживания заказов.
Ж.7.12 Управление выдержками времени для функций:
- задержка ответа телефониста;
- превышение времени контроля качества слышимости;
- превышение времени одновременного разговора телефониста с обоими абонентами;
- истечение времени при ограниченной продолжительности разговора.
Ж.7.13 Учет продолжительности рабочего времени телефонистов (персонала) во все периоды работы согласно:
- личного номера работника;
- фамилии работника;
- времени идентификации;
- времени окончания работ;
- суммарного времени работы за определенный период.
Ж.7.14 Учет выработки телефонистов любой службы во все периоды работы согласно:
- личного номера телефониста;
- фамилии телефониста;
- продолжительности работы.
Ж.7.14.1 Данные по выработке телефонистов:
- количество вызовов, поступивших к телефонисту;
- количество принятых заказов;
- количество исполненных заказов.
Результаты должны распечатываться в виде отчетов.
Ж.7.1.4.2 Данные по выработке телефонистов службы производственного контроля:
- личные номера проконтролированных телефонистов;
- номера проконтролированных рабочих мест;
- дата и время проведения контроля;
- продолжительность проведения контроля;
- отметка о записи на магнитофон разговора контролируемого телефониста.
Ж.7.15 Сбор статистических данных по нагрузке и показателям работы телефонистов за заданный период времени.
Результаты должны распечатываться в виде отчетов.
Ж.7.16 Состав требуемых статистических данных:
- количество вызовов, поступивших от пользователей;
- количество вызовов, получивших отказ;
- количество вызовов, которым отказано по истечении установленного времени (более - 30 сек.);
- количество вызовов, поступивших на АРМТ;
- количество ответов телефонистов до 15 секунд;
- количество ответов в течение периода от 15 до 30 секунд;
- количество принятых заказов за заданный период времени (по направлениям);
- количество исполненных заказов за заданный период времени (по направлениям);
- количество аннулированных заказов (по направлениям) с учетом периода измерения;
- количество принятых заказов с начала текущих суток;
- количество заказов, задержанных в исполнении с превышением контрольного времени;
- количество выданных абонентам справок по принятым заказам.
Ж.7.17 Сбор объемно-качественных показателей технологического процесса обработки вызовов путем измерения за контрольный период времени по соответствующей команде:
- по очередям;
- по телефонистам.
Ж.7.17.1 Измерения в очередях по:
- входящим вызовам;
- исходящим вызовам;
- задержанным вызовам на определенные периоды времени текущих суток (с учетом направления);
- задержанным вызовам на определенные периоды времени последующих суток (с учетом направления);
- отложенным вызовам до 15 - 30 минут;
- группам услуг;
- приоритетам;
- внутренним (служебным) вызовам;
- телефонистам.
Ж.7.17.2 Измерения в очередях с оценкой следующих данных:
- количество вызовов, находящихся в очереди;
- количество вызовов, поступивших в очередь за контрольное время;
- количество вызовов, переданных на АРМТ;
- количество вызовов, необслуженных из-за перегрузки очереди или ее блокировки;
- времени ожидания в очереди (в секундах).
Ж.7.17.2.1 Оценка времени ожидания в очередях входящих вызовов, задержанных и отложенных бланков заказов с учетом следующих пределов:
- допустимого;
- приближающегося к допустимому;
- превышающего не более чем на пять процентов допустимого предела;
- больше допустимого предела (аварийная ситуация);
- блокировки очереди.
Ж.7.17.3. Измерения по телефонистам в течении периода измерений с получением информации для последующей оценки:
- по состояниям рабочего места телефонистов (в количественном и процентном отношении);
- по операциям, производимым телефонистом при обработке вызовов.
Ж.7.17.3.1 Для оценки по состояниям, в которых данное АРМТ находится в течении периода измерения, должно обеспечиваться получение информации по следующим параметрам:
- количество нормальных выключений АРМТ;
- количество выключений АРМТ (во время обработки вызова);
- количество автоматических блокировок АРМТ;
- продолжительность работы телефониста за данным АРМТ;
- количество освобождений АРМТ после обработки вызовов (состояние "свободно");
- нахождение АРМТ в состоянии "свободно" (в процентах);
- количество обслуженных вызовов;
- отношение времени, когда рабочее место было в состоянии обслуживания вызовов, к общему времени работы телефониста за данным РМТ (в процентах);
- общее время блокировки АРМТ от обработки вызовов;
- отношение общего времени блокировки АРМТ от обработки вызовов к общему времени работы телефониста за данным АРМТ (в процентах);
- количество внутренних (служебных) вызовов;
- отношение общего времени обработки служебных вызовов к общему времени работы телефониста за данным АРМТ;
- количество обращений телефониста к базе данных (картотекам);
- отношение общего времени обращения телефониста к базе данных к общему времени работы телефониста за РМТ (в процентах);
- количество раз, когда телефонист контролировал установленное соединение;
- отношение общего времени контроля телефонистом установленных соединений к общему времени работы телефониста за АРМТ (в процентах).
Ж.7.17.3.2 Для оценки по событиям, связанным с рабочим местом телефониста, должно обеспечиваться получение информации по различным действиям, предпринятым телефонистом во время обработки вызовов.
Состав возможных действий телефониста при обработке вызова:
- соединение абонентов АБ;
- соединение телефониста с абонентом А, Б или С;
- контроль телефонистом установленного соединения АБ;
- вызов "чистого" бланка;
- распечатка бланка заказа;
- вызов копии бланка заказа с услугой "серия" или "по договору",
- набор номера телефона абонента А;
- набор номера телефона абонента Б;
- разговор с абонентом А;
- разговор с абонентом Б;
- набор номера телефона абонента С;
- разговор с абонентом С;
- удержание вызова за РМТ;
- удержание бланка за РМТ;
- освобождение РМТ;
- передача вызова на другое РМТ;
- ввод / изменение приоритета;
- ввод / изменение категории соединения;
- запрос о возможном времени предоставления соединения;
- коррекция данных требуемого времени предоставления соединения;
- причины откладывания вызова;
- поиск отложенного / задержанного бланка заказа;
- запрос информационной части найденного бланка;
- коррекция времени предоставления соединения в найденном бланке;
- коррекция информационной части найденного бланка заказа;
- коррекция приоритета вызова;
- коррекция номера телефона абонента А;
- коррекция номера телефона абонента Б;
- подключение к найденному бланку заказа;
- набор номера телефона абонента А по найденному бланку заказа;
- набор номера телефона абонента Б по найденному бланку заказа;
- разъединение с абонентом А;
- разъединение с абонентом Б;
- аннулирование заказа при отказе абонента А;
- аннулирование заказа из- за отказа абонента Б;
- аннулирование заказа телефонистом;
- поиск отработанного бланка заказа;
- ввод изменений стоимости в отработанном и найденном бланке заказа;
- установление внутреннего (служебного) соединения;
- передача копии бланка заказа на вызванное АРМТ при внутреннем соединении;
- передача вызова на вызванное РМТ при внутреннем соединении;
- наблюдение телефонистом за установленным соединением;
- выдача информации о стоимости предоставленных услуг телефонной связи и продолжительности состоявшегося соединения;
- получение сигнала отбоя от вызывающего абонента (при входящем соединении).
Примечание - При разработке алгоритмов обработки вызовов должны быть уточнены этапы (операции) обработки вызовов.
Ж.8 Требования к рабочему месту
Ж.8.1 Рабочее места персонала должно быть универсальным. Оно должно обеспечивать работу персонала любого иерархического уровня.
Ж.8.2 Рабочее место должно быть построено на базе ПЭВМ и укомплектовано процессором ПЭВМ, монитором (дисплеем); клавиатурой; дисководами, микротелефонными гарнитурами (2-мя).
Ж.8.3 Клавиатура должна состоять из следующих групп клавиш:
- ввода символов;
- редактирования;
- управления соединениями;
- функциональных клавиш;
- запрограммированных клавиш;
- тастатуры.
Ж.8.3.1 Клавиши ввода символов должны состоять из букв русского и латинского алфавита, арабских цифр и специальных символов, обеспечивающих запись команд и текстов.
Ж.8.3.2 Клавиши редактирования должны обеспечивать выполнение операций, связанных с управлением курсора и редактированием текста.
Ж.8.3.3 Клавиши управления соединениями должны обеспечивать:
- прием вызова;
- подключение к вызову;
- установление соединения (раздельного) с абонентским устройством абонента (А; Б и С);
- установление соединения между абонентскими устройствами абонентов А и Б;
- подключение к установленному соединению абонентов А и Б (кнференц-связь 3-х абонентов);
- контроль качества слышимости;
- повторную посылку вызова абонентам;
- раздельный разговор с абонентами;
- разъединение соединения с абонентскими устройствами абонентов А и Б;
- освобождение АРМТ;
- начало отчета продолжительности разговора;
- удержание вызова / бланка за АРМТ;
- подключение к удержанному вызову или бланку;
- подключение к внутреннему (служебному) вызову;
- установление соединения со служебным абонентом;
- разъединение соединения со служебным абонентом.
Ж.8.3.4 Запрограммированные клавиши должны обеспечивать необходимые функции обработки вызова с учетом фазы обслуживания или контроля за работой телефонистов.
Текущее состояние запрограммированной клавиши должно отображаться на экране.
Ж.8.3.5 Функциональные клавиши должны состоять из клавиш со специальными функциями:
- включение / выключение тонального сигнала, привлекающего внимание телефониста при автоматическом поступлении вызова на АРМТ;
- включение / выключение видеотерминала;
- включение / выключение сигнала оповещения;
- кратковременное откладывание вызова / бланка;
- ввод команд;
- начало распечатки;
- передача вызова / бланка на другое рабочее место;
- запрос местного банка данных;
- блокирование АРМТ от входящих вызовов;
- вызов бригадира для помощи;
- кратковременное отключение микрофона;
- вызов "чистого" бланка.
Ж.8.3.5.1 В состав функциональных клавиш должны входить клавиши, обеспечивающие работу персонала в режимах административного управления и технического обслуживания.
Ж.8.4 Клавиши тастатуры должны обеспечивать запись цифровой информации (номеров телефонов) в бланке заказа.
Ж.8.5 Микротелефонная гарнитура телефониста должна быть гигиеничной (т.к. является индивидуальным средством пользования), легкой и не утомлять телефониста. У гарнитуры должен быть регулятор громкости и надежный разъем подключения. Параметры гарнитуры должны удовлетворять требованиям приведенным ниже.
Ж.8.5.1 Выход гарнитуры должен быть четырехпроводный.
Ж.8.5.2 Напряжение на выходе электроакустического тракта передачи должно быть не менее 700 мВ.
Ж.8.5.3 Модуль полного электрического сопротивления электроакустического тракта приема на частоте 1000 Гц должен быть не менее 600 Ом.
Ж.8.5.4 Коэффициент приема электроакустического тракта на частоте 1000 Гц должен быть не менее 8 Па/В.
Ж.8.5.5 Слоговая разборчивость при уровне шума в помещении приема, равном 60 дБ, должна быть не менее 80 %.
Ж.8.5.6 Конструкция гарнитуры должна удовлетворять требованиям рекомендации Р51 МСЭ-Т.
Ж.8.5.7 Масса гарнитуры должна быть не более 40 грамм.
Ж.8.6. Подача тонального сигнала с целью привлечения внимания телефонистов для обслуживания поступившего вызова (бланка) должна осуществляться отдельным прибором.
Ж.8.7 Монитор должен иметь размер экрана не менее 25 строк и в каждой строке не менее 80 знаков. Выключение (гашение экрана) видеотерминала должно происходить автоматически через определенное время после разрегистрации телефониста. Включение экрана должно происходить по нажатию любой клавиши.
Экран монитора должен содержать три основные зоны;
- общей информации;
- ввод / вывод данных;
- состояний запрограммированных клавиш.
Ж.8.7.1 В зоне общей информации должно отображаться:
- текущие дата и время;
- информация, связанная с фазой и режимом работы телефониста;
- сообщение об ошибках в действиях телефониста;
- фаза работы персонала;
- блокировка РМ от входящих вызовов работником;
- наличие удержанных бланков / вызовов за АРМТ;
- удержание бланка / вызова;
- информация о служебных вызовах.
Ж.8.7.2 Зона ввода / вывода данных - основная часть экрана. Содержание экрана в этой зоне должно зависеть от режима работы: обработка вызова, административное управление, техническое обслуживание.
Состав информации должен зависеть от режима и фазы работы персонала и иметь различные формы:
- идентификации персонала (начало работы);
- обслуживания вызовов;
- административного управления;
- технического обслуживания.
Ж.8.7.3 Форма идентификации персонала должна содержать следующие параметры:
- фамилию работника; его пароль; используемые функции (уровень).
Ж.8.7.4 Форма обслуживания вызова должна состоять из минимального количества данных, необходимых для текущей фазы обслуживания. В этой форме должны отображаться:
- данные по заказу;
- состояния соединений и поступление линейных сигналов.
Кроме этого должна обеспечиваться возможность отображения информации из базы данных, выводимой по запросу телефониста на любом этапе обработки вызова (с возможностью переноса требуемой информации по команде телефониста).
Ж.8.7.5 Форма административного управления должна обеспечить возможность административного управления.
Ж.8.8 Печатающее устройство должно обеспечивать распечатку:
- статистических и объемно-качественных показателей;
- данных по техобслуживанию;
- информации с экрана монитора АРМТ по команде начальника смены (бригадира) или телефониста.
Ж.8.8.1 Принтер должен обеспечивать круглосуточную работу.
Ж.8.8.2 У принтера должна обеспечиваться рулонная подача бумаги.
Ж.8.8.3 Количество точек на дюйм не должно быть менее 120.
Ж.8.8.4 Скорость печати - не менее 120 символов/с.
Ж.8.8.5 Принтер должен иметь русифицированный знакогенератор.
Ж.8.8.6 Печатающая головка должна быть рассчитана на печать не менее 100 тыс. символов.
Ж.8.9 На рабочем месте телефониста производственного контроля должна обеспечиваться возможность подключения магнитофона для записи разговоров контролируемого телефониста.
Ж.9 Требуемые данные для расчета с абонентами за услуги телефонной связи, предоставленные телефонистами.
Ж.9.1 В данных для расчета стоимости за предоставленные услуги телефонной связи должны учитываться:
- направление (код), в котором исполнен заказ;
- тариф (обыкновенный, льготный);
- форма оплаты;
- срочность исполнения заказа;
- дополнительные услуги;
- признак (организация населения);
- день и время исполнения заказа;
- начало учета продолжительности установленного соединения (год, день, час, минуты, сек.);
- окончание учета продолжительности установленного соединения (год, день, час, минуты, сек.);
- тарифицируемая продолжительность разговора.
Ж.9.2 Тарифицируемая продолжительность соединения (разговора) должна состоять из фактической продолжительности соединения (разговора), округленной до целых минут.
Ж.9.3 Стоимость отработанного заказа должна состоять из стоимости фактической продолжительности соединения (разговора) по тарифу заказанного соединения (разговора) и стоимости предоставленных дополнительных услуг.
Ж.9.4 При предоставлении соединена (разговора) и дополнительных услуг с оплатой по отложенному платежу должна обеспечиваться возможность оплаты за счет:
- вызывающего лица;
- вызываемого лица (платная дополнительная услуга);
- третьего лица, являющегося абонентом зоновой сети данной станции (платная дополнительная услуга).
Ж.9.5 Для расчета с клиентами гостиниц должен обеспечиваться сбор данных для передачи в гостиницы информации о состоявшихся соединениях и предоставленных дополнительных услугах.
Ж.9.6 Вычисление стоимости заказа должно производиться:
- по исполненным заказам с услугой "сообщение о стоимости предоставленных услуг телефонной связи и продолжительности соединения";
- по запросу абонента о стоимости разговора (соединения) и дополнительных услуг до предоставления услуг телефонной связи.
Ж.10 Основные технические данные подсистемы АРМТ
Ж.10.1 Исполнение заказов на соединения и/или дополнительные услуги должно обеспечиваться:
- в текущий час - до 40 % заказов;
- в текущие сутки - до 40 % заказов;
- в последующие сутки - до 20 % заказов.
Ж.10.2 Программно-аппаратный комплекс оборудования подсистемы АРМТ должен обеспечивать одновременный доступ телефонистов к информации до 70 % от общего количества телефонистов, находящихся в работе.
Ж.10.3 Подсистема АРМТ должна позволять размещать отдельные рабочие места на расстоянии от станции.
Ж.10.4 Электробезопасность при работе на ВТ должна быть обеспечена недоступностью токоведущих частей в разъемах процессор - сеть, монитор - клавиатура, принтер - процессор и принтер - сеть. Разъемы должны быть закреплены при помощи специальных фиксирующих винтов. Необходимо рационально размещать провода на рабочем месте, контролировать состояние изоляции, а также предусмотреть защитное отключение (система общих и местных предохранителей). Для уменьшения величины силы тока, протекающего через человека при его прикосновении к приборам под напряжением, следует использовать защитное заземление процессора и всех его периферийных устройств.
И.1 При внутризоновой, междугородной и международной связи должна обеспечиваться возможность определения категории и номера вызывающего абонента (абонента "А").
И.2 Информация о категории и номере вызывающего абонента (KaNa) должна передаваться с АТС местной сети в ответ на запрос со стороны АМТС после занятия ЗСЛ в предответном состоянии.
И.3 Запрос информации АОН должен передаваться с АМТС на исходящую станцию (АТС), в которую включен вызывающий абонент и представляет собой комбинацию из линейного сигнала "запрос АОН" (совпадает с линейным сигналом "ответ") и частотного сигнала запроса АОН (500 Гц).
Длительность частотного сигнала запроса АОН (500 Гц) не менее 90 мс, и он может поступать в промежутке времени 10 - 275 мс с момента поступления линейного сигнала.
Поступление запроса может быть многократным.
Максимальное количество запросов с АМТС не превышает 3. После каждого сигнала запроса требуется передача сигнала "снятие запроса АОН", путем кратковременного отключения линейного сигнала "ответ" перед каждым очередным запросом.
Повторные запросы формируются аналогично первому запросу с использованием линейного сигнала "ответ" и частотного импульса 500 Гц, передаваемого по разговорному тракту.
Максимальное время между повторными запросами с АМТС при неуспешных попытках определения номера составляет 1,2+/-0,1 с.
Минимальная длительность запроса, передаваемого с АМТС, составляет 110+/-10мс.
Общая длительность передачи линейного сигнала "Запрос АОН" на существующих АМТС не должна превышать 2,2 с; в период последнего неудачного запроса - 2,8 с.
Требования к параметрам сигнала 500 Гц изложены в таблице И1.
И.4 Передача информации АОН с АТС может осуществляться следующими способами:
- безинтервальным пакетом многочастотным "кодом "2 из 6";
- импульсным пакетом многочастотным кодом "2 из 6";
- по общему каналу сигнализации.
И.5 Передача информации по способу "безинтервальный пакет" должна осуществляться при связи АМТСЭ с существующими АТС координатной и декадно-шаговой систем.
И.5.1 Один цикл передаваемой информации о категории и номере вызывающего абонента должен состоять из одной цифры категории (общее количество категорий не превышает 10) и семи цифр инвертированного номера телефона вызывающего абонента, а также одной цифры, отмечающей начало передачи информации. Полная информация должна содержать 13 знаков.
И.5.2 Характеристики передачи информации АОН
И.5.2.1 Подлежащая передаче информация должна включать в себя следующую последовательность символов: Н, Ка, Е, D, С, Т, с, b, a, H, Ka, E, D:
- Н - символ обозначения начала или конца передачи (комбин. 13);
- Ка - категория вызывающего абонента;
- Е - цифра единиц номера вызывающего абонента;
- D - цифра десятков номера вызывающего абонента;
- С - цифра сотен номера вызывающего абонента;
- Т - цифра тысяч номера вызывающего абонента;
- с - третья цифра индекса станции;
- b - вторая цифра индекса станции;
- а - первая цифра индекса станции.
Избыточные (дополнительные) символы используются для обнаружения ошибок при приеме информации.
|
Требования |
На передающей стороне |
На приемной стороне |
|
|
срабатывание приемника |
Несрабатывание приемника |
||
|
К параметрам Запроса АОН (500 Гц) |
|
|
|
|
Частота |
500+/-2,5 Гц |
|
|
|
Частотный диапазон |
|
500+/-15 Гц |
500+/-25 Гц |
|
Выходной уровень |
-4,3+/-0,4дБмО |
|
|
|
Динамический диапазон уровней приема |
|
-3,9...-32 дБмО |
-40,0 дБмО и ниже (в частотном диапазоне 485-515 Гц) |
|
Шаг регулировки |
1 дБ |
|
|
|
Точность уровня |
0,5% |
|
|
|
Коэффициент нелинейных искажений |
3,5% |
|
|
|
Длительность, макс. |
800+/-50 мс |
|
менее 60 мс |
|
Время распознавания |
|
65+/-5 мс |
|
|
Допустимое прерывание сигнала |
|
<=10 мс |
|
И.5.2.2 В качестве символов обозначения категории могут использоваться любые из десяти одиночных цифр 1, 2, 3...9 (кодовые комбинации NN 1...9).
И.5.2.3 При последовательной передаче двух и более одинаковых цифр, каждая четная цифра из соседних одинаковых цифр необратимого (обычным образом записываемого) числа должна заменяться частотной комбинацией 14 ("повторение цифры").
И.5.2.4 Длительность каждой комбинации при передаче информации АОН составляет 40+/-0,1 мс.
И.5.2.5 Символьные комбинации должны передаваться без разделительных пауз между ними.
И.5.2.6 Прием и регистрация частотных посылок информации АОН осуществляются с любого символа. Символ повторения (комбинация 14) в принятой информации в восстановленном порядке должен заменяться предыдущей принятой цифрой.
И.5.2.7 На приеме осуществляется проверка принятой информации на основе следующих критериев:
- наличие одного и только одного сигнала "начало" (комбинация 13) среди первых десяти принятых посылок;
- соответствие каждой посылки коду "2 из 6";
- отсутствие в поступающей информации интервалов по длительности равных или близких к длительности посылки (36 мс);
- совпадение по меньшей мере первой и десятой (второй и одиннадцатой) посылок из общего числа принимаемых кодовых посылок информации АОН.
При нарушении любого из критериев достоверности информация считается ошибочной.
И.5.2.8 Информация АОН от существующих координатных и декадно-шаговых станций может приниматься с любой цифры номера. Приемник должен принимать 10 или 11 частотных посылок в порядке их поступления, обнаруживать код "начала" передачи-13 и далее восстанавливать исходный списочный 7-значный номер и символ категории вызывающего абонента при использовании для этой цели указанный выше признак начала информации АОН.
И. 5.2.9 Остальные характеристики приема информации АОН "безинтервальным пакетом" соответствуют аналогичным характеристикам приема многочастотного сигнала в коде "2 из 6" (Приложение Б).
И.6 Передача информации АОН по способу "импульсный пакет " должна осуществляться при связи АТСЭ с АМТСЭ.
И.6.1 Информация о категории и номере вызывающего абонента должна передаваться по запросу с АМТСЭ (комбинация "2") в составе импульсного пакета в следующем порядке:
- Nб - номер вызываемого абонента или номер службы АМТС - (комбинации 1-0);
- Ка - категория вызывающего абонента (одна из комбинаций 1-9);
- Na - номер вызывающего абонента (комбинации 1-0) - семизначный зоновый номер абонента;
- Кн - конец набора (комбинация 11).
И.6.2 В обратном направлении по ЗСЛ должны передаваться следующие комбинации:
- "11" - номер принят правильно;
- "6" - номер принят неправильно.
После приема сигнала "номер принят неправильно" должна обеспечиваться возможность повторной выдачи пакета до двух раз.
И.6.3 Длительности передаваемых импульсов должны составлять:
- импульс - 50+/-3 мс;
- пауза - 50+/-3 мс.
И.6.4 Характеристики приема информации АОН способом "импульсный пакет" изложены в Приложении Б.
К.1 Подсистема отсеивания вызовов предназначена для обеспечения возможности отказа вызывающим абонентам в установлении исходящих автоматических и полуавтоматических междугородных телефонных соединений по причине неуплаты этими абонентами за предоставленные ранее услуги междугородной телефонной связи.
К.2 Подсистема должна обеспечивать следующие возможности:
- организация и ведение "черного списка" об абонентах, которым должно быть отказано в предоставлении междугородного соединения;
- коррекция вышеуказанного списка;
- обеспечение прекращения установления соединения, если номер абонентского устройства вызывающего абонента зоны находится в "черном списке";
Применение "черного списка" не должно влиять на качество обслуживания поступающих вызовов.
К.3 Ввод и изменение информации в "черном списке" должны обеспечиваться с рабочего места оператора станции.
К.4 Информация в "черных списках" должна идентифицироваться номерами абонентских устройств.
К.5 Отображение информации "черного списка" должно обеспечиваться на экране рабочего места оператора станции или при распечатке на принтере.
К.6 Информация «черного списка» и ее изменения должны фиксироваться в файле истории станции и быть доступы техническому персоналу.
Уровень 4 МОС 8073, классы 0,2,4.
Уровень 3 Х.25, МОС 8278 (МОС 8878).
Уровень 2 МСЭ-Т Х.25 (LAPB), МОС 7776.
Уровень 1 МСЭ-Т: V.28/V.24, V.11/V.36, Х.21, Х27.
Уровень 4 МОС 80736 классы 0,2,4.
Уровень 3 МСЭ-Т Х.612/ МОС 9574, МСЭ-Т Q.931 (Х.31) С-вариант или МОС 8878(8208) U-вариант.
Уровень 2 МСЭ-Т Q.921 (SAP1=0) С-вариант, Q.921 (SAPI=16) U-вариант.
Уровень 1 МСЭ-Т Q.921, D-канал: 1430 (ВА) или 1.431 (PRA).
Уровень 4 МОС 8073, классы 0,2,4.
Уровень 3 МСЭ-Т Х.612/МОС 9574, МСЭ-Т Q.931(Х.31) С-вариант или МОС 8878(8208) U-вариант.
Уровень 2 D-канал: МСЭ-Т Q.921 (SAPI=0), В-канал: МСЭ-Т X.212 (МОС 7776).
Уровень 1 D/B- канал: МСЭ-Т 1.430 (ВА) или 1.431 (РВА).
Уровень 4 МОС 8073, классы 0,2,4.
Уровень 3 SCCP МТР (Уровень 3).
Уровень 2 МТР (Уровень 2).
Уровень 1 МТР (Уровень 1).
Уровень 4 МОС 8073, классы 0,2,4.
Уровень 3 МОС 8881, МОС 8208.
Уровень 2 МОС 8802-2 (Тип 2), МОС 8802-3.
Уровень 1 Не определен.
Уровень 4 МОС 8073, класс 4.
Уровень 3 МОС 8473-1/МСЭ-Т Х.233, МОС 8473-2, МОС 8348/СЭ-Т Х.213.
Уровень 2 МОС 8802-3, МОС 8802-2 (Тип 1).
Уровень 1 Не определен.
Уровень 4 МОС 8073, класс 4.
Уровень 3 Х.25 (МОС 8208), МОС 8473-3 /МСЭ-Т Х.622, МОС 8348 /МСЭ-Т Х.213, МОС 8473-11 МСЭ-Т Х.233.
Уровень 2 МСЭ-Т Х.25 (ДФЗИ)б VJC 7776.
Уровень 1 МСЭ-Т: V.28/V.24, V. 11/V.36, Х.21 bis, X.21, Х.27.
Уровень 4 МОС 8073, класс 4,
Уровень 3 МСЭ-Т Х.233 / МОС 8473-1(МСЭ-Т Х.213 / МОС 8348), МСЭ-Т Х.625 / МОС 8473-5, Q.931 или МСЭ-Т Х.623 / МОС 8473-4 или МСЭ-Т Х.622 / МОС 8473-3, МОС 8208.
Уровень 2 МСЭ-Т Q.921 или МОС 776, МОС 11575 или МОС 7776.
Уровень 1 D/B-канал: МСЭ-Т 1.430 (ВА) или 1.431 (PRA).
Уровень 4 TCP.
Уровень 3 IP.
Уровень 2 протокол доступа к подсети (не определен).
Уровень 1 Не определен.
Уровень 7 SMASE; ACSE: МСЭ-Т Х.2271 МОС 8650-1 (МСЭ-Т Х.2171 МОС 8649) или CMISE: МСЭ-Т Х.711 и МОС 9596-1 (МСЭ-Т Х.710 и МОС 9595), ROSE: МСЭ-Т Х.229 и МОС 9072-2 (МСЭ-Т Х.219 и МОС 9072-1).
Уровень 6 МСЭ-Т Х.226 I МОС 8823-1, МСЭ-Т Х209 I МОС 8825 (МСЭ-Т X.2I6I МОС 8822).
Уровень 5 МСЭ-Т Х.225 I МОС 8327-1 (МСЭ-Т Х.225 I МОС 8326).
Уровень 7 FTAM: МОС 8571, ACSE: МСЭ-Т Х.227 I МОС 8650-1 (МСЭ-Т Х.2171 МОС 8649).
Уровень 6 МСЭ-Т Х.226 I МОС 8823-1, МСЭ-Т Х.209 I МОС 8825 (МСЭ-Т X.216I МОС 8822).
Уровень 5 МСЭ-Т Х.2251 МОС 8327-1 (МСЭ-Т Х.225 I МОС 8326).
Уровень 7 SNMP-RFC 1157.
Уровень 4 UPD-RFC788.
Уровень 3 IF-RFC761.
Уровень 1,2 Ethernet, Token Ring, FDDI, Long Haul.
В АМТС должны быть реализованы подсистемы сигнализации ОКС N7 МТР и ISUP-R. Технические требования на МТР и ISUP-R изложены в Руководящем документе отрасли РД 45.217-2001 «Технические спецификации ОКС 7»:
Книга 1. Подсистема передачи сообщений (МТР) для национальной сети России (МТР-2000);
Книга 4. Подсистема пользователя ISDN (ISUP) для национальной сети России (ISUP-R-2000);
Книга 5. Взаимодействие подсистемы пользователя ЦСИС (ISUP) с системами межстанционной телефонной сигнализации национальной сети России, включая специфические национальные процедуры и сообщения (IW-2000).
При наличии на АМТС функции SPP/IP должны быть реализованы дополнительно к подсистемам сигнализации ОКС N7 МТР и ISUP-R подсистемы SCCP, ТС и INAP-R. Технические требования на SCCP и ТС изложены в Руководящем документе отрасли РД 45.217-2001 «Технические спецификации ОКС 7»:
Книга 2. Подсистема управления соединением сигнализации (SCCP) для национальной сети России (SCCP-2000);
Книга 3. Подсистема возможностей транзакции (ТС) для национальной сети России (ТС-2000)
Технические требования на подсистему INAP-R изложены в «Технических спецификациях протокола INAP системы сигнализации ОКС N7 для сети связи России (TNAP-R)», утвержденных Минсвязи России 07.03.97г.
Н.1 Объектами контроля для аппаратуры АТМЕ являются цифро-аналоговые и цифровые:
- междугородные каналы;
- соединительные линии междугородные (СЛМ);
- заказно-соединительные линии (ЗСЛ).
Н.2 Для цифровых междугородных каналов, СЛМ, ЗСЛ технические требования для аппаратуры АТМЕ соответствуют рекомендации МСЭ-Т 0.22 [19]
Н.3 Автоматическое испытание функций системы сигнализации и контроль параметров передачи для цифро-аналоговых междугородных каналов осуществляется по алгоритму АТМЕ 1
Н.4 Виды испытаний для цифро-аналоговых междугородных каналов:
- автоматическое испытание функций системы сигнализации (посылка сигнала разъединения после получения сигнала ответ) - для междугородных каналов;
- автоматическое испытание функций системы сигнализации с проверкой целостности разговорного тракта (посылка управляющим оборудованием сигнала разъединения после получения тонального сигнала) - СЛМ, ЗСЛ;
- автоматическое испытание функций системы сигнализации с проверкой сигнала абонент занят - междугородные каналы;
- автоматическое испытание функций системы сигнализации и контроль параметров передачи - междугородные каналы.
Алгоритмы проверок приведены в таблицах H1-Н9.
Н.5 Аппаратура АТМЕ имеет возможность самоконтроля.
Н.6 При обнаружении повреждения в процессе испытания обеспечивается выдача необходимой информации оператору с указанием типа и фазы повреждения.
Н.7 Передача результатов измерения на противоположную станцию при контроле параметров передачи осуществляется в децибеллах (дБ),
Прием и распечатка результатов возможна как в децибеллах (дБ), так и в неперах (Нп).
Н.8 Помимо автоматических проверок с помощью аппаратуры АТМЕ, в станции предусмотрена возможность для техперсонала проводить ручные измерения параметров передачи для междугородных и международных каналов, СЛМ, ЗСЛ:
- выдача разных гармонических частот в диапазоне частот 300-3400 Гц и в диапазоне уровней плюс 3,0 дБмО - минус 19,0 дБмО с абсолютной погрешностью м 0,2 дБ;
- измерение гармонических сигналов в диапазоне частот 300 - 3400 Гц.;
- возможность соединения внешнего оборудования для измерения коэффициента ошибок через рекомендованный МККТТ (G.703) [3] РСМ-30 интерфейс - 120 Ом, симметричный вход.
|
Этап проверки |
Передача сигнала по каналу |
Длительность |
Уровень, дБм0 |
Примечание |
||||
|
Направление Передачи |
Вид сигнала |
|||||||
|
Прямое/ Обратное |
1с к |
2с к |
1с к |
2с к |
||||
|
1 Занятие |
→ |
1 |
0 |
0 |
1 |
|
|
|
|
2 Подтверждение Занятия |
← |
1 |
0 |
1 |
1 |
|
|
|
|
3 Передача регистровой информации |
→ |
|
|
|
|
|
|
Декадный код или импульсный челнок |
|
4 Абонент свободен |
← |
1 |
0 |
1 |
0 |
|
|
|
|
5 Ответ абонента |
← |
1 |
0 |
1 |
1 |
|
|
|
|
6 Прием тонального сигнала |
← |
|
|
|
|
>=1,5 с |
0....-30 400-1700 Гц |
Время ожидания тонального сигнала = 2 с после приема сигнала "Ответ" |
|
7 Пауза для прекращения тонального сигнала |
|
|
|
|
|
3,5 с |
|
|
|
8 Отбой от абонента В |
← |
1 |
0 |
1 |
0 |
|
|
Не обязательно |
|
9 Разъединение |
→ |
1 |
1 |
1 |
0 |
|
|
|
|
10 Освобождение |
← |
1 |
1 |
0 |
1 |
|
|
|
|
Этап проверки |
Передача сигнала по каналу |
Длительность |
Уровень, дБм0 |
Примечание |
|
|
Направление передачи |
Вид Сигнала |
||||
|
1 Занятие |
→ |
1 импульс |
200 мс |
|
|
|
2 Передача регистровой информации. |
→ |
|
|
|
Декадный код или импульсный пакет |
|
3 Абонент свободен |
← |
Продолжительный |
До ответа абонента |
|
|
|
4 Ответ |
|
Прерывание сигнала "абонент свободен" |
|
|
|
|
Прием 5 тонального сигнала |
← |
400-1700 Гц |
>=1,5 с |
0...-30 |
Время ожидания тонального сигнала = 2 с после приема сигнала "Абонент свободен" |
|
6 Пауза для прекращения тонального сигнала |
|
|
3,5 с |
|
|
|
7 Отбой от Абонента В |
← |
Последовательность импульсов |
импульс 200 мс пауза 100 мс |
|
До получения сигнала "Разъединение" |
|
8 Разъединение |
→ |
Продолжительный 2600 Гц |
|
|
До получения сигнала "Освобождение" |
|
9 Освобождение |
← |
Продолжительный 2600 Гц |
|
|
До снятия сигнала "разъединение" |
|
Этап проверки |
Передача сигнала по каналу |
Длительность |
Уровень, дБмо |
Примечание |
||||
|
Направление Передачи |
Вид сигнала |
|||||||
|
Прямое/ Обратное |
2с к |
1с к |
2с к |
1с к |
||||
|
1 Занятие |
← |
0 |
1 |
1 |
0 |
|
|
|
|
2 Подтверждение Занятия |
→ |
1 |
1 |
1 |
0 |
|
|
|
|
3 Запрос АОН |
→ |
1 |
0 |
1 |
0 |
|
|
Совместно с линейным сигналом передается тональный сигнал 500 Гц |
|
4 Прием информации АОН (Безынтервальный пакет) |
← |
|
|
|
|
|
|
Максимальное количество перезапросов= 3 |
|
5 Снятие запроса АОН |
→ |
1 |
1 |
1 |
0 |
|
|
|
|
6 Ответ станции |
→ |
|
|
|
|
|
|
Второй ответ станции |
|
7 Прием регистровой информации |
← |
1 |
1 |
X |
0 |
|
|
Декадный код |
|
8 Ответ абонента |
→ |
1 |
0 |
1 |
0 |
|
|
|
|
9 Выдержка времени |
|
|
|
|
|
0,2 с |
|
|
|
10 Передача тонального сигнала 700 Гц |
→ |
|
|
|
|
3 с |
-8,0 |
|
|
11 Снятие тонального сигнала |
|
|
|
|
|
|
|
|
|
12 Отбой от абонента В |
→ |
0 |
0 |
X |
X |
|
|
|
|
13 Разъединение |
← |
X |
X |
1 |
1 |
|
|
|
|
14 Переход в исходное состояние |
→ |
0 |
1 |
1 |
1 |
|
|
|
|
Этап проверки |
Передача сигнала по каналу |
Длительность, с |
Уровень, дБмо |
Примечание |
||||
|
Направление передачи |
Вид сигнала |
|||||||
|
Прямое/ Обратное |
1с к |
2с к |
1с к |
2с к |
||||
|
1 Занятие |
← |
0 |
1 |
1 |
0 |
|
|
|
|
2 Подтверждение Занятия |
→ |
1 |
1 |
1 |
0 |
|
|
|
|
3 Прием регистровой информации |
← |
|
|
|
|
|
|
Импульсный пакет |
|
4 Ответ абонента |
→ |
1 |
0 |
1 |
0 |
|
|
|
|
5 Выдержка времени |
|
|
|
|
|
0,2 |
|
|
|
6 Передача тонального сигнала 700 Гц |
→ |
|
|
|
|
3 |
-8,0 |
|
|
7 Снятие тонального сигнала |
|
|
|
|
|
|
|
|
|
8 Отбой от абонента В |
→ |
0 |
0 |
X |
0 |
|
|
|
|
9 Разъединение |
← |
X |
X |
1 |
1 |
|
|
|
|
10 Переход в исходное состояние |
→ |
0 |
1 |
1 |
1 |
|
|
|
|
Этап проверки |
Передача сигнала по каналу |
Длительность |
Уровень, дБм0 |
Примечание |
|
|
Направление Передачи |
Вид сигнала |
||||
|
1 Занятие |
← |
1 импульс |
200 мс |
|
|
|
2 Запрос АОН |
→ |
1 импульс |
200 мс |
|
Совместно с линейным сигналом передается тональный сигнал 500 Гц |
|
3 Прием информации АОН |
← |
Безывтервальный пакет. |
|
|
Максимальное количество перезапросов=3 |
|
4 Снятие запроса АОН |
→ |
2 импульса |
импульс=20 Омс пауза=100 мс |
|
|
|
5 Ответ станции |
→ |
425 Гц |
|
|
Второй ответ станции |
|
6 Передача регистровой информации |
← |
|
|
|
Декадный код |
|
7 Ответ |
→ |
1 импульс |
200 мс |
|
|
|
8 Выдержка времени |
|
|
0,2 с |
|
|
|
9 Передача тонального сигнала |
→ |
700 Гц |
3 с |
-8,0 |
|
|
10 Снятие тонального сигнала |
|
|
|
|
|
|
11 Отбой от абонента В |
→ |
Последовательность импульсов |
импульс 200 мс пауза 100 мс |
|
До получения сигнала "Разъединение" |
|
12 Разъединение |
← |
Продолжительный |
|
|
До получения сигнала "Освобождение" |
|
13 Освобождение |
→ |
Продолжительный |
|
|
До снятия сигнала "Разъединение" |
|
Параметр |
Прямое направление, Гц |
Обратное направление, Гц |
Сигнал автоответчика |
Сигнал отключения ЭЗ |
|
1 Частота сигнала |
1380 |
540 |
700 Гц |
2100 Гц |
|
|
1500 |
660 |
||
|
|
1620 |
780 |
||
|
|
1740 |
900 |
||
|
|
1860 |
1020 |
||
|
|
1980 |
1140 |
||
|
2 Используемый код |
2 из 6 |
2 из 6 |
|
|
|
3 Точность установки частоты |
+0,25% |
|||
|
4 Коэффициент нелинейных искажений |
3,0 % |
|||
|
5 Уровень частоты на передаче |
|
-8 дБм0 |
-12 дБм0 |
|
|
6 Уровень двухчастотного Сигнала на передаче |
-5 дБм0 |
|
||
|
7 Точность установки уровня |
+/-0,5 дБм |
|||
|
Этап проверки |
Передача сигналов по каналу |
Примечание |
|
|
Направление передачи |
Вид Сигнала |
||
|
1 Занятие |
→ |
2600 Гц |
Один импульс 200 мс |
|
2 Передача регистровой информации |
→ |
Импульсный пакет |
Кв=14, N=440 |
|
3 Прием сигнала "Абонент занят" |
← |
2600 Гц |
Два импульса 200мс, пауза 100 мс |
|
4 Разъединение |
→ |
2600 Гц |
Продолжительный до получения сигнала "Освобождение" |
|
5 Освобождение |
← |
2600 Гц |
Продолжительный до снятия сигнала "Разъединение" |
|
Этап проверки |
Передача сигналов по каналу |
Примечание |
||||
|
Направление передачи |
Вид сигнала |
|||||
|
Прямое / Обратное |
1 СК |
2 СК |
1 СК |
2 СК |
||
|
1 Занятие |
→ |
1 |
0 |
0 |
1 |
|
|
2 Подтверждение занятия |
← |
1 |
0 |
1 |
1 |
|
|
2 Подтверждение занятия |
← |
1 |
0 |
1 |
1 |
|
|
3 Передача регистровой информации импульсным пакетом |
→ |
|
|
|
|
Кв=14 |
|
4 Прием сигнала "Абонент занят" |
← |
1 |
0 |
0 |
0 |
|
|
5 Разъединение |
→ |
1 |
1 |
X |
X |
|
|
6 Переход в свободное состояние |
← |
1 |
1 |
0 |
1 |
|
П.1 Виды доступа
Цифровая служебная АТС с функциями ЦСИС должна поддерживать сквозные цифровые соединения между терминальными устройствами и предоставление пользователю речевых и неречевых услуг, доступных им через интерфейс «пользователь-сеть» на базовой скорости (2В+D) с использованием абонентской сигнализации EDSS.
Согласно Рекомендации МККТТ 1.410 существуют стандартные интерфейсы базовой скорости:
- доступ одного терминала;
- доступ установки с несколькими терминалами ЦСИС.
П.2 Типы каналов
Типы каналов, используемые на интерфейсе "пользователь-сеть", должны соответствовать Рекомендации МСЭ-Т 1.412.
Канал В представляет собой канал 64 кбит/с, предназначенный для передачи различных информационных потоков пользователя. По нему не передается сигнальная информация, необходимая для коммутации каналов в ЦСИС.
Канал D представляет собой канал 16 кбит/с, предназначенный для передачи сигнальной информации для коммутации каналов в ЦСИС. Кроме того, канал D может использоваться для передачи данных о дистанционных операциях и данных в режиме коммутации пакетов.
П.3 Структура интерфейса базовой скорости
Структура интерфейса базовой скорости должна состоять из двух каналов В и одного канала D (2B+D).
Интерфейс «пользователь-сеть» базовой скорости, реализуемый служебной АТС с функциями ЦСИС, должен соответствовать стандартам, приведенным в таблице П. 1.
|
|
Описание |
Нормативные требования |
Соответствующие рекомендации ITU-T |
|
Уровень 1 |
ETS 300 012 |
ETS 300 153 |
1.430 |
|
Уровень 2 |
ETS 300 125 |
ETS 300 153 |
Q.920 |
|
Уровень 3 |
ETS 300 102-1 |
ETS 300 104 |
Q.930 |
П.4 Станционный интерфейс
Описание станционного интерфейса для абонентского доступа приводится в Рекомендации МСЭ-Т Q.512. Характеристика цифрового интерфейса типа VI на абонентской стороне станции должна соответствовать Рекомендации МСЭ-Т 1.411.
П. 5 Основные услуги
На интерфейсе «пользователь-сеть», реализуемом служебной АТС ЦСИС, должна быть обеспечена возможность предоставления пользователю основных услуг ЦСИС.
П.5.1 Услуги доставки информации
Предоставляемые ЦСИС общего пользования услуги доставки информации должны соответствовать требованиям, приведенным в таблицах П.2-П.5
|
Аспект |
Базовый стандарт |
Стандарт тестирования на соответствие |
Эквивалента ая рекомендация МСЭ-Т |
|
Стадия 1 |
ETS300 110 ETS 300 171 (ЕСМА-142) |
Н/П |
1.231.3 |
|
Стадия 2 |
ETS 300 350 ETS 300 171 (ЕСМА-142) |
Н/П |
Q.71 |
|
Стадия 3S/T |
ETS 300 102-1 ETS 300 102-1/А1 ETS 300102-1/А2 ETS 300 102-2 ETR018 3rd edition |
I-ETS 300 322 |
Q.931 Q.931 bis Q.939 |
|
Аспект |
Базовый стандарт |
Стандарт тестирования на соответствие |
Эквивалентная рекомендация МСЭ-Т |
|
Стадия 1 |
ETS 300 108 ETS 300 171 (ЕСМА-142) |
Н/П |
1.231.1 |
|
Стадия 2 |
ETS 300 350 ETS 300 171 (ЕСМА-142) |
Н/П |
Q.71 |
|
Стадия 3S/T |
ETS 300 102-1 ETS 300 102-1/А1 ETS 300 102-1/А2 ETS 300 102-2 ETR018 3rd edition |
I-ETS 300 322 |
Q.931, Q.931 bis Q.939 |
|
Аспект |
Базовый стандарт |
Стандарт тестирования на соответствие |
Эквивалентная рекомендация МСЭ-Т |
|
Стадия 1 |
ETS 300 109 ETS 300 171 (ЕСМА-142) |
Н/П |
1.231.2 |
|
Стадия 2 |
ETS 300 350 ETS 300 171 (ЕСМА-142) |
Н/П |
Q.71 |
|
Стадия 3S/T |
ETS 300 102-1 ETS 300 102-1/А1 ETS 300102-1/А2 ETS 300 102-2 ETR018 3rd edition |
I-ETS 300 322 |
Q.931, Q.931 bis Q.939 |
|
Аспект |
Базовый стандарт |
Стандарт тестирования на соответствие |
Эквивалентная рекомендация МСЭ-Т |
|
Стадия 1 |
ETS 300 048 ETS 300 049 -- |
Н/П |
1.232.1 |
|
Стадия 2 |
-- -- |
Н/П |
Q.72.1 |
|
Стадия 3S/T |
ETS 300 007 |
|
Q.931, Q.931bisX.31 |
П.5.2 Услуги предоставления связи
Предоставляемые ЦСИС общего пользования услуги предоставления связи должны соответствовать требованиям, приведенным в таблицах П.6-П.12.
|
Аспект |
Базовый стандарт |
Стандарт тестирования на соответствие |
Эквивалентная рекомендация МСЭ-Т |
|
Стадия 1 |
ETS 300 111 ETS 300 171 (БСМА-142) |
Н/П |
1.241.1 |
|
Стадия 2 |
ETS 300 350 ETS 300 171 (ЕСМА-142) |
Н/П |
Q.71 |
|
Стадия 3S/T |
ETS 300 102-1 ETS 300 102-1/А1 ETS 300102-1/А2 ETS 300 102-2 ETR018 |
I-ETS 300 322 |
Q.931, Q.931bis Q.939 |
|
Аспект |
Базовый стандарт |
Стандарт тестирования на соответствие |
Эквивалентная рекомендация МСЭ-Т |
|
Стадия 1 |
ETS 300 263 |
Н/П |
I.241.7 |
|
Стадия 2 |
ETS 300 265 |
Н/П |
- - |
|
Стадия 3 S/T |
ETS 300 102-1 ETS 300 102-1/А1 ETS 300102-1/А2 ETS 300 102-2 ETS 300 267 |
I-ETS 300 322 |
Q.931, Q.931bis |
|
Аспект |
Базовый стандарт |
Стандарт тестирования на соответствие |
Эквиваленты ая рекомендация МСЭ-Т |
|
Стадия 1 |
ETS 300 264 |
Н/П |
F.721 |
|
Стадия 2 |
ETS 300 266 |
Н/П |
- - |
|
Стадия 3 S/T |
ETS 300 102-1 ETS 300 102-1/А1 ETS 300102-1/А2 ETS 300 102-2 ETS 300 267 |
I-ETS 300 322 |
Q.931, Q.931bis |
|
Аспект |
Базовый стандарт |
Стандарт тестирования на соответствие |
Эквивалентная рекомендация МСЭ-Т |
|
Стадия 1 |
ETS 300 120 ETS300 171 (ЕСМА-142) |
Н/П |
1.241.3 |
|
Стадия 2 |
ETS 300 350 ETS 300 171 (ЕСМА-142) |
Н/П |
Q.71 |
|
Стадия 3 S/T |
ETS 300 102-1 ETS 300 102-1/А1 ETS 300102-1/А2 ETS 300 102-2 ETR018 3rd edition |
I-ETS 300 322 |
Q.931, Q.931bis Q.939 |
|
Аспект |
Базовый стандарт |
Стандарт тестирования на соответствие |
Эквивалентная рекомендация МСЭ-Т |
|
Стадия 1 |
ETS 300 262 ETS 300 171 (ЕСМА-142) |
Н/П |
1.241.5 |
|
Стадия 2 |
ETS 300 350 ETS 300 171 (ЕСМА-142) |
Н/П |
Q.71 |
|
Стадия 3 S/T |
ETS 300 102-1 ETS 300 102-1/А1 ETS 300102-1/А2 ETS 300 102-2 ETR018 3rd edition |
I-ETS 300 322 |
Q.931, Q.931bis Q.939 |
|
Аспект |
Базовый стандарт |
Стандарт тестирования на соответствие |
Эквивалентная рекомендация МСЭ-Т |
|
Стадия 1 |
ETS 300 171 (ЕСМА-142) |
Н/П |
- - |
|
Стадия 2 |
ETS 300 350 ETS 300 171 (ЕСМА-142) |
Н/П |
Q.71 |
|
Стадия 3 S/T |
ETS 300 102-1 ETS 300 102-1/А1 ETS 300102-1/А2 ETS 300 102-2 |
I-ETS 300 322 |
Q.931, Q.931bis Q.939 |
|
Аспект |
Базовый стандарт |
Стандарт тестирования на соответствие |
Эквивалентная рекомендация МСЭ-Т |
|
Стадия 1 |
ETS 300 171 (ЕСМА-142) |
Н/П |
- - |
|
Стадия 2 |
ETS 300 350 ETS 300 171 (ЕСМА-142) |
Н/П |
Q.71 |
|
Стадия 3 S/T |
ETS 300 102-1 ETS 300 102-1/А1 ETS 300102-1/А2 ETS 300 102-2 |
I-ETS 300 322 |
Q.931, Q.931bis Q.939 |
П.6 Техническое обслуживание и эксплуатация
Техническое обслуживание и эксплуатация абонентского доступа должно соответствовать Рекомендации МККТТ I.601, I.602, I.603, I.604, I.431, М.20.
П.7 Дополнительные услуги
Служебная АТС с функциями ЦСИС должна обеспечивать предоставление пользователям дополнительных услуг, которые соответствуют стандартам ETSI:
- мультиплексированный номер абонента (MSN) (ETS 300 050);
- портативность терминала (ТР) (ETS 300 053);
- прямой набор (DDI) (ETS 300 062);
- предоставление индикации вызывающей линии (CLIP) (ETS300 089);
- запрет идентификации вызывающей линии (CLIR) (ETS 300 094);
- предоставление идентификации подключенной линии (COLP) (ETS 300 094);
- запрет идентификации подключенной линии (COLR) (ETS 300 095);
- вызов с ожиданием (CW) (ETS 300 056);
- подадресация (SUB) (ETS 300 059);
- идентификация злонамеренного вызова (МСГО) (ETS300 128);
- замкнутая группа пользователей (CUG) (ETS 300 136);
- удержание вызова (HOLD) (ETS 300 139);
- встречная конференц-связь (ММС) (ETS 300 164);
- извещение о стоимости во время установления соединения (AOC-S) (ETS 300 178);
- извещение о стоимости во время соединения (AOC-D) (ETS 300 179);
- извещение о стоимости после завершения соединения (АОС-Е) (ETS 300 180);
- конференц-связь с расширением (CONF) (ETS 300 183);
- трехсторонняя связь (3PTY) (ETS 300 186);
- переадресация при занятости (CFB) (ETS 300 199);
- безусловная переадресация (CFU) (ETS 300 200);
- переадресация при неответе (CFNR) (ETS 300 201);
- отклонение вызова (CD) (ETS 300 202);
- сигнализация "пользователь-пользователь" (UUS) (ETS 300 284);
- завершение вызова к занятым абонентам (CCBS) (ETS 300 357).
П.8 Характеристики цифрового интерфейса для абонентского доступа на базовой скорости
П.8.1 Цифровые станционные интерфейсы для абонентского доступа определены в эталонной точке V, которая является границей раздела между станционным окончанием (БТ) и секцией или трактом цифрового доступа. Характеристики цифровых интерфейсов на абонентской стороне станции должны соответствовать характеристикам структур доступа пользователя ЦСИС (Рекомендация МСЭ-Т 1.412).
В таблице П.13 приведены документы, которым должны соответствовать станционные интерфейсы абонентского доступа на базовой скорости.
|
Тип доступа |
Интерфейс/ эталонная точка |
Пар аграф по рекомендации Q.512 |
Соответствующие аппаратурные рекомендации |
Объект для соединения |
|
Цифровая секция базового доступа |
VI |
5.2 |
G.960 |
Базовый доступ ЦСИС (2B+D) |
П.9 Цифровая секция (линейное оборудование станции) для базового доступа определяется как совокупность средств передачи цифровых сигналов с определенной скоростью между двумя последовательными эталонными точками. На рисунке П.1 отражен пример цифровой секции.

Рисунок П.1 - Цифровая секция
где
ЕТ - Станционное окончание
LT - Линейное окончание
NT - Сетевое окончание
ТЕ - Оконечное оборудование
Примечания
1 Под цифровой системой передачи подразумевается линейная система, использующая металлические пары, или оптические волокна, или система радиосвязи.
2 Следует отметить, что эталонные точки Т и VI не идентичны и, следовательно, цифровая секция несимметрична.
3 Эталонные точки Т и VI определены в рекомендации МСЭ-Т 1.411, Q.512.
П.10 Цифровая секция базового доступа используется для непосредственного доступа к коммутационной станции (эталонная точка VI).
Цифровая секция для базового доступа к ЦСИС должна соответствовать рекомендации МСЭ-Т G.960 ("Цифровая секция для базового доступа к ЦСИС") и при реализации учитывать ETR 061 и ETR 080.
П.11 Цифровая секция должна поддерживать передачу полного дуплекса и независимой битовой последовательности по двум каналам В и одному каналу D (I.412), а также выполнять дополнительные функции цифровой секции доступа для технического обслуживания и эксплуатации (рекомендация I.603).
Должна быть обеспечена возможность независимого использования каналов В, т.е. одновременно разными соединениями.
П. 12 Цифровая секция должна выполнять следующие требования:
- работа по существующим двухпроводным ненагруженным линиям, за исключением неизолированных;
- по возможности, достижение 100% загруженности кабеля для базового доступа ЦСИС без выбора кабельных пар, переустройства кабеля или устранения мостовых ответвлений;
- по возможности, распространение услуг базового доступа ЦСИС потребителям без применения регенераторов;
- сосуществование с существующими услугами (например, телефония, передача данных в речевой полосе частот) в пределах одного и того же кабеля;
- предоставление электропитания со стороны сети в обычном и аварийном режимах по базовому доступу;
- возможность поддержки функций технического обслуживания.
П.13 Цифровая секция обеспечивает в каждом направлении передачи два независимых канала 64 кбит/с для использования в качестве каналов В и один канал D 16 кбит/с (Рекомендация МСЭ-Т I.412).
П.14 При базовом вызове обеспечиваются следующие функции.
П.14.1 Битовая синхронизация обеспечивает синхронизацию битов (элементов сигнала) для возможности восстановления приемным оборудованием информации из совокупного битового потока. В направлении от NT1 к LT битовая синхронизация должна выделяться из тактовых сигналов, принятых NT 1 от LT.
П.14.2 Октетная синхронизация обеспечивает для каналов В октетную синхронизацию 8 кГц. И должна выделяться из кадрового выравнивания. Кадровое выравнивание дает возможность NT1 и LT восстановления канала с временным мультиплексированием.
П.14.3 Активизация от LT или NT1 переводит цифровую систему передачи между LT и NT1 в рабочее состояние.
П.14.4 Деактивизация - данная функция определена для возможности перевода NT1 и регенератора (если он есть) в режим малого потребления мощности или для уменьшения влияния переходных разговоров между системами. Деактивизация инициируется только со стороны АТС (ВТ).
П.14.5 Электропитание - обеспечивает дистанционное питание одного регенератора (если требуется), NT1 и аварийное ограниченное питание в эталонной точке Т.
П.14.6 Для технического обслуживания и эксплуатации определяются следующие категории функций:
- команды обслуживания (например, контроль шлейфа в регенераторе или NT1);
- информация обслуживания (например, линейные ошибки);
- индикация аварийного состояния;
- информация относительно питания.
П.15 Для реализации базового доступа ЦСИС цифровая система передачи должна обеспечивать удовлетворительное функционирование по металлическим местным линиям. Для металлической местной линии, удовлетворяющей минимуму требований ЦСИС, используется понятие цифровой абонентской линии (ЦАЛ).
П.15.1 Минимальные требования ЦСИС к металлической линии:
а) отсутствие индуктивной нагрузки;
б) отсутствие неизолированных проводников;
в) при наличии мостовых ответвлений:
- их максимальное количество = 2;
- максимальная длина = 500 м.
П.15.2 Физические характеристики ЦАЛ
Передаваемый сигнал будет подвергаться искажениям из-за импульсных шумов переходного разговора и нелинейности частотной характеристики ЦАЛ.
П.15.3 Основными электрическими характеристиками ЦАЛ являются:
- вносимое затухание (X), ограничиваемое 36 дБ на частоте 40 кГц для системы с кодированием 2B1Q;
- групповая задержка, ограничиваемая 80 мкс на частоте 40 кГц;
- характеристический импеданс, состоящий из натуральной и отрицательной мнимой частей, обе из которых имеют нелинейную зависимость от частоты.
Применение линейного кода 4ВЗТ не допускается.
П. 15.4 Переходные разговоры
Шум переходных разговоров в основном возникает в виду того, что потери связи между парами в одном кабеле (особенно соседними) имеют конечное значение. Это вызывает наличие следа сигнала одной ЦАЛ (влияющая ЦАЛ) в другой соседней ЦАЛ (ЦАЛ, подверженная влиянию).
Доминирующим типом переходного разговора считается переходный разговор на ближнем конце (NEXT). Внутрисистемный NEXT возникает, когда пары, интерферирующие друг с другом в кабеле, используются одной системой цифровой передачи. Межсистемный NEXT имеет место в случае интерференции между парами, используемыми различными системами.
Внутрисистемный NEXT, наводимый в подверженной влиянию ЦАЛ от нескольких влияющих ЦАЛ представляется эквивалентным шумом от одной влияющей ЦАЛ с общими зависящими от частотной характеристики потерями, известными как суммарные потери мощности. Они имеют величину 50 дБ на частоте 40 кГц и уменьшаются в зависимости от частоты на 15 дБ на декаду.
П.15.5 Дисбаланс относительно земли
ЦАЛ имеет конечное значение сбалансированности относительно земли. Этот дисбаланс описывается в смысле потерь продольного преобразования. Худшим случаем является значение 45.5 дБ на 40 кГц, уменьшающееся на 5 дБ на декаду.
П.15.6 Импульсный шум
ЦАЛ будет подвергаться влиянию импульсных шумов, наводимых от других систем этого же кабеля и от других источников. Рисунок П.2 отображает требования, относящиеся к импульсным шумам.

Рисунок П.2 - Импульсный шум
Р.1 Конструкция стативов должна допускать установку оборудования АМТС в помещениях высотой 3,2 м (высота от пола до выступающих частей потолка) и обеспечивать установку без фальшпола.
Р.2 Нагрузка на пол в помещениях АМТС должна быть не более 500 кг\м2.
Масса съемных блоков не должна превышать 15 кг.
Р.3 Должна быть обеспечена возможность использования дополнительных элементов крепления конструкции стативов для сохранения работоспособности оборудования станции в сейсмоопасных регионах с величиной до 8,0 баллов по шкале Рихтера, а при установке оборудования станции в сейсмоустойчивых зданиях до 10 баллов по шкале Рихтера.
Р.4 Конструкция оборудования АМТС должна обеспечивать:
Р.4.1 Размещение оборудования АМТС по принципу «плата-кассета-статив».
Р.4.2 Возможность быстрой установки, сборки, удобства соединений между стативами кабелями с разъемами, взаимозаменяемость и ремонтопригодность плат и других частей оборудования.
Р.4.3 Возможность размещения оборудования рядами стативов лицевыми и тыльными сторонами друг к другу.
Р.4.4 Расположение кассет в стативах с одной стороны.
Р.4.5 Возможность обслуживания стативных рядов с двух сторон.
Р.4.6 Возможность резервирования свободных мест для размещения стативов и рядов оборудования при расширении емкости.
Р.5 При монтаже оборудования АМТС должны использоваться:
Р.5.1 .Сетка для прокладки межстативных кабелей и кабельросты для удаленных концентраторов или фальшпол при прокладке кабелей под стативами.
Р.5.2 Металлоконструкции для размещения оборудования встроенной сети токораспределения, защиты и рядового освещения.
Р.5.3 Металлоконструкции для крепления сети заземления, прокладки кабелей между этажами здания.
Р.5.4 Должны быть предусмотрены:
Р.5.4.1 Устройства электропитания и токораспределения.
Р.5.4.2 Устройства защиты и сигнализации (автоматы, предохранители).
Р.5.4.3 Шкафы для хранения ЗИП, носителей программного обеспечения и технической документации.
С.1 Общие требования
С.1.1 При наличии в АМТС аппаратно-программных средств, реализующих функции коммутаций услуг интеллектуальной сети и интеллектуальной периферии (SSP/IP), АМТС должна обеспечивать возможность выхода абонентов местных АТС, а также абонентов других регионов к платформе цифровой интеллектуальной сети.
АМТС с функциями SSP/IP должна обеспечивать установление внутризоновых, междугородных и международных соединений в соответствии с информацией, поступающей от пункта управления услугами (SCP).
АМТС с функциями SSP/IP должна обеспечивать выполнение функции запроса АОН, приема от телефонной сети номера А, получения дополнительной информации от пользователей услуг ИСС в коде DTMF, выдачу речевых сообщений пользователям абонентам услуг ИСС в процессе установления соединения и предоставления услуг. АМТС с функциями SSP/IP должна обеспечивать в соответствии с рекомендациями [23], [24] распознавание вызовов услуг ИСС и осуществлять их обработку по инструкциям, поступающим от SCP.
АМТС с функциями SSP/IP должна обеспечивать выдачу речевых сообщений в соответствии с алгоритмом предоставления поддерживаемых услуг.
АМТС с функциями SSP/IP должна обеспечивать возможность доступа пользователей к услугам ИСС из следующего набора услуг:
- бесплатный вызов;
- услуга с дополнительной оплатой;
- телеголосование;
- вызов по кредитной карте;
- вызов по предоплаченной карте;
- вызов по расчетной карте.
С.1.2 АМТС с функциями SSP/IP должна обеспечивать реализацию следующих функций:
- предоставление пользователям услуг ИСС в соответствии со свойствами услуг ИСС, определенными в С.2;
- доступ пользователей к услугам ИСС в соответствии с требованиями к системе нумерации, определенной в С.3;
- учет данных для начисления платы за предоставление услуг ИСС в соответствии с требованиями, определенными в 4.8.6 и в Г2 Приложения Г;
- взаимодействие с пользователем для выдачи речевых сообщений я получения дополнительной информации в соответствии с требованиями к интеллектуальной периферии, определенными в С.4;
- взаимодействие с пунктом управления услугами и сетью ТФОП в соответствии с требованиями к интерфейсам, определенными в С.5.
С.2 Услуги интеллектуальной сети
С.2.1 Основные определения
Оператор сети - физическое или юридическое лицо, ответственное за развертывание и обслуживание сети, предоставляющей базовые услуги электросвязи.
Оператор ИСС - физическое или юридическое лицо, обслуживающее и эксплуатирующее элементы сети, необходимые для функционирования ИСС.
Абонент услуги ИСС - физическое или юридическое лицо, заключившее договор с оператором ИСС на предоставление услуги.
Пользователь услуги ИСС - абонент базовой сети, использующий услугу ИСС.
Примечание - В соответствии с [25] при наличии двух описаний свойств услуг допускается использование одного из них.
С.2.2 Услуга бесплатный вызов (FPH)
С.2.2.1 Основные положения
Услуга и ее свойства должны соответствовать [25] и [26].
Услуга Бесплатный вызов позволяет пользователю услуги осуществлять вызовы за счет абонента услуги.
С.2.2.2 Свойства услуги
С.2.2.2.1 Обязательные свойства услуги
Единый номер (ONE) - обеспечивает пользователю услуги доступ по одному номеру к абоненту услуги, имеющему более одного физического номера.
Реверсивная оплата (REVC) - обеспечивает оплату вызовов абонентом услуги, а не пользователями услуг.
С.2.2.2.2 Дополнительные свойства
Сертификация (AUTC) - позволяет определить правомочность выполнения пользователем определенных действий, связанных с предоставлением данной услуги. SSP/IP обеспечивает сбор соответствующей информации и передачу ее на SCP
Распределение вызовов (CD) - позволяет абоненту задать процентное отношение или другие критерии для распределения вызовов по разным направлениям. Реализуется на SCP.
Перенаправление по занятости/неответу (CFC) - позволяет перенаправлять вызовы в случае занятости или неответа вызываемой абонентской линии после специфицированного тайм-аута.
При реализации данного свойства SSP обеспечивает передачу информацию для SCP о соответствующих событиях (занятость, отсутствие ответа).
Ограничение поступающих вызовов (GAP)-
Описание №1:
позволяет Оператору ИСС автоматически ограничить число вызовов направляемых к абоненту.
Описание №2:
позволяет ограничить число вызовов к абоненту услуги для предотвращения перегрузки сети SSP обеспечивает ограничение поступающих вызовов в соответствии с критериями, переданными от SCP.
Ограничение одновременно поступающих вызовов (LIM)-
Описание №1:
позволяет абоненту услуги указать максимальное количество одновременно поступающих вызовов в обслуживаемом направлении.
Описание №2:
позволяет производить подсчет текущего количества вызовов к абоненту услуги и отклонить вновь поступающие вызовы при достижении заданного порога одновременно поступивших вызовов. Значение порога может изменяться абонентом в реальном времени.
Совместно со свойством распределения вызовов позволяет перенаправлять вновь поступающие вызовы.
Изменение абонентом услуги значения порога в реальном времени означает в данном случае, что изменение может быть внесено с помощью SMP, а затем должно быть активировано на SCP.
SSP обеспечивает передачу информации о поступающих вызовах, a SCP обеспечивает подсчет и ограничение вызовов.
Регистрация вызовов по определенному номеру (LOG) - обеспечивает запись для каждого вызова, поступающего по определенному номеру. Регистрация вызовов обеспечивается на SCP, а также в SSP
Организация очереди (QUE) –
Описание №1:
позволяет абоненту услуги поставить вызов на ожидание в случае занятости вызываемой стороны, а затем установить соединение при освобождении вызываемой стороны. При постановке на ожидание вызывающая сторона слышит уведомление о том, что соединение будет установлено, как только это станет возможным.
Описание №2:
позволяет абоненту при обнаружении таких событий как занятость или истечение тайм-аута поставить вызов в очередь и обеспечить соответствующее уведомление вызывающей стороне.
SSP обеспечивает передачу информации о состоянии вызова
Управление профилем услуг абонентом услуг (СРМ) - позволяет абоненту услуги изменять профиль его услуги (физические номера, предупреждения, распределение вызовов и т.д.).
Реализуется на SMP. Абонент услуги имеет доступ к SMP.
Сообщение, записанное по заказу абонента услуги (CRA) - позволяет обеспечить различные предупреждения при неуспешном завершении вызовов. Абонент услуги может специфицировать эти уведомления (например, если у вызываемого абонента нерабочее время или все каналы заняты).
Обработка большого числа вызовов (MAS) - обеспечивает обработку огромного числа вызовов.
Маршрутизация зависящая от исходящего направления (ODR) – позволяет абоненту услуги принимать вызов или отказываться от него, в случае приема вызова - маршрутизировать его в соответствии с географическим расположением вызывающей стороны. Позволяет абоненту услуги указать маршрутизацию в зависимости от географической зоны вызывающей стороны.
SSP обеспечивает передачу номера вызывающей стороны, если она доступна в сети.
Фильтрация вызовов в зависимости от исходящего направления (OCS) - позволяет ограничить вызовы в зависимости от исходящей стороны (например, кода зоны).
SSP обеспечивает передачу номера вызывающей стороны, если она доступна в сети.
Подсказка вызывающему абоненту (OUP) -
Описание №1:
позволяет абоненту обеспечить уведомления, которые предлагают пользователю ввести с помощью DTMF дополнительные цифры. Эти цифры содержат дополнительную информацию, которая может быть использована для маршрутизации или для обеспечения информационной безопасности во время обработки вызова.
Описание №2:
позволяет обеспечить вызывающую сторону подсказкой с помощью специальных уведомлений. Уведомления могут содержать запрос о вводе дополнительных цифр, необходимых для предоставления услуги, с помощью DTMF или речевых инструкций. Маршрутизация в зависимости от времени (TDR) –
Описание №1:
позволяет абоненту принимать или отклонять вызовы и в случае приема маршрутизировать их в зависимости от времени, даты, дня недели.
Описание №2:
позволяет абоненту применять различную обработку вызовов в зависимости от времени дня, дня недели, дня года, выходных и т.п. SCP управляет маршрутизацией, реализуемой по указаниям SCP на SSP.
С.2.3 Услуга с дополнительной оплатой (PRM)
С.2.3.1 Основные положения
Услуга и ее свойства должны соответствовать [25], [26].
Услуга с дополнительной оплатой позволяет пользователю услуги осуществлять вызовы с целью получения информации по определенному номеру за дополнительную плату.
С.2.3.2 Свойства услуги
С.2.3.2.1 Обязательные свойства услуги
Единый номер (ONE) - обеспечивает пользователю услуги доступ по одному номеру к абоненту услуги, имеющему более одного физического номера.
Дополнительная оплата (PRMC) - обеспечивает начисление дополнительной оплаты за предоставленную информацию.
С.2.3.2.1 Дополнительные свойства
Распределение вызовов (CD) - позволяет абоненту задать процентное отношение или другие критерии для распределения вызовов по разным направлениям. Реализуется на SCP.
Перенаправление по занятости/неответу (CFQ - позволяет перенаправлять вызовы в случае занятости или неответа вызываемой абонентской линии после специфицированного тайм-аута.
При реализации данного свойства SSP обеспечивает передачу информации для SCP о соответствующих событиях (занятость, отсутствие ответа).
Ограничение поступающих вызовов (GAP) –
Описание №1:
позволяет Оператору ИСС автоматически ограничить число вызовов направляемых к абоненту.
Описание №2:
позволяет ограничить число вызовов к абоненту услуги для предотвращения перегрузки сети.
SSP обеспечивает ограничение поступающих вызовов в соответствии с критериями, переданными от SCP.
Ограничение одновременно поступающих вызовов (LIM) –
Описание №1:
позволяет абоненту услуги указать максимальное количество одновременно поступающих вызовов в обслуживаемом направлении
Описание №2:
позволяет производить подсчет текущего количества вызовов к абоненту услуги и отклонить вновь поступающие вызовы при достижении заданного порога одновременно поступивших вызовов. Значение порога может изменяться абонентом в реальном времени. Совместно со свойством распределения вызовов позволяет перенаправлять вновь поступающие вызовы.
Изменение абонентом услуги значения порога в реальном времени означает в данном случае, что изменение может быть внесено с помощью SMP, а затем должно быть активировано на SCP.
SSP обеспечивает передачу информации о поступающих вызовах, a SCP обеспечивает подсчет и ограничение вызовов.
Регистрация вызовов по определенному номеру (LOG) - обеспечивает запись для каждого вызова, поступающего по определенному номеру.
Регистрация вызовов обеспечивается на SCP, а также в SSP
Организация очереди (QUE) –
Описание №1:
позволяет абоненту услуги поставить вызов на ожидание в случае занятости вызываемой стороны, а затем - установить соединение при освобождении вызываемой стороны. При постановке на ожидание вызывающая сторона слышит уведомление о том, что соединение будет установлено, как только это станет возможным.
Описание №2:
позволяет абоненту при обнаружении таких событий как занятость или истечение тайм-аута поставить вызов в очередь и обеспечить соответствующее уведомление вызывающей стороне.
SSP обеспечивает передачу информации о состоянии вызова.
Управление профилем услуг абонентом услуг (СРМ) - позволяет абоненту услуги изменять профиль его услуги (физические номера, предупреждения, распределение вызовов и т.д.)
Реализуется на SMP. Абонент услуги имеет доступ к SMP.
Сообщение, записанное по заказу абонента услуги (CRA) позволяет обеспечить различные предупреждения при неуспешном завершении вызовов. Абонент услуги может специфицировать эти уведомления (например, если у вызываемого абонента нерабочее время или все каналы заняты).
Маршрутизация зависящая от исходящего направления (ODR) – позволяет абоненту услуги принимать вызов или отказываться от него, в случае приема вызова - маршрутизировать его в соответствии с географическим расположением вызывающей стороны. Позволяет абоненту услуги указать маршрутизацию в зависимости с географической зоной вызывающей стороны.
SSP обеспечивает передачу номера вызывающей стороны, если она доступна в сети.
Фильтрация вызовов в зависимости от исходящего направления (OCS) - позволяет ограничить вызовы в зависимости от исходящей стороны (например, кода зоны).
SSP обеспечивает передачу номера вызывающей стороны, если она доступна в сети.
Подсказка вызывающему абоненту (OUP) -
Описание №1:
позволяет абоненту обеспечить уведомления, которые предлагают пользователю ввести с помощью DTMF дополнительные цифры. Эти цифры содержат дополнительную информацию, которая может быть использована для маршрутизации или для обеспечения информационной безопасности во время обработки вызова.
Описание №2:
позволяет обеспечить вызывающую сторону подсказкой с помощью специальных уведомлений. Уведомления могут содержать запрос о вводе дополнительных цифр, необходимых для предоставления услуги, с помощью DTMF или речевых инструкций.
Маршрутизация в зависимости от времени (TDR) –
Описание №1:
позволяет абоненту принимать или отклонять вызовы и в случае приема маршрутизировать их в зависимости от времени, даты, дня недели.
Описание №2:
позволяет абоненту применять различную обработку вызовов в зависимости от времени дня, дня недели, дня года, выходных и т.п.
SCP управляет маршрутизацией, реализуемой по указаниям SCP на SSP
С.2.4 Вызов по расчетной карте (АСС)
С.2.4.1 Основные положения
Услуга и ее свойства должны соответствовать [25], [26].
Услуга Вызов по расчетной карте позволяет пользователю услуги осуществлять вызовы (международные, междугородные и местные) с терминального устройства оборудованного DTMF без вмешательства оператора и оплачивать эти вызовы по счету, соответствующему подписке на данную услугу.
Пользователь услуги обеспечивается картой, ее номером и PIN-кодом. Номер карты может содержать не более 19 цифр в соответствии с [27].
С.2.4.2 Свойства услуги
С.2.4.2.1 Обязательные свойства услуги Сокращенный набор (ABD) - позволяет использовать сокращенный набор номера, который соответствует полному номеру в соответствии с использующимся планом нумерации, например две цифры могут использоваться вместо полного номера. Реализуется на SCP
Аутентификация (AUTC) - позволяет определить правомочность выполнения пользователем определенных действий, связанных с предоставлением данной услуги. SSP/IP обеспечивает сбор соответствующей информации и передачу ее на SCP.
Подсказка вызывающему абоненту (OUP) –
Описание №1:
позволяет абоненту обеспечить уведомления, которые предлагают пользователю ввести с помощью DTMF дополнительные цифры. Эти цифры содержат дополнительную информацию, которая может быть использована для маршрутизации или для обеспечения информационной безопасности во время обработки вызова.
Описание №2:
позволяет обеспечить вызывающую сторону подсказкой с помощью специальных уведомлений. Уведомления могут содержать запрос о вводе дополнительных цифр, необходимых для предоставления услуги, с помощью DTMF или речевых инструкций.
Контроль кредита - перед установлением соединения проверяется наличие и размер кредита на данной расчетной карте. Если кредит есть, то пользователю предоставляется возможность установления соединения.
Наличие кредита для данной расчетной карточки определяется на SCP. Достаточность кредита для установления соединения определяет SCP.
Последующие вызовы - позволяет пользователю установить новое соединение без проверки PIN и номера карты.
С.2.4.2.2 Дополнительные свойства
Регистрация вызовов по определенному номеру (LOG) - обеспечивает запись для каждого вызова, поступающего по определенному номеру.
Регистрация вызовов обеспечивается на SCP, а также в SSP
Выбор языка - позволяет пользователю выбрать язык для уведомлений во время вызова, за исключением уведомлений передаваемых до осуществления выбора языка пользователем услуг. Выбранный язык используется для всех остальных уведомлений во время вызова. Допустимы только языки, предопределенные Оператором ИСС, исходным состоянием является русский язык.
Уведомления на разных языках могут обеспечиваться с помощью SSP/IP.
Управление разъединением - в процессе соединения постоянно контролируется оставшийся кредит. При достижении определенного минимума пользователь услуги предупреждается с помощью специального тонального сигнала и соединение разрывается после определенного тайм-аута.
Помощь оператора - обеспечивает подключение оператора для помощи в осуществлении вызова, если после первого уведомления в течении предопределенного времени пользователь услуги не ввел необходимую информацию.
Модификация PIN-кода- позволяет пользователю изменять PIN-код с помощью DTMF под управлением SCP.
Ограничение в зависимости от времени и дня - позволяет разрешить или ограничить возможности пользователя услуги в осуществлении вызовов в предопределенные дни и периоды времени. Ограничение по времени и дням могут изменяться Оператором ИСС по запросу абонента услуги.
Ограничение назначения - позволяет ограничить вызовы по определенным направлениям по запросу абонента услуг. Реализуется с помощью SCP
Международные/национальные вызовы - позволяет осуществлять международные и национальные вызовы. Оператор ИСС и оператор сети могут ограничить возможности пользователя услуги.
С.2.5 Вызов по карте с предоплатой (РСС)
С.2.5.1 Основные положения
Услуга и ее свойства должны соответствовать [25], [26].
Услуга Вызов по предоплаченной карте позволяет пользователю услуги осуществлять вызовы (международные, междугородные и местные) с любого терминального устройства используя DTMF без вмешательства оператора с предварительной оплатой.
Донабор информации осуществляется в режиме DTMF.
Подписка на данную услугу не требуется, необходима только покупка пользователем карты.
Пользователь услуги использует карту до истечения оплаченного кредита. После этого информация о карте с предоплатой уничтожается из базы данных ИСС.
Карты с предоплатой могут продаваться коммерческими организациями, имеющими соглашение с Оператором ИСС.
Пользователь услуги обеспечивается картой, ее номером и PIN-кодом. Номер карты может содержать не более 19 цифр в соответствии с [27].
С.2.5.2 Свойства услуги
С.2.5.2.1 Обязательные свойства услуги
Предупреждение об оставшемся кредите - позволяет пользователю получить предупреждение об оставшейся части предоплаченного кредита. Предупреждение может быть связано с установлением соединения для отдельных вызовов по специальному номеру.
Пользователь может получить это уведомление только после набора дополнительных цифр с помощью оборудования DTMF. SCP выдает указание о выдаче уведомления с помощью SSP/IP.
Контроль кредита - перед установлением соединения проверяется наличие и размер кредита на данной карте. Если кредит есть, то пользователю предоставляется возможность установления соединения.
Наличие кредита для данной расчетной карточки определяется на SCP. Достаточность кредита для установления соединения определяет SCP
Управление разъединением - в процессе соединения постоянно контролируется оставшийся кредит. При достижении определенного минимума пользователь услуги предупреждается с помощью специального тонального сигнала - и соединение разрывается после определенного тайм-аута.
Последующие вызовы - позволяет пользователю установить новое соединение без проверки номера карты и РВД кода.
Аутентификация (AUTC) - позволяет определить правомочность выполнения пользователем определенных действий, связанных с предоставлением данной услуги. SSP/IP обеспечивает сбор соответствующей информации и передачу ее на SCP
Подсказка вызывающему абоненту (OUP) -
Описание №1:
позволяет абоненту обеспечить уведомления, которые предлагают пользователю ввести с помощью DTMF дополнительные цифры. Эти цифры содержат дополнительную информацию, которая может быть использована для маршрутизации или для обеспечения информационной безопасности во время обработки вызова.
Описание №2:
позволяет обеспечить вызывающую сторону подсказкой с помощью специальных уведомлений. Уведомления могут содержать запрос о вводе дополнительных цифр, необходимых для предоставления услуги, с помощью DTMF или речевых инструкций.
С.2.5.2.2 Дополнительные свойства Регистрация вызовов по определенному номеру (LOG) - обеспечивает запись для каждого вызова, поступающего по определенному номеру. Регистрация вызовов обеспечивается на SCP, а также SSP.
Выбор языка - позволяет пользователю выбрать язык для уведомлений во время вызова, за исключением уведомлений передаваемых до осуществления выбора языка пользователем услуг. Выбранный язык используется для всех остальных уведомлений во время вызова. Допустимы только языки, предопределенные Оператором ИСС. Уведомления на разных языках могут обеспечиваться с помощью SSP/IP. Международные/национальные вызовы - позволяет осуществлять международные и национальные вызовы. Оператор ИСС и оператор сети могут ограничить возможности пользователя услуги.
Помощь оператора - обеспечивает подключение оператора для помощи в осуществлении вызова, если после первого уведомления в течении предопределенного времени пользователь услуги не ввел необходимую информацию.
С.2.6. Вызов по кредитной карте (ССС)
С.2.6.1 Основные положения
Услуга и ее свойства должны соответствовать [25], [26].
Услуга Вызов по кредитной карте позволяет пользователю услуги осуществлять вызовы (международные, междугородные и местные) с терминального устройства оборудованного DTMF без вмешательства оператора и оплачивать эти вызовы по счету, соответствующему номеру кредитной карты.
При предоставлении услуги Вызов по кредитной карте необходимо соглашение между коммерческой кредитной организацией или банком и Оператором ИСС/Оператором сети,
С.2.6.2 Свойства услуги
С.2.6.2.1 Обязательные свойства услуги Аутентификация (AUTC) - позволяет определить правомочность выполнения пользователем определенных действий, связанных с предоставлением данной услуга. SSP/TP обеспечивает сбор соответствующей информации и передачу ее на SCP
Подсказка вызывающему абоненту (OUP) –
Описание №1:
позволяет абоненту обеспечить уведомления, которые предлагают пользователю ввести с помощью DTMF дополнительные цифры. Эти цифры содержат дополнительную информацию, которая может быть использована для маршрутизации или для обеспечения информационной безопасности во время обработки вызова.
Описание №2:
позволяет обеспечить вызывающую сторону подсказкой с помощью специальных уведомлений. Уведомления могут содержать запрос о вводе дополнительных цифр, необходимых для предоставления услуги, с помощью DTMF или речевых инструкций.
Контроль кредита - перед установлением соединения проверяется наличие и размер кредита на данной кредитной карте путем взаимодействия с коммерческой организацией. Если кредит есть, то пользователю предоставляется возможность установления соединения.
Наличие кредита для данной расчетной карточки определяется на SCP. Достаточность кредита для установления соединения определяет SCP
С.2.6.2.2 Дополнительные свойства
Регистрация вызовов по определенному номеру (LOG) - обеспечивает запись для каждого вызова, поступающего по определенному номеру.
С.2.6. Вызов по кредитной карте (ССС)
С.2.6.1 Основные положения
Услуга и ее свойства должны соответствовать [25], [26].
Услуга Вызов по кредитной карте позволяет пользователю услуги осуществлять вызовы (международные, междугородные и местные) с терминального устройства оборудованного DTMF без вмешательства оператора и оплачивать эти вызовы по счету, соответствующему номеру кредитной карты.
При предоставлении услуги Вызов по кредитной карте необходимо соглашение между коммерческой кредитной организацией или банком и Оператором ИСС/Оператором сети.
С.2.6.2 Свойства услуги
С.2.6.2.1 Обязательные свойства услуги
Аутентификация (AUTC) - позволяет определить правомочность выполнения пользователем определенных действий, связанных с предоставлением данной услуги. SSP/IP обеспечивает сбор соответствующей информации и передачу ее на SCP
Подсказка вызывающему абоненту (OUP) –
Описание №1:
позволяет абоненту обеспечить уведомления, которые предлагают пользователю ввести с помощью DTMF дополнительные цифры. Эти цифры содержат дополнительную информацию, которая может быть использована для маршрутизации или для обеспечения информационной безопасности во время обработки вызова.
Описание №2:
позволяет обеспечить вызывающую сторону подсказкой с помощью специальных уведомлений. Уведомления могут содержать запрос о вводе дополнительных цифр, необходимых для предоставления услуги, с помощью DTMF или речевых инструкций.
Контроль кредита - перед установлением соединения проверяется наличие и размер кредита на данной кредитной карте путем взаимодействия с коммерческой организацией. Если кредит есть, то пользователю предоставляется возможность установления соединения.
Наличие кредита для данной расчетной карточки определяется на SCP. Достаточность кредита для установления соединения определяет SCP
С.2.6.2.2 Дополнительные свойства
Регистрация вызовов по определенному номеру (LOG) - обеспечивает запись для каждого вызова, поступающего по определенному номеру.
Счетчик - Один или более номеров для телеголосования может существовать в какой-либо период времени. Каждый вызов по такому номеру увеличивает счетчик, относящийся к набранному номеру для телеголосования. Реализуется в SCP.
С.2.7.2.2 Дополнительные свойства
Распределение вызовов (CD) - позволяет абоненту задать процентное отношение или другие критерии для распределения вызовов по разным направлениям. Реализуется на SCP
Ограничение поступающих вызовов (GAP) –
Описание №1:
позволяет Оператору ИСС автоматически ограничить число вызовов направляемых к абоненту.
Описание №2:
позволяет ограничить число вызовов к абоненту услуги для предотвращения перегрузки сети.
SSP обеспечивает ограничение поступающих вызовов в соответствии с критериями переданными от SCP.
Ограничение одновременно поступающих вызовов (LIM) -
Описание №1:
позволяет абоненту услуги указать максимальное количество одновременно поступающих вызовов в обслуживаемом направлении
Описание №2:
позволяет производить подсчет текущего количества вызовов к абоненту услуги и отклонить вновь поступающие вызовы при достижении заданного порога одновременно поступивших вызовов. Значение порога может изменяться абонентом в реальном времени. Совместно со свойством распределения вызовов позволяет перенаправлять вновь поступающие вызовы.
Изменение абонентом услуги значения порога в реальном времени означает в данном случае, что изменение может быть внесено с помощью SMP, а затем должно быть активировано на SCP.
SSP обеспечивает передачу информации о поступающих вызовах, a SCP обеспечивает подсчет и ограничение вызовов.
Регистрация вызовов по определенному номеру (LOG) - обеспечивает запись для каждого вызова, поступающего по определенному номеру.
Регистрация вызовов обеспечивается на SCP , а также в SSP
Организация очереди (QUE) -
Описание №1:
позволяет абоненту услуги поставить вызов на ожидание в случае занятости вызываемой стороны, а затем установить соединение при освобождении вызываемой стороны. При постановке на ожидание вызывающая сторона слышит уведомление о том, что соединение будет установлено, как только это станет возможным.
Описание №2:
позволяет абоненту при обнаружении таких событий как занятость или истечение тайм-аута поставить вызов в очередь и обеспечить соответствующее уведомление вызывающей стороне.
SSP обеспечивает передачу информации о состоянии вызова
Управление профилем услуг абонентом услуг (СРМ) - позволяет абоненту услуги изменять профиль его услуги (физические номера, предупреждения, распределение вызовов и т.д.)
Реализуется на SMP. Абонент услуги имеет доступ к SMP,
Сообщение, записанное по заказу абонента услуги (CRA) позволяет обеспечить различные предупреждения при неуспешном завершении вызовов. Абонент услуги может специфицировать эти уведомления (например, если у вызываемого абонента нерабочее время или все каналы заняты).
Маршрутизация зависящая от исходящего направления (ODR) - позволяет абоненту услуги принимать вызов или отказываться от него, в случае приема вызова - маршрутизировать его в соответствии с географическим расположением вызывающей стороны. Позволяет абоненту услуги указать маршрутизацию в зависимости с географической зоны вызывающей стороны.
SSP обеспечивает передачу номера вызывающей стороны, если она доступна в сети. Фильтрация вызовов в зависимости от исходящего направления (OCS) - позволяет ограничить вызовы в зависимости от исходящей стороны (например, кода зоны).
SSP обеспечивает передачу номера вызывающей стороны, если она доступна в сети.
Подсказка вызывающему абоненту (OUP) –
Описание №1:
позволяет абоненту обеспечить уведомления, которые предлагают пользователю ввести с помощью DTMF дополнительные цифры. Эти цифры содержат дополнительную информацию, которая может быть использована для маршрутизации или для обеспечения информационной безопасности во время обработки вызова.
Описание №2:
позволяет обеспечить вызывающую сторону подсказкой с помощью специальных уведомлений. Уведомления могут содержать запрос о вводе дополнительных цифр, необходимых для предоставления услуги, с помощью DTMF или речевых инструкций.
Маршрутизация в зависимости от времени (TDR) -
Описание №1:
позволяет абоненту принимать или отклонять вызовы и в случае приема маршрутизировать их в зависимости от времени, даты, дня недели.
Описание №2:
позволяет абоненту применять различную обработку вызовов в зависимости от времени дня, дня недели, дня года, выходных и т.п.
SCP управляет маршрутизацией, реализуемой по указаниям SCP на SSP
Специальная обработка - позволяет специфицировать условия обработки одного вызова в период голосования. Например, один из N вызовов может маршрутизироваться по определенному назначению или получать специальное уведомление.
Фильтрация услуги - позволяет абоненту услуга управлять массовыми вызовами с помощью предварительного подсчета в SSP. Вызовы по номеру телеголосования подсчитываются и затем значения счетчиков пересылаются в SCP в зависимости от характеристик фильтрации.
При активизации данного свойства не работают следующие свойства за исключением тех вызовов, которые прошли фильтрацию:
- Customised Recorded Announcement (CRA)
- Call Limiter(LM)
- Origin Dependent Routing (ODR)
- Time Dependent Routing (TDR).
С.3 Система нумерации для интеллектуальной сети
С.3.1 В соответствии с планом набора номера для доступа абонентов сети ТФОП к услугам ИСС, определенным в [Система и план нумерации на сетях связи стран 7-ой зоны всемирной нумерации] номер услуги ИСС должен иметь следующую структуру: DEFX1X2X3X4....Xn, где
DEF - код услуги ИСС, который назначается из числа свободных междугородных кодов восьмой сотни;
Х1Х2Х3 - код оператора ИСС;
X4....Xn- логический номер абонента услуги ИСС;
Примечание- В настоящее время логический номер содержит до 4 знаков (n=7). В перспективе номер может быть расширен до 8 знаков (n=8).
С.4 Требования к интеллектуальной периферии (IP)
С.4.1 Интеллектуальная периферия должна обеспечивать взаимодействие сети с пользователем посредством функции специализированных ресурсов (SRF), управляемой по инструкциям, поступающим в IP от SCP через SSP, в соответствии с логикой предоставления услуг. Функция SRF должна обеспечивать:
- воспроизведение аудиоинформации (речевых сообщений, тональных сигналов и т.п.), передаваемых пользователю в соответствии с логикой услуги;
- получение дополнительной информации от пользователя в режиме тонального набора (DMTF) в процессе установления соединения и предоставления услуг.
С.4.2 IP должна обеспечивать возможность воспроизведения речевых сообщений на одном из двух языков или последовательно на двух языках (русский, английский). Если пользователь не отвечает на предлагаемый язык или осуществляет некорректный ввод языка то, по умолчанию, должен использоваться русский.
Перечень речевых сообщений с соответствующими идентификаторами сообщений приведен в таблице С.1.
|
Раздел 1: Фиксированные сообщения (Broadcast Announcement) |
|
|
Идентификация сообщения |
Сообщения на двух языках |
|
1 |
Извините, вы набрали неправильный номер. Sorry, invalid service number |
|
2 |
Извините, услуга скоро будет доступна. Приносим извинения за причиненные неудобства Sorry, the service will be available soon. We apologize for any inconvenience caused |
|
3 |
Извините, голосование закончено. Sorry, the vote is finished |
|
4 |
Извините, неправильный номер услуги. Sorry, invalid service number |
|
5..29 |
Spare |
|
|
|
|
Сообщения на русском языке |
|
|
|
|
|
30 |
ваш голос зарегистрирован. Спасибо за участие. |
|
31 |
извините голосование закончено. Получено максимальное количество голосов. |
|
32 |
спасибо |
|
33 |
извините голосование еще не начато. |
|
34 |
извините невозможно зарегистрировать Ваш голос. Слишком много одновременно поступивших вызовов. |
|
35 |
извините в данном голосовании Ваш регион не регистрируется. |
|
36 |
извините данное голосование не обслуживается. |
|
37 |
извините неправильный номер услуги. |
|
|
|
|
38..59 |
Spare |
|
|
|
|
Сообщения на английском языке |
|
|
|
|
|
60 |
Your vote is registered. Thank you for your participation. |
|
61 |
Sorry, the vote is finished. The maximum number of votes is reached. |
|
62 |
Thank you |
|
63 |
Sorry, the vote is not yet started. |
|
64 |
Sorry, this voting session is currently not reachable. There are too many simultaneous calls to this session. |
|
65 |
Sorry, this voting session is not available from your area. |
|
66 |
Sorry, this session is not in service. |
|
67 |
Sorry, invalid service number |
|
|
|
|
68..89 |
Spare |
|
|
|
|
Сообщения, определяемые провайдером услуги |
|
|
|
|
|
90 |
Услуга предоставлена « ». The service is provided by « ». |
|
91 |
|
|
92 |
|
|
93 |
|
|
94 |
|
|
95..256 |
Spare |
|
|
|
|
|
|
|
Раздел 2: Сообщения на двух языках |
|
|
|
|
|
300 |
Извините, вы набрали неправильный номер. Sorry, invalid service number. |
|
301 |
Извините, услуга скоро будет доступна. Приносим извинения за причиненные неудобства. Sorry, the service will be available soon. We apologize for any inconvenience caused. |
|
302 |
Извините, голосование закончено. Sorry, the vote is finished. |
|
303 |
Добро пожаловать. Пожалуйста, выберите язык. Введите 1 для русского и 2 для английского языка. Welcome. Please select your language. Enter 1 for Russian, 2 for English. |
|
304 |
Извините, данный номер не обслуживается. Sorry, this number is not in service. |
|
305 |
Извините, данное голосование не обслуживается. Sorry, this session is not in service |
|
306 |
Извините, оператор недоступен. Позвоните, пожалуйста, позже. Спасибо. Sorry, the operator is not available. Please try later. Thank you. |
|
307 |
Извините, вы превысили лимит времени. Sorry, you have exceeded the time limit |
|
308 |
Стоимость минуты соединения после сигнала %ХХ рублей и %ХХ копеек The cost of one minute of your call after the tone is %XX Rubles and %XX Kopecks |
|
309 |
Ваш абонент Your service provider is |
|
310..599 |
Spare |
|
|
|
|
Раздел 3: Сообщения на русском языке |
|
|
|
|
|
600 |
Ваш голос зарегистрирован. Спасибо за участие. |
|
601 |
Ваш голос зарегистрирован. Пожалуйста, подождите, мы соединим Вас с оператором. |
|
602 |
Ваш голос зарегистрирован. Поздравляем! Ваш вызов выбран для специального обслуживания. |
|
603 |
Извините, невозможно зарегистрировать Ваш голос. Слишком много одновременно поступивших вызовов. |
|
604 |
Извините, в данном голосовании Ваш регион не регистрируется. |
|
605 |
Извините, данное голосование не обслуживается. |
|
606 |
Извините, в настоящее время направление недоступно. |
|
607 |
Извините, голосование закончено. Получено максимальное количество голосов. |
|
608 |
Извините, вы превысили лимит времени. |
|
609 |
Спасибо |
|
610 |
Извините, этот номер не обслуживается. |
|
611 |
Добро пожаловать. Пожалуйста, выберите язык. Введите 1 для русского и 2 для английского языка. |
|
612 |
Введите, пожалуйста, номер вашей карты и нажмите затем знак решетки. |
|
613 |
Извините, Вы неправильно ввели номер. |
|
614 |
Извините, Вы неправильно набрали номер. Введите, пожалуйста, номер вашей карты и нажмите затем знак решетки. |
|
615 |
Извините, Ваша карта не может быть сейчас использована. |
|
616 |
Извините, номер карты уже используется. |
|
617 |
Извините, у Вас нет доступа к данному номеру. |
|
618 |
Введите, пожалуйста, Ваш PIN-код. |
|
619 |
Извините, Вы ввели неправильный PIN-код. |
|
620 |
Введите пожалуйста Ваш PIN-код еще раз. |
|
621 |
Введите, пожалуйста, Ваш PIN-код и нажмите затем знак решетки. |
|
622 |
Введите, пожалуйста, Ваш новый PIN-код и нажмите затем знак решетки. |
|
623 |
Извините, Вы неправильно ввели новый PIN-код. |
|
624 |
Введите, пожалуйста, Ваш новый PIN-код еще раз и нажмите затем знак решетки |
|
625 |
Введите, пожалуйста, номер по которому вы хотите осуществить вызов или наберите %G, а затем нажмите знак решетки для изменения PIN-кода. |
|
626 |
Изменение PIN-кода принято. |
|
627 |
Ваш PIN-код принят. |
|
628 |
Извините, Вам отказано в изменении PIN-кода. |
|
629 |
Извините, Ваш PIN-код не принят. |
|
630 |
Извините, Вы неправильно ввели номер. Введите, пожалуйста, PIN-код и нажмите затем знак решетки. |
|
631 |
Извините, максимальное число попыток исчерпано. |
|
632 |
Извините, Вы превысили лимит кредита. |
|
633 |
Извините, Вы исчерпали Ваш кредит. |
|
634 |
Ваш кредит скоро будет превышен. Ваш вызов будет завершен через минуту. |
|
635 |
Наберите, пожалуйста, %G для того, чтобы получить информацию о Вашем текущем кредите. |
|
636 |
Ваш текущий кредит %ХХ рублей и %ХХ копеек. |
|
637 |
Введите, пожалуйста, номер по которому Вы хотите сделать вызов, а затем нажмите знак решетки. |
|
638 |
Вызываемый абонент положил трубку. Нажмите, пожалуйста, знак решетки для того, чтобы сделать следующий вызов. |
|
639 |
Извините, вызываемый номер не существует. Нажмите, пожалуйста, знак решетки для того, чтобы сделать следующий вызов. |
|
640 |
Извините, вызываемый номер занят. Нажмите, пожалуйста, знак решетки для того, чтобы сделать следующий вызов. |
|
641 |
Извините, вызываемое направление сейчас недоступно. Нажмите, пожалуйста, знак решетки для того, чтобы сделать следующий вызов. |
|
642 |
Извините, оператор недоступен. Позвоните, пожалуйста, позже. Спасибо. |
|
643 |
Извините, услуга скоро будет доступна. Приносим извинения за причиненные неудобства. |
|
644 |
Извините, голосование еще не начато |
|
645 |
Извините, голосование закончено. |
|
646 |
Извините, получено максимальное число вызовов на данный номер. |
|
647 |
Извините, карта деактивирована. |
|
648 |
Введите, пожалуйста, номер, по которому Вы хотите осуществить вызов, или нажмите знак решетки и затем 11 для изменения РШ |
|
649 |
Стоимость минуты соединения после сигнала %ХХ рублей и %ХХ копеек |
|
650 |
Ваш абонент |
|
651..899 |
Spare |
|
|
|
|
Раздел 4: Сообщения на английском языке |
|
|
|
|
|
900 |
Your vote is registered. Thank you for your participation. |
|
901 |
Your vote is registered. Please hold the line, we are transfering your call to an operator. |
|
902 |
Your vote is registered. Congratulations! Your call has been selected for a special processing. |
|
903 |
Sorry, this voting session is currently not reachable. There are too many simultaneous calls to this session. |
|
904 |
Sorry, this voting session is not available from your area. |
|
905 |
Sorry, this session is not in service. |
|
906 |
Sorry, the destination is currently not reachable. |
|
907 |
Sorry, the vote is finished. The maximum number of votes is reached. |
|
908 |
Sorry, you have exceeded the time limit. |
|
9.09 |
Thank you |
|
910 |
Sorry, this number is not in service. |
|
911 |
Welcome. Please select your language. Enter 1 for Russian, 2 for English. |
|
912 |
Please enter your card number, followed by the hash key. |
|
913 |
Sorry, the number you have entered is invalid |
|
914 |
Sorry, the number entered is incorrect. Please enter your card number, followed by the hash key. |
|
915 |
Sorry, this card can not be used now. |
|
916 |
Sorry, the card number is already in use. |
|
917 |
Sorry, you have no access to this number. |
|
918 |
Please set your PIN. |
|
919 |
Sorry, invalid PIN. |
|
920 |
Please enter your PIN again. |
|
921 |
Please enter the PIN, followed by the hash key. |
|
922 |
Please enter your new PIN, followed by the hash key |
|
923 |
Sorry, invalid new PIN. |
|
924 |
Please enter your new PEN again, followed by the hash key |
|
925 |
Please enter the number you wish to call or %G to modify the PIN, followed by the hash key. |
|
926 |
The PIN modification is accepted. |
|
927 |
The PIN setting is accepted. |
|
928 |
Sorry, the PIN modification is rejected. |
|
929 |
Sorry, the PIN setting is rejected. |
|
930 |
Sorry, the number entered is incorrect. Please enter the PIN, followed by the hash key. |
|
931 |
The maximum number of trials is reached. |
|
932 |
Sorry, you have exceeded the credit limit. |
|
933 |
Sorry, you have reached your credit limit. |
|
934 |
Your credit limit is about to be exceeded. Your call will be terminated in 1 minute. |
|
935 |
Please enter %G to get the information about your current credit. |
|
936 |
Your credit volume is %XX Rubels and %XX Kopeks. |
|
937 |
Please enter the number you wish to call, followed by the hash key. |
|
938 |
The called user hooked on, please press hash to make another call. |
|
939 |
Sorry, the called number does not exist, please press hash to make another call. |
|
940 |
Sorry, the called number is busy, please press hash to make another call. |
|
941 |
Sorry, the destination is currently not reachable, please press hash to make another call. |
|
942 |
Sorry, the operator is not available. Please try later. Thank you. |
|
943 |
Sorry, the service will be available soon. We apologize for any inconvenience caused. |
|
944 |
Sorry, the maximum number of calls for this number is reached |
|
945 |
Sorry, the card is deactivated. |
|
946 |
Please enter the number you wish to call or 11 to modify the PIN, followed by the # key. |
|
947 |
Sorry, the number entered is incorrect |
|
948 |
Sorry, the vote is finished. |
|
949 |
The cost of one minute of your call after the tone is %XX Rubles and %XX Kopecks |
|
950 |
Your service provider is |
|
951..1199 |
Spare |
|
|
|
|
Раздел 5: Сообщения, определяемые провайдером услуги |
|
|
|
|
|
1200... |
|
|
|
|
Перечень и состав речевых сообщений, приведенных в Таб. № может дополняться и модифицироваться.
С.5 Требования к интерфейсам ИСС
С.5.1 Интерфейс между АМТС с функциями SSP/IP и пунктом управления услугами SCP
Интерфейс между АМТС с функциями SSP/IP и пунктом управления услугами должен обеспечить взаимодействие SSP и SCP посредством передачи в SCP запросов от SSP для предоставления услуг ИСС и приема в SSP управляющих инструкций от SCP для обработки вызовов услуг ИСС.
Интерфейс между АМТС с функциями SSP/EP и SCP должен быть реализован посредством протокола INAP-R [26] на основе стека протоколов системы сигнализации ОКС № 7 в части ТСАР, SCCP, МТР.
При взаимодействии SSP/TP с SCP в операциях INAP-R должны использоваться следующие значения для параметра определителя услуг (Service Key).
|
Услуга ИСС |
Service Key |
|
Услуга бесплатный вызов (FPH) |
1 |
|
Услуга с дополнительной оплатой (PRM) |
2 |
|
Услуга телеголосования (VOT) |
3 |
|
Услуга вызова по карте с предоплатой (РСС) |
4 |
|
Услуга вызова по расчетной карте (АСС) |
5 |
|
Услуга вызова по кредитной карте (ССС) |
б |
Последовательность и кодирование параметров в сообщениях ТСАР при обмене в режиме диалога (Dialog Portion) должны соответствовать содержимому Таблицы С.З.
|
0 |
1 |
|
|
|
|
|
|
Tag class |
Application |
|
|
|
1 |
|
|
|
|
|
Tag form |
Constructor |
|
|
|
|
0 |
1 |
0 |
1 |
1 |
Tag code |
Dialog Portion |
|
0 |
|
|
|
|
|
|
|
Length form |
Short form |
|
|
X |
X |
X |
X |
X |
X |
X |
Length |
|
|
|
|
|
|
|
|
|
|
|
|
|
0 |
0 |
|
|
|
|
|
|
Tag class |
Universal |
|
|
|
1 |
|
|
|
|
|
Tag form |
Constructor |
|
|
|
|
0 |
1 |
0 |
0 |
0 |
Tag code |
Dialog External |
|
0 |
|
|
|
|
|
|
|
Length form |
Short form |
|
|
X |
X |
X |
X |
X |
X |
X |
Length |
|
|
|
|
|
|
|
|
|
|
|
|
|
0 |
0 |
|
|
|
|
|
|
Tag class |
Universal |
|
|
|
0 |
|
|
|
|
|
Tag form |
Primitive |
|
|
|
|
0 |
0 |
1 |
1 |
0 |
Tag code |
Object Identifier |
|
0 |
|
|
|
|
|
|
|
Length form |
Short form |
|
|
X |
X |
X |
X |
X |
X |
X |
Length |
|
|
0 |
0 |
0 |
0 |
0 |
0 |
0 |
0 |
Authority |
CCITT |
|
0 |
0 |
0 |
1 |
0 |
0 |
0 |
1 |
Name form |
Q |
|
1 |
0 |
0 |
0 |
0 |
1 |
1 |
0 |
Recommendation N (high) |
|
|
0 |
0 |
0 |
0 |
0 |
1 |
0 |
1 |
Recommendation N (low) |
773 |
|
0 |
0 |
0 |
0 |
0 |
0 |
0 |
1 |
as |
1 |
|
0 |
0 |
0 |
0 |
0 |
0 |
0 |
1 |
Dialog PDU |
1 |
|
0 |
0 |
0 |
0 |
0 |
0 |
0 |
1 |
Version |
1 |
|
|
|
|
|
|
|
|
|
|
|
|
1 |
0 |
|
|
|
|
|
|
Tag class |
Context specific |
|
|
|
1 |
|
|
|
|
|
Tag form |
Constructor |
|
|
|
|
0 |
0 |
0 |
0 |
0 |
Tag code |
Structured Dialog |
|
0 |
|
|
|
|
|
|
|
Length form |
Short form |
|
|
X |
X |
X |
X |
X |
X |
X |
Length |
|
|
|
|
|
|
|
|
|
|
|
|
|
|
|
|
|
|
|
|
|
|
|
|
0 |
1 |
|
|
|
|
|
|
Tag class |
Application |
|
|
|
1 |
|
|
|
|
|
Tag form |
Constructor |
|
|
|
|
X |
X |
X |
X |
X |
Tag code |
|
|
0 |
|
|
|
|
|
|
|
Length form |
Short form |
|
|
X |
X |
X |
X |
X |
X |
X |
Length |
|
|
|
|
|
|
|
|
|
|
|
|
|
1 |
0 |
|
|
|
|
|
|
Tag class |
Context specific |
|
|
|
1 |
|
|
|
|
|
Tag form |
Constructor |
|
|
|
|
0 |
0 |
0 |
0 |
1 |
Tag code |
Application Context Name |
|
0 |
|
|
|
|
|
|
|
Length form |
Short form |
|
|
X |
X |
X |
X |
X |
X |
X |
Length |
|
|
|
|
|
|
|
|
|
|
|
|
|
0 |
0 |
|
|
|
|
|
|
Tag class |
Universal |
|
|
|
0 |
|
|
|
|
|
Tag form |
Primitive |
|
|
|
|
0 |
0 |
1 |
1 |
0 |
Tag code |
ACN Object Ш |
|
0 |
|
|
|
|
|
|
|
Length form |
Short form |
|
|
X |
X |
X |
X |
X |
X |
X |
Length |
|
|
0 |
0 |
0 |
0 |
|
|
|
|
Authority |
CCITT |
|
|
|
|
|
0 |
0 |
1 |
0 |
|
Administration |
|
1 |
0 |
0 |
0 |
0 |
0 |
0 |
1 |
Data Country Code |
Russian Federation |
|
0 |
1 |
1 |
1 |
1 |
0 |
1 |
0 |
(DCC) |
|
|
0 |
0 |
0 |
0 |
0 |
0 |
0 |
0 |
|
Telecom |
|
0 |
0 |
0 |
0 |
0 |
0 |
0 |
1 |
|
IN-network |
|
0 |
0 |
0 |
0 |
0 |
0 |
0 |
1 |
|
ac |
|
X |
X |
X |
X |
X |
X |
X |
X |
|
ACID* |
|
0 |
0 |
0 |
0 |
0 |
0 |
0 |
0 |
|
Version 1 |
* Значение ACID кодируется в соответствии с пунктом 6.5 [28].
С.5.2 Интерфейс между АМТС с функциями SSP/IP и существующими системами сигнализации
АМТС с функциями SSP/IP должна обеспечивать доступ пользователей к услугам ИСС через системы сигнализации ОКС № 7 (ISUP), 2 ВСК, одночастотной системы сигнализации.
С.6 Требования к программному обеспечению
ПО АМТС с функциями SSP/IP должно иметь модульное построение и допускать наращивание функций путем добавления программных модулей.
Должны предусматриваться системные средства локализации (определение, индикация и предотвращение распространения по системе) программных ошибок, а также предотвращения несанкционированного вмешательства в работу АМТС с функциями SSP/IP.
ПО АМТС с функциями SSP/IP должно обеспечивать:
- распознавание вызова услуги ИСС;
- приостановление процесса обработки вызова;
- организация диалога с SCP для получения инструкций по дальнейшей обработке вызова;
- управление процессом установления соединения от SCP;
- статистическое и динамическое (от центра управления техэксплуатацией или программно) введение условий передачи управления вызовом к SCP согласно [23];
- контроль нагрузки, создаваемой вызовами услуг ИСС;
- учет данных для начисления платы за предоставление услуг ИСС.
Т.1. Скорость передачи и основные принципы
Т.1.1 Скорость передачи - 155520 кбит/с±3,1 кбит/с.
Т.1.2 Форматы и схема преобразований должны соответствовать рекомендациям МСЭ-Т и стандарту ETSI ETS 300 147.
Т.1.3 Сигнал 2048 кбит/с в контейнере С-12 должен размещаться асинхронно.
Т.2 Оптический стык
Т.2.1 Волоконно-оптическая линия передачи должна соответствовать рекомендации МСЭ-Т G.652. Использование регенераторов между оборудованием подключения цифровых соединительных линий и сетевым элементом транспортной сети не допускается.
Т.2.2 Линейный код - NRZ (Рекомендации МСЭ-Т G.957) [21].
Т.2.3 Физические параметры оптического стыка должны соответствовать рекомендации МСЭ-Т G.957 [21], код применения S-1.1 (межстанционный, короткий).
Т.3 Электрический стык
Т.3.1 Тип линии - две коаксиальных пары.
Т.3.2 Линейный код - CMI (12.1, Рекомендация МСЭ-Т G.703 [3]).
Т.3.3 Физические и электрические параметры стыка должны соответствовать рекомендации МСЭ-Т G.703/12 [3].
Т.4 Системы сигнализации
Т.4.1 При взаимодействии АМТС с другими станциями междугородной сети по интерфейсу STM 1 должны использоваться системы сигнализации, приведенные в 4.5.
Т.5 Защита
Т.5.1 Должна поддерживаться возможность защиты мультиплексной секции по схеме «1+1».
Т.5.2 Для переключения на резерв должны использоваться следующие критерии:
- отказ на уровне секции, сопровождаемый сигналами LOS, LOF или MS-AIS;
- чрезмерный коэффициент ошибок по битам;
- деградации сигнала, проявляемая как превышение коэффициентом ошибок по битам установленного порога в диапазоне от 10-5 до 10-9;
- команда технического персонала.
Т.5.3 Время переключения на резерв не должно превышать 50 мс.
Т.6 Компенсация дрожаний и блуждания фазы
Т.6.1 Синусоидальные дрожания и блуждание фазы, размах которых не превышает значений шаблона рек. МСЭ-Т G.825 [20] (рис. С.1), не должны вызывать проскальзываний, увеличения коэффициента ошибок, появления ложных аварийных сигналов и каких-либо сбоев.

В шаблоне используются следующие значения:
f0=12мкГц
f12=178 мкГц
f11=1,6 мГц
f10=15,6 мГц
f9=0,125 Гц
f8=19,3 Гц
f1=500 Гц
f2=6,5 кГц
f3=65 кГц
f4=1,3 МГц
А0=18 мкс
A1=2 мкс
А2=0,25 мкс
А3=1,5 ЕИ
A4=0,15 ЕИ
Рисунок Т.1 - Шаблон компенсации дрожаний и блужданий фазы
Т.7 Интерфейс синхронной цифровой иерархии со скоростью передачи 155 520 кбит/с должен соответствовать спецификациям, приведенным в таблице Т.1.
|
Область и аспекты спецификации |
ETS1 |
МСЭ-Т |
|
1 |
2 |
3 |
|
Иерархия мультиплексирования (битовые скорости, интерфейсы сетевых узлов и структура мультиплексирования) |
ETS 300147 |
G.707 |
|
Защита |
||
|
Объекты, архитектура и применение |
DTR/TM-03025 |
G.803 G.841 |
|
Протоколы автоматического защитного переключения (ASP) |
ETS 300 746 |
G.783 G.841 |
|
Синхронизация |
|
|
|
Общие вопросы |
|
G.810 |
|
Терминология |
ETS 300 462-1 |
|
|
Архитектура |
ETS 300 462-2 |
G.803 |
|
Джиттер и вандер |
ETS 300 462-3 |
G.823 |
|
Общие функциональные требования |
EN 300 417-1-1 |
G.781 |
|
Обнаружение и локализация неисправностей |
|
M.2120 |
|
Детектирование сигналов LOS и AIS и критерии диспетчерского разрешения |
EN 300417-1-1 |
G.775 |
|
Интерфейсы |
||
|
Электрический |
ETS 300 166 |
G.702 |
|
Оптический |
ETS 300 232 |
G.957 |
|
Электропитания |
ETS 300
132-1 |
|
|
Мониторинга |
|
G.772 |
|
Применение оборудования |
||
|
Инженерные требования |
ETS
300 119-1 |
|
|
Соединители |
ETR143 |
|
|
Интерфейсные соединительные кабели |
ETR194 |
|
|
Надежность и качество передачи |
|
|
|
Характеристика готовности |
EN 300 416 |
G.827 |
|
Показатели качества цифровой передачи и нормы на них Тестирование по положению соответствия оборудования |
EN 300 417-1-1 |
G.826 |
|
План нумерации международной сети телекоммуникаций общего пользования |
|
|
Соображения по вопросам хронирования и синхронизации |
|
|
Физические и электрические характеристики иерархических цифровых стыков |
|
|
Требования к хронированию на выходах ведомых задающих генераторов, пригодных для обеспечения плезиохронной работы международных цифровых трактов |
|
|
Основные требования для сетей синхронизации. Часть 4. Временные характеристики для дублирующих генераторов, применяющихся для удобной работы в Иерархии Цифровой Синхронизации и для Иерархии цифрового оборудования Плезиохронного |
|
|
Синхронные структуры циклов для первичного и вторичного иерархических уровней |
|
|
Характеристики первичного ИКМ группообразования, работающего на 2048 кбит/с |
|
|
Нормы на частоту управляемых проскальзываний в международном цифровом соединении |
|
|
Характеристики ошибок в международном цифровом соединении, образуемом в цифровой сети с интеграцией служб |
|
|
Характеристики измерений трафика, относящиеся к цифровым станциям электросвязи |
|
|
Расчетные нормы на качество работы цифровых станций |
|
|
Цифровые станции. Расчетные нормы для цифровых станций - общие положения |
|
|
[13] Рекомендация Z.323 |
Взаимодействие человек-машина |
|
Измерения на цифровой станции |
|
|
Характеристики передачи цифровых станций |
|
|
[16] Рекомендация Е. 5 50 |
Качество обслуживания вызовов и новые эксплуатационные характеристики состояний неработоспособного оборудования международных телефонных станций |
|
Наблюдения и измерения для сетей сигнализации ОКС7 |
|
|
Стойкость коммутационного оборудования электросвязи к перенапряжениям и избыточным токам |
|
|
Технические требования к автоматическому оборудованию для измерения характеристик передачи и испытания сигнализации АТМЕ N2 |
|
|
Контроль джиггера и вандера на цифровой сети, основанной на синхронной цифровой иерархии (SDH) |
|
|
Оптический интерфейс для оборудования и систем, относящихся к синхронной цифровой иерархии |
|
|
[22] |
INAP-R. Дополнение к приложению 2. Спецификации тарификации |
|
Distributed functional plane for intelligent network CS-1 |
|
|
Interface Recommendation for intelligent network CS-1 |
|
|
Introduction to inteligent network capability set 1 |
|
|
Технические спецификации протокола INAP системы сигнализации ОКС7 для сети связи России (INAP-R) |
|
|
The international telecommunication charge card |
|
|
Core Intelligent Network Application Protocol (INAP), protocol specification |
|
ГОСТЫ, СТРОИТЕЛЬНЫЕ и ТЕХНИЧЕСКИЕ НОРМАТИВЫ. Некоммерческая онлайн система, содержащая все Российские Госты, национальные Стандарты и нормативы. В Системе содержится более 150000 файлов нормативно-технической документации, действующей на территории РФ. Система предназначена для широкого круга инженерно-технических специалистов. Copyright © www.gostrf.com, 2008 - 2026 |