Крупнейшая бесплатная информационно-справочная система онлайн доступа к полному собранию технических нормативно-правовых актов РФ. Огромная база технических нормативов (более 150 тысяч документов) и полное собрание национальных стандартов, аутентичное официальной базе Госстандарта. GOSTRF.com - это более 1 Терабайта бесплатной технической информации для всех пользователей интернета. Все электронные копии представленных здесь документов могут распространяться без каких-либо ограничений. Поощряется распространение информации с этого сайта на любых других ресурсах. Каждый человек имеет право на неограниченный доступ к этим документам! Каждый человек имеет право на знание требований, изложенных в данных нормативно-правовых актах!

  


 

МИHИCTEPCTBO ГРАЖДАНСКОЙ АВИАЦИИ

Государственный ордена Трудового Красного Знамени научно-исследовательский институт гражданской авиации

СООРУЖЕНИЯ И ОБОРУДОВАНИЕ АЭРОПОРТОВ

Труды ГосНИИ ГА

Выпуск 237

Москва 1984

СОДЕРЖАНИЕ

1. ОБОСНОВАНИЕ ОПТИМАЛЬНЫХ ПЛАНИРОВОЧНЫХ РЕШЕНИЙ ВЕРТОДРОМОВ И ПОСАДОЧНЫХ ПЛОЩАДОК

2. ОЦЕНКА ЭКСПЛУАТАЦИОННО-ТЕХНИЧЕСКОГО СОСТОЯНИЯ ЦЕМЕНТОБЕТОННЫХ ПОКРЫТИЙ АЭРОДРОМОВ

3. ПРИМЕНЕНИЕ ТЕОРИИ УПРУГОСТИ К ОПРЕДЕЛЕНИЮ ЭФФЕКТИВНОСТИ УСИЛЕНИЯ АСФАЛЬТОБЕТОНОМ ДВУХСЛОЙНЫХ ЖЕСТКИХ ПОКРЫТИЙ

4. РАСЧЕТ АЭРОДРОМНЫХ ПЛИТ ПОКРЫТИЙ, ЛЕЖАЩИХ НА УПРУГОМ ОСНОВАНИИ

5. PAСЧЕТ ПАРАМЕТРОВ НЕРОВНОСТЕЙ АЭРОДРОМНЫХ ПОКРЫТИЙ

6. СТАТИСТИЧЕСКИЙ АНАЛИЗ ИНТЕНСИВНОСТИ РАСПРЕДЕЛЕНИЯ ДИНАМИЧЕСКОГО ВОЗДЕЙСТВИЯ САМОЛЕТОВ НА ВПП

7. ЭФФЕКТИВНОСТЬ ПРИМЕНЕНИЯ НОВЫХ ПОВЕРХНОСТНО-АКТИВНЫХ ВЕЩЕСТВ В ХИМИЧЕСКОМ РЕАГЕНТЕ, ПРЕДНАЗНАЧЕННОМ ДЛЯ УДАЛЕНИЯ ГОЛОЛЕДА

8. ПОТРЕБНАЯ ПРОИЗВОДИТЕЛЬНОСТЬ УБОРОЧНЫХ МАШИН В ЗАВИСИМОСТИ ОТ РЕЖИМА ЗИМНИХ ОСАДКОВ

9. ГРУЗОВЫЕ ДВОРЫ ГРУЗОВЫХ КОМПЛЕКСОВ АЭРОПОРТОВ

10. ПЛАНИРОВОЧНЫЕ РЕШЕНИЯ ЗАЛОВ-НАКОПИТЕЛЕЙ В АЭРОВОКЗАЛАХ ДЕЦЕНТРАЛИЗОВАННОГО ТИПА

11. МЕТОДЫ РЕКОНСТРУКЦИИ И РАСШИРЕНИЯ АЭРОВОКЗАЛОВ

12. ПРОГНОЗИРОВАНИЕ ОБЪЕМОВ РАБОТ АВИАРЕМОНТНЫХ ЗАВОДОВ

13. СОВЕРШЕНСТВОВАНИЕ СКЛАДСКОГО ХОЗЯЙСТВА МАТЕРИАЛЬНО-ТЕХНИЧЕСКОГО СНАБЖЕНИЯ ГРАЖДАНСКОЙ АВИАЦИИ

14. ЗАГРЯЗНЕНИЕ СТОЧНЫХ ВОД АЭРОПОРТОВ ПРИ ПРОТИВООБЛЕДЕНИТЕЛЬНОЙ ОБРАБОТКЕ И МОЙКЕ САМОЛЕТОВ

15. ИССЛЕДОВАНИЕ ПРОПУСКНОЙ СПОСОБНОСТИ АЭРОПОРТОВ МЕСТНЫХ ВОЗДУШНЫХ ЛИНИЙ

16. ЭФФЕКТИВНОСТЬ СИСТЕМ ОБСЛУЖИВАНИЯ ПАССАЖИРОВ

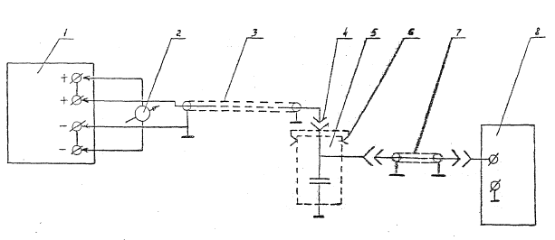
17. УСТРОЙСТВО ДЛЯ ОПРЕДЕЛЕНИЯ УРОВНЯ ЭЛЕКТРИЗАЦИИ И ПРОВЕРКИ НЕЙТРАЛИЗАТОРОВ СТАТИЧЕСКОГО ЭЛЕКТРИЧЕСТВА В АВИАТОПЛИВЕ

18. УЧЕТ ТОПЛИВА В РУКАВАХ СРЕДСТВ ЗАПРАВКИ ВОЗДУШНЫХ СУДОВ

19. ОПРЕДЕЛЕНИЕ РАСЧЕТНЫХ ПАРАМЕТРОВ МАТЕМАТИЧЕСКОЙ МОДЕЛИ ФУНКЦИОНИРОВАНИЯ ПАРАЛЛЕЛЬНЫХ ВПП

РЕФЕРАТЫ

Выпуск научных трудов "Сооружения и оборудование аэропортов" подготовлен Государственным проектно-изыскательским и научно-исследовательским институтом Аэропроект.

РЕДАКЦИОННАЯ КОЛЛЕГИЯ

Ответственный редактор Р.В. САКАЧ, доктор техн. наук. профессор

Члены редколлегии:

Т.Г. Анодина, доктор техн. наук, П.Д. Жильцов, канд. техн. наук,

А.П. Журавлев, доцент, И.Н. Иванов, доктор техн. наук,

Е.В. Мухордых, доктор экон. наук, Э.И. Maхapeв, канд. техн. наук,

А.П. Савченко, канд. техн. наук, И.И. Славнов, доктор техн. наук,

В.Г. Смыков, канд. техн. наук (зам. отв. редактора),

А.И. Соболев, канд. техн. наук (отв. секретарь),

И.В. Якобсон, доктор техн. наук, B.И. Ямпольский, доктор техн. наук,

Инж. В.Г. Гавко

1. ОБОСНОВАНИЕ ОПТИМАЛЬНЫХ ПЛАНИРОВОЧНЫХ РЕШЕНИЙ ВЕРТОДРОМОВ И ПОСАДОЧНЫХ ПЛОЩАДОК

В настоящее время вертодромы делятся на базовые и оперативные. Базовые вертодромы состоят из следующих основных элементов: взлетно-посадочная полоса (посадочная площадка), система рулежных дорожек (РД), места стоянки вертолетов (МС), комплекс средств технического обслуживания вертолетов.

На базовых вертодромах размещается большое количество вертолетов (до 100 - 150 шт.). Это приводит к большим площадям землеотвода под вертодром в целом и под искусственные покрытия вертодрома.

Оперативные вертодромы представляют собой, как правило, взлетно-посадочную площадку с искусственным покрытием, рулежную дорожку и одно или два места стоянки вертолетов. Ширина РД и размеры МС зависят только от геометрических и рулежных характеристик вертолетов, а именно, от колеи шасси и величины отклонения оси вертолета от оси РД на этапе руления. Эти размеры определены для всех типов существующих вертолетов. Нерешенным остается вопрос об оптимальных размерах искусственного покрытия посадочной площадки. До настоящего времени нет научно обоснованного метода расчета размеров посадочных площадок. Размеры площадок определяли, исходя из габаритов вертолетов (диаметр несущего винта, общая длина вертолета) и летной квалификации летно-подъемного состава. При определении размеров площадок не учитываются эксплуатационные и стоимостные критерии.

Рассмотрим факторы, влияющие на размеры площадок для вертолетов при взлетах и посадках по-вертолетному без использования влияния "воздушной подушки" и с ее использованием. Вертолет взлетает до высоты, превышающей на 10 м высоту препятствий, и затем осуществляет разгон и набор горизонтальной скорости, а в случае использования влияния "воздушной подушки" - набор горизонтальной скорости в пределах влияния "воздушной подушки", т.е. на высоте 1,5 - 2 м.

Следовательно, на размер искусственного покрытия площадки влияют геометрические характеристики шасси вертолета и прочностные характеристики искусственного покрытия:

L = BK+C,                                                                                       (1)

где L - размер стороны площадки;

BК - колея шасси вертолета по внешним пневматикам;

С - минимально допустимое расстояние от кромки искусственного покрытия до пневматиков шасси вертолета.

Рассмотрим посадку вертолета. В случае посадки с использованием влияния "воздушной подушки" вертолет снижается до высоты висения, зависает над площадкой или над границей летного поля, затем перемещается к центру площадки и вертикально снижается до поверхности площадки. При посадке возможны отклонения оси от центра посадочной площадки, согласно схеме.

Анализируя эти факторы, можно констатировать, что некоторые из них, влияющие на размер площадки, обусловлены конструктивными особенностями и определены для каждого типа вертолета, а именно: характеристика шасси вертолета, минимально допустимое расстояние от кромки искусственного покрытия площадки до колес шасси.

Основным фактором, влияющим на размер искусственного покрытия площадок, является отклонение оси несущего винта вертолета от оси площадки в момент касания колесами вертолета покрытия. Как видно из схемы, данный фактор зависит от ряда величин, влияние которых на величину отклонения носит вероятностный характер и зависит от ряда случайных факторов. В настоящее время не установлено отклонение колес шасси от кромки искусственного покрытия, а также на какую величину отклоняется вертолет в момент касания поверхности. Следовательно, минимальные размеры могут быть получены при сравнении следующих выражений (рис.1):

                                                                      (2)

где L1 - размер стороны площадки при максимальном приближении колес основного шасси вертолета к кромке искусственного покрытии

C1 - отклонение оси несущего винта. вертолета от центра площадки;

С2 - минимально допустимое расстояние от кромки искусственного покрытия до колес вертолета;

L2.- размер стороны площадки при максимальном приближении колеса носового шасси вертолета к кромке покрытия;

lН - база шасси вертолета.

При приближении можно принять С1 = 3·σвив, где σвис - среднеквадратичное отклонение вертолета от заданного места висения.

Время, затрачиваемое пилотом на выполнение посадочных операций, зависит от размеров площадки с искусственным покрытием. Так, например, для площадок меньших размеров требуется большее время маневрирования для выполнения более точной посадки, а следовательно, увеличиваются летные затраты, и наоборот. Следует, отметить, что стоимость летного часа составляет от 240 до 2200 руб. в зависимости от типа вертолета.

Рис.1 Схема определения размеров посадочных площадок для вертолетов:
1 - центр посадочной площадки; 2 - граница искусственного покрытия

Кроме того, при увеличении размеров площадки возрастают затраты на строительство, эксплуатацию площадки и освоение площади землеотвода. Следовательно, оптимальные размеры площадок могут быть найдены при построении зависимости общей стоимости от размеров площадки: Sобщ = f(L). Общая стоимость может быть определена по следующему выражению:

Sобщ = S1 + S2 + S3,                                                                        (3)

где S1 - стоимость строительства площадки и освоения земель;

S2 - стоимость эксплуатации площадки;

S3 - стоимость эксплуатации вертолета в момент маневрирования над площадкой.

Стоимость строительства и эксплуатации площадок определяется по формуле:

S1 = (L2·c·р + F3·c·p2H + L2·p3,                                                   (4)

где с - амортизационные отчисления;

F3 - площадь землеотвода;

p1 - стоимость строительства площадки;

р2 - норматив стоимости освоения земель;

р3 - стоимость эксплуатации площадки.

Стоимость эксплуатации вертолета определяется как годовые затраты на летные операции и может быть рассчитана по выражению:

                                                                            (5)

где N - планируемая интенсивность полетов;

MOC = f(L) - математическое ожидание величины отклонения при зависании вертолета над площадкой, которое зависит от ее размеров

V - скорость маневрирования вертолета над площадкой;

К - стоимость летного часа вертолета.

Размеры площадки, соответствующие минимальному значению общей стоимости, являются оптимальными, их и рекомендуется принимать при проектировании (рис.2).

При планировке базовых вертодромов большое значение придается способам расстановки вертолетов на местах стоянок.

Размер стороны площадки, м

Рис 2. Зависимость общей стоимости от paзмepa площадки

Как известно, вертолеты могут устанавливаться на местах стоянки различными способами. Это приводит к тому, что на одной и той же площади может быть установлено различное количество вертолетов, поскольку каждый способ установки требует различного расстояния между осями несущих винтов вертолетов. Возможны случаи, когда места стоянки вертолетов используются как посадочные площадки. Такое расположение МС снижает до минимума площади искусственных покрытий, но в то же время значительно увеличиваются площади землеотвода под вертодром и затраты на летную эксплуатацию.

Рис.3 Зависимость общей стоимости от площади землеотвода, количества вертолетов, буксировщиков, площади искусственных покрытий

Следовательно, в данном случае необходимо оптимизировать способ расстановки вертолетов на местах стоянки и стоимостные показатели.

В общем случае приведенные затраты можно выразить следующим образом:

Sобщ = S1 + S2 + S3 +S4 + S5 + S6 ,                                                          (6)

где S1. S4. S6 - удельные стоимости строительства площадки, буксировщиков и землеотвода из расчета на один вертолет;

S2, S3, S5 - удельные эксплуатационные расходы на эксплуатацию вертолетов, площадок и буксировщиков из расчета на один вертолет;

Общая стоимость зависит от количества вертолетов, способа их установки на стоянку и площади землеотвода. Оптимальные размеры могут быть найдены при построении зависимости:

Sобщ = f(NВ, FЗ, FП, NБ),                                                                  (7)

где NВ, NБ - количество вертолетов и буксировщиков;

FЗ, FБ - площади землеотвода и искусственных покрытий

Минимальное значение Sобщ будет соответствовать оптимальному значению площади землеотвода и способу расстановки вертолетов (рис.3). Исходя из минимальных затрат, оптимальной площади землеотвода и количества вертолетов, определяем способ установки вертолетов на стоянку, который и является оптимальным,

Следовательно, при определении параметров вертодромов необходимо учитывать не только эксплуатационные характеристики, а также и стоимостные, которые для развивающегося транспорта приобретают все большее значение.

Канд. техн. наук А.П. Виноградов

2. ОЦЕНКА ЭКСПЛУАТАЦИОННО-ТЕХНИЧЕСКОГО СОСТОЯНИЯ ЦЕМЕНТОБЕТОННЫХ ПОКРЫТИЙ АЭРОДРОМОВ

Постоянная эксплуатационная готовность аэродромных цементобетонных покрытий обеспечивается рядом инженерных мероприятий, в том числе систематическим контролем их технического состояния. В настоящее время можно рекомендовать достаточно простую и надежную систему контроля, которая включает периодические (выполняемые обычно два раза в год - весной и осенью) визуальные обследования, которые проводятся силами аэродромных служб авиапредприятий. На основе результатов этих обследований дается так называемая сигнальная оценка состояния покрытия, которая служит основанием для проведения детального, как правило, инструментального обследования.

В результате визуального обследования получают данные, характеризующие объем накопленных в процессе эксплуатации повреждений покрытий. Для вычисления показателя, обобщающего все виды повреждений предлагается следующая формула:

                                                                                 (1)

где Di - показатель повреждений покрытий i-го вида;

Ki - коэффициент весомости io вида повреждений;

п - количество видов повреждений.

Показатель Di может быть рассчитан но формуле;

,                                                                              (2)

где Ni - количество плит, имеющих повреждения i -го вида;

N0 - общее количество плит на обследованном участке аэродрома.

По результатам обследований аэродромов с использованием метода экспертных оценок установлены следующие значения коэффициентов весомости: 0,1; 0,05 и 0,03 соответственно для наиболее распространенных видов повреждений: околы кромок, сквозные трещины, шелушение поверхности.

Как видно, наибольшее отрицательное влияние на эксплуатационные свойства покрытия оказывают повреждения в виде сколов кромок плит.

Значение показателя D0 позволяет вычислить сигнальную оценку К эксплуатационно-технического состояния покрытия с использованием следующего выражения:

К = Кмакс - D0,                                                                                (3)

где Кмакс - наивысший показатель сигнальной оценки, по пятибалльной системе оценок Кмакс = 5.

Для практического использования можно рекомендовать по результатам обследования строить график зависимости значений сигнальной оценки от времен эксплуатации покрытия (см. рисунок).

Изменение оптимальной оценки по времени

По данным обследования посредством линейного экстраполирования определяется ресурс покрытия и характерные области эксплуатационно-технического состояния покрытия, имеющие следующие значения сигнальной оценки: К = 3,5 ÷ 5,0 - область нормальной эксплуатации; К = 2,5 ÷ 3,5 - критическая область; К < 2,5 - область недопустимых повреждений.

Очевидно, что при К 2,5 эксплуатационно-техническое состояние покрытия становится неудовлетворительным. При значении К = 3,5 необходимо детальное обследование покрытия с использованием необходимых испытательных приборов и уточнить по результатам этого обследования остаточный ресурс покрытия.

Д-р техн. наук Г.И. Глушков

д-р физ.-мат. наук B.C. Никишин

инж. В.Б. Безелянский

3. ПРИМЕНЕНИЕ ТЕОРИИ УПРУГОСТИ К ОПРЕДЕЛЕНИЮ ЭФФЕКТИВНОСТИ УСИЛЕНИЯ АСФАЛЬТОБЕТОНОМ ДВУХСЛОЙНЫХ ЖЕСТКИХ ПОКРЫТИЙ

Рассмотрим двухслойное жесткое покрытие, усиливаемое слоем асфальтобетона (рис.1). Обычная технология усиления асфальтобетоном такова, что верхний слой асфальтобетона устраивают таким образом, чтобы обеспечить хорошее сцепление между слоями бетона и асфальтобетона. В то же время сами жесткие слои укладываются с помощью разделительной прослойки, снижающей силы трения между жесткими слоями.

Рис.1. Усиление двухслойного жесткого покрытия асфальтобетоном: 1 - асфальтобетон; 2 - цементобетон

Будем считать, что верхний асфальтобетонный слой такого покрытия нагружен сверху нагрузкой, распределенной по площади круга радиуса R и интенсивностью q. Граничные условия для такой трехслойной плиты (рис.2) записываются в виде:

- на верхней граничной плоскости z = H

                                                           (1)

- на граничной плоскости между первым и вторым слоями плиты при z = H:

                                                      (2)

- на граничной плоскости между вторым и третьим слоями при z = H2:

                                                             (3)

- на граничной плоскости при z = 0

,                                                            (4)

где К - коэффициент постели упругого основания

Рис.2. Расчетная схема для трехслойной плиты

Для решения поставленной задачи воспользуемся математическим аппаратом, разработанным в работе [1] для расчета слоистой плиты, лежащей на упругом полупространстве. Напряжения и перемещения в i-м слое (i = 1, 2, 3) плиты выражаются через несобственные интегралы следующего вида:

                                                   (5)

где Ei, νi- модуль упругости и коэффициент Пуассона i-го слоя плиты (меняется от 1 до 3);

J0(ρβ), J1(ρβ) - функция Бесселя первого рода нулевого и первого порядков;

,  - безразмерные независимые переменные;

Функции  выражается через Ai(β),Bi(β),Ci(β),Di(β)(i = 1, 2, 3), определяемые на условия (1) - (4).

Для третьего слоя плита функции A3(β), C3(β) выражаются через B3(β), D3(β). Таким образом мы получаем систему функциональных уравнений 10-го порядка относительно функций Ai(β),Bi(β),Ci(β),Di(β)(i = 1,2),B3(β), D3(β), которую приводам в матричной форме:

Матрицы клетки , , , , , ,  имеют следующий вид:

,                                (7)

,           (8)

,    (9)

,                     (10)

,  (11)

,                                              (12)

,                    (13)

где ,

,

,

Используя результаты работы [1], можно обосновать сходимость интегралов (5). Приведенное решение задача эффективно численно реализовано в виде программы для ЭВМ на языке "Фортран - 4". Результаты полученного решения демонстрируются на примере двухслойного цементобетонного покрытия с разделительной прослойкой, усиленного асфальтобетоном. Толщины верхнего и нижнего слоев цементобетонного покрытия равны между собой и составляют 20 см. Толщина асфальтобетонного слоя меняется от 5 до 30 см. Модуль упругости асфальтобетона принят равным 1000 МПа. Модуль упругости в обоих слоях цементобетона равен 33000 МПа. Коэффициент постели упругого основания К = 50 МН/м3. Радиус отпечатка пневматика был принят равным 30 см. Давление в пневматике равно 1 МПа. Вычисление растягивающих напряжений производилось для нижней поверхности верхней цементобетонной плиты под центром площадки нагружения. На данном примере покажем эффективность усиления двухслойного цементобетонного покрытия асфальтобетоном. Под эффективностью усиления будем понимать снижение напряжений в цементобетоне после усиления его асфальтобетоном (влияние асфальтобетона на снижение коэффициента динамичности в данной работе не рассматривается):

Δσ = σ1 - σ2,                                                                               (14)

где σ1 - величина напряжений в бетоне до усиления;

σ2 - величина напряжений в бетоне после его усиления,

Рис.3. Уменьшение напряжений в верхнем слое двухслойного жесткого покрытия при условии его асфальтобетоном: 1 - слои скреплены; 2 - слои не скреплены

Для этого же примера рассмотрим эффективность усиления цементобетона асфальтобетоном для случая полного отсутствия оцепления в двух верхних слоях, т.е. для трехслойной плиты с нескрепленными слоями, для чего воспользуемся теорией, разработанной в [2].

На рис.3 показано изменение растягивающих напряжений, для рассмотренного выше примера,

Как видно на рис.3, эффективность усиления асфальтобетоном при отсутствии прочной связи между асфальтобетоном и цементобетонном особенно мала при малых толщинах слоев асфальтобетона. Это обстоятельство следует учитывать при нарушении технологии укладки асфальтобетонного слоя усиления.

Литература

1. Никишин В.С., Шапиро Г.С. Пространственные задачи теории упругости для многослойных сред. М., ВЦ АН СССР, 1970.

2. Безелявский В.Б. О расчете жестких многослойных аэродромных: покрытий. В сб.: "Надежность, работоспособность и пропускная способность сооружений аэропортов". М., 1981 (Московский автодорожный институт).

Инж. В.К. Сангаджиев

4. РАСЧЕТ АЭРОДРОМНЫХ ПЛИТ ПОКРЫТИЙ, ЛЕЖАЩИХ НА УПРУГОМ ОСНОВАНИИ

Огромные материальные затраты на возведение аэродромных плит покрытий и происходящие в последние годы значительное увеличение нагрузок от воздушного транспорта требуют совершенствования методов расчета плит покрытий, основным конструктивным элементом которых является прямоугольная плита.

Для решения задачи об изгибе прямоугольной плиты, лежащей на упругом основании Винклера, используем предложенный [1] метод, согласно которому в правую часть дифференциального уравнения изгиба плиты:

                              (1)

введены, кроме функции заданной нагрузки q0(x,y), дополнительные функции qk(x,y), которые записываются в форме операторов от обобщенных функций с неизвестной плотностью:

,

                                                       (2)

Здесь  - операторы, сопряженные операторам граничных условий, которые в общем случае имеют вид:

          (3)

где K1 и К2 - коэффициенты, равные 0 или 1 в зависимости от рассматриваемой расчетной схемы покрытия. Так, например, если все коэффициенты KI и К2 равны единице, то граничные условия:

                                         (4)

соответствуют граничным условиям прямоугольной плиты со свободным контуром, а если  =  = 0 и остальные коэффициенты равны единице, то граничные условия (4) будут соответствовать граничным условиям свободного края но линиям х=-а и у=-в и шарнирного края по линиям х=+а и y=+в.

Таким образом, варьируя коэффициентами К1 и K2, можно получить различные граничные условия, применяемые при расчете аэродромных плит покрытий.

Решая уравнение (1) с помощью двумерного преобразования Фурье, получим выражения прогиба и изгибающего момента для прямоугольной плиты:

               (5)

                                                                                                                                                                             (6)

В полученных; выражениях (5) и (6) выделены слагаемые, соответствующие прогибу и изгибающему моменту в бесконечной плите, а остальные слагаемые представляют собой обобщенные; решения дифференциального уравнения (1).

На основе полученного решения разработан алгоритм и программа расчета для ЭВМ типа ЕС.

В качестве примера рассмотрим изгиб прямоугольной плиты (рис.1) с приведенными размерами 4,0 х 4,0 оо свободным контуром, лежащей на упругом основании Винклера, с нагрузкой в центре, равномерно распределенной по площадке размером 0,1 × 0,1, и интенсивностью q = 100.

Рис.1 Распределение изгибающего момента Мх в прямоугольной плите

Рис.2. Распределение изгибающего момента Мх. в полубесконечной плите

Рис.3. Распределение изгибающего момента Му в полубесконечной плите

Рис.4. Распределение изгибающего момента Мх в четвертьбесконечной плите, загруженной в углу сoсpeдоточенной силой Р = 1.

Рис.5. Эпюра изгибающего момента Мх, в сечении вдоль диагонали четвертьбесконечной плиты от дейсгвия единичного сосредоточенного момента, приложенного к yглу и направленного по диагонали

Максимальный изгибающий момент, возникающий под нагрузкой, равен Мх = 0,3224 и практически совпадает с изгибающим моментом, равным 0,3256, определенным согласно [2] в неограниченной плите от аналогичного вагружения. Уменьшение размеров рассматриваемой плиты в 2 раза приводит к незначительному уменьшению максимального изгибающего момента в 1,08 раза, что позволяет использовать расчетную схему неограниченной плиты при расчете прямоугольных плит, нагруженных в центральной области.

В случае приложения нагрузки на краю прямоугольной плиты либо вблизи угла она может быть рассчитана по схеме полубесконечной или четвертьбесконечной плита, что значительно упрощает получение расчетных формул.

На рис.2-5 показано распределение и эпюра изгибающего момента в полубесконечной и четвертьбесконечной плите при различных загружениях.

Приведенные результаты на рис.1 - 5 наглядно показывают распределение изгибающих моментов в рассматриваемых плитах, а применение полученного решения и программ, разработанных па его основе, позволят с помощью ЭВМ достаточно быстро и эффективно получать решения для расчета аэродромных плит покрытий при произвольном нагружении.

Литература

1. Травуш В.И. Метод обобщенных: решений в задачах изгиба плит на линейно-деформируемом основании. "Строительная механика и расчет сооружений", 1982, № 1.

2. СНиП II-47-80. "Строительные нормы и правила. Нормы проектирования. Аэродромы". М., Стройиздат, 1981.

Инж. В.В. Татаринов,

канд. техн. наук Г.М. Сардаров

5. PAСЧЕТ ПАРАМЕТРОВ НЕРОВНОСТЕЙ АЭРОДРОМНЫХ ПОКРЫТИЙ

Неровность поверхности аэродромного покрытия оценивается функцией спектральной плотности S(f). С целью получения исходных данных, необходимых для вычисления S(f) производились геодезических измерений с помощью нивелира НВ-1 на искусственных взлетно-посадочных полосах гражданских аэродромов. Шаг нивелирования составлял 0,5 м. Длина участков, на которых производились измерения, составляли 700 м. Результаты измерений обрабатывались на ЭВМ по следующей схеме, х).

1. Через две крайние точки на границе i-й неровносги проводилась прямая линия и замерялась (вычислялась) разница между oтметкой точки в центре неровности и отметкой прямой в этой точке (рис.1).

Рис.1. Схема определения амплитуд геометрических неровностей

х) Работа выполнена под руководством канд. техн. наук А.П. Виноградова.

Вычисление производилось по формуле:

,                                                          (1)

где δik - удвоенная амплитуда неровности;

hk - отметка начальной точки неровности;

hk+m - отметка конечной точки неровности;

 - отметка центральной точка неровности.

2. Включался цикл по переменной k, т.е. по ординатам профиля покрытия "прокатывалась" математическая каретка, определенной длины и вычислялись удвоение амплитуды δ при каждом ее положении. Не следует отождествлять понятие математической каретки с понятием математический фильтр типа скользящего среднего или разностей. Интервал последовательного сдвига каретки при расчете линейчатого спектра равен 1, т.е. 0,5 м.

3. Включался цикл i, позволяющий изменить длину каретки, а значит и длину неровности. При шаге нивелирования Δl = 0,5 и длина неровности будет равна :, м.

Расчет ординат спектральной плотности (дисперсий на данной частоте) производился по следующей формуле:

                                                               (2)

где Si(f) - спектральная плотность распределения дисперсий на частоте ,

 - амплитуда неровности длиной L;

N - число перемещений каретки (число определений амплитуд неровностей).

По данной методике можно построить график спектралъной плотности распределения дисперсий амплитуд геометрических неровностей в широком диапазоне частот для длин от 1 до 100 м. Каждая точка спектральной плотности для данной частоты будет соответствовать среднестатистической дисперсии амплитуды (высоты неровности). Построение спектральной плотности указанным способом оправдано, поскольку замеряются действительные амплитуды. Принимаем, что при спектральном анализе ординаты неровностей подчиняется нормальному закону. Построение графиков спектральных плотностей произведено в логарифмическом масштабе.

Рис.2. Спектры геометрических неровностей для аэропортов Красноярск (1),
Минералъные Воды (2), Домодедово (3)

Для определения спектральных характеристик покрытий аэродромов была составлена программа расчета на ЭВМ серии ЕС на языке программирования (PLI) и обработаны результаты нивелировок, полученных на ряде аэропортов (рис.2).

По характеру расположения спектральных плотностей видно, что наихудшую ровность имеет покрытие аэропорта Красноярск (кривая 1). Чем выше расположена кривая, тем хуже ровность покрытия.

Таким образом, на основе спектрального анализа аэродромных покрытий можно определить граничную линию. Если кривая спектральной плотности проходит выше граничной линии, то необходим ремонт аэродромного покрытия. Показателем ровности аэродромных покрытий может служить полная дисперсия ординат аэродромных неровностей, занимающих полосу частот от fмин до fмакс:

, где

Интегрирование может быть выполнено непосредственным суммированием или другим доступным методом.

Канд. техн. наук Э.Н. Смирнов,

инж. А.А. Пчелин

6. СТАТИСТИЧЕСКИЙ АНАЛИЗ ИНТЕНСИВНОСТИ РАСПРЕДЕЛЕНИЯ ДИНАМИЧЕСКОГО ВОЗДЕЙСТВИЯ САМОЛЕТОВ НА ВПП

Одним из вопросов получения информации о состоянии покрытия ВПП является поиск способа получения случайной выборочной совокупности для выполнения детальных исследований. Поскольку покрытие ВПП эксплуатируется с различной интенсивностью по площади, необходимо определить участки дифференцированной значимости с точки зрения режимов и безопасности эксплуатации самолетов. С этой целью представляется целесообразным использовать метод расслоенной выборки, представительность которой существенно выше неограниченной выборки при значительно меньших затратах на исследования [1]. Применение расслоенной выборки цредусматривает разделение покрытия ВПП по площади на характерные (экспериментальные) участки.

Принцип разделения на такие условные экспериментальные участки заключается в том, что оценка какого-то заданного параметра (в нашем случае средней величины исследуемой хaрактеристики) тем точнее, чем меньше дисперсия. Из анализa дисперсий выражений расслоенной выборки с позиции ее минимизации следует, что при делении совокупности на участки нужно стремиться к тому, чтобы получить участки внутренне однородные, а внешне дифференцирование относительно средней искомой характеристики (прочности, ровности, сплошности). Для ВПП такие участки будут совпадать с распределением интенсивности воздействия самолетов. Все повреждения покрытия ВПП, не связанные с воздействием самолетов (из-зa погодно-климатических особенностей района расположения аэропорта, низкого качества строительно-ремонтных работ, нарушения режимов эксплуатационного содержания покрытий), будут распределяться равномерно до всей поверхности ВПП х).

х) Для упрощения задача здесь не рассматриваются вопросы совместного воздействия нагрузки и внешних условий.

Повреждения искусственных покрытий под воздействием самолетных нагрузок будут суммироваться пропорционально интенсивности приложения таких нагрузок. Это подтверждается многолетними наблюдениями за характером распределения повреждений по площади покрытия ВПП в различных дорожно-климатических условиях [2].

Предлагаемый прием деления покрытия ВПП на экспериментальные участки обеспечивает достаточно большую внутреннюю однородность при максимальном дифференцировании участков. Это в свою очередь позволяет выделить участки различной значимости на условия безопасности наземного маневрирования самолетов, а следовательно, и уточнить очередность предполетного (ежедневного) осмотра и ремонта различных участков ВПП из условия обеспечения непопадания в авиадвигатели продуктов разрушения искусственных покрытий. Для исследования характера распределения интенсивности воздействия самолетов необходимо рассмотреть частоты приложения динамических нагрузок к поверхности ВПП: в поперечном направлении и в продольном направлении для случаев paзбега, приземления и пробега самолета.

Ранее выполненными исследованиями показано [3], что частота прохода самолетов через поперечное сечение ВПП при различных маневрах (разбег, приземление, пробег) подчиняется нормальному закону, причем около 80 % всех случаев приходится на зону вдоль оси ВПП шириной от 12 до 15 м. Формулу такого распределения можно представить в виде:

,                                                                  (1)

Изучение динамики посадки самолетов различных классов показывает, что около 98 % всех приземлений приходятся на половину длины ВПП и характеризуется нормальным распределением [4]. Формула такого распределения может быть представлена в виде:

.                                                        (2)

Эта формула справедлива при условии, что 0≤ xL/2, где L - длина ВВП.

Для случая взлета самолета зоной интенсивной эксплуатации является участок разбега, длина которого зависит от класса самолета. Из анализа процесса изменения скорости разбега самолета и нагрузок, воздействующих на покрытие по длине ВПП очевидно, что с возрастанием скорости разбега уменьшается величина нагрузки, прикладываемой к покрытию, за счет аэродинамической подъемной силы. Такое распределение динамического воздействия на поверхность ВПП характеризуется произведением скорости разбега самолета на нагрузку и может быть описано формулой:

.                                                      (3)

Построенная по данному закону кривая распределения (рис.1) наглядно показывает, что в этом случае экстремальные воздействия от динамической нагрузка приходятся на 1/3 длины дистанции разбега самолета.

Рис.1. Распределение динамического воздействия самолета на ВПП при разбеге

Участок пробега самолета после приземления (величина которого также изменяется в зависимости от класса самолета) характеризуется увеличением нагрузок, усугубляемым интенсивным торможением, нередко с использованием реверса. Исследуя изменение приложения нагрузки и скорости движения самолета в функции длины пробега из условия, что посадочная скорость самолета, как правило, составляет не более 80 % от скорости отрыва, а масса на 15 % меньше массы стартующего самолета (рис.2), можно получить формулу распределения воздействия самолета на покрытие как произведение скорости пробега на нагрузку:

                                    (4)

при . 0 ≤ L/Lпр ≤ 0,25.

или

                                                                    (5)

при 0,25 ≤ L/Lпр ≤1,0.

В качестве меры интенсивности воздействия самолета на поверхность ВПП примем произведение количества взлетно-посадочных операций, приходящихся на поперечное сечение покрытия, на воздействие самолета. При этом максималъное воздействие на покрытие будет равно 1,0. Тогда распределение интенсивности воздействия при разбеге можно описать выражением, полученным из произведения формул (1) и (3):

,                                         (6)

Рис.2 Распределение динамического воздействия самолета на ВПП при пробеге

Геометрическая интерпретация такого распределения приведена на рис.3. Поступая аналогично предыдущему, из произведения выражений формул (1), (4) и (5) получим формулы распределения динамического воздействия самолетов для случая пробега:

                            (7)

при 0 ≤ х ≤ L/8

                                                             (8)

при L/8 ≤ х ≤ L/2

Рис.3. Огибающая интенсивности динамического воздействия самолета на ВПП при разбеге

Геометрическая интерпретация такого распределения динамического воздействия при пробеге приведена на рис.4. Аналогично, для случая распределения динамического воздействия при приземлении самолета, получим:

                                               (9)

при 0 ≤ х ≤ L/2

По формулам (6) и (9) можно рассчитать интенсивность динамического воздействия самолета в любой точке покрытия ВПП в масштабе от 0 до 1.

Деление ВПП на xapaктерные участки наиболее целесообразно выполнять исходя из количества полос бетонированных (для жестких покрытий) или условных полос, кратных по ширине расстоянию между главными опорами самолетов (для нежестких покрытий).

Рис.4. Огибающая интенсивности динамического воздействия самолета на ВПП пpи пробеге

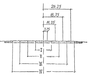
Рассмотрим такое деление на примере жестких аэродромных покрытий. При этом за ширину центрального (первого) участка примем две (при четном количестве полос бетонирования) или три (при нечетном количестве полос бетонирования) плиты покрытия, а для остальных участков будем прибавлять по одной ширине плиты с каждой стороны оси ВПП (рис.5).

Принимая во внимание, что при современной технологии строительства жестких аэродромных покрытий ширина полосы бетонирования диктуется шириной захвата бетоноукладочной машины и, как правило, равна 7 - 7,5 м, получим ширину всех характерных участков (первого - 14 - 15 м; второго - 28 - 30 м, третьего - 42-45 м; четвертого - 56 - 60 м) в зависимости от категории аэродрома.

Приведенные данные и формулы (6) - (9) позволяют вычислять координаты всех характерных участков по площади ВПП, а также подсчитать вероятности максимального воздействия самолетов на различные участки покрытия и определять показатели важности каждого участка.

Рис.5. Схема деления - ВПП на характерные участки (в поперечном направлении)

Результатом таких расчетов приведены в таблице с учетом действующих в гражданской авиации нормативов и границ единых зон приземления, осредненных значений длин разбега и посадочных дистанций самолетов для аэродромов класса Б.

Таблица

Параметры оценки

Размер участков покрытия от длины ВПП

первый

второй

третий

четвертый

начало

конец

начало

конец

начало

конец

начало

конец

Разбег

0,15

0,36

0,08

0,4

0,03

0,5

0,0

0,5

Приземление

0,2

0,3

0,15

0,42

0,04

0,46

0,0

0,5

Пробег

0,22

0,4

0,15

0,5

0,04

0,5

0,0

0,5

Вероятность максимального воздействия, %

49

44

6,0

1,0

Показатель значимости участка

0,6

0,33

0,06

0,01

Выводы

1. Исследования характера воздействия самолета на покрытие ВПП при различных маневрах позволяет уточнить участки покрытия с различным показателем значимости по критерию безопасности при разбеге, приземлении и пробеге.

2. Использование зависимой расслоенной выборки как метода математической статистики позволяет исходя из действующих нормативов и среднестатистических значений разбега и посадочных дистанций рассчитать координаты характерных участков по сечению и длине ВПП.

3. Поскольку эксплуатационная пригодность ВПП определяется оперативностью оценки состояния наиважнейших (от оси ВПП) участков покрытия, описанный подход можно использовать при количественной оценке степени повреждений искусственных покрытий аэродрома и принятии решения о необходимости и объемах ремонтных работ.

4. Полученные результаты исследований (границы и размеры характерных участков по площади ВПП) позволяют дифференцировать требования к допускаемым неровностям поверхности ВПП в зависимости от значимости участка по критерию безопасности наземного маневрирования самолетов.

Литература

1. Bialobrzeshi Т., Marszalek J., Drogownictwo, 1, 1980

2. Смирнов Э.Н., Соколов B.C., Ключников Г.Я. Диагностика повреждений аэродромных покрытий. М., "Транспорт", 1984.

3. Глушков Г.И., Бабков В.Ф. и др. Изыскание и проектирование аэродромов. М., "Транспорт", 1981.

4. Котик М.Г. Динамика взлета и посадки самолетов. М.,"Машиностроение", 1984.

Инженеры Ю.А. Самородов,

Д.И. Изотов, А.В. Быков.

7. ЭФФЕКТИВНОСТЬ ПРИМЕНЕНИЯ НОВЫХ ПОВЕРХНОСТНО-АКТИВНЫХ ВЕЩЕСТВ В ХИМИЧЕСКОМ РЕАГЕНТЕ, ПРЕДНАЗНАЧЕННОМ ДЛЯ УДАЛЕНИЯ ГОЛОЛЕДА

Одной из важнейших задач аэродромной службы является обеспечение постоянной эксплуатационной готовности аэродромных покрытий к производству полетов воздушных судов в различные периоды года. Наиболее трудоемкими являются работы, связанные с предупреждением и ликвидацией гололедных образований на аэродромных покрытиях. Вопросы борьбы с гололедными образованиями широко рассмотрены в отечественной и зарубежной литературе [14] Анализ показывает, что основными способами борьбы с гололедными образованиями являются тепловой и химический.

Тепловой способ удаления гололеда производится с помощью машин, в качестве рабочего органа которых используются авиадвигатели, отработавшие летный ресурс. Производительность этих машин составляет в среднем 0,5 - 10 га/ч, а расход авиакеросина от 0,8 до 1,2 т, Низкая производительность и большой расход авиакеросина делают тепловой способ экономически не выгодным. Следует также отметить, что применение теплового способа [4, 5] оказывает вредное воздействие на поверхностный слой аэродромных покрытий: выжигается битум из асфальтобетонных покрытий и возникает шелушение поверхности цементобетонных покрытий.

Наиболее распространенным и перспективным способом предупреждения и удаления гололедных образований как в нашей стране, так и за рубежом является химический способ, в основу которого положено предупреждение или разрушение гололедного образование водорастворимыми низкотемпературными химическими реагентами.

Основным химическим реагентом, применяющимся на аэродромах за рубежом, является гранулированный карбамид, который выпускается в большом количестве для нужд сельского хозяйства. Недостатком применения карбамида в качестве реагента для удаления гололедных образований является его низкая эффективность при температуре ниже -6°С, а также коррозийное воздействие на цементобетонные покрытия.

Наиболее широко в нашей стране для предупреждения гололедных образований на аэродромных покрытиях применяется химический, реагент АНС. В составе реагента АНС в качестве поверхностно-активного вещества (ПАВ), снижающего коррозийную активность реагента цементобетонному покрытию, применяются ОП-7 или ОП-10 в количестве 3-5 %. Эти ПАВ выпускаются отечественной промышленностью в ограниченном количестве и поставляются для изготовления реагента АНС в недостаточном объеме. В связи с этим возникла необходимость замены ОП-7 (ОП-10) на менее дефицитное и биологически разлагаемое ПАВ.

На основании анализа ПАВ, выпускаемых отечественной промышленностью, было выявлено, что наиболее подходящими для этих целей могут быть синтамид-5 [6], синтанол ДС-10 [7], сульфонол [6].

Для выявления возможности применения в антигололедных реагентах новых ПАВ (синтамил-5, синтанол ДС-10, сульфонол) были проведены исследования по определению вязкости, поверхностного натяжения и количества проникающей в цементобетон жидкости. Для этих. целей было применено уравнение, по которому определяется количество жидкости, впитываемой поверхностью покрытия:

,

Q - количество впитываемой поверхностью жидкости в единицу времени, см3/с;

r - средний радиус пор цементобетона, см;

θ - краевой угол смачивания, град.;

σ - поверхностное натяжение жидкости, дин/см;

η - вязкость впитываемой жидкости, Сн

Из формулы вндно, что количество впитываемой жидкости (реагента) поверхностью покрытия прямо пропорционально поверхностному натяжению и обратно пропорционально ее вязкости. Иди чем меньше поверхностное натяжение σ и больше вязкость раствора реагента η, тем меньше его проникает в поры поверхности покрытия.

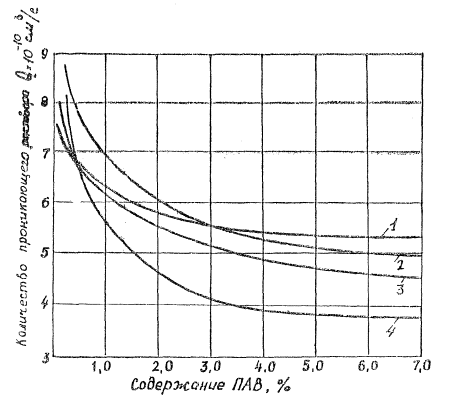
Относительная вязкость растворов новых реагентов определялась по стандартной методике. В качестве исследуемых растворов принимался 30 %-ный раствор химического реагента НКМ с добавлением к нему 0, 0,1; 0,2; 0,3; 0,5; 0,7; 1,0; 2,0; 3,0; 4,0; 6,0; 7,0 % ПАВ из расчета на сухой реагент. По результатам исследования построен график (рис.1) из которого видно, что вязкость растворов реагента с добавлением синтамида-5, синтанола ДС-10 и сульфонола в 1,05 - 2,0 раза выше, чем при исполъзовании в качестве ПАВ моющего средства ОП-7 (ОП-10), т.е. отвечает требованиям уменьшения поглощения раствора реагента обрабатываемой поверхностью.

Поверхностное натяжение растворов реагентов определялось также по стандартной методике с помощью специально разработанного прибора. Исследованию подвергались 30 %-ные растворы НКМ с добавлением ПАВ до 7 % в расчете на сухое вещество. На основании полученных данных построен график зависимости значения поверхностного натяжения от процентного содержания ПАВ в растворе реагента (рис.2), из которого видно, что поверхностное натяжение растворов реагентов НКМ с добавлением исследуемых ПАВ синтамида-5, синтанола ДС-10 и сульфонола в 1,1 - 1,4 раза выше, чем у растворов НКМ с ПАВ ОП-7. Это также является одним из необходимых условий уменьшения поглощения раствора реагента цементобетоном.

Количество впитываемой поверхностью цементобетонного покрытия жидкости определялось расчетом по приведенной формуле. По данным расчета построен график (рис.3) зависимости количества впитываемого раствора реагента от содержания ПАВ, из которого можно видеть, что введение в реагент НКМ рекомендуемых ПАВ приводит к значительному (1,5 - 2,3 раза) cнижения количества раствора реагента, проникающего в цементобетон в единицу времени.

Рис.1. Зависимость относительной вязкости 30 %-ного раствора реагента НКМ от содержания ПАВ: 1 - ОП-7; 2 - синтанол ДС-10; 3 - синтамид-5; 4 - судьфонол

Рис.2. Зависимость поверхностного натяжения 30%-ного раствора реагента НКМ от содержания ПАВ: 1 - ОП-7; 2 - синтамид-5; 3 - синтанол ДС-10; 4 - сульфонол

Замена ОП-7 в реагенте AHС на рекомендуемые ПАВ также снижает (в 1,5 - 1,35 раза) проникающую способность растворов.

Рис.3. Зависимость количества проникающего раствора реагента в бетон от содержания ПАВ: 1 - ОП-7; 2 - синтанол ДС-10; 3 - синтамид-5; 4 - сульфонол

Анализируя графики, приведенные на рис 1 - 3, можно сделать вывод, что наиболее оптимальной добавкой ПАВ в реагенты является 3 - 5 %, так как дальнейшее увеличение ПАВ является нерациональным и практически не приводит к снижению протекающей способности растворов новых реагентов в цементобетонные покрытия.

Испытания на коррозийную активность растворов реагентов по отношению к цементобетону проводились по ускоренной методике на образцах диаметром 2 см и высотой 4 см, изготовленные из цемента М-300. Перед испытаниями образцы насыщались 10 и 30 %-нымн растворами реагента НКМ с различными по составу и весу добавками ПАВ. Образцы 2 ч замораживались при температура -15°С, затем 2 ч оттаивали в растворе реагента при температуре +20°С. Через 10 циклов производился осмотр образцов и определялась потеря массы, а через 50 циклов производились испытания на растяжение при раскаливании. Для получения достоверных данных в каждом растворе испытанию подвергались пять образцов.

Результаты испытаний показали, что наиболее перспективными ПАВ являются синтамид-5 и синтанол ДС-10. Образцы, испытываемые в реагентах с добавками этих ПАВ в течение 50 циклов испытаний, практически не имеют видимых поверхностных разрушений, а потеря прочности значительно меньше, чем у образцов, находящихся в воде, При этом растворы с концентрацией 30 % коррозийно менее агрессивны по отношению к бетону, чем реагенты с концентрацией раствора 10 %.

Коррозийное воздействие химического реагента НКМ с новыми ПАB на металлы и сплавы, применяемые в самолетостроении, проводились по специальной методике [9]. Испытанию были подвергнуты следующие металлы и сплавы: магнит MА-12, алюминий A-1, дюраль-16, сталь Ст-3, сталь оцинкованная, медь M-1, латунь Л-62, бронза БРАЖиц, сталь нержавеющая 1x1 0Н9Т.

Образцы металлов и сплавов опускались в приготовленный 15 %-ный раствор реагента и выдерживались в нем 10 мин., затем 50 мин. на воздухе. Сравнительные результаты коррозийного воздействия реагента на металлы и сплавы определялись после 50 циклов попеременного погружения образцов металлов в растворы реагентов.

Результаты исследований показали, что замена ОП-7 на другие ПАВ (синтамид-5, сульфонол, синтанол ДС-10) не повышает коррозийного воздействия реагента по отношению к металлам и сплавам.

По результатам лабораторных исследований были изготовлены три опытные партии гранулированного реагента НКМ с добавками ПАВ (синтамид-5, сульфонола и синтанола ДС-10) по 15 т каждая. Испытания опытных партий проводились в марте и декабре 1983 г. в аэропорту Шереметьево.

Химический реагент хранился в закрытом неотапливаемом помещении в штабелях высотой 2 м. При загрузке реагента в разбрасыватели РУМ-3 было установлено, что все изготовленные партии реагента имеют равномерный гранулометрический состав с размером зерен 1-3 мм. Реагент находился в состоянии, не требующем дробления его перед погрузкой.

Равномерность распределения реагента по обрабатываемой площади покрытия определялась на участие МРД длиной 120 м. По трем створам, расположенном на расстоянии 50, 75 и 100 м, были установлены восемь поддонов: четыре на расстоянии 1 м от оси движения разбрасывателя и четыре поддона на расстоянии 2 м. Распределение реагента машиной РУМ-3 производилось при скорости движения 10, 15 и 20 км/ч. Ширина россыпи составила 15 - 20 м, а плотность россыпи по мере удаления от оси движения уменьшалась и на расстоянии 10 м составила примерно 50 % от плотности по оси движеиия

Эффективность плавления льда химическими реагентами с новыми ПАВ определялась на искусственно созданном гололеде толщиной 1 мм. Химический реагент распределялся по гололеду с нормой расхода 70 г/м2. Коэффициент сцепления, замеренный с помощью аэродромно-тормозной тележки А'ГТ-2, на покрытой льдом поверхности был равен 0,1, а через 5, 10, 15, 20, 30 мин после россыпи реагента соответственно был равен 0,25; 0,33; 0,35; 0,40; 0,45, т.е. эффективность плавления гололеда и расход реагента на единицу площади были примерно одинаковы с реагентом, содержащим в качестве добавок ОП-7.

Выводы

1. Химические реагенты с поверхностно-активными добавками синтамид-5, синтанол ДС-10 и сульфонол эффективно производят плавление гололедных образований; при этом норма расхода реагента и температурные границы их применения соответствуют реагентам с добавками ОП-7 (ОП-10).

2. Введение в химический реагент поверхностно-активных веществ (синтамид-5, синтанол ДС-10, сульфонол) снижает в 1,5 - 2,3 раза количество раствора реагента, проникающего в цементобетонное покрытие.

3. Оптимальная добавка ПАВ в химреагент составляет 3 - 5 %. Дальнейшее увеличение содержания ПАВ нерационально, так как не приводит к снижению проникающей способности раствора реагента в цементобетонное покрытие.

4. Химический реагент с новыми ПАВ снижает коррозийную агрессивность по отношению к цементобетону на 10 - 30 % и не повышает коррозийного воздействия к металлам и оплаты по сравнению с реагентами, содержащими в качестве добавок ОП-7 (ОП-10).

Литература

1. Изотов Д.И., Тепловые и химические средства борьбы с гололедом на аэродромах. Информационный бюллетень по зарубежиым материалам, 1972, 1(87).

2. Белинский И.А., Самородов Ю.А., Соколов B.C. Зимнее содержание аэродромов. М., "Транспорт", 1982.

3. Карабан Г.Д., Ратинов В.Б. Борьба со снежно-ледяными образованиями на дорогах с помощью химических реагентов. М., Стройиздат, 1976.

4. Горецкий Л.И., Могилевский Д.А. Эксплуатация аэродромов. М., "Транспорт", 1975.

5. Тригони В.Е. Струйная эрозия аэродромов. М., "Транспорт", 1981.

6. ТУ 6-02-640-76. Синтамид-5.

7. ТУ 6-14-577-77. Синтанол ДС-10.

8. ТУ 6-01-1043-75. Сульфонол.

9. ГОСТ 9017-74. Единая система защиты от коррозии и старения. Алюминий и сплавы алюминиевые. Методы ускоренных испытаний на общую коррозию.

Д-р техн. наук В.М. Кнатько, инж. А.И. Заморин

8. ПОТРЕБНАЯ ПРОИЗВОДИТЕЛЬНОСТЬ УБОРОЧНЫХ МАШИН В ЗАВИСИМОСТИ ОТ РЕЖИМА ЗИМНИХ ОСАДКОВ

В условиях современной интенсивности полетов воздушных судов (ВС) и дефицита времени, отводимого на очистку покрытий от снега возросли требования к зимнему содержанию аэродромных покрытий. Полученные средние значения интенсивности и количества осадков не удовлетворяют этим требованиям. Методика использования средних величин режима осадков приводит к значительным отклонениям от реальных значений интенсивности и количества осадков, что является одной из причин нарушения регулярности полетов.

Поэтому с целью совершенствования методики расчета потребного количества средств механизации для очистки аэродромных покрытий необходимо уточнить расчетные формулы режима осадков и требования, предъявляемые и эксплуатационной готовности аэродромных покрытий. В условиях снегопада эксплуатационная готовность аэродромных покрытий поддерживается за счет патрульной снегоочистки. При этом постоянная готовность аэродромных покрытий соблюдается при условии:, где i - интенсивность снегопада; hкр,- критическая толщина слоя отложений осадков, при которой допускаются полеты ВС.

Время очистки Тпр заданной площади покрытия за один проход уборочных машин, определяется по формуле:

,                                                                               (1)

где F - заданная площадь очистка покрытая;

 - относительная потеря времени на вспомогательные операции уборочных машин (развороты, кратковременные остановки по каким-либо причинам и т.д.);

Птехн. - техническая производительность уборочных машин (комплекта однотипных машин).

Расчетное значение интенсивности снегопада определяется по многолетним статистическим данным, вероятность распределения которых аппроксимируется интегральной функцией Гудрича, преобразованной к виду:

,                                                       (2)

где Р(≤xк) - суммарная вероятнооть непревышения заданного значения интенсивности осадков xк

β, γ - параметры, определяемые по эмпирическим данным интенсивности выпадения осадков в рассматриваемом аэропорту;

 - средняя статистическая интенсивность осадков за многолетний период.

Численное значение величины β можно выразить через Г - функции и параметр γ:

.                                                                           (3)

Эксперименталъная массовая обработка фактических данных интенсивности, продолжительности и количества выпавших осадков с помощью формулы (2) показала хорошие результаты.

Средний квадратический разброс точек эмпирических метеоданных относительно аппроксимирующей кривой составил в большинстве своем менее 30 %, т.е. случайная ошибка находилась в допускаемых пределах.

Расчетное значение величины интенсивности iр осадков с учетом (3) находятся из выражения (2) по следующей формуле:

.                                                                           (4)

Используя соотношения (1) и (4) и подставляя их в условие соблюдения постоянной готовности аэродромных покрытий после некоторого преобразования получаем:

.                                                     (5)

Формула (5) характеризует функциональную зависимость минимальной производительности уборочных машин от численного значения интенсивности выпадения осадков. С увеличением Р (ixк) повышается потребная производительность уборочных машин (см. рисунок),

В качестве примера рассмотрим задачу. В аэропорту Пулково необходимо определить минимальную производительность комплекта патрульных уборочных машин, способных поддерживать в постоянной технической готовности аэродромные покрытия площадью 21 га при суммарной вероятности интенсивности снегопада Р = 0,95. Интенсивность осадков в аэропорту Пулково характеризуется статистическими параметрами γ = 1,0112 и  = 0,3 мм/ч (данные ориентировочные).

Минимально потребная производительность комплекта уборочных машин с учетом относительной потери времена на вспомогательные операция  = 0,3 определяется но формуле (5):

.

СУММАРНАЯ ВЕРОЯТНОСТЬ ОСАДКОВ

Изменение минималъно необходимой производительности уборочных машин в зависимости от суммарной вероятности интенсивности осадков

На рисунке решение показано пунктирной линией.

По найденной общей производительности комплекта yборочных машин Птехн = 48,8 га/ч и зная цроизводительность каждой машины с учетом принятой организацией технологии удаления осадков с покрытия, легко составить оптимально необходимый комплект уборочных машин.

Выводы

1. Получена функциональная зависимость производительности уборочных машин от суммарной вероятности режима осадков при эксплуатационном зимнем содержании аэродромов.

2. Представляется возможным параметры  и γ исполъзовать в качестве критериев районирования территории СССР при определении количества средств механизации.

Канд. экон. наук Н.Н. Воронин,

инж. М.М. Лакомцева

9. ГРУЗОВЫЕ ДВОРЫ ГРУЗОВЫХ КОМПЛЕКСОВ АЭРОПОРТОВ

Грузовой двор - это часть ограждаемой служебно-технической территории аэропорта, предназначенной для поведения погрузочно-разгрузочных операций, стоянки, проезда и маневрирования автотранспортных средств аэропорта, грузоотправителей и грузополучателей.

Территория грузового двора определяется следующими параметрами:

Количеством погрузочно-разгрузочных мест (постов) со стороны города и перрона;

- размерами автомашины расчетного типа;

- нормативными расстояниями между автомашинами, стоящими у рампы склада под погрузкой-разгрузкой, между движущимися навстречу друг другу, стоящими у рампы склада и движущимися автомашинами;

- нормативным расстоянием от движущейся автомашины до границы проезда;

- коэффициентами, учитывающими ограждение, благоустройство и режимно-охранное обеспечение.

Общая площадь территория грузового двора включает в себя три зоны:

- зона А - территория, расположенная со стороны летного поля и предназначенная для движения специализированного автотранспорта, обеспечивающего погрузку-разгрузку и транспортировку грузов от складов до самолетов;

- зона В - территория, расположенная со стороны города и предназначенная для движения и расстановки грузового автотранспорта, обеспечивающего погрузку-выгрузку грузов, вывозимых в город и прибывших из города;

- зона С - территория, расположенная с торца основного здания грузового комплекса, соединяющая зоны А и В и предназначенная для проезда автотранспорта, размещения специализированных складов и сооружений.

Оптимальное количество мест погрузки-разгрузки автотранспорта у грузового склада определяется по теории массового обслуживания путем нахождения оптимального коэффициента использования обслуживающего устройства (поста разгрузки), который зависит от соотношения эксплуатационных расходов мест погрузки-разгрузки и всех издержек, вызванных простоем автомашины, связанных с обслуживанием и ожиданием его.

Общая длина всех погрузочно-разгрузочных мест (постов) определяется как погрузочный фронт. Величина погрузочно-разгрузочного фронта зависит от способа расстановки автотранспорта, прибывающего на склад за получением или для сдачи груза. Наиболее распространенными способами являются поточная и торцевая расстановка автомашин.

Поточная расстановка, при которой один из боковых бортов автомашины обращен в сторону склада, является удобной при эксплуатации автомашин с прицепами и полуприцепами, а также при погрузке-выгрузке длинномерных грузов.

Торцевая расстановка автомашин, при которой в сторону склада обращен задний борт автомашины, предпочтительнее для эксплуатации автомашин без прицепа.

Величина погрузочно-разгрузочного фронта при поточном и торцевом способах расстановки автотранспорта определяется по следующим формулам:

- при поточной расстановке:

Lп = n(l+АП)+АП,                                                                            (1)

- при торцевой расстановке:

LТ = n(в + АТ)+АТ ,                                                                         (2)

где l - длина автомашин или автопоезда, м;

в - ширина автомашины, м;

n - число погрузочно-разгрузочных мест;

АП, АТ - расстояние между соседними автомашинами, м.

Обычно это расстояние принимается в зависимости от потребного количества мест погрузки-разгрузки и определяется как разница между внутренним радиусом поворота автомашины и половиной ее ширины.

Площадь покрытия со стороны города и перрона зависит от геометрических параметров склада (главным образом его длины и ширины), расчетного типа автомашин и способа расстановки автотранспорта у склада.

Схемы расстановки и проездов автотранспорта у грузового склада при поточном и торцевом способах приведены на рис.1 и 2.

Минимальная ширина покрытия зоны В грузового двора у здания грузового комплекса при торцевом способе расстановки автомашин и одном проезде определяется по формуле

Т = С + l + CА + В + С1                                                             (3)

где С - минимальное расстояние от автомашины до рампы и склада, м (обычно принимается 0,2 м);

С1 - нормативное расстояние от движущейся автомашины до стоящей у рампы автомашин или от движущейся автомашины до границы проезда, м (обычно принимается 1 - 1,5 м)|

СА - расстояние, на которое можно подать вперед выезжающую автомашину для обеспечения нормативного расстояния, С1, м.

При увеличении количества проездов к минимальной ширине покрытия ВТ прибавляется величина В + С1 на каждый проезд.

При уменьшении расстояния между соседними автомашинами расстояние, на которое нужно подать вперед выезжающую автомашину, может быть определено по формуле:

СА = (l" + С1) - Rв,                                                                         (4)

где l" - расстояние от оси заднего колеса до переднего бампера, м;

Rв - внутренний радиус поворота автомашины, м.

При определении площади грузового двора размеры и другие параметры автомашин следует принимать по табл.1, а ширину покрытия зон А, В, С по группам грузовых комплексов по табл.2.

Рис.1. Схема поточной расстановки автотранспорта у здания грузового склада

Рис.2. Схема торцевой расстановки и проездов автотранспорта у здания грузового склада

Таблица 1

Тип автомашин

Длина автомашины l , мм

Ширина автомашины в, мм

Расстояние от оси заднего колеса до заднего борта l' , мм

Расстояние от оси заднего колеса до переднего бампера, l", мм

Внешний радиус поворота Rвн

Внутренний радиус поворота RВ, мм

Минимальная ширина проезда, мм

ГАЗ-53А

6395

2380

1892

4566

5000

5620

3380

ЗИЛ-130

6675

2500

1900

4895

8600

5500

3100

ЗИЛ-130-1-В с полуприцепом ОДАЗ-885

9103

2500

4290

4875

8600

5500

3100

АПК-10

8150

2600

3375

4875

8600

5500

3100

АПК-12

7140

2380

2575

4875

8600

5500

3100

Рис.3. Принципиальная схема грузового комплекса: 1. - контейнерный склад; 2 - стеллажный склад; 3 - административно-служебное здание; 4 - помещение для хранения радиоактивных и особых грузов; 5 - здание аккумуляторно-зарядной станции; 6 - контрольно-пропускной пункт; 7 - стоянки автотранспорта; 8 - ограждение, режимно-охранное обеспечение, озеленение;9 -грузовой перрон

Таблица 2

Группа грузового комплекса

Зона А

Зона В

Зона С

Тип автомашины

Ширина покрытия при одном проезде, м

Тип автомашины

Ширина покрытия при двух проездах, м

Тип автомашину

Ширина покрытия при одном проезде, м

I

АПК-10

16

ГАЗ-53А

18,5

АПК-10

10

II

АПК-10К

21

ЗИЛ-130

18,5

АПК-10K

10

III

AПK-10К

21

ЗИЛ-130-1-B с ОДАЗ-885

21

АПК-10К

10

Принципиальная схема размещения зданий и сооружений грузового комплекса и зон расположения А, В, С приводится на рис.3.

Общая площадь территории; грузового двора определяется следующими формулами:

- при отсутствии грузового перрона:

                                (5)

- при наличии грузового перрона, примыкающего к зданию грузового склада:

,                    (6)

где  - общая площадь территории грузового комплекса (за исключением площади застройки под здания и сооружения), м;

LС - длина грузового склада или сблокированных складских зданий и сооружений, м;

 - ширина зоны со стороны города, м;

 - ширина зоны со стороны перрона, м;

ВР - ширина рампы, м;

В - ширина склада, м;

Коз - коэффициент, учитывающий озеленение и благоустройство территории грузового комплекса (для первой группы грузового комплекса - 1,20, для второй группы - 1,16, для третьей группы - 1,12);

Кр - коэффициент, учитывающий режимно-охранное обеспечение (для первой группы грузового комплекса - 1,15, для второй группы - 1,10, для третьей группы - 1,06).

Предлагаемая методика позволит при проектировании облегчить расчеты и с достаточной точностью определять общую площадь грузового двора и отдельных его зон.

Канд. архитектуры М.Г. Писков

10. ПЛАНИРОВОЧНЫЕ РЕШЕНИЯ ЗАЛОВ-НАКОПИТЕЛЕЙ В АЭРОВОКЗАЛАХ ДЕЦЕНТРАЛИЗОВАННОГО ТИПА

Анализ развития аэровокзалостроения выявил естественный процесс развития залов-накопителей в централизованных аэровокзалах в самостоятельный модуль аэровокзала децентрализованного типа, который может быть решен в одном или двух уровнях в зависимости от типа аэровокзала - с применением или без применения телескопических трапов.

При решении в одном уровне зона обслуживания пассажиров и помещение обработки багажа блокируются по горизонтали, а при решении в двух уровнях - по вертикали.

В малых аэровокзалах, а также при ограниченных ассигнованиях на строительство при отсутствии возможности применения или нецелесообразности применения телескопических трапов наиболее рациональным и приемлемым можно считать решение в одном уровне.

При проектировании аэровокзала обычно необходимо определить вместимость и основные параметры модуля. В качестве примера определения параметра модуля можно рассмотреть аэровокзал в новом аэропорту Казань-2, для которого разработан модуль, рассчитанный на единовременное обслуживание одного рейса с максимальным количеством пассажиров 100 чел. (рис.1). Один модуль может обслуживать самолеты типа Ту-134. Для обслуживания самолета Ту-154 на 158 мест предусмотрено блокирование двух модулей с целью сокращения времени оформления рейса до 30 - 40 мин за счет удвоения площади, персонала и оборудования.

Применение одного унифицированного модуля, рассчитанного на обслуживание различных типов самолетов от 50 до 150 мест, представляется не более целесообразным. При разработке модуля для каждого типа самолета может получиться недостаточно гибкая планировочная структура, при которой использование большого модуля для самолета малой вместимости будет слишком нерационально, а использование малого модуля для самолета большой вместимости практически невозможно.

Рис.1. Планировочное решение зала-накопителя (модуля) в уровне первого этажа в аэровокзале Казань-2

При выборе параметров унифицированного модуля необходимо учитывать характерный для данного аэропорта тип эксплуатируемого самолета. В аэропорту Казань-2, например, удельный вес самолетов Ту-154 в общем числе самолето-вылетов в час составляет 2,6 %, транзитных - 7,6 %. В то же время удельный вес самолетов Ан-24 и Ту-134 составляет 80 %, что и является определяющим фактором при выборе архитектурно-технологических параметров модуля.

При вводе в эксплуатацию самолета-аэробуса Ил-86 на 350 - 430 мест, где обслуживание намечается производить по принципу "Багаж при себе", предполагается блокирование четырех модулей (рис.2). Багажные отделения, очевидно, понадобятся для пассажиров, имеющих большое количество багажа (более 30 кг). Но уже сейчас можно определить на основе статистических данных, что число таких пассажиров не превысит 15 %. В том случае, если багажные отделения не понадобятся, их площадь можно будет использовать для зала ожидания пассажиров, демонтировав сборные перегородки между пассажирскими и багажными помещениями.

Рис.2. Принцип использования модулей при различной пассажировместимости самолетов

В модуле может быть использовано как простейшее оборудование в виде прилавков, диспетчерских стоек и контрольных весов при упрощенном порядке регистрации билетов и оформления багажа, так и более сложное оборудование с применением автоматических весов, сблокированных с ленточными транспортерами при порейсовом методе регистрации.

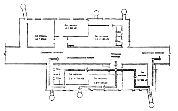
Решения в двух уровнях характерны для аэровокзалов, в которых применяются телескопические трапы для посадки пассажиров в самолет. В первом уровне, как правило, производится обслуживание прилетевших пассажиров, во втором - регистрация билетов и оформление багажа вылетающих пассажиров (рис.3).

Рис.3. Планировочное решение зала-накопителя (модуля) в уровне второго этажа в аэровокзале Таллин

Багажное помещение размещается в этом случае в нижнем уровне. Багаж вылетающих пассажиров перемещается вниз с помощью наклонных ленточных транспортеров с утлом наклона не более 20° или с помощью багажных лифтов.

В международных аэровокзалах при входе в модуль, кроме регистрации билетов и оформления багажа, организован специальный контроль: таможенный, паспортный, контроль за безопасностью полетов (рис.4-8).

Поскольку выход пассажиров, прошедших все виды контроля, из модуля в общий зал нежелателен, внутри модуля часто устраивают туалеты, вместимость которых составляет 3 - 4 % от вместимости модуля. Площадь модулей, приходящаяся на одного пассажира., единовременной вместимости, составляет не менее 1,3 м2 (см. таблицу).

Таблица

Аэровокзалы

Средняя вместимость модуля, чел,

Площадь модуля, м2

Удельная площадь, м2/чел.

Орли-Западный

130

180

1,38

Ганновер-Лангехаген

150

200

1,33

Франкфурт/Майн

150

200

1,33

Кельн-Бонн

130

180

1,38

Гамбург-Кальтенкирхен

500

750

1,5

Лион-Сатолас

80-110

120-130

1,5-1,2

Таллин

76

87

1,14

Казань-2

76-154

52-104

0,69-0,68

Ростов-на-Дону

154

110

0,71

Грозный

154

110

0,71

Как видно из таблицы, в аэровокзалах отечественных аэропортов не обеспечивается требуемый уровень обеспеченности площадями, в залах-накопителях, за исключением аэровокзала аэропорта Таллин. Многократное наблюдение за процессом обслуживания пассажиров в аэровокзале Таллин показали, что даже при норме 1,18 м2/чел при размещении в зале-накопителе 76 пассажиров возникает ощущение скученности и соответственно недостаточной комфортности. Следует также учитывать, что уровень занятости пассажирских кресел на линиях Аэрофлота значительно выше, чем на зарубежных авиалиниях. Поэтому наиболее приемлемой для отечественных аэровокзалов представляется норма не ниже 1,5 м2/чел.

Рис.4. Планировочное решение зала-накопителя (модуля) в аэровокзале Ганновер-Лангехаген

Рис.5. Планировочное решение зала-накопителя (модуля) в аэровокзале Франкфурт/Майн (галерея А, зал № 12)

Рис.6. Планировочное решение зала-накопителя (модуля) в аэровокзале Кельн-Бонн: 1 - регистрация балетов и оформление багажа; 2 - паспортный контроль; 3 -таможенный контроль; 4. информация; 5 - транзитные пассажиры; 6 - магазин беспошлинной торговли

Рис.7. Планировочное решение зала-накопителя (модуля) в аэровокзале Гамбург-Кальтенкирхен

Рис.8. Планировочное решение зала-накопителя (модуля) в аэровокзале Лион-Сатолас

Залы-накопители являются важнейшими функциональными узлами аэровокзалов. Поэтому при разработке новых Норм технологического проектирования аэровокзалов следует уделить особое внимание вопросам вместимости площадей планировочных решений залов-накопителей.

При внедрении в эксплуатацию самолетов повышенной вместимости типа Боинг-747 Международная ассоциация воздушного транспорта ИАТА предложила авиакомпаниям рекомендации для расчета площади залов-накопитедей, которые могут быть использованы при определении планировочных параметров модуля. Эти рекомендации основаны на следующих положениях:

- коммерческая загрузка самолета наибольшей вместимости, обслуживаемого аэровокзальным комплексом, составляет 80 %.

- количество сидящих и стоящих пассажиров принимается по 50 % от вместимости самолета с учетом коммерческой загрузки.

Удельные показатели площадей составляют: 1м2 - для одного стоящего пассажира, 1,5 м2 - для одного сидящего пассажира.

Площадь для проходов и служебной зоны авиакомпаний составляет 10 % от определенной выше общей площади.

В качестве примера определение площади зоны ожидания модуля можно привести простой расчет параметров зала-накопителя для самолета на 400 мест (по рекомендации ИАТА):

- вместимость самолета - 400 пассажиров;

- 80 % коммерческой загрузки - 320 пассажиров;

- площадь для 160 стоящих пассажиров, исходя из условия 1м2 на человека - 160 м2;

- площадь для 160 сидящих пассажиров, исходя из условия 1,5 м2 на человека - 240 м2;

- площадь для проходов и служебной зоны (дополнительные 10 % от 400 м2) - 40 м2;

- общая требуемая площадь - 440 м2.

Рис.9. Планировочное решение зала-накопителя: в аэровокзале централизованного типа Лондон-Хитроу (аэровокзал № 3)

Пример планировочного решения зала-накопителя, рассчитанного на обслуживание самолета типа Боинг-747, приведен на рис.9.

Модульная структура обладает возможностью приспособления к обслуживанию самолетов различной пассажировместимости, которые в ближайшее десятилетие будут эксплуатироваться в аэропортах мира. Практически уже в настоящее время вопросы совместной эксплуатации этих типов самолетов в крупных аэропортах за рубежом решаются достаточно просто. Для обслуживания пассажиров и обработки багажа одного самолета повышенной вместимости типа Боинг-747 используются два или три модуля, каждый из которых предназначен для обслуживания самолета на 100 - 150 мест.

Посадка пассажиров в самолеты с широким фюзеляжем с двумя проходами в пассажирском салоне производится, как правило, с двух бортов через несколько дверей с помощью телескопических трапов или перронных автобусов. В остальное время несколько модулей и оборудование для посадки в самолет могут обслуживать одновременно несколько самолетов меньшей вместимости. Использование такого приема однако совершенно не исключает организации специализированных укрупненных модулей для обслуживания самолетов большой вместимости при условия, что определенная часть аэровокзала постоянно обслуживает только эти типы самолетов.

Канд. архитектуры М.В. Комский

11. МЕТОДЫ РЕКОНСТРУКЦИИ И РАСШИРЕНИЯ АЭРОВОКЗАЛОВ

Современный этап развития аэропортов характеризуется расширением объема реконструкции зданий, в том числе и в первую очередь аэровокзалов. Это закономерно отражает процесс постепенного насыщения аэропортов относительно современными зданиями, построенными после 1968 г. Ожидается, что ½ - ⅔ всех строек аэровокзалов в течение ближайших пятилеток будет выполнено за счет реконструкции и расширения ранее построенных зданий.

Массовость применения таких мероприятий объясняется тем, что в аэропортах все чаще встречаются следующие ситуации:

- требуется продлить долголетие недавно построенных аэровокзалов с незначительным моральным износом и пропускной способностью не менее 200 пасс./ч (около 100 зданий аэропортов типа Кишинев, Воронеж, Сургут, Магадан, Целиноград, Ташкент) х);

- необходимы оперативные промежуточные меры до строительства очередного аэровокзала, сооружаемого, как правило, через 15 - 20 лет, что позволяет сохранить нормальный уровень обслуживания пассажиров в действующих аэровокзалах при минимальных затратах (аэропорты типа Таллин - первоначальный аэровокзал, Рига, Минеральные Воды, Новосибирск, Свердловск, Волгоград, Домодедово);

- необходимо увеличить пропускную способность в условиях затесненной территории застройки и невозможности или затягивания сроков переноса аэровокзалов на новые территории (аэропорты типа Ивано-Франковск, Вильнюс, Куйбышев, Краснодар, Внуково);

- необходимо приспособить здания устаревшей планировки к частичному или полному изменению их назначения при строительстве новых аэровокзалов (аэропорты типа Калуга, Тюмень, Баку, Тбилиси, Ереван-Звартноц).

х) отметить, что часто реконструкцию и расширение приходится начинать вскоре после завершения строительства аэровокзалов, которые вводятся в эксплуатацию с меньшей относительно нормативов пропускной способностью из-за недостатка капитальных вложений, выделяемых заказчиком.

При прочих равных условиях расширение всегда целесообразно, когда пристройка сопоставима по размеру с действующим зданием и его планировочная структура может быть преобразована для реализации очередных более масштабных технологических задач. При этом удается сформировать возможно более компактный комплекс прежних и новых зданий с относительно непрерывными интерьерами главных залов, что особенно важно для визуального комфорта при ориентации пассажиров в пределах увеличивающегося объема.

Известно, что методы реконструкции и расширения как часть методов градостроительства в целом имеют право гражданства и в аэропортах. Их применение позволяет существенно экономить капитальные вложения, повышает интенсивность использования строительных фондов. Однако пропаганда этих методов необходима и сегодня, поскольку по укоренившейся традиции к реконструкции и расширению прибегают неохотно ввиду сложности разработки проекта, его финансирования и строительства новых объемов вблизи эксплуатируемого здания. Легче и быстрее построить новое здание отдельно от действующего, чем переделать существующее.

Эти сомнительные аргументы были решающими на первом этапе расширения отечественных аэровокзалов в начале 60-х годов, когда повсеместно и спешно строились пассажирские здания и павильоны, породившие неудобства обслуживания и неприглядность застройки многих наших аэропортов. Однако такой подход, бытующий и сегодня, порочен в своей основе. Активный строительный период развития аэропортов длится много десятилетий и включает несколько этапов формирования застройки. Ранее построенное на каком-либо этапе здание часто не включается в композицию нового комплекса, что не только бесхозяйственно, но и противоречит законам архитектуры и градостроительства. За исключением ветхой, подлежащей сносу застройки, большинство зданий аэропортов может быть приспособлено к эксплуатации по их прямому или новому назначению, составляя закономерную часть общего комплекса.

Современный этап строительства и реконструкции аэровокзалов отличает более бережное отношение к ценному строительному фонду, стремление органично включить действующие здания в общий поэтапно создаваемый комплекс и максимально использовать существующие площади. Такой подход к проблеме увеличения пропускной способности аэровокзалов не только более экономичен, он позволяет решать очередные строительные задачи грамотно с позиций формирования целостного архитектурного ансамбля.

Сочетание уважительного отношения к архитектурной традиции, умелого и тактичного преобразования облика исторически сложившихся аэровокзалов с приспособлением их помещений к решению современных технологических задач - вот, пожалуй, главные особенности и достижения архитектурной практики последних лет.

Следует отметить, что значительный вклад в реализацию этих идей внесли Аэропроект и его филиалы, а также неспециализированные проектные организации Куйбышева, Рига, Вильнюса, Еревана. За последние года разработано более 20 проектов непосредственного расширения ранее построенных аэровокзалов, семь из них осуществлены, по пяти проектам начато строительство.

Общим для перечисленных проектов является метод органичного включения существующего здания в новый комплекс. В технологическом и объемно-планировочном решениях реконструируемых аэровокзалов наблюдается оправданное разнообразие приемов, облачающее специфике условий эксплуатации и застройки аэропортов.

В зависимости от потребностей расширения к первоначальному зданию пристраиваются или планируется пристроить объемы с различным составом помещений:

- залы досмотра и ожидания посадки, освобождая место для операционных залов (аэропорты Одесса, Днепропетровск и Свердловск - вторые очереди расширения);

- залы прилета, освобождая место дня залов вылета (аэропорты Магадан, Улан-Удэ, Минеральные Воды - первая очередь расширения);

- залы досмотра, ожидания и посадки, залы прилета, освобождая место для операционных залов и вестибюлей (аэропорты Рига, Баку - первая очередь расширения);

- залы вылета, прилета, освобождая место для вестибюлей и помещений дополнительного обслуживания (аэропорты Ростов-на-Дону, Киев-Жуляны, Свердловск и Днепропетровск - первые очереди расширения, Внуково - вторая очередь расширения, Ереван-Звартноц - аэровокзал международных линий, Кишинев);

- залы вылета, прилета и дополнительного обслуживания с пищеблоком-рестораном, освобождая место для вестибюлей, залов определенного направления полета, залов ожидания посадки (аэропорты Петропавловск~Камчатский, Сургут, Житомир, Внуково - третья очередь расширения);

-залы вылета и дополнительного обслуживания, освобождая место для залов прилета (аэропорты Ивано-Франковск, Вильнюс);

- залы прилета и вестибюли, освобождая место для залов вылета и дополнительного обслуживания (аэропорт Архангельск);

- залы вылета, и вестибюли (аэропорты Куйбышев, Домодедово).

Новые объемы пристраиваются или планируется пристроить в сторону одного из торцов аэровокзалов - в аэропортах Днепропетровск, Магадан, Улан-Удэ, Минеральные Воды, Баку, Сургут; в сторону обоих торцов здания - в аэропортах Свердловск, Ростов-на-Дону, Петропавловск-Камчатский; в сторону перрона - в аэропортах Одесса, Внуково, Рига, Кишинев, Вильнюс; в сторону привокзальной площади - в аэропорту Житомир; в сторону перрона и привокзальной площади - в аэропортах Куйбышев, Домодедово; между двумя ранее построенными зданиями в аэропорту Архангельск; со всех сторон первоначального аэровокзала - в аэропортах Киев-Жуляны, Ивано-Франковск, Ереван-Звартноц.

В рассматриваемых проектах и постройках большое внимание уделено объединению ранее построенных зданий и новых объемов в единый комплекс. Достигается это различными средствами.

В одних случаях первоначальное небольшое здание фланируется новыми более выразительными объемами, образуя своеобразную центрально соединительную часть общего комплекса (аэропорты Свердловск-Кольцово, Ростов-на-Дону, Петропавловск-Камчатский, рис.1, А, Б) х). При этом здание центрической композиции умело вписывается в современный ансамбль.

х) На рис.1-5 здания первой очереди строительства штриховкой.

В других случаях новый соединительный объем трактуется как главный композиционный элемент общего комплекса, более высокий и выразительный по форме по сравнению с фланирующими ранее построенными зданиями (аэропорт Архангельск, рис.1, В).

Встречаются случая, когда архитектура пристройки повторяет членение и композиционный прием существующего здания (аэропорты Сургут, Магадан, рис.1, Г).

При расширении аэровокзала аэропорта Рига применено сочетание приемов соподчинения одноэтажных пристроек к торцам трехэтажного здания и контраста круглого объема павильона посадки, перекрытого складчатым покрытием, рис.2, А. Возможно, что такой контраст достаточно рискован, окончательно это прояснится после завершения строительства зданий.

Сооружение одноэтажных пристроек в дополнение к зданию значительной высоты существенно не меняет облик последних (аэропорты Одесса, Кишинев, рис.2, Б),

По принципу контраста с типовым зданием в виде своеобразного акцента выполнен небольшой пластичный объем пристройки к аэровокзалу аэропорта Южно-Сахалинск.

Просто и оригинально подчинен новому аэровокзалу объем первоначального здания в аэропорту Житомир, он трактуется как накопитель, соединенный с более крупным зданием переходом, рис.2, Г.

В аэровокзалах, обстроенных частично со стороны перрона и площади, плоскости прежних фасадов удачно включены в новую архитектуру. При этом диалог старых и новых форм организован на основе развития осевой композиции первоначальных аэровокзалов (аэропорты Куйбышев-Курумоч, Домодедово, Вильнюс, рис.2, В, Д). Включение старого в новое здесь достигается без скрытия прежней архитектуры под покровом новых конструкций.

Рис.1. Расширение аэровокзалов методом пристройки очередных объемов

Рис.2. Расширение аэровокзалов методом пристройки очередных объемов

Полная или частичная обстройка аэровокзалов наиболее значительно преображает облик первоначальных аэровокзалов (аэропорты Внуково, Ивано-Франковск, Днепропетровск, Лондон-Гатвик, Ереван-Звартноц - первоначальный аэровокзал с КДП, рис.3, А, Б, В, Г, Д).

Своеобразие этих решений состоит в том, что прежние фасады частично становятся элементами новых интерьеров, частично декорируются новыми формами или целиком перекрываются большепролетными конструкциями. Такие наиболее кардинальные приемы поглощения новой оболочкой прежнего здания требуют большой культуры строительства и достаточно трудоемки.

За разнообразием приёмов планировки и архитектуры расширяемых аэровокзалов прослеживается довольно четкая закономерность:

- в тех случаях, когда первоначальное здание морально устарело или составляет малую часть от общего комплекса, как правило, применяются приемы частичного или полного поглощения старого здания новым (аэропорты Ростов-на-Дону, Петропавловск-Камчатский, Киев-Жуляны, Ивано-Франковск, Ереван-Звартноц, Куйбышев-Курумоч, Вильнюс);

- в тех случаях, когда расширяется здание, построенное недавно, и объем пристройки сопоставим с объемом первоначального аэровокзала в архитектуре нового повторяются его членения и формы (аэропорты Магадан, Сургут);

- в тех случаях, когда к современным аэровокзалам пристраиваются небольшие одноэтажные здания, архитектура существующего здания преобладает в облике нового комплекса (аэропорт Кишинев).

Все чаще начинают применяться или планируются приемы использования внутренних резервов планировки, состоящие в застройке навесов, галерей, внутренних дворов аэровокзалов (аэропорты Домодедово, Кишинев, Краснодар). Эти приемы позволяют быстро без трудоемкого капитального строительства увеличивать до 10 - 30 % площади помещений, не меняя существенно архитектуру зданий.

Рис.3. Расширение аэровокзалов методом пристройки и надстройки очередных объемов

При высоких темпах роста комплекса расширение эффективно тогда, когда пристройка осуществляется достаточно часто и сравнительно быстро, чтобы свести к минимуму первоначальные недогрузки и последующие перегрузки помещений. Ранее отмечалось, что в настоящее время серьезно отстает строительное обеспечение поэтапно возводимых зданий, которое станет реальностью, когда мы научимся пристраивать быстро, не нарушая устойчивости и не мешая эксплуатации существующих аэровокзалов [1]. Поэтому поиски оптимальных решений современных аэровокзалов направлены, в частности, на ликвидацию осложнений, связанных о пристройкой очередных объемов. Основу новых проектов и построек составляет метод формирования первоначального здания из ряда повторяемых объемов, добавлением которых предусмотрено расширять аэровокзал. Применяются повторяемые объемы двух типов:

- крупные, функционально зависимые объемы, в которых обслуживаются пассажиры определенного направления (аэропорты Грозный, Ленинакан, Ганновер, Сан-Луис, Хабаровск, Тулуза, рис.4, А, Б);

- мелкие, независимые от функции объемно-конструктивные элементы (аэропорты Даллас-Форт-Уорт, Лион-Саталос, Дюбаи, Нкамба, Джерба, Абиджан, рис.4, В, Г, Д).

Крупные единицы "роста" здания имеют автономную планировку, компонуются так, чтобы строительство очередной не мешало эксплуатации предыдущей. Однако их применение не позволяет обеспечить требуемого преобразования планировки по мере изменения техники и технологии. Чередование крупных объемов со специальными вставками, где предусмотрены вестибюли, технические и другие помещения общего пользования, позволяет членить разрастающийся по длине фасад и интерьер на оптимальные по пропорциям элементы и пространства. Так решены аэровокзалы в аэропортах Грозный, Хабаровск, Ганновер. Иначе решен ритм членения объемов в аэровокзалах аэропортов Ленинакан, Сан-Луис, Тулуза. Большепролетные своеобразной конфигурации покрытия отдельных залов примыкают друг к другу непосредственно или зеркально.

Мелкие единицы "роста" комбинируются по разному, в зависимости от потребностей расширения; большими, мелкими партиями, в длину, глубину здания, на основе симметрии или асимметрии плана.

Рис.4. Расширение аэровокзалов методом пристройки однотипных крупных объемов и мелких объемно-конструктивных единиц "роста"

Возведение мелких стандартных объемно-конструктивных элементов, имеющих продуманную систему стыковки, менее трудоемко, что создает предпосылки к ускорению расширения здания. Однако их применение требует создания новых легких конструктивных систем, высокой сборности и заводской готовности.

Добавление крупных и мелких единиц "роста" обеспечивает композиционное единство поэтапно возводимого аэровокзала.

Параллельно с разработкой и экспериментальной апробацией новых, быстро возводимых конструкций следует искать более простые приемы расширения зданий на основе применения традиционных конструкций. Одно из возможных направлений - использование приемов застройки полузамкнутых или замкнутых пространств первоначального аэровокзала, а также навесов по его периметру, что заметно сокращает объем строительных работ, позволяет выполнять их в специально отгороженных самой планировкой зонах с применением автомобильных подъемных механизмов. Застройка таких локальных пространств позволяет постепенно переходить от неполной к полной форме плана, существенно не меняя облик здания (проект Украэропроекта для нового аэровокзала аэропорта Краснодар, конкурсный проект Ленгорпроекта для аэропорта Домодедово, конкурсный проект автора для аэровокзала аэропорта Баку-Бина, рис.5, А).

В новых проектах аэровокзалов следует предусматривать также возможность увеличения площади трудно расширяемых помещений за счет вытеснения помещений аналогичной технологии и планировки блокируемых аэровокзалов. Такой прием заложен в блокированном аэровокзале аэропорта Грозный; при переносе в другие здания рабочей столовой, гостиницы, профилактория будут увеличены площади кафе для пассажиров, администрации аэровокзала и КДП путем минимальной перепланировки помещений. В аэровокзале аэропорта Пулково планируется расширить помещение внутрисоюзного сектора за счет помещений международного сектора, переносимого в другое здание.

Рис.5. Расширение аэровокзалов методом использования резервов планировки (застройки внутренних пространств), применение линейно-синусоидалъной формы плана

Большое значение для целостности и экономичности поэтапно возводимого аэровокзала имеет геометрия плана и принцип его развития. Наиболее экономичны концентрические формы, расширение которых предусмотрено по принципу "подобия формы" от центра к периферии; когда новые добавления увеличивают площадь, но не меняют формы плана (вариант конкурсного проекта автора для аэропорта Таллин [1]. При таком методе "роста" минимально увеличиваются пути, проложенные по радиусам, и площадь застройки, однако расширение ограничено тем резервом территории, который заложен между зданием и стоянками самолетов.

Большие возможности для развития аэровокзалов на свободных территориях застройки представляют здания линейно-синусоидальной формы плана [2]. Они лишены монотонности линейных форм. Осваивают глубину застройки, не нарушая естественной освещенности помещений. Вариации шага и амплитуда синусоиды позволяют вносить необходимое разнообразие в решение комплекса, не нарушая целостности общего решения (проектное предложение автора для аэровокзала аэропорта Сочи, конкурсный проект блокированного здания для аэропорта Тобольск, рис.5, Б, В).

Рассмотренный материал показывает, что каждая схема здания классической или современной архитектуры имеет свои, присущие ей возможности к развитию плана и объема, которые могут быть успешно осуществлены при творческом отношении к решаемой проблеме.

При увеличении пропускной способности аэровокзалов, расширение которых не предусматривалось, применимы метода пристройки, вытеснения труднорасширяемых помещений, застройки навесов, галерей. Для обеспечения композиционного единства поэтапно возводимого здания применима широкая палитра средств: повторение архитектурной тем, соподчинение, контраст или поглощение новым объемом первоначального.

Для проектов, в которых предусматривается расширение аэровокзалов, следует планировать застройку полузамкнутых и замкнутых пространств, компоновку первоначального здания из крупных и мелких повторяемых объемов, применять компактные формы планов, развиваемых по методу "подобия форм", а также широко использовать диагональные и линейно-синусоидальные формы плана, обеспечивающие при значительном расширения аэровокзалов оптимальную компактность застройка, естественное освещение помещений и необходимое разнообразие архитектурно-планировочного решения, обусловленного изменением техники и технологии.

Литература

1. Комский М.В. Блокирование зданий аэропортов нарастающей мощности. Труды ГосНИИ, 1981, вып. 210.

2. Гайдученя А.А. Динамическая архитектура (основные направления развития, принципы, методы). Киев, Будiвельник, 1983.

Канд. техн. наук И.И. Вайсглуз, инж. В.М. Захаров

12. ПРОГНОЗИРОВАНИЕ ОБЪЕМОВ РАБОТ АВИАРЕМОНТНЫХ ЗАВОДОВ

На авиаремонтных заводах (АРЗ) производится ремонт самолетов, вертолетов и их двигателей, эксплуатирующихся в гражданской авиации. В связи с этим на АРЗ сосредоточивается большое количество существенно отличных друг от друга агрегатов, узлов и деталей, требующих для ремонта специфичных, разнообразных технологических процессов.

Для повышения качества проектирования новых и реконструкции действующих АРЗ возникает необходимость в их классификации. Классификация устанавливается в зависимости от типов ремонтируемой авиатехники и годового объема работ и определяет в пределах каждого класса одинаковую организационно-производственную структуру, состав зданий и сооружений, численность персонала, процентное соотношение оборудования и площадей и некоторые другие показатели.

В нормах технологического проектирования авиаремонтных предприятий (НТП 12-75), изданных в 1975 г. годовой объем работы в приведенных единицах (привед.ед.), характеризующий мощность завода, был установлен в следующих пределах: для АРЗ I класса - 150 тыс. привед.ед. и выше; для АРЗ II класса - от 60 до 150 тыс.привед.ед. и для АРЗ III класса - от 30 до 60 тыс.привед.ед. Однако за последнее время произошли существенные изменения в типах ремонтируемой авиатехники, трудоемкости ее ремонта и соответственно в объемах производства.

Возникла необходимость уточнить классификацию АРЗ по годовому объему работ в связи с внедрением новых технологических процессов, ростом производительности труда, повышением уровня автоматизации и механизации производственных процессов.

Для примера рассмотрим фактические данные объемов производства (табл. 1) АРЗ I класса за 11 лет и определим их изменение на перспективу, используя статистические данные и их обработку методом математической корреляции.

Таблица 1

Год выполнения работ

Объем выпускаемой продукции в тыс. привед.ед.

Завод № 1

Завод № 2

Завод № 3

Завод № 4

1971

123,0

124,0

231,0

235,0

1972

150,0

133,0

212,0

258,0

1973

142,0

120,0

231,0

277,0

1974

105,0

135,0

240,0

298,0

1975

101,0

153,0

250,0

300,0

1976

100,0

170,0

254,0

301,0

1977

124,0

178,0

258,0

305,0

1978

142,0

180,0

260,0

310,0

1979

138,0

192,0

266,0

320,0

1980

151,0

210,0

272,0

288,0

1981

154,0

212,0

280,0

290,0

Из табл.1 видно, что сумма объемов производства АРЗ изменяется во времени по закону, близкому к линейному, причем характер изменения примерно одинаковый.

Таким образом, можно принять, что закон изменения объема производства по годам будет выражен линейной зависимостью следующего вида:

У = А + В.х,                                                                                    (1)

Параметры уравнения регрессии А и В определяются по формулам [1]:

,                         (2)

,                                                                   (3)

где ni - количество наблюдений по каждому АРЗ по годам;

xi - порядковый номер i -го года;

 - объем производства АРЗ по годам, тыс. привед.ед.

k - наблюдаемое число лет.

Расчет числовых значений параметров А и В для АРЗ I класса сведен в табл.2. В результате проведенных расчетов увеличение объема производства по годам для АРЗ I класса подтвердилось и имеет линейную зависимость вида;

У = 174,18 + 5,70.х

Аналогично были проведены исследования и расчеты по двум другим классам авиаремонтных заводов, в результате чего были получены уравнения регрессии изменения объемов производства:

а) для II класса:

У = 30,93 + 6,90.х;

б) для III класса:

У = 28,65 + 1,85.х.

На основе проведенных расчетов, по всем трем классам АРЗ оптимальные значения объемов производства на 1978 г, составили [2] для I класса - 219,78 тыс. привед.ед.; для II класса - 86,13 тыс. привед. ед.; для III класса - 43,45 тыс. привед. ед.

Дополнительные исследования и анализ полученных оптимальных данных значений, равных 1,25 нижнего значения; объемов производства для различных классов АРЗ позволили установить следующую классификацию [2]; для I класса - 175,0 тыс. привед.ед.; для II класса - от 70 до 175 тыс. привед.ед.; для III класса - от 35 до 70 тыс. привед.ед.

Необходимо отметить, что оптимальное значение объема производства АРЗ I класса равно 220 тыс. привед.ед.

Таблица 2

x

n

Наблюдаемые значения y

Сумма по строкам

Взвешенная сумма

1

4

231,0

124,0

235,0

123,0

713,0

713,0

2

4

212,0

133,0

258,0

150,0

753,0

1506,0

3

4

231,0

120,0

277,0

142,0

770,0

2310,0

4

4

240,0

135,0

298,0

105,0

778,0

3112,0

5

4

250,0

153,0

300,0

101,0

804,0

4020,0

6

4

254,0

170,0

301,0

100,0

825,0

4950,0

7

4

253,0

178,0

305,0

124,0

865,0

6055,0

8

4

260,0

180,0

310,0

142,0

832,0

7136,0

9

4

266,0

192,0

320,0

138,0

916,0

8244,0

10

4

272,0

210,0

288,0

151,0

921,0

9210,0

11

4

280,0

212,0

290,0

154,0

936,0

10296,0

Литература

1. Г. Корн, Т. Корн. Справочник по математике для научных работников и инженеров, М., "Наука", 1977.

2. Вайсглуз И.И., Наумов Ю.Ф., Захаров В.М. Руководство по проектированию авиаремонтных заводов гражданской авиации, М., ГПИ и НИИ ГА Аэропроект, 1981.

3. Вайсглуз И.И., Захаров В.М. Ведомственные нормы технологического проектирования авиаремонтных заводов гражданской авиации ВНТП 12-81, ГПИ и НИИ ГА Аэропроект, 1981.

Канд. техн. наук А.Н. Степанов,

инженеры Г.Н. Елистратова,

Л.П. Лазарева, Р.В. Локшина

13. СОВЕРШЕНСТВОВАНИЕ СКЛАДСКОГО ХОЗЯЙСТВА МАТЕРИАЛЬНО-ТЕХНИЧЕСКОГО СНАБЖЕНИЯ ГРАЖДАНСКОЙ АВИАЦИИ

Анализ состояния складского хозяйства материально-технического снабжения предприятий, гражданской авиации указывает на ряд недостатков, среди которых следует выделить два наиболее существенных: наличие большого количества мелких хранилищ (отдельных зданий, помещений) в пределах складского объекта и низкая оснащенность складов табельными средствами механизации погрузочно-разгрузочных и транспортно-складских работ, Устранение этих двух основных недостатков позволит повысить эффективность работы складов материально-технического снабжения предприятий гражданской авиации.

Раздробленность складских объектов на большое количество мелких окладов является характерной особенностью для большинства складов материально-технического снабжения предприятий гражданской авиации. Такое положение сложилась главным образом из-за отсутствия единой линии в оснащении складов материально-технического снабжения зданиями, сооружениями и средствами механизации погрузочно-разгрузочных, транспортных и складских работ, а также вследствие недостаточности капитальных вложений в целом по отрасли на строительство складских зданий и сооружений.

Существующая необходимость сохранности материально-технического имущества заставляла выделять под склады различные здания и помещения, мало приспособленные для хранения имущества с соблюдением современной технологии. Технология переработки имущества на складах в таких условиях не соответствует современным требованиям, особенно в отношении уровня механизации складских операций, что снижает показатели эффективности складского хозяйства, так как большой объем работ осуществляется вручную, Условия обеспечения надежной сохранности имущества также снижаются при наличии большого количества мелких складов, При этом увеличивается время на переработку грузов, возникает потребность в наличии большого количества транспортных единиц, ухудшаются эксплуатационные показатели средств механизации погрузочно-разгрузочных, транспортных и складских работ. Перечисленные недостатки не исчерпывают всех отрицательных сторон раздробленности складского объекта на большое количество мелких складов.

Сокращение количества складов материально-технического снабжения на предприятиях гражданской авиации связано со значительными капитальными затратами, рассчитывать на получение которых в настоящее время не представляется возможным. Поэтому выделяемые на эти нужды средства должны расходоваться на основе всестороннего и тщательного рассмотрения целесообразности принятого решения, имея в виду общую тенденцию на сокращение количества мелких складов в пределах каждого складского объекта. Принятое решение должно учитывать возможность использования табельных средств механизации погрузочно-разгрузочных, транспортных и складских работ в качестве основных средств для максимально возможного повышения уровня механизации складских операций.

Учитывая значительное многообразие различных складских зданий и сооружений на отдельных складах материально-технического снабжения предприятий гражданской авиации, необходимо разработку решений по сокращению общего количества складов осуществлять индивидуально, применительно к каждому складскому объекту. В реальных условиях количественное сокращение численности складов имеет свои разумные границы, поэтому фактическое наличие складских зданий и сооружений останется на неопределенное время несколько большим, чем диктуется требованиями соблюдения современной технологии переработки материально-технического имущества. Минимально возможное количество складских зданий и сооружений может быть достигнуто при условии полного обеспечения потребности в средствах на капитальные вложения по развитию и совершенствованию складских зданий складов материально-технического снабжения предприятий гражданской авиации.

Проведенный анализ оснащенности складов материально-технического снабжения предприятий гражданской авиации табельными средствами средствами механизации погрузочно-разгрузочных, транспортных и складских работ указывает на низкий уровень оснащенности, что также является одним из существенных недостатков складского хозяйства отрасли, отрицательно влияющим на производительность труда. Устранение этого недостатка связано с повышением оснащенности складов табельными средствами механизации погрузочно-разгрузочных, транспортных и складских работ, а также внедрением комплексной механизации. На складах материально-технического снабжения предприятий гражданской авиации комплексная механизация складских операций станет возможной при решении ряда взаимосвязанных проблем, среди которых необходимо выделить следующие:

- увеличение удельного веса поставок грузов пакетно-контейнерным методом не менее, чем до 80 % от общего грузооборота;

- обеспечение складов материально-технического снабжения табельными средствами механизации погрузочно-разгрузочных, транспортных и складских работ, а также необходимым складским оборудованием;

- строительство новых и реконструкция существующих складских зданий и сооружений с целью реализации в них современной технологии хранения и переработки материально-технического имущества.

Таким образом, совершенствование складского хозяйства отрасли тесно связано с дальнейшим развитием и совершенствованием складских зданий, сооружений и средств механизации складских операций. Среди первоочередных задач совершенствования складского хозяйства материально-технического снабжения предприятий гражданской авиации должны быть мероприятия по резкому сокращению общей численности отдельных хранилищ на складских объектах, а также повышению оснащенности складов табельными средствами механизации погрузочно-разгрузочных, транспортных и складских работ.

Канд. хим. наук С.П. Вехов

14. ЗАГРЯЗНЕНИЕ СТОЧНЫХ ВОД АЭРОПОРТОВ ПРИ ПРОТИВООБЛЕДЕНИТЕЛЬНОЙ ОБРАБОТКЕ И МОЙКЕ САМОЛЕТОВ

Производственная деятельность предприятий гражданской авиации связана с разнообразным воздействием на окружающую среду. Одним из неблагоприятных факторов такого воздействия является загрязнение почвы и водоемов сточными водами. Наибольшее количество загрязненных сточных вод образуется в аэропортах, на долю которых приходится более 90 % потребления вода, топлива, спецжидкостей и соответственно наибольшее количество отходов.

За рубежом проблеме загрязнения и очистки сточных вод аэропортов в последние годы уделяется большое внимание. Так, в аэропортах Канады в связи с запрещением сброса в водоемы неочищенных ливневых вод начаты исследования их состава и методов обезвреживания [1]. В некоторых зарубежных аэропортах имеются специальные площадки, оборудованные устройствами для сбора и регенерации противообледенительных растворов [2].

В Советском Союзе детальные исследования сточных вод, образующихся при противообледенительной обработке и мойке самолетов, не проводились. Специальное площадки для противообледенительной обработки и мойки самолетов в аэропортах отсутствуют, а мойка и обработка самолетов в них, как правило, производится на местах стоянок, не имеющих устройств для сбора и очистки сточных вод.

Следует отметить, что в отечественных и зарубежных работах загрязнение сточных вод аэропортов обычно характеризуется по общесанитарным показателям.

В табл.1. приведены данные по составу поверхиостного стока аэропорта Внуково [3].

Таблица 1

Характеристика сточных вод

Талые воды

Дождевые воды

Взвешенные вещества, мг/л

30 - 160

50 - 400

Азот общий, мг/л;

100 - 550

6 - 50

Синтетические поверхностно-активные вещества (СПАВ) мг/л

-

0,5 - 2,0

Нефтепродукты, мг/л

2 - 10

5 - 10

Этиленгликоль, мг/л

20 - 100

0,5 - 2,0

Химическое потребление кислорода (ХПК) мгО2

50 - 100

100 - 600

Биологическое потребление кислорода (БПК) мг О2

10 - 20

10 - 80

Однако для оценки токсичности и выбора метода очистки сточных вод, кроме общих показателей, необходимо иметь данные об исходных концентрациях токсичных компонентов, их предельно допустимых концентрациях, физико-химических и биохимических свойств.

В настоящее время для борьбы с наземным обледенением в гражданской авиации применяются жидкости Арктика-200 (ТУ-6-02-956-74) и ранее разработанная менее эффективная Арктика (ТУ-6-02-955-74).

Основным дeйствующим началом обеих жидкостей является двухатомный спирт - этиленгликоль, представляющий собой жидкость е температурой замерзания -13,2°С, температурой кипения 195°С и удельным весом 1,12 г/см.

Применение этиленгликоля основано на его способности понижать температуру замерзания водных растворов, в связи с чем он входит в cocтав автомобильных антифризов, а также некоторых зарубежных противообледенительных жидкостей.

Данные о температурах замерзания водных растворов этиленгликоля в зависимости от концентрации приведены в табл.2.

Таблица 2

Концентрация, %

0

12,5

25,0

44,0

52,5

67,0

80,0

100,0

Температура замерзания, оС

0

-3,9

-12,2

-28,9

-40,4

-70

-56

-13,2,

Из табл.2 следует, что этиленгликоль и вода образуют эвтектический раствор с минимальной температурой кристаллизации -70°С.

При концентрациях этиленгликоля, принятых в Арктике-200 (80 %) и Арктике (52 %) температуры их замерзания составляют -56 и -37°С.

Этиленгляколь является токсичным веществом, действующим на сердечно-сосудистую и нервную системы; содержание его в воде водоемов нормировано, [4].

Из остальных компонентов противообледенительных жидкостей наиболее важными с точки зрения охраны окружающей среды являются синтетические поверхностно-активные вещества (СПАВ), содержание которых составляет 0,2 - 0,4 %. Эти вещества понижают поверхностное натяжение противообледенительных растворов, что обеспечивает получение сплошного покрытия поверхности самолетов, в том числе загрязненных участков. Синтетические поверхностно-активные вещества обладают собственной токсичностью и, кроме того, способностью усиливать токсичность других веществ, в связи с чем их содержание в воде водоемов нормировано [5]. Они снижают эффективность работы очистных сооружений, ухудшают санитарное состояние водоемов, относятся к классу жестких трудно окисляемых СПАВ и их поступление со сточными водами на сооружения биологической очистки лимитируется [6 - 8]. Остальные компоненты, входящие в состав Арктика (противокоррозионная присадка, загуститель), по современным представлениям считаются безвредными.

В соответствии с инструкциями по применению жидкости типа Арктика используются в двух случаях: для предупреждения обледенения и удаления с поверхности самолетов льда и снега.

Согласно данным проведенного в 1983 г. Аэропроектом опроса в большинстве аэропортов (~80 %) жидкости типа Арктика используются для удаления обледенения. Этот вид обработки применяется во всех климатических зонах, в том числе в южных районах (аэропорты Ашхабад, Ташкент и др.).

При использовании для удаления продуктов обледенения противообледенительные жидкости подогреваются до 80 - 95°С. В целях экономии Арктика-200 может разбавляться водой в соотношении 100:70 или 100:30 (в зависимости от температуры воздуха). Ввиду более низкого содержания этиленгликоля жидкость Арктика применяется только в концентрированном виде.

Как отмечалось, вопрос о составе и объемах сточных вод, образующихся при противообледенительной обработке самолетов, практически не разработан. Стекающий с самолета отработанный раствор частично впитывается в покрытие площадки, а частично разбавляется льдом и снегом, охлаждается и замерзает. Образовавшиеся твердые продукты в дальнейшем удаляются при уборке за пределы площадки, а в период весеннего снеготаяния уносятся с талыми водами.

Можно предположить, что при удалении продуктов обледенения имеют место следующие процессы. Попадая на обшивку самолета, противообледенительные жидкости, обладающие сильным гигроскопическим свойством и повышенным теплосодержанием (за счет подогрева), взаимодействуют с продуктами обледенения, в результате чего снижается концентрация этиленгликоля. Часть нанесенного раствора (~35 %) покрывает тонкой планкой (~0,1 мм) поверхность самолета, остальная более разбавленная и, следовательно, менее вязкая часть стекает на площадку. Стекший раствор частично впитывается в покрытие площадки, а частично вновь разбавляется льдом и снегом, охлаждается до температуры наружного воздуха и в зависимости от ее значения и новой концентрации этиленгликоля либо замерзает, либо остается в жидкой фазе.

Для расчета вероятных концентраций загрязнения сточных вод были приняты следующие исходные данные, взятые для случая максимального расхода противообледенителъных жидкостей и ее компонентов:

- применяемая жидкость - Арктика-200;

- вид обработки - удаление обледенения;

- тип самолета - ИП-62; норма расхода жидкости на одну обработку - 210 кг;

- толщина слоя льда на обшивке самолета - 1 мм;

- толщина слоя Арктики-200, остающийся на обшивке - 0,1 мм.

Расчеты показали, что со сточными водами, стекающими на площадку при обработке самолета ИЛ-62, поступают ~35% от общего количества Арктики-200, а остальное количество остается на обшивке самолета.

Рассчитанный объем стоков, образующихся при обработке одного самолета Ил-62, составил 1320 л. Естественно, что при многократной обработке самолетов на одной площадке, объем стоков будет соответственно больше.

В проведенных расчетах дополнительное разбавление Арктики-200 за счет разбавления льдом и снегом на площадке, а также поступление в сточные воды загрязнений, смываемых с обшивки самолета, не рассматривалось (для этого необходимо проведение экспериментальных исследований).

Концентрации токсичных компонентов Арктики-200, рассчитанные исходя из степени ее разбавления продуктами обледенения, а также данные о степени превышения ими предельно допустимых концентраций (ПДК), установленных для водоемов и сточных вод, поступающих на биологическую очистку, приведены в табл.3.

Таблица 3

Компонент

Концентрация, мг/л

ПДК в водоемах, мг/л

ПДК. для сточных, вод, мг/л

Превышение ПДК

в воде водоемов

в сточных водах

Этиленгликолъ

4,2.104

1,0

1·103

4,2.104

42

СПАВ

210

0,1

40; 10

2,1.103

5; 21

Приведенные в табл.3 данные показывают, что при обработке самолетов жидкостями типа Арктика на площадку могут стекать растворы, содержащие весьма высокие концентрации токсичных веществ. При рассчитанной концентрации этиленгликоля в сточных водах (4,2 %) следует ожидать, что сточные воды на площадке будут замерзать уже при температуре несколько градусов ниже нуля.

В настоящее время в гражданской авиации для наружной мойки самолетов применяются водные растворы следующих моющих средств: Аврал (ТУ 38.10758-75), Полинка (ТУ-38-10951-59) и эмульсия 20К-М, химический состав которых приведен в табл.4.

Таблица 4

Моющее средство

Компоненты

Содержание, %

Аэрол

Синтетическое поверхностно-активное вещество ДНС

25 - 30

Синтетические жирные кислоты (СЖК), фракция С7 – С9

18 - 20

Сода кальцинированная

12 - 13

Полинка

Натриевые соли СЖК, фракция СI0 – С16

8

Эстафат 383

6

Моноэтаноламиды СЖК

10

Триэтаноламин

8

Олеиновая кислота

3,7 - 3,8

Эмульсия
2ОК-М

Олеиновая кислота

2

Моноэтаноламин технический

1

Большинство компонентов моющих средств представляет собой поверхностно-активные вещества, обладающие моющим действием, а некоторые на них (моноэтаноламин) являются ингибиторами коррозии.

Эти вещества (кроме олеиновой кислоты) хорошо растворимы в воде; многие из них токсичны или затрудняют протекание окислительных процессов на сооружениях биологической очистки.

Рабочие растворы Аэрол и Полинка готовят путем растворения в 1 л воды 20 и 70 г соответствующего концентрата. Для приготовления эмульсии 2ОК-М в 1 л воды растворяют 10 г моноэтаноламина и 20 г олеиновой кислоты.

Наружная мойка самолетов в аэропортах ГА производятся в следующем порядке. На поверхность планера машиной MHO-2 (или вручную - щетками) наносится моющий раствор. Затем поверхность протирается щетками и после 10-15 мин. выдержки самолет обливается водой из шлангов до полного удаления мощного раствора.

Произведем расчет концентраций компонентов моющих средств в сточных водах, образующихся при мойке самолета ИЛ-86. Норма расхода моющих средств на мойку самолета Ил-86 приведет в табл.5.

Таблица 5

Моющее средство

Нормы расхода, кг

на 100 ч налета

на полную мойку

Аэрол

8

20

Полинка

8

20

Эмульсия 20K-M

12

30

Расход воды W на обмывку одного самолета Ил-86 примем равным 5 м3 [9].

Концентрацию компонентов моющих средств Ci в сточных водах определяем по формуле

, мг/л

где Кi - доля i-ro компонента в моющем средстве;

q - расход моющего средства на полную мойку самолета, кг.

Результаты расчетов приведены в табл.6.

Таблица 6

Моющее средство

Компоненты

Концентрация, мг/л

Аврол

Синтетическое поверхностно-активное вещество ДНС СЖК, фракция С7 - С9

800 - 1200

700 - 800

Полинка

Натриевые соли СЖК, фракция С10 - С16

320

Эстафат 383

240

Моноэтиноламиды СЖК

400

Триэтаноламин

320

Олеиновая кислота

150

Эмульсия ОК-И

Олеиновая кислота

4000

Моноэтаноламин

2000

Сравним данные табл.6 с ПДК вредных веществ в воде водоемов [4, 5, 8, 7], а также с нормами допустимого содержания CIIAB в сточных водах [6 - 8], поступающих на биологическую очистку (табл.7). Примем, что СПАВ, содержащиеся в моющих веществах, относятся к промежуточному классу жесткости.

Таблица 7

Компонент

ПДК в водоемах, мг/л

Степень превышения ПДК

Допустимые нормы в сточных водах, мг/л

Степень превышения норм

1

2

3

4

5

Синтетическое поверхностно-активное вещество ДНС

0,5

1,6 - 2,4.103

20

40 - 60

СЖК, фракция С7 - С9

0,02

3,5 - 4,0.104

20

35 - 40

Полинка

 

 

 

 

Натриевые соли СЖК, фракция С10 - С16

Отсутствует

-

20

16

Эстафат 383

-"-

-

20

12

Моноэтаноламиды СЖК

-"-

-

20

20

Триэтаноламин

1,4

230

5

64

Олеиновая кислота

Отсутствует

-

20

7,5

Эмульсия 2ОК-М

 

 

 

 

Олеиновая кислота

-"-

-

20

200

Моноэтаноламин

0,5

4

5

400

Анализ приведенных данных (см. табл.7). показывает, что концентрации компонентов моющих cpeдств в сточных водах, образующихся при мойке самолетов, во много превышают не только ПДК в воде водоемов, но и нормативы СНиП II-72-74 для сточных вод.

Результаты проведенных исследований указывают на необходимость иметь в аэропортах специальные площадки для противообледенительной обработки и мойки самолетов, оборудованные локальными сооружениями для очистки (регенерации) образующихся сточных вод. С этой целью необходимо провести экспериментальные исследования по уточнению полученных расчетных данных по объемам и химическому составу сточных вод. Одновременно следует изучить опыт по методам очистки (регенерации) аналогичных сточных вод, имеющийся в других ведомствах и за рубежом с целью использования его в гражданской авиации.

Литература

1. Schulz M., Commerton L."Jorn. Water Pollution Control Federation", 1974, vol. 46, № 1.

2. Brune D., Gook J,"Jorn.Water Works Eng.", 1974, vol. 11, № 3.

3. Временные рекомендации по обезвреживанию поверхностного стока с территории аэропортов. М., ГПИ и НИИ Аэропроект, 1978.

4. Правила охраны поверхностных вод от загрязнения сточными водами. М., 1978 (Министерство здравоохранения СССР).

5. Дополнительный Перечень ПДК в водоемах санитарно-бытового пользования. М., 1981 (Министерство здравоохранения СССР).

6. СНиП II-32-74. "Канализация. Наружные сети и сооружения". M., Стройиздат, 1975.

7. Лихачев Н.И. и др. Канализация населенных мест и промышленных предприятий. М., Стройиздат, 1981.

8. Беспамятков Г.П. и др. ПДК вредных веществ в воздухе и воде. Л., Химия, 1975.

9. Нормы технологического проектирования АТБ в аэропортах ВНТП II-80. М., ТПИ и НИИ Аэропроект, 1980.

Инж. А.И. Измайлов,

канд. техн. наук В.И. Смоляк

15. ИССЛЕДОВАНИЕ ПРОПУСКНОЙ СПОСОБНОСТИ АЭРОПОРТОВ МЕСТНЫХ ВОЗДУШНЫХ ЛИНИЙ

Под пропускной способностью аэропортов понимается их возможность за год выполнить определенный объем пассажирских и почтово-грузовых перевозок. Пропускная способность аэропорта зависит от пропускной способности аэродрома, количества взлетов и посадок в единицу времени, времени работы аэропорта в течение суток, типов эксплуатируемых самолетов и неравномерности их движения.

Основные исходные данные для проектирования аэропортов местных воздушных линий (МВЛ) принимаются с учетом перспективы их развития на 15 - 20 лет. Потребность в зданиях, сооружениях и оборудовании аэропортов определяется в зависимости от категории аэропортов МВЛ. Последняя определяется годовым объемом пассажирских перевозок (пассажирообменом), т.е. суммарным количеством всех прилетающих и вылетающих пассажиров, включая транзитных пассажиров.

При определении категории аэропортов и определения объемов перевозок выдвинуто предположение, что объемы перевозок в аэропортах будут расти за счет увеличения вместимости самолетов (средней вместимости по группам самолетов), в то время как процентное соотношение интенсивности движения самолетов по группам останется неизменным как в базовом 1980 г., т.e. перспективный объем перевозок можно получить исходя из интенсивности движения самолетов. Второй вариант предполагает, что объемы перевозок аэропортов в 2000 г. будут распределяться по группам самолетов также, как в 1980 г., т.е. перспективную интенсивность движения самолетов можно получить исходя из объема перевозок.

Аэропорты МВЛ были разбиты на три группы по объему перевозок 1980 г, В первую группу вошли аэропорты с объемом перевозок от 100 тыс, до 500 тыс. пассажиров в год, во вторую - 25 - 100 тыс. пассажиров в год, и в третью - до 25 тыс. пассажиров в год. Группировка аэропортов принята в зависимости от типов самолетов, эксплуатируемых в этих аэропортах. Так, в аэропортах с объемом перевозок 100 - 500 тыс. человек эксплуатируются самолеты III и IV групп, в аэропортах с объемом перевозок 25 тыс. человек и меньше эксплуатируются самолеты IV группы.

Данные наблюдений годовой интенсивности движения самолетов в аэропортах MBJI на 1980 г. были обработаны методами математической статистики. Для каждого случая вычислены характеристики распределения - среднее значение, среднее квадратическое отклонение, коэффициент вариации. В табл.1 приведены результаты обработки интенсивности движения самолетов в 132 аэропортах МВЛ за 1980 г.

Таблица 1

Годовой объем пассажирских перевозок, тыс.чел.

Количество рассмотренных аэропортов

Среднее значение годовой интенсивности движения самолетов, тыс. вылетов и посадок

Среднее квадратическое отклонение

Коэффициент вариации

100 - 500

43

11,524

6,587

0,57

25 - 100

69

5,202

3,476

0,67

До 25

21

0,934

0,892

0,96

С учетом среднеквадратического отклонения от среднего значения найдены минимальная и максимальная величины годовой интенсивности движения самолетов

,                                                     (1)

где Имин, Имакс - минимальная и максимальная величины годовой интенсивности движения самолетов в аэропорту, тыс. вылетов и посадок;

 - среднее значение (математическое ожидание) годовой интенсивности движения самолетов, тыс. взлетов и посадок;

б - среднее квадратическое отклонение.

Результаты принятых значений годовой интенсивности движения самолетов по группам, рассчитанных по формуле (1), приведены в табл.2.

Таблица 2

Группа самолетов

Годовая интенсивность движения, тыс.вылетов и посадок, в зависимости от годового объема перевозок, тыс.чел.

100 - 500

25 - 100

до 25

III

2,25 - 10,0

0 - 2,25

-

IV

2,75 - 10,0

1,7 - 2,75

0 - 1,75

Всего

5,0 - 20,0

1,75 - 5,0

0 - 1,75

В пределах каждой группы аэропортов определено процентное соотношение групп и типов самолетов в зависимости от интенсивности движения (табл.3).

Годовой объем перевозок аэропорта можно получить по формуле

,                                                                            (2)

где Зi - среднее планируемое количество пассажиров на один самолет i -го типа (принято 80 % от количества кресел в самолете);

Иi - годовая интенсивность движения самолетов I -го типа, тыс. взлетов и посадок.

Результаты расчета годового объема перевозок в зависимости от интенсивности движения самолетов приведены в табл.4.

Таблица 3

Группа самолетов

Тип самолета

Соотношение различных групп и типов самолетов, %, в зависимости от интенсивности движения

Годовая интенсивность движения самолетов, тыс. взлетов и посадок

Годовой объем перевозок, аэропорта, тыс. чел.

500

100

25

500

100

25

по типам

по группам

по типам

по группам

по типам

по группам

по типам

по группам

по типам

по группам

по типам

по группам

III

Ан-24

30

 

10

 

-

 

6,0

 

0,5

 

-

 

 

 

50

 

45

 

-

 

10,0

 

2,25

 

-

Як-40

20

 

35

 

-

 

4,0

 

1,75

 

-

 

IV

Ан-2

-

 

10

 

30

 

-

 

0,5

 

0,525

 

Л-410

30

50

20

55

20

100

6,0

10,0

1,0

2,75

0,35

1,75

Ан-28

20

 

15

 

50

 

4,0

 

1,25

 

0,875

 

Всего

 

100

100

100

100

100

100

20,0

20,0

5,0

5,0

1,75

1,75

Таблица 4

Тип самолета

Годовой объем пассажирских перевозок, тыс. . чел.

Средняя загрузка рейса по типам самолетов, чел.

500

100

25

Годовая интенсивность движения, тыс. взлетов и посадок

Количество перевозимых пассажиров, тыс. чел.

Годовая интенсивность движения, тыс. взлетов и посадок

Количество перевозимых пассажиров, тыс. чел.

Годовая интенсивность движения, тыс. взлетов и посадок

Количество перевозимых пассажиров, тыс. чел.

Ан-24

41,6

6,0

249,6

0,5

20,8

-

-

Як-40

25,6

4,0

102,4

1,35

44,8

-

-

Ан-2

10,6

-

-

0,5

5,3

0,525

5,6

Л-410

13,6

6,0

81,6

1,0

13,6

0,35

4,8

Ан-28

13,6

4,0

54,4

1.0

I7,0

0,875

12,0

Всего

20,0

488,0

5,0

101,5

1,75

22,4

Данные табл.4 совпадают с расчетными результатами по определению годового объема пассажирских перевозок, полученных с использованием средней загрузки одного рейса для аэропортов каждой группы. Например, средняя загрузка одного рейса для аэропортов с объемом перевозок до 500 тыс. чел. получена на основе данных табл. 2-4.

ЗСр = 41,6.0,3 + 25,6.0,2 + 13,6.0,3 + 13,6.0,2 = 24,4 чел.

Принимаем ЗСр = 25 чел. Аналогично для аэропортов с годовым объемом перевозок до 100 тыс. чел. - ЗСр = 20 чел., до 100 тыс. чел. - ЗСр = 14 чел.

При подстановке полученных данных в формулу (2), годовой объем перевозок составит соответственно 500, 100 и 25 тыс. чел.

Исходя из выдвинутого предложения о том, что процентное соотношение интенсивности движения по группам самолетов в дальнейшем останется таким же, как в базовом 1980 г., а загрузка пассажирами по группам самолетов с учетом коэффициента занятости кресел 0,8 будет для III группы - 36 чел., для IV группы - 15 чел., определены объемы пассажирских перевозок (табл.5).

Таблица 5

Группа самолетов

Загрузка одного рейса, чел.

Годовой объем пассажирских перевозок, тыс.чел.

500

100

25

Годовая интенсивность движения, тыс. взлетов и посадок

Количество перевозимых пассажиров, тыс. чел.

Годовая интенсивность движения, тыс. взлетов и посадок

Количество перевозимых пассажиров, тыс. чел.

Годовая интенсивность движения, тыс. взлетов и посадок

Количество перевозимых пассажиров, тыс. чел.

III

36,0

10,0

360,0

2,25

81,0

-

 

IV

15,0

10,0

150,0

2,75

41,25

1,75

26,2

Всего

20,0

510

5,0

122,25

1,75

26,2

Для проверки теоретических результатов по группам аэропортов выполнен анализ распределения пассажирских перевозок в 79 аэропортах по прогнозу на. будущее, имевших в 1980 г. объем перевозок в пределах 100 - 500 тыс. чел., 25 - 100 тыс. чел., и до 25 тыс. чел. Определены средняя величина объема перевозок, среднеквадратическое отклонение и коэффициент вариации (табл.6).

Таблица 6

Годовой объем пассажирских перевозок в 1980 г., тыс. чел.

Количество рассмотренных аэропортов

Среднее значение годового объема перевозок, тыс. чел.

Среднее квадратическое отклонение

Коэффициент вариации

Годовой объем пассажирских перевозок, тыс. чел.

100 - 500

21

316,7

167,1

0,527

149,6 - 483,8

25 - 100

43

90,5

59,1

0,652

31,4 - 149,8

0 - 25

15

15,6

15,6

0,987

31,4

Предполагая, что объемы перевозок аэропортов в дальнейшем будут распределяться по группам самолетов в таком же соотношении, как в 1980 г., определяем долю пассажирских перевозок по группам самолетов и интенсивность движений: самолетов (табл.7).

Из анализа результатов расчетов интенсивности движения и объемов перевозок по группам аэропортов, полученных различными методами (табл. 2 - 7), видно, что интенсивность движения и объемы перевозок по группам аэропортов имеют близкие значения.

Таблица 7

Группа самолетов

1980 г.

Расчетные данные

Группа аэропортов

Группа аэропортов

I

II

III

I

II

III

I

II

III

Объем перевозок, тыс.чел.

Процентное отношение

Объем перевозок, тыс. чел.

Процентное соотношение

Объем перевозок, тыс. чел.

Процентное соотношение

Объем перевозок, тыс. чел.

Интенсивность движения самолетов, тыс. взлетов и посадок

III

352,0

72

65,6

65

-

-

348,3

97,24

-

3,7

2,7

-

IV

136,0

28

35,9

35

22,4

100

135,5

52,36

31,4

9,3

3,5

2,09

Всего

448,0

100

101,5

100

22,4

100

483,8

149,6

31,4

13,0

6,2

2,09

В результате выполненных расчетов принято следующее категорирования аэропортов МВЛ (табл.8).

Таблица 8

Категория аэропорта

Годовой объем пассажирских перевозок, тыс. чел.

Годовая интенсивность движения самолетов, тыс. взлетов и посадок

I

100 - 500

5.0 - 20.0

II

25 - 100

1,76 - 5,0

III

До 25

До 25

На бaзe статистических данных о годовой и суммарной суточной интенсивности движения самолетов, в 160 аэропортах определены коэффициенты часовой КЧ и суточной КС неравномерности перевозок и интенсивности движения самолетов в аэропортах МВЛ. Для установления корреляционной связи между значениями интенсивности движения, объемами пассажирских перевозок и коэффициентами суточной и часовой неравномерности, использован метод чисел Чебышева.

Задача отыскания корреляционной связи сведена к расчету и построению кривой регрессии. На рис.1-4 приведены графики зависимости коэффициента суточной и часовой неравномерности от интенсивности движения самолетов и объема пассажирских перевозок. Для определения ориентировочных значений коэффициентов суточной и часовой неравномерности перевозок и интенсивности движения самолетов, эти значения табулированы по категориям аэропортов и по климатическим зонам (табл.9).

Годовая интенсивность движения самолетов, тыс. выл. и пос.

Рис.1. Зависимость коэффициента суточной неравномерности движения самолетов от годовой интенсивности движения самолетов:

1 - холодная климатическая зона (f2(x)= 0,048x2-0,776x + 5.654);

2 - теплая и умеренная климатические зоны (f2(x)=0,0625x2 - 0,727x + 4,559)

Годовой объем пассажирских перевозок, тыс.чел.

Рис.2. Зависимость коэффициента суточной неравномерности от годового объема пассажирских перевозок:

1 - холодная климатическая зона (f2(х)= 0,106x2 - 1,26x + 6,75)

2 - теплая и умеренная климатические зоны (f2(x)= 0,08х2 - 0,87x + 4,064)

Суточный объем пассажирских перевозок, пасс.

Рис.3. Зависимость коэффициента часовой неравномерности от суточного объема пассажирских перевозок:

1 - холодная климатическая зона (f2(x) = 6,82 - 1,274x + 0,135x2)

2 - теплая и умеренная климатические зоны (f2(x) = 0,025x2 - 0,571x + 5,896)

Суточная интенсивность движения самолетов, выл. и пос.

Рис.4. Зависимость коэффициента часовой неравномерности от суточной интенсивности движения самолетов:

1 - холодная климатическая зона (f2(x) = 0,35x2 - 0,62x + 5,946)

2 - теплая и умеренная климатические зоны (f2(x) = 0,151x2 - 1,286х+ 6,63)

Таблица 9

Категория аэропорта

Зона расположения аэропортов

Холодный климат

Умеренный и теплый климат

КС

КЧ

КС

КЧ

I

3,0 - 4,0

3,2 - 4,0

2,0 - 3,0

3,2 - 4,0

II

4,0 - 5,5

4,0 - 5,5

3,0 - 3,75

4,0 - 5,5

III

5,5

5,5

3,75

5,5

Примечание. Меньшее значение соответствует максимальному объему перевозок, большее - минимальному.

Выводы

1. Произведена количественная оценка параметров, необходимых для расчета пропускной способности аэропортов МВЛ, их отдельных зданий и сооружений (средняя загрузка одного рейса, коэффициенты неравномерности движения и др.).

2. Рост пассажировместимости самолетов и развитие грузовых перевозок обусловливают возможность увеличения пропускной способности аэропортов на перспективу. Учет влияния различных факторов позволил определить пропускную способность аэропортов и дать предложения по их категорированию с учетом развития на будущее.

Инж. А.И. Косов

16. ЭФФЕКТИВНОСТЬ СИСТЕМ ОБСЛУЖИВАНИЯ ПАССАЖИРОВ

Оценка эффективности различных вариантой систем обслуживания пассажиров при выборе оптимального с помощью моделирования, но без учета диапазона выполнения системой задач, может привести к неверному результату. Как показано в [1], использование при оценке эффективности так называемой расчетной задачи х* вместо множества Х задач приводит зачастую к систематической ошибке. Так, проектируемый аэровокзал предназначен для обслуживания различных потоков пассажиров, но сейчас при проектировании это учитывается одним значением расчетной пропускной способности.

Экстремальные значения относительной ошибки эффективности εмакс и εмин при замене множества X осредненной задачей х* согласно [1] определяется как

.                                             (1)

где К - число решаемых задач;

f(x*) - значение эффективности расчетной задачи;

f(x0) - значение эффективности в некоторой точке х0

f(a) = f(x1), f(в) = fк) - показатель эффективности на элементах х1, хк≤х

Система уравнений для определения точки Х, выглядит следующим образом:

, ν=1,….,р,                                                 (2)

где .

Минимальное значение εмин при четном К равно:

                                                                                                                             (3)

при К = 2n + 1 значение εмин определяется как εмин = min(ε1, ε2), причем

                                (4)

Если теперь для исследуемой функции эффективности f (x) окажется, что εмин >1 либо εмакс < 1 это будет свидетельствовать о том, что при любом расположении точек xix, i = 1,…, К осреднение приводит к появлению систематической ошибки; если же εмин < 1 < εмакс , то полученные результаты дадут возможность оценить относительную погрешность при наиболее неблагоприятном расположении точек xi.

Оценим эффективность технологического процесса на примере систем обслуживания вылетающих пассажиров, предположив, что она зависит от необходимого в аэровокзале количества N пунктов регистрации, накопителей багажа и пунктов досмотра, т.е. f(X) = f(N). Как показано в [2], потребное количество пунктов регистрации, накопителей багажа и пунктов досмотра зависит в основном от двух параметров - количества обслуживаемых вылетающих пассажиров ПВ и интенсивности движения вылетающих воздушных судов в час "пик" λВ . В [2] также показано, что эффективность таких систем определяется значением N , т.е. f(X) = f(N)= fВ . λВ), и при этом зависимости имеют достаточно близкий к линейному характер. Следовательно, f(x) = K1 . N = K1 - K2 . ПВ . λВ = ПВ . КВ, где КВ = K1 . K2 . λВ, а К1, К2 - коэффициенты пропорциональности.

Используя теперь соотношения (1) - (4) имеем:

,                   ,

,  ;

,                   .

Поcле соответствующих преобразований получим:

                                                                                                    (5)

Значения εмакс, εмин рассчитываются следующим образом:

                                                                                                   (6)

Из сравнения εмакс и εмин видно, что при К = 2n, осреднение всегда приводит к систематической ошибке, т.е. если εмин < 1, то и εмакс < 1, а при εмакс > 1 следует, что εмин > 1. Рассмотрение случая К = 2n + 1 конкретных данных, хотя если пренебречь составляющими , то легко видеть, что и в этом случае появляется систематическая погрешность.

Таким образом, использование расчетной задачи х* вместо множества X при выборе параметров системы обслуживания вылетающих пассажиров недопустимо, так как это приводит к систематической ошибке в оценке эффективности, т.е, при расчете таких систем необходимо рассматривать диапазон изменения входных параметров. Реализовать это можно следующим образом. Задавая исходные данные (пассажировместимость используемых воздушных судов и частоту их движения), определяющие в основном поток вылетающих пассажиров через систему обслуживания ПВ, необходимо исследовать влияние на систему некоторого диапазона изменений ПВ, а не выбирать параметры, соответствующие одному значению.

Образовать диапазон ПвiΔx, L = L1…, K можно путем изменения последовательности [3] вылетающих воздушных судов (типы воздушных судов и частота их движения при этом неизменны). Объем выборки К при этом определяется с помощью доверительных границ.

Литература

1. Пиявский С.A., Брусов B.C., Хвилов Е.А, Оптимизация параметров многоцелевых летательных аппаратов. М., Машиностроение, 1974.

2. Косов А.И.. Исследование и выбор оптимальных параметров работа систем обслуживания вылетающих пассажиров в аэропортах ГА. Автореф. Дисс. на соиск. ученой степени канд.техн.наук, Киев, 1984 (Киевский институт инженеров гражданской авиации).

3. Косов А.И. Моделирование последовательности вылетающих самолетов для расчета систем обслуживания пассажиров в аэровокзалах, Труды ГосНИИ ГА, 1983, вып. 225.

Инженеры О.Н. Жиляев, С.Г. Фирсова,

канд. техн. наук A.A. Обух

17. УСТРОЙСТВО ДЛЯ ОПРЕДЕЛЕНИЯ УРОВНЯ ЭЛЕКТРИЗАЦИИ И ПРОВЕРКИ НЕЙТРАЛИЗАТОРОВ СТАТИЧЕСКОГО ЭЛЕКТРИЧЕСТВА В АВИАТОПЛИВЕ

Заводом № 408 ГА по исходным требованиям ГПИ и НИИ ГА Аэропроект и МЭИ: разработан и изготовлен опытный образец устройства электрометра ЭТ-1 для определения уровня электризации и проверки индукционных нейтрализаторов статического электричества в авиатопливе. Создание электрометра обусловлено прежде всего необходимостью оперативного контроля эффективности работы нейтрализаторов, обеспечивающих в настоящее время отвод зарядов статического электричества из авиатоплива при заполнении емкостей топливозаправщиков и автоцистерн. До создания электрометра проверка работоспособности нейтрализаторов осуществлялась в два этапа: проверка эффективности работы одного-двух нейтрализаторов из партии, выпускаемой заводом-изготовителем, с помощью метода Московского энергетического института на стенде научно-экспериментальной базы ГПИ и НИИ ГА Аэропроект; контрольное (при вводе в эксплуатацию) и ежемесячное техническое обслуживание нейтрализаторов, включающее проверку наличия и исправности электрической цепи токоотвода и шунтирующих перемычек, а также проверку состояния и целостности токосъемников.

Метод измерения уровня электризации топлива, разработанный МЭИ, основан на измерении токов электризации, стекающих с трубопровода до и после нейтрализатора и с нейтрализатора. Однако его нельзя использовать в условиях эксплуатации, так как он требует надежной изоляции как самого нейтрализатора, так и всего технологического оборудования пункта налива.

Учитывая, что нейтрализатор является изделием, обеспечивающим пожаробезопасное при проведении сливо-наливннх операций с топливом, необходимо было устройство для надежного контроля его работы в условиях эксплуатации. Этим требованиям отвечает электрометр ЭТ-1.

Электрометр ЭТ-1 (рис.1) состоит из датчика, представляющего собой цилиндр "Фарадей", в который отбирается проба топлива, блока измерения напряжения и соединительного кабеля.

Рис.1. Электрометр ЭТ-1: 1 - датчик; 2 - соединительный кабель; 3 - блок измерения

Электрометр имеет следующие технические характеристики:

Предел измерения, мкКл

0-100 с наличием двух диапазонов 0-100; 0-1000

Объем пробы топлива, м3

до 1,2·10-3

Диапазон рабочих температур, °С

0 - +40

Погрешность измерения, %.

10

Размеры, мм:

 

блока измерения:

 

длина

355

ширина

190

высота

95

датчика:

 

диаметр

125

высота

200

Масса, кг

7

Непрерывная работа от одного комплекта сухих батарей типа Планета, ч.

10

Схема электрометра обеспечивает возможность определения знака заряда топлива и контроль напряжения батарей питания.

Принцип действия устройства состоит в измерении напряжения, возникающего на датчике при его заполнении наэлектризованным топливом с последующим преобразованием его и измерением с помощью вольтметра, шкала которого проградуирована в единицах электрического заряда.

Эффективность работы нейтрализатора оценивается с помощью электрометра ЭТ-1 по разности удельных объемных плотностей зарядов проб топлива, отобранных на входе в нейтрализатор и выходе на него.

Удельная объемная плотность заряда топлива определяется по формуле:

,

где q. - измеренный электрический заряд пробы топлива, Кл;

V - измеренный по шкале датчика объем пробы топлива, м3.

Испытания электрометра осуществлялись в два этапа - лабораторные (заводские) и приемочные. Лабораторные испытания электрометра проводили по схеме, изображенной на рис.2. Сигнал, имитирующий заряд пробы топлива, подавался на кружку - датчик 5 через крышку 6 и разъемом 4 и калибровочный кабель 3 от стабилизированного блока питания 1, Показания ЭТ-1 сравнивались с показаниями образцового вольтметра 2. Погрешность измерения электрометра при этом не превышала заданной техническими условиями (10 %).

Приемочные испытания. проводились на стенде научно-экспериментальной базы ГПИ и НИИ ГА Аэропроект. Плотность заряда топлива, измеренная с помощью электрометра ЭТ-1, сравнивалась со значением плотности заряда топлива, рассчитанной по току электризации. Результаты испытаний приведены в таблице.

Таблица

Номер серии замена

Производительность прокачки топлива Q, м3/с (л/мин)

Ток электризации, мкА.

Удельная объемная плотность заряда топлива, рассчитанная по току электризации, мкКл/м3

Показание устройства q, Кл

Объем. пробы топлива V, м3

Удельная объемная плотность заряда топлива, рассчитанная по показаниям устройства ρЭТ-1, мкА/м3

Погрешность измерения

%

1

2

3

4

5

6

7

8

1

0,035
(2100)

8,2

234,3

220,0∙10-9

0,95∙10-3

231,6

-0,04

260,0∙10-9

1,1∙10-3

236,4

250,0∙10-9

1,03∙10-3

242,7

230,0∙10-9

1,0 10-3

230,0

260,0∙10-9

1,13∙10-3

230,1

 

 

ρЭТ-1,cp. = 234,2

2

0,0278
(1670)

6,0

215,8

220,0∙10-9

0,98∙10-3

224,5

+1,2

200,0∙10-9

0,9∙10-3

222,2

230,0∙10-9

1,03∙10-3

223,3

210,0∙10-9

1,0∙10-9

210,0

180,0∙10-9

0,85∙10-9

211,8

 

 

ρЭТ-1,cp. = 218,4

3

0,022
(1320)

4,7

213,6

215,0∙10-9

1,0∙10-3

215,0

-3,9

200,0 10-9

0,92∙10-3

217,4

195,0∙10-9

0.95∙10-3

205,3

200,0∙10-9

0,47∙10-3

206,2

230,0∙10-9

1,1∙10-3

209,1

 

 

ρЭТ-1,cp. = 210,6

4

0,0167
(1000)

8,45

206,6

175,0∙10-9

0,9∙10-3

194,4

-3,9

180,0∙10-9

0,88∙10-3

201,5

198,0∙10-9

0,97∙10-3

195,8

200,0∙10-9

1,0∙10-3

200,0

200,0∙10-9

1,0∙10-3

200,0

 

 

ρЭТ-1,cp. = 198,9

5

0,0113
(680)

2,25

199,1

180,0∙10-9

0,98∙10-3

183,7

-3,97

195,0∙10-9

1,02∙10-3

191,1

195,0∙10-9

1,02∙10-3

191,1

210,0∙10-9

1,07∙10-3

196,3

215,0∙10-9

1,1∙10-3

195,5

 

 

ρЭТ-1,cp. = 191,5

6

0,008
(480)

1,4

175,0

180,0∙10-9

1,1∙10-3

163,6

-3,8

170,0∙10-9

1,02∙10-3

166,7

160,0∙10-9

0,92∙10-3

175,9

150,0∙10-9

0,9∙10-3

166,7

160,0∙10-9

0,93∙10-3

172,1

 

 

ρЭТ-1,cp. = 168,6

Pис.2. Схема проверки электрометра ЭТ-1: 1 - блок питания; 2 - образцовый вольтметр, 3 - кабель для калибровки; 4 - разъем; 5 - кружка-датчика, 7 - измерительный кабель; 8 - блок измерения

Рис.3. Принципиальная схема сравнительных испытаний устройства ЭП-1; 1 - фильтр ТФ-10 с чехлом ТФЧ-16к; 2 - манометр; 3 - фильтр-сепаратор CT-500-2; 4 - фильтр ТФ-10 с ТФБ; 5 - нейтрализатор; 6 - микроамперметр М-95; 7 - место отбора пробы; 8 - датчик-кружка; 9 - измерительный кабель: 10 - электрометр топливный; 11 - гидроамортизатор; 12 - счетчик-литромер ЛЖ-100-8; 13 - задвижка

Принципиальная схема приемочных испытаний электрометра приведена на рис.3. Топливо из резервуара с помощью насоса подается на блок фильтрации 1, 3, 4, нейтрализатор статического электричества, счетчики-литромеры 12 и обратно в резервуар. Замер плотности заряда топлива производится электрометром 10, а ток электризации измеряется с помощью микроамперметров 6. Определение плотности заряда топлива по току электризации производится по формуле:

,

где J - ток электризации, мкА;

Q - производительность прокачки топлива, м3/л;

Определенная по току электризации плотность заряда топлива сравнивалась с плотностью заряда, измеренной с помощью электрометра. Погрешность измерения плотности заряда электрометром определялась по формуле

Она изменялась в пределах от +1,2 до -3,97 % и не превышала заданной техническими условиями.

Электрометр выдержал приемочные испытания, прошел ведомственную метрологическую аттестацию и рекомендован к серийному производству. На устройство электрометра получено положительное решение ВНИИГПЭ.

Канд. техн. наук Е.Г. Рогальская,

инж. Н.Н. Иванова

18. УЧЕТ ТОПЛИВА В РУКАВАХ СРЕДСТВ ЗАПРАВКИ ВОЗДУШНЫХ СУДОВ

В связи с большим объемом потребления топлива в гражданской авиации огромное значение приобретает вопросы экономии топлива и повышения учета его на всех этапах движения от базового склада до воздушного судна (ВС).

Одним из таких вопросов является учет топлива в раздаточных рукавах средств заправки. Известно, что после окончания заправки ВС в раздаточных рукавах заправочных средств остается топливо, часть которого откачивается назад в емкость топливозаправщика, а часть остается и при следующей заправке подается в баки ВС. Степень опорожнения рукавов при откачке произвольна и зависит от ряда факторов, не поддающихся точному учету, например от степени упругости рукава, его изношенности, продолжительности откачки и т.д. Очевидно, что вывод закономерностей, позволяющих систематизировать указанные факторы, может быть основан на обработке большого статистического материала для каждого типа рукава в отдельности. Данные по рукавам основных средств заправки в аэропортах ГА приведены в табл.1.

Таблица 1

Средства заправки

Диаметр рукава, мм

Длина рукава, м

Количество рукавов, шт,

Объем топлива в рукавах, л

Топливозаправщик ТЗ-22-258

76

16

2

145

50

20

2

78

38

20

2

46

Топливо заправщик ТЗ-16-221

50

15

2

59

38

20

2

46

Топливо заправщик TЗA-7, 5-500A

50

15

2

59

Топливозаправщик ТЗ-5-375

50

15

1

24,5

Передвижной заправочный агрегат "Сервисер"

63

30

2

187

Заправочный агрегат АЦЗ-75

65

20

I

90

Гидравлическая схема топливозаправщиков ТЗ-22, ТЗА-7,5-500А и ТЗ-5-375 построена таким образом, что при откачке топлива из рукавов последнее проходит через счетчик в обратном направлении. Однако измерение откаченного топлива счетчиком не является достоверным, поскольку счётчик градуируется только при движении топлива в прямом направлении, а предприятия-изготовители счетчиков не гарантируют правильность показаний счетчиков при движении топлива в обратном направлении.

Необходимо отметить, что после заправки "Сервисерами" топливо из рукавов не откачивается, а после заправки агрегатами АЦЗ-75 откачивается в специальную емкость и при следующей заправке подается в ВС. Таким образом, "Сервисер" и АЦЗ-75 не требуют введения поправок на количество топлива в заправочных рукавах при заправке ВС. Для остальных средств заправки на основании методов математической статистики определено необходимое и достаточное количество экспериментальных замеров остатка топлива в рукавах для составления обобщенных рекомендаций по учету этого топлива при заправке ВС.

В математической статистике для решения подобного рода задач применяется выборочный метод, позволяющий судить о характеристиках какого-либо явления по так называемой выборочной совокупности - выборке.

Численность выборки определяется по формуле:

,                                                                   (1)

где t - коэффициент доверия, показывающий, во сколько раз предельная ошибка выборки превышает среднюю величину;

σ2 - дисперсия выборки, показывающая разброс случайных величин вокруг среднего значения этой случайной величины;

N - численность генеральной совокупности, т.е. общее количество каких-либо явлений;

Δ - предельная ошибка выборки.

Указанная формула применима при n > 20 [1, 2].

При решении данной задачи примем вероятность 0,997, в этом случае t = 3 [3].

Численность генеральной совокупности для нашего случая можно определить по формуле

,                                                                             (2)

где А - срок службы раздаточного рукава (принимаем А=30 дням);

Б - количество заправок для одного рукава ежедневно (по осредненным данным московских аэропортов принимаем Б=16).

 = 0,75 - коэффициент готовности техники.

Задаваясь предельной ошибкой выборки Δ = 1; 2; 3 и 5, получаем различные значения п. С учетом реальных возможностей по проведению экспериментов принимаем для каждого типа раздаточных рукавов количество замеров, равное 60 [4].

Экспериментальная работа в аэропортах строилась таким образом, чтобы по возможности не нарушался обычный график выходов топливозаправщиков на заправку. Известно, что ежедневно службой ГСМ аэропортов производится контроль сетки фильтров наконечников нижней заправки (ННЗ) и раздаточных пистолетов (РП). При выполнении этой операции обычно производится частичная размотка рукавов и расстыковка деталей наконечника (пистолета). Для проведения экспериментальных замеров остатка топлива в рукавах производилась полная размотка рукава и слив топлива из него при снятой сетке фильтра в мерную емкость.

Для проведения ряда дополнительных измерений на научно-экспериментальной базе (НЭБ) Аэропроекта была создана специальная установка на основе топливозаправщика ТЗ-22. Необходимо отметить, что замеры на НЭБ производились с целью проверки данных, полученных в аэропортах в натурных условиях. Высказывались предположения, что полный слив топлива из рукава невозможен без отсоединения его от барабана и что эксперименты, проводимые в аэропортах, не отражают действительной картины. Естественно в натурных условиях отсоединение рукава практически невозможно. С большим трудом в аэропорту Быково было сделано несколько сливов остатка топлива из рукавов диаметром 50 и 38 мм, которые были сняты с барабана.

Сравнение данных, полученных в процессе экспериментальных работ, для рукавов одинакового размера в аэропортах и на НЭБ показало их полную идентичность.

При статистической обработке экспериментальных данных выполнялись следующие операции:

- составление упорядоченного вариационного ряда;

- вычисление среднего арифметического значения  для исправленного упорядоченного вариационного ряда;

- проверка нормальности распределения экспериментальных данных.

При условии, что экспериментальные измерения укладывались в ряды с нормальным распределением, определялся доверительный интервал для истинного значения измеряемой величины и среднеквадратической ошибки, вычислялась относительная среднеквадратическая ошибка при определении среднего арифметического значения.

Обработка экспериментальных данных по определению остатка топлива в раздаточных рукавах средств заправки после откачки проводилась в соответствии с методиками. Результаты расчета приведены в табл.2.

Таблица 2

Параметры

Диаметр рукавов, мм

76

50

38

Среднее арифметическое значение X, л

0,5

6,5

4,8

Доверительный интервал для истинного значения измеряемой величины Х при α = 0,99, л

0,8<X<11.2

5,2<X<7,8

3,37<X<6,23

Доверительный интервал для среднеквадратической ошибки σ

2,8<σ<4,4

3,8<σ<5,84

1,02<σ<3,36

при доверительной вероятности α = 0,99 и числе измерений n, л

n = 58

n = 83

n = 12

Относительная среднеквадратическая ошибка среднего арифметического значения , %

Согласно полученным данным в рукавах диаметром 50 мм и длиной 20 м при расчетном объеме одного рукава 39 л остается 6 - 8 л, следовательно, при заправке этими рукавами для повышения точности необходимо из показаний каждого счетчика ТЗ высчитывать 30 л или, что проще, "передавать" на каждый рукав по 30 л топлива. Поскольку рукава диаметром 38 мм при окончании заправки ВС практически не откачиваются, при расчетно-учетных операциях никаких поправок вводить не нужно. При диаметре рукавов, равных 76 мм, которые имеют разную длину, целесообразно вводить поправку порядка 40 л на каждые 10 м длины рукава; более точный учет поправок может существенно усложнить процесс заправки ВС.

Выводы

1. Учет топлива» остающегося в рукавах после заправки целесообразен, так как это позволяет повысить достоверность учета топлива на предприятиях ГА.

2. Наиболее целесообразно учитывать топливо в рукавах диаметром 50 и 76 мм путем "передачи" на каждый рукав длиной 20 м соответственно 30 и 80 л. При использовании рукавов меньшей или большей длины объем "передаваемого" топлива должен быть соответственно уменьшен или увеличен.

Литература

1. Румшинский Л.З. Математическая обработка результатов эксперимента, М., Наука, 1978.

2. Щукин A.H. Теория вероятностей и экспериментальное определение характеристик сложных объемов, М,, Госгидроиздат, 1955.

3. Зайдел А.Н. Элементарные оценки ошибок измерений, Л., Наука, 1968.

Инж. Н.А. Давыдов

19. ОПРЕДЕЛЕНИЕ РАСЧЕТНЫХ ПАРАМЕТРОВ МАТЕМАТИЧЕСКОЙ МОДЕЛИ ФУНКЦИОНИРОВАНИЯ ПАРАЛЛЕЛЬНЫХ ВПП

В соответствии с расчетной схемой и математической моделью эффективного функционирования независимых неспециализированных параллельных ВПП минимально допустимое расстояние между такими ВПП может быть определено по формуле [1]:

,

где σ - среднеквадратичное отклонение самолетов от линии курса в точке выхода их из четвертого разворота или в точке входа в глиссаду (ТВГ);

С - заданный уровень безопасности воздушного движения при заходе самолетов на посадку;

λ - средняя интенсивность потока самолетов, заходящих на посадку на одиночную ВПП;

τ - интервал времени, появление в котором двух самолетов, заходящих на посадку на две параллельные ВПП, считается одновременным;

m - математическое ожидание отклонения самолетов от линии курса в точке выхода их из четвертого разворота или ТВГ.

Обоснуем и определим численные значения каждого из указанных параметров.

Уровень безопасности полетов С в гражданской авиации принято характеризовать статистическими показателями аварийности. Известно, что более трети всех авиационных происшествий в странах - членах Международной организации гражданской авиации (ИКАО) были при заходе самолетов на посадку и при посадке [2]. Учитывая это обстоятельство, при исследовании минимально допустимого расстояния между осями параллельных ВПП в качестве показателя безопасности полетов необходимо использовать такой уровень безопасности, при котором авиационное происшествие при одновременном заходе самолетов на посадку на такие ВПП можно считать "маловероятным",

Фирма "Дуглас" (США) при разработке требований к ширине ВПП определила событие авиационного происшествия или "маловероятное" числом 1∙10-8 [3]. Английский авиационный регистр в результате обработки статистических данных за 10 лет установил, что катастрофы при посадке имеют вероятность 0,65∙10-6 и предложил "маловероятное" событие для заходов самолетов на посадку в автоматическом режиме определить числом 1∙10-7 [2]. Вместе c тем VIII Аэронавигационная конференция стран-членов ИКАО рекомендовала принять зa уровень безопасности воздушного движения при заходе самолетов на посадку вероятность 1,5∙10-6, т.е. допускается одно авиационное происшествие на 1,5 млн. посадок [4]. В практике гражданской авиации СССР принята величина этой вероятности такого же порядка. Этот уровень безопасности полетов принимается и для настоящих исследований.

Параметр λ определяется как математическое ожндания числа требований на посадку в единицу времени в некоторый напряженный период времени работы аэропорта. Для настоящих исследований примем наиболее неблагоприятный случай посадок самолетов со средней часовой интенсивностью λ = 31 [5].

Параметр τ определяется по формуле:

,

где L - длина пути движения самолетов;

VCP - средняя cкорость самолетов на отрезке пути, равном L.

Линия пути L может быть принята равной длине пути L1, L2 и L3, т.е. L1<L<L3 (см. рисунок), при этом минимальное значение L может быть равно или больше L2. Однако при L2<L<L3 теряется смысл режима функционирования независимых неспециализированных параллельных ВПП - они становятся зависимыми специализированными. В качестве расчетного принимаем наиболее неблагоприятный случай, когда L = L2, где Lсам. - длина самолета.

Траектории захода на посадку самолетов на параллельные ВПП: 1 - взлетно-посадочная полоса; 2 -стандартная траектория захода самолетов на посадку

Для самолета Ил-86:

Для определения математического ожидания m и среднеквадратичного отклонения σ самолетов от линии курса в точках выхода их из четвертого разворота и входа в глиссаду были проведены опытные наблюдения за заходами самолетов на посадку в аэропортах Внуково, Домодедово и Борисполь с последующей обработкой полученных результатов методами математической статистики с применением ЭВМ. Результаты обработки приведены в табл.1.

Таблица 1

Тип самолета и количество выборки

Математическое ожидание, м

Среднеквадратичное отклонение, м

в точке выхода самолета из четвертого разворота

в точке входа в глиссаду

в точке выхода самолета из четвертого разворота

в точке входа в глиссаду

Ил-86, Ил-76 (175)

98,31

8,00

210,12

45,15

Ил-62 (370)

75,54

3,38

151,64

39,73

Як-42 (81)

64,70

7,41

113,92

44,36

Ту-154 (546)

91,66

4,08

191,25

57,05

Ил-18 (201)

52,19

1,42

172,95

53,93

Ту-134 (355)

160,32

8,94

203,44

74,46

Ан-24, Ан~26 (85)

111,57

17,94

177,16

111,23

Як-40 (31)

61,19

8,61

115,62

54,41

Используя численные значения расчетных параметров и приведенную формулу, получаем величины минимально допустимых расстояний между независимыми неспециализированными параллельными ВПП, обеспечивающие безопасность одновременного захода самолетов на посадку по приборам (табл.2).

Таблица 2

Тип самолета

Расстояние между осями ВПП, м

Первая схема

Вторая схема

Ил-86, Ил-76

1860

342

Ил-62

1352

321

Як-42

1032

366

Ту-154

1698

460

Ил-18

1474

430

Ту-134

1912

608

Ан-24, Ан-26

1626

917

Як-40

1036

448

Полученные результаты позволяет сделать вывод, что в аэропортах I класса, предусматривающих эксплуатацию всех типов самолетов, входящих в I, II и III группы, в качестве минимально допустимого расстояния между осями независимых неспециализированных параллельных ВПП можно принять расстояние, равное 1912 м для первой схемы [1] 917 м для второй схемы (одновременные заходы самолетов на посадку на параллельные ВПП по стандартным прямоугольным маршрутам с вертикальным эшелонированием, равным 300 м, и с выходом самолетов на одинаковую высоту в точках входа в глиссаду). Необходимо иметь в виду, что применительно ко второй схеме следует учитывать условия предотвращения опасного воздействия на самолеты спутных струй.

Полученные результаты следует рассматривать как предварительные, так как в ходе дальнейших исследований предполагается увеличить число измерений.

Литература

1. Давыдов Н.А. Расчетная схема и вероятностная оценка риска столкновений самолетов при заходе на посадку на параллельные ВПП. В сб.: "Вопросы проектирования, механизации и эксплуатации аэропортов". Киев, КИИГА, 1988.

2. Белогородский О.Д. Автоматизация управления посадкой самолета. М., "Транспорт", 1972

3. Определение критерия ширины ВПП. Документ группы экспертов по кодовым обозначениям аэродромов. ARCD/n-wp/o 23/1/80. Монреаль, ИКАО, 1980.

4. VIII Аэронавигационная конференция, 17 апреля - 11 мая, Док.9101, Монреаль, ИКАО, 1974.

5. Woolley D.Airport-planners tackle capacity problems. Interavia, 1983, 38, № 9

РЕФЕРАТЫ

ОБОСНОВАНИЕ ОПТИМАЛЬНЫХ ПЛАНИРОВОЧНЫХ РЕШЕНИЙ ВЕРТОДРОМОВ И ПОСАДОЧНЫХ ПЛОЩАДОК. Гавко В.Г. Труды ГосНИИ ГА. Сооружения и оборудование аэропортов. Выпуск 237, 1984. Стр. 3-10.

Рассмотрены факторы, влияющие на размеры площадок для вертолетов при взлетах и посадках. Приведены формулы расчета величины минимального отклонения вертолета от оси площадки в момент посадки. Предложены метода расчета оптимальных размеров вертодромов и посадочных площадок в зависимости от эксплуатационных и стоимостных критериев. Ил. 3.

ОЦЕНКА ЭКСПЛУАТАЦИОННО-ТЕХНИЧЕСКОГО СОСТОЯНИЯ ЦЕМЕНТОБЕТОННЫХ ПОКРЫТИЙ АЭРОДРОМОВ. Виноградов А.П. Труды ГосНИИ ГА. Сооружения и оборудование аэропортов, Выпуск 237, 1984. Стр. 11-13.

Предлагается обобщающий параметр технического состояния аэродромных покрытий, рассмотрены характерные периоды эксплуатации покрытия и даны рекомендации по практическому применению предложенного параметра. Ил. 1.

ПРИМЕНЕНИЕ ТЕОРИИ УПРУГОСТИ К ОПРЕДЕЛЕНИЮ ЭФФЕКТИВНОСТИ УСИЛЕНИЯ АСФАЛЬТОБЕТОНОМ ДВУХСЛОЙНЫХ ЖЕСТКИХ ПОКРЫТИЙ. Глушков Г.И., Никишин В.С., Безелянский В.Б. Труда ГосНИИ ГА. Сооружения и оборудование аэропортов. Выпуск 237, 1984. Стр. 14-20.

Дан метод расчета напряжений в двухслойном цементобетонном покрытии, усиленном асфальтобетоном. В расчетной схеме принято условие сцепления слоя асфальтобетона и цементобетона и отсутствие сцепления между двумя цементобетонными слоями. Полученные численные результаты сравниваются со случаем, когда между асфальтобетоном и цементобетоном сцепление отсутствует. Ил. 3, библ. 2.

РАСЧЕТ АЭРОДРОМНЫХ ПЛИТ ПОКРЫТИЙ, ЛЕЖАЩИХ НА УПРУГОМ ОСНОВАНИИ. Сангаджиев В.Д. Труды ГосНИИ ГА. Сооружения и оборудование аэропортов. Выпуск 237, 1984. Стр. 21-27.

Рассматривается применение метода обобщенных решений, разработанного В.И. Травушем, для расчета аэродромных плит покрытий, лежащих на упругом основании Винклера. Приводятся результаты расчета прямоугольной, четвертьбесконечной и полубесконечной плит, полученные с помощью ЭВМ. Ил.5, библ.2.

РАСЧЕТ ПАРАМЕТРОВ НЕРОВНОСТЕЙ АЭРОДРОМНЫХ ПОКРЫТИЙ. Татаринов В.В., Сардаров Г.М. Труды ГосНИИ ГА. Сооружения и оборудование аэропортов. Выпуск 237, 1984. Стр. 28-31.

Произведены геодезические измерения неровностей ВПП на трех аэродромах ГА. Для определения амплитуд геометрических неровностей используется метод математической каретки. Данные измерений позволили определить спектральные характеристики покрытий. Ил. 2.

СТАТИСТИЧЕСКИЙ АНАЛИЗ ИНТЕНСИВНОСТИ РАСПРЕДЕЛЕНИЯ ДИНАМИЧЕСКОГО ВОЗДЕЙСТВИЯ САМОЛЕТОВ НА ВПП. Смирнов Э.Н., Пчелин А.А. Труды ГосНИИ ГА. Сооружения и оборудований аэропортов. Выпуск 237, 1984. Стр. 32-40.

Предлагается метод разделения покрытия ВПП по площади на характерные участки дифференцированной значимости с точки зрения режимов безопасной эксплуатации самолетов.

Предлагаемый метод обеспечивает достаточно большую внутреннюю однородность при минимальном дифференцировании участков, что позволяет уточнить очередность предполетного осмотра и ремонта различных участков ВПП из условия обеспечения требуемой их ровности и непопадания в авиадвигатели продуктов разрушения искусственных покрытий. Приведенные формулы позволяют подсчитать вероятности максимального воздействия самолетов на различные участки покрытия и вычислить координаты всех характерных участков на площади ВПП, а также определить показатели важности каждого такого участка с позиций безопасности при разбеге, приземлении и пробеге самолетов. Табл. 1, ил.5, библ. 4.

ЭФФЕКТИВНОСТЬ ПРИМЕНЕНИЯ НОВЫХ ПОВЕРХНОСТНО-АКТИВНЫХ ВЕЩЕСТВ В ХИМИЧЕСКОМ РЕАГЕНТЕ, ПРЕДНАЗНАЧЕННОМ ДЛЯ УДАЛЕНИЯ ГОЛОЛЕДА. Самородов Ю.Л., Изотов Д.И., Быков А.В. Труды ГосНИИ ГА. Сооружения и оборудование аэропортов. Выпуск 237, 1984. Стр. 41-49.

Приведены исследования возможности применения новых поверхностно-активных веществ в химическом реагенте для борьбы с гололедом. Проанализировано оптимальное количество ПАВ в реагенте, коррозионная активность химреагентов с новыми ПАВ, их эффективность для борьбы с гололедом на аэродромных покрытиях. Ил. 3, библ. 9.

ПОТРЕБНАЯ ПРОИЗВОДИТЕЛЬНОСТЬ УБОРОЧНЫХ МАШИН В ЗАВИСИМОСТИ ОТ РЕЖИМА ЗИМНИХ ОСАДKOB Кнатько В.М., Заморин А.И. Труды ГосНИИ ГА. Сооружения и оборудование аэропортов. Выпуск 237, 1984. Стр. 50-53.

Рассматриваются вопросы определения потребной производительности уборочных машин для удаления с аэродромных покрытий скапливающихся осадков.

Приводится пример расчета минимально необходимой производительности уборочных машин в зависимости от заданной суммарной вероятности интенсивности осадков.

Работа может быть использована при планировании и организации технологии работ по эксплуатационному содержанию аэродромов. Ил. 1.

ГРУЗОВЫЕ ДВОРЫ ГРУЗОВЫХ КОМПЛЕКСОВ АЭРОПОРТОВ. Воронин Н.Н., Лакомцева М.М. Труды ГосНИИ ГА. Сооружения и оборудование аэропортов. Выпуск 237, 1984. Стр. 54-61.

Приведенная методика позволяет определить общую площадь грузового двора и каждую из зон, расположенных со стороны города, летного поля и торца здания склада. Табл. 2, ил. 3.

ПЛАНИРОВОЧНЫЕ РЕШЕНИЯ ЗАЛОВ-НАКОПИТЕЛЕЙ В АЭРОВОКЗАЛАХ ДЕЦЕНТРАЛИЗОВАННОГО ТИПА. Писков М.Г. Труды ГосНИИ ГА. Сооружения и оборудование аэропортов. Выпуск 237, 1984. Стр. 62-74.

Анализируются планировочные решений залов-накопителей (модулей) в аэровокзалах отечественных и зарубежных аэропортов, обобщаются их принципиальные решения, выявляются удельные показатели площадей на одного пассажира единовременной вместимости. Табл. 1, ил. 9.

МЕТОДЫ РЕКОНСТРУКЦИИ И РАСШИРЕНИЯ АЭРОВОКЗАЛОВ. Комский М.В., Труда ГосНИИ ГА. Сооружения и оборудование аэропортов. Выпуск 237, 1984. Стр. 75-89.

Излагаются результаты обобщения опыта реконструкции и расширения аэровокзалов в отечественных и зарубежных аэропортах. На большом фактическом материале показана сфера применения методов реконструкции и расширения аэровокзалов, характерные приемы компоновки новых и первоначальных объемов. Затронуты архитектурные аспекты формирования поэтапно возводимого комплекса для различных ситуаций застройки территории аэропортов. Рассмотрены возможности применения традиционных и новых конструкций для зданий, расширение которых не было предусмотрено или планировалось проектов. Ил. 5, библ. 2.

ПРОГНОЗИРОВАНИЕ ОБЪЕМОВ РАБОТ АВИАРЕМОНТНЫХ ЗАВОДОВ. Вайсглуз И.И., Захаров В.М. Труды ГосНИИ ГА. Сооружения и оборудование аэропортов. Выпуск 237, 1984. Стр. 90-94.

Анализируется годовой объем работ, характеризующий производственную мощность авиаремонтного завода, который является основным показателем при проектировании. На основании годового объема работ определяется класс АРЗ, в пределах которого устанавливается одинаковая организационно-производственная структура, состав зданий и сооружений, а также площади и оборудование. Табл. 2, библ. 3.

СОВЕРШЕНСТОВАНИЕ СКЛАДСКОГО ХОЗЯЙСТВА МАТЕРИАЛЬНО-ТЕХНИЧЕСКОГО СНАБЖЕНИЯ ГРАЖДАНСКОЙ АВИАЦИИ. Степанов А.Н. Елистратова Г.Н. Лазарева Л.П., Локшнна Р.В. Труды ГосНИИ ГА. Сооружения и оборудование аэропортов. Выпуск 237, 1984. Стр. 95-97.

Рассмотрены основные недостатки складского хозяйства материально-технического снабжения гражданской авиации и указаны наиболее важные пути его совершенствования.

ЗАГРЯЗНЕНИЕ СТОЧНЫХ ВОД АЭРОПОРТОВ ПРИ ПРОТИВООБЛЕДЕНИТЕЛЬНОЙ ОБРАБОТКЕ И МОЙКЕ САМОЛЕТОВ. Вехов СП. Труды ГосНИИ ГА. Сооружения и оборудование аэропортов. Выпуск 237, 1984. Стр. 98-107.

Изложены материалы исследований опасности загрязнения сточных вод, образующихся при противообледенительной обработке и мойке самолетов

На основании полученных результатов сделан вывод о необходимости разработки методов и создания локальных сооружений для очистки (регенерации) данного вида сточных вод. Табл. 7, библ. 9.

ИССЛЕДОВАНИЕ ПРОПУСКНОЙ СПОСОБНОСТИ АЭРОПОРТОВ МЕСТНЫХ ВОЗДУШНЫХ ЛИНИЙ. Измайлов А.И., Смоляк В.И. Труды ГосНИИ ГА. Сооружения и оборудование аэропортов. Выпуск 237, 1984. Стр. 108-121.

Изложена методика категорирования аэропортов МВЛ, определения интенсивности движения и приписного парка самолетов, приведены расчетные показатели каждой категории аэропорта, а также показатели учета неравномерности движения. Рассмотрены два метода определения пропускной способности аэропортов МВЛ, первый из которых базируется на прогнозе интенсивности движения самолетов по группам, второй - на прогнозе объемов перевозок. Табл. 9, ил. 4.

ЭФФЕКТИВНОСТЬ СИСТЕМ ОБСЛУЖИВАНИЯ ПАССАЖИРОВ. Косов А.И. Труды ГосНИИ ГА. Сооружения и оборудование аэропортов. Bыпуск 237, 1984. Стр. 122-125.

Показано, что при оценке эффективности функционирования систем обслуживания пассажиров необходимо учитывать не одно фиксированное значение пропускной способности аэровокзала, а диапазон ее изменения. Библ. 3.

УСТРОЙСТВО ДЛЯ ОПРЕДЕЛЕНИЯ УРОВНЯ ЭЛЕКТРИЗАЦИИ И ПРОВЕРКИ НЕЙТРАЛИЗАТОРОВ СТАТИЧЕСКОГО ЭЛЕКТРИЧЕСТВА В АВИАТОПЛИВЕ Жиляев О.Н., Фирсова С.Г., Oбyx А.А. Труды ГосНИИ ГА. Сооружения и оборудование аэропортов. Выпуск 237, 1984. Стр 126-134.

Рассматривается конструкция, характеристики и принцип действия электрометра ЭТ-1. Приводятся результаты испытаний прибора и методика обработки полученных даиных. Табл. 1, ил. 3.

УЧЕТ ТОПЛИВА В РУКАВАХ СРЕДСТВ ЗАПРАВКИ ВОЗДУШНЫХ СУДОВ. Рогальская Е.Г., Иванова Н.Н. Труды ГосНИИ ГА. Сооружения и оборудование аэропортов. Выпуск 237, 1984. Стр. 135-140.

Приведены результаты экспериментальных замеров остатка топлива в раздаточных рукавах, устанавливаемых на средствах заправки ВС. Изложена методика проведения экспериментальных работ и обработки статистических данных. Даны предложения по учету топлива в раздаточных рукавах. Табл. 2, библ. 3.

ОПРЕДЕЛЕНИЕ РАСЧЕТНЫХ ПАРАМЕТРОВ МАТЕМАТИЧЕСКОЙ МОДЕЛИ ФУНКЦИОНИРОВАНИЯ ПАРАЛЛЕЛЬНЫХ ВПП, Давыдов Н.А. Труды ГосНИИ ГА. Сооружения и оборудование аэропортов. Выпуск 237, 1984. Стр. 141-147.

Дано обоснование и определение расчетных параметров ранее разработанной математической модели функционирования независимых, неспециализированных параллельных ВПП с обеспечением необходимого уровня безопасности полетов по приборам, приведены результаты расчетов минимально допустимого расстояния между такими ВПП. Табл. 2, ил. 1, библ. 5.

 




ГОСТЫ, СТРОИТЕЛЬНЫЕ и ТЕХНИЧЕСКИЕ НОРМАТИВЫ.
Некоммерческая онлайн система, содержащая все Российские Госты, национальные Стандарты и нормативы.
В Системе содержится более 150000 файлов нормативно-технической документации, действующей на территории РФ.
Система предназначена для широкого круга инженерно-технических специалистов.

Рейтинг@Mail.ru Яндекс цитирования

Copyright © www.gostrf.com, 2008 - 2026